Honeywell T498A Users Manual 95C 10686 T498A,B Electric Heat Thermostats
T498A 95C-10686
27d63ea6-cc2e-4c33-b.. 27d63ea6-cc2e-4c33-b49f-407ea4c47a5b
T498B to the manual 27d63ea6-cc2e-4c33-b49f-407ea4c47a5b
2015-01-23
: Honeywell Honeywell-T498A-Users-Manual-261581 honeywell-t498a-users-manual-261581 honeywell pdf
Open the PDF directly: View PDF
.
Page Count: 8

PRODUCT DATA
Copyright © 1996 Honeywell Inc. • • All Rights Reserved X-XX UL
T498A,B
Electric Heat Thermostats
FEATURES
•CSA Performance Certifled at 16A.
•CSA Certified, Underwriters Laboratories Inc. Listed
up to 5 kW at 277 Vac.
•Long life, industrial-grade Micro Switch™ mechanism.
•Rugged, engineering plastic mounting base with
captive mounting screws.
•Replaces any standard wall-mounted electric heat
thermostat.
•Classic beige styling.
•Range: 40°F to 80°F (5°C to 25°C).
•Locking cover and range stops are optional.
•Energy efficient and economical.
Contents
General ............................................................................... 1
Features .............................................................................. 1
Specifications ...................................................................... 2
Ordering Information ...........................................................2
Installation ........................................................................... 3
Setting and Checkout ..........................................................4
Security Features ................................................................4
Calibration ........................................................................... 5
GENERAL
The T498A,B Electric Heat Thermostats provide line voltage
control of electric heating equipment. A snap action switch
makes heating circuit on temperature fall.
95C-10686-3

T498A,B ELECTRIC HEAT THERMOSTATS
95C-10686—3 2
SPECIFICATIONS
IMPORTANT
The Specifications given in this publication do not
include normal manufacturing tolerances. Therefore,
this unit may not exactly match the listed
specifications. Also, this product is tested and
calibrated under closely controlled conditions, and
some minor differences in performance can be
expected if those conditions are changed. For exact
engineering specifications, contact your Honeywell
sales representative.
Models:
T498A: Makes heating circuit on temperature fall. With
setting knob on extreme counterclockwise position,
provides single line break—spst (see Fig. 2).
T498B: Makes heating circuit on temperature fall. With
setting knob at OFF position, provides double line break
for fuse protected 240V heating circuits (see
Fig. 3). Remakes circuit no higher than -31°F (-35°C) in
OFF position. Both models available with a
thermometer located in the cover to indicate the actual
room temperature.
Setting Range:
40°F to 80°F, markings every 5°F.
Type of Switching:
Fully enclosed snap acting Micro Switch™.
T498A: Single line break (spst).
T498B: Spst with double line break (dpst in OFF position).
Wiring Connections:
Six inch (150 mm) stranded copper leadwires suitable for
connecting to aluminum wiring if approved special service
CO/ALR connectors are used. Color-coded Black to Ll
(T498A,B); Red to L2 (T498B only).
Electrical Rating (Noninductive (resistive) rating):
22A noninductive at 120/208/240 Vac.
19A noninductive at 277 Vac.
CSA Performance Certification:
16A at 208/240 Vac.
Setpoint Adjustment:
Control knob on face of thermostat.
Sensing Element:
Flat bimetallic blade.
Differential:
Approximately 3°F (2°C) nonadjustable.
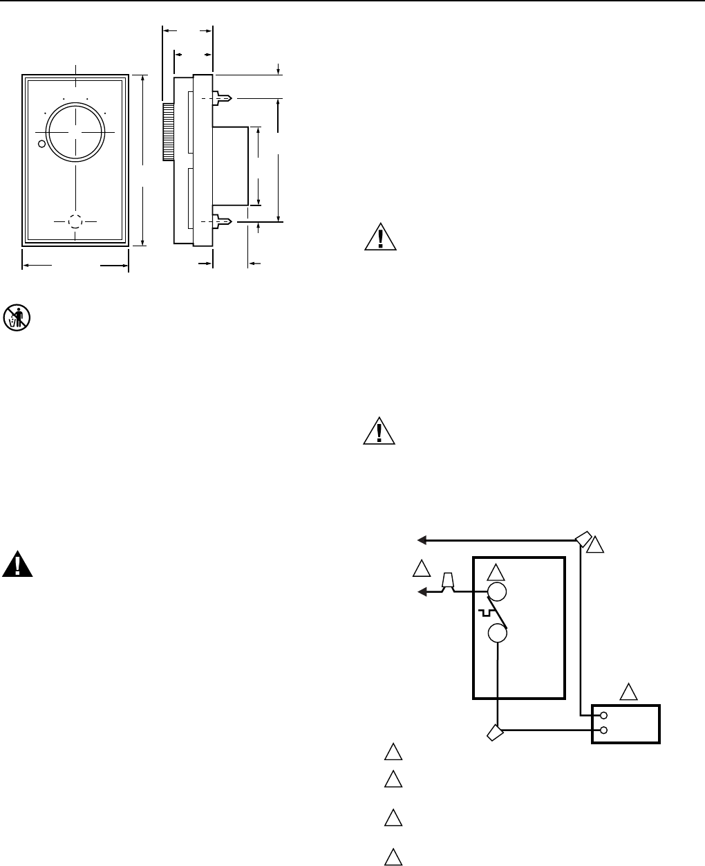
Dimensions:
See Fig. 1 for nominal dimensions.
Thermometer:
Optional coil bimetal 50°F to 90°F (10°C to 30°C).
Mounting Means:
Direct mounting on NEMA standard vertical 2 x 4 inch
(50 mm x 100 mm) switch box, or 4 x 4 inch (100 mm x
100 mm) box with mud ring adapter (not provided) using
6-32 slotted Robertson™ screws.
Approval:
Underwriters Laboratories Listed: File No. E47434, Guide
No. XAPX.
CSA: File No. LR1322
Accesories (Not Included):
272804A Range Stop and Locking Screws Assembly:
Includes locking cover screws, Tinnerman clips,
wrench, and range stops—two plastic pins to insert
inside cover for field-selection of minimum and
maximum temperature settings.
272805H Replacement Cover Assembly: For T498B
Fahrenheit beige models (manufactured after
November, 1993—date coded after 9345).
ORDERING INFORMATION
When purchasing replacement and modernization products from your TRADELINE® wholesaler or distributor, refer to the
TRADELINE® Catalog or price sheets for complete ordering number, or specify:
1. Order Number. 3. Accessories, if desired.
2. Switching. 4. Order additional system components and system accessories
separately.
If you have additional questions, need further information, or would like to comment on our products or services, please write or
phone:
1. Your local Home and Building Control Sales Office (check white pages of your phone directory).
2. Home and Building Control Customer Relations
Honeywell, 1885 Douglas Drive North
Minneapolis, Minnesota 55422-4386
In Canada—Honeywell Limited/Honeywell Limitée, 35 Dynamic Drive, Scarborough, Ontario M1V 4Z9.
International Sales and Service Offices in all principal cities of the world. Manufacturing in Australia, Canada, Finland, France,
Germany, Japan, Mexico, Netherlands, Spain, Taiwan, United Kingdom, U.S.A.

T498A,B ELECTRIC HEAT THERMOSTATS
95C-10686—3
3
4
0
5
0
6
0
7
0
8
0
OFF
M6089A
1-1/4
(33)
1-1/32
(26)
5/8 (16)
3-9/32
(83)
2-3/32
(53)
1/2 (13)
15/16
(24)
4-17/32
(116)
2-29/32 (72)
Fig. 1. Nominal dimensions in in. (mm).
RECYCLING NOTICE
If this control is replacing a control that contains
mercury in a sealed tube, do
not
place your old
control in the trash.
Contact your local waste management authority for
instructions regarding recycling and the proper
disposal of any control containing mercury in a
sealed tube.
INSTALLATION
WARNING
HIGH VOLTAGE CONTROL.
ELECTRICAL SHOCK HAZARD.
This thermostat is a line voltage (120 to 277 volt)
control. Do not install this thermostat if you are not
completely familiar and competent with electrical
wiring. If improperly handled, there can be risk of 120
to 277 volt electric shock hazard that can cause
serious injury or death.
Location
Install a vertical outlet box that is used to mount the T498, four
to five feet (1.5m) above the floor on an inside wall where the
thermostat will be subjected to average room temperature.
Mount the thermostat away from concealed warm or cold water
pipes, warm air ducts, light switches and dimmers, refrigerators
or drafts from hallways, fireplaces, stairways or fans.
Mounting and Wiring
When replacing an old line voltage electric heating
thermostat, remove the old thermostat carefully to avoid
damaging the insulation on the wiring.
Check the old insulation for cracks, nicks, or fraying and apply
approved electrical tape where necessary to achieve adequate
insulation, or replace the wires using approved methods.
M6091A
ELECTRIC
HEATER
T1
L1
L1
(HOT)
L2
1
POWER SUPPLY. PROVIDE DISCONNECT MEANS AND OVERLOAD
PROTECTION AS REQUIRED.
USE SPECIAL SERVICE CO/ALR SOLDERLESS CONNECTORS
WHEN CONNECTING ALUMINUM CONDUCTORS OR A FIRE
HAZARD MAY RESULT.
BREAKS AND REMAKES BELOW -31°F(-35°C); NORMALLY
THERMALLY ACTIVATED. BREAKS ON A TEMPERATURE RISE;
MAKES ON A TEMPERATURE FALL.
USE A SEPARATE LIMIT CONTROL IN THE HEATING APPLIANCE.
1
2
3
4
3
2
4
T498A
Fig. 2. Typical hookup for T498A Thermostat.
Leave the cover on the thermostat while making
connections.
Push the leadwires into the outlet box and insert the
thermostat into the box for mounting by pushing against
the cover.
Remove the thermostat cover by grasping the top and
bottom edges and pulling outward.
Turn the dial so that the setpoint indicator is at the
12 o’clock position. This will prevent accidental damage
to the dial stop during mounting.
Using a screwdriver, secure the thermostat to the outlet
box by tightening the two mounting screws. Handle the
thermostat with care; excessive pressure can damage
the control knob or sensing element.
CAUTION
1. Disconnect power supply before making wiring
connections to prevent electrical shock or
equipment damage.
2. All wiring must comply with applicable codes and
ordinances.
3Thermostats are designed to be used with a
separate limit control in the appliance.
Using wire connectors
approved for No. 12 wires,
make
line voltage wiring connections directly to the leadwires
installed on the thermostat.
CAUTION
If connecting with aluminum conductors, use approved
CO/ALR solderless wire connectors to avoid fire
hazard.

T498A,B ELECTRIC HEAT THERMOSTATS
95C-10686—3 4
Fig. 4. Locking cover installation.
4
0
5
0
6
0
7
0
8
0
OFF
°F
50 60 70 80 90
M7236
Range Stops
Set the thermostat to the desired setpoint. Remove the
cover.
Install the plastic dowels (included) into the minimum
and/or maximum range stop holes on the inside back of
the cover. See Fig. 5.
Replace the cover. Check the operation of the range
stops.
RANGE STOP
HOLES
M7238
Fig. 5. Range stop installation.
M6092A
ELECTRIC
HEATER
T1
L1
T2
L2
L1
(HOT)
L2
1
POWER SUPPLY. PROVIDE DISCONNECT MEANS AND OVERLOAD
PROTECTION AS REQUIRED.
USE SPECIAL SERVICE CO/ALR SOLDERLESS CONNECTORS
WHEN CONNECTING ALUMINUM CONDUCTORS OR A FIRE
HAZARD MAY RESULT.
BREAKS AND REMAKES BELOW -31°F(-35°C); NORMALLY
THERMALLY ACTIVATED. BREAKS ON A TEMPERATURE RISE;
MAKES ON A TEMPERATURE FALL.
USE A SEPARATE LIMIT CONTROL IN THE HEATING APPLIANCE.
BREAKS AT POSITIVE OFF ONLY; NOT THERMALLY ACTIVATED.
DO NOT CONNECT GROUNDED CONDUCTORS (NEUTRAL) ON
120V OR 277V CIRCUITS. INSULATE AND TAPE, OR CUT OFF
RED WIRES IF UNUSED.
1
2
3
4
5
5
6
6
3
2
4
T498B
RED WIRE
Fig. 3. Typical hookup for T498B Thermostat.
SETTING AND CHECKOUT
IMPORTANT
Make sure all wiring connections are tight.
After the thermostat has been installed and wired, simulate
normal operation as follows.
Turn the setting dial completely clockwise. The electric
heater should start to heat.
Turn the dial completely counterclockwise. The power
circuit should be broken and the electric heater should
start to cool.
To determine the final setting, move the dial indicator to
the 70°F (21°C) position on the scale. If the setting is
not satisfactory after a minimum of two hours of
thermostat operation, turn the dial indicator to raise or
lower the temperature. Move the indicator only a few
degrees each time an adjustment is necessary.
SECURITY FEATURES
Locking Cover
Remove cover by swinging up from the bottom edge of
the thermostat.
Insert the Tinnerman Speed Nut® (included) into the
slot on the lower back of thermostat base. See Fig. 4.
Insert the Allen screw into the Speed Nut until the
screw head is flush with the lower edge of the
thermostat base.
Replace the thermostat cover and lock by removing the
Allen screw until screw body protrudes through the
cover hole.
To unlock the cover, insert the Allen screw into the
thermostat base until the screw body clears the cover.

T498A,B ELECTRIC HEAT THERMOSTATS
95C-10686—3
5
CALIBRATION
The T498 Thermostats are calibrated at the factory using
precise instruments under closely controlled conditions.
Recalibration should not be necessary. Allow the thermostat
to operate for several hours before checking calibration.
Temperature deviations of 2°F (1°C) are normal. If the
thermostat is mounted in a suitable location and still appears
out of calibration, check calibration using the procedures that
follow.
Check Calibration
Remove the thermostat cover and set it aside for
several minutes. Radiant heat from your hands will
affect the thermometer reading.
Turn the setting dial clockwise until the switch makes
(clicking sound) and the heating equipment and fan
start.
No recalibration is necessary if the thermostat switch
makes with the thermostat setting at the same
temperature as indicated on the thermostat cover
thermometer.
If the thermostat setting differs from the thermometer,
record the temperature difference and recalibrate as
instructed in the Recalibration Procedure section.
Recalibration Procedure
Note the temperature difference between the
thermostat setting and the thermometer.
Turn the setting dial clockwise until the switch makes
(clicking sound).
Remove the adhesive backing of the indicator decal
provided.
Carefully align the indicator mark on the decal with the
correct temperature setting number on the cover. See
Fig. 6.
Using finger pressure, secure the realigned decal on
the center of the knob.
Wait five minutes and recheck the calibration.
4
0
5
0
6
0
7
0
8
0
OFF
°F
50 60 70 80 90
M7237
APPLY NEW INSERT DECAL
Fig. 6. Thermostat recalibration.

T498A,B ELECTRIC HEAT THERMOSTATS
95C-10686—3 6

T498A,B ELECTRIC HEAT THERMOSTATS
95C-10686—3
7

T498A,B ELECTRIC HEAT THERMOSTATS
95C-10686—3 8
95C-10686—3 C.H. Rev. 4-96 www.honeywell.com/yourhome
Honeywell Limited-Honeywell Limitée
35 Dynamic Drive
Scarborough, Ontario M1V 4Z9
Automation and Control Solutions
Honeywell International Inc.
1985 Douglas Drive North
Golden Valley, Minnesota 55422