Honeywell W8635A Users Manual 69 1339 Equipment Interface Module
W8635A to the manual c8a85508-8934-4434-8309-69e1e727f7c8
2015-01-23
: Honeywell Honeywell-W8635A-Users-Manual-262686 honeywell-w8635a-users-manual-262686 honeywell pdf
Open the PDF directly: View PDF
.
Page Count: 6

® U.S. Registered Trademark
Copyright © 2000 Honeywell Inc. • • All Rights Reserved
INSTALLATION INSTRUCTIONS
69- 1339- 2
W8635A
Equipment Interface Module
APPLICATION
The W8635A Equipment Interface Module (EIM) pro-
vides 24 Vac control of single or multistage conventional
HVAC equipment when used with a T8635L Microelec-
tronic Communicating Programmable Thermostat. The
W8635A can be used with up to 2 heat/2 cool conven-
tional applications. See Table 1.
Table 1. Description.
INSTALLATION
When Installing this Product…
1. Read these instructions carefully. Failure to follow
these instructions can damage the product or
cause a hazardous condition.
2. Check the ratings given in the instructions and on
the product to make sure the product is suitable for
your application.
3. Installer must be a trained, experienced service
technician.
4. After completing installation, use these instructions
to check out the product operation.
CAUTION
Voltage Hazard.
Can cause electrical shock or equipment
damage.
Disconnect power before supply before beginning
installation.
Location
CAUTION
Mounting Location Hazard.
Mounting W8635A inside HVAC equipment
can damage the EIM.
Mount the W8635A only on the outside of HVAC
equipment.
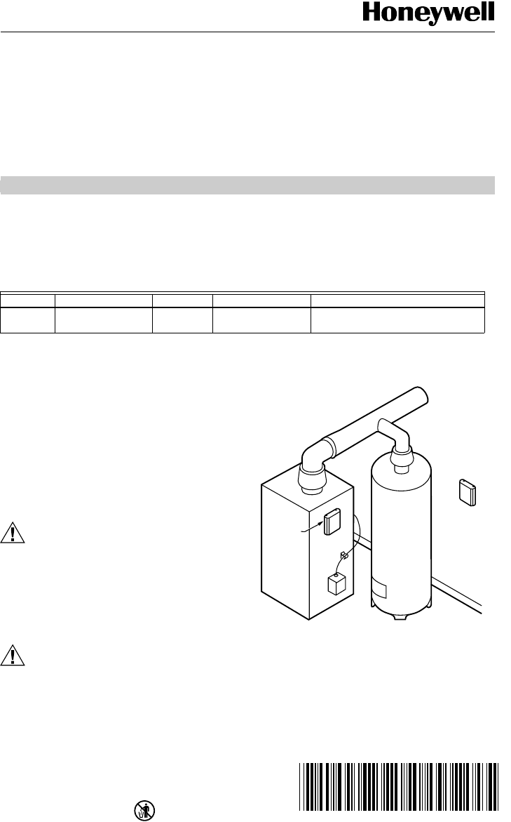
1. Locate the W8635A in the equipment room near
the HVAC equipment. See Fig. 1.
Fig. 1. Selecting W8635A Equipment
Interface Module location.
2. Remove the cover from the W8635A by pulling on
the edge of the module.
3. Locate the two mounting holes. See Fig. 2.
Model Application Stages Terminals Comments
W8635A Conventional gas, oil
or electric heat Up to 2 heat/
2 cool 1, 2, 3, C, R, Rh, Rc,
G, W1, W2, Y1, Y2 Use with T8635L Communicating
Thermostat
M16637A
WATER HEATER
W8635
POSSIBLE
MOUNTING
LOCATION
FURNACE OR BOILER
W8635
POSSIBLE
MOUNTING
LOCATION

W8635A EQUIPMENT INTERFACE MODULE
69-1339—22
Fig. 2. Mounting W8635A
Equipment Interface Module.
4. Position the W8635A on the wall or on the cold air
return.
5. Level the W8635A for appearance only; the device
functions properly even when not level.
6. Use a pencil to mark the position of the mounting
holes on the wall or cold air return.
7. Remove the W8635A from the wall or cold air
return and drill 3/16 in. holes in the wall (if drywall)
where marked. For firmer materials such as plaster
or wood, drill 7/32 in. holes.
8. When mounting on the cold air return, drill a pilot
hole where marked.
9. Gently tap the anchors (provided) into the holes
until flush with the wall.
10. Reposition the W8635A over the holes.
11. Loosely insert the screws into the holes and tighten
each screw.
WIRING
All wiring must comply with local electrical codes and
ordinances. See Fig. 4 through 6 wiring diagrams for
specific equipment applications. Refer to Table 2 for
terminal designations.
CAUTION
Voltage Hazard.
Can cause electrical shock or equipment
damage.
Disconnect power before beginning installation.
1. Loosen the terminal screws on the W8635A and
connect the system wires. See Fig. 3.
2. Securely tighten each terminal screw.
Fig. 3. Wiring the W8635A terminals.
Table 2. Terminal Designations.
Fig. 4. 2H/2C single transformer.
Y2
W2
Y1
G
W1
C
R
RH
RC
1
2
3
MOUNTING
HOLES (2) MOUNTING
SCREWS (2)
W8635
WALL
M16636
W8635A
Terminal
Designations Function
1 To Communicating Thermostat
Terminal 1
2 To Communicating Thermostat
Terminal 2
3 To Communicating Thermostat
Terminal 3
R 24 Vac System Transformer
Rh 24 Vac Heating Transformer
Rc 24 Vac Cooling Transformer
C 24 Vac Transformer Common
GFan Relay
W1 Stage 1 Heat Relay
W2 Stage 2 Heat Relay
Y1 Stage 1 Cool Relay
Y2 Stage 2 Cool Relay
Green LED Indicates Data Communication
FOR WRAPAROUND
CONNECTION—
STRIP 7/16 IN. (11 MM)
FOR STRAIGHT
CONNECTION—
STRIP 5/16 IN. (8 MM)
M16639
W8635
L1
(HOT)
L2
COOL 1
RELAY
HEAT 2
RELAY
FAN
RELAY
OT
OT 2
13
FACTORY INSTALLER JUMPERS. M13429
C7089B
OUTDOOR
TEMPERATURE
SENSOR
1
T8635L
HEAT 1
RELAY
W8635A
C
R
RH
RC
1
2
3
Y2
W2
Y1
G
W1
COOL 2
RELAY
1
SYSTEM
TRANSFORMER

W8635A EQUIPMENT INTERFACE MODULE
3 69-1339—2
Fig. 5. Three zone configuration.
Fig. 6. Using wire nut to pigtail a connection when
three or more wires are terminated at one terminal.
Discovery Mode
Discovery mode begins when the T8635L Thermostat
and W8635 EIM are first installed and power is
connected:
—The W8635 EIM transmits information to the T8635L
Thermostat that indicates the maximum number of
stages that are enabled and the type of EIM
connected.
—The thermostat receives information from the W8635
and then sets the cycle rates and equipment types
automatically.
Stage Configuration
The W8635A automatically configures the T8635L for
two stages of heat and two stages of cool. If using the
W8635A and the T8635L on a one heat/one cool
application, set Installer Setup No. 5 and 8 to 1 when
configuring the T8635L Communicating Thermostat.
For configuration combinations, see Table 3.
Table 3. Stage Combinations.
Cycle Rate
The thermostat automatically sets the cycle rate based
on the information it received during Discovery Mode.
See Table 4.
To change the default cycle rate settings:
—enter T8635L Thermostat Installer Setup and select
the desired cycle rate settings for each stage. (All
stages can be set between 1 and 12 cph.)
Table 4. Default Cycle Rate Settings.
Electric Heat Setting
When using the W8635A on an electric heat application,
set the T8635L Thermostat Installer Setup No. 4 to 1.
This instructs the W8635A EIM to energize the fan with
any call for heat.
L1
(HOT)
L2
1
SYSTEM
TRANSFORMER
COOL 1
RELAY
HEAT 2
RELAY
FAN
RELAY
OT
OT 2
13
FACTORY INSTALLER JUMPERS.
M13430A
C7089B
OUTDOOR
TEMPERATURE
SENSOR
1
T8635L
HEAT 1
RELAY
W8635A
C
R
RH
RC
1
2
3
Y2
W2
Y1
G
W1
COOL 2
RELAY
W8703A
L1
(HOT)
L2
EXTERNAL
40 VA
TRANSFORMER
OT
OT 2
13
T8635L
OT
OT 2
13
T8635L
ZONE AZONE B
ZONE C
CLOSE
OPEN
OPEN
CLOSE
OPEN
CLOSE
COM
TR1
TR2
2
3
1
546Z
213X
546Z
213X
546Z
213X
TROL-A-TEMP
MODEL AOBD
ZONE DAMPER
OPTIONAL
TROL-A-TEMP
MODEL ARD-PC
OR MODEL ZD
WIRE NUT
M13378
Heat Stages Cool Stages
10
20
01
02
11
22
W8635A
Equipment
Interface
Module
1st
Stage
Heat
2nd
Stage
Heat
1st
Stage
Cool
2nd
Stage
Cool
6 cph 6 cph 3 cph 3 cph

W8635A EQUIPMENT INTERFACE MODULE
69-1339—24
Flash COM OK LED Description
LED blinks rapidly—indicates device is currently trans-
mitting information on the communications bus.
LED blinks once—indicates device received and
acknowledged a message.
LED on constantly—indicates device failure. Replace
device.
LED off constantly—indicates a wiring problem if
device is not functioning properly and there is no
LED activity at least once a minute. Check wiring to
communications bus terminals 1, 2 and 3.
NOTE: It is normal for LED to blink continuously dur-
ing startup and discovery.
LED blinks continuously—indicates a wiring problem
if device is not functioning properly and there is a
continuous series of LED blinks. Check wiring to
communications bus terminals 1, 2 and 3.
INSTALLER SYSTEM TEST
Use the Installer System Test to check the thermostat
and W8635A EIM operation for each thermostat in the
system. Table 5 lists the available system tests.
Table 5. Installer System Tests.
CAUTION
Equipment Damage Hazard.
Minimum compressor off-time is bypassed
during Installer System Test.
Do not allow compressor rapid cycling (on and
off).
Observe compressor protection period.
To start the Installer System Test:
1. Press and hold the T8635L Thermostat increase
▲ and decrease ▼ keys at the same time until 10
appears. All display segments display before the
10 appears. See Fig. 7 and 8.
Fig. 7. LCD segments display.
Fig. 8. Installer Test Number display.
2. Refer to Table 6 for Installer System Test option.
Test Number System Test Description
10-12 Heating stages can be turned on and
off in sequence
30-32 Cooling stages can be turned on and
off in sequence
40-42 Fan and damper test
60 Keyboard keys test
70-74 Thermostat information including date
code and software versions are
displayed.
Aux Ht
Heat
Auto
System Fan
Off Auto
Wake
Mon
Wait
In
Room
Outdoor
%Humid
Auto
Sav
AM
PM
Hold for
Cool Repl Batt
On
Recovery
DST
Cool
TueWedThuFriSatSun
LeaveReturnSleep
M10345A
Set Program
Set Day/Time
Start Time Temporary Setting Enrg
Em Heat
Em Ht
Filter
M10257A
TEST NUMBER
Table 6. Installer System Test Options.
Key to Press Test Number Description
Heating Equipment System Test
10 Enter Heating Equipment system test.
▲11 First Stage Heat turns on.
▲12 Second Stage Heat turns on.
▼11 Second Stage Heat turns off.
▼10 First Stage Heat turns off.
Cooling Equipment System Test
30 Enter Cooling Equipment system test.
▲31 First Stage Cool turns on.
▲32 Second Stage Cool turns on.
▼31 Second Stage Cool turns off.
▼30 First Stage Cool turns off.

W8635A EQUIPMENT INTERFACE MODULE
5 69-1339—2
TROUBLESHOOTING GUIDE
Refer to Table 7 for troubleshooting information.
Fan and Damper Test (Damper Test available only when using W8703A)
40 Enter Fan and Damper test.
▲41 Fan turns on; damper for this zone opens.
▲42 Damper closes for this zone (if not already closed); fan stays on.
▼41 Damper opens for this zone.
▼40 Fan turns off.
Key Operation Test
60 Enter Key Operation test.
Press any key to test if the key is functional. Each time a key is pressed, a different number is displayed. This
indicates the key is functioning properly. Pressing enters the next test.
Thermostat Information
70 Enter Thermostat Information mode.
▲71 Production date code is displayed. The first two large digits are
the month and the third digit is the last digit of the year (example:
031 = March 2001).
▲72 Software identification code is displayed.
▲73 Software revision number is displayed.
▲74 EEPROM identification code is displayed.
Exit Installer Test Mode
Thermostat returns to normal operating mode.
Table 6. Installer System Test Options. (Continued)
Key to Press Test Number Description
Run
Program
Table 7. Troubleshooting Guide.
Symptom Possible Cause Action
Display does not come
on at thermostat. Thermostat is not being powered. Check if the thermostat is mounted and latched on the
wallplate; if not:
—mount and latch the thermostat on the wallplate.
Check if the circuit breaker is tripped; if it is:
—reset the circuit breaker.
Check if the fuse is blown; if it is:
—replace the fuse.
Check if the power switch at the equipment is in the Off
position; if it is:
—set to the On position.
Check for 24 Vac on terminals 2 and 3:
—replace any broken wires.
If 24 Vac is present on terminals 2 and 3:
replace the thermostat.
“1 COM”, “2 COM” or
“3 COM” is displayed. Thermostat is unable to
communicate with the W8635A. Check the connection to terminal 1 at the thermostat
and W8635A EIM:
—replace any broken wires.
cycle power.
System Switch setting
displays “off only.”During Discovery Mode, the
thermostat did not correctly set
the number of heat or cool stages.
Manually run Discovery Mode; see Installer Setup.
manually configure heat and/or cool stages
(Installer Setup 5 and 8).

69-1339—2 G.H. Rev. 6-00 www.honeywell.com
Home and Building Control Home and Building Control
Honeywell Inc. Honeywell Limited-Honeywell Limitée
Honeywell Plaza 155 Gordon Baker Road
P.O. Box 524 North York, Ontario
Minneapolis, MN 55408-0524 M2H 3N7
W8635A EQUIPMENT INTERFACE MODULE
Printed in U.S.A. on recycled
paper containing at least 10%
post-consumer paper fibers.
Heating does not come
on. System on indicator
( = heat) displays.
Communication is not being
completed.
Heat load at W8635A is not
connected correctly.
End and repeat the call for heat. Check the Flash COM
OK LED on the W8635A EIM while the call is being
made.
If the Flash COM OK LED does not blink:
check communication Bus wiring.
If the Flash COM OK LED blinks:
check that 24 Vac is present at W1 terminal.
If 24 Vac is not present:
check R to Rh connection.
If the connection is good:
replace the W8635A EIM.
Cooling does not come
on. System on indicator
( = cool) displays.
Communication is not being
completed.
Cool load at W8635A is not
connected correctly.
End and repeat the call for cool. Check the Flash COM
OK LED on the W8635A EIM while the call is being
made.
If the Flash COM OK LED does not blink:
check communication bus wiring.
If the Flash COM OK LED blinks:
check that 24 Vac is present at Y1 terminal.
If 24 Vac is not present:
check R to Rh to Rc jumper connection.
If the R to Rh to Rc connection is good:
replace the W8635A EIM.
“wait” is displayed and
the call for Cool has not
started.
Compressor protection is in
effect. Compressor protection can be set from 0 to 5 minutes
to prevent compressor damage due to rapid cycling.
Wait until the compressor protection period expires.
To bypass compressor protection during the installation
phase, see the Installer System Test section.
2nd stage heat or cool
does not energize.
Stage configuration not set
correctly to match the number of
selected stages.
Cool load at W8635A is not
connected correctly.
Set the Stage configuration in Installer Setup for two
stages or heat and/or two stages of cool.
Check that 24 Vac is present at Y2 or W2 terminal. If
24 Vac is not present, all connections are good and the
thermostat is correctly configured, replace W8635A EIM.
Fan does not come on
with a call for electric
heat.
Electric heat setting is not
configured.
Fan load at W8635A is not
connected correctly.
Set Installer Setup No. 4 to 1 for electric heat.
Check that 24 Vac is present at G terminal. If 24 Vac is
not present, all connections are good and the thermostat
is configured, replace the W8635A EIM.
Table 7. Troubleshooting Guide. (Continued)
Symptom Possible Cause Action