Hp Pavilion 17 E0J75Ua Users Manual
2015-02-09
: Hp Hp-Hp-Pavilion-17-E0J75Ua-Users-Manual-546939 hp-hp-pavilion-17-e0j75ua-users-manual-546939 hp pdf
Open the PDF directly: View PDF
.
Page Count: 120 [warning: Documents this large are best viewed by clicking the View PDF Link!]
- Product description
- External component identification
- Illustrated parts catalog
- Removal and replacement procedures preliminary requirements
- Removal and replacement procedures for Customer Self-Repair parts
- Removal and replacement procedures for Authorized Service Provider parts
- Using Setup Utility (BIOS) and HP PC Hardware Diagnostics (UEFI)
- Specifications
- Backing up, restoring, and recovering
- Power cord set requirements
- Recycling
- Index

HP Pavilion 17 TouchSmart Notebook
PC
HP Pavilion 17 Notebook PC
Maintenance and Service Guide

© Copyright 2014 Hewlett-Packard
Development Company, L.P.
AMD, the AMD Arrow logo, and
combinations thereof, are trademarks of
Advanced Micro Devices, Inc. Bluetooth is
a trademark owned by its proprietor and
used by Hewlett-Packard Company under
license. Intel, Celeron, Core, and Pentium
are U.S. registered trademarks of Intel
Corporation. Microsoft and Windows are
U.S. registered trademarks of the Microsoft
group of companies. SD Logo is a
trademark of its proprietor.
The information contained herein is subject
to change without notice. The only
warranties for HP products and services are
set forth in the express warranty statements
accompanying such products and services.
Nothing herein should be construed as
constituting an additional warranty. HP shall
not be liable for technical or editorial errors
or omissions contained herein.
Third Edition: January 2014
First Edition: April 2013
Document Part Number: 718337-003
Product notice
This guide describes features that are
common to most models. Some features
may not be available on your computer.
Not all features are available in all editions
of Windows 8. This computer may require
upgraded and/or separately purchased
hardware, drivers, and/or software to take
full advantage of Windows 8 functionality.
See http://www.microsoft.com for details.
Software terms
By installing, copying, downloading, or
otherwise using any software product
preinstalled on this computer, you agree to
be bound by the terms of the HP End User
License Agreement (EULA). If you do not
accept these license terms, your sole
remedy is to return the entire unused
product (hardware and software) within 14
days for a refund subject to the refund
policy of your place of purchase.
For any further information or to request a
full refund of the computer, please contact
your local point of sale (the seller).

Important Notice about Customer Self-Repair Parts
CAUTION: Your computer includes Customer Self-Repair parts and parts that should only be
accessed by an authorized service provider. See Chapter 5, "Removal and replacement procedures
for Customer Self-Repair parts," for details. Accessing parts described in Chapter 6, "Removal and
replacement procedures for Authorized Service Provider only parts," can damage the computer or
void your warranty.
iii
iv Important Notice about Customer Self-Repair Parts

Safety warning notice
WARNING! To reduce the possibility of heat-related injuries or of overheating the device, do not
place the device directly on your lap or obstruct the device air vents. Use the device only on a hard,
flat surface. Do not allow another hard surface, such as an adjoining optional printer, or a soft
surface, such as pillows or rugs or clothing, to block airflow. Also, do not allow the AC adapter to
contact the skin or a soft surface, such as pillows or rugs or clothing, during operation. The device
and the AC adapter comply with the user-accessible surface temperature limits defined by
the International Standard for Safety of Information Technology Equipment (IEC 60950).
v
vi Safety warning notice

Table of contents
1 Product description ........................................................................................................................................ 1
2 External component identification .............................................................................................................. 10
Finding your hardware and software information ............................................................................... 10
Locating hardware ............................................................................................................. 10
Display ................................................................................................................................................ 10
Buttons and speakers ......................................................................................................................... 12
Keys ................................................................................................................................................... 13
Lights .................................................................................................................................................. 14
TouchPad ........................................................................................................................................... 15
Left side .............................................................................................................................................. 15
Right side ........................................................................................................................................... 17
Bottom ................................................................................................................................................ 18
Labels ................................................................................................................................................. 18
3 Illustrated parts catalog ............................................................................................................................... 20
Computer major components ............................................................................................................. 20
Display assembly subcomponents ..................................................................................................... 28
Mass storage devices ......................................................................................................................... 30
Miscellaneous parts ............................................................................................................................ 31
Sequential part number listing ............................................................................................................ 31
4 Removal and replacement procedures preliminary requirements ........................................................... 41
Tools required .................................................................................................................................... 41
Service considerations ....................................................................................................................... 41
Plastic parts ....................................................................................................................... 41
Cables and connectors ...................................................................................................... 42
Drive handling .................................................................................................................... 42
Grounding guidelines ......................................................................................................................... 42
Electrostatic discharge damage ......................................................................................... 42
Packaging and transporting guidelines ............................................................. 44
Workstation guidelines ..................................................................... 44
5 Removal and replacement procedures for Customer Self-Repair parts ................................................. 46
Component replacement procedures ................................................................................................. 46
Battery ............................................................................................................................... 47
vii
Optical drive ....................................................................................................................... 48
Hard drive .......................................................................................................................... 49
WLAN module .................................................................................................................... 52
Memory module ................................................................................................................. 54
6 Removal and replacement procedures for Authorized Service Provider parts ...................................... 55
Component replacement procedures ................................................................................................. 55
Keyboard ........................................................................................................................... 56
Top cover ........................................................................................................................... 60
Power button board ........................................................................................................... 63
TouchPad button board ..................................................................................................... 64
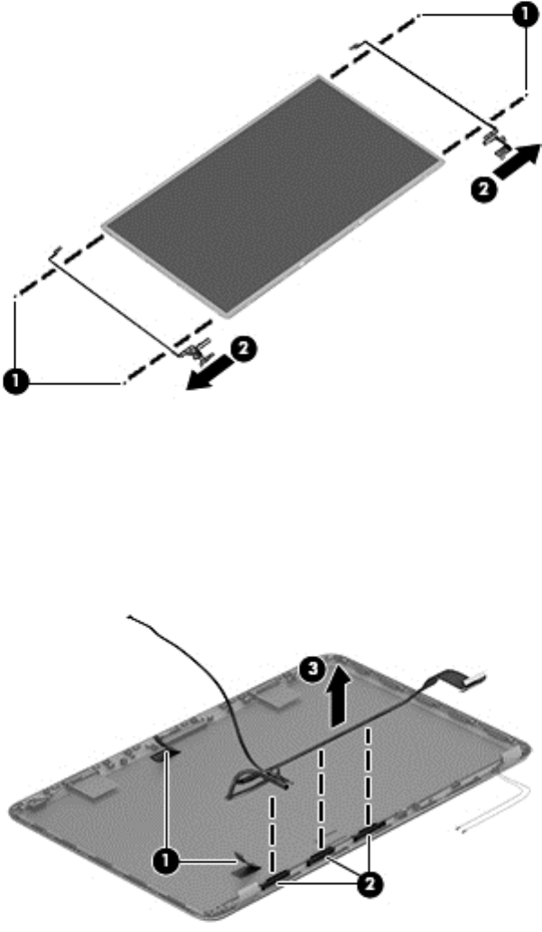
Display assembly ............................................................................................................... 65
Display assembly subcomponents .................................................................................... 67
System board ..................................................................................................................... 73
RTC battery ....................................................................................................................... 78
Fan ..................................................................................................................................... 80
Heat sink ............................................................................................................................ 81
Processor ........................................................................................................................... 85
Speakers ............................................................................................................................ 86
RJ-45/USB board ............................................................................................................... 88
Power connector cable ...................................................................................................... 89
Optical drive connector cable ............................................................................................ 90
PCH heat sink .................................................................................................................... 91
7 Using Setup Utility (BIOS) and HP PC Hardware Diagnostics (UEFI) ...................................................... 93
Starting Setup Utility (BIOS) ............................................................................................................... 93
Updating the BIOS ............................................................................................................................. 93
Determining the BIOS version ........................................................................................... 93
Downloading a BIOS update ............................................................................................. 94
Using HP PC Hardware Diagnostics (UEFI) ...................................................................................... 95
Downloading HP PC Hardware Diagnostics (UEFI) to a USB device ............................... 95
8 Specifications ................................................................................................................................................ 96
Computer specifications ..................................................................................................................... 96
17.3 inch display specifications .......................................................................................................... 96
Hard drive specifications .................................................................................................................... 97
9 Backing up, restoring, and recovering ....................................................................................................... 98
Creating recovery media and backups ............................................................................................... 98
Creating HP Recovery media ............................................................................................ 98
viii
Restore and recovery ......................................................................................................................... 99
Recovering using HP Recovery Manager ........................................................................ 100
What you need to know ................................................................................... 100
Using the HP Recovery partition ..................................................................... 100
Using HP Recovery media to recover ............................................................. 101
Changing the computer boot order ................................................................. 101
Removing the HP Recovery partition ............................................................................... 102
10 Power cord set requirements .................................................................................................................. 103
Requirements for all countries .......................................................................................................... 103
Requirements for specific countries and regions ............................................................................. 104
11 Recycling ................................................................................................................................................... 106
Index ................................................................................................................................................................. 107
ix
x

1 Product description
Category Description Computer models
equipped with an
AMD processor
Computer models
equipped with an
Intel processor
Product Name HP Pavilion 17 TouchSmart Notebook PC
HP Pavilion 17 Notebook PC
√√
Processors AMD
●AMD® A10-5750M 2.50 GHz
processor (turbo up to 3.50 GHz;
1600 MHz FSB, 4.0 MB L2 cache,
DDR3, quad core, 35 W)
●AMD A10-4600M 2.30 GHz
processor (turbo up to 3.20 GHz;
1600 MHz FSB, 4.0 MB L2 cache,
DDR3, quad core, 35 W)
●AMD A8-5550M 2.10 GHz processor
(turbo up to 3.10 GHz; 1600 MHz
FSB, 4.0 MB L2 cache, DDR3, quad
core, 35 W)
●AMD A8-4500M 1.90 GHz processor
(turbo up to 2.80 GHz; 1600 MHz
FSB, 4.0 MB L2 cache, DDR3, quad
core, 35 W)
●AMD A6-5350M 2.90 GHz processor
(turbo up to 3.50 GHz; 1600 MHz
FSB, 1.0 MB L2 cache, DDR3, dual
core, 35 W), not supported for use on
computer models equipped with
Windows® 8.1
●AMD A6-5200 2.0 GHz processor
(1600 MHz, 2 MB L2 cache, DDR3L,
quad core, 25 W)
●AMD A6-4400M 2.70 GHz processor
(turbo up to 3.20 GHz; 1600 MHz
FSB, 1.0 MB L2 cache, DDR3, dual
core, 35 W)
●AMD A4-5150M 2.70 GHz processor
(turbo up to 3.30 GHz; 1600 MHz
FSB, 1.0 MB L2 cache, DDR3, dual
core, 35 W); not supported for use on
computer models equipped with
Windows 8.1
●AMD A4-5000 1.5 GHz processor
(1600MHz, 2 MB L2 cache DDR3L,
quad core, 15 W)
●AMD E1-2500 1.4 GHz processor
(1600MHz, 1 MB L2 cache, DDR3L),
dual core 15 W)
√
1

Category Description Computer models
equipped with an
AMD processor
Computer models
equipped with an
Intel processor
Processors (continued) 4th Generation Intel Core
●Intel® Core® i7-4702MQ 2.20 GHz
processor (SC turbo up to 2.90 GHz;
1600 MHz FSB, 6.0 MB L3 cache,
quad core, 37 W)
●Intel Core i5-4200M 2.5 GHz
processor (SC turbo up to 3.10 GHz;
1600 MHz FSB, 3.0 MB L3 cache,
dual core, 37 W)
●Intel Core i3-4000M 2.40 GHz
processor (1600 MHz FSB, 3.0 MB
L3 cache, dual core, 37 W)
●Intel Pentium® 3550M 2.40 GHz
processor (1600 MHz FSB, 2.0 MB
L3 cache, dual core, 37 W)
●Intel Celeron® 2950M 2.00 GHz
processor (1600 MHz FSB, 2.0 MB
L3 cache, 37 W)
3rd Generation Intel Core
●Intel Core i7-3632QM (2.2 GHz
processor (SC turbo up to 3.2GHz,
1600 MHz, 6 MB L3 Cache, DDR3,
quad core, 35 W)
●Intel Core i5-3230M 2.60 GHz
processor (SC turbo up to 3.20 GHz;
1600 MHz FSB, 3.0 MB L3 cache,
dual core, 35 W)
●Intel Core i3-3130M 2.60 GHz
processor (1600 MHz FSB, 3.0 MB
L3 cache, dual core, 35 W)
●Intel Core i3-3110M 2.40 GHz
processor (1333 MHz FSB, 3.0 MB
L3 cache, dual core, 35 W)
●Intel Pentium 2030M 2.50 GHz
processor (1600 MHz FSB, 2.0 MB
L3 cache, dual core, 35 W)
●Intel Pentium 2020M 2.40 GHz
processor (1600 MHz FSB, 2.0 MB
L3 cache, dual core, 35 W)
●Intel Celeron 1005M 1.90 GHz
processor (1600 MHz, 2.0 MB L3
cache, dual core, 35 W)
√
Chipset AMD A76M fusion controller hub √
Intel HM86 Express Chipset
Intel HM76 Express Chipset
√
2 Chapter 1 Product description

Category Description Computer models
equipped with an
AMD processor
Computer models
equipped with an
Intel processor
Graphics Internal graphics:
●AMD Radeon™ HD 8650G graphics
on computer models equipped with
an AMD A10-5750M processor
●AMD Radeon HD 8550G graphics on
computer models equipped with an
AMD A8-5550M processor
●AMD Radeon HD 8450G graphics on
computer models equipped with an
AMD A6-5350M processor; not
supported for use on computer
models equipped with Windows 8.1
●AMD Radeon HD 8350G graphics on
computer models equipped with an
AMD A4-5150M processor; not
supported for use on computer
models equipped with Windows 8.1
●AMD Radeon HD 8400 graphics on
computer models equipped with an
AMD A6-5200 processor
●AMD Radeon HD 8330 graphics on
computer models equipped with an
AMD A4-5000 processor
●AMD Radeon HD 8240 graphics on
computer models equipped with an
AMD E1-2500 processor
●AMD Radeon HD 7660G on
computer models equipped with an
A10-4600M processor
●AMD Radeon HD 7640G on
computer models equipped with an
AMD A8-4500M processor
●AMD Radeon HD 7520G on
computer models equipped with an
AMD A6-4400M processor
√
3

Category Description Computer models
equipped with an
AMD processor
Computer models
equipped with an
Intel processor
Graphics (continued) Switchable graphics:
●AMD Radeon HD 8670M with 1 GB
of dedicated video memory (128 M x
16 DDR3 1 GHz x 4 pcs; 1 GHz
downgrade to 900 MHz)
●AMD Radeon HD 8670M with 2 GB
of dedicated video memory (256 M x
16 DDR3 1 GHz x 4 pcs; 1 GHz
downgrade to 900 MHz)
Support for HD decode, DX11, and HDMI
Support for PX5.5 (supported for use on
computer models equipped with Windows
8.0)
Support for PX7.0 (supported for use on
computer models equipped with Windows
8.1)
AMD Start Now (AMD IOIC) 1.0 on
computer models equipped with an AMD
A10-5750, A8-5550, A6-5350, or A4-5150
processor
√
Dual graphics:
●AMD Radeon HD 8650G + HD
8670M dual graphics on computer
models equipped with an AMD
A10-5750 processor
●AMD Radeon HD 8550G + HD
8670M dual graphics on computer
models equipped with an AMD
A8-5550 processor
●AMD Radeon HD 8450G + HD
8670M dual graphics on computer
models equipped with an AMD
A6-5350 processor; not supported for
use on computer models equipped
with Windows 8.1
●AMD Radeon HD 7660G + HD
8670M dual graphics on computer
models equipped with an AMD
A10-4600M processor
●AMD Radeon HD 7640G + HD
8670M dual graphics on computer
models equipped with an A8-4500M
processor
●AMD Radeon HD 7520G + HD
8670M Dual Graphics dual graphics
on computer models equipped with
an A6-4400M processor
√
4 Chapter 1 Product description

Category Description Computer models
equipped with an
AMD processor
Computer models
equipped with an
Intel processor
Graphics (continued) Internal graphics:
●Intel HD Graphics 4600 on computer
models equipped with an Intel 4th
Generation Core processor
●Intel HD Graphics 4000 on computer
models equipped with an Intel 3rd
Generation Core processor
●Intel HD Graphics on computer
models equipped with an Intel
Pentium or Celeron processor
Switchable Discrete Graphics:
●AMD Radeon HD 8670M (64 bit), M2
package, 28 nm, 25 W, 4 pcs of
dedicated video memory (2 GB
VRAM, 256 MB×16, DDR3, 1 GHz×4
pcs)
●AMD Radeon HD 8670M (64 bit), M2
package, 28 nm, 25 W, 4 pcs of
dedicated video memory (1 GB
VRAM, 128 MB×16, DDR3, 1 GHz×4
pcs, 1 GHz bridge to 900 MHz)
Support for HD decode, DX11, and HDMI
Support for PX5.5 (supported for use on
computer models equipped with Windows
8.0)
Support for MS Hybrid Graphic
√
Panel ●17.3 in, high-definition+ (HD+), white
light-emitting diode (WLED),
BrightView (1600×900), wedge (6.0
mm), SVA, typical brightness 200
nits, 16:9 ultra wide aspect ratio
●17.3 in, HD+ WLED AntiGlare
(1600x900) wedge (6.0 mm) SVA
touchscreen solution with flush glass,
multitouch enabled
√√
5

Category Description Computer models
equipped with an
AMD processor
Computer models
equipped with an
Intel processor
Memory Two customer-accessible/upgradable
memory module slots
Support for DDR3L (1600 MHz)
dual channel
Support for DDR3L-1600 MHz single
channel (for use on computer models
equipped with an AMD A6-5200, A4-500,
or E1-2500 processor)
Support for up to 12288 MB of system
RAM in the following configurations:
●12288 MB (8192 MB x 1+ 4096 MB x
1), not supported for use on computer
models equipped with a 32 bit OS
●8192 MB (8192 MB×1, 4096 MB×2),
not supported for use on computer
models equipped with a 32 bit OS
●6144 MB (4096 MB+2048 MB), not
supported for use on computer
models equipped with a 32 bit OS
●4096 MB (4096 MB×1)
√√
Hard drive Support for 6.35 cm (2.5 in) hard drives in
7.0 mm (.28 in) and 9.5 mm (.37 in)
thickness
Support for Serial ATA
Support for HP 3D DriveGuard hard drive
protection
Support for the following hard drives:
●1 TB, 5400 rpm, 9.5 mm
●750 GB, 5400 rpm, 9.5 mm
●640 GB, 5400 rpm, 9.5 mm
(supported for use on computer
models equipped with Intel
processors and supported for use on
computer models equipped with AMD
processors with Windows 8.0)
●500 GB, 5400 rpm, 9.5, and 7.0 mm
√√
Optical drive 9.5 mm tray load
SATA
Fixed (not modular)
DVD±RW Double Layer SuperMulti Drive
√√
6 Chapter 1 Product description

Category Description Computer models
equipped with an
AMD processor
Computer models
equipped with an
Intel processor
Audio and video Dual speakers
Single digital microphone
HD Audio
DTS sound+
Integrated HP TrueVision HD webcam
(fixed [no tilt], activity LED, 1280×720 by
30 frames per second)
√√
Ethernet Integrated 10/100 network interface card
(NIC)
√√
Wireless Integrated wireless local area network
(WLAN) options by way of
wireless module
Two WLAN antennas built into
display assembly
Compatible with Miracast-certified devices.
Support for the following WLAN formats:
●Qualcomm Atheros QCA9485
802.11b/g/n WiFi Adapter
●Qualcomm Atheros AR9565 802.11b/g/n
1×1 WiFi + Bluetooth 4.0
Combo Adapter
●Ralink RT3290LE 802.11b/g/n 1×1
WiFi and Bluetooth 4.0
Combo Adapter
●Realtek RTL8188EE 802.11b/g/n
WiFi Adapter
√√
●Intel Centrino Wireless-N 2230
Combo Adapter (not supported for
use on computer models equipped
with Windows 8.1)
●Intel Wireless-N 7260BN 802.11b/g/n
2×2 WiFi + Bluetooth 4.0
Combo Adapter
Antenna support for 802.11a/b/g/n -
Multiple-Input and Multiple-Output (MIMO)
support 2x2
√
External media cards HP 2 in-1 multiformat Digital Media
Reader Slot with push-push technology.
Reads data from and writes data to digital
memory cards such as Secure Digital
(SD).
√√
7

Category Description Computer models
equipped with an
AMD processor
Computer models
equipped with an
Intel processor
Ports ●AC adapter, HP Smart
●Audio in (mono microphone)/audio-
out (stereo headphone) combo jack
●HDMI v1.4 supporting up to
1920×1080 @ 60Hz
●RJ-45 (Ethernet)
●USB: two USB 3.0 ports, one USB
2.0 port
●VGA (Dsub 15 pin) supporting:
◦1920×1600 external resolution
@ 60 Hz
◦2048×1536 @ 75Hz (computer
models equipped with an Intel
processor only)
◦Hot plug and unplug
◦Autodetection for correct output
to wide-aspect versus standard
aspect video
√√
Keyboard/pointing
devices
Full-size, island-style keyboard with
numeric keypad in black or white finish
Gesture support: MultiTouch gestures
enabled, two-finger scrolling, and pinch-
zoom as default
Taps enabled by default
Support for Windows 8 modern trackpad
√√
Power requirements Support for the following AC adapters:
●90 W HP Smart AC adapter (PFC,
4.5 mm)
●65 W HP Smart AC adapter (non-
PFC, 4.5 mm)
√√
Support for the following batteries:
●6 cell, 62 Wh, 2.80 Ah, Li-ion battery
●6 cell, 47 Wh, 2.20 Ah, Li-ion battery
√√
Security Security cable lock √√
8 Chapter 1 Product description

Category Description Computer models
equipped with an
AMD processor
Computer models
equipped with an
Intel processor
Operating system Preinstalled:
●Windows 8.1 Standard
●Windows 8 Standard
●FreeDOS
√√
Serviceability End user replaceable parts:
●AC adapter
●Battery (system)
●Hard drive
●Memory modules (expansion and
primary)
●Optical drive
●WLAN module
√√
9

2 External component identification
Finding your hardware and software information
Locating hardware
To find out what hardware is installed on your computer:
1. From the Start screen, type control panel, and then select Control Panel.
2. Select System and Security, and then in the System area, click Device Manager in the left
column.
A list reveals all the devices installed in your computer.
Display
Item Component Description
(1) Internal display switch Turns off the display and initiates Sleep if the display is
closed while the power is on.
NOTE: The internal display switch is not visible from
the outside of the computer.
(2) WLAN antennas (2)* Send and receive wireless signals to communicate
with WLANs.
(3) Webcam light On: The webcam is in use.
(4) Webcam Records video and captures still photographs.
10 Chapter 2 External component identification

Item Component Description
(5) Internal microphone Records sound.
*The antennas are not visible from the outside of the computer. For optimal transmission, keep the areas immediately
around the antennas free from obstructions. For wireless regulatory notices, see the section of the Regulatory, Safety, and
Environmental Notices that applies to your country or region. To access this guide, from the Start screen, type support,
select the HP Support Assistant app.
Display 11

Buttons and speakers
Item Component Description
(1) Power button ●When the computer is off, press the button to turn
on the computer.
●When the computer is on, press the button briefly
to initiate Sleep.
●When the computer is in the Sleep state, press the
button briefly to exit Sleep.
●When the computer is in Hibernation, press the
button briefly to exit Hibernation.
CAUTION: Pressing and holding down the power
button will result in the loss of unsaved information.
If the computer has stopped responding and Microsoft®
Windows shutdown procedures are ineffective, press
and hold the power button down for at least 5 seconds
to turn off the computer.
NOTE: For select models, the Intel Rapid Start
Technology feature is enabled at the factory. Rapid Start
Technology allows your computer to resume quickly
from inactivity.
(2) Speakers (2) Produce sound.
12 Chapter 2 External component identification

Keys
Item Component Description
(1) esc key Reveals system information when pressed in
combination with the fn key.
(2) fn key Reveals system information when pressed in
combination with the esc key.
(3) Windows key Returns you to the Start screen from an open app or the
Windows desktop.
NOTE: Pressing the Windows logo key again will
return you to the previous screen.
(4) Action keys Execute frequently used system functions.
(5) num lk key Controls the function of the integrated numeric keypad.
Press the key to alternate between the standard
numeric function found on an external keypad (this
function is turned on at the factory) and the navigational
function (indicated by the directional arrows on the
keys).
NOTE: The keypad function that is active when the
computer is turned off is reinstated when the computer
is turned back on.
(6) Integrated numeric keypad Set at the factory to function like an external numeric
keypad. To alternate between this numeric function and
the navigational function (indicated by the directional
arrows on the keys), press the num lock key.
Keys 13

Lights
Item Component Description
(1) Power light ●White: The computer is on.
●Blinking white: The computer is in the Sleep state,
which is an energy-saving mode. The computer
shuts off power to the display and other
unneeded components.
●Off: The computer is off or in Hibernation.
Hibernation is an energy-saving mode that uses
the least amount of power.
NOTE: For select models, the Intel Rapid Start
Technology feature is enabled at the factory. Rapid Start
Technology allows your computer to resume quickly
from inactivity.
(2) Mute light ●Amber: Computer sound is off.
●Off: Computer sound is on.
(3) Wireless light On: An integrated wireless device, such as a WLAN
device and/or a Bluetooth device, is on.
NOTE: On some models, the wireless light is amber
when all wireless devices are off.
(4) Caps lock light On: Caps lock is on, which switches the keys to all
capital letters.
14 Chapter 2 External component identification

TouchPad
Item Component Description
(1) TouchPad zone Moves the on-screen pointer and selects or activates
items on the screen.
NOTE: The TouchPad also supports edge-swipe
gestures.
(2) Left TouchPad button Functions like the left button on an external mouse.
(3) Right TouchPad button Functions like the right button on an external mouse.
Left side
Item Component Description
(1) External monitor port Connects an external VGA monitor or projector.
(2) Vent Enables airflow to cool internal components.
NOTE: The computer fan starts up automatically to
cool internal components and prevent overheating. It is
normal for the internal fan to cycle on and off during
routine operation.
(3) HDMI port Connects an optional video or audio device, such as a
high-definition television, any compatible digital or audio
component, or a high-speed HDMI device.
(4) USB 3.0 ports (2) Connect optional USB 3.0 devices and provide
enhanced USB power performance.
TouchPad 15

Item Component Description
(5) Audio-out (headphone) jack/Audio in
(microphone) jack
Connects optional powered stereo speakers,
headphones, earbuds, a headset, or a television audio
cable. Also connects an optional headset microphone.
This jack does not support optional microphone-only
devices.
WARNING! To reduce the risk of personal injury,
adjust the volume before putting on headphones,
earbuds, or a headset. For additional safety information,
refer to the Regulatory, Safety, and Environmental
Notices. To access this guide, from the Start screen,
type support, select the HP Support Assistant app,
select My computer, and then select User guides.
NOTE: When a device is connected to the jack, the
computer speakers are disabled.
NOTE: Be sure that the device cable has a 4-
conductor connector that supports both audio-out
(headphone) and audio in (microphone).
(6) Media Card Reader Reads data from and writes data to digital memory
cards such as Secure Digital (SD).
(7) Hard drive light ●Blinking white: The hard drive is being accessed.
●Amber: HP 3D DriveGuard has temporarily parked
the hard drive.
(8) Power light ●White: The computer is on.
●Blinking white: The computer is in the Sleep state,
which is an energy-saving mode. The computer
shuts off power to the display and other
unneeded components.
●Off: The computer is off or in Hibernation.
Hibernation is an energy-saving mode that uses
the least amount of power.
NOTE: For select models, the Intel Rapid Start
Technology feature is enabled at the factory. Rapid
Start Technology allows your computer to resume
quickly from inactivity.
16 Chapter 2 External component identification

Right side
Item Component Description
(1) Optical drive Reads and writes to an optical disc.
(2) Optical drive eject button Releases the disc tray.
(3) USB 2.0 port Connects an optional USB device.
(4) RJ-45 (network) jack Connects a network cable.
(5) AC adapter light ●White: The AC adapter is connected and the
battery is charged.
●Amber: The AC adapter is connected and the
battery is charging.
●Off: The computer is using DC power.
(6) Power connector Connects an AC adapter.
(7) Security cable slot Attaches an optional security cable to the computer.
NOTE: The security cable is designed to act as a
deterrent, but it may not prevent the computer from
being mishandled or stolen.
Right side 17

Bottom
Item Component Description
(1) Battery bay Holds the battery.
(2) Vents (5) Enable airflow to cool internal components.
NOTE: The computer fan starts up automatically to
cool internal components and prevent overheating. It is
normal for the internal fan to cycle on and off during
routine operation.
(3) Battery release latch Releases the battery from the battery bay.
(4) Service cover Provides access to the hard drive bay, the WLAN
module slot, and the memory module slots.
CAUTION: To prevent an unresponsive system,
replace the wireless module only with a wireless module
authorized for use in the computer by the governmental
agency that regulates wireless devices in your country
or region. If you replace the module and then receive a
warning message, remove the module to restore
computer functionality, and then contact support through
Help and Support. From the Start screen, type h, and
then select Help and Support.
Labels
The labels affixed to the computer provide information you may need when you troubleshoot system
problems or travel internationally with the computer.
IMPORTANT: All labels described in this section will be located in one of 3 places depending on
your computer model: Affixed to the bottom of the computer, located in the battery bay, or under the
service door.
18 Chapter 2 External component identification

●Service label—Provides important information to identify your computer. When contacting
support, you will probably be asked for the serial number, and possibly for the product number or
the model number. Locate these numbers before you contact support.
NOTE: Your service labels will resemble one of the examples shown below. Refer to the
illustration that most closely matches the service label on your computer.
Component
(1) Product name
(2) Serial number
(3) Product number
(4) Warranty period
(5) Model number (select models only)
Component
(1) Serial number
(2) Product number
(3) Warranty period
(4) Model number (select models only)
(5) Revision number
●Regulatory label(s)—Provide(s) regulatory information about the computer.
●Wireless certification label(s)—Provide(s) information about optional wireless devices and the
approval markings for the countries or regions in which the devices have been approved for use.
Labels 19

3 Illustrated parts catalog
Computer major components
20 Chapter 3 Illustrated parts catalog

Item Component Spare part number
(1) Display assembly:
17.3 in (43.94 cm), HD+, WLED, BrightView, AG, SVA, LED TouchSmart display
assembly for HP Pavilion 17 TouchSmart Notebook models
749970-001
17.3 in (43.94 cm), HD+, WLED, BrightView, AG, SVA, LED display assembly for HP Pavilion 17 Notebook
models. This display assembly is spared at the subcomponent level only. For more display assembly spare part
information, see Display assembly subcomponents on page 28.
(2) Keyboard (includes keyboard cable):
In black finish for use on all computer models in Belgium 720670-A41
In black finish for use only on computer models equipped with an Intel processor
in Bulgaria
720670-261
In black finish for use on all computer models in Canada 720670-DB1
In black finish for use on all computer models in the Czech Republic and Slovakia 720670-FL1
In black finish for use on all computer models in Denmark, Finland, Norway, and
Sweden
720670-DH1
In black finish for use on all computer models in France 720670-051
In black finish for use on all computer models in Germany 720670-041
In black finish for use on all computer models in Greece 720670-151
In black finish for use on all computer models in Hungary 720670-211
In black finish for use only on computer models equipped with an Intel processor
in Israel
720670-BB1
In black finish for use on all computer models in Italy 720670-061
In black finish for use on all computer models Internationally 720670-B31
In black finish for use only on computer models equipped with an AMD processor
in Portugal
720670-131
In black finish for use on all computer models in Romania 720670-271
In black finish for use on all computer models in Russia 720670-251
In black finish for use only on computer models equipped with an Intel processor
in Saudi Arabia
720670-171
In black finish for use on all computer models the Adriatic Region 720670-BA1
In black finish for use on all computer models in Spain 720670-071
In black finish for use on all computer models in Switzerland 720670-BG1
In black finish for use on all computer models in Turkey 720670-141
In black finish for use on all computer models in the United Kingdom 720670-031
In black finish for use on all computer models in the United States 720670-001
In white finish for use on all computer models in Belgium 724535-A41
In white finish for use only on computer models equipped with an Intel processor
in Bulgaria
724535-261
In white finish for use on all computer models in Canada 724535-DB1
Computer major components 21

Item Component Spare part number
In white finish for use on all computer models in the Czech Republic and Slovakia 724535-FL1
In white finish for use on all computer models in Denmark, Finland, Norway, and
Sweden
724535-DH1
In white finish for use on all computer models in France 724535-051
In white finish for use on all computer models in Germany 724535-041
In white finish for use on all computer models in Greece 724535-151
In white finish for on all computer models in Hungary 724535-211
In white finish for use only on computer models equipped with an Intel processor
in Israel
724535-BB1
In white finish for use on all computer models in Italy 724535-061
In white finish for use on all computer models Internationally 724535-B31
In white finish for use only on computer models equipped with an AMD processor
in Portugal
724535-131
In white finish for use on all computer models in Romania 724535-271
In white finish for use on all computer models in Russia 724535-251
In white finish for use only on computer models equipped with an Intel processor
in Saudi Arabia
724535-171
In white finish for use on all computer models in the Adriatic Region 724535-BA1
In white finish for use on all computer models in Spain 724535-071
In white finish for use on all computer models in Switzerland 724535-BG1
In white finish for use on all computer models in Turkey 724535-141
In white finish for use on all computer models in the United Kingdom 724535-031
In white finish for use on all computer models in the United States 724535-001
(3) Top cover (includes TouchPad):
In flyer red finish for use on all computer models 720681-001
In goji berry finish for use on all computer models 748414-001
In hazel berry finish for use on all computer models 748413-001
In mineral black finish for use on all computer models 733516-001
In pearl white finish for use on all computer models 720680-001
In regal purple finish for use on all computer models 720683-001
In revolutionary blue finish for use on all computer models 720682-001
In sparkling black and silver finish for use on all computer models 720684-001
(4) Power button board (includes cable)
For use with HP Pavilion 17 Notebook computer models only 720673-001
For use with HP Pavilion 17 TouchSmart Notebook computer models only 749969-001
22 Chapter 3 Illustrated parts catalog

Item Component Spare part number
(5) TouchPad button board (includes TouchPad board cable and TouchPad button
board cable)
720672-001
(6) System board (includes replacement thermal material):
HP Pavilion 17 Notebook computer models
For use only on computer models equipped with the AMD A76M chipset, a graphics
subsystem with 2 GB of discrete memory, and the Windows 8 Standard
operating system
737131-501
For use only on computer models equipped with the AMD A76M chipset, a graphics
subsystem with 2 GB of discrete memory, and the FreeDOS operating system
737131-001
For use only on computer models equipped with the AMD A76M chipset, a graphics
subsystem with 1 GB of discrete memory, and the Windows 8 Standard
operating system
720692-501
For use only on computer models equipped with the AMD A76M chipset, a graphics
subsystem with 1 GB of discrete memory, and the FreeDOS operating system
720692-001
For use only on computer models equipped with the AMD A76M chipset, a graphics
subsystem with UMA memory, and the Windows 8 Standard operating system
720691-501
For use only on computer models equipped with the AMD A76M chipset, a graphics
subsystem with UMA memory, and the FreeDOS operating system
720691-001
For use only on computer models equipped with an AMD A6-5200 processor,
a graphics subsystem with 1 GB of discrete memory, and the Windows 8 Standard
operating system
726634-501
For use only on computer models equipped with an AMD A6-5200 processor,
a graphics subsystem with 1 GB of discrete memory, and the FreeDOS
operating system
726634-001
For use only on computer models equipped with an AMD A6-5200 processor,
a graphics subsystem with UMA memory, and the Windows 8 Standard
operating system
726633-501
For use only on computer models equipped with an AMD A6-5200 processor,
a graphics subsystem with UMA memory, and the FreeDOS operating system
726633-001
For use only on computer models equipped with an AMD A4-5000 processor,
a graphics subsystem with 1 GB of discrete memory, and the Windows 8.1 Standard
operating system
747002-501
For use only on computer models equipped with an AMD A4-5000 processor,
a graphics subsystem with 1 GB of discrete memory, and the FreeDOS
operating system
747002-001
For use only on computer models equipped with an AMD A4-5000 processor,
a graphics subsystem with a UMA memory, and the Windows 8 Standard
operating system
731534-501
For use only on computer models equipped with an AMD A4-5000 processor,
a graphics subsystem with a UMA memory, and the FreeDOS operating system
731534-001
For use only on computer models equipped with an AMD E1-2500 processor, a
graphics subsystem with UMA memory, and the Windows 8 Standard
operating system
737452-501
For use only on computer models equipped with an AMD E1-2500 processor, a
graphics subsystem with UMA memory, and the FreeDOS operating system
737452-001
Computer major components 23

Item Component Spare part number
For use only on computer models equipped with the Intel HM86 chipset, a graphics
subsystem with 2 GB of discrete memory, and the Windows 8 Standard
operating system
713256-501
For use only on computer models equipped with the Intel HM86 chipset, a graphics
subsystem with 2 GB of discrete memory, and the FreeDOS operating system
713256-001
For use only on computer models equipped with the Intel HM86 chipset, a graphics
subsystem with 1 GB of discrete memory, and the Windows 8 Standard
operating system
735080-501
For use only on computer models equipped with the Intel HM86 chipset, a graphics
subsystem with 1 GB of discrete memory, and the FreeDOS operating system
735080-001
For use only on computer models equipped with the Intel HM86 chipset, a graphics
subsystem with UMA memory, and the Windows 8 Standard operating system
713255-501
For use only on computer models equipped with the Intel HM86 chipset, a graphics
subsystem with UMA memory, and the FreeDOS operating system
713255-001
For use only on computer models equipped with the Intel HM76 chipset, a graphics
subsystem with 2 GB of discrete memory, and the Windows 8 Standard
operating system
720459-501
For use only on computer models equipped with the Intel HM76 chipset, a graphics
subsystem with 2 GB of discrete memory, and the FreeDOS operating system
720459-001
For use only on computer models equipped with an Intel Core i5 or Pentium
processor, a graphics subsystem with 1 GB of discrete memory, and the Windows 8
Standard operating system
713258-501
For use only on computer models equipped with an Intel Core i5 or Pentium
processor, a graphics subsystem with 1 GB of discrete memory, and the FreeDOS
operating system
713258-001
For use only on computer models equipped with an Intel Core i5 or Pentium
processor, a graphics subsystem with UMA memory, and the Windows 8 Standard
operating system
713257-501
For use only on computer models equipped with an Intel Core i5 or Pentium
processor, a graphics subsystem with UMA memory, and the FreeDOS
operating system
713257-001
For use only on computer models equipped with an Intel Core i3-3110M 2.40 GHz
processor, a graphics subsystem with 1 GB of discrete memory, and the Windows 8
Standard operating system
729844-501
For use only on computer models equipped with an Intel Core i3-3110M 2.40 GHz
processor, a graphics subsystem with 1 GB of discrete memory, and the FreeDOS
operating system
729844-001
For use only on computer models equipped with an Intel Core i3-3110M 2.40 GHz
processor, a graphics subsystem with UMA memory, and the Windows 8 Standard
operating system
729843-501
For use only on computer models equipped with an Intel Core i3-3110M 2.40 GHz
processor, a graphics subsystem with UMA memory, and the FreeDOS
operating system
729843-001
HP Pavilion 17 TouchSmart Notebook computer models
For use only on computer models equipped with the AMD A76M chipset, a graphics
subsystem with UMA memory, and the FreeDOS operating system
749966-001
24 Chapter 3 Illustrated parts catalog

Item Component Spare part number
For use only on computer models equipped with the AMD A76M chipset, a graphics
subsystem with UMA memory, and the Windows 8.1 Standard operating system
749966-501
For use only on computer models equipped with the AMD A76M chipset, a graphics
subsystem with 1 GB of discrete memory, and the FreeDOS operating system
749967-001
For use only on computer models equipped with the AMD A76M chipset, a graphics
subsystem with 1 GB of discrete memory, and the Windows 8.1 Standard
operating system
749967-501
For use only on computer models equipped with an AMD A6-5200 processor, a
graphics subsystem with UMA memory, and the FreeDOS operating system
749968-001
For use only on computer models equipped with an AMD A6-5200 processor, a
graphics subsystem with UMA memory, and the Windows 8.1 Standard
operating system
749968-501
For use only on computer models equipped with an AMD A4-5000 processor, a
graphics subsystem with UMA memory, and the FreeDOS operating system
758897-001
For use only on computer models equipped with an AMD A4-5000 processor, a
graphics subsystem with UMA memory, and the Windows 8.1 Standard
operating system
758897-501
For use only on computer models equipped with the Intel HM76 Express chipset,
a graphics subsystem with 1 GB of discrete memory, and the FreeDOS
operating system
749983-001
For use only on computer models equipped with the Intel HM76 Express chipset,
a graphics subsystem with 1 GB of discrete memory, and the Windows 8.1 Standard
operating system
749983-501
For use only on computer models equipped with the Intel HM86 Express chipset, a
graphics subsystem with UMA memory, and the FreeDOS operating system
749984-001
For use only on computer models equipped with the Intel HM86 Express chipset, a
graphics subsystem with UMA memory, and the Windows 8.1 Standard
operating system
749984-501
For use only on computer models equipped with the Intel HM86 Express chipset,
a graphics subsystem with 1 GB of discrete memory, and the FreeDOS
operating system
749985-001
For use only on computer models equipped with the Intel HM86 Express chipset,
a graphics subsystem with 1 GB of discrete memory, and the Windows 8.1 Standard
operating system
749985-501
Thermal Material Kit (includes thermal replacement material) 719864-001
(7) Fan (includes cable) 719860-001
(8) Processor (includes replacement thermal material):
AMD A10-5750M 2.50 GHz processor (turbo up to 3.50 GHz; 1600 MHz FSB, 4.0
MB L2 cache, DDR3, quad core, 35 W)
713548-001
AMD A10-4600M 2.30 GHz processor (turbo up to 3.20 GHz; 1600 MHz FSB, 4.0
MB L2 cache, DDR3, quad core, 35 W)
683046-001
AMD A8-5550M 2.10 GHz processor (turbo up to 3.10 GHz; 1600 MHz FSB, 4.0 MB
L2 cache, DDR3, quad core, 35 W)
713551-001
AMD A8-4500M 1.90 GHz processor (turbo up to 2.80 GHz; 1600 MHz FSB, 4.0 MB
L2 cache, DDR3, quad core, 35 W)
683048-001
Computer major components 25

Item Component Spare part number
AMD A6-5350M 2.90 GHz processor (turbo up to 3.50 GHz; 1600 MHz FSB, 1.0 MB
L2 cache, DDR3, dual core, 35 W)
713550-001
AMD A6-4400M 2.70 GHz processor (turbo up to 3.20 GHz; 1600 MHz FSB, 1.0 MB
L2 cache, DDR3, dual core, 35 W)
683047-001
AMD A4-5150M 2.70 GHz processor (turbo up to 3.30 GHz; 1600 MHz FSB, 1.0 MB
L2 cache, DDR3, dual core, 35 W); not supported for use on computer models
equipped with Windows 8.1
713549-001
Intel Core i7-4702MQ 2.20 GHz processor (SC turbo up to 2.90 GHz; 1600 MHz
FSB, 6.0 MB L3 cache, quad core, 37 W)
723522-001
Intel Core i5-4200M 2.5 GHz processor (SC turbo up to 3.10 GHz; 1600 MHz FSB,
3.0 MB L3 cache, dual core, 37 W)
737328-001
Intel Core i5-3230M 2.60 GHz processor (SC turbo up to 3.20 GHz; 1600 MHz FSB,
3.0 MB L3 cache, dual core, 35 W)
711903-001
Intel Core i3-4000M 2.40 GHz processor (1600 MHz FSB, 3.0 MB L3 cache, dual
core, 37 W)
737327-001
Intel Core i3-3130M 2.60 GHz processor (1600 MHz FSB, 3.0 MB L3 cache, dual
core, 35 W)
713163-001
Intel Core i3-3110M 2.40 GHz processor (1333 MHz FSB, 3.0 MB L3 cache, dual
core, 35 W)
682417-001
Intel Pentium i7-3632QM 2.2 GHz processor (SC turbo up to 3.2 GHz, 1600 MHz, 6
MB L3 cache, DDR3, quad core, 35 W)
701658-001
Intel Pentium 3550M 2.40 GHz processor (1600 MHz FSB, 2.0 MB L3 cache,
dual core, 37 W)
737329-001
Intel Pentium 2030M 2.50 GHz processor (1600 MHz FSB, 2.0 MB L3 cache,
dual core, 35 W)
700588-002
Intel Pentium 2020M 2.40 GHz processor (1600 MHz FSB, 2.0 MB L3 cache,
dual core, 35 W)
700628-001
Intel Celeron 2950M 2.00 GHz processor (1600 MHz FSB, 2.0 MB L3 cache, 37 W) 737326-001
Intel Celeron 1005M 1.90 GHz processor (1600 MHz, 2.0 MB L3 cache, dual core,
35 W)
739356-001
Thermal Material Kit (includes thermal replacement material) 719864-001
(9) Heat sink (includes replacement thermal material):
For use only on computer models equipped with an AMD A10, A8, A6-4400M, or A4
processor and a graphics subsystem with discrete memory
720690-001
For use only on computer models equipped with an AMD A10, A8, A4, or E1-2500
processor and a graphics subsystem with UMA memory
720689-001
For use only on computer models equipped with an AMD A6-5200 and a graphics
subsystem with discrete memory
724885-001
For use only on computer models equipped with an AMD A6-5200 and a graphics
subsystem with UMA memory
724884-001
For use only on computer models equipped with an Intel processor and a graphics
subsystem with discrete memory
719862-001
For use only on computer models equipped with an Intel processor and a graphics
subsystem with UMA memory
719861-001
26 Chapter 3 Illustrated parts catalog

Item Component Spare part number
For use only on computer models equipped with an Intel Core i3-3110M processor
and a graphics subsystem with discrete memory
736176-001
For use only on computer models equipped with an Intel Core i3-3110M processor
and a graphics subsystem with UMA memory
736175-001
PCH heat sink 719863-001
Thermal Material Kit (includes thermal replacement material) 719864-001
(10) RTC battery (includes cable and double-sided tape)
RTC battery for use all on computer models except those equipped with an AMD
A6-5200, AMD A4-5000, or AMD E1-2500 processor
637193-001
RTC battery for use only on computer models equipped with an AMD A6-5200, AMD
A4-5000, or AMD E1-2500 processor
741976-001
(11) Optical drive connector cable 720668-001
(12) Speakers (include left and right speakers and cables) 720679-001
(13) Power connector cable 719859-001
(14) RJ-45/USB board (includes cable) 720674-001
(15) Battery:
6 cell, 62 Wh, 2.80 Ah, Li-ion battery 710417-001
6 cell, 47 Wh, 2.20 Ah, Li-ion battery 710416-001
(16) Base enclosure (includes 4 rubber feet, battery lock latch, battery release latch,
and RJ-45 cover)
For use only on HP Pavilion 17 Notebook computer models 720665-001
For use only on HP Pavilion 17 TouchSmart Notebook computer models 753890-001
Rubber Kit (not illustrated, includes front and rear rubber feet and display bezel
rubber screw covers)
720677-001
(17) DVD±RW Double Layer SuperMulti Drive 720671-001
(18) Hard drive (does not include hard drive bracket or hard drive connector cable):
1 TB, 5400 rpm, 9.5 mm 676521-001
750 GB, 5400 rpm, 9.5 mm 634250-001
640 GB, 5400 rpm, 9.5 mm (supported for use on computer models equipped with
Intel processors and supported for use on computer models equipped with AMD
processors with Windows 8.0)
669300-001
500 GB, 5400 rpm, 7.0 mm 683802-001
Hard Drive Hardware Kit (not illustrated, includes hard drive bracket and hard drive
connector cable)
716179-001
(19) Memory module (PC3L, 12800, 1600 MHz):
8 GB 693374-001
4 GB 691740-001
2 GB 691739-001
Computer major components 27

Item Component Spare part number
(20) WLAN module:
Qualcomm Atheros QCA9485 802.11b/g/n WiFi Adapter for use on all
computer models
675794-001
Qualcomm Atheros AR9565 802.11b/g/n 1×1 WiFi + Bluetooth 4.0 Combo Adapter
for use on all computer models
733476-001
Ralink RT3290LE 802.11b/g/n 1×1 WiFi and Bluetooth 4.0 Combo Adapter for use
on all computer models
690020-001
Realtek RTL8188EE 802.11b/g/n WiFi Adapter for use on all computer models 709848-001
Intel Centrino Wireless-N 2230 Combo Adapter for use only on computer models
equipped with an Intel processor (not supported on computer models equipped with
Windows 8.1)
670290-001
Intel Wireless-N 7260BN 802.11b/g/n 2×2 WiFi + Bluetooth 4.0 Combo Adapter for
use only on computer models equipped with an Intel processor
717384-001
(21) Service cover 720675-001
Display assembly subcomponents
NOTE: The display assembly subcomponents are for the HP Pavilion 17 Notebook non-touch
screen models only. The HP Pavilion 17 TouchSmart Notebook models are spared at the display
assembly only.
28 Chapter 3 Illustrated parts catalog

Item Component Spare part number
(1) Display bezel 720666-001
(2) 17.3 in (43.94 cm), BrightView, HD, LED, display panel 720676-001
(3) Display hinges (includes left and right hinges and hinge brackets) 720669-001
(4) Webcam/microphone module (includes double-sided adhesive) 719845-001
(5) Antenna Kit (includes left and right wireless antenna cables and transceivers) 720659-001
(6) Display panel cable (includes webcam/microphone module cable) 720667-001
(7) Display enclosure:
In flyer red finish 720661-001
In goji berry finish 748412-001
In hazel berry finish 748411-001
In mineral black finish 733515-001
In pearl white finish 720660-001
In regal purple finish 720663-001
In revolutionary blue finish 720662-001
In sparkling black and silver finish 720664-001
Display assembly subcomponents 29

Mass storage devices
Item Component Spare part number
(1) Hard drive (does not include hard drive bracket or hard drive connector cable):
1 TB, 5400 rpm, 9.5 mm 676521-001
750 GB, 5400 rpm, 9.5 mm 634250-001
640 GB, 5400 rpm, 9.5 mm (supported for use on computer models equipped with
Intel processors and supported for use on computer models equipped with AMD
processors with Windows 8.0)
669300-001
500 GB, 5400 rpm, 7.0 mm 683802-001
Hard Drive Hardware Kit, includes: 716179-001
(2a) Hard drive connector cable
(2b) Hard drive bracket
(3) External DVD±RW Double-Layer with SuperMulti Drive 720671-001
30 Chapter 3 Illustrated parts catalog

Miscellaneous parts
Component Spare part number
AC adapter:
65 W HP Smart AC adapter (non-PFC, 4.5 mm) for use on all computer models 710412-001
90 W HP Smart AC adapter (PFC, 4.5 mm) for use on all computer models 710413-001
Power cord (3 pin, black, 1.83 m):
For use on all computer models in Denmark 490371-081
For use on all computer models in Europe 490371-021
For use only on computer models equipped with an Intel processor in India 490371-BB1
For use on all computer models in North America 490371-001
For use only on computer models equipped with an Intel processor in Northwest Africa 490371-AR1
For use on all computer models in Switzerland 490371-111
For use only on computer models equipped with an Intel processor in the United Kingdom
and Singapore
490371-031
Screw Kit 720678-001
Sequential part number listing
Spare part number Description
490371-001 Power cord for use on all computer models in North America (3 pin, black, 1.83 m)
490371-021 Power cord for use on all computer models in Europe (3 pin, black, 1.83 m)
490371-031 Power cord for use on all computer models in the United Kingdom and Singapore (3 pin, black,
1.83 m)
490371-081 Power cord for use on all computer models in Denmark (3 pin, black, 1.83 m)
490371-111 Power cord for use on all computer models in Switzerland (3 pin, black, 1.83 m)
490371-AR1 Power cord for use only on computer models equipped with an Intel processor in South Africa (3
pin, black, 1.83 m)
490371-BB1 Power cord for use only on computer models equipped with an Intel processor in Israel (3 pin,
black, 1.83 m)
634250-001 750 GB, 5400 rpm, SATA, 9.5 mm hard drive (does not include hard drive bracket or hard drive
connector cable)
NOTE: The hard drive bracket and screws are included in the Hard Drive Hardware Kit, spare
part number 716179-001.
637193-001 RTC battery for use all on computer models except those equipped with an AMD A6-5200, AMD
A4-5000, or AMD E1-2500 processor (includes cable and double-sided tape)
Miscellaneous parts 31

Spare part number Description
669300-001 640 GB, 5400 rpm, SATA, 9.5 mm hard drive (does not include hard drive bracket or hard drive
connector cable); supported for use on computer models equipped with Intel processors and
supported for use on computer models equipped with AMD processors with Windows 8.0
NOTE: The hard drive bracket and screws are included in the Hard Drive Hardware Kit, spare
part number 716179-001.
670290-001 Intel Centrino Wireless-N 2230 Combo Adapter for use only on computer models equipped with
an Intel processor (not supported on computer models equipped with Windows 8.1)
675794-001 Qualcomm Atheros QCA9485 802.11b/g/n WiFi Adapter for use on all computer models
676521-001 1 TB, 5400 rpm, SATA, 9.5 mm hard drive (does not include hard drive bracket or hard drive
connector cable)
NOTE: The hard drive bracket and screws are included in the Hard Drive Hardware Kit, spare
part number 716179-001.
682417-001 Intel Core i3-3110M 2.40 GHz processor (1333 MHz FSB, 3.0 MB L3 cache, dual core, 35 W;
includes replacement thermal material))
683046-001 AMD A10-4600M 2.30 GHz processor (turbo up to 3.20 GHz; 1600 MHz FSB, 4.0 MB L2 cache,
DDR3, quad core, 35 W; includes replacement thermal material)
683047-001 AMD A6-4400M 2.70 GHz processor (turbo up to 3.20 GHz; 1600 MHz FSB, 1.0 MB L2 cache,
DDR3, dual core, 35 W; includes replacement thermal material)
683048-001 AMD A8-4500M 1.90 GHz processor (turbo up to 2.80 GHz; 1600 MHz FSB, 4.0 MB L2 cache,
DDR3, quad core, 35 W; includes replacement thermal material)
683802-001 500 GB, 5400 rpm, SATA, 7.0 mm hard drive (does not include hard drive bracket or hard drive
connector cable)
NOTE: The hard drive bracket and screws are included in the Hard Drive Hardware Kit, spare
part number 716179-001.
690020-001 Ralink RT3290LE 802.11b/g/n 1×1 WiFi and Bluetooth 4.0 Combo Adapter for use on all
computer models
691739-001 2 GB memory module (PC3L, 12800, 1600 MHz)
691740-001 4 GB memory module (PC3L, 12800, 1600 MHz)
693374-001 8 GB memory module (PC3L, 12800, 1600 MHz)
700588-002 Intel Pentium 2030M 2.50 GHz processor (1600 MHz FSB, 2.0 MB L2 cache, dual core, 35 W;
includes replacement thermal material)
700628-001 Intel Pentium 2020M 2.40 GHz processor (1600 MHz FSB, 2.0 MB L2 cache, dual core, 35 W;
includes replacement thermal material)
709848-001 Realtek RTL8188EE 802.11b/g/n WiFi Adapter for use on all computer models
701658-001 Intel Core i7-3632QM 2.2 GHz processor (SC turbo up to 3.2GHz, 1600 MHz, 6 MB L3 cache,
DDR3, quad core, 35 W; includes replacement thermal material)
710412-001 65 W HP Smart AC adapter (non-PFC, 4.5 mm) for use on all computer models
710413-001 90 W HP Smart AC adapter (PFC, 4.5 mm) for use on all computer models
710416-001 6 cell, 47 Wh, 2.20 Ah, Li-ion battery
710417-001 6 cell, 62 Wh, 2.80 Ah, Li-ion battery
711903-001 Intel Core i5-3230M 2.60 GHz processor (SC turbo up to 3.20 GHz; 1600 MHz FSB, 3.0 MB L3
cache, dual core, 35 W; includes replacement thermal material)
32 Chapter 3 Illustrated parts catalog

Spare part number Description
713163-001 Intel Core i3-3130M 2.60 GHz processor (1600 MHz FSB, 3.0 MB L3 cache, dual core, 35 W;
includes replacement thermal material)
713255-001 System board for use only on HP Pavilion 17 Notebook computer models equipped with the Intel
HM86 chipset, a graphics subsystem with UMA memory, and the FreeDOS operating system
(includes replacement thermal material)
713255-501 System board for use only on HP Pavilion 17 Notebook computer models equipped with the Intel
HM86 chipset, a graphics subsystem with UMA memory, and the Windows 8 Standard
operating system (includes replacement thermal material)
713256-001 System board for use only on HP Pavilion 17 Notebook computer models equipped with the Intel
HM86 chipset, a graphics subsystem with 2 GB of discrete memory, and the FreeDOS
operating system (includes replacement thermal material)
713256-501 System board for use only on HP Pavilion 17 Notebook computer models equipped with the Intel
HM86 chipset, a graphics subsystem with 2 GB of discrete memory, and the Windows 8 Standard
operating system (includes replacement thermal material)
713257-001 System board for use only on HP Pavilion 17 Notebook computer models equipped with an Intel
Core i5 or Pentium processor, a graphics subsystem with UMA memory, and the FreeDOS
operating system (includes replacement thermal material)
713257-501 System board for use only on HP Pavilion 17 Notebook computer models equipped with an Intel
Core i5 or Pentium processor, a graphics subsystem with UMA memory, and the Windows 8
Standard operating system (includes replacement thermal material)
713258-001 System board for use only on HP Pavilion 17 Notebook computer models equipped with an Intel
Core i5 or Pentium processor, a graphics subsystem with 1 GB of discrete memory, and the
FreeDOS operating system (includes replacement thermal material)
713258-501 System board for use only on HP Pavilion 17 Notebook computer models equipped with an Intel
Core i5 or Pentium processor, a graphics subsystem with 1 GB of discrete memory, and the
Windows 8 Standard operating system (includes replacement thermal material)
713548-001 AMD A10-5750M 2.50 GHz processor (turbo up to 3.50 GHz; 1600 MHz FSB, 4.0 MB L2 cache,
DDR3, quad core, 35 W)
713549-001 AMD A4-5150M 2.70 GHz processor (turbo up to 3.30 GHz; 1600 MHz FSB, 1.0 MB L2 cache,
DDR3, dual core, 35 W)
713550-001 AMD A6-5350M 2.90 GHz processor (turbo up to 3.50 GHz; 1600 MHz FSB, 1.0 MB L2 cache,
DDR3, dual core, 35 W)
713551-001 AMD A8-5550M 2.10 GHz processor (turbo up to 3.10 GHz; 1600 MHz FSB, 4.0 MB L2 cache,
DDR3, quad core, 35 W)
716179-001 Hard Drive Hardware Kit
717384-001 Intel Wireless-N 7260BN 802.11b/g/n 2×2 WiFi + Bluetooth 4.0 Combo Adapter for use only on
computer models equipped with an Intel processor
719845-001 Webcam/microphone module (includes double-sided adhesive)
719859-001 Power connector cable
719860-001 Fan (includes cable)
719861-001 Heat sink for use only on computer models equipped with an Intel processor and a graphics
subsystem with UMA memory (includes thermal replacement material)
719862-001 Heat sink for use only on computer models equipped with an Intel processor and a graphics
subsystem with discrete memory (includes thermal replacement material)
719863-001 PCH heat sink (includes thermal replacement material)
Sequential part number listing 33

Spare part number Description
719864-001 Thermal Material Kit (includes thermal replacement material)
720459-001 System board for use only on HP Pavilion 17 Notebook computer models equipped with the Intel
HM76 chipset, a graphics subsystem with 2 GB of discrete memory, and the FreeDOS
operating system (includes thermal replacement material)
720459-501 System board for use only on HP Pavilion 17 Notebook computer models equipped with the Intel
HM76 chipset, a graphics subsystem with 2 GB of discrete memory, and the Windows 8 Standard
operating system (includes thermal replacement material)
720659-001 Wireless Antenna Kit (includes left and right wireless antenna cables and transceivers)
720660-001 Display enclosure in pearl white finish
720661-001 Display enclosure in flyer red finish
720662-001 Display enclosure in revolutionary blue finish
720663-001 Display enclosure in regal purple finish
720664-001 Display enclosure in sparkling black and silver finish
720665-001 Base enclosure for use only on HP Pavilion 17 Notebook computer models
720666-001 Display bezel
720667-001 Display panel cable (includes webcam/microphone module cable)
720668-001 Optical drive connector cable
720669-001 Display hinges (includes left and right hinges and hinge brackets)
720670-001 Keyboard with backlight in black finish for use on all computer models in the United States
(includes backlight cable and keyboard cable)
720670-031 Keyboard with backlight in black finish for use on all computer models in the United Kingdom
(includes backlight cable and keyboard cable)
720670-041 Keyboard with backlight in black finish for use on all computer models in Germany (includes
backlight cable and keyboard cable)
720670-051 Keyboard with backlight in black finish for use on all computer models in France (includes
backlight cable and keyboard cable)
720670-061 Keyboard with backlight in black finish for use on all computer models in Italy (includes backlight
cable and keyboard cable)
720670-071 Keyboard with backlight in black finish for use on all computer models in Spain (includes backlight
cable and keyboard cable)
720670-131 Keyboard with backlight in black finish for use only on computer models equipped with an AMD
processor in Portugal (includes backlight cable and keyboard cable)
720670-141 Keyboard with backlight in black finish for use on all computer models in Turkey (includes
backlight cable and keyboard cable)
720670-151 Keyboard with backlight in black finish for use on all computer models in Greece (includes
backlight cable and keyboard cable)
720670-171 Keyboard with backlight in black finish for use only on computer models equipped with an Intel
processor in Saudi Arabia (includes backlight cable and keyboard cable)
720670-211 Keyboard with backlight in black finish for use on all computer models in Hungary (includes
backlight cable and keyboard cable)
34 Chapter 3 Illustrated parts catalog

Spare part number Description
720670-251 Keyboard with backlight in black finish for use on all computer models in Russia (includes
backlight cable and keyboard cable)
720670-261 Keyboard with backlight in black finish for use only on computer models equipped with an Intel
processor in Bulgaria (includes backlight cable and keyboard cable)
720670-271 Keyboard with backlight in black finish for use on all computer models in Romania (includes
backlight cable and keyboard cable)
720670-A41 Keyboard with backlight in black finish for use on all computer models in Belgium (includes
backlight cable and keyboard cable)
720670-B31 Keyboard with backlight in black finish for use on all computer models Internationally (includes
backlight cable and keyboard cable)
720670-BA1 Keyboard with backlight in black finish for use on all computer models the Adriatic Region
(includes backlight cable and keyboard cable)
720670-BB1 Keyboard with backlight in black finish for use only on computer models equipped with an Intel
processor in Israel (includes backlight cable and keyboard cable)
720670-BG1 Keyboard with backlight in black finish for use on all computer models in Switzerland (includes
backlight cable and keyboard cable)
720670-DB1 Keyboard with backlight in black finish for use on all computer models in Canada (includes
backlight cable and keyboard cable)
720670-DH1 Keyboard with backlight in black finish for use on all computer models in Denmark, Finland,
Norway, and Sweden (includes backlight cable and keyboard cable)
720670-FL1 Keyboard with backlight in black finish for use on all computer models in the Czech Republic
and Slovakia (includes backlight cable and keyboard cable)
720671-001 DVD±RW Double Layer SuperMulti Drive
720672-001 TouchPad button board (includes TouchPad board cable and TouchPad button board cable)
720673-001 Power button board for use with HP Pavilion 17 Notebook computer models only (includes cable)
720674-001 RJ-45/USB board (includes cable)
720675-001 Service cover
720676-001 17.3 in, BrightView, HD, LED, display panel
720677-001 Rubber Kit
720678-001 Screw Kit
720679-001 Speaker Kit (includes left and right speakers and cables)
720680-001 Top cover in pearl white finish (includes TouchPad)
720681-001 Top cover in flyer red finish (includes TouchPad)
720682-001 Top cover in revolutionary blue finish (includes TouchPad)
720683-001 Top cover in regal purple finish (includes TouchPad)
720684-001 Top cover in sparkling black and silver finish (includes TouchPad)
720689-001 Heat sink for use only on computer models equipped with an AMD A10, A8, A4, or E1-2500
processor and a graphics subsystem with UMA memory (includes thermal replacement material)
720690-001 Heat sink for use only on computer models equipped with an AMD A10, A8, A6-4400M, or A4
processor and a graphics subsystem with discrete memory (includes thermal
replacement material)
Sequential part number listing 35

Spare part number Description
720691-001 System board for use only on HP Pavilion 17 Notebook computer models equipped with the AMD
A76M chipset, a graphics subsystem with UMA memory, and the FreeDOS operating system
(includes thermal replacement material)
720691-501 System board for use only on HP Pavilion 17 Notebook computer models equipped with the AMD
A76M chipset, a graphics subsystem with UMA memory, and the Windows 8 Standard
operating system (includes thermal replacement material)
720692-001 System board for use only on HP Pavilion 17 Notebook computer models equipped with the AMD
A76M chipset, a graphics subsystem with 1 GB of discrete memory, and the FreeDOS
operating system (includes thermal replacement material)
720692-501 System board for use only on HP Pavilion 17 Notebook computer models equipped with the AMD
A76M chipset, a graphics subsystem with 1 GB of discrete memory, and the Windows 8 Standard
operating system (includes thermal replacement material)
723522-001 Intel Quad Core i7-4702MQ 2.20 GHz processor (SC turbo up to 2.90 GHz; 1600 MHz FSB, 6.0
MB L3 cache, 37 W; includes thermal replacement material)
724535-001 Keyboard with backlight in white finish for use on all computer models in the United States
(includes backlight cable and keyboard cable)
724535-031 Keyboard with backlight in white finish for use on all computer models in the United Kingdom
(includes backlight cable and keyboard cable)
724535-041 Keyboard with backlight in white finish for use on all computer models in Germany (includes
backlight cable and keyboard cable)
724535-051 Keyboard with backlight in white finish for use on all computer models in France (includes
backlight cable and keyboard cable)
724535-061 Keyboard with backlight in white finish for use on all computer models in Italy (includes backlight
cable and keyboard cable)
724535-071 Keyboard with backlight in white finish for use on all computer models in Spain (includes backlight
cable and keyboard cable)
724535-131 Keyboard with backlight in white finish for use only on computer models equipped with an AMD
processor in Portugal (includes backlight cable and keyboard cable)
724535-141 Keyboard with backlight in white finish for use on all computer models in Turkey (includes
backlight cable and keyboard cable)
724535-151 Keyboard with backlight in white finish for use on all computer models in Greece (includes
backlight cable and keyboard cable)
724535-171 Keyboard with backlight in white finish for use only on computer models equipped with an Intel
processor in Saudi Arabia (includes backlight cable and keyboard cable)
724535-211 Keyboard with backlight in white finish for use on all computer models in Hungary (includes
backlight cable and keyboard cable)
724535-251 Keyboard with backlight in white finish for use on all computer models in Russia (includes
backlight cable and keyboard cable)
724535-261 Keyboard with backlight in white finish for use only on computer models equipped with an Intel
processor in Bulgaria (includes backlight cable and keyboard cable)
724535-271 Keyboard with backlight in white finish for use on all computer models in Romania (includes
backlight cable and keyboard cable)
724535-A41 Keyboard with backlight in white finish for use on all computer models in Belgium (includes
backlight cable and keyboard cable)
724535-B31 Keyboard with backlight in white finish for use on all computer models Internationally (includes
backlight cable and keyboard cable)
36 Chapter 3 Illustrated parts catalog

Spare part number Description
724535-BA1 Keyboard with backlight in white finish for use on all computer models in the Adriatic Region
(includes backlight cable and keyboard cable)
724535-BB1 Keyboard with backlight in white finish for use only on computer models equipped with an Intel
processor in Israel (includes backlight cable and keyboard cable)
724535-BG1 Keyboard with backlight in white finish for use on all computer models in Switzerland (includes
backlight cable and keyboard cable)
724535-DB1 Keyboard with backlight in white finish for use on all computer models in Canada (includes
backlight cable and keyboard cable)
724535-DH1 Keyboard with backlight in white finish for use on all computer models in Denmark, Finland,
Norway, and Sweden (includes backlight cable and keyboard cable)
724535-FL1 Keyboard with backlight in white finish for use on all computer models in the Czech Republic
and Slovakia (includes backlight cable and keyboard cable)
724884-001 Heat sink for use only on computer models equipped with an AMD A6-5200 processor
and a graphics subsystem with UMA memory (includes thermal replacement material)
724885-001 Heat sink for use only on computer models equipped with an AMD A6-5200 processor
and a graphics subsystem with discrete memory (includes thermal replacement material)
726633-001 System board for use only on HP Pavilion 17 Notebook computer models equipped with an AMD
A6-5200 processor, a graphics subsystem with UMA memory, and the FreeDOS operating system
(includes thermal replacement material)
726633-501 System board for use only on HP Pavilion 17 Notebook computer models equipped with an AMD
A6-5200 processor, a graphics subsystem with UMA memory, and the Windows 8 Standard
operating system (includes thermal replacement material)
726634-001 System board for use only on HP Pavilion 17 Notebook computer models equipped with an AMD
A6-5200 processor, a graphics subsystem with 1 GB of discrete memory, and the FreeDOS
operating system (includes thermal replacement material)
726634-501 System board for use only on HP Pavilion 17 Notebook computer models equipped with an AMD
A6-5200 processor, a graphics subsystem with 1 GB of discrete memory, and the Windows 8
Standard operating system (includes thermal replacement material)
729843-001 System board for use only on HP Pavilion 17 Notebook computer models equipped with an Intel
i3-3110M processor, a graphics subsystem with UMA memory, and the FreeDOS
operating system (includes thermal replacement material)
729843-501 System board for use only on HP Pavilion 17 Notebook computer models equipped with an Intel
Core i3-3110M processor, a graphics subsystem with UMA memory, and the Windows 8 Standard
operating system (includes thermal replacement material)
729844-001 System board for use only on HP Pavilion 17 Notebook computer models equipped with an Intel
Core i3-3110M processor, a graphics subsystem with 1 GB of discrete memory, and the FreeDOS
operating system (includes thermal replacement material)
729844-501 System board for use only on HP Pavilion 17 Notebook computer models equipped with an Intel
Core i3-3110M processor, a graphics subsystem with 1 GB of discrete memory, and the
Windows 8 Standard operating system (includes thermal replacement material)
731534-001 System board for use only on HP Pavilion 17 Notebook computer models equipped with an AMD
A4-5000 processor, a graphics subsystem with a UMA memory, and the FreeDOS
operating system (includes thermal replacement material)
731534-501 System board for use only on HP Pavilion 17 Notebook computer models equipped with an AMD
A4-5000 processor, a graphics subsystem with a UMA memory, and the Windows 8 Standard
operating system (includes thermal replacement material)
Sequential part number listing 37

Spare part number Description
733476-001 Qualcomm Atheros AR9565 802.11b/g/n 1×1 WiFi + Bluetooth 4.0 Combo Adapter for use on all
computer models
733515-001 Display enclosure in mineral black finish for use on all computer models
733516-001 Top cover in mineral black finish for use on all computer models (includes TouchPad)
735080-001 System board for use only on HP Pavilion 17 Notebook computer models equipped with the Intel
HM86 chipset, a graphics subsystem with 1 GB of discrete memory, and the FreeDOS
operating system (includes thermal replacement material)
735080-501 System board for use only on HP Pavilion 17 Notebook computer models equipped with the Intel
HM86 chipset, a graphics subsystem with 1 GB of discrete memory, and the Windows 8 Standard
operating system (includes thermal replacement material)
736175-001 Heat sink for use only on computer models equipped with an Intel Core i3-3110M processor
and a graphics subsystem with UMA memory (includes thermal replacement material)
736176-001 Heat sink for use only on computer models equipped with an Intel Core i3-3110M processor
and a graphics subsystem with discrete memory (includes thermal replacement material)
737131-001 System board for use only on HP Pavilion 17 Notebook computer models equipped with the AMD
A76M chipset, a graphics subsystem with 2 GB of discrete memory, and the FreeDOS
operating system (includes thermal replacement material)
737131-501 System board for use only on HP Pavilion 17 Notebook computer models equipped with the AMD
A76M chipset, a graphics subsystem with 2 GB of discrete memory, and the Windows 8 Standard
operating system (includes thermal replacement material)
737326-001 Intel Celeron 2950M 2.00 GHz processor (1600 MHz FSB, 2.0 MB L3 cache, 37 W; includes
thermal replacement material)
737327-001 Intel Core i3-4000M 2.40 GHz processor (1600 MHz FSB, 3.0 MB L3 cache, dual core, 37 W;
includes thermal replacement material)
737328-001 Intel Core i5-4200M 2.5 GHz processor (SC turbo up to 3.10 GHz; 1600 MHz FSB, 3.0 MB L3
cache, dual core, 37 W; includes thermal replacement material)
737329-001 Intel Pentium 3550M 2.40 GHz processor (1600 MHz FSB, 2.0 MB L3 cache, dual core, 37 W;
includes thermal replacement material)
737452-001 System board for use only on HP Pavilion 17 Notebook computer models equipped with an AMD
E1-2500 processor, a graphics subsystem with UMA memory, and the FreeDOS operating system
(includes thermal replacement material)
737452-501 System board for use only on computer HP Pavilion 17 Notebook computer equipped with an
AMD E1-2500 processor, a graphics subsystem with UMA memory, and the Windows 8 Standard
operating system (includes thermal replacement material)
739356-001 Intel Celeron 1005M 1.90GHz processor (1600 MHz, 2.0 MB L3 cache, dual core, 35 W)
741976-001 RTC battery for use only on computer models equipped with an AMD A6-5200, AMD A4-5000, or
AMD E1-2500 processor (includes cable and double-sided tape)
747002-001 System board for use only on HP Pavilion 17 Notebook computer models equipped with an AMD
A4-5000 processor, a graphics subsystem with 1 GB of discrete memory, and the FreeDOS
operating system (includes thermal replacement material)
747002-501 System board for use only on HP Pavilion 17 Notebook computer models equipped with an AMD
A4-5000 processor, a graphics subsystem with 1 GB of discrete memory, and the Windows 8.1
Standard operating system (includes thermal replacement material)
748411-001 Display enclosure in hazel berry finish
748412-001 Display enclosure in goji berry finish
38 Chapter 3 Illustrated parts catalog

Spare part number Description
748413-001 Top cover in hazel berry finish for use on all computer models (includes TouchPad)
748414-001 Top cover in goji berry finish for use on all computer models (includes TouchPad)
749966-001 System board for use only on HP Pavilion 17 TouchSmart Notebook computer models equipped
with the AMD A76M chipset, a graphics subsystem with UMA memory, and the FreeDOS
operating system (includes thermal replacement material)
749966-501 System board for use only on HP Pavilion 17 TouchSmart Notebook computer models equipped
with the AMD A76M chipset, a graphics subsystem with UMA memory, and the Windows 8.1
Standard operating system (includes thermal replacement material)
749967-001 System board for use only on HP Pavilion 17 TouchSmart Notebook computer models equipped
with the AMD A76M chipset, a graphics subsystem with 1 GB of discrete memory, and the
FreeDOS operating system (includes thermal replacement material)
749967-501 System board for use only on HP Pavilion 17 TouchSmart Notebook computer models equipped
with the AMD A76M chipset, a graphics subsystem with 1 GB of discrete memory, and the
Windows 8.1 Standard operating system (includes thermal replacement material)
749968-001 System board for use only on HP Pavilion 17 TouchSmart Notebook computer models equipped
with an AMD A6-5200 processor, a graphics subsystem with UMA memory, and the FreeDOS
operating system (includes thermal replacement material)
749968-501 System board for use only on HP Pavilion 17 TouchSmart Notebook computer models equipped
with an AMD A6-5200 processor, a graphics subsystem with UMA memory, and the Windows 8.1
Standard operating system (includes thermal replacement material)
749969-001 Power button board for use with HP Pavilion 17 TouchSmart Notebook computer models only
(includes cable)
749970-001 17.3 in (43.94 cm) display assembly, HD+, WLED, BrightView, AG, SVA, LED TouchSmart
display assembly for use only on HP Pavilion 17 TouchSmart Notebook computer models
(includes webcam/microphone module and wireless antenna cables)
749983-001 System board for use only on HP Pavilion 17 TouchSmart Notebook computer models equipped
with the Intel HM76 Express chipset, a graphics subsystem with 1 GB of discrete memory, and the
FreeDOS operating system (includes replacement thermal material)
749983-501 System board for use only on HP Pavilion 17 TouchSmart Notebook computer models equipped
with the Intel HM76 Express chipset, a graphics subsystem with 1 GB of discrete memory, and the
Windows 8.1 Standard operating system (includes replacement thermal material)
749984-001 System board for use only on HP Pavilion 17 TouchSmart Notebook computer models equipped
with the Intel HM86 Express chipset, a graphics subsystem with 1 GB of discrete memory, and the
FreeDOS operating system (includes replacement thermal material)
749984-501 System board for use only on HP Pavilion 17 TouchSmart Notebook computer models equipped
with the Intel HM86 Express chipset, a graphics subsystem with 1 GB of discrete memory, and the
Windows 8.1 Standard operating system (includes replacement thermal material)
749985-001 System board for use only on HP Pavilion 17 TouchSmart Notebook computer models equipped
with the Intel HM86 Express chipset, a graphics subsystem with 1 GB of discrete memory, and the
FreeDOS operating system
749985-501 System board for use only on HP Pavilion 17 TouchSmart Notebook models equipped with the
Intel HM86 Express chipset, a graphics subsystem with 1 GB of discrete memory, and the
Windows 8.1 Standard operating system
753890-001 Base enclosure for use only on HP Pavilion 17 TouchSmart Notebook computer models
Sequential part number listing 39

Spare part number Description
758897-001 System board for use only on HP Pavilion 17 TouchSmart Notebook computer models equipped
with an AMD A4-5000 processor, a graphics subsystem with UMA memory, and the FreeDOS
operating system (includes thermal replacement material)
758897-501 System board for use only on HP Pavilion 17 TouchSmart Notebook computer models equipped
with an AMD A4-5000 processor, a graphics subsystem with UMA memory, and the Windows 8.1
Standard operating system (includes thermal replacement material)
40 Chapter 3 Illustrated parts catalog

4 Removal and replacement procedures
preliminary requirements
Tools required
You will need the following tools to complete the removal and replacement procedures:
●Flat-bladed screw driver
●Magnetic screw driver
●Phillips P0 and P1 screw drivers
Service considerations
The following sections include some of the considerations that you must keep in mind during
disassembly and assembly procedures.
NOTE: As you remove each subassembly from the computer, place the subassembly (and all
accompanying screws) away from the work area to prevent damage.
Plastic parts
CAUTION: Using excessive force during disassembly and reassembly can damage plastic parts.
Use care when handling the plastic parts. Apply pressure only at the points designated in the
maintenance instructions.
Tools required 41

Cables and connectors
CAUTION: When servicing the computer, be sure that cables are placed in their proper locations
during the reassembly process. Improper cable placement can damage the computer.
Cables must be handled with extreme care to avoid damage. Apply only the tension required to
unseat or seat the cables during removal and insertion. Handle cables by the connector whenever
possible. In all cases, avoid bending, twisting, or tearing cables. Be sure that cables are routed in
such a way that they cannot be caught or snagged by parts being removed or replaced. Handle flex
cables with extreme care; these cables tear easily.
Drive handling
CAUTION: Drives are fragile components that must be handled with care. To prevent damage to
the computer, damage to a drive, or loss of information, observe these precautions:
Before removing or inserting a hard drive, shut down the computer. If you are unsure whether the
computer is off or in Hibernation, turn the computer on, and then shut it down through the
operating system.
Before handling a drive, be sure that you are discharged of static electricity. While handling a drive,
avoid touching the connector.
Before removing a diskette drive or optical drive, be sure that a diskette or disc is not in the drive and
be sure that the optical drive tray is closed.
Handle drives on surfaces covered with at least one inch of shock-proof foam.
Avoid dropping drives from any height onto any surface.
After removing a hard drive, an optical drive, or a diskette drive, place it in a static-proof bag.
Avoid exposing an internal hard drive to products that have magnetic fields, such as monitors or
speakers.
Avoid exposing a drive to temperature extremes or liquids.
If a drive must be mailed, place the drive in a bubble pack mailer or other suitable form of protective
packaging and label the package “FRAGILE.”
Grounding guidelines
Electrostatic discharge damage
Electronic components are sensitive to electrostatic discharge (ESD). Circuitry design and structure
determine the degree of sensitivity. Networks built into many integrated circuits provide some
protection, but in many cases, ESD contains enough power to alter device parameters or melt silicon
junctions.
A discharge of static electricity from a finger or other conductor can destroy static-sensitive devices or
microcircuitry. Even if the spark is neither felt nor heard, damage may have occurred.
An electronic device exposed to ESD may not be affected at all and can work perfectly throughout a
normal cycle. Or the device may function normally for a while, then degrade in the internal layers,
reducing its life expectancy.
42 Chapter 4 Removal and replacement procedures preliminary requirements

CAUTION: To prevent damage to the computer when you are removing or installing internal
components, observe these precautions:
Keep components in their electrostatic-safe containers until you are ready to install them.
Before touching an electronic component, discharge static electricity by using the guidelines
described in this section.
Avoid touching pins, leads, and circuitry. Handle electronic components as little as possible.
If you remove a component, place it in an electrostatic-safe container.
The following table shows how humidity affects the electrostatic voltage levels generated by different
activities.
CAUTION: A product can be degraded by as little as 700 V.
Typical electrostatic voltage levels
Relative humidity
Event 10% 40% 55%
Walking across carpet 35,000 V 15,000 V 7,500 V
Walking across vinyl floor 12,000 V 5,000 V 3,000 V
Motions of bench worker 6,000 V 800 V 400 V
Removing DIPS from plastic tube 2,000 V 700 V 400 V
Removing DIPS from vinyl tray 11,500 V 4,000 V 2,000 V
Removing DIPS from Styrofoam 14,500 V 5,000 V 3,500 V
Removing bubble pack from PCB 26,500 V 20,000 V 7,000 V
Packing PCBs in foam-lined box 21,000 V 11,000 V 5,000 V
Grounding guidelines 43
Packaging and transporting guidelines
Follow these grounding guidelines when packaging and transporting equipment:
●To avoid hand contact, transport products in static-safe tubes, bags, or boxes.
●Protect ESD-sensitive parts and assemblies with conductive or approved containers or
packaging.
●Keep ESD-sensitive parts in their containers until the parts arrive at static-free workstations.
●Place items on a grounded surface before removing items from their containers.
●Always be properly grounded when touching a component or assembly.
●Store reusable ESD-sensitive parts from assemblies in protective packaging or nonconductive
foam.
●Use transporters and conveyors made of antistatic belts and roller bushings. Be sure that
mechanized equipment used for moving materials is wired to ground and that proper materials
are selected to avoid static charging. When grounding is not possible, use an ionizer to dissipate
electric charges.
Workstation guidelines
Follow these grounding workstation guidelines:
●Cover the workstation with approved static-shielding material.
●Use a wrist strap connected to a properly grounded work surface and use properly grounded
tools and equipment.
●Use conductive field service tools, such as cutters, screw drivers, and vacuums.
●When fixtures must directly contact dissipative surfaces, use fixtures made only of static-safe
materials.
●Keep the work area free of nonconductive materials, such as ordinary plastic assembly aids and
Styrofoam.
●Handle ESD-sensitive components, parts, and assemblies by the case or PCM laminate. Handle
these items only at static-free workstations.
●Avoid contact with pins, leads, or circuitry.
●Turn off power and input signals before inserting or removing connectors or test equipment.
44 Chapter 4 Removal and replacement procedures preliminary requirements

Equipment guidelines
Grounding equipment must include either a wrist strap or a foot strap at a grounded workstation.
●When seated, wear a wrist strap connected to a grounded system. Wrist straps are flexible
straps with a minimum of one megohm ±10% resistance in the ground cords. To provide proper
ground, wear a strap snugly against the skin at all times. On grounded mats with banana-plug
connectors, use alligator clips to connect a wrist strap.
●When standing, use foot straps and a grounded floor mat. Foot straps (heel, toe, or boot straps)
can be used at standing workstations and are compatible with most types of shoes or boots. On
conductive floors or dissipative floor mats, use foot straps on both feet with a minimum of one
megohm resistance between the operator and ground. To be effective, the conductive must be
worn in contact with the skin.
The following grounding equipment is recommended to prevent electrostatic damage:
●Antistatic tape
●Antistatic smocks, aprons, and sleeve protectors
●Conductive bins and other assembly or soldering aids
●Nonconductive foam
●Conductive tabletop workstations with ground cords of one megohm resistance
●Static-dissipative tables or floor mats with hard ties to the ground
●Field service kits
●Static awareness labels
●Material-handling packages
●Nonconductive plastic bags, tubes, or boxes
●Metal tote boxes
●Electrostatic voltage levels and protective materials
The following table lists the shielding protection provided by antistatic bags and floor mats.
Material Use Voltage protection level
Antistatic plastics Bags 1,500 V
Carbon-loaded plastic Floor mats 7,500 V
Metallized laminate Floor mats 5,000 V
Grounding guidelines 45

5 Removal and replacement procedures
for Customer Self-Repair parts
NOTE: The Customer Self-Repair program is not available in all locations. Installing a part not
supported by the Customer Self-Repair program may void your warranty. Check your warranty to
determine if Customer Self-Repair is supported in your location.
Component replacement procedures
NOTE: Please read and follow the procedures described here to access and replace Customer
Self-Repair parts successfully.
NOTE: Details about your computer, including model, serial number, product key, and length of
warranty, are on the labels on your computer. See Labels on page 18 for details.
This chapter provides removal and replacement procedures for Customer Self-Repair parts.
There are as many as 9 screws that must be removed, replaced, and/or loosened when servicing
Customer Self-Repair parts. Make special note of each screw size and location during removal
and replacement.
46 Chapter 5 Removal and replacement procedures for Customer Self-Repair parts

Battery
Description Spare part number
6-cell, 62-Wh, 2.80-Ah, Li-ion battery 710417-001
6-cell, 47-Wh, 2.20-Ah, Li-ion battery 710416-001
Before removing the battery, follow these steps:
1. Turn off the computer. If you are unsure whether the computer is off or in Hibernation, turn the
computer on, and then shut it down through the operating system.
2. Disconnect the power from the computer by unplugging the power cord from the computer.
3. Disconnect all external devices from the computer.
Remove the battery:
WARNING! To reduce potential safety issues, use only the user-replaceable battery provided with
the computer, a replacement battery provided by HP, or a compatible battery purchased from HP.
CAUTION: Removing a user-replaceable battery that is the sole power source for the computer can
cause loss of information. To prevent loss of information, save your work or shut down the computer
through Windows before removing the battery.
1. Turn the computer upside down on a flat surface.
2. Slide the battery release latch (1) to release the battery.
NOTE: The battery release latch automatically returns to its original position.
3. Pivot the battery (2) upward.
4. Remove the battery (3) from the computer.
Reverse this procedure to install the battery.
Component replacement procedures 47

Optical drive
NOTE: This section applies only to computer models equipped with an Intel processor.
Description Spare part number
DVD±RW Double Layer SuperMulti Drive 720671-001
Before removing the optical drive, follow these steps:
1. Turn off the computer. If you are unsure whether the computer is off or in Hibernation, turn the
computer on, and then shut it down through the operating system.
2. Disconnect the power from the computer by unplugging the power cord from the computer.
3. Disconnect all external devices from the computer.
4. Remove the battery (see Battery on page 47).
Remove the optical drive:
1. Loosen the Phillips PM3.0×10.5 captive screw (1) that secures the service cover to the
computer.
2. Slide the service cover (2) forward until it disengages from the computer.
3. Remove the service cover (3).
The service cover is available using spare part number 720675-001.
4. Position the computer with the left side toward you.
5. Remove the Phillips PM2.5×7.0 screw (1) that secures the optical drive to the computer.
6. Insert a flat-bladed screwdriver or similar tool into the optical drive tab access (2) and press the
tab to the left to release the optical drive from the computer.
48 Chapter 5 Removal and replacement procedures for Customer Self-Repair parts

7. Remove the optical drive (3).
Reverse this procedure to install the optical drive.
Hard drive
NOTE: The hard drive spare part kit does not include the hard drive bracket, hard drive connector
cable, and screws. These components are included in the Hard Drive Hardware Kit, spare part
number 716179-001.
Description Spare part number
1 TB, 5400 rpm, 9.5 mm 676521-001
750 GB, 5400 rpm, 9.5 mm 634250-001
640 GB, 5400 rpm, 9.5 mm (supported for use on computer models equipped with Intel
processors and supported for use on computer models equipped with AMD processors with
Windows 8.0)
669300-001
500 GB, 5400 rpm, 7.0 mm 683802-001
Before removing the hard drive, follow these steps:
1. Turn off the computer. If you are unsure whether the computer is off or in Hibernation, turn the
computer on, and then shut it down through the operating system.
2. Disconnect the power from the computer by unplugging the power cord from the computer.
3. Disconnect all external devices from the computer.
4. Remove the battery (see Battery on page 47).
5. Remove the service cover (see Optical drive on page 48).
Component replacement procedures 49

Remove the hard drive:
1. Remove the two Phillips PM2.5×5.75 screws (1) that secure the hard drive to the computer.
2. Disconnect the hard drive connector cable (2) from the system board.
3. Lift up on the hard drive tab (1) to release the hard drive from the hard drive bay.
4. Remove the hard drive (2).
5. If it is necessary to disassemble the hard drive, perform the following steps:
a. Position the hard drive with the connector toward you.
b. Disconnect the hard drive connector cable (1) from the hard drive.
c. Remove the four Phillips PM2.5×3.25 screws (2) that secure the hard drive bracket to the
hard drive.
d. Remove the hard drive bracket (3) from the hard drive.
The hard drive bracket, hard drive connector cable, and screws are available in the Hard
Drive Hardware Kit, spare part number 716179-001.
50 Chapter 5 Removal and replacement procedures for Customer Self-Repair parts

Reverse this procedure to install the hard drive.
Component replacement procedures 51

WLAN module
Description Spare part number
Qualcomm Atheros QCA9485 802.11b/g/n WiFi Adapter for use on all computer models 675794-001
Qualcomm Atheros AR9565 802.11b/g/n 1×1 WiFi + Bluetooth 4.0 Combo Adapter for use on all
computer models
733476-001
Ralink RT3290LE 802.11b/g/n 1×1 WiFi and Bluetooth 4.0 Combo Adapter for use on all
computer models
690020-001
Realtek RTL8188EE 802.11b/g/n WiFi Adapter for use on all computer models 709848-001
Intel Centrino Wireless-N 2230 Combo Adapter for use only on computer models equipped with
an Intel processor (not supported on computer models equipped with Windows 8.1)
670290-001
Intel Wireless-N 7260BN 802.11b/g/n 2×2 WiFi + Bluetooth 4.0 Combo Adapter for use only on
computer models equipped with an Intel processor
717384-001
CAUTION: To prevent an unresponsive system, replace the wireless module only with a wireless
module authorized for use in the computer by the governmental agency that regulates wireless
devices in your country or region. If you replace the module and then receive a warning message,
remove the module to restore device functionality, and then contact technical support.
Before removing the WLAN module, follow these steps:
1. Turn off the computer. If you are unsure whether the computer is off or in Hibernation, turn the
computer on, and then shut it down through the operating system.
2. Disconnect the power from the computer by unplugging the power cord from the computer.
3. Disconnect all external devices from the computer.
4. Remove the battery (see Battery on page 47).
5. Remove the service cover (see Optical drive on page 48).
Remove the WLAN module:
1. Disconnect the WLAN antenna cables (1) from the terminals on the WLAN module.
NOTE: The WLAN antenna cable labeled “1” connects to the WLAN module “Main” terminal
labeled “1”. The WLAN antenna cable labeled “2” connects to the WLAN module “Aux” terminal
labeled “2”.
2. Remove the Phillips PM2.5×3.25 screw (2) that secures the WLAN module to the system board.
(The WLAN module tilts up.)
52 Chapter 5 Removal and replacement procedures for Customer Self-Repair parts

3. Remove the WLAN module (3) by pulling the module away from the slot at an angle.
NOTE: If the WLAN antenna cables are not connected to the terminals on the WLAN module, the
protective sleeves must be installed on the antenna connectors, as shown in the following illustration.
Reverse this procedure to install the WLAN module.
Component replacement procedures 53

Memory module
Description Spare part number
8 GB (PC3L, 12800, 1600 MHz) 693374-001
4 GB (PC3L, 12800, 1600 MHz) 691740-001
2 GB (PC3L, 12800, 1600 MHz) 691739-001
NOTE: Before adding new memory, make sure you update the computer to the latest BIOS. Refer
to Updating the BIOS on page 93.
Before removing a memory module, follow these steps:
1. Turn off the computer. If you are unsure whether the computer is off or in Hibernation, turn the
computer on, and then shut it down through the operating system.
2. Disconnect the power from the computer by unplugging the power cord from the computer.
3. Disconnect all external devices from the computer.
4. Remove the battery (see Battery on page 47).
5. Remove the service cover (see Optical drive on page 48).
Remove the memory module:
1. Spread the retaining tabs (1) on each side of the memory module slot to release the memory
module. (The memory module tilts up.)
2. Remove the memory module (2) by pulling the module away from the slot at an angle.
Reverse this procedure to install a memory module.
54 Chapter 5 Removal and replacement procedures for Customer Self-Repair parts

6 Removal and replacement procedures
for Authorized Service Provider parts
CAUTION: Components described in this chapter should only be accessed by an authorized
service provider. Accessing these parts can damage the computer or void the warranty.
Component replacement procedures
This chapter provides removal and replacement procedures for Authorized Service Provider only
parts.
There are as many as 62 screws that must be removed, replaced, and/or loosened when servicing
the computer. Make special note of each screw size and location during removal and replacement.
Component replacement procedures 55

Keyboard
NOTE: The keyboard spare part kit includes a keyboard cable.
For use in country/region Spare part number
In black finish for use on all computer
models in Belgium
720670-A41 In black finish for use on all
computer models Internationally
720670-B31
In black finish for use only on computer
models equipped with an Intel processor
in Bulgaria
720670-261 In black finish for use only on
computer models equipped with
an AMD processor in Portugal
720670-131
In black finish for use on all computer
models in Canada
720670-DB1 In black finish for use on all
computer models in Romania
720670-271
In black finish for use on all computer
models in the Czech Republic
and Slovakia
720670-FL1 In black finish for use on all
computer models in Russia
720670-251
In black finish for use on all computer
models in Denmark, Finland, Norway,
and Sweden
720670-DH1 In black finish for use only on
computer models equipped with
an Intel processor in Saudi
Arabia
720670-171
In black finish for use on all computer
models in France
720670-051 In black finish for use on all
computer models the Adriatic
Region
720670-BA1
In black finish for use on all computer
models in Germany
720670-041 In black finish for use on all
computer models in Spain
720670-071
In black finish for use on all computer
models in Greece
720670-151 In black finish for use on all
computer models in Switzerland
720670-BG1
In black finish for use on all computer
models in Hungary
720670-211 In black finish for use on all
computer models in Turkey
720670-141
In black finish for use only on computer
models equipped with an Intel processor
in Israel
720670-BB1 In black finish for use on all
computer models
in the United Kingdom
720670-031
In black finish for use on all computer
models in Italy
720670-061 In black finish for use on all
computer models
in the United States
720670-001
In white finish for use on all computer
models in Belgium
724535-A41 In white finish for use on all
computer models Internationally
724535-B31
In white finish for use only on computer
models equipped with an Intel processor
in Bulgaria
724535-261 In white finish for use only on
computer models equipped with
an AMD processor in Portugal
724535-131
In white finish for use on all computer
models in Canada
724535-DB1 In white finish for use on all
computer models in Romania
724535-271
In white finish for use on all computer
models in the Czech Republic
and Slovakia
724535-FL1 In white finish for use on all
computer models in Russia
724535-251
In white finish for use on all computer
models in Denmark, Finland, Norway,
and Sweden
724535-DH1 In white finish for use only on
computer models equipped with
an Intel processor in Saudi
Arabia
724535-171
56 Chapter 6 Removal and replacement procedures for Authorized Service Provider parts

For use in country/region Spare part number
In white finish for use on all computer
models in France
724535-051 In white finish for use on all
computer models the Adriatic
Region
724535-BA1
In white finish for use on all computer
models in Germany
724535-041 In white finish for use on all
computer models in Spain
724535-071
In white finish for use on all computer
models in Greece
724535-151 In white finish for use on all
computer models in Switzerland
724535-BG1
In white finish for use on all computer
models in Hungary
724535-211 In white finish for use on all
computer models in Turkey
724535-141
In white finish for use only on computer
models equipped with an Intel processor
in Israel
724535-BB1 In white finish for use on all
computer models
in the United Kingdom
724535-031
In white finish for use on all computer
models in Italy
724535-061 In white finish for use on all
computer models
in the United States
724535-001
Before removing the keyboard, follow these steps:
1. Turn off the computer. If you are unsure whether the computer is off or in Hibernation, turn the
computer on, and then shut it down through the operating system.
2. Disconnect the power from the computer by unplugging the power cord from the computer.
3. Disconnect all external devices from the computer.
4. Remove the battery (see Battery on page 47).
5. Remove the service cover (see Optical drive on page 48).
Component replacement procedures 57

Remove the keyboard:
1. Remove the two Phillips PM2.5×7.0 screws that secure the keyboard to the computer.
2. Partially open the computer.
3. Rest and secure the computer on its left side.
4. Insert a thin tool into the keyboard release hole, and then press on the back of the keyboard until
the keyboard disengages from the computer.
5. Turn the computer right-side up, with the front toward you.
6. Open the computer as far as it will open.
58 Chapter 6 Removal and replacement procedures for Authorized Service Provider parts

7. Lift the rear edge of the keyboard until it rests at an angle.
8. Swing the rear edge of the keyboard (1) up and forward until it rests upside down on the
palm rest.
9. Release the zero insertion force (ZIF) connector (2) to which the keyboard ribbon cable is
attached, and then disconnect the keyboard ribbon cable (3) from the system board.
10. Remove the keyboard (4).
Reverse this procedure to install the keyboard.
Component replacement procedures 59

Top cover
NOTE: The top cover spare part kit includes the TouchPad.
Description Spare part number
In flyer red finish for use on all computer models 720681-001
In goji berry finish for use on all computer models 748414-001
In hazel berry finish for use on all computer models 748413-001
In mineral black finish for use on all computer models 733516-001
In pearl white finish for use on all computer models 720680-001
In regal purple finish for use on all computer models 720683-001
In revolutionary blue finish for use on all computer models 720682-001
In sparkling black and silver finish for use on all computer models 720684-001
Before removing the top cover, follow these steps:
1. Turn off the computer. If you are unsure whether the computer is off or in Hibernation, turn the
computer on, and then shut it down through the operating system.
2. Disconnect the power from the computer by unplugging the power cord from the computer.
3. Disconnect all external devices from the computer.
4. Remove the battery (see Battery on page 47), and then remove the following components:
a. Optical drive (see Optical drive on page 48)
b. Hard drive (see Hard drive on page 49)
c. Keyboard (see Keyboard on page 56)
NOTE: When replacing the top cover, be sure to remove the following components from the
defective top cover and install them on the replacement top cover:
●Power button board (see Power button board on page 63)
●TouchPad button board (see TouchPad button board on page 64)
Remove the top cover:
1. Close the computer.
2. Turn the computer upside down with the front toward you.
60 Chapter 6 Removal and replacement procedures for Authorized Service Provider parts

3. Remove the 15 Phillips PM2.5×7.0 screws that secure the top cover to the computer.
4. Remove the six Phillips PM2.0×3.0 screws that secure the top cover to the computer.
5. Turn the computer right side up with the front toward you.
6. Open the computer.
7. Release the ZIF connector (1) to which the power button board ribbon cable is attached, and
then disconnect the power button board ribbon cable from the system board.
Component replacement procedures 61

8. Release the ZIF connector (2) to which the TouchPad button board ribbon cable is attached, and
then disconnect the TouchPad button board ribbon cable from the system board.
9. Remove the three Phillips PM2.5×7.0 screws that secure the top cover to the computer.
10. Lift the rear edge of the top cover (1) until the left and right sides detach from the computer.
11. Remove the top cover (2).
Reverse this procedure to install the top cover.
62 Chapter 6 Removal and replacement procedures for Authorized Service Provider parts

Power button board
Description Spare part number
Power button board (includes cable)
For use only with HP Pavilion 17 Notebook computer models 720673-001
For use only with HP Pavilion 17 TouchSmart Notebook computer models 749969-001
Before removing the power button board, follow these steps:
1. Turn off the computer. If you are unsure whether the computer is off or in Hibernation, turn the
computer on, and then shut it down through the operating system.
2. Disconnect the power from the computer by unplugging the power cord from the computer.
3. Disconnect all external devices from the computer.
4. Remove the battery (see Battery on page 47), and then remove the following components:
a. Optical drive (see Optical drive on page 48)
b. Hard drive (see Hard drive on page 49)
c. Keyboard (see Keyboard on page 56)
d. Top cover (see Top cover on page 60)
Remove the power button board:
1. Turn the top cover upside down, with the front toward you.
2. Remove the Phillips PM2.5×3.0 screw (1) that secures the power button board to the top cover.
3. Release the clips (2) that secure the power button board to the top cover.
4. Remove the power button board (3) and cable.
Reverse this procedure to install the power button board.
Component replacement procedures 63

TouchPad button board
Description Spare part number
TouchPad button board (includes TouchPad button board cable and TouchPad cable) 720672-001
Before removing the TouchPad button board, follow these steps:
1. Turn off the computer. If you are unsure whether the computer is off or in Hibernation, turn the
computer on, and then shut it down through the operating system.
2. Disconnect the power from the computer by unplugging the power cord from the computer.
3. Disconnect all external devices from the computer.
4. Remove the battery (see Battery on page 47), and then remove the following components:
a. Optical drive (see Optical drive on page 48)
b. Hard drive (see Hard drive on page 49)
c. Keyboard (see Keyboard on page 56)
d. Top cover (see Top cover on page 60)
Remove the TouchPad button board:
1. Turn the top cover upside down with the front toward you.
2. Release the ZIF connector (1) to which the TouchPad board ribbon cable is attached, and then
disconnect the TouchPad board ribbon cable from the TouchPad board.
3. Detach the TouchPad button board ribbon cable (2) from the TouchPad board. (The TouchPad
button board ribbon cable is attached to the TouchPad board with double-sided adhesive.)
4. Release the two clips (3) that secure the TouchPad button board to the top cover.
5. Remove the TouchPad button board (4).
Reverse this procedure to install the TouchPad button board.
64 Chapter 6 Removal and replacement procedures for Authorized Service Provider parts

Display assembly
NOTE: The HP Pavilion 17 TouchSmart Notebook models are spared at the display assembly only.
For removal procedures for the HP Pavilion 17 Notebook non-touch screen models display assembly
subcomponents, see Display assembly subcomponents on page 67.
Component Spare part number
17.3 in (43.94 cm) display assembly, HD+, WLED, BrightView, AG, SVA, LED TouchSmart
display assembly for HP Pavilion 17 TouchSmart Notebook models (includes webcam/
microphone module and wireless antenna cables)
749970-001
To remove the display assembly, follow these steps:
1. Turn off the computer. If you are unsure whether the computer is off or in Hibernation, turn the
computer on, and then shut it down through the operating system.
2. Disconnect the power from the computer by unplugging the power cord from the computer.
3. Disconnect all external devices from the computer.
4. Remove the battery (see Battery on page 47), and then remove the following components:
a. Optical drive (see Optical drive on page 48)
b. Hard drive (see Hard drive on page 49)
c. WLAN module (see WLAN module on page 52)
d. Keyboard (see Keyboard on page 56)
e. Top cover (see Top cover on page 60)
Remove the display assembly:
1. Disconnect the display panel cable (1) from the system board.
2. Release the display panel cable from the clips built into the base enclosure (2).
Component replacement procedures 65

3. Release the wireless antenna cables from the clips built into the base enclosure (3).
4. Remove the four Phillips PM2.5×7.0 screws (1) that secure the display assembly to the
base enclosure.
5. Remove the display assembly (2) from the computer.
Reverse this procedure to reassemble and install the display assembly.
66 Chapter 6 Removal and replacement procedures for Authorized Service Provider parts

Display assembly subcomponents
NOTE: The display assembly subcomponents are for the HP Pavilion 17 Notebook non-touch
screen models only. For removal procedures for an HP Pavilion 17 TouchSmart Notebook model
display assembly; see Display assembly on page 65.
Component Spare part number
Antenna Kit (includes left and right wireless antenna cables and transceivers) 720659-001
Display bezel 720666-001
Display enclosure:
In flyer red finish 720661-001
In goji berry finish 748412-001
In hazel berry finish 748411-001
In mineral black finish 733515-001
In pearl white finish 720660-001
In regal purple finish 720663-001
In revolutionary blue finish 720662-001
In sparkling black and silver finish 720664-001
Display hinges (includes left and right hinges and hinge brackets) 720669-001
Display panel, 17.3 in (43.94 cm), BrightView, HD, LED, display panel 720676-001
Display panel cable (includes webcam/microphone module cable) 720667-001
Webcam/microphone module (includes double-sided adhesive) 719845-001
To remove the display assembly and access the display assembly subcomponents, follow these
steps:
1. Turn off the computer. If you are unsure whether the computer is off or in Hibernation, turn the
computer on, and then shut it down through the operating system.
2. Disconnect the power from the computer by unplugging the power cord from the computer.
3. Disconnect all external devices from the computer.
4. Remove the battery (see Battery on page 47), and then remove the following components:
a. Optical drive (see Optical drive on page 48)
b. Hard drive (see Hard drive on page 49)
c. WLAN module (see WLAN module on page 52)
d. Keyboard (see Keyboard on page 56)
e. Top cover (see Top cover on page 60)
Remove the display assembly:
1. Disconnect the display panel cable (1) from the system board.
2. Release the display panel cable from the clips built into the base enclosure (2).
Component replacement procedures 67

3. Release the wireless antenna cables from the clips built into the base enclosure (3).
4. Remove the four Phillips PM2.5×7.0 screws (1) that secure the display assembly to the
base enclosure.
5. Remove the display assembly (2) from the computer.
68 Chapter 6 Removal and replacement procedures for Authorized Service Provider parts

6. If it is necessary to replace the display bezel or any of the display assembly subcomponents:
a. Remove the two screw covers (1) and the two Phillips PM2.5×5.5 screws (2) that secure
the display bezel to the display assembly.
The screw covers are available in the Rubber Kit, spare part number 720677-001.
b. Flex the inside edges of the top edge (1), the left and right sides (2), and the
bottom edge (3) of the display bezel until the bezel disengages from the display enclosure.
Component replacement procedures 69

c. Remove the display bezel (4).
7. If it is necessary to replace the webcam/microphone module:
CAUTION: Handle the webcam/microphone module with caution. This module has a
thin profile and is susceptible to damage when not handled carefully.
a. Detach the webcam/microphone module (1) from the display enclosure. (The webcam/
microphone module is attached to the display enclosure with double-sided adhesive.)
b. Disconnect the webcam/microphone module cable (1) from the webcam/
microphone module.
c. Remove the webcam/microphone module.
70 Chapter 6 Removal and replacement procedures for Authorized Service Provider parts

8. If it is necessary to replace the display panel:
a. Remove the six Phillips PM2.5×4.5 screws that secure the display panel to the
display enclosure.
CAUTION: Before turning the display panel upside down, make sure the work surface is
clear of tools, screws, and any other foreign objects. Failure to follow this caution can result
in damage to the display panel.
b. Lift the top edge of the display panel (1) and swing it up and forward until it rests upside
down in front of the display enclosure.
c. Release the adhesive strip (2) that secures the display panel cable connector (3) to the
display panel.
d. Disconnect the display panel cable (4) from the display panel.
e. Remove the display panel.
Component replacement procedures 71

9. If it is necessary to replace the display hinges:
a. Remove the four Phillips PM2.0×3.0 screws (1) that secure the display hinges to the
display panel.
b. Remove the display hinges (2).
10. If it is necessary to replace the display panel cable:
a. Release the webcam/microphone module cable from the adhesive (1) attached to the
display enclosure.
b. Release the display panel cable from the clips (2) and routing channel built into the
display enclosure.
c. Remove the display panel cable (3).
72 Chapter 6 Removal and replacement procedures for Authorized Service Provider parts

11. If it is necessary to replace the wireless antenna:
a. Detach the wireless antenna transceivers (1) from the display enclosure. (The wireless
antenna transceivers are attached to the display enclosure with double-sided adhesive.)
b. Release the wireless antenna cables from the clips (2) and routing channel built into the
left, right, and bottom edges of the display enclosure.
c. Remove the wireless antenna (3).
Reverse this procedure to reassemble and install the display assembly subcomponents.
System board
NOTE: The system board spare part kit includes replacement thermal material. Replacement
thermal material is also available in the Thermal Material Kit, spare part number 719864-001.
Description Spare part number
HP Pavilion 17 Notebook computer models
For use only on computer models equipped with the AMD A76M chipset, a graphics subsystem
with 2 GB of discrete memory, and the Windows 8 Standard operating system
737131-501
For use only on computer models equipped with the AMD A76M chipset, a graphics subsystem
with 2 GB of discrete memory, and the FreeDOS operating system
737131-001
For use only on computer models equipped with the AMD A76M chipset, a graphics subsystem
with 1 GB of discrete memory, and the Windows 8 Standard operating system
720692-501
For use only on computer models equipped with the AMD A76M chipset, a graphics subsystem
with 1 GB of discrete memory, and the FreeDOS operating system
720692-001
For use only on computer models equipped with the AMD A76M chipset, a graphics subsystem
with UMA memory, and the Windows 8 Standard operating system
720691-501
For use only on computer models equipped with the AMD A76M chipset, a graphics subsystem
with UMA memory, and the FreeDOS operating system
720691-001
Component replacement procedures 73

Description Spare part number
For use only on computer models equipped with an AMD A6-5200 processor, a graphics
subsystem with 1 GB of discrete memory, and the Windows 8 Standard operating system
726634-501
For use only on computer models equipped with an AMD A6-5200 processor, a graphics
subsystem with 1 GB of discrete memory, and the FreeDOS operating system
726634-001
For use only on computer models equipped with an AMD A6-5200 processor, a graphics
subsystem with UMA memory, and the Windows 8 Standard operating system
726633-501
For use only on computer models equipped with an AMD A6-5200 processor, a graphics
subsystem with UMA memory, and the FreeDOS operating system
726633-001
For use only on computer models equipped with an AMD A4-5000 processor, a graphics
subsystem with 1 GB of discrete memory, and the FreeDOS operating system
747002-001
For use only on computer models equipped with an AMD A4-5000 processor, a graphics
subsystem with 1 GB of discrete memory, and the Windows 8.1 Standard operating system
747002-501
For use only on computer models equipped with an AMD A4-5000 processor, a graphics
subsystem with a UMA memory, and the Windows 8 Standard operating system
731534-501
For use only on computer models equipped with an AMD A4-5000 processor, a graphics
subsystem with a UMA memory, and the FreeDOS operating system
731534-001
For use only on computer models equipped with an AMD E1-2500 processor, a graphics
subsystem with UMA memory, and the Windows 8 Standard operating system
737452-501
For use only on computer models equipped with an AMD E1-2500 processor, a graphics
subsystem with UMA memory, and the FreeDOS operating system
737452-001
For use only on computer models equipped with the Intel HM86 chipset, a graphics subsystem
with 2 GB of discrete memory, and the Windows 8 Standard operating system
713256-501
For use only on computer models equipped with the Intel HM86 chipset, a graphics subsystem
with 2 GB of discrete memory, and the FreeDOS operating system
713256-001
For use only on computer models equipped with the Intel HM86 chipset, a graphics subsystem
with 1 GB of discrete memory, and the Windows 8 Standard operating system
735080-501
For use only on computer models equipped with the Intel HM86 chipset, a graphics subsystem
with 1 GB of discrete memory, and the FreeDOS operating system
735080-001
For use only on computer models equipped with the Intel HM86 chipset, a graphics subsystem
with UMA memory, and the Windows 8 Standard operating system
713255-501
For use only on computer models equipped with the Intel HM86 chipset, a graphics subsystem
with UMA memory, and the FreeDOS operating system
713255-001
For use only on computer models equipped with the Intel HM76 chipset, a graphics subsystem
with 2 GB of discrete memory, and the Windows 8 Standard operating system
720459-501
For use only on computer models equipped with the Intel HM76 chipset, a graphics subsystem
with 2 GB of discrete memory, and the FreeDOS operating system
720459-001
For use only on computer models equipped with an Intel Core i5 or Pentium processor, a
graphics subsystem with 1 GB of discrete memory, and the Windows 8 Standard
operating system
713258-501
For use only on computer models equipped with an Intel Core i5 or Pentium processor, a
graphics subsystem with 1 GB of discrete memory, and the FreeDOS operating system
713258-001
For use only on computer models equipped with an Intel Core i5 or Pentium processor, a
graphics subsystem with UMA memory, and the Windows 8 Standard operating system
713257-501
For use only on computer models equipped with an Intel Core i5 or Pentium processor, a
graphics subsystem with UMA memory, and the FreeDOS operating system
713257-001
74 Chapter 6 Removal and replacement procedures for Authorized Service Provider parts

Description Spare part number
For use only on computer models equipped with an Intel Core i3-3110M processor, a graphics
subsystem with 1 GB of discrete memory, and the Windows 8 Standard operating system
729844-501
For use only on computer models equipped with an Intel Core i3-3110M processor, a graphics
subsystem with 1 GB of discrete memory, and the FreeDOS operating system
729844-001
For use only on computer models equipped with an Intel Core i3-3110M processor, a graphics
subsystem with UMA memory, and the Windows 8 Standard operating system
729843-501
For use only on computer models equipped with an Intel Core i3-3110M processor, a graphics
subsystem with UMA memory, and the FreeDOS operating system
729843-001
HP Pavilion 17 TouchSmart Notebook computer models
For use only on computer models equipped with the AMD A76M chipset, a graphics subsystem
with UMA memory, and the FreeDOS operating system
749966-001
For use only on computer models equipped with the AMD A76M chipset, a graphics subsystem
with UMA memory, and the Windows 8.1 Standard operating system
749966-501
For use only on computer models equipped with the AMD A76M chipset, a graphics subsystem
with 1 GB of discrete memory, and the FreeDOS operating system
749967-001
For use only on computer models equipped with the AMD A76M chipset, a graphics subsystem
with 1 GB of discrete memory, and the Windows 8.1 Standard operating system
749967-501
For use only on computer models equipped with an AMD A6-5200 processor, a graphics
subsystem with UMA memory, and the FreeDOS operating system
749968-001
For use only on computer models equipped with an AMD A6-5200 processor, a graphics
subsystem with UMA memory, and the Windows 8.1 Standard operating system
749968-501
For use only on computer models equipped with an AMD A4-5000 processor, a graphics
subsystem with UMA memory, and the FreeDOS operating system
758897-001
For use only on computer models equipped with an AMD A4-5000 processor, a graphics
subsystem with UMA memory, and the Windows 8.1 Standard operating system
758897-501
For use only on computer models equipped with the Intel HM76 Express chipset, a graphics
subsystem with 1 GB of discrete memory, and the FreeDOS operating system
749983-001
For use only on computer models equipped with the Intel HM76 Express chipset, a graphics
subsystem with 1 GB of discrete memory, and the Windows 8.1 Standard operating system
749983-501
For use only on computer models equipped with the Intel HM86 Express chipset, a graphics
subsystem with UMA memory, and the FreeDOS operating system
749984-001
For use only on computer models equipped with the Intel HM86 Express chipset, a graphics
subsystem with UMA memory, and the Windows 8.1 Standard operating system
749984-501
For use only on computer models equipped with the Intel HM86 Express chipset, a graphics
subsystem with 1 GB of discrete memory, and the FreeDOS operating system
749985-001
For use only on computer models equipped with the Intel HM86 Express chipset, a graphics
subsystem with 1 GB of discrete memory, and the Windows 8.1 Standard operating system
749985-501
Before removing the system board, follow these steps:
1. Turn off the computer. If you are unsure whether the computer is off or in Hibernation, turn the
computer on, and then shut it down through the operating system.
2. Disconnect the power from the computer by unplugging the power cord from the computer.
Component replacement procedures 75

3. Disconnect all external devices from the computer.
4. Remove the battery (see Battery on page 47), and then remove the following components:
a. Optical drive (see Optical drive on page 48)
b. Hard drive (see Hard drive on page 49)
c. WLAN module (see WLAN module on page 52)
d. Keyboard (see Keyboard on page 56)
e. Top cover (see Top cover on page 60)
NOTE: When replacing the system board, be sure that the following components are removed from
the defective system board and installed on the replacement system board:
●Memory module (see Memory module on page 54)
●RTC battery (see RTC battery on page 78)
●Fan (see Fan on page 80)
●Heat sink (see Heat sink on page 81)
●Processor (see Processor on page 85)
Remove the system board:
1. Close the computer.
2. Turn the computer upside down with the front toward you.
3. Disconnect the optical drive connector cable from the system board.
4. Turn the computer right side up with the front toward you.
5. Open the computer.
6. Disconnect the following cables from the system board:
(1) Display panel cable
(2) Speaker cable
76 Chapter 6 Removal and replacement procedures for Authorized Service Provider parts

(3) USB board ribbon cable
(4) Power connector cable
7. Remove the three Phillips PM2.5×7.0 screws (5) that secure the system board to the
base enclosure.
8. Lift the right side of the system board (1) until it rests at an angle.
9. Remove the system board (2) by sliding it up and to the right an angle.
Reverse this procedure to install the system board.
Component replacement procedures 77

RTC battery
Description Spare part number
RTC battery (includes cable and double-sided tape)
For use on all computer models except those equipped with an AMD A6-5200, AMD A4-5000, or
AMD E1-2500 processor
637193-001
For use only on computer models equipped with an AMD A6-5200, AMD A4-5000, or AMD
E1-2500 processor
741976-001
Before removing the RTC battery, follow these steps:
1. Turn off the computer. If you are unsure whether the computer is off or in Hibernation, turn the
computer on, and then shut it down through the operating system.
2. Disconnect the power from the computer by unplugging the power cord from the computer.
3. Disconnect all external devices from the computer.
4. Remove the battery (see Battery on page 47), and then remove the following components:
a. Optical drive (see Optical drive on page 48)
b. Hard drive (see Hard drive on page 49)
c. WLAN module (see WLAN module on page 52)
d. Keyboard (see Keyboard on page 56)
e. Top cover (see Top cover on page 60)
f. System board (see System board on page 73)
Remove the RTC battery:
1. Turn the system board upside down with the front toward you.
2. Disconnect the RTC battery cable (1) from the system board.
78 Chapter 6 Removal and replacement procedures for Authorized Service Provider parts

3. Detach the RTC battery (2) from the system board. (The RTC battery is attached to the base
enclosure by double-sided tape.)
4. Remove the RTC battery.
Reverse this procedure to install the RTC battery.
Component replacement procedures 79

Fan
Description Spare part number
Fan (includes cable) 719860-001
Before removing the fan, follow these steps:
1. Turn off the computer. If you are unsure whether the computer is off or in Hibernation, turn the
computer on, and then shut it down through the operating system.
2. Disconnect the power from the computer by unplugging the power cord from the computer.
3. Disconnect all external devices from the computer.
4. Remove the battery (see Battery on page 47), and then remove the following components:
a. Optical drive (see Optical drive on page 48)
b. Hard drive (see Hard drive on page 49)
c. WLAN module (see WLAN module on page 52)
d. Keyboard (see Keyboard on page 56)
e. Top cover (see Top cover on page 60)
f. System board (see System board on page 73)
Remove the fan:
1. Turn the system board upside down with the front toward you.
2. Disconnect the fan cable (1) from the system board.
3. Remove the Phillips PM2.0×5.0 screw (2) that secures the fan to the system board.
4. Remove the fan (3).
Reverse this procedure to install the fan.
80 Chapter 6 Removal and replacement procedures for Authorized Service Provider parts

Heat sink
NOTE: The heat sink spare part kit includes replacement thermal material. Replacement thermal
material is also available in the Thermal Material Kit, spare part number 719864-001.
Description Spare part number
For use only on computer models equipped with an AMD A10, A8, A6-4400M, or A4 processor
and a graphics subsystem with discrete memory
720690-001
For use only on computer models equipped with an AMD A10, A8, or A4 or E1-2500 processor
and a graphics subsystem with UMA memory
720689-001
For use only on computer models equipped with an AMD A6-5200 and a graphics subsystem
with discrete memory
724885-001
For use only on computer models equipped with an AMD A6-5200 and a graphics subsystem
with UMA memory
724884-001
For use only on computer models equipped with Intel processor and a graphics subsystem with
discrete memory
719862-001
For use only on computer models equipped with Intel processor and a graphics subsystem with
UMA memory
719861-001
For use only on computer models equipped with an Intel Core i3-3110M processor
and a graphics subsystem with discrete memory
736176-001
For use only on computer models equipped with an Intel Core i3-3110M processor
and a graphics subsystem with UMA memory
736175-001
Before removing the heat sink, follow these steps:
1. Turn off the computer. If you are unsure whether the computer is off or in Hibernation, turn the
computer on, and then shut it down through the operating system.
2. Disconnect the power from the computer by unplugging the power cord from the computer.
3. Disconnect all external devices from the computer.
4. Remove the battery (see Battery on page 47), and then remove the following components:
a. Optical drive (see Optical drive on page 48)
b. Hard drive (see Hard drive on page 49)
c. WLAN module (see WLAN module on page 52)
d. Keyboard (see Keyboard on page 56)
e. Top cover (see Top cover on page 60)
f. System board (see System board on page 73)
g. Fan (see Fan on page 80)
Remove the heat sink:
NOTE: Steps 1 and 2 apply to computer models equipped with a graphics subsystem with discrete
memory.
1. Following the 1 through 7 sequence stamped into the heat sink, loosen the seven captive
Phillips screws (1) that secure the heat sink to the system board.
Component replacement procedures 81

2. Remove the heat sink (2).
NOTE: Due to the adhesive quality of the thermal material located between the heat sink and
the system board components, it may be necessary to move the heat sink from side to side to
detach it.
NOTE: Steps 3 and 4 apply to computer models equipped with a graphics subsystem with
UMA memory.
3. Following the 1 through 4 sequence stamped into the heat sink, loosen the four captive Phillips
screws (1) that secure the heat sink to the system board.
82 Chapter 6 Removal and replacement procedures for Authorized Service Provider parts

4. Remove the heat sink (2).
NOTE: Due to the adhesive quality of the thermal material located between the heat sink and
the system board components, it may be necessary to move the heat sink from side to side to
detach it.
NOTE: The thermal material must be thoroughly cleaned from the surfaces of the heat sink and the
system board components each time the heat sink is removed. Replacement thermal material is
included with the heat sink, processor, and system board spare part kits.
●Thermal paste is used on the processor (1) and the heat sink section (2) that services it
●Thermal paste is used on the graphics chip (3) and the heat sink section (4) that services it
Component replacement procedures 83

Reverse this procedure to install the heat sink.
84 Chapter 6 Removal and replacement procedures for Authorized Service Provider parts

Processor
NOTE: The processor spare part kit includes replacement thermal material. Replacement thermal
material is also available in the Thermal Material Kit, spare part number 719864-001.
Description Spare part number
AMD A10-5750M 2.50 GHz processor (turbo up to 3.50 GHz; 1600 MHz FSB, 4.0 MB L2 cache,
DDR3, quad core, 35 W)
713548-001
AMD A10-4600M 2.30 GHz processor (turbo up to 3.20 GHz; 1600 MHz FSB, 4.0 MB L2 cache,
DDR3, quad core, 35 W)
683046-001
AMD A8-5550M 2.10 GHz processor (turbo up to 3.10 GHz; 1600 MHz FSB, 4.0 MB L2 cache,
DDR3, quad core, 35 W)
713551-001
AMD A8-4500M 1.90 GHz processor (turbo up to 2.80 GHz; 1600 MHz FSB, 4.0 MB L2 cache,
DDR3, quad core, 35 W)
683048-001
AMD A6-5350M 2.90 GHz processor (turbo up to 3.50 GHz; 1600 MHz FSB, 1.0 MB L2 cache,
DDR3, dual core, 35 W)
713550-001
AMD A6-4400M 2.70 GHz processor (turbo up to 3.20 GHz; 1600 MHz FSB, 1.0 MB L2 cache,
DDR3, dual core, 35 W)
683047-001
AMD A4-5150M 2.70 GHz processor (turbo up to 3.30 GHz; 1600 MHz FSB, 1.0 MB L2 cache,
DDR3, dual core, 35 W); not supported for use on computer models equipped with Windows 8.1
713549-001
Intel Core i7-4702MQ 2.20 GHz processor (SC turbo up to 2.90 GHz; 1600 MHz FSB, 6.0 MB L3
cache, quad core, 37 W)
723522-001
Intel Core i3-4000M 2.40 GHz processor (1600 MHz FSB, 3.0 MB L3 cache, dual core, 37 W) 737327-001
Intel Core i3-3130M 2.60 GHz processor (1600 MHz FSB, 3.0 MB L3 cache, dual core, 35 W) 713163-001
Intel Core i3-3110M 2.40 GHz processor (1333 MHz FSB, 3.0 MB L3 cache, dual core, 35 W) 682417-001
Intel Pentium i7-3632QM 2.2 GHz processor (SC turbo up to 3.2 GHz, 1600 MHz, 6 MB L3
cache, DDR3, quad core, 35 W)
701658-001
Intel Pentium 3550M 2.40 GHz processor (1600 MHz FSB, 2.0 MB L3 cache, dual core, 37 W) 737329-001
Intel Pentium 2030M 2.50 GHz processor (1600 MHz FSB, 2.0 MB L2 cache, dual core, 35 W) 700588-002
Intel Pentium 2020M 2.40 GHz processor (1600 MHz FSB, 2.0 MB L2 cache, dual core, 35 W) 700628-001
Intel Celeron 2950M 2.00 GHz processor (1600 MHz FSB, 2.0 MB L3 cache, 37 W) 737326-001
Intel Celeron 1005M 1.90GHz processor (1600 MHz, 2.0 MB L3 cache, dual core, 35 W) 739356-001
Before removing the processor, follow these steps:
1. Turn off the computer. If you are unsure whether the computer is off or in Hibernation, turn the
computer on, and then shut it down through the operating system.
2. Disconnect the power from the computer by unplugging the power cord from the computer.
3. Disconnect all external devices from the computer.
4. Remove the battery (see Battery on page 47), and then remove the following components:
a. Optical drive (see Optical drive on page 48)
b. Hard drive (see Hard drive on page 49)
Component replacement procedures 85

c. WLAN module (see WLAN module on page 52)
d. Keyboard (see Keyboard on page 56)
e. Top cover (see Top cover on page 60)
f. System board (see System board on page 73)
g. Fan (see Fan on page 80)
h. Heat sink (see Heat sink on page 81)
Remove the processor:
1. Use a flat-bladed screw driver (1) to turn the processor locking screw one-half turn
counterclockwise, until you hear a click.
2. Lift the processor (2) straight up, and remove it.
NOTE: The gold triangle (3) on the processor must be aligned with the triangle icon embossed
on the processor socket when you install the processor.
Reverse this procedure to install the processor.
Speakers
Description Spare part number
Speakers (include left and right speakers and cables) 720679-001
Before removing the speakers, follow these steps:
1. Turn off the computer. If you are unsure whether the computer is off or in Hibernation, turn the
computer on, and then shut it down through the operating system.
2. Disconnect the power from the computer by unplugging the power cord from the computer.
86 Chapter 6 Removal and replacement procedures for Authorized Service Provider parts

3. Disconnect all external devices from the computer.
4. Remove the battery (see Battery on page 47), and then remove the following components:
a. Optical drive (see Optical drive on page 48)
b. Hard drive (see Hard drive on page 49)
c. WLAN module (see WLAN module on page 52)
d. Keyboard (see Keyboard on page 56)
e. Top cover (see Top cover on page 60)
f. System board (see System board on page 73)
Remove the speakers:
1. Release the speaker cables from the clips (1) and routing channel built into the base enclosure.
2. Release the clips (2) that secure the speakers to the base enclosure.
3. Remove the speakers (3).
Reverse this procedure to install the speakers.
Component replacement procedures 87

RJ-45/USB board
Description Spare part number
RJ-45/USB board (includes cable) 720674-001
Before removing the RJ-45/USB board, follow these steps:
1. Turn off the computer. If you are unsure whether the computer is off or in Hibernation, turn the
computer on, and then shut it down through the operating system.
2. Disconnect the power from the computer by unplugging the power cord from the computer.
3. Disconnect all external devices from the computer.
4. Remove the battery (see Battery on page 47), and then remove the following components:
a. Optical drive (see Optical drive on page 48)
b. Hard drive (see Hard drive on page 49)
c. WLAN module (see WLAN module on page 52)
d. Keyboard (see Keyboard on page 56)
e. Top cover (see Top cover on page 60)
Remove the RJ-45/USB board:
1. Release the ZIF connector (1) to which the RJ-45/USB board ribbon cable is attached, and then
disconnect the RJ-45/USB board ribbon cable from the system board.
2. Remove the two Phillips PM2.5×7.0 screws (2) that secure the RJ-45/USB board to the
base enclosure.
3. Remove the RJ-45/USB board (3).
Reverse this procedure to install the RJ-45/USB board.
88 Chapter 6 Removal and replacement procedures for Authorized Service Provider parts

Power connector cable
Description Spare part number
Power connector cable 719859-001
Before removing the power connector cable, follow these steps:
1. Turn off the computer. If you are unsure whether the computer is off or in Hibernation, turn the
computer on, and then shut it down through the operating system.
2. Disconnect the power from the computer by unplugging the power cord from the computer.
3. Disconnect all external devices from the computer.
4. Remove the battery (see Battery on page 47), and then remove the following components:
a. Optical drive (see Optical drive on page 48)
b. Hard drive (see Hard drive on page 49)
c. WLAN module (see WLAN module on page 52)
d. Keyboard (see Keyboard on page 56)
e. Top cover (see Top cover on page 60)
f. RJ-45/USB board (see RJ-45/USB board on page 88)
Remove the power connector cable:
1. Disconnect the power connector cable (1) from the system board.
2. Release the power connector cable from the clips (2) built into the base enclosure.
3. Release the power connector (3) from the clips and mold built into the base enclosure.
4. Remove the power connector cable.
Reverse this procedure to install the power connector cable.
Component replacement procedures 89

Optical drive connector cable
Description Spare part number
Optical drive connector cable 720668-001
Before removing the optical drive connector cable, follow these steps:
1. Turn off the computer. If you are unsure whether the computer is off or in Hibernation, turn the
computer on, and then shut it down through the operating system.
2. Disconnect the power from the computer by unplugging the power cord from the computer.
3. Disconnect all external devices from the computer.
4. Remove the battery (see Battery on page 47), and then remove the following components:
a. Optical drive (see Optical drive on page 48)
b. Hard drive (see Hard drive on page 49)
c. WLAN module (see WLAN module on page 52)
d. Keyboard (see Keyboard on page 56)
e. Top cover (see Top cover on page 60)
f. System board (see System board on page 73)
Remove the optical drive connector cable:
1. Release the optical drive connector cable from the clips (1) and routing channel built into the
base enclosure.
2. Remove the optical drive connector cable (2).
Reverse this procedure to install the optical drive connector cable.
90 Chapter 6 Removal and replacement procedures for Authorized Service Provider parts

PCH heat sink
NOTE: The post controller hub (PCH) heat sink spare part kit includes replacement thermal
material. Replacement thermal material is also available in the Thermal Material Kit, spare part
number 719864-001.
Description Spare part number
PCH heat sink 719863-001
Before removing the PCH heat sink, follow these steps:
1. Turn off the computer. If you are unsure whether the computer is off or in Hibernation, turn the
computer on, and then shut it down through the operating system.
2. Disconnect the power from the computer by unplugging the power cord from the computer.
3. Disconnect all external devices from the computer.
4. Remove the battery (see Battery on page 47), and then remove the following components:
a. Optical drive (see Optical drive on page 48)
b. Hard drive (see Hard drive on page 49)
c. WLAN module (see WLAN module on page 52)
d. Keyboard (see Keyboard on page 56)
e. Top cover (see Top cover on page 60)
f. System board (see System board on page 73)
Remove the PCH heat sink:
1. Loosen the two captive Phillips screws (1) that secure the PCH heat sink to the system board.
Component replacement procedures 91

2. Remove the PCH heat sink (2).
NOTE: Due to the adhesive quality of the thermal material located between the PCH heat sink
and system board, it may be necessary to move the PCH heat sink from side to side to detach it.
The thermal material must be thoroughly cleaned from the surfaces of the PCH heat sink and
the PCH each time the PCH heat sink is removed. Replacement thermal material is included
with the PCH heat sink and system board spare part kits.
NOTE: The following illustration shows the PCH heat sink replacement thermal material
locations. A thermal pad is used on the PCA (1) and the PCH heat sink (2).
Reverse this procedure to install the PCH heat sink.
92 Chapter 6 Removal and replacement procedures for Authorized Service Provider parts

7 Using Setup Utility (BIOS) and HP PC
Hardware Diagnostics (UEFI)
Setup Utility, or Basic Input/Output System (BIOS), controls communication between all the input and
output devices on the system (such as disk drives, display, keyboard, mouse, and printer). Setup
Utility (BIOS) includes settings for the types of devices installed, the startup sequence of the
computer, and the amount of system and extended memory.
Starting Setup Utility (BIOS)
To start Setup Utility (BIOS), turn on or restart the computer, quickly press esc, and then press f10.
NOTE: Use extreme care when making changes in Setup Utility (BIOS). Errors can prevent the
computer from operating properly.
Updating the BIOS
Updated versions of the BIOS may be available on the HP website.
Most BIOS updates on the HP website are packaged in compressed files called SoftPaqs.
Some download packages contain a file named Readme.txt, which contains information regarding
installing and troubleshooting the file.
Determining the BIOS version
To determine whether available BIOS updates contain later BIOS versions than those currently
installed on the computer, you need to know the version of the system BIOS currently installed.
BIOS version information (also known as ROM date and System BIOS) can be revealed by pressing
fn+esc (if you are already in Windows) or by using Setup Utility (BIOS).
1. Start Setup Utility (BIOS) (see Starting Setup Utility (BIOS) on page 93).
2. Use the arrow keys to select Main.
3. To exit Setup Utility (BIOS) without saving your changes, use the arrow keys to select Exit,
select Exit Discarding Changes, and then press enter.
4. Select Yes.
Starting Setup Utility (BIOS) 93

Downloading a BIOS update
CAUTION: To reduce the risk of damage to the computer or an unsuccessful installation, download
and install a BIOS update only when the computer is connected to reliable external power using the
AC adapter. Do not download or install a BIOS update while the computer is running on battery
power, docked in an optional docking device, or connected to an optional power source. During the
download and installation, follow these instructions:
Do not disconnect power from the computer by unplugging the power cord from the AC outlet.
Do not shut down the computer or initiate Sleep.
Do not insert, remove, connect, or disconnect any device, cable, or cord.
1. From the Start screen, type support, and then select the HP Support Assistant app.
2. Click Updates and tune-ups, and then click Check for HP updates now.
3. Follow the on-screen instructions.
4. At the download area, follow these steps:
a. Identify the most recent BIOS update and compare it to the BIOS version currently installed
on your computer. If the update is more recent than your BIOS, make a note of the date,
name, or other identifier. You may need this information to locate the update later, after it
has been downloaded to your hard drive.
b. Follow the on-screen instructions to download your selection to the hard drive.
If the update is more recent than your BIOS, make a note of the path to the location on your
hard drive where the BIOS update is downloaded. You will need to access this path when
you are ready to install the update.
NOTE: If you connect your computer to a network, consult the network administrator before
installing any software updates, especially system BIOS updates.
BIOS installation procedures vary. Follow any instructions that are revealed on the screen after the
download is complete. If no instructions are revealed, follow these steps:
1. From the Start screen, type e, and then select File Explorer.
2. Click your hard drive designation. The hard drive designation is typically Local Disk (C:).
3. Using the hard drive path you recorded earlier, open the folder on your hard drive that contains
the update.
4. Double-click the file that has an .exe extension (for example, filename.exe).
The BIOS installation begins.
5. Complete the installation by following the on-screen instructions.
NOTE: After a message on the screen reports a successful installation, you can delete the
downloaded file from your hard drive.
94 Chapter 7 Using Setup Utility (BIOS) and HP PC Hardware Diagnostics (UEFI)

Using HP PC Hardware Diagnostics (UEFI)
HP PC Hardware Diagnostics is a Unified Extensible Firmware Interface (UEFI) that allows you to run
diagnostic tests to determine whether the computer hardware is functioning properly. The tool runs
outside the operating system so that it can isolate hardware failures from issues that are caused by
the operating system or other software components.
To start HP PC Hardware Diagnostics UEFI:
1. Turn on or restart the computer, quickly press esc, and then press f2.
The BIOS searches three places for the HP PC Hardware Diagnostics (UEFI) tools in the
following order:
a. Connected USB drive
NOTE: To download the HP PC Hardware Diagnostics (UEFI) tool to a USB drive, see
Downloading HP PC Hardware Diagnostics (UEFI) to a USB device on page 95.
b. Hard drive
c. BIOS
2. When the diagnostic tool opens, use the keyboard arrow keys to select the type of diagnostic
test you want to run, and then follow the on-screen instructions.
NOTE: If you need to stop a diagnostic test, press esc.
Downloading HP PC Hardware Diagnostics (UEFI) to a USB device
NOTE: The HP PC Hardware Diagnostics (UEFI) download instructions are provided in English
only.
1. Go to http://www.hp.com.
2. Point to Support, and then click Download Drivers.
3. In the text box, enter the product name, and then click Go.
4. Select your computer model, and then select your operating system.
5. In the Diagnostic section, click HP UEFI Support Environment.
– or –
Click Download, and then select Run.
Using HP PC Hardware Diagnostics (UEFI) 95

8 Specifications
Computer specifications
Metric U.S.
Dimensions
Width 42.0 cm 16.5 in
Depth 26.7 cm 10.5 in
Height for HP Pavilion 17 Notebook (front to rear) 2.9 to 3.3 cm 1.2 to 1.3 in
Height for HP Pavilion 17 TouchSmart Notebook (front to
rear)
3.1 to 3.4 cm 1.2 to 1.5 in
Weight for HP Pavilion 17 Notebook 2.9 kg 6.4 lbs
Weight for HP Pavilion 17 TouchSmart Notebook 3.5 kg 7.7 lbs
Input power
Operating voltage and current 19.5 V dc @ 3.33 A – 65 W
19.5 V dc @ 4.62 A – 90 W
Temperature
Operating 5°C to 35°C 41°F to 95°F
Nonoperating -20°C to 60°C -4°F to 140°F
Relative humidity (noncondensing)
Operating 10% to 90%
Nonoperating 5% to 95%
Maximum altitude (unpressurized)
Operating -15 m to 3,048 m -50 ft to 10,000 ft
Nonoperating -15 m to 12,192 m -50 ft to 40,000 ft
NOTE: Applicable product safety standards specify thermal limits for plastic surfaces. The device operates well within this
range of temperatures.
17.3 inch display specifications
Metric U.S.
Dimensions
Height 21.7 cm 8.54 in
Width 38.4 cm 15.12 in
Diagonal 43.9 cm 17.29 in
96 Chapter 8 Specifications

Metric U.S.
Number of colors Up to 16.8 million
Contrast ratio 200:1 (typical)
Brightness 200 nits (typical)
Pixel resolution
Pitch 0.197 × 0.197 mm
Format 1600 × 900
Configuration RGB vertical stripe
Backlight LED
Character display 80 × 25
Total power consumption 2.00 W
Viewing angle ±65° horizontal, ±50° vertical (typical)
Hard drive specifications
1 TB, 5400 rpm* 750 GB, 5400
rpm**
640 GB, 5400
rpm**
500 GB, 5400
rpm**
Dimensions
Height 9.5 mm 9.5 mm 9.5 mm 9.5 mm
Length 100.4 mm 100.4 mm 100.4 mm 100.4 mm
Width 69.9 mm 69.9 mm 69.9 mm 69.9 mm
Weight 110 g 110 g 110 g 110 g
Interface type SATA SATA SATA SATA
Transfer rate
Synchronous (maximum) 1.1 GB/sec 1.1 GB/sec 1.1 GB/sec 1.1 GB/sec
Security ATA security ATA security ATA security ATA security
Seek times (typical read, including setting)
Single track 1.5 ms 1.5 ms 1.5 ms 1.5 ms
Average (read/write) 11/13 ms 11/13 ms 11/13 ms 11/13 ms
Maximum 22 ms 22 ms 22 ms 22 ms
Logical blocks 1,953,525,168 1,465,149,168 1,250,263,728 976,773,168
Disk rotational speed 5400 rpm
Operating temperature 0°C to 60°C (32°F to 140°F)
*1 TB = 1 trillion bytes when referring to hard drive storage capacity. Actual accessible capacity is less.
**1 GB = 1 billion bytes when referring to hard drive storage capacity. Actual accessible capacity is less.
NOTE: Certain restrictions and exclusions apply. Contact technical support for details.
Hard drive specifications 97

9 Backing up, restoring, and recovering
Your computer includes tools provided by HP and Windows to help you safeguard your information
and retrieve it if you ever need to. These tools will help you return your computer to a proper working
state or even back to the original factory state, all with simple steps.
This chapter provides information about the following processes:
●Creating recovery media and backups
●Restoring and recovering your system
NOTE: This chapter describes an overview of backing up, restoring and recovering options. For
more details about the tools provided, see Help and Support. From the Start screen, type help, and
then select Help and Support.
Creating recovery media and backups
1. After you successfully set up the computer, create HP Recovery media. This step creates a
backup of the HP Recovery partition on the computer. The backup can be used to reinstall the
original operating system in cases where the hard drive is corrupted or has been replaced.
HP Recovery media you create will provide the following recovery options:
●System Recovery—Reinstalls the original operating system and the programs that were
installed at the factory.
●Minimized Image Recovery—Reinstalls the operating system and all hardware-related
drivers and software, but not other software applications.
●Factory Reset—Restores the computer to the state its original factory state by deleting all
information from the hard drive and re-creating the partitions. Then it reinstalls the
operating system and the software that was installed at the factory.
See Creating recovery media and backups on page 98.
2. Use the Windows tools to create system restore points and create backups of personal
information. For more information and steps, see Windows Help and Support. From the Start
screen, type help, and then select Help and Support.
Creating HP Recovery media
HP Recovery Manager is a software program that offers a way to create recovery media after you
successfully set up the computer. HP Recovery media can be used to perform system recovery if the
hard drive becomes corrupted. System recovery reinstalls the original operating system and the
software programs installed at the factory, and then configures the settings for the programs. HP
Recovery media can also be used to customize the system or restore the factory image if you replace
the hard drive.
●Only one set of HP Recovery media can be created. Handle these recovery tools carefully, and
keep them in a safe place.
●HP Recovery Manager examines the computer and determines the required storage capacity for
the blank USB flash drive or the number of blank DVD discs that will be required.
98 Chapter 9 Backing up, restoring, and recovering

●To create recovery discs, your computer must have an optical drive with DVD writer capability,
and you must use only high-quality blank DVD-R, DVD+R, DVD-R DL, DVD+R DL discs. Do not
use rewritable discs such as CD±RW, DVD±RW, double-layer DVD±RW, or BD-RE (rewritable
Blu-ray) discs; they are not compatible with HP Recovery Manager software. Or instead you can
use a high-quality blank USB flash drive.
●If your computer does not include an integrated optical drive with DVD writer capability, but you
would like to create DVD recovery media, you can use an external optical drive (purchased
separately) to create recovery discs, or you can obtain recovery discs for your computer from
support. See the Worldwide Telephone Numbers booklet included with the computer. You can
also find contact information for the HP website. For U.S. support, go to http://www.hp.com/go/
contactHP. For worldwide support, go to http://welcome.hp.com/country/us/en/
wwcontact_us.html. If you use an external optical drive, it must be connected directly to a USB
port on the computer; the drive cannot be connected to a USB port on an external device, such
as a USB hub.
●Be sure that the computer is connected to AC power before you begin creating the recovery
media.
●The creation process can take up to an hour or more. Do not interrupt the creation process.
●If necessary, you can exit the program before you have finished creating all of the recovery
DVDs. HP Recovery Manager will finish burning the current DVD. The next time you start HP
Recovery Manager, you will be prompted to continue, and the remaining discs will be burned.
To create HP Recovery media:
1. From the Start screen, type recovery, and then select HP Recovery Manager.
2. Select Recovery Media Creation, and follow the on-screen instructions to continue.
If you ever need to recover the system, see Recovering using HP Recovery Manager on page 100.
Restore and recovery
There are several options for recovering your system. Choose the method that best matches your
situation and level of expertise:
●Windows offers several options for restoring from backup, refreshing the computer, and resetting
the computer to its original state. For more information and steps, see Help and Support. From
the Start screen, type help, and then select Help and Support.
●If you need to correct a problem with a preinstalled application or driver, use the Drivers and
Applications Reinstall option of HP Recovery Manager to reinstall the individual application or
driver.
From the Start screen, type recovery, select HP Recovery Manager, and then select Drivers
and Applications Reinstall, and follow the on-screen instructions.
●If you want to reset your computer using a minimized image, you can choose the HP Minimized
Image Recovery option from the HP Recovery partition or HP Recovery media. Minimized Image
Recovery installs only drivers and hardware-enabling applications. Other applications included in
the image continue to be available for installation through the Drivers and Applications Reinstall
option in HP Recovery Manager.
For more information, see Recovering using HP Recovery Manager on page 100.
●If you want to recover the computer's original factory partitioning and content, you can choose
the System Recovery option from HP Recovery partition (supported only for use on computer
Restore and recovery 99

models equipped with Windows 8.1) or use the HP Recovery media. For more information, see
Recovering using HP Recovery Manager on page 100.
●If you have replaced the hard drive, you can use the Factory Reset option of HP Recovery
media to restore the factory image to the replacement drive. For more information, see
Recovering using HP Recovery Manager on page 100.
●If you wish to remove the recovery partition to reclaim hard drive space, HP Recovery Manager
offers the Remove Recovery Partition option.
For more information, see Using the HP Recovery partition on page 100.
Recovering using HP Recovery Manager
HP Recovery Manager software allows you to recover the computer to its original factory state. Using
the HP Recovery media you created, you can choose from one of the following recovery options:
●System Recovery—Reinstalls the original operating system, and then configures the settings for
the programs that were installed at the factory.
●Minimized Image Recovery—Reinstalls the operating system and all hardware-related drivers
and software, but not other software applications.
●Factory Reset—Restores the computer to the state its original factory state by deleting all
information from the hard drive and re-creating the partitions. Then it reinstalls the operating
system and the software that was installed at the factory.
The HP Recovery partition allows System Recovery (supported only for use on computer models
equipped with Windows 8.1) and Minimized Image Recovery.
What you need to know
●HP Recovery Manager recovers only software that was installed at the factory. For software not
provided with this computer, you must either download the software from the manufacturer's
website or reinstall the software from the media provided by the manufacturer.
●Recovery through HP Recovery Manager should be used as a final attempt to correct computer
issues.
●HP Recovery media must be used if the computer hard drive fails.
●To use the Factory Reset or System Recovery options, you must use HP Recovery media.
●If the HP Recovery media do not work, you can obtain recovery media for your system from the
HP website. For U.S. support, go to http://www.hp.com/go/contactHP. For worldwide support, go
to http://welcome.hp.com/country/us/en/wwcontact_us.html.
IMPORTANT: HP Recovery Manager does not automatically provide backups of your personal
data. Before beginning recovery, back up any personal data you wish to retain.
Using the HP Recovery partition
The HP Recovery partition allows you to perform a system recovery (supported only for use on
computer models equipped with Windows 8.1) or minimized image recovery without the need for
recovery discs or a recovery USB flash drive. This type of recovery can only be used if the hard drive
is still working.
100 Chapter 9 Backing up, restoring, and recovering

To start HP Recovery Manager from the HP Recovery partition:
1. Press f11 while the computer boots.
– or –
Press and hold f11 as you press the power button.
2. Select Troubleshoot from the boot options menu.
3. Select HP Recovery Manager, and follow the on-screen instructions.
Using HP Recovery media to recover
You can use HP Recovery media to recover the original system. This method can be used if your
system does not have an HP Recovery partition or if the hard drive is not working properly.
1. If possible, back up all personal files.
2. Insert the first HP Recovery disc you created into the optical drive on your computer or into an
optional external optical drive, and then restart the computer.
– or –
Insert the HP Recovery USB flash drive you created into a USB port on your computer, and then
restart the computer.
NOTE: If the computer does not automatically restart in HP Recovery Manager, change the
computer boot order. See Changing the computer boot order on page 101.
3. Follow the on-screen instructions.
Changing the computer boot order
If computer does not restart in HP Recovery Manager, you can change the computer boot order,
which is the order of devices listed in BIOS where the computer looks for startup information. You can
change the selection for an optical drive or a USB flash drive.
To change the boot order:
1. Insert the HP Recovery media you created.
2. Restart the computer.
3. Press and hold esc while the computer is restarting, and then press f9 for boot options.
4. Select the optical drive or USB flash drive you want to boot from.
5. Follow the on-screen instructions.
Restore and recovery 101

Removing the HP Recovery partition
HP Recovery Manager software allows you to remove the HP Recovery partition to free up hard drive
space.
IMPORTANT: Removing the HP Recovery partition means you can no longer use Windows Refresh
or the Windows option to remove everything and reinstall Windows. In addition, you will not be able to
perform System Recovery or Minimized Image Recovery from the HP Recovery partition. Create HP
Recovery media before removing the Recovery partition to ensure you have recovery options; see
Creating HP Recovery media on page 98.
Follow these steps to remove the HP Recovery partition:
1. From the Start screen, type recovery, and then select HP Recovery Manager.
2. Select Remove Recovery Partition, and follow the on-screen instructions to continue.
102 Chapter 9 Backing up, restoring, and recovering

10 Power cord set requirements
The wide-range input feature of the computer permits it to operate from any line voltage from 100 to
120 V ac, or from 220 to 240 V ac.
The 3-conductor power cord set included with the computer meets the requirements for use in the
country or region where the equipment is purchased.
Power cord sets for use in other countries or regions must meet the requirements of the country and
region where the computer is used.
Requirements for all countries
The following requirements are applicable to all countries and regions:
●The length of the power cord set must be at least 1.0 m (3.3 ft) and no more than 2.0 m (6.5 ft).
●All power cord sets must be approved by an acceptable accredited agency responsible for
evaluation in the country or region where the power cord set will be used.
●The power cord sets must have a minimum current capacity of 10 A and a nominal voltage rating
of 125 or 250 V ac, as required by the power system of each country or region.
●The appliance coupler must meet the mechanical configuration of an EN 60 320/IEC 320
Standard Sheet C13 connector for mating with the appliance inlet on the back of the computer.
Requirements for all countries 103

Requirements for specific countries and regions
Country/region Accredited agency Applicable note number
Argentina IRAM 1
Australia SAA 1
Austria OVE 1
Belgium CEBEC 1
Brazil ABNT 1
Canada CSA 2
Chile IMQ 1
Denmark DEMKO 1
Finland FIMKO 1
France UTE 1
Germany VDE 1
India ISI 1
Israel SII 1
Italy IMQ 1
Japan JIS 3
The Netherlands KEMA 1
New Zealand SANZ 1
Norway NEMKO 1
The People's Republic of China CCC 4
Saudi Arabia SASO 7
Singapore PSB 1
South Africa SABS 1
South Korea KTL 5
Sweden SEMKO 1
Switzerland SEV 1
Taiwan BSMI 6
Thailand TISI 1
The United Kingdom ASTA 1
104 Chapter 10 Power cord set requirements

Country/region Accredited agency Applicable note number
The United States UL 2
1. The flexible cord must be Type HO5VV-F, 3-conductor, 0.75 mm² conductor size. Power cord set fittings (appliance
coupler and wall plug) must bear the certification mark of the agency responsible for evaluation in the country or region
where it will be used.
2. The flexible cord must be Type SVT/SJT or equivalent, No. 18 AWG, 3-conductor. The wall plug must be a two-pole
grounding type with a NEMA 5-15P (15 A, 125 V ac) or NEMA 6-15P (15 A, 250 V ac) configuration. CSA or C-UL
mark. UL file number must be on each element.
3. The appliance coupler, flexible cord, and wall plug must bear a “T” mark and registration number in accordance with the
Japanese Dentori Law. The flexible cord must be Type VCTF, 3-conductor, 0.75 mm² or 1.25 mm² conductor size. The
wall plug must be a two-pole grounding type with a Japanese Industrial Standard C8303 (7 A, 125 V ac) configuration.
4. The flexible cord must be Type RVV, 3-conductor, 0.75 mm² conductor size. Power cord set fittings (appliance coupler
and wall plug) must bear the CCC certification mark.
5. The flexible cord must be Type H05VV-F 3-conductor, 0.75 mm² conductor size. KTL logo and individual approval
number must be on each element. Corset approval number and logo must be printed on a flag label.
6. The flexible cord must be Type HVCTF 3-conductor, 1.25 mm² conductor size. Power cord set fittings (appliance
coupler, cable, and wall plug) must bear the BSMI certification mark.
7. For 127 V ac, the flexible cord must be Type SVT or SJT 3-conductor, 18 AWG, with plug NEMA 5-15P (15 A, 125 V
ac), with UL and CSA or C-UL marks. For 240 V ac, the flexible cord must be Type H05VV-F 3-conductor, 0.75 mm² or
1.00 mm2 conductor size, with plug BS 1363/A with BSI or ASTA marks.
Requirements for specific countries and regions 105

11 Recycling
When a non-rechargeable or rechargeable battery has reached the end of its useful life, do not
dispose of the battery in general household waste. Follow the local laws and regulations in your area
for battery disposal.
HP encourages customers to recycle used electronic hardware, HP original print cartridges, and
rechargeable batteries. For more information about recycling programs, see the HP Web site at
http://www.hp.com/recycle.
106 Chapter 11 Recycling

Index
A
AC adapter light 17
AC adapter, spare part numbers
31, 32
action keys 13
antenna
locations 10
removal 73
spare part number 29, 34, 67
Antenna Kit, spare part number
29, 67
audio in jack 16
audio, product description 7
audio-out jack 16
B
backups 98
base enclosure
spare part numbers 39
base enclosure, spare part
numbers 27, 34
battery
removal 47
spare part numbers 27, 32, 47
battery bay 18
battery release latch 18
BIOS
determining version for
Windows computer models
93
downloading an update for
Windows computer models
94
updating for Windows computer
models 93
Bluetooth label 19
boot order
changing HP Recovery
Manager 101
bottom 19
bottom components 18
button components 12
buttons
optical drive eject 17
power 12
TouchPad 15
C
cables, service considerations 42
caps lock light 14
chipset, product description 2
components
bottom 18
buttons 12
display 10
keys 13
left-side 15
lights 14
right-side 17
speakers 12
TouchPad 15
computer
major components 20
specifications 96
connectors, service
considerations 42
D
deleted files
restoring 99
display
components 10
specifications 96
display assembly
removal 65
spare part number 39, 65
display assembly subcomponents,
removal 67
display bezel
removal 69
spare part number 29, 34, 67
display enclosure, spare part
numbers 29, 34, 38, 67
display panel
product description 5
removal 71
spare part number 29, 35, 67
display panel cable
removal 72
spare part number 29, 34, 67
drives, preventing damage 42
DVD±RW Double Layer
SuperMulti Drive
removal 48
spare part number 27, 35, 48
DVD±RW Double-Layer with
SuperMulti Drive
precautions 42
spare part number 30
E
electrostatic discharge 42
equipment guidelines 45
esc key 13
Ethernet, product description 7
external monitor port, location 15
F
fan
removal 80
spare part number 25, 33, 80
fn key 13
G
graphics, product description 3
grounding guidelines 42
guidelines
equipment 45
grounding 42
packaging 44
transporting 44
workstation 44
H
hard drive
precautions 42
product description 6
removal 49
spare part numbers 27, 30,
31, 32, 49
specifications 97
Index 107
hard drive bracket
illustrated 30
removal 50
hard drive connector cable
illustrated 30
removal 50
Hard Drive Hardware Kit
contents 30
spare part number 27, 30, 33
hard drive light 16
HDMI port 15
headphone jack 16
heat sink
removal 81
spare part numbers 26, 33,
35, 37, 38, 81
hinge
removal 72
spare part number 29, 34, 67
HP PC Hardware Diagnostics
(UEFI)
downloading for Windows
computer models 95
using on Windows computer
models 95
HP Recovery Manager 100, 101
correcting boot problems 101
HP Recovery media 101
creating 98
HP Recovery partition 100, 101
removing 102
I
integrated numeric keypad 13
J
jacks
audio in 16
audio-out 16
headphone 16
microphone 16
network 17
RJ-45 (network) 17
K
key components 13
keyboard
product description 8
removal 56
spare part numbers 21, 34,
35, 36, 37, 56
keys
action 13
esc 13
fn 13
integrated numeric keypad 13
num lk 13
Windows key 13
L
labels
Bluetooth 19
regulatory 19
serial number 19
service 18
wireless certification 19
WLAN 19
left-side components 15
light components 14
lights
AC adapter 17
caps lock 14
hard drive 16
mute 14
power 14, 16
webcam 10
wireless 14
M
mass storage device
illustrated 30
precautions 42
spare part numbers 30
Media Card Reader 16
memory module
product description 6
removal 54
spare part numbers 27, 32, 54
microphone
location 11
product description 7
microphone jack 16
minimized image
creating 100
minimized image recovery 100
model name 1
monitor port 15
mute light 14
N
network jack 17
num lk key 13
O
operating system, product
description 9
optical drive
location 17
precautions 42
product description 6
removal 48
spare part number 27, 30, 35,
48
optical drive connector cable
removal 90
spare part number 27, 34, 90
optical drive eject button 17
original system recovery 100
P
packaging guidelines 44
PCH heat sink
removal 91
spare part number 27, 33, 91
plastic parts, service
considerations 41
pointing device, product
description 8
ports
external monitor 15
HDMI 15
monitor 15
product description 8
USB 2.0 17
USB 3.0 15
power button 12
power button board
removal 63
spare part number 22, 35, 39,
63
power connector 17
power connector cable
removal 89
spare part number 27, 33, 89
power cord
requirements for all countries
103
requirements for specific
countries and regions 104
set requirements 103
spare part numbers 31
power light 14, 16
108 Index
power requirements, product
description 8
processor
product description 1
removal 85
spare part numbers 25, 32,
33, 36, 38, 85
product description
audio 7
chipset 2
display panel 5
Ethernet 7
external media cards 7
graphics 3
hard drive 6
keyboard 8
memory module 6
microphone 7
operating system 9
optical drive 6
pointing device 8
ports 8
power requirements 8
processors 1
product name 1
security 8
serviceability 9
video 7
wireless 7
product name 1
product name and number,
computer 19
R
recovery 100
discs 99, 101
media 101
starting 101
supported discs 99
USB flash drive 101
using HP Recovery media 99
recovery media
creating 98
creating using HP Recovery
Manager 99
recovery partition 100
removing 102
regulatory information
regulatory label 19
wireless certification labels 19
removal/replacement
procedures 46, 55
restore
Windows File History 99
right-side components 17
RJ-45 (network) jack 17
RJ-45/USB board
removal 88
spare part number 27, 35, 88
RTC battery
removal 78
spare part numbers 27, 31,
38, 78
Rubber Kit, spare part number
27, 35
S
Screw Kit, spare part number 31,
35
security cable slot, location 17
security, product description 8
serial number 19
serial number, computer 19
service considerations
cables 42
connectors 42
plastic parts 41
service cover
location 18
removal 48
spare part number 28, 35, 48
service labels
locating 18
serviceability, product
description 9
Setup Utility (BIOS), using for
Windows computer models 93
speaker components 12
Speaker Kit, spare part number
27, 35
speakers
location 12
removal 86
spare part number 27, 35, 86
specifications
computer 96
display 96
hard drive 97
supported discs
recovery 99
system board
removal 73
spare part numbers 23, 33,
34, 36, 37, 38, 39, 40, 73
system recovery 100
system restore point
creating 98
T
Thermal Material Kit, spare part
number 25, 26, 27, 34
tools required 41
top cover
removal 60
spare part numbers 22, 35,
38, 39, 60
TouchPad button 15
TouchPad button board
removal 64
spare part number 23, 35, 64
TouchPad components 15
TouchPad zone 15
transporting guidelines 44
traveling with the computer 19
U
USB 2.0 port 17
USB 3.0 port 15
V
vent 15, 18
video, product description 7
W
webcam 10
webcam light 10
webcam/microphone module
removal 70
spare part number 29, 33, 67
Windows
File History 99
restoring files 99
system restore point 98
Windows key 13
wireless antenna
locations 10
removal 73
spare part number 29, 34, 67
Wireless Antenna Kit, spare part
number 34
wireless certification label 19
Index 109