Huawei Technologies ETS2207 Fixed Wireless Terminal User Manual Phone and Accessories
Huawei Technologies Co.,Ltd Fixed Wireless Terminal Phone and Accessories
User Manual

Packing List
The FWT package box contains the following items. Check the items according to the
following table. If any of the items is missing or damaged, contact your local dealer.
Item Quantity Item Quantity
Main unit, handset, and
coiled cord 1 Battery 1
Power adapter 1 Antenna (optional) 1
FWT User Guide 1 Certificate of Quality 1
Front View of the FWT
No. Item Function
1 Display screen Displays the current operation of the FWT
2 SET/OK key Set and save various functions
3 RECEIVED/▲ key Access Call In in standby mode
4 CANCEL key Delete queried information
5 DIALLED/▼key Access Call Out in standby mode
6 Call/Redial key
Dial the telephone number on the screen
Answer the call when there is an incoming call
7 HAND-FREE key
Make a call or receive an incoming call without lifting the
handset
1

No. Item Function
8 End key
End or reject a call
End the current operation when setting parameters
Press and hold it to switch on/off the FWT
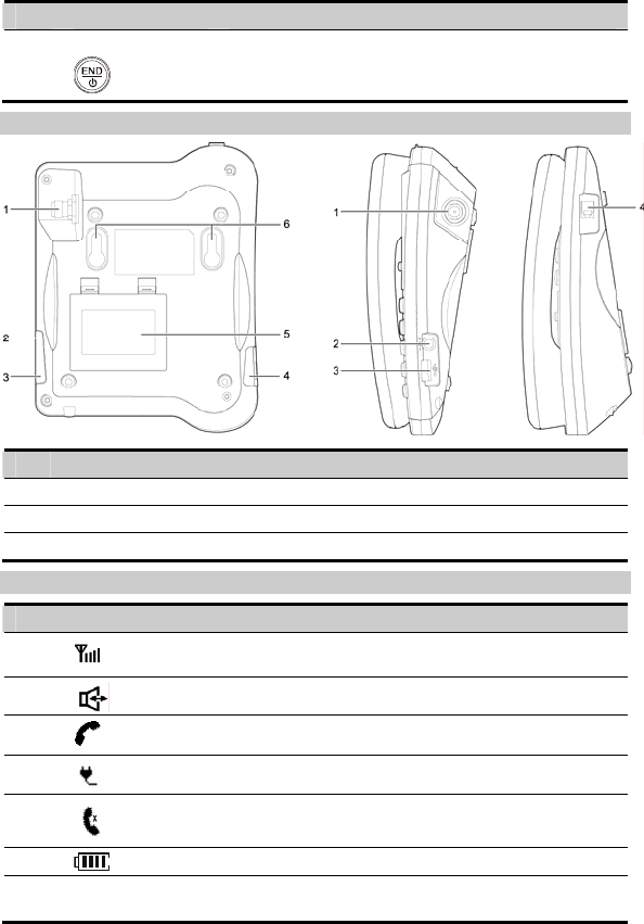
Back View and Side View
No. Item No. Item
1 Antenna jack 2 Power jack
3 Data port 4 Coiled cord jack on main unit
5 Battery container cover 6 Hook
Screen Icons
NO. Item Description
1 Indicates the signal strength. The more the bars are, the
stronger the signal is.
2 Indicates that you are in the hands-free mode of the FWT.
3 Indicates that there is an incoming call or a call is ongoing.
4 Indicates that the FWT is powered by the power adapter.
5
Indicates that there is a missed call.
6 Indicates the battery power level.
7 Month/Day/Time Indicates the current date and time. If the FWT does not find
the network, this information is not displayed.
2

NO. Item Description
8 Call duration Indicates the call duration of the current call.
9 Missed calls Indicates the number of missed calls.
Installing UIM Card (Optional)
Caution:
y Whether an UIM card is needed, consult your service provider for details.
y The UIM card and its golden contact can be easily damaged by scratch or
bending. Thus, be careful when installing or removing the UIM card.
After power off the FWT and disconnect the power, install or remove the UIM card.
Make sure that the golden contact of the UIM card is facing downwards.
Installing the Battery
Note:
y The FWT can be powered by the power adapter or the battery.
y Before replacing the battery, disconnect the outdoor antenna.
y When the FWT installed with the battery is powered by the power adapter, the
battery is auto charged. After the battery is fully charged, the charging stops.
y Before using the battery for the first time, charge the battery for at least eight
hours. When the battery is fully charged but not used for a long time, charge it for
five minutes before you can use it again normally.
After power off the FWT and disconnect the power, install the battery. When installing the
battery, make sure the battery cord plug matches the battery jack. Do not insert conversely.
Installing the Antenna
Note:
For details of antenna selection and installation, consult your local dealer.
3

Power off the FWT. Then connect the indoor antenna with the antenna jack on the main unit.
Screw the antenna to make sure that the antenna is tightly connected with the antenna jack.
Placing the FWT
Horizontally
Place the FWT on the flat surface. Select a cool and ventilated site to dissipate heat.
Vertically
1. Pull out the handset retaining clip from the slot turn it around and then push it back so
that the handset will not fall down when the FWT is placed vertically.
2. According to the distance between the two hooks (7.7 cm), hammer two nails into the
wall with a 3 mm end left outside.
3. Snap the hooks to the nails.
Validating
You can make a call to check whether the FWT is correctly installed.
1. Press and hold to power on the FWT. After connecting the FWT with the external
power supply, the icon appears, indicating that the FWT is powered normally.
2. Lift the handset. In standby mode, the signal strength icon appears normally.
3. If you can make a call, it indicates that the FWT is installed correctly.
Making a Call
Method 1:
1. Lift the handset or press .
2. Enter the number. If the number is incorrect, press CANCEL key to delete it.
3. Press to dial the number.
4. After the conversation, put down the handset or press to end the call.
Method 2:
1. Enter the number you want to dial without lifting the handset or pressing .
2. Press to change the FWT to the hands-free mode and dial the number.
3. After the conversation, put down the handset or press to end the call.
4

Note:
In the standby mode, if there is a missed call, the phone number of the missed call is
displayed on the screen. At this time, you can press to dial the number of the
missed call.
Answering a Call
In standby mode, you can lift the handset, press or press to answer a call.
Note:
y In standby mode, press to reject the incoming call.
y Caller ID display function is network dependent. Consult your service provider.
Options During a Call
To switch a call from the handset to the hands-free mode, press , and then put back
the handset when the icon is displayed on the screen. To switch a call from the
hands-free mode to the handset, just lift the handset.
Speed Dial
Speed dial number allows you to call a FWT number by pressing one numeric key.
Setting the Speed Dial Function
1. Press SET/OK key to display the selecting function item Speed Dial.
2. Press SET/OK key to switch to the modifying or setting status.
3. Press SET/OK key to confirm the modifying or setting number.
4. Enter the number, and then press SET/OK key to save the record.
5. Press ▲ or ▼ key to browse the phone numbers assigned to different speed dial keys.
Repeat step 3 and step 4 to enter or modify the corresponding phone numbers of
different speed dial keys.
Dialling the Speed Dial Number
1. In standby mode, press a speed dial number. (Positions 01–09 correspond to numeric
keys 1–9).
2. Press to dial the corresponding phone number assigned to the speed dial number.
Note:
If no phone number is assigned to the numeric key you press, the FWT displays No
Speed Code.
Locking Long Distance Call
In the standby mode, you can set and enable this function. When you dial a long distance
number, you need to enter the preset long distance lock password.
Setting Long Distance Lock Password
1. Press SET/OK key to display the selecting function menu.
5
2. Press RECEIVED key or DIALLED key until the screen displays Long Distance.

3. Press SET/OK key to display Code inputting interface.
4. Enter the default password (0000) of the FWT. The screen displays the status (On or Off)
of the long distance lock.
5. Press ▲ or ▼ key until the screen displays On. Set the long distance lock function. If
you want to disable this function, select Off.
6. After setting, press SET/OK key.
Make a Call When the Long Distance Lock Is Enabled
When the long distance lock is enabled, adopt method 2. Follow these steps:
1. Enter the long distance number you want to dial.
2. Press to display code.
3. Enter the password. The FWT switches to the hands-free mode and dials the number.
Modifying the Long Distance Lock Password
1. Press SET/OK key to display the selecting function menu.
2. Press ▲ or ▼ key until the screen displays Change Code.
3. Press SET/OK key to display Old Code inputting interface.
4. Enter the old password (the initial password is 0000). The screen displays Enter Code.
5. Enter the new password, and then the screen displays REEnter Code. Enter the new
password again.
6. The new password should be restored automatically if the twice inputting is matched.
Otherwise, reenter the new passwords.
Note:
If you forget the long distance lock password, consult the service provider.
Setting Ring Volume
1. Press SET/OK key to display the selecting function menu.
2. Press ▲ or ▼ key until the screen displays Ring Vol.
3. Press SET/OK key to display the items.
4. Press ▲ or ▼ key to select a ring volume.
5. After selecting, press SET/OK key.
Setting Ring Type
1. Press SET/OK key to display the selecting function menu.
2. Press ▲ or ▼ key until the screen displays Ring Type.
3. Press SET/OK key to display the items.
4. Press ▲ or ▼ key to select a ring type.
5. After selecting, press SET/OK key.
Supplementary Services
Supplementary services, including: Three way calling, Call forwarding.
Supplementary services are network dependent. For details, consult your service provider.
6

Maintenance
y The FWT should be deployed in a clean and dry environment. A temperature higher than 55°C or lower than –10°C
may damage the FWT.
y If the FWT is covered with dust, clean it with a clean fine cloth. Do not clean the FWT with cleanser or other
chemical solvents.
se the power adapter.
y If the battery fails and causes problems of the FWT, replace it or u
y If the FWT does not work properly, consult your service provider.
T oubleshooting r
y The display screen keeps OFF after the FWT is turned on (no external power adapter is connected with the FWT).
s
n
er or unstable, thus causing the case that FWT
ther the external voltage of the power adapter is
e
ier to ensure that the signal covers the area of FWT.
t the antenna is installed properly.
WT is powered off. A power supply icon and a
or
service provider.
r Err Card.
It indicates that the FWT is powered by the battery. When the FWT is powered by the battery (without the power
ication bar and blinks, the battery is running low. Connect the FWT to
he battery.
y Open the battery case to check whether the battery is installed.
y If the battery is installed, it means that the battery is running low. Power on the FWT with a power adapter.
The display screen keeps OFF after the FWT is turned on (an external power adapter i
co nected with the FWT).
1. It is likely that the voltage output by the power adapter can not meet the requirement of FWT. In this case, you
need to check whether the AC input is normal, and whether the power adapter is the one accompanying FWT.
It is also likely that the external voltage of t
2. he power adapter is low
can not operate normally. In this case, you need to check whe
normal, or power on FWT with a battery.
Th re is no signal indication on the FWT screen
1. Ensure that the antenna is installed properly.
2. If there is still no signal indication, contact the carr
The current time is not displayed on the FWT screen
1. Ensure tha
2. Adjust the antenna of the FWT or move the FWT to the location where the signal can be received easily.
3. If the current time is still not displayed, contact the service provider to check whether the signal covers the area of
the FWT.
The screen sometimes displays nothing or displays a power supply icon and a blinking
battery icon after the FWT is turned off
It is normal that no information is displayed on the screen when the F
blinking battery icon indicate that the FWT battery is being charged.
I hear the ringing tone after hearing the busy tone
The ringing tone indicates that there is an incoming call. If you are not in a conversation, you can answer the call.
I hear the ringing tone when I am ready to dial or dialling a number
The ringing tone indicates that there is an incoming call. If you are not in a conversation, you can answer the call.
When the FWT is powered on, the screen displays invalid card in the standby mode
during a call
details, consult theThe FWT does not match the R-UIM card. Use a compatible R-UIM card. For
After the FWT is powered on, the screen displays no card o
M card. The R-UIM card is not inserted properly. Insert a compatible R-UI
After the FWT is powered on, the screen displays loc fail.
The FWT lock function is invalid. Consult the service provider.
The Screen does not display the power adapter icon but only the battery icon
adapter connected), if the battery icon has no ind
the power adapter to charge the battery or change t
7

8
Warnings and Precautions
ice following cautions.
ices. The FWT may affect the performance of these devices.
utomatic gates, and other automatic-control
manufacturer and confirm whether the radio
ction
able
y
y
y rface between FWT and
T
rk signal condition will directly affect the quality and stability of the call. Consequently, you should place
The
tal brackets or metal doors and windows) should be
the distance between FWTs should be greater than 30cm.
on
is designed to conform to the authoritative international radio frequency (RF) specifications. Use FWT
To use HUAWEI Fixed Wireless Terminal (FWT) correctly, efficiently and safely, you should not
Basic Cautions
y Check fittings based on the packing list to make sure they are complete and undamaged.
y Read this manual carefully before installing and using FWT.
Electronic Device
T off near high-precision electronic devSwitch your FW
Such devices include hearing aids, pacemakers, fire alarm systems, a
devices. If you are using an electronic medical device, consult the device
wave affects the operation of this electronic device.
Hospital
wing points in hospitals or health care facilities: Pay attention to the follo
y Do not take your FWT into the operating room (OR), intensive care unit (ICU), or coronary care unit (CCU).
ySwitch your FWT off near medial devices.
y Observe any instructions wherever the use of wireless device is prohibited.
Traffic Safety
y Do not use your FWT while driving. Secure the FWT on its holder. Do not place the FWT on the seat or other places
where it can get loose in a sudden stop or collision.
y Observe the rules and regulations of airline companies. Switch your FWT off before boarding an aircraft.
Operating Environment
y Do not place magnetic storage media such as magnetic cards and floppy disks near the FWT. Radiation from the
FWT may erase the information stored on them.
y Do not put your FWT, battery, or other accessories in containers with strong magnetic field, such as the indu
cooker and microwave oven. Otherwise, circuit failure, fire, or explosion can be caused.
y Do not leave your FWT, battery, or power adapter in a high-temperature place or use them in a place with flamm
gas. Otherwise, malfunction of the products, fire, or explosion can be caused.
Because FWT needs to eliminate heat during working, put the FWT and the power supply in a ventilated and
shadowy place. Never airproof the FWT or put something on it or place it near water, fire as well as inflammable and
explosive materials.
y Because FWT contains precision devices, you should put it in a dry place and away from moist materials
y Before cleaning FWT, turn off the FWT, and then disconnect the power supply and take out the battery. Before
moving FWT, disconnect the external power supply
Do not subject your FWT, battery, and power adapter to serious collision or shock. Otherwise, battery leakage, FWT
malfunction, overheat, fire, or explosion can be caused.
Do not place sharp metal objects such as pins near
y the earpiece. The earpiece may attract these objects and hurt
you when you are using the FWT.
y Do not place the FWT in the area over the air bag or in the air bag deployment area. Otherwise, the FWT may hurt
you owing to the strong force when the air bag inflates.
When lightning, if you use the power adapter, turn off the FWT and disconnect the power adapter from external
power supply. If outdoor antenna is used, turn off the FWT and do not touch the inte
antenna
y Put your FWT, battery, and power adapter in places beyond the reach of children. Do not allow children to use the
FWT, battery, or power adapter without guidance.
y Do not touch the antenna when a call is going on. Touching the antenna may affect call quality and cause the FW
to operate at a power level higher than needed.
yThe netwo
FWT in a place where it can receive network signal well. Do not put FWT in a building with an iron or metal roof.
distance between FWT and other metal materials (such as me
greater than 25cm and
y Do not open the chassis in any case and the device should be maintained by a qualified maintenance department.
y Without permission, you are not allowed to modify the architecture and security design of FWT. You must bear any
consequence resulted from the operation without permissi
y Your FWT
accessories approved by Huawei only.
9
from all
uld
y ater and seek medical assistance immediately.
immediately to avoid irritation to the skin.
battery in fire. Otherwise, the battery may ignite or explode.
ttery poles. Otherwise fluid leakage, overheat, fire, or explosion can
ery leakage, smoke, or strange smell, stop using the battery and keep it away from open flame to
er adapter.
Short-circuiting the power adapter may cause fire or malfunction of the
er cords. Otherwise, electric shock, short-circuiting of the power adapter, or fire can be
handset, consumed batteries and used handsets,
This device complies with part 15 of the FCC Rules
Operation is subject to the following two conditions: (1) This device may not cause harmful interference, and (2) this
device must accept any interference received, including interference that may cause undesired operation.
Changes or modifications made to this equipment not expressly approved by (Huawei Technologies Co.,Ltd.) may void
the FCC authorization to operate this equipment.
This equipment has been tested and found to comply with the limits for a Class B digital device, pursuant to Part 15 of
the FCC Rules. These limits are designed to provide reasonable protection against harmful interference in a
residential installation. This equipment generates, uses and can radiate radio frequency energy and, if not installed
and used in accordance with the instructions, may cause harmful interference to radio communications. However,
there is no guarantee that interference will not occur in a particular installation. If this equipment does cause harmful
interference to radio or television reception, which can be determined by turning the equipment off and on, the user is
encouraged to try to correct the interference by one or more of the following measures:
y istance of at least 20cmThe antenna(s) used for this transmitter must be installed to provide a separation d
persons.
y Please observe the national local regulations in the location where product is to be used. This product may be
restricted for use in some or all countries of European Union.
Emergency Call
You can use your FWT for emergency calls. However, connections in all conditions cannot be guaranteed. You sho
never rely solely on the FWT for essential communications.
Battery
If the battery fluid gets into eyes, do not rub them. Wash with clean w
y If the battery fluid contacts skin or cloth, wash with clean water
y Do not dispose of the
y When installing the battery on your FWT, do not push the battery by force lest battery fluid leak out or the battery
crack.
y Do not connect two poles of the battery with metallic materials such as cables.
y Do not disassemble the battery or solder the ba
be caused.
yIf there is batt
avoid fire or explosion.
Disconnect the power adapter and take out the battery whe
yn FWT is not used for a long time.
y Do select its self-contained complete battery and power adapter, otherwise, FWT may be spoiled. Dispose of used
batteries according to the instructions
yDispose of the battery according to local laws or regulations.
Power Adapter
y Use AC power as specified for the power adapter. Any violation of this rule can be caused in fire or malfunction of
the pow
y Do not short-circuit the power adapter.
power adapter.
y Remove the dust on the power plug regularly.
y Do not use worn-out pow
caused.
y Do not put the power adapter near the container filled with liquid such as water. If the liquid comes into the power
adapter, electrical leakage or other faults can be caused.
y If the liquid such as water comes into the power adapter accidentally, remove the plug of the power adapter from the
socket immediately.
y Disconnect the power adapter from the socket before cleaning or maintaining it. Otherwise, electric shock or
short-circuiting of the battery or power adapter can be caused.
y Ensure the plug of the power adapter is properly inserted into the power socket when charging the battery. Improper
insertion can be caused in electric shock, fire, or explosion.
y Do not place any heavy object on the power cord of the power adapter. Do not damage, change, or pluck the power
cord.
Environmental Protection
Abide by the local laws in disposing of the package materials of your
and try to recycle them.
FCC Statement
10
Reorient or relocate the receiving antenna.
Increase the separation between the equipment and receiver.
Connect the equipment into an outlet on a circuit different from that to which the receiver is connected.
Consult the dealer or an experienced radio/TV technician for help.
y
y
y
y

uawei Technologies Co., Ltd.
ddress: Huawei Industrial Base, Bantian, Longgang, Shenzhen 518129, People's Republic of
hina
H
A
C
Website: http://www.huawei.com
Copyright © 2008 Huawei Technologies Co., Ltd.
A
ll Rights Reserved. No part of this manual may be reproduced or transmitted in any form or by any means
without prior written consent of Huawei Technologies Co., Ltd.
and HUAWEI are trademarks of Huawei Technologies Co., Ltd. All other trademarks mentioned in this
manual are the property of their respective holders
Please refer color and shape to product. Huawei reserves the right to make changes or improvements to any
of the products without pr
The information in this ior notice.
manual is subject to change without notice. Every effort has been made in the
all statements, information, and
y kind, expressed or implied.
XXX
preparation of this manual to ensure accuracy of the contents, but
recommendations in this manual do not constitute the warranty of an
Version: V100R001_01 Part Number: 3101X

HUAWEI ETS2207
Fixed Wireless Terminal
USER GUIDE
Copyright © 2008 Huawei Technologies Co., Ltd.
and other Huawei trademarks are the trademarks or registered trademarks of Huawei
Technologies Co., Ltd. in the People’s Republic of China and certain other countries. All other
trademarks mentioned in this manual are the property of their respective holders. The
information in this manual is subject to change without notice. Every effort has been made in
the preparation of this manual to ensure accuracy of the contents, but all statements,
information, and recommendations in this manual do not constitute the warranty of any kind,
express or implied.
Huawei Technologies Co., Ltd.
Address: Huawei Industrial Base, Bantian, Longgang, Shenzhen 518129, People's Republic of China
Tel: +86-755-28780808 Global Hotline: +86-755-28560808
E-mail: Hmobile@huawei.comH Website: www.huawei.com