Huffybikes Sports Basketball Systems Users Manual 211455F
Sports Basketball Systems to the manual d1718860-4b11-f944-3d55-50cdfc762653
2015-01-24
: Huffybikes Huffybikes-Sports-Basketball-Systems-Users-Manual-340360 huffybikes-sports-basketball-systems-users-manual-340360 huffybikes pdf
Open the PDF directly: View PDF
.
Page Count: 28

102/04 P/N 21145507
© COPYRIGHT 2000 by HUFFY SPORTS
Toll-Free Customer Service Number for U.S: 1-800-558-5234,
For Canada: 1-800-284-8339,
For Europe: 00 800 555 85234 (Sweden: 009 555 85234),
For Australia: 1-800-333 061
Internet Address: http://www.huffysports.com
Inground System
Owners Manual
Customer Service Center
• N53 W24700 South Corporate Circle • Sussex, WI 53089 • U.S.A.
REQUIRED TOOLS AND MATERIALS:
• Two People
• Tape
• Carpenter’s Level
• Wood Scrap
• Wedge
• Phillips Head Screw Driver
• Concrete, 540 lb (245 kg) Minimum and Container to Mix
• Wood Board (Scrap)
• Wrenches: (Two) 7/16”, 1/2”, 9/16”, 3/4” or two Large and Small
Adjustable Wrenches
• Tape Measure
• Shovel and Spade
• Hammer
• Sawhorse or Support Table
• Step Ladder 8 ft. (2.4 m)
• Safety Goggles
READ AND UNDERSTAND
OPERATOR'S MANUAL
BEFORE USING THIS UNIT.
FAILURE TO FOLLOW
OPERATING INSTRUCTIONS
COULD RESULT IN INJURY
OR DAMAGE TO PROPERTY.
WARNING!

2
P/N 21145507 02/04
BEFORE YOU START!
To ensure optimal playability of backboard system, a close tolerance fit between the elevator
components and hardware is required. Test-fit large bolts into large holes of elevator tubes,
backboard brackets, and triangle plates. Carefully rock them in a circular motion to ream out
any excess paint from holes if necessary.
AVANT DE COMMENCER !
Pour garantir l'utilisation optimale du panneau, les composants du système élévateur et la visserie doivent être bien
ajustés (serrés). À titre d'essai, insérez les gros boulons dans les gros trous des tubes du système élévateur, des supports
du panneau et des plaques triangulaires. Basculez-les avec précaution en imprimant un mouvement circulaire pour
éliminer l'excédent de peinture, si nécessaire.
¡ANTES DE COMENZAR!
Para asegurar el óptimo rendimiento del sistema del respaldo en el juego, se requiere un ajuste de tolerancia estrecha
entre los componentes del elevador y el herraje. Pruebe el ajuste de los pernos grandes en los orificios grandes de los
tubos elevadores, soportes del respaldo y placas triangulares. Cuidadosamente muévalos en círculos para eliminar
cualquier exceso de pintura, si es necesario.
VORBEREITENDE MASSNAHMEN
Um sicherzustellen, dass das Korbwandsystem optimal für den Spielbetrieb geeignet ist, müssen die Komponenten der
Verlängerungsvorrichtung und die verschiedenen Befestigungsteile fest miteinander verschraubt werden. Große Schrauben
zur Probe in die großen Löcher der Verlängerungsrohre, Korbwandklammern und Dreiecksplatte stecken und diese
vorsichtig in einer Kreisbewegung hin- und herbewegen, um eventuelle Farbrückstände aus den Bohrungen zu entfernen.

02/04 P/N 21145507
3
FAILURE TO FOLLOW THESE WARNINGS MAY RESULT
IN SERIOUS INJURY AND/OR PROPERTY DAMAGE.
Owner must ensure that all players know and follow
these rules for safe operation of the system.
• DO NOT HANG on the rim or any part of the system
including backboard, support braces or net.
• During play, especially when performing dunk type
activities, keep player's face away from the backboard, rim
and net. Serious injury could occur if teeth/face come in
contact with backboard, rim or net.
• Do not slide, climb, shake or play on pole.
• When adjusting height, keep hands and fingers away from
moving parts.
• Do not allow children to move or adjust system.
• During play, do not wear jewelry (rings, watches, necklaces,
etc.). Objects may entangle in net.
• Keep organic material away from pole base. Grass, litter,
etc. could cause corrosion and/or deterioration.
• Check pole system for signs of corrosion (rust, pitting,
chipping) and repaint with exterior enamel paint. If rust
has penetrated through the steel anywhere, replace the pole
immediately.
• Check system before each use for proper ballast, loose
hardware, excessive wear and signs of corrosion and repair
before use.
• Check system before each use for instability.
• Never play on damaged equipment.
• Keep pole top covered with cap at all times.
• See instruction manual for proper installation.
In the U.S.:1-800-558-5234 and Canada: 1-800-284-8339
201240 2/99
WARNING

4
P/N 21145507 02/04
2
2
1
3
201251 2/99
HEIGHT ADJUSTMENT
TO ADJUST BACKBOARD:
1. While holding handle, remove pin.
2. Move elevator up or down to
desired height.
3. Replace pin full length to lock
system at desired height.
38
SAFETY INSTRUCTIONS
Most injuries are caused by misuse and/or not following instructions.
Use caution when using this system.
• If using a ladder during assembly, use extreme caution.
• Two (2) people are reccomended for this operation.
• Seat the pole sections properly. Failure to do so could allow the pole
sections to separate during play.
• Before digging, contact utility company to locate underground power
cables, gas, and water lines. Ensure there are no overhead power lines
within 20 ft. (7 m) radius of pole location.
• Climate, corrosion, excessive use, or misuse could result in system failure.
• If technical assistance is required, contact Huffy Sports.
• Minimum operational height is 6'6" (1.98 m) to the bottom of backboard.
• This equipment is intended for home recreational use only and NOT
excessive competitive play.
• Read and understand the warning label affixed to pole. Label is shown to
the right.
• The life of your basketball pole depends on many conditions. The climate,
placement of the pole, the location of the pole, exposure to corrosives
such as pesticides, herbicides or salts are all important.
• Adult supervision is recommended when adjusting height.
• Serious injury could occur if teeth/face come in contact with backboard,
net, or rim.
FAILURE TO FOLLOW THESE SAFETY INSTRUCTIONS MAY RESULT IN
SERIOUS INJURY, PROPERTY DAMAGE AND WILL VOID WARRANTY.
Owner must ensure that all players know and follow these rules for safe
operation of the system.
To ensure safety, do not attempt to assemble this system without following
the instructions carefully. Proper and complete assembly, use and
supervision is essential for proper operation and to reduce the risk of
accident or injury. A high probability of serious injury exists if this system is
not installed, maintained, and operated properly. Check entire box and inside
all packing material for parts and/or additional instructional material. Before
beginning assembly, read the instructions and identify parts using the
hardware identifier and parts list in this document.

02/04 P/N 21145507
5
For more information on assembly, placement, proper
use, and maintenance, visit The American Basketball
Council website at http://www.smarthoops.com.
IMPORTANT!
Remove all contents from boxes.
Be sure to check inside pole sections;
hardware and additional parts are packed inside.
NOTICE TO ASSEMBLERS
ALL Huffy Sports Basketball Systems, including those used for DISPLAYS, MUST be assembled
and ballasted with sand or water according to the instructions. Failure to follow instructions
could result in SERIOUS INJURY. It is NOT acceptable to devise a makeshift weight system.
WARRANTY CARD:
Please remember to complete your product
registration form either on-line at:
www.huffysports.com or mail-in the
enclosed postcard.

6
P/N 21145507 02/04
PARTS LIST - (See Hardware Identifier)
See Hardware Identifier
Item Qty.Part No. Description
1 1 914822 Top Pole Section
2 1 990062 Middle Pole Section
3 1 908812 Bottom Pole Section
4 1 202800 Ground Sleeve
5 1 202801 Ground Sleeve Cap
6 1 203279 Anti-Skid Tape
7 1 204832 Bracket, Pole Mount
8 2 203053 Bolt, Carriage, 5/16-18 x 4 long
9 5 203100 Nut, Hex-Flange, 5/16-18
10 2 204857 Spacer, 1/2 O.D. x 1.44 long
11 2 204858 Spacer, Biscuit
12 3 206360 Bolt, Hex-Head, 3/8-16 x 2.625 long
13 4 203232 Washer, 3/8 x 3/4 O.D.
14 3 201124 Nut, Hex-Centerlock, 3/8-16
15 2 204859 Cover, Plastic (Black)
16 1 203038 Bolt, Carriage, 5/16-18 x 2.75 long
17 1 204853 Lanyard, Plastic Coil (Black)
18 1 204850 Pin, Height Adjustment
19 1 204872 Label, Logo/Height Indicator
20 1 904866 Height Adjustment Rod
21 1 204855 Handle, Left Plastic (Black)
22 1 204856 Handle, Right Plastic (Black)
23 1 204803 Screw, Phillips-Head, 1.5 long
24 2 203103 Bolt, Carriage, 5/16-18 x 2 long
25 4 201129 Spacer, 1.8 long x .402 I.D. x .5 O.D.
26 2 900846 Backboard Bracket (Black)
27 1 240017 Bolt, Hex-Head, 1/4-20 x 2 1/4 long
28 1 203493 Nut, Hex, 1/4-20, Centerlock
29 2 904807 Upper Elevator Tube (Black), short
30 2 904821 Lower Elevator Tube (Black), long
31 6 204847 Bolt, Hex-Head, 1/2-13 x 9.5 long
32 2 206311 Spacer, .53 I.D. x .65 O.D. x .5 long
33 12 202862 Spacer, .563 I.D. x .68 O.D. x 1.19 long
34 2 204837 Spring, Counterweight, Black
35 6 206340 Locknut, Hex Centerlock, 1/2-13
36 1 202789 Bolt, Hex Head, 3/8-16 x 6 long
37 2 203309 Washer, .406 I.D. x 1.0 O.D.
38 1 201251 Label, Height Adjustment
39 2 204838 Spring, Counterweight, Zinc Plated
40 1 207103 Pole Cap
41 1 Rim, (Black)
1 Rim, (Red)
42 12* 201219 Clip, Net Holder
43 1 Net
44 1 206990 Bracket Reinforcement
* You may have extra parts with this model.

02/04 P/N 21145507
7
HARDWARE IDENTIFIER (BOLTS & SCREWS)
HARDWARE IDENTIFIER (NUTS & WASHERS)
HARDWARE IDENTIFIER (STEEL SPACERS)
HARDWARE IDENTIFIER (PLASTIC SPACERS)
* You may have extra parts with this model.
Item #25 (4)
Item #28 (1)
Item #27 (1)
Item #16 (1)
Item #24 (2)
Item #23 (1)
Item #10 (2)
Item #14 (3)
Item #13 (4)
Item #12 (3)
Item #9 (5)
Item #8 (2)
Item #33 (12)
Item #32 (2)
Item #35 (6)
Item #36 (1)
Item #37 (2)
Item #31 (6)
Item #11 (2)

8
P/N 21145507 02/04
TOOLS REQUIRED FOR THIS SECTION HARDWARE USED IN THIS SECTION
(not actual size)
SECTION A: ASSEMBLE THE POLE
This is what your system will look like
when you’ve finished this section:
Item #16
Item #24
Item #23
Item #10
Item #14
Item #13
Item #12
Item #9
Item #8
Item #11
AND
a Phillips-Head Screwdriver
(2) 1/2”, (2) 9/16"” AND (2) 3/4”
Wrenches
9/16”
1/2”
AND/OR
(2) Socket Wrenches and Sockets

02/04 P/N 21145507
9
1TOP
MIDDLE
BOTTOM
2
3
1. Mark pole sections with tape (not supplied) at indicated distances from ends as
shown.
Tape (Not Supplied)
18" (42.7 cm)
6" (15.2 cm)
24" (61 cm)
PLAYING SURFACE
Note
Maximum distance from edge
of hole to edge of playing
surface 6” (15.2 cm).
GROUND SURFACE
2. Ensure ground is level with playing surface, then dig pole hole.
CONTACT UTILITIES
BEFORE DIGGING.
WARNING!

10
P/N 21145507 02/04
3. 4.
1" (2.54 cm)
Insert and secure
bottom pole section (3)
into ground sleeve (4)
by tightening ground
sleeve cap (5).
NOTE: Flared end
goes inside ground
sleeve.
SIDE VIEW
Fill hole approximately 1/3 full with concrete (FIG. A).
Insert ground sleeve assembly and center in hole (FIG. B).
Fill hole completely with concrete (FIG. C).
4
3
5
FIG. A FIG. B
FIG. C
FLANGE
NOTE POSITION OF
FLANGE
IMPORTANT!:
3
5
4

02/04 P/N 21145507
11
1" (2.54 cm)
5.
Note A
Make a reference mark
here for anti-skid tape.
Note B
Keep flange pushed down
to concrete and leveled.
Tamp down concrete to release air pockets and build drainage hill. Level pole
section in all directions several times while concrete is curing.
After concrete has cured, remove bottom pole section from ground sleeve (4). Place
anti-skid tape (6) around the bottom area of bottom pole (see note A).
6
4
6.
5
IMPORTANT!:
WAIT A MINIMUM OF 24 HOURS BEFORE GOING ON TO NEXT STEP. CONCRETE MUST CURE.
Note A
Place top edge of anti-skid
tape on mark made in step 5.
Note B
Tape prevents the pole
from rotating during play.
1" (2.54 cm)
SIDE VIEW

12
P/N 21145507 02/04
1
7
9
9
FRONT SIDE
9. Install pole mount bracket (7), bracket
reinforcement (44) with carriage bolts
(8) as shown. Tighten flange nuts (9)
completely.
44 8
8
1
5
WOOD SCRAP
(NOT SUPPLIED)
7. Install ground sleeve cap (5) onto
bottom pole section (1). Stack and
bounce bottom (3) and middle (2)
pole sections together. Bounce
pole sections together until middle
section no longer moves toward
taped reference mark on bottom
pole.
2
5
3
WOOD SCRAP
(NOT SUPPLIED)
8. Stack upper pole section (1) to bottom
pole assembly and continue bouncing
until top pole (1) no longer move toward
taped reference mark.
Taped reference marks
POLE SECTIONS SHOULD
HAVE A 3-3/4" (9.5 CM)
MINIMUM OVERLAP.
IMPORTANT!:

02/04 P/N 21145507
13
11
7
11
10
10
14
12
13
13
10.
7
9
15
15
17
16
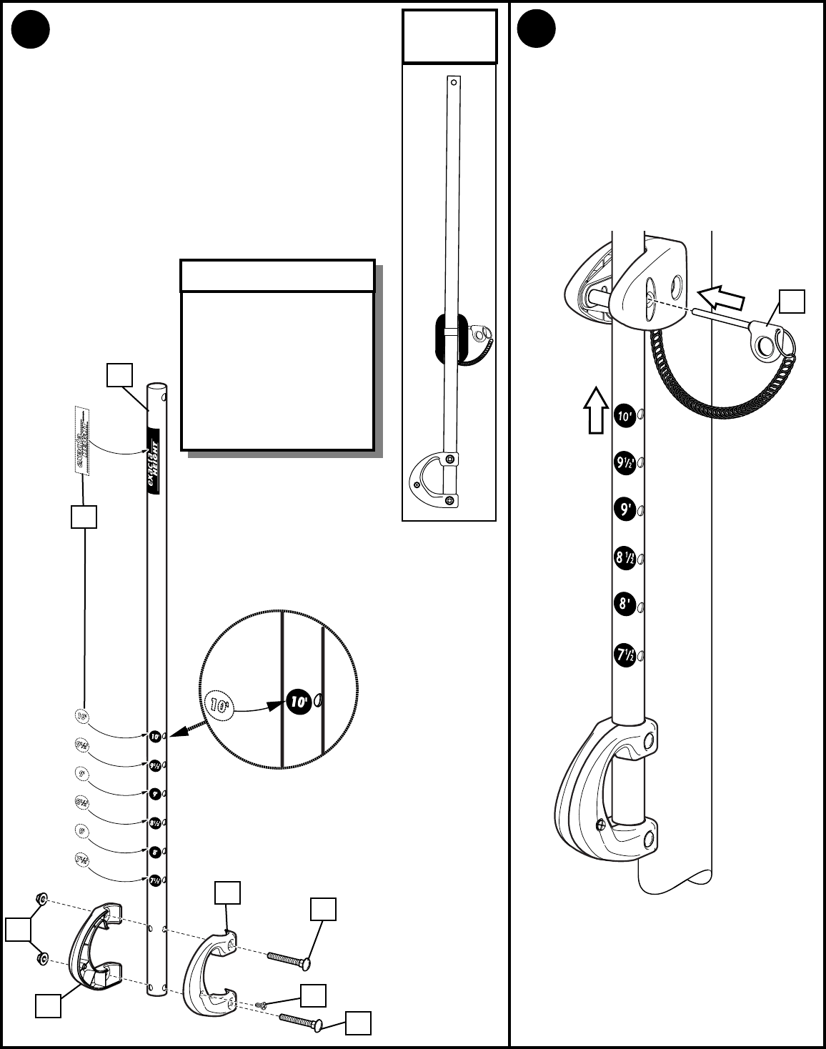
11.
Attach spacers (10, 11) to pole mount bracket (7) with bolts (12), washers (13), and
nuts (14) as shown. IMPORTANT! Tighten until washers (13) no longer move.
Assemble lanyard (17) to locking pin (18) as shown in FIG. A. Attach covers (15)
onto pole mount bracket (7) with carriage bolt (16) and nut (9) as shown.
IMPORTANT: Loop end of pin lanyard (18) over carriage bolt (16) during this
assembly.
18
16
Loop end of pin
lanyard (17) over
carriage bolt (16) as it
passes through the
pole mount bracket (7)
during this assembly
IMPORTANT!:

14
P/N 21145507 02/04
24
19
22
21 23
20
12.
24
13.
18
Insert handle assembly
through pole mount
assembly as shown. Lock
pole assembly in place at
the 10’ (3.05 m) mark with
pin (18).
Apply logo and height indicator
labels (19) to adjustment rod (20) as
shown. Attach handle parts (21, 22)
to adjustment rod with screw (23),
carriage bolt (24), and flange nut (9)
as shown.
NOTE: Holes in adjustment rod allow
for either rear access or side access.
Indicator labels should
be applied as close to
holes as possible (as
shown in illustration)
to prevent labels from
being damaged during
height adjustment.
IMPORTANT!:
9
SIDE
ACCESS

02/04 P/N 21145507
15
TOOLS REQUIRED FOR THIS SECTION HARDWARE USED IN THIS SECTION
(not actual size)
SECTION B: ASSEMBLE THE BACKBOARD
TO ELEVATOR TUBES
ASSEMBLY WILL VARY DUE TO
BACKBOARD STYLE.
NOTE:
This is what your system will look like
when you’ve finished this section:
29
Upper Elevator tube
Toward
Pole
Toward
Board
30
Lower Elevator tube
Toward
Pole
Toward
Board
Identify elevator tubes (29 & 30).
Item #25
Item #28
Item #27
Item #14
Item #12
Item #33
Item #32
Item #35
Item #31
9/16” 3/4”
1/2”
(2) 1/2", (2) 9/16"” AND (2) 3/4”
Wrenches
AND/OR
(2) Socket Wrenches and Sockets

16
P/N 21145507 02/04
Use the following assembly instructions if you have a
44” molded plastic backboard (Rectangle or Fan)
CAUTION:
THIS BACKBOARD AND GOAL ARE NOT DESIGNED TO
SUPPORT A PLAYER HANGING FROM THE GOAL OR NET.
FAILURE TO OBSERVE THIS CAUTION MAY CAUSE
BODILY INJURY AND / OR PROPERTY DAMAGE.
27
25
14
12
26 28
1A.
26
30
35
32
30
31
35
29
29
33 32
34
31
33
1B.
Install spacers (25) onto backboard brackets (26) with bolts
(12, 27) and lock-nuts (14, 28) as shown. Bend bracket (26) to
line up with holes in backboard.
Assemble elevator tubes (30) as shown. Tighten completely.
It is necessary for all
parts to be instaslled
for this mechanism to
work safely and
properly.
IMPORTANT!:

02/04 P/N 21145507
17
27
25
14
36
26
28 37
25
37
39
25
26
30
35
32
30
35
29
29
32
31
33
33
33
Use the following assembly instructions if you have a
48" molded plastic backboard (Fan)
2A.
2B.
Install spacers (25) onto backboard brackets (26) with bolts
(12, 27) and lock-nuts (14, 28) as shown. Bend bracket
(26) to line up with holes in backboard.
Assemble elevator tubes (30) as shown. Tighten completely.
CAUTION:
THIS BACKBOARD AND GOAL ARE NOT DESIGNED TO
SUPPORT A PLAYER HANGING FROM THE GOAL OR NET.
FAILURE TO OBSERVE THIS CAUTION MAY CAUSE
BODILY INJURY AND / OR PROPERTY DAMAGE.
It is necessary for all
parts to be instaslled
for this mechanism to
work safely and
properly.
IMPORTANT!:
31
26

18
P/N 21145507 02/04
Use the following assembly instructions if you have a
a 44” steel-framed acrylic backboard.
NOTE: Parts on this page are included in backboard
mounting hardware.
Assemble backboard brackets to board as shown.
3A.
Refer To
Instructions
Included With
Backboard
Hardware For Board
Assembly.

02/04 P/N 21145507
19
Refer To
Instructions
Included With Rim
Hardware For Rim
Assembly.
Peel protective film from
surface of acrylic
backboard prior to use.
NOTE:
3B.
3C.
30
29
29
30

20
P/N 21145507 02/04
4A.
4B.
26
30
35
32
31
35
29
29
32
31
33
39
33
27
25
14
12
26
28
Use the following assembly instructions if you have a
48” molded plastic-framed acrylic backboard.
Install spacers (25), and springs (39) onto backboard
brackets (26) with bolts (27, 36), washers (37) and lock-nuts
(14, 28) as shown. Bend bracket (26) to line up with holes in
backboard.
Assemble elevator tubes (30) as shown. Tighten completely.
It is necessary for all
parts to be instaslled
for this mechanism to
work safely and
properly.
IMPORTANT!:
30

02/04 P/N 21145507
21
TOOLS REQUIRED FOR THIS SECTION HARDWARE USED IN THIS SECTION
(not actual size)
SECTION C: ATTACH THE BACKBOARD/ELEVATOR
TO POLE SYSTEM
This is what your system will look like
when you’ve finished this section:
Item #33
Item #35
Item #31
BACKBOARD WILL VARY
NOTE:
OR
3/4”
(2) 3/4” Wrenches
AND/OR
(2) Socket Wrenches and Sockets

22
P/N 21145507 02/04
16.
1
35
29
29
33
33
33
33
35
30
30
17.
35
31
33
33
30
30
Support pole on sawhorse. Attach backboard assembly to top pole section (1).
NOTE: Two people are required for this step, use caution, elevator assembly is
heavy.
Install handle assembly to long
elevator tubes (30) using bolt (31),
spacers (33), and nut (35) as shown.
NOTE: Before going on to next step,
adjust adjustable system assembly to
the 10’ setting.
31
31
TWO PERSON MINIMUM REQUIRED
FOR THIS PROCEDURE. NOT
FOLLOWING RECOMMENDATION
MAY RESULT IN SERIOUS BODILY
INJURY AND/OR PROPERTY
DAMAGE.
WARNING

02/04 P/N 21145507
23
18.
35
31
29
29
1" (2.54 cm)
C
O
N
C
R
E
T
E
1
19.
Insert bolt (31) through left side
short elevator tube (29), then
stretch spring or springs (34) onto
bolt (31). Insert bolt (31) through
right side short elevator tube (29)
and secure with nut (35).
Secure pole end with tape (not included).
Fill pole with concrete approximately 1”
(2.54 cm) below bottom elevator hole as
shown.
NOTE: Make sure that concrete does not
bulge from the end of pole assembly.
Allow concrete to completely cure.
USE EYE PROTECTION
WHEN INSTALLING
SPRINGS.
WARNING!
Failure to fill your
pole completely with
concrete as described
in these instructions
will void all warranties
written and implied.
IMPORTANT!:
IMPORTANT!:
WAIT A MINIMUM OF 24 HOURS BEFORE GOING ON TO NEXT STEP22.
CONCRETE MUST CURE.
34

24
P/N 21145507 02/04
20. Install clips.
CLIP “ARM”
CLIP “BODY”
Insert one “arm” of clip into ram as shown. Twist “body” of
clip slightly so that second “arm” slides over the top of the
first “arm” as shown.
Push in direction indicated by arrows.
Push second “arm” back and into ram as shown.
Twist “body” of clip slightly again to spread “arms” of clip.
Clip “arms” must be flat and touching edge to edge as
shown, not overlapping.
AA
BB
CC
41
42
USE OF THIS PRODUCT
WITHOUT PROPER
INSTALLATION OF
SMART CLIPS, OR WHEN
ALL SMART CLIPS ARE
NOT PRESENT COULD
RESULT IN BODILY
HARM. BE SURE TO
FOLLOW DIRECTIONS
CAREFULLY.
WARNING!

02/04 P/N 21145507
25
Insert net into bottom of clip as shown.
SIDE VIEW
Twist net until it snaps into position.
Net must be centered through clip.
NET
NETCLIP
SIDE VIEW
NET
NETCLIP
NET INSTALLATION
21. 41
42
43

26
P/N 21145507 02/04
5
23.
PLAYING SURFACE
40
22.
4
After concrete has cured, remove tape, install pole cap (40),
fit pole assembly into sleeve (4).
IMPORTANT! Position pole assembly so the elevator
assembly is perpendicular with playing surface.
IMPORTANT! The elevator holes MUST be parallel with
playing surface.
IMPORTANT!:
WAIT A MINIMUM OF 24 HOURS BEFORE GOING ON TO NEXT STEPS. CONCRETE MUST CURE.
Use wedge to tap cap of ground sleeve until tight.
TWO PERSON MINIMUM REQUIRED
FOR THIS PROCEDURE. NOT
FOLLOWING RECOMMENDATION
MAY RESULT IN SERIOUS BODILY
INJURY AND/OR PROPERTY
DAMAGE.
WARNING

02/04 P/N 21145507
27
Starting with nuts flush against bracket,
secure rim and bracket to backboard.
NOTE A: Do not use washers here on
spring return style rim.
TWO PERSON MINIMUM REQUIRED
FOR THIS PROCEDURE. NOT
FOLLOWING RECOMMENDATION
MAY RESULT IN SERIOUS BODILY
INJURY AND/OR PROPERTY
DAMAGE.
WARNING
1
41
WHEN MOUNTING THE
BACKBOARD ASSEMBLY TO
THE POLE IS PERFORMED
AT AN ELEVATED HEIGHT.
USE PROPER PRECAUTION.
WARNING
24A.
24B.
TWO PERSON MINIMUM REQUIRED
FOR THIS PROCEDURE. NOT
FOLLOWING RECOMMENDATION
MAY RESULT IN SERIOUS BODILY
INJURY AND/OR PROPERTY
DAMAGE.
WARNING
Starting with nuts flush against bracket,
secure rim and bracket to backboard.
NOTE A: Do not use washers here on
spring return style rim.
WHEN MOUNTING THE
BACKBOARD ASSEMBLY TO
THE POLE IS PERFORMED
AT AN ELEVATED HEIGHT.
USE PROPER PRECAUTION.
WARNING
IMPORTANT!
Refer to instructions
included with board and rim
hardware for backboard and
rim assembly,
Note A
Note A
41
IMPORTANT!
Refer to instructions
included with board and rim
hardware for backboard and
rim assembly,

28
P/N 21145507 02/04
26.
10 ft.
(3.05 m) 38
18
B.
A.
C.
25. A. While holding handle, remove pin (26).
B. Move elevator up or down to desired
height.
C. Replace pin (26) full length to lock
system at desired height.
Apply height adjustment label (38)
to front of pole as shown.
Regulation rim height is 10 feet
(3.05 m).
DO NOT ALLOW
CHILDREN TO ADJUST
HEIGHT.
WARNING!