Humminbird Lcr4000 Owners Manual
2014-08-26
: Humminbird Humminbird-Lcr4000-Owners-Manual humminbird-lcr4000-owners-manual humminbird pdf
Open the PDF directly: View PDF
.
Page Count: 38

TABLE OF CONTENTS
INSTALLATION PREPARATION………………………………………………………. 2
Parts Supplied……………………………………………………………………. 2
Accessories………………………………………………………………………. 2
Installation Overview……………………………………………………………. 2
Alternative Transducers and Mounting Methods…………………………….. 4
Transducer Exchange…………………………………………………………… 5
INSTALLATION………………………………………………………………………….. 6
Transom Installation…………………………………………………………….. 6
Inside the Hull Installation………………………………………………………. 10
Control Head Installation……………………………………………………….. 12
Test the Installation……………………………………………………………… 15
INTRODUCTION………….…...………………………………………………………... 16
USING THE LCR 4000………………………………………………………………….. 19
Total Screen Update………………………………………………………….. 19
Operational Instructions………………………………………………………… 21
Learning to Use Your LCR……..……………...………………………………. 29
Learning to Read the Display.…………………………………………………. 31
MAINTENANCE AND WARRANTY………………………………………………….. 34
Maintenance…………………………………………………………………….. 34
Troubleshooting…………………………………………………………………. 35
Warranty…………………………………………………………………………. 38
Service Policy…………………………………………………………………… 39
Customer Support………………………………………………………………. 40

TRANSDUCER MOUNTING PROCEDURE
Humminbird’s high-speed transducer is supplied with your LCR. This transducer has
been designed to give good high speed readings on most all boat designs, including
aluminum.
Please carefully consider the following before installing your transducer.
TRANSDUCER MOUNTING OPTIONS
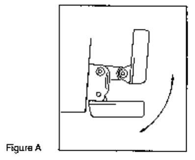
A. Transom Mount- The Humminbird high speed transducer allows the transducer
element to be mounted below the bottom of the boat hull keeping the transducer out
of turbulent water and insuring good high speed operation. The transducer will

absorb the blow of any obstruction by rotating up out of the metal spring bracket
without harming the transducer, or your boat. The transducer can be re-engaged by
simply rotating the transducer down and snapping it back in place. (See Figure A)
B. Inside Hull Mount- The high speed transducer can be mounted inside the hull
(without pivot assembly) using the proper two-part epoxy, such as Humminbird’s
epoxy kit. Even though there is some loss of signal in shooting through the hull, your
LCR will perform well with this type of installation. You cannot shoot through the hull
of an aluminum boat.
C. Trolling motor Mount- This type of transducer is not supplied with your LCR. It is
designed to mount on the foot of a trolling motor. You may exchange your un-used
high speed transducer for a trolling motor transducer. Call the Humminbird
Customer Service Department.
D. Bronz Thru-Hull Mount- This transducer is not supplied with your LCR but for an
additional cost you may exchange your un-used high speed transducer for a bronz
thru-hull. The bronz thru-hull transducer has a threaded stem which installs through
a hole drilled in the boat hull, leaving the housing exposed under the boat. This type
of installation must be used for many boats with in-board engines, because there is
no suitable location on the transom away from the noise and turbulence created by
the prop. A bronz thru-hull transducer should be installed by qualified personnel
only.
The LCR will operate well at high speeds with a properly mounted transducer.
Remember, a transducer will not work transmitting through air or through air
bubbles.
1. TRANSOM MOUNTING PROCEDURE
Step 1.
MOUNTING LOCATION- It is important that the transducer be mounted on the transom
where water flow is in constant contact with the transducer. You may wish to observe
the rear of the boat while it is moving through the water to determine the best mounting
location.
Step 2.
BRACKET INSTALLATION (Aluminum Boats)- To install the metal bracket on an

aluminum boat locate the template on the transom between rows of rivets, or ribs that
are on the bottom of the boat. Align the template so that the bottom corner of the
template nearest the center of the transom is on the bottom edge of the transom.
Once the location is determined mark and drill three 7/64” dia.. holes noted on the
template. Attach the metal bracket using three #10 self threading screws supplied. Be
sure to align holes in the center of the
Bracket slots. On some aluminum boats it may be necessary to use a wood back-up
plate. It is important to use a silicone sealant between the screwhead and bracket in
order to prevent leaking. (See Figure C)
Step 2.
BRACKET INSTALLATION (Fiberglass Boats)- If your boat has a stepped transom
located below and under the main transom, the compact transducer design allows
mounting in this area. This mounting location is recommended for good reading at very
high speeds. (See Figure D)
To install the metal bracket on a fiberglass boat, locate the template on the transom in
the same manner as for an aluminum boat. (See Figure C)

NOTE: On boats with more than 15 degree deadrise angle it may be necessary to
mount the transducer slightly off parallel with the water level. (See Figure E)
Mark and drill the three 9/64” dia. holes as shown on the template. Attach the metal
bracket using the three #10 self threading screws supplied. Be sure to align the holes so
that they are centered vertically in the three slots found in the bracket. It is important to
use a silicone sealant between the screwhead and bracket in order to prevent leaking.
Step 3.
TRANSDUCER PIVOT ASSEMBLY- Assemble the pivot to the transducer main body
using the two ¼”x5/8” allen head screws, two 3/8” tooth washers and two, ¼” square
nuts. Make sure the tooth washers are sandwiched between the transducer main body
and the pivot. The square nuts are trapped inside the pivot and will not rotate as the
allen head screws are tightened. HOWEVER, DO NOT TIGHTEN AT THIS POINT.
(See Figure F)

Step 4
TRANSDUCER ASSEMBLY- Insert the transducer assembly into the metal bracket
from the bottom. Push up until the holes in the plastic pivot align with the uppermost
holes in the bracket. Slide the O-ring on to the headed pin and insert it through the two
parts. Assemble by screwing the ¼”x3/8” allen head screw into the end of the pin and
tighten. (See Figure G)
Step 5
ANGLE ALLIGHMENT- Set the transducer angle so that it is parallel with the bottom of
the boat hull. Once proper alignment is achieved, tighten the two allen head screws

using the 5/32” allen wrench provided. The screws are visible through the access holes
on each side of the metal bracket. Check to make sure the transducer main body is
rigidly fastened to the pivot. (See Figure H)
Step 6
CHECK POSITION OF TRANSDUCER- At this point, check to see that the bottom of
the transducer is a minimum of ¼” below the bottom of the transom. (However, as noted
in STEP 2, the top of the transducer cannot fall below the bottom of the transom). If it is
not, remove the transducer assembly from the metal bracket by removing the pin
installed during STEP 3. Loosen the metal bracket mounting screws, re-position the
bracket utilizing it’s slotted holes, tighten and re-assemble. It may be necessary to
replace the silicone sealant after this adjustment is made.
NOTE: It may be necessary to make several high speed runs to adjust transducer
either UP/DOWN or to re-adjust the angle to achieve optimum results.
Step 7
CABLE CLAMPS- Install cable clamps as necessary by drilling a 1/8” dia. hole for the #
8 screw supplied.
2. INSIDE HULL MOUNTING PROCEDURE
Warning: In order to achieve proper results with this type installation, it is important that
the transducer be mounted by someone familiar with the use of two part epoxy
adhesives. For this reason, Techsonic Industries, Inc. will not be responsible for any
damage due to the mounting of your transducer in this manner.
NOTE: An Epoxy Kit (Part N. EPK) is available from Humminbird. This Epoxy Kit has
been formulated for Inside Hull Transducer Installation.
1. Select as flat an area as possible near the aft end and center of boat where the hull
is thin and not double. If the bottom has a runner down the center of boat, select an
area to one side of the runner, but as close to the runner as possible.
2. Clean the inside of the boat with lacquer thinner in the area transducer is to be
mounted. Outside of boat in this area should also be cleaned. (Not with lacquer
thinner).
3. Put approximately one inch of water in the bottom of the boat.
4. Put transducer in the water. The bottom of the transducer should be in a flat area
and should be in good contact with the bottom of the boat.
5. Operate the LCR with the boat operating at high speed. The transducer may have to
be moved in order to find an area where satisfactory operation is observed.
6. When an area is found that produces satisfactory operation, mark the location of the
transducer.
7. Remove the water and transducer and clean the marked area and the bottom of the
transducer thoroughly.
8. Using the Humminbird Epoxy Kit or equivalent, mix an ample amount of epoxy
without causing it to bubble and pour it in the area the transducer is to be mounted.
The puddle should be larger than the bottom of the transducer.
9. Coat the bottom of the transducer with epoxy, then put it in the center of the puddle
and push down on the transducer while moving it around in a circular motion. This
forces out any air bubbles that may be trapped between the bottom of the transducer
and the hull of the boat.
10. Let epoxy cure then the transducer is ready to operate. No water is now required in
the bottom of the boat and gas and oil that is spilled inside of the boat will not
degrade performance as it will if the transducer is placed only in water.
CAUTION: Do not use the silicone seal or any soft adhesive to bond the transducer
to the hull. This will reduce the sensitivity of the unit.
CAUTIONS
1. Occasionally the “eye“ of your transducer may become dirty from storage or from
contact with oils present in boats or marina environments. (Oil will cause the “eye” to
lose the intimate contact with the water which is necessary for efficient operation.)
The “eye” may be cleaned with liquid detergent.
2. Improper installation of the transducer can alter the efficiency and accuracy of the
entire system.
3. If your boat of transducer is out of the water for a period of time, it may take a short
period of time for the transducer to become thoroughly “wetted” when returned to the
water. Also, re-entry may cause turbulence, which will create air bubbles in the “eye”
of the transducer. The bubbles will disappear in a short time or can be removed by
rubbing the transducer “eye” with your fingers while the transducer is in the water.
4. If your instrument should fail to function, be sure to check all the electrical
connections before removing the transducer or calling a serviceman.
5. Inspect your transducer cable and make sure that it has not been cut or damaged to
the point where it will affect the performance of the transducer. A slight nick or cut,
exposing the outer cable, can be repaired by wrapping with electrical tape. A
transducer can be damaged if the inner cable and outer cable are allowed to make
contact. Such a problem can sometimes be corrected by properly splicing the
coaxial cable. This should only be attempted by a qualified service technician.
6. If your LCR is not working properly and you suspect the problem might be in your
transducer, we would recommend you borrow a unit from a friend and try it on your
boat. If the symptoms are the same, you can almost be certain that the problem is in
the transducer.

INSTALLING THE LCR
The LCR should be mounted on a flat, solid surface for maximum stability. The low
profile swivel mount has four holes drilled in the base. It is recommended that all four
holes be used.
Position the swivel base and drill four ¼” diameter holes. Note: The LCR hole pattern Is
the same as for all Humminbird flasher units. Use hardware provided to mount this base
to the boat.
Next place the gimbal bracket on the swivel base and attach with four small machine
screws, provided.
Place the LCR in the gimbal mount and make certain the rubber washers provided are
placed between the unit and the gimbal bracket Important: Note which side of the
gimbal faces forward. (Slots on gimbal bracket go towards rear). Also, rubber washer
must be located between the unit and the gimbal bracket.
Install the mounting knobs and tighten snugly. The unit can now be swiveled and tilted
to any desired position.

OTHER MOUNTING OPTIONS
1. The LCR gimbal bracket can also be mounted on the SM-4, quick disconnect swivel
mount.
2. The LCR gimbal bracket can also be mounted directly to the dash without the swivel
mount, however, this method is not recommended since the unit
cannot be rotated.
INSTALLING THE CABLES
Your LCR comes equipped with Humminbird’s new Angle-Lock power and transducer
connectors. The power connector is identified with the letter P on the back of the plug.
It plugs into the outlet on the back of the unit marked “Power”. The transducer connector
is identified with the letter T and plugs into the outlet on the back of the unit marked

“Transducer”. Note: An adapter (AD-4) is available to allow use of an old waterproof
(BNC) transducer with the LCR, but be sure that the transducer is a 16degree. A 32-
degree transducer cannot be used.
A 11/8” hole must be drilled to pull through the transducer connector. After drilling the
hole, pull the transducer connector up through the hole. If you are installing two units,
both transducer connectors can be pulled through this 1 1/8” inch hole. Next, push the
power cable wires down through the hole. A hole cover has been provided which will
dress and hold the wires. Install the hole cover after determining the necessary wire
length from the hole.
The power cable has a red lead to the positive (+) post and the black lead to the
negative (-) post. Install a 1-amp fuse between the red cable and positive post of your
12-volt battery.
If a fuse panel is available, we recommend wiring the power cable into the fuse panel.
Note: The LCR must be fused separately from any other accessory.
Your Angle-Lock connectors can only be plugged in one way. Position the connector so
the letter P or T can be read and the 90-degree bend is pointed downward. Push the
connector in as far as it will go. Turn the positive locking ring as far as it will go
clockwise until you feel it lock. Locking ring as far as it will go clockwise until you feel it
lock. Your connector is now locked into place.
Note: For easy access to the connectors, simply loosen the mounting knobs and tilt your
LCR forward. The connectors are now in full view and easy to plug or unplug.

INSTALLATION
TEST THE INSTALLATION
TEST THE INSTALLATION
Testing should be performed with the boat in the water, however you can initially
confirm basic operation with the boat trailered.
Press POWER once to turn the unit on. There will be an audible chirp when any button
is pressed to confirm the button press. If the unit does not power-up, ensure the unit is
fully seated on the mount and that power is available.
The first screen provides four options: Start-up, Options, Simulator, and Diagnostic. A
message at the bottom of the screen indicates the transducer connection. If no
transducer is detected (or one is not connected), the message will indicate this and the
unit will go into simulator after the initial screen times out.
Note: the transducer must be submerged in water for reliable transducer
detection.
If a transducer is detected, the unit will enter “Start Up” or normal operation unless you
choose another option. If you do not press any button before the timer reaches “0”, the
normal operation screen is displayed. If the boat is in water, sonar data appears.
If the bottom is visible on screen with a digital depth readout, the unit is working
properly. Ensure the boat is in water greater than 2’ but less than the depth
capability of the unit and the transducer is fully submerged. Remember the sonar signal
cannot pass through air.
If the unit is working properly gradually increase the boat speed to test high-speed
performance. If the unit-functions well at low speeds but begins to skip or miss the
bottom at higher speeds, the transducer requires adjustment. Refer to the appropriate
transducer installation section for more detail.
Note: it is often necessary to make several incremental transducer adjustments
before optimum high-speed performance is achieved.
Important: For Transom Mount transducer installations, install the third mounting screw
after the final transducer adjustments.
Humminbird • 3 Humminbird Lane • Eufaula, Alabama 36027
USING THE LCR 4000
INTRODUCTION
Before attempting to install or operate your Humminbird LCR, it is recommended that
you read the operations manual thoroughly. The LCR is a totally new concept in sonar
and has a number of special features not found on any other recorder. To completely
understand all the features of your unit, we suggest you follow the instructions set forth
in this manual. If after reading the instructions, there is something you do not completely
understand about the operations of your unit, we recommend you contact our customer
service department- CALL (334)687-0503.
INTRODUCTION
Congratulations on selecting the most advanced piece of sonar equipment ever
designed.
Your new Humminbird LCR (Liquid Crystal Recorder) incorporates the most advanced,
innovative concepts in sonar equipment. The LCR is probably the most intelligent depth
sounder ever created. Advanced microcomputer technology is used to simplify its
operation, not complicate it, so you can quickly learn the basics of operating your unit.
After a couple of trips on the water, you will be operating your unit like an expert.
Your Humminbird LCR has a number of outstanding features including a unique
automatic feature. This computer controlled feature makes using your LCR as easy as
pushing the “On” button. The computer will automatically adjust the sensitivity, change
the depth scale even if the bottom goes off the screen and black out everything beneath
the bottom to make the display easy to read.
Other features include High Visibility LCD readout, night light, low profile swivel mount,
waterproof enclosure, four depth ranges beginning with a super-shallow 15 foot depth
range, digital bottom reading, and more.
Read this operations manual thoroughly for all the outstanding features of your LCR.
You will be amazed at its capabilities.
Since there are virtually no moving parts, your LCR will function more trouble free than
any sonar unit you have ever owned.
This unit has been engineered, tested, manufactured, and is guaranteed by the
employee/owners of Techsonic Industries, located on the shores of Lake Eufaula,
Alabama.
Fishing, boating, and depth sounders are our business, and at Humminbird we stand
behind our product 100%.
USING THE LCR 4000
THEORY OF OPERATION
Your new LCR is covered by our Lifetime Guaranteed Service policy. We wish you good
luck, good fishing, and many hours of pleasure with your new Humminbird LCR.
THEORY OF OPERATION
Your Humminbird LCR works on the basic principals of sonar.
An electronic signal is generated within the control head of the unit.
When coupled to the transducer, this signal is converted to an ultrasonic signal and is
transmitted toward the bottom. The speed of the ultrasonic signal traveling through the
waters is approximately 4800 feet per second.
The signal travels through the water until it strikes an object or the bottom. At this
instant it is reflected back, picked up by the transducer, reconverted to an electronic
signal and is recorded on the display of the LCR.
The reading at the far right hand position of the display illustrates that which is being
passed over at that time. If you are familiar with a flasher unit, you might think of the
information coming on the right side of the screen as the information that would be seen
at one instant on a flasher (see Figure 1). However, unlike a flasher, this information is
not lost but it is shifted or moved to the left as new information comes on. Therefore, the
information is retained until it disappears from the left hand position of the display.
The display used on the LCR is a Liquid Crystal Display. The material in the display is a
liquid that can be aligned such that it either "blocks" light or it lets light pass through.
This “blocking” of light is what makes the dots on the screen.
Since the LCR’s display depends on light passing through it to make the images,
increasing the light source will make it easier to see. This is why your LCR can be seen
so well in direct sunlight. You will also notice that the display can be seen better at
certain angles. The LCR mounting has been designed for tilting and pivoting so that you
can easily maintain a good angle for viewing. Another characteristic of an LCR display
is that you may find that some polarized glasses might affect the view by causing a
rainbow prism to appear. This condition can possibly be improved by a slight adjustment
in tint.
The high visibility readout of the LCR allows you to see fish, bottom contour and
underwater structure. Targets as close as three inches apart can be separated on the
15 foot setting.

USING THE LCR 4000
THEORY OF OPERATION
The LCR 4000 is designed to operate with a standard 16° transducer included with the
unit. Other transducers, such as 32°, cannot be used. In order for your LCR to operate
well at high speeds, you must have a properly mounted transducer. Please read the
transducer mounting procedure carefully.

USING THE LCR 4000
TOTAL SCREEN UPDATE
TOTAL SCREEN UPDATE®
What is Total Screen Update?
Total screen update is a unique feature of the LCR4000. It will allow you, when
changing depth scales, to totally change or update the screen to the new depth scale. It
will allow you to zoom in and look at information in much finer detail even after you’ve
already gone over the area. It will allow you to reverse or bring back information that
has gone off the display (up to three full screens).
How Does Total Screen Update Work?
Inside the LCR4000 are memory devices which can store approximately 60,000 bits of
information. Automatically, while you're operating the LCR4000, the computer is putting
information into the LCR'S memory. This stored information is all the data from zero to
120 feet for four entire screens. All this information (from 0 to 120 ft.) is being recorded
no matter what depth scale you’re using. Also, the information is being put into memory
in much smaller increments (pieces) than is being displayed on the normal 0 to 15, 0 to
30, 0 to 60, or 0 to 120 foot scales. For example, on the 0 to 60 foot scale each dot is
equal to one foot of depth, but the computer is putting information into memory such
that each dot equals 3 inches.
If after reading this, you don't understand all about how the LCR4000’s Total Screen
Update works, don’t worry. The important thing is that you understand how to use Total
Screen Update. Read on…
USING THE LCR 4000
TOTAL SCREEN UPDATE
How To Use Total Screen Update
This is the easiest part. Since the LCR’s computer is doing all the work, you will find the
LCR4000’s Total Screen Update very easy to use. There are three ways that you will
use Total Screen Update:
1. When changing a depth scale, the LCR’s computer will automatically change or
update the entire screen to the new depth scale.
In Figure 12 the depth scale is being changed from the 0 to 30 foot scale to the 0 to 60
foot scale.
Note that the display was changed to show the entire screen on the 0 to 60 foot scale.
This Total Screen Update feature works when changing to shallower scales, too. For
example, suppose you are in the 0 to 120 foot scale but the bottom depth is only 10
feet. When you change to the 0 to 15 foot scale, the entire screen will look just as if you
had gone over the area on the 0 to 15 foot scale.
2. Total Screen Update allows you to reverse or bring back onto the display three full
screens past information. This, in effect, multiplies by four the size of the LCR screen.
Operation of the reverse function is explained in a later section.
3. The third way that you will use Total Screen Update is in operating the LCR4000's
Zoom. Since the computer has stored in memory information from 0 to 120 feet in very
small increments, you will be able to recall this information from memory to get an
expanded view of areas which you have already passed over.
For example, if you go over some interesting structure or fish, you will be able to zoom
in for a better look without going back over the area. Simply activate the zoom and the
information that is stored in memory will be recalled and displayed on the screen.
The operation of the zoom function is explained in a later section.

USING THE LCR 4000
OPERATIONAL INSTRUCTIONS
OPERATIONAL INSTRUCTIONS FOR LCR4000
The Humminbird LCR4000 will operate fully automatic or manual at the discretion of the
operator. At the heart of the LCR is a microcomputer which is making thousands of
decisions every second. With the LCR4000'S automatic features you will quickly and
easily learn the basics of operating your unit, and after a couple of trips on the water
you'll be operating the LCR4000 like an expert. It is suggested that you familiarize
yourself with each of the features and controls prior to operating your LCR4000.
1. Power: To activate the unit, depress the power “On” switch. The LCR4000 always
comes on in the automatic mode. In the automatic mode, the unit will find the bottom by
varying the sensitivity and selecting the proper depth range for a satisfactory return.
Also, the display below the bottom is blacked out to make the display easier to read.
To turn the unit off, depress the power “Off” switch.
2. Depth: In the automatic mode, the proper depth range is found as soon as the unit
is turned on. As you move into deeper water and the bottom goes off the screen, the
next deeper range will automatically be activated. Also, as you move into shallower
water and the bottom is within about ten dots to the top of the screen, the depth range
will automatically change to the next shallower scale.
USING THE LCR 4000
OPERATIONAL INSTRUCTIONS
You may also manually change the depth scale by pressing the depth set button. Each
time this button is depressed, the range is decreased by one setting. For example, if
you are on the 0-30 ft scale, pressing the depth set button once will change the scale to
0-15 ft. Pressing it again will change the scale to 0-120 ft.
Note: Should you attempt to change a depth scale which is less than the actual bottom
depth, the computer will automatically change the depth scale back to the proper
position. For example, if you are in 40 feet of water and you change the depth scale to
30 feet, the computer will automatically change back to the 60 foot scale.
Remember, in the manual mode (see paragraph 4 below) the automatic range changer
is not active.
The depth range is always displayed at the bottom of the LCR display.
The LCR4000 has four depth ranges, 0-15’, 0-30’, 0-60’, and 0-120’. The graduated
depth scales down the left and right of the display will identify the proper depth based
upon the range you are on at the time. On the 0-15’ scale, each line represents a one
foot increment. On the 0-30’ scale a two foot increment, on the 0-60’ scale, a five foot
increment, and on the 0-120’ scale, a ten foot increment.
Remember that because of the LCR4000’s Total Screen Update feature, information is
automatically being put into memory in smaller increments (pieces) than is being
displayed on the normal depth scales (see explanation of Total Screen Update earlier in
manual). This means, for example, that even though you are in the 0 to 120 ft scale,
when you change to the 0 to 15 ft scale the information is displayed just as if you had
been on the 0 to 15 ft scale all along. No information or resolution is lost.
3. Light: Depress the light “On/Off” switch to activate the display light for night or low
light conditions. The light is turned off by again depressing the ''On/Off'' switch. When
using the night light you will notice that the viewing angle, or best viewing position is
different than during daylight operation. Tilt the unit back until you find the best angle for
night viewing.
4. Sensitivity
Automatic Mode- Each time the unit is turned on, the automatic feature is on. In the
automatic mode the sensitivity is adjusted automatically to give a good return and the
correct depth range is selected. The word Auto will appear in the upper right hand
corner of the display any time the unit is in the automatic mode. The sensitivity bar at
the top of the screen will increase or decrease automatically indicating the amount of
sensitivity being used. In deeper water or soft bottom conditions this bar will increase,

USING THE LCR 4000
OPERATIONAL INSTRUCTIONS
indicating more sensitivity. In
shallow water or when a hard
bottom is being read, the
sensitivity needed to achieve a
good return will be less. Also in
the automatic mode, the unit will
black out the display beneath the
bottom line.
Manual Mode- There are two
ways of putting the LCR4000 in
the manual mode: (1) depress
the Auto "On/Off" button or (2)
depress either sensitivity
decrease (-) or increase (+)
button. You will notice that the
word Auto in the upper right hand
corner of the display has gone
off. The operator can control the
amount of sensitivity by
depressing the (+) or (-) button.
There are 15 sensitivity settings.
When the (+) or (-) button is pressed
once, the sensitivity setting at the top
of the screen will change by one
division. If the (+) or (-) button is held
down the setting will move up or down
as long as the button is held down.
When the maximum or minimum
setting is achieved, the unit will make
a “Chirping" sound indicating a limit
has been reached.
In the manual mode everything below
the bottom is no longer blacked out,
therefore a second return or double
echo can be displayed if desired. (See
Figure 14). Also, the hardness of the
bottom can be determined by the
thickness of the bottom return. For
example, a hard or rock bottom will
give a wider bottom return as
compared to a soft or muddy bottom.
(See Figure 15).
USING THE LCR 4000
OPERATIONAL INSTRUCTIONS
Note: You will find the manual sensitivity control more useful when looking for smaller
targets such as smaller fish. In the automatic mode the computer might not be using
enough sensitivity to show smaller targets. At higher sensitivity more targets will be
seen. Therefore, you might want to use the automatic mode while running and then use
the manual mode for charting and finding fish.
You should also note that it's possible to have the sensitivity set too high such that
reflection off of suspended matter or air bubbles will begin to black out the display.
In the manual mode the depth scale does not change automatically and the digital
bottom depth is not displayed. To once again activate the automatic mode, depress the
Sensitivity Auto “On/Off” switch.
5. Display: Stop/Resume: Anytime during the operation of the LCR, the operator may
“freeze” the display by simply pushing the display “Stop/Resume” button. This feature
will aid in the learning and interpretation of the signal on your LCR display by giving you
time to study the display. The “Stop/Resume” function will not change any original
settings when once again activated. The sensitivity and display speed cannot be
changed while the display is stopped.
If they are pressed, a chirping sound will indicate that these functions cannot be
changed while the display is stopped. All other functions, such as Zoom, Depth Scales,
Reverse and Forward, are active with the display stopped. When the “Stop/Resume”
button is pressed again the unit will resume reading at the immediate point at which the
boat is sitting on the water.
6. Display Reverse: Information that has gone off the display can be reversed back
onto the screen by using the Display Reverses feature. By pressing the Reverse button
information that had gone off the left side of the display can be seen again, that is, the
display will begin to shift to the right. When the Reverse button is pressed once, the
display will move one division to the right. If the button is held down the display will
move to the right as long as the button is held down.
Up to three full screens may be put back onto the display. Once three screens have
been reversed, a chirping sound will indicate that the limit has been reached.
7. Display Forward: This button moves or shifts the display to the left. This means that
the Forward button shifts the information in the opposite direction than does the
Reverse button.
Therefore, the Reverse button shifts the display to the right, and the Forward button
shifts the display to the left.

USING THE LCR 4000
OPERATIONAL INSTRUCTIONS
To begin transmitting and receiving of new information after using Reverse or Forward,
simply press the Stop/Resume button. The display will change back to the location seen
before reversing and the unit will resume reading at the immediate point at which the
boast is sitting in the water.
8. Zoom and Bottom Lock: You will find the Zoom feature of the LCR4000 to be a
very valuable tool. The Zoom Range is controlled by the Range Up or Range Down
buttons. Each time one of these buttons is depressed the zoom region will move one
division. If the button is held down the region will continue to move as long as the button
is held down.
The Zoom Region is indicated by the group of bars at the extreme right of the display.
This region is 7 ½ feet on the 0 to 15 ft and 0 to 30 ft scales and is 15 ft on the 0 to 60 ft
and 0 to 120 ft scales. This means that when zooming in on the 15 ft or 30 ft scales
each dot is 1 ½ inches, and on the 60 ft or 120 ft scale each dot is 3 inches.
What Zoom Does
The zoom feature on the LCR4000 will allow you to look at underwater readings in very
fine detail and with the LCR4000's Total Screen Update you have the capability to zoom
in on bottom, fish and structure, even after you have gone over the area.
How To Use Zoom
First position the Zoom
Region (See Figure 16) next
to the area that you want to
expand by pressing the
Range up or down button.
Next, by pressing the Zoom
On/Off button the Zoom will
be activated. You will notice
that the letter Z appears in the
lower right hand corner of the
display, indicating that the
Zoom is on. You will also
notice that the entire screen
has been changed to show an expanded view of the area from the top of the Zoom
Range to the bottom of the Zoom Range. The LCR4000'S Total Screen Update feature
allows you to zoom in on an area even after you have passed over it. Figure 16 shows
two screens, one with Zoom off and one after turning Zoom on.
USING THE LCR 4000
OPERATIONAL INSTRUCTIONS
The Zoom may be activated at any time (during normal transmitting and receiving or
stop action, or reverse), but while learning to use the Zoom feature you might find it
easiest to first press the Stop/Resume button to freeze the display. Now you can
position the Zoom Range, activate the Zoom, and study the display. By pressing the
Zoom On/Off button again you can go back to the un-expanded or normal display.
Going back and forth several times will help you in understanding exactly what you are
seeing with the Zoom activated.
Some Additional Things You Should Know About Zoom
A. While the Zoom is turned on you can move the Zoom Range up and down. This will
allow you to search or look at an entire area in fine detail.
B. You can also zoom in on information that has gone off the screen by pressing the
reverse button. This can be done by either reversing and then activating the Zoom or by
activating the Zoom and then reversing. See Section 6 for reversing instructions.
C. The Zoom Range indication at the right of the display can be used for depth
reference. For example in Figure 15 the Zoom Range is set between 17 ½ feet and 25
feet. This means that when the Zoom is activated that you are looking at an expanded
view of the area from 17 ½ feet to 25 feet.
D. While the Zoom is turned on, you cannot change Sensitivity, Depth Scale, or Display
Speed. If you press any of these buttons while Zoom is on, a chirping sound will occur
indicating an incorrect entry.
E. Using the Zoom you can actually have a 0 to 7 ½ foot scale on your LCR4000. To do
this, first position the Zoom Range as far up as it will go on the 0 to 15 ft scale. Now turn
on Zoom. The full screen is now a 0 to 7 ½ foot scale.
F. Remember that because of the LCR4000's Total Screen Update feature the
information from 0 to 120 feet is always being recorded in memory. This means that
even while you are using Zoom, no information is being lost. You can turn Zoom off, go
to any depth scale and see all the information just as if you had been on that depth
scale all along.
Bottom Lock:
Your LCR4000 has a very unique bottom lock feature. To activate bottom lock, hold
down the zoom on/off button for 1 to 2 seconds. The “Z” in the lower right of the display
will come on indicating that it is activated. Bottom lock works very similar to zoom
except that the zoom region always stays on the bottom, therefore giving an expanded
view from the bottom up. You will notice that as the bottom depth changes, the zoom
cursor will change to maintain its position on the bottom
USING THE LCR 4000
OPERATIONAL INSTRUCTIONS
In bottom lock the expanded information always comes onto the screen at the same
location. However, as the information moves across the screen and as the bottom
contour moves up or down, the displayed information will also move so that you can see
the actual bottom contour. Remember, in bottom lock, the bottom always comes on the
screen at the same location but then as it moves across the screen it will move up or
down as the bottom contour changes.
When the bottom lock is activated, the LCR4000 will change to the 120 foot scale, so
that the bottom can always be tracked.
9. Display Speed: The LCR4000 has a total of eight display speeds. When the unit is
turned on the display will be advancing at a medium speed. To increase the display
speed, depress the “Fast” button once or hold it down to change rapidly. An audible
sound is heard each time the speed is advanced. When the limit has been reached a
chirping sound will be heard. At this point the speed will be advancing at its maximum.
To decrease the speed, simply depress the “Slow” button until the desired advance is
reached.
The speed of the boat and the display speed will have a large effect on the way
information is displayed. You should select the fastest display speed for high speed
operation, but use a slower display speed for idle or trolling speed.
10. Digital Bottom Reading: The digital bottom reading is displayed in the lower left
area of the screen. This digital reading will operate while the unit is in the automatic
mode, on any depth scale or with zoom or bottom lock activated. The digital bottom
reading will not be seen while in the manual mode.
USING THE LCR 4000
ADDITIONAL INFORMATION
Some additional things you should know about the LCR4000.
• Some polarized glasses might affect your view of the LCR display. It could result in a
prism or rainbow effect. This condition can possibly be improved by a slight adjustment
in tilt.
• If you get confused while in the manual mode, for instance, if you don't know where
the bottom is, then press the auto on/off button to turn on the automatic mode. The
LCR4000 will find the bottom by selecting the proper sensitivity level and depth scale.
You can then go back to the manual mode it desired
• In order for your LCR to operate well at high speeds, you must have a properly
mounted transducer. Please read the transducer mounting procedure carefully.
• The transducer for the LCR4000 is a l6° just like most standard Humminbird flasher
units. Other transducers, such as 32°, cannot be used.
Caring For Your LCR:
Since your Humminbird LCR is completely waterproof, it can be cleaned with soap and
water or hosed off after salt water use with no fear of damage to the unit or its
electronics. When cleaning the lens, it is suggested you use a chamois cloth and a non-
abrasive cleaner such as Windex. Do not wipe while dirt or other gritty material is on the
lens. Care should be exercised to avoid scratching the lens. Keep chemicals such
as bug repellent, ammonia or gasoline away from the LCR case and lens.
As with any electrical instrument, do not leave your LCR on the dash board or rear
window area of the car. The sun can create extremely high temperatures which can
damage the case and internal electrical components. During extended periods of non-
use, such as winter, you should store the LCR and other removable depth sounders in
the house or garage. This will help prolong the good appearance and operation of these
instruments.
USING THE LCR 4000
LEARNING TO USE YOUR LCR
LEARNING TO USE YOUR LCR
After installing the unit, transducer, and power cable as instructed, the LCR is ready for
use. By following the steps below you will be able to quickly learn how to use the LCR.
Also, trouble shooting suggestions are listed in these steps. Note: Perform steps 1
through 7 at idle or slow speed. These steps will insure that your LCR is working
properly.
Step 1
Turn your LCR on by pushing the “On” button. The LCR'S computer will automatically
adjust the sensitivity and depth scale so that in about one second you will see images
appear on the right side of the display and moving to the left. The small gap in the zero
line allows you to see movement on the display even when the bottom is not changing.
TROUBLE SHOOTING: If nothing happens when the “On” button is pushed, check your
electrical connections and fuse. Also check that the red wire on the power cable is
connected to the positive battery terminal and that the black wire is connected to the
negative battery terminal. If these wires are reversed it will not damage the LCR.
It is normal if when reversing the boat, the bottom return is lost, since air from the prop
is being forced under the transducer. Remember the transducer cannot transmit through
air.
TROUBLE SHOOTING: If the display comes on when the "On" button is pushed but no
bottom information is seen, check that the transducer connector is securely locked to
the rear of the LCR. Also insure that the transducer is completely submerged. A
transducer cannot work properly in air or through air bubbles in the water.
Step 2
Still moving at a slow speed, begin going toward deeper water. You will see that the
LCR will display changes as small as 3 inches on the 0-15 foot scale. Continue to move
into deeper water until the bottom return moves off the display. The LCR will
automatically change to the next deeper depth scale (indicated at bottom of the display).
Notice that the entire screen is changed to the new depth scale. This is the Total Screen
Update feature.
USING THE LCR 4000
LEARNING TO USE YOUR LCR
Step 3
Press the depth set button once to change to the next lowest scale. If the bottom is
deeper than this scale, the computer will automatically change back to the proper scale.
By pressing the depth set button three or four times you will see that the depth scale will
change down to the 0 to 15 foot scale and then to the 0 to 120 foot scale. Next change
to the 0 to 15 foot scale. If the water is deeper than 15 feet, the depth scale will change
to the correct scale.
Step 4
Press the Stop/Resume button to lock the display. Move the Zoom Range down by
holding down the button and position it down to the bottom of the water. Next, activate
the Zoom by pressing the Zoom On/Off button. You will see that the entire screen has
changed to give you a much more detailed view. Press the Zoom on/off button a few
times to go back and forth so that you can get a better understanding of exactly what
you are seeing. (You do not have to stop the display to use Zoom, but at first it is
probably easier to learn this way).
With Zoom on, move the Zoom Range up and down. This is how you can search up and
down an entire area.
Step 5
Turn the Zoom off. Press and hold down the Reverse button to bring information back
onto the screen. As much as three full screens may be reversed. Pressing the Forward
button moves the information back to the left. You can also zoom in on the information
being reversed.
Step 6
Press the Stop/Resume button to begin normal transmitting and receiving.
Step 7
Press the Auto Sensitivity On/Off button to change to the manual mode. Notice that the
word AUTO in the upper right hand corner of the display has gone off. Also, the area
below the bottom is no longer blacked out. You can now change the sensitivity setting
by pressing the increase + or decrease - buttons. Notice that the digital bottom reading
goes off in the manual mode. Note: in the manual mode the depth scales will not
automatically change. The automatic depth change works only in the automatic mode.

USING THE LCR 4000
LEARNING TO USE YOUR LCR
Step 8
Steps 1 through 7 have verified that your LCR is working properly. You are now ready to
increase boat speed to test the transducer installation. As you increase boat speed
the LCR should give a continuous bottom return. With a proper transducer installation
your LCR will perform well at speeds over 75mph.
TROUBLE SHOOTING: If at high speeds the bottom return is not continuous or there
are gaps in the bottom, then the transducer installation or location is such that air is
going under the transducer face. Remember that a transducer cannot work properly
through air or through air bubbles in the water. Refer back to the transducer mounting
procedure for adjustments or for the other mounting options.
TROUBLE SHOOTING: If when making a hard turn, the bottom reading is lost, it is the
result of the transducer coming out of the water during the turn.
LEARNING TO READ THE DISPLAY
The following illustrations show
some typical display with
bottom, structure, and target
returns. These should help you
in interpreting the information
being displayed on your LCR.

USING THE LCR 4000
LEARNING TO READ THE DISPLAY
Brush or thick standing timber will
appear as a thick mass with
holes or gaps as shown above.
Surface clutter: The STC in
your LCR will normally eliminate
surface clutter, however, in
some water conditions or when
going across the wake of a boat
the surface clutter will appear
as shown above.

USING THE LCR 4000
LEARNING TO READ THE DISPLAY
With Zoom activated the two
objects close to the bottom on 0-60
ft scale can now be seen as fish off
the bottom.
Thermocline is a temperature
change at a certain depth in the
water. In some conditions the
sonar waves will actually reflect
or bounce off this temperature
change and therefore it will be
displayed on the LCR as shown
above. To see the thermocline,
you will need to go to the
manual mode and increase the
sensitivity setting.
One of the best ways to learn to
use your LCR is to go over
familiar locations. If you know
what's under the water and can
see it displayed on the LCR
then you’re on your way toward
gaining the experience you
need.
MAINTENANCE AND WARRANTY
MAINTENANCE
MAINTENANCE
Your Humminbird fishfinder is designed to provide years of trouble free operation with
virtually no maintenance. Follow these simple procedures to ensure your Humminbird
continues to deliver top performance.
• If the unit comes into contact with salt spray simply wipe the affected surfaces with a
cloth dampened in fresh water. Do not use a chemical glass cleaner on the lens.
Chemicals in the solution may cause cracking in the lens of the unit.
• When cleaning the LCD protective lens, use a chamois and non-abrasive, mild
cleaner. Do not wipe while dirt or grease is on the lens. Be careful to avoid
scratching the lens.
• If your boat remains in the water for long periods of time, algae and other marine
growth can reduce the effectiveness of the transducer. Periodically clean the face of
the transducer with liquid detergent. Pivoting the transducer up in the bracket may
allow better access for inspection or cleaning.
• If your boat remains out of the water for a long period of time, it may take some time
to wet the transducer when returned to the water. Small air bubbles can climb to the
surface of the transducer and interfere with proper operation. These bubbles
dissipate with time, or you can wipe the face of the transducer with your fingers after
the transducer is in the water.
• Never leave the fishfinder in a closed car or trunk - the extremely high temperatures
generated in hot weather can damage the electronics.
MAINTENANCE AND WARRANTY
TROUBLESHOOTING
TROUBLESHOOTING
Do not attempt to repair the fishfinder yourself. There are no user serviceable parts
inside, and special tools and techniques are required for reassembly to ensure the
waterproof integrity of the housing. Repairs should be performed only by authorized
Humminbird technicians.
Many requests for repair received by Humminbird involve units that do not actually reed
repair. These units are returned “no problem found.” If you have a problem with your
Humminbird, use the following troubleshooting guide before calling Customer Support
or sending your unit in for repair. Your Humminbird fishfinder contains several tools that
can aid in determining if there is a problem and how to isolate and repair the problem in
many cases.
1. Nothing happens when I turn the unit on.
Check the power cable connection at both ends. Be sure the cable is connected
correctly to a reliable power source - red lead to positive, black lead to negative or
ground. Ensure the power available at the mount is between 10 and 20 VDC. If the unit
is wired through a fuse panel, ensure the panel is powered. Often accessory fuse
panels are controlled by a separate switch or the ignition switch. Also, often a fuse can
appear to be good when in fact it is not. Check the fuse with a tester or replace it with a
fuse known to be good.
Check the power connection to the unit. It is possible to force the power cable connector
into the cable holder incorrectly. If the connector is reversed, the unit will not work.
Examine the contacts on the back of the unit to ensure there is no corrosion. Finally,
ensure the unit is firmly seated on the mount. The electrical contacts are not made until
the unit is fully seated.
Ensure the metal cable retainer is properly installed in the mount. If not, the power
connected may push out when the unit is put on the mount.
2. There is no transducer detected.
Most Humminbird fishfinders have the ability to detect and identify that a transducer is
connected. If at power up, a message indicates "transducer not connected,” only
simulator operation is possible. First, ensure that an appropriate transducer connector is
positioned correctly in the connector holder, and that the unit is fully seated on the
mount. Your Humminbird fishfinder will work only with an appropriate transducer; check
the accessory guide for compatibility.
MAINTENANCE AND WARRANTY
TROUBLESHOOTING
Second, inspect the transducer cable from end to end for breaks, kinks, or cuts in the
outer casing of the cable. Also ensure the transducer is fully submerged in water. If the
transducer is connected to the unit through a switch, temporarily connect it directly to
the unit and try again. If none of these items identifies an obvious problem, the
transducer itself is probably the problem. Be sure to include the transducer if returning
the unit for repair.
3. There is no bottom reading visible on the display.
There are a number of possible causes for this condition. If the loss of bottom
information occurs only at high boat speeds, the transducer needs adjusting. If the
digital depth readout is working but there is no bottom visible on-screen, it is possible
the depth range has been adjusted manually to a range lower than what is needed to
display the bottom. Also, in very deep water, it may be necessary to manually increase
the sensitivity setting to maintain a graphic depiction of the bottom.
If you are using a transducer switch to connect two transducers to the unit, ensure the
switch is in the correct position to connect a transducer that is in water. (If a trolling
motor transducer is selected and the trolling motor is out of water, no sonar information
appears.)
It none of the above solve the problem, inspect the transducer cable from end to end for
breaks, kinks, or cuts in the outer casing of the cable. If the transducer is connected to
the unit through a switch, temporarily connect it directly to the unit and try again. If none
of these items identifies an obvious problem, the transducer itself may be the problem.
Be sure to include the transducer if returning the unit for repair.
4. When in very shallow water, I get gaps in the bottom reading and inconsistent
digital depth indication.
Your Humminbird fishfinder will work reliably in water 2’ (.6m) or deeper. The depth is
measured from the transducer, not necessarily from the surface.
MAINTENANCE AND WARRANTY
TROUBLESHOOTING
5. The unit comes on before I press POWER, and won't turn off.
Check the transducer cable. If the outer jacket of the cable has been cut and the cable
is in contact with bare metal, you need to repair the cut with electrical tape. If there is no
problem with the cable, disconnect the transducer from the unit and see if the problem
is corrected, to confirm the source of the problem.
6. I get gaps in the reading at high speeds.
Your transducer needs adjusting. If the transducer is transom-mounted, there are two
adjustments available to you - height and running angle. Make small adjustments and
run the boat at high speeds to determine the effect. It may take several tries to optimize
high speed operation. This can also be a result of air or turbulence in the transducer
location caused by rivets, ribs, etc.
7. My unit loses power at high speeds.
Most Humminbird fishfinders have over-voltage protection that turns the unit off when
input voltage exceeds 20 VDC. Some outboard motors do not effectively regulate the
power output of the engine's alternator and can produce voltage in excess of 20 volts
when running at high RPMs. Your fishfinder displays input voltage in the Diagnostic
screen. Use this readout to determine if the voltage exceeds 20 VDC.
8. The screen begins to fadeout. Images are not as sharp as normal.
Check the input voltage using Diagnostic. The fishfinder will not operate on input
voltages below 10 VDC.
9. The display shows many black dots at high speeds and high sensitivity
settings.
You are seeing noise or interference caused by one of several sources. Noise can be
caused by other electronic devices. Turn off any nearby electronics and see if the
problem goes away. Noise can also be caused by the engine. If engine noise is causing
the interference, the problem will intensify at higher RPMs. Increase the engine speed
with the boat stationary to isolate this cause. Propeller cavitation can appear as noise
on-screen. If the transducer is mounted too close to the propeller, the turbulence
generated can interfere with the sonar signal. Ensure that the transducer is mounted at
least 15" (38cm) from the prop.
MAINTENANCE AND WARRANTY
WARRANTY
HUMMINBIRD ONE YEAR FULL WARRANTY
First year repairs (from original date of purchase) on your Humminbird fishfinder are
absolutely free. This does not include physical damage to the unit or its accessory
items. Any modification or attempt to repair the original equipment or accessories by
unauthorized individuals will void the warranty. Return the warranty registration card
and retain your bill of sale for warranty verification. Accessories not manufactured under
the Humminbird trade name are not covered by our warranty. The customer is
responsible for shipping charges to Humminbird. Humminbird will provide ground
UPS or Parcel Post shipping back to the customer free of charge. This warranty applies
to the original purchaser only.
This warranty is in lieu of all other warranties expressed or implied and no
representatives or persons are authorized to provide for any other liability in connection
with the sale of our products. Humminbird reserves the right to perform modifications or
improvement on its products without incurring the obligation to install the changes on
units previously manufactured, sold, delivered, or serviced.
THIS IS A FULL WARRANTY AS DEFINED BY THE FEDERAL WARRANTY ACT
EFFECTIVE JULY 4 1975.
MAINTENANCE AND WARRANTY
SERVICE POLICY
SERVICE POLICY
This Service Policy is valid in the United States only. This applies to Humminbird units
returned to our factory in Eufaula, Alabama, and is subject to change without notice.
All repair work is performed by factory-trained technicians to meet exacting factory
specifications. Factory serviced units go through the same rigorous testing and quality
control inspection as new production units.
Even though you'll probably never need to take advantage of our incredible service
guarantee, it’s good to know that we back our unit this well. We do it because you
deserve the best. We will make every effort to repair your unit within three working days
from the receipt of your unit. This does not include shipping time to and from our factory.
Units received on Friday are usually shipped by Wednesday, units received Monday are
usually shipped by Thursday, etc.
We reserve the right to deem any product unserviceable when replacement parts are no
longer reasonably available or impossible to obtain.
After the original warranty period, a standard flat rate service charge will be assessed
for each repair (physical damage and missing parts are not included). Please call our
Customer Support Department to verify the service charge for your unit.
The standard service charge includes UPS or Parcel Post freight only. If charges are
not prepaid, the unit will be returned COD. If you are experiencing problems related to
bottom or depth readings please send your transducer along with your unit when
sending for repair.
MAINTENANCE AND WARRANTY
CUSTOMER SUPPORT
CUSTOMER SUPPORT
If you have any questions, call our
Humminbird Customer Support Hotline: 1-334-687-0503
Throughout the U.S. and Canada, hours are Monday-Friday, 8:00 a.m. to 5:00 p.m.
Central time.
If after reading “Troubleshooting” you determine your unit needs factory service, please
attach a description of the problem and send it with the unit to the address below.
If you are including a check please attach it to the unit.
Humminbird
Service Department
Three Humminbird Lane
Eufaula, AL 36027
USA