Humminbird Lcr 8000 Users Manual 8000D Deepwater Operations
LCR 8000 to the manual 1bdecac4-9944-e1f4-f91b-d59eaaa98acd
2015-02-03
: Humminbird Humminbird-Lcr-8000-Users-Manual-465750 humminbird-lcr-8000-users-manual-465750 humminbird pdf
Open the PDF directly: View PDF
.
Page Count: 30


TRANSDUCER MOUNTING PROCEDURE
Humminbird’s high-speed transducer is supplied with your LCR. This transducer has been
designed to give good high speed readings on most all boat designs, including aluminum.
Please carefully consider the following before installing your transducer.
TRANSDUCER MOUNTING OPTIONS
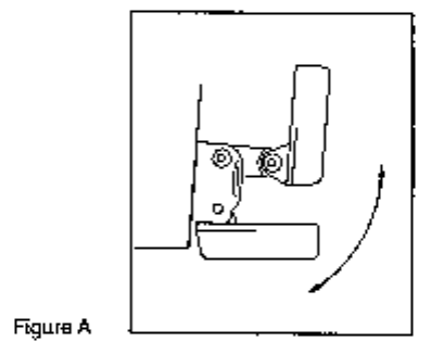
A. Transom Mount- The Humminbird high speed transducer allows the transducer element to be
mounted below the bottom of the boat hull keeping the transducer out of turbulent water and
insuring good high speed operation. The transducer will absorb the blow of any obstruction

by rotating up out of the metal spring bracket without harming the transducer, or your boat.
The transducer can be re-engaged by simply rotating the transducer down and snapping it
back in place. (See Figure A)
B. Inside Hull Mount- The high speed transducer can be mounted inside the hull (without pivot
assembly) using the proper two-part epoxy, such as Humminbird’s epoxy kit. Even though
there is some loss of signal in shooting through the hull, your LCR will perform well with this
type of installation. You cannot shoot through the hull of an aluminum boat.
C. Trolling motor Mount- This type of transducer is not supplied with your LCR. It is designed to
mount on the foot of a trolling motor. You may exchange your un-used high speed
transducer for a trolling motor transducer. Call the Humminbird Customer Service
Department.
D. Bronz Thru-Hull Mount- This transducer is not supplied with your LCR but for an additional
cost you may exchange your un-used high speed transducer for a bronz thru-hull. The bronz
thru-hull transducer has a threaded stem which installs through a hole drilled in the boat hull,
leaving the housing exposed under the boat. This type of installation must be used for many
boats with in-board engines, because there is no suitable location on the transom away from
the noise and turbulence created by the prop. A bronz thru-hull transducer should be installed
by qualified personnel only.
The LCR will operate well at high speeds with a properly mounted transducer. Remember, a
transducer will not work transmitting through air or through air bubbles.
1. TRANSOM MOUNTING PROCEDURE
Step 1.
MOUNTING LOCATION- It is important that the transducer be mounted on the transom where
water flow is in constant contact with the transducer. You may wish to observe the rear of the
boat while it is moving through the water to determine the best mounting location.
Step 2.
BRACKET INSTALLATION (Aluminum Boats)- To install the metal bracket on an aluminum boat
locate the template on the transom between rows of rivets, or ribs that are on the bottom of the
boat. Align the template so that the bottom corner of the template nearest the center of the
transom is on the bottom edge of the transom.

Once the location is determined mark and drill three 7/64” dia.. holes noted on the template.
Attach the metal bracket using three #10 self threading screws supplied. Be sure to align holes in
the center of the
Bracket slots. On some aluminum boats it may be necessary to use a wood back-up plate. It is
important to use a silicone sealant between the screwhead and bracket in order to prevent
leaking. (See Figure C)
Step 2.
BRACKET INSTALLATION (Fiberglass Boats)- If your boat has a stepped transom located
below and under the main transom, the compact transducer design allows mounting in this area.
This mounting location is recommended for good reading at very high speeds. (See Figure D)
To install the metal bracket on a fiberglass boat, locate the template on the transom in the same
manner as for an aluminum boat. (See Figure C)

NOTE: On boats with more than 15 degree deadrise angle it may be necessary to mount the
transducer slightly off parallel with the water level. (See Figure E)
Mark and drill the three 9/64” dia. holes as shown on the template. Attach the metal bracket using
the three #10 self threading screws supplied. Be sure to align the holes so that they are centered
vertically in the three slots found in the bracket. It is important to use a silicone sealant between
the screwhead and bracket in order to prevent leaking.
Step 3.
TRANSDUCER PIVOT ASSEMBLY- Assemble the pivot to the transducer main body using the
two ¼”x5/8” allen head screws, two 3/8” tooth washers and two, ¼” square nuts. Make sure the
tooth washers are sandwiched between the transducer main body and the pivot. The square nuts
are trapped inside the pivot and will not rotate as the allen head screws are tightened.
HOWEVER, DO NOT TIGHTEN AT THIS POINT. (See Figure F)

Step 4
TRANSDUCER ASSEMBLY- Insert the transducer assembly into the metal bracket from the
bottom. Push up until the holes in the plastic pivot align with the uppermost holes in the bracket.
Slide the O-ring on to the headed pin and insert it through the two parts. Assemble by screwing
the ¼”x3/8” allen head screw into the end of the pin and tighten. (See Figure G)
Step 5
ANGLE ALLIGHMENT- Set the transducer angle so that it is parallel with the bottom of the boat
hull. Once proper alignment is achieved, tighten the two allen head screws using the 5/32” allen

wrench provided. The screws are visible through the access holes on each side of the metal
bracket. Check to make sure the transducer main body is rigidly fastened to the pivot. (See
Figure H)
Step 6
CHECK POSITION OF TRANSDUCER- At this point, check to see that the bottom of the
transducer is a minimum of ¼” below the bottom of the transom. (However, as noted in STEP 2,
the top of the transducer cannot fall below the bottom of the transom). If it is not, remove the
transducer assembly from the metal bracket by removing the pin installed during STEP 3. Loosen
the metal bracket mounting screws, re-position the bracket utilizing it’s slotted holes, tighten and
re-assemble. It may be necessary to replace the silicone sealant after this adjustment is made.
NOTE: It may be necessary to make several high speed runs to adjust transducer either
UP/DOWN or to re-adjust the angle to achieve optimum results.
Step 7
CABLE CLAMPS- Install cable clamps as necessary by drilling a 1/8” dia. hole for the # 8 screw
supplied.
2. INSIDE HULL MOUNTING PROCEDURE
Warning: In order to achieve proper results with this type installation, it is important that the
transducer be mounted by someone familiar with the use of two part epoxy adhesives. For this
reason, Techsonic Industries, Inc. will not be responsible for any damage due to the mounting of
your transducer in this manner.
NOTE: An Epoxy Kit (Part N. EPK) is available from Humminbird. This Epoxy Kit has been
formulated for Inside Hull Transducer Installation.
1. Select as flat an area as possible near the aft end and center of boat where the hull is thin
and not double. If the bottom has a runner down the center of boat, select an area to one side
of the runner, but as close to the runner as possible.
2. Clean the inside of the boat with lacquer thinner in the area transducer is to be mounted.
Outside of boat in this area should also be cleaned. (Not with lacquer thinner).
3. Put approximately one inch of water in the bottom of the boat.
4. Put transducer in the water. The bottom of the transducer should be in a flat area and should
be in good contact with the bottom of the boat.
5. Operate the LCR with the boat operating at high speed. The transducer may have to be
moved in order to find an area where satisfactory operation is observed.
6. When an area is found that produces satisfactory operation, mark the location of the
transducer.

7. Remove the water and transducer and clean the marked area and the bottom of the
transducer thoroughly.
8. Using the Humminbird Epoxy Kit or equivalent, mix an ample amount of epoxy without
causing it to bubble and pour it in the area the transducer is to be mounted. The puddle
should be larger than the bottom of the transducer.
9. Coat the bottom of the transducer with epoxy, then put it in the center of the puddle and push
down on the transducer while moving it around in a circular motion. This forces out any air
bubbles that may be trapped between the bottom of the transducer and the hull of the boat.
10. Let epoxy cure then the transducer is ready to operate. No water is now required in the
bottom of the boat and gas and oil that is spilled inside of the boat will not degrade
performance as it will if the transducer is placed only in water.
CAUTION: Do not use the silicone seal or any soft adhesive to bond the transducer to the
hull. This will reduce the sensitivity of the unit.
CAUTIONS
1. Occasionally the “eye“ of your transducer may become dirty from storage or from contact with
oils present in boats or marina environments. (Oil will cause the “eye” to lose the intimate
contact with the water which is necessary for efficient operation.) The “eye” may be cleaned
with liquid detergent.
2. Improper installation of the transducer can alter the efficiency and accuracy of the entire
system.
3. If your boat of transducer is out of the water for a period of time, it may take a short period of
time for the transducer to become thoroughly “wetted” when returned to the water. Also, re-
entry may cause turbulence, which will create air bubbles in the “eye” of the transducer. The
bubbles will disappear in a short time or can be removed by rubbing the transducer “eye” with
your fingers while the transducer is in the water.
4. If your instrument should fail to function, be sure to check all the electrical connections before
removing the transducer or calling a serviceman.
5. Inspect your transducer cable and make sure that it has not been cut or damaged to the point
where it will affect the performance of the transducer. A slight nick or cut, exposing the outer
cable, can be repaired by wrapping with electrical tape. A transducer can be damaged if the
inner cable and outer cable are allowed to make contact. Such a problem can sometimes be
corrected by properly splicing the coaxial cable. This should only be attempted by a qualified
service technician.
6. If your LCR is not working properly and you suspect the problem might be in your transducer,
we would recommend you borrow a unit from a friend and try it on your boat. If the symptoms
are the same, you can almost be certain that the problem is in the transducer.
INSTALLING THE LCR
The LCR should be mounted on a flat, solid surface for maximum stability. The low profile swivel
mount has four holes drilled in the base. It is recommended that all four holes be used.
Position the swivel base and drill four ¼” diameter holes. Note: The LCR hole pattern Is the same
as for all Humminbird flasher units. Use hardware provided to mount this base to the boat.
Next place the gimbal bracket on the swivel base and attach with four small machine screws,
provided.
Place the LCR in the gimbal mount and make certain the rubber washers provided are placed
between the unit and the gimbal bracket Important: Note which side of the gimbal faces forward.
(Slots on gimbal bracket go towards rear). Also, rubber washer must be located between the unit
and the gimbal bracket.

Install the mounting knobs and tighten snugly. The unit can now be swiveled and tilted to any
desired position.

OTHER MOUNTING OPTIONS
1. The LCR gimbal bracket can also be mounted on the SM-4, quick disconnect swivel mount.
2. The LCR gimbal bracket can also be mounted directly to the dash without the swivel mount,
however, this method is not recommended sinc
e the unit cannot be rotated.
INSTALLING THE CABLES
Your LCR comes equipped with Humminbird’s new Angle-Lock power and transducer
connectors. The power connector is identified with the letter P on the back of the plug.

It plugs into the outlet on the back of the unit marked “Power”. The transducer connector is
identified with the letter T and plugs into the outlet on the back of the unit marked “Transducer”.
Note: An adapter (AD-4) is available to allow use of an old waterproof (BNC) transducer with the
LCR, but be sure that the transducer is a 16degree. A 32-degree transducer cannot be used.
A 11/8” hole must be drilled to pull through the transducer connector. After drilling the hole, pull
the transducer connector up through the hole. If you are installing two units, both transducer
connectors can be pulled through this 1 1/8” inch hole. Next, push the power cable wires down
through the hole. A hole cover has been provided which will dress and hold the wires. Install the
hole cover after determining the necessary wire length from the hole.
The power cable has a red lead to the positive (+) post and the black lead to the negative (-) post.
Install a 1 amp fuse between the red cable and positive post of your 12-volt battery.
If a fuse panel is available, we recommend wiring the power cable into the fuse panel. Note: The
LCR must be fused separately from any other accessory.
Your Angle-Lock connectors can only be plugged in one way. Position the connector so the letter
P or T can be read and the 90 degree bend is pointed downward. Push the connector in as far as
it will go. Turn the positive locking ring as far as it will go clockwise until you feel it lock. Locking
ring as far as it will go clockwise until you feel it lock. Your connector is now locked into place.
Note: For easy access to the connectors, simply loosen the mounting knobs and tilt your LCR
forward. The connectors are now in full view and easy to plug or unplug.
THEORY OF OPERATION
Your Humminbird LCR works on the basic principal of sonar. An electronic signal is generated
within the control head of the unit. When coupled to the transducer, this signal is converted to an
ultrasonic signal and is transmitted toward the bottom. The speed of the ultrasonic signal traveling
through the water is approximately 4800 feet per second.
The signal travels through the water until it strikes an object or the bottom. At this instant it is
reflected back, picked up by the transducer, reconverted to an electronic signal and is recorded
on the display of the LCR.
The reading at the far right postion of the screen shows what is being passed over at that time.
As new information is received, the old information is shifted to the left and the new information is
added. The information is retained until it disappears from the left side of the screen. Figure 1
illustrates a typical display.
One of the unique features of your LCR is the Split Screen Zoom with Total Screen Update.
Figure 1 shows a Split Screen Zoom display with the full depth range information on the right and
the expanded view on the left. The Total Screen Update feature is explained in detail later, but
basically with Zoom the Total Screen Update allows you to zoom in on an area even after you
have passed by it. The display resolution on the expanded portion of the screen is as good as 3
inches per dot, giving you exact detail while still viewing the full depth range information on the
right.
The display used on the LCR is a Liquid Crystal Display. The material in the display is a liquid
that can be aligned such that it either "blocks" light or it lets light pass through. This "blocking" of
light is what makes the black dots on the screen.
Since the LCR's display depends on light passing through it to make the images, increasing the
light source will make it easier to see. This is why your LCR can be seen so well in direct sunlight.
You will also notice that the display can be seen better at certain angles. The LCR mounting has
been designed for tilting and pivoting so that you can easily maintain a good angle for viewing.
Another characteristic of an LCD display is that you may find that some polarized glasses might
effect the view by causing a rainbow prism to appear. This condition can possibly be improved by
a slight adjustment in tilt.
SPLIT SCREEN OPERATION
The LCR 8000's split screen feature will allow you to make sideby-side comparisons. You will be
able to split the screen and compare the actual, full depth scale information with three functions
(1) zoom, (2) bottom lock or (3) screen memory.
Use of the split screen capabilty is very easy. Whenever any of the three functions is activated
the screen automatically splits, with the right half of the screen showing the current full depth
scale information and the left half showing zoom, bottom lock, or screen memory. (See Figure
14). NOTE: If zoom or bottom lock is on when recalling a memory screen, then the memory
screen will be on the right so that it can be compared to zoom or bottom lock.

When zoom is activated, for example, the left half of the screen shows the expanded information
while the right half shows the full depth scale information. No other depth sounder can give you
this kind of comparative advantage.
The zoom range can be moved up or down to search out any area, allowing you to compare on
one screen both the full scale view and the expanded up-close information. Even the depths of
the upper and lower part of the zoom region are digitally displayed for precise location of fish and
structure.
The bottom lock and screen memory work in the same way to give you the benefit of split screen
comparisons. The detailed operation of each of these functions is explained later in this manual.
TOTAL SCREEN UPDATE
What is Total Screen Update?
Total screen update is a unique feature of Humminbird LCR's. It will allow you, when changing
depth scales, to totally change or update the screen to the new depth scale. It will allow you to
zoom in and look at information in much finer detail even after you've already gone over the area.
How Does Total Screen Update Work?
Inside the LCR are memory devices which can store approximately 120,000 bits of information.
Automatically, while you're operating the LCR, the computer is putting information into the LCR's
memory.
All this information is being put into memory in much smaller increments (pieces) than is being
displayed on the normal full depth scales. For example, on the 0 to 60 foot scale each dot is
equal to one foot of depth, but the computer is putting information into memory such that each dot
equals 3 inches.
If after reading this, you don't understand now Total Screen Update works, don't worry. The
important thing is that you understand how to use Total Screen Update. Read on....
How To Use Total Screen Update
This is the easiest part. Since the LCR's computer is doing all the work, you will find the LCR
Total Screen Update very easy to use.
There are two ways that you will use Total Screen Update:
1. When changing a depth scale, the LCR's computer will automatically change or update
the entire screen to the new depth scale. This Total Screen Update feature works when
changing to deeper or shallower scales. For example, suppose you are in the 0 to 120
foot scale but the bottom depth changes quickly to 20 feet. When the depth range is
changed to the 0 to 30 foot scale, the entire screen will look just as if you had gone over
the area on the 0 to 30 foot scale.
2. The second way that you will use Total Screen Update is in operating the LCR's Zoom or
Bottom Lock. Since the computer has stored in memory information in very small
increments, you will be able to recall this information from memory to get an expanded
view of areas which you have already passed over.
For example, if you go over some interesting structure or fish, you will be able to zoom in for a
closer look without going back over the area. Simply activate the zoom and the in-
formation that is stored in memory will be recalled and displayed on the left side of the screen.
(See Figure 15.)
The operation of the zoom function is explained in a later section.

OPERATIONAL INSTRUCTIONS FOR LCR 8000 and LCR 8000D
The Humminbird LCR 8000 or 8000D will operate fully automatic or manual at the discretion of
the operator. At the heart of the LCR are 3 microcomputers which are making thousands of
decisions every second. With the LCR's automatic features you will quickly and easily learn the
basics of operating your unit and after a couple of trips on the water you'll be operating the LCR
like an expert. It is suggested that you familiarize yourself with each of the features and controls
prior to operating your LCR.
1. Power. To activate the unit, depress the Power "On" switch. The LCR always comes on
in the automatic mode. In the automatic mode, the unit will find the bottom by varying the
sensitivity and selecting the proper depth range for a satisfactory return. Also, the display
below the bottom is blacked out to make the display easier to read.
To turn the unit off, depress the Power "Off" switch.
2. Light: Depress the light "On/Off" switch to activate the display light for night or low light
conditions. The light is turned off again depressing the "On/Off" switch.
When using the night light you will notice that the viewing angle, or best viewing position
is different than during daylight operation. Tilt the unit back until you find the best angle
for night viewing.
3. Set: The LCR has two Set buttons labeled A_ (increase) and * (decrease). These buttons
are used to change five functions:

A Depth range. D Zoom Range.
B Display Sweep Speed. E Alarm Depth Setting.
C Manual Sensitivity Level.
You should notice that each of these buttons are light gray indicating that they are used
with the A and * buttons.
To change any of these functions, first the function button should be pressed and then
the or *to increase or decrease the function. It is not necessary to hold down the function
button while pressing the A or * button. Simply press the function button once and then
press the A or buttons.
When a function (light gray) button is pressed it will remain active until another function
button is pressed. So that, for example, if you had been changing the zoom range and
later want to change it again, you can just press either the or V button if no other function
(light gray) button had been pressed since the zoom range button.
4. Depth: Automatic Mode: - In the automatic mode, the proper depth range is found as
soon as the unit is turned on. As you move into deeper water and the bottom goes off
the screen, the next deeper depth range will automatically be activated. Also, as water
becomes shallower the depth range will automatically change to the next shallower
scale. As the depth range changes, the scales to the right of the display will also change
indicating the maximum depth of that range and also intermediate depths at one-third
and two-thirds of the full scale.
The LCR 8000 has five depth ranges: 0 to 15 Ft., 0 to 30 Ft., 0 to 60 Ft., 0 to 120 Ft., and
0 to 240 Ft. The LCR 8000D has seven depth ranges: 0 to 30 Ft., 0 to 60 Ft., 0 to 120 Ft.,

0 to 240 Ft., 0 to 480 Ft., 0 to 960 Ft., and 0 to 1500 Ft. You may manually change the
depth range by pressing the depth set button and then either the increase or decrease
button. Each time one of the set buttons is depressed the range will change by one
setting.
Note: Should you attempt to change to a depth range which is less than the actual bottom
depth, the computer will automatically change the depth range back to the proper
position. For example, if you are in 40 feet of water and you change the depth range to
30 feet, the computer will automatically change back to the 60 foot range.
Manual Mode: - In the Manual Mode (See Paragraph 7 below) the automatic range
change is not active. This means that you must manually set the depth range. For
example, if you are on the 0 to 30 foot range and the bottom goes from 25 feet to 35 feet,
you press the depth set button and then the (increase) button to change to the 0 to 60
foot range.
The depth range can also be changed by only pressing the depth set button. Each time
this button is pressed the depth range will decrease (become shallower).
Remember that because of the LCR's Total Screen Update feature, information is
automatically being put into memory in smaller increments (pieces) than is being
displayed on the normal depth scales (see explanation of Total Screen Update earlier in
manual). This means, for example, that even though you are on the 0 to 240 ft. scale,
when you change to the 0 to 30 ft. scale the information will be displayed just as if you
had been on the 0 to 30 ft. scale all along. No information or resolution is lost.
5. Display Stop/Resume: Anytime during the operation of the LCR you may stop the display
by simply pushing the Display Stop/Resume button. This button has been highlighted
with a yellow circle to make it easy to find. This feature will aid in the learning and
interpretation of the display by giving you time for study. When the display is stopped the
display speed and sensitivity setting cannot be changed.
If Display speed or sensitivity is pressed a chirping sound will indicate an incorrect entry.
When the Stop/Resume button is pressed again the unit will resume reading at the
immediate point at which the boat is sitting in the water.
6. Display Speed Set: The LCR has 8 display speed settings.
When the unit is turned on the display will be advancing at a medium speed. To increase
the display speed, depress the Speed Set and or hold it down to change rapidly. An
audible sound is heard each time the speed is advanced. When the limit has been
reached a chirping sound will be heard. At this point the speed will be advancing at its
maximum. To decrease the speed, simply depress the Speed Set and * until the desired
advance is reached.
It is suggested that you experiment with various display speeds until you achieve the
desired results. You should select the fastest display speed for high speed operation, but
use a slower display speed for idle or trolling speed.
7. Sensitivity: Automatic Mode: - Each time the unit is turned on, the automatic feature is on.
In the automatic mode the sensitivity is adjusted automatically to give a good return and
the correct depth range is selected. The word Auto will appear in the lower left corner of
the display. The sensitivity bar at the bottom of the screen will increase or decrease
automatically indicating the amount of sensitivity being used. In deeper water or soft
bottom conditions this bar will increase indicating more senistivity. In shallow water or
when a hard bottom is being read, the sensitivity needed to achieve a good return will be
less. Also in the automatic mode, the unit will black out the display beneath the bottom
line.
Manual Mode: - There are two ways of putting the LCR in the manual mode; (1) Depress
the Auto On/Off button or (2) Depress the Manual Set button and then either the
decrease or _• increase button. There are 15 sensitivity settings. When the * or • or
button is pressed once, the sensitivity setting at the bottom of the screen will change by
one division. If the • or A button is held down the setting will move up or down as long as
the button is held down. When the maximum or minimum setting is achieved, the unit will
make a "Chirping" sound indicating a limit has been reached.
Also, the word "max" will appear when the maximum sensitivity setting is reached.
In the manual mode everything below the bottom is no longer blacked out, therefore a
second return or double echo can be displayed if desired. (See Figure 17). Also, the
hardness of the bottom can sometimes be determined by the thickness of the bottom
return. For example, a hard or rock bottom will give a wider bottom return as compared to
a soft or muddy bottom.
Manual Mode
In manual mode everything below the bottom is not blacked out, so that the second
bottom echo can be seen.
Note: You will find the manual sensitivity control most useful when looking for smaller
targets such as smaller fish. In the automatic mode the computer might not be using
enough sensitivity to show smaller targets. At higher sensitivity settings more targets will
be seen. Therefore, you might want to use the automatic mode while running and then
use the manual mode for charting and finding fish.
You should also note that it is possible to have the sensitivity set too high such that
reflection off of suspended matter or air bubbles will begin to black out the display.
In the manual mode the depth scale does not change automatically (See Paragraph 4
under Manual Mode). To once again activate the automatic mode, depress the Sensitivity
Auto "On/Off" button.
If you get confused while in the manual mode, for example if you don't know where the
bottom is, then press the Auto On/Off button to turn on the Automatic Mode. The LCR will
find the bottom by selecting the proper sensitivity level and depth range. You can then go
back to the manual mode if desired.
8. Zoom and Bottom Lock:
You will find the split screen zoom of the LCR to be a very valuable tool. The Zoom
Range is controlled by the set and A or * buttons. Each time one of these buttons is
depressed the zoom region will move one division. If the button is held down the region
will continue to move as long as the button is held down.
The zoom region is indicated by a group of bars at the right side of the display. The size
of this region may be selected as 15 feet, 30 feet, or 60 feet pressing the range size
button. Each time this range size button is pressed the zoom range size increases until it
is at the maximum, then the size goes back to the minimum. The following table shows
the display resolution at each zoom range size:
Zoom Range Each Dot Equals
15 ft. 3 inches
30 ft. 6 inches
60 ft. 12 inches
What Zoom Does:
The zoom feature of the LCR will allow you to look at underwater readings in very fine
detail. With the split screen capability you will be able to see both the full scale
information and the up-close view at the same time on the same screen. And with the
LCR's Total Screen Update you have the ability to zoom in on bottom, fish, and structure
even after you have gone past an area.
How To Use Zoom:
First, position the zoom region next to the area that you want to expand by pressing the
range set button and then the* or;* button. Next, by pressing the Zoom/Bottom Lock
button the zoom will be activated. When the zoom is turned on, the display screen will
automatically split to show the full depth scale information on the right side and the
expanded view on the left side. Also, just above the word zoom on the left side of the
display will be a group of small arrows indicating that zoom is on. (See Figure 18).

The information on the left side of the display is an expanded view of the area from the
top of the zoom region to the bottom of the zoom region. The exact depth of the top and
bottom of the zoom range will be displayed in the upper and lower left corners of the
screen. As the zoom range is moved up or down these numbers will change to indicate
the exact setting of the zoom range. These depth indicators will be very useful in
pinpointing the exact depth of fish or structure.
The zoom may be activated at anytime but while learning to use the zoom feature you
might find it easiest to first press the Stop/Resume button to freeze the display. Now you
can select the zoom range size, position it, activate the zoom and have time to study the
display.
While the zoom is turned on you can move the zoom range up and down. This will allow
you to search or look at an entire area in fine detail. The LCR's Total Screen Update
feature allows you to zoom in on an area even after you have passed over it.
Remember that because of the LCR's Total Screen Update feature even while you are
using Zoom, no information is being lost. You can turn Zoom off, go to any depth range
and see all the information just as if you had been on that depth range all long.
Bottom Lock: - Bottom Lock can be turned on only when the LCR is in the automatic
mode and zoom is off. To activate bottom lock, hold down the Zoom/Bottom Lock button
for 1 to 2 seconds (the key panel has a "Dash" by the BL symbol indicating that you must
hold down to activate bottom lock). When bottom lock is activated the screen will
automatically split to show the full depth scale information on the right and an expanded
view from the bottom up on the left. Just above the word Bottom Lock on the left side of
the display will appear a group of arrows indicating that Bottom Lock is on. (See Figure
19).
Bottom Lock will give an expanded view up from the bottom. You will notice that as the
bottom depth changes, the zoom range will also change to maintain its position to the
bottom. You will find that the bottom lock feature is easiest to use on a relatively smooth
bottom or at slow trolling speeds.

In bottom lock the bottom will always come onto the screen one third up from the bottom
of the display. As the bottom depth changes the expanded view will also change so that
the actual bottom contour can be seen.
The depth numbers in the upper and lower left corners of the screen will indicate the
exact depth of the zoom range. Since the zoom range always stays on the bottom, these
depths will change as the bottom depth changes.
The size of the range looking up from the bottom may be selected as described earlier.
To turn zoom or bottom lock off, press the Zoom/Bottom Lock button once. Immediately
the screen will go back to a full scale display from the right to left of the screen.
9. Fish Alarm:
The LCR Fish Alarm will give a short alarm sound anytime a return is detected between
the boat and the bottom. It will not alarm on the bottom but only on objects off the bottom.
To activate the Fish Alarm press the Fish On/Off button. The indicator in the lower middle
of the screen will indicate that the Fish Alarm is on. The Fish Alarm is operational only
while the LCR is in the automatic mode. See "Manual Mode" in section 10 for use of the
alarm in the manual mode.
The fish alarm may occasionally sound when no target is displayed. This can happen
when a target is detected close to the bottom but is too close to be seen on the display. It
can also happen when the display sweep speed is slow such that the target was detected
but is gone by the time the display is updated.
To turn the Fish Alarm off, simply press the Fish On/Off button once.
10. Bottom Alarm: The Bottom Alarm is activated by pushing the Bottom "On/Off" button.
When first activated, the alarm is set at five feet. The desired alarm depth can be
adjusted up or down by pressing the depth set button and the increase* or decrease mV
button. When the increase or decrease button is pressed once, the alarm setting will
change one division. If the button is held down the setting will move as long as the button
is held down. The alarm setting is indicated down the right side of the display. The
Bottom Alarm may be set anywhere from 4 feet to the maximum depth. When the bottom
enters the alarm range it will trigger a continuous audible signal.
The Bottom Alarm will operate both in the automatic and manual modes, however, the
operation is slightly different depending on what mode is on.
Automatic Mode: In the automatic mode a continuous alarm will sound only when the
bottom depth is equal to or less than the alarm setting. Fish entering the alarm range will
not trigger the alarm, unless of course the fish alarm is on.
Manual Mode: In the Manual Mode either the bottom or fish can trigger the alarm. If the
bottom depth becomes equal to or less than the alarm setting, a continuous alarm will
sound. If a fish enters the alarm range a short, quick alarm will sound. Since the fish
alarm is active only in the automatic mode, positioning the bottom alarm range close to
the bottom will allow you to have a fish alarm in the manual mode.
The alarm depth will adjust itself when the depth range changes from one range to
another. Thus a depth alarm set at ten feet while on the 30 foot depth range will remain at
ten feet deep should the unit advance to any other range. To set the alarm with the most
accuracy set it using the lowest depth range.
Turn off the alarm by again pushing the bottom "On/Off" button. The alarm setting will
then go to zero. If the alarm is turned on again before the unit is turned off, it will still be
set at the previous setting.
11. Mode: This button selects what is shown in the lower right corner of the display - either
depth, surface temperature, or memory location.
Depth: When the LCR is turned on the digital bottom is displayed in the lower right area
of the screen. This digital reading will operate while the unit is in the automatic mode, on
any depth scale or with zoom or bottom lock activated. THE DIGITAL BOTTOM
READING WILL NOT BE SEEN WHILE IN THE MANUAL MODE.
Memory: By pressing the mode button, memory locations 1 thru 16 will be displayed.
The screen memory feature of the LCR 8000 is now on. Refer to Section 12 below for
operation of the Screen Memory. Temp: If the optional surface temperature unit is
installed with your LCR, by pressing the mode button again, the surface temperature of
the water will be displayed. If it is not in stalled, a -8- will be displayed. The temperature is
displayed to one-tenth of a degree for a very accurate and fast responding temperature
indication. If you do not have the Sur face Temperature unit but would like one, see your
dealer or outlet store or call the Humminbird Customer Service Depart ment. By pressing
the mode button again the depth reading will again be displayed.
12. Memory: One of the very unique features of the LCR is the Screen Memory. With Screen
Memory you will be able to store 16 half screens (either the right or left half of the screen)
in memory. Once stored, the Screen Memory will remain virtually forever. You can
disconnect power from the LCR, store it over the winter, bring it back out in the spring
and still be able to recall stored information. There is no internal battery within the LCR
required to keep this memory so it will be there whenever you need it.
To use the Screen Memory feature you must first use the Mode Select button to select
memory (see section 11). After activating the memory function the word "Memory" will
appear in the lower right of the display along with a memory location number. There are

16 memory location numbers, 1 through 16. By pressing the Memory Select button the
memory location number will increase by one. If the Memory Select button is held down
the memory location number will advance at a fast rate. Once the memory location
number reaches 16 it will go back to 01 and begin counting up again..
When the desired memory location number is reached, there are two options: (1) the
memory location can be recalled or (2) new information can be stored.
1. Recall: To recall a screen from a memory location, first select the desired memory
location number as described previously. Then simply press the Memory Recall
button. The screen will automatically split to display the screen in memory on the left
side and the full depth scale information on the right. (See Figure 20). NOTE: If zoom
or bottom lock is on when recalling a memory screen, then the memory screen will be
on the right so that it can be compared to the current zoom or bottom lock screen.
The Split Screen feature will allow you to compare a recalled screen (from memory)
with the current reading. This will be useful in locating the same spot and comparing
previous conditions to the present. The depths of the upper and lower part of the
memory screen will also be displayed.
Pressing the recall button again will cause the display to return to full screen
information.
If you have recalled a screen and now want to go to another memory location, simply
press the Memory Select button and the memory location will change. Recalling a
screen will not erase it from memory. You can recall a screen over and over without
losing it. The only way to lose a screen is to store a new screen in its place.
2. Store: - Storing a screen in memory is very easy. After selecting the desired memory
location, simply press either the Store L (left) or Store R (right) button. Pressing the R
(right) button will store the right side of the display screen and pressing the L (left)
button will store the left side, so that zoom, bottom lock or the left side of the full
depth range may be stored. The depths of the upper and lower part of the screen will
also be stored for reference later.
If you store a screen into a memory location that already has information stored, the old
information will be erased and the new information will be stored. In this way you may
use a memory location over and over again.
To discontinue the Memory feature, press the Mode Select button to select either depth
or temperature.
CARING FOR YOUR LCR:
Since your Humminbird LCR is completely waterproof, it can be cleaned with soap and water or
hosed off after salt water use with no fear of damage to the unit or its electronics. When cleaning
the lens, it is suggested you use a chamois cloth and a non-abrasive cleaner such as windex. Do
not wipe while dirt or other gritty material is on the lens. Care should be exercised to avoid
scratching the lens.
Care should be exercised to keep chemicals such as bug repelent, ammonia, abrasive cleaners,
or gasoline away from the LCR case and lens.
As with any electrical instrument, do not leave your LCR on the dash board or rear window area
of the car. The sun can create extremely high temperatures which can damage the case and
internal electrical components.
Extreme heat can possibly cause a blackening of the display. This is a temporary condition which
will quickly clear. It is recommended that during periods of non-use, such as parking or trailoring
the boat, that the LCR be removed from the boat or that the LCR face be turned down away from
direct sun.
During extended periods of non-use, such as winter, you should store the LCR and other
removable depth sounders in the house or garage. This will help prolong the good appearance
and operation of these instruments.
LEARNING TO USE YOUR LCR
After installing the unit, transducer, and power cable as instructed, the LCR is ready for use. By
following the steps below you will be able to quickly learn how to use the LCR. Also, trouble
shooting suggestions are listed in these steps. Note: Perform steps 1 through 6 at idle or slow
speed. These steps will insure that your LCR is working properly. Step 7 will test the high speed
operation of your transducer installation.
Step 1
Turn your LCR on by pushing the "On" button. The LCR's computer will automatically adjust the
sensitivity and depth range so that in about one second you will see images appear on the right
side of the display and moving to the left. The small gap in the zero line allows you to see
movement on the display even when the bottom is not changing.
TROUBLE SHOOTING: If nothing happens when the "On" button is pushed, check your electrical
connections and fuse. Also check that the red wire on the power cable is connected to the
positive battery terminal and that the black wire is connected to the negative battery terminal. If
these wires are reversed it will not damage the LCR. It is normal if when reversing the boat, the
bottom return is lost, since air from the prop is being forced under the transducer. Remember the
transducer cannot transmit through air.
TROUBLE SHOOTING: If the display comes on when the "On" button is pushed but no bottom
information is seen, check that the transducer connector is securely locked to the rear of the LCR.
Also insure that the transducer is completely submerged. A transducer cannot work properly in air
or through air bubbles in the water.
TROUBLE SHOOTING: In very shallow water, the bottom reading might have gaps or the range
might change to a deeper range. This is normal in about two feet or less. The automatic mode
cannot "lock" onto the bottom in very shallow water.
TROUBLE SHOOTING: If the LCR comes on without pressing the "on" button or if you cannot
turn it off by pressing the "off" button, carefully inspect the transducer cable. This condition will be
seen if the outer jacket of the cable has been cut and is touching any metal piece of the boat (or if
a metal BNC connector is touching metal).
Step 2
Still moving at a slow speed, begin going toward deeper water. Continue to move into deeper
water until the bottom return goes off the display. The LCR will automatically change to the next
deeper depth range. Notice that the entire screen is changed to the new depth range. This is the
Total Screen Update feature.
Step 3
Press the depth set button and then the • button to change to the next lowest range. If the bottom
is deeper than this range, the computer will automatically change back to the proper range.
Remember, the depth range can be changed either up or down by pressing the depth set button
and the A (increase) or * (decrease) button. You do not have to hold down the set button while
pressing the • or Step 4
Press the Stop/Resume button to freeze the display. Move the Zoom Range down by pressing
Zoom set and V button and position it down to the bottom of the water. Next, activate the Zoom
by pressing the Zoom on button. You will see that the left side of the screen has changed to give
you a much more detailed view. Notice that with the LCR's Total Screen Update you can see an
expanded view of an area after you have already passed by it! You do not have to stop the
display to use Zoom, but at first it is probably easier to learn this way.
With the Zoom on, move the Zoom Range up and down. This is how you can search up and
down an entire area. Turn the Zoom off.
Step 5
Press the Stop/Resume button to begin normal transmitting and receiving.
Set the Bottom Alarm below the bottom by first pressing the Bottom Alarm On/Off button to turn
the Bottom Alarm on. Now move the setting down by pressing the Bottom Alarm range set and
then hold down the V button. When the setting is below the bottom, a continuous alarm will
sound. You may want to move the setting above the bottom or you can turn it off by pressing the
bottom Alarm On/Off button. Turn the Fish Alarm on by pressing the Fish Alarm On/Off button.
Notice the Fish Alarm indication on the screen. Any fish (or objects not on the bottom) will trigger
a short fish alarm sound indication.
Step 6
Press the Auto Sensitivity On/Off button to change to the manual mode. Notice that the word
AUTO in the lower left corner of the display has gone off. Also, the area below the bottom is no
longer blacked out. You can now change the sensitivity setting by pressing the manual set and
_A or * buttons. Notice that the digital bottom reading goes off in the manual mode. Note: In the
manual mode the depth range will not automatically change. The automatic depth change works
only in the automatic mode. Push the Auto On/Off button to go back to the automatic mode.
Step 7
Steps 1 through 6 have verified that your LCR is working properly. You are now ready to increase
boat speed to test the transducer installation. As you increase boat speed the LCR should give a
continuous bottom return. With a proper transducer installation your LCR will perform well at high
speeds.
TROUBLE SHOOTING: If at high speeds the bottom return is not continuous or there are gaps in
the bottom, then the transducer installation or location is such that air is going under the
transducer face. Refer back to the transducer mounting procedure for adjustments or for other
mounting options.
TROUBLE SHOOTING: If at high speed and high sensitivity setting the display begins to blacken,
then cavitation noise from the propeller is being received by the transducer. The transducer
should be moved away from the prop or to another location to reduce the cavitation noise.
TROUBLE SHOOTING: If a fault condition is displayed on the screen, turn the unit off and then
on again. If this does not clear the fault condition the unit should be returned for repair.
LEARNING TO USE SCREEN MEMORY
The operation of the LCR Screen Memory was discussed in detail earlier in this manual. By
following the steps below you will be able to easily learn how to use this unique feature of your
unit.
Step 1
Your LCR has been pre-programmed at the factory with 16 screens. These pre-programmed
screens will aid in your learning and hopefully let you have some fun, too.
Press the Mode Select Button to change from the digital depth display (in the lower right corner of
the screen) to the Memory Display (See Figure 21). If the screen number is not 1, press the
Memory Select Button (or hold it down) until 1 is displayed.
Step 2
To recall screen number 1 simply press the Memory Recall Button. The left side of the screen will
now display the screen that was pre-programmed at the factory.
Step 3
Now let's store a screen into location 1. Press the Store R (right) button. Recall screen 1 by
pressing the recall button and see that the old pre-programmed screen has been erased and has
been replaced by the information from the right half of the screen. This screen will remain in
location 1 until another screen is stored in its place.
A screen may be stored at any time, but you might find it easiest to stop the display before storing
a screen.
A screen does not have to be recalled before storing another screen in its place. For example, to
store a new screen in location 1, first use the memory select button to go to location 1. Now the
left side or right side can be stored by pressing the Store L or Store R button. The Recall Button
does not have to be pressed unless you want to see the stored information before it is erased and
replaced by the new information.

Step 4
Now go to Memory Location 2 by pressing the Memory Select Button. Recall Screen 2 by
pressing the Recall Button.
Pre-programmed screens 4 through 9 are shown in Figures 1, 22 and 24. Screens 10 through 13
have been pre-programmed just for fun, screens 15 and 16 are actual readings from Lake
Eufaula. All of these screens will be erased when you store new information.
LEARNING TO READ THE DISPLAY
The following illustrations show some typical displays with bottom, structure, and fish returns.
These should help you in interpreting the information being displayed on your LCR.
Brush and standing timber will appear as shown in the display above. The speed of the boat and
display sweep speed will have a large effect on the way this information is displayed. For
example, at a slow boat speed and a fast sweep speed the standing timber will appear wider. At a
fast boat speed and a slow sweep speed some of the information will be missed.

With bottom lock the wreck and fish are clearly displayed on the left side of the screen which
shows an expanded view 40 feet up from the bottom (screen is from 112 feet to 172 feet).

Thermocline is a temperature change at a certain depth in the water. In some conditions the
sonar waves will actually reflect or bounce off this temperature change and therefore it will be
displayed on the LCR as shown above. Normally a high sensitivity setting is required to show the
thermocline, therefore, if you want to see the thermocline go to the manual mode and increase
the sensitivity level.
OPTIONAL SURFACE TEMPERATURE GAUGE
Your LCR 8000 or LCR 8000D is designed to work with an optional surface temperature gauge,
Humminbird Part Number TG-LCR. Figure 25 illustrates the three basic parts of the temperature
gauge - the cable interconnection between the temp gauge electronics and the LCR, the temp
gauge electronic housing, and the temp gauge probe and cable assembly.

The surface temperature gauge is a valuable fishing and boating aid. It will measure water
temperature in one-tenth of degrees and display the reading on the LCR screen. The probe and
computer controlled electronics have been designed for an accurate indication and an extremely
fast response time. If you do not have a surface temperature gauge, see your LCR dealer or call
the Humminbird Customer Service Department's Toll Free number listed in the front of this
manual.