IDTECK GE313 Access Controller User Manual

ID-Teck Co Ltd Access Controller

Users Manual

    UOPERATING MANUAL  ACCESS CONTROLLER MODEL: GE313
 2UTable of Contents  1.  IMPORTANT SAFTY INSTRUCTIONS     Page 4  2.  INTRODUCTION               Page 6 2.1 IDENTIFYING SUPPLIED PARTS        Page 6 2.2 INTRODUCTION      Page 6 2.3 FEATURES       Page 6 2.4 SPECIFICATIONS      Page 7  3.  PRODUCT OVERVIEW              Page 8 3.1 FUNCTIONS             Page 8 3.2 PRODUCT EXPLANATION        Page10 3.2.1 FRONT PANEL DESCRIPTION      Page10 3.2.2 CONNECTOR LAYOUT        Page11 3.2.3 WIRE COLOR TABLE OF THE GE314    Page11  4.  INSTALLATION TIPS & CHECK POINT           Page 12 4.1 CHECK POINT BEFORE THE INSTALLATION      Page 12 4.1.1 CABLE SELECTION          Page 12 4.1.2 CABLE SELECTION TABLE        Page 13 4.2 CHECK POINT DURING THE INSTALLATION      Page 13 4.2.1 TERMINATION RESISTOR        Page 13 4.2.2 HOW TO CONNECT TERMINATION RESISTOR    Page 14 4.2.3 GROUND SYSTEM          Page 14 4.2.4 REVERSE DIODE CONNECTION        Page 15  5.  INSTALLATION               Page 15 5.1 WALL MOUNT DRAWING          Page 15 5.2 BACKUP BATTERY SWITCH     Page 16 5.3 SYSTEM INITIALIZATION           Page 16 5.4 WALL MOUNT INSTALLATION        Page 17  6.  WIRING                 Page 17 6.1 POWER CONNECTION          Page 17 6.2 INPUT CONNECTION           Page 17 6.3 OUTPUT CONNECTION          Page 18 6.4 EXTERNAL READER CONNECTION        Page 18 6.5 RS232 PORT CONNECTION          Page 19 6.6 RS485 PORT CONNECTION          Page 20 6.6.1 RS485 CONNECTION (SINGLE UNIT)      Page 20 6.6.2 RS485 CONNECTION (MUTIPLE UNITS)      Page 20 6.7 TCP/IP CONNECTION (OPTIONAL)        Page 21
 3 7.  BASIC SETTINGS               Page 22 7.1 INITIALIZATION OF GE314        Page 22 7.2 HOW TO ENTER THE SETUP MENU      Page 22 7.3 LANGUAGE SETTING          Page 23 7.4 DATE/TIME SETTING          Page 23 7.5 ID REGISTRATION          Page 24  8.  OPERATION                 Page 26 8.1 NORMAL OPERATION     Page 26 8.2 DEFAULT SETTING      Page 26  9.  SETTING CHANGES               Page 27 9.1 F1 SETUP MENU          Page 28 9.2 F2 SETUP MENU          Page 32 9.3 F3 SETUP MENU          Page 36 9.4 F4 SETUP MENU          Page 41 9.5 F5 SETUP MENU          Page 46 9.6 F6 SETUP MENU          Page 49 9.7 F7 SETUP MENU          Page 52 9.8 F8 SETUP MENU          Page 55  APPENDIX                 Page 58    A. THE RELATION BETWEEN INPUT   AND OUTPUT (DEFAULT)            Page 58   B. TROUBLE SHOOTING          Page 60  FCC REGISTRATION INFORMATION     Page 64  WARRANTY AND SERVICE    Page 65  RMA REQUEST FORM & A/S REQUEST FORM    Page 66
 41.  IMPORTANT SAFETY INSTRUCTIONS      To prevent injuries to persons and damages to property, please read all instructions and follow them whenever you deal with this product.  After reading, please put this instruction manual where it can be easily seen for the system operator.  ON INSTALLATION AND POWER  Use 12V DC power ONLY. - Connecting to higher than 12V DC may result in a risk of electric shock, fire, or heavy damage of the unit. Do NOT install this product at places with wet or metallic dust or that can be watered. - There may be risks of electric shock and fire. Do NOT install this product near electric motors running. - The Unit may not operate normally. Do NOT set this product near heaters or any thing that produces heat. - There may be a risk of fire. Be ALWAYS careful not to short-circuit any part of the circuitry with tools like a screwdriver. - There may be a risk of fire or heavy damage of the unit.   ON MAINTENANCE  Do NOT use any kind of liquid for cleaning. - There may be a risk of electric shock, fire or heavy damage of the unit. Use air spray, if needed.   Users are cautioned NOT to attempt repair of this product or modify the wirings set by the installer at their own discretion. - It may pose the risk of fire, hardware damages, or abnormal operations of the unit.     It is recommended not to use a flammable spray or something else easy flammable near this product. - There may be the risk of an explosion or fire.   Keep the unit away from any unauthorized people.   - It may cause abnormal operations of the unit.
 5NOTICE  Please contact a designated service center or the outlet at which the product was purchased when       A. Any liquid has been spilt or sprayed onto the product. In this case, cut the power off first. B. The product seems to be operating abnormally. C. The unit exhibits a distinct change in performance. D. The unit has fallen to be broken down or damaged on its case.    * Repairing costs can be charged for troubles caused due to improper handling or negligence of users or the operator.
 62.  INTRODUCTION     U2.1 IDENTIFYING SUPPLIED PARTS  Please unpack and check the contents of the box (Optional accessories, if purchased, may be included in the package).      Main unit          Wall mount           Manual            Diode ( 1ea )               ( 1ea )             ( 1ea )            ( 2개 )   U2.2 INTRODUCTION  The GE313 is ideal to use for Single Door Access Control and Time & Attendance. The GE313 has four input ports, two Form-C relay outputs, two TTL outputs, RS232/RS485 communication port and optional TCP/IP communication port to meet various customer requirements. This user-friendly device allows you to register up to 10,000 Users and can be stored up to 20,000 event transactions. All Events can be uploaded and saved to the database of the host PC and the software creates the report to MS-Excel, HTML and Text files for the Time & Attendance purpose. The GE313 has a built-in proximity card reader with IDC 26-bit Wiegand format and it has 24 keypads (10 Numeric keys, 2 Control keys and 12 Function keys) for wide applications. The GE313 allows to access the door with only a proximity card or both proximity card and password. The GE313 has four external input ports to be connected to an exit button, motion detector, door contact sensor and existing alarm system to prevent unauthorized access. The GE313 has a door relay to control the door lock and an alarm relay to warn any error. The graphic LCD display supports 6 different languages so that the unit can be operated anywhere in the world. All setup menus can be programmed through the front keypads or via Windows-based software program. The GE313 is a cost effective system to be used for Standalone or network. Dual tamper switches prevent unauthorized access.  U2.3 FEATURES   Dual function for Access Control and Time & Attendance  8 bit and 16 bit Dual Microprocessors  10,000 Users and 20,000 Event Buffers  Built-in Proximity Reader and External Reader Port for T&A  24 Keypads including 12 Functional Keys  Graphic LCD Display for 6 different Language Support  Standalone or Network Communication via RS232/RS485 (max. 256ch)  Optional TCP/IP Communication  Independent 4 Inputs and 4 Outputs including 2 FORM-C Relay Outputs  Output Time Setting for Individual ID(4 Levels – Longer Output Time for Handicap Person)  Forced Door Open Alarm, Door Lock/Unlock by T/S and/or by registered ID  Anti-pass Back, Duress Alarm Functions  Dual Tamper Alarm  10 Time schedules, 8 Days with 5 Individual Time intervals each
 7 10 Holiday Schedules, 100 holidays each  Operating Mode Selectable for Individual ID (Proximity/PIN Only Mode, Proximity + Password Mode)  Time Schedule Applied to Individual ID, Input Port, Output Port and    Reader Mode  Multiple Master ID Registration  3 LED Indicators and Beeper for the System Status   U2.4 SPECIFICATIONS    CPU  8 bit and 16bit Dual Microprocessors Memory  Program Memory: 2M bit    ROM Data Memory: 4M bit FLASH memory Card Holder Event Buffer 10,000 Users 20,000 Event Buffers Operating Mode  Operating mode can be programmed for Individual ID - Proximity Card Only or PIN Only Mode - Proximity Card and    Password Mode Reader Port  1 Internal and 1 External Reader Port Read Range  Up to 4” (10cm) with IDC170 Clamshell Card Reader Data Format  Standard IDC 26 bit Wiegand Format 8 bit Burst Format for Keypad    reader Communication port  RS232/RS485(up to 256 channels) Address Selectable   9600(Default), 19200, 38400, 57600bps Communication Speed Input/Output  4 Input Ports, Rating DC12V/ 20mA max. 2 Relay Outputs, DC12V~24V/ FORM-C Relay 2A max. 2 TTL Outputs, DC0 ~5V/ 20mA max. Keypad  24 keys with Back lighting (Sky Blue) - 10 Numeric Keys - 2 Control Keys - 12 Function Keys Self Diagnostic  Yes Reset  Power On Reset and Watch-dog Timer Reset Operating Status  3 LED (Red, Green, Yellow) indicators, Beeper Weight  1.5 lbs (675g) Dimensions  7.56” x 6.42” x 1.97” (192mm x163mm x50mm) LCD Display Module  128 x 64 dots,    2.85” x 1.56”(72.5mm x 39.5mm) View Area Power  DC 12V±10%, 400mA max. Operating Environment  32°F ~ 149°F (0°C ~ +45°C), 0 ~ 90% Humidity None Condensing Storage Environment  -40°F ~ 158°F (-40 ~+70℃℃), 0 ~ 90% Humidity None Condensing Mount  Wall Mount or Electrical Gang Box Mount (U.S. and European/Asian) Color  Silver and Dark Gray Color Optional TCP/IP Module (Internal) Connection IIM7100A Internal Mounting Module for TCP/IP Communication RJ45 Socket
 83.  PRODUCT OVERVIEW   U3.1 FUNCTIONS   Stand-Alone Operation   The GE313 is capable of having 2 readers (1 Door Control). The unit receives card ID numbers from the proximity readers and determines whether or not to unlock the door. When an input signal is entered, for example from a Sensor activated or an Exit button pressed, the controller generates and logs an appropriate response by input signals. All events are stored into the memory buffers and sent to the host computer. The access controller is a true stand-alone device that, in the event of malfunction, will not affect other units when used in conjunction with one another.  Operation with Host Computer All event transactions can be managed via the host computer. The data transmitted from the controller can be displayed and stored on the host PC.  Keypad If the GE313 is not connected to a host PC, the integrated keypad and LCD display module can also be used for the entire programming process.  Input/Output The GE313 has 4 built-in inputs and 4 outputs (2 relay outputs and 2 TTL outputs) which can be used to manipulate a wide variety of controls.  Time Schedule Setup   You can program 10 time schedules and apply one time schedule to each User. Each time schedule has 8 different time zones from Monday-Sunday (7 time zones) and one holiday. Each time zone has 5 different time codes so you can program 5 different time codes to each day. You can also program time schedules for individual inputs and outputs. Note that the time schedule for input is activated time code for input device so that the input is activated during the time code on this time schedule. Each time schedule is linked to one holiday schedule and this linked holiday only validates to the holiday time code of the time schedule.    Holiday Schedule Setup Excepting Sunday, you can program 100 holidays to one holiday schedule. Each holiday schedule is linked to one time schedule which has a time code for holidays. You can program all holidays to a holiday schedule and the time code for holidays is programmed to the holiday time zone of time schedule.
 9Example: A.  Holiday schedule 01 linked to time schedule 01,               Holiday schedule 02 linked to time schedule 02       B.  Holiday schedule 02 linked to time schedule 01,            Holiday schedule 01 linked to time schedule 03   Forced Door Open Alarm When the door is opened by force, the door contact sensor will be activated. For this application, you have to install the door contact sensor and properly set the door contact time and outputs to the alarm devices. The Forced Door Open Alarm will be generated until the alarm is cleared.  Door Open Overtime Alarm The Overtime Door Open Alarm will be generated when the door is open continusly, after the door is opened by corrected process.     The Overtime Door Open Alarm will be generated until the door is closed.  Anti-Pass-Back By using an additional proximity reader, the Anti-Pass-Back mode can be set. The Anti-pass-back mode prevents entry or exit when the registered user did not properly followed one entry and one exit by the Anti-pass-back rule. The same user can not enter twice with the entry card without properly using the exit before.   Duress Alarm In case of duress, enter the 2 digits Duress Password and press the<ENT> key before the normal access process. The door can be opened as normal, but the duress alarm is also generated at the same time. The duress alarm output will be activated to the TTL output and an alarm event will be sent to the host PC.
 10U3.2 PRODUCT EXPLANATIONU  U3.2.1 FRONT PANEL DESCRIPTION                                                  Figure: Description of GE313 Front Panel   LCD Module: LCD module displays GE313 status.   System Operation Status LED: When the power is applied to GE313, the red LED is turned on.   When the Relay #1 is operated, the green LED is turned on.   When the Relay #2 is operated, the yellow LED is turned on.   24 Key pad: You can operate GE313 manually by using the key pad. Function key: The GE313 has 12 Function keys ([F1] ~ [F12]).          24 key pad   Function key LCD System Operation   Status LED
 11U3.2.2 CONNECTOR LAYOUT   Figure: Connector Layout  U3.2.3 WIRE COLOR TABLE OF THE GE313     UI/O PORT NAMEU  USIGNAL NAMEU  UWIRE COLORU CNN-1: POWER Main Power (+12V)  +12V Red wire  Power Ground  0V Black wire CNN-2:COMMUNICATION RS485-RTX(+)  RS485-A(+) Gray wire RS485-RTX(-)  RS485-B(-)   Blue wire RS232-TX  TXD  Red wire with white stripe RS232-RX  RXD  Black wire with white stripe RS232-GND  GND Black wire CNN-3: INPUT/OUTPUT TTL OUTPUT #1  TTL#1, WD0  Brown wire TTL OUTPUT #2  TTL#2, WD1  Yellow wire Aux Input #1  IN#1   Pink wire Aux Input #2  IN#2 Cyan wire Wiegand DATA 0  DATA-0  Green wire  Wiegand DATA 1  DATA-1 White wire  CNN-4: INPUT/OUTPUT Door RELAY(NC)  NC(1)   Gray wire with white stripe
 12Door RELAY(COM)  COM(1)  Green wire with white stripe Door RELAY(NO)  NO(1)   White wire with red stripe Alarm RELAY(NC)  NC(2)   Yellow wire with red stripe Alarm RELAY(COM)  COM(2)  Brown wire with white stripe Alarm RELAY(NO)  NO(2)   Blue wire with white stripe Exit Button  EXIT Orange wire Door Sensor  CONTACT Purple wire  CNN-5: TCP/IP RJ45 CONNECTOR    4. INSTALLATION TIPS & CHECK POINT  U4.1 CHECK POINT BEFORE THE INSTALLATION  U4.1.1 CABLE SELECTION   Figure: System Installation Layout
 13U4.1.2 CABLE SELECTION TABLE  Reference  Description  Cable Specification  Maximum Distance ① GE313 Power (DC12V)DC Power -> GE313 Belden #9409, 18 AWG2 conductor, unshielded  Belden #9512, 22 AWG4 conductor, shielded  ② Reader (Power and Data)Exit Reader -> GE616  Belden #9514, 22 AWG8 conductor, shielded  Belden #9512, 22 AWG4 conductor, shielded ③ Door Contact Exit Button Sensor Input Input -> GE313 Belden #9514, 22 AWG8 conductor, shielded  ④ Door Lock, Alarm DeviceLock (Alarm) -> GE313Belden #9409, 18AWG2 conductor, unshielded  ⑤ RS232 Cable Converter -> Host P.C. Belden #9829, 24 AWG2-twisted pair, shielded  ⑥ RS485 Cable GE313 -> GE313 GE313 -> Converter Belden #9829, 24 AWG2-twisted pair, shielded  P+ P: Need thicker wire if you connect the reader with high current consumption.  U4.2 CHECK POINT DURING THE INSTALLATION  U4.2.1 TERMINATION RESISTOR  Termination resistors are used to match impedance of the network to the impedance of the transmission line being used. When impedance is mismatched, the transmitted signal is not completely absorbed by the receiver and a portion of signal is reflected back into the transmission line. The decision whether or not to use termination resistors should be based on the cable length and data rate used by the communication system. For example, if you use 9,600 baud rate and 1,200m length of cable, the propagation velocity of cable is 0.66 x speed of light (This value is specified by the cable manufacturer), if we assume the reflections will damp out in three round trip up and down the cable length, the transmitted signal will stabilize 18.6us after the leading edge of a bit. Since the data bit is captured in the middle of the bit which is approximately 52us after the leading edge of a bit. The reflection stabilizing time 18.6us is much before the center of the bit therefore the termination resistors are not required. However, if you install the cable to maximum length, the impedance of cable and network is mismatched and the transmitted signal is overlapped by the reflected signal. In this case, it is recommended to add termination resistors to the end of the receiver lines. A 120Ω resistor can be used for termination resistor in parallel between the receiver lines “A” and “B” for 2 wires RS485 system. A termination resistor of less than 90Ω should not be used and no more than 2 terminations should be used in one networking system.
 14U4.2.2 HOW TO CONNECT TERMINATION RESISTORSU   Figure: Termination resistors for 2 wire RS485 communication system   U4.2.3 GROUND SYSTEMU  We recommend to using proper grounding system of the communication cable. The best method for grounding system is to put the shield wire of the communication cable to the 1PstP class earth grounding; however it is not so easy to bring the earth ground to the communication cable and also the installation cost is raised. There will be three grounding point where you can find during installation; 1) Earth Ground 2) Chassis Ground 3) Power Ground The most important point for grounding system is not to connect both ends of shield wires to the grounding system; in this case there will be a current flow through the shield wire when the voltage level of both ends of shield wire is not equal and this current flow will create noise and interfere to communications. For the good grounding, we recommend to connecting ONLY one end of shield wire of communication cable to grounding system; If you find earth ground nearby, then connect one end of shield wire to earth ground; If you do not have earth ground nearby, then find chassis ground and connect one end of shield wire to chassis ground; If you do not find both earth ground and chassis ground, then connect one end of shield wire to power ground. (GND of GE313) Note that if the chassis ground is not properly connected to the earth and floated from the ground level, then grounding to the chassis ground will give the worst communication; in this case we recommend to using power ground instead of chassis ground.   Figure: Grounding system
 15U4.2.4 REVERSE DIODE CONNECTIONU  If you connect an inductor (Door Locks or Alarm device) to the output relays, there will be a high surge voltage created while the inductor is turning on and off. If you do not connect reverse diode, the surge voltage will transfer and damage to the electronic circuit of the controller. It is strongly recommended to add a reverse diode between the inductor coils to absorb this surge voltage.    Figure: Reverse Diode connection  5.  INSTALLATION    U5.1 WALL MOUNT DRAWING (Unit: mm)   Figure: Wall Mount Layout
 16U5.2 BACKUP BATTERY SWITCH GE313 has a switch for the backup battery connection, which remains open circuit to prevent any current consumption of the backup battery (Figure: Switch setting). Before the GE313 operation, it needs to be connected so that the backup battery can retain the serial RTC(Date and Time data) during power failure.                                 Figure: SWITCH SETTING                  Figure: SWITCH LOCATION   U5.3 SYSTEM INITIALIZATION After the all installation and connections are completed, press and hold the Initialize button and put the power (+12V DC) to GE313. The LCD will first display “Initialize OK? 0:No 1:Yes”. Press <1> key if you want to initialize the system. After all Initialization process is completed, the system is operating on normal mode and the LCD displays “GE Security, GE313 [F1], Date Time”.
 17U5.4 WALL MOUNT INSTALLATION  Position the Wall Mount to the location where you install the unit and mark 4 x drilling position. Drill 6-32 holes at least 4 mounting point.  Drill 1/2” hole on the center of Wall Mount.  Using 4 screws, install the Wall Mount to the proper location.  Take out the cable through the center hole.  After the wiring is done on the section 8, install the Main Unit to the Wall Mount using a screw to the bottom of the Wall Mount.   6.  WIRING  U6.1 POWER CONNECTION  1. Connect (+) wire of DC 12V power Supply to the Red wire. 2. Connect GND (-) wire of DC 12V power Supply to the Black wire.  U6.2 INPUT CONNECTION  Exit Button Connection   1. Connect one wire from an Exit Button to the Orange wire. 2. Connect the other wire from the Exit Button to the GND.  Door Contact Sensor Connection   1. Connect one wire from a Door Contact Sensor to the Purple wire. 2. Connect the other wire from the Door Contact Sensor to GND.  Auxiliary Input Connection   Applied to Aux Input #1(Pink wire), Aux Input #2(Cyan wire) 1. Connect one wire from an Auxiliary Input Device to one of the Aux Input #1 or Aux Input #2. 2. Connect the other wire from the Auxiliary Input Device to GND.   Figure: Input Device Connection
 18U6.3 OUTPUT CONNECTION  Door Lock (Power Fail Safe) Connection (Door Relay) 1. Connect COM wire of Door Relay, the Green wire with white stripe to +12V. 2. Connect NC wire of Door Relay, the Gray wire with white stripe to (+) wire of door lock device. 3. Connect GND wire to (-) wire of door lock device. Door Lock (Power Fail Secure) Connection (Door Relay) 1. Connect COM wire of Door Relay, the Green wire with white stripe to +12V. 2. Connect NO wire of Door Relay, the White wire with red stripe to (+) wire of door lock device. 3. Connect GND wire to (-) wire of door lock device. Alarm Device Connection (Alarm Relay)   1. Connect COM wire of Alarm Relay, the Brown wire with white stripe to +12V. 2. Connect NO wire of Alarm Relay, the Blue wire with white stripe to (+) wire of Alarm device. 3. Connect GND port to (-) wire of Alarm device.   Figure: Door Lock, Alarm Device Connection  CAUTION: Must add REVERSE DIODE as shown above. DIODE: Fast Recovery DIODE (current: min. 1A), 1N4004 ~ 1N4007 or similar.   U6.4 EXTERNAL READER CONNECTION  Proximity Reader Connection 1. Connect (+) wire of the Proximity Reader to DC +12V.   2. Connect (-) wire of the Proximity Reader to GND. 3. Connect Data-0 wire of the Proximity Reader to the Green wire.   4. Connect Data-1 wire of the Proximity Reader to the White wire.     Compatible Reader:  GE616: Standard IDC 26bit Wiegand Format Proximity Reader.
 19 Figure: External Reader Connection   U6.5 RS232 PORT CONNECTINU  A 9-pin connector (Serial communication connector, female) is required to connect the GE313 to a host computer via RS232 communication. Please follow the instructions. 1. Connect RS232-TX, Red wire with white stripe to the pin #2(RXD) of the 9-pin connector. 2. Connect RS232-RX, Black wire with white stripe to the pin #3(TX) of the 9-pin connector. 3. Connect GND, Black wire to the pin #5 of the 9-pin connector. 4. Plug in the 9-pin female connector to COM1 or COM2 Port of the host PC. 5. Install and run GE313 Application Software.  Figure: RS-232 COMMUNICATON
 20 U6.6 RS-485 PORT CONNECTION  U6.6.1 RS-485 CONNECTION(SINGLE UNIT)  RS485/RS232 converter is required to use RS485 communication between the GE313 and a host PC. Please follow the instructions. 1. Connect RS485-RTX(+), Grey wire to RS485-A port of the converter. 2. Connect RS485-RTX(-), Blue wire to RS485-B port of the converter. 3. Plug the RS232, 9-pin connector of the converter into the COM1 or COM2 Port of the host PC. 4. Install and run the GE313 Application Software.  Figure: RS-485 Connection between GE313 and a host PC  U6.6.2 RS-485 CONNECTIN(MULTIPLE UNITS)  RS485/RS232 converter is required to use RS485 communication between multiple GE313 and a host PC. Please follow the instructions.  First, you have to connect all RS485 port of GE313 in parallel. (max. 32 x GE313 Units) 1. Connect RS485-RTX(+), Grey wire of one GE313 to RS485-RTX(+), Grey wire of another GE313. 2. Connect RS485-RTX(-), Blue wire of one GE313 to RS495-RTX(-), Blue wire of another GE313. 3. Set a different COMM ID for each GE313.  Second, you have to connect one of RS485 port of GE313 to RS485/RS232 converter. 1. Connect RS485-RTX(+), Grey wire of one GE313 to RS485-A port of the converter. 2. Connect RS485-RTX(-), Blue wire of one GE313 to RS485-B port of the converter. 3. Plug the RS232, 9-pin connector of the converter into the COM1 or COM2 Port of the host PC. 4. Install and run the GE313 Application Software.
 21 Figure: RS-485 Communication between multiple GE313 and a host PC  U6.7 TCP/IP CONNECTION (OPTIONAL)  Optional TCP/IP Module is required for TCP/IP communication to the host PC. 1. Connect RJ45 plug, LAN cable of the network system to RJ45 jack of the GE313. 2. If you install multiple GE313 and only one TCP/IP port is available, you may connect one GE313 to TCP/IP then connect all GE313 units to RS485 multiple communication shown above. 3. Set a different COMM ID for each GE313. 4. Install and run the GE313 Application Software.  Figure: TCP/IP Communication between multiple GE313 and a host PC
 227.  BASIC SETTINGS    U7.1 INITIALIZATION OF GE313 After the all installation and connections are completed, press and hold the Initialize button and put the power (+12V DC) to GE313. The LCD will first display “Initialize OK? 0:No 1:Yes”. Press <1> key if you want to initialize the system. After all Initialization process is completed, the system is operating on normal mode and the LCD displays “GE Security, GE313 [F1], Date Time”.                   U7.2 HOW TO ENTER THE SETUP MENU  To setup or to change the GE313 settings, you have to enter the SETUP MENU first. To do so, press <0> key eight times (Default Master ID ‘00000000’) and <ENT>  key from the Keypad. You now entered to the SETUP MENU. There are 8 SETUP MENU and you first get into [F1 SETUP MENU]. You can move to another SETUP MENU by pressing <F1> key to <F8> key button. For example, if you want to go to [F2 SETUP MENU] then press <F2> key, for [F5 SETUP MENU] then press <F5> key and so on. There are several  SUBMENU on each SETUP MENU and you can scroll up and down the SUBMENU by pressing <4> and <6> key on each SETUP MENU. If you don’t press any key for 60 seconds or if you press <ESC> key, GE313 will exit the SETUP MENU and return to normal operation mode. You can also change the Master ID in the [F4 SETUP MENU].
 23 U7.3 LANGUAGE SETTING  Select [LANGUAGE] in the [F2 SETUP MENU] then press <ENT> key to select the LANGUAGE. Please follow the steps below for LANGUAGE setting and following procedure is for selecting CHINESE.   U7.4 DATE/TIME SETTING  Select [SET DATE/TIME] in the [F2 SETUP MENU] and enter Year / Month / Date / Hour / Minute / Second / Day (Total 15 digits) as shown below. The LCD will display the new Date and Time after the time setting is completed but the year and day will not be displayed. GE313 has a 24 hours system and day codes are 1 for Sunday, 2 for Monday, 3 for Tuesday, 4 for Wednesday, 5 for Thursday, 6 for Friday and 7 for Saturday.
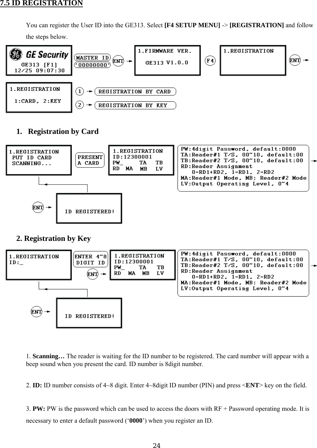
 24U7.5 ID REGISTRATION  You can register the User ID into the GE313. Select [F4 SETUP MENU] -> [REGISTRATION] and follow the steps below.  1.  Registration by Card   2. Registration by Key    1. Scanning… The reader is waiting for the ID number to be registered. The card number will appear with a beep sound when you present the card. ID number is 8digit number.  2. ID: ID number consists of 4~8 digit. Enter 4~8digit ID number (PIN) and press <ENT> key on the field.  3. PW: PW is the password which can be used to access the doors with RF + Password operating mode. It is necessary to enter a default password (‘0000’) when you register an ID.
 254. TA: TA is the Time Schedule code (‘00’ ~ ‘10’) for the Reader#1 (Built-in Reader). When you present the card to the Reader#1, the cardholder is only allowed the access of the door during the Time intervals of the Time Schedule code entered to TA. To setup the Time intervals for each Time Schedule code, refer to the Time Schedule Setup on the [F5 SETUP MENU]. If you want to access the door anytime for the cardholder then enter the default Time Schedule code '00' for the value.  5. TB: TB is the Time Schedule code (‘00’ ~ ‘10’) for the Reader#2 (Exit Reader). When you present the card to the Reader#2, the cardholder is only allowed the access of the door during the Time intervals of the Time Schedule code entered to TB. To setup the Time intervals for each Time Schedule code, refer to the Time Schedule Setup on the [F5 SETUP MENU]. If you want to access the door anytime for the cardholder then enter the default Time Schedule code '00' for the value.  6.  RD: RD is the Reader Assignment code for the cardholder. Code ‘0’ assigns for both readers (Built-in Reader and Exit Reader), code ‘1’ only assigns Reader#1 (Built-in Reader) and code ‘2’ only assigns Reader#2 (Exit Reader). If you put ‘1’ for RD (Only Reader#1 assigned) and try to exit through Reader#2 (Exit Reader) then GE313 generates an error message (“Access Door Error”) on the LCD display.       7. MA: MA is the Reader#1 (Built-in Reader) Operating Mode for the cardholder. If you put ‘1’ for MA, Reader#1 is always operating on RF Only Mode.   ‘0’ – System Operating Mode [F2 SETUP MENU] [READER#1 MODE]     ‘1’ – ID Only Mode   ‘2’ – ID + Password Mode  8.  MB: MB is the Reader#2 (Exit Reader) Operating Mode for the cardholder. If you put ‘1’ for MB, Reader#2 is always operating on RF Only Mode.   ‘0’ – System Operating Mode [F2 SETUP MENU] [READER#2 MODE]   ‘1’ – ID Only Mode   ‘2’ – ID + Password Mode  9. LV: LV is the Output Operating Level for the cardholder. Output operating time can be set for each user. To setup Output operating time for each level, refer to the Output Setting on the [F7 SETUP MENU].   ‘0’ or ‘1’ – Level #1   ‘2’ – Level #2   ‘3’ – Level #3   ‘4’ – Level #4
 268.  OPERATION  U8.1 NORMAL OPERATION  Power on When the power is applied to GE313, the Red LED is turned on. Registered card reading When a registered card (or PIN) is read, the Door (Relay#1) will open for 3 seconds (Default) with the Green LED on. Exit Button  When the Exit button is pressed, the Door (Relay#1) will open for 3 seconds with the Green LED on. Alarms When an unregistered card is read, the access is denied and the Alarm (Relay#2) will be activated for 3 seconds with the Yellow LED on.    U8.2 DEFAULT SETTING  When you operate the system for the first time or the system initialized, the factory setting values (default settings) will be stored in the memory. You may change the settings for the desired application.
 279.  SETTING CHANGES    ☞.   To setup or to change the GE313 settings, you have to enter the SETUP MENU first. To do so, press <0> key eight times (Default Master ID ‘00000000’) and <ENT>  key from the Keypad. You now entered to the SETUP MENU. There are 8 SETUP MENU and you first get into [F1 SETUP MENU]. You can move to another SETUP MENU by pressing <F1> key to <F8> key button. For example, if you want to go to [F2 SETUP MENU] then press <F2> key, for [F5 SETUP MENU] then press <F5> key and so on. There are several SUBMENU on each SETUP MENU and you can scroll up and down to SUBMENU by pressing <4> and <6> key on each SETUP MENU. If you don’t press any key for 60 seconds or if you press <ESC> key, GE313 will exit the SETUP MENU and return to normal operation mode. You can also change the Master ID in the [F4 SETUP MENU].  U
 289.1 F1 SETUP MENU      9.1.1 VERSION CHECK      ☞.   The Firmware Version of the GE313 displays on the LCD. Press <4> or <6> key to have a look for other menus on [ F1 SETUP MENU]
 299.1.2 INPUT TEST     9.1.3 OUTPUT TEST       9.1.4 LCD TEST     . The ☞5digit shows the input status and “0” indicates that the input port is open circuit and “1” indicates that theinput port is short circuit to ground level. ☞. The first two tests are for the output relays (Door Relay and Alarm Relay) test. You can hear the mechanical sound of relays and LED will blink. Following two tests are for TTL#1 and TTL#2 output testing. The last test is for the Internal Buzzer test and you can hear two beep sounds. ☞. The LCD will display all characters on the screen. When the test is done, the LCD will show “Last Update Press any key”.
 309.1.5 KEYPAD TEST          9.1.6 READER TEST       9.1.7 MEMORY TEST     ☞. LCD will display all keys of the unit. Press each key from the keypad one by one, the depressed key will disappear from the LCD. Note that ENT key is “#” and ESC key is “*” on the LCD. ☞. LCD will display “Scanning…” for reading the cards. Present the card to one of the readers. ☞. When the reader successfully read the card, LCD will display Reader number and 8digit card number on the LCD. ☞. If the Data Memory has problems, LCD will show the Memory failure message. In this case, contactmanufacturer for technical support.
 319.1.8 COMMUNICATION TEST        U. ☞Before this communication test, connect RS232-RX and RS232-TX wires together. . ☞This test is a loop test and GE313 sends a character to RS232-TX and check whether the RS232-RX receive the same character or not. If you have an error, contact manufacturer for technical support.
 329.2 F2 SETUP MENU
 339.2.1 LANGUAGE              9.2.2 DATE AND TIME SETTING          9.2.3 READER#1 MODE                   ☞. The default Language is in ENGLISH. ☞. There are 6 languages can be selected. (KOREAN, ENGLISH, CHINESE, JAPANESE, SPANISH, PORTUGUESE) ☞. Example: 200302101330152 => Feb. 10, 2003, 13:30:15, Monday Note: READER#1 is built-in proximity reader in the unit. ID(PIN) ONLY: The door is accessible by just presenting the proximity card(or Press the ID Number). ID+P/W: The door is accessible by presenting a card and Password.
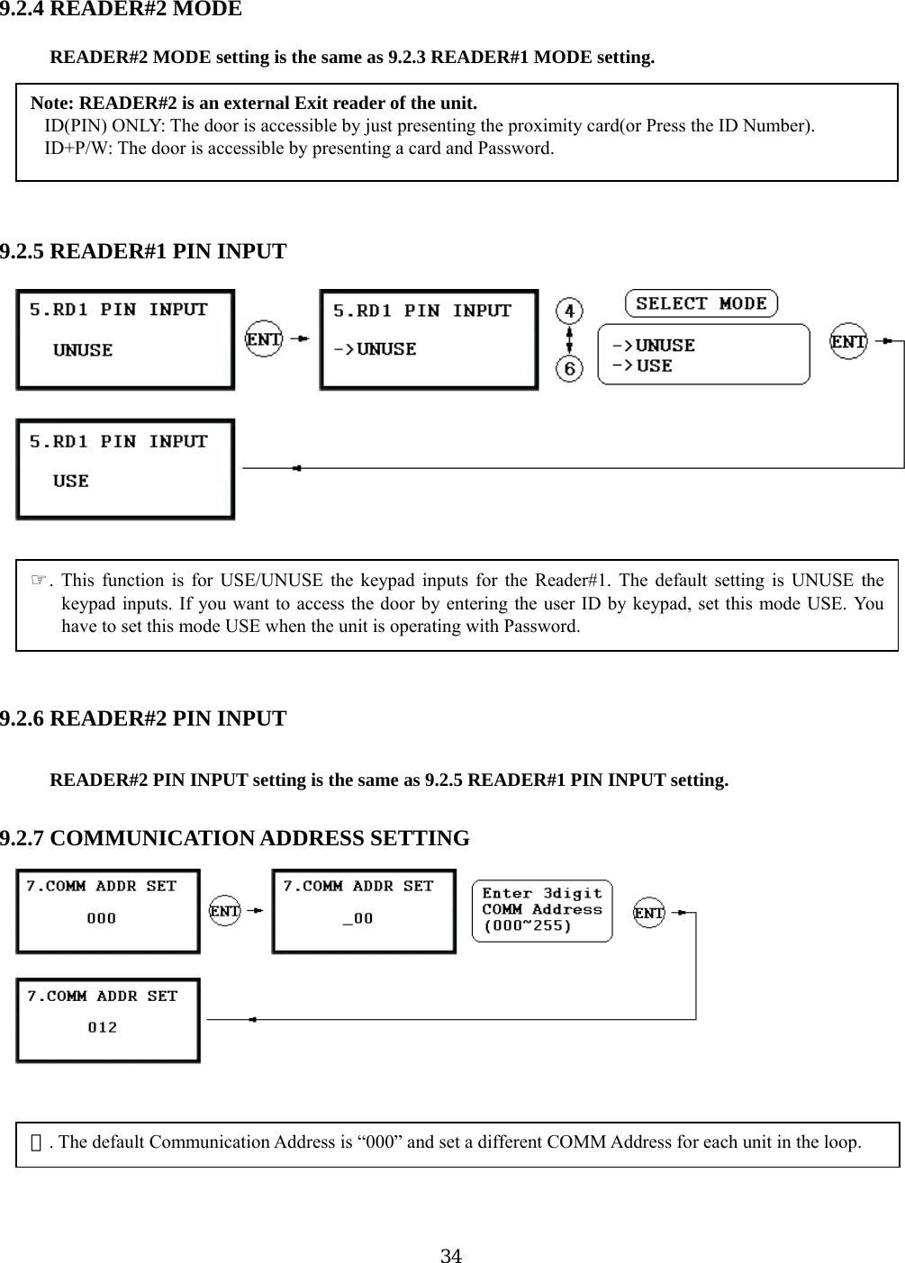
 34 9.2.4 READER#2 MODE  READER#2 MODE setting is the same as 9.2.3 READER#1 MODE setting.        9.2.5 READER#1 PIN INPUT       9.2.6 READER#2 PIN INPUT  READER#2 PIN INPUT setting is the same as 9.2.5 READER#1 PIN INPUT setting.  9.2.7 COMMUNICATION ADDRESS SETTING                . ☞The default Communication Address is “000” and set a different COMM Address for each unit in the loop. ☞. This function is for USE/UNUSE the keypad inputs for the Reader#1. The default setting is UNUSE thekeypad inputs. If you want to access the door by entering the user ID by keypad, set this mode USE. Youhave to set this mode USE when the unit is operating with Password. Note: READER#2 is an external Exit reader of the unit. ID(PIN) ONLY: The door is accessible by just presenting the proximity card(or Press the ID Number). ID+P/W: The door is accessible by presenting a card and Password.
 359.2.8 BAUD RATE SETTING                          ☞. GE313 supports 9600, 19200, 38400 and 57600bps of Baud Rate and default Baud Rate is 9600bps. WrongBaud Rate setting will cause communication error and you have to set same Baud Rate for the samecommunication network. If you have communication problem, please check followings; - Check Communication Address for both GE313 and the host PC (Software) - Check Baud Rate for both GE313 and host PC - Check Communication Port and Cable - Check COM port setup of the host PC Parity: None, Data Bit: 8 bit, Stop Bit: 1 bit
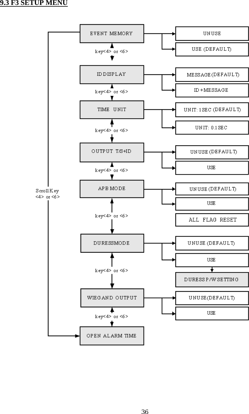
 36U9.3 F3 SETUP MENU
 379.3.1 EVENT MEMORY                     9.3.2 ID DISPLAY                 ☞. You can select whether you will use event memory or not. When you select USE and in case of an eventmemory, GE313 generates an error message and keeps all events stored in the memory. When you selectUNUSE, GE313 will not generate an error and new event overwrite into the event buffers. If you use GE313for standalone (just for door access), select UNUSE. ☞.  This function is to set display mode. If you want to display user ID number on the LCD, selectID+MESSAGE. MESSAGE: Text message and “********” characters will be displayed on the LCD and itwill not display user ID number. ID+MESSAGE: The user ID number will be displayed on the LCD with textmessage. Default setting is MESSAGE only.
 389.3.3 TIME UNIT SETTING                    9.3.4 OUTPUT T/S+ID              . ☞This menu is to define time unit for 5 output ports. 1sec: Output Time will be calculated by one second time unit for in/out definition. 0.1sec: Output Time will be calculated by 1/10 second time unit (100ms) for in/out definition  Ex) If you want to activate Door Relay (Relay #1, DR) for 3 second, you have to set as follow.       - Set Output Time Unit to 1 SEC.       - Set Door Relay (DR) Output Time to “03” Ex) ) If you want to activate Door Relay (Relay #1, DR) for 0.5 second, you have to set as follow.       - Set Output Time Unit to 0.1 SEC.       - Set Door Relay (DR) Output Time to “05”   ☞. Output Time Schedule+ID is to unlock the door when the first user grants the access during the Time Intervalof the Time Schedule. The door will be locked just after the Time Interval period is over. UNUSE: Door will unlock at the beginning of the Time Interval of the Time Schedule code. USE: Door will unlock when the first user grants the access during the Time Interval of the Time Schedule.
 399.3.5 ANTI-PASS BACK MODE                      9.3.6 DURESS MODE                   9.3.7 WIEGAND OUTPUT       ☞. You can set Duress Mode for Reader#1. Default setting is UNUSE. If you select USE, LCD will display default Duress Password ‘00’. Enter 2 digit Duress Password. Note!! If you are in Duress condition, enter 2 digit Duress Password and press <ENT> key prior to present the card. Door will be opened as normal but the Duress Alarm will be generated and reported to the host PC. ☞. The Anti-pass Back mode is only used when you installed Exit Reader. Do not set this mode in USE whenyou installed Exit Button. You must install GE313 for entry and Exit Reader for Exit. UNUSE: Anti-pass Back mode OFF USE: Anti-pass Back mode ON ☞.   ALL FLAG RESET: Allow the access only one time whatever the Anti-pass Back flag is.
 40      9.3.8 DOOR OPEN ALARM TIME SETTING              U☞. When the door is not closed after the door open time is over, you may set the delay time to generate DoorOpen Alarm. To use this function, you have to install a Door Contact Sensor on the door and setup the alarmtime by Door Contact Sensor. ‘03’ sec. is default time. 00: Alarm if the door is not closed after the door open time (Door Relay time). 01~98: Alarm if the door is not closed after the door open time and over the alarm delay time. (01~98s) 99: No Door Open Alarm ☞. This is the function to use GE313 as a Reader and sends 26bit Wiegand Output through two TTL output ports.Press <ENT> key and select USE by pressing <4> or <6> key then press <ENT> key for setting. UNUSE: Normal TTL outputs will be activated.   USE: 26bit Wiegand output will be generated through TTL1 and TTL2 port.           When an unregistered card is read, the “CARD SCCANNING OK” message will appear on the LCD. TTL1 : Data 0    TTL2 : Data 1
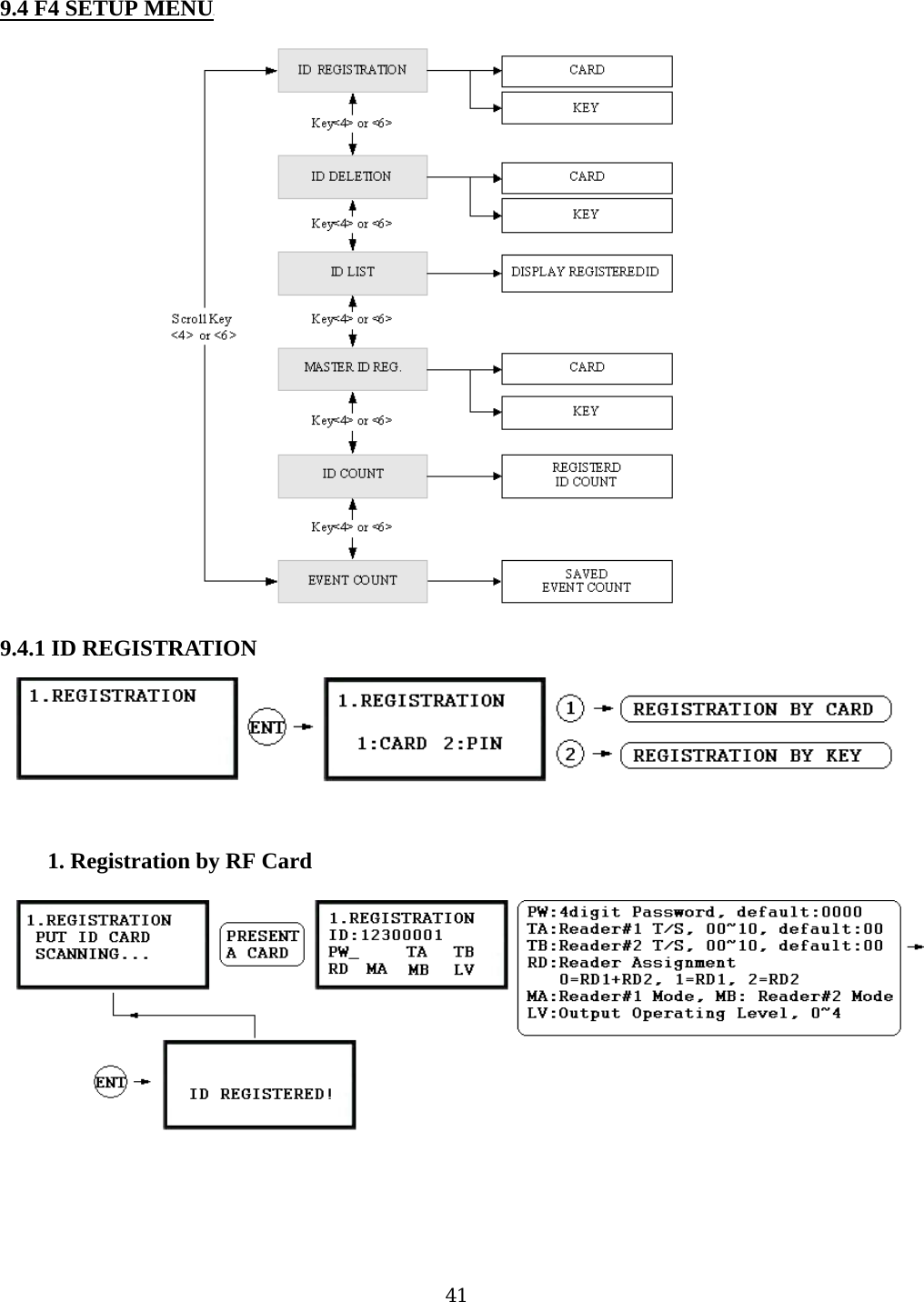
 419.4 F4 SETUP MENUU    9.4.1 ID REGISTRATION   1. Registration by RF Card
 422. Registration by Keypad    1. Scanning… The reader is waiting for the ID number to be registered. The card number will appear with a beep sound when you present the card. ID number is 8digit number.  2. ID: ID number consists of 4~8 digit. Enter 4~8digit ID number (PIN) and press <ENT> key on the field.  3. PW: PW is the password which can be used to access the doors with RF + Password operating mode. It is necessary to enter a default password (‘0000’) when you register an ID.  4. TA: TA is the Time Schedule code (‘00’ ~ ‘10’) for the Reader#1 (Built-in Reader). When you present the card to the Reader#1, the cardholder is only allowed the access of the door during the Time intervals of the Time Schedule code entered to TA. To setup the Time intervals for each Time Schedule code, refer to the Time Schedule Setup on the [F5 SETUP MENU]. If you want to access the door anytime for the cardholder then enter the default Time Schedule code '00' for the value.  5. TB: TB is the Time Schedule code (‘00’ ~ ‘10’) for the Reader#2 (Exit Reader). When you present the card to the Reader#2, the cardholder is only allowed the access of the door during the Time intervals of the Time Schedule code entered to TB. To setup the Time intervals for each Time Schedule code, refer to the Time Schedule Setup on the [F5 SETUP MENU]. If you want to access the door anytime for the cardholder then enter the default Time Schedule code '00' for the value.  6.  RD: RD is the Reader Assignment code for the cardholder. Code ‘0’ assigns for both readers (Built-in Reader and Exit Reader), code ‘1’ only assigns Reader#1 (Built-in Reader) and code ‘2’ only assigns Reader#2 (Exit Reader). If you put ‘1’ for RD (Only Reader#1 assigned) and try to exit through Reader#2 (Exit Reader) then GE313 generates an error message (“Access Door Error”) on the LCD display.
 437. MA: MA is the Reader#1 (Built-in Reader) Operating Mode for the cardholder. If you put ‘1’ for MA, Reader#1 is always operating on RF Only Mode.   ‘0’ – System Operating Mode [F2 SETUP MENU] [READER#1 MODE]     ‘1’ – ID Only Mode   ‘2’ – ID + Password Mode  8.  MB: MB is the Reader#2 (Exit Reader) Operating Mode for the cardholder. If you put ‘1’ for MB, Reader#2 is always operating on RF Only Mode.   ‘0’ – System Operating Mode [F2 SETUP MENU] [READER#2 MODE]   ‘1’ – ID Only Mode   ‘2’ – ID + Password Mode  9. LV: LV is the Output Operating Level for the cardholder. Output operating time can be set for each user. To setup Output operating time for each level, refer to the Output Setting on the [F7 SETUP MENU].   ‘0’ or ‘1’ – Level #1   ‘2’ – Level #2   ‘3’ – Level #3   ‘4’ – Level #4   9.4.2 ID DELETION      . ☞Registered ID will be deleted in the controller by presenting the card or input the ID number from the keypad.Present the card to be deleted. The ID number will appear on the LCD. If you don’t have the card, input  8digitID number and <ENT> key from the keypad. If the ID number is found, the ID will be deleted and display “IDDELETED”. If the ID number is not found, the display will show “ UNREGISTERED ID”. You may repeat IDDELETION many times.
 449.4.3 ID LIST         9.4.4 MASTER ID REGISTRATION    MASTER ID REGISTRATION BY CARD        MASTER ID REGISTRATION BY PIN         . LCD will display 5digit ID Index, 8digit I☞D number, 4digit Password, T/S for Reader#1(TA) andReader#2(TB), accessible Readers(RD), operating mode for Reader#1(MA) and Reader#2(MB), the outputlevel(LV). . ☞“EMPTY” message will be displayed if there is no registered user ID. . ☞“FIRST ID” message will be displayed if the LCD displays the ID on the top of the list. . ☞“LAST ID” message will be displayed if the LCD displays the ID on the bottom of the list. . ☞The default Master ID ‘01’ is “00000000” and Password is not used. There are total 10 Master IDs (from “01” to “10”) can be stored in the unit.
 45 9.4.5 ID COUNT       9.4.6 EVENT COUNT            ☞.  This menu displays the total number of registered user ID. Itautomatically counts when you register or delete user IDs. The LCDshows total 123 user IDs registered in the memory. ☞. This menu displays the total number of Event stored in the memory.It automatically increases the count when the Event is stored in thememory. The LCD shows total 12345 Events are stored in thememory. ☞. Total number of Event is 20,000 Event buffers and the Event isautomatically deleted once the Event is successfully uploaded to thehost PC.
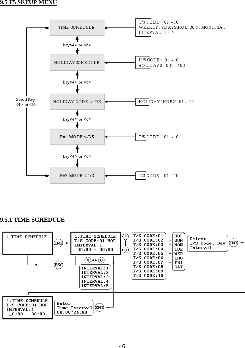
 469.5 F5 SETUP MENU                      9.5.1 TIME SCHEDULE
 47           9.5.2 HOLIDAY SCHEDULE               ☞.    There are 10 Time Schedule Code available for the users. T/S Code “00” is a default and allows the access forall users for all the time. (Access is granted 24 hours per day) The user can program the Time Schedule Codefrom “01” to “10”. Each Time Schedule Code has 8 programmable days (Sun, Mon, Tue, Wed, Thu, Fri, Satand Holiday) and each day has 5 Time Intervals. (Shift time or Accessible time zone) ☞.    LCD will show current T/S settings such as T/S Code, Day, Time Interval and time period. Use <2> or <8> key to scroll up and down the Time Schedule Code (01~10) and a day of the week. (Mon~Sun and Holiday). Use <4> or <6> key to select Time Interval (1 ~ 5). The Holiday in this Time Schedule willbe linked to the Holiday Schedule Code. Select one of the Time Schedule Code, Day and Interval then press <ENT> key to program the time period. This system is based on 24 hours system and therefore the time 00:00 and 24:00 is the same time and 12:00 is12 O’clock afternoon. Enter hour and minutes for start time and hour and minutes for end time of the TimeInterval then press <ENT> key to store T/S to the memory. Press <ESC> key to return to the menu. ☞.    There are 10 Holiday Schedule Code available for the users. Holiday Schedule Code “00” is a default andthere is no Holidays in this code. The user can program the Holiday Schedule Code from “01” to “10”. EachHoliday Schedule Code has 100 programmable holidays. ☞.    LCD will show current H/S settings such as H/S Code, Holiday number and Date. Use <2> or <8> key to scroll up and down the Holiday Schedule Code (01~10) and use <4> or <6> key toselect Holiday number (001 ~ 100).   Select one of the Holiday Schedule Code and Holiday number then press <ENT> key to program holidays. Enter month and date of holiday then press <ENT> key to store H/S to the memory. Press <ESC> key to return to the menu.
 489.5.3 HOLIDAY CODE         9.5.4 READER#1 MODE TIME SCHEDULE                 9.5.5 READER#2 MODE TIME SCHEDULE  READER#2 MODE TIME SCHEDULE setting is the same as 9.5.4 READER#1 MODE T/S setting.        ☞. Holiday Code is to link the Holiday Schedule to the Time Schedule. T/S has 5 Time Intervals for holidays andthis Time Intervals are only applied to the dates of this Holiday Schedule. Default Holiday Schedule Code is‘00’ which means no holidays are applied to T/S. Use <4> or <6> key to scroll up and down the T/S Code (01~10) and press <ENT> key to enter 2digit HolidaySchedule Code and press <ENT> key to store Holiday Index to the memory. Press <ESC> key to return to the menu.☞. There are 2 system operating mode, RF Only Mode, RF+PW Mode. You can setup one of the system operatingmode from [F2 SETUP MODE]->[R1 MODE SETTING] menu. However, you want to apply differentoperating mode for a certain Time Interval for all users. For example, you want to access the door by justpresenting the card for the time from 09:00 to 17:00 and you want to use Password for the rest of the time. Inthis case, setup [R1 MODE SETTING] to RF+PW Mode which is for the system operating mode and program“01” T/S Code which includes a Time Interval 09:00-17:00 then link “01” T/S Code to this function, R1MODE T/S setting here. To link a T/S Code (01~10) to Reader#1 Mode, press <ENT> key. Enter 2digit T/S Code and press <ENT>key to store T/S Code to R1 MODE to the memory. Press <ESC> key to return to the menu. . There are 3 system operating mode, RF Only Mode, ☞ID + Finger Mode and ID + PW + Finger Mode.       You can select one of the system operating mode from [F2 SETUP MENU]->[READER#1 MODE SETTING]however, you want to apply different operating mode     ‘2’ – ID + Finger Mode ‘3’ – ID + PW + Finger Mode
 499.6 F6 SETUP MENU
 50* Default Output Setting for Input Sources  9.6.1 EXIT BUTTON OUTPUT SETTING                   9.6.2 DOOR CONTACT OUTPUT SETTING 9.6.3 AUX INPUT#1 OUTPUT SETTING 9.6.4 AUX INPUT#2 OUTPUT SETTING 9.6.5 TAMPER ALARM OUTPUT SETTING 9.6.6 DURESS ALARM OUTPUT SETTING Output Time setting for above Input Sources are the same as 9.6.1 Exit Button Output setting.  OUTPUT Door Relay (DR) Alarm Relay (AR) TTL#1(T1) TTL#2 (T2) Buzzer(BZ) [1] EXIT BUTTON  03  00  00  00  00 [2] DOOR CONTACT   00  99  00  00  00 [3] AUX Input #1  00  00  00 00  00 [4] AUX Input #2  00  00  00  00 00 [5] TAMPER ALARM  00  99 99 99 99 [6] DURESS ALARM   00  00  00 00  00 [7] OUTPUT TIME SCHEDULE  00  00  00  00  00 [8] INPUT TIME SCHEDULE  00  00  00  00  00 [9] INPUT TYPE  00  00  00  00  00 . You can program ☞OUTPUT activating time when the EXIT button pressed. The value put here is value xsecond when the Time Unit set to 1 second and value/10 second when the Time Unit set to 0.1 sec. You can set the time from 00 to 98 seconds (0.0 to 9.8 seconds if Time Unit set to 0.1 sec.) and if you put thevalue “99”, the Output will activate forever until you reset the Output. Press <4> or <6> key to select Input Sources then press <ENT> key to program the Output time. DR: Door Relay Output AR: Alarm Relay Output T1: TTL#1 Output T2: TTL#2 Output BZ: Buzzer Output
 519.6.7 OUTPUT TIME SCHEDULE SETTING                  9.6.8 INPUT TIME SCHEDULE SETTING                  9.6.9 INPUT TYPE SETTING             . You can ☞link a T/S Code to each Output. The default T/S Code is “00” which means no T/S is applied to theOutputs. This setting is very useful when you want to open the door for a Time Interval. Press <ENT> key to link a T/S Code to the Output then enter 2digit T/S Code for each Output. DR: Door Relay Output T/S Code AR: Alarm Relay Output T/S Code T1: TTL#1 Output T/S Code T2: TTL#2 Output T/S Code BZ: Buzzer Output T/S Code . You can ☞link a T/S Code to each Input. The default T/S Code is “00” which means no T/S is applied to theInputs. This setting is very useful when you want to activate PIR sensor input for a Time Interval. Press <ENT> key to link a T/S Code to the Input then enter 2digit T/S Code for each Input. EX: EXIT Button Input T/S Code DC: Door Contact Sensor Input T/S Code I1: Aux Input#1 T/S Code I2: Aux Input#2 T/S Code TP: Tamper Switch Input T/S Code ☞. You can program input type(00: NO, 01: NC) to each Input. The default input type is “00” which means inputis NO type.   Press <ENT> key then enter 2digit Code for each Input. EX: EXIT Button Input type DC: Door Contact Sensor Input type I1: Aux Input#1 type I2: Aux Input#2 type TP: Tamper Switch is “00” because it is internal device.
 529.7 F7 SETUP MENU
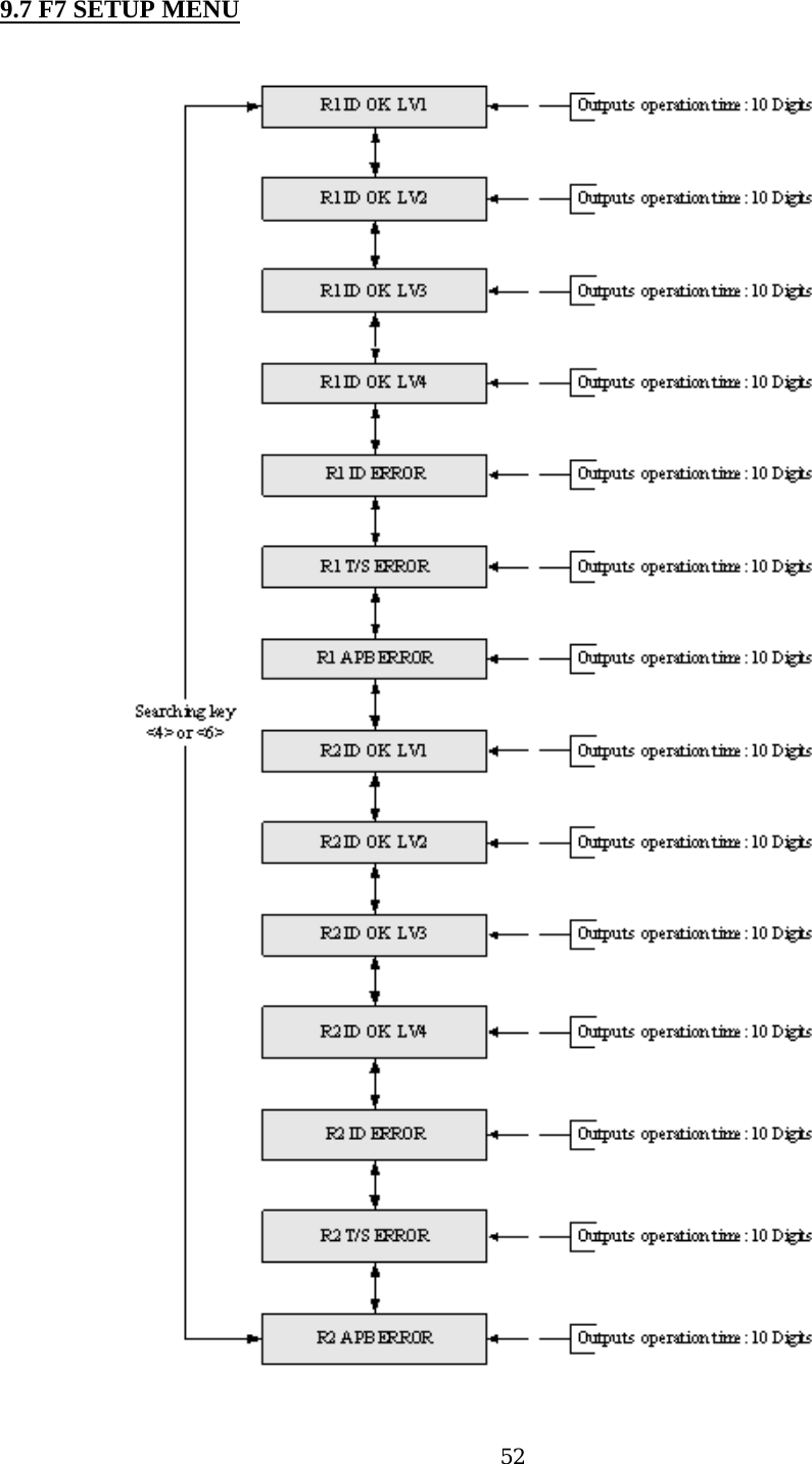
 53* Default Output Setting for Input Circumstance  9.7.1 OUTPUT SETTING FOR READER#1 ID OK LEVEL 1                    Output Time setting from 9.7.2 to 9.7.14 is the same as 9.7.1 RD1 ID OK LV1 Output setting.  OUTPUT Door Relay (DR) Alarm Relay (AR) TTL#1(T1) TTL#2 (T2) Buzzer(BZ) [1] Reader#1 ID OK LV1  03 00  00  00  00 [2] Reader#1 ID OK LV2  05 00  00  00  00 [3] Reader#1 ID OK LV3  05 00  00  00  00 [4] Reader#1 ID OK LV4  05 00  00  00  00 [5] Reader#1 ID Error  00  03  00  00  00 [6] Reader#1 T/S Error  00  03  00  00  00 [7] Reader#1 APB Error  00  03  00  00  00 [8] Reader#2 ID OK  LV1  03 00  00  00  00 [9] Reader#2 ID OK  LV2  05 00  00  00  00 [10] Reader#2 ID OK  LV3  05 00  00  00  00 [11] Reader#2 ID OK  LV4  05 00  00  00  00 [12] Reader#2 ID Error  00  03  00  00  00 [13] Reader#2 T/S Error  00  03  00  00  00 [14] Reader#2 APB Error  00  03  00  00  00 . You can program ☞OUTPUT activating time when the user ID is granted the access from the Reader#1. Thevalue put here is value x second when the Time Unit set to 1 second and value/10 second when the Time Unitset to 0.1 sec. This Output Time is applied for the users registered with Level#1 output. You can set the time from 00 to 98 seconds (0.0 to 9.8 seconds if Time Unit set to 0.1 sec.) and if you put thevalue “99”, the Output will activate forever until you reset the Output. Press <4> or <6> key to select Input Sources then press <ENT> key to program the Output time. DR: Door Relay Output Time AR: Alarm Relay Output Time T1: TTL#1 Output Time T2: TTL#2 Output Time BZ: Buzzer Output Time
 549.7.2 OUTPUT SETTING FOR READER#1 ID OK LEVEL 2 This Output Time is applied for the users registered with Level#2 output. 9.7.3 OUTPUT SETTING FOR READER#1 ID OK LEVEL 3 This Output Time is applied for the users registered with Level#3 output. 9.7.4 OUTPUT SETTING FOR READER#1 ID OK LEVEL 4 This Output Time is applied for the users registered with Level#4 output. 9.7.5 OUTPUT SETTING FOR READER#1 ID ERROR This Output Time is applied if the user is not registered to Reader#1. 9.7.6 OUTPUT SETTING FOR READER#1 T/S ERROR This Output Time is applied if the user is T/S error to Reader#1. 9.7.7 OUTPUT SETTING FOR READER#1 APB ERROR This Output Time is applied if the user is APB error to Reader#1. 9.7.8 OUTPUT SETTING FOR READER#2 ID OK LEVEL 1 This Output Time is applied for the users registered with Level#1 output. 9.7.9 OUTPUT SETTING FOR READER#2 ID OK LEVEL 2 This Output Time is applied for the users registered with Level#2 output. 9.7.10 OUTPUT SETTING FOR READER#2 ID OK LEVEL 3 This Output Time is applied for the users registered with Level#3 output. 9.7.11 OUTPUT SETTING FOR READER#2 ID OK LEVEL 4 This Output Time is applied for the users registered with Level#4 output. 9.7.12 OUTPUT SETTING FOR READER#2 ID ERROR This Output Time is applied if the user is not registered to Reader#2. 9.7.13 OUTPUT SETTING FOR READER#2 T/S ERROR This Output Time is applied if the user is T/S error to Reader#2. 9.7.14 OUTPUT SETTING FOR READER#2 APB ERROR This Output Time is applied if the user is APB error to Reader#2.
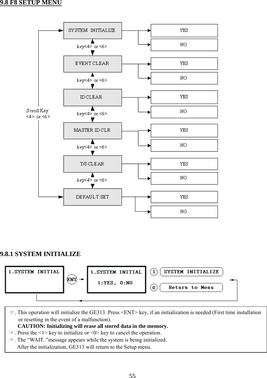
 559.8 F8 SETUP MENU        9.8.1 SYSTEM INITIALIZE                ☞. This operation will initialize the GE313. Press <ENT> key, if an initialization is needed (First time installation or resetting in the event of a malfunction).   CAUTION: Initializing will erase all stored data in the memory. ☞. Press the <1> key to initialize or <0> key to cancel the operation. ☞. The “WAIT..”message appears while the system is being initialized. After the initialization, GE313 will return to the Setup menu.
 569.8.2 EVENT CLEAR                9.8.3 ID CLEAR               9.8.4 MASTER ID CLEAR             ☞. When you want to delete all User IDs (Card IDs), you can clear all User IDs from the memory. Press <ENT>key, then press the <1> key to clear all User IDs or <0> key to cancel the operation. CAUTION: Before clearing all User IDs, make sure that the registered User ID is no longer used otherwiseyou may lose all registered User IDs.   ☞. When the event memory is full or when you want to change ID COUNT, you can clear the event memory inthis menu. Press <ENT> key then press <1> key to clear event memory or <0> key to cancel the operation. CAUTION: Before you clear the events, make sure that the stored events is not necessary to upload to thehost PC otherwise you may lose important data.   ☞. When you want to delete all Master IDs, you can clear all Master IDs from the memory. Press <ENT> key,then press the <1> key to clear all Master IDs or <0> key to cancel the operation. CAUTION: Before clearing all Master IDs, make sure that the registered Master ID is no longer usedotherwise you may lose all registered Master IDs.
 579.8.5 TIME SCHEDULE CLEAR                9.8.6 DEFAULT SETTING                                     ☞. When you want to delete all Time Schedules (01~10), all Holiday schedules(01~10), Holiday code, Reader#1Mode T/S code and Reader#1 Mode T/S code, you can clear them from the memory. Press <ENT> key andpress the <1> key to clear all T/S or <0> key to cancel the operation. CAUTION: Before you clear all T/S, make sure that the stored T/S is no longer used, otherwise you maylose all stored T/S in the memory. ☞. When you want to delete all Default setting value, you can clear them from the memory. Press <ENT> key andpress the <1> key to reload all default setting value clear all T/S or <0> key to cancel the operation. CAUTION: Before you clear all Default setting value(Reader mode, Board ID etc..), make sure that thestored system setting value is no longer used, otherwise you may lose all stored system settingvalue in the memory.
 58APPENDIX  A. THE RELATION BETWEEN INPUT AND OUTPUT (DEFAULT)  * Default Output Setting for Input Sources  * Index No. [1] ~ [6]:   The value indicates operation time (second) of each output for the input signal.   * Index No. [7]:     The value indicates time schedule code (index) that each output operation has to be applied.   * Index No. [8]:     The value indicates the time schedule code (index) that each input #1(Exit button) ~#5 operation has to be applied.   * Index No. [9]:     The value indicates the type of each input #1(Exit button) ~#5 operation.           The “00” is NO(Normal Open) type.           The “01” is NC(Normal Close) type.             OUTPUT INPUT Door Relay (DR) Alarm Relay (AR) TTL#1(T1) TTL#2 (T2) Buzzer(BZ) [1] EXIT BUTTON  03  00  00  00  00 [2] DOOR CONTACT   00  99  00  00  00 [3] AUX Input #1  00  00  00 00  00 [4] AUX Input #2  00  00  00  00 00 [5] TAMPER ALARM  00  99 99 99 99 [6] DURESS ALARM   00  00  00 00  00 [7] OUTPUT TIME SCHEDULE  00  00  00  00  00 [8] INPUT TIME SCHEDULE  00  00  00  00  00 [8] INPUT TYPE  00  00  00  00  00
 59* Default Output Setting for Input Circumstance  * Index No. [1] ~ [14]:   The value indicates operation time (second) of each output for the input signal.                      OUTPUT INPUT Door Relay (DR) Alarm Relay (AR) TTL#1(T1) TTL#2 (T2) Buzzer(BZ) [1] Reader#1 ID OK LV1  03 00  00  00  00 [2] Reader#1 ID OK LV2  05 00  00  00  00 [3] Reader#1 ID OK LV3  05 00  00  00  00 [4] Reader#1 ID OK LV4  05 00  00  00  00 [5] Reader#1 ID Error  00  03  00  00  00 [6] Reader#1 T/S Error  00  03  00  00  00 [7] Reader#1 APB Error  00  03  00  00  00 [8] Reader#2 ID OK  LV1  03 00  00  00  00 [9] Reader#2 ID OK  LV2  05 00  00  00  00 [10] Reader#2 ID OK  LV3  05 00  00  00  00 [11] Reader#2 ID OK  LV4  05 00  00  00  00 [12] Reader#2 ID Error  00  03  00  00  00 [13] Reader#2 T/S Error  00  03  00  00  00 [14] Reader#2 APB Error  00  03  00  00  00
 60B. TROUBLE SHOOTING   ☞ A valid card became unregistered after batch-downloading IDs from PC. Cause  Wrong procedure during download or a component defect. Solution  1.  The card ID might be registered only to the controller and not registered in the PC. During the process of downloading IDs, GE313 first erase the ID memory of the unit, therefore if the IDs from the PC didn’t contain the card ID, this can happen.   2.  Check whether the card ID is registered in the PC. 3.  If not, please register the number and try downloading again. 4.  If the trouble remains after the procedure above, contact a designated service center.  ☞ It doesn’t enter the Setup Mode after entering the Master ID “00000000”. Cause  The Master ID might have been changed or components are defective. Solution  1. Try changing the Master ID through the application S/W (It’ll be changed to “00000000”). 2. When it is not feasible, initialize the unit as following:   After the all installation and connections are completed, press and hold the Initialize button and put the power (+12V DC) to GE313. The LCD will first display “Initialize OK? 0:No 1:Yes”. Press <1> key if you want to initialize the system. After all Initialization process is completed, the system is operating on normal mode and the LCD displays “GE Security, GE313 [F1], Date Time”. 3. If the trouble remains after the procedure above, contact a designated service center.    ☞ When the power off and on after the time setting, the LCD displays “00/00 00:00:01”.   Cause  Of that user mistake, or the system is defective of the device. Solution  1. Check BAT connection S/W.   You have to short the S/W, and system initialize before system installation.                                                    Figure: SWITCH SETTING                  Figure: SWITCH LOCATION 2. If the trouble remains after checking the above, contact a designated service center.
 61☞ No problem with accessing by card, but cannot access with the PIN input. Cause  An error in Setup or possible component defect. Solution  1. Check whether a beep sound is generated when you press a key. When a beep sound is generated, the problem may be an error in setup. Proceed like followings: - Enter the Master ID (“00000000” default) to enter the Setup mode. - Press <F2> key.   - [LANGUAGE] will appear on the LCD, then use the key <6> to choose [RD1_PIN_INPUT] and select ‘USE’ as wanted. 2. When there is no beep sound or already enabled Key-in functions, contact a designated service center.  ☞ The Setup mode suddenly goes back to the Normal operating mode. Cause  Time out error Solution    In the Setup mode, it is programmed to do so when there is no key-in or reading card within 60 seconds.    ☞ Keeps making buzzer sound: “beep~ beep ~ beep” or “beeeeeeeep~~~~”. Cause  Error in Installation, Door status or Internal circuits. Solution  1. Check the door status. It occurs in case that the door is opened over 3sec(Default) after the proper door open time.   2. Check the door contact sensor type: it should be NO type. 3. Check in [7. OUTPUT T/S] of F6, the ten Time schedule code (01~10) value of output T/S. If the time schedule code is set between 01 up to 10 and if the present time is included in the schedule.   If it is set to unintended value, change it to “00” ( Programmable via PC software) 4. Check in Tamper switch of GE313.     5. If the trouble remains after checking the above, contact a designated service center.
 62            ☞ “SCHEDULE ERROR” message shows when RFID card is read. Cause  Error in RFID card registration, time schedule setting or the system itself. Solution  1. If it was a properly operating unit before, there has been an electric shock that damaged the internal memory and data. Please initialize the unit as instructed in the manual.   2. Check if ID information has been put in incorrectly during its registration.   * Register ID again checking the following points.   -In order to restrict access of the ID user for specific time zone as instructed in the manual, register time schedule in advance and apply the time schedule code(1~10) in the registration of the user ID.   - In order to allow the user to access at all times, put in “00”.   3. Use software for time schedule setting in case it is connected to PC as the software manual. 4. If the trouble remains after checking the above, contact a designated service center. ☞ “ACCESS DOOR ERR” message shows when the RF ID card is read. Cause  Incorrect user setting or false of internal circuit. Solution  1. If it was a properly operating unit before, there has been an electric shock that damaged the internal memory and data. Please initialize the unit as instructed in the manual.   2. Check if ID information has been put in incorrectly during its registration.   * Register ID again and check the following points:   - Since the controller has two reader ports, define “RD” – door for the user to be allowed to access (Reader1(Bilt-in reader) only: “1”, Reader 2(Extra reader) only: “2”, Reader 1 & 2 both: “0 or 3”) - If RD is set as “1”, only when the card is read at Reader 1, the door opens but not at Reader2. If it is read at Reader 2, “ACCESS DOOR ERROR” message shows up.   - If RD is set as “2”, only when the card is read at reader 2, the door opens but not at reader1. If it is read at reader 1, “ACCESS DOOR ERROR” message shows up.   - If RD is set as “0 or 3”, reader 1 & 2 both open each door. 3. If the trouble remains after checking the above, contact a designated service center.
 63         ☞ The controller does not communicate with the Host-PC. Cause  A defective cable is used, errors in wiring, an error in setting COMM ID of the controller, or damage on the communication port (either on PC side or on the controller side). Solution  1. Please check the settings of the application S/W and the controller.   - Check if the controller’s COMM ID is listed on the application S/W. - Set the different COMM ID when two or more controllers are installed.   - Check if the communication speed (9600bps default) is the same as the setting on the S/W.   - Make sure that the PC’s COM port is set correctly on the S/W. - The parameters at the S/W should be set as following:   Parity bit   : NONE Data bit    : 8bit  Stop bit    : 1bit  2. Check the line connection for communication. RS232 RS485 (mono) GE313 PC GE313 RS485/232 Converter  PC RX   TX  RTX(-)  RTX(-) TX RX RTX(+) RTX(+) GND GND     The RS232 cable from the converter  RS485(Multi Drop) GE313 GE313 RS485/232Converter  PC RX(-) RX(-)  TX(-) RX(+) RX(+)  TX(+) The RS232 cable from   the converter  3. In case of setting RS485 communication, we recommend to use line-end resistors of 120 Ohm between the RTX (+) and RTX (-) lines. Apply the same resistors to the converter RS485 lines. Consult a service center or an electric technician if you are not sure how to do it. 4. When a multi-drop communication doesn’t work, test one-by-one communication first. 5. If the trouble remains after the procedure above, contact a designated service center.
 64 FCC REGISTRATION INFORMATION     FCC REQUIREMENTS PART 15  Caution: Any changes or modifications in construction of this device which are not expressly approved by the manufacturer for compliance could void the user's authority to operate the equipment.  NOTE: This device complies with Part 15 of the FCC Rules.  Operation is subject to the following two conditions; 1. This device may not cause harmful interference, and 2. This device must accept any interference received, including interference that may cause undesired operation.  This equipment has been tested and found to comply with the limits for a Class A Digital Device, pursuant to Part 15 of the FCC Rules. These limits are designed to this equipment generates, uses, and can radiate radio frequency energy and, if not installed and used in accordance with the instructions, may cause harmful interference to radio communications. However, there is no guarantee that interference will not occur in a particular installation. If this equipment does cause harmful interference to radio or television reception, which can be determined by turning the radio or television off and on, the user is encouraged to try to correct interference by one or more of the following measures.  1. Reorient or relocate the receiving antenna. 2. Increase the separation between the equipment and receiver. 3. Connect the equipment into an outlet on another circuit. 4. Consult the dealer or an experienced radio/TV technician for help.
 65 WARRANTY AND SERVICE    GE313 warranty is 1 years from the shipping date; returns must have an RMA (Return Material Authorization) number. The customer is to provide a description of the specific problem. The customer is to include serial numbers, formats, and model numbers with the items to be returned.  IN THE UNITED STATES  RF LOGICS Inc. Service Center 370 Amapola Ave.#106, Torrance, CA90501 Tel.: 310-782-8383 Fax.: 310-782-8292 E-mail: rflogics@rflogics.com Web-site: www.rflogics.com  OUTSIDE OF THE UNITED STATES  ID TECK CO., LTD. Service Center 5F Ace Techno Tower B/D. 684-1 Deungchon-dong, Gangsuh-gu, SEOUL 157-030, KOREA Tel.: +82-(2)-2659-0055 Fax.: +82-(2)-2659-0086 E-mail: webmaster@idteck.com Web-site: www.idteck.com  Technical Support(in korea)  E-mail : HTtechsupport@idteck.comTH Hotline: +82-16-604-8965 (Customer support) +82-17-340-4170(R&D)   Please use the original container, or pack the unit(s) in a sturdy carton with sufficient packing to prevent damage, include the following information: 1. A proof-of-purchase indicating model number and date of purchase. 2. Bill-to address 3. Ship-to address 4. Number and description of units shipped. 5. Name and telephone number of person to contact. 6. Reason for return and description of the problem.  NOTE: Damage occurring during shipment is deemed the responsibility of the carrier, and claims should be made directly to the carrier.
 66RMA REQUEST FORM & A/S REQUEST FORM     RMA REQUEST FORM : ORIGINAL  ID TECK Co., LTd 5F, Ace Techno Tower B/D, 684-1, Deungchon Dong, Gangsuh Gu, Seoul, Korea 157-030 TEL : +82-2-2659-0055, FAX ; +82-2-2659-0086, www.idteck.com  RMA REQUEST FORM RMA No. & Date : Original Invoice No. & Date : Send To RMA Control Center 5F, Ace Techno Tower B/D 684-1, Deungchon-Dong, Kangsuh-Gu Seoul, Korea, 157-030 Sales Person In Charge Requested From : Shipping Port :   Air / Vessel :   Departure Date :  NO Model  Serial Number  Error Check Box by shipper    RS 232 Com. □ Input/Output □ Power □ Keypad □ Card Reading □ RS 422 Com □ 1  Engineer Comment  Others □ :   RS 232 Com. □ Input/Output □ Power □ Keypad □ Card Reading □ RS 422 Com □ 2  Engineer Comment  Others □ :   RS 232 Com. □ Input/Output □ Power □ Keypad □ Card Reading □ RS 422 Com □ 3  Engineer Comment  Others □ :   RS 232 Com. □ Input/Output □ Power □ Keypad □ Card Reading □ RS 422 Com □ 4  Engineer Comment  Others □ :     RS 232 Com. □ Input/Output □ Power □ Keypad □ Card Reading □ RS 422 Com □ 5  Engineer Comment  Others □ :   Manufacture’s Verification Product Defective :   User’s Misuse : Communication Error : Installation Error : Connection Error : Others : Packing Details Dimension(L:W:H) :                              No. of Units Net & Gross Weight :                             No. of Boxes Requested By                                              Received By                                                                                     Buyer’s Signature                                          IDTECK’s Signature
 67 RMA REQUEST FORM : SAMPLE  ID TECK Co., LTd  5F, Ace Techno Tower B/D, 684-1, Deungchon Dong, Gangsuh Gu, Seoul, Korea 157-030 TEL : +82-2-2659-0055, FAX ; +82-2-2659-0086, www.idteck.com   RMA REQUEST FORM RMA No. & Date : We send this No. , when you want. Original Invoice No. & Date : 00-00-0-000 / 1990.01.01Send To RMA Control Center 5F, Ace Techno Tower B/D 684-1, Deungchon-Dong, Kangsuh-Gu Seoul, Korea, 157-030 Sales Person In Charge                      Karina Kwak Requested From :  Mr. Luis Castro   ABC Company,… address….  Tokyo, Japan Shipping Port :  Narita Air / Vessel :  Air Departure Date :  2003, 11. 25 NO Model  Serial Number  Error Check Box by shipper 505R XXXXXXXXXXXXX RS 232 Com. □ Input/Output □ Power ▣ Keypad ▣ Card Reading ▣ RS 422 Com □ 1  Engineer Comment Write problem to be detailed.  Others □ :   others   RS 232 Com. □ Input/Output □ Power □ Keypad □ Card Reading □ RS 422 Com □ 2  Engineer Comment  Others □ :   RS 232 Com. □ Input/Output □ Power □ Keypad □ Card Reading □ RS 422 Com □ 3  Engineer Comment  Others □ :   RS 232 Com. □ Input/Output □ Power □ Keypad □ Card Reading □ RS 422 Com □ 4  Engineer Comment  Others □ :     RS 232 Com. □ Input/Output □ Power □ Keypad □ Card Reading □ RS 422 Com □ 5  Engineer Comment  Others □ :   Manufacture’s Verification Product Defective :   User’s Misuse : Communication Error : Installation Error : Connection Error : Others : Packing Details Dimension(L:W:H) :   30 * 25 * 80                   No. of Units     20    Net & Gross Weight :        10Kg                      No. of Boxes     2 Requested By                                              Received By        XXXXXXXX                                                                Buyer’s Signature                                      IDTECK’s Signature
 68 A/S REQUEST FORM : ORIGINAL
 69  A/S REQUEST FORM : SAMPLE
 70MEMO
The specification contained in this manual are subject to change without notice at any time.   5F, Ace Techno Tower B/D, 684-1, Deungchon-Dong, Gangsuh-Gu, Seoul, Korea 157-030   Tel : (82) 2 2659-0055   Fax : (82) 2 2659-0086  E-mail : webmaster@idteck.com MAR. 2005 Copyright ©2004 IDTECK Co., Ltd.

Navigation menu