IDTECK LX007 RFID With Finger Printer User Manual LX007 English 071001

ID-Teck Co Ltd RFID With Finger Printer LX007 English 071001

Contents

User Manual 2

                                                                                   29      assigns both readers (Built-in Reader and Exit Reader) to grant access to the user that is being registered, code ‘1’ only assigns Reader#1 (Built-in Reader) and code ‘2’ assigns Reader#2 (Exit Reader). If you enter ‘1’ in the RD field(Only Reader#1 assigned) and try to exit through Reader#2 (Exit Reader) then the LX007 generates an error message (“Access Door Error”) on the LCD display.  7. C – refers to the ID code. Code ‘0’ is default and codes ‘1’ and ‘2’ are codes used for the TWO MEN MODE. Code ‘3’ is used for the ARM/DISARM function and code ‘4’ is assigned for lost cards.  8. MA – refers to the Operating Mode of the Reader#1 (i.e.  the built-in reader) for the cardholder. If you enter ‘1’ for MA, for example, Reader#1 will be operating on RF Only Mode always. • ‘0’ – System Operating Mode (Path: [F1 SETUP MENU] > [READER#1 MODE]) • ‘1’ – ID Only Mode • ‘2’ – ID + Fingerprint (Password)   • ‘3’ – ID + Password + Fingerprint  9. MB – refers to Operating Mode of the Reader#2 (Exit Reader) for the cardholder. If you enter ‘1’ for MB, for example, Reader#2 will be operating on RF Only Mode always. • ‘0’ – System Operating Mode (Path: [F1 SETUP MENU] > [READER#1 MODE]) • ‘1’ – ID Only Mode • ‘2’ – ID + Password Mode  10. LV – refers to the Output Operating Level for the cardholder. Output operating time can be set for each user. To configure an Output operating time for each level, refer to the instructions on Output Setting in the [F6 SETUP MENU]. • ‘0’ or ‘1’ – Level #1 • ‘2’ – Level #2 • ‘3’ – Level #3 • ‘4’ – Level #4  11. FP – is the Fingerprint Usage Flag (1 digit). You can decide whether or not the user will register and use a fingerprint. • ‘0’ – User without a Fingerprint • ‘1’ – User with a Fingerprint
                                                                                   30      c) How to Place Your Finger onto the Sensor   When you enroll or verify your fingerprint, please place your finger onto the scanner correctly in the way depicted below.            Figure: How to put your finger on the scanner   11. OPERATIONS  11.1 Normal Operation Power on When power is applied to the LX007, the Red LED is lit.  Registered card reading When a registered card (or a PIN) is read and his/her fingerprint is verified, the Door (Relay#1) will open for 3 seconds (Default) with the Green LED on.  Exit button After the Exit Button is pressed, the Door (Relay#1) will stay open for 3 seconds with the Green LED on.  Alarms If an unregistered card is read or a user’s fingerprint fails to be verified, the access will be denied and an alarm (Relay#2) will be activated for 3 seconds with the Yellow LED on.  11.2 Default Setting When you operate the system for the first time or after the system has been initialized, the factory setting values (i.e. the default settings) will be restored in the memory. You can change the settings for the desired application.
                                                                                   31      12. Setting Changes                          To set up the LX007 or to change the settings, you have to enter the SETUP MENU first. To do so, press <0> key eight (or ten) times and <ENT> key on the keypad. (The Default Master ID is ‘00000000’. For the LX007SR, it’s ‘0000000000’.) There are 10 SETUP MENUS and you automatically enter [F1 SETUP MENU] first. You can move to other SETUP MENUS by pressing <F1> to <F10> keys. For example, if you want to go to [F2 SETUP MENU], then press <F2> key. To enter [F5 SETUP MENU], press <F5> key, and so on and on. There are several SUBMENUS inside each SETUP MENU and you can scroll up and down the SUBMENU by pressing <4> and <6> key. If you don’t press any key within 60 seconds or if you press <ESC> key, the LX007 will exit the SETUP MENU and return to the normal operating mode. You can change the Master ID in the [F7 SETUP MENU].     INITIAL DISPLAY(MODEL NAME, CURRENT TIME)ID INPUT?MASTER ID /PW/FINGERPRINT ?YESYESNONORMAL OPERATIONS  MODESETUP MODENOF1 SETUP MENUF2 SETUP MENUF3 SETUP MENUF4 SETUP MENUF5 SETUP MENUF6 SETUP MENUF7 SETUP MENUF8 SETUP MENUF9 SETUP MENUF10 SETUP MENU
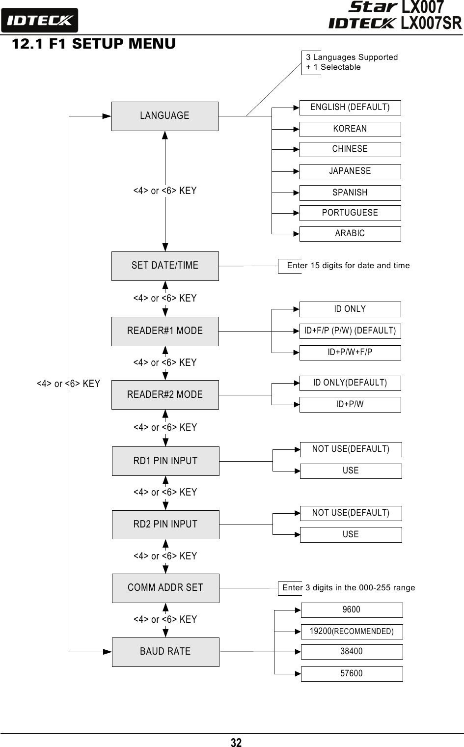
                                                                                   32      12.1 F1 SETUP MENU                                               LANGUAGESET DATE/TIMEREADER#1 MODEENGLISH (DEFAULT)<4> or <6> KEY<4> or <6> KEY<4> or <6> KEY<4> or <6> KEYREADER#2 MODERD1 PIN INPUTRD2 PIN INPUT<4> or <6> KEY<4> or <6> KEY<4> or <6> KEYCOMM ADDR SET<4> or <6> KEYBAUD RATEKOREANCHINESEJAPANESESPANISHPORTUGUESEEnter 15 digits for date and timeID ONLYID+F/P (P/W) (DEFAULT)ID+P/W+F/PID ONLY(DEFAULT)ID+P/WNOT USE(DEFAULT)USENOT USE(DEFAULT)USE960019200(RECOMMENDED)3840057600ARABIC 3 Languages Supported + 1 SelectableEnter 3 digits in the 000-255 range
                                                                                   33      12.1.1 Language               12.1.2 Date and Time Setting           12.1.3 Reader #1 Mode                    The default language is English. Supported languages include English, Spanish, Portuguese and one of Chinese, Korean, Japanese and Arabic (selectable).  e.g. 200302101330152 = Feb. 10, 2003, 13:30:15, MondayNOTE: READER#1 is the built-in proximity reader in the unit.  ID(PIN) ONLY: In this mode, users can access the door by simply presenting their card or entering their ID number.  ID+F/P(P/W): In this mode, users can access the door by presenting their card or entering their ID number and then verifying their identity by a fingerprint or a password.  ID+P/W+F/P: In this mode, users can access the door by presenting their card or entering their ID number and then verifying their identity by both a fingerprint and a password.
                                                                                   34      12.1.4 Reader #2 Mode  The READER#2 MODE setting can be configured in the same way as READER#1 MODE setting in the previous section.          12.1.5 Reader #1 PIN Input                 12.1.6 Reader #2 PIN Input  READER#2 PIN INPUT setting can be configured in the same way as READER#1 PIN INPUT setting in the previous entry   12.1.7 Communication Address Setting           This setting allows you to decide whether to USE or NOT USE the keypad inputs for the Reader#1.The default setting is NOT USE the keypad inputs. If you want to access the door by entering the user ID by keypad, set this mode USE. NOTE: Set this mode to USE when you use the password verification method. NOTE: READER#2 is the Exit Reader connected to the LX007.  ID ONLY: In this mode, users can exit/enter the door by simply presenting their card or entering their ID number.  ID+P/W: In this mode, users can exit/enter the door by presenting their card or entering their ID number and then verifying their identity through a password.
                                                                                   35           12.1.8 Baud Rate Setting                           The LX007 supports different Baud Rates of 9600, 19200, 38400 and 57600bps. The recommended Baud Rate is 19200bps. An incorrect Baud Rate setting will result in communication errors. Note that you should always set the same Baud Rate for the same communication network.    If you have a communication problem, please check the followings; - Check the Communication Address for both the LX007 and the host PC in the Software. - Check the Baud Rate setting of both the LX007 and the host PC software. - Check the COM port and the cable. - Check the COM port settings of the host PC (Parity Bit: None, Data Bit: 8 bits, Stop Bit: 1 bit)The default Communication Address is “000”Set different Communication Addresses for each unit in the loop.
                                                                                   36      12.2 F2 SETUP MENU                                                APB MODEDURESS MODEWIEGAND OUTPUT<4> or <6> KEY<4> or <6> KEY<4> or <6> KEY<4> or <6> KEYOPEN ALR TIMEEVENT MEMORYID DISPLAYTIME UNIT<4> or <6> KEY<4> or <6> KEY<4> or <6> KEYOUTPUT T/S+ID<4> or <6> KEYUSE(DEFAULT)NOT USEMESSAGE(DEFAULT)ID+MESSAGEUNIT: 1 SEC (DEFAULT)UNIT: 0.1 SECNOT USE(DEFAULT)USENOT USE(DEFAULT)USENOT USE(DEFAULT)USENOT USE(DEFAULT)USEALL FLAG RESETDURESS P/W SETTINGEnter 2 digits for Open Alarm Time
                                                                                   37      12.2.1 Event Memory                  12.2.2 ID Display                    12.2.3 Time  Unit  Setting         You can select whether to activate the event memory or not. If you set the event memory to USE, the LX007 generates an error message and keeps all event transactions stored in the memory. If you select NOT USE, however, the LX007 will not generate an error message and new events will be overwritten into the event buffers. If you use the LX007 in a stand alone configuration (just for door access), select NOT USE. If you want to display user ID numbers on the LCD, select ID+MESSAGE.    MESSAGE: A text message and asterisks “********” will appear and the user ID number won’t be displayed.    ID+MESSAGE: The user ID number will be displayed on the LCD with a text message.  The default setting is ‘MESSAGE’.
                                                                                   38                        12.2.4 Output T/S + ID                       12.2.5 Anti-pass Back Mode         This setting allows you to define the unit of time. 1sec: Output Time is calculated in the time unit of 1 second for the IN/OUT definition.  0.1sec: Output Time is calculated in the time unit of 1/10 second (or 100ms) for the IN/OUT definition  e.g. If you want to activate the Door Relay (Relay #1, DR) for 3 seconds, appropriate setting values are as follows;           - The Time Unit should be set to 1 SEC.                     - The Door Relay (DR) Output Time should be set to “03”. e.g. If you want to activate Door Relay (Relay #1, DR) for 0.5 second, appropriate setting values are as follows;           - The Time Unit should be set to 0.1 SEC.                     - The Door Relay (DR) Output Time should be set to “05”. The ‘Output Time Schedule’ setting can be used to generate outputs and keep the door open for a certain assigned period of time. If you set this ‘Output Time Schedule + ID’ option to NOT USE here, however, the door won’t open when time comes, until someone is allowed access. Of course, the door is automatically locked after the assigned time is over.  NOT USE: The door unlocks at the beginning of the Time Interval of the Time Schedule code.  USE: The door unlocks when a registered user is allowed to access the door for the first time after the Time Interval of the applied Time Schedule begins.   The default setting is NOT USE
                                                                                   39                  12.2.6 Duress Mode                      12.2.7 Wiegand Output           You can set Duress Mode for Reader#1. The default setting is NOT USE. If you select USE, the LCD will display the default Duress Password ‘00’. You can enter the desired 2-digit Duress Password.  NOTE | In case of duress, enter the 2-digit Duress Password and press <ENT> key prior to presenting the card. The door will be opened as usual, but the Duress Alarm will be generated and reported to the host PC. CAUTION | The Duress Password and ARM and DISARM codes must differ. The Anti-pass back feature is used to prevent an identical user from entering or exiting the door more than twice in a row. This mode can be applied only when an Exit Reader is installed. Do not set this mode to USE if an Exit Button is not installed.     NOT USE: The Anti-pass back feature is disabled.  USE: The Anti-pass back feature is enabled.  ALL FLAG RESET: All Anti-pass back flags are reset, and access will be allowed one time regardless of the status of the existing flags.
                                                                                   40                  12.2.8 Door Open Alarm Time Setting                    The ‘Door Open Alarm Delay’ is the difference between the Door Open Time and the point at which the Door Open Alarm starts ringing.   00: The alarm will ring if the door isn’t closed after the Door Relay time.  01~98: The alarm will ring if the door is not closed after the door open time and over the alarm delay time. (01~98 sec.)  99: No alarm.  NOTE | A Door Contact Sensor must be installed on the door for this application.This feature allows you to use the LX007 as a reader (as opposed to as a controller). If this setting is set to USE, the LX007 sends 26bit Wiegand Output through two TTL output ports.   NOT USE: Normal TTL outputs will be activated.    USE: 26bit Wiegand outputs will be generated through TTL1 and TTL2 ports. When a registered card is read, the “CARD SCANNING OK” message will appear on the LCD. (TTL1 : Data 0    TTL2 : Data 1)
                                                                                   41      12.3 F3 SETUP MENU                                      12.3.1 Print Output          ONE TIME READ<4> or <6> KEYPRINT OUTPUTVOICE VOLUMEARM/DISARM<4> or <6> KEY<4> or <6> KEY<4> or <6> KEYTWO MEN MODE<4> or <6> KEYNOT USE(DEFAULT)AUTO PRINT0(MUTE) - 4(MAXIMUM)NOT USE(DEFAULT)USEMAX. USER SETUP<4> or <6> KEY10,000(DEFAULT)20,000MANUAL PRINTNOT USE(DEFAULT)USENAME DISPLAY<4> or <6> KEYNOT USE(DEFAULT)USEEnter a 2-digit ARM/DISARM code
                                                                                   42                12.3.2 Voice Volume              12.3.3 Arm/Disarm                      If connected to a serial printer, the LX007 can send the printer the details of new events including ID, data, time, function key, etc.  AUTO PRINT: Print outputs are generated for every new event.  MANUAL PRINT: By pressing ‘0’ (no printing) or ‘1’ (printing) key, you can manually select whether or not to print a new event.  NOT USE: No printing output. The LX007 tells you its status out loud. You can adjust the volume of the voice from 0 (mute) to 4 (maximum). New voices can be downloaded through communications with the host PC. This setting allows you to set the Arm Code and the Disarm Code. After setting the Arm Code or Disarm Code, you can set the LX007 to the ARM mode by entering the ARM code and presenting an ARM/DISARM card (i.e. a card that was registered with Code 3). In this mode, the LX007 can generate outputs so that it can operate with other security systems. Once this mode is set, all readers stop reading cards. To DISARM the LX007, enter the Disarm Code and present an ARM/DISARM card.   CAUTION | The ARM Code, DISARM Code, and Duress Code must all differ.
                                                                                   43      12.3.4 Two Men Mode               12.3.5 One Time Read              12.3.6 Max. User Setup                 To apply this feature, cards designated for guides should be registered into the Admin Group(C:1) as ID(1) and visitor cards into the Visitor Group(C:2) as ID(2). If configured in the two-man mode, the LX007 won't grant access until one ID(1) guide card and one ID(2) visitor card are presented in a series within a certain time length. If this option is set to USE, an identical ID won’t be read twice within 30 seconds. You can select the maximum number of user registrations; 10,000 or 20,000. If the maximum number of registrants is set to 20,000, the maximum number of event transactions becomes 10,000.   CAUTION: Before changing the maximum number of users, you should initialize the device.
                                                                                   44      12.3.7 Name Display              The Name Display option is used to determine whether the unit will display the name of the user who receives access.   NOTE: User names can only be downloaded from the software. If you register a new user on the device, the name of the user can’t be entered and, therefore, won’t be displayed when the user receives access. CAUTION: If you set this option to USE, the maximum number of IDs that can be registered is limited to 10,000. Also, you can set this option to USE only when there’s no registered ID because the memory structure is different when the name display option is applied.
                                                                                   45      12.4 F4 SETUP MENU                                 12.4.1 Time  Schedule                TIME SCHEDULEHOLIDAYHOLIDAY CODE<4> or <6> KEY<4> or <6> KEY<4> or <6> KEY<4> or <6> KEYRD1 MODE <-T/SRD2 MODE <-T/S<4> or <6> KEYT/S/ CODE: 01 - 10Weekly : 8 DAYS, HOL, SUN, MON, … , SATINTERVAL: 1- 10H/S CODE: 01 - 10HOLIDAYS: 001 - 100HOLIDAY INDEX: 01T/S CODE: 0 - 10T/S CODE: 0 - 10VOICE <-T/S<4> or <6> KEYT/S CODE: 0 - 10
                                                                                   46                         12.4.2 Holiday                            There are 10 Time Schedule Codes available for users. Time Schedule Code “00” is the default setting that allows access to all users at any time. The user can program the Time Schedule Codes 01 to 10. Each Time Schedule Code has 8 programmable days (i.e. Sun, Mon, Tue, Wed, Thu, Fri, Sat and Holiday) and each day has 5 Time Intervals (i.e. Shift Time or Accessible Time Zone.)   The LCD will show the current Time Schedule settings such as T/S Code, Day, Time Interval and time period. Use <2> or <8> key to scroll up and down the Time Schedule Code (01~10) and a day of the week. (Mon - Sun and Holiday). Use <4> or <6> key to select Time Interval between 1 and 5. The Holiday in this Time Schedule will be linked to the Holiday Schedule Code. Select one of the Time Schedule Code, Day and Interval, and then press <ENT> key. This system is based on 24-hour system and therefore the time 00:00 and 24:00 refer to the same time and 12:00 refers to 12 O’clock afternoon. Enter the hour and minute of the start time and hour and minutes for end time of the Time Interval then press <ENT> key to store T/S to the memory. Press <ESC> key to return to the menu.   There are 10 Holiday Schedule Codes available for users. Holiday Schedule Code “00” is the default code, which includes no Holidays in it. The user can program the Holiday Schedule Codes 01 to 10. Each Holiday Schedule Code can have up to 100 programmable holidays.  The LCD will show current H/S settings including H/S Code, Holiday number and Date. Use <2> or <8> key to scroll up and down from the Holiday Schedule Code 01 to 10 and use <4> or <6> key to select from Holiday number 001 to 100.   Select one of the Holiday Schedule Code and Holiday number then press <ENT> key. Enter the month and date of the holiday, then press <ENT> key to store the Holiday Schedule to the memory. To return to the previous menu, press <ESC> key.
                                                                                   47      12.4.3 Holiday Code                    12.4.4 Reader#1 Mode Time Schedule                      12.4.5 Reader#2 Mode Time Schedule  The READER#2 MODE TIME SCHEDULE setting can be configured in the same way as READER#1 MODE T/S setting, which is explained in the previous section.  The Holiday Code setting allows you to link a Holiday Schedule to a Time Schedule. A Time Schedule has 5 Time Intervals for holidays and the Time Intervals are applied only to the dates of this Holiday Schedule. The default Holiday Schedule Code is ‘00’ which means no holidays are applied to the Time Schedule.    Use <4> or <6> key to scroll up and down from the T/S Code 01 to 10 and press <ENT> key. Then, enter a 2-digit Holiday Schedule Code and press <ENT> key to store the changed Holiday Index settings to the memory. To return to the previous menu, press <ESC> key.  There are 3 system operating modes including RF Only Mode, RF+F/P Mode and RF+PW+F/P Mode. You can select one of these system operating modes at [R1 MODE SETTING] from [F1 SETUP MENU]. However, you may apply a different operating mode to all users during a certain Time Interval. For example, suppose you want to access the door by only presenting a card from 09:00 to 17:00 and use the Fingerprint Verification method for the rest of the time. Then, you can do so by setting [R1 MODE SETTING] to RF+F/P Mode, which is for the system operating mode, and then program T/S Code 01 so that it can include a Time Interval between 09:00 and 17:00. Then, here, link the programmed Time Schedule Code 01 to the R1 MODE Time Schedule setting. To link a Time Schedule Code (01~10) to Reader#1 Mode, first, press <ENT> key and get into the setting mode. Then, enter the 2-digit Time Schedule Code and press <ENT> key to store and apply the Time Schedule Code to R1 MODE. To return to the previous menu, press <ESC> key.
                                                                                   48      12.4.6 Voice Time Schedule                  The Voice T/S feature allows you to apply time schedules to the voice message output. You can configure the unit to play voice messages in a certain time range and mute them at other times.  To apply a time schedule code, enter the times schedule code you want. Within the time range assigned by the time schedule, voice messages will be played while at other times, they will not be played.  Using this feature, for example, you can configure the unit to play voice messages in the daytime and mute them at night.
                                                                                   49      12.5 F5 SETUP MENU                              TAMPER ALARM<4> or <6> KEYEXIT BUTTONDOOR CONTACTAUX INPUT #1AUX INPUT #2DR TIME OUTCUT OFF ALARMDURESS ALARMCUT OFF CHECKARM/DISARM OUTOUTPUT T/SINPUT T/SINPUT TYPEOutput operation time: 10 DIGITSOutput operation time: 10 DIGITSOutput operation time: 10 DIGITSOutput operation time: 10 DIGITSOutput operation time: 10 DIGITSOutput operation time: 10 DIGITSOutput operation time: 10 DIGITSOutput operation time: 10 DIGITSOutput operation time: 10 DIGITSOutput operation time: 10 DIGITSOutput operation time: 10 DIGITSOutput operation time: 10 DIGITSOutput operation time: 10 DIGITS
                                                                                   50      Default Output Settings for Input Sources   12.5.1 Exit Button Output Setting                       OUTPUT Door Relay (DR) Alarm Relay (AR) TTL#1 (T1) TTL#2 (T2) Buzzer (BZ) [1] EXIT BUTTON 03 00 00 00 00 [2] DOOR CONTACT 00 99 00 00 00 [3] AUX Input #1 00 00 00 00 00 [4] AUX Input #2 00 00 00 00 00 [5] TAMPER ALARM 00 99 99 99 99 [6] CUT OFF ALARM 00 00 00 00 00 [7] DURESS ALARM 00 00 00 00 00 [8] ARM/DISARM OUT 00 00 00 00 00 [9] DR TIME OUT 00 00 00 00 00 [10] OUTPUT TIME SCHEDULE 00 00 00 00 00 [11] INPUT TIME SCHEDULE 00 00 00 00 00 [12] CUT OFF CHECK 00 00 00 00 00 [13] INPUT TYPE 00 00 00 00 00 9 You can program the Output Activation Time, the length of time for which the output is activated after the EXIT button is pressed.   9 Let’s say, we put ‘03’ for one of the fields, If the unit of time is set to ‘1 sec’, then the activation time will be 3 seconds. If the unit of time is set to ‘0.1 sec’, then the activation time will be 0.3 seconds (or 300 ms.)   9 You can set the time somewhere between 00 and 98 seconds (or between 0.0 and 9.8 seconds if the Time Unit is set to 0.1 sec.) If you put “99”, the corresponding output will be activated forever until you reset the output.  z DR: Door Relay Output z AR: Alarm Relay Output z T1: TTL#1 Output z T2: TTL#2 Output z BZ: Buzzer Output
                                                                                   51      12.5.2 Door Contact Output Setting  12.5.3 Aux Input#1 Output Setting  12.5.4 Aux Input#2 Output Setting  12.5.5 Tamper Alarm Output Setting  12.5.6 Cut Off Alarm Output Setting  12.5.7 Duress Alarm Output Setting  12.5.8 Arm/Disarm Output Setting  12.5.9 DR Time Output Setting  The rest of output activation time settings above can be configured in the same way as the Exit Button Output Setting in the section 12.6.1, which means you can refer to that section to get some idea as to how to do the configuration.   12.5.10 Output Time Schedule Setting                        9 You can assign a Time Schedule Code to each output. The default Time Schedule Code for every output is “00”, which means no Time Schedule is applied to them.   9 Changing these settings can be very useful when you want to open the door during a certain Time Term. Press <ENT> key enter the setting mode and enter a 2-digit Time Schedule Code for each output.    z DR: Door Relay Output T/S Code z AR: Alarm Relay Output T/S Code z T1: TTL#1 Output T/S Code z T2: TTL#2 Output T/S Code z BZ: Buzzer Output T/S Code
                                                                                   52      12.5.11 Input Time Schedule Setting                     12.5.12 Cut Off Check Setting              12.5.13 Input Type Setting              9 You can assign a Time Schedule Code to each Input. The default Time Schedule Code for every input is “00”, which means no Time Schedule is applied to them. Changing these settings can be very useful when you want to activate PIR sensor input during a certain period of time. 9 Press <ENT> key to enter this setting mode, then enter a 2-digit Time Schedule Code for each input.  z EX: EXIT Button Input T/S Code z DC: Door Contact Sensor Input T/S Code z I1: Aux Input#1 T/S Code z I2: Aux Input#2 T/S Code z TP: Tamper Switch Input T/S Code You can choose whether or not to check the connection cutoff of each input port. ‘00’ means not using this feature and ‘01’ means using it. CAUTION: Before applying this feature, a 2.2K resistor should be connected between the input wire and the GND. You can program each input for either NO(Normally Open) or NC(Normally Close) operation. ‘00’ means NO while ‘01’ means NC. The default setting is 00(NO).
                                                                                   53      12.6 F6 SETUP MENU                                             RD1 ID ERROR<4> or <6> KEYRD1 ID OK LV1RD1 ID OK LV2RD1 ID OK LV3RD1 ID OK LV4RD2 ID OK LV2RD1 T/S ERRORRD1 APB ERRORRD2 ID ERRORRD2 ID OK LV1RD2 ID OK LV3RD2 ID OK LV4RD2 T/S ERRORRD2 APB ERROROutput operation time: 10 DIGITSOutput operation time: 10 DIGITSOutput operation time: 10 DIGITSOutput operation time: 10 DIGITSOutput operation time: 10 DIGITSOutput operation time: 10 DIGITSOutput operation time: 10 DIGITSOutput operation time: 10 DIGITSOutput operation time: 10 DIGITSOutput operation time: 10 DIGITSOutput operation time: 10 DIGITSOutput operation time: 10 DIGITSOutput operation time: 10 DIGITSOutput operation time: 10 DIGITS
                                                                                   54      Default Output Setting for Different Inputs   12.6.1 Output Setting for Reader#1 ID OK Level 1                       OUTPUT Door Relay (DR) Alarm Relay (AR) TTL#1 (T1) TTL#2 (T2) Buzzer (BZ) [1] Reader#1 ID OK LV1 03 00 00 00 00 [2] Reader#1 ID OK LV2 05 00 00 00 00 [3] Reader#1 ID OK LV3 05 00 00 00 00 [4] Reader#1 ID OK LV4 05 00 00 00 00 [5] Reader#1 ID Error 00 03 00 00 00 [6] Reader#1 T/S Error 00 03 00 00 00 [7] Reader#1 APB Error 00 03 00 00 00 [8] Reader#2 ID OK LV1 03 00 00 00 00 [9] Reader#2 ID OK LV2 05 00 00 00 00 [10] Reader#2 ID OK LV3 05 00 00 00 00 [11] Reader#2 ID OK LV4 05 00 00 00 00 [12] Reader#2 ID Error 00 03 00 00 00 [13] Reader#2 T/S Error 00 03 00 00 00 [14] Reader#2 APB Error 00 03 00 00 00 9 You can program the Output Activation Time, the length of time during which the output is activated after the EXIT button is pressed. The actual Output Activation Time equals either V seconds, provided that the Time Unit is set to 1 second, or V/10 seconds, provided that the Time Unit is set to 0.1 second. (V=Activation Time Value assigned for each output.) 9 You can set the time somewhere between 00 and 98 seconds (between 0.0 and 9.8 seconds if the Time Unit is set to 0.1 sec.) If you put “99”, the corresponding output will be activated forever until you reset the Output.  z DR: Door Relay Output z AR: Alarm Relay Output z T1: TTL#1 Output z T2: TTL#2 Output z BZ: Buzzer Output
                                                                                   55      Output Time setting from 12.7.2 to 12.7.14 can be configured in the same way as 12.7.1 RD1 ID OK Level 1 Output setting.   12.6.2 Output Setting for Reader#1 ID OK Level 2 This output time is applied for the users registered with Level#2 output.   12.6.3 Output Setting for Reader#1 ID OK Level 3 This output time is applied for the users registered with Level#3 output.   12.6.4 Output Setting for Reader#1 ID OK Level 4 This output time is applied for the users registered with Level#4 output.   12.6.5 Output Setting for Reader#1 ID Error This output time is applied when a user that is not registered in Reader #1 attempts access.   12.6.6 Output Setting for Reader#1 T/S Error This output time is applied when a user attempts access before or after the time assigned by the applied time schedule.   12.6.7 Output Setting for Reader#1 APB Error This Output Time is applied when a user who attempts access has violated the one-entry-one-exit rule of Anti-pass-back.   12.6.8 Output Setting for Reader#2 ID OK Level 1 This Output Time is applied for the users registered with Level#1 output.   12.6.9 Output Setting for Reader#2 ID OK Level 2 This Output Time is applied for the users registered with Level#2 output.   12.6.10 Output Setting for Reader#2 ID OK Level 3 This Output Time is applied for the users registered with Level#3 output.
                                                                                   56      12.6.11 Output Setting for Reader#2 ID OK Level 4 This Output Time is applied for the users registered with Level#4 output.   12.6.12 Output Setting for Reader#2 ID Error This output time is applied when a user that is not registered in Reader #1 attempts access.   12.6.13 Output Setting for Reader#2 T/S Error This output time is applied when a user attempts access before or after the time assigned by the applied time schedule.   12.6.14 Output Setting for Reader#2 APB Error This Output Time is applied when a user who attempts access has violated the one-entry-one-exit rule of Anti-pass back.
                                                                                   57      12.7 F7 SETUP MENU                            12.7.1 ID Registration        a) Registration by Card           ID COUNTEVENT COUNT<4> or <6> KEY<4> or <6> KEYID REGISTRATIONID DELETIONID LIST<4> or <6> KEY<4> or <6> KEY<4> or <6> KEYMASTER ID REG.<4> or <6> KEYCARDKEYCARDKEYREGISTERED IDs are displayedTHE NUMBER OF REGISTERED IDs is displayedTHE NUMBER OF STORED EVENTS is displayedSelect the Master Card number to register
                                                                                   58      b) Registration Using Keypad   NOTE| In case you make a typing mistake during the registration process, you can press F1 button to erase the errors.   1. Scanning – means the reader is waiting for an ID number to be entered. The number of the card will appear with a beep sound when you present a card.    2. ID – refers to a Personal Identification Number (PIN) that consists of 4-8 digits. Enter a 4-8 digit ID number (PIN) and press <ENT> key. (An ID number of the LX007SR consists of 4-10 digits.)  3. PW – stands for a password that is required for verification in the RF + Password operating mode.   4. TA – refers to the Time Schedule code (‘00’ ~ ‘10’) for the Reader#1 (i.e.  the built-in reader). Cardholders are granted access only during the Time Intervals of the Time Schedule code entered to this TA field. To set the Time Intervals for each Time Schedule code, refer to the instructions on the Time Schedule Setup in the [F4 SETUP MENU]. If you want to allow the cardholder access to the door anytime, enter the default Time Schedule code '00' for the value.  5. TB – refers to the Time Schedule code (‘00’ ~ ‘10’) for the Reader#2 (i.e. Exit Reader). Cardholders are granted access only during the Time Intervals of the Time Schedule code entered to this TB field. To set the Time Intervals for each Time Schedule code, refer to the instructions on the Time Schedule Setup in the [F4 SETUP MENU]. If you want allow the cardholder access to the door anytime, enter the default Time Schedule code '00' for the value.  6. RD – refers to the Reader Assignment code for the cardholder. Entering the code ‘0’ assigns both readers (Built-in Reader and Exit Reader) to grant access to the user that is
                                                                                   59      being registered, code ‘1’ only assigns Reader#1 (Built-in Reader) and code ‘2’ assigns Reader#2 (Exit Reader). If you enter ‘1’ in the RD field(Only Reader#1 assigned) and try to exit through Reader#2 (Exit Reader) then the LX007 generates an error message (“Access Door Error”) on the LCD display.  7. C – refers to the ID code. Code ‘0’ is default and codes ‘1’ and ‘2’ are codes used for the TWO MEN MODE. Code ‘3’ is used for the ARM/DISARM function and code ‘4’ is assigned for lost cards.  8. MA – refers to the Operating Mode of the Reader#1 (i.e.  the built-in reader) for the cardholder. If you enter ‘1’ for MA, for example, Reader#1 will be operating on RF Only Mode always. • ‘0’ – System Operating Mode (Path: [F1 SETUP MENU] > [READER#1 MODE]) • ‘1’ – ID Only Mode • ‘2’ – ID + Fingerprint (Password)   • ‘3’ – ID + Password + Fingerprint  9. MB – refers to Operating Mode of the Reader#2 (Exit Reader) for the cardholder. If you enter ‘1’ for MB, for example, Reader#2 will be operating on RF Only Mode always. • ‘0’ – System Operating Mode (Path: [F1 SETUP MENU] > [READER#1 MODE]) • ‘1’ – ID Only Mode • ‘2’ – ID + Password Mode  10. LV – refers to the Output Operating Level for the cardholder. Output operating time can be set for each user. To configure an Output operating time for each level, refer to the instructions on Output Setting in the [F6 SETUP MENU]. • ‘0’ or ‘1’ – Level #1 • ‘2’ – Level #2 • ‘3’ – Level #3 • ‘4’ – Level #4  11. FP – is the Fingerprint Usage Flag (1 digit). You can decide whether or not the user will register and use a fingerprint. • ‘0’ – User without a Fingerprint • ‘1’ – User with a Fingerprint
                                                                                   60      12.7.2 ID Deletion                 12.7.3 ID List                    12.7.4 Master ID Registration           The LCD will display the 5-digit ID Index, 8-digit ID number, 4-digit Password, Timeschedule for Reader#1(TA) and Reader#2(TB), ID code(C), accessible Readers(RD), operating mode for Reader#1(MA) and Reader#2(MB), the output level(LV) and usage of Fingerprint(FP) for each user.  The “EMPTY” message will appear if there is no registered user ID.  The “FIRST ID” message will be appear if the ID on the LCD is on the top of the list.  The “LAST ID” message will appear if the ID on the LCD is on the bottom of the list. Registered IDs can be deleted from the LX007 by presenting the card or entering the ID number. After entering the ID DELETION mode, present the card you want to delete. Alternatively, you may enter  an 8 digit ID number and press <ENT> key from the keypad. The ID number will appear on the LCD and that ID will be removed from the device and the “ID DELETED” message will be shown on the LCD. If the ID number is not found, the “UNREGISTERED ID” message will appear. You can delete multiple IDs by repeating this process.
                                                                                   61      MASTER ID REGISTRATION BY CARD                MASTER ID REGISTRATION BY PIN                     12.7.5 ID Count          The number of registered user IDs is displayed. This count automatically increases or decreases as new IDs are registered or old IDs are deleted. The LCD in the left picture shows that the total of 123 user IDs are registered in the memory.  1,000 users in total can be registered (standard). You can optionally choose to register up to 2,000/4,000 user IDs The default Master ID #01 is “00000000” without a fingerprint. For the LX007SR, it is ‘0000000000’. Up to 10 Master IDs (from “01” to “10”) can be stored in LX007.
                                                                                   62      12.7.6 Event Count                12.8 F8 SETUP MENU                               T/S CLEARDEFAULT SET<4> or <6> KEY<4> or <6> KEYSYSTEM INITIALEVENT CLEARID CLEAR<4> or <6> KEY<4> or <6> KEY<4> or <6> KEYMASTER ID CLR<4> or <6> KEYYESNOYESNOYESNOYESNOYESNOYESNOThe LCD displays the total number of events stored in the memory.The count automatically increases as a new event is recorded in the memory. The LCD in the left picture shows that a total of 12345 Events are stored in the memory.  Up to 20,000 event buffers are available. When stored events are successfully uploaded to the host PC, they are automatically deleted from the device.
                                                                                   63      If the event memory is full or if you want to change the ID COUNT, you can clear the event memory here.   Press <ENT> key first, then press <1> key to clear event memory or <0> key to cancel the operation. CAUTION: Before you clear the events, make sure if the stored events are really unnecessary and therefore you don’t need to upload them to the host PC. Otherwise, you may lose important data.   12.8.1 System Initialize           12.8.2 Event Clear         12.8.3 ID Clear             This operation is used to initialize the LX007 system. Press <ENT> key for initialization(when installing LX007 first or when resetting the system in the event of malfunction).   CAUTION: Initializing will erase all stored data in the memory.  Press the <1> key to initialize or <0> key to cancel the operation.  The “WAIT..” message appears while the system is being initialized. After the initialization is completed, the LX007 returns to the Setup menu.     When you want to delete all the stored User IDs (Card IDs), you can do so in this menu. Press <ENT> key first, then press <1> key to clear all the registered User IDs or <0> key to cancel the operation. CAUTION: Before clearing all the User IDs, make sure that the registered User ID is no longer used or necessary. Otherwise you may lose all the registered User IDs.
                                                                                   64      12.8.4 Master ID Clear             12.8.5 Time Schedule Clear                 12.8.6 Default Setting           When you want to delete all the Time Schedules (01~10), Holiday schedules(01~10), Holiday code, Reader#1 Mode Time Schedule code and Reader#1 Mode Time Schedule code, you can clear them from the memory here. Press <ENT> key first and press the <1> key to clear all T/S or <0> key to cancel the operation. CAUTION: Before you clear all Time Schedule data, make sure that the stored Time Schedule data are no longer used or necessary. Otherwise, you may lose all stored Time Schedule data in the memory including important ones. To delete all Master IDs, press <ENT> key first, then press the <1> key to clear all of the Master IDs or <0> key to cancel the operation. CAUTION: Before clearing all Master IDs, make sure that registered Master IDs are no longer used. Otherwise, you may lose all registered Master IDs.   Here, you can restore the default settings of the LX007, if necessary. Press <ENT> key and press <1> key to restore the default setting values for all menus and or <0> key to cancel the operation. CAUTION: Before restoring default values for all settings such as Reader Mode, Board ID etc, make sure that the stored setting values are not necessary. Otherwise, you may lose all system setting values in the memory and need to adjust the settings all over again.
                                                                                   65      The Firmware Version of the unit is displayed on the LCD. Press <4> or <6> key to see other items of the menu on [F9 SETUP MENU].12.9 F9 SETUP MENU                                      12.9.1 Version Check         KEYPAD TESTREADER TEST<4> or <6> KEY<4> or <6> KEYFIRMWARE VER.INPUT TESTOUTPUT TEST<4> or <6> KEY<4> or <6> KEY<4> or <6> KEYLCD TEST<4> or <6> KEYTHE CURRENT VERSION OF FIRMWARE IS DISPLAYEDVERIFY THAT THE INPUT PORTS PROPERLY WORK.MEMORY TEST<4> or <6> KEYVERIFY THAT THE OUTPUT PORTS PROPERLY WORK.VERIFY THAT THE LCD SCREEN PROPERLY WORKS.VERIFY THAT ALL THE KEYS ON THE KEYPAD WORK.VERIFY THAT THE READER  PROPERLY WORKS.VERIFY THAT COMMUNICATION PROPERLY WORKS.COMM TEST<4> or <6> KEYVERIFY THAT THE MEMORY PROPERLY WORKS.
                                                                                   66      12.9.2 Input Test               12.9.3 Output Test                  12.9.4 LCD Test            The 5-digit number shows the input status, where “0” indicates that the input port is open circuit, and “1” indicates that the input port is short circuit to the ground level, and, finally, “2” indicates that the input port is disconnected. The first two tests verify the output relays (Door Relay and Alarm Relay) are working properly. You can hear the mechanical sound of relays and see the LED blink. The next two tests are to verify TTL#1 and TTL#2 outputs. Finally, the last test is for an Internal Buzzer test. You can hear two beeps during the test. The LCD will display all possible characters on the screen. When the test is over, the LCD will show the “LAST UPDATE PRESS ANY KEY” message.
                                                                                   67      12.9.5 Keypad Test             12.9.6 Reader Test               12.9.7 Memory Test                 The LCD will display all the keys on the keypad. Press each key one by one and the depressed key will disappear from the screen. Note that ENT key is represented as “#” and ESC key as “*” on the LCD. The LCD will display “Scanning…”, which means the LX007 is waiting for a card to be presented. Present a card to one of the readers. When the reader successfully reads the card, the LCD displays the Reader number and the 8-digit card number. If the Data Memory has a problem, the LCD will show the “TEST FAILED” message. If this is the case, contact IDTECK or a nearby distributor for technical supports.
                                                                                   68      12.9.8 Communication Test               If the communication has a problem, the LCD will show the “TEST FAILED” message. If this is the case, check the communication settings and try again.
                                                                                   69      12.10 F10 SETUP MENU                           12.10.1 Dual Fingerprint Mode                    DUAL FINGER? No. of Template/Finger Authentication Success Ratio Recommended Authentication Mode NOT USE 2 fingerprint storage templates for a single finger. High Identification ModeUSE 1 fingerprint storage template each for 2 different fingers. Low Verification ModeIf you set Dual finger mode to ‘USE ’, you can register 2 different fingers for your ID so that if one finger is injured, you may verify your ID with the other registered finger. FP REG. COUNTMODULE VERSION<4> or <6> KEY<4> or <6> KEYDUAL F/P MODEADAPTIVE MODEIDENTIFICATION<4> or <6> KEY<4> or <6> KEY<4> or <6> KEYUSENOT USE(DEFAULT)USENOT USE(DEFAULT)USE(DEFAULT)NOT USEThe version of the installed fingerprint module is displayedThe current number of the registered fingerprints in the device is displayed
                                                                                   70      12.10.2 Adaptive Mode                 12.10.3 Identification Mode                   12.10.4 FP Reg. Count           In ADAPTIVE MODE, the LX007 automatically improves the quality of fingerprint pictures, guaranteeing a higher likelihood of successful authentication. However, the authentication process may take longer. When the LX007 is configured in IDENTIFICATION MODE, it can perform the 1:N identification, which means users only need to have their fingerprint identified and the LX007 will match their fingerprint image with all the stored fingerprints. Users don’t need to enter the ID number or present a card.     The opposite of IDENTIFICATION MODE is VERIFICATION MODE The number of registered fingerprints is displayed.
                                                                                   71      12.10.5 Module Version          The version of the fingerprint module is displayed.
                                                                                   72       APPENDIX  A. THE RELATION BETWEEN INPUT AND OUTPUT (DEFAULT)  Default Output Settings for Input Sources  * Index No. [1] ~ [9]   The values indicate the operating time (second) of each output for the input signal.    * Index No. [10]   The values indicate the time schedule code (index) applied to each output operation.  * Index No. [11]   The values indicate the time schedule code (index) applied to each input from #1 (Exit button) to #5.  * Index No. [12]   The values indicate whether or not to use the cut off check feature.   (0 – NOT USE, 1 – USE)  * Index No. [13]   The values indicate whether the input type is NO(Normally Open) or NC(Normally Closed). (0 – NO, 1 – NC)  OUTPUT Door Relay (DR) Alarm Relay (AR) TTL#1 (T1) TTL#2 (T2) Buzzer (BZ) [1] EXIT BUTTON 03 00 00 00 00 [2] DOOR CONTACT 00 99 00 00 00 [3] AUX Input #1 00 00 00 00 00 [4] AUX Input #2 00 00 00 00 00 [5] TAMPER ALARM 00 99 99 99 99 [6] CUT OFF ALARM 00 00 00 00 00 [7] DURESS ALARM 00 00 00 00 00 [8] ARM/DISARM OUT 00 00 00 00 00 [9] DR TIME OUT 00 99 00 00 00 [10] OUTPUT TIME SCHEDULE 00 00 00 00 00 [11] INPUT TIME SCHEDULE 00 00 00 00 00 [12] CUT OFF CHECK 00 00 00 00 00 [13] INPUT TYPE 00 00 00 00 00
                                                                                   73      Default Output Settings for Input Circumstance  * Index No. [1] ~ [14]: The values indicate the operating time (second) of each output for the input signal.     OUTPUT INPUT Door Relay (DR) Alarm Relay (AR) TTL#1 (T1) TTL#2 (T2) Buzzer (BZ) [1] Reader#1 ID OK LV1 03 00 00 00 00 [2] Reader#1 ID OK LV2 05 00 00 00 00 [3] Reader#1 ID OK LV3 05 00 00 00 00 [4] Reader#1 ID OK LV4 05 00 00 00 00 [5] Reader#1 ID Error 00 03 00 00 00 [6] Reader#1 T/S Error 00 03 00 00 00 [7] Reader#1 APB Error 00 03 00 00 00 [8] Reader#2 ID OK LV1 03 00 00 00 00 [9] Reader#2 ID OK LV2 05 00 00 00 00 [10] Reader#2 ID OK LV3 05 00 00 00 00 [11] Reader#2 ID OK LV4 05 00 00 00 00 [12] Reader#2 ID Error 00 03 00 00 00 [13] Reader#2 T/S Error 00 03 00 00 00 [14] Reader#2 APB Error 00 03 00 00 00
                                                                                   74      B. TROUBLE SHOOTING  ☞ A valid card became unregistered after batch-downloading IDs from PC. Cause  Wrong download procedure or a component defect. Solution 1. The card ID might be registered only on the controller and not on the PC. During the process of batch-downloading IDs from the PC, the LX007 first erases the ID memory in it. That’s why this deletion of certain IDs can happen if those IDs were not registered on the PC at the point of batch-downloading. 2. Check whether the card ID is registered in the PC or not. 3. If not, please register the number and try downloading again. 4. If the trouble remains after following the procedures above, contact a designated service center.  ☞ I entered the Master ID “00000000” but I still cannot enter the Setup Mode. Cause  The Master ID might have been changed or some components are defective. Solution 1. Try changing the Master ID through the application software.   (The Master ID will be changed to the default value “00000000”.) 2. When it is not feasible, initialize the unit as following:   After the installation and connections are completed, supply power (+12V DC) to the LX007 with the initialization button being held down. Then, the LCD will first display “Initialize OK? 0:No 1:Yes”. Press <1> key if you want to initialize the system. After all the initialization process is completed, the system will be operating on the normal mode and the LCD will display “IDTECK, LX007 [F1], Date Time”. 3. If the trouble persists after following the procedures above, contact a designated service center.    ☞ No problem with accessing by card, but cannot access via a manual PIN input. Cause  An error in the settings or possible component defect. Solution 1. Check whether a beep sounds when you press a key. If a beep sounds, the problem may be wrong settings. Proceed as followings: - Enter the Master ID (Default=“00000000”) to get into the Setup mode. - Press <F2> key.   - [LANGUAGE] will appear on the LCD, then use the <6> key to choose [RD1_PIN_INPUT] and press [ENT] key to modify the value to ‘USE’ by using <4> or <6> key. 2. When there is no beep sound or the problem persists after the keypad has been enabled, contact a designated service center.  ☞ The unit suddenly returns from Setup Mode to normal operating mode. Cause  Time-out error Solution  The LX007 is originally programmed to go back to the normal operating mode when no keys are pressed or no cards are read within 60 seconds.
                                                                                   75       ☞ The buzzer keeps beeping; “beep~ beep ~ beep” or “beeeeeeeep~~~~”. Cause  An error in the Installation, Door status or Internal circuits. Solution 1. Check the door status. It occurs when the door is opened over 3 sec (Default). 2. Check the door contact sensor type: it must be NO/NC-type. 3. Check the 10 Time schedule code (01~10) values of output T/S, in [7. OUTPUT T/S] of F6 Setup Menu. This problem can occur if the time schedule code is set between 01 and 10 and the present time is within the time zone of the selected schedule. If the wrong time schedule is selected, cancel it by assigning the blank time schedule code “00”   4. Check the Tamper switch of the LX007.     5. If the trouble persists after checking the above, contact a designated service center.   ☞ The “SCHEDULE ERROR” message appears when an RFID card is read. Cause  An error in RFID card registration, time schedule setting or the system itself. Solution 1. If the LX007 used to be properly operating before, it is likely that there has been an electric shock that damaged the internal memory and data. Please initialize the unit as instructed in the manual.   2. Check if the ID information has been configured incorrectly. * Register ID again and check the following points.   - In order to restrict access of a user within a specific time zone as instructed in the manual, register time schedule in advance and apply the time schedule code(1~10) to the user during the registration process.   - In order to allow the user to access at all times, enter “00”.   3. Use the software for time schedule settings if the LX007 is connected to a PC. Refer to the software manual for more details. 4. If the trouble persists after checking the above, contact a designated service center.  ☞ The “ACCESS DOOR ERR” message appears when an RF ID card is read. Cause  Incorrect user setting or something wrong with internal circuits. Solution 1. If the LX007 used to operate properly before, it is likely that there has been an electric shock that damaged the internal memory and data. Please initialize the unit as instructed in the manual.   2. Check if the ID information has been entered incorrectly during its registration.   * Register the ID again and check the following points:   - Since the controller has two reader ports, set the “RD” setting – the door to which the user will be allowed access – to an appropriate value. - If the RD value is set to “1”, the door opens only when Reader 1 reads a card. If the card is presented to Reader 2, the “ACCESS DOOR ERROR” message will appear.   - If the RD value is set to “2”, the door opens only when Reader 2 reads a card. If the card is presented to Reader 1, the “ACCESS DOOR ERROR” message will appear.   - If the RD value is set to “0” or “3”, both the reader 1 and 2 will open their doors when a registered card is presented to them. 3. If the trouble persists after checking the above, contact a designated service center.
                                                                                   76       ☞ The communication between the LX007 and the Host PC fails. Cause A defective cable may be being used or there have been errors in wiring, the COMM ID setting for the controller, or damage on the communication port (either on the PC side or the controller side). Solution 1. Please check the settings of the application software and the controller.   - Check if the COMM ID of the controller is listed on the application software. - Set the different COMM ID when two or more controllers are installed.   - Check if the communication speed (9600bps is default) is the same as the setting on the software.   - Make sure that the PC’s COM port is set correctly on the S/W. - The parameters in the software should be set as following:   Parity bit   : NONE Data bit    : 8 bits  Stop bit    : 1 bit  2. Check the wiring for communication.  RS232  RS485 (mono) LX007 PC LX007 RS485/232 Converter PC RX   TX RTX(-) RTX(-) TX RX RTX(+) RTX(+) GND GND   The RS232 cable from the converter  RS485(Multi Drop) LX007 LX007 RS485/232 Converter PC RTX(-) RTX(-) RTX(-) RTX(+) RTX(+) RTX(+) The RS232 cable from   the Converter  3. We recommend you use line-end resistors of 120 Ohm between the RTX (+) and RTX (-) wires when you are using the RS485 communication. Apply the same resistors to the Converter RS485 wires. Consult a service center or an electric technician if you are not sure how to do it. 4. When a multi-drop communication doesn’t work, test one-to-one communication first. 5. If the trouble persists after following the procedures above, contact a designated service center.
                                                                                   77         FCC REGISTRATION INFORMATION     FCC REQUIREMENTS PART 15  Caution: Any changes or modifications in construction of this device which are not expressly approved by the manufacturer for compliance could void the user's authority to operate the equipment.  NOTE: This device complies with Part 15 of the FCC Rules.  Operation is subject to the following two conditions; 1. This device may not cause harmful interference, and 2. This device must accept any interference received, including interference that may cause undesired operation.  This equipment has been tested and found to comply with the limits for a Class A Digital Device, pursuant to Part 15 of the FCC Rules. These limits are designed to this equipment generates, uses, and can radiate radio frequency energy and, if not installed and used in accordance with the instructions, may cause harmful interference to radio communications. However, there is no guarantee that interference will not occur in a particular installation. If this equipment does cause harmful interference to radio or television reception, which can be determined by turning the radio or television off and on, the user is encouraged to try to correct interference by one or more of the following measures.  1. Reorient or relocate the receiving antenna. 2. Increase the separation between the equipment and receiver. 3. Connect the equipment into an outlet on another circuit. 4. Consult the dealer or an experienced radio/TV technician for help.
                                                                                   78         Warranty Policy and Limitation of Liability  IDTECK warrants this product against defects in material and workmanship for 2 years from the date of purchase under normal customer use. This Warranty doesn’t apply: 1) to any product which has been dismantled without authorization of IDTECK or/and has a damaged or detached QC label on its back side; 2) to any losses, defects, or damages caused by improper testing, operation, installation, maintenance, modification, alteration, or adjustment; 3) to any product with a damaged or faded serial number on it; or 4) to any losses, defects, or damages caused by lightning or other electrical discharge, natural disaster, misuse, accident or neglect.  This Limited Warranty is in lieu of all other warranties, obligations, or liabilities on the part of IDTECK, and IDTECK DISCLAIMS ANY AND ALL WARRANTY, WHETHER EXPRESS OR IMPLIED, OF MERCHANTABILITY OR FITNESS FOR A PARTICULAR PURPOSE.IDTECK does not, and cannot, know who is present, what property is located, where this product will be used; it would be extremely difficult to determine the actual damages that may result from a failure of the product to perform as anticipated; and the low price of this product is based upon the nature of the product provided and the limited liability that IDTECK assumes. IDTECK IS NOT RESPONSIBLE FOR ANY PERSONAL INJURY, PROPERTY DAMAGE OR LOSS, DIRECT, SPECIAL, INCIDENTAL OR CONSEQUENTIAL DAMAGES, OR OTHER LOSS, AND IDTECK’S MAXIMUM LIABILITY SHALL NOT IN ANY CASE EXCEED THE PURCHASE PRICE OF THE PRODUCT.    To obtain repair or replacement under the terms of this warranty, visit IDTECK’s Website (http://www.idteck.com) and place an online RMA request. After an RMA code is issued, return the product along with the authorization RMA code.   >> Warranty Period  Item  Warranty Period 1 RF READER / FINGERPRINT READER 2  RF CARD (Active type) 3 STANDALONE CONTROLLER 4 CONTROL PANEL 5 FINGERPRINT CONTROLLER 2 years 6  MOLDED RF READER (RF10, RF20, RF30, RF TINY, IP10, IP20, IP30, SR10E, SR10UE, SR10SE, SR10RWE, SR10BE) 7 RF CARD (Passive type) (IDC80, IDC170, IDK50, IMC125, LXK50, IPC80, IPC170, IPK50, ISC80, ISC80S, ISK50, IMC135, IHC80, IP100, IP200) Lifetime
                                                                                   79             Basically, IDTECK accepts only on-line RMA requests on our website (www.idteck.com). Please provide us with basic information in the below form so that we can understand your problems better. Send us back this form with your products after an RMA code is issued on the website. This form is not compulsory.   Authorization RMA Code : 1. Company Name   2. Model Name   3. Serial No.   4. Original Invoice No.   5. Distributor     6. Purchasing Date     7. RMA Request Date     Please check your problems  □ Card Reading        □ Power           ..  □ Keypad □ Communication    .  □ Relay         .     □ LCD □ LED & Buzzer        □ Registration □ Others :     IDTECK RMA Customer Center >>  5F, Ace Techno Tower B/D, 684-1 Deungchon-Dong, Gangseo-Gu, Seoul 157-010, Korea T. 82.2.2659.0055 / F.82.2.2659.0086      Website: www.idteck.com  e-Training Center: www.idtecktraining.com    RMA REQUEST FORM
                                                                                   80                                                The specifications contained in this manual are subject to change without notice at any time.  5F, Ace Techno Tower B/D, 684-1, Deungchon-Dong, Gangseo-Gu, Seoul, 157-030, Korea   Tel : +82-2-2659-0055   Fax : +82-2-2659-0086   E-mail : webmaster@idteck.com   June. 2007 Copyright ©2007 IDTECK Co., Ltd.   MAML007HE1X

Navigation menu