Ibm Thinkpad A20M Users Manual A20m/p, A21m/p, A22m/p
A21P to the manual 72c7d629-adda-4af8-a995-2579871bba81
2015-02-02
: Ibm Ibm-Thinkpad-A20M-Users-Manual-431415 ibm-thinkpad-a20m-users-manual-431415 ibm pdf
Open the PDF directly: View PDF
.
Page Count: 158 [warning: Documents this large are best viewed by clicking the View PDF Link!]
- About this manual
- Contents
- Introduction
- General descriptions
- ThinkPad A20m/p, A21m/p andA22m/p
- Product overview
- Symptom-to-FRU index
- FRU replacement notices
- Removing and replacing a FRU
- 1010 Battery pack
- 1020 DIMM
- 1030 Mini PCI adapter
- 1040 Backup battery
- 1050 Hard-disk drive or RF ID adapter
- 1060 Ultrabay 2000 device
- 1070 Keyboard
- 1080 Keyboard CRU insulator
- 1090 Hinge cover and clear sheet icon
- 1100 Keyboard bezel and speaker
- 1110 Microphone and speaker cable
- 1120 Sub card
- 1130 PC Card slot assembly
- 1140 Fan assembly
- 1150 Diskette drive
- 1160 Upper shield
- 1170 TV card
- 1180 CPU socket and CPU
- 1190 System board and RJ45/11connector assembly
- Thermal rubbers location
- 2010 LCD assembly
- 2020 Front bezel
- 2030 Inverter card
- 2040 LCD panel
- 3010 ThinkPad Dock PCI cover
- 3020 ThinkPad Dock top cover
- Locations
- Parts list
- Notices
IBM Mobile Systems
ThinkPad Computer
Hardware Maintenance Manual
October 2001
This manual supports:
ThinkPad A20m, A21m, A22m
(MT 2628/2633)
A20p, A21p, A22p
(MT 2629)
ThinkPad Dock (MT 2631)

Note
Before using this information and the product it
supports, be sure to read the general information
under “Notices” on page 150.
Second Edition (October 2001)
The following paragraph does not apply to the United
Kingdom or any country where such provisions are
inconsistent with local law:
INTERNATIONAL BUSINESS MACHINES CORPORATION
PROVIDES THIS PUBLICATION “AS IS” WITHOUT ANY
WARRANTY OF ANY KIND, EITHER EXPRESS OR
IMPLIED, INCLUDING, BUT NOT LIMITED TO, THE
LIMITED WARRANTIES OF MERCHANTABILITY OR
FITNESS FOR A PARTICULAR PURPOSE. Some states
do not allow disclaimer or express or implied warranties in
certain transactions; therefore, this statement may not
apply to you.
This publication could include technical inaccuracies or
typographical errors. Changes are periodically made to the
information herein; these changes will be incorporated in
new editions of the publication. IBM may make
improvements or changes to the products or the programs
described in this publication at any time.
It is possible that this publication may contain references
to, or information about, IBM products (machines and
programs), programming, or services that are not
announced in your country. Such references or information
must not be construed to mean that IBM intends to
announce such IBM products, programming, or services in
your country.
Requests for technical information about IBM products
should be made to your IBM authorized dealer or your IBM
marketing representative.
© Copyright International Business Machines
Corporation 2001. All rights reserved.
US Government Users Restricted Rights – Use, duplication
or disclosure restricted by GSA ADP Schedule Contract
with IBM Corp.

About this manual
This manual contains service and reference information for
IBM ThinkPad A20, A21, A22 (MT2628, 2629, 2633), and
ThinkPad Dock (MT2631) products. Use this manual along
with the advanced diagnostic tests to troubleshoot
problems.
The manual is divided into sections as follows:
vThe common sections provide general information,
guidelines, and safety information required in servicing
computers.
vThe product-specific section includes service, reference,
and product-specific parts information.
Important
This manual is intended for trained service
personnel who are familiar with ThinkPad products.
Use this manual along with the advanced diagnostic
tests to troubleshoot problems effectively.
Before servicing an IBM ThinkPad product, be sure
to review the safety information under “Safety
notices: multilingual translations”on page 3, “Safety
information”on page 14, and “Laser compliance
statement”on page 18.
© Copyright IBM Corp. 2001 iii
iv ThinkPad A20m/p, A21m/p, A22m/p

Contents
About this manual ...........iii
Introduction .............1
Important service information .........1
Strategy for replacing FRUs ........1
How to use error messages ........2
Diskette compatibility matrix .........2
Safety notices: multilingual translations ......3
Safety information............14
General safety............14
Electrical safety ...........15
Safety inspection guide .........16
Handling electrostatic discharge-sensitive devices 17
Grounding requirements .........18
Laser compliance statement.........18
General descriptions ..........23
Read this first .............23
What to do first ...........23
Related service information .........25
Service web site ...........25
Product recovery program ........25
Passwords .............27
Power management ..........30
Checkout guide ............33
Testing the computer ..........33
Detecting system information with PC-Doctor. . . 35
Power system checkout .........35
ThinkPad A20m/p, A21m/p and A22m/p.....39
Product overview ............41
Specifications ............41
Status indicators ...........44
FRU tests .............46
Fn key combinations ..........48
Symptom-to-FRU index ..........49
Numeric error codes ..........49
Error messages ...........52
Beep symptoms ...........53
No beep symptoms ..........53
LCD-related symptoms .........54
Intermittent problems ..........55
Undetermined problems .........55
FRU replacement notices .........56
Screw notices ............56
Retaining serial numbers.........57
Removing and replacing a FRU........59
1010 Battery pack...........60
1020 DIMM ............61
1030 Mini PCI adapter .........63
© Copyright IBM Corp. 2001 v
1040 Backup battery ..........66
1050 Hard-disk drive or RF ID adapter ....67
1060 Ultrabay 2000 device ........69
1070 Keyboard ...........71
1080 Keyboard CRU insulator .......74
1090 Hinge cover and clear sheet icon ....75
1100 Keyboard bezel and speaker ......76
1110 Microphone and speaker cable .....78
1120 Sub card............80
1130 PC Card slot assembly .......82
1140 Fan assembly ..........83
1150 Diskette drive ..........85
1160 Upper shield...........87
1170 TV card ............88
1180 CPU socket and CPU ........89
1190 System board and RJ45/11 connector
assembly ............91
Thermal rubbers location.........93
2010 LCD assembly ..........94
2020 Front bezel ...........96
2030 Inverter card ..........99
2040 LCD panel ...........101
3010 ThinkPad Dock PCI cover ......105
3020 ThinkPad Dock top cover ......107
Locations ..............112
Front view.............112
Rear view .............113
Bottom view ............114
Parts list ..............115
A series model matrix .........115
Overall .............123
AC adapter ............136
LCD FRUs ............136
Keyboard .............140
Recovery CDs ...........141
Miscellaneous parts ..........145
Optional FRUs ...........147
Common parts list ..........148
Notices ..............150
Trademarks ............150
vi ThinkPad A20m/p, A21m/p, A22m/p

Introduction
Important service information
Important
BIOS and device driver fixes are
customer-installable. The BIOS and device drivers
are posted on the IBM support site
http://www.ibm.com/pc/support
Advise customers to contact the PC Company
HelpCenter at 800-772-2227 if they need assistance
in obtaining or installing any diskette fixes.
Customers in Canada should call IBM HelpPC at
800-565-3344 for assistance or download
information.
Strategy for replacing FRUs
Before replacing parts
Make sure that all diskette fixes are installed before
replacing any FRUs listed in this manual.
Use the following strategy to prevent unnecessary FRU
replacement and service expense:
vIf you are instructed to replace a FRU but the
replacement does not correct the problem, reinstall
the original FRU before you continue.
vSome computers have both a processor board and a
system board. If you are instructed to replace either the
processor board or the system board, and replacing one
of them does not correct the problem, reinstall that
board, and then replace the other one.
vIf an adapter or device consists of more than one FRU,
any of the FRUs may be the cause of the error. Before
replacing the adapter or device, remove the FRUs, one
by one, to see if the symptoms change. Replace only
the FRU that changed the symptoms.
Attention: The setup configuration on the computer you
are servicing may have been customized. Running
Automatic Configuration may alter the settings. Note the
current configuration settings (using the View Configuration
option); then, when service has been completed, verify that
those settings remain in effect.
© Copyright IBM Corp. 2001 1

Strategy for replacing a hard-disk drive
Always try to run a low-level format before replacing a
hard-disk drive.
Attention: The drive startup sequence in the computer
you are servicing may have been changed. Be extremely
careful during write operations such as copying, saving, or
formatting. If you select an incorrect drive, data or
programs can be overwritten.
How to use error messages
Use the error codes displayed on the screen to diagnose
failures. If more than one error code is displayed, begin the
diagnosis with the first error code. Whatever causes the
first error code may also cause false error codes. If no
error code is displayed, see if the error symptom is listed
in the Symptom-to-FRU Index for the computer you are
servicing.
Diskette compatibility matrix
The compatibility of each of the drives with the diskettes
for it is as follows:
Diskette
drive Diskette
capacity Compatibility
3.5-inch 1.0 MB Read and write
2.0 MB Read and write
4.0 MB Not compatible
Important service information
2ThinkPad A20m/p, A21m/p, A22m/p

Safety notices: multilingual translations
In this manual, safety notices appear in English with a
page number reference to the appropriate multi-lingual,
translated safety notice found in this section.
The following safety notices are provided in English,
French, German, Italian, and Spanish languages.
Safety notice 1
Before the computer is powered-on after FRU
replacement, make sure all screws, springs, and other
small parts are in place and are not left loose inside
the computer. Verify this by shaking the computer and
listening for rattling sounds. Metallic parts or metal
flakes can cause electrical shorts.
Avant de remettre l’ordinateur sous tension après
remplacement d’une unitéen clientèle, vérifiez que
tous les ressorts, vis et autres pièces sont bien en
place et bien fixées. Pour ce faire, secouez l’unitéet
assurez-vous qu’aucun bruit suspect ne se produit. Des
pièces métalliques ou des copeaux de métal pourraient
causer un court-circuit.
Bevor nach einem FRU-Austausch der Computer
wieder angeschlossen wird, mußsichergestellt werden,
daßkeine Schrauben, Federn oder andere Kleinteile
fehlen oder im Gehäuse vergessen wurden. Der
Computer mußgeschüttelt und auf Klappergeräusche
geprüft werden. Metallteile oder-splitter können
Kurzschlüsse erzeugen.
Prima di accendere l’elaboratore dopo che éstata
effettuata la sostituzione di una FRU, accertarsi che
tutte le viti, le molle e tutte le altri parti di piccole
dimensioni siano nella corretta posizione e non siano
sparse all’interno dell’elaboratore. Verificare ciò
scuotendo l’elaboratore e prestando attenzione ad
eventuali rumori; eventuali parti o pezzetti metallici
possono provocare cortocircuiti pericolosi.
Antes de encender el sistema despues de sustituir una
FRU, compruebe que todos los tornillos, muelles y
demás piezas pequeñas se encuentran en su sitio y no
se encuentran sueltas dentro del sistema.
Compruébelo agitando el sistema y escuchando los
posibles ruidos que provocarían. Las piezas metálicas
pueden causar cortocircuitos eléctricos.
Safety notices
Introduction 3

Safety notice 2
DANGER
Some standby batteries contain a small amount of
nickel and cadmium. Do not disassemble a standby
battery, recharge it, throw it into fire or water, or
short-circuit it. Dispose of the battery as required
by local ordinances or regulations. Use only the
battery in the appropriate parts listing. Use of an
incorrect battery can result in ignition or explosion
of the battery.
Certaines batteries de secours contiennent du
nickel et du cadmium. Ne les démontez pas, ne les
rechargez pas, ne les exposez ni au feu ni à l’eau.
Ne les mettez pas en court-circuit. Pour les mettre
au rebut, conformez-vous à la réglementation en
vigueur. Lorsque vous remplacez la pile de
sauvegarde ou celle de l’horloge temps réel, veillez
à n’utiliser que les modèles cités dans la liste de
pièces détachées adéquate. Une batterie ou une
pile inappropriée risque de prendre feu ou
d’exploser.
Die Bereitschaftsbatterie, die sich unter dem
Diskettenlaufwerk befindet, kann geringe Mengen
Nickel und Cadmium enthalten. Sie darf nur durch
die Verkaufsstelle oder den IBM Kundendienst
ausgetauscht werden. Sie darf nicht zerlegt,
wiederaufgeladen, kurzgeschlossen, oder Feuer
oder Wasser ausgesetzt werden. Die Batterie kann
schwere Verbrennungen oder Verätzungen
verursachen. Bei der Entsorgung die örtlichen
Bestimmungen für Sondermüll beachten. Beim
Ersetzen der Bereitschafts-oder Systembatterie nur
Batterien des Typs verwenden, der in der
Ersatzteilliste aufgeführt ist. Der Einsatz falscher
Batterien kann zu Entzündung oder Explosion
führen.
(continued)
Safety notices
4ThinkPad A20m/p, A21m/p, A22m/p

(continuation of safety notice 2)
Alcune batterie di riserva contengono una piccola
quantitàdi nichel e cadmio. Non smontarle,
ricaricarle, gettarle nel fuoco o nell’acqua né
cortocircuitarle. Smaltirle secondo la normativa in
vigore (DPR 915/82, successive disposizioni e
disposizioni locali). Quando si sostituisce la
batteria dell’RTC (real time clock) o la batteria di
supporto, utilizzare soltanto i tipi inseriti
nell’appropriato Catalogo parti. L’impiego di una
batteria non adatta potrebbe determinare l’incendio
ol’esplosione della batteria stessa.
Algunas baterías de reserva contienen una
pequeña cantidad de níquel y cadmio. No las
desmonte, ni recargue, ni las eche al fuego o al
agua ni las cortocircuite. Deséchelas tal como
dispone la normativa local. Utilice sólo baterías que
se encuentren en la lista de piezas. La utilización
de una batería no apropiada puede provocar la
ignición o explosión de la misma.
Safety notices
Introduction 5

Safety notice 3
DANGER
The battery pack contains small amounts of nickel.
Do not disassemble it, throw it into fire or water, or
short-circuit it. Dispose of the battery pack as
required by local ordinances or regulations. Use
only the battery in the appropriate parts listing
when replacing the battery pack. Use of an
incorrect battery can result in ignition or explosion
of the battery.
La batterie contient du nickel. Ne la démontez pas,
ne l’exposez ni au feu ni àl’eau. Ne la mettez pas
en court- circuit. Pour la mettre au rebut,
conformez-vous àla réglementation en vigueur.
Lorsque vous remplacez la batterie, veillez à
n’utiliser que les modèles cités dans la liste de
pièces détachées adéquate. En effet, une batterie
inappropriée risque de prendre feu ou d’exploser.
Akkus enthalten geringe Mengen von Nickel. Sie
dürfen nicht zerlegt, wiederaufgeladen,
kurzgeschlossen, oder Feuer oder Wasser
ausgesetzt werden. Bei der Entsorgung die
örtlichen Bestimmungen für Sondermüll beachten.
Beim Ersetzen der Batterie nur Batterien des Typs
verwenden, der in der Ersatzteilliste aufgeführt ist.
Der Einsatz falscher Batterien kann zu Entzündung
oder Explosion führen.
La batteria contiene piccole quantitàdi nichel. Non
smontarla, gettarla nel fuoco o nell’acqua né
cortocircuitarla. Smaltirla secondo la normativa in
vigore (DPR 915/82, successive disposizioni e
disposizioni locali). Quando si sostituisce la
batteria, utilizzare soltanto i tipi inseriti
nell’appropriato Catalogo parti. L’impiego di una
batteria non adatta potrebbe determinare l’incendio
ol’esplosione della batteria stessa.
(continued)
Safety notices
6ThinkPad A20m/p, A21m/p, A22m/p

(continuation of safety notice 3)
Las baterías contienen pequeñas cantidades de
níquel. No las desmonte, ni recargue, ni las eche al
fuego o al agua ni las cortocircuite. Deséchelas tal
como dispone la normativa local. Utilice sólo
baterías que se encuentren en la lista de piezas al
sustituir la batería. La utilización de una bateríano
apropiada puede provocar la ignición o explosión
de la misma.
Safety notices
Introduction 7

Safety notice 4
DANGER
The lithium battery can cause a fire, an explosion,
or a severe burn. Do not recharge it, remove its
polarized connector, disassemble it, heat it above
100°C (212°F), incinerate it, or expose its cell
contents to water. Dispose of the battery as
required by local ordinances or regulations. Use
only the battery in the appropriate parts listing. Use
of an incorrect battery can result in ignition or
explosion of the battery.
La pile de sauvegarde contient du lithium. Elle
présente des risques d’incendie, d’explosion ou de
brûlures graves. Ne la rechargez pas, ne retirez pas
son connecteur polariséet ne la démontez pas. Ne
l’exposez pas àune temperature supérieure à
100°C, ne la faites pas brûler et n’en exposez pas
le contenu àl’eau. Mettez la pile au rebut
conformément àla réglementation en vigueur. Une
pile inappropriée risque de prendre feu ou
d’exploser.
Die Systembatterie ist eine Lithiumbatterie. Sie
kann sich entzünden, explodieren oder schwere
Verbrennungen hervorrufen. Batterien dieses Typs
dürfen nicht aufgeladen, zerlegt, über 100 C erhitzt
oder verbrannt werden. Auch darf ihr Inhalt nicht
mit Wasser in Verbindung gebracht oder der zur
richtigen Polung angebrachte Verbindungsstecker
entfernt werden. Bei der Entsorgung die örtlichen
Bestimmungen für Sondermüll beachten. Beim
Ersetzen der Batterie nur Batterien des Typs
verwenden, der in der Ersatzteilliste aufgeführt ist.
Der Einsatz falscher Batterien kann zu Entzündung
oder Explosion führen.
(continued)
Safety notices
8ThinkPad A20m/p, A21m/p, A22m/p

(continuation of safety notice 4)
La batteria di supporto e una batteria al litio e puo
incendiarsi, esplodere o procurare gravi ustioni.
Evitare di ricaricarla, smontarne il connettore
polarizzato, smontarla, riscaldarla ad una
temperatura superiore ai 100 gradi centigradi,
incendiarla o gettarla in acqua. Smaltirla secondo
la normativa in vigore (DPR 915/82, successive
disposizioni e disposizioni locali). L’impiego di una
batteria non adatta potrebbe determinare l’incendio
ol’esplosione della batteria stessa.
La batería de repuesto es una batería de litio y
puede provocar incendios, explosiones o
quemaduras graves. No la recargue, ni quite el
conector polarizado, ni la desmonte, ni caliente por
encima de los 100°C (212°F), ni la incinere ni
exponga el contenido de sus celdas al agua.
Deséchela tal como dispone la normativa local.
Safety notices
Introduction 9

Safety notice 5
If the LCD breaks and the fluid from inside the LCD
gets into your eyes or on your hands, immediately
wash the affected areas with water for at least 15
minutes. Seek medical care if any symptoms from the
fluid are present after washing.
Si le panneau d’affichage àcristaux liquides se brise et
que vous recevez dans les yeux ou sur les mains une
partie du fluide, rincez-les abondamment pendant au
moins quinze minutes. Consultez un médecin si des
symptômes persistent après le lavage.
Die Leuchtstoffröhre im LCD-Bildschirm enthält
Quecksilber. Bei der Entsorgung die örtlichen
Bestimmungen für Sondermüll beachten. Der
LCD-Bildschirm besteht aus Glas und kann zerbrechen,
wenn er unsachgemäß behandelt wird oder der
Computer auf den Boden fällt. Wenn der Bildschirm
beschädigt ist und die darin befindliche Flüssigkeit in
Kontakt mit Haut und Augen gerät, sollten die
betroffenen Stellen mindestens 15 Minuten mit Wasser
abgespült und bei Beschwerden anschließend ein Arzt
aufgesucht werden.
Nel caso che caso l’LCD si dovesse rompere ed il
liquido in esso contenuto entrasse in contatto con gli
occhi o le mani, lavare immediatamente le parti
interessate con acqua corrente per almeno 15 minuti;
poi consultare un medico se i sintomi dovessero
permanere.
Si la LCD se rompe y el fluido de su interior entra en
contacto con sus ojos o sus manos, lave
inmediatamente las áreas afectadas con agua durante
15 minutos como mínimo. Obtenga atención medica si
se presenta algúnsíntoma del fluido despues de
lavarse.
Safety notices
10 ThinkPad A20m/p, A21m/p, A22m/p

Safety notice 6
DANGER
To avoid shock, do not remove the plastic cover
that protects the lower part of the inverter card.
Afin d’éviter tout risque de choc électrique, ne
retirez pas le cache en plastique protégeant la
partie inférieure de la carte d’alimentation.
Aus Sicherheitsgründen die Kunststoffabdeckung,
die den unteren Teil der Spannungswandlerplatine
umgibt, nicht entfernen.
Per evitare scosse elettriche, non rimuovere la
copertura in plastica che avvolge la parte inferiore
della scheda invertitore.
Para evitar descargas, no quite la cubierta de
plástico que rodea la parte baja de la tarjeta
invertida.
Safety notices
Introduction 11

Safety notice 7
DANGER
Though the main batteries have low voltage, a
shorted or grounded battery can produce enough
current to burn personnel or combustible materials.
Bien que le voltage des batteries principales soit
peu élevé, le court-circuit ou la mise àla masse
d’une batterie peut produire suffisamment de
courant pour brûler des matériaux combustibles ou
causer des brûlures corporelles graves.
Obwohl Hauptbatterien eine niedrige Spannung
haben, können sie doch bei Kurzschlußoder
Erdung genug Strom abgeben, um brennbare
Materialien zu entzünden oder Verletzungen bei
Personen hervorzurufen.
Sebbene le batterie di alimentazione siano a basso
voltaggio, una batteria in corto circuito o a massa
puòfornire corrente sufficiente da bruciare
materiali combustibili o provocare ustioni ai tecnici
di manutenzione.
Aunque las baterías principales tienen un voltaje
bajo, una batería cortocircuitada o con contacto a
tierra puede producir la corriente suficiente como
para quemar material combustible o provocar
quemaduras en el personal.
Safety notices
12 ThinkPad A20m/p, A21m/p, A22m/p

Safety notice 8
DANGER
Before removing any FRU, power off the computer,
unplug all power cords from electrical outlets,
remove the battery pack, and then disconnect any
interconnecting cables.
Avant de retirer une unitéremplaçable en clientèle,
mettez le système hors tension, débranchez tous
les cordons d’alimentation des socles de prise de
courant, retirez la batterie et déconnectez tous les
cordons d’interface.
Die Stromzufuhr mußabgeschaltet, alle Stromkabel
aus der Steckdose gezogen, der Akku entfernt und
alle Verbindungskabel abgenommen sein, bevor
eine FRU entfernt wird.
Prima di rimuovere qualsiasi FRU, spegnere il
sistema, scollegare dalle prese elettriche tutti i cavi
di alimentazione, rimuovere la batteria e poi
scollegare i cavi di interconnessione.
Antes de quitar una FRU, apague el sistema,
desenchufe todos los cables de las tomas de
corriente eléctrica, quite la bateríay,a
continuación, desconecte cualquier cable de
conexión entre dispositivos.
Safety notices
Introduction 13

Safety information
The following section contains the safety information that
you need to be familiar with before servicing an IBM
mobile computer.
General safety
Follow these rules to ensure general safety:
vObserve good housekeeping in the area of the
machines during and after maintenance.
vWhen lifting any heavy object:
1. Ensure you can stand safely without slipping.
2. Distribute the weight of the object equally between
your feet.
3. Use a slow lifting force. Never move suddenly or
twist when you attempt to lift.
4. Lift by standing or by pushing up with your leg
muscles; this action removes the strain from the
muscles in your back. Do not attempt to lift any
objects that weigh more than 16 kg (35 lb) or objects
that you think are too heavy for you.
vDo not perform any action that causes hazards to the
customer, or that makes the equipment unsafe.
vBefore you start the machine, ensure that other service
representatives and the customer’s personnel are not in
a hazardous position.
vPlace removed covers and other parts in a safe place,
away from all personnel, while you are servicing the
machine.
vKeep your toolcase away from walk areas so that other
people will not trip over it.
vDo not wear loose clothing that can be trapped in the
moving parts of a machine. Make sure that your sleeves
are fastened or rolled up above your elbows. If your hair
is long, fasten it.
vInsert the ends of your necktie or scarf inside clothing or
fasten it with a nonconductive clip, approximately 8
centimeters (3 inches) from the end.
vDo not wear jewelry, chains, metal-frame eyeglasses, or
metal fasteners for your clothing.
Attention: Metal objects are good electrical
conductors.
vWear safety glasses when you are hammering, drilling,
soldering, cutting wire, attaching springs, using solvents,
or working in any other conditions that might be
hazardous to your eyes.
vAfter service, reinstall all safety shields, guards, labels,
and ground wires. Replace any safety device that is
worn or defective.
vReinstall all covers correctly before returning the
machine to the customer.
Safety information
14 ThinkPad A20m/p, A21m/p, A22m/p

Electrical safety
Observe the following rules when working on electrical
equipment.
Important
Use only approved tools and test equipment. Some
hand tools have handles covered with a soft
material that does not insulate you when working
with live electrical currents.
Many customers have, near their equipment, rubber
floor mats that contain small conductive fibers to
decrease electrostatic discharges. Do not use this
type of mat to protect yourself from electrical shock.
vFind the room emergency power-off (EPO) switch,
disconnecting switch, or electrical outlet. If an electrical
accident occurs, you can then operate the switch or
unplug the power cord quickly.
vDo not work alone under hazardous conditions or near
equipment that has hazardous voltages.
vDisconnect all power before:
–Performing a mechanical inspection
–Working near power supplies
–Removing or installing main units
vBefore you start to work on the machine, unplug the
power cord. If you cannot unplug it, ask the customer to
power-off the wall box that supplies power to the
machine and to lock the wall box in the off position.
vIf you need to work on a machine that has exposed
electrical circuits, observe the following precautions:
–Ensure that another person, familiar with the
power-off controls, is near you.
Attention: Another person must be there to switch
off the power, if necessary.
–Use only one hand when working with powered-on
electrical equipment; keep the other hand in your
pocket or behind your back.
Attention: An electrical shock can occur only when
there is a complete circuit. By observing the above
rule, you may prevent a current from passing through
your body.
–When using testers, set the controls correctly and
use the approved probe leads and accessories for
that tester.
–Stand on suitable rubber mats (obtained locally, if
necessary) to insulate you from grounds such as
metal floor strips and machine frames.
Safety information
Introduction 15
Observe the special safety precautions when you work
with very high voltages; these instructions are in the
safety sections of maintenance information. Use
extreme care when measuring high voltages.
vRegularly inspect and maintain your electrical hand tools
for safe operational condition.
vDo not use worn or broken tools and testers.
vNever assume that power has been disconnected from
a circuit. First, check that it has been powered off.
vAlways look carefully for possible hazards in your work
area. Examples of these hazards are moist floors,
nongrounded power extension cables, power surges,
and missing safety grounds.
vDo not touch live electrical circuits with the reflective
surface of a plastic dental mirror. The surface is
conductive; such touching can cause personal injury and
machine damage.
vDo not service the following parts with the power on
when they are removed from their normal operating
places in a machine:
–Power supply units
–Pumps
–Blowers and fans
–Motor generators
and similar units. (This practice ensures correct
grounding of the units.)
vIf an electrical accident occurs:
–Use caution; do not become a victim yourself.
–Switch off power.
–Send another person to get medical aid.
Safety inspection guide
The purpose of this inspection guide is to assist you in
identifying potentially unsafe conditions. As each machine
was designed and built, required safety items were
installed to protect users and service personnel from injury.
This guide addresses only those items. You should use
good judgment to identify potential safety hazards due to
attachment of non-IBM features or options not covered by
this inspection guide.
If any unsafe conditions are present, you must determine
how serious the apparent hazard could be and whether
you can continue without first correcting the problem.
Consider these conditions and the safety hazards they
present:
vElectrical hazards, especially primary power (primary
voltage on the frame can cause serious or fatal
electrical shock)
vExplosive hazards, such as a damaged CRT face or a
bulging capacitor
Safety information
16 ThinkPad A20m/p, A21m/p, A22m/p

vMechanical hazards, such as loose or missing hardware
To determine whether there are any potentially unsafe
conditions, use the following checklist at the beginning of
every service task. Begin the checks with the power off,
and the power cord disconnected.
Checklist:
1. Check exterior covers for damage (loose, broken, or
sharp edges.)
2. Power-off the computer. Disconnect the power cord.
3. Check the power cord for:
a. A third-wire ground connector in good condition.
Use a meter to measure third-wire ground
continuity for 0.1 ohm or less between the external
ground pin and frame ground.
b. The power cord should be the type specified in the
parts list.
c. Insulation must not be frayed or worn.
4. Remove the cover.
5. Check for any obvious non-IBM alterations. Use good
judgment as to the safety of any non-IBM alterations.
6. Check inside the unit for any obvious unsafe
conditions, such as metal filings, contamination, water
or other liquids, or signs of fire or smoke damage.
7. Check for worn, frayed, or pinched cables.
8. Check that the power-supply cover fasteners (screws
or rivets) have not been removed or tampered with.
Handling electrostatic
discharge-sensitive devices
Any computer part containing transistors or integrated
circuits (ICs) should be considered sensitive to electrostatic
discharge (ESD.) ESD damage can occur when there is a
difference in charge between objects. Protect against ESD
damage by equalizing the charge so that the machine, the
part, the work mat, and the person handling the part are all
at the same charge.
Notes
1. Use product-specific ESD procedures when they
exceed the requirements noted here.
2. Make sure that the ESD protective devices you
use have been certified (ISO 9000) as fully
effective.
When handling ESD-sensitive parts:
vKeep the parts in protective packages until they are
inserted into the product.
vAvoid contact with other people.
Safety information
Introduction 17

vWear a grounded wrist strap against your skin to
eliminate static on your body.
vPrevent the part from touching your clothing. Most
clothing is insulative and retains a charge even when
you are wearing a wrist strap.
vUse the black side of a grounded work mat to provide a
static-free work surface. The mat is especially useful
when handling ESD-sensitive devices.
vSelect a grounding system, such as those listed below,
to provide protection that meets the specific service
requirement.
Note
The use of a grounding system is desirable but
not required to protect against ESD damage.
–Attach the ESD ground clip to any frame ground,
ground braid, or green-wire ground.
–Use an ESD common ground or reference point
when working on a double-insulated or
battery-operated system. You can use coax or
connector-outside shells on these systems.
–Use the round ground-prong of the AC plug on
AC-operated computers.
Grounding requirements
Electrical grounding of the computer is required for
operator safety and correct system function. Proper
grounding of the electrical outlet can be verified by a
certified electrician.
Laser compliance statement
Some IBM Personal Computer models are equipped from
the factory with an optical storage device; such as a
CD-ROM drive or DVD-ROM drive. They are also sold
separately as options. The drive is certified in the U.S. to
conform to the requirements of the Department of Health
and Human Services 21 Code of Federal Regulations
(DHHS 21 CFR) Subchapter J for Class 1 laser products.
Elsewhere, the drive is certified to conform to the
requirements of the International Electrotechnical
Commission (IEC) 825 and CENELEC EN 60 825 for
Class 1 laser products.
Safety information
18 ThinkPad A20m/p, A21m/p, A22m/p

When a CD-ROM drive, DVD drive or the other laser
product is installed, note the following:
CAUTION:
Use of controls or adjustments or performance of
procedures other than those specified herein might
result in hazardous radiation exposure.
O uso de controles, ajustes ou desempenho de
procedimentos diferentes daqueles aqui especificados
pode resultar em perigosa exposiçãoàradiação.
Pour éviter tout risque d’exposition au rayon laser,
respectez les consignes de réglage et d’utilisation des
commandes, ainsi que les procédures décrites.
Werden Steuer- und Einstellelemente anders als hier
festgesetzt verwendet, kann gefährliche Laserstrahlung
auftreten.
L’utilizzo di controlli, regolazioni o l’esecuzione di
procedure diverse da quelle specificate possono
provocare l’esposizione a.
El uso de controles o ajustes o la ejecuciónde
procedimientos distintos de los aquíespecificados
puede provocar la exposición a radiaciones peligrosas.
Laser compliance statement
Introduction 19
Opening the CD-ROM drive, DVD-ROM drive or the other
optical storage device could result in exposure to
hazardous laser radiation. There are no serviceable parts
inside those drives. Do not open.
Some CD-ROM drives, DVD-ROM drives or the other
optical storage devices contain an embedded Class 3A or
Class 3B laser diode. Note the following:
Laser compliance statement
20 ThinkPad A20m/p, A21m/p, A22m/p

DANGER
Emits visible and invisible laser radiation when
open. Do not stare into the beam, do not view
directly with optical instruments, and avoid direct
exposure to the beam.
Radiação por raio laser ao abrir. Não olhe fixo no
feixe de luz, não olhe diretamente por meio de
instrumentos óticos e evite exposição direta com o
feixe de luz.
Rayonnement laser si carter ouvert. Évitez de fixer
le faisceau, de le regarder directement avec des
instruments optiques, ou de vous exposer au
rayon.
Laserstrahlung bei geöffnetem Gerät. Nicht direkt
oder über optische Instrumente in den Laserstrahl
sehen und den Strahlungsbereich meiden.
Kinyitáskor lézersugár!Nenézzen bele se szabad
szemmel, se optikai eszközökkel. Kerülje a
sugárnyalábbal valóérintkezést !
Aprendo l’unitàvengono emesse radiazioni laser.
Non fissare il fascio, non guardarlo direttamente
con strumenti ottici e evitare l’esposizione diretta al
fascio.
Radiaciónláser al abrir. No mire fijamente ni
examine con instrumental óptico el haz de luz.
Evite la exposición directa al haz.
Laser compliance statement
Introduction 21
Laser compliance statement
22 ThinkPad A20m/p, A21m/p, A22m/p

General descriptions
This chapter includes descriptions for any ThinkPad model
that has the PC-Doctor DOS diagnostics program. Some
descriptions might not apply to your particular computer.
Read this first
Before you go to the checkout guide, be sure to read this
section.
Important notes
vOnly certified trained personnel should
service the computer.
vRead the entire FRU removal and replacement
page before replacing any FRU.
vUse new nylon-coated screws when you
replace FRUs.
vBe extremely careful during such write
operations as copying, saving, or formatting.
Drives in the computer that you are servicing
sequence might have been altered. If you select
an incorrect drive, data or programs might be
overwritten.
vReplace FRUs only for the correct model.
When you replace a FRU, make sure the model
of the machine and the FRU part number are
correct by referring to the FRU parts list.
vA FRU should not be replaced because of a
single, unreproducible failure. Single failures
can occur for a variety of reasons that have
nothing to do with a hardware defect, such as
cosmic radiation, electrostatic discharge, or
software errors. Consider replacing a FRU only
when a problem recurs. If you suspect that a
FRU is defective, clear the error log and run the
test again. If the error does not recur, do not
replace the FRU.
vBe careful not to replace a nondefective FRU.
What to do first
When you do return a FRU, you must include the following
information in the parts exchange form or parts return form
that you attach to it:
__ 1. Name and phone number of servicer
__ 2. Date of service
__ 3. Date on which the machine failed
__ 4. Date of purchase
__ 5. Failure symptoms, error codes appearing on the
display, and beep symptoms
© Copyright IBM Corp. 2001 23
__ 6. Procedure index and page number in which the
failing FRU was detected
__ 7. Failing FRU name and part number
__ 8. Machine type, model number, and serial number
__ 9. Customer’s name and address
Note for warranty:
During the warranty period, the customer may be
responsible for repair costs if the computer damage was
caused by misuse, accident, modification, unsuitable
physical or operating environment, or improper
maintenance by the customer. The following list provides
some common items that are not covered under warranty
and some symptoms that might indicate that the system
was subjected to stress beyond normal use.
Before checking problems with the computer, determine
whether the damage is covered under the warranty by
referring to the following:
The following are not covered under warranty:
vLCD panel cracked from the application of excessive
force or from being dropped
vScratched (cosmetic) parts
vDistortion, deformation or discoloration of the cosmetic
parts
vCracked or broken plastic parts, broken latches, broken
pins, or broken connectors caused by excessive force
vDamage caused by liquid spilled into the system
vDamage caused by the improper insertion of a PC Card
or the installation of an incompatible card
vDamage caused by foreign material in the diskette drive
vDiskette drive damage caused by pressure on the
diskette drive cover or by the insertion of a diskette with
multiple labels
vDamaged or bent diskette eject button
vFuses blown by attachment of a nonsupported device
vForgotten computer password (making the computer
unusable)
vSticky keys caused by spilling a liquid onto the keyboard
The following symptoms might indicate damage
caused by nonwarranted activities:
vMissing parts might be a symptom of unauthorized
service or modification.
vIf the spindle of a hard-disk drive becomes noisy, it may
have been subjected to excessive force, or dropped.
Read this first
24 ThinkPad A20m/p, A21m/p, A22m/p

Related service information
This section provides information about the following:
v“Service web site”
v“Product recovery program”
v“Passwords”on page 27
v“Power management”on page 30
Service web site
When the latest maintenance diskette and the system
program service diskette become available, a notice will be
posted on http://www.ibm.com/pc/partner/infotips
Product recovery program
Restoring the pre-installed software:
If the data on a hard-disk drive is damaged or accidentally
erased, you can restore the software that was shipped with
the computer. This software includes the pre-installed
operating system, applications, and device drivers.
To restore the pre-installed software, you can use either
the Product Recovery program or a Recovery CD.
The Product Recovery program is in the Service Partition,
a section of the hard-disk drive that is not displayed by
Windows Explorer. Use the Recovery CD if it was provided
with the computer.
Note: The recovery process might take up to 2 hours.
To use the Product Recovery program to restore the
pre-installed software, do the following:
1. Save all files and shut down the desktop.
2. Turn off the computer.
3. Turn on the computer. A message appears on the
screen: “To start the Product Recovery program,
press F11”; or, for Windows XP models, “Press F11 to
invoke the IBM Product Recovery program”. Press
F11 quickly; this message is displayed for only a few
seconds.
Note: If this message does not appear, you can use a
Recovery Repair diskette to get access to the
Product Recovery program. (Directions for
making a Recovery Repair diskette are given in
“To create a recovery repair diskette”on
page 26.)
4. From the list displayed on the screen, select the
operating system you want to recover.
5. Select the recovery options you want, and follow the
instructions on the screen.
Related service information
General descriptions 25
Creating the service partition:
To create the Service Partition and install the preloaded
system from the Recovery CD, do the following:
To create the Service Partition (SP):
1. Erase all partitions on the hard-disk drive, using FDISK
or a similar application.
2. Boot with the Recovery CD (and the boot diskette if
required.)
3. Following message appears: “Your computer
originally included a Product Recovery program ...
Reinstall the Product Recovery Program? (Y/N) [ ]”.
Note: If the hard-disk drive contains any partitions, you
do not receive this message ; go to step 1.
4. Enter Y. The Service Partition is created and loaded
with the Product Recovery program files.
Note: If you do not want to create the Service
Partition, press N key, and then go to step 8.
5. At next window, press Enter to continue.
vThe Service Partition is created. The system
automatically reboots during this process.
vThe recovery process copies some files to the
Service Partition and, PKUNZIPs others.
vFollow the prompts. You may be prompted to
change CDs.
vWhen the process is complete, the system reboots.
Continue to step 6 to install preloaded system.
Install preloaded system from CD:
6. Boot with the Recovery CD (and the boot diskette if
required.)
7. If the hard-disk drive is blank, the following message
appears: “Your computer originally included a
Product Recovery program ... Reinstall the
Product Recovery Program? (Y/N) [ ]”.
vTo install the Service Partition, go to step 4.
vTo preload the hard-disk drive without installing the
Service Partition, press the N key.
8. If you get a message asking which operating system
to install, highlight the proper operating system and
press Enter.
9. A message appears: “Full Recovery:”. Press Enter to
select.
10. Enter the Yat each of the next three windows.
11. Follow the prompts to complete Recovery.
To create a recovery repair diskette
If the prompt needed for access to the Product Recovery
program does not appear, you can recover it by use of the
Related service information
26 ThinkPad A20m/p, A21m/p, A22m/p

Recovery Repair diskette. Make a Recovery Repair
diskette and save it for future use. To make a Recovery
Repair diskette:
1. Shut down and turn off the computer.
2. Attach the external diskette drive to the computer.
3. At the prompt, press F11. (The option to press F11
appears for only a few seconds. You must press F11
quickly.) The Product Recovery program main menu
appears.
4. If you are using Windows 2000 Professional, you are
prompted to select an operating system. This menu
does not appear for Windows 98 SE.
5. From the main menu, select System Utilities. Press
Enter.
6. Select Create a Recovery Repair diskette. Press Enter.
7. Follow the on-screen instructions.
8. When the process is completed, label the diskette as
the Recovery Repair diskette and save it for future use.
To use the recovery repair diskette:
1. Shut down and turn off the computer.
2. Attach the external diskette drive to the computer.
3. Insert the Recovery Repair diskette into the drive; then
turn on the computer.
4. Follow the on-screen instructions.
Note
Should the hard-disk drive need to be replaced, you
must order a Recovery CD with the hard-disk drive
so that you can recover the new hard-disk drive with
the pre-installed software when it arrives. For
information on which CD to order, see “Recovery
CDs”on page 141.
Passwords
As many as three passwords may be needed for any
ThinkPad computer: the power-on password (POP), the
hard-disk password (HDP), and the supervisor password
(SVP).
If any of these passwords have been set, a prompt for it
appears on the screen whenever the computer is turned
on. The computer does not start until the password is
entered.
Exception: If only an SVP is installed, the password
prompt doesn’t appear when the operating
system is booted.
Related service information
General descriptions 27

Power-on password:
A power-on password (POP) protects the system from
being powered on by an unauthorized person. The
password must be entered before an operating system can
be booted.
Hard-disk password:
There are two hard-disk passwords (HDPs):
vUser HDP—for the user
vMaster HDP—for the system administrator, who can use
it to get access to the hard disk even if the user has
changed the user HDP
Note: There are two modes for the HDP: User only and
Master + User. The Master + User mode requires
two HDPs; the system administrator enters both in
the same operation. The system administrator then
provides the user HDP to the system user.
Attention
If the user HDP has been forgotten, check whether
a master HDP has been set. It it has, it can be used
for access to the hard-disk drive. If no master HDP
is available, IBM does not provide any services to
reset either the user or the master HDP, or to
recover data from the hard-disk drive. The hard-disk
drive can be replaced for a scheduled fee.
Supervisor password:
A supervisor password (SVP) protects the system
information stored in the IBM BIOS Setup Utility. The SVP
must be entered in order to get access to the IBM BIOS
Setup Utility and make changes to system configuration
settings.
Attention
If the SVP has been forgotten and cannot be made
available to the servicer, there is no service
procedure to reset the password. The systemboard
must be replaced for a scheduled fee.
How to remove the power-on password
To remove a POP that you have forgotten, do the
following:
(A) If no SVP has been set:
1. Turn off the computer.
2. Remove the battery pack.
Related service information
28 ThinkPad A20m/p, A21m/p, A22m/p

For how to remove the battery pack, see “1010 Battery
pack”on page 60.
3. Remove the backup battery.
For how to remove the backup battery, see “1040
Backup battery”on page 66.
4. Turn on the computer and wait until the POST ends.
After the POST ends, the password prompt does not
appear. The POP has been removed.
5. Reinstall the backup battery and the battery pack.
(B) If an SVP has been set and is known by the servicer:
1. Turn on the computer by pressing and holding F1.
2. Enter the SVP. The IBM BIOS Setup Utility menu
appears.
3. Select Password, using the cursor keys to move down
the menu.
4. Select Power-On Password.
5. At the Enter Current Password field, enter the SVP.
6. When the Enter New Password field opens, leave it
blank and press Enter twice.
7. In the Changes have been saved window, press Enter.
8. Press F10; then, in the Setup confirmation window,
select Yes .
How to remove the hard-disk password
Attention
If User only mode is selected and the user HDP
has been forgotten and cannot be made available to
the servicer, IBM does not provide any services to
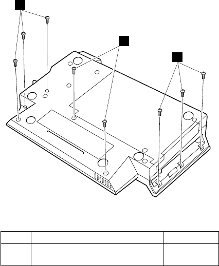
reset the user HDPs or to recover data from the
hard-disk drive. The hard-disk drive can be replaced
for a scheduled fee.
To remove a user HDP that has been forgotten, when the
SVP and the master HDP are known, do the following:
1. Power on the computer by pressing and holding F1.
2. Enter the SVP. The IBM BIOS Setup Utility menu
appears.
3. Select Password, using the cursor keys to move down
the menu.
4. Select Hard-disk xpassword, where xis the letter of
the hard-disk drive. A pop-up window opens.
5. Select Master HDP.
6. Enter the master HDP; then leave the New Password
field blank and press Enter twice.
7. Press F10.
8. Select Yes in the Setup Configuration window.
Both user HDP and master HDP will have been
removed.
Related service information
General descriptions 29

Power management
To reduce power consumption, the computer has three
power management modes: screen blank, standby, and
hibernation.
Notes
vScreen blank mode is called standby mode in
Windows 95 and Windows NT.
vStandby mode is called suspend mode in
Windows 95 and Windows NT.
Screen blank mode
Screen blank mode has three variants, as follows:
1. If you press Fn + F3, or the time set on the “LCD off
timer”in IBM BIOS Setup Utility expires,
vThe LCD backlight turns off.
vThe hard-disk drive motor stops.
vThe speaker is muted.
2. If you are using the ACPI operating system and you
press Fn + F3,
vThe LCD backlight turns off.
vThe hard-disk drive motor stops.
3. If the time set on the “Turn off monitor”timer in the
operating system expires,
vThe LCD backlight turns off.
To end screen blank mode and resume normal operation,
press any key.
Standby mode
When the computer enters standby mode, the following
events occur in addition to what occurs in screen blank
mode:
vThe LCD is powered off.
vThe hard-disk drive is powered off.
vThe CPU stops.
To enter standby mode, press Fn + F4.
Note: You can change the action of Fn + F4, if you are
using the ACPI operating system.
In certain circumstances, the computer goes into standby
mode automatically:
vIf a “suspend time”has been set on the timer, and the
user does not do any operation with the keyboard, the
TrackPoint, the hard disk, the parallel connector, or the
diskette drive within that time.
Related service information
30 ThinkPad A20m/p, A21m/p, A22m/p

vIf the battery indicator blinks orange, indicating that the
battery power is low. (Alternatively, if Hibernate when
battery becomes low has been selected in the “Power
Management Properties”window, the computer goes
into hibernation mode.)
Note for the APM operating system:
Even if you do not set the low-battery alarm, the charge
indicator notifies you when the battery is low, and then the
computer enters the power-saving mode automatically.
This default low-battery behavior is independent of the
operating system; so if you have set the low-battery alarm,
the computer may not do what you specified. It chooses
either your setting or the default setting, whichever is
appropriate.
If you are using the ACPI operating system, only the
low-battery alarm is available.
To cause the computer to return from standby mode and
resume operation, do one of the following:
vPress the Fn key.
vOpen the LCD cover (only if you are using Windows Me
and you entered standby mode by closing the LCD
cover.)
vTurn on the power switch.
Also, the computer automatically returns from standby
mode and resumes operation in either of the following
events:
vThe ring indicator (RI) is signaled by a serial device or a
PC Card device (Windows 2000 does not support the
ring indicator (RI) resume by PC Card device.)
vThe time set on the resume timer elapses. In Windows
98, the Scheduled Tasks setting takes priority over the
Resume on timer selection in the “Power Management
Properties”window.
Note: The computer does not accept any input
immediately after it enters standby mode. Wait a
few seconds before taking any action to reenter
operation mode.
Hibernation mode
Note for Windows NT
If you are using Windows NT in the default format,
NTFS, you cannot create a hibernation file. If you
want to use hibernation mode, you will need to
reinstall Windows NT with FAT format.
Related service information
General descriptions 31

Note for OS/2
If you are using OS/2 in the default format, HPFS,
you cannot create a hibernation file. If you want to
use hibernation mode, you will need to reinstall
OS/2 with FAT format.
In hibernation mode, the following occurs:
vThe system status, RAM, VRAM, and setup data are
stored on the hard disk.
vThe system is powered off.
Note: If the computer enters the hibernation mode while it
is docked to the docking station, do not undock it
from the docking station before resuming normal
operation. If you do undock it and then try to
resume normal operation, you will get an error
message, and you will have to restart the system.
To cause the computer to enter hibernation mode, do any
of the following:
vPress the Fn + F12 keys.
vIf you are using the APM operating system and have set
the mode to Power switch mode [Hibernation], turn
off the power switch.
vIf you are using the ACPI operating system and have
defined one of the following actions as the event that
causes the system to go into hibernation mode, perform
that action.
–Closing the lid.
–Pressing the power button.
–Pressing Fn + F4 keys.
Also, the computer goes into hibernation mode
automatically in either of the following conditions:
vIf a “hibernation time”has been set on the timer, and the
user does not do any operation with the keyboard, the
TrackPoint, the hard-disk drive, the parallel connector, or
the diskette drive within that time.
vIf the timer conditions are satisfied in suspend mode.
vIf you are using the APM operating system and have set
the mode to Hibernate when battery becomes low,
and the battery charge becomes critically low.
When the power is turned on, the computer returns from
hibernation mode and resumes operation. The hibernation
file in the boot record on the hard-disk drive is read, and
system status is restored from the hard-disk drive.
Related service information
32 ThinkPad A20m/p, A21m/p, A22m/p

Checkout guide
Use the following procedures as a guide in identifying and
correcting problems with the ThinkPad computer.
Note: The diagnostic tests are intended to test only IBM
products. The use of non-IBM products, prototype
cards, or modified options can lead to false
indications of errors and invalid system responses.
1. Identify the failing symptoms in as much detail as
possible.
2. Verify the symptoms. Try to re-create the failure by
running the diagnostic test or by repeating the
operation.
Testing the computer
The ThinkPad computer has a test program called
PC-Doctor
®
DOS (hereafter called PC-Doctor). You can
detect errors by running the diagnostics test included in
PC-Doctor. This section is an overview of the procedure.
For details that depend on model-unique functions, refer to
“Product overview”on page 41.
For some possible configurations of the computer,
PC-Doctor might not run correctly. To avoid this problem,
you need to initialize the computer setup by use of the IBM
BIOS Setup Utility before you run PC-Doctor. On the IBM
BIOS Setup Utility screen, press F9, Enter, F10, and then
Enter.
Note: When you initialize the computer configuration,
some devices are disabled, such as the serial port.
If you test one of these devices, you will need to
enable it by using PS2.EXE.
PC-Doctor cannot be used to test a device that is in the
docking station, even if the computer supports the docking
station. To test a USB device, connect it to the USB
connector of the computer. To test the Ultrabay 2000
device, install it in the Ultrabay 2000 slot of the computer.
To run the test, do as follows:
Note: In the following procedure, you can select an item
not only with the arrow keys, but also with the
TrackPoint. Instead of pressing Enter, click the left
button.
1. Insert the PC-Doctor disk into the diskette drive; then
power on the computer.
If the computer cannot be powered on, go to “Power
system checkout”on page 35, and check the power
sources.
Checkout guide
General descriptions 33

If an error code appears, go to “Symptom-to-FRU
index”on page 49.
On the first screen, select the model and press Enter.
Follow the instructions on the screen.
2. The main panel of PC-Doctor appears.
3. Select Diagnostics with the arrow keys, and press
Enter.
A pull-down menu appears. (Its exact form depends on
the model.)
The options on the test menu are as follows:
Diagnostics Interactive Tests
vRun Normal Test
vRun Quick Test
vCPU/Coprocessor
vSystemboard
vVideo Adapter
vSerial Ports
vParallel Ports
vFixed Disks
vDiskette Drives
vOther Devices
vZIP Drive (*)
vLS-120 Drive (*)
vCommunication
vMemory Test –Full
vMemory Test –Quick
vKeyboard
vVideo
vInternal Speaker
vMouse
vJoystick Test
vDiskette
vSystem Load
vCD-ROM/DVD Test
vStereo Speaker
Notes:
vIn the Keyboard test in Interactive Tests, the Fn key is
scanned only once. Each key should be held down for at least
2 seconds; otherwise, it cannot be sensed.
vThe sound card is not recognized in the Stereo Speaker in the
Interactive Tests. To test it, use the audio device test in the
Other Devices (Diagnostics).
vVideo Adapter test supports only the LCD display on
ThinkPad. Before running PC-Doctor DOS, detach the external
Monitor.
vZIP Drive test and LS-120 Drive test are only for some
models. Some model do not have them.
Diagnostics Quit
Interactive Tests Hardware Info Utility F1=Help
Run Quick Test
Run Normal Test
Systemboard
CPU/Coprocessor
Video Adapter
Serial Ports
Diskette Drives
Fixed Disks
Parallel Ports
Other Devices
ZIP Drive
Communication
Memory Test - Full
Memory Test - Quick
Use the cursor keys and ESC to move in menus. Press ENTER to select.
PC-DOCTOR 2.0 Copyright 2001 PC-Doctor, Inc. All Rights Reserved.
4. Run the applicable function test.
Checkout guide
34 ThinkPad A20m/p, A21m/p, A22m/p
5. Follow the instructions on the screen. If there is a
problem, PC-Doctor shows messages describing it.
6. To exit the test, select Quit —Exit Diag.
To cancel the test, press Esc.
Note: After executing PC-Doctor, check the system
time/date and reset them if needed.
Detecting system information with
PC-Doctor
PC-Doctor can detect the following system information:
Hardware Info
vSystem Configuration
vMemory Contents
vPhysical Disk Drives
vLogical Disk Drives
vVGA Information
vIDE Drive Info
vPCI Information
vPNPISA Info
vSMBIOS Info
vVESA LCD Info
Utility
vRun External Tests
vSurface Scan Hard Disk
vBenchmark System
vDOS Shell
vTech Support Form
vBattery Rundown
vView Test Log
vPrint Log
vSave Log
vFull Erase Hard Drive
vQuick Erase Hard Drive
Power system checkout
To verify a symptom, do the following:
1. Power off the computer.
2. Remove the battery pack.
3. Connect the ac adapter.
4. Check that power is supplied when you power on the
computer.
5. Power off the computer.
6. Disconnect the ac adapter and install the charged
battery pack.
7. Check that the battery pack supplies power when you
power on the computer.
If you suspect a power problem, see the appropriate one
of the following power supply checkouts:
Checkout guide
General descriptions 35

v“Checking the ac adapter”
v“Checking operational charging”
v“Checking the battery pack”on page 37
v“Checking the backup battery”on page 37
Checking the ac adapter
You are here because the computer fails only when the ac
adapter is used:
vIf the power problem occurs only when the port
replicator is used, replace the port replicator.
vIf the power-on indicator does not turn on, check the
power cord of the ac adapter for correct continuity and
installation.
vIf the computer does not charge during operation, go to
″Checking operational charging.″
To check the ac adapter, do the following:
1. Unplug the ac adapter cable from the computer.
2. Measure the output voltage at the plug of the ac
adapter cable. See the following figure:
2
1
(16-10V)
Pin Voltage (V dc)
1 +15.5 to +17.0
2 Ground
3. If the voltage is not correct, replace the ac adapter.
4. If the voltage is acceptable, do the following:
vReplace the system board.
vIf the problem persists, go to “Product overview”on
page 41.
Note: Noise from the ac adapter does not always indicate
a defect.
Checking operational charging
To check whether the battery charges properly during
operation, use a discharged battery pack or a battery pack
that has less than 50% of the total power remaining when
installed in the computer.
Perform operational charging. If the battery status indicator
or icon does not turn on, remove the battery pack and let it
return to room temperature. Reinstall the battery pack. If
the charge indicator or icon still does not turn on, replace
the battery pack.
If the charge indicator still does not turn on, replace the
system board. Then reinstall the battery pack. If it is still
not charged, go to the next section.
Checkout guide
36 ThinkPad A20m/p, A21m/p, A22m/p

Checking the battery pack
Battery charging does not start until the Power Meter
shows that less than 95% of the total power remains;
under this condition the battery pack can charge to 100%
of its capacity. This protects the battery pack from being
overcharged or from having a shortened life.
To check the status of your battery, move your cursor to
the Power Meter icon in the icon tray of the Windows
taskbar and wait for a moment (but do not click), and the
percentage of battery power remaining is displayed. To get
detailed information about the battery, double-click the
Power Meter icon.
Note: If the battery pack becomes hot, it may not be able
to charge. Remove it from the computer and leave it
at room temperature for a while. After it cools down,
reinstall and recharge it.
To check the battery pack, do the following:
1. Power off the computer.
2. Remove the battery pack and measure the voltage
between battery terminals 1 (+) and 5 (−). See the
following figure:
5(-) 4321(+)
Terminal Voltage (V dc)
1 + 0 to + 12.6
5 Ground (−)
3. If the voltage is less than +11.0 V dc, the battery pack
has been discharged.
Note: Recharging will take at least 3 hours, even if the
indicator does not turn on.
If the voltage is still less than +11.0 V dc after
recharging, replace the battery.
4. If the voltage is more than +11.0 V dc, measure the
resistance between battery terminals 4 and 5. The
resistance must be 4 to 30 K .
If the resistance is not correct, replace the battery
pack. If the resistance is correct, replace the system
board.
Checking the backup battery
Do the following:
1. Power off the computer, and unplug the ac adapter
from it.
2. Turn the computer upside down.
Checkout guide
General descriptions 37

3. Remove the battery pack (see “1010 Battery pack”on
page 60 ).
4. Remove the backup battery (see “Checking the battery
pack”on page 37).
5. Measure the voltage of the backup battery. See the
following figure.
Red (+)
Black (-)
Wire Voltage (V dc)
Red +2.5 to +3.2
Black Ground
vIf the voltage is correct, replace the system board.
vIf the voltage is not correct, replace the backup battery.
vIf the backup battery discharges quickly after
replacement, replace the system board.
Checkout guide
38 ThinkPad A20m/p, A21m/p, A22m/p

ThinkPad A20m/p, A21m/p and
A22m/p
Product overview ............41
Specifications ............41
Status indicators ...........44
FRU tests .............46
Fn key combinations ..........48
Symptom-to-FRU index ..........49
Numeric error codes ..........49
Error messages ...........52
Beep symptoms ...........53
No beep symptoms ..........53
LCD-related symptoms .........54
Intermittent problems ..........55
Undetermined problems .........55
FRU replacement notices .........56
Screw notices ............56
Retaining serial numbers.........57
Restoring the serial number of the system unit 57
Retaining the UUID .........57
Removing and replacing a FRU........59
1010 Battery pack...........60
1020 DIMM ............61
1030 Mini PCI adapter .........63
For A20m/p, A21m/p series .......64
For A22m/p series .........65
1040 Backup battery ..........66
1050 Hard-disk drive or RF ID adapter ....67
1060 Ultrabay 2000 device ........69
1070 Keyboard ...........71
1080 Keyboard CRU insulator .......74
1090 Hinge cover and clear sheet icon ....75
1100 Keyboard bezel and speaker ......76
1110 Microphone and speaker cable .....78
For A20m/p and A21m/p series (microphone and
speaker cable) ..........78
For A22m/p series (speaker cable) .....79
1120 Sub card............80
1130 PC Card slot assembly .......82
1140 Fan assembly ..........83
1150 Diskette drive ..........85
1160 Upper shield...........87
1170 TV card ............88
1180 CPU socket and CPU ........89
1190 System board and RJ45/11 connector
assembly ............91
For A20m/p and A21m/p series ......92
For A22m/p series .........92
Thermal rubbers location.........93
2010 LCD assembly ..........94
2020 Front bezel ...........96
© Copyright IBM Corp. 2001 39
12.1-in. panel ...........96
14.1-in. and 15.0-in. panels .......97
2030 Inverter card ..........99
12.1-in. panel ...........99
14.1-in. and 15.0-in. panels ......100
2040 LCD panel ...........101
12.1-in. panel...........101
14.1-in. and 15.0-in. panels ......103
3010 ThinkPad Dock PCI cover ......105
3020 ThinkPad Dock top cover ......107
Locations ..............112
Front view.............112
Rear view .............113
Bottom view ............114
Parts list ..............115
A series model matrix .........115
Overall .............123
AC adapter ............136
LCD FRUs ............136
12.1-in. SVGA TFT .........136
14.1-in. XGA TFT .........137
15.0-in. XGA TFT (LG) ........138
15.0-in. XGA TFT (SAMSUNG) .....138
15.0-in. SXGA+ TFT ........139
15.0-in. UXGA TFT .........139
Keyboard .............140
Recovery CDs ...........141
For Windows 98 (A22m) .......141
For Windows 98 (A22p) .......142
For Windows 2000 (A22m).......143
For Windows 2000 (A22p) .......143
For Windows 2000/Windows NT (A22m) 143
For Windows 2000/Windows NT (A22p) . . . 144
Miscellaneous parts ..........145
Optional FRUs ...........147
Common parts list ..........148
Tools .............148
Power cords (system) ........148
Power cords (docking station) ......149
Notices ..............150
Trademarks ............150
40 ThinkPad A20m/p, A21m/p, A22m/p

Product overview
This section presents the following product-unique
information:
v“Specifications”
v“Status indicators”on page 44
v“FRU tests”on page 46
v“Fn key combinations”on page 48
Specifications
The following table lists the specifications of the ThinkPad
A20m/p, A21m/p and A22m/p series:
Feature Description
Processor A20m
vIntel
®
Celeron
®
processor 500 MHz, L2
256-KB cache
vIntel
®
Celeron
®
processor 550 MHz, L2
256-KB cache
vMobile Intel
®
Pentium
®
III processor
500 MHz, L2 256-KB cache
vMobile Intel
®
Pentium
®
III processor at
600 MHz featuring Intel
®
SpeedStep
™
technology
vMobile Intel
®
Pentium
®
III processor at
650 MHz featuring Intel
®
SpeedStep
™
technology
vMobile Intel
®
Pentium
®
III processor at
700 MHz featuring Intel
®
SpeedStep
™
technology
A20p
vMobile Intel
®
Pentium
®
III processor at
700 MHz featuring Intel
®
SpeedStep
™
technology
vMobile Intel
®
Pentium
®
III processor at
750 MHz featuring Intel
®
SpeedStep
™
technology
A21m
vMobile Intel
®
Pentium
®
III processor at
700 MHz featuring Intel
®
SpeedStep
™
technology
vMobile Intel
®
Pentium
®
III processor at
750 MHz featuring Intel
®
SpeedStep
™
technology
vMobile Intel
®
Pentium
®
III processor at
800 MHz featuring Intel
®
SpeedStep
™
technology
(continued)
Product overview
ThinkPad A20m/p, A21m/p and A22m/p 41

Feature Description
Processor A21p
vMobile Intel
®
Pentium
®
III processor at
850 MHz featuring Intel
®
SpeedStep
™
technology
A22m
vMobile Intel
®
Pentium
®
III processor at
800 MHz featuring Intel
®
SpeedStep
™
technology
vMobile Intel
®
Pentium
®
III processor at
850 MHz featuring Intel
®
SpeedStep
™
technology
vMobile Intel
®
Pentium
®
III processor at
900 MHz featuring Intel
®
SpeedStep
™
technology
vMobile Intel
®
Pentium
®
III processor at
1 GHz featuring Intel
®
SpeedStep
™
technology
A22p
vMobile Intel
®
Pentium
®
III processor at
1 GHz featuring Intel
®
SpeedStep
™
technology
Bus architecture PCI Bus
Memory (standard) A20m/p
v64 MB (on the system board)
v128 MB (on the system board)
A21m/p
v64 MB (on the system board)
v128 MB (on the system board)
v64 MB (64 MB SO-DIMM ×1)
v128 MB (128 MB SO-DIMM ×1)
A22m/p
v64 MB (64 MB SO-DIMM ×1)
v128 MB (128 MB SO-DIMM ×1)
Memory (optional) 64 MB, 128 MB, or 256 MB DIMM card
(maximum of 512 MB)
CMOS RAM 114 bytes + 128 bytes
Display v12.1-inch, 16M colors, SVGA (800×600
resolution) TFT color LCD
v14.1-inch, 16M colors, XGA (1024×768
resolution) TFT color LCD
v15.0-inch, 16M colors, XGA (1024×768
resolution) TFT color LCD
v15.0-inch, 16M colors, SXGA+
(1400×1050 resolution) TFT color LCD
v15.0-inch, 16M colors, UXGA
(1600×1200 resolution) TFT color LCD
(continued)
Product overview
42 ThinkPad A20m/p, A21m/p, A22m/p

Feature Description
Diskette drive 1.44 MB (3-mode), 3.5-inch
Hard-disk drive A20m/p
v6.0 GB, 2.5-inch, IDE interface
v12.0 GB, 2.5-inch, IDE interface
v18.0 GB, 2.5-inch, IDE interface
v20.0 GB, 2.5-inch, IDE interface
A21m/p
v10.0 GB, 2.5-inch, IDE interface
v20.0 GB, 2.5-inch, IDE interface
v32.0 GB, 2.5-inch, IDE interface
A22m/p
v10.0 GB, 2.5-inch, IDE interface
v20.0 GB, 2.5-inch, IDE interface
v30.0 GB, 2.5-inch, IDE interface
v32.0 GB, 2.5-inch, IDE interface
I/O port vExternal monitor
vLine-in
vHeadphone
vMicrophone
vMouse or keyboard
vParallel
vPort replicator connector
vSerial
vUniversal serial bus (USB) connector
vRJ11
vRJ45
vTV-in/out (for MT2629)
vTV-out (for MT2628-Fxx, Gxx, Sxx, Txx,
MT2623-Gxx, Txx)
Internal modem 56.6 Kbps
Audio vInternal microphone (for A20m/p,
A21m/p)
vInternal speaker
vSoftware control volume
Infrared transfer IrDA 1.1
PC Card One Type-III or two Type-II
AC adapter 72-watt type
Bay device A20m/p
v10-24 x CD-ROM drive
v6 x DVD drive
A21m/p, A22m/p
v10-24 x CD-ROM drive
v8 x DVD drive
Product overview
ThinkPad A20m/p, A21m/p and A22m/p 43

Status indicators
The system status indicators show the status of the
computer, as follows:
Indicator Meaning
1 Battery Green: The battery is fully charged.
Blinking green:
The battery has enough power to
operate, but is being charged.
Orange: The battery power is low. The battery
is to being charged.
Blinking orange:
The battery needs to be charged.
when the indicator starts blinking
orange, the computer beeps three
times.
2 Standby
status Green: The computer is in standby mode.
Blinking green:
The computer is entering standby
mode or hibernation mode, or is
resuming normal operation. This
indicator does not blink in Windows
2000 and Windows Me.
3 Drive in
use Green: Data is being read from or written to
the hard-disk drive, the diskette drive,
or the drive in the Ultrabay 2000.
When this indicator is on, do not put
the computer into standby mode or
turn off the computer.
Note: Do not move the system while the Green
drive in use light is on. Sudden physical shock
could cause drive errors.
(continued)
Product overview
44 ThinkPad A20m/p, A21m/p, A22m/p

Indicator Meaning
4 Num lock Green: The numeric keypad on the keyboard
is enabled. To enable or disable the
keypad, press and hold the Shift key
while pressing the NumLk key.
5 Caps lock Green: Caps Lock mode is enabled. To
enable or disable Caps Lock mode,
press Caps Lock key.
6 Scroll lock Green: Scroll Lock mode is enabled. Arrow
keys can be used as screen-scroll
function keys, but not to move the
cursor. To enable or disable Scroll
Lock mode, press ScrLk key. Not all
application programs support this
function.
7 Power on Green: This indicator stays lighted whenever
the computer is on. If the power-on
indicator is on and the standby
indicator is off, the system is ready to
use. If both the power-on indicator
and the standby indicator are on, you
can use the computer after it returns
from the standby mode and the
standby indicator goes off.
Product overview
ThinkPad A20m/p, A21m/p and A22m/p 45

FRU tests
The following table shows the test for each FRU.
FRU Applicable test
System board 1. Diagnostics --> CPU/Coprocessor
2. Diagnostics --> Systemboard
Power Diagnostics --> Other Devices --> IBM AC
Adapter,IBM Battery 1 (IBM Battery 2)
LCD unit 1. Diagnostics --> Video Adapter
2. Interactive Tests --> Video
Modem 1. Make sure the modem is set up correctly.
2. Replace the modem jack and the modem
card in turn, and run the following test in
Diagnostics --> Communication:
a. Lucent Modem (M2) Loopback
b. Lucent Modem (M2) Dialtone/DTM
c. Intel Modem Register
d. Intel Modem Loopback/DTMF
e. Intel SP Modem Register
f. Intel SP Modem Loopback/DTMF
g. 3Com MiniPCI Modem Test
h. 3Com MiniPCI Dialtone Test
Audio 1. Interactive Tests --> Internal Speaker
2. Diagnostics --> Other Devices --> Crystal
SoundFusion
™
Test
Speaker Interactive Tests --> Internal Speaker
PC Card slots Diagnostics --> Systemboard --> PCMCIA,
PCMCIA External Loop
Keyboard 1. Diagnostics --> Systemboard -->
Keyboard
2. Interactive Tests --> Keyboard
TrackPoint or
pointing device If the TrackPoint does not work, check the
configuration in the ThinkPad Configuration
program. If the TrackPoint is disabled, select
Enable to enable it.
After you use the TrackPoint, the pointer may
drift on the screen for a short time. This drift
can occur when a slight, steady pressure is
applied to the TrackPoint pointer. This symptom
is not a hardware problem. If the pointer stops
after a short time, no service action is
necessary.
If enabling the TrackPoint does not correct the
problem, continue with the following:
vInteractive Tests --> Mouse
Hard-disk drive Diagnostics --> Fixed Disks
Diskette drive 1. Diagnostics --> Diskette Drives
2. Interactive Tests --> Diskette
(continued)
Product overview
46 ThinkPad A20m/p, A21m/p, A22m/p

FRU Applicable test
CD-ROM or
DVD drive 1. Diagnostics --> Other Devices -->
CD-ROM/DVD
2. Interactive Tests --> CD-ROM/DVD Test
Memory 1. If two DIMMs are installed, remove one of
them and run Diagnostics --> Memory
Test - Quick.
2. If the problem does not recur, return the
DIMM to its place, remove the other one,
and run the test again.
3. If the test does not detect the error, run
Diagnostics --> Memory Test - Full.
Fan 1. Turn on the computer and check the air
turbulence at the louver near the power
switch.
2. Run Diagnostics --> Other Devices -->
IBM Fan.
Product overview
ThinkPad A20m/p, A21m/p and A22m/p 47

Fn key combinations
The following table shows the function of each combination
of Fn with a function key.
Key
combination Description
Fn + F1 Reserved.
Fn + F2 Reserved.
Fn + F3 Turn off the LCD display, leaving the screen
blank. To turn the LCD display on again, press
any key or the TrackPoint stick.
Fn + F4 Turn standby mode on. To return to normal
operation, press the Fn key independently,
without pressing a function key.
Fn + F5 Reserved.
Fn + F6 Reserved.
Fn + F7 Switch between the LCD and an external
monitor (CRT). If an external monitor is
attached, computer output is displayed in the
following three patterns by turns:
vCRT display
vLCD + CRT display
vLCD
Fn + F8 Turn screen expansion on or off. (There is no
symbol on the key.)
Fn + F9 Reserved.
Fn + F10 Reserved.
Fn + F11 Reserved.
Fn + F12 Turn hibernation mode on. To return to normal
operation, press the power button for less than
four seconds.
Fn + PgUp Turn the ThinkLight on or off.
Fn + Home The LCD becomes brighter.
Fn + End The LCD becomes less bright.
Product overview
48 ThinkPad A20m/p, A21m/p, A22m/p

Symptom-to-FRU index
The symptom-to-FRU index in this section lists symptoms
and errors and their possible causes. The most likely
cause is listed first, in boldface type.
Note: Do the FRU replacement or other actions in the
sequence shown in the column headed “FRU or
action, in sequence.”If replacing a FRU does not
solve the problem, put the original part back in the
computer. Do not replace a nondefective FRU.
This index can also help you determine, during regular
servicing, what FRUs are likely to need to be replaced
next.
A numeric error is displayed for each error detected in
POST or system operation. In the displays, ncan be any
number.
If no numeric code is displayed, check the narrative
descriptions of symptoms. If the symptom is not described
there, go to “Intermittent problems”on page 55.
Note
For an IBM device not supported by diagnostic
codes in the ThinkPad notebook computers, see the
manual for that device.
Numeric error codes
Symptom or error FRU or action, in sequence
0175
Bad CRC1, stop POST task —
The EEPROM checksum is not
correct.
System board.
0187
EAIA data access error —The
access to EEPROM has failed.
System board.
0188
Invalid RFID serialization
information area or bad CRC2
—The EEPROM checksum is
not correct.
System board.
0189
Invalid RFID configuration
information area —The
EEPROM checksum is not
correct.
System board.
(continued)
Symptom-to-FRU index
ThinkPad A20m/p, A21m/p and A22m/p 49

Symptom or error FRU or action, in sequence
0190
Critical low battery error. 1. Charge the battery pack.
2. Battery pack.
0193
RF antenna has been removed. Enter the supervisor
password.
0194
The computer has been carried
through a security gate.
Enter the supervisor
password.
0200
Hard disk error —The hard
disk is not working.
1. Reseat the hard-disk
drive.
2. Load Setup Defaults in IBM
BIOS Setup Utility.
3. Hard-disk drive.
4. System board.
021x
Stuck key —Keyboard error. Run interactive tests of the
keyboard and the auxiliary
input device.
0220
Monitor type error —Monitor
type does not match the one
specified in CMOS.
Load Setup Defaults in IBM
BIOS Setup Utility.
0230
Shadow RAM error —The
shadow RAM failure at offset
nnnn.
System board.
0231
System RAM error —System
RAM failure at offset nnnn.
1. DIMM.
2. System board.
0232
Extended RAM error —
Extended RAM failure at offset
nnnn.
1. DIMM.
2. System board.
0250
System battery error —System
battery is dead.
Replace the backup battery
and run IBM BIOS Setup
Utility to reset the time and
date.
0251
System CMOS checksum
bad—Default configuration
used.
Replace the backup battery
and run IBM BIOS Setup
Utility to reset the time and
date.
0252
Password checksum bad —
The password is cleared.
Reset the password by
running IBM BIOS Setup
Utility.
0260
System timer error. 1. Replace the backup
battery and run IBM BIOS
Setup Utility to reset the
time and date.
2. System board.
(continued)
Symptom-to-FRU index
50 ThinkPad A20m/p, A21m/p, A22m/p

Symptom or error FRU or action, in sequence
0270
Real-time clock error. 1. Replace the backup
battery and run IBM BIOS
Setup Utility to reset the
time and date.
2. System board.
0271
Date and time error —Neither
the date nor the time is set in
the computer.
Run IBM BIOS Setup Utility to
reset the time and date.
02B2
Incorrect drive A type. 1. Diskette drive.
2. External FDD cable.
3. I/O card.
02F4
EISA CMOS not writable. 1. Load Setup Defaults in
IBM BIOS Setup Utility.
2. Replace the backup battery.
3. System board.
02F5
DIMM test failure. 1. DIMM.
2. System board.
02F6
Software NMI failure. 1. DIMM.
2. System board.
02F7
Fail-safe timer NMI failure. 1. DIMM.
2. System board.
Symptom-to-FRU index
ThinkPad A20m/p, A21m/p and A22m/p 51

Error messages
Symptom or error FRU or action, in sequence
Device address conflict. 1. Load Setup Defaults in
IBM BIOS Setup Utility.
2. Backup battery.
3. System board.
Allocation error for device. 1. Load Setup Defaults in
IBM BIOS Setup Utility.
2. Backup battery.
3. System board.
Failing bits: nnnn. 1. DIMM.
2. System board.
Invalid system configuration
data. 1. DIMM.
2. System board.
I/O device IRQ conflict. 1. Load Setup Defaults in
IBM BIOS Setup Utility.
2. Backup battery.
3. System board.
Operating system not found. 1. Check that the operating
system has no failure and is
installed correctly.
2. Enter IBM BIOS Setup
Utility and see whether
the hard-disk drive and
the diskette drive are
properly identified.
3. Reseat the hard-disk drive.
4. Reinstall the operating
system.
5. Diskette drive.
6. Hard-disk drive.
7. System board.
Hibernation error. 1. Restore the system
configuration to what it
was before the computer
entered hibernation mode.
2. If memory size has been
changed, re-create the
hibernation file.
Fan error. Fan.
Symptom-to-FRU index
52 ThinkPad A20m/p, A21m/p, A22m/p

Beep symptoms
Symptom or error FRU or action, in sequence
One beep and a blank,
unreadable, or flashing LCD. 1. Reseat the LCD
connector.
2. LCD assembly.
3. External CRT.
4. System board.
One long and two short beeps,
and a blank or unreadable
LCD.
1. System board.
2. LCD assembly.
3. DIMM.
Two short beeps with error
codes. POST error. See “Numeric
error codes”on page 49.
Two short beeps with blank
screen. 1. System board.
2. DIMM.
Two or more beeps, or a
continuous beep. Operating
System starts successfully.
If a mini-PCI Ethernet card is
installed, confirm that Alert On
LAN 2 in IBM BIOS Setup
Utility is disabled.
Three short beeps, pause,
three more short beeps, and
one short beep.
1. DIMM.
2. System board
Only cursor appears. Reinstall operating system.
No beep symptoms
Symptom or error FRU or action, in sequence
No beep, power-on indicator
on, LCD blank, and no POST. 1. Make sure that every
connector is connected
tightly and correctly.
2. DIMM.
3. System board.
No beep, power-on indicator
on, and LCD blank during
POST.
1. Reseat DIMM.
2. System board.
The power-on password
prompt. A power-on password or a
supervisor password is set.
Type the password and press
Enter.
The hard-disk password
prompt. A hard-disk password is set.
Type the password and press
Enter.
The DOS full screen looks
smaller. Start the ThinkPad
Configuration program and set
the Screen expansion
function.
Symptom-to-FRU index
ThinkPad A20m/p, A21m/p and A22m/p 53

LCD-related symptoms
Important
The TFT LCD for the notebook computer contains
many thin-film transistors (TFTs). A small number of
dots that are missing, discolored, or always lighted
is characteristic of TFT LCD technology, but
excessive pixel problems can cause viewing
concerns. The LCD should be replaced if the
number of missing, discolored, or lighted dots in any
background is:
vSVGA: 5 or more bright dots, 5 or more dark
dots, or a total of 9 or more bright and dark dots.
vXGA: 8 or more bright dots, 8 or more dark dots,
or a total of 9 or more bright and dark dots.
vSXGA+: 11 or more bright dots, 13 or more dark
dots, or a total of 16 or more bright and dark
dots.
vUXGA: 11 or more bright dots, 16 or more dark
dots, or a total of 16 or more bright and dark
dots.
Note: A bright dot is a white or colored pixel that is
always on. A dark dot is a pixel that is always
off and shows as black.
Symptom or error FRU or action, in sequence
No beep, power-on indicator
on, and a blank LCD during
POST.
System board.
vLCD backlight not working.
vLCD too dark.
vLCD brightness cannot be
adjusted.
vLCD contrast cannot be
adjusted.
1. Reseat the LCD
connectors.
2. LCD assembly.
3. System board.
vLCD screen unreadable.
vCharacters missing pixels.
vScreen abnormal.
vWrong color displayed.
1. See important note for
“LCD-related symptoms”.
2. Reseat all LCD connectors.
3. LCD assembly.
4. System board.
Horizontal or vertical lines
displayed on LCD. LCD assembly.
Symptom-to-FRU index
54 ThinkPad A20m/p, A21m/p, A22m/p
Intermittent problems
Intermittent system hang problems can be due to a variety
of causes that have nothing to do with a hardware defect,
such as cosmic radiation, electrostatic discharge, or
software errors. FRU replacement should be considered
only when a problem recurs.
When analyzing an intermittent problem, do the following:
1. Run the diagnostic test for the system board in loop
mode at least 10 times.
2. If no error is detected, do not replace any FRUs.
3. If any error is detected, replace the FRU shown by the
FRU code. Rerun the test to verify that no more errors
exist.
Undetermined problems
You are here because the diagnostic tests did not identify
which adapter or device failed, wrong devices are installed,
a short circuit is suspected, or the system is inoperative.
Follow these procedures to isolate the failing FRU (do not
isolate FRUs that have no defects).
Verify that all attached devices are supported by the
computer.
Verify that the power supply being used at the time of the
failure is operating correctly. (See “Power system
checkout”on page 35.)
1. Power off the computer.
2. Visually check each FRU for damage. Replace any
damaged FRU.
3. Remove or disconnect all of the following devices:
a. Non-IBM devices
b. Devices attached to the port replicator
c. Printer, mouse, and other external devices
d. Battery pack
e. Hard-disk drive
f. External diskette drive
g. DIMM
h. CD-ROM and diskette drive in the UltraslimBay
i. PC Cards
4. Power on the computer.
5. Determine whether the problem has changed.
6. If the problem does not recur, reconnect the removed
devices one at a time until you find the failing FRU.
7. If the problem remains, replace the following FRUs one
at a time (do not replace a nondefective FRU):
a. System board
b. LCD assembly
Symptom-to-FRU index
ThinkPad A20m/p, A21m/p and A22m/p 55

FRU replacement notices
This section contains notices related to removing and
replacing parts. Read this section carefully before replacing
any FRU.
Screw notices
Loose screws can cause a reliability problem. In IBM
ThinkPad computer, this problem is addressed with special
nylon-coated screws that have the following characteristics:
vThey maintain tight connections.
vThey do not easily come loose, even with shock or
vibration.
vThey are harder to tighten.
vThey should be used only once.
Do the following when you service this machine:
vKeep the screw kit (for the P/N, see “Miscellaneous
parts”on page 145) in your tool bag.
vAlways use new screws.
vUse a torque screwdriver if you have one.
Tighten screws as follows:
vPlastic to plastic
Turn an additional 90 degrees after the screw head
touches the surface of the plastic part:
90 degrees more
(Cross-section)
vLogic card to plastic
Turn an additional 180 degrees after the screw head
touches the surface of the logic card:
180 degrees more
(Cross-section)
vTorque driver
If you have a torque driver, refer to the “Torque”column
for each step.
FRU replacement notices
56 ThinkPad A20m/p, A21m/p, A22m/p
vMake sure you use the correct screw. If you have a
torque screwdriver, tighten all screws firmly to the torque
shown in the table. Never use a screw that you
removed. Use a new one. Make sure the screws are
tightened firmly.
Retaining serial numbers
This section includes the following descriptions:
v“Restoring the serial number of the system unit”
v“Retaining the UUID”
Restoring the serial number of the system
unit
When the computer was manufactured, the EEPROM on
the system board was loaded with the serial numbers of
the system and all major components. These numbers
need to remain the same throughout the life of the
computer.
If you replace the system board, you must restore the
serial number of the system unit to its original value.
Before replacing the system board, save the original serial
number by doing the following:
1. Install the ThinkPad hardware maintenance diskette
version 1.62, and restart the computer.
2. From the main menu, select 1. Set System
Identification.
3. Select 2. Read S/N data from EEPROM.
The serial number for each device is displayed. Write
down the serial number of the system unit, designated as
follows:
20: System unit serial number
After you have replaced the system board, restore the
serial number by doing the following:
1. Install the ThinkPad hardware maintenance diskette
version 1.62 and restart the computer.
2. From the main menu, select 1. Set System
Identification.
3. Select 1. Add S/N data from EEPROM.
Follow the instructions on the screen.
Note: The serial number of the system unit is written on
the label attached on the bottom of the computer.
Retaining the UUID
The Universally Unique Identifier (UUID) is a 128-bit
number uniquely assigned to your computer at production
and stored in the EEPROM of your system board. The
algorithm that generates the number is designed to provide
FRU replacement notices
ThinkPad A20m/p, A21m/p and A22m/p 57
unique IDs until the year A.D. 3400. No two computers in
the world have the same number.
When you replace the system board, you must set the
UUID on the new system board as follows:
1. Install the ThinkPad hardware maintenance diskette
version 1.62, and restart the computer.
2. From the main menu, select 4. Assign UUID.
A new UUID is created and written. If a valid UUID
already exists, it is not overwritten.
FRU replacement notices
58 ThinkPad A20m/p, A21m/p, A22m/p

Removing and replacing a FRU
This section presents directions and drawings for use in
removing and replacing a FRU. Be sure to observe the
following general rules:
1. Do not try to service any computer unless you have
been trained and certified. An untrained person runs
the risk of damaging parts.
2. Before replacing any FRU, review “FRU replacement
notices”on page 56.
3. Begin by removing any FRUs that have to be removed
before the failing FRU. Any such FRUs are listed at the
top of the page. Remove them in the order in which
they are listed.
4. Follow the correct sequence in the steps for removing
the FRU, as indicated in the drawings by the numbers
in square callouts.
5. When turning a screw to replace a FRU, turn it in the
direction indicated by the arrow in the drawing.
6. When removing the FRU, move it in the direction
indicated by the arrow in the drawing.
7. To put the new FRU in place, reverse the removal
procedure and follow any notes that pertain to
replacement. For information about connecting and
arranging internal cables, see “Locations”on page 112.
8. When replacing a FRU, use the correct screw as
shown in the procedures.
DANGER
Before removing any FRU, power off the computer,
unplug all power cords from electrical outlets,
remove the battery pack, and then disconnect any
interconnecting cables.
Attention: Before the computer is powered on after FRU
replacement, make sure that all screws, springs, and other
small parts are in place and are not loose inside the
computer. Verify this by shaking the computer gently and
listening for rattling sounds. Metallic parts or metal flakes
can cause electrical short circuits.
Attention: The system board is sensitive to, and can be
damaged by, electrostatic discharge. Before touching it,
establish personal grounding by touching a ground point
with one hand or by using an electrostatic discharge (ESD)
strap (P/N 6405959).
Removing and replacing a FRU
ThinkPad A20m/p, A21m/p and A22m/p 59

1010 Battery pack
DANGER
Use only the battery in the parts listing for your
computer. Use of an incorrect battery can result in
ignition or explosion of the battery.
Removing and replacing a FRU
60 ThinkPad A20m/p, A21m/p, A22m/p

When installing: With the notched end of the DIMM
toward the socket, insert the DIMM into
the socket, then press it firmly. Pivot the
DIMM until it snaps into place. Make
sure that the card is firmly fixed in the
slot and does not move easily.
Removing and replacing a FRU
62 ThinkPad A20m/p, A21m/p, A22m/p

For A20m/p, A21m/p series
Note: The illustration shows the combo card. Connector
(A) is for the LAN feature and (B) is for the modem
feature. This slot also supports a Mini PCI modem
card or Mini PCI network card. Step 5 depends
on the card type. Disconnect either (A),(B) or both.
When installing the card, do the following:
vWith the notched end of the card toward the socket,
insert the card into the socket, then press it firmly. Pivot
the card until it snaps into place. Make sure that the
card is firmly fixed in the slot and does not move easily.
vMake sure that the connector (A) is placed under the
card when reinstalling the Mini PCI adapter.
Removing and replacing a FRU
64 ThinkPad A20m/p, A21m/p, A22m/p

For A22m/p series
Note: The illustration shows the combo card. Connector
(A) is for the LAN feature and (B) is for the modem
feature. This slot also supports a Mini PCI modem
card or Mini PCI network card. Step 4 depends
on the card type. Disconnect either (A),(B) or both.
When installing: With the notched end of the card toward
the socket, insert the card into the
socket, then press it firmly. Pivot the
card until it snaps into place. Make sure
that the card is firmly fixed in the slot
and does not move easily.
Removing and replacing a FRU
ThinkPad A20m/p, A21m/p and A22m/p 65

1040 Backup battery
DANGER
Use only the battery in the parts listing for your
computer. Use of an incorrect battery can result in
ignition or explosion of the battery.
For access, remove these FRUs, in order:
v“1010 Battery pack”on page 60
v“1020 DIMM”on page 61
v“1030 Mini PCI adapter”on page 63
Removing and replacing a FRU
66 ThinkPad A20m/p, A21m/p, A22m/p

1050 Hard-disk drive or RF ID adapter
Attention
Do not drop or apply any shock to the hard-disk
drive. The hard-disk drive is sensitive to physical
shock. Incorrect handling can cause damage and
permanent loss of data.
Before removing the drive, have the user make a
backup copy of all the information on the drive if
possible.
Never remove the drive while the system is
operating or is in suspend mode.
For access, remove this FRU:
v“1010 Battery pack”on page 60
Note: The hard disk is attached to the cover.
Step Screw (quantity)
1 Coin screw (1) or security screw (1)
Note: Use a 2.5-mm Allen wrench to remove the security screw.
Removing and replacing a FRU
ThinkPad A20m/p, A21m/p and A22m/p 67

When installing: Make sure that the HDD connector is
firmly connected.
Removing and replacing a FRU
68 ThinkPad A20m/p, A21m/p, A22m/p

1060 Ultrabay 2000 device
Any of several devices can be inserted into the Ultrabay
2000. The procedure for installing and removing is the
same for every device.
Note: When you release the switch in step 1 the lever
pops out. Pull the lever a little in step 2 to release
the device from the bay.
(continued)
Removing and replacing a FRU
ThinkPad A20m/p, A21m/p and A22m/p 69

Removing and replacing a FRU
70 ThinkPad A20m/p, A21m/p, A22m/p

1070 Keyboard
For access, remove these FRUs, in order:
v“1010 Battery pack”on page 60
v“1050 Hard-disk drive or RF ID adapter”on page 67
v“1060 Ultrabay 2000 device”on page 69
1
Step Screw (quantity) Torque
1 M2.5 ×15 mm, nylon-coated (3) 0.392 Nm
(4 kgfcm)
(continued)
Removing and replacing a FRU
ThinkPad A20m/p, A21m/p and A22m/p 71

(continued)
Removing and replacing a FRU
72 ThinkPad A20m/p, A21m/p, A22m/p

When installing: When installing the keyboard, do as
follows:
1. Install the new keyboard, following the directions in the
figure. Make sure that the keyboard edges, shown in
the figure as (A),(B), and (C), are under the frame.
2. Push the Ykey 1 to connect the keyboard to the
connector on the underside of the key; then push the
frame of the keyboard 2 to latch the latches.
3. After the fastening of three screws of bottom side, push
the Ykey again to connect the keyboard firmly to the
connector on the underside of the key.
Removing and replacing a FRU
ThinkPad A20m/p, A21m/p and A22m/p 73

1090 Hinge cover and clear sheet icon
For access, remove these FRUs, in order:
v“1010 Battery pack”on page 60
v“1050 Hard-disk drive or RF ID adapter”on page 67
v“1060 Ultrabay 2000 device”on page 69
v“1070 Keyboard”on page 71
v“1080 Keyboard CRU insulator”on page 74
Step Screw (quantity) Torque
1 M2.5 ×15 mm, nylon-coated (1) 0.392 Nm
(4 kgfcm)
When installing: Stick the new clear sheet icon suitable
for the model onto the new hinge cover,
and then attach it to the computer.
Removing and replacing a FRU
ThinkPad A20m/p, A21m/p and A22m/p 75

1100 Keyboard bezel and speaker
For access, remove these FRUs, in order:
v“1010 Battery pack”on page 60
v“1050 Hard-disk drive or RF ID adapter”on page 67
v“1060 Ultrabay 2000 device”on page 69
v“1070 Keyboard”on page 71
v“1080 Keyboard CRU insulator”on page 74
v“1090 Hinge cover and clear sheet icon”on page 75
Step Screw (quantity) Torque
1 M2.5 ×4.8 mm, nylon-coated (7) 0.392 Nm
(4 kgfcm)
(continued)
Removing and replacing a FRU
76 ThinkPad A20m/p, A21m/p, A22m/p

Step Screw (quantity) Torque
2 M2.5 ×15 mm, nylon-coated (2) 0.392 Nm
(4 kgfcm)
Cable routing: When replacing the cable, see the
preceding figure for its cable routing.
Removing and replacing a FRU
ThinkPad A20m/p, A21m/p and A22m/p 77

1110 Microphone and speaker cable
For access, remove these FRUs, in order:
v“1010 Battery pack”on page 60
v“1050 Hard-disk drive or RF ID adapter”on page 67
v“1060 Ultrabay 2000 device”on page 69
v“1070 Keyboard”on page 71
v“1080 Keyboard CRU insulator”on page 74
v“1090 Hinge cover and clear sheet icon”on page 75
v“1100 Keyboard bezel and speaker”on page 76
For A20m/p and A21m/p series (microphone
and speaker cable)
When installing: Make sure that you fasten the connector
firmly.
(continued)
Removing and replacing a FRU
78 ThinkPad A20m/p, A21m/p, A22m/p

For A22m/p series (speaker cable)
When installing: Make sure that you fasten the connector
firmly.
Removing and replacing a FRU
ThinkPad A20m/p, A21m/p and A22m/p 79

1120 Sub card
For access, remove these FRUs, in order:
v“1010 Battery pack”on page 60
v“1050 Hard-disk drive or RF ID adapter”on page 67
v“1060 Ultrabay 2000 device”on page 69
v“1070 Keyboard”on page 71
v“1080 Keyboard CRU insulator”on page 74
v“1090 Hinge cover and clear sheet icon”on page 75
v“1100 Keyboard bezel and speaker”on page 76
Step Screw (quantity) Torque
1 M2.6 ×2.8 mm, nylon-coated (2) 0.392 Nm
(4 kgfcm)
(continued)
Removing and replacing a FRU
80 ThinkPad A20m/p, A21m/p, A22m/p

Step Screw (quantity) Torque
4 M2.5 ×4.8 mm, nylon-coated (1) 0.392 Nm
(4 kgfcm)
Removing and replacing a FRU
ThinkPad A20m/p, A21m/p and A22m/p 81

1130 PC Card slot assembly
For access, remove these FRUs, in order:
v“1010 Battery pack”on page 60
v“1050 Hard-disk drive or RF ID adapter”on page 67
v“1060 Ultrabay 2000 device”on page 69
v“1070 Keyboard”on page 71
v“1080 Keyboard CRU insulator”on page 74
v“1090 Hinge cover and clear sheet icon”on page 75
v“1100 Keyboard bezel and speaker”on page 76
v“1120 Sub card”on page 80
Note: Step 1 (PC Card slot spacer) is only for MT2629.
Other model do not have the spacer. Remove it
gently; it will be reused when installing new PC
Card slot assembly.
Step Screw (quantity) Torque
2 M2.0 ×9.5 mm, nylon-coated (2) 0.245 Nm
(2.5 kgfcm)
Removing and replacing a FRU
82 ThinkPad A20m/p, A21m/p, A22m/p

1140 Fan assembly
For access, remove these FRUs, in order:
v“1010 Battery pack”on page 60
v“1050 Hard-disk drive or RF ID adapter”on page 67
v“1060 Ultrabay 2000 device”on page 69
v“1070 Keyboard”on page 71
v“1080 Keyboard CRU insulator”on page 74
v“1090 Hinge cover and clear sheet icon”on page 75
v“1100 Keyboard bezel and speaker”on page 76
Note: Step 1a is for the MT2628-Fxx, Gxx, Pxx, Qxx,
Rxx, Sxx, Txx, Xxx, MT2633-Gxx, Txx, and
MT2629. Other model do not have the screw 1a.
Step Screw (quantity) Torque
1a M2.5 ×4.8 mm, nylon-coated (2) 0.392 Nm
(4 kgfcm)
1 M2.5 ×4.8 mm, nylon-coated (3) 0.392 Nm
(4 kgfcm)
Removing and replacing a FRU
ThinkPad A20m/p, A21m/p and A22m/p 83

Installation notice for A21m/p and A22m/p series
When installing the fan assembly, apply the thermal grease
(05K5751) on the a-part of the fan as shown in the
following figure.
Removing and replacing a FRU
84 ThinkPad A20m/p, A21m/p, A22m/p

1150 Diskette drive
For access, remove these FRUs, in order:
v“1010 Battery pack”on page 60
v“1050 Hard-disk drive or RF ID adapter”on page 67
v“1060 Ultrabay 2000 device”on page 69
v“1070 Keyboard”on page 71
v“1080 Keyboard CRU insulator”on page 74
v“1090 Hinge cover and clear sheet icon”on page 75
v“1100 Keyboard bezel and speaker”on page 76
v“1110 Microphone and speaker cable”on page 78
Note: Step 1a are for the MT2628-Fxx, Gxx, Pxx, Qxx,
Rxx, Sxx, Txx, Xxx, MT2633-Gxx, Txx, and
MT2629. Other model do not have the screws 1a.
Step Screw (quantity) Torque
1a M2.5 ×4.8 mm, nylon-coated (3) 0.392 Nm
(4 kgfcm)
(continued)
Removing and replacing a FRU
ThinkPad A20m/p, A21m/p and A22m/p 85

Notes:
1. The heatpipe Aand the screw 1a are for the
MT2628-Fxx, Gxx, Pxx, Qxx, Rxx, Sxx, Txx, Xxx,
MT2633-Gxx, Txx, and MT2629. Other models do not
have them.
2. Step 4 (diskette drive spacer) is only for MT2629.
Other models do not have the spacer. Remove it
gently; it will be reused when installing new diskette
drive.
Step Screw (quantity) Torque
1a M2.5 ×4.8 mm, nylon-coated (1) 0.392 Nm
(4 kgfcm)
1 M2.5 ×4.8 mm, nylon-coated (1) 0.392 Nm
(4 kgfcm)
2 M2.5 ×15 mm, nylon-coated (2) 0.392 Nm
(4 kgfcm)
When installing: Do not press the a-part of the diskette
drive to avoid the damage.
Removing and replacing a FRU
86 ThinkPad A20m/p, A21m/p, A22m/p

1160 Upper shield
For access, remove these FRUs, in order:
v“1010 Battery pack”on page 60
v“1050 Hard-disk drive or RF ID adapter”on page 67
v“1060 Ultrabay 2000 device”on page 69
v“1070 Keyboard”on page 71
v“1080 Keyboard CRU insulator”on page 74
v“1090 Hinge cover and clear sheet icon”on page 75
v“1100 Keyboard bezel and speaker”on page 76
v“1110 Microphone and speaker cable”on page 78
v“1120 Sub card”on page 80
v“1130 PC Card slot assembly”on page 82
v“1140 Fan assembly”on page 83
v“1150 Diskette drive”on page 85
Step Screw (quantity) Torque
1 M2.5 ×15 mm, nylon-coated (2) 0.392 Nm
(4 kgfcm)
2 M2.5 ×4.8 mm, nylon-coated (2) 0.392 Nm
(4 kgfcm)
Removing and replacing a FRU
ThinkPad A20m/p, A21m/p and A22m/p 87

1170 TV card
Note
This section is only for MT2628-Fxx,-Gxx, -Sxx,-Txx,
MT2633-Gxx,-Txx, and MT2629. Other models do
not have the TV card.
For access, remove these FRUs, in order:
v“1010 Battery pack”on page 60
v“1050 Hard-disk drive or RF ID adapter”on page 67
v“1060 Ultrabay 2000 device”on page 69
v“1070 Keyboard”on page 71
v“1080 Keyboard CRU insulator”on page 74
v“1090 Hinge cover and clear sheet icon”on page 75
v“1100 Keyboard bezel and speaker”on page 76
v“1110 Microphone and speaker cable”on page 78
v“1120 Sub card”on page 80
v“1130 PC Card slot assembly”on page 82
v“1140 Fan assembly”on page 83
v“1150 Diskette drive”on page 85
v“1160 Upper shield”on page 87
Cable routing: When replacing the modem cable, see the
figure for the cable routing.
Removing and replacing a FRU
88 ThinkPad A20m/p, A21m/p, A22m/p

1180 CPU socket and CPU
For access, remove these FRUs, in order:
v“1010 Battery pack”on page 60
v“1020 DIMM”on page 61
v“1050 Hard-disk drive or RF ID adapter”on page 67
v“1060 Ultrabay 2000 device”on page 69
v“1070 Keyboard”on page 71
v“1080 Keyboard CRU insulator”on page 74
v“1090 Hinge cover and clear sheet icon”on page 75
v“1100 Keyboard bezel and speaker”on page 76
v“1110 Microphone and speaker cable”on page 78
v“1120 Sub card”on page 80
v“1130 PC Card slot assembly”on page 82
v“1140 Fan assembly”on page 83
v“1150 Diskette drive”on page 85
v“1160 Upper shield”on page 87
Note: MT2628-Exx, -Dxx do not have the CPU removal
procedure.
Rotate the screw head (A) 180°to the direction of the
arrow a to release the lock and then remove the CPU.
Step Screw (quantity) Torque
1 M2.5 ×15 mm, nylon-coated (3) 0.392 Nm
(4 kgfcm)
Removing and replacing a FRU
ThinkPad A20m/p, A21m/p and A22m/p 89
When installing the CPU, do as shown in the figure.
vRotate the screw head (A) 180°to the direction of the
arrow b to lock the CPU.
vWhen attach the CPU to the socket, do as shown in the
step c.
Removing and replacing a FRU
90 ThinkPad A20m/p, A21m/p, A22m/p

1190 System board and RJ45/11
connector assembly
For access, remove these FRUs, in order:
v“1010 Battery pack”on page 60
v“1020 DIMM”on page 61
v“1030 Mini PCI adapter”on page 63
v“1040 Backup battery”on page 66
v“1050 Hard-disk drive or RF ID adapter”on page 67
v“1060 Ultrabay 2000 device”on page 69
v“1070 Keyboard”on page 71
v“1080 Keyboard CRU insulator”on page 74
v“1090 Hinge cover and clear sheet icon”on page 75
v“1100 Keyboard bezel and speaker”on page 76
v“1110 Microphone and speaker cable”on page 78
v“1120 Sub card”on page 80
v“1130 PC Card slot assembly”on page 82
v“1140 Fan assembly”on page 83
v“1150 Diskette drive”on page 85
v“1160 Upper shield”on page 87
v“1170 TV card”on page 88
v“1180 CPU socket and CPU”on page 89
Step Screw (quantity) Torque
1 M2.5 ×4.8 mm, nylon-coated (2) 0.392 Nm
(4 kgfcm)
(continued)
Removing and replacing a FRU
ThinkPad A20m/p, A21m/p and A22m/p 91

Note: Step 4 (thermal rubbers) are only for
MT2628-Pxx, -Qxx, -Rxx, -Sxx, -Txx, -Xxx, and
MT2629-Hxx, -Uxx. When replacing the system
board for those models, remove the thermal rubbers
from the removed system board and put them onto
the new system board. And then install the new
system board to the base cover. (For the location of
the therma rubbers, see “Thermal rubbers location”
on page 93.)
For A20m/p and A21m/p series
For A22m/p series
Note: When installing the new RJ45/11 connector
assembly onto the system board, make sure that
the connector is firmly attached.
Removing and replacing a FRU
92 ThinkPad A20m/p, A21m/p, A22m/p

Thermal rubbers location
Before installing the new system board, make sure that the
thermal rubbers are placed on the system board as shown
in the following figures.
For A21m/p series
Upper side of the system board
Bottom side of the system board
For A22m/p series
Upper side of the system board
Removing and replacing a FRU
ThinkPad A20m/p, A21m/p and A22m/p 93

2010 LCD assembly
For access, remove these FRUs, in order:
v“1010 Battery pack”on page 60
v“1050 Hard-disk drive or RF ID adapter”on page 67
v“1060 Ultrabay 2000 device”on page 69
v“1070 Keyboard”on page 71
v“1080 Keyboard CRU insulator”on page 74
v“1090 Hinge cover and clear sheet icon”on page 75
v“1100 Keyboard bezel and speaker”on page 76
Note: Screws 1a are for MT2628-Fxx, -Gxx, -Pxx, -Qxx,
-Rxx, -Sxx, -Txx, -Xxx, MT2633-Gxx, -Txx and
MT2629. Other models do not have them.
Step Screw (quantity) Torque
1a M2.5 ×4.8 mm, nylon-coated (3) 0.392 Nm
(4 kgfcm)
1 M2.5 ×4.8 mm, nylon-coated (4) 0.392 Nm
(4 kgfcm)
(continued)
Removing and replacing a FRU
94 ThinkPad A20m/p, A21m/p, A22m/p

Step Screw (quantity) Torque
2 M2.6 ×2.8 mm, nylon-coated (2) 0.392 Nm
(4 kgfcm)
4 M2.5 ×4.8 mm, nylon-coated (2) 0.392 Nm
(4 kgfcm)
Removing and replacing a FRU
ThinkPad A20m/p, A21m/p and A22m/p 95

2020 Front bezel
For access, remove these FRUs, in order:
v“1010 Battery pack”on page 60
v“1050 Hard-disk drive or RF ID adapter”on page 67
v“1060 Ultrabay 2000 device”on page 69
v“1070 Keyboard”on page 71
v“1080 Keyboard CRU insulator”on page 74
v“1090 Hinge cover and clear sheet icon”on page 75
v“1100 Keyboard bezel and speaker”on page 76
v“2010 LCD assembly”on page 94
12.1-in. panel
Step Screw (quantity) Torque
1 M2.5 ×4.8 mm, nylon-coated (3) 0.392 Nm
(4 kgfcm)
Removing and replacing a FRU
96 ThinkPad A20m/p, A21m/p, A22m/p

14.1-in. and 15.0-in. panels
Step Screw (quantity) Torque
1 M2.5 ×4.8 mm, nylon-coated (2) 0.392 Nm
(4 kgfcm)
Removing and replacing a FRU
ThinkPad A20m/p, A21m/p and A22m/p 97

2030 Inverter card
For access, remove these FRUs, in order:
v“1010 Battery pack”on page 60
v“1050 Hard-disk drive or RF ID adapter”on page 67
v“1060 Ultrabay 2000 device”on page 69
v“1070 Keyboard”on page 71
v“1080 Keyboard CRU insulator”on page 74
v“1090 Hinge cover and clear sheet icon”on page 75
v“1100 Keyboard bezel and speaker”on page 76
v“2010 LCD assembly”on page 94
v“2020 Front bezel”on page 96
12.1-in. panel
Step Screw (quantity) Torque
1 M2.5 ×4.8 mm, nylon-coated (1) 0.392 Nm
(4 kgfcm)
(continued)
Removing and replacing a FRU
ThinkPad A20m/p, A21m/p and A22m/p 99

14.1-in. and 15.0-in. panels
Step Screw (quantity) Torque
1 M2.5 ×4.8 mm, nylon-coated (1) 0.392 Nm
(4 kgfcm)
Removing and replacing a FRU
100 ThinkPad A20m/p, A21m/p, A22m/p

2040 LCD panel
For access, remove these FRUs, in order:
v“1010 Battery pack”on page 60
v“1050 Hard-disk drive or RF ID adapter”on page 67
v“1060 Ultrabay 2000 device”on page 69
v“1070 Keyboard”on page 71
v“1080 Keyboard CRU insulator”on page 74
v“1090 Hinge cover and clear sheet icon”on page 75
v“1100 Keyboard bezel and speaker”on page 76
v“2010 LCD assembly”on page 94
v“2020 Front bezel”on page 96
v“2030 Inverter card”on page 99
12.1-in. panel
Step MT Screw (quantity) Torque
1 2628-Dxx, Qxx,
1xx, 2xx M2.5 ×7.0 mm,
nylon-coated (4) 0.392 Nm
(4 kgfcm)
(continued)
Removing and replacing a FRU
ThinkPad A20m/p, A21m/p and A22m/p 101

(continued)
Removing and replacing a FRU
102 ThinkPad A20m/p, A21m/p, A22m/p

14.1-in. and 15.0-in. panels
Step MT Screw (quantity) Torque
1 2628-Fxx, Pxx,
Rxx, 3xx M2 ×5.7 mm,
nylon-coated (4) 0.245 Nm
(2.5 kgfcm)
2628-Exx, Gxx,
Xxx, Txx and
2633-Gxx, Txx, 4xx
M2 ×5.7 mm,
nylon-coated (4) 0.167 Nm
(1.7 kgfcm)
2628-Sxx and
2629 M2 ×5.1 mm,
nylon-coated (4) 0.196 Nm
(2.0 kgfcm)
(continued)
Removing and replacing a FRU
ThinkPad A20m/p, A21m/p and A22m/p 103

vFor the 14-in. LCD, the LCD cable is taped onto the
connector. Tear off the tape before disconnecting the
LCD cable in step 4.
vThe LCD cable for the 15.0-in. UXGA LCD (27L0598)
and the LCD cable for the 15.0-in. SXGA+ LCD
(27L0488) have the UltraPort connector and need step
6. If the UltraPort adapter has been screwed onto the
LCD, remove the adapter before step 6. To do this,
remove the screws from both sides of the adapter as
shown in the figure 2a. For other cable, do as shown
in the figure 2b.
Removing and replacing a FRU
104 ThinkPad A20m/p, A21m/p, A22m/p

3010 ThinkPad Dock PCI cover
Before replacing the PCI cover:
There are two types of ThinkPad Dock as follows:
vThinkPad Dock: FRU part no. 08N1546 (PCI cover: FRU
part no. 05K6246)
vThinkPad Dock with extension plate: FRU part no.
08N1537 (PCI cover: FRU part no. 08N7317)
Make sure that the PCI cover FRU suits the ThinkPad
Dock you are servicing.
Removing and replacing a FRU
ThinkPad A20m/p, A21m/p and A22m/p 105

Note: Following illustration shows the PCI cover removal
of ThinkPad Dock (FRU no. 08N1546.) Do the
same procedure for the PCI cover removal of
ThinkPad Dock with extension plate (FRU part no.
08N1537.)
1
2
1
(Bottom view)
Removing and replacing a FRU
106 ThinkPad A20m/p, A21m/p, A22m/p

3020 ThinkPad Dock top cover
Note
This section is only for the ThinkPad Dock (FRU no.
08N1546.) Top cover and screw kit for ThinkPad
Dock (FRU part no. 12P4143) is not available for
the ThinkPad Dock with extension plate (FRU part
no. 08N1537.)
1
(Rear view)
Step Screw (quantity) Torque
1 M2.5 ×4.8 mm (2) 0.392 Nm
(4 kgfcm)
(continued)
Removing and replacing a FRU
ThinkPad A20m/p, A21m/p and A22m/p 107

2
2
2
(Bottom view)
Step Screw (quantity) Torque
2 M2.5 ×4.8 mm (8) 0.392 Nm
(4 kgfcm)
(continued)
Removing and replacing a FRU
108 ThinkPad A20m/p, A21m/p, A22m/p

Make sure that the system lock key Ais set to the Unlock
position. Release the front latches in step 3, and then
remove the top cover 4. For step 5, see the inside
view, shown in the circle.
5
4
3
A
Removing and replacing a FRU
ThinkPad A20m/p, A21m/p and A22m/p 109

When replacing the top cover, do the following:
vMake sure that the springs placed correctly.
vMake sure that the device release lever is seated
correctly.
(continued)
Removing and replacing a FRU
110 ThinkPad A20m/p, A21m/p, A22m/p

vMake sure that the release button works correctly.
Removing and replacing a FRU
ThinkPad A20m/p, A21m/p and A22m/p 111

Locations
Front view
1 System status indicators
2 Battery and standby mode status indicators
3 Built-in stereo speakers
4 PC Card eject button
5 PC Card slots
6 Bay latch
7 Eject button
8 Ultrabay 2000 device
Note: The Ultrabay 2000 accepts storage
devices, such as a DVD drive or a
CD-ROM drive.
9 Video-out connector
10 Video-in connector
11 TrackPoint pointing stick
12 TrackPoint buttons
13 ThinkPad button
14 Volume and mute buttons
15 Power switch
1
2
3
15
13 14
11
12
10
8
9
7
654
Locations
112 ThinkPad A20m/p, A21m/p, A22m/p

Rear view
1 Security keyhole
2 Parallel connector
3 Modem connector
4 Network connector
5 Serial connector
6 External-monitor connector
7 Universal serial bus (USB) connector
8 External-input-device connector
9 Power jack
Locations
ThinkPad A20m/p, A21m/p and A22m/p 113

Bottom view
1 Battery pack
2 Battery pack latches
3 Mini PCI card slot
4 Docking connector
5 DIMM slot
6 Stereo headphone jack
7 Stereo line-in jack
8 Diskette drive
9 Microphone jack
10 Infrared port
11 Hard-disk drive
12 LCD latches
Locations
114 ThinkPad A20m/p, A21m/p, A22m/p

Parts list
A series model matrix
The A series includes several models. The following table
summarizes the characteristics of each model, to help you
determine which FRU in the part list meets your need.
Model CPU Bay
device Mini PCI
adapter LCD HDD
A20m (Memory, 64 MB; Video memory, 4 MB)
2628-11x except
11J, 11K
2628-12x except
12J, 12K
Cel
500 CD-
ROM Modem 12.1-in.
SVGA 6GB
2628-11J, 11K,
12J, 12K Ethernet
2628-14x, 1Rx,
1Sx, 1Tx Combo
(Intel)
2628-1Ox —— —
2628-1Ax except
1AJ, 1AK
2628-1Cx except
1CJ, 1CK
Cel
550 CD-
ROM Modem 6 GB
2628-1AJ, 1AK,
1CJ, 1CK Ethernet
2628-1Ux, 1Vx Combo
(Intel)
2628-1Zx —— —
2628-21x except
21J, 21K
2628-22x except
22J, 22K
CM
500 CD-
ROM Modem 6 GB
2628-21J 21K,
22J, 22K Ethernet
2628-24x, 2Sx,
2Tx Combo
(Intel)
2628-2Ox —— —
(continued)
Parts list
ThinkPad A20m/p, A21m/p and A22m/p 115

Model CPU Bay
device Mini PCI
adapter LCD HDD
A20m (Memory, 64 MB; Video memory, 8 MB)
2628-31x
except 31J, 31K
2628-32x
except 32J, 32K
Cel
500 CD-
ROM Modem 15.0-in.
XGA 12 GB
2628-31J, 31K,
32J, 32K Ethernet
2628-3Sx, 3Tx Combo
(Intel)
2628-3Ax
except 3AJ
2628-3Cx
except 3CJ
Cel
550 Modem
2628-3AJ, 3CJ Ethernet
2628-3Ux, 3Vx Combo
(Intel)
2628-3Zx —— —
2628-3Jx, 3Kx
*1
CM
700G DVD-
ROM Modem 18 GB
2628-47x, 48x Cel
500 CD-
ROM Modem 14.1-in.
XGA 12 GB
2628-4Ax
except 4AK
2628-4Cx
except 4CK
CM
600G DVD-
ROM Modem
2628-4AK, 4CK Ethernet
2628-4Ux, 4Vx Combo
(Intel)
2628-4Zx —— —
2628-4Dx, 4Ex CM
650G CD-
ROM Modem 12 GB
2628-4Fx, 4Gx DVD-
ROM Modem
2628-41x
except 41J, 41K
2628-42x
except 42J, 42K
2628-44x
except 44J, 44K
CM
700G CD-
ROM Modem
2628-41J, 41K,
42J, 42K, 44J,
44K
Ehternet
2628-43x, 45x —
*1: Memory 128 MB
(continued)
Parts list
116 ThinkPad A20m/p, A21m/p, A22m/p

Model CPU Bay
device Mini PCI
adapter LCD HDD
A20m (Memory, 64 MB; Video memory, 8 MB)
2628-4Lx
*1
CM
700G CD-
ROM Modem 14.1-in.
XGA 12 GB
2628-4Sx, 4Tx Combo
(Intel)
2628-4Ox —— —
2628-4Wx, 4Xx CD-
ROM Combo
(3Com) 12 GB
2628-4Hx, 4Ix
*1
DVD-
ROM Modem 18 GB
2633-41x
except 41J, 41K
42x except 42J,
42K
CD-
ROM Modem 12 GB
2633-41J, 41K,
42J, 42K Ethernet
2633-43x, 45x —
2633-4Sx, 4Tx Combo
(Intel)
2633-4Wx, 4Xx Combo
(3Com)
A20p (Memory, 128 MB; Video memory, 16 MB)
2629-61x
except 61J, 61K
2629-62x
except 62J, 62K
CM
700G DVD-
ROM Modem 15.0-in.
SXGA+ 18 GB
2629-61J, 61K,
62J, 62K Ehternet
2629-6Sx, 6Tx Combo
(Intel)
2629-6Ox —— —
2629-6Ax
except 6AJ,
6AK
2629-6Cx
except 6CJ,
6CK
CM
750G DVD-
ROM Modem 20 GB
2629-6AJ, 6AK,
6CJ, 6CK Ethernet
2629-6Ux, 6Vx Combo
(Intel)
2629-6Zx —— —
*1: Memory 128 MB
(continued)
Parts list
ThinkPad A20m/p, A21m/p and A22m/p 117

Model CPU Bay
device Mini PCI
adapter LCD HDD
A21m (Memory, 64 MB; Video memory, 4 MB)
2628-C1x, C2x Cel
600 CD-
ROM Modem 12.1-in.
SVGA 10 GB
2628-C4x Combo
(Intel)
2628-CXx, CYx Combo
(3Com)
2628-COx —— —
2628-D1x, D2x CM
700G CD-
ROM Modem 10 GB
2628-D4x Combo
(Intel)
2628-DXx, DWx Combo
(3Com)
2628-DOx —— —
2628-EDx, EEx CD-
ROM Modem 14.1-in.
XGA 10 GB
2628-E1x, E2x DVD-
ROM
2628-ESx, ETx Combo
(Intel)
2628-EXx, EWx Combo
(3Com)
2628-EFx, EGx Modem 20 GB
2628-EOx —— —
2628-JAx
except JAJ
2628-JCx
except JCJ
Cel
700 CD-
ROM Modem 15.0-in.
XGA 20 GB
2628-JAJ, JCJ Ethernet
2628-JUx
except JUY
2628-JVx
Combo
(Intel)
2628-JUY Combo
(3Com)
(continued)
Parts list
118 ThinkPad A20m/p, A21m/p, A22m/p

Model CPU Bay
device Mini PCI
adapter LCD HDD
A21m (Memory, 64 MB; Video memory, 8 MB)
2628-F1x, F2x
except F2J CM
750G CD-
ROM Modem 15.0-in.
XGA 20 GB
2628-F2J Ethernet
2628-FXx, FWx Combo
(3Com)
2628-FSx, FTx Combo
(Intel)
2628-FOx —— —
2628-FDC
*1
DVD-
ROM Modem 20 GB
2628-G1x
except G1J
2628-G2x
except G2J
2628-G4x
except G4J
CM
800G DVD-
ROM Modem 14.1-in.
XGA
2628-GLx
*1
2628-G1J, G2J,
G4J Ethernet
2628-G3x, G5x —
2628-GSx, GTx Combo
(Intel)
2628-GXx, GWx Combo
(3Com)
2628-GOx —— —
2633-G1x
except G1J,
G1K
2633-G2x
except G2J,
G2K
DVD-
ROM Modem 20 GB
2633-G1J, G1K,
G2J, G2K Ethernet
2633-GSx, GTx Combo
(Intel)
2633-GXx, GWx Combo
(3Com)
*1: Memory 128 MB
(continued)
Parts list
ThinkPad A20m/p, A21m/p and A22m/p 119

Model CPU Bay
device Mini PCI
adapter LCD HDD
A21p (Memory, 128 MB; Video memory, 16 MB)
2629-H1x, H2x
except H2J CM
850G DVD-
ROM Modem 15.0-in.
UXGA 32 GB
2629-H2J Ehternet
2629-HSx, HTx Combo
(Intel)
2629-HXx, HWx Combo
(3Com)
2629-HOx —— —
A22m (Memory, 64 MB; Video memory, 4 MB)
2628-P1x
except P1J
2628-P2x
except P2J
CM
800G CD-
ROM Modem 15.0-in.
XGA 10 GB
2628-P1J, P2J Ethernet
2628-PSx, PTx,
PQH, PRA Combo
(Intel)
2628-Q1x
except Q1J
2628-Q2x
except Q2J
Modem 12.1-in.
SVGA 20 GB
2628-Q1J, Q2J Ethernet
2628-QSx, QTx Combo
(Intel)
2628-QQx,
QRx, QUx, QVx
2628-XxG CM
850G DVD-
ROM 14.1-in.
XGA
2628-R1x
except R1J
2628-R2x
except R2J
CM
850G DVD-
ROM Modem 15.0-in.
XGA
2628-R1J, R2J Ethernet
2628-RAC CD-
ROM Modem
2628-RSx, RTx,
RQA DVD-
ROM Combo
(Intel)
(continued)
Parts list
120 ThinkPad A20m/p, A21m/p, A22m/p

Model CPU Bay
device Mini PCI
adapter LCD HDD
A22m (Memory, 64 MB; Video memory, 8 MB)
2628-S1x
excepting S1J
2628-S2x
excepting S2J
CM
900G DVD-
ROM Modem 15.0-in.
SXGA+ 20 GB
2628-S1J, S2J Ethernet
2628-SAC
*1
Modem
2628-SSx, STx Combo
(Intel)
2628-T1x
excepting T1J
2628-T2x
excepting T2J
*1
CM
1KG Modem 14.1-in.
XGA 30 GB
2628-T7x, T8x,
TMx, TNx
2628-T1J, T2J
*1
Ethernet
2628-T3x, T5x
*1
—
2628-TSx, TTx,
TUx
*1
Combo
(Intel)
2628-TQx, TRx,
TUx, TVx
*1
2628-TXx, TWx
*1
Combo
(3Com)
2633-T1x
excepting T1J,
T1K
2633-T2x
excepting T2J,
T2K
*1
Modem
2633-T1J, T1K,
T2J, T2K
*1
Ethernet
2633-T3x, T5x
*1
—
2633-TSx, TTx
*1
Combo
(Intel)
2633-TXx, TWx
*1
Combo
(3Com)
*1: Memory 128 MB
(continued)
Parts list
ThinkPad A20m/p, A21m/p and A22m/p 121

Model CPU Bay
device Mini PCI
adapter LCD HDD
A22p (Memory, 128 MB; Video memory, 16 MB)
2629-Y1x
except Y1J
2629-Y2x
except Y2J
CM
900G CD-R/W Modem 15.0-in.
UXGA 32 GB
2629-Y1J, Y2J Ethernet
2629-YSx, YTx Combo
(Intel)
2629-YUx, YVx DVD-
ROM
2629-U1x
except U1J
2629-U2x
except U2J
CM
1KG CD-R/W Modem
2629-U1J, U2J Ethernet
2629-USx, UTx Combo
(Intel)
2629-UQx, URx,
UUx, UVx
CMxxx: Mobile Intel
®
Pentium
®
III processor xxx MHz, L2
256-KB cache
CM xxxG:
Mobile Intel
®
Pentium
®
III processor at xxx MHz
featuring Intel
®
SpeedStep
™
technology
CMG xKG:
Mobile Intel
®
Pentium
®
III processor at x GHz
featuring Intel
®
SpeedStep
™
technology
Celxxx: Intel
®
Celeron
®
processor xxx MHz, L2 256-KB cache
Parts list
122 ThinkPad A20m/p, A21m/p, A22m/p

Overall
1
7
6
12
2
8
3
4
5
10
11
13
15
16
17
18
19
20
21
23
23
28a
28b
27
32
14
22
24
25
26
29
30
31
9
a
33
Parts list
ThinkPad A20m/p, A21m/p and A22m/p 123

vEach FRU is available for all types/models, unless
specific types or models are given.
vThe FRUs marked with asterisk are CRUs (customer
replacable units).
vThe FRUs marked with OP are also available as
optional FRUs.
No. FRU P/N
aSee “Miscellaneous parts”on page 145.
1 LCD unit (see “LCD FRUs”on page 136)
2 Hinge cover (for A20m/A20p)
12.1/14.1-in. LCD models
2628-1xx, 2xx, 4xx, Bxx, 2633-all 04P3970
15.0-in. LCD models
2628-3xx 04P3972
15.0-in. LCD with heatpipe models
2629-all 04P3971
Hinge cover (for A21m/A21p)
12.1/14.1-in. LCD models
2628-Cxx, Dxx, Exx 04P3970
15.0-in. LCD models
2628-Jxx 04P3972
12.1/14.1-in. LCD with heatpipe models
2628-Gxx, 2633-Gxx 04P3490
15.0-in. LCD with heatpipe models
2628-Fxx 04P3971
15.0-in. LCD with heatpipe models
2629-Hxx 08K0863
Hinge cover (for A22m/A22p)
12.1/14.1-in. LCD with heatpipe models
2628-Qxx, Txx, Xxx, 2633-Txx 08K7301
15.0-in. LCD with heatpipe models
2628-Pxx, Rxx, Sxx, 2629-Uxx, Yxx 08K7302
3 Speaker assembly
12.1/14.1-in. LCD models
2628-1xx, 2xx, 4xx, Bxx, Cxx, Dxx, Exx,
Gxx, Kxx, Qxx, Txx, Xxx
2633-4xx, Gxx, Txx
02K5007
15.0-in. LCD models
2628-3xx, Fxx, Jxx, Pxx, Rxx, Sxx
2629-6xx, Hxx, Uxx, Yxx
02K5644
(continued)
Parts list
124 ThinkPad A20m/p, A21m/p, A22m/p

No. FRU P/N
4 Keyboard bezel for 12.1/14.1-in. LCD models
2628-1xx, 2xx, 4xx, Dxx, Exx, Gxx, Qxx,
Txx except xxK
2628-Bxx, Xxx
2633-4xx, Gxx, Txx except xxK
08K5667
2628-1xK, 2xK, 4xK, DxK, ExK, GxK, QxK,
TxK
2633-4xK, GxK, TxK
08K5669
Keyboard bezel for 12.1/14.1-in. LCD (1 slot) models
2628-Cxx except CxK 04P3726
2628-CxK 08K7090
Keyboard bezel for 15.0-in. LCD models
2628-3xx, Fxx, Pxx, Rxx, Sxx except xxK
2629-6xx, Hxx, Uxx , Yxx except xxK
08K7162
2628-3xK, FxK, PxK, RxK, SxK
2629-6xK, HxK, UxK
08K7163
Keyboard bezel for 15.0-in. LCD (1slot) models
2628-Jxx except JxK 08K7164
2628-JxK 08K7165
5 Heatpipe hinge (lower)
2628-Fxx, Gxx, Pxx, Qxx, Rxx, Sxx, Txx
2629-6xx, Fxx, Gxx, Hxx, Uxx, Yxx
2633-Gxx, Txx
08K7287
6 Spacer, PC card slots
2629-6xx, Hxx, Uxx, Yxx 04P3223
7 Sub card
for A20m, A20p 10L1418
for A21m, A22m except 2628-Sxx 08K3306
for 2628-Sxx, A21p, A22p 08K3261
8 PC card slots (2 slots)
all models except 2628-Cxx, Jxx 04P3523
PC card slot (1 slot)
2628-Cxx, Jxx 04P3398
9 Fan assembly
2628-1xx, 2xx, 47x, 48x, Bxx
2628-3xx except 3JC, 3KC
08K5650
2628-4xx except 47x, 48x
2628-3JC, 3KC
2633-4xx
2629-6xx
08K6614
(continued)
Parts list
ThinkPad A20m/p, A21m/p and A22m/p 125

No. FRU P/N
9 Fan assembly
2628-Cxx, Dxx, Exx, Jxx 04P3482
2628-Fxx, Gxx, Pxx, Qxx, Rxx
2633-Gxx
2629-Fxx, Gxx, Hxx
04P3483
2628-Sxx, Txx, 2629-Uxx, 2633-Txx 26P9207
10 TV card (out only)
2628-Fxx, Gxx, Sxx, Txx, Xxx
2633-Gxx, Txx
08K3259
TV card (in/out)
2629-6xx, Hxx, Uxx 10L1419
11 Backup battery 02K6572
12 Mini PCI adapter
Mini PCI combo card (Intel) for A20m/p,
A21m/p OP
2628-14U, 14F, 1Sx, 1Tx, 24U, 24F, 2Sx,
2Tx, 3Sx, 3Tx, 4Sx, 4Tx
2628-1Ux, 1Vx, 3Ux, 3Vx, 4Ux, 4Vx
2628-xxJ, xxK
2629-6Sx, 6Tx, 6Ux, 6Vx
2629-xxJ, xxK
2633-4Sx, 4Tx
2633-xxJ, xxK
08K3125*
Mini PCI combo card (Intel) for A22m/p OP
2628-xSx, xTx
2629-xSx, xTx
2633-xSx, xTx
06P3809*
Mini PCI combo card (3Com) for A20m, A21m
OP
2628-4Wx, 4Xx, GWx, GXx
2633-4Wx, 4Xx, GWx, GXx
00N8117*
Mini PCI combo card (3Com) for A22m OP
2628-xXx, xWx
2633-xXx, xWx
22P6753*
Mini PCI combo card (CR) for A21m/p OP
2628-all except xxJ, xxK
2629-all except xxJ, xxK
2633-all except xxJ, xxK
19K5888*
(continued)
Parts list
126 ThinkPad A20m/p, A21m/p, A22m/p

No. FRU P/N
12 Mini PCI adapter
Mini PCI modem card (Ambit) for A20m/p,
A21m/p
2628-11x, 12x, 21x, 22x, 31x, 32x, 41x,
42x, 44x, 47x, 48x, 4Dx, 4Ex, 4Fx, 4Gx,
4Hx, 4Ix, Bxx except xxJ, xxK, xxA
2628-1Ax, 1Cx, 3Ax, 3Cx, 4Ax, 4Cx, 4Lx
except xxA, xxJ, xxK
2628-Cxx, Dxx, Exx, Fxx, Gxx except xxA
2628-3JC, 3KC
2628-JAx, JCx except xxA
2629-61x, 62x except xxA, xxJ, xxK
2629-Hxx except xxA
2633-41x, 42x except xxA, xxJ, xxK
2633-Gxx except xxA
08K3252
Mini PCI modem card (Ambit) for A22m/p
2628-x1x, x2x except xxJ, xxK
2629-U1x, U2x except xxJ, xxK
2633-x1x, x2x except xxJ, xxK
08K3383
Mini PCI modem card (M2) (IBM) for A20m/p
2628-11A, 12A, 1AA, 1CA, 21A, 22A, 31A,
32A, 3AA, 3CA, 41A, 42A, 44A, 47A, 48A,
4AA, 4CA, 4LA, 4DA, 4EA, 4FA, 4GA,
4HA, 4IA
2629-61A, 62A
2633-41A, 42A
08K3429
Mini PCI modem card (IBM CR) for A21m/p
2628-xxA
2629-xxA
2633-xxA
08K3338
Mini PCI Ethernet card (Intel) 2.6 for A20m/p
2628-xxJ, xxK except 43x, 45x
2629-xxJ, xxK
2633-41J, 41K, 42J, 42K
10L1423
Mini PCI Ethernet card (Intel) 3.0
for A21m/p
2628-xxJ, xxK
2629-xxJ, xxK
2633-xxJ, xxK
for A22m/p
2628-x1J, x1K, x2J, x2K
2629-U1J, U1K, U2J, x2K
2633-x1J, x1K, x2J, x2K
08K3348
(continued)
Parts list
ThinkPad A20m/p, A21m/p and A22m/p 127

No. FRU P/N
13 Base cover for A20m
2628-1xx, 2xx, 3xx, 4xx except xxK, xxT,
2628-Bxx 04P3410
2628-1xK, 2xK, 3xK, 4xK 04P3412
2628-1xT, 2xT, 3xT, 4xT 04P3411
2633-4xx except 4xK, 4xT 08K5901
2633-4xK 08K5904
2633-4xT 08K5902
Base cover for A20p
2629-6xx except 6xK, 6xT 08K5640
2629-6xK 08K5646
2629-6xT 08K5642
Base cover for A21m
2628-Dxx, Exx, Fxx, Gxx except xxK, xxT 04P3711
2628-Jxx except JxK, JxT 04P3712
2628-DxK, ExK, FxK, GxK 04P3719
2628-JxK 04P3720
2628-DxT, ExT, FxT, GxT 04P3715
2628-JxT 04P3716
2633-Gxx except GxK, GxT 04P3714
2633-GxK 04P3722
2633-GxT 04P3718
Base cover for A21p
2629-Hxx except HxK, HxT 04P3713
2629-HxK 04P3721
2629-HxT 04P3717
Base cover for A22m
2628-Pxx, Qxx, Rxx, Sxx, Txx except
xxK, xxT 26P9523
2628-PxK, QxK, RxK, SxK 26P9529
2628-PxT, QxT, RxT, SxT 26P9529
2633-Txx except TxK, TxT 26P9525
2633-TxK 26P9531
2633-TxT 26P9528
Base cover for A22p
2629-Uxx except UxK, UxT 26P9524
2629-UxK 26P9530
2629-UxT 26P9527
(continued)
Parts list
128 ThinkPad A20m/p, A21m/p, A22m/p

No. FRU P/N
14 Blank cap RJ45
2628-x1x, x2x, x4x except xxJ, xxK
2628-xAx, xCx except xxJ, xxK
2628-3JC, 3KC, 4Lx
2628-47G, 48G, 4DC, 4EC, 4FC, 4GC,
4HC, 4IC
2628-xSx, xTx, xWx, xXx, x1J, x1K, x2J,
x2K
2629-x1x, x2x, x4x except xxJ, xxK
2629-xAx, xCx except xxJ, xxK
2629-USx, UTx, U1J, U1K, U2J, U2K
2633-x1x, x2x, x4x except xxJ, xxK
2633-xSx, xTx, xWx, xXx, x1J, x1K, x2J,
x2K
04P3975
15 Ultrabay 2000 device
CD-ROM drive (TOSHIBA) OP
2628-1xx except 10U, 1ZU
2628-2xx except 20U
2628-3xx except 30U, 3JC, 3KC, 3ZU
2628-4xx except 40U
2628-Bxx
2633-4xx
05K9158
CD-ROM drive (LG) OP
2628-1xx except 10U, 1ZU
2628-2xx except 20U
2628-3xx except 30U, 3JC, 3KC, 3ZU
2628-4xx except 40U
2628-Bxx
2628-Cxx, Dxx, Fxx, Jxx
2633-4xx
05K9159
CD-ROM drive (LG) OP
2628-Bxx
2628-Pxx, Qxx, RAx
2633-4xx
08K9545
CD-ROM drive (TEAC) OP
2628-Bxx
2628-Cxx, Dxx, Fxx, Jxx
2628-Pxx, Qxx, RAx
2633-4xx
27L3436
DVD-ROM drive (MKE) OP
2628-4Ax, 4Cx, 4Ux, 4Vx, 3JC, 3KC
2628-6xx except 6ZU
2629-6xx except 60U
05K9188
DVD-ROM drive (TOSHIBA) OP
2628-4Ax, 4Cx, 4Ux, 4Vx, 3JC, 3KC
2628-6xx except 6ZU
2629-6xx except 60U
05K9160
(continued)
Parts list
ThinkPad A20m/p, A21m/p and A22m/p 129

No. FRU P/N
15 Ultrabay 2000 device
DVD-ROM drive 8x (MKE) OP
2628-Exx, Gxx
2628-Rxx except RAx, Sxx, Txx, Xxx
2629-Exx, Gxx, Hxx
2629-UUx
2633-Txx
27L3447
DVD-ROM drive (HITACHI) OP
2628-Exx, Gxx
2629-Exx, Gxx, Hxx
2633-Gxx
08K9513
DVD-ROM drive (HITACHI) OP
2628-Rxx except RAx, Sxx, Txx, Xxx
2629-UUx
2633-Txx
27L4087
CD-R/W drive (SONY) OP
2629-Uxx except UUx 08K9617
for optional Ultrabay 2000 device, see “Optional FRUs”on
page 147.
16 Cover, Mini PCI adapter slot 08K7294
17 Battery pack (6 cell)
Panasonic Li-Ion
2628-1xx, 2xx, 3xx, 4xx, Bxx
2628-Cxx, Dxx, Exx, Fxx, Gxx, Jxx except
xxE, xxJ, xxK
2628-Pxx, Qxx, Rxx, Sxx, Txx except xxE,
xxJ
2633-4xx, Txx
2633-Cxx, Dxx, Exx, Fxx, Gxx, Jxx except
xxE, xxJ, xxK
02K6614*
SANYO Li-Ion
2628-1xx, 2xx, 3xx, 4xx, Bxx
2628-Cxx, Dxx, Exx, Fxx, Gxx, Jxx except
xxE, xxJ, xxK
2628-Pxx, Qxx, Rxx, Sxx, Txx except xxE,
xxJ
2633-4xx, Txx
2633-Cxx, Dxx, Exx, Fxx, Gxx, Jxx except
xxE, xxJ, xxK
02K6618*
Panasonic Li-Ion (ECO)
2628-xxE
2628-DxJ, ExJ, FxJ, GxE, GxJ, IxJ
2628-xxJ except CxJ, JxJ
2633-DxJ, ExJ, FxJ, GxE, GxJ, IxJ
02K6769*
(continued)
Parts list
130 ThinkPad A20m/p, A21m/p, A22m/p

No. FRU P/N
17 Battery pack (6 cell)
SANYO Li-Ion (ECO)
2628-xxE, xxJ
2628-DxJ, ExJ, FxJ, GxE, GxJ, IxJ
2628-xxJ except CxJ, JxJ
2633-DxJ, ExJ, FxJ, GxE, GxJ, IxJ
02K6770*
Panasonic NiMH (ECO)
2628-CxK 02K6720*
SANYO NiMH (ECO)
2628-CxJ, JxJ 02K6864*
Battery pack (9 cell)
Panasonic Li-Ion OP
2629-6xx
2629-Hxx except HxJ
2629-Uxx except UxE, UxJ
02K6615*
SANYO Li-Ion OP
2629-6xx
2629-Hxx except HxJ
2629-Uxx except UxE, UxJ
02K6619*
Panasonic Li-Ion (ECO)
2629-HxJ, UxE, UxJ 02K6860*
SANYO Li-Ion (ECO)
2629-HxJ, UxE, UxJ 02K6862*
18 Cover, DIMM slot 08K7295
19 Hard-disk drive (6.0 GB), STD OP
2628-1xx except 10U, 1ZU
2628-2xx except 20U
2628-Bxx
05K9227
Hard-disk drive (6.0 GB), HITACHI OP
2628-1xx except 10U, 1ZU
2628-2xx except 20U
2628-Bxx
05K9228
Hard-disk drive (10.0 GB), STD OP
2628-Cxx, Dxx, Exx, Jxx, Pxx 08K9508
Hard-disk drive (10.0 GB), HITACHI OP
2628-Cxx, Dxx, Exx, Jxx, Pxx 08K9531
Hard-disk drive (12.0 GB), STD OP
2628-3xx except 30U, 3JC, 3KC, 3ZU
2628-4xx except 40U, 4ZU
2633-4xx
05K9229
Hard-disk drive (12.0 GB), HITACHI OP
2628-3xx except 30U, 3JC, 3KC, 3ZU
2628-4xx except 40U, 4ZU
2633-4xx
05K9230
Hard-disk drive (18.0 GB), STD OP
2628-3JC, 3KC
2629-6xx except 60U
27L4073
(continued)
Parts list
ThinkPad A20m/p, A21m/p and A22m/p 131

No. FRU P/N
19 Hard-disk drive (18.0 GB), STD OP
2628-3JC, 3KC
2629-6xx except 60U
27L4073
Hard-disk drive (20.0 GB), STD OP
2628-Qxx, Rxx, Sxx, Xxx, T7x, T8x, TUx,
TVx
2629-6Ax, 6Cx, 6Ux, 6Vx
27L4075
Hard-disk drive (20.0 GB), STD OP
2628-Fxx, Gxx, Jxx
2633-Gxx
27L3427
Hard-disk drive (20.0 GB), HITACHI OP
2628-Fxx, Gxx, Jxx
2628-Qxx, Rxx, Sxx, Xxx, T7x, T8x, TUx,
TVx
2633-Gxx
08K9533
Hard-disk drive (30.0 GB), STD OP
2628-Txx except T7x, 8x, TUx, TVx
2633-Txx
08K9564
Hard-disk drive (30.0 GB), HITACHI OP
2628-Txx except T7x, 8x, TUx, TVx
2633-Txx
08K9692
Hard-disk drive (32.0 GB), STD OP
2629-Hxx, Uxx 08K9509
20 Cover, hard-disk drive for 12.1/14.1-in. models
2628-1xx, 2xx, 4xx, Bxx, Cxx, Dxx, Exx,
Gxx, Qxx, Rxx, Txx
2633-4xx, Gxx, Txx
08K5675
Cover, hard-disk drive for 15.0-in. models
2628-3xx, Fxx, Jxx, Pxx, Sxx
2629-6xx, Fxx, Hxx, Jxx, Uxx
08K5676
—Asset ID RF adapter (see “Optional FRUs”on page 147)
21 System board for A20
Video memory 4 MB
2628-1xx, 2xx, Bxx 08K3314
Video memory 8 MB
2628-3xx except 3JC, 3KC 08K3315
Video memory 8 MB
2628-4xx, 3JC, 3KC, 2633-4xx 08K3316
Video memory 16 MB
2629-6xx 08K3317
System board for A21
Video memory 4 MB
2628-Cxx, Jxx 08K3262
Video memory 4 MB
2628-Dxx, Exx 08K3263
Video memory 4 MB
2628-Jxx 26P7975
(continued)
Parts list
132 ThinkPad A20m/p, A21m/p, A22m/p

No. FRU P/N
21 System board for A21
Video memory 8 MB
2628-Gxx, Fxx, 2633-Gxx 08K3264
Video memory 16 MB
2629-Hxx 08K3265
System board for A22
without Video memory
2628-Sxx 26P8104
Video memory 4 MB
2628-Qxx 26P8105
Video memory 4 MB
2628-Pxx, Rxx, Xxx 26P8106
Video memory 8 MB
2628-Txx, 2633-Txx 26P8102
Video memory 16 MB
2629-Uxx, Yxx 26P8103
22 64-MB SDRAM SO DIMM (PC100) OP
2628-1xx except 10U, 1ZU
2628-2xx except 20U
2628-3xx except 30U, 3JC, 3KC, 3ZU
2628-4xx except 40U, 4Hx, 4Ix, 4Lx
2628-Cxx, Dxx, Exx, Fxx, Gxx, Jxx, Pxx,
Qxx, Rxx, Xxx, T7x, T8x, TUx, TVx
2633-4xx, Gxx
20L0264*
128-MB SDRAM SO DIMM (PC100) OP
2628-4Hx, 4Ix
2628-3JC, 3KC, 4Lx
2628-Txx except T7x, T8x, TUx, TVx
2629-6xx except 60U, 6ZU
2629-Hxx, Uxx
2633-Txx
20L0265*
23 Thermal rubbers
2628-Pxx, Qxx, Rxx
2629-Uxx
2633-Txx
08K7157
2628-Sxx, Txx
2629-Uxx
2633-Txx
26P9337
(continued)
Parts list
ThinkPad A20m/p, A21m/p and A22m/p 133

No. FRU P/N
24 CPU, Celeron 500 MHz
2628-1xx, 3xx, 47x, 48x 08K3149
CPU, Celeron 550 MHz
2628-1Ax, 1Cx, 1Ux, 1Vx, 1ZU, 3Ax, 3Cx,
3Ux, 3Vx, 3ZU
08K3211
CPU, Pentium III 500 MHz
2628-2xx, Bxx 10L1415
CPU, Pentium III 600 MHz with SpeedStep
technology
2628-4Ax, 4Cx, 4Ux, 4Vx, 4ZU
08K3213
CPU, Pentium III 650 MHz with SpeedStep
technology
2628-4Dx, 4Ex, 4Fx, 4Gx
10L1405
CPU, Pentium III 650 MHz with SpeedStep
technology
2628-Hxx
12P3450
CPU, Pentium III 700 MHz with SpeedStep
technology
2628-4xx except 47x, 48x, 4Dx, 4Ex, 4Fx,
4Gx
2628-3JC, 3KC, 4Lx
2629-6xx
2633-4xx
10L1417
CPU, Pentium III 750 MHz with SpeedStep
technology
2628-Fxx
2629-6Ax, 6Cx, 6Ux, 6Vx, 6ZU
08K3191
CPU, Pentium III 800 MHz with SpeedStep
technology
2628-Gxx, Pxx, Qxx
2633-Gxx
12P3448
CPU, Pentium III 850 MHz with SpeedStep
technology
2628-Rxx, Xxx
12P3450
CPU, Pentium III 900 MHz with SpeedStep
technology
2628-Sxx
26P8126
CPU, Pentium III 900 MHz with SpeedStep
technology
2629-Yxx
08K3346
CPU, Pentium III 1 GHz with SpeedStep
technology
2628-Txx
2629-Uxx
2633-Txx
08K3392
25 Upper shield assembly, front 08K7286
26 Diskette drive (TEAC) 05K9157
Diskette drive (SONY) 08K9552
(continued)
Parts list
134 ThinkPad A20m/p, A21m/p, A22m/p

No. FRU P/N
27 Spacer, diskette drive for 2629 04P3225
28a Microphone/speaker cable for A20m/A20p,
A21m/A21p
2628-1xx, 2xx, 3xx, 4xx, Bxx, Dxx, Exx,
Fxx, Gxx
2629-6xx, Dxx, Fxx, Gxx, Hxx
2633-4xx, Gxx
27L0484
28b Speaker cable for A22m/A22p
2628-Cxx, Jxx, Pxx, Qxx, Rxx, Sxx, Txx
2629-Uxx
2633-Txx
27L0601
29 Keyboard* (see “Keyboard”on page 140)
30 Pointing stick cap for A20, 21 84G6536*
Pointing stick cap for A22 26P9212*
31 Clear sheet LED icon for A22 08K7304
32 Fan duct for A22
2628-Sxx, Txx, 2629-Uxx, 2633-Txx 26P9208
33 RJ45/11 connector assembly for A22 27L0645
—Telephone cable 27L0603*
—Video cable
2628-Fxx, Gxx
2629-6xx, Fxx, Gxx, Hxx, Uxx
2633-Gxx
27L0531
—AC adapter (see “AC adapter”on page 136.)
—Recovery CD (see “Recovery CDs”on page 141.)
Parts list
ThinkPad A20m/p, A21m/p and A22m/p 135

AC adapter
All of the AC adapters listed below are CRUs (customer
replaceable units.)
FRU P/N
AC adapter (72 W), 2-pin (ASTEC)
models xxE, xxF, xxJ, xxP, xxS, xxU, xxX 02K6669
AC adapter (72 W), 2-pin (DELTA)
models xxE, xxF, xxJ, xxP, xxS, xxU, xxX 02K6673
AC adapter (72 W), 2-pin (SANKEN)
models xxE, xxF, xxJ, xxP, xxS, xxU, xxX 02K6677
AC adapter (72 W), 3-pin (ASTEC)
models xxC, xxG, xxH, xxK, xxT, xxY 02K6666
AC adapter (72 W), 3-pin (DELTA)
models xxC, xxG, xxH, xxK, xxT, xxY 02K6670
AC adapter (72 W), 3-pin (SANKEN)
models xxC, xxG, xxH, xxK, xxT, xxY 02K6674
LCD FRUs
12.1-in. SVGA TFT
Following FRUs are available for MT2628-1xx, 2xx, Bxx,
Cxx, Dxx, Qxx.
FRU P/N
LCD cover assembly
2628-1xx, 2xx, Bxx, Cxx, Dxx except xxK 08K5655
2628-1xK, 2xK
2628-CxK, DxK
08K5659
2628-Qxx except QxK (with heatpipe) 08K7288
2628-QxK (with heatpipe) 08K7289
LCD cable 12.1 27L0485
LCD panel 12.1 SVGA (SANYO) 05K9577
Hinges 12.1 08K5664
Inverter card 12.1/14.1/15.0
2628-1xx, 2xx, Bxx 08K3120
Inverter card 12.1 (large)
2628-Cxx, Dxx, Qxx 08K3325
Parts list
136 ThinkPad A20m/p, A21m/p, A22m/p

14.1-in. XGA TFT
Following FRUs are available for MT2628-4xx, Exx, Gxx,
Txx, Xxx, MT2633-4xx, Gxx, Txx.
FRU P/N
LCD cover assembly 14.1 XGA
2628-4xx, Exx except xxK
2633-4xx except 4xK
08K5656
2628-4xK, ExK
2633-4xK
08K5660
2628-Txx except TxK
2628-Xxx
2633-Txx except TxK
2633-Xxx
12P4215
2628-TxK
2633-TxK
08K7291
with heatpipe
2628-Gxx except GxK
2633-Gxx except GxK
04P3485
with heatpipe
2628-GxK
2633-GxK
08K7111
LCD cable 14.1
2628-4xx, Exx, Gxx, Txx, Xxx
2633-4xx, Gxx,Txx
27L0486
LCD panel 14.1 XGA (DBU)
2628-4xx, Exx, Gxx, Txx, Xxx
2633-4xx, Gxx, Txx
05K9578
LCD panel 14.1 XGA (SAMSUNG)
2628-4xx, Exx, Gxx, Txx, Xxx
2633-4xx, Gxx, Txx
05K9588
Hinges 14.1
2628-4xx, Exx, Gxx, Txx, Xxx
2633-4xx, Gxx, Txx
08K5665
Inverter card 12.1/14.1/15.0
2628-4xx
2633-4xx
08K3120
Inverter card 12.1/14.1/15.0
2628-Exx 12P3051
Inverter card (slim)
2628-Gxx, Txx
2633-Gxx, Txx
12P3053
Parts list
ThinkPad A20m/p, A21m/p and A22m/p 137

15.0-in. XGA TFT (LG)
Following FRUs are available for MT2628-3xx, Jxx, Pxx,
Rxx.
FRU P/N
LCD cover assembly 15.0 XGA
2628-3xx, Jxx except xxK (without heatpipe) 26P9403
2628-3xK, JxK (without heatpipe) 26P9404
2628-Pxx, Rxx except xxK(with heatpipe) 26P9405
2628-PxK, RxK(with heatpipe) 26P9406
LCD cable 15.0 XGA (LG)
2628-3xx, Jxx, Pxx, Rxx 27L0578
LCD panel 15.0 XGA (LG)
2628-3xx, Jxx, Pxx, Rxx 05K9647
Hinges 15.0 (LG) (for 2628-3xx) 04P3051
Hinges 15.0
2628-3xx, Jxx, Pxx, Rxx 04P3488
Inverter card 12.1/14.1/15.0 (for 2628-3xx) 08K3120
Inverter card 15.0 XGA (for 2628-Jxx) 08K3326
Inverter card (slim) (for 2628-Pxx, Rxx) 12P3053
Misc kit for 15.0 XGA (LG) for 2628-Jxx (see “Miscellaneous
parts”on page 145.)
15.0-in. XGA TFT (SAMSUNG)
Following FRUs are available for MT2628-3xx, Fxx, Jxx,
Pxx, Rxx .
FRU P/N
LCD cover assembly 15.0 XGA
2628-3xx, Jxx except xxK (without heatpipe) 26P9403
2628-3xK, JxK (without heatpipe) 26P9404
2628-Fxx, Pxx, Rxx except xxK(with heatpipe) 26P9405
2628-FxK, PxK, RxK(with heatpipe) 26P9406
LCD cable 15.0 XGA (SAMSUNG)
2628-3xx, Fxx, Jxx, Pxx, Rxx 27L0487
LCD panel 15.0 XGA (SAMSUNG)
2628-3xx, Fxx, Jxx, Pxx, Rxx 05K9580
Hinges 15.0
2628-3xx, Fxx, Jxx, Pxx, Rxx, Sxx 04P3488
Inverter 12.1/14.1/15.0 (for 2628-3xx) 08K3120
Inverter card 15.0 XGA (for 2628-Jxx) 08K3326
Inverter card (slim) (for 2628-Gxx, Pxx, Rxx, Sxx) 12P3053
Parts list
138 ThinkPad A20m/p, A21m/p, A22m/p

15.0-in. SXGA+ TFT
Following FRUs are available for MT2628-Sxx and
2629-6xx.
FRU P/N
LCD cover assembly
2628-Sxx except SxK (with heatpipe LM) 26P9210
2628-SxK (with heatpipe LM) 26P9211
2629-6xx except 6xK 26P9532
2629-6xK 26P9533
LCD cable 15.0 SXGA+ (for 2629-6xx) 27L0488
LCD cable 15.0 SXGA+
2628-Sxx
2629-6xx
27L0662
LCD panel 15.0 SXGA+ (DBU)
2628-Sxx
2629-6xx
05K9581
Hinges 15.0
2628-Fxx, Jxx, Sxx
2629-6xx
04P3488
Inverter card (slim) (for 2629-Fxx, Gxx) 12P3053
15.0-in. UXGA TFT
Following FRUs are available for MT2629-Hxx, Uxx, Yxx.
FRU P/N
LCD cover assembly
2629-6xx, Hxx, Uxx except xxK 26P9532
2629-6xK, HxK, UxK 26P9533
LCD cable 15.0 UXGA (for 2629-Hxx, Uxx) 27L0664
LCD panel 15.0 UXGA (DBU) (for 2629-Hxx, Uxx) 05K9835
LCD panel 15.0 UXGA (LG) (for 2629-Hxx, Uxx) 05K9693
Hinges 15.0 (for 2629-Hxx, Uxx) 04P3488
Inverter card (slim) (for 2629-Hxx, Uxx) 12P3053
Parts list
ThinkPad A20m/p, A21m/p and A22m/p 139

Keyboard
All of the keyboards listed below are CRUs (customer
replaceable units.)
Language P/N
A20m/p A21m/p A22m/p
Arabic 02K5051 02K5476
Belgian 02K5045 02K5470
Canadian French 02K5035 02K5456
Chinese, traditional 02K5057 02K5459
Czech 02K5055 02K5480
Danish 02K5042 02K5467
Dutch 02K5039 02K5464
English, U.K. 02K5036 02K5461
English, U.S. 02K5034 02K5455
French, European 02K5038 02K5463
German 02K5037 02K5462
Greek 02K5048 02K5473
Hebrew 02K5049 02K5474
Hungarian 02K5054 02K5479
Italian 02K5043 02K5468
Japanese 02K5056 02K5458
Korean 02K5058 02K5460
Norwegian 02K5041 02K5466
Polish 02K5150 02K5481
Portuguese 02K5047 02K5472
Russian 02K5052 02K5477
Slovak 02K5053 02K5478
Slovenian 02K5151 02K5482
Spanish, European 02K5044 02K5469
Spanish, Latin American 02K5059 02K5457
Swedish or Finnish 02K5040 02K5465
Swiss 02K5046 02K5471
Thai ——02K5759
Turkish 02K5050 02K5475
Parts list
140 ThinkPad A20m/p, A21m/p, A22m/p

Recovery CDs
For Windows 98 (A22m)
Language P/N
Arabic 23P8930
Chinese, Simplified 27P2266
Chinese, Traditional 27P2261
Czech 23P8931
Danish 23P8897
Dutch 23P8904
English, U.S. 23P8892
English, U.K. 23P8893
Finnish 23P8903
French, Canadian 23P8894
French, European 23P8898
German 23P8899
Greek 23P8935
Hebrew 23P8932
Hungarian 23P8936
Italian 23P8902
Japanese 46P4403
Norwegian 23P8905
Polish 23P8933
Portuguese 23P8896
Spanish, European 23P8900
Spanish, Latin American 23P8895
Slovenian 23P8938
Slovak 23P8939
Swedish 23P8901
Thai 23P8940
Turkish 23P8934
Russian 23P8937
Parts list
ThinkPad A20m/p, A21m/p and A22m/p 141

For Windows 98 (A22p)
Language P/N
Arabic 23P9062
Arabic (modem enabled) 14P9553
Chinese, Simplified 27P2256
Chinese, Traditional 27P2251
Czech 23P9063
Danish 23P9029
Dutch 23P9036
English, U.S. 14P9569
English, U.K. 14P9582
Finnish 23P9035
French, Canadian 23P9026
French, European 23P9030
German 14P9586
Greek 23P9067
Hebrew 23P9064
Hungarian 23P9068
Italian 23P9034
Japanese 46P4400
Norwegian 23P9037
Polish 23P9065
Portuguese 23P9028
Spanish, European 23P9032
Spanish, Latin American 23P9027
Slovenian 23P9070
Slovak 23P9071
Swedish 14P9590
Thai 23P9072
Turkish 23P9066
Russian 23P9069
Parts list
142 ThinkPad A20m/p, A21m/p, A22m/p

For Windows 2000 (A22m)
Language P/N
Chinese, Simplified 27P2268
Chinese, Traditional 27P2263
For Windows 2000 (A22p)
Language P/N
Chinese, Simplified 27P2258
Chinese, Traditional 27P2253
For Windows 2000/Windows NT (A22m)
Language P/N
Arabic 23P9002
Czech 23P9003
Danish 23P8957
Dutch 23P8964
English, U.S. 23P8952
English, U.K. 23P8953
Finnish 23P8963
French, Canadian 23P8954
French, European 23P8958
German 23P8959
Greek 23P9007
Hebrew 23P9004
Hungarian 23P9008
Italian 23P8962
Japanese 27P1871
Norwegian 23P8965
Polish 23P9005
Portuguese 23P8956
Spanish, European 23P8960
Spanish, Latin American 23P8955
Slovenian 23P9010
Slovak 23P9011
Swedish 23P8961
Thai 23P9012
Turkish 23P9006
Russian 23P9009
Parts list
ThinkPad A20m/p, A21m/p and A22m/p 143

For Windows 2000/Windows NT (A22p)
Language P/N
Arabic 23P9134
Arabic (modem enabled) 14P9558
Czech 23P9135
Danish 23P9089
Dutch 23P9096
English, U.S. 14P9572
English, U.K. 14P9594
Finnish 23P9095
French, Canadian 23P9086
French, European 23P9090
German 23P9091
Greek 23P9139
Hebrew 23P9136
Hungarian 23P9140
Italian 23P9094
Japanese 46P4400
Norwegian 23P9097
Polish 23P9137
Portuguese 23P9088
Spanish, European 23P9092
Spanish, Latin American 23P9087
Slovenian 23P9142
Slovak 23P9143
Swedish 23P9093
Thai 23P9144
Turkish 23P9138
Russian 23P9141
Parts list
144 ThinkPad A20m/p, A21m/p, A22m/p

Miscellaneous parts
FRU P/N
Screw kit (including nylon-coated screws):
vM2 x 3.6 mm, flat head (3)
vM2 x 5.1 mm, flat head (5)
vM2 x 5.7 mm, flat head (5)
vM2 x 16 mm, bind head (3)
vM2.5 x 4.8 mm, flat head (42)
vM2.5 x 5.5 mm, flat head (2)
vM2.5 x 15 mm, flat head (15)
vM2.6 x 2.8 mm, bind head (7)
vM3 x 2.8 mm, small head (5)
vCoin screw (1)
vSecurity screw (1)
vScrew caps (14)
04P3973
Base miscellaneous parts:
vLens, IR
vLens, Ultrabay 2000 LES
vLock, battery
vSpring, battery lock
vLid, docking FR
vLid, docking RR
vSpring, lid docking
vRubber foot
vSponge
vSponge, shield lower
vSponge, small
vBlank cap, battery
vScrew caps
vCu tape
08K5647
System miscellaneous parts (for A20m/p, A21m/p):
vDoor, PC card slots
vDoor, PC card 1 slot
vSpring, PC card slots
vLens, LED hinge
vBlank cap, TV connector
vEject knob, Ultrabay 2000
vLock lever, Ultrabay 2000
vSpring, Ultrabay 2000
vInsulator, hard-disk drive
vInsulator, keyboard CRU
vMini PCI guide
v(a) Stiffner, CPU socket
vScrew caps
04P3966
(continued)
Parts list
ThinkPad A20m/p, A21m/p and A22m/p 145

FRU P/N
System miscellaneous parts (for A22m/p):
vKeyboard stopper
vDoor, PC card slots
vDoor, PC card 1 slot
vSpring, PC card slots door
vLens, LED hinge
vBlank cap, TV connector
vEject knob, Ultrabay 2000
vLock lever, Ultrabay 2000
vSpring 1, Ultrabay 2000
vSpring 2, Ultrabay 2000
vInsulator, hard-disk drive
vInsulator, keyboard CRU
vMini PCI guide
v(a) Stiffner, CPU socket - upper
vScrew caps
26P9209
Miscellaneous parts, for system board (for A20m/p,
A22m/p):
vI/O bracket (right/left)
vGuide, keyboard connector
vHex stud
vI/O bracket spacer
vFDD sponge
vDocking hole cap
vFlat head screw (M2.5 x 4.8)
vScrew caps
26P9335
Miscellaneous parts, for diskette drive:
vBezel
vBezel without icon
vBracket
vFlexible cable
vScrew caps
26P9336
Miscellaneous parts, for LCD:
vLatch (right/left)
vSpring
vSpacer (for 15.0-in.)
vBlank cap, UltraPort
vScrew caps
04P3968
Miscellaneous kit for LCD 15.0-in. LG
vLatch (RH 15.0 LG)
vLatch (LH 15.0 LG)
vSpring (15.0 LG)
vSpacer (for 15.0-in.)
vScrew caps
04P3050
Parts list
146 ThinkPad A20m/p, A21m/p, A22m/p

Optional FRUs
FRU P/N
Ultrabay 2000 SuperDisk drive 05K9235
ZIP-250 00N8254
Multiple battery charger 02K6642
Ultrabay 2000 2nd HDD adapter 08K6067
Ultrabay 2000 battery 02K6645
UltraPort camera for MT2629 02K5153
IBM tripod 08K6449
UltraPort adapter and connector cover 08K6105
USB cable attachment 08K6108
USB cable 27L0542
ThinkPad Dock 08N1546
PCI cover 05K6246
ThinkPad Dock with extension plate 08N1537
PCI cover with foot 08K7317
Top cover and screw kit for ThinkPad Dock 12P4143
ThinkPad Port Replicator 08N1536
Asset ID RF adapter 08K6065
Parts list
ThinkPad A20m/p, A21m/p and A22m/p 147

Common parts list
Tools
Tools P/N
Triconnector wrap plug 72X8546
PC test card 35G4703
Audio wrap cable 66G5180
USB parallel test cable 05K2580
Screwdriver kit 95F3598
Torque screwdriver 05K4695
5 mm socket wrench 05K4694
Screwdriver 27L8126
ThinkPad hardware maintenance diskette version
1.62
Note: Download the file from the Web site.
—
Power cords (system)
IBM power cords for a specific country are usually
available only in that region:
For 2-pin power cords:
Region P/N
Canada, United States of America 13H5264
Japan 13H5273
Argentina 36L8870
For 3-pin power cords:
Region P/N
Australia, New Zealand 76H3514
Taiwan, Thailand 76H3516
Italy 76H3530
Denmark 76H3520
U.K., China (Hong Kong S.A.R.) 76H3524
European countries 76H3518
India, South Africa 76H3522
Israel 76H3532
Korea 76H3535
China (P.R.C.) (other than Hong Kong) 02K0539
Switzerland 76H3528
Parts list
148 ThinkPad A20m/p, A21m/p, A22m/p

Power cords (docking station)
IBM power cords for a specific country are usually
available only in that region:
For 3-pin power cords:
Region P/N
Argentina 36L8868
Australia, New Zealand 75H8988
Canada, Thailand, United States of America 75H8989
Denmark 75H8992
European countries 75H8990
India, South Africa 75H8993
Israel 75H8999
Italy 75H8998
Japan 75H8996
Korea 76H3536
People’s Republic of China (other than Hong Kong) 02K0540
Switzerland 75H8997
United Kingdom 75H8994
Parts list
ThinkPad A20m/p, A21m/p and A22m/p 149

Notices
References in this publication to IBM products, programs,
or services do not imply that IBM intends to make these
available in all countries in which IBM operates. Any
reference to an IBM product, program, or service is not
intended to state or imply that only that IBM product,
program, or service may be used. Any functionally
equivalent product, program, or service that does not
infringe any of the intellectual property rights of IBM may
be used instead of the IBM product, program, or service.
The evaluation and verification of operation in conjunction
with other products, except those expressly designated by
IBM, are the responsibility of the user.
IBM may have patents or pending patent applications
covering subject matter in this document. The furnishing of
this document does not give you any license to these
patents. You can send license inquiries, in writing, to the
IBM Director of Licensing, IBM Corporation, 500 Columbus
Avenue, Thornwood, NY 10594, U.S.A.
Trademarks
The following terms are trademarks of the IBM Corporation
in the United States or other countries or both:
Asset ID
IBM
OS/2
ThinkLight
ThinkPad
TrackPoint
Ultrabay
UltraPort
Microsoft, Windows, Windows NT, and the Windows logo
are trademarks of Microsoft Corporation in the United
States and/or other countries.
Pentium is trademark of Intel Corporation in the United
States and/or other countries. (For a complete list of Intel
trademarks, see the legal information on
http://www.intel.com/)
Other company, product, or service names may be the
trademarks or service marks of others.
Notices
150 ThinkPad A20m/p, A21m/p, A22m/p
Notices
ThinkPad A20m/p, A21m/p and A22m/p 151

Part Number: 23P0896
(1P) P/N: 23P0896



