Impex Fitness Eve 900 Owners Manual PARTS LIST
Impex-Fitness-Eve-900-Users-Manual-341511 impex-fitness-eve-900-users-manual-341511
Impex-Fitness-Eve-900-Owner-S-Manual impex-fitness-eve-900-owner-s-manual
EVE-900 to the manual 741420fc-3924-4e33-9820-9fca5ad4df2d
2015-06-15
: Impex-Fitness Impex-Fitness-Eve-900-Owners-Manual-746585 impex-fitness-eve-900-owners-manual-746585 impex-fitness pdf
Open the PDF directly: View PDF
.
Page Count: 21
- BEFORE YOU BEGIN....................................................................................……….. 1
- IMPORTANT SAFETY NOTICES...................................................................……….. 2
- HARDWARE IDENTIFIER.....….....................................................................……….. 4
- ASSEMBLY INSTRUCTIONS.........................................................................……….. 7
- PARTS LIST…………………………………………………………………………………..18
- RESISTANCE CHART………….......................................................................……….19
- WARRANTY.................................................................................................…………. 20
- ORDERING PARTS.......................................................................................…………20
- WARNING LABEL REPLACEMENT
- HARDWARE PACK
- HARDWARE PACK
- HARDWARE PACK
- ASSEMBLY INSTRUCTION
- PARTS LIST
- KEY NO. DESCRIPTION Q’ty
- EVE900 WEIGHT RESISTANCE CHART

NOTE:
Please read all instructions
carefully before using this
product
Table of Contents
Safety Notice
Hardware Pack
Assembly Instruction
Parts List
Resistance Chart
Warranty
Ordering Parts
Model
EVE-900
Retain This
Manual for
Reference
07-06-05
OWNER'S
MANUAL
EVERLAST EVE-900
HOME GYM
Made under license from trademark owner Everlast
Worldwide Inc., New York.
IMPEX INC.
14777 DON JULIAN RD., CITY OF INDUSTRY, CA 91746
Tel: (800) 999-8899 Fax: (626) 961-9966
www.impex-fitness.com
info@impex-fitness.com

TABLE OF CONTENTS
BEFORE YOU BEGIN....................................................................................……….. 1
IMPORTANT SAFETY NOTICES...................................................................……….. 2
HARDWARE IDENTIFIER.....….....................................................................……….. 4
ASSEMBLY INSTRUCTIONS.........................................................................……….. 7
PARTS LIST…………………………………………………………………………………..18
RESISTANCE CHART………….......................................................................……….19
WARRANTY.................................................................................................…………. 20
ORDERING PARTS.......................................................................................…………20
BEFORE YOU BEGIN
Thank you for selecting the EVERLAST EVE-900 HOME GYM by IMPEX
INC. For your safety and benefit, read this manual carefully before using the
machine. As a manufacturer, we are committed to provide you complete
customer satisfaction. If you have any questions, or find there are missing or
damaged parts, we guarantee you complete satisfaction through direct
assistance from our factory. To avoid unnecessary delays, please call our
TOLL-FREE customer service number. Our Customer Service Agents will
provide immediate assistance to you.
Toll-Free Customer Service Number
1-800-999-8899
Mon. – Fri. 9 a.m. – 5 p.m. PST
www.impex-fitness.com
info@impex-fitness.com
1

IMPORTANT SAFETY NOTICE
PRECAUTIONS
This exercise machine is built for optimum safety. However, certain precautions apply
whenever you operate a piece of exercise equipment. Be sure to read the entire manual
before you assemble or operate your machine. In particular, note the following safety
precautions:
1. Keep children and pets away from the machine at all times. DO NOT
leave children unattended in the same room with the machine.
2. Only one person at a time should use the machine.
3. If the user experiences dizziness, nausea, chest pain, or any other abnormal
symptoms, STOP the workout at once. CONSULT A PHYSICIAN IMMEDIATELY.
4. Position the machine on a clear, leveled surface. DO NOT use the machine
near water or outdoors.
5. Keep hands away from all moving parts.
6. Always wear appropriate workout clothing when exercising. DO NOT wear
robes or other clothing that could become caught in the machine. Running
or aerobic shoes are also required when using the machine.
7. Use the machine only for its intended use as described in this manual. DO
NOT use attachments not recommended by the manufacturer.
8. Do not place any sharp object around the machine.
9. Disabled person should not use the machine without a qualified person or
physician in attendance.
10. Before using the machine to exercise, always do stretching exercises to
properly warm up.
11. Never operate the machine if the machine is not functioning properly.
CARE AND MAINTENANCE
1. Lubricate moving parts with WD-40 or light oil periodically.
2. Inspect and tighten all parts before using the machine.
3. The machine can be cleaned using a damp cloth and mild non-abrasive detergent.
DO NOT use solvents.
4. Maximum user’s weight: 300 lbs
WARNING: BEFORE BEGINNING ANY EXERCISE PROGRAM, CONSULT YOUR
PHYSICIAN. THIS IS ESPECIALLY IMPORTANT FOR INDIVIDUALS OVER THE AGE
OF 35 OR PERSONS WITH PRE-EXISTING HEALTH PROBLEMS. READ ALL
INSTRUCTIONS BEFORE USING ANY FITNESS EQUIPMENT. IMPEX INC. ASSUMES
NO RESPONSIBILITY FOR PERSONAL INJURY OR PROPERTY DAMAGE
SUSTAINED BY OR THROUGH THE USE OF THIS PRODUCT.
SAVE THESE INSTRUCTIONS.
2

WARNING LABEL REPLACEMENT
The warning labels shown here have been placed on the Rear Stabilizer and Upper Frame. If the labels are
missing or illegible, please call customer service at 1-800-888-8899 for replacements. Apply the labels in the
location shown.
3

HARDWARE PACK
4

HARDWARE PACK
5

HARDWARE PACK
6
ASSEMBLY INSTRUCTION
Tools Required Assembling the Machine: Two Adjustable Wrenches and Allen
Wrenches. NOTE: It is strongly recommended this machine to be assembled by
two or more people to avoid possible injury.
STEP 1 (See Diagram 1)
A.) Slide two Ø2 ½” Round Rubber Bumpers (#43) onto the Guide Rods (#7). Insert
the two Guide Rods into the holes on the Rear Stabilizer (#8). Secure each Guide
Rod with one M10 x 1” Allen Bolt (#72) and ∅ ¾” Washer (#77) from the bottom.
B.) Attach the rear of Main Base Frame (#1) to the Rear Stabilizer. Secure them with
two M10 x 2 ¾” Carriage Bolts (#62), one 4 3/8” x 2” Bracket (#20), two Ø ¾”
Washers (#77), and two M10 Aircraft Nuts (#81). Do not tighten the nuts and bolts
yet.
C.) Attach the Front Stabilizer (#19) to the Main Base Frame (#1). Secure them with
one M10 x 3” Allen Bolt (#74), one 4” x 2” Bracket (#29), two Ø ¾” Washers (#77),
and one M10 Aircraft Nut (#81) to the top hole. Secure the bottom hole with one
M10 x 2 1/2” Allen Bolt (#64) and ∅3/4” Washer (#77) from the back.
D.) Attach the Foot Plates (#30) to the Front Stabilizer (#19). Secure them with two
M10 x 2 ¾” Carriage Bolts (#62), Ø ¾” Washers (#77), and M10 Aircraft Nuts
(#81).
E.) Place the Vertical Frame (#2) onto the Main Base Frame. Secure them with two
M10 x 3 ½” Carriage Bolts (#63), one Pulley Bracket (#18), two Ø ¾” Washers
(#77), and two M10 Aircraft Nuts (#81). Securely tighten all nuts and bolts
previously installed.
7

DIAGRAM 1
8

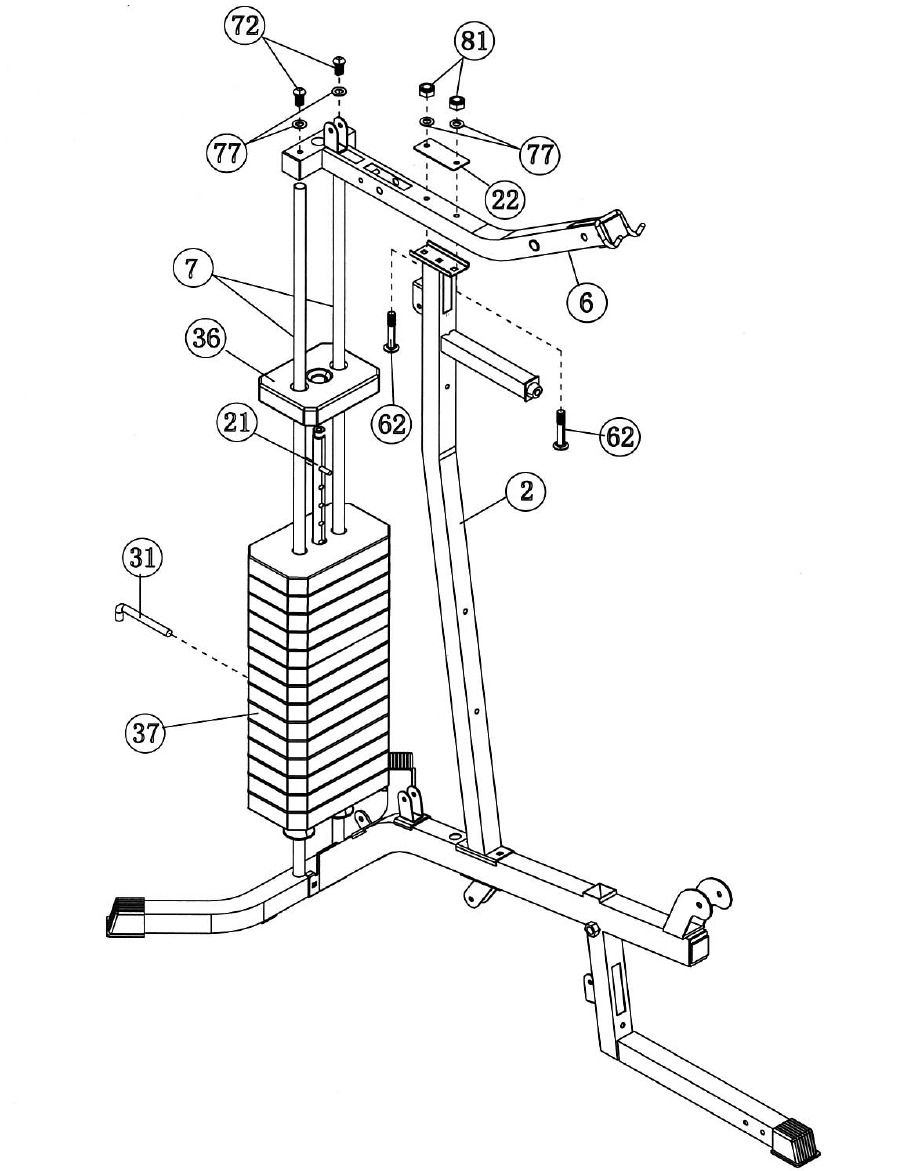
STEP 2 (See Diagram 2)
A.) Slide 14 Weight Plates (#37) onto the Guide Rods (#7). Align the holes on the Weight
Plates. Insert a Selector Rod (#21) through the center hole. Use a L-shaped Pin (#31) to
select the number of Weight Plates. Slide the Selector Stem (#36) onto the Guide Rods.
B.) Attach the holes on the Upper Frame (#6) onto the Guide Rods. Place the Upper Frame
onto the Vertical Frame (#2).
C.) Secure the Upper Frame (#6) to the Guide Rods (#7) with two M10 x 1” Allen Bolts (#72) and
Ø ¾” Washers (#77).
D.) Secure the Upper Frame to the Vertical Frame with two M10 x 2 ¾” Carriage Bolts (#62),
one 4 ¾” x 2” Bracket (#22), two ∅ ¾” Washers (#77), and two M10 Aircraft Nuts (#81).
9

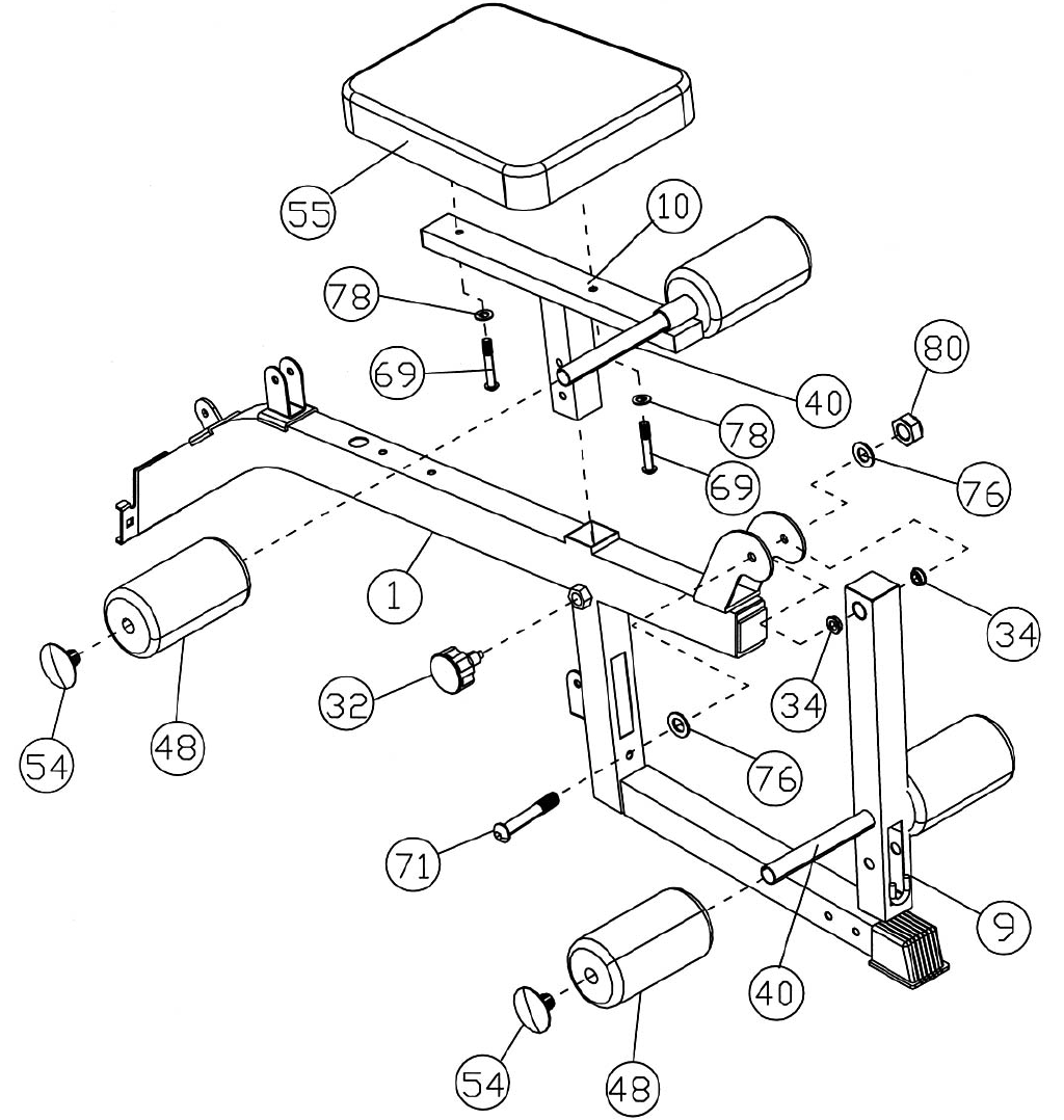
STEP 3 (See Diagram 3)
A.) Place the Seat (#55) onto the Seat Support (#10). Secure it with two M8 x 1 5/8” Allen Bolts
(#69) and Ø 5/8” Washers (#78).
B.) Insert the Seat Support into the opening on the Main Base Frame (#1). Use a Lock Knob
(#32) to secure the Seat Support at desired height.
C.) Attach two ∅1” x ½” Bushings (#34) to the Leg Developer (#9). Attach the Leg Developer to
the bracket on the Main Base Frame. Secure it with one M12 x 3 1/8” Allen Bolt (#71), two Ø
1” Washers (#76), and one M12 Aircraft Nut (#80). Do not over tighten the Bolt and Nut.
Make sure the Leg Developer is able to swivel on the Bolt.
D.) Insert two Foam Tubes (#40) halfway through the holes on the Seat Support and Leg
Developer. Push four Foam Rolls (#48) onto the Tubes from both ends. Cover each end
with a Foam Roll End Cap (#54). DIAGRAM 3
10

STEP 4 (See Diagram 4)
A.) Attach the Front Press Base (#3) to the Upper Frame (#6). Secure it with one Axle (#24), two
Spacers (#79), and two M10 Aircraft Nuts (#81). Do not over tighten the Nuts.
B.) Insert the axle on the Right Butterfly (#4) through the hole on the Front Press Base (#3) from the
bottom. Slide a Lock Ring (#60) onto the axle. Align the holes and secure it with one M6 x 1 ¼”
Allen Bolt (#61) and M6 Aircraft Nut (#73). Repeat the same step to install the Left Butterfly (#5).
C.) Attach the Swivel Pulley Bracket Frame (#16) to the back of the Vertical Frame (#2). Secure it
with one M10 x 3 ½” Allen Bolt (#70), two Ø ¾” Washers (#77), and one M10 Aircraft Nut (#81).
D.) Attach a Swivel Pulley Bracket (#17) to each end of Swivel Pulley Bracket Frame. Secure each
Bracket with one M10 x 2 ½” Allen Bolt (#64), two Ø ¾” Washers (#77), and one M10 Aircraft Nut
(#81).
E.) Attach the Backrest Board (#56) to the Vertical Frame (#2). Secure it with two M8 x 2 ½” Allen
Bolts (#68) and Ø 5/8” Washers (#78). DIAGRAM 4
11

CABLE LOOP DIAGRAM
12
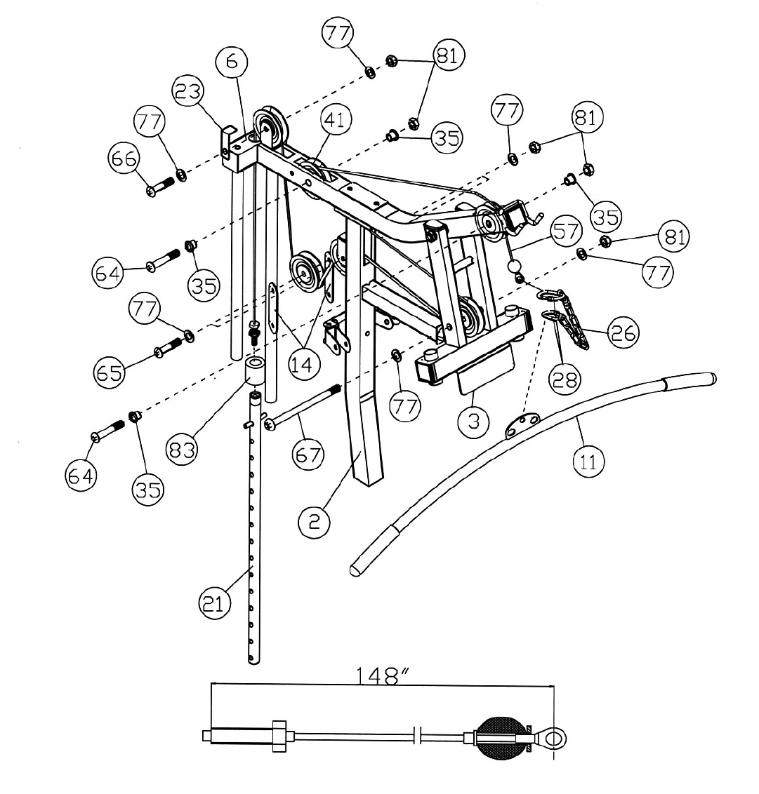
STEP 5 (See Diagram 5 & Cable Loop Diagram)
A.) Attach the 148” Upper Cable (#57) to the front opening on the Upper Frame (#6).
NOTE: The Ball Stopper on the Cable needs to be underneath the Frame.
B.) Attach a Pulley (#41) to the opening. Secure it with one M10 x 2 ½” Allen Bolt
(#64), two Ø 7/8” Pulley Bushings (#35), and one M10 Aircraft Nut (#81).
C.) Draw the Cable towards the back of the machine to another opening on the Upper
Frame. Repeat Step B above to install a Pulley.
D.) Draw the Cable around the Pulley then pull back to the opening on the Front Press
Base (#3). Attach a Pulley to the opening. Secure it with one M10 x 5 ¾” Allen Bolt
(#67), two Ø ¾” Washers (#77), and one M10 Aircraft Nut (#81).
E.) Draw the Cable around the Pulley then through the hole on the Vertical Frame (#2)
to the open bracket on the back of Vertical Frame.
F.) Attach a Pulley to the bracket. Secure it with one M10 x 1 ¾” Allen Bolt (#65), two
∅ ¾” Washers (#77), and one M10 Aircraft Nut (#81).
G.) Draw the Cable over the Pulley and pull the Cable downwards. Attach a Pulley to
the upper holes on the two Double Floating Pulley Brackets (#14). Repeat Step F
above to install another Pulley. Let the Bracket hanging for now.
H.) Draw the Cable around the Pulley then pull upwards to the open bracket on rear of
the Upper Frame. Attach a Pulley to the bracket. Secure it with one M10 x 2” Allen
Bolt (#66), one L-shaped Bracket (#23), two Ø ¾” Washers (#77), and one M10
Aircraft Nut (#81).
I.) Pull the Cable downwards between the two Guide Rods to the Selector Rod (#21).
Slide a Ø 1 ¾” Rubber Bumper (#83) onto the Selector Rod. Securely thread the
bolt on the end of the Cable into the Selector Rod.
J.) Attach a 10-Joint Chain (#26) to the Cable using a C-clip (#28). Attach the Lat Bar
(#11) to the Chain using a C-clip. Adjust the length of Chain to obtain the desired
Lat Bar exercise.
13

DIAGRAM 5
14

STEP 6 (See Diagram 6 & Cable Loop Diagram)
A.) Attach one end of the 108” Butterfly Cable (#58) to the hook on the Right Butterfly (#4). Draw
the Cable towards the right open Swivel Pulley Bracket (#17).
B.) Attach a Pulley (#41) to the bracket. Secure it with one M10 x 1 ¾” Allen Bolt (#65), two ∅ ¾”
Washers (#77), and one M10 Aircraft Nut (#81).
C.) Draw the Cable over the Pulley then pull downward. Attach the Cable to an Angled Double
Floating Pulley Bracket (#15). Install a Pulley as described in Step B. Let the Bracket hanging
for now.
D.) Draw the Cable around the Pulley and pull upward to the left open Swivel Pulley Bracket.
Install another Pulley as described in Step B above.
E.) Draw the Cable over the Pulley and attach the end to the open hook on the Left Butterfly (#5).
F.) Slide a Butterfly Foam Roll (#47) onto the Right Butterfly (#4). Attach a Front Press Handle
(#53) to the end of the tube and sure it with a M10 x 3 ½” Allen Bolt (#70). Repeat the same
procedure to install the other side.
15
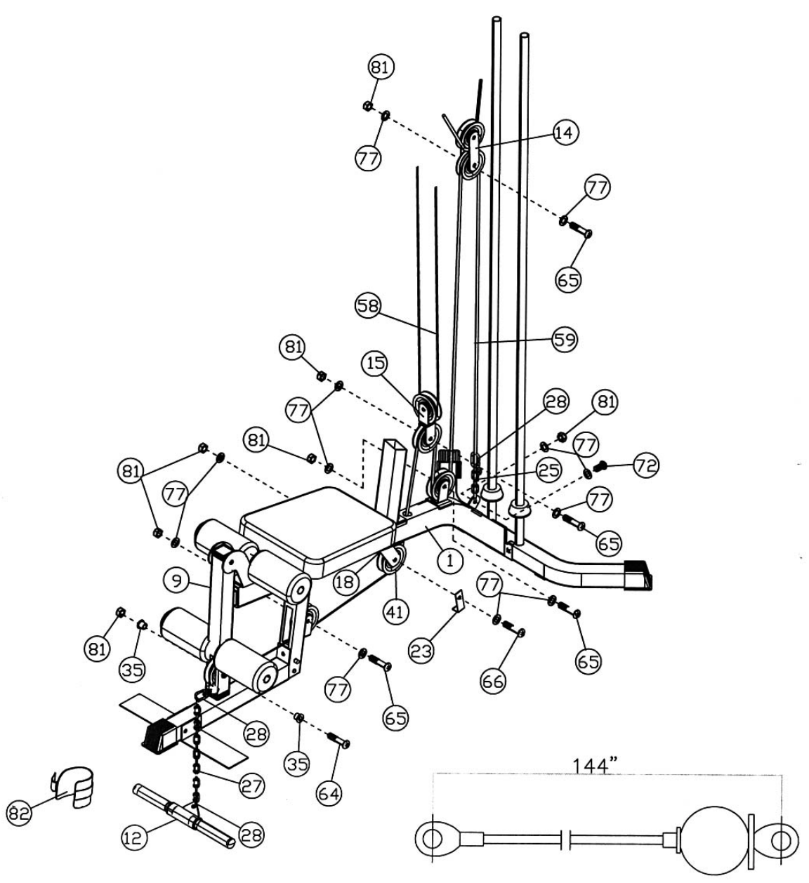
STEP 7 (See Diagram 7 & Cable Loop Diagram)
A.) Attach the 144” Lower Cable (#59) to the opening on the bottom of the Leg
Developer (#9).
B.) Attach a Pulley (#41) to the opening. Secure it with one M10 x 2 ½” Allen Bolt
(#64), two ∅ 7/8” Pulley Bushings (#35), and one M10 Aircraft Nut (#81).
C.) Draw the Cable underneath the Pulley towards the back of the machine through
the opening on the bottom of the Main Base Frame (#1) to an open bracket.
D.) Attach a Pulley to the bracket. Secure it with one M10 x 1 ¾” Allen Bolt (#65),
two Ø ¾” Washers (#77), and one M10 Aircraft Nut (#81).
E.) Draw the Cable underneath the Pulley towards the back of the machine to the
Pulley Bracket (#18) underneath the Main Base Frame.
F.) Attach a Pulley to the bracket. Secure it with one L-shaped Bracket (#23), one
M10 x 2” Allen Bolt (#66), two ∅ ¾” Washers (#77), and one M10 Aircraft Nut
(#81).
G.) Pull the Cable upward to the Angled Double Floating Pulley Brackets (#15)
previously installed in Step 6. Repeat Step D to install another Pulley.
H.) Draw the Cable around the Pulley then pull downward to the open bracket on the
Main Base Frame. Repeat Step D to install another Pulley.
I.) Draw the Cable around the Pulley then pull upward to the Double Floating Pulley
Bracket (#14) previously installed in Step-5. Repeat Step D to install a Pulley.
J.) Draw the Cable around the Pulley then pull downward to the bracket on the rear
of Main Base Frame. Attach the Cable to a 6-Joint Chain (#25) using a C-clip
(#28). Secure the other end of the Chain to the bracket with a M10 x 1” Allen
Bolt (#72), two ∅ ¾” Washers (#77) and one M10 Aircraft Nut (#81).
K.) Use the length of the Chain to adjust the tension of the Cable Loop System. If
the Cables are too loose, shorten the Chain.
L.) Attach the 15-Joint Chain (#27) to the end of the Cable by using a C-clip. Attach
the Arm Curl Handle (#12) to the Chain by using another C-clip. Replace Arm
Curl Handle with the Ankle Strap (#82) for various Leg exercises. Adjust the
length of Chain to obtain the desired exercise. Remove the Arm Curl Handle and
Ankle Strap when using the Leg Developer.
16

DIAGRAM 7
17
PARTS LIST
KEY NO. DESCRIPTION Q’ty
1 Main Base Frame 1 51 2” x 1” End Cap 4
2 Vertical Beam 1 52 Ø 1” End Cap 3
3 Front Press Base 1 53 Front Press Handle 2
4 Right Butterfly 1 54 Foam Roll End Cap 4
5 Left Butterfly 1 55 Seat 1
6 Upper Frame 1 56 Backrest Board 1
7 Guide Rod 2 57 148” Upper Cable 1
8 Rear Stabilizer 1 58 108” Butterfly Cable 1
9 Leg Developer 1 59 144” Lower Cable 1
10 Seat Support 1 60 Lock Ring 2
11 Lat Bar 1 61 M6 x 1 ¼” Allen Bolt 2
12 Arm Curl Handle 1 62 M10 x 2 ¾” Carriage Bolt 6
13 Arm Curl Tube 1 63 M10 x 3 ½” Carriage Bolt 2
14 Double Floating Pulley Bracket 2 64 M10 x 2 ½” Allen Bolt 6
15 Angled Double Floating Pulley Bracket 1 65 M10 x 1 ¾” Allen Bolt 9
16 Swivel Pulley Bracket Frame 1 66 M10 x 2” Allen Bolt 2
17 Swivel Pulley Bracket 2 67 M10 x 5 ¾” Allen Bolt 1
18 Pulley Bracket 1 68 M8 x 2 ½” Allen Bolt 2
19 Front Stabilizer 1 69 M8 x 1 5/8” Allen Bolt 2
20 4 3/8” x 2” Bracket 1 70 M10 x 3 ½” Allen Bolt 3
21 Selector Rod 1 71 M12 x 3 1/8” Allen Bolt 1
22 4 ¾” x 2” Bracket 1 72 M10 x 1” Allen Bolt 5
23 L-shaped Bracket 2 73 M6 Aircraft Nut 2
24 Axle 1 74 M10 x 3” Allen Bolt 1
25 6-Joint Chain 1 75 M6 x 5/8” Philips Screw 1
26 10-Joint Chain 1 76 Ø 1” Washer 2
27 15-Joint Chain 1 77 Ø ¾” Washer 47
28 C-clip 5 78 Ø 5/8” Washer 4
29 4” x 2” Bracket 1 79 Spacer 2
30 Foot Plate 2 80 M12 Aircraft Nut 1
31 L-shaped Pin 1 81 M10 Aircraft Nut 30
32 Lock Knob 1 82 Ankle Strap 1
33 Ø 1” x 5/8” Bushing 6 83 Ø 1 ¾” Rubber Bumper 1
34 Ø 1” x ½” Bushing 2 #5 Allen Wrench (Tool) 1
35 Ø 7/8” Pulley Bushing 6 #6 Allen Wrench (Tool) 1
36 Selector Stem 1 #8 Allen Wrench (Tool) 1
37 Weight Plate 14
38 Ø 1 1/8” Bushing 2
39 Ø 1 ½” Bushing 2
40 Foam Tube 2
41 Pulley 15
42 1 7/8” Rubber Bumper 1
43 Ø 2 ½” Round Rubber Bumper 2
44 ∅ 1 ½” Rubber Bumper 1
45 5 ½” Handle Grip 4
46 6” Lat Bar Handle Grip 2
47 Butterfly Foam Roll 2
48 Foam Roll 4
49 2” Square Stabilizer End Cap 3
50 2” Square End Cap (Impex Logo) 7
18

EVE900 WEIGHT RESISTANCE CHART
Weight Plate Front Press Butterfly Lat Pull Low Pulley
1 30 15 30 30
2 42 20 40 40
3 54 25 50 50
4 66 30 60 60
5 78 35 70 70
6 90 40 80 80
7 102 45 90 90
8 114 50 100 100
9 126 55 110 110
10 138 60 120 120
11 150 65 130 130
12 162 70 140 140
13 174 75 150 150
14 186 80 160 160
Note: Each plate weights 10 lbs.
Numbers are approximate. Actual weights may vary.
Values for Butterfly are for each arm.
19

IMPEX INC.
LIMITED WARRANTY
IMPEX Inc. ("IMPEX") warrants this product to be free from defects in workmanship and material, under
normal use and service conditions, for a period of two years on the Frame from the date of purchase. This
warranty extends only to the original purchaser. IMPEX's obligation under this Warranty is limited to
replacing or repairing, at IMPEX's option.
All returns must be pre-authorized by IMPEX. Pre-authorization may be obtained by calling IMPEX
Customer Service Department at 1-800-999-8899. All freights on products returned to IMPEX must be
prepaid by the customer. This warranty does not extend to any product or damage to a product caused by
or attributable to freight damage, abuse, misuse, improper or abnormal usage or repairs not provided by an
IMPEX authorized service center or for products used for commercial or rental purposes. No other warranty
beyond that specifically set forth above is authorized by IMPEX.
IMPEX is not responsible or liable for indirect, special or consequential damages arising out of or in
connection with the use or performance of the product or other damages with respect to any economic loss,
loss of property, loss of revenues or profits, loss of enjoyments or use, costs of removal, installation or other
consequential damages or whatsoever natures. Some states do not allow the exclusion or limitation of
incidental or consequential damages. Accordingly, the above limitation may not apply to you.
The warranty extended hereunder is in lieu of any and all other warranties and any implied warranties of
merchantability or fitness for a particular purpose is limited in its scope and duration to the terms set forth
herein. Some states do not allow limitations on how long an implied warranty lasts. Accordingly, the above
limitation may not apply to you.
This warranty gives you specific legal right. You may also have other rights which vary from state to state.
Register on-line at www.impex-fitness.com
IMPEX INC.
14777 Don Julian
City of Industry, CA 91746
ORDERING REPLACEMENT PARTS
Replacement parts can be ordered by calling our Customer Service Department toll-free at 1-800-999-8899
during our regular business hours: Monday through Friday, 9 am until 5 pm Pacific standard time.
info@impex-fitness.com
When ordering replacement parts, always give the following information.
1. Model
2. Description of Parts
3. Part Number
4. Date of Purchase
20