Impex Fitness Md 9010G Owner S Manual PARTS LIST
2014-07-06
: Impex-Fitness Impex-Fitness-Md-9010G-Owner-S-Manual impex-fitness-md-9010g-owner-s-manual impex-fitness pdf
Open the PDF directly: View PDF
.
Page Count: 33
- BEFORE YOU BEGIN..................................................................……………. 1
- IMPORTANT SAFETY NOTICES.................................................................… 2
- SMITH MACHINE HARDWARE PACK….......…............................................. 4
- SMITH MACHINE ASSEMBLY INSTRUCTIONS............................................ 6
- EXPLODED DIAGRAM……………………………………………………………. 21
- SMITH MACHINE PARTS LIST………..………………………………………… 22
- MULTI-PURPOSE BENCH ASSEMBLY INSTRUCTIONS............................ 24
- EXPLODED DIAGRAM…………………………………………………………… 29
- MULTI-PURPOSE BENCH PARTS LIST………………………………………… 30
- WARRANTY.................................................................................................… 32
- ORDERING PARTS.....................................................................................… 32
- SMITH MACHINE HARDWARE PACK
- SMITH MACHINE ASSEMBLY INSTRUCTION
- 12
- EXPLODED DIAGRAM
- PARTS LIST
- KEY NO. DESCRIPTION Q’ty
- MULTI-PURPOSE BENCH PARTS LIST
- KEY NO. DESCRIPTION Q’ty
- Station
- Example
- Left Cross-Over
- Right Cross-Over

NOTE:
Please read all instructions
carefully before using this
product
Table of Contents
Safety Notice
Hardware Identifier
Assembly Instruction
Parts List
Warranty
Ordering Parts
Model
MD-9010G
Retain This
Manual for
Reference
120925
OWNER'S
MANUAL
MARCY® DIAMOND ELITE
SMITH MACHINE
MD-9010G
IMPEX® INC.
2801 S. Towne Ave, Pomona, CA 91766
Tel: (800) 999-8899 Fax: (626) 961-9966
www.impex-fitness.com
info@impex-fitness.com

TABLE OF CONTENTS
BEFORE YOU BEGIN..................................................................……………. 1
IMPORTANT SAFETY NOTICES.................................................................… 2
SMITH MACHINE HARDWARE PACK….......…............................................. 4
SMITH MACHINE ASSEMBLY INSTRUCTIONS............................................ 6
EXPLODED DIAGRAM……………………………………………………………. 21
SMITH MACHINE PARTS LIST………..………………………………………… 22
MULTI-PURPOSE BENCH HARDWARE PACK……………………………….. 23
MULTI-PURPOSE BENCH ASSEMBLY INSTRUCTIONS............................ 24
EXPLODED DIAGRAM…………………………………………………………… 29
MULTI-PURPOSE BENCH PARTS LIST………………………………………… 30
WEIGHT RESISTANCE CHART…………………………………………………… 31
WARRANTY.................................................................................................… 32
ORDERING PARTS.....................................................................................…
32
BEFORE YOU BEGIN
Thank you for selecting the MARCY® DIAMOND ELITE MD-9010G by IMPEX®
INC. For your safety and benefit, read this manual carefully before using the
machine. As a manufacturer, we are committed to provide you complete
customer satisfaction. If you have any questions, or find there are missing or
damaged parts, we guarantee you complete satisfaction through direct
assistance from our factory. To avoid unnecessary delays, please call our
TOLL-FREE customer service number. Our Customer Service Agents will
provide immediate assistance to you.
Toll-Free Customer Service Number
1-800-999-8899
Mon. - Fri. 9 a.m. - 5 p.m. PST
www.impex-fitness.com
info@impex-fitness.com
1

IMPORTANT SAFETY NOTICE
PRECAUTIONS
This exercise machine is built for optimum safety. However, certain precautions apply
whenever you operate a piece of exercise equipment. Be sure to read the entire manual before
you assemble or operate your machine. In particular, note the following safety precautions:
1. Keep children and pets away from the machine at all times. DO NOT
leave children unattended in the same room with the machine.
2. Only one person at a time should use the machine.
3. If the user experiences dizziness, nausea, chest pain, or any other abnormal
symptoms, STOP the workout at once. CONSULT A PHYSICIAN IMMEDIATELY.
4. Position the machine on a clear, leveled surface. DO NOT use the machine
near water or outdoors.
5. Keep hands away from all moving parts.
6. Always wear appropriate workout clothing when exercising. DO NOT wear
robes or other clothing that could become caught in the machine. Running
or aerobic shoes are also required when using the machine.
7. Use the machine only for its intended use as described in this manual. DO
NOT use attachments not recommended by the manufacturer.
8. Do not place any sharp object around the machine.
9. Disabled person should not use the machine without a qualified person or
physician in attendance.
10. Before using the machine to exercise, always do stretching exercises to
properly warm up.
11. Never operate the machine if the machine is not functioning properly.
12. A spotter is recommended during exercise.
CARE AND MAINTENANCE
1. Lubricate moving parts with WD-40 or light oil periodically.
2. Inspect and tighten all parts before using the machine.
3. The machine can be cleaned using a damp cloth and mild non-abrasive detergent.
DO NOT use solvents.
4. Maximum user’s weight: 300 lbs.
5. Maximum weights on the rack: 600 lbs.
6. Maximum weights on Leg Developer: 100 lbs.
7. Maximum weights on Cross-over, Lat Pull: 200 lbs.
WARNING: BEFORE BEGINNING ANY EXERCISE PROGRAM, CONSULT YOUR
PHYSICIAN. THIS IS ESPECIALLY IMPORTANT FOR INDIVIDUALS OVER THE
AGE OF 35 OR PERSONS WITH PRE-EXISTING HEALTH PROBLEMS. READ ALL
INSTRUCTIONS BEFORE USING ANY FITNESS EQUIPMENT. IMPEX INC.
ASSUMES NO RESPONSIBILITY FOR PERSONAL INJURY OR PROPERTY
DAMAGE SUSTAINED BY OR THROUGH THE USE OF THIS PRODUCT.
SAVE THESE INSTRUCTIONS.
2
WARNING LABEL PLACEMENT

The warning labels shown here have been placed on the Rear Base, Rear Stabilizer, and Upper Frame.
If the labels are missing or illegible, please call customer service at 1-800-888-8899 for replacements.
Apply the labels in the location shown.
3
SMITH MACHINE HARDWARE PACK

4

SMITH MACHINE HARDWARE PACK
5

SMITH MACHINE ASSEMBLY INSTRUCTION
Tools Required Assembling the Machine: Two Adjustable Wrenches and Allen
Wrenches.
NOTE: It is strongly recommended two or more people assembling this machine to
avoid possible injury.
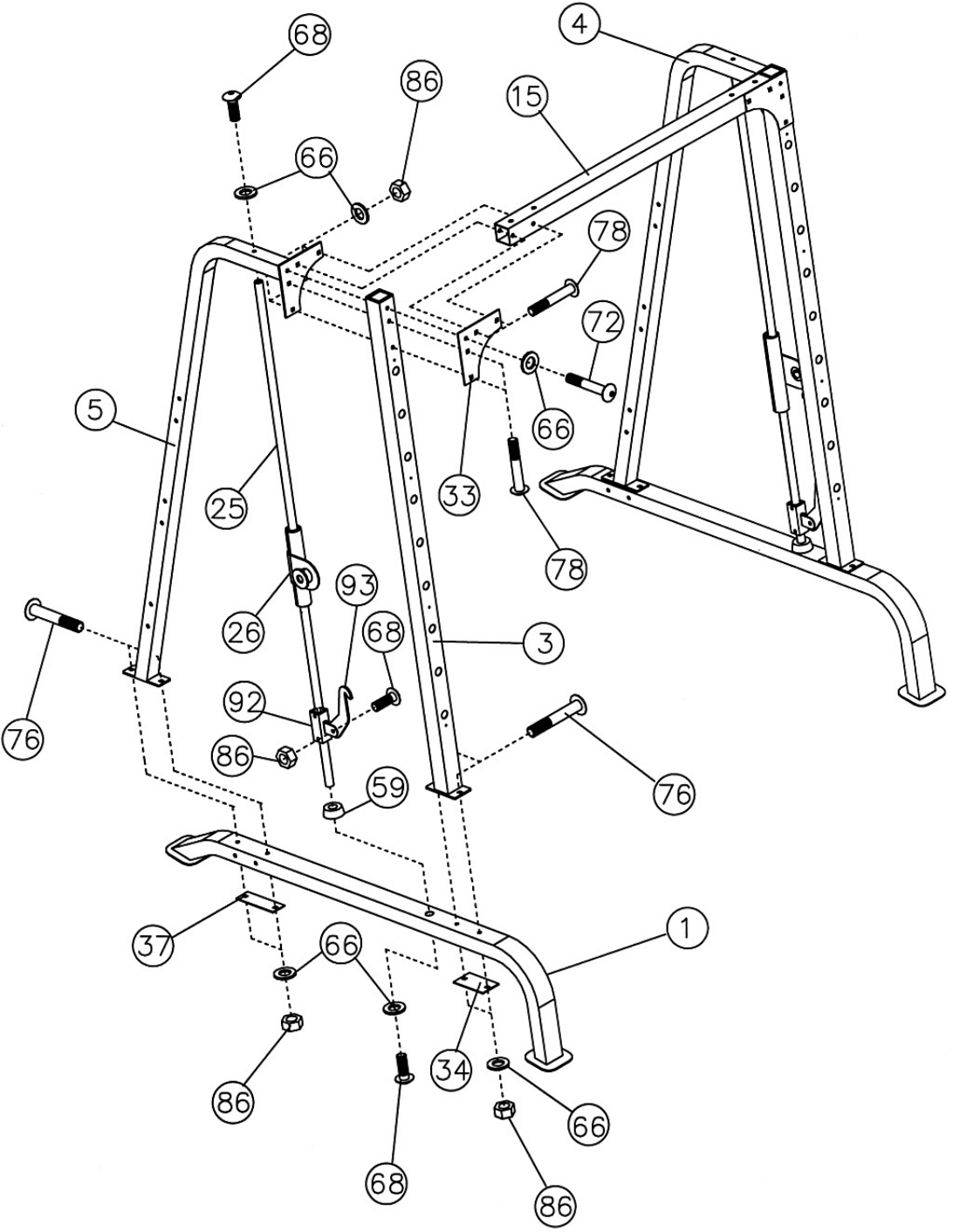
STEP 1 (See Diagram 1)
A.) Connect the two Base Frames (#1) by a Cross Brace (#2) in the mid-span. Secure each
end of The Cross Brace with two M10 x 3 ½” Carriage Bolts (#79), one 4 ¾” x 2” Bracket
(#36), two Ø ¾” Washers (#66), and two M10 Aircraft Nuts (#86).
B.) NOTE: DO NOT tighten the Nuts and Bolts yet. DIAGRAM 1
6
STEP 2 (See Diagram 2)
A.) Attach a Front Vertical Frame (#3) to the right Base Frame (#1). Secure it with two M10 x
3” Carriage Bolts (#76), one 5 1/8” x 2 ¾” Bracket (#34), two Ø ¾” Washers (#66), and two
M10 Aircraft Nuts (#86). Do not tighten the Nuts and Bolts yet.
B.) Align a Ø 2 ½” Rubber Bumper (#59) to the hole on the Base Frame. Insert a Guide Rod
(#25) through the Rubber Bumper and into the Base Frame. Secure it with one M10 x 1”
Allen Bolt (#68) and Ø ¾” Washer (#66).
C.) Slide a Lower Safety Stop Frame (#92) onto the Guide Rod (#25). Secure the Safety Hook
(#93) to the Lower Safety Stop Frame (#92) with a M10 x 1” Allen Bolt (#68) and M10
Aircraft Nut (#86). Attach the Hook onto the back of the Front Vertical Beam (#3).
D.) Slide a Safety Stop Frame (#26) onto the Guide Rod (#25).
E.) Attach the hole on top of the Right Vertical Frame (#5) to the top of the Guide Rod (#25).
Attach the top of Right Vertical Frame (#5) to the top of Front Vertical Frame (#3). Attach
the bottom of Right Vertical Frame (#5) to the Base Frame (#1).
F.) Secure the Guide Rod (#25) to the Right Vertical Frame (#5) with one M10 x 1” Allen Bolt
(#68) and Ø ¾” Washer (#66).
G.) Secure the Right Vertical Frame (#5) to the Base Frame with two M10 x 3” Carriage Bolts
(#76), one 6 ¼” x 2” Bracket (#37), two Ø ¾” Washers (#66), and two M10 Aircraft Nuts
(#86). Do not tighten the Nuts and Bolts yet.
H.) Secure the Right Vertical Frame (#5) to the Front Vertical Beam (#3) with one Triangle
Bracket (#33), M10 x 3 1/8” Allen Bolt (#72), and ¾” Washer (#66) to the top hole.
Secure the bottom two holes with two M10 x 3 3/8” Carriage Bolts (#78), ¾” Washers
(#66) and M10 Aircraft Nuts (#86).
I.) Repeat the above Procedures A through H to install the other side.
J.) Attach the Front Top Beam (#15) to the Front Vertical Beams (#3) and the Triangle
Brackets (#33). Align the Holes. Secure each end with two M10 x 3 3/8” Carriage Bolts
(#78), Ø ¾” Washers (#66), and M10 Aircraft Nuts (#86).
K.) Do NOT tighten all the Nuts and Bolts yet.
7

DIAGRAM 2
8

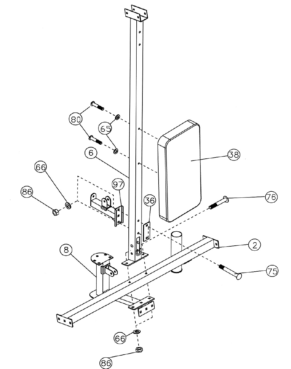
STEP 3 (See Diagram 3)
A.) Attach the Rear Vertical Beam (#6) to the top of the Cross Brace (#2). Attach the Weight
Glide Base (#8) to the Cross Brace from the Bottom. Align the holes. Secure them with
two M10 x 3” Carriage Bolts (#76), Ø ¾” Washers (#66), and M10 Aircraft Nuts (#86).
B.) Attach the Pulley Support Frame (#97) to the Rear Vertical Beam. Secure it with two M10
x 2 ¾” Carriage Bolts (#75), one 4 ¾” x 2” Bracket (#36), two Ø ¾” Washers (#66), and
two M10 Aircraft Nuts (#86).
C.) Attach the Backrest Board (#38) to the Rear Vertical Beam. Secure it with two M8 x 2 ½”
Allen Bolts (#80) and Ø 5/8” Washers (#65).
9

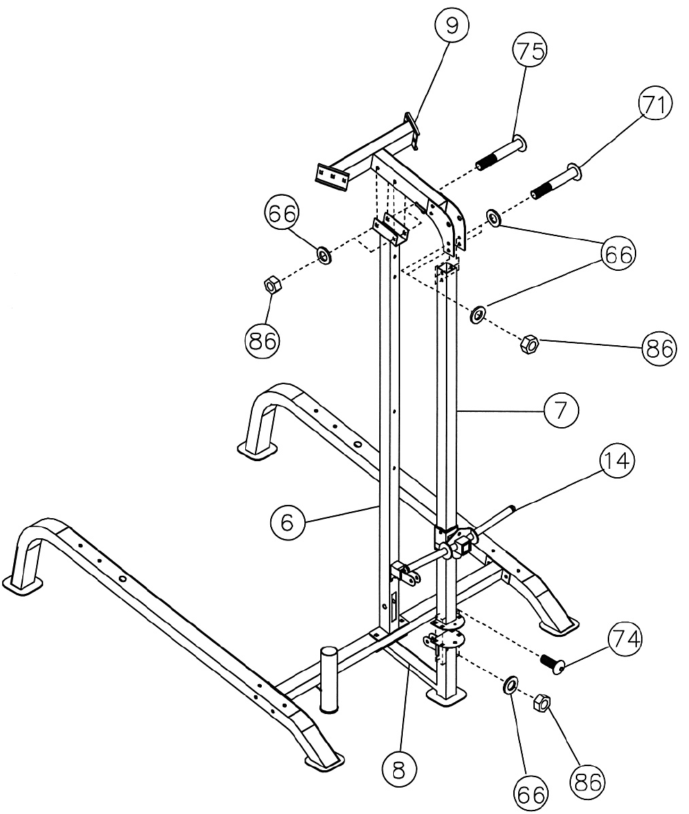
STEP 4 (See Diagram 4)
A.) Attach the Weight Glide Post (#7) onto the Weight Glide Base (#8). Secure it with four M10
x 1” Carriage Bolts (#74), Ø ¾” Washers (#66) and M10 Aircraft Nuts (#86).
B.) Slide the Sliding Weight Post (#14) onto the Chromed Post from the top. Place the Rear
Upper Frame (#9) onto the Weight Glide Post (#7) and Rear Vertical Beam (#6).
C.) Align the holes. Secure the Rear Upper Frame to the Weight Glide Post with two M10 x 3”
Allen Bolts (#71), four Ø ¾” Washers (#66), and two M10 Aircraft Nuts (#86). Do not tighten
the Nuts and Bolts yet.
D.) Secure the Upper Frame to the Rear Vertical Beam (#6) with two M10 x 2 ¾” Carriage
Bolts (#75), ¾” Washers (#66) and M10 Aircraft Nuts (#86).
10

STEP 5 (See Diagram 5)
A. Place the Left Upper Frame (#94) onto the Front Top Beam (#15). Secure it with two M10 x
3 1/8” Carriage Bolts (#77), one 5 1/8” x 2 3/8” Bracket (#35), two Ø ¾” Washers (#66), and
two M10 Aircraft Nuts (#86).
B. Secure the Left Upper Frame (#94) to the Rear Upper Frame with two M10 x 2 ¾” Carriage
Bolts (#75), one 4 ¾” x 2 ¾” Bracket (#101), two Ø ¾” Washers (#66), and M10 Aircraft
Nuts (#86).
C. Insert a Cross-Over Swivel Pulley Bracket (#99) into the sleeve on the Left Upper Frame.
Secure it with one Ø 7/8” x 5/8” Bushing and two M6 x ¼” Allen Screws (#106).
D. Repeat procedures A, B and C above to install the Right Upper Frame (#95). Place a Pulley
(#57) in the opening on the Rear Upper Frame (#9). Secure the Pulley, the rear of Left &
Right Upper Frames (#94 & 95), and the Rear Upper Frame (#9) all together with one M10 x
3 3/8” Allen Bolt (#73), two Ø ¾” Washers (#66), and one M10 Aircraft Nut (#86).
11

STEP 6 (See Diagram 6)
A.) Securely tighten all Nuts and Bolts previously installed.
B.) Attach the Butterfly Base (#12) to the front of Rear Vertical Beam (#6). Attach the Butterfly
Pulley Bracket (#13) to the back of the Rear Vertical Beam. Align the holes. Secure them
with two M10 x 2 ¾” Carriage Bolts (#75), Ø ¾” Washers (#66), and M10 Aircraft Nuts (#86).
C.) Attach the Right Butterfly (#11) to the hole on the Butterfly Base. Secure it with one Lock
Ring (#56), Ø 1 ½” Washer (#67), M6 x 1 ¼” Allen Bolt (#83), and M6 Aircraft Nut (#85).
D.) Attach the Butterfly Arm Pad (#39) to the Right Butterfly. Secure it with two M8 x 2 ½” Allen
Bolts (#80) and Ø 5/8” Washers (#65).
E.) Repeat Procedures C and D above to install the other side.
F.) Insert two Swivel Pulley Brackets (#20) into the holes on the Butterfly Pulley Bracket (#13).
Secure each Swivel Pulley Bracket with one Ø ¾” Washer (#66) and M10 Aircraft Nut (#86).
Do not over tighten the Nuts. Make sure the Brackets are able to swivel.
12

CABLE LOOP DIAGRAM
13

STEP 7 (See Diagram 7 & Cable Loop Diagram)
A.) Attach one end of 87” Butterfly Cable (#42) to the clip on Right Butterfly (#11). Draw the Cable to
the right Swivel Pulley Bracket (#20).
B.) Attach a Pulley (#57) to the Bracket. Secure it with one M10 x 1 ¾” Allen Bolt (#69), two Ø ¾”
Washers (#66), and one M10 Aircraft Nut (#86).
C.) Draw the Cable around the Pulley then downward. Attach a Single Floating Pulley Bracket (#19) to
the Cable. Repeat Procedure B above to install a Pulley. Let the Bracket hanging for now.
D.) Draw the Cable around the Pulley then upward to the left Swivel Pulley Bracket. Repeat
Procedure B above to install a Pulley to the Bracket.
E.) Draw the Cable around the Pulley then clip to the Left Butterfly (#10).
14
STEP 8 (See Diagram 8 & Cable Loop Diagram)
A.) Un-install the M10 x 1 1/8” Allen Bolt (#104) and M10 Aircraft Nut (#86) on the U-shaped
Connector on one end of the 229” Cable (41). Remove the U-shaped Connector, Big
Washer, and Ball Stopper from the Cable.
B.) Insert the end of Cable through the left Cross-over Swivel Pulley Bracket (#99). Attach a
Pulley (#57) to the Swivel Bracket and secure it with one M10 x 1 ¾” Allen Bolt (#69), two Ø
¾” Washers (#66), and one M10 Aircraft Nut (#86). Draw the Cable over the Pulley and pull
it towards the back of the machine.
C.) Draw the Cable along the Left Upper Frame (#94) to the opening on the rear of the Frame.
Drop the cable through the opening.
D.) Attach a Pulley to the opening. Secure it with one M10 x 2 ½” Allen Bolt (#70), two Pulley
Bushings (#62), and one M10 Aircraft Nut (#86). Draw the Cable around the Pulley then
downward.
E.) Attach two Small Pulleys (#103) to the Triple Floating Pulley Bracket (#96). Secure them to
the Bracket with one M10 x 2 ¾” Allen Bolt (#105), two Ø ¾” Washers (#66), and one M10
Aircraft Nut (#86).
F.) Draw the Cable around the front Small Pulley (closer to Butterfly) then upward to the bracket
underneath the Rear Upper Frame (#9). Install a Single Small Pulley Bracket (#98) to the
bottom of Rear Upper Frame (#9). Secure it with one M10 x 1” Allen Bolt (#68), two Ø ¾”
Washers (#66), and one M10 Aircraft Nut (#86). Install a Small Pulley to the Single Small
Pulley Bracket.
G.) Draw the Cable around the Small Pulley then downward to the Triple Floating Pulley
Bracket. Draw the Cable around the back Small Pulley (closer to Sliding Weight Post) then
upward to the opening on the rear of Right Upper Frame (#95). Let the Triple Floating Pulley
Bracket hanging for now.
H.) Install a Pulley to the opening. Draw the Cable over the Pulley along the top of the Right
Upper Frame through the cable sleeve to the right Cross-over Swivel Pulley Bracket. Install
a Pulley to the Bracket.
I.) Re-install the Ball Stopper, Big Washer and the U-shaped Connector previously removed in
Procedure A above. Secure it with the M10 x 1 1/8” Allen Bolt (#104) and M10 Aircraft Nut
(#86).
J.) Connect a Single Handle Strap (#90) to each end of the Cable with a C-clip (#61).
K.) When using the Lat Bar, remove one of the Strap and connect the Lat Bar to end of the
Cable with a Short Chain (#63) and two C-clips (#61).
15

16
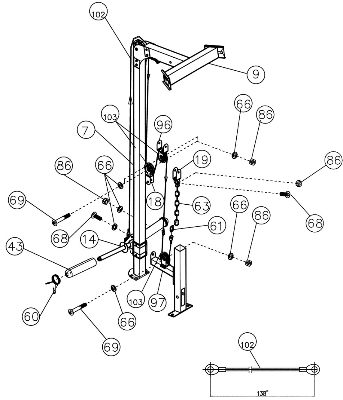
STEP 9 (See Diagram 9 & Cable Loop Diagram)
A.) Attach one end of the 138” Sliding Weight Post Cable (#102) to the open bracket on the
Sliding Weight Post (#14). Secure it with one M10 x 1” Allen Bolt (#68), two Ø ¾” Washers
(#66), and one M10 Aircraft Nut (#86).
B.) Draw the Cable upward to the Pulley on the top of the Rear Upper Frame (#9) previously
installed in Step-5.
C.) Draw the Cable around the Pulley then downward. Install a Small Pulley (#103) to a Double
Floating Pulley Bracket (#18).
D.) Draw the Cable around the Pulley then to the Triple Floating Pulley Bracket (#96) previously
installed in Step-8.
E.) Install a Small Pulley to the Bracket. Draw the Cable around the Small Pulley then
downward to the open bracket on the Pulley Support Frame (#97).
F.) Install a Small Pulley to the bracket. Draw the Cable around the Small Pulley then upward.
G.) Connect the Cable to a Short Chain (#63) with a C-clip (#61). Connect the Short Chain to
the Single Floating Pulley Bracket (#19) previously installed in Step-7. Secure the Chain
with one M10 x 1” Allen Bolt (#68), two Ø ¾” Washers (#66), and one M10 Aircraft Nut
(#86).
H.) After completing the entire cable installations, come back to this Short Chain to adjust the
tension of the Cable system by adjusting the length of the Chain.
I.) Install two Olympic Sleeves (#43) and Spring Clips (#60) onto the Sliding Weight Post (#14).
17

DIAGRAM 9
18

STEP 10 (See Diagram 10)
A.) Attach the 59” Lower Cable (#40) to a Pulley (#57). Attach the Pulley to the lower opening
on the Rear Vertical Beam (#6). Secure it with the Foot Plate (#16), one M10 x 3 3/8” Allen
Bolt (#73), two Ø ¾” Washers (#66), and one M10 Aircraft Nut (#86). Secure the Foot Plate
to the Cross Brace (#2) with two M10 x1” Allen Bolts (#68), four Ø ¾” Washers (#66) and
two M10 Aircraft Nuts (#86).
B.) Draw the Cable underneath the Pulley to the open bracket on the Weight Glide Base (#8).
C.) Install a Pulley to the bracket. Draw the Cable around the Pulley then upward to the Double
Floating Pulley Bracket (#18) previously installed in Step-9.
D.) Install a Small Pulley (#103) to the Bracket. Draw the Cable around the Pulley then
downward to the open bracket on the Pulley Support Frame (#97). Secure the end of the
Cable to the bracket with one M10 x 1” Allen Bolt (#68), two Ø ¾” Washers (#66) and one
M10 Aircraft Nut (#86).
E.) Connect the Shiver Bar (#30) to a Long Chain (#64) with a C-clip (#61). Connect the long
Chain to the Cable with another C-clip.

19
STEP 11 (See Diagram 11)
A.) NOTE: Help of another person is strongly recommended for this step. Place the Lifting
Sleeve (#27) in between the two Safety Stop Frames (#26). Align the holes. Insert the
Weight Bar (#28) into the Safety Stop Frame from one end and through the Lifting Sleeve
(#27) to the other Safety Stop Frame on the opposite side. Secure the Weight Bar to each
Safety Stop Frame with a M8 x 3/8” Allen Bolt (#81).
B.) Turn the safety catch hook forward on the Lifting Sleeve to secure its position on the
selected holes on the Front Vertical Frames (#3). Attach a Long Olympic Sleeve (#44) to
each end of the Weight Bar. Attach a Spring Clip (#60) to the Sleeve.
C.) Attach six Weight Posts (#17) to the Left & Right Vertical Frames (#4&5). Secure each
Weight Post with two M10 x 2 ¾” Carriage Bolts (#75), one 4 ¾” x 2” Bracket (#36), two Ø
¾” Washers (#66), and two M10 Aircraft Nuts (#86).
D.) Attach six Olympic Sleeves (#43) to the Weight Posts. Attach Spring Clips (#60) to the
sleeves. Insert the Left & Right Bar Holders (#21 & 22), the Left & Right Safety Catches
(#23 & 24) into the selected holes on the Front Vertical Frames (#3).

20
EXPLODED DIAGRAM
21
PARTS LIST
KEY NO. DESCRIPTION Q’ty
1 Base Frame 2 55 Sliding Sleeve 4
2 Cross Brace 1 56 Lock Ring 2
3 Front Vertical Beam 2 57 Pulley 10
4 Left Vertical Frame 1 58 Ø 1 ¾” Rubber Bumper 1
5 Right Vertical Frame 1 59 Ø 2 ½” Rubber Bumper 2
6 Rear Vertical Beam 1 60 Spring Clip 10
7 Weight Glide Post 1 61 C-clip 5
8 Weight Glide Base 1 62 Pulley Bushing 6
9 Rear Upper Frame 1 63 Short Chain 2
10 Left Butterfly 1 64 Long Chain 1
11 Right Butterfly 1 65 Ø 5/8” Washer 6
12 Butterfly Base 1 66 Ø ¾” Washer 100
13 Butterfly Pulley Bracket 1 67 Ø 1 ½” Washer 2
14 Sliding Weight Post 1 68 M10 x 1” Allen Bolt 12
15 Front Top Beam 1 69 M10 x 1 ¾” Allen Bolt 11
16 Foot Plate 1 70 M10 x 2 ½” Allen Bolt 2
17 Weight Post 6 71 M10 x 3” Allen Bolt 2
18 Double Floating Pulley Bracket 1 72 M10 x 3 1/8” Allen Bolt 2
19 Single Floating Pulley Bracket 1 73 M10 x 3 3/8” Allen Bolt 2
20 Swivel Pulley Bracket 2 74 M10 x 1” Carriage Bolt 4
21 Left Bar Holder 1 75 M10 x 2 ¾” Carriage Bolt 22
22 Right Bar Holder 1 76 M10 x 3” Carriage Bolt 10
23 Left Safety Catch 1 77 M10 x 3 1/8” Carriage Bolt 4
24 Right Safety Catch 1 78 M10 x 3 3/8” Carriage Bolt 8
25 Guide Rod 2 79 M10 x 3 ½” Carriage Bolt 4
26 Safety Stop Frame 2 80 M8 x 2 ½” Allen Bolt 6
27 Lifting Sleeve 1 81 M8 x 3/8” Allen Bolt 8
28 Weight Bar 1 82 M6 x 5/8” Philips Screw 1
29 Lat Bar 1 83 M6 x 1 ¼” Allen Bolt 2
30 Shiver Bar 1 84 Chrome Panel Screw 8
31 Curl Handle 1 85 M6 Aircraft Nut 2
32 Chrome Panel 2 86 M10 Aircraft Nut 82
33 Triangle Bracket 2 87 Ø 1” End Cap 6
34 5 1/8” x 2 ¾” Bracket 2 88 V Bar 1
35 5 1/8” x 2 3/8” Bracket 2 89 Ankle Strap 1
36 4 ¾” x 2” Bracket 9 90 Single Handle Strap 2
37 6 ¼” x 2” Bracket 2 91 Triceps Rope 1
38 Backrest Board 1 92 Lower Safety Stop Frame 2
39 Butterfly Arm Pad 2 93 Safety Hook 2
40 59” Lower Cable 1 94 Left Upper Frame 1
41 229” Upper Cable 1 95 Right Upper Frame 1
42 87” Butterfly Cable 1 96 Triple Floating Pulley Bracket 1
43 Olympic Sleeve 8 97 Pulley Support Frame 1
44 Long Olympic Sleeve 2 98 Single Small Pulley Bracket 1
45 Curl Bar Handle Grip 2 99 Cross-Over Swivel Pulley Bracket 2
46 Lat Bar Grip 2 100 Ø 7/8” x Ø 5/8” Bushing 2
47 Ø 1” x 3 1/8” Bushing 2 101 4 ¾” x 2 ¾” Bracket 2
48 Ø 1 ½” x 1” Bushing 2 102 138” Sliding Weight Post Cable 1
49 1 ½” Square End Cap 2 103 Small Pulley 7
50 1 ¾” Square End Cap 7 104 M10 x 1 1/8” Allen Bolt 2
51 2 3/8” Square End Cap 2 105 M10 x 2 ¾” Allen Bolt 1
52 2 ¾” x 2” End Cap 2 106 M6 x ¼” Allen Screw 4
53 Ø 1” Cone-shaped End Cap 12 107 Linear Bearing 4
54 2 3/8” x 2” Sleeve 2
22

MULTI-PURPOSE BENCH HARDWARE PACK
23

MULTI-PURPOSE BENCH ASSEMBLY INSTRUCTION
Tools Required Assembling the Machine: Two Adjustable Wrenches and Allen Wrenches.
NOTE: It is strongly recommended this machine be assembled by two or more people to
avoid possible injury.
STEP 1 (See Diagram 1)
A.) Attach the Main Frame (#1) to the Front & Rear Stabilizers (#2 & 3). Secure each end with
two M10 x ¾” Allen Bolts (#36) and ¾” Washers (#42). Attach a Lock Knob (#23) to the
hole underneath the Main Frame.
B.) Slide the Sliding Block (#8) onto the Incline Adjustment Bar (#9). Align the hole then secure
it with a Lock Knob (#23) to hold the Sliding Block in position.
C.) Attach the Incline Adjustment Bar to the brackets on the Main Frame. Secure each end with
one M10 x 2 ½” Carriage Bolt (#35), ¾” Washer (#42), and M10 Aircraft Nut (#44).
DIAGRAM 1
24

STEP 2 (See Diagram 2)
A.) Attach four Bushings (#27) to a Seat Support Frame (#6).
B.) Attach a Backrest Support (#7) to the rear of the Seat Support Frame (#6). Align the holes and
secure them with one M10 x 1 ¾” Allen Bolt (#37) and ¾” Washer (#42). Repeat the same
procedure to install the other side.
C.) Attach two Bushings to the pivot on the Sliding Block (#8). Attach two Bushings to each Backrest
Supports (#7). Align the holes and secure them with one M10 x 6 ¾” Allen Bolt (#38), two ¾”
Washers (#42), and one M10 Aircraft Nut (#44). Do not over tighten the nut and bolt. The Supports
need to swivel on the Bolt.
D.) Attach two Bushings to the pivot on the Main Frame (#1). Loosen and pull the Lock Knob on the
Sliding Block (#8). The Sliding Block needs to be able to slide on the Chromed Incline Adjustment
Bar (#9). Align the two Seat Support Frames (#6) to both ends of the pivot on Main Frame. Secure
them with one M10 x 8 ¼” Allen Bolt (#39), two ¾” Washers (#42), and one M10 Aircraft Nut
(#44). Use the Lock Knob on the Sliding Block (#8) to adjust and secure the backrest incline
position.
25

STEP 3 (See Diagram 3)
A.) Place the Backrest Board (#14) onto the Backrest Supports (#7). Secure it with four
M8 x 2” Allen Bolts (#40) and 5/8” Washers (#43).
B.) Place the Seat Pad (#13) onto the Seat Support Frames (#6). Secure it with four M8 x
2” Allen Bolts (#40) and 5/8” Washers (#43). DIAGRAM 3
26

STEP 4 (See Diagram 4)
A.) Attach the Leg Developer (#5) to the open bracket on the Main Frame (#1). Secure it with an
Axle (#17), two M10 x ¾” Allen Bolts (#36), and two ¾” Washers (#42).
B.) Insert one Foam Tube (#10) halfway through the hole on the Main Frame. Insert two Foam
Tubes halfway through the holes on the Leg Developer (#5). Push six Foam Rolls (#24) onto
the Tubes from both ends. Plug six Foam Roll End Caps (#25) into the Tubes.
C.) Slide the Olympic Sleeve (#20) onto the weight post on the Leg Developer. Attach a Spring
Clip (#22) to the Sleeve.
DIAGRAM 4
27

STEP 5 (See Diagram 5)
A.) Attach the Arm Curl Pad (#15) to the Arm Curl Stand (#4). Secure it with two M8 x 5/8” Allen
Bolts (#41) and two 5/8” Washers (#43). Insert the Arm Curl Stand into the front opening
on the Main Frame (#1). Use the Lock Knob to hold the desired Arm Curl height.
B.) Attach the Arm Curl Handle (#11) to the open bracket on the Leg Developer (#5). Lock it with
a Lock Pin (#21).
C.) Remove the Pin and Arm Curl Handle when using the Leg Developer to exercise.
DIAGRAM 5
28

29
MULTI-PURPOSE BENCH PARTS LIST
KEY NO. DESCRIPTION Q’ty
1 Main Frame 1
2 Front Stabilizer 1
3 Rear Stabilizer 1
4 Arm Curl Stand 1
5 Leg Developer 1
6 Seat Support Frame 2
7 Backrest Support 2
8 Sliding Block 1
9 Incline Adjustment Bar 1
10 Foam Tube 3
11 Arm Curl Handle 1
12 Manual 1
13 Seat Pad 1
14 Backrest Board 1
15 Arm Curl Pad 1
16 Curl Bar Handle Grip 2
17 Axle 1
18 Ø 2 3/8” Bushing 2
19 Tool 2
20 Olympic Sleeve 1
21 Lock Pin 1
22 Spring Clip 1
23 Lock Knob 2
24 Foam Roll 6
25 Foam Roll End Cap 6
26 Ø 1” x ¾” Bushing 2
27 Bushing 16
28 3 1/8” x 1 5/8” End Cap 1
29 Ø 1” Cone-shaped End Cap 1
30 Ø 1” End Cap 1
31 1 5/8” x 2 3/8” End Cap 2
32 1 5/8” x ¾” End Cap 12
33 2” Sliding Block Sleeve 3
34 Stabilizer End Cap 4
35 M10 x 2 ½” Carriage Bolt 2
36 M10 x ¾” Allen Bolt 6
37 M10 x 1 ¾” Allen Bolt 2
38 M10 x 6 ¾” Allen Bolt 1
39 M10 x 8 ¼” Allen Bolt 1
40 M8 x 2” Allen Bolt 8
41 M8 x 5/8” Allen Bolt 2
42 Ø ¾” Washer 14
43 Ø 5/8” Washer 10
44 M10 Aircraft Nut 4
30

MD-9010G WEIGHT RESISTANCE CHART
Station Ratio Example
Low Pulley 200% 10 lb. plate creates 20 lb. resistance
Lat Pull 100% 10 lb. plate creates 5 lb. resistance
Butterfly (both arms) 100% 10 lb. plate creates 10 lb. resistance
Left Cross-Over 50% 10 lb. plate creates 5 lb resistance
Right Cross-Over 50% 10 lb. plate creates 5 lb resistance
*Numbers are approximate. Actual resistance may vary.
31

IMPEX® INC.
LIMITED WARRANTY
IMPEX Inc. ("IMPEX®") warrants this product to be free from defects in workmanship and material, under normal
use and service conditions, for a period of two years on the Frame from the date of purchase. This warranty
extends only to the original purchaser. IMPEX's obligation under this Warranty is limited to replacing or
repairing, at IMPEX's option.
All returns must be pre-authorized by IMPEX. Pre-authorization may be obtained by calling IMPEX Customer
Service Department at 1-800-999-8899. All freights on products returned to IMPEX must be prepaid by the
customer. This warranty does not extend to any product or damage to a product caused by or attributable to
freight damage, abuse, misuse, improper or abnormal usage or repairs not provided by an IMPEX authorized
service center or for products used for commercial or rental purposes. No other warranty beyond that
specifically set forth above is authorized by IMPEX.
IMPEX is not responsible or liable for indirect, special or consequential damages arising out of or in connection
with the use or performance of the product or other damages with respect to any economic loss, loss of property,
loss of revenues or profits, loss of enjoyments or use, costs of removal, installation or other consequential
damages or whatsoever natures. Some states do not allow the exclusion or limitation of incidental or
consequential damages. Accordingly, the above limitation may not apply to you.
The warranty extended hereunder is in lieu of any and all other warranties and any implied warranties of
merchantability or fitness for a particular purpose is limited in its scope and duration to the terms set forth herein.
Some states do not allow limitations on how long an implied warranty lasts. Accordingly, the above limitation
may not apply to you.
This warranty gives you specific legal right. You may also have other rights which vary from state to state.
Register on-line at www.impex-fitness.com
IMPEX® INC.
2801 S. Towne Ave.
Pomona, CA 91766
ORDERING REPLACEMENT PARTS
Replacement parts can be ordered by calling our Customer Service Department toll-free at 1-800-999-8899
during our regular business hours: Monday through Friday, 9 am until 5 pm Pacific standard time.
info@impex-fitness.com
When ordering replacement parts, always give the following information.
1. Model
2. Description of Parts
3. Part Number
4. Date of Purchase
32