Impex Fitness Sm 1000 Owners Manual PARTS LIST
Impex-Fitness-Sm-1000-Owner-S-Manual impex-fitness-sm-1000-owner-s-manual
2015-06-15
: Impex-Fitness Impex-Fitness-Sm-1000-Owners-Manual-746679 impex-fitness-sm-1000-owners-manual-746679 impex-fitness pdf
Open the PDF directly: View PDF
.
Page Count: 22
- BEFORE YOU BEGIN...................................................................................... 1
- IMPORTANT SAFETY NOTICES..................................................................... 2
- SMITH MACHINE HARDWARE PACK……….....….......................................... 4
- SMITH MACHINE ASSEMBLY INSTRUCTIONS...............................................6
- SMITH MACHINE EXPLODED DIAGRAM........................................................10
- SMITH MACHINE PARTS LIST…………………………………………………… 11
- BENCH HARDWARE PACK……….....…..................................................…….12
- BENCH ASSEMBLY INSTRUCTIONS......................................................…….14
- BENCH EXPLODED DIAGRAM...............................................................……. 19
- BENCH PARTS LIST……………………………………………………………….. 20
- WARRANTY.................................................................................................… 21
- ORDERING PARTS......................................................................................... 21
- CAGE MACHINE HARDWARE PACK
- SMITH MACHINE ASSEMBLY INSTRUCTION
- Note: Do not tighten the Nuts and Bolts until instructed to do so.
- Attach the Left Rear Support (#5) onto a Base Frame (#3). Secure it with two M10 x 3 ½” Allen Bolts (#32), four Ø ¾” Washers (#37), and two M10 Aircraft Nuts (#38). Repeat the same step to install the Right Rear Support (#6) onto the other Base Frame.
- Connect the Left and Right Rear Support by the Cross Brace (#7). Secure each end of the Cross Brace to each Rear Support with four M10 x 2 3/8” Carriage Bolts (#27), one 5 7/8” x 3 1/8” Bracket (#16), four Ø ¾” Washers (#37), and four M10 Aircraft Nuts (
- STEP 3 (See Diagram 3)
- SMITH MACHINE PART LIST
- KEY NO. DESCRIPTION Q’ty
- BENCH PARTS LIST
- KEY NO. DESCRIPTION Q’ty

NOTE:
Please read all instructions
carefully before using this
product
Table of Contents
Safety Notice
Hardware Identifier
Assembly Instruction
Parts List
Warranty
Ordering Parts
Model
SM-1000
Retain This
Manual for
Reference
08-03-09
OWNER'S
MANUAL
MARCY
SMITH MACHINE
SM-1000
IMPEX® INC.
14777 DON JULIAN RD., CITY OF INDUSTRY, CA 91746
Tel: (800) 999-8899 Fax: (626) 961-9966
www.impex-fitness.com
info@impex-fitness.com

TABLE OF CONTENTS
BEFORE YOU BEGIN...................................................................................... 1
IMPORTANT SAFETY NOTICES..................................................................... 2
SMITH MACHINE HARDWARE PACK……….....….......................................... 4
SMITH MACHINE ASSEMBLY INSTRUCTIONS...............................................6
SMITH MACHINE EXPLODED DIAGRAM........................................................10
SMITH MACHINE PARTS LIST…………………………………………………… 11
BENCH HARDWARE PACK……….....…..................................................…….12
BENCH ASSEMBLY INSTRUCTIONS......................................................…….14
BENCH EXPLODED DIAGRAM...............................................................……. 19
BENCH PARTS LIST……………………………………………………………….. 20
WARRANTY.................................................................................................… 21
ORDERING PARTS......................................................................................... 21
BEFORE YOU BEGIN
Thank you for selecting the MARCY SMITH MACHINE SM-1000 by
IMPEX® INC. For your safety and benefit, read this manual carefully
before using the machine. As a manufacturer, we are committed to
provide you complete customer satisfaction. If you have any questions, or
find there are missing or damaged parts, we guarantee you complete
satisfaction through direct assistance from our factory. To avoid
unnecessary delays, please call our TOLL-FREE customer service
number. Our Customer Service Agents will provide immediate assistance
to you.
1
Toll-Free Customer Service Number
1-800-999-8899
Mon. - Fri. 9 a.m. - 5 p.m. PST
www.impex-fitness.com
info@impex-fitness.com

IMPORTANT SAFETY NOTICE
PRECAUTIONS
This exercise machine is built for optimum safety. However, certain precautions apply
whenever you operate a piece of exercise equipment. Be sure to read the entire manual
before you assemble or operate your machine. In particular, note the following safety
precautions:
1. Keep children and pets away from the machine at all times. DO NOT
leave children unattended in the same room with the machine.
2. Only one person at a time should use the machine.
3. If the user experiences dizziness, nausea, chest pain, or any other abnormal
symptoms, STOP the workout at once. CONSULT A PHYSICIAN IMMEDIATELY.
4. Position the machine on a clear, leveled surface. DO NOT use the machine
near water or outdoors.
5. Keep hands away from all moving parts.
6. Always wear appropriate workout clothing when exercising. DO NOT wear
robes or other clothing that could become caught in the machine. Running
or aerobic shoes are also required when using the machine.
7. Use the machine only for its intended use as described in this manual. DO
NOT use attachments not recommended by the manufacturer.
8. Do not place any sharp object around the machine.
9. Disabled person should not use the machine without a qualified person or
physician in attendance.
10. Before using the machine to exercise, always do stretching exercises to
properly warm up.
11. Never operate the machine if the machine is not functioning properly.
12. A spotter is recommended during exercise.
CARE AND MAINTENANCE
1. Lubricate moving parts and Guide Rods with WD-40 or light oil periodically.
2. Inspect and tighten all parts before using the machine.
3. The machine can be cleaned using a damp cloth and mild non-abrasive detergent.
DO NOT use solvents.
4. Maximum user’s weight: 300 lbs.
5. Maximum weight on Leg Developer: 100 lbs.
6. Maximum weight on Weight Bar: 300lbs.
7. Maximum weight Capacity: 600 lbs.
WARNING: BEFORE BEGINNING ANY EXERCISE PROGRAM, CONSULT
YOUR PHYSICIAN. THIS IS ESPECIALLY IMPORTANT FOR INDIVIDUALS
OVER THE AGE OF 35 OR PERSONS WITH PRE-EXISTING HEALTH
PROBLEMS. READ ALL INSTRUCTIONS BEFORE USING ANY FITNESS
EQUIPMENT. IMPEX INC. ASSUMES NO RESPONSIBILITY FOR PERSONAL
INJURY OR PROPERTY DAMAGE SUSTAINED BY OR THROUGH THE USE OF
THIS PRODUCT.
SAVE THESE INSTRUCTIONS. 2

WARNING LABEL PLACEMENT
The warning label shown here has been placed on the back of Rear Support. If the label is missing or
illegible, please call customer service at 1-800-888-8899 for replacements. Apply the label in the location
shown.
3

SMITH MACHINE HARDWARE PACK
NOTE: The following parts are not drawn to scale. Please use your own ruler to measure the size.
4

CAGE MACHINE HARDWARE PACK
NOTE: The following parts are not drawn to scale. Please use your own ruler to measure the size.
5
SMITH MACHINE ASSEMBLY INSTRUCTION
Tools Required for Assembling the Machine: Two Adjustable Wrenches and Allen
Wrenches.

NOTE: It is strongly recommended that two or more people assemble this machine
to avoid possible injury.
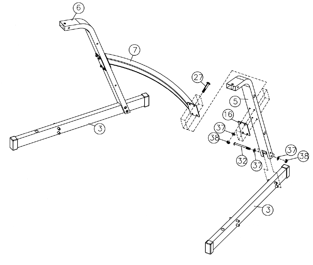
STEP 1 (See Diagram 1)
A.) Note: Do not tighten the Nuts and Bolts until instructed to do so.
B.) Attach the Left Rear Support (#5) onto a Base Frame (#3). Secure it with two M10 x 3
½” Allen Bolts (#32), four Ø ¾” Washers (#37), and two M10 Aircraft Nuts (#38).
Repeat the same step to install the Right Rear Support (#6) onto the other Base
Frame.
C.) Connect the Left and Right Rear Support by the Cross Brace (#7). Secure each end of
the Cross Brace to each Rear Support with four M10 x 2 3/8” Carriage Bolts (#27), one
5 7/8” x 3 1/8” Bracket (#16), four Ø ¾” Washers (#37), and four M10 Aircraft Nuts
(#38). DIAGRAM 1
6
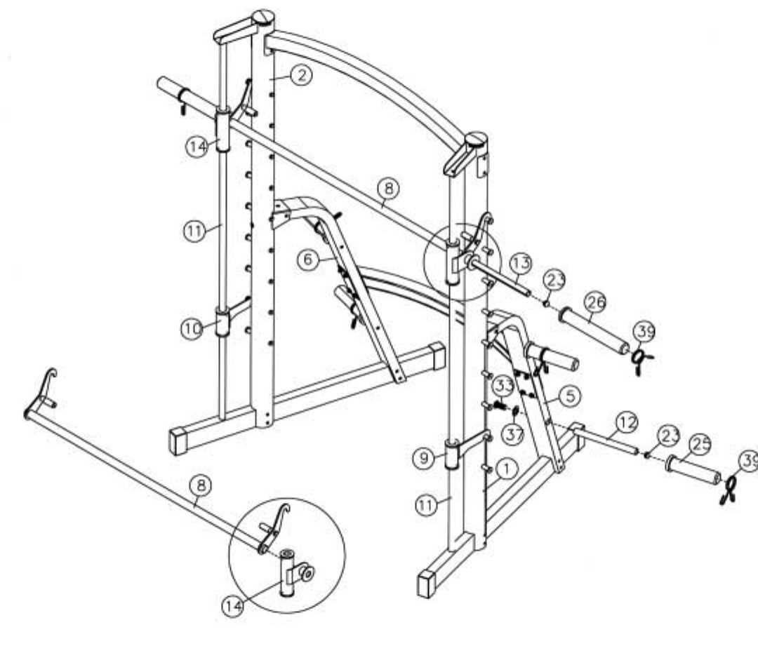
STEP 2 (See Diagram 2)
A.) Do not tighten Nuts and Bolts until instructed to do so.
B.) Attach the Left Upright Beam (#1) to the Left Rear Support (#5) and the left Base
Frame (#3).
C.) Secure it to the Base Frame with two M10 x 4” Allen Bolts (#31), four Ø ¾”
Washers (#37), and two M10 Aircraft Nuts (#38).
D.) Secure it to the Left Rear Support with one M10 x 4” Carriage Bolt (#28), one Ø
¾” Washer (#37), and one M10 Aircraft Nut (#38) from the side. Secure with one
M10 x 5/8” Allen Bolt (#34) and one Ø ¾” Washer (#37) from the top.
E.) Repeat A to D to install the Right Upright Beam (#2).
F.) Attach the Top Beam (#4) to the Left & Right Upright Beam. Secure each end of
the Top Beam to each Upright Beam with one 4” x 2 3/8” Curved Bracket (#15),
one M10 x 4 1/8” Allen Bolt (#30) and one Ø ¾” Washer (#37) to the upper hole,
one M10 x 4 1/8” Carriage Bolt (#29), one Ø ¾” Washers (#37), and one M10
Aircraft Nut (#38) to the lower hole.
G.) Slide Lower Left Safety Stop Frame (#9) onto a Guide Rod (#11). Slide one
Safety Stop Frame (#14) onto the Guide Rod. Insert the bottom of the Guide Rod
into the hole on the left Base Frame. Attach the top of the Guide Rod to the
bracket on Left Upright Beam. Secure each end of Guide Rod with one M10 x ¾”
(#33) and one Ø ¾” Washer (#37). Repeat the same step to install the Lower
Right Safety Stop Frame (#10), the other Safety Stop Frame, and the other Guide
Rod to the other side.
H.) Turn and attach the hooks on the Lower Left & Right Safety Stop Frame to the
selected slot on Left & Right Upright Beam (#1 & #2).
I.) Securely tighten all Nuts and Bolts installed in Step-1 and Step-2.
7
DIAGRAM 2

8
STEP 3 (See Diagram 3)
A.) Place the Lifting Sleeve (#8) in between the two Safety Stop Frames (#14). Align the

holes; insert the Weight Bar (#13) from outside of one Safety Stop Frame through the
Lifting Sleeve to the other Safety Stop Frame on the other side.
B.) Turn and attach the two safety catch hooks on the Lifting Sleeve (#8) to the selected pegs
on the Left and Right Upright Beams (#1 & #2).
C.) Attach two Weight Bar Sleeves (#26) onto the Weight Bar from both ends. Attach two
Spring Clips (#39) to the Sleeves.
D.) Attach four Weight Posts (#12) into the holes on Left & Right Rear Support (#5 & #6).
Secure each Weight Post to the Support with one M10 x ¾” Allen Bolt (#33) and one Ø ¾”
Washer (#77). Slide four Olympic Sleeves (#25) to the four Weight Posts. Attach four
Spring Clips to the Sleeves.
DIAGRAM 3
9

10
SMITH MACHINE PART LIST
KEY NO. DESCRIPTION Q’ty
1 Left Upright Beam 1
2 Right Upright Beam 1
3 Base Frame 2
4 Top Beam 1
5 Left Rear Support 1
6 Right Rear Support 1
7 Cross Brace 1
8 Lifting Sleeve 1
9 Lower Left Safety Stop Frame 1
10 Lower Right Safety Stop Frame 1
11 Guide Rod 2
12 Weight Post 4
13 Weight Bar 1
14 Safety Stop Frame 2
15 4” x 2 3/8” Curved Bracket 2
16 5 7/8” x 3 1/8” Bracket 2
17 Ø 3 ½” Upright Beam End Cap 2
18 1 5/8” x 3 1/8” End Cap 4
19 Ø ¾” x 2” Cover 2
20 Ø 7/8” x ¾” End Cap 18
21 Ø 5/8” End Cap 18
22 Ø ¾” End Cap 2
23 Ø 1” End Cap 6
24 Ø Sliding Sleeve 8
25 Olympic Sleeve 4
26 Weight Bar Sleeve 2
27 M10 x 2 3/8” Carriage Bolt 8
28 M10 x 4” Carriage Bolt 2
29 M10 x 4 1/8” Carriage Bolt 2
30 M10 x 4 1/8” Allen Bolt 2
31 M10 x 4” Allen Bolt 4
32 M10 x 3 ½” Allen Bolt 4
33 M10 x ¾” Allen Bolt 8
34 M10 x 5/8” Allen Bolt 2
35 ST3.8 Philips Screw 16
36 M8 x 3/8” Allen Bolt 2
37 Ø ¾” Washer 40
38 M10 Aircraft Nut 20
39 Spring Clip 6
11

BENCH HARDWARE PACK
NOTE: The following parts are not drawn to scale. Please use your own ruler to measure the size.
12

BENCH HARDWARE PACK
NOTE: The following parts are not drawn to scale. Please use your own ruler to measure the size.
13

BENCH ASSEMBLY INSTRUCTION
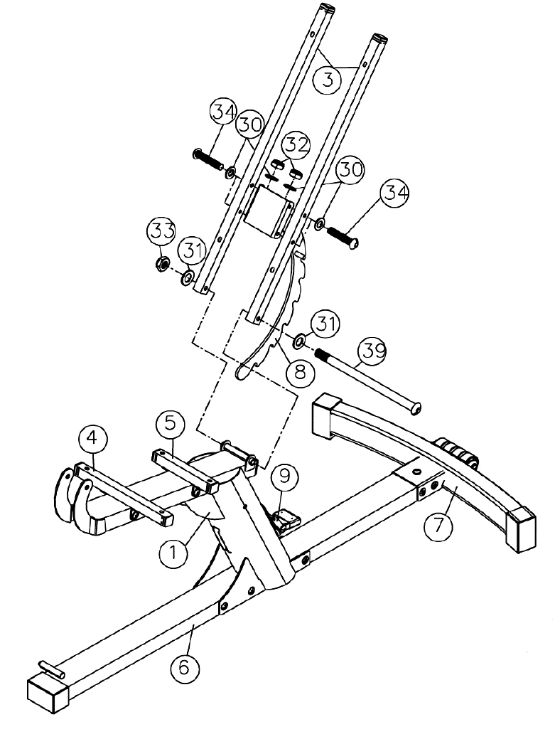
STEP 1 (See Diagram 1)
A.) Attach the Bench Base Frame (#6) to the Rear Stabilizer (#7). Secure the side-holes
with two M10 x 4” Carriage Bolts (#41), two Ø ¾” Washers (#31), and two M10
Aircraft Nuts (#33). Secure the top hole with one M10 x 5/8” Allen Bolt (#36) and one
Ø ¾” Washer (#31).
B.) Attach the Wheel Set (#25) to the bracket on Rear Stabilizer. Secure it with one M8 x
5 1/8” Allen Bolt (#35), two Ø 5/8” Washers (#30), and one M8 Aircraft Nut (#32)
DIAGRAM 1
14

STEP 2 (See Diagram 2)
A.) Attach the Main Seat Support (#1) to the Bench Base Frame (#6). Secure it with three M10 x 4”
Carriage Bolts (#41), three Ø ¾” Washers (#31), and three M10 Aircraft Nuts (#33).
B.) Attach the Front & Rear Seat Bracket (#4 & #5) to Main Seat Support. Secure each Bracket
with one M10 x 4” Allen Bolt (#40), two Ø ¾” Washers (#31), and one M10 Aircraft Nut (#33).
DIAGRAM 2
15

STEP 3 (See Diagram 3)
A.) Align the bracket on the Backrest Adjustment Support (#8) in between the two Backrest
Supports (#3). Secure it with four M8 x 1 5/8” Allen Bolts (#34), eight Ø 5/8” Washers (#30),
and four M8 Aircraft Nuts (#32). Do not tighten the Nuts and Bolts yet.
B.) Insert the Backrest Adjustment Support into the opening on the Main Seat Support (#1).
Press or step down on the Backrest Adjustment Lever (#9) to allow the Support to go
through.
C.) Attach the bottom side-holes on the two Backrest Supports to the pivot on the Main Seat
Support. Secure it with one M10 x 6 ½” Allen Bolt (#39), two Ø ¾” Washers (#31), and one
M10 Aircraft Nut (#33).
D.) Securely tighten all Nuts and Bolts in B & C.
E.) Do not over tighten the Nut and Bolt in C.
F.) Make sure the Backrest Supports are able to swivel. DIAGRAM 3
16

STEP 4 (See Diagram 4)
A.) Attach the Backrest Board (#13) to the Backrest Supports (#3). Secure it with four M8 x 1
5/8” Allen Bolts (#34) and four Ø 5/8” Washers (#30).
B.) Attach the Seat Pad (#12) to Front & Rear Seat Bracket (#4 & #5). Secure them with four M8
x 1 5/8” Allen Bolts (#34) and four Ø 5/8” Washers (#30).
C.) Pull up the Backrest Adjustment Support (#8) or press down the Backrest Adjustment Lever
(#9) to adjust the Backrest incline position.
DIAGRAM 4
17

STEP 5 (See Diagram 5)
A.) Attach the Leg Developer (#2) to Main Seat Support (#1). Secure it with one M10 x 3 1/8”
Allen Bolt (#38), two Ø ¾” Washers (#31), and one M10 Aircraft Nut (#33).
B.) Insert two Foam Tubes (#10) halfway through the holes on Leg Developer. Push four Foam
Rolls (#16) onto the Tubes from both ends. Plug four Foam Roll End Caps (#17) into the
ends.
C.) Slide an Olympic Sleeve (#28) on the weight post on Leg Developer. Attach a Spring Clip
(#27) to the Sleeve.
DIAGRAM 5
18

19
BENCH PARTS LIST
KEY NO. DESCRIPTION Q’ty
1 Main Seat Support 1
2 Leg Developer 1
3 Backrest Support 2
4 Front Seat Bracket 1
5 Rear Seat Bracket 1
6 Bench Base Frame 1
7 Rear Stabilizer 1
8 Backrest Adjustment Support 1
9 Backrest Adjustment Lever 1
10 Foam Tube 2
11 Spring 1
12 Seat Pad 1
13 Backrest Board 1
14 2 ¾” Grip 1
15 2” x 1 5/8” Rubber Bumper 1
16 Foam Roll 4
17 Foam Roll End Cap 4
18 1 5/8” x 3 1/8” End Cap 1
19 1” Square End Cap 6
20 Ø 1” End Cap 2
21 Ø 2” End Cap 3
22 Base Frame End Cap 1
23 Rear Stabilizer Left End Cap 1
24 Rear Stabilizer Right End Cap 1
25 Wheel Set 1
26 Lever Cover 1
27 Spring Clip 1
28 Olympic Sleeve 1
29 Ø ¾” Leg Developer Bushing 2
30 Ø 5/8” Washer 18
31 Ø ¾” Washer 16
32 M8 Aircraft Nut 5
33 M10 Aircraft Nut 10
34 M8 x 1 5/8” Allen Bolt 12
35 M8 x 5 1/8” Allen Bolt 1
36 M10 x 5/8” Allen Bolt 1
37 M10 x 2 ½” Allen Bolt 1
38 M10 x 3 1/8” Allen Bolt 1
39 M10 x 6 ½” Allen Bolt 1
40 M10 x 4” Allen Bolt 2
41 M10 x 4” Carriage Bolt 5
20

IMPEX® INC.
LIMITED WARRANTY
IMPEX Inc. ("IMPEX®") warrants this product to be free from defects in workmanship and material, under
normal use and service conditions, for a period of two years on the Frame from the date of purchase. This
warranty extends only to the original purchaser. IMPEX's obligation under this Warranty is limited to replacing
or repairing, at IMPEX's option.
All returns must be pre-authorized by IMPEX. Pre-authorization may be obtained by calling IMPEX Customer
Service Department at 1-800-999-8899. All freights on products returned to IMPEX must be prepaid by the
customer. This warranty does not extend to any product or damage to a product caused by or attributable to
freight damage, abuse, misuse, improper or abnormal usage or repairs not provided by an IMPEX authorized
service center or for products used for commercial or rental purposes. No other warranty beyond that
specifically set forth above is authorized by IMPEX.
IMPEX is not responsible or liable for indirect, special or consequential damages arising out of or in connection
with the use or performance of the product or other damages with respect to any economic loss, loss of
property, loss of revenues or profits, loss of enjoyments or use, costs of removal, installation or other
consequential damages or whatsoever natures. Some states do not allow the exclusion or limitation of
incidental or consequential damages. Accordingly, the above limitation may not apply to you.
The warranty extended hereunder is in lieu of any and all other warranties and any implied warranties of
merchantability or fitness for a particular purpose is limited in its scope and duration to the terms set forth herein.
Some states do not allow limitations on how long an implied warranty lasts. Accordingly, the above limitation
may not apply to you.
This warranty gives you specific legal right. You may also have other rights which vary from state to state.
Register on-line at www.impex-fitness.com
IMPEX® INC.
14777 Don Julian
City of Industry, CA 91746
ORDERING REPLACEMENT PARTS
Replacement parts can be ordered by calling our Customer Service Department toll-free at 1-800-999-8899
during our regular business hours: Monday through Friday, 9 am until 5 pm Pacific standard time.
info@impex-fitness.com
When ordering replacement parts, always give the following information.
1. Model
2. Description of Parts
3. Part Number
4. Date of Purchase
21