Impex Fitness Sm 4000 Owners Manual PARTS LIST
Impex-Fitness-Sm-4000-Owner-S-Manual impex-fitness-sm-4000-owner-s-manual
SM 4000 to the manual b7939d9f-de2c-4f0d-a721-c6f478648892
2015-06-15
: Impex-Fitness Impex-Fitness-Sm-4000-Owners-Manual-746683 impex-fitness-sm-4000-owners-manual-746683 impex-fitness pdf
Open the PDF directly: View PDF .
Page Count: 28
- BEFORE YOU BEGIN...................................................................................... 1
- IMPORTANT SAFETY NOTICES..................................................................... 2
- SMITH MACHINE HARDWARE PACK….......…............................................. 3
- SMITH MACHINE ASSEMBLY INSTRUCTIONS............................................. 5
- EXPLODED DIAGRAM…………………………………………………………….. 17
- SMITH MACHINE PARTS LIST………..………………………………………….. 18
- MULTI-PURPOSE BENCH ASSEMBLY INSTRUCTIONS............................... 20
- EXPLODED DIAGRAM……………………………………………………………... 25
- MULTI-PURPOSE BENCH PARTS LIST…………………………………………. 26
- WARRANTY.................................................................................................…. 27
- ORDERING PARTS.......................................................................................… 27
- SMITH MACHINE HARDEWARE PACK
- SMITH MACHINE ASSEMBLY INSTRUCTION
- DIAGRAM 5
- 10
- EXPLODED DIAGRAM
- 17
- PARTS LIST
- KEY NO. DESCRIPTION Q’ty
- MULTIPURPOSE BENCH PARTS LIST
- KEY NO. DESCRIPTION Q’ty

NOTE:
Please read all instructions
carefully before using this
product
Table of Contents
Safety Notice
Hardware Identifier
Assembly Instruction
Parts List
Warranty
Ordering Parts
Model
SM 4000
Retain This
Manual for
Reference
07-01-03
OWNER'S
MANUAL
MARCY SMITH MACHINE
SM 4000
IMPEX FITNESS PRODUCTS
14777 DON JULIAN RD., CITY OF INDUSTRY, CA 91746
Tel: (800) 999-8899 Fax: (626) 961-9966
www.impex-fitness.com
info@impex-fitness.com

TABLE OF CONTENTS
BEFORE YOU BEGIN...................................................................................... 1
IMPORTANT SAFETY NOTICES..................................................................... 2
SMITH MACHINE HARDWARE PACK….......…............................................. 3
SMITH MACHINE ASSEMBLY INSTRUCTIONS............................................. 5
EXPLODED DIAGRAM…………………………………………………………….. 17
SMITH MACHINE PARTS LIST………..………………………………………….. 18
MULTI-PURPOSE BENCH HARDWARE PACK………………………………… 19
MULTI-PURPOSE BENCH ASSEMBLY INSTRUCTIONS............................... 20
EXPLODED DIAGRAM……………………………………………………………... 25
MULTI-PURPOSE BENCH PARTS LIST…………………………………………. 26
WARRANTY.................................................................................................…. 27
ORDERING PARTS.......................................................................................… 27
BEFORE YOU BEGIN
Thank you for selecting the MARCY SM4000 by IMPEX FITNESS
PRODUCTS. For your safety and benefit, read this manual carefully
before using the machine. As a manufacturer, we are committed to
provide you complete customer satisfaction. If you have any questions,
or find there are missing or damaged parts, we guarantee you complete
satisfaction through direct assistance from our factory. To avoid
unnecessary delays, please call our TOLL-FREE customer service
number. Our Customer Service Agents will provide immediate assistance
to you.
1
Toll-Free Customer Service Number
1-800-999-8899
Mon. - Fri. 9 a.m. - 5 p.m. PST
www.impex-fitness.com
info@impex-fitness.com

IMPORTANT SAFETY NOTICE
PRECAUTIONS
This exercise machine is built for optimum safety. However, certain precautions apply
whenever you operate a piece of exercise equipment. Be sure to read the entire
manual before you assemble or operate your machine. In particular, note the following
safety precautions:
1. Keep children and pets away from the machine at all times. DO NOT
leave children unattended in the same room with the machine.
2. Only one person at a time should use the machine.
3. If the user experiences dizziness, nausea, chest pain, or any other abnormal
symptoms, STOP the workout at once. CONSULT A PHYSICIAN
IMMEDIATELY.
4. Position the machine on a clear, leveled surface. DO NOT use the machine
near water or outdoors.
5. Keep hands away from all moving parts.
6. Always wear appropriate workout clothing when exercising. DO NOT wear
robes or other clothing that could become caught in the machine. Running
or aerobic shoes are also required when using the machine.
7. Use the machine only for its intended use as described in this manual. DO
NOT use attachments not recommended by the manufacturer.
8. Do not place any sharp object around the machine.
9. Disabled person should not use the machine without a qualified person or
physician in attendance.
10. Before using the machine to exercise, always do stretching exercises to
properly warm up.
11. Never operate the machine if the machine is not functioning properly.
12. A spotter is recommended during exercise.
WARNING: BEFORE BEGINNING ANY EXERCISE PROGRAM, CONSULT YOUR
PHYSICIAN. THIS IS ESPECIALLY IMPORTANT FOR INDIVIDUALS OVER THE
AGE OF 35 OR PERSONS WITH PRE-EXISTING HEALTH PROBLEMS. READ ALL
INSTRUCTIONS BEFORE USING ANY FITNESS EQUIPMENT. IMPEX INC.
ASSUMES NO RESPONSIBILITY FOR PERSONAL INJURY OR PROPERTY
DAMAGE SUSTAINED BY OR THROUGH THE USE OF THIS PRODUCT.
SAVE THESE INSTRUCTIONS.
2

SMITH MACHINE HARDEWARE PACK
3

SMITH MACHINE HARDEWARE PACK
4

SMITH MACHINE ASSEMBLY INSTRUCTION
Tools Required Assembling the Machine: Two Adjustable Wrenches and Allen
Wrenches
NOTE: It is strongly recommended two or more people assembling this machine to
avoid possible injury.
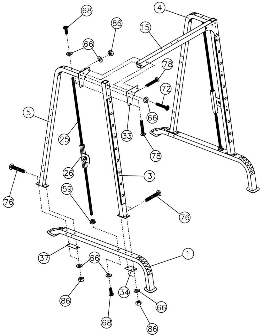
STEP 1 (See Diagram 1)
A.) Connect the two Base Frames (#1) by a Cross Brace (#2) in the mid-span. Secure
each end of The Cross Brace with two M10 x 3 ½” Carriage Bolts (#79), one 4 ¾”
x 2” Bracket (#36), two Ø ¾” Washers (#66), and two M10 Aircraft Nuts (#86).
B.) NOTE: DO NOT tighten the Nuts and Bolts yet. DIAGRAM 1
5
STEP 2 (See Diagram 2)
A.) Attach the right Front Vertical Frame (#3) to the right Base Frame (#1). Secure it
with two M10 x 3” Carriage Bolts (#76), one 5 1/8” x 2 ¾” Bracket (#34), two Ø ¾”
Washers (#66), and two M10 Aircraft Nuts (#86). Do not tighten the Nuts and Bolts
yet.
B.) Align a Ø 2 ½” Rubber Bumper (#59) to the hole on the Base Frame. Insert a
Guide Rod (#25) through the Rubber Bumper and into the Base Frame. Secure it
with one M10 x 1” Allen Bolt (#68) and Ø ¾” Washer (#66).
C.) Slide a Safety Stop Frame (#26) onto the Guide Rod (#25).
D.) Attach the hole on top of the Right Vertical Frame (#5) to the top of the Guide Rod
(#25). Attach the top of Right Vertical Frame (#5) to the top of Front Vertical Frame
(#3). Attach the bottom of Right Vertical Frame (#5) to the Base Frame (#1).
E.) Secure the Guide Rod (#25) to the Right Vertical Frame (#5) with one M10 x 1”
Allen Bolt (#68) and Ø ¾” Washer (#66). Secure the Right Vertical Frame (#5) to
the Base Frame with two M10 x 3” Carriage Bolts (#76), one 6 ¼” x 2” Bracket
(#37), two Ø ¾” Washers (#66), and two M10 Aircraft Nuts (#86). Do not tighten
the Nuts and Bolts yet.
F.) Secure the Right Vertical Frame (#5) to the Front Vertical Beam (#3) with one
Triangle Bracket (#33), M10 x 3 1/8” Allen Bolt (#72), and ∅3/4” Washer (#66) to
the top hole. Secure the bottom two holes with two M10 x 3 3/8” Carriage Bolts
(#78), ∅3/4” Washers (#66) and M10 Aircraft Nuts (#86).
G.) Repeat the above Procedures A, B, C, D, E and F to install the other side.
H.) Attach the Front Top Beam (#15) to the Front Vertical Beams (#3) and the Triangle
Brackets (#33). Align the Holes. Secure each end with two M10 x 3 3/8” Carriage
Bolts (#78), Ø3/4” Washers (#66), and M10 Aircraft Nuts (#86).
I.) Securely tighten all Nuts and Bolts previously installed.
6

DIAGRAM2
7

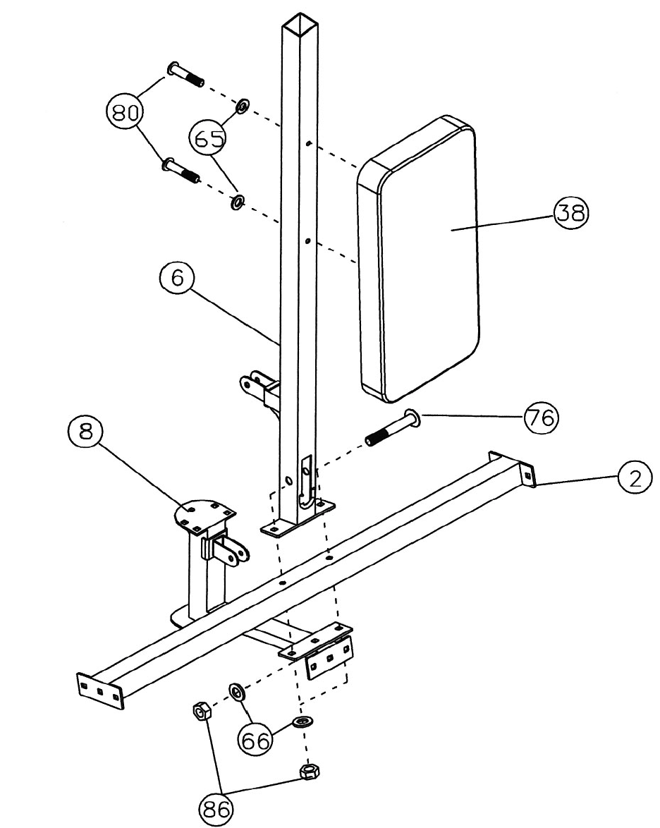
STEP 3 (See Diagram 3)
A.) Attach the Rear Vertical Beam (#6) to the top of the Cross Brace (#2). Attach the
Weight Glide Base (#8) to the Cross Brace from the Bottom. Align the holes. Secure
them with two M10 x 3” Carriage Bolts (#76), Ø ¾” Washers (#66), and M10 Aircraft
Nuts (#86).
B.) Attach the Backrest Board (#38) to the Rear Vertical Beam. Secure it with two M8 x 2
½” Allen Bolts (#80) and Ø 5/8” Washers (#65). DIAGRAM 3
8

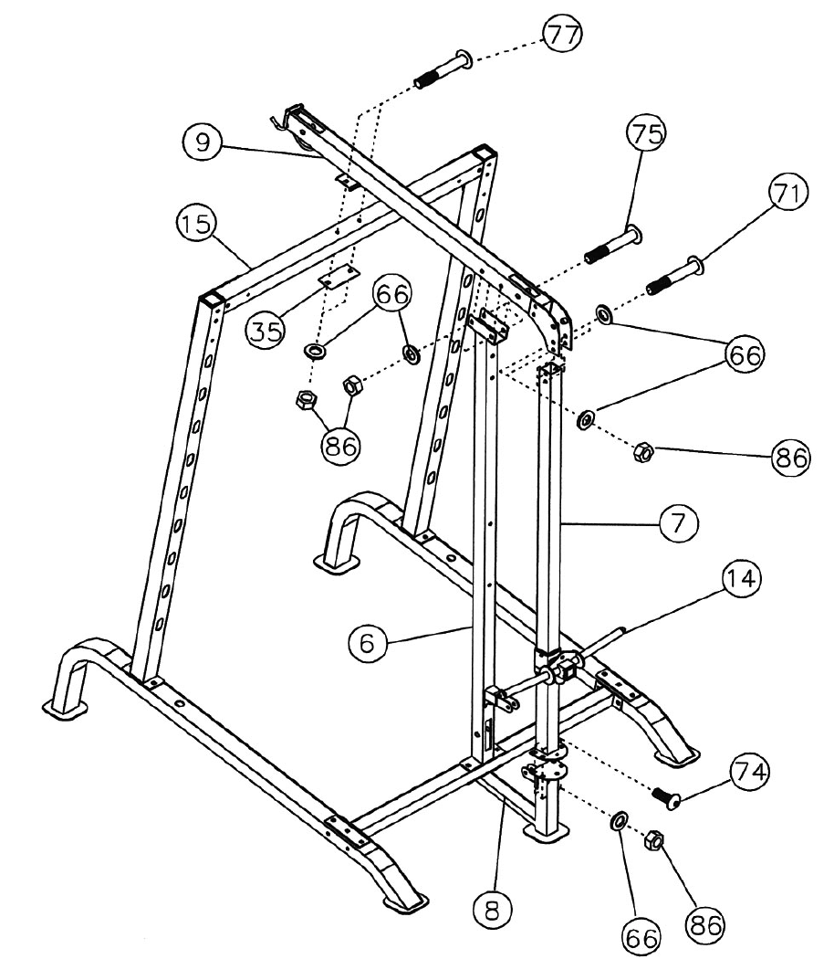
STEP 4 (See Diagram 4)
A.) Attach the Weight Glide Post (#7) to the Weight Glide Base (#8). Secure it with four M10 x
1” Carriage Bolts (#74), Ø ¾” Washers (#66) and M10 Aircraft Nuts (#86).
B.) Slide the Sliding Weight Post (#14) onto the Post from the top. Place the Upper Frame
(#9) onto the Weight Glide Post (#7), Rear Vertical Beam (#6) and Front Top Beam (#15).
C.) Align the holes. Secure the Upper Frame (#9) to the Weight Glide Post (#7) with two M10
x 3” Allen Bolts (#71), four Ø ¾” Washers (#66), and two M10 Aircraft Nuts (#86). Do not
tighten the Nuts and Bolts yet.
D.) Secure the Upper Frame to the Rear Vertical Beam with two M10 x 2 ¾” Carriage Bolts
(#75), ∅ ¾” Washers (#66) and M10 Aircraft Nuts (#86).
E.) Secure the Upper Frame to the Front Top Beam with two M10 x 3 1/8” Carriage Bolts
(#77), one 5 1/8” x 2 3/8” Bracket (#35), two Ø ¾” Washers (#66), and two M10 Aircraft
Nuts (#86). Securely tighten all Nuts and Bolts previously installed.
DIAGRAM 4
9

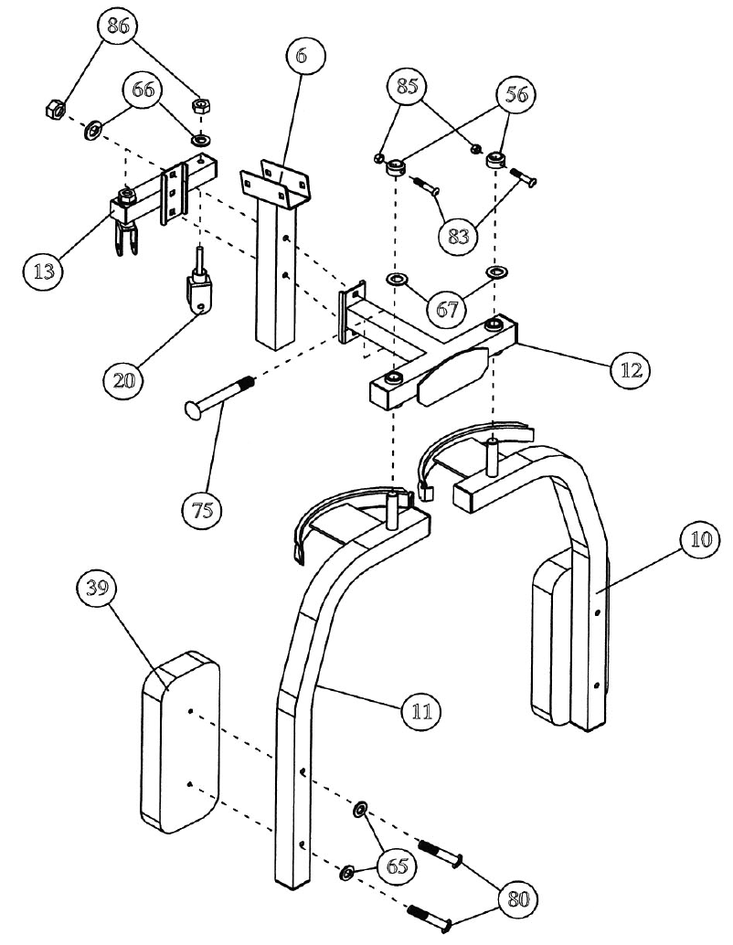
STEP 5 (See Diagram 5)
A.) Attach the Butterfly Base (#12) to the front of Rear Vertical Frame (#6). Attach the
Butterfly Pulley Bracket (#13) to the back of the Rear Vertical Frame. Align the holes.
Secure them with two M10 x 2 ¾” Carriage Bolts (#75), Ø ¾” Washers (#66), and M10
Aircraft Nuts (#86).
B.) Attach the Right Butterfly (#11) to the hole on the Butterfly Base. Secure it with one Lock
Ring (#56), Ø 1 ½” Washer (#67), M6 x 1 5/8” Hex Bolt (#83), and M6 Aircraft Nut (#85).
C.) Attach the Butterfly Arm Pad (#39) to the Right Butterfly. Secure it with two M8 x 2 ½”
Allen Bolts (#80) and Ø 5/8” Washers (#65).
D.) Repeat the Procedures B & C above to install the other side.
E.) Insert two Swivel Pulley Brackets (#20) into the holes on the Butterfly Pulley Bracket
(#13). Secure each Swivel Pulley Bracket with one Ø ¾” Washer (#66) and M10 Aircraft
Nut (#86). Do not over tighten the Nut. Make sure the Bracket is able to swivel.
DIAGRAM 5
10

CABLE LOOP
11

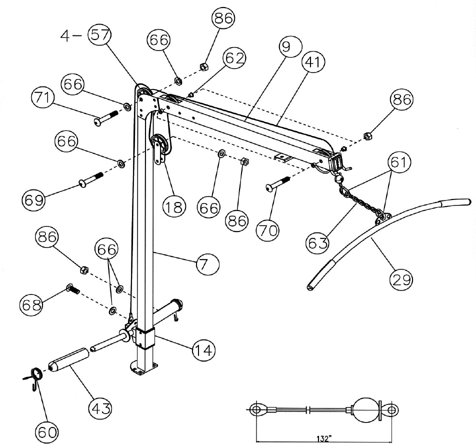
STEP 6 (See Diagram 6 & Cable Loop)
A.) Attach the 132” Upper Cable (#41) to the front opening on the Upper Frame (#9). Attach a
Pulley (#57) to the opening. Secure it with one M10 x 2 ½” Allen Bolt (#70), two Pulley
Bushings (#62), and one M10 Aircraft Nut (#86). Make sure the ball stopper of the Cable is
underneath the Frame.
B.) Draw the Cable over the Pulley along the Upper Frame to the opening on the rear of Upper
Frame. Attach a Pulley to the opening. Secure it with one M10 x 2 ½” Allen Bolt (#70), two
Pulley Bushings (#62), and one M10 Aircraft Nut (#86).
C.) Draw the Cable around the Pulley then downward. Install a Pulley in between the two Double
Floating Pulley Brackets (#18). Secure the Pulley with one M10 x 1 ¾” Allen Bolt (#69), two Ø
¾” Washers (#66), and one M10 Aircraft Nut (#86). Let the Bracket hanging for now.
D.) Draw the Cable around the Pulley then up to the open bracket on the top of the Weight Glide
Post (#7). Attach a Pulley to the bracket. Secure it with one M10 x 3” Allen Bolt (#71), two Ø
¾” Washers (#66), and one M10 Aircraft Nut (#86).
E.) Draw the Cable around the Pulley then down to the Sliding Weight Post (#14). Secure the
Cable to the Sliding Weight Post with one M10 x 1” Allen Bolt (#68), two Ø ¾” Washers (#66),
and one M10 Aircraft Nut (#86).
F.) Connect the Lat Bar (#29) to the Upper Cable with a Short Chain (#63) and two C-Clips (#61).
G.) Attach two Olympic Sleeves (#43) to the weight posts on the Sliding Weight Post. Attach two
Spring Clips (#60) to the Sleeves.
12

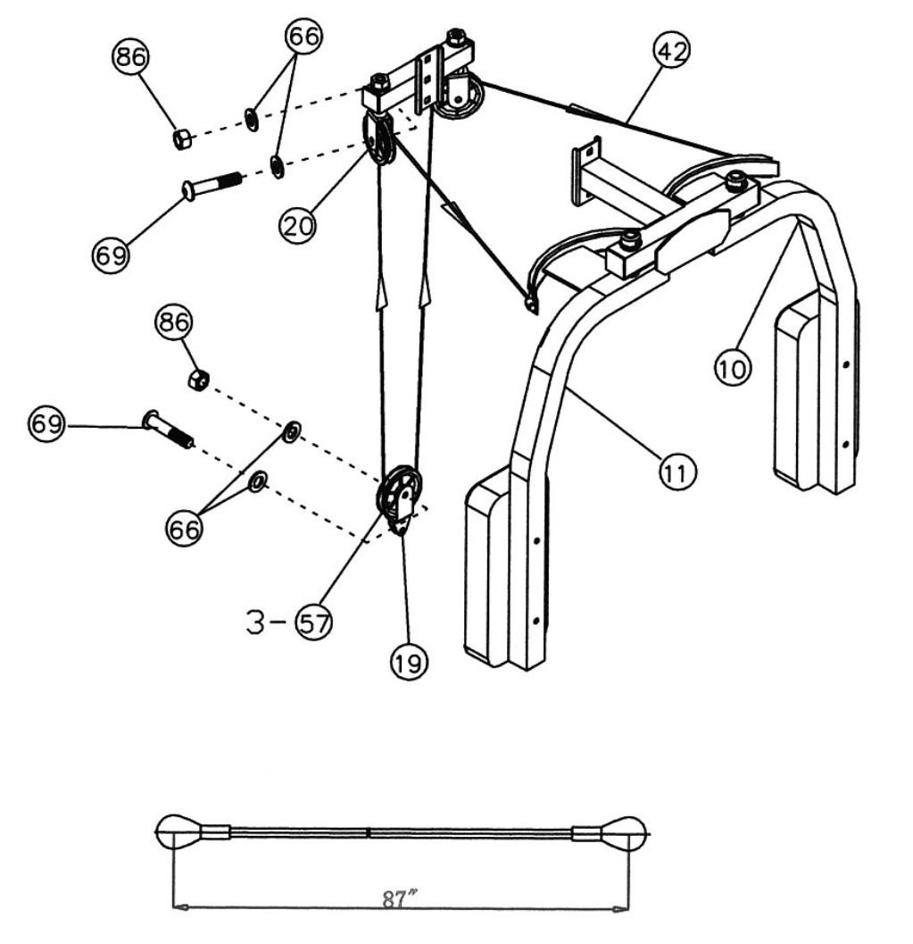
STEP 7 (See Diagram 7 & Cable Loop)
A.) Attach one end of the 87” Butterfly Cable to the clip on the Right Butterfly (#11).
Draw the Cable to the right Swivel Pulley Bracket (#20).
B.) Attach a Pulley (#57) to the Bracket. Secure it with one M10 x 1 ¾” Allen Bolt (#69),
two Ø ¾” Washers (#66), and one M10 Aircraft Nut (#86).
C.) Draw the Cable around the Pulley then downward. Attach the Cable to a Single
Floating Pulley Bracket (#19). Repeat Procedure B above to install a Pulley. Let the
Bracket hanging for now.
D.) Draw the Cable upward to the left Swivel Pulley Bracket. Repeat Procedure B
above to install another Pulley.
E.) Draw the Cable around the Pulley they clip it to the Left Butterfly. DIAGRAM 7
13
STEP 8 (See Diagram 8 & Cable Loop)
A.) Attach the 132” Lower Cable (#40) to the opening on the bottom of the Rear Vertical Beam
(#6). Attach a Pulley to the opening. Attach two Pulley Bushings (#62) to the holes outside
of the opening. Attach the Foot Plate (#16) to the Bushings. Align the holes and secure
them with one M10 x 3 3/8” Allen Bolt (#73), two Ø ¾” Washers (#66), and one M10
Aircraft Nut (#86).
B.) Draw the Cable underneath the Pulley to the open bracket on the Weight Glide Base (#8).
Install a Pulley with a M10 x 1 ¾” Allen Bolt (#69), two ∅3/4” Washers (#66) and one M10
Aircraft Nut (#86). Draw the Cable around the Pulley then upward to the Double Floating
Pulley Bracket previously installed in Step-6. Install another Pulley.
C.) Draw the Cable around the Pulley then downward to the open bracket on the Rear Vertical
Beam. Install another Pulley.
D.) Draw the Cable around the Pulley and upward to the Single Floating Pulley Bracket
previously installed in Step-7. Connect the Cable to a Short Chain (#63) by using a C-clip
(#61). Attach the Short Chain to the Bracket. Secure it with a M10 x 1” Allen Bolt (#68), two
Ø ¾” Washers (#66), and one M10 Aircraft Nut (#86). Adjust the tension of the Cable by
adjusting the length of the Chain.
E.) Secure the Foot Plate (#16) to the Weight Glide Base (#8) with two M10 x 1” Allen Bolts
(#68), four Ø ¾” Washers (#66), and two M10 Aircraft Nuts (#86).
F.) Connect the Long Chain (#64) to the Lower Cable with a C-clip. For various exercises,
connect with one of the Shiver Bar (#30), V Bar (#88), Ankle Strap (#89), Single Handle
Strap (#90), or the Triceps Rope (#91) with a C-clip.
14

DIAGRAM 8
15

STEP 9 (See Diagram 9)
A.) NOTE: Help of another person is strongly recommended for this step. Place the
Lifting Sleeve (#27) in between the two Safety Stop Frames (#26). Align the holes.
Insert the Weight Bar (#28) into the Safety Stop Frame from one end and through
the Lifting Sleeve (#27) to the other Safety Stop Frame on the opposite side. Secure
the Weight Bar to each Safety Stop Frame with a M8 x 3/8” Allen Bolt (#81).
B.) Turn the safety catch hook forward on the Lifting Sleeve to secure its position on the
selected holes on the Front Vertical Frames (#3).
C.) Attach a Long Olympic Sleeve (#44) to each end of the Weight Bar. Attach a Spring
Clip (#60) to the Sleeve.
D.) Attach six Weight Posts (#17) to the Left & Right Vertical Frames (#4&5). Secure
each Weight Post with two M10 x 2 ¾” Carriage Bolts (#75), one 4 ¾” x 2” Bracket
(#36), two Ø ¾” Washers (#66), and two M10 Aircraft Nuts (#86).
E.) Attach six Olympic Sleeves (#43) to the six Weight Posts. Attach six Spring Clips
(#60) to the Sleeves.
F.) Insert the Left & Right Bar Holders (#21&22), the Left & Right Safety Catches
(#23&24) into the selected holes on the Front Vertical Frames (#3).
16

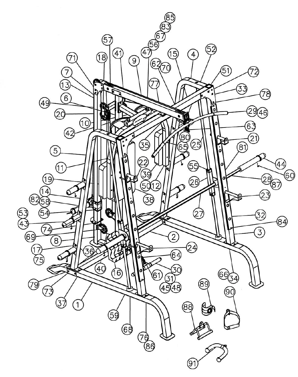
EXPLODED DIAGRAM
17
PARTS LIST
KEY NO. DESCRIPTION Q’ty
1 Base Frame 2 51 2 3/8” Square End Cap 2
2 Cross Brace 1 52 2 ¾” x 2” End Cap 1
3 Front Vertical Beam 2 53 Ø 1” Cone-shaped End Cap 14
4 Left Vertical Frame 1 54 2 3/8” x 2” Sleeve 2
5 Right Vertical Frame 1 55 Sliding Sleeve 4
6 Rear Vertical Beam 1 56 Lock Ring 2
7 Weight Glide Post 1 57 Pulley 11
8 Weight Glide Base 1 58 Ø 1 ¾” Rubber Bumper 1
9 Upper Frame 1 59 Ø 2 ½” Rubber Bumper 2
10 Left Butterfly 1 60 Spring Clip 10
11 Right Butterfly 1 61 C-Clip 5
12 Butterfly Base 1 62 Pulley Bushing 6
13 Butterfly Pulley Bracket 1 63 Short Chain 2
14 Sliding Weight Post 1 64 Long Chain 1
15 Front Top Beam 1 65 Ø 5/8” Washer 6
16 Foot Plate 1 66 Ø ¾” Washer 82
17 Weight Post 6 67 Ø 1 ½” Washer 2
18 Double Floating Pulley Bracket 2 68 M10 x 1” Allen Bolt 8
19 Single Floating Pulley Bracket 1 69 M10 x 1 ¾” Allen Bolt 7
20 Swivel Pulley Bracket 2 70 M10 x 2 ½” Allen Bolt 2
21 Left Bar Holder 1 71 M10 x 3” Allen Bolt 3
22 Right Bar Holder 1 72 M10 x 3 1/8” Allen Bolt 2
23 Left Safety Catch 1 73 M10 x 3 3/8” Allen Bolt 1
24 Right Safety Catch 1 74 M10 x 1” Carriage Bolt 4
25 Guide Rod 2 75 M10 x 2 ¾” Carriage Bolt 16
26 Safety Stop Frame 2 76 M10 x 3” Carriage Bolt 10
27 Lifting Sleeve 1 77 M10 x 3 1/8” Carriage Bolt 2
28 Weight Bar 1 78 M10 x 3 3/8” Carriage Bolt 8
29 Lat Bar 1 79 M10 x 3 ½” Carriage Bolt 4
30 Shiver Bar 1 80 M8 x 2 ½” Allen Bolt 6
31 Curl Handle 1 81 M8 x 3/8” Allen Bolt 4
32 Chrome Panel 2 82 M6 x 5/8” Philips Screw 1
33 Triangle Bracket 2 83 M6 x 1 5/8” Hex Bolt 2
34 5 1/8” x 2 ¾” Bracket 2 84 Chrome Panel Screw 8
35 5 1/8” x 2 3/8” Bracket 1 85 M6 Aircraft Nut 2
36 4 ¾” x 2” Bracket 8 86 M10 Aircraft Nut 63
37 6 ¼” x 2” Bracket 2 87 Ø 1” End Cap 6
38 Backrest Board 1 88 V Bar 1
39 Butterfly Arm Pad 2 89 Ankle Strap 1
40 132” Lower Cable 1 90 Single Handle Strap 1
41 132” Upper Cable 1 91 Triceps Rope 1
42 87” Butterfly Cable 1 #6 Allen Wrench (Tool) 1
43 Olympic Sleeve 8 #5 Allen Wrench (Tool) 1
44 Long Olympic Sleeve 2 #4 Allen Wrench (Tool) 1
45 Curl Bar Handle Grip 2
46 Lat Bar Grip 2
47 Ø 1” x 3 1/8” Bushing 2
48 Ø 1 ½” x 1” Bushing 2
49 1 ½” Square End Cap 2
50 1 ¾” Square End Cap 7
18

MULTIPURPOSE BENCH HARDWARE PACK
19

MULTIPURPOSE BENCH ASSEMBLY INSTRUCTION
Tools Required Assembling the Machine: Two Adjustable Wrenches and Allen
Wrenches. NOTE: It is strongly recommended this machine be assembled by two or
more people to avoid possible injury.
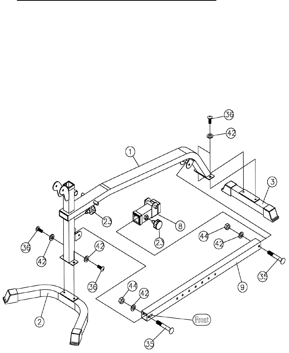
STEP 1 (See Diagram 1)
C.) Attach the Main Frame (#1) to the Front & Rear Stabilizers (#2 & 3). Secure each end with
two M10 x ¾” Allen Bolts (#36) and ∅ ¾” Washers (#42). Attach a Lock Knob (#23) to the
hole underneath the Main Frame.
D.) Slide the Sliding Block (#8) onto the Incline Adjustment Bar (#9). Align the hole then
secure it with a Knob Lock (#23) to hold the Sliding Block in position.
E.) Attach the Incline Adjustment Bar to the brackets on the Main Frame. Secure each end
with one M10 x 2 ½” Carriage Bolt (#35), ∅ ¾” Washer (#42), and M10 Aircraft Nut (#44).
DIAGRAM 1
20

STEP 2 (See Diagram 2)
A.) Attach four Bushings (#27) to a Seat Support Frame (#6).
B.) Attach a Backrest Support (#7) to the rear of the Seat Support Frame (#6). Align the holes and
secure them with one M10 x 1 ¾” Allen Bolt (#37) and ∅ ¾” Washer (#42). Repeat the same
procedure to install the other side.
C.) Attach two Bushings to the pivot on the Sliding Block (#8). Attach two Bushings to each
Backrest Supports (#7). Align the holes and secure them with one M10 x 6 ¾” Allen Bolt (#38),
two ∅ ¾” Washers (#42), and one M10 Aircraft Nut (#44). Do not over tighten the nut and bolt.
The Supports need to swivel on the Bolt.
D.) Attach two Bushings to the pivot on the Main Frame (#1). Loosen and pull the Lock Knob on
the Sliding Block (#8). The Sliding Block needs to be able to slide on the Chromed Incline
Adjustment Bar (#9). Align the two Seat Support Frames (#6) to both ends of the pivot on Main
Frame. Secure them with one M10 x 8 ¼” Allen Bolt (#39), two ∅ ¾” Washers (#42), and one
M10 Aircraft Nut (#44).
E.) Use the Lock Knob on the Sliding Block (#8) to adjust and secure the backrest incline position.
21

STEP 3 (See Diagram 3)
C.) Place the Backrest Board (#14) onto the Backrest Supports (#7). Secure it
with four M8 x 2” Allen Bolts (#40) and ∅ 5/8” Washers (#43).
D.) Place the Seat Pad (#13) onto the Seat Support Frames (#6). Secure it with
four M8 x 2” Allen Bolts (#40) and ∅ 5/8” Washers (#43). DIAGRAM 3
22

STEP 4 (See Diagram 4)
A.) Attach the Leg Developer (#5) to the open bracket on the Main Frame (#1). Secure it with
an Axle (#17), two M10 x ¾” Allen Bolts (#36), and two ∅ ¾” Washers (#42).
B.) Insert one Foam Tube (#10) halfway through the hole on the Main Frame. Insert two
Foam Tubes halfway through the holes on the Leg Developer (#5). Push six Foam Rolls
(#24) onto the Tubes from both ends. Plug six Foam Roll End Caps (#25) into the Tubes.
C.) Slide the Olympic Sleeve (#20) onto the weight post on the Leg Developer. Attach a
Spring Clip (#22) to the Sleeve.
DIAGRAM 4
23

STEP 5 (See Diagram 5)
A.) Attach the Arm Curl Pad (#15) to the Arm Curl Stand (#4). Secure it with two M8 x 5/8”
Allen Bolts (#41) and two ∅ 5/8” Washers (#43). Insert the Arm Curl Stand into the front
opening on the Main Frame (#1). Use the Lock Knob to hold the desired Arm Curl height.
B.) Attach the Curl Bar Support Frame (#11) to the open bracket on the Leg Developer (#5).
Lock it with a L-shaped Pin (#21).
C.) Remove the Pin, Curl Bar Handle and Arm Curl when using the Leg Developer to
exercise. DIAGRAM 5
24

25
MULTIPURPOSE BENCH PARTS LIST
KEY NO. DESCRIPTION Q’ty
1 Main Frame 1
2 Front Stabilizer 1
3 Rear Stabilizer 1
4 Arm Curl Stand 1
5 Leg Developer 1
6 Seat Support Frame 2
7 Backrest Support 2
8 Sliding Block 1
9 Incline Adjustment Bar 1
10 Foam Tube 3
11 Curl Bar Support Frame 1
12 Curl Bar Handle 1
13 Seat Pad 1
14 Backrest Board 1
15 Arm Curl Pad 1
16 Curl Bar Handle Grip 2
17 Axle 1
18 Ø 2 3/8” Bushing 2
19 Ø 1 ½” Bushing 2
20 Olympic Sleeve 1
21 L-shaped Lock Pin 1
23 Spring Clip 1
23 Lock Knob 2
24 Foam Roll 6
25 Foam Roll End Cap 6
26 Ø ¾” x ½” Bushing 2
27 Bushing 16
28 3 1/8” x 1 5/8” End Cap 1
29 Ø 1” Cone-shaped End Cap 1
30 Ø 1” End Cap 1
31 1 5/8” x 2 3/8” End Cap 2
32 1 5/8” x ¾” End Cap 12
33 2” Sliding Block Sleeve 3
34 Stabilizer End Cap 4
35 M10 x 2 ½” Carriage Bolt 2
36 M10 x ¾” Allen Bolt 6
37 M10 x 1 ¾” Allen Bolt 2
38 M10 x 6 ¾” Allen Bolt 1
39 M10 x 8 ¼” Allen Bolt 1
40 M8 x 2” Allen Bolt 8
41 M8 x 5/8” Allen Bolt 2
42 Ø ¾” Washer 14
43 Ø 5/8” Washer 10
44 M10 Aircraft Nut 4
26

IMPEX INC.
LIMITED WARRANTY
IMPEX Inc. ("IMPEX") warrants this product to be free from defects in workmanship and material, under
normal use and service conditions, for a period of two years on the Frame from the date of purchase. This
warranty extends only to the original purchaser. IMPEX's obligation under this Warranty is limited to
replacing or repairing, at IMPEX's option.
All returns must be pre-authorized by IMPEX. Pre-authorization may be obtained by calling IMPEX
Customer Service Department at 1-800-999-8899. All freights on products returned to IMPEX must be
prepaid by the customer. This warranty does not extend to any product or damage to a product caused by
or attributable to freight damage, abuse, misuse, improper or abnormal usage or repairs not provided by an
IMPEX authorized service center or for products used for commercial or rental purposes. No other warranty
beyond that specifically set forth above is authorized by IMPEX.
IMPEX is not responsible or liable for indirect, special or consequential damages arising out of or in
connection with the use or performance of the product or other damages with respect to any economic loss,
loss of property, loss of revenues or profits, loss of enjoyments or use, costs of removal, installation or other
consequential damages or whatsoever natures. Some states do not allow the exclusion or limitation of
incidental or consequential damages. Accordingly, the above limitation may not apply to you.
The warranty extended hereunder is in lieu of any and all other warranties and any implied warranties of
merchantability or fitness for a particular purpose is limited in its scope and duration to the terms set forth
herein. Some states do not allow limitations on how long an implied warranty lasts. Accordingly, the above
limitation may not apply to you.
This warranty gives you specific legal right. You may also have other rights which vary from state to state.
Register on-line at www.impex-fitness.com
IMPEX INC.
14777 Don Julian
City of Industry, CA 91746
ORDERING REPLACEMENT PARTS
Replacement parts can be ordered by calling our Customer Service Department toll-free at 1-800-999-8899
during our regular business hours: Monday through Friday, 9 am until 5 pm Pacific standard time.
info@impex-fitness.com
When ordering replacement parts, always give the following information.
1. Model
2. Description of Parts
3. Part Number
4. Date of Purchase
27