Impex Fitness Sm 4008 Owners Manual PARTS LIST
Impex-Fitness-Sm-4008-Users-Manual-341547 impex-fitness-sm-4008-users-manual-341547
Impex-Fitness-Sm-4008-Owner-S-Manual impex-fitness-sm-4008-owner-s-manual
SM-4008 to the manual a1c20d6c-25af-4258-bb21-74b90a2dece8
2015-06-15
: Impex-Fitness Impex-Fitness-Sm-4008-Owners-Manual-746684 impex-fitness-sm-4008-owners-manual-746684 impex-fitness pdf
Open the PDF directly: View PDF
.
Page Count: 38
- BEFORE YOU BEGIN..................................................................……………. 1
- IMPORTANT SAFETY NOTICES.................................................................… 2
- SMITH MACHINE HARDWARE PACK….......…............................................. 4
- SMITH MACHINE ASSEMBLY INSTRUCTIONS............................................ 6
- EXPLODED DIAGRAM……………………………………………………………. 21
- SMITH MACHINE PARTS LIST………..………………………………………… 22
- MULTI-PURPOSE BENCH ASSEMBLY INSTRUCTIONS............................ 24
- EXPLODED DIAGRAM…………………………………………………………… 29
- MULTI-PURPOSE BENCH PARTS LIST………………………………………… 30
- WARRANTY.................................................................................................… 32
- ORDERING PARTS.....................................................................................… 32
- SMITH MACHINE HARDWARE PACK
- SMITH MACHINE HARDWARE PACK
- SMITH MACHINE HARDWARE PACK
- SMITH MACHINE ASSEMBLY INSTRUCTION
- DIAGRAM 5
- 14
- 26
- SMITH MACHINE PARTS LIST
- KEY NO. DESCRIPTION Q’ty
- MULTI-PURPOSE BENCH PARTS LIST
- KEY NO. DESCRIPTION Q’ty
- Station
- Example
- Left Cross-Over
- Right Cross-Over

NOTE:
Please read all instructions
carefully before using this
product
Table of Contents
Safety Notice
Hardware Pack
Assembly Instruction
Parts List
Warranty
Ordering Parts
Model
SM-4008
Retain This
Manual for
Reference
100806
OWNER'S
MANUAL
MARCY®
SMITH MACHINE
SM-4008
IMPEX® INC.
2801 S. Towne Ave., Pomona, CA 91766
Tel: (800) 999-8899 Fax: (626) 961-9966
www.impex-fitness.com
info@impex-fitness.com

TABLE OF CONTENTS
BEFORE YOU BEGIN..................................................................……………. 1
IMPORTANT SAFETY NOTICES.................................................................… 2
SMITH MACHINE HARDWARE PACK….......…............................................. 4
SMITH MACHINE ASSEMBLY INSTRUCTIONS............................................ 6
EXPLODED DIAGRAM……………………………………………………………. 21
SMITH MACHINE PARTS LIST………..………………………………………… 22
MULTI-PURPOSE BENCH HARDWARE PACK……………………………….. 23
MULTI-PURPOSE BENCH ASSEMBLY INSTRUCTIONS............................ 24
EXPLODED DIAGRAM…………………………………………………………… 29
MULTI-PURPOSE BENCH PARTS LIST………………………………………… 30
WEIGHT RESISTANCE CHART…………………………………………………… 31
WARRANTY.................................................................................................… 32
ORDERING PARTS.....................................................................................…
32
BEFORE YOU BEGIN
Thank you for selecting the MARCY® SM-4008 by IMPEX® INC. For your safety
and benefit, read this manual carefully before using the machine. As a
manufacturer, we are committed to provide you complete customer satisfaction.
If you have any questions, or find there are missing or damaged parts, we
guarantee you complete satisfaction through direct assistance from our factory.
To avoid unnecessary delays, please call our TOLL-FREE customer service
number. Our Customer Service Agents will provide immediate assistance to
you.
Toll-Free Customer Service Number
1-800-999-8899
Mon. - Fri. 9 a.m. - 5 p.m. PST
www.impex-fitness.com
info@impex-fitness.com
1

IMPORTANT SAFETY NOTICE
PRECAUTIONS
This exercise machine is built for optimum safety. However, certain precautions apply
whenever you operate a piece of exercise equipment. Be sure to read the entire manual before
you assemble or operate your machine. In particular, note the following safety precautions:
1. Keep children and pets away from the machine at all times. DO NOT
leave children unattended in the same room with the machine.
2. Only one person at a time should use the machine.
3. If the user experiences dizziness, nausea, chest pain, or any other abnormal
symptoms, STOP the workout at once. CONSULT A PHYSICIAN IMMEDIATELY.
4. Position the machine on a clear, leveled surface. DO NOT use the machine
near water or outdoors.
5. Keep hands away from all moving parts.
6. Always wear appropriate workout clothing when exercising. DO NOT wear
robes or other clothing that could become caught in the machine. Running
or aerobic shoes are also required when using the machine.
7. Use the machine only for its intended use as described in this manual. DO
NOT use attachments not recommended by the manufacturer.
8. Do not place any sharp object around the machine.
9. Disabled person should not use the machine without a qualified person or
physician in attendance.
10. Before using the machine to exercise, always do stretching exercises to
properly warm up.
11. Never operate the machine if the machine is not functioning properly.
12. A spotter is recommended during exercise.
CARE AND MAINTENANCE
1. Lubricate moving parts with WD-40 or light oil periodically.
2. Inspect and tighten all parts before using the machine.
3. The machine can be cleaned using a damp cloth and mild non-abrasive detergent.
DO NOT use solvents.
4. Maximum user’s weight: 300 lbs.
5. Maximum weights on the Weight Bar: 300 lbs.
6. Maximum weights on Leg Developer: 100 lbs.
7. Maximum weights on Cross-over, Lat Pull: 200 lbs.
WARNING: BEFORE BEGINNING ANY EXERCISE PROGRAM, CONSULT YOUR
PHYSICIAN. THIS IS ESPECIALLY IMPORTANT FOR INDIVIDUALS OVER THE
AGE OF 35 OR PERSONS WITH PRE-EXISTING HEALTH PROBLEMS. READ ALL
INSTRUCTIONS BEFORE USING ANY FITNESS EQUIPMENT. IMPEX INC.
ASSUMES NO RESPONSIBILITY FOR PERSONAL INJURY OR PROPERTY
DAMAGE SUSTAINED BY OR THROUGH THE USE OF THIS PRODUCT.
SAVE THESE INSTRUCTIONS.
2
WARNING LABEL PLACEMENT

The warning labels shown here have been placed on the Rear Base, and Bench Rear Stabilizer. If the
labels are missing or illegible, please call customer service at 1-800-888-8899 for replacements. Apply
the labels in the location shown.
3
SMITH MACHINE HARDWARE PACK

NOTE: The following parts are not drawn to scale. Please use your own ruler to measure the size.
4

SMITH MACHINE HARDWARE PACK
NOTE: The following parts are not drawn to scale. Please use your own ruler to measure the size.
5

SMITH MACHINE HARDWARE PACK
NOTE: The following parts are not drawn to scale. Please use your own ruler to measure the size.
6

SMITH MACHINE HARDWARE PACK
7

SMITH MACHINE ASSEMBLY INSTRUCTION
Tools Required Assembling the Machine: Two Adjustable Wrenches and Allen
Wrenches.
NOTE: It is strongly recommended that two or more people assemble this machine to
avoid possible injury.
STEP 1 (See Diagram 1)
A.) Do not tighten Nuts and Bolts until instructed to do so.
B.) Insert a Base Frame (#5) into the Rear Left Vertical Frame (#3). Secure it with two M10 x
¾” Allen Bolts (#90) and two Ø ¾” Washers (#107).
C.) Repeat B to install the other Base Frame to Rear Right Vertical Frame (#4).
D.) Attach Rear Base Frame (#8) to Rear Left and Right Vertical Frame. Secure each end
with two M10 x 2 ½” Allen Bolts (#95), four Ø ¾” Washers (#107), and two M10 Aircraft
Nuts (#110).
E.) Repeat D to connect Rear Top Beam (#6) to Rear Left and Right Vertical Frame.
DIAGRAM 1
8
STEP 2 (See Diagram 2)
A.) Do not tighten the Nuts and Bolts until instructed to do so.
B.) Insert a Guide Rod (#24) into the hole on left Base Frame (#5). Secure it with one M8 x 2
3/8” Allen Bolt (#103), two Ø 5/8” Washers (#106), and one M8 Aircraft Nut (#109). Slide
the Left Lower Safety Stop Frame (#26) onto the Guide Rod, and then slide one Safety
Stop Frame (#25) onto the Guide Rod.
C.) Attach the Front Left Vertical Frame (#1) onto the left Base Frame. Secure it with two M10
x 3 1/8” Allen Bolt (#98), four Ø ¾” Washers (#107), and two M10 Aircraft Nuts (#110).
D.) Attach one Upper Side Frame (#7) to the Guide Rod, Front Left Vertical Frame, and Rear
Left Vertical Frame (#3).
E.) Secure the Upper Side Frame to Rear Left Vertical Frame from side with one M10 x 2 ½”
Carriage Bolt (#88), one Ø ¾” Washer (#107), and one M10 Aircraft Nut (#110). Secure it
from rear with one M10 x 5/8” Allen Bolt (#87) and one Ø ¾” Washer (#107).
F.) Secure the Upper Side Frame to the Guide Rod with one M10 x ¾” Allen Bolt (#90), and
one Ø ¾” Washer (#107).
G.) Secure the Upper Side Frame to the Front Left Vertical Frame with one Left Chin-up
Bracket (#49), two M10 x ¾” Allen Bolts (#90) and two Ø ¾” Washers (#107).
H.) Repeat B to G above to install the other side.
I.) Attach the Chin-up Bar (#30) to the Left and Right Chin-up Bracket (#49 & #50). Secure
each end of Chin-up Bar with two M10 x 1 5/8” Carriage Bolts (#86), two Ø ¾” Washers
(#107), and two M10 Aircraft Nuts (#110).
9 DIAGRAM 2

10
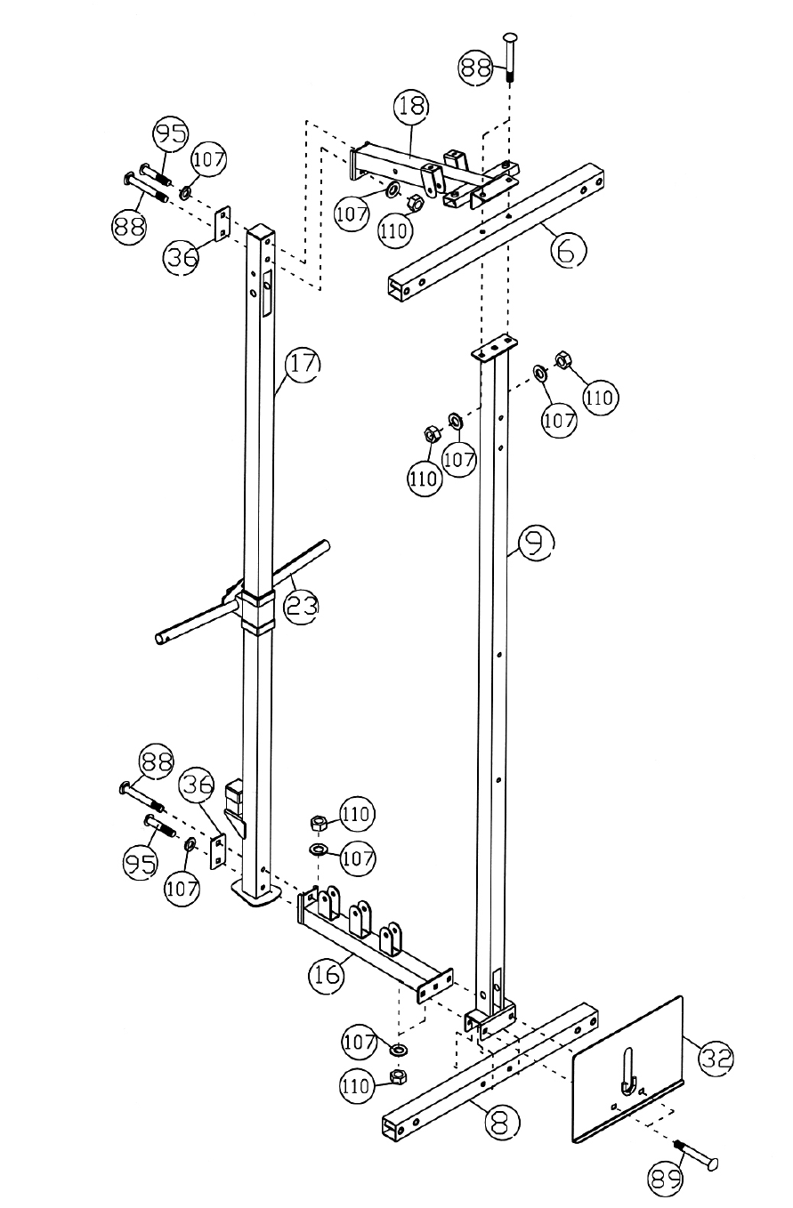
STEP 3 (See Diagram 3)
A.) Do not tighten all Nuts and Bolts until instructed to so.
B.) Attach the Middle Vertical Frame (#9) under the Rear Top Beam (#6) and onto the Rear
Base Frame (#8).
C.) Attach the Lower Pulley Frame (#16) to the Middle Vertical Frame from rear. Attach the
Foot Plate (#32) to the Middle Vertical Frame from front. Secure them together with two
M10 x 3” Carriage Bolts (#89), two Ø ¾” Washers (#107), and two M10 Aircraft Nuts
(#110).
D.) Attach the Weight Glide Post (#17) to rear of Lower Pulley Frame. Secure the top hole
with one 3 1/8” x 1 ¾” Bracket (#36), one M10 x 2 ½” Carriage Bolt (#88), one Ø ¾”
Washer (#107), one M10 Aircraft Nut (#110). Secure the lower hole with one M10 x 2 ½”
Allen Bolt (#95) and one Ø ¾” Washer (#107).
E.) Slide the Sliding Weight Post (#23) to the Weight Glide Post from top. Make sure the
triangular bracket on Sliding Weight Post is facing upward.
F.) Attach the Rear Upper Frame (#18) to Weight Glide Post. Secure the lower hole with one
3 1/8” x 1 ¾” Bracket (#36), one M10 x 2 ½” Carriage Bolt (#88), one Ø ¾” Washer (#107),
one M10 Aircraft Nut (#110). Secure the top hole with one M10 x 2 ½” Allen Bolt (#95) and
one Ø ¾” Washer (#107).
G.) Attach the Rear Upper Frame to the Rear Top Beam (#6). Secure Rear Upper Frame,
Rear Top Beam, and Middle Vertical Frame together with two M10 x 2 ½” Carriage Bolts
(#88), two Ø ¾” Washers (#107), and two M10 Aircraft Nuts (#110).
H.) Securely tighten all Nuts and Bolts installed in Step-1, Step-2, and Step-3.
11
DIAGRAM 3

12
STEP 4 (See Diagram 4)
A.) Attach the Butterfly Base (#11) to the front of Middle Vertical Frame (#9). Attach the
Butterfly Pulley Bracket (#14) to the Middle Vertical Frame. Secure them together with two

M10 x 2 ½” Carriage Bolts (#88), two Ø ¾” Washers (#107), and two M10 Aircraft Nuts
(#110).
B.) Attach the Butterfly Stopper (#31) to Butterfly Base. Secure it with two M6 x 3/8” Allen Bolts
(#58).
C.) Attach the Backrest Board (#39) to Middle Vertical Frame. Secure it with two M8 x 2 3/8”
Allen Bolts (#103) and two Ø 5/8” Washers (#106). DIAGRAM 4
13
STEP 5 (See Diagram 5)
A.) Insert the pivot on the Right Butterfly (#13) into the hole on the Butterfly Base from bottom.
Secure it with one Lock Ring (#35), one Ø ¾” Washer (#107), and one M10 x 5/8” Allen Bolt

(#87). Push the Butterfly Arm Foam Roll (#64) to Right Butterfly. Repeat same step to install
the Left Butterfly (#12).
B.) Insert two Swivel Pulley Brackets (#15) into the holes on the Butterfly Pulley Bracket (#14).
Secure each Swivel Pulley Bracket with one M12 x 5” Hex Bolt (#100), two Ø 1” Washer
(#108), and one M12 Aircraft Nut (#111). Do not over tighten the Nuts. Make sure the
Brackets are able to swivel. DIAGRAM 5
14
CABLE LOOP DIAGRAM

15
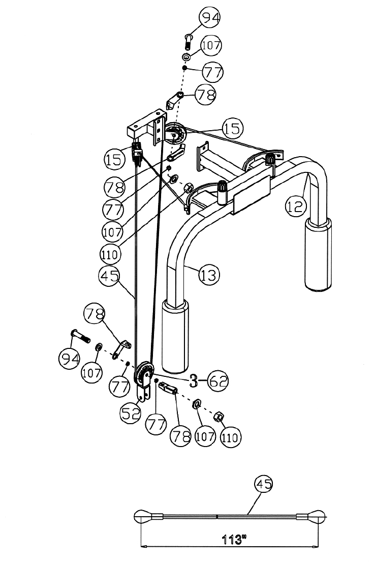
STEP 6 (See Diagram 6 & Cable Loop Diagram)
A.) Attach one end of 113” Butterfly Cable (#45) to the clip on Left Butterfly (#12). Draw the Cable to
the left Swivel Pulley Bracket (#15).

B.) Attach a Pulley (#62) and two Cable Retainers (#78) to the Bracket.
C.) Secure them with one M10 x 2” Allen Bolt (#94), two Ø ¾” Washers (#107), and one M10 Aircraft
Nut (#110).
D.) Draw the Cable around the Pulley then downward. Attach an Angled Floating Pulley Bracket (#52)
to the Cable. Repeat Procedure B above to install a Pulley with two Cable Retainers (#78). Draw
the Cable around the Pulley then upward to the right Swivel Pulley Bracket. Let the Bracket
hanging for now.
E.) Repeat Procedure C above to install a Pulley and Cable Retainers to the Bracket.
F.) Draw the Cable around the Pulley then clip to the Right Butterfly (#13).
16
STEP 7 (See Diagram 7-1, 7-2 & Upper Cable Loop Diagram)
A.) Attach the two Cross-over Swivel Pulley Brackets (#10) to left and right Upper Side Frame
(#7). Secure each Bracket with four M8 x 3/8” Allen Bolts (#101) and four Ø 5/8” Washers
(#106).
B.) Remove the U-shaped Connector, Big Washer, and Ball Stopper from one end of 266”
Upper Cable (#47).
C.) Attach a Pulley (#62) to the left Swivel Bracket and secure it with one M10 x 1 ¾” Allen Bolt
(#93), two Ø ¾” Washers (#107), and one M10 Aircraft Nut (#110).
D.) Insert the end of Cable through the left Cross-over Swivel Pulley Bracket (#10). Draw the
Cable over the Pulley and pull it towards the back of the machine.
E.) Attach a Cable Roller (#42) to the left Cross-over Swivel Pulley Bracket (#10). Secure it with
one M8 x 1 5/8” Allen Bolt (#102), two Ø 5/8” Washers (#106), and one M8 Aircraft Nut
(#109).
F.) Attach a Small Pulley (#63) to the opening on the left Upper Side Frame. Secure it with one
M10 x 2 ¾” Allen Bolt (#97), two Ø ¾” Washers (#107), and one M10 Aircraft Nut (#110).
Draw the Cable around the top of the Small Pulley.
G.) Attach another Small Pulley (#63) to the opening next to the Small Pulley installed in F.
Repeat F to install the Small Pulley. Draw the Cable under the Small Pulley to an open
pulley shaft.
H.) Attach a Pulley (#62) to the open pulley shaft. Secure it with one M10 x 1 ¾” Allen Bolt
(#93), one Ø ¾” Washer (#107), and one Cable Retainer (#78).
I.) Draw the Cable around the Pulley then to an open pulley shaft on Rear Upper Frame (#18).
Attach a Pulley to the open shaft. Secure it with one M10 x 2 ¾” Allen Bolt (#97), two Ø ¾”
Washers (#107), one Cable Retainer (#78), and one M10 Aircraft Nut (#110).
J.) Draw the Cable around the Pulley and to the open bracket on the Rear Upper Frame (#18).
Attach a Pulley to the bracket. Secure it with one M10 x 5” Allen Bolt (#99), one Cable
Retainer (#78), two Ø ¾” Washers (#107), and one M10 Aircraft Nut (#110).
K.) Draw the Cable around the Pulley and downward. Attach a Pulley to a Single Floating Pulley
Bracket (#34). Secure the Pulley with one M10 x 2” Allen Bolt (#94), two Ø ¾” Washers
(#107), two Cable Retainers (#78), and one M10 Aircraft Nut (#11). Draw the Cable upward
to the open bracket one the other side on Rear Upper Frame (#18). Let the Pulley hanging
for now.
L.) Remove the Nut and Washer installed in J. Attach a Pulley onto the Allen Bolt (#99), then
attach a Cable Retainer (#78) to the Pulley, and secure with the removed Washer and Nut.
M.) Draw the Cable to open shaft on Rear Upper Frame. Repeat I to install a Pulley.
N.) Draw the Cable to an open pulley shaft. Repeat H to install a Pulley.
O.) Draw the Cable to the opening on the right Upper Side Frame. Repeat F to install two Small
Pulleys #63).
P.) Draw the Cable through the right Cross-over Swivel Pulley Bracket. Repeat E to install a
Cable Roller (#42).
Q.) Re-install the Ball Stopper; Big Washer, and the U-shaped Connector previously removed in
A above. Connect a Single Handle (#79) to each end of the Cable with a Hook (#73). Secure
each Hook with one M10 x 1 1/8” Allen Bolt (#92) and M10 Aircraft Nut (#110).
17
DIAGRAM 7-1

18
DIAGRAM 7-2

19
UPPER CABLE (#47) LOOP DIAGRAM

20
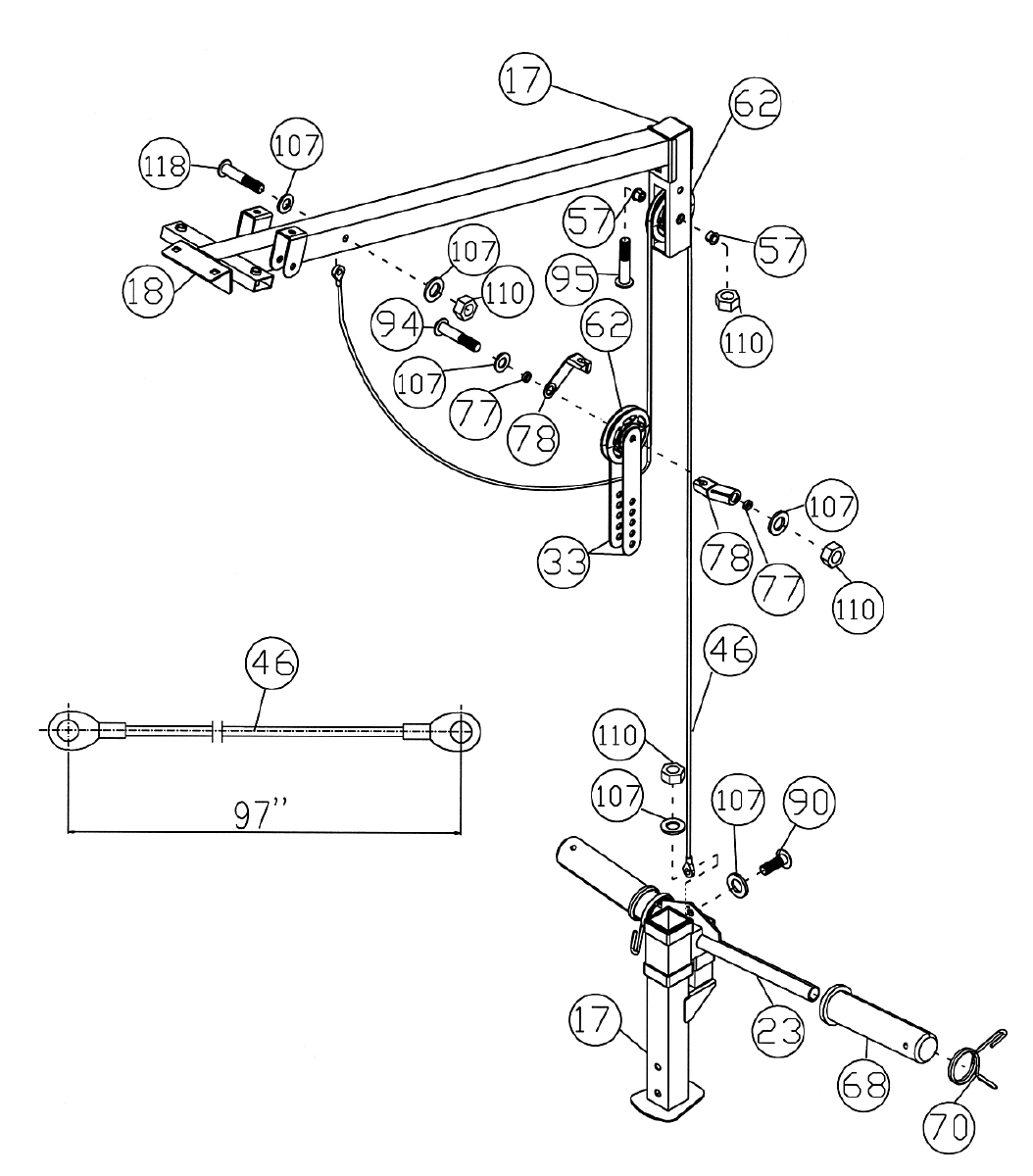
STEP 8 (See Diagram 8 & Cable Loop Diagram)
A.) Attach one end of the 97” Sliding Weight Post Cable (#46) to the Rear Upper Frame (#18).
Secure it with one M10 x 2 3/8” Allen Bolt (#118), two Ø ¾” Washers (#107), and one M10
Aircraft Nut (#110).
B.) Attach a Pulley (#62) to top holes on the two Double Floating Pulley Brackets (#33). Secure
the Pulley with one M10 x 2” Allen Bolt (#94), two Cable Retainers (#78), two Ø ¾” Washers
(#107), and one M10 Aircraft Nut (#11). Draw the Cable around the Pulley upward to the
opening on the Weight Glide Post (#17). Let the Pulley hanging for now.
C.) Attach a Pulley to the opening. Secure it with one M10 x 2 ½” Allen Bolt (#95), two Ø 1” x ½”
Pulley Bushings (#57), and one M10 Aircraft Nut (#110).
D.) Draw the Cable around the Pulley and then downward to the triangular bracket on Sliding
Weight Post (#23). Secure the end of Cable to the bracket with one M10 x ¾” Allen Bolt
(#90), two Ø ¾” Washers (#107), and one M10 Aircraft Nut (#110).
E.) Attach two Weight Post Olympic Sleeves (#68) onto the Sliding Weight Post. Attach a
Spring Clip to each Sleeve.
21

DIAGRAM 8
22
STEP 9 (See Diagram 9)
A.) Draw the 152” Lower Cable (#44) through the opening on Foot Plate (#32) to the opening on
bottom of Middle Vertical Frame (#9).
B.) Attach a Pulley (#62) to the opening. Secure it with one M10 x 2 ½” Allen Bolt (#95), two Ø
1” x ½” Pulley Bushings (#57), and one M10 Aircraft Nut (#110).
C.) Draw the Cable under the Pulley and then upward to the Angled Floating Pulley Bracket
(#52) previously installed in Step-6.
D.) Attach a Pulley to the Bracket. Secure it with one M10 x 2” Allen Bolt (#94), two Ø ¾”
Washers (#107), two Cable Retainers (#78), and one M10 Aircraft Nut (#110).
E.) Draw the Cable around the Pulley and then downward to the first open bracket on Lower
Pulley Frame (#16).
F.) Attach a Pulley to the bracket. Secure it with one M10 x 2” Allen Bolt (#94), two Ø ¾”
Washers (#107), one Cable Retainer (#78), and one M10 Aircraft Nut (#110).
G.) Draw the Cable under the Pulley through the next open bracket and then to the third open
bracket. Repeat F to install a Pulley.
H.) Draw the Cable around the Pulley and then upward to the Double Floating Pulley Brackets
(#33) previously installed in Step-8.
I.) Repeat D to install a Pulley.
J.) Draw the Cable around the Pulley then downward to the middle open bracket on Lower
Pulley Frame. Repeat D to install a Pulley.
K.) Draw the Cable around the Pulley then upward to the Single Floating Pulley Bracket (#34)
installed in Step-7. Secure the end of Cable to the Bracket with one M10 x 1” Allen Bolt
(#91), two Ø ¾” Washers (#107), and one M10 Aircraft Nut (#110).
L.) Move the lower Pulley position on the Double Floating Pulley Brackets will adjust the tension
of the whole Cable system. Move up the Pulley will increase the tension. Move down the
Pulley will loosen the tension.
M.) Attach the Shiver Bar (#54) to the Lower Cable with one 15-link Chain (#72) and two Hooks
(#73). Replace the Shiver Bar with Ankle Strap (#75) or Triceps Rope (#53) for various
exercises.
23

DIAGRAM 9
24

STEP 10 (See Diagram 10)
A.) NOTE: Help of another person is strongly recommended for this step. Place the Lifting
Sleeve (#28) in between the two Safety Stop Frames (#25). Align the holes. Insert the
Weight Bar (#29) into the Safety Stop Frame from one end and through the Lifting Sleeve to
the other Safety Stop Frame on the opposite side. Secure the Weight Bar to Safety Stop
Frame with four M8 x 3/8” Allen Screws (#104) pre-installed on the Safety Stop Frame.
B.) Turn the safety catch hook on the Lifting Sleeve forward to secure its position on the
selected slots on the Front Left & Right Vertical Frames (#1 & #2). Attach a Weight Bar
Olympic Sleeve (#69) to each end of the Weight Bar. Attach a Spring Clip (#70) to the
Sleeve.
C.) Attach four Weight Posts (#38) to the Rear Left & Right Vertical Frames (#3 &4). Secure
each Weight Post with one M10 x ¾” Allen Bolt (#90) and one Ø ¾” Washer (#107).
D.) Attach four Weight Post Olympic Sleeves (#68) to the Weight Posts. Attach Spring Clips
(#70) to the sleeves. Insert the Left & Right Bar Holders (#21 & 22), the Left & Right Safety
Catches (#19 & 20) into the selected holes on the Front Left & Right Vertical Frames.
25

26
SMITH MACHINE PARTS LIST
KEY NO. DESCRIPTION Q’ty
1 Front Left Vertical Frame 1 61 1 ½” Square End Cap 1
2 Front Right Vertical Frame 1 62 Pulley 20
3 Rear Left Vertical Frame 1 63 Small Pulley 4
4 Rear Right Vertical Frame 1 64 Butterfly Arm Foam Roll 2
5 Base Frame 2 65 1 ¾” Square End Cap 5
6 Rear Top Beam 1 66 Left Safety Rubber Bumper 1
7 Upper Side Frame 2 67 Right Holder Rubber Bumper 1
8 Rear Base Frame 1 68 Weight Post Olympic Sleeve 6
9 Middle Vertical Frame 1 69 Weight Bar Olympic Sleeve 2
10 Cross-over Swivel Pulley Bracket 2 70 Spring Clip 8
11 Butterfly Base 1 71 2” x 1 ¾” End Cap 2
12 Left Butterfly 1 72 15-link Chain 1
13 Right Butterfly 1 73 Hook 4
14 Butterfly Pulley Bracket 1 74 Rivet 24
15 Swivel Pulley Bracket 2 75 Ankle Strap 1
16 Lower Pulley Frame 1 76 6” Grip 2
17 Weight Glide Post 1 77 Cable Retainer Bushing 24
18 Rear Upper Frame 1 78 Cable Retainer 24
19 Left Safety Catch 1 79 Single Handle 2
20 Right Safety Catch 1 80 Ø 2” x 1 5/8” Sleeve 8
21 Left Bar Holder 1 81 Ø 5/8” End Cap 36
22 Right Bar Holder 1 82 Ø ¾” End Cap 2
23 Sliding Weight Post 1 83 Ø ¾” x 2” End Cap 2
24 Guide Rod 2 84 Ø 1” End Cap 8
25 Safety Stop Frame 2 85 Ø 1 ½” End Cap 2
26 Left Lower Safety Stop Frame 1 86 M10 x 1 5/8” Carriage Bolt 4
27 Right Lower Safety Stop Frame 1 87 M10 x 5/8” Allen Bolt 4
28 Lifting Sleeve 1 88 M10 x 2 ½” Carriage Bolt 8
29 Weight Bar 1 89 M10 x 3” Carriage Bolt 2
30 Chin-up Bar 1 90 M10 x ¾” Allen Bolt 15
31 Butterfly Stopper 1 91 M10 x 1” Allen Bolt 1
32 Foot Plate 1 92 M10 x 1 1/8” Allen Bolt 2
33 Double Floating Pulley Bracket 2 93 M10 x 1 ¾” Allen Bolt 4
34 Single Floating Pulley Bracket 1 94 M10 x 2” Allen Bolt 10
35 Lock Ring 2 95 M10 x 2 ½” Allen Bolt 12
36 3 1/8” x 1 ¾” Bracket 2 96 M8 x ¼” Allen Screw 4
37 Rotating Handle 1 97 M10 x 2 ¾” Allen Bolt 6
38 Weight Post 4 98 M10 x 3 1/8” Allen Bolt 4
39 Backrest Board 1 99 M10 x 5” Allen Bolt 1
40 2 5/8” x 1 ½” Rubber Bumper 2 100 M12 x 5” Hex Bolt 2
41 Ø 1 ½” x Ø 1” Guide Bushing 2 101 M8 x 3/8” Allen Bolt 8
42 Cable Roller 2 102 M8 x 1 5/8” Allen Bolt 2
43 Upper Cable Sleeve 2 103 M8 x 2 3/8” Allen Bolt 4
44 152” Lower Cable 1 104 M8 x 3/8” Allen Screw 4
45 113” Butterfly Cable 1 105 ST4.0 Philips Screw 16
46 97” Rear Vertical Cable 1 106 Ø 5/8” Washer 18
47 266” Upper Cable 1 107 Ø ¾” Washer 104
48 2 ¾” x 2” Base Frame End Cap 2 108 Ø 1” Washer 4
49 Left Chin-up Bracket 1 109 M8 Aircraft Nut 4
50 Right Chin-up Bracket 1 110 M10 Aircraft Nut 52
51 Front Vertical Frame Panel 2 111 M12 Aircraft Nut 2
52 Angled Floating Pulley Bracket 1 112 Plastic Ring 2
53 Triceps Rope 1 113 V-Bar 1
54 Shiver Bar 1 114 Right Safety Rubber Bumper 1
55 Rotate Ring 4 115 Right Holder Rubber Bumper 1
56 Ø 1 ½” x 7/8” Bushing 4 116 Ø 1” Cone-shaped End Cap 4
57 Ø 1” x ½” Pulley Bushing 4 117 2” Square End Cap 1
58 M6 x 3/8” Allen Bolt 2 118 M10 x 2 3/8” Allen Bolt 1
59 Ø 1 ½” x Ø ½” Spacer 1
60 1 5/8” x ¾” End Cap 2 27

MULTI-PURPOSE BENCH HARDWARE PACK
NOTE: The following parts are not drawn to scale. Please use your own ruler to measure the size.
28

MULTI-PURPOSE BENCH HARDWARE PACK
NOTE: The following parts are not drawn to scale. Please use your own ruler to measure the size.
29

MULTI-PURPOSE BENCH ASSEMBLY INSTRUCTION
Tools Required for Assembling the Machine: Two Adjustable Wrenches and Allen
Wrenches. NOTE: It is strongly recommended that this machine be assembled by two or
more people to avoid possible injury.
STEP 1 (See Diagram 1)
A.) Do not tighten Nuts and Bolts until instructed to do so.
B.) Attach the Front Post (#2) to the Front Stabilizer (#9). Secure it with two M10 x 2 ½” Carriage
Bolts (#28), two Ø ¾” Washers (#35), and two M10 Aircraft Nuts (#37).
C.) Attach the Main Frame (#1) to Front Post. Secure it with two M10 x 2 ¾” Carriage Bolts
(#25), two Ø ¾” Washers (#35), and two M10 Aircraft Nut (#37) from side. Secure it with one
M10 x 2 ½” Carriage Bolt (#28), one Ø ¾” Washer (#35), and one M10 Aircraft Nut (#37)
from top.
D.) Attach the other end of Main Frame to the Rear Stabilizer (#3). Secure it with two M10 x 2 ½”
Carriage Bolts (#28), two Ø ¾” Washers (#35), and two M10 Aircraft Nuts (#37).
E.) Securely tighten all Nuts and Bolts. DIAGRAM 1
30

STEP 2 (See Diagram 2)
A.) Attach the Incline Support (#8) to the middle side holes on the two Backrest Supports (#7). Secure it
with one M10 x 6 7/8” Allen Bolt (#26), two Ø ¾” Washers (#35), and one M10 Aircraft Nut (#37).
Do not tighten the Nut and Bolt yet.
B.) Attach the bottom side holes on Backrest Supports to the pivot on Main Frame (#1). Secure it with
one M10 x 6 7/8” Allen Bolt (#26), two Ø ¾” Washers (#35), and one M10 Aircraft Nut (#37).
Securely tighten Nut and Bolt in A & B.
C.) Attach two Seat Brackets (#4) to the Main Frame. Secure each Seat Bracket with one M8 x 2 ¾”
Allen Bolt (#27), two Ø 5/8” Washers (#36), and one M8 Aircraft Nut (#33).
DIAGRAM 2
31

STEP 3 (See Diagram 3)
A.) Place the Backrest Board (#11) onto the Backrest Supports (#7). Secure it with four
M8 x 1 5/8” Allen Bolts (#32) and 5/8” Washers (#36).
B.) Place the Seat Pad (#10) onto the two Seat Brackets (#4). Secure it with four M8 x 1
1/8” Allen Bolts (#31) and 5/8” Washers (#36). DIAGRAM 3
32

STEP 4 (See Diagram 4)
A.) Attach the Leg Developer (#5) to the open bracket on the Front Post (#2). Secure it with one
M10 x 3” Allen Bolt (#29), two ¾” Washers (#35), and one M10 Aircraft Nut (#37).
B.) Insert the Leg Developer Weight Post (#6) into the hole on Leg Developer. Secure it with one
M10 x 2 3/8” Allen Bolt (#30), two Ø ¾” Washers (#35), and one M10 Aircraft Nut (#37). Cover
the end of the Post with one Ø 1” x Ø 3/8” Washer (#38) and one Ø 1 1/8” x 1 1/8” Rubber
Bumper (#20).
C.) Insert three Foam Tubes (#13) halfway through the holes on Front Post and Leg Developer.
Push six Foam rolls (#14) onto the Tubes from both ends. Plug six Foam Roll End Caps (#16)
into the Ends.
D.) Attach an Olympic Sleeve (#15) onto the Leg Developer Weight Post. Attach a Spring Clip (#21)
to the Olympic Sleeve.
DIAGRAM 4

33
34
MULTI-PURPOSE BENCH PARTS LIST
KEY NO. DESCRIPTION Q’ty
1 Main Frame 1
2 Front Post 1
3 Rear Stabilizer 1
4 Seat Bracket 2
5 Leg Developer 1
6 Leg Developer Weight Post 1
7 Backrest Support 2
8 Incline Support 1
9 Front Stabilizer 1
10 Seat Pad 1
11 Backrest Board 1
12 5/8” x 1 1/8” End Cap 4
13 Foam Tube 3
14 Foam Roll 6
15 Olympic Sleeve 1
16 Foam Roll End Cap 6
17 2” Square End Cap 4
18 1 ¾” Square End Cap 3
19 2” Flat End Cap 1
20 Ø 1 1/8” x 1 1/8” Rubber Bumper 1
21 Spring Clip 1
22 1” Square End Cap 2
23 Incline Support Grip 1
24 Ø ¾” Bushing 4
25 M10 x 2 ¾” Carriage Bolt 2
26 M10 x 6 7/8” Allen Bolt 2
27 M8 x 2 ¾” Allen Bolt 2
28 M10 x 2 ½” Carriage Bolt 5
29 M10 x 3” Allen Bolt 1
30 M10 x 2 3/8” Allen Bolt 1
31 M8 x 1 1/8” Allen Bolt 4
32 M8 x 1 5/8” Allen Bolt 4
33 M8 Aircraft Nut 2
34 Ø 1” End Cap 1
35 Ø ¾” Washer 15
36 Ø 5/8” Washer 12
37 M10 Aircraft Nut 11
38 Ø 1” x Ø 3/8” Washer 1
6# Allen Wrench (Tool) 1
5# Allen Wrench (Tool) 1
35

SM-4008 WEIGHT RESISTANCE CHART
Station Ratio Example
Low Pulley 100% 10 lb. plate creates 10 lb. resistance
Butterfly (both arms) 100% 10 lb. plate creates 5 lb. resistance
Left Cross-Over 50% 10 lb. plate creates 5 lb resistance
Right Cross-Over 50% 10 lb. plate creates 5 lb resistance
*Numbers are approximate. Actual resistance may vary.
36

IMPEX® INC.
LIMITED WARRANTY
IMPEX Inc. ("IMPEX®") warrants this product to be free from defects in workmanship and material, under normal
use and service conditions, for a period of two years on the Frame from the date of purchase. This warranty
extends only to the original purchaser. IMPEX's obligation under this Warranty is limited to replacing or
repairing, at IMPEX's option.
All returns must be pre-authorized by IMPEX. Pre-authorization may be obtained by calling IMPEX Customer
Service Department at 1-800-999-8899. All freights on products returned to IMPEX must be prepaid by the
customer. This warranty does not extend to any product or damage to a product caused by or attributable to
freight damage, abuse, misuse, improper or abnormal usage or repairs not provided by an IMPEX authorized
service center or for products used for commercial or rental purposes. No other warranty beyond that
specifically set forth above is authorized by IMPEX.
IMPEX is not responsible or liable for indirect, special or consequential damages arising out of or in connection
with the use or performance of the product or other damages with respect to any economic loss, loss of property,
loss of revenues or profits, loss of enjoyments or use, costs of removal, installation or other consequential
damages or whatsoever natures. Some states do not allow the exclusion or limitation of incidental or
consequential damages. Accordingly, the above limitation may not apply to you.
The warranty extended hereunder is in lieu of any and all other warranties and any implied warranties of
merchantability or fitness for a particular purpose is limited in its scope and duration to the terms set forth herein.
Some states do not allow limitations on how long an implied warranty lasts. Accordingly, the above limitation
may not apply to you.
This warranty gives you specific legal right. You may also have other rights which vary from state to state.
Register on-line at www.impex-fitness.com
IMPEX® INC.
2801 S. Towne Ave.
Pomona, CA 91766
ORDERING REPLACEMENT PARTS
Replacement parts can be ordered by calling our Customer Service Department toll-free at 1-800-999-8899
during our regular business hours: Monday through Friday, 9 am until 5 pm Pacific standard time.
info@impex-fitness.com
When ordering replacement parts, always give the following information.
1. Model
2. Description of Parts
3. Part Number
4. Date of Purchase
37