Innovation technology JDY-18 Bluetooth module User Manual
Shenzhen Innovation technology Co., Ltd. Bluetooth module Users Manual
User manual

Bluetooth 4.2 BLE
module
JDY-18 Bluetooth module usage manual

JDY-18 High Speed Transparent Transmission Bluetooth Module
Technical support QQ: 3411947569 email: 3411947569@qq.com
Version
Version Date Instruction
V1.5 2017-11-12 Release version

JDY-18 High Speed Transparent Transmission Bluetooth Module
Technical support QQ: 3411947569 email: 3411947569@qq.com
Content
1. Product brief introduction ........................................................................................
2. Debugging tools ......................................................................................................
3. Module parameter details ........................................................................................
Module parameter ...................................................................................................
Dimensions ..............................................................................................................
Serial port AT instruction set ...................................................................................
4. AT instruction introduction .......................................................................................
APP permissions Settings / queries ........................................................................
Soft reset .................................................................................................................
Settings / queries - Device type ..............................................................................
Restore factory configuration (revert to the factory default configuration
parameters) .............................................................................................................
Settings / queries boot sleep and wake up read & write.........................................
Settings / queries - Sleep instruction ......................................................................
Settings / queries - Baud rate .................................................................................
Settings- Disconnect ...............................................................................................
Settings / queries - Broadcast switch ......................................................................
Settings / queries - Module work pattern ................................................................
Settings / queries - Broadcast interval ....................................................................
Settings / queries - Broadcast name .......................................................................
Settings / queries - MAC address ...........................................................................
Settings / queries - Transmit power ........................................................................
Settings / queries - iBeacon UUID ..........................................................................
Settings / queries - iBeacon Major ..........................................................................
Settings / queries - iBeacon Minor ..........................................................................
Settings / queries - iBeacon IBSING .......................................................................
Query - Version number ..........................................................................................
Settings / queries - Manufacturer identification code ..............................................
Settings / queries - Password connection switch ...................................................
Settings / queries - Password connection ...............................................................
Settings / queries - Service UUID ...........................................................................
Settings / queries - Feature UUID ...........................................................................
Setting - Master scan ..............................................................................................
Master connect the scanned list address ...............................................................
Settings / queries - Master binding MAC address ..................................................
Setting - Master cancels binding .............................................................................
Settings / queries - Connection state ......................................................................
Settings / queries - RTC year/month/time/minute/second ......................................
Settings / queries - RTC switch ...............................................................................
Settings / queries - WeChat H5 or server selection ................................................
Settings / queries - PWM frequency .......................................................................
Settings / queries - Open & close PWM .................................................................

JDY-18 High Speed Transparent Transmission Bluetooth Module
Technical support QQ: 3411947569 email: 3411947569@qq.com
Settings / queries - PWM1 pulse width ...................................................................
Settings / queries - PWM2 width .............................................................................
Settings / queries - PWM3 width .............................................................................
Settings / queries - PWM4 width .............................................................................
Settings / queries - Serial port parity check bit .......................................................
Settings / queries - WeChat (automatic, manual) test mode ..................................
Settings / queries - Broadcast indicating LED lights ...............................................
Settings - from module IO .......................................................................................
Settings / queries - Module communication enable with low rate BLE ...................
Settings / queries - APP writes UUID ......................................................................
Settings - WeChat sport (step data, distance, calories) .........................................
Settings - WeChat sport (target) .............................................................................
5. IIC communication format .......................................................................................
IIC data communication read write format ..............................................................
IIC register address table ........................................................................................
APP control authority register .................................................................................
Reset register ..........................................................................................................
Search version number register ..............................................................................
Restore the factory configuration register ...............................................................
Sleep register ..........................................................................................................
MAC address register .............................................................................................
Disconnect register .................................................................................................
Working status register............................................................................................
Operating mode register .........................................................................................
Sleep mode register ................................................................................................
Master scanner slave register .................................................................................
Master binding slave register ..................................................................................
Gets the number register of the master scan slave ................................................
Master connect slave register .................................................................................
Master connect slave MAC register ........................................................................
Broadcast name register .........................................................................................
Broadcast name length register ..............................................................................
Broadcast interval register ......................................................................................
Broadcast switch register ........................................................................................
Broadcast switch register ........................................................................................
Broadcast indication LED lamp register ..................................................................
Connection password switch register .....................................................................
Connection password register ................................................................................
Device type register ................................................................................................
Manufacturer identification register .........................................................................
iBeacon UUID register ............................................................................................
iBeacon MAJOR register .........................................................................................
iBeacon MINOR register .........................................................................................
iBeacon IBSING register .........................................................................................

JDY-18 High Speed Transparent Transmission Bluetooth Module
Technical support QQ: 3411947569 email: 3411947569@qq.com
Bluetooth service UUID register ..............................................................................
Bluetooth featuresUUID register .............................................................................
RTC switch register .................................................................................................
RTC time read-write register ...................................................................................
PWM frequency register ..........................................................................................
PWM switch register ...............................................................................................
PWM1 pulse width register .....................................................................................
PWM2 pulse width register .....................................................................................
PWM3 pulse width register .....................................................................................
PWM4 pulse width register .....................................................................................
APP transparent transmission register ...................................................................
APP send data length register ................................................................................
APP send data register ...........................................................................................
Master searches the list of slave MAC addresses ..................................................
6. Mobile phone instruction .........................................................................................
APP UUID list ..........................................................................................................
APP command usage instructions (IO) ...................................................................
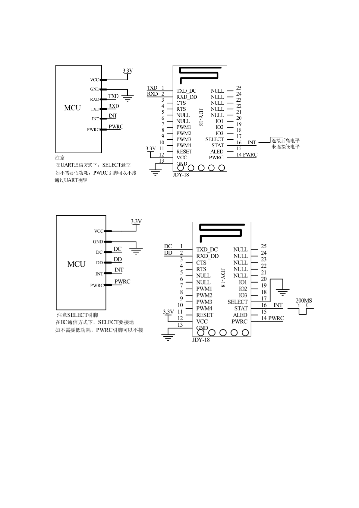
7. JDY-18 basic application wiring diagram ................................................................
Wiring diagram of serial port communication mode ...............................................
Wiring diagram of IIC communication mode ...........................................................
IO control wiring diagram ........................................................................................
PWM control wiring diagram ...................................................................................

JDY-18 High Speed Transparent Transmission Bluetooth Module
Technical support QQ: 3411947569 email: 3411947569@qq.com
1.Product brief introduction
The JDY-18 transmission module is based on Bluetooth 4.2 standard, the working
frequency is 2.4GHZ, the modulation mode is GFSK, the maximum transmission power is
0db, and the maximum transmission distance is 60 meters, using imported original chip
design, which supports users to modify the name of the device, service UUID, transmit
power, pairing passwords and other instructions through the AT command, convenient
and flexible to use.
JDY-18 Bluetooth module can realize data transmission between module and mobile
phone or module and module, and can select UART or IIC communication mode through
IO, and through simple configuration, you can quickly use BLE Bluetooth for product
applications.
Make BLE be faster and more convenient in product application.

JDY-18 High Speed Transparent Transmission Bluetooth Module
Technical support QQ: 3411947569 email: 3411947569@qq.com
2. Debugging tools
2.1:APP tools (IOS and Android share a two-dimensional code)
Use WeChat scan and select in the upper right to open in the browser.
2.2 Serial port tool (data package attached)
2.3:WeChat Airsync debugging tool (data package attached)
This APK is the official WeChat Airsync testing tool.

JDY-18 High Speed Transparent Transmission Bluetooth Module
Technical support QQ: 3411947569 email: 3411947569@qq.com
3. Module parameter details
Module parameter
JDY-18 product parameters
Model JDY-18
Working frequency band 2.4G
Transmit power 0db (Max)
Communication interface UART or IIC
Working voltage 1.8V – 3.6V
Working temperature -40℃ - 80℃
Antenna Built in PCB antenna
Receiving sensitivity -97dbm
Transmission distance 60 meters
Module size 19.6mm * 14.94 *2.6
Bluetooth version BLE 4.2 (compatible with BLE4.0, BLE4.1)
Transparent transmission rate 115200 bps/s
Wake-up status current 4mA (Broadcast)
Light sleep status current <300uA (Broadcast)
Deep sleep status current 1.8uA (No broadcast)
Instruction parameter saving Parameter configuration power down data is saved
STM welding temperature <300℃

JDY-18 High Speed Transparent Transmission Bluetooth Module
Technical support QQ: 3411947569 email: 3411947569@qq.com
Working current
Description of JDY-18 sleep mode
Sleep mode Instructions Function description
Sleep mode 0 AT+STARTEN0 Mode 0 :Wake up, users need sleep can be
controlled by AT+SLEEP command, wake up can be
controlled by PWRC pin wake-up.
Sleep mode 1
AT+STARTEN1
Mode 1:Boot sleep, wake up after the connection,
disconnect automatically into sleep, note: AT+SLEEP
invalid mode 1, sleep controls sleep by Bluetooth
module itself.
Working mode Broadcast state current Remarks
Wake up Broadcast 4mA Generally communicate with
APP connection, which is
suggested that broadcast
should not set too long, for
which will affect the
connection time. The
broadcast interval is
generally recommended to
be set between 100 to
500mS. If you need to
connect fast and with no
power requirement, the
broadcast intervals can be
set to the shortest.
Deep no
broadcast sleep
No broadcast 1.38uA
Light sleep
broadcast
100mS broadcast interval 280uA
Average power
consumption
200mS broadcast interval 110uA
300mS broadcast interval 30uA
400mS broadcast interval The
following
currents
are much
lower
500mS broadcast interval
600mS broadcast interval
700mS broadcast interval
800mS broadcast interval
900mS broadcast interval
1000mS broadcast interval
Wake up state Connected 4mA In connection state, the
PWRC pin can be pulled
down to send the AT
command or directly set the
operation mode, you can
check the AT+STARTEN
instruction.
Sleep state
Connected
50uA

JDY-18 High Speed Transparent Transmission Bluetooth Module
Technical support QQ: 3411947569 email: 3411947569@qq.com
FAQ
Questions Question answer
1:How does MCU disconnect
Bluetooth connection under
connection state?
In the connection state, the PWRC pin is
pulled down, and the serial port sends
AT+DISC to disconnect the connection
IIC can disconnect the memory address:
0X15 writes 0X01 values to indicate
disconnection
2:Can it write data to the module if
the connection password is
incorrect?
No, it can’t. Only the correct password can
write data to the module
3:How much data can the serial port
write at one time?
No byte limit, 100K can be sent once (master
slave communication)
4:How fast can the fastest
communication rate be reached?
With mobile phone measured 8K Bytes per
second, module master slave
communication can achieve 115200 baud
rate continuous transceiver, and the rate of
115200bps.
5:After configuring parameters by
serial port or IIC, does it need to be
restarted to take effect?
It is recommended to restart when the
module parameters are set.
6:Parameters of serial port or IIC
configuration, is the power up stored
next time?
After saving, configuring, the next power up
is the last configuration parameter.
7:How to test the deep sleep current
of test module?
It is recommended to connect the VCC and
GND pins to test current.
Default parameter configuration for factory
Seque
nce
Function Default
parameters of
factory
Iinstructions
1 Communication mode UART SELECT pin hanging
2 Serial port baud rate 9600 AT+BAUD4
3 Sleep mode Boot wake up AT+STARTEN0
4 Broadcast name JDY-18 AT+NAMEJDY-18
5 Broadcast interval 100MS AT+ADVIN0
6 Master slave mode slave transparent
transmission
AT+HOSTEN0
7 Output status Output status AT+ENLOG1
8 Broadcast LED pin switch On AT+ALED1
9 Transparent transmission
service UUID
0XFFE0 AT+SVRUUIDFFE0
10 Transparent transmission
features UUID
0XFFE1 AT+CHRUUIDFFE1

JDY-18 High Speed Transparent Transmission Bluetooth Module
Technical support QQ: 3411947569 email: 3411947569@qq.com
11 Function configuration
UUID
0XFFE2 Unmodifiable
12 APP write feature UUID 0XFFE3 AT+CRXUUIDFFE3
Special note: Transparent transmission service UUID, transparent transmission features
UUID, APP write feature UUID all support 16 bit or 128 bit UUID.
Pin definition
Pin function description
Pin Function Description
1 TXD_DC SELECT boot to High electrical level, the pin function of this serial port is TXD
SELECT boot to low electrical level, this pin function is IIC DC
2 RXD_DD SELECT boot to High electrical level, the pin function of this serial port is RXD
SELECT boot to low electrical level, this pin function is IIC DD
3 CTS flow control
4 RTS flow control
5 NULL
6 NULL
7 PWM1 Support UART, IIC, APP control
8 PWM2 Support UART, IIC, APP control
9 PWM3 Support UART, IIC, APP control
10 PWM4 Support UART, IIC, APP control
11 RESET Hardware reset pin
12 VCC Power supply (1.8-3.6V)
13 GND Power ground
14 PWRC When the AT instruction is required to be sent in the connection state, the AT
instruction mode can be displayed by maintaining the low electrical level of the

JDY-18 High Speed Transparent Transmission Bluetooth Module
Technical support QQ: 3411947569 email: 3411947569@qq.com
pin. In the unconnected state, this pin is AT command mode regardless of the
high and low electrical levels
15 ALED Broadcast flashes, always bright after connection (master-slave effective)
16 STAT UART communication mode: not connected low electrical level, high electrical
level after connection
IIC communication mode: not connected high electrical level, connection,
disconnect or receive data will work in interrupt mode, interrupt the falling edge
holding time 200ms
17 SELECT UART or IIC select pin
Boot low electrical level: IIC communication mode
Boot high electrical level: UART communication mode
The default SELECT is suspended as high electrical level: UART
communication mode, when the user needs IIC, the SELECT pin is required to
be grounded
18 IO3 High and low electrical level can be controlled by APP
19 IO2 High and low electrical level can be controlled by APP
20 IO1 High and low electrical level can be controlled by APP
21 NULL
22 NULL
23 NULL
24 NULL
25 NULL

JDY-18 High Speed Transparent Transmission Bluetooth Module
Technical support QQ: 3411947569 email: 3411947569@qq.com
Dimensional drawing
Serial port AT instruction set
JDY-18 module serial port send AT instruction must add \r\n, AT does not distinguish case
Seq
uenc
e
Instruction Function Mast
er /
slav
e
Work
mode
Default
1 AT+PERM APP permission configuration S IO、PWM open
2 AT+RESET Reset M/S -
3 AT+ROLE Master-slave setting M/S - slave
4 AT+LADDR Device MAC M/S -
5 AT+BAUD Baud rate M/S - 9600
6 AT+FLOWC Flow control M/S OFF
7 AT+NAME Broadcast name S JDY-18
8 AT+NL Long broadcast name S JDY-18
9 AT+NF Setting broadcast name does
not store FLASH
Power on again, no memory
S
10 AT+CONN Master connect slave M
11 AT+INQ Master scan slave M

JDY-18 High Speed Transparent Transmission Bluetooth Module
Technical support QQ: 3411947569 email: 3411947569@qq.com
12 AT+BAND Master binding slave MAC M 000000000000
13 AT+USTP Serial port stop bit M/S 0
14 AT+SLEEP Sleep M/S
15 AT+PARITY Serial port parity check bit M/S 0
16 AT+PIN Slave connection password S 123456
17 AT+STARTEN Start working mode M/S 0
18 AT+DEFAULT Restore factory configuration M/S
19 AT+FLOWC Serial port flow control M/S 0
20 AT+VERSION Version number M/S
21 AT+TYPE Slave connection password
switch
M/S 0
22 AT+ WXSVR WeChat Airsync H5 or
server
S transp
arent
trans
missio
n
0
23 AT+WXINEN Manual and automatic test
of WeChat Airsync
S transp
arent
trans
missio
n
0
24 AT+ CLSS Device style S A0
25 AT+VID Manufacturer ID identification code S
26 AT+MAJOR iBeacon MAJOR value S iBeac
on
0A
27 AT+MINOR iBeacon MINOR value S iBeac
on
07
28 AT+IBUUID iBeacon UUID value S iBeac
on
FDA50693A4E
24FB1AFCFC
6EB07647825
29 AT+IBSING iBeacon SING value S iBeac
on
40
30 AT+SVRUUID Bluetooth service UUID M/S transp
arent
trans
missio
n
FFE0
31 AT+CHRUUID Bluetooth feature UUID M/S transp
arent
trans
missio
n
FFE1
32 AT+ADVIN Broadcast interval S 1
33 AT+ADVEN Broadcast switch S 1

JDY-18 High Speed Transparent Transmission Bluetooth Module
Technical support QQ: 3411947569 email: 3411947569@qq.com
34 AT+RTCOPEN RTC switch M/S 0
35 AT+RTCD RTC time read & write M/S 2016-01-01,00:
00:00
36 AT+POWR Transmitting power S 1
37 AT+DISC Disconnect S
38 AT+STAT Connection state M/S 00
39 AT+ENLOG State output enable M/S 0
40 AT+PWMFRE PWM frequency M/S 1000
41 AT+PWMOPE
N
PWM switch M/S 0
42 AT+PWM1PU
S
PWM1 pulse width M/S 10
43 AT+PWM2PU
S
PWM2 pulse width M/S 10
44 AT+PWM3PU
S
PWM3 pulse width M/S 10
45 AT+PWM4PU
S
PWM4 pulse width M/S 10
46 AT+ALED Broadcast indicating LED
switch
M/S Open
47 AT+FUNC Master controls slave IO
or PWM
M
48 AT+NETIN Module communication
enable with low rate BLE
M 0
49 AT+CHRUUID APP writes UUID to
modules
M/S trans
paren
t
trans
missi
on
FFE3
50 AT+WXP WeChat steps, distance,
calories
S
WeCh
at
sport
000000000000
000000
51 AT+WXT WeChat spotr target
(step number)
S 00000000
52 AT+UUIDLEN 16 bit or 128 bit UUID
selection
S 0
Explanation: green characters represent new functions, red bold parts need special
attention

JDY-18 High Speed Transparent Transmission Bluetooth Module
Technical support QQ: 3411947569 email: 3411947569@qq.com
4.AT instruction description
Special note: JDY-18 module serial port instruction AT need to add terminator \r\n
APP permission Settings / queries
Instruction Response Parameter
AT+PERM<Param> +OK Param(5 bit byte)
AT+PERM +PERM=<Param>
Each byte function in 5 bytes is explained in detail
Param(5 bit byte) Function Permission
(Y/N)
Y indicates that APP
has permission control
N indicates APP
without permission
control
Byte1 Can broadcast be modified
by APP?
Default: N
Byte2 Can the connection
password be modified by
APP?
Default: N
Byte3 Can the APP control the IO
electrical level?
Default: Y
Byte4 Can APP control PWM? Default: Y
Byte5 Can APP configure iBeacon
Parameter?
Default: N
The above configuration Parameter sends AT+PERM, returns Parameter is:
+PERM=00110
The example opens the APP settings (broadcast name, IO, PWM) permissions
Send: AT+PERM10110
Soft reset
Instruction Response Parameter
AT+RESET OK None
Settings / queries –device style
Instruction Response Parameter
AT+CLSS<Param> +OK Param(00-FF)
Default: 0xa0
AT+ CLSS + CLSS=<Param>
Restore factory configuration (revert to factory default configuration Parameter)
Instruction Response Parameter
AT+DEFAULT +OK None

JDY-18 High Speed Transparent Transmission Bluetooth Module
Technical support QQ: 3411947569 email: 3411947569@qq.com
Settings / queries-- Boot sleep and wake up reading and writing
Instruction Response Parameter
AT+STARTEN<Param> OK Param:(0-2)
0:Wake up, sleep can be controlled by
AT+SLEEP
1:Boot sleep, connect wake up,
disconnect sleep
2:Boot sleep, connect sleep,
disconnect sleep
Auto wakeup when sending data by
APP or serial port
Default: 0
AT+STARTEN +STARTEN=<Param>
Settings / queries—Sleep Instruction
Instruction Response Parameter
AT+SLEEP<Param> +SLEEP:OK Param:(1-2)
1:light sleep(Broadcast)
2:deep sleep (No
Broadcast)
AT+SLEEP
Settings / queries-- baud rate
Instruction Response Parameter
AT+BAUD<Param> OK Param:(1-9)
1——1200
2——2400
3——4800
4——9600
5——19200
6——38400
7——57600
8——115200
9——230400
Default value: 0
AT+BAUD
+BAUD=<Param>
Setting - disconnect
Instruction Response Parameter
AT+DISC OK None

JDY-18 High Speed Transparent Transmission Bluetooth Module
Technical support QQ: 3411947569 email: 3411947569@qq.com
Settings / queries-- Broadcast switch
Instruction Response Parameter
AT+ADVEN<Param> OK Param:(0-1)
0——Stop Broadcast
1——Open Broadcast
Default value: 1
AT+ADVEN +ADVEN=<Param>
Settings / queries -- Mode work pattern
Instruction Response Parameter
AT+ROLE<Param>
OK Param:(0-3)
0——Slave (APP, WeChat, small
program) transparent transmission
1——Host transparent
transmission mode
3——Slave(iBeacon)mode
Default value: 0
AT+ROLE +AT+ROLE=<Param>
Settings / queries-- Broadcast interval
Instruction Response Parameter
AT+ADVIN<Param>
OK
Param:(0-9)
0——100ms
1——200ms
2——300ms
3——400ms
4——500ms
5——600ms
6——700ms
7——800ms
8——900ms
9——1000ms
Default value: 0
AT+ADVIN
+ADVIN=<Param>
Settings / queries-- Broadcast name
Instruction Response Parameter
AT+NAME<Param> OK Param:Mode Bluetooth name
The longest: 18 bytes
Default name:JDY-18
AT+NAME +NAME=<Param>

JDY-18 High Speed Transparent Transmission Bluetooth Module
Technical support QQ: 3411947569 email: 3411947569@qq.com
Settings / queries—Long Broadcast name
Instruction Response Parameter
AT+NL<Param> OK Param:Mode Bluetooth name
The longest: 18 bytes
Default name:JDY-18
AT+NL +NL=<Param>
Settings / queries— Broadcast name F
Instruction Response Parameter
AT+NF<Param> OK Param:Mode Bluetooth name
The longest: 18 bytes
Default name:JDY-18
AT+NF +NF=<Param>
Settings / queries-- MAC address
Instruction Response Parameter
AT+LADDR<Param> OK Param:MAC address
112233445566
AT+LADDR +LADDR=<Param>
Example of modifying MAC address: AT+MAC112233445566
Settings / queries-- Transmit power
Instruction Response Parameter
AT+POWR<Param> OK Param:(0-1)
0——Negative 16db
1——0db
Default value: 1
AT+POWR +POWR=<Param>
Settings / queries--iBeacon UUID
Instruction Response Parameter
AT+IBUUID<Param> OK Param:Hexadecimal UUID
Default value:
FDA50693A4E24FB1AFCFC6EB07647825
AT+IBUUID +IBUUID=<Param>
hexadecimal data
Example: 41 54 2B 49 42 55 55 49 44 FD A5 06 93 A4 E2 4F B1 AF CF C6 EB 07 64 78 25 0D 0A
AT+IBUUID FDA50693A4E24FB1AFCFC6EB07647825
Settings / queries--iBeacon Major
Instruction Response Parameter
AT+ MAJOR<Param> OK Param:(0000-FFFF)
Default: 000A
AT+ MAJOR + MAJOR=<Param>

JDY-18 High Speed Transparent Transmission Bluetooth Module
Technical support QQ: 3411947569 email: 3411947569@qq.com
Settings / queries--iBeacon Minor
Instruction Response Parameter
AT+MINOR<Param> OK Param:(0000-FFFF)
Default: 0007
AT+MINOR +MINOR=<Param>
Settings / queries--iBeacon IBSING
Instruction Response Parameter
AT+IBSING<Param> OK Param:(00-FF)
Default: 40
AT+IBSING +IBSING =<Param>
This Parameter is applied to signal check value of iBeacon within 1 meter
Query - version number
Instruction Response Parameter
AT+VERSION +JDY-18-V1.5 None
Settings / queries-- Manufacturer identification code
Instruction Response Parameter
AT+VID<Param> OK Param:(00-FF)
Default: 88
AT+VID +VID=<Param>
Settings / queries--Password connection switch
Instruction Response Parameter
AT+TYPE <Param> OK Param:(0-1)
0:Not open password
connection function
1:Open password
connection is not bound
Default: 0
AT+TYPE +TYPE=<Param>
Settings / queries—Connection password
Instruction Response Parameter
AT+PIN<Param> OK Param:6 bit number password
Default value: 123456
AT+PIN +PIN=<Param>
Settings / queries—Service UUID
Instruction Response Parameter
AT+SVRUUID<Param> OK Param:(0000-FFFF)
Default value: FFE0
AT+SVRUUID +SVRUUID=<Param>

JDY-18 High Speed Transparent Transmission Bluetooth Module
Technical support QQ: 3411947569 email: 3411947569@qq.com
Settings / queries—Feature UUID
Instruction Response Parameter
AT+CHRUUID<Param> OK Param:(0000-FFFF)
Default value: FFE1
AT+CHRUUID +CHRUUID=<Param>
Setting -- Master scan
Instruction Response Parameter
AT+INQ OK None
Example: +DEV:1=1893D711AB87,-82,JDY-08 The Master scans MAC, RSSI, and device names from
the machine
The list address that the Master connects to scan
Search list connection
Instruction Response Parameter
AT+CONN <Param> OK Param:(0-7)
AT+CONN +CONN=<Param>
Direct MAC address connection
Instruction Response Parameter
AT+CONN<Param> OK Param:(MAC)
AT+CONN +CONN=<Param>
Example: AT+CONNET112233445566
Settings / queries-- Master binding MAC address
Instruction Response Parameter
AT+BAND<Param> OK Param:(MAC)
AT+BAND +BAND=<Param>
Example: AT+BAND112233445566
Setting - Master cancels binding
Instruction Response Parameter
AT+CLRBAND OK None
Settings / queries-- Connection state
Instruction Response Parameter
AT+STAT +GETSTAT=<Param> Param:(0-1)
0:Not connected 1:Connected

JDY-18 High Speed Transparent Transmission Bluetooth Module
Technical support QQ: 3411947569 email: 3411947569@qq.com
Settings / queries –RTC year/month/time/minute/second
Instruction Response Parameter
AT+RTCD<Param> +OK Param(xxxx-xx-xx,xx:xx:xx)
Default: 2014-12-05,12:07:08
AT+RTCD + RTCD=<Param>
Example:
Set RTC time:
AT+RTCDATE2014-12-05,12:07:08
Return:+OK
Read RTC time
AT+RTCD
Return:+RTCDATE:14-12-05,12:07:08
Settings / queries –RTC open & close
Instruction Response Parameter
AT+RTCOPEN<Param> OK Param(0-2)
0:Indicates closing the RTC
function
1:Indicates opening RTC
2:Indicates turn on the switch
and switch on next time
Default: 0
AT+RTCOPEN + RTCOPEN=<Param>
Settings / queries-- WeChat H5 or server selection
Instruction Response Parameter
AT+WXSVR<Param> OK Param:(0-1)
0:H5 communication
1:Server communication
Default: 0
AT+WXSVR +WXSVR=<Param>
Settings / queries—PWM frequency
Instruction Response Parameter
AT+PWMFRE<Param> OK Param:(50-25KHZ)
Default: 1000hz
AT+PWMFRE +PWMFRE<Param>
Settings / queries—Open & close PWM
Instruction Response Parameter
AT+PWMOPEN<Param> OK Param:(0-1)
0:Close PWM
1:Open PWM
Default: 0
AT+PWMOPEN +PWMOPEN<Param>

JDY-18 High Speed Transparent Transmission Bluetooth Module
Technical support QQ: 3411947569 email: 3411947569@qq.com
Settings / queries--PWM1 pulse width
Instruction Response Parameter
AT+PWM1PUS<Param> OK Param:(0-255)
PERCENTAGE OF PWM
PULSE WIDTH
Default: 10
AT+PWM1PUS +PWM1PUS:<Param>
Settings / queries--PWM2 pulse width
Instruction Response Parameter
AT+PWM2PUS<Param> OK Param:(0-255)
PERCENTAGE OF PWM
PULSE WIDTH
Default: 10
AT+PWM2PUS +PWM2PUS:<Param>
Settings / queries--PWM3 pulse width
Instruction Response Parameter
AT+PWM3PUS<Param> OK Param:(0-255)
PERCENTAGE OF PWM
PULSE WIDTH
Default: 10
AT+PWM3PUS +PWM3PUS:<Param>
Settings / queries--PWM4 pulse width
Instruction Response Parameter
AT+PWM4PUS<Param> OK Param:(0-255)
Percentage of PWM pulse width
Default: 10
Settings / queries–Serial port parity check bit
Instruction Response Parameter
AT+PARITY<Param> OK Param(0-2)
0:No parity bit
1:Odd parity bit
2:Even parity bit
Default: 0 No parity bit
AT+PARITY + PARITY=<Param>
Settings / queries–WeChat (automatic, manual) test mode
Instruction Response Parameter
AT+WXINEN<Param> OK Param(0-1)
0:WeChat manual test mode
1:WeChat automatic test mode
Default: 0
AT+WXINEN +WXINEN=<Param>

JDY-18 High Speed Transparent Transmission Bluetooth Module
Technical support QQ: 3411947569 email: 3411947569@qq.com
Settings / queries–Broadcast indicating LED lamp
Instruction Response Parameter
AT+ALED<Param> OK Param(0-1)
0:Close the broadcast LED
instructions
1:Open the broadcast LED
instructions
Default: 0
AT+ALED +ALED=<Param>
Settings – from module IO
This instruction is only applied to master and slave communication modes (master
instructions)
AT+FUNC
Sixteen hexadecimal instruction
Response Function
41 54 2B 46 55 4E 43 E7 F1 01 0D 0A OK Master set slave IO1 high electrical level
41 54 2B 46 55 4E 43 E7 F1 00 0D 0A OK Master set slave IO1 low electrical level
41 54 2B 46 55 4E 43 E7 F2 01 0D 0A OK Master set slave IO2 high electrical level
41 54 2B 46 55 4E 43 E7 F2 00 0D 0A OK Master set slave IO2 low electrical level
41 54 2B 46 55 4E 43 E7 F3 01 0D 0A OK Master set slave IO3 high electrical level
41 54 2B 46 55 4E 43 E7 F3 00 0D 0A OK Master set slave IO3 low electrical level
Settings / queries - Module communication enable with low rate BLE
Instructions Response Parameters
AT+NETIN<Param> OK Param(0-1)
0:High speed
1:Low speed
Default: 0 (high speed)
AT+NETIN +NETIN=<Param>
Settings / queries - APP writes UUID
Instructions Response Parameters
AT+CRXUUID<Param> OK Param(0000-FFFF)
Default: 0Xffe3
AT+CRXUUID +CRXUUID=<Param>

JDY-18 High Speed Transparent Transmission Bluetooth Module
Technical support QQ: 3411947569 email: 3411947569@qq.com
Settings - WeChat sport (step data, distance, calories)AT+WXP +
Step data + distance + calories
The instructions are sent in hexadecimal format
Example: set the number of Wechat walk steps as: 100 thousand steps, distance of 250
kilometers, 5000 calories
41 54 2B 57 58 50 A0 86 01 FA 00 00 88 13 00 0D 0A
AT+WXP steps distance calories terminator
Settings - WeChat sport (target)
AT+WXT + target value
The instructions are sent in hexadecimal format
Example: setting WeChat sport is now the 5000 steps
41 54 2B 57 58 54 88 13 00 0D 0A
AT+WXT target terminator
Settings / queries - APP writes UUID
Instructions Response Parameters
AT+UUIDLEN<Param>
OK
Param(0-1)
0: indicates 16 bit UUID
1:indicates 128 bit UUID
Default: 0

JDY-18 High Speed Transparent Transmission Bluetooth Module
Technical support QQ: 3411947569 email: 3411947569@qq.com
5.IIC communication format
IIC data communication read write format
IIC write communication format JDY-18 module IIC device address: 0xa0
START
8 bytes
A
C
K
Internal
Function
Address
A
C
K
Data N
NACK
Stop
7 bit
address
0
IIC read communication format
START
8 bytes
A
C
K
Internal
Function
Address
A
C
K
8 bytes
A
C
K
Dat
a N
NACK
Stop
7 bit
addres
s
0
7 bit
addre
ss
1
IIC register address table
Main
body
Address
Function
Data length
Read & write
Authority
01H
APP control authority
5 bytes
Read & write
Basic
10H
Reset
1 byte
Write
11H
Search version number
11 bytes
Read
12H
Restore factory configuration
1 byte
Write
13H
Sleep
1 byte
Write
14H
Device MAC address
6 bytes
Read & write
15H
Disconnect
1 byte
Write
16H
Operative mode
1 byte
Read
Mode
C0H
Master-slave mode
1 byte
Read & write
C1H
Startup sleep
1 byte
Read & write
Master
20H
Master scan slave
1 byte
Write
21H
Master binding slave
6 bytes
Read & write
22H
Master gets the number of
slave machines to scan
1 byte
Read
23H
Master connect slave
1 byte
Write
24H
Master connect slave MAC
address
6 bytes
Write
Broadcast
30H
Broadcast name
(1-20)
bytes
Read & write
31H
Broadcast name length
1 byte
Read
32H
Broadcast interval
1 byte
Read & write
34H
Broadcast switch
1 byte
Read & write
35H
Transmit power
1 byte
Read & write
36H
Broadcast indicating LED light
switch
1 byte
Read & write
Password
40H
Connect password switch
1 byte
Read & write
41H
Connect password
6 bytes
Read & write
60H
Device type
1 byte
Read & write

JDY-18 High Speed Transparent Transmission Bluetooth Module
Technical support QQ: 3411947569 email: 3411947569@qq.com
ID type
61H
Manufacturer identification
code
1 byte
Read & write
iBeacon
70H
IBeacon UUID
16 bytes
Read & write
71H
IBeacon MAJOR
2 bytes
Read & write
72H
IBeacon MINOR
2 bytes
Read & write
73H
IBeacon SING
1 byte
Read & write
Main
body
Address
Function
Data length
Read & write
Bluetooth
UUID
80H
Bluetooth service UUID
2 or 16
bytes
Read & write
81H
Bluetooth feature UUID(notify
write)
2 or 16
bytes
Read & write
82H
Bluetooth feature UUID(write)
2 or 16
bytes
Read & write
83H
Length selection of UUID
1 bytes
Read & write
RTC
90H
RTC switch
1 byte
Read & write
91H
RTC time
6 bytes
Read & write
PWM
95H
PWM frequency
2 bytes
Read & write
96H
PWM switch
1 byte
Read & write
97H
PWM1 pulse width
1 byte
Read & write
98H
PWM2 pulse width
1 byte
Read & write
99H
PWM3 pulse width
1 byte
Read & write
9AH
PWM4 pulse width
1 byte
Read & write
Commu
nication
F0H
IIC writes data to APP
1-250 bytes
Write
F1H
Read the data length sent by
APP
1 bytes
Read
F2H
Read the data sent by APP
1-250 bytes
Read
Master
search
Equipment
MAC
E0H
Read the Master scan list 0
device MAC
6 bytes
Read
E1H
Read the Master scan list 1
device MAC
6 bytes
Read
E2H
Read the Master scan list 2
device MAC
6 bytes
Read
E3H
Read the Master scan list 3
device MAC
6 bytes
Read
E4H
Read the Master scan list 4
device MAC
6 bytes
Read
E5H
Read the Master scan list 5
device MAC
6 bytes
Read
E6H
Read the Master scan list 6
device MAC
6 bytes
Read
E7H
Read the Master scan list 7
device MAC
6 bytes
Read

JDY-18 High Speed Transparent Transmission Bluetooth Module
Technical support QQ: 3411947569 email: 3411947569@qq.com
E8H
Read the Master scan list 8
device MAC
6 bytes
Read
E9H
Read the Master scan list 9
device MAC
6 bytes
Read
APP control authority register
Address: 0x01
W
DATA
DATA[5]
Bit7
Bit6
Bit5
Bit4
Bit3
Bit2
Bit1
Bit0
Each byte function in 5 bytes is explained in detail
Param(5 bit byte)
Function
Authority(Y/N)
Y indicates that
APP has
permission
control
N indicates APP
without
permission
control
Byte1
Can broadcast be modified
by APP?
Default: N
Byte2
Can the connection
password be modified by
APP?
Default: N
Byte3
Can the APP control the IO
electrical level?
Default: Y
Byte4
Can APP control PWM?
Default: Y
Byte5
Can APP configure iBeacon
parameters?
Default: N
Reset register
Address: 0x10
W
DATA
DATA[1]
Bit7
Bit6
Bit5
Bit4
Bit3
Bit2
Bit1
Bit0
DATA:(1)
1——Reset (module reboot)
Search version number register
Address: 0x11
R
DATA
DATA[11]
Bit7
Bit6
Bit5
Bit4
Bit3
Bit2
Bit1
Bit0
Module version number read length is 11 bits
Restore the factory configuration register
Address: 0x12
W
DATA
DATA[1]
Bit7
Bit6
Bit5
Bit4
Bit3
Bit2
Bit1
Bit0
DATA:(1)
1——Restore the factory configuration

JDY-18 High Speed Transparent Transmission Bluetooth Module
Technical support QQ: 3411947569 email: 3411947569@qq.com
Sleep register
Address: 0x13
W
DATA
DATA[1]
Bit7
Bit6
Bit5
Bit4
Bit3
Bit2
Bit1
Bit0
DATA:(1)
1——Sleep
MAC address register
Address: 0x14
R/W
DATA
DATA[6]
Bit7
Bit6
Bit5
Bit4
Bit3
Bit2
Bit1
Bit0
DATA:(6)
The MAC address of the module can be read or modified, and the length of the 6 bytes is
fixed.
Disconnect register
Address: 0x15
W
DATA
DATA[1]
Bit7
Bit6
Bit5
Bit4
Bit3
Bit2
Bit1
Bit0
DATA:(1)
Used to disconnect the Master or slave
Working status register
Address: 0x16
R
DATA
DATA[1]
Bit7
Bit6
Bit5
Bit4
Bit3
Bit2
Bit1
Bit0
DATA:(0-1)
0——Not connected
1——Connected
Operating mode register
Address: 0Xc0
R/W
DATA
DATA[1]
Bit7
Bit6
Bit5
Bit4
Bit3
Bit2
Bit1
Bit0
DATA:(0-3)
0——APP and WeChat transparent transmission mode
1——Master transparent transmission mode
3——iBeacon mode
Default: 0

JDY-18 High Speed Transparent Transmission Bluetooth Module
Technical support QQ: 3411947569 email: 3411947569@qq.com
Sleep mode register
Address: 0xc1
R/W
DATA
DATA[1]
Bit7
Bit6
Bit5
Bit4
Bit3
Bit2
Bit1
Bit0
DATA:(0-2)
0——Wake up mode, sleep can be controlled by SLEPP command
1——Start sleep, connect wake up, sleep after disconnecting
2——Start sleep, sleep after connection, sleep after disconnecting
Default: 0
Master scanner slave register
Address: 0x20
W
DATA
DATA[1]
Bit7
Bit6
Bit5
Bit4
Bit3
Bit2
Bit1
Bit0
DATA:(1)
1——Scan the slave
Master binding slave register
Address: 0x21
R/W
DATA
DATA[6]
Bit7
Bit6
Bit5
Bit4
Bit3
Bit2
Bit1
Bit0
DATA:(1)
Bind to 6 bit MAC address, readable and writable
Get the number register of the Master scan slave
Address: 0x22
R
DATA
DATA[1]
Bit7
Bit6
Bit5
Bit4
Bit3
Bit2
Bit1
Bit0
DATA:(1-10)
The Master search list maximum cache is 10.
Master connect slave register
Address: 0x23
W
DATA
DATA[1]
Bit7
Bit6
Bit5
Bit4
Bit3
Bit2
Bit1
Bit0
Master connect slave MAC register
Address: 0x24
W
DATA
DATA[6]
Bit7
Bit6
Bit5
Bit4
Bit3
Bit2
Bit1
Bit0

JDY-18 High Speed Transparent Transmission Bluetooth Module
Technical support QQ: 3411947569 email: 3411947569@qq.com
Broadcast name register
Address: 0x30
R/W
DATA
DATA[1-20]
Bit7
Bit6
Bit5
Bit4
Bit3
Bit2
Bit1
Bit0
Broadcast name length register
Address: 0x31
R/W
DATA
DATA[1-20]
Bit7
Bit6
Bit5
Bit4
Bit3
Bit2
Bit1
Bit0
Broadcast interval register
Address: 0x32
R/W
DATA
DATA[1]
Bit7
Bit6
Bit5
Bit4
Bit3
Bit2
Bit1
Bit0
DATA:(0-9)
0——100MS
1——200MS
2——300MS
3——400MS
4——500MS
5——600MS
6——700MS
7——800MS
8——900MS
9——1000MS
Broadcast switch register
Address: 0x34
R/W
DATA
DATA[1]
Bit7
Bit6
Bit5
Bit4
Bit3
Bit2
Bit1
Bit0
DATA:(0-9)
0——Close broadcast
1——Open broadcast
Default: 1
Broadcast switch register
Address: 0x35
R/W
DATA
DATA[1]
Bit7
Bit6
Bit5
Bit4
Bit3
Bit2
Bit1
Bit0
DATA:(0-1)
0——Negative 16db
1——0db
Default: 1

JDY-18 High Speed Transparent Transmission Bluetooth Module
Technical support QQ: 3411947569 email: 3411947569@qq.com
Broadcast indication LED lamp register
Address: 0x36
R/W
DATA
DATA[1]
Bit7
Bit6
Bit5
Bit4
Bit3
Bit2
Bit1
Bit0
DATA:(0-1)
0——Close the broadcast LED lights indication
1——Open the broadcast LED lights indication
Default: 1
Connection password switch register
Address: 0x40
R/W
DATA
DATA[1]
Bit7
Bit6
Bit5
Bit4
Bit3
Bit2
Bit1
Bit0
DATA:(0-1)
0——Close password connection function
1——Open password connection function
Default: 0
Connection password register
Address: 0x41
R/W
DATA
DATA[6]
Bit7
Bit6
Bit5
Bit4
Bit3
Bit2
Bit1
Bit0
DATA:(0-6)
Default: Password is 123456
Device type register
Address: 0x60
R/W
DATA
DATA[1]
Bit7
Bit6
Bit5
Bit4
Bit3
Bit2
Bit1
Bit0
Default: 0xa0
Manufacturer identification register
Address: 0x60
R/W
DATA
DATA[1]
Bit7
Bit6
Bit5
Bit4
Bit3
Bit2
Bit1
Bit0
Default: 0x88
iBeacon UUID register
Address: 0x70
R/W
DATA
DATA[16]
Bit7
Bit6
Bit5
Bit4
Bit3
Bit2
Bit1
Bit0
Default: 0xFDA50693A4E24FB1AFCFC6EB07647825

JDY-18 High Speed Transparent Transmission Bluetooth Module
Technical support QQ: 3411947569 email: 3411947569@qq.com
iBeacon MAJOR register
Address: 0x71
R/W
DATA
DATA[2]
Bit7
Bit6
Bit5
Bit4
Bit3
Bit2
Bit1
Bit0
Default: 0x000a
iBeacon MINOR register
Address: 0x72
R/W
DATA
DATA[2]
Bit7
Bit6
Bit5
Bit4
Bit3
Bit2
Bit1
Bit0
Default: 0x0007
iBeacon IBSING register
Address: 0x72
R/W
DATA
DATA[1]
Bit7
Bit6
Bit5
Bit4
Bit3
Bit2
Bit1
Bit0
Default: 0x40 This parameter is applied to the iBeacon value of 1 meters signal check
value
Bluetooth service UUID register
Address: 0x80
R/W
DATA
DATA[2 or 16]
Bit7
Bit6
Bit5
Bit4
Bit3
Bit2
Bit1
Bit0
Default: 0xffe0
Bluetooth feature UUID register
Address: 0x81
R/W
DATA
DATA[2 or 16]
Bit7
Bit6
Bit5
Bit4
Bit3
Bit2
Bit1
Bit0
Default: 0xffe1
Bluetooth feature UUID(wirte) register
Address: 0x82
R/W
DATA
DATA[2 or 16]
Bit7
Bit6
Bit5
Bit4
Bit3
Bit2
Bit1
Bit0
Default: 0xffe3
Bluetooth UUID length register
Address: 0x83
R/W
DATA
DATA[1]
Bit7
Bit6
Bit5
Bit4
Bit3
Bit2
Bit1
Bit0
Default: 0x00

JDY-18 High Speed Transparent Transmission Bluetooth Module
Technical support QQ: 3411947569 email: 3411947569@qq.com
RTC switch register
Address: 0x90
R/W
DATA
DATA[1]
Bit7
Bit6
Bit5
Bit4
Bit3
Bit2
Bit1
Bit0
0——close RTC
1——open RTC
Default: 0
RTC time read-write register
Address: 0x90
R/W
DATA
DATA[6]
Bit7
Bit6
Bit5
Bit4
Bit3
Bit2
Bit1
Bit0
Default: 0x110506010200
Means: May 6, 2017 01:02:00
PWM frequency register
Address: 0x95
R/W
DATA
DATA[2]
Bit7
Bit6
Bit5
Bit4
Bit3
Bit2
Bit1
Bit0
Default value: 0x03E8 means 1KHZ
PWM switch register
Address: 0x96
R/W
DATA
DATA[1]
Bit7
Bit6
Bit5
Bit4
Bit3
Bit2
Bit1
Bit0
DATA:(0-1)
0——close PWM
1——open PWM
PWM1 pulse width register
Address: 0x97
R/W
DATA
DATA[1]
Bit7
Bit6
Bit5
Bit4
Bit3
Bit2
Bit1
Bit0
Default value: 0x0A means 10/255
PWM2 pulse width register
Address: 0x98
R/W
DATA
DATA[1]
Bit7
Bit6
Bit5
Bit4
Bit3
Bit2
Bit1
Bit0
Default value: 0x0A means 10/255

JDY-18 High Speed Transparent Transmission Bluetooth Module
Technical support QQ: 3411947569 email: 3411947569@qq.com
PWM3 pulse width register
Address: 0x99
R/W
DATA
DATA[1]
Bit7
Bit6
Bit5
Bit4
Bit3
Bit2
Bit1
Bit0
Default value: 0x0A means 10/255
PWM4 pulse width register
Address: 0x9A
R/W
DATA
DATA[1]
Bit7
Bit6
Bit5
Bit4
Bit3
Bit2
Bit1
Bit0
Default value: 0x0A means 10/255
APP transparent transmission register
Address: 0xf0
R/W
DATA
DATA[1-200]
Bit7
Bit6
Bit5
Bit4
Bit3
Bit2
Bit1
Bit0
In the connection state, data written to the APP transparent transmission register will be
uploaded to the APP
APP send data length register
Address: 0xf1
R/W
DATA
DATA[2]
Bit7
Bit6
Bit5
Bit4
Bit3
Bit2
Bit1
Bit0
Used to read the data length sent by APP
APP send data register
Address: 0xf2
R/W
DATA
DATA[1]
Bit7
Bit6
Bit5
Bit4
Bit3
Bit2
Bit1
Bit0
Used to read data sent by APP
APP send data register
Address: 0xe0
to 0xe9
R/W
DATA
DATA[6]
Bit7
Bit6
Bit5
Bit4
Bit3
Bit2
Bit1
Bit0
A list of devices used to read the Master scanner when scanning the slave data. The data
is a 6 bit MAC address.
Master searches the list of slave MAC addresses
Address: 0xe0
to 0xe9
R/W
DATA
DATA[6]
Bit7
Bit6
Bit5
Bit4
Bit3
Bit2
Bit1
Bit0
A list of devices used to read the host scanner when scanning the slave data. The data is a 6 bit
MAC address.

JDY-18 High Speed Transparent Transmission Bluetooth Module
Technical support QQ: 3411947569 email: 3411947569@qq.com
6.Mobile terminal instructions
APP UUID list
Service UUID:FFE0 (Service UUID default ffe0 user can change)
Feature UUID:FFE1 (For transparent transmission default ffe1 users can change)
Feature UUID:FFE2 (For module function configuration)
Feature UUID:FFE3 (For APP writing)
APP command usage instructions (IO)
1) APP transparent transmission (using feature UUID:FFE2)
0XFFE1 is the APP transparent transmission characteristic of UUID(It is applied
to IOS, Android or WeChat applet communication)
2)APP control IO port (using feature UUID:FFE2)
IO port
number
APP send
command
Function
Factory default
electrical level
IO1
E7F100
IO1 Output low
electrical level
Low electrical level
E7F101
IO1 Output high
electrical level
IO2
E7F200
IO2 Output low
electrical level
Low electrical level
E7F201
IO2 Output high
electrical level
IO3
E7F300
IO3 Output low
electrical level
Low electrical level
E7F301
IO3 Output high
electrical level
IO4
E7F400
IO4 Output low
electrical level
Low electrical level
E7F401
IO4 Output high
electrical level
All
E7F0
Set all IO to low
E7F5
Set all IO to high
E7F6
Read all IO States
Instruction: E7F101 means setting IO1 to high electrical level
3)APP setting and reading iBeacon UUID (using feature UUID:FFE2)
Instruction
Response
Parameter
E111<Param>
None
Param(16 bit byte)
Default:
FDA50693A4E24FB1AFCFC6EB07647825
E112
22<Param>
Example instruction: E111FDA50693A4E24FB1AFCFC6EB07647825
Instruction:E112 reads iBeacon UUID
Return: 12FDA50693A4E24FB1AFCFC6EB07647825

JDY-18 High Speed Transparent Transmission Bluetooth Module
Technical support QQ: 3411947569 email: 3411947569@qq.com
Return instruction: 12 for command head, FDA50693A4E24FB1AFCFC6EB07647825 is UUID
4)APP setting iBeacon MAJOR (using feature UUID:FFE2)
Instruction
Response
Parameter
E321<Param>
None
Param(0000H – FFFFH)
Default: 000AH
E322
22<Param>
Example instruction: E221000A means that Major is sixteen hexadecimal 000A
Instruction:E222 read MAJOR value
Return:22000A means 22 for command head, 000A is sixteen hexadecimal Major
5)APP setting iBeacon MINOR (using feature UUID:FFE2)
Instruction
Response
Parameter
E331<Param>
None
Param(0000H – FFFFH)
Default: 0007H
E332
32<Param>
Example instruction: E3310007 means setting Mmior to sixteen hexadecimal 0007
Instruction: E332 means reading Minor sixteen hexadecimal value
Return: 320007 instructions 32 for command head, 0007 for sixteen hexadecimal Minor
6)APP setting iBeacon SING (using feature UUID:FFE2)
Instruction
Response
Parameter
Eff1<Param>
None
Param(00H – FFH)
Default: d0H
E332
32<Param>
Example instruction: EFF140 means setting SING to sixteen hexadecimal 40, 40 means signal
strength within 1 meters is decimal system: 28
Instruction: EFF2 means reading SING sixteen hexadecimal value
Return: F240 instructions F2 for command head, 40 for sixteen hexadecimal SING
7)APP sets Bluetooth broadcast name (using feature UUID:FFE2)
Instruction
Response
Parameter
E661<Param>
None
Param: Module Bluetooth name
The longest: 18 bytes
Default name: JDY-18
E662
62<Param>
Example instruction: E661313233 indicates setting broadcast name:123
Instruction: E662 indicates reading broadcast name
Return:62313233 instructions 62 for command head, 313233 indicates the broadcast name is:
123
8)APP setting and read Connection password (use feature UUID:FFE2)
Setting up the connection password instruction format: E5 +51 + 6 bit current password + 6 bit
new password
Instruction:E551313233343536313132323333 indicates the password after setting: 11223344
Read connection password E552+6 bit current device password
Example instruction:E552313233343536
Return:52313233343536

JDY-18 High Speed Transparent Transmission Bluetooth Module
Technical support QQ: 3411947569 email: 3411947569@qq.com
Only when the current password is the same as the module password, can the new password be set
up, and the previous password will be invalid after the password is updated.
9)APP reset Bluetooth module (use feature UUID:FFE2)
Instruction
Response
Parameter
E90101
None
None
Instruction: after the module receives this instruction, it restarts immediately.
10)APP request hardware active disconnect from APP (use feature UUID:FFE2)
Instruction
Response
Parameter
E90102
None
None
Instruction: APP and module connection, this instruction allows the module to disconnect from the APP
automatically.
Usually the General APP and module disconnect will not be used.
11)APP read module version (using feature UUID:FFE2)
Instruction
Response
Parameter
E90103
0103<Param>
Param:(MAC address)
Example: 01034A44592D31362D56312E32 indicates the return version number is JDY-18-V1.5
Instruction Version number
12)APP read module MAC address (using feature UUID:FFE2)
Instruction
Response
Parameter
E90104
0104<Param>
Param:(MAC address)
Example: 0104112233445566 indicates the return MAC address is 112233445566
13)APP control PWM switch (using feature UUID:FFE2)
Function
APP send
command
Return
PWM off
E8A100
None
PWM on
E8A101
None
PWM open the turn on/off
startup
E8A102
None
PWM frequency setting(Frequency range 50-4KHZ)
PWM frequency is set to
1000HZ
E8A203E8
None
PWM temporary empty ratio setting(Range 00-FF)
PWM1 temporary empty ratio is
set to 10%
E8A319
None
PWM2 temporary empty ratio is
set to 50%
E8A47D
None

JDY-18 High Speed Transparent Transmission Bluetooth Module
Technical support QQ: 3411947569 email: 3411947569@qq.com
PWM3 temporary empty ratio is
set to 90%
E8A5E1
None
PWM4 temporary empty ratio is
set to 30%
E8A64B
None
Read PWM state
Read PWM switch state
E8A8
A831 indicates PWM on
A830 indicates PWM off
Read the PWM frequency
E8A9
A903E8 indicates frequency
of 1000HZ
Read the PWM1 temporary
empty ratio
E8AA
AA19 indicates the temporary
empty ratio is 10%
Read the PWM2 temporary
empty ratio
E8AB
AB7D indicates the temporary
empty ratio is 50%
Read the PWM3 temporary
empty ratio
E8AC
ACE1 indicates the temporary
empty ratio is 90%
Read the PWM1 temporary
empty ratio
E8AD
AD4B indicates the temporary
empty ratio is 30%

JDY-18 High Speed Transparent Transmission Bluetooth Module
Technical support QQ: 3411947569 email: 3411947569@qq.com
7.JDY-18 basic application wiring diagram
Wiring diagram of serial port communication mode
Wiring diagram of IIC communication mode
Low cost MCU without UART can be connected by IIC mode.

JDY-18 High Speed Transparent Transmission Bluetooth Module
Technical support QQ: 3411947569 email: 3411947569@qq.com
IO control wiring diagram
It is applied to switch control and other applications.
PWM control wiring diagram
It is applied to motor high speed and LED lamp PWM control.
FCC Statement
This device complies with part 15 of the FCC Rules. Operation is subject to the following two
conditions: (1) This device may not cause harmful interference, and (2) this device must accept
any interference received, including interference that may cause undesired operation.
Any Changes or modifications not expressly approved by the party responsible for compliance
could void the user's authority to operate the equipment.
FCC Radiation Exposure Statement
The modular can be installed or integrated in portable or fix devices only. This modular cannot be
installed in any mobile device..
If the FCC identification number is not visible when the module is installed inside another device,
then the outside of the device into which the module is installed must also display a label
referring to the enclosed module. This exterior label can use wording such as the following:
“Contains Transmitter Module FCC ID: 2AQ5YJDY-18 Or ContainsFCC ID: 2AQ5YJDY-18”
When the module is installed inside another device, the user manual of the host must contain
below warning statements;
1. This device complies with Part 15 of the FCC Rules. Operation is subject to the following two
conditions:
(1) This device may not cause harmful interference.
(2) This device must accept any interference received, including interference that may cause
undesired operation.
2. Changes or modifications not expressly approved by the party responsible for compliance
could void the user's authority to operate the equipment.
The devices must be installed and used in strict accordance with the manufacturer's instructions
as described in the user documentation that comes with the product.
Any company of the host device which install this modular with limit modular approval should
perform the test of radiated emissionand spurious emission according to FCC part 15C : 15.247
and 15.209 requirement,Only if the test result comply with FCC part 15C : 15.247 and 15.209
requirement,then the host can be sold legally.