Instant Care IC315-PB23 IC 315-PB23 Table Top/Wall TX User Manual PB 23 20160303
Instant Care, Inc. IC 315-PB23 Table Top/Wall TX PB 23 20160303
Users Manual

Panic Button (PB-23)
The Panic Button is used to activate (or deactivate) a panic alarm.
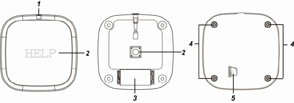
z Parts Identification
1. LED Indicator
The LED indicator will light up briefly when the device is transmitting a signal.
2. Panic Button
1. Press to send a learn code or activate a panic alarm
2. Press and hold the button for 8 seconds to send a Cancel Code to the Control Panel. (This
function is not compatiable with every control panel).
3. Battery Compartment
4. 4 x Cover-Fixing Screws
5. Battery Insulator
z Battery
z The Panic Button is powered by one CR123A 3V Lithium battery.
z The Panic Button will transmit any detected low battery status along with any regular status
signal transmission to the Control Panel for display accordingly.
z When changing battery, after removing the old battery, press the button twice to fully discharge
before inserting new battery.
z Supervisory Signal
z The Panic Button will automatically transmit Supervisory Signals every 30 to 50 minutes.
z If the Control Panel has not received the signal from the Panic Button for a preset period of time,
the Control Panel will indicate that the Panic Button is out-of-signal range or is out of order.
z Getting Started
z Pull out the Battery Insulator to power on the Panic Button
z Put Control Panel into learn mode
z Press the button on the Panic Button to transmit a learn code.
z Refer to your Control Panel’s operation manual to complete the learn-in process.
z Walk Test
z Place the Control Panel in the walk test mode.
z Press the Button once.
z The Panel will display the RSSi (Radio Strength Signal) strength.

z Operation
z After the Panic Button is learned successfully, press the Button to activate a Panic Alarm.
z Press and hold the Button for 8 seconds or more will send a Cancel Code to the Control Panel
to stop the alarm. (This function is not compatible with all control panels.)
z Installation
A Pad is included into the Panic Button as picture shown below. The padding helps to avoid pressing
the button accidently when mounting the Panic Button.
There are two ways to deploy the Panic Button: Wall Mounting and Surface Deployment. After
successfully installed the Panic Button, please gently remove the Pad.
z Wall Mounting
The Panic Button can be wall mounting using Velcro tape provided.
1 Clean the wall mounting location and back of the Panic button with degreaser. Do not mount
on wall with cracking paint or rough surface.
2 The Velcro tape can be separated to Hook and Loop side (Picture 1). Remove the protective
cover of the Hook side (Picture 2) and apply to desired mounting location. (Picture 3)
Picture 1 Picture 2 Picture 3
3 Remove the protective cover of the Loop side and apply to back of the Panic Button.
(Picture 4)
Picture 4
4 Hook the Panic Button onto mounting location.
Loops Hooks
Pad

Picture 5
z Surface Placement
The Panic Button can be deployed on a flat surface without being installed at a fixed location.
1 Clean the back of the Panic button with degreaser.
2 Remove the protective cover of Anti-Slip pad and apply to the back of Panic Button. (Picture
6)
Picture 6
3 Place the Panic Button at desired location.
This device complies with Part 15 of the FCC Rules. Operation is subject to the following two conditions:
(1) This device may not cause harmful interference, and
(2) This device must accept any interference received, including interference that may cause undesired
operation.