InterLogix 1072587B Truvision Outdoor Ip Camera User Manual En Tru Vision
2015-08-27
User Manual: InterLogix 1072587B Truvision Outdoor Ip Camera User Manual-En
Open the PDF directly: View PDF
.
Page Count: 61
- Chapter 1 Introduction
- Chapter 2 Installation
- Installation environment
- Package contents
- Cable requirements
- Camera descriptions
- Setting up the camera
- Connecting the devices
- Accessing the SDHC card
- Mounting the dome cameras on a ceiling
- Mounting the bullet camera
- Using the camera with TVR 60/ TVN 20/ TVN 40/ LNVR and other systems
- Using the camera with TruVision Navigator
- Chapter 3 Network and streaming configuration
- Chapter 4 Camera configuration
- Chapter 5 Camera management
- Chapter 6 Camera operation
- Appendix A Specifications
- Appendix B Pin definitions
- Index

TruVision Outdoor IP
Camera User Manual
P/N 1072587B-EN • REV 1.0 • ISS 17JAN13

Copyright
©
2013 UTC Fire & Security Americas Corporation, Inc.
Interlogix is part of UTC Climate Controls & Security, a unit of United
Technologies
Corporation. All rights reserved.
Trademarks and
patents
T
he TruVision and Interlogix names and logos are trademarks of
United Technologies.
Other trade names used in this document may be trademarks or
registered trademarks of the manufacturers or vendors of the
respec
tive products.
Manufacturer
UTC Fire & Security Americas Corporation, Inc.
2955 Red Hill Avenue, Costa Mesa, CA 92626
-5923, USA
Authorized EU manufacturing representative:
UTC Fire & Security B.V.
Kelvinstraat 7, 6003 DH Weert, The Netherlands
Certification
N4131
FCC compliance
Class B:
This equipment has been tested and found to comply with
the limits for a Class B digital device, pursuant to part 15 of the FCC
Rules. These limits are designed to provide reasonable protection
against harmful interference in a residential installation. T
his
equipment generates, uses, and can radiate radio frequency energy
and, if not installed and used in accordance with the instructions,
may cause harmful interference to radio communications.
There is no guarantee that interference will not occur in a pa
rticular
installation. If this equipment does cause harmful interference to
radio or television reception, which can be determined by turning the
equipment off and on, the user is encouraged to try to correct the
interference by one or more of the followin
g measures:
•
Reorient or relocate the receiving antenna.
•
Increase the separation between the equipment and receiver.
•
Connect the equipment into an outlet on a circuit different from
that to which the receiver is connected.
•
Consult the dealer or an experienced radio/TV technician for
help.
European Union
directives
1
2004/108/EC (EMC directive): Hereby, UTC Fire & Security
declares that this device is in compliance with the essential
requirements and other relevant provisions of Directive
2004/108/E
C.
2002/96/EC (WEEE directive):
Products marked with this symbol
cannot be disposed of as unsorted municipal waste in the European
Union. For proper recycling, return this product to your local supplier
upon the purchase of equivalent new equipment, or
dispose of it at
designated collection points. For more information see:
www.recyclethis.info.
Contact information
For contact information
, see www.interlogix.com or
www.utcfssecurityproducts.eu
.
Customer suppor
t
ww
w.interlogix.com/customer-support
TruVision Outdoor IP Camera User Manual i
Content
Chapter 1 Introduction 1
Product overview 1
Features 1
Chapter 2 Installation 3
Installation environment 3
Package contents 4
Cable requirements 4
Camera descriptions 5
Setting up the camera 6
Connecting the devices 6
Accessing the SDHC card 7
Mounting the dome cameras on a ceiling 8
Mounting the bullet camera 12
Using the camera with TVR 60/ TVN 20/ TVN 40/ LNVR and other
systems 12
Using the camera with TruVision Navigator 13
Chapter 3 Network and streaming configuration 15
Checking your web browser security level 15
Accessing the camera over the internet 17
Overview of the camera web browser 18
Configuring the camera’s network settings 19
Information about the camera 22
Network parameters 22
Chapter 4 Camera configuration 25
Camera parameters 25
Defining how information is displayed 26
Defining the system time 27
Alarm parameters 28
Events scheduling 28
Defining recording parameters 29
Motion detection alarms 31
Adding extra on-screen text 33
Configuring the video image 34
Chapter 5 Camera management 37
User management 37
Formatting the SDHC card 39
Restoring default settings 40
Upgrading the firmware 40
Rebooting the camera 41
ii TruVision Outdoor IP Camera User Manual
Chapter 6 Camera operation 43
Logging on and off 43
Live view mode 43
Playing back recorded video 44
Searching event logs 46
Archiving recorded files 48
Controlling zoom and focus 49
Appendix A Specifications 51
TruVision outdoor IP dome cameras 51
TruVision outdoor IP bullet cameras 52
Appendix B Pin definitions 53
Index 55
TruVision Outdoor IP Camera User Manual 1
Chapter 1
Introduction
Product overview
This is the user manual for TruVision Outdoor IP camera models:
TVC-N225E-2M-N(-P) (IP bullet camera)
TVC-M1245E-2M-N(-P) (1.3MPX WDR bullet camera)
TVD-N225E-2M-N(-P) (IP dome camera)
TVD-M1245E-2M-N(-P) (1.3MPX WDR dome camera)
Features
This section describes the camera features.
Supports TCP/IP, HTTP, DHCP, DNS, DDNS, RTP/RTCP, PPPoE, SMTP,
NTP protocols
Programming and setup through a browser interface
Live viewing over the network
50/60 Hz selectable flicker control
120dB Wide Dynamic Range (WDR models only)
Motorized lens with zoom function
Auto focus
Supports remote upgrades and maintenance
H.264 video compression with dual capability
Supports HD (1.3MPX models), CIF, VGA, QCIF
IP66 weather proof
SDHC card for local storage (dome cameras only)
Designed to ONVIF and PSIA open standards

0BChapter 1: Introduction
2 TruVision Outdoor IP Camera User Manual
TruVision Outdoor IP Camera User Manual 3
Chapter 2
Installation
This chapter provides information on how to install the TruVision Outdoor IP
dome and bullet cameras.
Installation environment
When installing your product, consider these factors:
• Electrical: Install electrical wiring carefully. It should be done by qualified
service personnel. Always use a proper PoE switch or a 12 VDC UL listed
Class 2 or CE certified power supply to power the the bullet camera, and a
proper PoE / PoE+ switch or a 24 VAC UL listed Class 2 or CE certified
power supply to power the dome camera. Do not overload the power cord or
adapter.
• Ventilation: Ensure that the location planned for the installation of the
camera is well ventilated.
• Temperature: Do not operate the camera beyond the specified temperature,
humidity or power source ratings. The operating temperature of the bullet
camera is between -10 to +60°C (14°F to 140°F) and outdoor dome is
between -40 to +60 °C (-40 to +140 °F) with the heater and fan on. Humidity
is below 90%.
• Moisture: Do not expose the camera to rain or moisture, or try to operate it in
wet areas. Turn the power off immediately if the camera is wet and ask a
qualified service person for servicing. Moisture can damage the camera and
also create the danger of electric shock.
• Servicing: Do not attempt to service this camera yourself. Any attempt to
dismantle or remove the covers from this product will invalidate the warranty
and may also result in serious injury. Refer all servicing to qualified service
personnel.
• Cleaning: Do not touch the sensor modules with fingers. If cleaning is
necessary, use a clean cloth with a some ethanol and wipe the camera
gently. If the camera will not be used for an extended period of time, put on
the lens cap to protect the sensors from dirt.

1BChapter 2: Installation
4 TruVision Outdoor IP Camera User Manual
Package contents
Check the package and contents for visible damage. If any components are
damaged or missing, do not attempt to use the unit; contact the supplier
immediately. If the unit is returned, it must be shipped back in its original
packaging.
Package contents:
• Camera
• Hex wrench
• Video cable for testing (except bullet cameras)
• Quick start guide
• CD with user manual and TruVision Device Finder.
CAUTION: Use direct plug-in UL listed power supplies marked Class 2/CE
certified or LPS (limited power source) of the required output rating as listed on
the unit.
Cable requirements
For proper operation, adhere to the following cable and power requirements for
the cameras. Category 5 cabling or better is recommended. All network cabling
must be installed according to applicable codes and regulations.
Table 1 below lists the requirements for the power cables that connect to the
camera.
Table 1: Recommended power cable requirements
Bullet camera:
12 VDC power jack
Dome camera:
24 VAC power jack

1BChapter 2: Installation
TruVision Outdoor IP Camera User Manual 5
Camera descriptions
Figure 1: Outdoor IP dome camera
1. Video output interface
2. LINK LED: The yellow LED is lit when the
network is connected.
3. ACT LED: The blue LED blinks when the
network is correctly functioning.
4. PWR LED: The red LED is lit when the
camera is powered up.
5. Micro SD slot
6. Reset switch.
Figure 2: Outdoor IP bullet camera
Sun shield
Mounting bracket
Safety cable
Threaded knockout for cable access
1BChapter 2: Installation
6 TruVision Outdoor IP Camera User Manual
Setting up the camera
Note: If the light source where the camera is installed experiences rapid, wide-
variations in lighting, the camera may not operate as intended.
To quickly put the dome camera into operation:
1. Prepare the mounting surface.
2. Connect the power and network cables to the camera. See “Connecting the
devices” on page 6.
3. Mount the camera to the ceiling using the appropriate fasteners. See
“Mounting the dome cameras on a ceiling” on page 8.
4. Set up the camera’s network and streaming parameters so that the camera
can be controlled over the network. See “Chapter 3 Network and streaming
configuration” on page 15.
5. Program the camera to suit its location. See “Chapter 4 Camera
configuration” on page 25.
To quickly put the bullet camera into operation:
1. Prepare the mounting surface.
2. Connect the power and network cables to the camera. See “Connecting the
devices” on page 6.
3. Mount the camera to the ceiling using the appropriate fasteners. See
Mounting the bullet camera” on page 8.
4. Set up the camera’s network and streaming parameters so that the camera
can be controlled over the network. See “Chapter 3 Network and streaming
configuration” on page 15.
5. Program the camera to suit its location. See “Chapter 4 Camera
configuration” on page 25.
Connecting the devices
A qualified service person, complying with all applicable codes, should perform
all required hardware installation.

1BChapter 2: Installation
TruVision Outdoor IP Camera User Manual 7
Note: Do not attempt to extend the power/data cable connection using RJ45
couplers and Cat5 cable. Only use the data cable connection provided.
Note: Use 24 VAC or PoE/PoE+. The built-in heater requires the camera to be
powered by 24 VAC or PoE+ in order to operate. When powered by standard
PoE, the heater is disabled but the camera still functions normally.
Figure 3: Connections on the base of the dome cameras
1. Power supply
Connect +24 VAC power supply.
2. Ethernet RJ45 PoE port
Connect to network devices.
Figure 4: Connections of the bullet cameras
1. Power supply
Connect +12 VDC power supply.
2. Ethernet RJ45 PoE port
Connect to network devices.
Accessing the SDHC card
Insert an SDHC card up to 32GB for local storage as a backup in case the
network fails, for example (see Figure 1 on page 5). The card is not supplied with
the camera.
Video and log files stored on the SDHC card can only be accessed via the Web
browser. You cannot access the card using TruVision Navigator or a recording
device.

1BChapter 2: Installation
8 TruVision Outdoor IP Camera User Manual
Note: There is no SDHC card slot in the bullet cameras.
Mounting the dome cameras on a ceiling
Mount the dome camera on a ceiling or wall.
To mount the dome on a ceiling:
1. Use the supplied template to mark out the mounting area. Drill the screw
holes on the ceiling. If you need to route the cables from the camera base, cut
a cable hole in the ceiling.
Cable hole
2. Secure the housing to the ceiling with screws.
3. Loosen the screws on the dome enclosure (1) using the supplied hex wrench
and remove the enclosure and the dome liner (2).

1BChapter 2: Installation
TruVision Outdoor IP Camera User Manual 9
4. Insert the dome module into the housing and pull the camera’s cables through
the threaded knockout on the base of the housing.
Note: The cables can also be passed through the threaded side knockout of
the housing. Use a waterproof conduit for the cables and seal all joints to
ensure so that no moisture can leak into the mounting surface.
Side knockout
5. Connect the network and power cables.
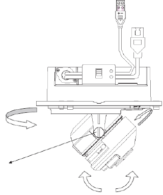
6. While viewing the video on the monitor, adjust horizontally and vertically the
camera pan and tilt. Adjust the lens focus to get optimal video effect.

1BChapter 2: Installation
10 TruVision Outdoor IP Camera User Manual
Pan
Lock screw
Rotate
Tilt
7. Reattach the dome liner and enclosure.
To mount the dome on a wall:
1. Use the supplied template to mark out the mounting area. Drill the screw
holes on the wall. If you need to route the cables from the camera base, cut a
cable hole in the wall.
Cable hole
2. Secure the housing to the wall with screws.
Note: Position the threaded side knockout facing downwards to prevent
moisture from entering the camera.

1BChapter 2: Installation
TruVision Outdoor IP Camera User Manual 11
3. Loosen the screws on the dome enclosure (1) using the supplied hex wrench
and remove the enclosure and the dome liner (2).
4. Insert the dome module into the housing and pull the camera’s cables through
the threaded knockout on the base of the housing.
Note: The cables can also be passed through the threaded side knockout of
the housing. Use a waterproof conduit for the cables and seal all joints to
ensure so that no moisture can leak into the mounting surface.
5. While viewing the video on the monitor, adjust horizontally and vertically the
camera pan and tilt. Adjust the lens focus to get optimal video effect.

1BChapter 2: Installation
12 TruVision Outdoor IP Camera User Manual
Pan
Lock screw
Rotate
Tilt
6. Reattach the dome liner and enclosure.
Mounting the bullet camera
Mount the bullet camera on a ceiling or wall.
To mount the camera on a ceiling:
1. Using the mounting bracket as a template, place it level against the mounting
surface and mark the position of the mounting holes.
2. Following all local codes, drill and prepare the mounting holes.
3. Securely fasten the mount to the mounting surface with the appropriate
fasteners. Clip the camera’s safety cable to the building’s superstructure for
security.
4. If needed, seal all mounting holes so that no moisture can leak into the
mounting surface.
5. Connect a Cat5e cable to the network cable, and connect a 12 VDC power
supply to the power cable.
6. Adjust the camera position and angle as required.
Using the camera with TVR 60/ TVN 20/
TVN 40/ LNVR and other systems
Please refer to the head-end user manuals for instructions on connecting and
operating the camera with these systems.
1BChapter 2: Installation
TruVision Outdoor IP Camera User Manual 13
Using the camera with TruVision Navigator
A camera must be connected to a TVR 60/ TVN 20/ TVN 40 in order to be
operated by TruVision Navigator. Please refer to the TruVision Navigator user
manual for instructions on operating the camera with the TruVision Navigator.
1BChapter 2: Installation
14 TruVision Outdoor IP Camera User Manual
TruVision Outdoor IP Camera User Manual 15
Chapter 3
Network and streaming
configuration
This chapter explains how to configure the camera network settings.
The cameras can be configured and controlled using Microsoft Internet Explorer
(IE). The procedures described use Microsoft Internet Explorer (IE) web browser.
You must have administrator rights on your PC in order to configure the cameras
over the internet.
Checking your web browser security level
When using the web browser interface, you can install ActiveX controls to
connect and view video using Internet Explorer. However, you cannot download
data, such as video and images due to the increased security measure.
Consequently you should check the security level of your PC so that you are able
to interact with the cameras over the Web and, if necessary, modify the Active X
settings.
Configuring IE ActiveX controls
You should confirm the ActiveX settings of your web browser.
To change the web browser’s security level:
1. In Internet Explorer click Internet Options on the Tools menu.
2. On the Security tab, click the zone to which you want to assign a web site
under “Select a web content zone to specify its security settings”.
3. Click Custom Level.

2BChapter 3: Network and streaming configuring
16 TruVision Outdoor IP Camera User Manual
4. Change the ActiveX controls and plug-ins options that are signed or
marked as safe to Enable. Change the ActiveX controls and plug-ins
options that are unsigned to Prompt or Disable. Click OK.
- or -
Under Reset Custom Settings, click the security level for the whole zone in
the Reset To box, and select Medium. Click Reset.
Then click OK to the Internet Options Security tab screen.
5. Click Apply in the Internet Options Security tab screen.
Windows Vista and 7 users
Internet Explorer for Windows Vista and Windows 7 operating systems have
increased security measures to protect your PC from any malicious software
being installed.
To have complete functionality of the Web browser interface with Windows Vista
and Windows 7, do the following:

2BChapter 3: Network and streaming configuring
TruVision Outdoor IP Camera User Manual 17
• Run the Browser interface and the DVR player application as an administrator
in your workstation
• Add the camera’s IP address to your browser’s list of trusted sites
To add the camera’s IP address to Internet Explorer’s list of trusted sites:
1. Open Internet Explorer.
2. Click Tools, and then Internet Options.
3. Click the Security tab, and then select the Trusted sites icon.
4. Click the Sites button.
5. Clear the “Require server verification (https:) for all sites in this zone box.
6. Enter the IP address in the “Add this website to the zone” field.
7. Click Add, and then click Close.
8. Click OK in the Internet Options dialog screen.
9. Connect to the camera for full browser functionality.
Accessing the camera over the internet
Use the web browser to access and configure the camera over the internet.
It is recommended that you change the administrator password once the set up
is complete. Only authorized users should be able to modify camera settings.
See “User management” on page 37 for further information.
To access the camera online:
1. In the web browser enter the camera’s IP address (default is 192.168.1.70).
Use the tool, TruVision Device Finder, enclosed on the CD to find the IP
address of the camera.
The Login dialog box appears.
Note: Ensure that the Active X controls are enabled.
2. Enter your user name and password.
User name: admin
Password: 1234
3. Click OK. The Web browser window appears in live view mode.
Note: You can stop and start live view by clicking the Start/stop live view
button on the bottom of the window.

2BChapter 3: Network and streaming configuring
18 TruVision Outdoor IP Camera User Manual
Overview of the camera web browser
The camera web browser lets you view, record, and play back recorded videos
as well as manage the camera from any PC with Internet access. The browser’s
easy-to-use controls give you quick access to all camera functions. See Figure 5
below.
Only one camera is accessible from a single Web browser window. If there is
more than one camera connected over the network, open a separate Web
browser window for each individual camera.
Note: Any changes made to the camera’s configuration only apply to this
camera. The configuration of other devices that may be connected to the
camera, such as cameras or DVRs, is not changed.
Figure 5: Web browser interface
Item Name Description
1. PTZ controls For autofocus.
Note: Only the zoom function is available for fixed IP
cameras with motorized lens.

2BChapter 3: Network and streaming configuring
TruVision Outdoor IP Camera User Manual 19
Item
Name
Description
2. Live view Click to view live video.
3. Playback Click to play back video.
4. Log Click to search for event logs. There are four main
information types: All, Alarm, Notification and Operation
Note: The Playback and Log functions are only available
when an SDHC card is inserted in the camera.
5. Configuration Click to display the configuration window for setting up the
camera. See Figure 6 on page 20.
6. Viewer Click to view live or play back video. Time, date and camera
name are displayed here.
7. Current user Displays current user logged on.
8. Exit Click to log out from the system. This can be done at
anytime.
9. Full screen Click to view as full screen.
The top toolbar is not visible in full-screen mode.
10. Start/stop live view Click to start/stop live view.
11. Capture Click to take a snapshot of the video. The snapshot will be
saved to the default folder in JPEG format. See “Local
configuration” on page 20 for more information.
12. Start/stop recording Click to record live video.
13. Video image settings Click the required icon in the pop-up window and then slide
the bar to adjust video image settings such as brightness,
contrast, saturation, hue and exposure time (exposure time
is equivalent to shutter speed). Changes appear immediately
and are also applied to the settings in the menu “Camera
image settings” (see page 34).
Click to return to default
settings.
14. e-PTZ N/A
Configuring the camera’s network settings
Once the camera hardware has been installed, configure the camera’s network
settings through the Web browser.
The camera Web browser lets you configure the camera remotely using your PC.
The camera is configured using on-screen display (OSD) menus. In the Web
browser window click the Configuration button on the toolbar to display the

2BChapter 3: Network and streaming configuring
20 TruVision Outdoor IP Camera User Manual
configuration window. The Local configuration window appears. See Figure 6 on
page 20.
The camera is shipped with on-screen display (OSD) menus in English only.
Figure 6: Example of a configuration window (Local configuration shown)
Configuration panel
Menu window
Current user displayed
Exit system
Save changes
There are two main folders in the configuration panel:
Local configuration
Remote configuration
Local configuration
Use the Local menu to manage the network type, display mode and local storage
paths. In the Configuration panel, click “Local configuration” to display the Local
settings window. See Figure 6 and Table 2 for descriptions of the different menu
parameters.
Table 2: Overview of the Local configuration window
Parameters
Description
Protocol type
Specifies the network protocol used.
Options include: TCP and UDP.
Stream type
Specifies the streaming method used.
Options include: Main stream and sub stream. Main is default.
Display mode
Specifies the width/height ratio of the image.
Options include: Full screen, 4:3, 16:9 or adjustable.
Package file size
Specifies the maximum file size.
Options include: 128 MB, 256 MB and 512 MB

2BChapter 3: Network and streaming configuring
TruVision Outdoor IP Camera User Manual 21
Parameters
Description
Transmission performance
Specifies the transmission speed.
Options include: Shortest delay mode, good real time, normal real
time and fluency, and good fluency.
Save record file
as Specifies the directory for recorded files. The default directory is
C:\Program Data\Web\RecordFiles.
Save captured picture as
Specifies the directory for saving snapshot files. The default
directory is C:\Program Data\Web\BMPCaptureFiles.
Save
playback captured
picture as
Specifies the directory for saving playback files. The default
directory is C:\Program Data\Web\PlaybackFiles.
Save download file as
Specifies the directory for downloaded files. The default directory is
C:\Program Data\Web\DownloadFiles.
Remote configuration
Use the “Remote configuration” panel to remotely configure the server, network,
camera, alarms, users, transactions and other parameters such as upgrading the
firmware. See Figure 7 and Table 3 for descriptions of the configuration folders
available.
Figure 7: Remote configuration panel (Basic information menu selected)
Table 3: Overview of the Remote configuration panel
Configuration folders
Description
Basic information
Defines the camera name and RS-485 bus ID. This window
also displays the MAC address, device type, device SN and
the current firmware version. See “Information about the
camera” on page 22.
Channel parameters
Defines the OSD properties of camera information, recording
parameters and schedules, motion detection parameters,
image quality, alarm responses, and overlay text. See
“Camera configuration” on page 25.

2BChapter 3: Network and streaming configuring
22 TruVision Outdoor IP Camera User Manual
Configuration folders
Description
Network
parameters Defines the network parameters required to access the
camera over the internet. See “Network parameters” on page
22.
Serial settings
N/A.
Deployment time
Defines the schedules during which events are registered.
See “Events scheduling” on page 28.
User management
Defines
who can use the camera, their passwords and access
privileges. See “User management” on page 37on page 37.
HDD
management Defines how to format the SDHC card used in the camera.
See “Formatting the SDHC card” on page 39.
Remote upgrade
Defines how to upgrade the camera’s firmware. See
“Upgrading the firmware” on page 40.
Default
Restores default settings. See “Restoring default settings” on
page 40.
Reboot device
Reboots the camera. See “Rebooting the camera” on page
41.
Information about the camera
Use the “Basic information” menu to define the camera name and RS-485 bus
ID. The default device name is “IP Camera” and device ID is 88. The camera can
have up to 12 alphanumeric characters in its name.
Several parameters are also prepopulated and cannot be changed manually
such as the camera, encoder, panel and hardware versions.
Network parameters
Accessing the camera through a network requires that you define certain network
settings. Use the “Network Parameters” folder to define the network settings. See
Figure 8 on page 23 for further information.
Note: When a network parameter is modified, the camera will prompt you to save
and reboot.

2BChapter 3: Network and streaming configuring
TruVision Outdoor IP Camera User Manual 23
Figure 8: Network subfolder window
Table 4: Network parameters
Parameters
Description
Network
NIC type: Specifies the NIC type. Default is 10M/100M Auto. Other
options include: 10M half-dup, 10M full-dup, 100M half-dup and 100M
full-dup and 10M/100M auto. Default is 10M/100M.
IP address: Specifies the IP address of the camera.
Subnet mask: Specifies the subnet mask. Default value is
255.255.255.0.
Gateway: Specifies the gateway IP address. Default value is 0.0.0.0.
DNS server:
Specifies the DNS server for your network. Default value is
0.0.0.0.
HTTP port: Specifies the port used for the Internet Explorer (IE)
browser. Default value is 80.
PPPoE
Use this option to retrieve a dynamic IP address.
DDNS
Specifies either DynDNS or IP server.
E
-mail Specifies the e-mail address to which messages are sent when an
alarm occurs. It is not possible to send an attachment with the e-mail.
To define the network parameters:
1. In the “Network Parameters” folder click the Network setting subfolder to
open its window.
From the NIC Type drop-down list, select the required value. Enter the values
for the IP address, subnet mask, gateway, DNS server and HTTP port. Click
Save to save changes.

2BChapter 3: Network and streaming configuring
24 TruVision Outdoor IP Camera User Manual
2. Click the PPPoE setting subfolder to open its window and check Enable
PPPoE. Enter the user name and password. Click Save to save changes.
3. Click the DDNS setting subfolder to open its window and check Enable
DDNS. Enter either IP server or DynDNS as protocol.
If DynDNS is selected, enter the user name and password registered to the
DynDNS web site. The domain name is that of the DynDNS web site. Click
Save to save changes and return to the “Network settings” menu.
4. Click the E-mail setting subfolder to open its window and enter the SMTP
server, SMTP port, user name and password and the e-mail sender and
receiver addresses. Click Save to save changes.
TruVision Outdoor IP Camera User Manual 25
Chapter 4
Camera configuration
This chapter explains how to configure the cameras through a Web browser.
You must have administrator rights on your PC in order to configure the cameras
over the internet.
Camera parameters
This section describes how to configure the camera settings from the Channel
Parameters window. There are seven subfolders, which are described below:
• Display settings: Defines how the date and time are displayed. By default
the name appears in the lower right corner of the window and the date/time
on the top. See “Defining how information is displayed” on page 26 for
information on defining the camera name.
• Video settings: Defines the video settings of a camera. The stream mode,
stream type, resolution, image quality, bit rate, frame rate, and video
compression can all be modified. See “Defining the system time” on page 27
for more information.
• Schedule record: Defines the recording schedule of the camera. See
“Defining a recording schedule” on page 30.
• Motion detection: Defines the on-screen area to trigger a response and the
method of response. See “Motion detection alarm” on page 31.
• Text overlay: Defines up to four lines of extra text on-screen. They can be
positioned anywhere. See “Adding extra on-screen text” on page 33.
• Camera image settings: Defines image quality parameters as well as
camera behavior such as shutter speed, iris mode, day/night mode, IR mode,
image flip, power mode and white balance.
• Time & date: Defines the synchronization of the time and date with the NTP
server.

3BChapter 4: Configuring the camera
26 TruVision Outdoor IP Camera User Manual
All changes made apply only to the camera being configured. Parameters cannot
be copied to another camera.
Note: When schedule parameters are modified, the camera will prompt you to
reboot after the changes are saved.
Figure 9: Channel parameters folder (Display setting menu shown)
Defining how information is displayed
In addition to the camera name, the camera also displays the system date and
time on screen. You can also define how the text appears on screen.
To position the date/time on screen:
1. In the Channel Parameters folder click the Display Setting subfolder to open
its window.
2. Check the Date&Time box to display the date/time on screen.
3. Check the Week box to include the day of the week in the on-screen display.
4. Select the date format from the Date format list box. Formats include:
• YYYY-MM-DD
• MM-DD-YYYY (Default)
• DD-MM-YYYY
5. Select the time format from the Time format list box. Formats include: 24-
hour and 12-hour.

3BChapter 4: Configuring the camera
TruVision Outdoor IP Camera User Manual 27
6. Select a display mode for the camera from the OSD Status list box. Display
modes include:
• Transparent & unflickering. The image appears through the text.
• Transparent & flickering. The image appears through the text. The text
flashes on and off.
• Non-transparent & unflickering. The image is behind the text. This is
default.
• Non-transparent & flickering. The image is behind the text. The text
flashes on and off.
7. Click Save to save changes.
Defining the system time
NTP (Network Time Protocol) is a protocol for synchronizing the clocks of
network devices, such as IP cameras and computers. Connecting network
devices to a dedicated NTP time server ensures that they are all synchronized.
To define the system time and date:
1. In the “Channel Parameters” folder click the Time & Date subfolder to open
its window.
2. Check one of the options for setting the time and date:
Synchronize with an NTP server: Check the enable box and enter the
server NTP address.
- Or -
Set manually: Enter the current date and time values.
3. Select your time zone.
4. Click Save to save changes.

3BChapter 4: Configuring the camera
28 TruVision Outdoor IP Camera User Manual
Alarm parameters
For future use.
Events scheduling
Use the deployment time menu to schedule when events can be registered.
Outside of these scheduled periods, the system cannot register any events. You
can configure up to four event periods a day.
For the event schedule to be operational, you must also define the motion
detection parameters (see page 31) as well as the alarm input and output
parameters (see page 28.) The recording schedule for motion detection must fall
within the time period of the event schedule.
Figure 10: Deployment time menu
To define an event schedule:
1. Click the “Deployment” folder to open its window.
2. Under “Event type” select the Motion detection.
3. Select the day of the week and the time period for the event schedule. The
time periods must not overlap.
4. Select another day of the week to set up its event schedule.
- Or -
Copy the event schedule to other days of the week by checking the days
required and click Copy.
5. Click Save to save changes.

3BChapter 4: Configuring the camera
TruVision Outdoor IP Camera User Manual 29
Defining recording parameters
You can adjust the video recording parameters to obtain the picture quality and
file size best suited to your needs. Figure 11 below lists the recording options you
can configure for the camera.
Figure 11: Video setting menu
Parameter
Description
Channel
name Name of the camera
Encod
ing parameters Specifies the dual streaming method used.
Options include: Main stream and sub stream. Default is Main.
Stream type
Specifies the stream type you wish to record.
Select Video to record video stream only. Select Video&Audio to record
both video and audio streams. Default value is Video&Audio.
Resolution
Specifies the recording resolution. A higher image resolution provides a
higher image quality but also requires a higher bit rate. The resolution
options listed depend on the type of camera and on whether main or
sub stream is being used. If you make changes to this option, you must
reboot the camera to implement the changes. The options are:
Main stream: 352*240, 352 *288, 640*480.
Sub stream: 320*240, 352*240 and 352*288.
Note: Resolutions can vary depending on the camera model.
Image quality
Specifies the quality level of the image.
Value is prepopulated High. It cannot be changed.
Bit rate type
Specifies whether variable or fixed bit rate is used. Variable produces
higher quality results suitable for video downloads and streaming.
Default is Constant.

3BChapter 4: Configuring the camera
30 TruVision Outdoor IP Camera User Manual
Parameter
Description
Max bit rate
Specifies the maximum allowed bit rate. A high image resolution
requires that a high bit rate must also be selected.
Options include: 32 bps, 48, 64, 80, 96, 128, 160, 192, 224, 256, 320,
384, 448, 512, 640, 768, 896, 1024, 1536, 1792, 2048, Custom (enter a
value manually). Default value is 2048.
Frame rate
Specifies the frame rate for the selected resolution.
The frame rate is the number of video frames that are shown or sent per
second. Default value is 25 (PAL)/ 30 (NTSC).
I
-frame interval A video compression method. It is strongly recommended not to change
the default value displayed: 25.
Multicast address
Specifies a D-class IP address between 224.0.0.0 to 239.255.255.255.
You do not need to specify this option if you are not using the multicast
function. Some routers prohibit the use of multicast function in case of a
network storm. The default value is 0.0.0.0.
RTSP port
Specifies the RTSP port. The default value is 554.
Video encode
r type Specifies the video encoder used.
Options include: H.264 and MPEG4
Defining a recording schedule
You can define a recording schedule for the camera in the “Schedule record”
window. The recording is saved on to the SDHC card in the camera. Although all
recordings are saved on a DVR, the camera’s SDHC card provides a backup in
case of network failure, for example.
The selected recording schedule applies to all alarm types.
You will be prompted to reboot the camera after making any schedule
modifications.
Post-event recording times
The post-event record time is used if you have the motion detection enabled.
When a motion alarm is cleared, the camera will continue recording based on the
value specified in this option. Options include: 5 (default), 10, 30 seconds, 1, 2, 5,
and 10 minutes.
To define a recording schedule:
1. In the “Channel parameters” folder click the Schedule record subfolder to
open its window.
2. Click the Enable Recording box to enable recording.
Note: To disable recording, deselect the option.
3. Select the post record time from the drop-down list.
4. Select whether the recording will be for the whole week (All day recording) or
for specific days of the week (Section recording).

3BChapter 4: Configuring the camera
TruVision Outdoor IP Camera User Manual 31
If you have selected “All day recording”, select one of the record types to
record from the drop-down list box:
• Schedule recording. This is continuous recording.
• Motion detection
5. If you selected “Section recording”, click the day of the week required and
then for section (period) 1 set the start and end times during which you want
the camera to begin and end recording.
From the drop-down list box select one of the record types to record.
Repeat for additional periods in the day. Up to four time periods can be
selected.
Note: The four time periods cannot overlap.
6. Set the recording periods for the other days of the week if required.
Use the Copy to option to copy the recording periods to another day of the
week.
7. Click Save to save changes.
Notes
• The camera will prompt you to reboot in order for the schedule to take effect.
• If you set the record type to “Motion detection”, you must also define the
motion detection alarm in order to trigger motion recording. See “Motion
detection alarms” below for more information.
Motion detection alarms
You can define motion detection alarms. A motion detection alarm refers to an
alarm triggered when the camera detects motion. However, the motion alarm is
only triggered if it occurs during a programmed time schedule.
Select the level of sensitivity to motion as well as the target size so that only
objects that could be of interest can trigger a motion recording. For example, the
motion recording is triggered by the movement of a person but not that of a cat.
You can define the area on screen where the motion is detected, the level of
sensitivity to motion, the schedule when the camera is sensitive to detecting

3BChapter 4: Configuring the camera
32 TruVision Outdoor IP Camera User Manual
motion as well as which methods are used to alert you to a motion detection
alarm.
Use the “Motion detection” window in the “Channel parameters” folder to change
the motion detection settings.
The recording schedule of the motion detection must fall within the time period of
the event schedule in order to operate correctly. See “Events scheduling” on
page 28 for more information.
Figure 12: Motion detection menu
Defining a motion detection alarm requires the following tasks:
1. Events schedule: Define the schedule during which the system inputs and
outputs are operational to detect alarms. See “Events scheduling” on page
28.
2. Recording schedule: Define the schedule during which motion detection can
be recorded. See “Defining a recording schedule” (see page 30).
3. Settings areas: Define the on-screen area that can trigger a motion detection
alarm and the detection sensitivity level. See below.
4. Linkage: Specify the method of response to the alarm. See below.
To define the motion detection areas and response method:
Note: The deployment and motion detection recording schedules must also be
defined for motion to be detected and recorded. See “Events scheduling” on
page 28 and “Defining a recording schedule” on page 30.
1. In the Channel Parameters folder click the Motion detection subfolder to
open its window.

3BChapter 4: Configuring the camera
TruVision Outdoor IP Camera User Manual 33
2. Check the Enable Motion Detection box.
Note: Deselect the “Enable Motion Detection” option to disable the motion
detection alarm.
3. Define the motion detection area or areas.
Click the Zone settings tab to display the motion detection window.
Place your mouse pointer at a point on the window from where you want to
start marking the motion detection area and it to mark the area sensitive to
motion. Several areas can be defined.
Note: You cannot adjust an area already drawn. Click Clear All to delete all
areas marked and restart drawing.
4. Select the motion detection sensitivity level from the drop-down list.
All areas will have the same sensitivity level.
5. Click the Linkage tab. The Linkage window appears.
6. Check one or more response methods for the system when a motion
detection alarm is triggered.
Send
Email Sends an e-mail to a specified address when there is a
motion detection alarm. See “Network parameters” on
page 22 for further information.
Trigger
channel Triggers the recording to start in the camera (A1).
7. Click Save to save changes.
Adding extra on-screen text
You can add up to four lines of text on screen. This option can be used, for
example, to display emergency contact details. Each text line can be positioned
anywhere on screen.
To add on-screen text:
1. In the Channel Parameters folder click the Text Overlay subfolder to open its
window.

3BChapter 4: Configuring the camera
34 TruVision Outdoor IP Camera User Manual
2. Check the OSD text box for the first line of text.
3. Enter the text in the Text information column. There is no limit to the number
of alphanumeric characters that can be used.
4. Enter the X and Y position co-ordinates of the text line on screen. The X
position values are 0 to 704 and Y position values are 0 to 576.
5. Repeat steps 2 and 4 for each extra line of text, selecting the next string
number.
6. Click Save to save changes.
Configuring the video image
You may need to adjust the camera image depending on the camera model or
location background in order to get the best image quality. You can adjust the
brightness, contrast, saturation and sharpness of the video image. See Figure 14
below.
Brightness, contrast, saturation, hue and shutter speed can also be modified in
live view using the pop-up video image menu. See item 13 in Figure 13 on page
34 for more information.
Use this menu to also adjust camera behavior parameters such as shutter speed,
iris mode, day/night mode, IR mode, image flip, power mode and white balance.
Figure 13: Camera image settings menu
Parameter
Description
Brightness
Video saturation
Sharpness
Modifies the different elements of picture quality by adjusting
the position of the values for each of parameter.

3BChapter 4: Configuring the camera
TruVision Outdoor IP Camera User Manual 35
Parameter
Description
Shutter
The shutter speed controls the length of time that the aperture
is open to let light into the camera through the lens.
Select a higher value to see movement and a lower value to
see clearer images. The settings available
depend on the lens
type used.
Iris mode
There are two settings, Manual and DC Iris. The type of lens
determines which setting is used.
Power mode
The camera cannot auto-sense the power supply.
Select 50 Hz (PAL) or 60 Hz (NTSC) depending on your
region.
IR
mode Defines whether the camera is in day or night mode. The day
(color) option could be used, for example, if the camera is
located indoors where light levels are always good.
Options:
Day: Camera is always in day mode.
Night: Camera is always in night mode.
Auto: The camera automatically detects which mode to use.
Default is Auto.
Day
/Night Adjusts the sensitivity of the camera to color or black and
white.
Options: Low, Normal or High. Default is Normal.
IR cut delay
Adjusts the delay time to change between day and night
mode.
WDR
level 1
WDR level 2
1.3MPX onlyWhen enabled, this feature (wide dynamic
range) allows you to see details of objects in shadows or
details of objects in bright areas of frames that have high
contrast between light and dark areas.
N/A
WDR contrast level
N/A
BLC
N/A
Image flip
Use this function to flip the original image into a mirror image.
This could be used, for example, when the camera needs to
be installed upside down. The image can be flipped
horizontally (up/down), vertically (right/left) or centered.
Default is None.
Note: The on-screen text does not flip.
White balance
White balance (WB) tells the camera what the color white
looks like. Based on this information, the camera will then
continue to display all colors correctly even when the color
temperature of the scene changes such as from daylight to
fluorescent lighting, for example. Select one of the options:
Auto: White balance is determined automatically.
White balance 1: White balance for indoor environments.
White balance 2: White balance for outdoor environments.
This option is only available on 1.3 MPX camera models.

TruVision Outdoor IP Camera User Manual 37
Chapter 5
Camera management
This chapter describes how to use the camera once it is installed and configured.
The camera is accessed through a Web browser.
User management
This section describes how to manage users from the “User Management”
window. You can:
Add or delete users
Modify passwords
Only the administrator can manage users. The administrator can create up to 15
additional individual users. When new users are added to the list, the
administrator can define individual passwords or each user can use a default
password. See Figure 14 below.
Figure 14: User management window
Passwords limit access to the camera and the same password can be used by
several users. When creating a new user, you must give the user a password.
There is no default password provided for all users. Users can modify their
password. However, only the administrator can create a password for a user.
Note: Keep the admin password in a safe place. If you should forget it, contact
technical support.

4BChapter 5: Camera management
38 TruVision Outdoor IP Camera User Manual
You can control who can connect to a camera by the user IP and physical (MAC)
addresses entered for a user. Setting up a user with a MAC address from the
user’s computer prohibits access to the camera from other computers. All users
can connect to a camera when IP and MAC addresses are set to zero.
The user access rights must be set up for each camera individually.
Types of users
A user’s access privileges to the system are automatically defined by their user
type. There are three types of user:
Admin: This is the system administrator. The administrator can configure all
settings. Only the administrator can create and delete user accounts. Admin
cannot be deleted.
Operator: This user can only change the configuration of his/her own
account. An operator cannot create or delete other users.
Viewer: This user can use the live view, record and playback modes as well
as take snapshots. However, they cannot change any configuration settings
nor search the logs for events.
Adding and deleting users
The administrator can create up to 15 users. Only the system administrator can
create or delete users.
To add a user:
1. Click the User management folder to open its window.
2. Select the Add button. The user management window appears.
Note: Only the administrator can create a user.
3. Enter a user name. The name can have up to 16 alphanumeric characters.
4. Assign the user a password. Passwords can have up to 16 alphanumeric
characters.
5. Enter the IP address and physical address (MAC address) of the user’s
computer.
6. Select the type of user from the drop-down list. The options are Viewer and
Operator.
7. Click OK to save the changes and return to the main “User management”
window.
4BChapter 5: Camera management
TruVision Outdoor IP Camera User Manual 39
To delete a user:
1. Click the User management folder to open its window.
2. Select the Delete button. The user management window appears.
Note: Only the administrator can delete a user.
3. Click the desired user in the list. Select Delete.
Confirm that you want to delete the user.
4. Click OK to save the changes.
Modifying user information
You can easily change the information about a user such as their name,
password or computer ID.
To modify user information:
1. Click the User management folder to open its window.
2. Select the user.
3. Click the Modify button The user management window appears.
4. Change the information required.
Note: The user “Admin” can only be changed by entering the admin
password.
5. Click OK to save the changes.
Formatting the SDHC card
Use the HDD Configuration window to display the capacity and free space
available on the SDHC card in the camera as well as the working status of the
HDD. You can also format the card.
Note: This function is not available for bullet cameras.
Before formatting the HDD (the SDHC card) stop all recording. Once formatting
is completed, reboot the camera as otherwise the device will not function
properly.
When the card becomes full, it overwrites the oldest recordings.

4BChapter 5: Camera management
40 TruVision Outdoor IP Camera User Manual
To format the SDHC card:
1. Click the HDD Management folder to open its window.
2. Click Select All in the HDD Number column to select the SDHC card. Only
one HDD option is listed.
3. Click Format. A window appears showing the formatting status.
Restoring default settings
Use the Default menu to restore default settings to the camera. There are two
options available:
Full mode: All parameters are restored to factory default settings.
Basic mode: All parameters are restored to factory default settings except for
the network settings IP address, subnet mask gate and port.
You can also do a hard reset by pressing the INITIAL SET button on the base of
the camera (see Figure 3 on page 7).
To restore default settings:
1. Click the Default folder to open its window.
2. Click either Full mode or Basic mode. You will receive a prompt asking you
to reboot the camera.
Upgrading the firmware
The camera firmware is stored in the flash memory. Use the upgrade function to
write the firmware file (digicap.DAV) into the flash memory.
You need to upgrade firmware when it has become outdated. When you upgrade
the firmware, all existing settings are unchanged. Only the new features are
added with their default settings.
4BChapter 5: Camera management
TruVision Outdoor IP Camera User Manual 41
To upgrade the firmware through the Web browser:
1. Download on to your computer the latest firmware from our web site at:
www.utcfssecurityproductspages.eu/videoupgrades/
2. In the “Remote configuration” folder select the subfolder “Remotely upgrade”
to open the “Remotely upgrade” window.
3. Click the Browse button to locate the latest digicap.DAV file on your
computer.
4. Click Update. You will receive a prompt asking you to reboot the camera.
Rebooting the camera
The camera can be easily rebooted remotely.
Click the folder Reboot device to open its window. Click OK to the question
“Restart the device?” The camera reboots.
4BChapter 5: Camera management
42 TruVision Outdoor IP Camera User Manual

TruVision Outdoor IP Camera User Manual 43
Chapter 6
Camera operation
This chapter describes how to use the camera once it is installed and configured.
Logging on and off
You can easily login and out of the camera browser window by clicking the Login
button on the menu toolbar. You will be asked each time to enter your user name
and password when logging in.
Figure 15: Login dialog box
Only one camera is accessible from a Web browser window. If there is more than
one camera connected to the network, open a separate Web browser window for
each individual camera.
Live view mode
Once logged in, open the camera’s Web browser window and click “Live” on the
menu toolbar to access live view mode. See “Figure 5: Web browser interface”
on page 18 for the description of the interface.
You can stop and start live view by clicking the Start/stop live view button on
the bottom of the screen.

5BChapter 6: Camera operation
44 TruVision Outdoor IP Camera User Manual
Adjusting the image quality
Click the video parameters button in the live view window to get a pop-up window
that lets you adjust video image settings such as brightness, contrast, saturation,
hue and exposure time (see Figure 5 on page 18). Changes appear immediately
and are also applied to the settings in the menu “Camera image settings” (see
page 34).
Manual recording
You can manually record live video and store the images on your computer’s
desk top. In the live view window, click the Record button at the bottom of the
screen. To stop recording, click the button again.
A folder with the recording automatically opens on your computer desktop when
recording stops.
Note: You must have manual recording rights to manually record images. See
“Modifying user information” on page 39 for more information.
Taking a snapshot
You can take a snapshot of a scene when in live view. Simply click the snapshot
button located at the bottom of the screen to save an image. The image is in jpeg
format. Snapshots are saved on the hard drive.
Playing back recorded video
You can easily search and play back recorded video from the dome cameras.
Note: There must be an SDHC card inserted in the camera to be able to use the
playback functions. Playback is not available for the bullet cameras as they
cannot be used with an SDHC card.
To search recorded video stored on the camera’s SDHC card for playback, click
Playback on the menu toolbar. The Playback window displays. See Figure 16 on
page 45.

5BChapter 6: Camera operation
TruVision Outdoor IP Camera User Manual 45
Figure 16: Playback window
Item
Name Description
1.
Playback button Click to open the Playback window.
2.
Full screen Click to view as full screen.
3.
Current status Displays recording type currently being played.
4
. Search calendar Click the day required to search.
You cannot search by particular criteria such as alarm
type or time. However, the type of recording is
displayed in the recording type bar (see item 9). The
color codes of the recording types are shown in item
11.
5.
Locate time Click to enter a specific time period to search.
6.
Start search Start search. Results are listed in the file list box
underneath and are arranged by start time.
7
. Download Click to download the selected file to your computer
desktop.
8
. Control playback Click to control how the selected file is played back:
play, stop, reverse and fast forward playback.
9
. Timeline bar The timeline bar displays the 24-hour period of the
day being played back. It moves left (oldest) to right
(newest). The bar is color-coded to display the
type of
recording.
Click a location on the timeline to move the cursor to
where you want playback to start. The timeline can
also be scrolled to earlier or later periods for play
back.
10
. Time moment Vertical bar shows where you are in the playback
recording. The current time and date are also
displayed.

5BChapter 6: Camera operation
46 TruVision Outdoor IP Camera User Manual
Item
Name Description
1
1. Recording type The color code
displays the recording type. Recording
types are schedule recording, alarm recording and
manual recording.
The recording type name is also displayed in the
current status window.
1
2. Archive functions Click these buttons for the following archive actions:
Capture a snapshot image of the playback
video.
Save the selected file onto your desktop.
1
3. Audio Adjust the audio level.
To play back a recorded file
Note: You must have playback rights to playback recorded images. See
“Modifying user information” on page 39 for more information.
1. Search for the desired video files using the Playback window. Recordings can
be searched by date and time. They are listed in the file list box and are
arranged by start time.
2. Double-click a video file in the file list box to start playback. Only the selected
file is played.
While playing back a video, the timeline bar displays the type and time of the
recording. The timeline can be manually scrolled using the mouse.
Searching event logs
There must be an SD card inserted in the camera to be able to record logs. The
log function is not available for the bullet cameras as they cannot be used with an
SD card.
The number of event logs that can be stored on a SD card depends on the
capacity of the card. When this capacity is reached, the system starts deleting
older logs. To view logs stored on the camera’s SD card, click Log on the menu
toolbar. The Log window appears. See Figure 17 on page 47.
Note: You must have view log access rights to search and view logs. See “User
management” on page 37 for more information.

5BChapter 6: Camera operation
TruVision Outdoor IP Camera User Manual 47
Figure 17: Log window
1.
Logs type
2.
Date search
3. Start and end search times
4. Start search
5. Export log. Save selected logs to your
computer desktop.
You can search for recorded logs by the following criteria:
Log type: There are three types of logs: Alarm, Notification and Operation. See
Table 5 below for their descriptions.
Date: Logs can be searched by date.
Time: Logs can be searched by start and end recording times.
Table 5: Types of logs
Log type
Description of events included
Alarm
Motion Detect Start, Motion Detect Stop
Notification
Video Signal Loss, Illegal Access, Hard Disk Error, Hard Disk Full, IP
Conflict, and DCD Lost
Operation
Power On, Shut Down, Abnormal Shut, Panel Login, Panel Logout, Panel
Config, Panel File Play, Panel Time Play, Local Start Record, Local Stop
Record, Panel PTZ, Panel Preview, Panel Set Time, Local Upgrade, Net
Login, Net Logout, Net Start Record, Net Stop Record, Net Start
Transparent Channel, Net Stop Transparent Channel, Net Get Parameter,
Net Config, Net get Status, Net Alert On, Net Alert Off, Net Reboot,
BiComStart (Start Voice Talk), BiComStop (Stop Voice Talk), Net Upgrade,
Net File Play, Net Time Play, Net PTZ

5BChapter 6: Camera operation
48 TruVision Outdoor IP Camera User Manual
To search logs by type:
1. Click Log in the menu toolbar to display the Log window.
2. In the Log Type drop-down list select the desired option.
3. Click Search to start your search. The results appear in the window.
To search logs by date and time:
1. Click Log in the menu toolbar to display the Log window.
2. Select a date to be searched. Only one day can be searched at a time.
3. Enter a start and end time.
4. Click Search to start your search. The results appear in the window.
Archiving recorded files
Export recorded files onto your computer desktop for archiving. You can also
archive specific incidents in a file.
Use the standard file player software to play back the videos on your PC.
Video that is manually recorded during live view mode is saved directly to your
computer desktop (see page 44).
Note: You must have playback privileges to play back recorded files. Avoid
moving the external recording device when backing up information onto it.
To archive a recorded video file:
1. Search for the required recorded file.
For more information on searching for recorded files, see “Playing back
recorded video” on page 44 and “Searching event logs” on page 46.
2. Select the file that you want to archive.
3. In playback mode:
Click Download to start archiving the file to your computer desktop.
- Or -
While playing back a video, click the save button to start archiving the file
to your computer desktop. Click again to stop archiving.
In log results:
Click the Export log to start archiving the file to your computer desktop
To archive a recorded video segment during playback:
1. While playing back a recorded file click the save button to start recording
and click it again to stop recording. A video segment is created.

5BChapter 6: Camera operation
TruVision Outdoor IP Camera User Manual 49
2. Repeat step 1 to create additional segments. You can generate up to 30
additional segments. The video segments are saved onto your computer
desktop.
Controlling zoom and focus
In live view you can control the focus and zoom functions of the camera.
PTZ control panel
Use the PTZ control panel to control the focus and zoom functions of the
cameras.
In live view, click / to display/hide the PTZ control panel.
Figure 18: PTZ control panel
Table 6: Description of the PTZ control panel
Item
Description
1
. Directional pad/auto-scan buttons: Controls the movements and directions of the
PTZ. Center button is used to start auto-pan by the PTZ dome camera.
2
. Zoom, focus and iris: Adjusts zoom, focus and iris.
3
. PTZ movement: Adjusts the speed of PTZ movement.
4
. Turns on/off camera light
5
. Turns on/off camera wiper
6
. Auto focus
7
. Initializes the lens
5BChapter 6: Camera operation
50 TruVision Outdoor IP Camera User Manual

TruVision Outdoor IP Camera User Manual 51
Appendix A
Specifications
TruVision outdoor IP dome cameras
Electrical
Voltage input
24 VAC ± 10%
PoE (IEEE 802.3af - heater will be disabled)
High PoE (802.3at)
Power consumption
Max. 12 W (w/o heater)
Max. 24 W (heater on)
Miscellaneous
Connectors
AC jack flying lead, RJ45 flying lead
Operating temperature
-40 to +60 °C (-40 to +140 °F)
Storage temperature
-20 to +70 °C (-4 to +158 °F)
Dimensions (D × H)
Φ 160 × 146 mm (Φ 6.29 × 5.75 in.)
Weight
2100 g (4.62 lbs)
Environmental rating
IP66
PC requirements
Intel
-based PC 1 GHz or faster
Memory
1 GB RAM
Operating system
Windows® XP, Vista or Windows 7
CGI
Direct X 9.0 or later
Browser
Microsoft Internet Explorer 6.0 or later

6BAppendix A: Specifications
52 TruVision Outdoor IP Camera User Manual
TruVision outdoor IP bullet cameras
Electrical
Voltage input
12 VDC, PoE (IEEE 802.3af)
Power consumption
Max. 12 W
Miscellaneous
Connectors
DC jack flying lead, RJ45 flying lead
Operating temperature
-10 to +60 °C (14 to 140 °F)
Storage temperature
-20 to +70 °C (-4 to +158 °F)
Dimensions (L × W × H)
98 × 88.6 × 328.8 mm (3.86” ×3.49” × 12.94 in.)
Weight
1700 g (3.75 lbs)
Environmental rating
IP66
Network
Protocols
TCP/IP, HTTP, DHCP, DNS, DDNS, RTP/RTCP, PPPoE,
SMTP, NTP
Ethernet/IP
CoS 802.1 p/Q, QoS, IPv4
PC requirements
Intel
-based PC 1 GHz or faster
Memory
1 GB RAM
Operating system
Windows® XP, Vista or Windows 7
CGI
Direct X 9.0 or later
Browser
Microsoft Internet Explorer 6.0 or later

TruVision Outdoor IP Camera User Manual 53
Appendix B
Pin definitions
There are eight wires on a standard UTP/STP cable and each wire is color-
coded. The following shows the pin allocation and color of straight and crossover
cable connection:
Figure 19: Straight-through cable
1 White/Orange
White/Orange 1
2 Orange Orange 2
3 White-Green White-Green 3
4 Blue Blue 4
5 White/Blue White/Blue 5
6 Green Green 6
7 White/Brown White/Brown 7
8 Brown Brown 8
Figure 20: Cross-over cable
1 White/Orange
White/Orange 1
2 Orange Orange 2
3 White-Green White-Green 3
4 Blue Blue 4
5 White/Blue White/Blue 5
6 Green Green 6
7 White/Brown White/Brown 7
8 Brown Brown 8
7BAppendix B: Pin definitions
54 TruVision Outdoor IP Camera User Manual
Please make sure your connected cables have the same pin assignment and
color as above before deploying the cables in your network.
TruVision Outdoor IP Camera User Manual 55
Index
A
Alarm configuration, 28
response method, 28
Alarm inputs configuration, 28
Alarm outputs configuration, 28
Alarm types
motion detection, 31
Archived files
playing back, 48
Archiving files
recorded files, 48
set up default directories, 20
snapshots of recorded files, 48
B
Brightness setup, 19, 34
C
Cabling requirements, 4
Camera configuration, 25
Camera descriptions, 5
Camera image
configuring, 34
day/night, 35
flip, 35
white balance, 35
Camera name
changing, 22
display, 26
Camera recording schedule
configuring, 30
Ceiling mounting
bullet camera, 12
dome camera, 8
Channel configuration, 25
Contrast setup, 19, 34
D
Date format set up, 26
Day/night setup, 35
Default settings
restore, 40
Device information
display, 22
Display information on-screen
set up, 26
E
E-mail setup
alarm response method, 28
configuring, 23
Events
searching logs, 46
Events schedule
defining, 28
Exposure time setup, 19
F
Firmware upgrade, 40
Frame rate
configuring, 30
H
Hard drive
capacity, 39
card full, 39
formatting, 39
Heater, 7
Hue setup, 19
I
Image flip, 35
Installing the cameras, 6
IP address
configuring, 23
finding IP address of camera, 17
L
Language, 20
Live view mode
starting, 43
Logging on and off, 43
Logs
information type, 47
search logs, 46
viewing logs, 46
Index
56 TruVision Outdoor IP Camera User Manual
M
Motion detection
configuring, 31
marking the detection areas, 33
Mounting bullet cameras
on a ceiling, 12
Mounting dome cameras
on a ceiling, 8
on a wall, 10
N
Network parameters, 22
Network protocol
setup, 20
Network settings
configuring, 19, 23
overview of local camera parameters, 20
NTP synchronization, 27
NTSC format
selecting, 35
P
PAL format
selecting, 35
Passwords
modifying, 39
Playback
play back recorded files, 46
screen, 44
searching recorded video, 44
Post-event recording times
description, 30
R
Reboot camera, 41
Recording
defining events schedule, 28
defining recoding schedule, 30
manual recording, 44
playback, 44
snapshots from recorded files, 48
snapshots in live view mode, 44
Recording parameters setup, 29
Resolution
configuring, 29
S
Saturation setup, 19, 34
SDHC card
accessing in camera, 7
capacity, 39
card full, 39
formatting, 39
free space available, 39
Sharpness setup, 34
Shutter speed setup, 35
Snapshots
archiving snapshots from recorded files, 48
saving during live view mode, 44
Streaming
main/sub setup, 20
System time
set up, 27
T
Text
adding extra lines of text on screen, 33
Text display on screen
appearance, 26
Time format set up, 26
TruVision Device Finder, 17
TruVision Navigator
using with, 13
TVR 60/TVN 20
using with, 12
U
User settings, 37
Users
adding new users, 38
deleting a user, 39
modifying computer ID, 39
modifying password, 39
types of users, 38
V
Video quality, 34
W
Wall mounting
dome camera, 10
Web browser
accessing the camera, 17
overview of the interface, 18
Web browser security level
checking, 15
White balance setup, 35
Wiring the bullet camera, 7
Wiring the dome camera, 7