InterLogix 466 4418 Advisor Power Supply Install Installation Sheet User Manual
2016-05-19
User Manual: InterLogix 466-4418-Advisor-Power-Supply-Install
Open the PDF directly: View PDF
.
Page Count: 4

P/N 466-4418 • REV A • 21MAY14 1 / 4
Advisor Power Supply Installation Sheet
EN
CNF
ES
PR
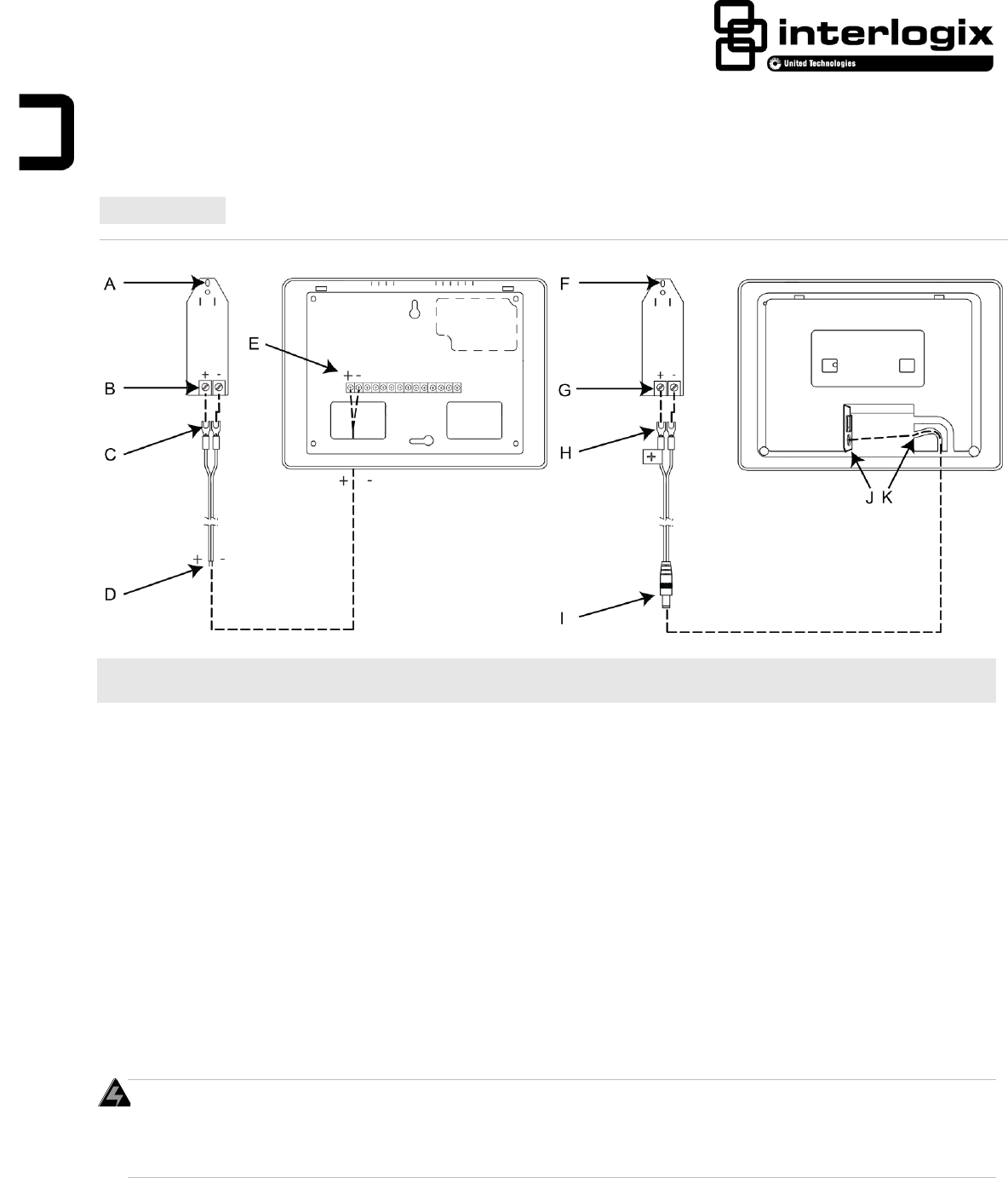
1. AdvisorOne Panel and Power Supply
2. Advisor TouchScreen and Power Supply
English: Installation Sheet
Description
The Advisor™ family of life-safety protection and comfort management systems detects situations, and provides control and
information for homes and businesses.
This document provides instructions on how to install or replace the power supply for the AdvisorOne panel and the Advisor
TouchScreen. The 12 VDC 2 A Power Supply (P/N AV-PS12V) can be used in North America and Europe (may require adapters in
Europe).
The Advisor power supply comes with two 8’ cords (one cord is for the AdvisorOne panel and the other cord is for the Advisor
TouchScreen). The cord for the AdvisorOne panel contains bare wires that connect to the panel. The cord for the Advisor
TouchScreen contains a barrel connector that connects to the TouchScreen. A label on the TouchScreen cord denotes polarity.
There is also an optional 25’ cord available with a barrel connector for the Advisor TouchScreen (P/N AV-TS-25CABLE).
Note: Unlike previous versions of power supplies, polarity matters. An improper connection could result in damage to the power
supply. Other Advisor panels may not be compatible with this power supply.
Preparation and Installation
WARNING:
• Use caution when installing or removing the power supply to an outlet with a metal cover.
• Observe wiring gauge requirements for the power supply if not using the included wire.
• Make sure the correct polarity is observed when connecting the wires from the panel to the power supply.

2 / 4 Advisor Power Supply Installation Sheet
AdvisorOne Panel
Installing the power supply in an AdvisorOne Panel:
Note: When choosing the AC outlet location for the external DC power supply, make sure the outlet is not controlled by a
switch or that it is not part of a ground fault circuit interrupt (GFCI).
1. Depending on the situation, it may be necessary to contact the central monitoring station before starting the installation.
2. If a power supply is present, remove the screw from the securement tab (A in Figure 1) and unplug the power supply.
3. Remove the screw securing the panel chassis. Open the panel by pressing down on the tabs and carefully swing the panel
chassis open.
CAUTION: Use static electricity precautions when handling electronic components.
4. Disconnect the battery from the battery connector by pressing down on the wire end of the battery clip.
5. Remove the Terminal Cover by pressing the tabs down and rotating the cover upward.
6. If an existing power supply is present, disconnect the wires from the existing power supply to the panel.
7. Connect the spaded ends of the wire (C in Figure 1) to the terminals on the power supply (B in Figure 1).
Note: The dashed line/writing side of the wire indicates positive. Ensure consistency by wiring + to + and - to -. Unlike
previous panels, this is a DC power supply and polarity must be observed or damage may occur.
8. Connect the other ends of the power supply wire (D in Figure 1) to the panel (E in Figure 1). Observe polarity.
9. Secure the Terminal Cover onto the panel. Make sure the tabs are engaged. The terminal cover must be secured for proper
operation.
10. Supply power to the panel as noted in Table 1.
Table 1: Powering the Panel
Installation
Action
Note
US
1. On the new power supply, knock out the screw hole in the securement
tab.
2. Plug the power supply into the outlet and secure with the supplied
screw.
Canada
Plug the power supply into the outlet.
Do not use the securement tab and screw.
All Other Installations
Follow regional requirements.
Note: Connect the battery within 15 seconds of providing power from the power supply to reduce the potential for a
low battery indication.
11. Connect the battery to the battery connector on the panel. Note that the cable connector locks into place.
12. Close the panel, making sure all tabs are engaged. Replace the screw securing the panel chassis.
13. If the central monitoring station was notified, inform them this operation is complete.

Advisor Power Supply Installation Sheet 3 / 4
Advisor TouchScreen
Installing the power supply in an Advisor TouchScreen:
1. Depending on the situation, it may be necessary to contact the central monitoring station before starting the installation.
2. If an existing power supply is present, remove the screw from the securement tab (F in Figure 2) and unplug the power supply.
Disconnect the power supply from the back of the TouchScreen.
3. Connect the dashed wire (H in Figure 2) with the + label to the + terminal on the power supply (G in Figure 2). Connect the
other wire to the - terminal on the power supply. Observe polarity. Note: The dashed line/writing side of the wire indicates
positive. Ensure consistency by wiring + to + and - to -. Unlike previous panels, this is a DC power supply and polarity
must be observed or damage may occur.
4. Connect the new power supply barrel connector (I in Figure 2) to the back of the Advisor TouchScreen (J in Figure 2).
5. Route the wire through the channel (K in Figure 2) in the back of the Advisor TouchScreen.
6. Supply power to the panel as noted in Table 2.
Table 2: Powering the Panel
Installation
Action
Note
US
1. On the new power supply, knock out the screw hole in the securement
tab.
2. Plug the power supply into the outlet and secure with the supplied
screw.
Canada
Plug the power supply into the outlet.
Do not use the securement tab and screw.
All Other Installations
Follow regional requirements.
7. If the central monitoring station was notified, inform them this operation is complete.
Power Supply Configuration and Programming
There is no configuration or programming required. To confirm the power supply is supplying power to the panel or TouchScreen:
1. Press the System Status icon .
2. Verify the Power icon is displayed in the System Status. If the Power Supply icon is not displayed, see the
“Troubleshooting” section.
Troubleshooting
Panel Will Not Power Up or Power Supply is Not Recognized
• Verify the outlet is working properly.
• Verify that the power supply is plugged in to the outlet and that it is not on a switched outlet.
• Verify the power supply wires are connected properly (ensure polarity is correct) at the power supply and at the panel.
TouchScreen Will Not Power Up
• Verify the outlet is working properly.
• Verify that the power supply is plugged in to the outlet and that it is not on a switched outlet.
• Verify the power supply wires are connected properly (ensure polarity is correct) at the power supply.
• Verify the barrel connector is fully seated into the TouchScreen connector.

4 / 4 Advisor Power Supply Installation Sheet
Specifications
Dimensions
1.4” wide x 4.0” high x 2.7” deep (36 mm x 103 mm x 69 mm)
Input
100-240 VAC, 50-60 Hz
Output
12 VDC 2000 mA
Type
Switching, meets Federal Energy Efficiency standards
Compatibility
AdvisorOne panel and Advisor TouchScreen
Contact Information
For general information, see www.interlogix.com. For customer/technical support, see www.interlogix.com/customer-support or call
+1 855 286 8889.
© 2014 United Technologies Corporation. Interlogix is part of UTC Building and Industrial Systems, a unit of United Technologies
Corporation. All rights reserved.
Limitation of Liability
To the maximum extent permitted by applicable law, in no event will Interlogix be liable for any lost profits or business opportunities,
loss of use, business interruption, loss of data, or any other indirect, special, incidental, or consequential damages under any theory
of liability, whether based in contract, tort, negligence, product liability, or otherwise. Because some jurisdictions do not allow the
exclusion or limitation of liability for consequential or incidental damages the preceding limitation may not apply to you. In any event
the total liability of Interlogix shall not exceed the purchase price of the product. The foregoing limitation will apply to the maximum
extent permitted by applicable law, regardless of whether Interlogix has been advised of the possibility of such damages and
regardless of whether any remedy fails of its essential purpose.
Installation in accordance with this manual, applicable codes, and the instructions of the authority having jurisdiction is mandatory.
While every precaution has been taken during the preparation of this manual to ensure the accuracy of its contents, Interlogix
assumes no responsibility for errors or omissions.
Canadian French: Installation Sheet
Translation of the manual into Canadian French.
Spanish: Installation Sheet
Translation of the manual into Spanish.
Portuguese: Installation Sheet
Translation of the manual into Portuguese.