Invacare Spyder Users Manual
Spyder to the manual 4029800b-9693-ae14-458a-a62f347c00db
2015-02-02
: Invacare Invacare-Spyder-Users-Manual-433411 invacare-spyder-users-manual-433411 invacare pdf
Open the PDF directly: View PDF
.
Page Count: 75

Yes, you can. ™
Spyder™
Parts Catalog Issued: Nov 8, 2007

The information contained in this document is subject to change without notice. This catalog contains
service parts for Form No. 00-87. If you have any questions regarding this catalog, please contact one of
our Customer Service Representatives.
For Customer Service Support Call:
1-800-333-6900
For Faxed In Orders Call:
1-800-678-4682 or
1-440-366-0709
For Technical Service Call:
1-800-832-4707
Literature Can Be Found at:
www.invacare.com or
1-800-828-6272
SYMBOL DEFINITION
Throughout this catalog you will notice letters to draw your attention to specific footnotes which are located at the
bottom of the page or below specified charts.
HARDWARE MEASUREMENTS
Examples:
= Special Comments
= General information pertaining to that specific page
= No Longer Available
NOTE:
NLA
The measurements for the hardware will be listed as follows:
Screws, Bolts
Washers
Spacers
For your convenience, we have supplied an area for you to list your Invacare Representatives.
A,B,C etc.
Diameter X Thread Count/Pitch X Length
Inside Diameter X Outside Diameter X Thickness
Inside Diameter X Outside Diameter X Length
Name Phone Numbers
©2007 Invacare Corporation. Elyria, Ohio. Invacare, Yes, you can., and the Medallion Design are registered trademarks and Spyder is a trademark of
Invacare Corporation. KIK is a registered trademark of KIK Technology, Inc.
Parts Catalog Usage Guide
1
Form No. 00-87
To order call toll free 1-800-333-6900, or www.invacare.com

Accessories, Miscellaneous ..................................................................................................... 72
Arms - "T" Arms and Hardware ................................................................................................ 23
Arms - Half Arms ...................................................................................................................... 21
Axle and Axle Mounting Plates ................................................................................................. 30
Back Canes .............................................................................................................................. 12
Back Upholstery - Adjustable Tension ..................................................................................... 16
Back Upholstery - Slip On ........................................................................................................ 14
Caster Forks ............................................................................................................................. 26
Caster Wheels and Hardware .................................................................................................. 28
Fabric Clothing Guards ............................................................................................................ 68
Folding Mechanism .................................................................................................................. 10
Footplate and Pivot Tube Assemblies - 1651 Composite ........................................................ 53
Footplate, Adjustable Angle Footplate with Pivot Tube - AT5543 ............................................ 58
Footplate, Pivot Tube and Hardware - 1651 Composite .......................................................... 51
Footplate, Pivot Tube and Hardware - A1562/A1564 Aluminum .............................................. 62
Footrest Support Assemblies ................................................................................................... 45
Frame Finishes and Touch-Up Paint ........................................................................................ 4
Frames, Seat Rails, and Hardware .......................................................................................... 7
Handrim Hardware ................................................................................................................... 40
Handrims .................................................................................................................................. 38
Heel Loops and Toe Loops ...................................................................................................... 64
TABLE of CONTENTS
Description
Page
Number
2
To order call toll free 1-800-333-6900, or www.invacare.com
Form No. 00-87

Legrest Calf Pads and Ratchet Assembly ................................................................................ 49
Legrest Support Assemblies - AT5044 ..................................................................................... 47
Packaging, Literature, and Decals ........................................................................................... 5
Rigid Side Guards .................................................................................................................... 70
Seat Upholstery ........................................................................................................................ 19
Tubular Footplates ................................................................................................................... 56
Wheel Lock - Undermount ........................................................................................................ 43
Wheel Lock, Hill Holder and Shoe Spacers ............................................................................. 41
Wheels with Handrims - Spoke ................................................................................................ 36
Wheels without Handrims - Composite .................................................................................... 32
Wheels without Handrims -Spoke ............................................................................................ 33
TABLE of CONTENTS
Description
Page
Number
3
To order call toll free 1-800-333-6900, or www.invacare.com
Form No. 00-87

Color Number Touch Up Paint Color
Anthracite103337622P
Denim Blue1101327102P
Electric Blue104632062P
Electric Red104632161P
Electric Teal1101316104P
Evergreen with Navy107389280P
Jeweled Green1101325101P
Lavender107389684P
Midnight Blue1101326105P
Mocha Frost1101324103P
Electric Purple104632266P
Red103145533P
Royal Blue with Grape107389583P
Sunny Yellow103144830P
Wet Black103145024P
Wet Black w/ Twilight SparkleN/A88P
White103144729P
Frame Finishes and Touch-Up Paint
4
To order call toll free 1-800-333-6900, or www.invacare.com
Form No. 00-87

Packaging, Literature, and Decals
5
To order call toll free 1-800-333-6900, or www.invacare.com
Form No. 00-87

Packaging, Literature, and Decals
Item
Number Part Number DescriptionNote
Quantity Per
Package Assembly
1019825 Carton 1 11
1023164-NLA Carton 1 12
40131X041 Insert, Top 1 13
1095715 Decals White 1 2A
1095716 Decals Black 1 2A
1093830 Owner's Manual 1 1A
A - Not Shown
Whe
n adjusting or replacing parts please refer to your Owner's Manual for assistance.
NOTE:
6
To order call toll free 1-800-333-6900, or www.invacare.com
Form No. 00-87

Frames, Seat Rails, and Hardware
7
To order call toll free 1-800-333-6900, or www.invacare.com
Form No. 00-87

Frames, Seat Rails, and Hardware
Item
Number Part Number DescriptionNote
Quantity Per
Package Assembly
See Chart #1 Side Frames 1 11
See Chart #2 Seat Rails 1 12
1028769 Locknut (5/16-18) 1 13
1021344 Screw, Socket Head Cap (5/16-18 x 1-1/2") 1 14
1091396 Upright Rear 1 15
7930334 Locknut (1/4-28) 25 26
1087109 Bracket Angle 1 27 A
1049527 Washer, Nylon (3/8 x 3/4 x 1/16") 1 28
1095731 Spacer (1/4 x 3/8 x 3/4") 1 29
1095740 Rear Upright with Latch (Short 12"-14" High) Right 1 110
1095741 Rear Upright with Latch (Short 12"-14" High) Left 1 110
1097045 Rear Upright with Latch (Tall 14"-20" High) Right 1 110
1097046 Rear Upright with Latch (Tall 14"-20" High) Left 1 110
1055347 Screw, Hex Head (1/4-28 x 1-1/2") 1 211
1044939 Screw, Hex Head (5/16-18 x 1-3/4") 1 112
1026906 Locknut (5/16-24) 1 113
1093803 Screw Allen Head (5/16-24 x 1-1/4") 1 114
1054571 Kit, Sector Block - Right 1 115
1054572 Kit, Sector Block - Left 1 115
1026907 Washer (1/4 x 1/2 x 1/16") 1 116
1052957 Screw, Hex Head (1/4-20 x 2") 1 117
40117X021 Bearing (1/2" I.D. x 1-1/8" O.D.) 1 218
1098181 Bracket Angle 1 219 B
1070398 Screw, Hex Head Cap (5/16-18 x 1-1/2") 1 120
7930345 Locknut (1/4-28) 25 421
1104169 Frame Hardware 1 122 B,C
A - Before 11/15/00
B - After 11/14/00
C - Includes items 3, 11, 19, 20, and 21. Does NOT include items 8 and 9
NOTE:
#1 Side Frames
Chair Depth
18"17"16"15"14"
88810936828881093678888109106588810936728881093668Right
88810936838881093679888109106688810936738881093669Left
Specify frame color when ordering.
#2 Seat Rails
Chair Depth
8
To order call toll free 1-800-333-6900, or www.invacare.com
Form No. 00-87

Frames, Seat Rails, and Hardware
#2 Seat Rails
Chair Depth
18"17"16"15"14"
88810937918881093790888109378988810937888881090767
Specify frame color when ordering.
9
To order call toll free 1-800-333-6900, or www.invacare.com
Form No. 00-87

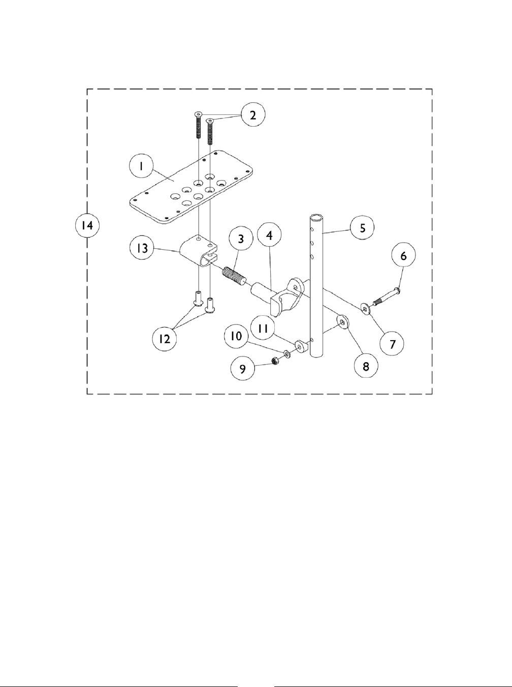
Folding Mechanism
10
To order call toll free 1-800-333-6900, or www.invacare.com
Form No. 00-87

Folding Mechanism
Item
Number Part Number DescriptionNote
Quantity Per
Package Assembly
1092994 Hinge, Plate 1 41
1093527 Bushing, Front Inner 1 22
1093026 Bushing, Slider 1 23
1092996 Bushing, Rear Inner 1 24
1093762 Retaining Ring 1 205
1092995 Bushing, Rear Outer 1 26
1093528 Bushing, Front Outer 1 27
1095720 Spacer, Nylon 1 28
1095721 Bumper, Frame 1 29
See Chart #10 Folding Mechanism 1 110
#10 Folding Mechanism Assembly
Chair
Width 14"
Seat Depth 15"
Seat Depth 16"
Seat Depth 17"
Seat Depth 18"
Seat Depth
1098139109813810981371098136109813514"
1098144109814310981421098141109814015"
1098149109814810981471098146109814516"
1098153109815210981511098150N/A17"
1098157109815610981551098154N/A18"
109816010981591098158N/AN/A19"
10981621098161N/AN/AN/A20"
11
To order call toll free 1-800-333-6900, or www.invacare.com
Form No. 00-87

Back Canes
12
To order call toll free 1-800-333-6900, or www.invacare.com
Form No. 00-87

Back Canes
Item
Number Part Number DescriptionNote
Quantity Per
Package Assembly
1006229 Grip, Foam (8") 1 11
1027097 Plug Button, Black (3/4") 1 12
1008432 Screw, Button Head Socket (1/4-20 x 1-1/4") 1 13
1025195 Locknut (1/4-20) 1 14
1026971 0 2 25
1093821 Back Cane with Grip Straight (12"-14" High) 1 25
1095738 Back Cane with Grip Straight (14"-18" High) 1 25
1095739 Back Cane w/ Grip 10 Degree Bend (16"-18" High) 1 25
1095734 Back Cane w/ Grip 10 Degree Bend (20" High) 1 25
13
To order call toll free 1-800-333-6900, or www.invacare.com
Form No. 00-87

Back Height
16-20"14-18"12-16"10-14"8-12"
Chair
Width
1026816102680910435391026802102679514"
1026817102681010435401026803102679615"
1026818102681110435411026804102679716"
1026819102681210435421026805102679817"
1026820102681310429831026806102679918"
1026821102681410435431026807102680019"
1026822102681510435441026808102680120"
Slip On Back Upholstery
14
To order call toll free 1-800-333-6900, or www.invacare.com
Form No. 00-87

Slip On Back Upholstery
Back Upholstery Hardware
Item
Number Part Number DescriptionNote
Quantity Per
Package Assembly
1026298 Screws with Washers (#10 x 7/8") 2 1A
See Chart Back Upholstery 1 1A
A - Not Shown
NOTE:
15
To order call toll free 1-800-333-6900, or www.invacare.com
Form No. 00-87

Adjustable Tension Back Upholstery
16
To order call toll free 1-800-333-6900, or www.invacare.com
Form No. 00-87

Adjustable Tension Back Upholstery
Back
Height Seat
Width Back
Anchor Hook & Loop
Adjuster Back
Cover
Back
Assembly
See Note(s) A
107910310379291046284104628714"10-14"
107910410379301046284104628715"10-14"
107910510379311046284104628716"10-14"
107910610379321046285104628717"10-14"
107910710379331046285104628718"10-14"
107910810379341046286104628719"10-14"
107910910379351046286104628720"10-14"
103947810379181037925103791614"12-16"
103947910379191037925103791615"12-16"
103948010379201037925103791616"12-16"
103948110379211037917103791617"12-16"
103948210379221037917103791618"12-16"
103948310379231037926103791619"12-16"
103948410379241037926103791620"12-16"
103948510377221037736103772014"14-18"
103948610377231037736103772015"14-18"
103948710377241037736103772016"14-18"
103948810377251037721103772017"14-18"
103948910377261037721103772018"14-18"
103949010377271037737103772019"14-18"
103949110377281037737103772020"14-18"
104674210467351046732104673114"16-20"
104674310467361046732104673115"16-20"
104674410467371046732104673116"16-20"
104674510467381046733104673117"16-20"
104674610467391046733104673118"16-20"
104674710467401046734104673119"16-20"
104674810467411046734104673120"16-20"
A - Back Assembly includes Back Anchor, Hook and Loop Adjuster, Back Cover and Instruction Sheet. NOTE:
17
To order call toll free 1-800-333-6900, or www.invacare.com
Form No. 00-87

Adjustable Tension Back Upholstery
Adjustable Tension Back Hardware
Item
Number Part Number DescriptionNote
Quantity Per
Package Assembly
1026298 Screws with Washers (#10 x 7/8") 2 1A
1039470 Instruction Sheet, Adjustable Tension Back
Upholstery 1 1A
See Chart Back Upholstery - Adjustable Tension 1 1A
A - Not Shown
NOTE:
18
To order call toll free 1-800-333-6900, or www.invacare.com
Form No. 00-87

Seat Depth
18"17"16"15"14"
Chair
Width
1032084103208310320821032081103208014"
1032089103208810320871032086103208515"
1032094103209310320921032091103209016"
1032099103209810320971032096103209517"
1032104103210310321021032101103210018"
103210710321061032105N/AN/A19"
103211010321091032108N/AN/A20"
Seat Upholstery
19
To order call toll free 1-800-333-6900, or www.invacare.com
Form No. 00-87

Seat Upholstery
Seat Upholstery Hardware
Item
Number Part Number DescriptionNote
Quantity Per
Package Assembly
1026933 Seat Upholstery Hardware Kit - 18" Deep 1 1A
See Chart Seat Upholstery 1 1A
A - Not Shown
NOTE:
20
To order call toll free 1-800-333-6900, or www.invacare.com
Form No. 00-87

Half Arms and Hardware
21
To order call toll free 1-800-333-6900, or www.invacare.com
Form No. 00-87

Half Arms and Hardware
Item
Number Part Number DescriptionNote
Quantity Per
Package Assembly
8881011810 Arm Pad - Desk Length 1 11 A
1032244 Grip, Foam Hand (9" Long) 1 11
1064064 Grip, Foam -Full Length 1 11
1055205 Package, Screw Phillips Head (#10-32 x 1-3/8") 2 12
1093828 Half Arm Tube -Right 1 13
1093829 Half Arm Tube -Left 1 13
1097056 Socket, Half Arm - Right 1 14
1097057 Socket, Half Arm - Left 1 14
1018687 Sleeve, Bearing 1 15
7930341 Screw Hex Head (1/4-28 x 2") 25 26
7930345 Locknut (1/4-28) 25 27
A - Specify U67 upholstery color when ordering.
NOTE:
22
To order call toll free 1-800-333-6900, or www.invacare.com
Form No. 00-87

"T" Arms and Hardware
23
To order call toll free 1-800-333-6900, or www.invacare.com
Form No. 00-87

"T" Arms and Hardware
Item
Number Part Number DescriptionNote
Quantity Per
Package Assembly
8881011810 Arm Pad - Desk Length 1 11 A
8881011813 Arm Pad, Full Length 1 11 A
1026107 Screw, Phillips Pan Head (#10-32 x 1-3/8") 1 22
1069639 "T" Arm w/ Plug Buttons, Desk Length - Low Range 1 13
1069641 "T" Arm w/ Plug Buttons, Desk Length - High Range 1 13
1069643 "T" Arm w/ Plug Buttons, Full Length - Low Range 1 13
1069645 "T" Arm w/ Plug Buttons, Full Length - High Range 1 13
1027095 Plug Button, Black (7/8") 1 24
1069635 Arm Post, Low Range 1 15
1069637 Arm Post, High Range 1 15
1073424 Kit, Clothing Guard, Low Range - Right 1 16
1073425 Kit, Clothing Guard, Low Range - Left 1 16
1073422 Kit, Clothing Guard, High Range - Right 1 16
1073423 Kit, Clothing Guard, High Range - Left 1 16
1069652 Clothing Guard, Low Range 1 17
1069651 Clothing Guard, High Range 1 17
1069634 Support Tube, Low Range - Right 1 18
1073247 Support Tube, Low Range - Left 1 18
1069650 Support Tube, High Range - Right 1 18
1073246 Support Tube, High Range - Left 1 18
1028427 Grip, Foam 1 19
1025731 Locknut (#10-32) 1 110
1073235 Lock Lever 1 111
1025716 Screw, Phillips Head (#10-32 x 11/16") 1 112
1073196 Spring 1 113
1006773 Screw, Socket Head (1/4-20 x 1/2") 1 314
1075069 Clamp, Clothing Guard - Right 1 115
1075070 Clamp, Clothing Guard - Left 1 115
1069632 Kit, Arm Post Attaching Hardware, Bolt On 1 116
1055305 Screw, Button Head Socket Cap (1/4-28 x 3/4") 1 417
1069609 Insert, Arm Socket 1 218
1055348 Screw, Hex Head Cap (1/4-28 x 1-3/4") 1 219
1069629 Bracket, T-Arm Socket (Threaded) 1 120
1026907 Washer (1/4 x 1/2 x 1/16") 1 221
1085111 Hex Nut (1/4-28) 1 322
1069620 Bracket, Socket 1 123
1026108 Lockwasher (1/4 x 15/32 x 1/64") 1 424
See Chart "T" Arm Kits 1 1B
A - Specify upholstery color U67 Black when ordering.
B - Not Shown
NOTE:
24
To order call toll free 1-800-333-6900, or www.invacare.com
Form No. 00-87

"T" Arms and Hardware
"T" Arm Kits
Kits Include Items 1-3,5-6
Part Number Arm Style
Desk Length, Low Range (1 Pair)8881074078
Desk Length, High Range (1 Pair)8881074079
Full Length, Low Range (1 Pair)8881074080
Full Length, High Range (1 Pair)8881074081
Specify U67 upholstery color when ordering.
25
To order call toll free 1-800-333-6900, or www.invacare.com
Form No. 00-87

Caster Forks
26
To order call toll free 1-800-333-6900, or www.invacare.com
Form No. 00-87

Caster Forks
Item
Number Part Number DescriptionNote
Quantity Per
Package Assembly
1038353 Cap, Caster Headtube 1 11
1025737 Locknut (1/2-20) 1 12
1026174 Washer (1/2 x 7/8 x 3/64") 1 63
40117X021 Bearing (1/2" I.D. x 1-1/8" O.D.) 1 24 A
1046495 Spacer (1/2 x 3/4 x 1") 1 15 B
1097039 Fork w/ Hardware -6" 1 16 C
1097040 Fork, Extended w/ Hardware -6" 1 16 D
1024682 Fork Stem 1 17
1046446 Fork Stem, 1" Extension 1 17
1088647 Pin, Slotted (5/16 x 1-3/4") 1 18
1030957 Screw, Socket Head Shoulder (1/4 x 1-3/4") 1 19
1088570 Fork, Suspension - Front 1 110
1100857 Nut, Hex with Nylon Cap (#10-24) 1 111
1100507 Spring Polyurethane Black (Pair) 2 112
1093978 Flange (5/16" I.D.) 1 213
1088571 Mount, Suspension Fork 1 114
1098173 Fork, Suspension w/ Hardware -6" 1 115 E
1098174 Fork, Extended Suspension w/ Hardware -6" 1 115 F
1065629 Kit, Fork w/ Hardware -6 x 2" & 8" Casters 1 116 G
A - Item 4 Bearings are Not Included in Fork Assemblies.
B - Spacer required for Forks w/ extended stems only (Part nos. 1097040 & 1098174).
C - Includes Fork and items 1-3.
D - Includes Fork and items 1-3, 5.
E - Includes items 1-3,7-14.
F - Includes items 1-3,5,7-14.
G - Includes Fork and items 1-3.
NOTE:
27
To order call toll free 1-800-333-6900, or www.invacare.com
Form No. 00-87

Caster Wheels and Hardware
28
To order call toll free 1-800-333-6900, or www.invacare.com
Form No. 00-87

Caster Wheels and Hardware
Axle Hardware
Wheel
Style Wheel
Size Tire
Type #1
Axle #2
Axle Nut #3
Spacer
102610210257301026908Urethane3"/5"Composite
102610210257301025764Urethane6"Composite
102610210257301025764Semi-Pneumatic6"Composite
102572410257341025726Urethane8"Composite
102572410257341025726Pneumatic8"Composite
102853910257301031891Urethane5"/6"
Suspension Fork -
Composite
Casters
Wheel
Style Tire Tube/
Insert
Wheel
Size Tire
Type Bearing Bearing
Spacer Caster Wheel
w/ Bearings
N/AN/A1032190102617240117X026Urethane3"AT900
N/AN/A1026952102617240117X026Urethane5"5ALUM
N/AN/A1029496102617240117X026Urethane5"AT901
N/AN/A1029500102617240117X026Urethane6 x 1"AT902
102601110260101044040102617240117X026Pneumatic6 x 2"6PNEU
N/A1038157103816110205921006049Urethane8 x 1-1/4"AT903
40176X04140176X040100948110205921006049Pneumatic8 x 1-1/4"AT1292
101090440176X040102511110205921006049
Pneumatic
w/ Flat Free
8 x 1-1/4"AT1292FF
29
To order call toll free 1-800-333-6900, or www.invacare.com
Form No. 00-87

Axle and Axle Mounting Plates
30
To order call toll free 1-800-333-6900, or www.invacare.com
Form No. 00-87

Axle and Axle Mounting Plates
Item
Number Part Number DescriptionNote
Quantity Per
Package Assembly
1044945 Nut, Hex (3/4-16) 1 21
7930324 Washer (5/8" x 1" x 11/16") 25 22
1026178 Bushing, Axle (2-1/2") 1 13
1093802 Axle Mounting Plate Slotted (0 Degree Camber) 1 14
1087138 Axle Mounting Plate Slotted (3 Degrees Camber) 1 14
1095729 Axle Mounting Plate Slotted (6 Degrees Camber) 1 14
1025737 Locknut (1/2-20) 1 15
1049227 Screw, Hex Head (1/2-20 x 5-1/4") 1 16
1040361 Axle, Quick Release w/ Locknut (1/2" x 5") 1 17
1043487 Axle, Quad Release 1 18
1068038-NLA Axle, Quick Release (Dome) 1 19 A
1113049 Axle, Quick Release with Dome Button (Black) 1 19 B
1065303 Axle, Quick Release with Flat Button (Black) 1 19 C
7930345 Locknut (1/4-28) 25 410
1055350 Screw, Hex Head (1/4-28 x 2-1/4") 1 211
1055351 Screw, Hex Head (1/4-28 x 2-1/2") 1 212
A - Q.R. Axle (1068038) had an Anodized Dome finish. Q.R. Axle part no. 1113049, w/ Black dome button, can be used as a
replacement but may want to replace in pairs due to aesthetics.
B - Used on all Spoke Rear Wheels except SPIN24, SPIN25, and SPIN26
C - Used on SPIN24, SPIN25, and SPIN26 Spoke Rear Wheels
NOTE:
31
To order call toll free 1-800-333-6900, or www.invacare.com
Form No. 00-87

Wheel
Style Bearing Hub
Spacer
Wheel
Size Tire
Type Wheel
Single # Tire Tube/
Insert
101575640117X022101752010175191026422Pneumatic20 x 1-3/8"20COM
101575640117X022102332210175191026423
Pnuematic
w/ Flat Free
20 x 1-3/8"20COM
101575640117X022N/A10377741038364Urethane20 x 1-1/4"20COM
101575640117X022N/A10282501032116Urethane22 x 1-1/4"22COM
101575640117X022101854510185441026420Pneumatic22 x 1-3/8"22COM
101575640117X022102332310185441026421
Pneumatic
w/ Flat Free
22 x 1-3/8"22COM
101575640117X022N/A10269041032118Urethane24 x 1-1/4"24COM7
101575640117X022N/A10628521091330KIK24 x 1-1/4"24COM7
101575640117X02240176X06140176X0601026362Pneumatic24 x 1-3/8"24COM7
101575640117X022101090640176X0601026363
Pneumatic
w/ Flat Free
24 x 1-3/8"24COM7
N/AN/A102947110449471064552
559 Primo
25"
3SCF-3
Spoke
Carbon Fiber See Note(s) A
A - The 3 Spoke Carbon Fiber Wheel comes with the Handrim already attached. NOTE:
Composite Rear Wheels
(without Handrims)
32
To order call toll free 1-800-333-6900, or www.invacare.com
Form No. 00-87

Wheel
Style Bearing Hub
Spacer
Wheel
Size Tire
Type Wheel
Assembly Tire Tube
Insert
101575640117X02110175201017519
1115585
Pneumatic20 x 1-3/8"20SP See Note(s) C
101575640117X02110233221017519
1115589
Pneumatic
w/ Flat Free
20 x 1-3/8"20SP See Note(s) A, C
101575640117X02110185451018544
1115656
Pneumatic22 x 1-3/8"22SP See Note(s) C
101575640117X02110233231018544
1115658
Pneumatic
w/ Flat Free
22 x 1-3/8"22SP See Note(s) A, C
101575640117X021N/A1026139
1116705
Continental24"24SP See Note(s) C
101575640117X02140176X06140176X060
1115660
Pneumatic24"24SP See Note(s) C
101575640117X021101090640176X060
1116707
Pneumatic
w/ Flat Free
24"24SP See Note(s) A, C
101575640117X02110322401026138
1115662
Primo24"24SP See Note(s) C
101575640117X021N/A1062852
1114112
KIK24"24SP See Note(s) C
101575640117X021N/A1026139
1116713
Continental24"24HPS See Note(s) C
101575640117X02140176X06140176X060
1116709
Pneumatic24"24HPS See Note(s) C
101575640117X021101090640176X060
1116715
Pneumatic
w/ Flat Free
24"24HPS See Note(s) A, C
101575640117X02110322401026138
1116711
Primo24"24HPS See Note(s) C
101575640117X021N/A1062852
1114138
KIK24"24HPS See Note(s) C
N/A40117X02111059411026138
1112338
Primo
(Single #)
24"SPIN24 See Note(s) B
N/A110435011059411026138
1112353
Primo
(1 Pair)
24"SPIN24 See Note(s) B
101575640117X02110294711044947
1116717
Primo25"559TS See Note(s) C
N/A110435011043261044947
1112348
Primo
(Single #)
25"SPIN25 See Note(s) B
N/A110435011043261044947
1112354
Primo
(1 Pair)
25"SPIN25 See Note(s) B
101575640117X021N/A1026143
1115653
Continental26"26HPS See Note(s) C
101575640117X02110261401026142
1115652
Pneumatic26"26HPS See Note(s) C
101575640117X02110294711029470
1115654
Primo26"26HPS See Note(s) C
Spoke Rear Wheels
(without Handrims)
33
To order call toll free 1-800-333-6900, or www.invacare.com
Form No. 00-87

Spoke Rear Wheels
(without Handrims)
Wheel
Style Bearing Hub
Spacer
Wheel
Size Tire
Type Wheel
Assembly Tire Tube
Insert
N/A110435011043261029470
1112343
Primo
(Single #)
26"SPIN26 See Note(s) B
N/A110435011043261029470
1112355
Primo
(1 Pair)
26"SPIN26 See Note(s) B
101575640117X021N/A1026143
1116721
Continental26"26SP See Note(s) C
101575640117X02110261401026142
1116719
Pneumatic26"26SP See Note(s) C
101575640117X02110294711029470
1116723
Primo26"26SP See Note(s) C
A - Stem Hole Plugs (Part Number 1030936) are used with Flat Free and Urethane Tires.
B - As of 7/15/02 Spinergy Wheels now have 18 spokes instead of 30. For chairs built Before 7/15/02, it is recommended when one
wheel is requested that the wheels be replaced in pairs.
C - As of 11/08/02 these wheels now have a Black finish. For chairs built Before 11/08/02, it is recommended when one wheel is
requested that the wheels be replaced in pairs.
NOTE:
34
To order call toll free 1-800-333-6900, or www.invacare.com
Form No. 00-87

Spoke Rear Wheels
(without Handrims)
Item
Number Part Number DescriptionNote
Quantity Per
Package Assembly
1030936 Valve Stem Plug 1 1A
See Chart Wheels without Handrims - Spoke 1 1A
A - Not Shown
NOTE:
35
To order call toll free 1-800-333-6900, or www.invacare.com
Form No. 00-87

Wheel Style 8 Oblique
Projection
Tire Type Anodized
Aluminum Grey
Plastic Coated Black
Plastic Coated 8 Vertical
Projection
N/AN/A
1115423
1049448-NLA
1115584
Pneumatic20SP See Note(s) B See Note(s) B
N/AN/A
1115424
1049450-NLA
1115586
Pneumatic
w/ Flat Free
20SP See Note(s) B See Note(s) B
N/A
1115425
1115591
1049452-NLA
1115588
Pneumatic22SP See Note(s) B See Note(s) B See Note(s) B
N/A
1115426
1115593
1049456-NLA
1115590
Pneumatic with
Flat Free
22SP See Note(s) B See Note(s) B See Note(s) B 1115428
1115427
1115599
1049460-NLA
1115594
Pneumatic24SP See Note(s) B See Note(s) B See Note(s) B See Note(s) B
1115430
1115429
1115601
1049465-NLA
1115597
Pneumatic with
Flat Free
24SP See Note(s) B See Note(s) B See Note(s) B See Note(s) B
1115432
1115431
1115603
1049470-NLA
1115602
Primo24SP See Note(s) B See Note(s) B See Note(s) B See Note(s) B
1115434
1115433
1115607
1049475-NLA
1115606
Continental24SP See Note(s) B See Note(s) B See Note(s) B See Note(s) B
1115448
1115447
1115646
1091332-NLA
1115645
KIK24SP See Note(s) B See Note(s) B See Note(s) B See Note(s) B
N/A
1115439
1115623
1049496-NLA
1115622
Pneumatic24HPS See Note(s) B See Note(s) B See Note(s) B
N/A
1115440
1115626
1049500-NLA
1115625
Pneumatic with
Flat Free
24HPS See Note(s) B See Note(s) B See Note(s) B
N/A
1115441
1115629
1049504-NLA
1115628
Primo24HPS See Note(s) B See Note(s) B See Note(s) B
N/A
1115442
1115632
1049508-NLA
1115631
Continental24HPS See Note(s) B See Note(s) B See Note(s) B
N/A
1115449
1115650
1091337-NLA
1115649
KIK24HPS See Note(s) B See Note(s) B See Note(s) B
N/AN/AN/AN/A
1112339
PrimoSPIN24 See Note(s) A
N/A
1115435
1115611
1049480-NLA
1115610
Primo559TS See Note(s) B See Note(s) B See Note(s) B
N/AN/AN/AN/A
1112349
PrimoSPIN25 See Note(s) A
N/A
1115436
1115614
1049484-NLA
1115613
Pneumatic26SP See Note(s) B See Note(s) B See Note(s) B
N/A
1115437
1115617
1049488-NLA
1115616
Primo26SP See Note(s) B See Note(s) B See Note(s) B
N/A
1115438
1115620
1049492-NLA
1115619
Continental26SP See Note(s) B See Note(s) B See Note(s) B
N/A
1115444
1115637
1049555-NLA
1115636
Pneumatic26HPS See Note(s) B See Note(s) B See Note(s) B
N/A
1115445
1115640
1049559-NLA
1115639
Primo26HPS See Note(s) B See Note(s) B See Note(s) B
Spoke Rear Wheels
(with Handrims)
36
To order call toll free 1-800-333-6900, or www.invacare.com
Form No. 00-87

Spoke Rear Wheels
(with Handrims)
Wheel Style 8 Oblique
Projection
Tire Type Anodized
Aluminum Grey
Plastic Coated Black
Plastic Coated 8 Vertical
Projection
N/AN/AN/AN/A
1112344
Primo
SPIN26 See Note(s) A See Note(s) A
A - As of 7/15/02 Spinergy Wheels now have 18 spokes instead of 30. For chairs built Before 7/15/02, it is recommended when one
wheel is requested that the wheels be replaced in pairs.
B - As of 11/8/02 these wheels now have a Black finish. For chairs built Before 11/8/02, it is recommended when one wheel is
requested that the wheels be replaced in pairs.
NOTE:
37
To order call toll free 1-800-333-6900, or www.invacare.com
Form No. 00-87

Non Projection Handrims
Wheel Style Anodized Aluminum Grey
Plastic Coated Black
Plastic Coated
1115400
1020019-NLA
102001720COM See Note(s) A
1043688
1043498-NLA
104344220SP See Note(s) A
1115401
1026419-NLA
103337322COM See Note(s) A
1043689
1043499-NLA
104344322SP See Note(s) A
1115397
1015784-NLA
103337224COM7 See Note(s) A
1035612
1029483-NLA
1026136
24SP
See Note(s) A See Note(s) A
1035612
1029483-NLA
1026136
SPIN24
(30 Spoke) See Note(s) A
N/AN/A1114300
SPIN24
(18 Spoke)
1035612
1029483-NLA
102613624HPS See Note(s) A
1043249
1043251-NLA
1029493559TS See Note(s) A
1043249
1043251-NLA
1029493
SPIN25
(30 Spoke) See Note(s) A
N/AN/A1114301
SPIN25
(18 Spoke)
1035613
1029484-NLA
102613726SP See Note(s) A
1035613
1029484-NLA
1026137
SPIN26
(30 Spoke) See Note(s) A
N/AN/A1114302
SPIN26
(18 Spoke)
1035613
1029484-NLA
102613726HPS See Note(s) A
1115413
1047087-NLA
1047086700SP See Note(s) A
A - Grey plastic coated handrim is no longer available; if a replacement is needed, order the black plastic coated as replacement in
pairs so the handrims on both sides of the chair match.
NOTE:
Handrims
38
To order call toll free 1-800-333-6900, or www.invacare.com
Form No. 00-87

Handrims
Projection Handrims
Wheel Style 12 Vertical
Projections
(Black)
8 Vertical
Projections
(Grey)
8 Oblique
Projections
(Grey)
12 Vertical
Projections
(Grey)
8 Vertical
Projections
(Black)
8 Oblique
Projections
(Black)
N/AN/AN/AN/AN/AN/A20COM
N/AN/AN/AN/AN/AN/A20SP
N/AN/A1115412N/AN/A
1046922-NLA
22COM See Note(s) A
N/AN/A1115407N/AN/A
1045506-NLA
22SP See Note(s) A
111539511153961115394
1015433-NLA
1015434-NLA
1015432-NLA
24COM7 See Note(s) A See Note(s) A See Note(s) A
N/A11154111115408N/A
1045510-NLA
1115408
24SP See Note(s) A See Note(s) A
N/A11154111115408N/A
1045510-NLA
1115408
SPIN24
(30 Spoke) See Note(s) A
N/AN/AN/AN/AN/AN/A
SPIN24
(18 Spoke)
N/A11154111115408N/A
1045510-NLA
111540824HPS See Note(s) A
N/AN/A1115409N/AN/A
1045508-NLA
559TS See Note(s) A
N/AN/A1115409N/AN/A
1045508-NLA
SPIN25
(30 Spoke) See Note(s) A
N/AN/AN/AN/AN/AN/A
SPIN25
(18 Spoke)
N/AN/A1115410N/AN/A
1045509-NLA
26SP See Note(s) A
N/AN/A1115410N/AN/A
1045509-NLA
SPIN26
(30 Spoke) See Note(s) A
N/AN/AN/AN/AN/AN/A
SPIN26
(18 Spoke)
N/AN/A1115410N/AN/A
1045509-NLA
26HPS See Note(s) A
A - Grey plastic coated handrim is no longer available; if a replacement is needed, order the black plastic coated as replacement in
pairs so the handrims on both sides of the chair match.
NOTE:
39
To order call toll free 1-800-333-6900, or www.invacare.com
Form No. 00-87

Wheel Style Anodized
Aluminum Grey/Black
Plastic Coated 8 Vertical
Projections 8 Oblique
Projections 12 Vertical
Projections
N/AN/AN/A1025158102515320COM
N/AN/AN/A1043708104370820SP
N/AN/A10263801026383102638422COM
N/AN/A10269101043708104370822SP
1026382102638110263801026383102638424COM7
N/A102691010269101026910102691024SP
N/AN/AN/AN/A1026910SPIN24
N/A102691010269101026910102691024HPS
N/AN/A102691010269101026910559TS
N/AN/AN/AN/AN/A3SCF
N/AN/AN/AN/A1026910SPIN25
N/AN/A10269101026910102691026SP
N/AN/A10269101026910102691026HPS
N/AN/AN/AN/A1026910SPIN26
Handrim Hardware
(Hardware Kits To Attach A Single Handrim Only)
40
To order call toll free 1-800-333-6900, or www.invacare.com
Form No. 00-87

Wheel Lock, Hill Holder and Shoe Spacers
41
To order call toll free 1-800-333-6900, or www.invacare.com
Form No. 00-87

Wheel Lock, Hill Holder and Shoe Spacers
Item
Number Part Number DescriptionNote
Quantity Per
Package Assembly
1026096 Clamp, Wheel Lock, Threaded (1") 1 11
1026097 Clamp, Wheel Lock, Non-Threaded (1") 1 12
1027268 Screw, Allen Head (1/4-20 x 1") 1 23
1068210 Kit, Wheel Lock Attaching Hardware (1" Tubing) 1 14
Screw, Allen Head (1/4-20 x 1") 1 2
Clamp, Non-Threaded 1 1
Clamp, Threaded 1 1
1006490 Tip, Black 1 15
1037421 Wheel Lock Shoe Spacer Kit, 20" Rear Wheels 2 16 A
Spacer, Wheel Lock Shoe (2-63/64" Long) 1 2
Screw, Set (#8-32 x 3/16") 1 4
1037422 Wheel Lock Shoe Spacer Kit, 22" Rear Wheels 2 17 B
Spacer, Wheel Lock Shoe (1-45/64" Long) 1 2
Screw, Set (#8-32 x 3/16") 1 4
7930306 Screw, Set (#8-32 x 3/16") 25 18
1095717 Wheel Lock Assembly -Right 1 19
1095718 Wheel Lock Assembly -Left 1 19
1097058 Hill Holder Wheel Lock -Right 1 110
1097059 Hill Holder Wheel Lock -Left 1 110
A - For 20" Rear Wheels
B - For 22" Rear Wheels
NOTE:
42
To order call toll free 1-800-333-6900, or www.invacare.com
Form No. 00-87

Undermount Wheel Lock
43
To order call toll free 1-800-333-6900, or www.invacare.com
Form No. 00-87

Undermount Wheel Lock
Item
Number Part Number DescriptionNote
Quantity Per
Package Assembly
1026096 Clamp, Wheel Lock, Threaded (1") 1 11
1026097 Clamp, Wheel Lock, Non-Threaded (1") 1 12
1027268 Screw, Allen Head (1/4-20 x 1") 1 43
7930334 Locknut (1/4-28) 25 24
1037120 Bracket, Mounting -Right 1 15
1037121 Bracket, Mounting -Left 1 15
1036519 Spring, Torsion -Right 1 16
1036520 Spring, Torsion -Left 1 16
1026104 Spacer 1 27
1005844 Bushing 1 28
1055307 Screw, Allen Head (1/4-28 x 1") 1 29
1025188 Link, Wheel Lock 1 110
1024962 Handle, Wheel Lock 1 111
1026103 Washer, Nylon (1/4 x 1/2 x 1/32") 1 612
1024961 Shoe, Wheel Lock 1 113
1025728 Washer (1/4 x 1/2 x 1/32") 1 214
1059284 Screw, Button Head Socket (1/4-28 x 1-1/4") 1 215
1036647 Undermount Wheel Lock -Right 1 116 A
1036648 Undermount Wheel Lock -Left 1 116 A
1039344 Kit, Wheel Lock Attaching Hardware (1" tubing) 1 117
Clamp, Wheel Lock, Threaded (1") 1 2
Clamp, Wheel Lock, Non-Threaded (1") 1 2
Screw, Allen Head (1/4-20 x 1") 1 4
A - Includes item 1-3
NOTE:
44
To order call toll free 1-800-333-6900, or www.invacare.com
Form No. 00-87

Footrest Support Assemblies
Swingaway 60 Degree, 70 Degree, and 90 Degree
45
To order call toll free 1-800-333-6900, or www.invacare.com
Form No. 00-87

Footrest Support Assemblies
Swingaway 60 Degree, 70 Degree, and 90 Degree
Item
Number Part Number DescriptionNote
Quantity Per
Package Assembly
7930321 Screw, Socket Button Head (1/4-20 x 1-7/8") 25 11
1029501 Plug Button (1") 1 12
1017148 Plug, Pivot 1 13
7930333 Locknut (1/4-20) 25 14
1025451 Screw, Hex Head (#10-32 x 5/8") 1 25
7930314 Screw, Slotted Hex Head (#10-32 x 1/2") 25 16
1025454 Latch Housing - Right 1 17
1025455 Latch Housing - Left 1 17
1026124 Anti-Rattle Collar 1 18
8881026992 Footrest Support Assembly, 60° - Right 1 19 A
8881026993 Footrest Support Assembly, 60° - Left 1 19 A
8881026998 Footrest Support Assembly, 60° MFX - Right 1 19 A
8881026999 Footrest Support Assembly, 60° MFX - Left 1 19 A
8881053158 Footrest Support Assembly, 60° Heavy Duty - Right 1 19 A
8881053157 Footrest Support Assembly, 60° Heavy Duty - Left 1 19 A
8881026994 Footrest Support Assembly, 70° Non Tapered -
Right 1 19 A
8881026995 Footrest Support Assembly, 70° Non Tapered - Left 1 19 A
8881026996 Footrest Support Assembly, 70° Tapered - Right 1 19 A
8881026997 Footrest Support Assembly, 70° Tapered - Left 1 19 A
8881047481 Footrest Support Assembly, 70° MFX - Right 1 19 A
8881047480 Footrest Support Assembly, 70° MFX - Left 1 19 A
8881053149 Footrest Support Assembly, 70° Non-Tapered,
Heavy Duty - Right 1 19 A
8881053148 Footrest Support Assembly, 70° Non-Tapered
Heavy Duty - Left 1 19 A
8881062596 Footrest Support Assembly, 90° - Right 1 19 A
8881062597 Footrest Support Assembly, 90° - Left 1 19 A
8881038231 Kit, 3" Extension w/ Hardware 2 110 A
1026703 Kit, Pivot/Slide Tube Mounting Hardware 2 111
1045267 Screw, Hex Head (1/4-20 x 3/4") 1 112
1026099 Spacer, Coved (1/4 x 11/16 x 1/2") 1 213
1020534 Insert, Threaded 1 114
1074143 Kit, Slide Tube Mounting Hardware 1 115
1070759 Screw, Hex Head Cap (1/4-20 x 1-1/2") 1 116
7930338 Nut, Acorn (1/4-20) 1 117
A - Specify frame color when ordering.
NOTE:
46
To order call toll free 1-800-333-6900, or www.invacare.com
Form No. 00-87

Legrest Support Assemblies (AT5044)
Specify frame color when ordering.
47
To order call toll free 1-800-333-6900, or www.invacare.com
Form No. 00-87

Legrest Support Assemblies (AT5044)
Specify frame color when ordering.
Item
Number Part Number DescriptionNote
Quantity Per
Package Assembly
1025729 Screw, Self Tapping Pan Head (#8-32 x 3/8") 1 21
1017187 Cover, Top 1 12
11919X000 Screw, Truss Head (3/8-16 x 1-1/2") 1 13
8881045289 Bracket, Legrest Support - Right 1 14
8881045290 Bracket, Legrest Support - Left 1 14
40363X000 Hex Nut (3/8"-16) 1 15
1037126 Handle, Release 1 16
1040060 Tip 1 17
1025454 Latch Housing - Right 1 18
1025736 Locknut (1/4-20) 1 19
1017423 Screw, Hex Head (#10-32 x 1/2") 1 110
1025451 Screw, Hex Head (#10-32 x 5/8") 1 211
1017148 Plug, Pivot 1 112
1029501 Plug Button (1") 1 113
1001762 Screw, Socket Button Head (1/4-20 x 1-3/4") 1 114
1058636 Washer, Nylon (25/64 x 7/8 x 1/32") 1 215
8881048851 Tube, Elevating Support (Color) - Right 1 116
1037110 Screw, Hex Head (5/16-24 x 3-1/2") 1 117
1032266 Bracket, Legrest Pad Mounting 1 118
1028514 Screw, Hex Head (5/16-24 x 1-1/2") 1 119
1025730 Locknut (5/16-24) 1 120
1107321 Nut, Low Cap (5/16"-24) 1 121
1026030 Screw, Lug (5/16-24 x 1-3/8") 1 122
1032267 Spacer, Legrest Pad Mounting 1 123
1025133 Spacer, Legrest Pad 1 124
04526X019 Plate, Legrest Pad 1 125
1025730 Locknut (5/16-24) 1 126
10261X000 Acorn Nut (5/16"-24) 1 127
1013519 Washer, Nylon (5/16 x 11/16 x 1/16") 1 128
04528X002 Bracket, Release (Chrome) 1 129
1040831 Snap Ring 1 130
42326X001 Bar, Rachet 1 131
1037485 Spring, Release 1 132
1037125 Cam, Legrest 1 133
8881045291 Legrest Support Assembly w/o Pad - Right 1 1B,A
8881045292 Legrest Support Assembly w/o Pad - Left 1 1B,A
A - Not Shown
B - Includes Items 1-33.
NOTE:
48
To order call toll free 1-800-333-6900, or www.invacare.com
Form No. 00-87

Legrest Calf Pads and Ratchet Assembly
49
To order call toll free 1-800-333-6900, or www.invacare.com
Form No. 00-87

Legrest Calf Pads and Ratchet Assembly
Item
Number Part Number DescriptionNote
Quantity Per
Package Assembly
8881091759 Pad w/Cover and Screws, Legrest Vinyl 2 11 A,B,G
8881091764 Pad, Legrest Vinyl - Right/Left 1 11 A,C,G
01415X000-NLA Cover, Legrest Pad 1 11
88804529X003 Pad, Legrest Vinyl - Right 1 11 A,H
88804529X004 Pad, Legrest Vinyl - Left 1 11 A,H
40163X006 Screw, Phillips Head (#10-14 x 1/16") 1 12
04526X019 Plate, Legrest Pad 1 13
7930330 Locknut (5/16-24) 25 14
1025133 Spacer, Legrest Pad 1 15
1032267 Spacer, Legrest Pad Mounting 1 16
1037110 Screw, Hex Head (5/16-24 x 3-1/2") 1 17
1028514 Screw, Hex Head (5/16-24 x 1-1/2") 1 18
1066591 Screws, Phillips Head (#10-32 x 11/16") 1 19
1032266 Bracket, Legrest Pad Mounting 1 110
1040060 Tip 1 111
7930310 Washer, Nylon (5/16 x 11/16 x 1/16") 25 112
42326X004 Bar, Ratchet - Right/Left 1 113 E
42326X001 Bar, Rachet 1 113 F
47330X003 Spacer (5/16 x 1/2 x 3/8") 1 214
1040831 Snap Ring 1 115
1037125 Cam, Legrest 1 116
1037485 Spring, Release 1 117
7930336 Nut, Acorn (5/16-24) 25 118
04528X002 Bracket, Release (Chrome) 1 119
1037126 Handle, Release 1 120
1023812 Bar, Ratchet - Left 2 121 E
1096974 Kit, Ratchet Elevating Legrest 2 121 F
1042798 Instruction Sheet, Ratchet Kit 1 1D,E
1096943 Instruction Sheet, Ratchet Kit 1 1D,F
A - Specify U67 upholstery color when ordering.
B - Before 9/00
C - After 8/00
D - Not Shown
E - ATL4A
F - AT5044
G - 16-22" Wide
H - 14-15" Wide
NOTE:
50
To order call toll free 1-800-333-6900, or www.invacare.com
Form No. 00-87

Footplate, Pivot Tube and Hardware - 1651 Composite
51
To order call toll free 1-800-333-6900, or www.invacare.com
Form No. 00-87

Footplate, Pivot Tube and Hardware - 1651 Composite
Item
Number Part Number DescriptionNote
Quantity Per
Package Assembly
1026099 Spacer, Coved (1/4 x 11/16 x 1/2") 1 11
1045267 Screw, Hex Head (1/4-20 x 3/4") 1 12
1020534 Insert, Threaded 1 13
1025457 Spacer, Coved (1/4 x 3/4 x 11/32") 1 24
1027097 Plug Button, Black (3/4") 1 15
7930366 Screw, Socket Head Cap (1/4-20 x 2-1/4") 1 16
7930323 Pkg, Locknut (1/4-20) 1 17
1026879 Footplate, Composite - Small (6" W x 6" L) 1 18
1026880 Footplate, Composite - Medium (7" W x 6" L) 1 18
1026881 Footplate, Composite - Large (8" W x 6" L) 1 18
1120383 Pivot Slide Tube, Curved End - Short (8-1/4" Long) 1 19
1120382 Pivot Slide Tube, Curved End - Long (9-7/8" Long) 1 19
1120386 Pivot Slide Tube, Curved - 2" Longer (11-7/8" Long) 1 19
1120384 Pivot Slide Tube, Straight - Alum. (9-7/8" Long) 1 19
1120385 Pivot Slide Tube, Straight - 2" Longer (11-7/8" Long) 1 19
1061967 Pivot Slide Tube, Straight (5-1/2" Long) 1 19
1026703 Kit, Pivot/Slide Tube Mounting Hardware 1 110
1038025 Pivot Slide Tube Attaching Hardware Aluminum and
Extra Large Footplates 1 110
52
To order call toll free 1-800-333-6900, or www.invacare.com
Form No. 00-87

Composite Footplate (1651) and Pivot Tube Assemblies
(Less Heel Loops)
53
To order call toll free 1-800-333-6900, or www.invacare.com
Form No. 00-87

Composite Footplate (1651) and Pivot Tube Assemblies
(Less Heel Loops)
60 Degree
13-19"
Curved End
Large
2" Longer
17"-22"
Small
Long
14"
Small
2" Longer
14"
Medium
Long
15"-16"
Medium
2" Longer
15"-16"
Large
Long
17"-22"
103262310283831032625102838710326271028391Right
103262410283841032626102838810326281028392Left
60 Degree MFX
9-3/4-14"
Curved End
Small
Short
14"
Medium
Short
15"-16"
Large
Short
17"-22"
102838110283851028389Right
102838210283861028390Left
54
To order call toll free 1-800-333-6900, or www.invacare.com
Form No. 00-87

Composite Footplate (1651) and Pivot Tube Assemblies
(Less Heel Loops)
70 Degree
14-19"
Straight
Large
2" Longer
17"-22"
Small
Short
14"
Small
2" Longer
14"
Medium
Short
15"-16"
Medium
2" Longer
15"-16"
Large
Short
17"-22"
104279410427881042792104278610427901042784Right
104279510427891042793104278710427911042785Left
70 Degree Tapered
14-1/2-19-1/2"
Straight
Large
2" Longer
20"-22"
Small
Short
16"-17"
Small
2" Longer
16"-17"
Medium
Short
18"-19"
Medium
2" Longer
18"-19"
Large
Short
20"-22"
104279410427881042792104278610427901042784Right
104279510427891042793104278710427911042785Left
Elevating Legrest
16-20"
Curved End
Large
2" Longer
17"-22"
Small
Long
14"
Small
2" Longer
14"
Medium
Long
15"-16"
Medium
2" Longer
15"-16"
Large
Long
17"-22"
103262310283831032625102838710326271028391Right
103262410283841032626102838810326281028392Left
55
To order call toll free 1-800-333-6900, or www.invacare.com
Form No. 00-87

Tubular Footplates
56
To order call toll free 1-800-333-6900, or www.invacare.com
Form No. 00-87

Tubular Footplates
Item
Number Part Number DescriptionNote
Quantity Per
Package Assembly
1025711 Nut, Hex (1/4-20) 1 11
1026108 Lockwasher (1/4 x 15/32 x 1/64") 1 12
1045267 Screw, Hex Head (1/4-20 x 3/4") 1 13
1026099 Spacer, Coved (1/4 x 11/16 x 1/2") 1 14
7930323 Pkg, Locknut (1/4-20) 25 15
1027097 Plug Button, Black (3/4") 1 16
1025709 Screw, Hex Head (1/4-20 x 2-3/4") 1 17
1006477 Spacer (1/4 x 11/32 x 1-3/4") 1 18
1008552-NLA Cover, Footplate - Medium 1 19
1008553-NLA Cover, Footplate - Large 1 19
1026404 Tube, Footrest - Medium 1 110
1026405 Tube, Footrest - Large 1 110
7930327 Screw, Phillips Pan Head (#10-32 x 1-1/8") 25 211
1012182 Bracket, Pivot 1 112
1023968 Screw, Button Head Socket (1/4-20 x 1-7/16") 1 113
1012158 Insert, Slide Tube 1 114
1026406 Pivot Slide Tube 1 115
1020533 Pivot Slide Tube, 2" Longer 1 115 A
1017621 Heel Loop 1 116
1020534 Insert, Threaded 1 117
1025713 Screw, Hex Head (1/4-20 x 1") 1 118
1025456 Washer (3/4 x 1/4 x 1/32") 1 119
7930332 Locknut, High Profile (#10-32) 25 220
7930333 Locknut (1/4-20) 25 121
1025457 Spacer, Coved (1/4 x 3/4 x 11/32") 1 122
1026695 Tubular Footplate Assembly - Right 1 123
1026696 Tubular Footplate Assembly - Left 1 123
1055509 Tubular Footplate Assembly, 2" Longer - Right 1 123
1055510 Tubular Footplate Assembly, 2" Longer - Left 1 123
1026699 Tubular Footplate Assembly - Right 1 123
1026700 Tubular Footplate Assembly - Left 1 123
1055511 Tubular Footplate Assembly, 2" Longer - Right 1 123
1055512 Tubular Footplate Assembly, 2" Longer - Left 1 123
A - Not Shown
NOTE:
57
To order call toll free 1-800-333-6900, or www.invacare.com
Form No. 00-87

Adjustable Angle Footplate with Pivot Tube - AT5543
58
To order call toll free 1-800-333-6900, or www.invacare.com
Form No. 00-87

Adjustable Angle Footplate with Pivot Tube - AT5543
Item
Number Part Number DescriptionNote
Quantity Per
Package Assembly
1060425 Footplate, Adjustable Angle - Small
(3-1/4" Wide x 8" Long) 1 11
1060426 Footplate, Adjustable Angle - Medium
(4-1/4" W x 8" L) 1 11
1060427 Footplate, Adjustable Angle - Large
(5-1/4" W x 8" L) 1 11
1062569 Footplate, Adjustable Angle - X-Large
(6-1/4" W x 8" L) 1 11
1029545 Screw, Socket Head Cap (1/4-20 x 3/4") 1 22 A
1048816 Screw, Nylon Adjustment (1/2-13 x 7/8") 1 13
1052102 Hinge, Footplate - Right 1 14
1052103 Hinge, Footplate - Left 1 14
1120384 Pivot Slide Tube, Straight - Alum. (9-7/8" Long) 1 15
1120385 Pivot Slide Tube, Straight - 2" Longer (11-7/8" Long) 1 15
7930321 Screw, Socket Button Head (1/4-20 x 1-7/8") 25 16
1026900 Washer (1/4 x 23/32 x 1/16") 1 17
7930313 Washer, Nylon (5/16 x 7/8 x 1/8") 25 18
7930333 Locknut (1/4-20) 25 19
1026907 Washer (1/4 x 1/2 x 1/16") 1 110
1025457 Spacer, Coved (1/4 x 3/4 x 11/32") 1 111
1082686 Nut, Hex Head (1/4-20 x 11/16") 1 212 A
1058517 Clamp, Footplate 1 113 A
See Chart #14 60 Degree, 60 Degree MFX, 70 Degree
Non-Tapered, & ELR's 1 114
See Chart #14 70 Degree 1 114
See Chart #14 70 Degree Tapered 1 114
See Chart #14 90 Degree and 70 Degree MFX 1 114
A - Due to a hardware change, for chairs built Before 8/99 items 2, 12, and 13 must be ordered together.
NOTE:
59
To order call toll free 1-800-333-6900, or www.invacare.com
Form No. 00-87

Adjustable Angle Footplate with Pivot Tube - AT5543
#14 60 Degree, 60 Degree MFX, 70 Degree Non-Tapered, & ELR's
Straight Slide Tube
(9-7/8") Right Left
1060429106042810-11" Wide (3-1/4" Footplate)
1060431106043012-13" Wide (4-1/4" Footplate)
1060433106043214-15" Wide (5-1/4" Footplate)
1062573106257216-20" Wide (6-1/4" Footplate)
LeftRight
ALPT Straight SlideTube
(11-7/8") Aluminum
1062575106257410-11" Wide (3-1/4" Footplate)
1062577106257612-13" Wide (4-1/4" Footplate)
1060441106044014-15" Wide (5-1/4" Footplate)
1062579106257816-20" Wide (6-1/4" Footplate)
#14 70 Degree
ALPT Straight Pivot Tube
(11-7/8") Right Left
1062577106257612-13" Wide (4-1/4" Footplate)
1060441106044014-15" Wide (5-1/4" Footplate)
1062579106257816-17" Wide (6-1/4" Footplate)
1068623106862218-20" Wide (7-1/4" Footplate)
60
To order call toll free 1-800-333-6900, or www.invacare.com
Form No. 00-87

Adjustable Angle Footplate with Pivot Tube - AT5543
#14 70 Degree Tapered
Straight Pivot Tube
(9-7/8") Right Left
1060431106043016" Wide (4-1/4" Footplate)
1060433106043217-18" Wide (5-1/4" Footplate)
1062573106257219-20" Wide (6-1/4" Footplate)
LeftRight
ALPT Straight Pivot Tube
(11-7/8")
1062577106257616" Wide (4-1/4" Footplate)
1060441106044017-18" Wide (5-1/4" Footplate)
1062579106257819-20" Wide (6-1/4" Footplate)
#14 90 Degree and 70 Degree MFX
No Pivot Tube
Bolts Through Support Right Left
1060435106043410-11" Wide (3-1/4" Footplate)
1060437106043612-13" Wide (4-1/4" Footplate)
1060439106043814-15" Wide (5-1/4" Footplate)
1062571106257016-20" Wide (6-1/4" Footplate)
1068619106861818-20" Wide (7-1/4" Footplate)
61
To order call toll free 1-800-333-6900, or www.invacare.com
Form No. 00-87

Footplate, Pivot Tube and Hardware - A1562/A1564
Aluminum
62
To order call toll free 1-800-333-6900, or www.invacare.com
Form No. 00-87

Footplate, Pivot Tube and Hardware - A1562/A1564
Aluminum
Item
Number Part Number DescriptionNote
Quantity Per
Package Assembly
44200X032 Footplate, Aluminum - Extra Small (5-3/4" W x 6" L) 1 11
44200X059 Footplate, Aluminum - Small (6-3/4" W x 6" L) 1 11
44200X027 Footplate, Aluminum - Medium (7-3/4" W x 6" L) 1 11
44200X025 Footplate, Aluminum - Extra Large (8" W x 8-1/2" L)
- Right 1 11
44200X026 Footplate, Aluminum - Extra Large (8" W x 8-1/2" L)
- Left 1 11
1006981 Spring 1 12
1036123 Spring 1 12
1025729 Screw, Self Tapping Pan Head (#8-32 x 3/8") 1 23
1048834 Pivot/Slide Tube with Plug Button 1 14
1027097 Plug Button, Black (3/4") 1 15
See Chart #6 Pivot Slide Tube with Footplate 1 16
#6 Pivot Slide Tube with Footplate
Footplate
Size 4" Longer
Right 4" Longer
Left
Chair
Width Standard
Right Standard
Left 2" Longer
Right 2" Longer
Left
N/AN/AN/AN/A1026399102639812-13" X-Small
N/AN/AN/AN/A1041543104154214-15"Small
N/AN/AN/AN/A1026402102640116-20"Medium
10865181086516108651710865151026396102639516-20"X-Large
63
To order call toll free 1-800-333-6900, or www.invacare.com
Form No. 00-87

Heel Loops and Toe Loops
64
To order call toll free 1-800-333-6900, or www.invacare.com
Form No. 00-87

Heel Loops and Toe Loops
1651 Composite
Attaching
Hardware
Pair #
Heel Loop
Single # Heel Loop
Pair #
Heel Loop w/
Ankle Strap
Single # - Right
Heel Loop w/
Ankle Strap
Single # - Left
Heel Loop w/
Ankle Strap
Pair #
103593110359061035909103590810359051025234Small
103593110533291053314105331310359171017621Medium
103593110359301035933103593210359291027000Large
A1562 Aluminum
Attaching
Hardware
Pair #
Heel Loop
Single # Heel Loop
Pair #
Heel Loop w/
Ankle Strap
Single # - Right
Heel Loop w/
Ankle Strap
Single # - Left
Heel Loop w/
Ankle Strap
Pair #
103593110359061035909103590810359051025234Small (Jr. Only)
103593110359181035920103591910359171017621Medium
103593110359301035933103593210359291027000Large
A1564 Extra Large
Attaching
Hardware
Pair #
Heel Loop
Single # Heel Loop
Pair #
Heel Loop w/
Ankle Strap
Single # - Right
Heel Loop w/
Ankle Strap
Single # - Left
Heel Loop w/
Ankle Strap
Pair #
103593110359301035933103593210359291027000Large
65
To order call toll free 1-800-333-6900, or www.invacare.com
Form No. 00-87

Heel Loops and Toe Loops
Adjustable Angle 5542 and AT5543
Attaching
Hardware
Pair #
Heel Loop
Single # Heel Loop
Pair #
Heel Loop w/
Ankle Strap
Single # - Right
Heel Loop w/
Ankle Strap
Single # - Left
Heel Loop w/
Ankle Strap
Pair #
103609610361021036097103609710360991018269
3-1/4" Wide
Footplate
103609610361031027182102718210361001018270
4-1/4" Wide
Footplate
103609610361041036098103609810361011030958
5 & 6-1/4" Wide
Footplate
1036096N/A10690491069049N/A1069037
7-1/4" Wide
Footplate
AT5043 Flip-Up Aluminum
Attaching
Hardware
Pair #
Heel Loop
Single # Heel Loop
Pair #
Heel Loop w/
Ankle Strap
Single # - Right
Heel Loop w/
Ankle Strap
Single # - Left
Heel Loop w/
Ankle Strap
Pair #
103609610361021036097103609710360991018269Small 10"
103609610361031027182102718210361001018270Medium 12"
Toe Loops
Toe Loop
Single # Toe Loop
Pair # Attaching Hardware
Pair #
1037089103708704572X025
66
To order call toll free 1-800-333-6900, or www.invacare.com
Form No. 00-87

Heel Loops and Toe Loops
Heel and Toe Loop Attaching Hardware Kits
1035931 1036096 1037089
Kit Includes:Kit Includes:Kit Includes:
1029157
Screw, Pan Head (#10-32 x 7/8")
1026115
Screw, Pan Head (#10-32 x 5/16")
1021421
Screw, Pan Head (1/4-20 x 2-1/4")
1025707
Washer (1/4 x 3/4 x 3/32")
1028516
Washer (3/16 x 7/16 x 1/16")
1006477
Spacer (1/4 x 11/32 x 1-3/4")
1025735
Locknut (#10-32)
1025195
Locknut (1/4-20)
67
To order call toll free 1-800-333-6900, or www.invacare.com
Form No. 00-87

Fabric Clothing Guards
68
To order call toll free 1-800-333-6900, or www.invacare.com
Form No. 00-87

Fabric Clothing Guards
Item
Number Part Number DescriptionNote
Quantity Per
Package Assembly
1028444 Clothing Protector, Fabric -Right 1 11 A
1028445 Clothing Protector, Fabric -Left 1 11 A
1028446 Clothing Protector, Fabric -Right 1 11 B
1028447 Clothing Protector, Fabric -Left 1 11 B
8881028448 Clothing Protector, Fabric - Right 1 11 C
8881028449 Clothing Protector, Fabric - Left 1 11 C
1028450 Clothing Protector, Fabric - Right 1 11 D
1028451 Clothing Protector, Fabric - Left 1 11 D
1141633 Cord, Nylon (6-1/2 Feet) 1 12
1029412 Cord Lock 1 13
1029407 "D" Ring 1 24
A - 7-11" deep chairs
B - 12-13" deep chairs
C - 14-15" deep chairs
D - 16-18" deep chairs
NOTE:
69
To order call toll free 1-800-333-6900, or www.invacare.com
Form No. 00-87

Rigid Side Guards
70
To order call toll free 1-800-333-6900, or www.invacare.com
Form No. 00-87

Rigid Side Guards
Item
Number Part Number DescriptionNote
Quantity Per
Package Assembly
1032249 Clamp, Half (Threaded) 1 11
1018692 Clamp, Half (Non-Threaded) 1 12
1013971 Washer, Nylon (1/4 x 7/16 x 5/64") 1 13
7930304 Screw, Socket Head (1/4-20 x 1-1/4") 1 14
1036346 Side Guard, Small w/o Quad Hole - Right (6-1/4" H
x 11-1/4" D) 1 15
1036347 Side Guard, Small w/o Quad Hole - Left (6-1/4" H x
11-1/4" D) 1 15
1036407 Side Guard, Small w/ Quad Hole - Right (6-1/4" H x
11-1/4" D) 1 15
1036408 Side Guard, Small w/ Quad Hole - Left (6-1/4" H x
11-1/4" D) 1 15
1036344 Side Guard, Large w/o Quad Hole - Right (7-3/4" H
x 12-3/8" D) 1 15
1036345 Side Guard, Large w/o Quad Hole - Left (7-3/4" H x
12-3/8" D) 1 15
1036405 Side Guard, Large w/ Quad Hole - Right (7-3/4" H x
12-3/8" D) 1 15
1036406 Side Guard, Large w/ Quad Hole - Left (7-3/4" H x
12-3/8" D) 1 15
1036342 Kit, Side Guard Hardware 2 15 A
A - Includes Items 1-4.
NOTE:
71
To order call toll free 1-800-333-6900, or www.invacare.com
Form No. 00-87

Part Number Description Package Quantity
1
Anti-Tipper (17-1/2" and Lower Seat
to Floor)
1093837
1
Anti-Tipper (17-3/4" and Higher Seat
to Floor)
1093838
2
Anti-Tip Mounting Hardware
(0 Degree Camber)
1098942
2
Anti-Tip Mounting Hardware
(3 Degree Camber)
1098941
2
Anti-Tip Mounting Hardware
(6 Degree Camber)
1098943
1
Back Pack, 12-15" Wide
11" W x 13" H x 4" D
1109322
1
Back Pack, 16-22" Wide
14" W x 12" H x 4" D
1109323
1Calf Strap - 12-15" Wide (26")1027644
1Calf Strap -16-22" Wide (36")1032243
1Clamp with Hardware, 3/4" to 1"1068210
1
Fabric Clothing Protector
14-15" Deep -Right
1028452
1
Fabric Clothing Protector
14-15" Deep -Left
1028453
1
Fabric Clothing Protector
16-22" Deep -Right
1028454
1
Fabric Clothing Protector
16-22" Deep -Left
1028455
1
Front Anti Tipper
(Tubular Footplates Only)
1026714
1
H-Strap (12-13" Wide)
(24" Long)
1032214
1
H-Strap (14-16" Wide)
(26" Long)
1032215
1
H-Strap (18-22" Wide)
(31" Long)
1032216
1
Impact Guard
8" Long
1026987
1
Impact Guard
12" Long
1026846
1
Impact Guard
21" Front Seat to Floor
1098509
1
Positioning Strap, Auto Syle 12-19"
W
1004310
1
Positioning Strap, Auto Style 20-22"
W
1034625
1
Positioning Strap,
Hook & Loop 12-19" Wide
1034744
1
Positioning Strap,
Hook & Loop 20-22" Wide
1034745
Miscellaneous Accessories
72
To order call toll free 1-800-333-6900, or www.invacare.com
Form No. 00-87

Miscellaneous Accessories
Part Number Description Package Quantity
1
Seat Pouch
8-1/2" W x 7" H x 4" D
1109324
1Spoke Guard -22" Wheels (All)1032147
1Spoke Guard -24" Composite Wheels1028442
1Spoke Guard -24" Spoke Wheel1028441
1Spoke Guard -25"/26" Wheels1028443
1Tire Pump40176X010
2Wheel Lock Extensions, 6" (1 Pair)1038599
73
To order call toll free 1-800-333-6900, or www.invacare.com
Form No. 00-87

Yes, you can. ™
Invacare Corporation www.invacare.com
One Invacare Way
Elyria, Oh USA
44036-2125
800-333-6900
Technical Support
800-832-4707
Customer Service
800-333-6900
Customer Service
800-333-6900
Form No.
00-87
©2007 Invacare Corporation. Elyria, Ohio.
Invacare, Yes, you can., and the Medallion
Design are registered trademarks and
Spyder is a trademark of Invacare
Corporation. KIK is a registered trademark of
KIK Technology, Inc. (Revised 11/8/07)