Invacare T1358 Users Manual 1100905
T1358 to the manual 1d25931e-d377-46de-ad9a-8512f73e43cc
2015-02-02
: Invacare Invacare-T1358-Users-Manual-433423 invacare-t1358-users-manual-433423 invacare pdf
Open the PDF directly: View PDF
.
Page Count: 2

Rear Anti-Tippers
Assembly, Installation and Operating Instructions
Kit No. T1358
SAVE THESE INSTRUCTIONS
NOTE: Check all parts for shipping damage before using.
In case of damage, DO NOT use the equipment. Contact
the Dealer/Carrier for further instructions.
SAFETY SUMMARY
The following recommendations are made for the safe
use of the Rear Anti-Tippers:
GENERAL WARNING
DO NOT install or use this equipment without
first reading and understanding these
instructions. If you are unable to understand the
Warnings, Cautions or Instructions, contact a
healthcare professional, dealer or technical per-
sonnel before attempting to install this equipment
- otherwise, injury or damage may occur.
INSTALLATION WARNING
After ANY adjustments, repair or service and BE-
FORE use, make sure that all attaching hardware
is tightened securely.
Anti-tippers are specific to the different rear wheels
and/or seat-to-floor heights. Refer to the chart in
INSTALLING/ADJUSTING THE ANTI-TIPPERS in this PRO-
CEDURE for correct usage and adjustment. If these
requirements CANNOT be achieved, DO NOT use
the wheelchair. Contact an Invacare dealer or
qualified technician. Any changes to the seat-to-
floor angle or seat-to-floor height may require dif-
ferent anti-tippers.
If a change in the seat-to-floor height is desired,
the correct anti-tippers MUST be ordered to main-
tain a 1-1/2 to 2-inch ground clearance. Seat-to-
floor heights have specific positions depending on
rear wheel size, rear wheel position, front caster posi-
tion and seat-to-floor angle. These adjustments MUST
be performed by a qualified technician.
Inasmuch as the anti-tippers are an option on
this wheelchair (You may order with or without
the anti-tippers), Invacare strongly recommends
ordering the anti-tippers as an additional safe-
guard for the wheelchair user.
Anti-tippers MUST be fully engaged. Ensure that the
locking pins of the anti-tippers fully protrudes out of
the hole on the side of the wheelchair frame.
Ensure both anti-tippers have the same ground
clearance.
This kit includes the following:
ITEM QUANTITY
Anti-Tipper 2
Locking Pin 2
INSTALLING THE ANTI-TIPPERS
(FIGURES 1 AND 2)
NOTE: Refer to the GENERAL WARNINGS in the
SAFETY SUMMARY of this Instruction Sheet.
NOTE: To ensure the correct model anti-tipper is used
refer to FIGURE 1. Measurements for anti-tippers are
approximate.
Anti-tipper
Part Number
1102147
1102146
1102146
Wheelchair
Seat-to-Floor Height
19-1/2-inches
17-1/2-inches
*15-1/2- inches
Anti-tipper
Length
8-3/8-inches
7-5/8-inches
7-5/8-inches
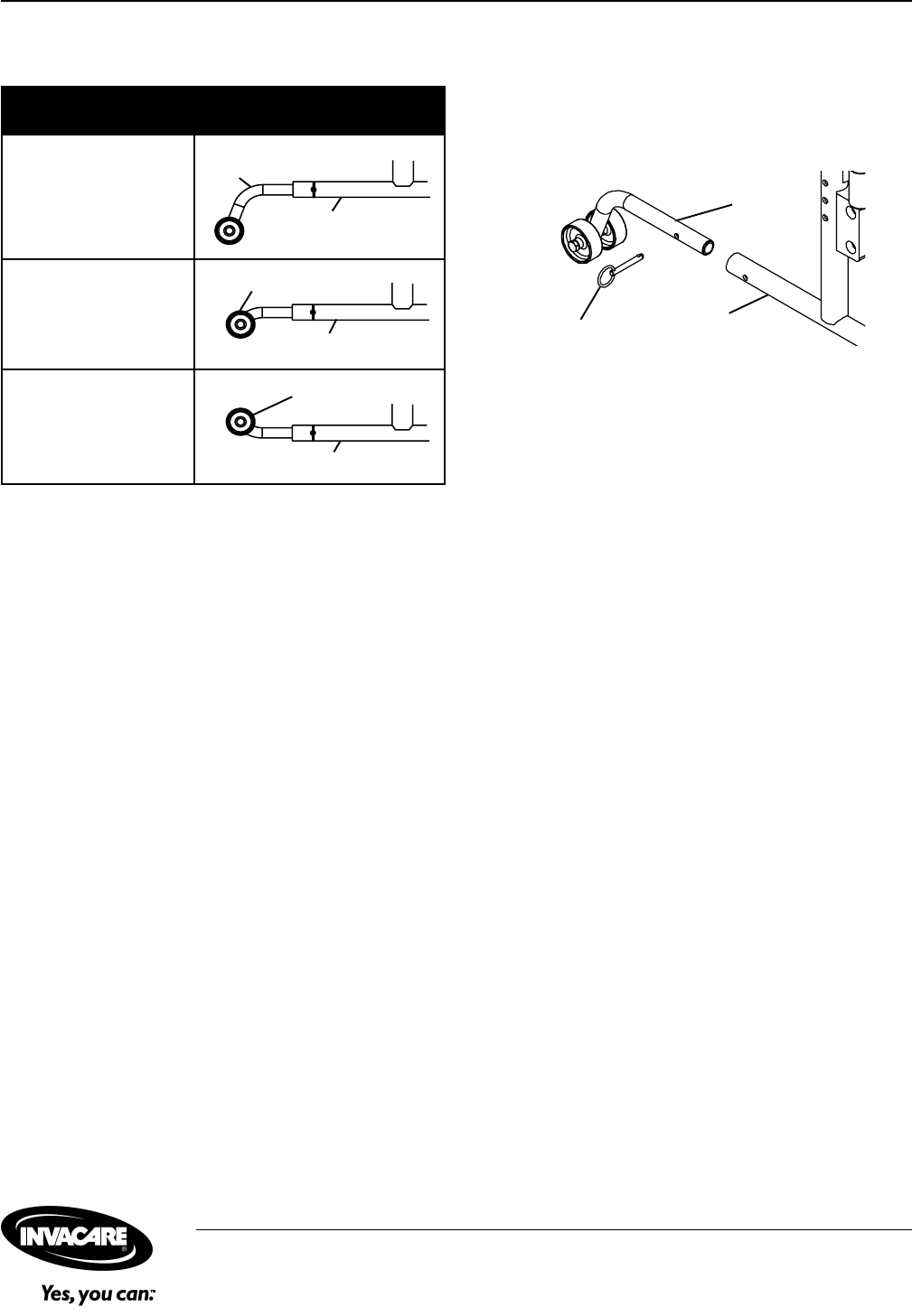
ANTI-TIPPER IDENTIFICATION CHART
*NOTE: When installing/using anti-tipper 1102146 on the
9000 Topaz wheelchair with a seat-to-floor height of 15-
1/2-inches, the anti-tipper wheels must be pointed up away
from the ground/floor.
FIGURE 1 - ANTI-TIPPER LENGTH
Anti-tipper
Length Anti-Tippers

Invacare Corporation www.invacare.com
USA Canada
One Invacare Way 5970 Chedworth Way Invacare® and Yes, you can. are trademarks of Invacare
Elyria, Ohio USA Mississauga, Ontario Corporation.
44036-2125 L5R 3T9, Canada © 2000 Invacare Corporation
800-333-6900 905-890-8838 Form No. 00-184 Part No. 1100905 Rev A (1) 11/00
2. Secure the anti-tipper to the wheelchair frame with
locking pins as shown in FIGURE 2.
3. Ensure that the locking pins protrude through both the
anti-tippers and the wheelchair frame.
4. Repeat STEPS 1-3 to install the remaining anti-tip-
per.
FIGURE 2 - INSTALLING THE ANTI-TIPPERS
Anti-tipper
Locking Pin Wheelchair
Frame
Wheelchair
Seat-to-Floor Height
19-1/2-inches
17-1/2-inches
15-1/2- inches
Anti-tipper
Wheel Position
Wheelchair Frame
Anti-tipper (1102147)
Wheelchair Frame
Anti-tipper (1102146)
Wheelchair Frame
Anti-tipper (1102146)
1. Insert the anti-tippers with the anti-tipper wheels po-
sitioned according to the chart below.