Invacare Tdx Sc Users Manual
TDX SC to the manual 22d701bd-b9c4-4ad4-659f-df3ef96fdb2e
2015-02-02
: Invacare Invacare-Tdx-Sc-Users-Manual-433433 invacare-tdx-sc-users-manual-433433 invacare pdf
Open the PDF directly: View PDF
.
Page Count: 195 [warning: Documents this large are best viewed by clicking the View PDF Link!]

Yes, you can. ™
TDX® SC (CGE option included) and TDX®
SPREE (CGE standard)
Powered Wheelchairs
Parts Catalog Issued: Jun 20, 2008

The information contained in this document is subject to change without notice. This catalog contains
service parts for Form No. 07-082. If you have any questions regarding this catalog, please contact one
of our Customer Service Representatives.
For Customer Service Support Call:
1-800-333-6900
For Faxed In Orders Call:
1-800-678-4682 or
1-440-366-0709
For Technical Service Call:
1-800-832-4707
Literature Can Be Found at:
www.invacare.com or
1-800-828-6272
SYMBOL DEFINITION
Throughout this catalog you will notice letters to draw your attention to specific footnotes which are located at the
bottom of the page or below specified charts.
HARDWARE MEASUREMENTS
Examples:
= Special Comments
= General information pertaining to that specific page
= No Longer Available
NOTE:
NLA
The measurements for the hardware will be listed as follows:
Screws, Bolts
Washers
Spacers
For your convenience, we have supplied an area for you to list your Invacare Representatives.
A,B,C etc.
Diameter X Thread Count/Pitch X Length
Inside Diameter X Outside Diameter X Thickness
Inside Diameter X Outside Diameter X Length
Name Phone Numbers
©2008 Invacare Corporation. Elyria, Ohio. Invacare, Yes, you can., the Blue Medallion Design, SureStep, TDX are registered trademarks and MK6i, SPJ,
MPJ, are trademarks of Invacare Corporation.
Otto Bock is a registered trademark of Otto Bock Orthopaedische Industrie GMBH & Co.. Tash is a registered trademark of Tash International Inc.. Therafin is
a registered trademark of
W/R/ Medical Electronics Co.. Bussman is a registered trademark of Cooper Industries. MIDI is a registered trademark of Littelfuse Inc.. Dynamic is a
registered trademark of Dynamic Controls Limited.
Parts Catalog Usage Guide
1
Form No. 07-082
To order call toll free 1-800-333-6900, or www.invacare.com

A: READ THIS FIRST (THIS CATALOG IS DIFFERENT!) ...................................................... 7
Accessories, Back Cane Push Handle Attachments, (16" Wide) Conventional Back
Non-Manual Tilt - TDX SPREE
189
Accessories, Headrest Supports, Tarsys, Manual Tilt Only - TDX SPREE .............................. 187
Accessories, Miscellaneous ..................................................................................................... 191
Accessories, Oxygen Holder Assembly Kit - ADJASBA Seats - TDX SC ................................ 183
Accessories, Oxygen Holder Assembly Kit - Van Seat - TDX SC ............................................ 185
Actuator Motor, Elevate and Hardware with TRRO Option ...................................................... 20
Actuator Motor, Elevate and Hardware without TRRO Option ................................................. 18
Arms, "T" and Hardware TDX SPREE ..................................................................................... 107
Arms, Adjustable Height - (12"-16" W x 12"-18" D) Seat Frame TDX SPREE ......................... 109
Arms, Adjustable Height - (16"-20" Wide) x (16"- 20" Deep) Seat Frames TDX SC ................ 113
Arms, Fixed Height - (16"-20" Wide) x (16"-20" Deep) Seat Frames TDX SC ......................... 111
Arms, Mtg. Front/Rear Arm Socket Asbly. & Hdwr. (12"-16" Wide) TDX SPREE .................... 119
Arms, Mtg. Front/Rear Arm Socket Asbly. & Hdwr. For ADJASBA Seats (16"-20" Wide) TRRO
Option TDX SC
123
Arms, Mtg. Front/Rear Arm Socket Asbly. & Hdwr. For ADJASBA/ADJRECL Seats (16"-20"
Wide) TDX SC
121
Arms, Mtg. Swingaway Hardware For ADJASBA/ADJRECL Seats ......................................... 117
Arms, Van Seat - TDX SC ........................................................................................................ 115
Back Cane and Spreader Bar For ADJASBA Seats (16"-20" Wide) TDX SC .......................... 101
Back Cane Attaching Hardware For ADJASBA Seats (12"-16" Wide) - TDX SPREE ............. 99
Back Cane Attaching Hardware For ADJASBA Seats (16"-20" Wide) - TDX SC .................... 103
Back Cane Attaching Hardware For ADJASBA Seats (16"-20" Wide) TRRO Option - TDX SC 105
TABLE of CONTENTS
Description
Page
Number
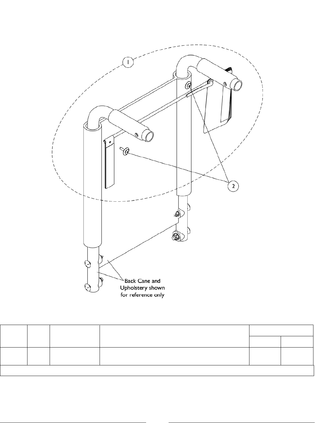
2
To order call toll free 1-800-333-6900, or www.invacare.com
Form No. 07-082

Back Cane, Spreader Bar (16" Wide) Conventional Back - TDX SPREE ................................ 94
Back Cane, Spreader Bar/Push Handle Asbly. (12"-16" Wide) Sling Nylon Back Uph. (12"-15"
Wide) Conv. Back - TDX SPREE
96
Back, Contoura without Mounting Hardware - TDX SC ........................................................... 79
Back, Conventional without Mounting Hardware (12"-15" Wide) - TDX SPREE ...................... 74
Back, Conventional without Mounting Hardware (16" Wide) - TDX SPREE ............................ 77
Back, Mounting Hardware, Contoura - TDX SC ....................................................................... 84
Back, Mounting Hardware, Conventional (12"-15" Wide) - TDX SPREE ................................. 81
Back, Mounting Hardware, Conventional (16" Wide) - TDX SPREE ....................................... 82
Back, Recliner Assembly For ADJRECL Seat Frames - TDX SC ............................................ 86
Battery Box Hardware .............................................................................................................. 16
Battery Box Tie-Down Bracket Mounting Hardware For TRRO/TRBKTS Option .................... 14
Battery Chargers and Cables ................................................................................................... 24
Battery Wire Harnesses and Hardware, U1Batteries ............................................................... 22
Caster and Forks, 6" Front and Rear ....................................................................................... 41
Cylinders, Locking Gas ............................................................................................................ 27
Electronics - Dual Legs Integrated Actuator Module (DLIAM) MK6i For ELRPW Front Riggings
- TDX SC
180
Electronics - MK6i ~PLEASE READ THIS ............................................................................... 182
Fender Assembly ..................................................................................................................... 31
Frame Finishes, Touch-Up Paints and Upholstery Options ..................................................... 8
Frame, Seat ADJASBA Mtg. Hdwr. (12"-16" Wide) Manual Tilt TDX SPREE ......................... 57
Frame, Seat ADJASBA Mtg. Hdwr. (12"-16" Wide) Non-Manual Tilt TDX SPREE .................. 55
TABLE of CONTENTS
Description
Page
Number
3
To order call toll free 1-800-333-6900, or www.invacare.com
Form No. 07-082

Frame, Seat ADJASBA Mtg. Hdwr. (16"-20" Wide) Elevate TDX SC ...................................... 61
Frame, Seat ADJASBA, Seat Pan & Hdwr. (12"-16" Wide) Manual Tilt TDX SPREE ............. 51
Frame, Seat ADJASBA, Seat Pan & Hdwr. (12"-16" Wide) Non-Manual Tilt TDX SPREE ..... 49
Frame, Seat ADJASBA/ADJRECL Mtg. Hdwr. (16"-20" Wide) Non-Elevate TDX SC ............. 59
Frame, Seat ADJASBA/ADJRECL, Seat Pan & Hdwr. (16"-20" W x 16"-20" D) TDX SC ....... 53
Frame, Van Seat and Hardware - TDX SC .............................................................................. 63
Front Rigging - 90FB Flip-Up Removable Footboard Assembly - TDX SC Van Seat .............. 161
Front Rigging - Adjustable Angle Footplates - AT5543 ............................................................ 154
Front Rigging - Calf Pads and Attaching Hardware ................................................................. 148
Front Rigging - Center Mount Rigging (CTMT-F with CTMTFB One PC Flip-Up Footboard) .. 169
Front Rigging - Center Mount Rigging (CTMT-F) ..................................................................... 165
Front Rigging - Center Mount Rigging (CTMT-FJ with CTMTFB One PC Flip-Up Footboard) . 167
Front Rigging - Center Mount Rigging (CTMT-FJ) ................................................................... 163
Front Rigging - Center Mount Rigging Mtg. Hdwr., (CTMT-F/CTMT-FJ) (12"-16" Wide) Manual
Tilt - TDX SPREE
173
Front Rigging - Center Mount Rigging Mtg. Hdwr., (CTMT-F/CTMT-FJ) (12"-16" Wide)
Non-Manual Tilt - TDX SPREE
171
Front Rigging - Center Mount Rigging Mtg. Hdwr., (CTMT-F/CTMT-FJ) (16"-20" Wide) - TDX
SC
175
Front Rigging - Footrest and Legrest Accessories ................................................................... 157
Front Rigging - Footrest Support Assemblies (Sector Style) .................................................... 137
Front Rigging - Footrest Supports, (Hemi) - PH93M2 .............................................................. 141
Front Rigging - Footrest Supports, (Hemi) - PHW93 ................................................................ 139
Front Rigging - Front Rigging Hanger Hdwr. For Van Seat - TDX SC ..................................... 135
TABLE of CONTENTS
Description
Page
Number
4
To order call toll free 1-800-333-6900, or www.invacare.com
Form No. 07-082

Front Rigging - Front Rigging Hanger Hdwr., Pin & Sector Style For ADJASBA (12"-16" Wide) 131
Front Rigging - Front Rigging Hanger Hdwr., Pin & Sector Style For ADJASBA/ADJRECL
(16"-20" Wide)
133
Front Rigging - Legrest Supports, Articulating (Hemi) - PHAL4A ............................................. 145
Front Rigging - Legrest Supports, AT5544 ............................................................................... 143
Front Rigging - Pivot/Slide Tube and 1650, 1350 Aluminum Footplates .................................. 152
Front Rigging - Pivot/Slide Tube and 1651 Composite Footplates .......................................... 150
Front Rigging - Power Articulating Legrest - ELRPW/ELRPW22 - TDX SC ............................ 177
Front Rigging - Reference Chart - 70ST TAPER ..................................................................... 130
Front Rigging - Reference Chart - 90 SWING .......................................................................... 127
Front Rigging - Reference Chart - AT5544, 70NHD, PHW93 .................................................. 125
Front Rigging - Reference Chart - PH93M2 ............................................................................. 128
Front Rigging - Reference Chart - PHAL4A ............................................................................. 129
Label Locations For TRRO and TRBKTS Options ................................................................... 11
Manual Tilt Interface Assembly - TDX SPREE ......................................................................... 45
Mercury Switches and Hardware, Manual Tilt - TDX SPREE .................................................. 47
Motor, 2-Pole, Gearbox and Mounting Hardware ..................................................................... 29
Packaging, Literature and Decals ............................................................................................ 9
Pivot Assembly, Rear ............................................................................................................... 37
Pivot Assembly, Rear Mounting Hardware ............................................................................... 39
Seat Cushion Assembly, Contoura, ADJASBA Only TDX SC ................................................. 73
Seat Height Adjustment Slide Tubes and Mounting Hardware, Non-Elevate - TDX SC .......... 71
TABLE of CONTENTS
Description
Page
Number
5
To order call toll free 1-800-333-6900, or www.invacare.com
Form No. 07-082

Seat Release Hardware, and Adapter Frame, ADJASBA/ADJRECL - TDX SC ...................... 69
Seat Release Hardware, Van Seat - TDX SC .......................................................................... 68
Shrouds and Hardware - TDX SC ............................................................................................ 33
Shrouds and Hardware, Elevate Only (CGE) - TDX SC and TDX SPREE .............................. 35
TRRO and TRBKTS Option Clarification Reference ................................................................ 12
TRRO Instruction Cards ........................................................................................................... 13
Upholstery, Back - Non-Recliner - Nylon .................................................................................. 89
Upholstery, Back - Recliner - Nylon - TDX SC ......................................................................... 91
Upholstery, Headrest and Pillows - Recliner - TDX SC ............................................................ 93
Van Seat Assembly - TDX SC .................................................................................................. 65
Walking Beam, Lower Pivot Link and Mounting Hardware ...................................................... 25
Wheel Lock Assembly .............................................................................................................. 32
Wheels, Drive Wheels and Mounting Hardware (10" x 3") ....................................................... 44
TABLE of CONTENTS
Description
Page
Number
6
To order call toll free 1-800-333-6900, or www.invacare.com
Form No. 07-082

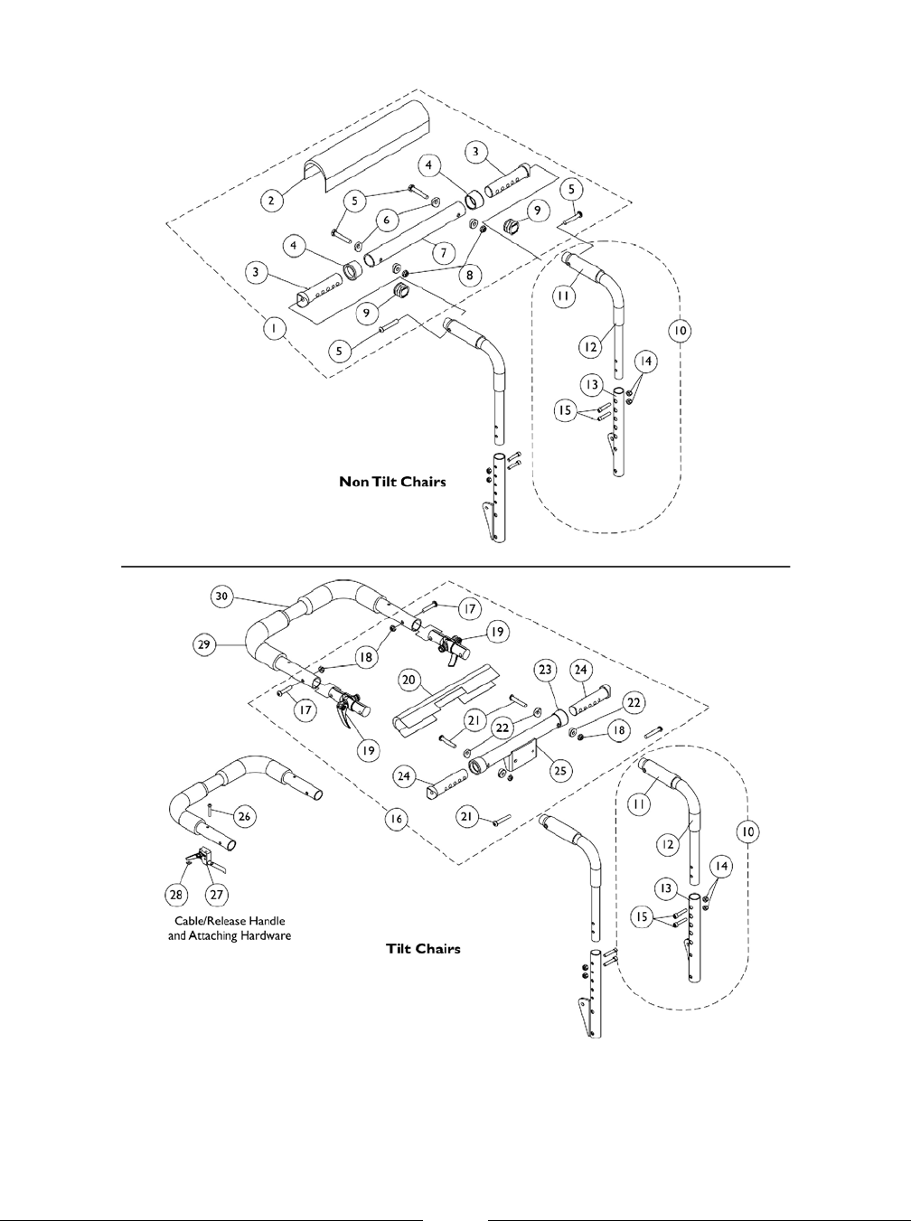
A: READ THIS FIRST (THIS CATALOG IS DIFFERENT!)
7
To order call toll free 1-800-333-6900, or www.invacare.com
Form No. 07-082

Frame Finishes and Touch-Up Paint
Color Number Part Number Bottle Size Frame Finish
Wet Black.6 oz.103145024P
Sunny Yellow.6 oz.
1074167
30P See Note(s) B
Silver MetallicN/AN/A60P
Electric Red.6 oz.104632161P
Electric Blue.6 oz.104632062P
Black Prism.6 oz.
1133371
115P See Note(s) A
Bubblegum Pink.6 oz.
1133375
119P See Note(s) B
Grape Madness.6 oz.1133376120P
Grasshopper Green
.6 oz.1133383127P See Note(s) A
A - Frame finish offered on TDX SC models only
B - Frame finish offered on TDX SPREE models only
NOTE:
Upholstery Options
Nylon Color
U240 Black
Frame Finishes, Touch-Up Paints and Upholstery Options
8
To order call toll free 1-800-333-6900, or www.invacare.com
Form No. 07-082

Packaging, Literature and Decals
9
To order call toll free 1-800-333-6900, or www.invacare.com
Form No. 07-082

Packaging, Literature and Decals
Item
Number Part Number DescriptionNote
Quantity Per
Package Assembly
1030365 Carton, Cover 1 11 A
1030364 Carton, Cover 1 11 B
1031682 Carton, Cover 1 11 C
1036028 Carton, Cover 1 11 D
40131X161 Insert, Plain Pad 1 22
40131X011 Carton, Front Riggings 1 13
1015592 Bag, Poly (72" L x 35" W x 19" D) 1 14
1043198-NLA Tube, Paper 1 15
1012001 Carton, Joystick 1 16
1030362 Carton, Tray 1 27 E
1036027 Carton, Tray 1 27 F
1115174 Carton, Corner Reinforcement 1 48 E
1129589 Carton, Corner Reinforcement 1 48 C
1129590 Carton, Corner Reinforcement 1 48 F
00077X031 Warranty Card 1 1G
1149267 Manual, Owner's TDX SC/SPREE 1 1G
1143192 Manual, Owner's ADJASBA Seat w/ MK6i
Electronics 1 1G
1143195 Manual, Owner's Van Seat's w/ MK6i Electronics 1 1G
1149308 Decal, TDX SC (Yellow) 1 2G,H,I
1149297 Decal, TDX SC (Black) 1 2G,H,J
1151353 Decal, TDX SPREE w/ TDX Yellow Letters 1 2G,H,K
1153865 Decal, TDX SPREE w/ TDX Black Letters 1 2G,H,L
A - Base only and all ADJASBA seat only models
B - 12" Wide - 20" Wide ADJASBA seat with base models & 16", 18" Van Seat models
C - 16" Wide - 20" Wide ADJASBA seat with base models with medium and tall seat-to-floor heights
D - 20" and 22" Van Seat models
E - 12" Wide - 20" Wide ADJASBA seat with base. 16", 18" Van Seat models and base only models
F - 20" and 22" Van Seat models
G - Not Shown
H - Model Decal attaches to the walking beam assembly
I - The TDX SC yellow decal is used for all frame colors except 60P Silver Metallic
J - The TDX SC black decal is used for 60P Silver Metallic frame color only
K - The TDX SPREE decal w/ yellow TDX Letters is used for all frame colors except 30P Sunny Yellow
L - The TDX SPREE decal w/ black TDX Letters is used for 30P Sunny Yellow frame color only
When adjusting
or replacing parts, please refer to your Owner's Manual for assistance.
NOTE:
10
To order call toll free 1-800-333-6900, or www.invacare.com
Form No. 07-082

Label Locations For TRRO and TRBKTS Options
11
To order call toll free 1-800-333-6900, or www.invacare.com
Form No. 07-082

TRRO and TRBKTS Option Clarification Reference
TRRO and TRBKTS Option is an On-Chair option only.
12
To order call toll free 1-800-333-6900, or www.invacare.com
Form No. 07-082

Item
Number Part Number DescriptionNote
Quantity Per
Package Assembly
1152750 Card, TRRO Instruction 1 11 A
1026298 Screws with Washers (#10 x 7/8") 2 12
A - Instruction Cards include the attachment strap. Individual components are non-saleable. Serial number of chair must be
verified to ensure that TRRO option was originally ordered.
NOTE:
TRRO Instruction Cards
13
To order call toll free 1-800-333-6900, or www.invacare.com
Form No. 07-082

Battery Box Tie-Down Bracket Mounting Hardware For
TRRO/TRBKTS Option
14
To order call toll free 1-800-333-6900, or www.invacare.com
Form No. 07-082

Battery Box Tie-Down Bracket Mounting Hardware For
TRRO/TRBKTS Option
Item
Number Part Number DescriptionNote
Quantity Per
Package Assembly
1142304 Screw, Hex Head SEMS w/ Patch (5/16-18 x 3/4") 1 61
15
To order call toll free 1-800-333-6900, or www.invacare.com
Form No. 07-082

Battery Box Hardware
The Battery Boxes are non-serviceable parts. Call Technical Services for assistance (1-800-832-4707)
16
To order call toll free 1-800-333-6900, or www.invacare.com
Form No. 07-082

Battery Box Hardware
The Battery Boxes are non-serviceable parts. Call Technical Services for assistance (1-800-832-4707)
Item
Number Part Number DescriptionNote
Quantity Per
Package Assembly
1151611 Kit, Battery Box Rubber Bumper and Grommet
Hardware 1 11 A
1142271 Bumper, Rubber (7/8" Dia. x 3/16") 1 22
1142409 Grommet, Rubber (9/16 ID x 11/16 OD x 3/8") 1 23
1022597 Screw, Phillips Pan Head Tap (#10-32 x 3/8") 1 24
1141290 Bumper, Rubber (1" Dia. x 3/8") 1 45
000037 Nut, Keps (5/16-18) 1 46
A - Includes items 2-6 and is used for TDX SC and TDX SPREE
NOTE:
17
To order call toll free 1-800-333-6900, or www.invacare.com
Form No. 07-082

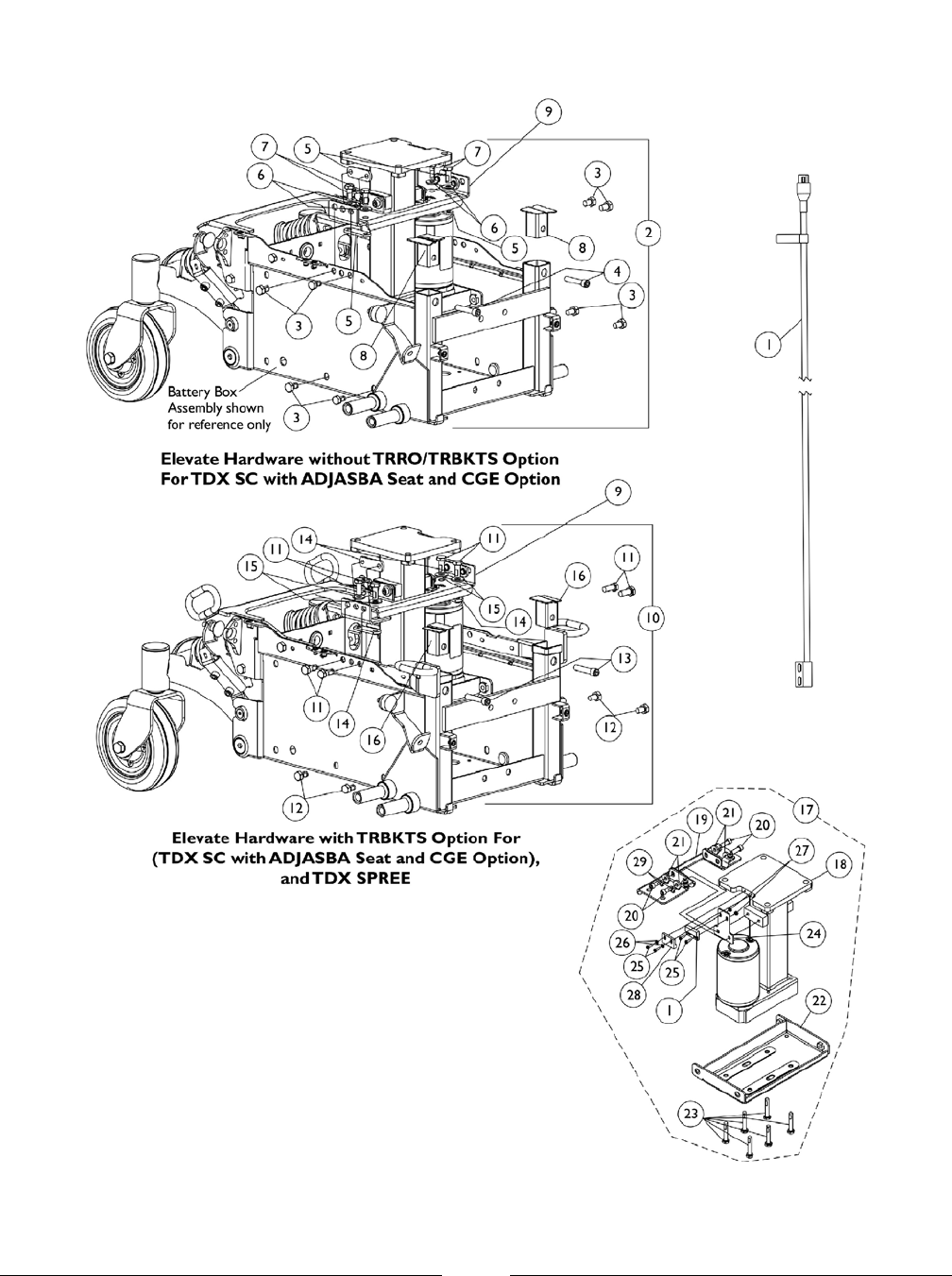
Actuator Motor, Elevate and Hardware without TRRO
Option
18
To order call toll free 1-800-333-6900, or www.invacare.com
Form No. 07-082

Actuator Motor, Elevate and Hardware without TRRO
Option
Item
Number Part Number DescriptionNote
Quantity Per
Package Assembly
1122586 Sensor, Proximity Switch 1 11
1154119 Kit, Elevate Hardware NON-TRRO/TRBKTS 1 12 A
1061922 Screw, Hex Head Cap w/ Patch (5/16-18 x 1/2") 1 83
1147627 Screw, Socket Head Cap with Patch (5/16-18 x
1-1/2") 1 24
1142297 Nut, Weld (5/16-18 x 1-3/8" Spacing) 1 45
1074133 Washer (5/16 x 3/4 x 1/16") 1 46
1039860 Screw, Hex Head Cap with Patch (5/16-18 x 3/4") 1 47
1152721 Plug, Tube - Right 1 18
1152722 Plug, Tube - Left 1 18
1152713 Bracket, Elevate Mounting 1 29
1154120 Kit, Elevate Hardware TRBKTS 1 110 B
1039860 Screw, Hex Head Cap with Patch (5/16-18 x 3/4") 1 811
1061922 Screw, Hex Head Cap w/ Patch (5/16-18 x 1/2") 1 412
1147627 Screw, Socket Head Cap with Patch (5/16-18 x
1-1/2") 1 213
1142297 Nut, Weld (5/16-18 x 1-3/8" Spacing) 1 414
1074133 Washer (5/16 x 3/4 x 1/16") 1 415
1149555 Plug, TRRO/TRBKTS Tube - Right 1 116
1152718 Plug, TRRO/TRBKTS Tube - Left 1 116
1151001 Kit, Elevate Actuator Motor 1 117 C
1122586 Sensor, Proximity Switch 1 11
1149617 Actuator Motor Assembly, Elevate 1 118
1151588 Bracket, Upper Support 1 119
1098944 Screw, Socket Head Cap w/ Patch (1/4-20 x 3/4") 1 420
1018739 Washer (1/4 x 5/8 x 3/32") 1 421
1151589 Bracket, Lower Support 1 122
1117224 Screw, Hex Head Cap with Patch (1/4-20 x 1-1/2") 1 623
1150996 Bracket, Limit Switch 1 124
1074128 Screw, Phillips Pan Head (#4-40 x 7/16") 1 425
1008525 Washer, Internal Tooth Lock (#4-40) 1 226
P0870X000 Nut, Hex Keps (#4-40) 1 227
1024001 Sensor, Actuator Switch 1 128
1021260 Cable Tie (5-5/8" Long) 1 229
1074128 Screw, Phillips Pan Head (#4-40 x 7/16") 1 425
1008525 Washer, Internal Tooth Lock (#4-40) 1 226
P0870X000 Nut, Hex Keps (#4-40) 1 227
1024001 Sensor, Actuator Switch 1 128
A - Includes items 3-8
B - Includes items 11-16
C - Includes items 1 and 18-29
NOTE:
19
To order call toll free 1-800-333-6900, or www.invacare.com
Form No. 07-082

Actuator Motor, Elevate and Hardware with TRRO Option
20
To order call toll free 1-800-333-6900, or www.invacare.com
Form No. 07-082

Actuator Motor, Elevate and Hardware with TRRO Option
Item
Number Part Number DescriptionNote
Quantity Per
Package Assembly
1122586 Sensor, Proximity Switch 1 11
1154121 Kit, Elevate Hardware TRRO 1 12 A
1070462 Screw, Hex Head Cap w/ Patch (5/16-18 x 7/8") 1 43
1061922 Screw, Hex Head Cap w/ Patch (5/16-18 x 1/2") 1 44
1147627 Screw, Socket Head Cap with Patch (5/16-18 x
1-1/2") 1 25
1154212 Screw, Socket Head (5/16-18 x 2-1/4") 1 46
1025704 Washer, Flat (5/16 x 5/8 x 1/16") 1 87
1026158 Locknut (5/16-18) 1 48
1154202 Clevis 1 19
1142297 Nut, Weld (5/16-18 x 1-3/8" Spacing) 1 210
1144670 Screw, Socket Flat Head Countersunk w/ Patch
(1/4-20 x 5/8") 1 211
1153862 Isolator, Rubber 1 112
1152676 Shim (1/64") 1 313
1149555 Plug, TRRO/TRBKTS Tube - Right 1 114
1152718 Plug, TRRO/TRBKTS Tube - Left 1 114
1154206 Bracket, TRRO Support - Right 1 115 C
1152731 Kit, TRRO Elevate Actuator Motor 1 116 B
1122586 Sensor, Proximity Switch 1 11
1149617 Actuator Motor Assembly, Elevate 1 117
1151589 Bracket, Lower Support 1 118
1117224 Screw, Hex Head Cap with Patch (1/4-20 x 1-1/2") 1 619
1154205 Bracket, TRRO Support - Left 1 120
1098944 Screw, Socket Head Cap w/ Patch (1/4-20 x 3/4") 1 221
1018739 Washer (1/4 x 5/8 x 3/32") 1 222
1021260 Cable Tie (5-5/8" Long) 1 223
1074128 Screw, Phillips Pan Head (#4-40 x 7/16") 1 424
1008525 Washer, Internal Tooth Lock (#4-40) 1 225
P0870X000 Nut, Hex Keps (#4-40) 1 226
1150996 Bracket, Limit Switch 1 127
1024001 Sensor, Actuator Switch 1 128
1074128 Screw, Phillips Pan Head (#4-40 x 7/16") 1 424
1008525 Washer, Internal Tooth Lock (#4-40) 1 225
P0870X000 Nut, Hex Keps (#4-40) 1 226
1024001 Sensor, Actuator Switch 1 128
A - Includes items 3-14
B - Includes items 1 and 17-28
C - Serial number of chair must be verified to ensure that TRRO option was originally ordered.
NOTE:
21
To order call toll free 1-800-333-6900, or www.invacare.com
Form No. 07-082

Battery Wire Harnesses and Hardware
U1Batteries
22
To order call toll free 1-800-333-6900, or www.invacare.com
Form No. 07-082

Battery Wire Harnesses and Hardware
U1Batteries
Item
Number Part Number DescriptionNote
Quantity Per
Package Assembly
1152681 Harness, Battery (+) w/ 100A - Front 1 11
1122244 Harness, Battery - Rear 1 12
1122246 Harness, Battery - Front 1 13
1152682 Harness, Battery (+) w/ 100A - Rear 1 14
1154115 Hardware, Battery Harness 1 15 A
1152729 Kit, Battery Strap Assembly and Mounting Hardware 1 16 B
1151592 Screw, Round Head Square Neck (10-24 x 1/2") 1 47
1025732 Locknut (#10-24) 1 48
1152723 Battery Strap w/ Buckle Assembly 1 19
1152724 Battery Strap Assembly 1 110
A - Includes 2 ea. Locking Tab Washers, 4 ea. Hex Flange Nuts (1/4-20), 4 ea. Hex Flange Whiz Lock Screws, 6 ea. Cable
Ties
B - Includes items 7-10 and the Battery Straps are sewn to the metal bracket for item 9 and 10
NOTE:
23
To order call toll free 1-800-333-6900, or www.invacare.com
Form No. 07-082

Item
Number Part Number DescriptionNote
Quantity Per
Package Assembly
1053161 Battery Charger, 8 Amp. 115vac (Off Board)
Dual Mode Round Plug, Lester 1 11
1123249 Battery Charger, 8 Amp. 115vac (Off Board)
Single Mode Round Plug w/ AC Power Line Cord,
CTE Corp.
1 11 A
1089627 Cord, AC Power Line 115vac, 2-prong - Off Board
(11'6"L) 1 12
1119449 Cable, Battery Extension 1 13
1146573 Cable, Drive Lockout Sensor (MK6i) 1 14 B
A - CTE charger is standard on-chair. Used on Gel Cell or AGM (Absorbed Glass Mat) batteries. For wet cell batteries refer to
the Lester charger part number 1053161.
B - Drive Lockout Sensor Cable used for TDX SC model chairs manufactured with a ADJRECL Manual Recline Seat Frame
NOTE:
Battery Chargers and Cables
24
To order call toll free 1-800-333-6900, or www.invacare.com
Form No. 07-082

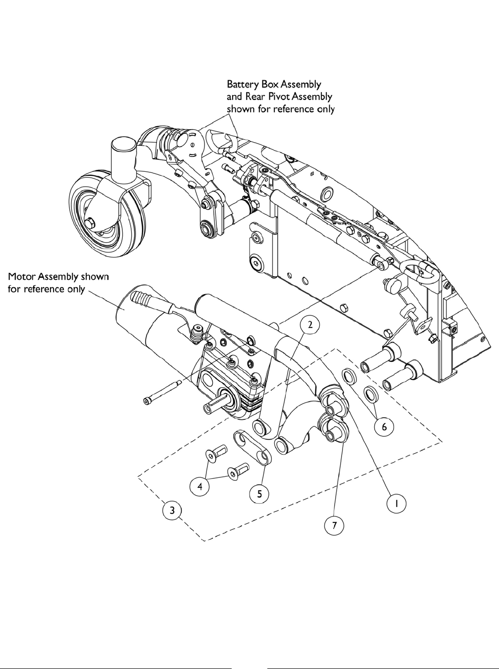
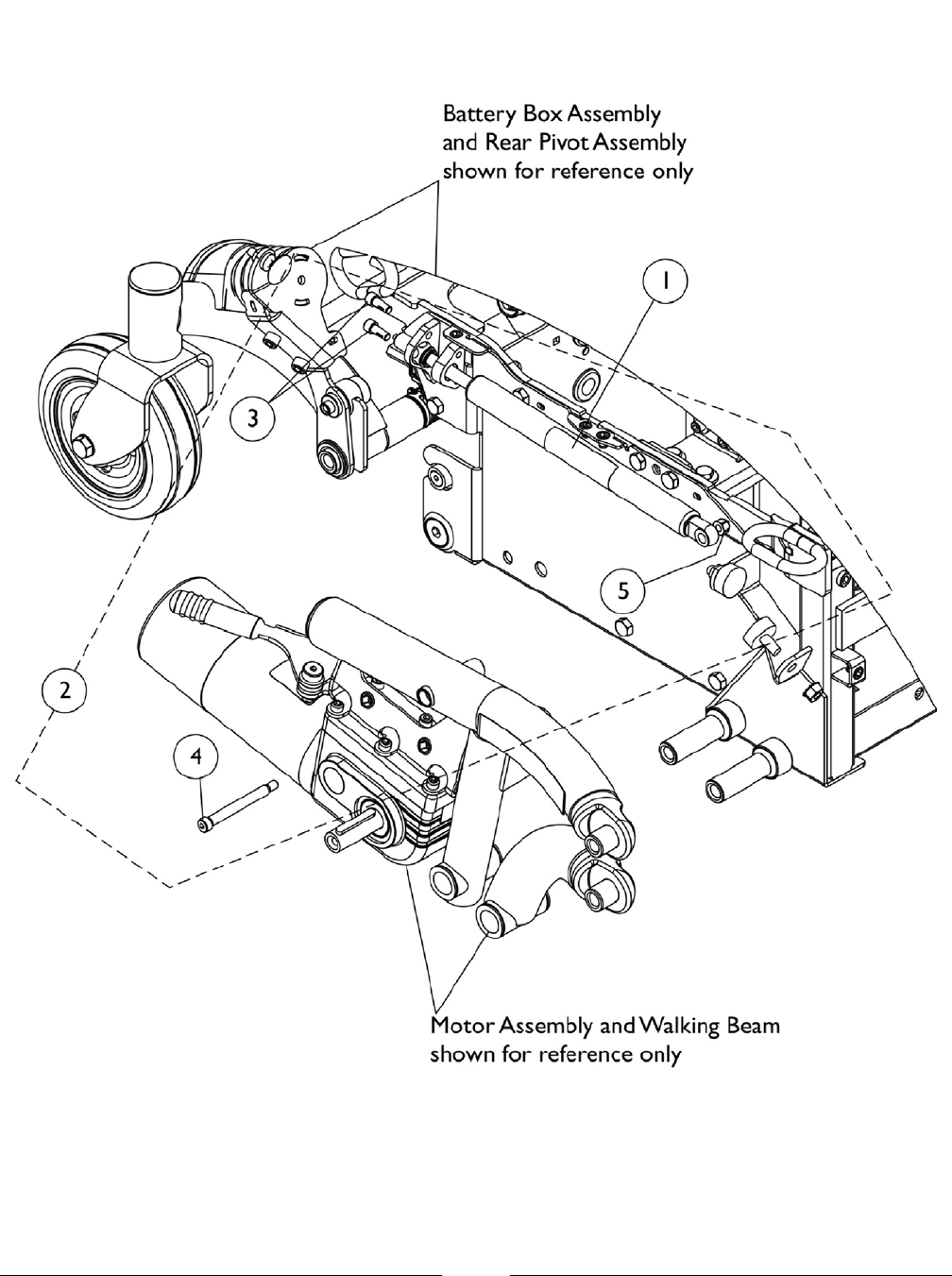
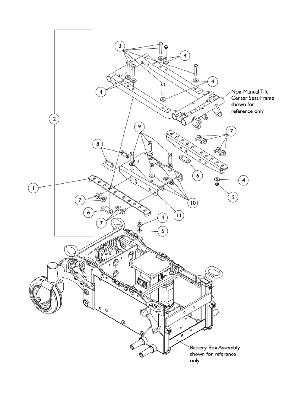
Walking Beam, Lower Pivot Link and Mounting Hardware
25
To order call toll free 1-800-333-6900, or www.invacare.com
Form No. 07-082

Walking Beam, Lower Pivot Link and Mounting Hardware
Item
Number Part Number DescriptionNote
Quantity Per
Package Assembly
8881151598 Walking Beam Assembly w/ Yellow TDX SC Decal
(Color) - Right 1 11 A,C
8881151599 Walking Beam Assembly w/ Yellow TDX SC Decal
(Color) - Left 1 11 A,C
8881151600 Walking Beam Assembly w/ Black TDX SC Decal
(Color) - Right 1 11 B,C
8881151601 Walking Beam Assembly w/ Black TDX SC Decal
(Color) - Left 1 11 B,C
8881151602 Walking Beam Assembly w/ (TDX Yellow) SPREE
Decal (Color) - Right 1 11 C,E
8881151603 Walking Beam Assembly w/ (TDX Yellow) SPREE
Decal (Color) - Left 1 11 C,E
8881154123 Walking Beam Assembly w/ (TDX Black) SPREE
Decal (Color) - Right 1 11 C,F
8881154124 Walking Beam Assembly w/ (TDX Black) SPREE
Decal (Color) - Left 1 11 C,F
1149308 Decal, TDX SC (Yellow) 1 12 A
1149297 Decal, TDX SC (Black) 1 12 B
1151353 Decal, TDX SPREE w/ TDX Yellow Letters 1 12 E
1153865 Decal, TDX SPREE w/ TDX Black Letters 1 12 F
1151610 Kit, Walking Beam & Lower Pivot Link Mounting
Hardware 1 13 D
1149585 Screw, Socket Flat C'Sunk Head Cap w/ Patch
(1/2-13 x 1-1/4") 1 24
1149588 Plate, Washer 1 15
1140452 Spacer, Coved (3/4 x 1-1/8 x 1-1/32") 1 26
8881142330 Link, Lower Pivot (Color) - Right 1 17 C
8881142331 Link, Lower Pivot (Color) - Left 1 17 C
A - The TDX SC yellow decal is used for all frame colors except 60P Silver Metallic
B - The TDX SC black decal is used for 60P Silver Metallic frame color only
C - Specify frame color when ordering. See page titled "Frame Finishes, Touch-Up Paints and Upholstery Options".
D - Includes items 4-6
E - The TDX SPREE decal w/ yellow TDX Letters is used for all frame colors except 30P Sunny Yellow
F - The TDX SPREE decal w/ black TDX Letters is used for 30P Sunny Yellow frame color only
NOTE:
26
To order call toll free 1-800-333-6900, or www.invacare.com
Form No. 07-082

Cylinders, Locking Gas
27
To order call toll free 1-800-333-6900, or www.invacare.com
Form No. 07-082

Cylinders, Locking Gas
Item
Number Part Number DescriptionNote
Quantity Per
Package Assembly
1144661 Cylinder, Locking Gas (300 Lb. User Weight Limit) 1 11 A,D
1144655 Cylinder, Locking Gas (400 Lb. User Weight Limit) 1 11 B,D
1151609 Kit, Locking Gas Cylinder Mounting Hardware 1 12 C
1007219 Screw, Socket Head Cap (1/4-20 x 3/4") 1 23
1142269 Screw, Socket Head Shoulder (5/16 x 2-1/2") 1 14
1025736 Locknut (1/4-20) 1 15
A - Used for TDXSC, TDXSCV, TDXSPREE and TDXSPREE-CG
B - Used for TDXSC2-CG only
C - Includes items 3-5
D - TDXSC, TDXSCV, TDXSC2-CG have a 250 Lb. weight capacity. TDXSPREE and TDXSPREE-CG have a 165 Lb. weight
capacity.
NOTE:
28
To order call toll free 1-800-333-6900, or www.invacare.com
Form No. 07-082

Motor, 2-Pole, Gearbox and Mounting Hardware
29
To order call toll free 1-800-333-6900, or www.invacare.com
Form No. 07-082

Motor, 2-Pole, Gearbox and Mounting Hardware
Item
Number Part Number DescriptionNote
Quantity Per
Package Assembly
1149561 Motor and Gearbox Assembly - Right 1 11
1149562 Motor and Gearbox Assembly - Left 1 11
1038361 Kit, Motor/Brake Covers with Screws 1 12 A,C
1123528 Kit, Motor Brush - Internal (Large) 1 13 B,D
1141284 Kit, Motor Mounting Hardware 1 14 C
1080712 Screw, Socket Head (M6 x 1 x 30MM) 1 35
1071505 Screw, Socket Head Cap with Patch (M6 x 20MM) 1 36
1151612 Kit, Motor Release Lever Hardware - Right 1 17 D
1151604 Lever, Motor Release - Right 1 18
1101725 Cap, Brake 1 19
1151605 Link, Motor 1 110
1025732 Locknut (#10-24) 1 211
1150990 Washer, Nylon (13/32 x 3/4 x 1/8") 1 212
1108439 Locknut (M8 x 1-1/4") 1 113
1026033 Washer, Nylon (1/4 x 1/2 x 1/16") 1 414
1091374 Screw, Socket Head Shoulder (1/4 x 1/4") 1 215
1149592 Screw, Socket Head Shoulder (M10 x 12MM) 1 116
1152686 Kit, Motor Release Lever Hardware - Left 1 17 D
1152685 Lever, Motor Release - Left 1 18
1101725 Cap, Brake 1 19
1151605 Link, Motor 1 110
1025732 Locknut (#10-24) 1 211
1150990 Washer, Nylon (13/32 x 3/4 x 1/8") 1 212
1108439 Locknut (M8 x 1-1/4") 1 113
1026033 Washer, Nylon (1/4 x 1/2 x 1/16") 1 414
1091374 Screw, Socket Head Shoulder (1/4 x 1/4") 1 215
1149592 Screw, Socket Head Shoulder (M10 x 12MM) 1 116
A - Includes a right and left motor brake cover with 4 screws
B - Includes 2 motor brushes and instruction sheet
C - Includes items 5 and 6
D - Includes items 8-16
NOTE:
30
To order call toll free 1-800-333-6900, or www.invacare.com
Form No. 07-082

Item
Number Part Number DescriptionNote
Quantity Per
Package Assembly
1152698 Kit, Fender Assembly - Right 1 11 A
1150979 Fender, Right 1 12
1071505 Screw, Socket Head Cap with Patch (M6 x 20MM) 1 23
1026900 Washer (1/4 x 23/32 x 1/16") 1 24
1152699 Kit, Fender Assembly - Left 1 11 A
1150980 Fender, Left 1 12
1071505 Screw, Socket Head Cap with Patch (M6 x 20MM) 1 23
1026900 Washer (1/4 x 23/32 x 1/16") 1 24
1071505 Screw, Socket Head Cap with Patch (M6 x 20MM) 1 23
1026900 Washer (1/4 x 23/32 x 1/16") 1 24
A - Includes items 2 -4. Item 4 is not required when a Wheel Lock is used.
NOTE:
Fender Assembly
31
To order call toll free 1-800-333-6900, or www.invacare.com
Form No. 07-082

Item
Number Part Number DescriptionNote
Quantity Per
Package Assembly
1151613 Wheel Lock Assembly - Right 1 11
1151614 Wheel Lock Assembly - Left 1 11
1071505 Screw, Socket Head Cap with Patch (M6 x 20MM) 1 22
Wheel Lock Assembly
32
To order call toll free 1-800-333-6900, or www.invacare.com
Form No. 07-082

Shrouds and Hardware
TDX SC
33
To order call toll free 1-800-333-6900, or www.invacare.com
Form No. 07-082

Shrouds and Hardware
TDX SC
Item
Number Part Number DescriptionNote
Quantity Per
Package Assembly
1152728 Package, Screw, Thumb (10-32 x 7/8") 10 11
1152725 Shroud with Decals, Top Rearward, Black 1 12 A
1119281 Name Plate, Patent Numbers 1 13
1035900 Decal, Transportation 1 14
1152656 Shroud, Top Forward, Black 1 15
1149271 Shroud with Decals, Rear, Black 1 16 B
1090147 Decal, Invacare Medallion - Large 1 17
8881152727 Kit, Top Shroud Assembly, Color 1 18 C,I
8881152711 Shroud, Top, Color 1 1
1152660 Shroud, Top Filler, Black 1 210
1152688 Washer, D-Shaped (1/4 x 13/16 x 1/16") 1 211
1152708 Nut, Push (3/8") 1 212
1154116 Kit, Top Filler Shroud 1 19 D
1152660 Shroud, Top Filler, Black 1 210
1152688 Washer, D-Shaped (1/4 x 13/16 x 1/16") 1 211
1152708 Nut, Push (3/8") 1 212
8881151621 Shroud with Decal, Notched Front, Color 1 113 E,I
1152690 Bracket, Support 1 114
1061922 Screw, Hex Head Cap w/ Patch (5/16-18 x 1/2") 1 415
8881154217 Shroud with Decals, Top, Color (For TRBKTS
Option) 1 116 F,I
8881153864 Shroud with Decals, Top, Color (TRRO Option For
TDX SC) 1 116 G,I
1083199 Label, Hook Tie-Down 1 417
8881151619 Shroud with Decal, Front, Color 1 118 H,I
A - Includes Shroud with items 3 and 4
B - Includes Shroud with item 7
C - Includes Top Shroud with items 10-12
D - Includes items 10-12
E - Includes Shroud with item 7. Notched Front Shroud is used for a 90FB Footboard Assembly.
F - Includes Shroud with item 17
G - Includes Shroud with item 17 and WC 19 Compliance Label. Serial number of chair must be verified to ensure that TRRO
option was originally ordered.
H - Includes Shroud with item 7
I - Specify frame color when ordering. See page titled "Frame Finishes, Touch-Up Paints and Upholstery Options".
NOTE:
34
To order call toll free 1-800-333-6900, or www.invacare.com
Form No. 07-082

Shrouds and Hardware (Elevate Only CGE)
TDX SC and TDX SPREE
35
To order call toll free 1-800-333-6900, or www.invacare.com
Form No. 07-082

Shrouds and Hardware (Elevate Only CGE)
TDX SC and TDX SPREE
Item
Number Part Number DescriptionNote
Quantity Per
Package Assembly
1152728 Package, Screw, Thumb (10-32 x 7/8") 10 11
1152726 Shroud with Decals, Top Rearward Elevate, Black 1 12 A
1119281 Name Plate, Patent Numbers 1 13
1035900 Decal, Transportation 1 14
1154219 Shroud with Decals, Top Forward Elevate, Black 1 15 B
1079203 Decal, Warning Pinch Point 1 26
1149271 Shroud with Decals, Rear, Black 1 17 C
1090147 Decal, Invacare Medallion - Large 1 18
8881154217 Shroud with Decals, Top, Color (For TRBKTS
Option) 1 19 D,G
8881154218 Shroud with Decals, Top, Color (TRRO Option For
TDX SPREE) 1 19 E,G
1083199 Label, Hook Tie-Down 1 410
8881151619 Shroud with Decal, Front, Color 1 111 F,G
A - Includes Shroud with items 3 and 4
B - Includes Shroud with item 6
C - Includes Shroud with item 8
D - Includes Shroud with item 10
E - Includes Shroud, item 10, WC 19/Engage Docking Pins Warning Label and TRRO Adjustment Label
F - Includes Shroud with item 8
G - Specify frame color when ordering. See page titled "Frame Finishes, Touch-Up Paints and Upholstery Options".
NOTE:
36
To order call toll free 1-800-333-6900, or www.invacare.com
Form No. 07-082

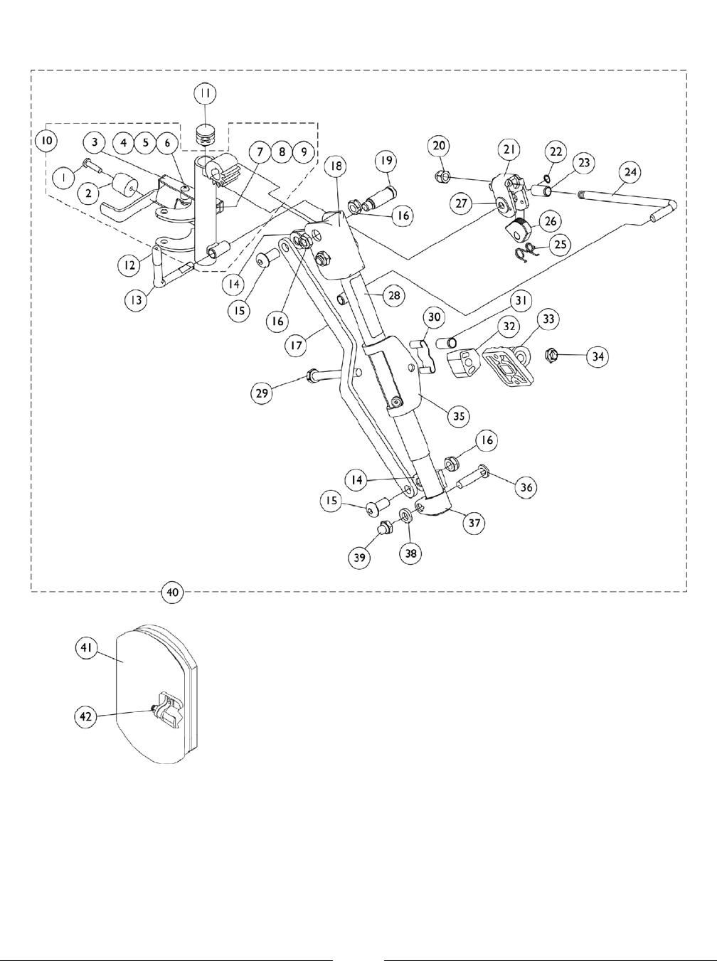
Rear Pivot Assembly
37
To order call toll free 1-800-333-6900, or www.invacare.com
Form No. 07-082

Rear Pivot Assembly
Item
Number Part Number DescriptionNote
Quantity Per
Package Assembly
8881151582 Kit, Swing Arm (Color) with Bearings, Rear - Right 1 11 A,B
40117X006 Bearing (5/8") 1 22
1110717 Ring, Tolerance 1 23
8881151583 Kit, Swing Arm (Color) with Bearings, Rear - Left 1 11 A,B
40117X006 Bearing (5/8") 1 22
1110717 Ring, Tolerance 1 23
40117X006 Bearing (5/8") 1 22
1110717 Ring, Tolerance 1 23
1150988 Cap, Rear - Right 1 14
1150989 Cap, Rear - Left 1 14
1149595 Cross-Member, Pivot 1 15
1151617 Stand-Off (10-32 x 1") 1 16
1144672 Bushing Assembly, Center 1 17
1149238 Bar, Pivot 1 18
1110709 Cap, Headtube 1 29
1145067 Kit, Pivot Assembly Hardware 1 110 C
1098960 Screw, Socket Head Cap w/ Patch (5/16-18 x 5/8") 1 411
1142265 Stop, Nylon 1 212
1059655 Washer (5/16 x 5/8 x 1/16") 1 213
1028769 Locknut (5/16-18) 1 214
1146631 Spacer, Nylon (3/4" x 1-1/4" x 23/32") 1 2
1151949 Kit, Elevator Bolt w/ Keps Nut (1/4-20) 1 215
8881149284 Kit, Rear Pivot Assembly (Color) (For TDX
SC/Spree) 1 116 B,D
1151586 Spring, Yellow, Heavy Duty 1 217 E
1151587 Spring, Yellow, Non-Heavy Duty 1 217 F
A - Includes Swing Arm and items 2-3
B - Specify frame color when ordering. See page titled "Frame Finishes and Touch-Up Paints."
C - Includes items 11-14 and (part # 1146631 Nylon Spacers - Not Shown. These spacers are used for TDX SP models only.
Disregard for TDX SC and SPREE models)
D - Includes items 1, 4-10 and 15
E - Used for all TDX SC models and TDX SPREE with Formula CG Tilt
F - Used for all TDX SPREE models except TDX SPREE with Formula CG Tilt
NOTE:
38
To order call toll free 1-800-333-6900, or www.invacare.com
Form No. 07-082

Rear Pivot Assembly Mounting Hardware
39
To order call toll free 1-800-333-6900, or www.invacare.com
Form No. 07-082

Rear Pivot Assembly Mounting Hardware
Item
Number Part Number DescriptionNote
Quantity Per
Package Assembly
1149285 Kit, Rear Pivot Assembly Mounting Hardware 1 11 A
1149583 Bushing, Rear Pivot 1 22
1149585 Screw, Socket Flat C'Sunk Head Cap w/ Patch
(1/2-13 x 1-1/4") 1 23
1144670 Screw, Socket Flat Head Countersunk w/ Patch
(1/4-20 x 5/8") 1 24
1142266 Spacer, Nylon 1 25
A - Includes items 2-5
NOTE:
40
To order call toll free 1-800-333-6900, or www.invacare.com
Form No. 07-082

Caster, 6" Front and Rear
41
To order call toll free 1-800-333-6900, or www.invacare.com
Form No. 07-082

Caster, 6" Front and Rear
Item
Number Part Number DescriptionNote
Quantity Per
Package Assembly
1142342 Kit, Cap with Screw, Front Head Tube - Right 1 11 A
1025716 Screw, Phillips Pan Head (#10-32 x 11/16") 1 12
1142306 Cap, Front Head Tube - Right 1 13
1142343 Kit, Cap with Screw, Front Head Tube - Left 1 11 A
1025716 Screw, Phillips Pan Head (#10-32 x 11/16") 1 12
1142307 Cap, Front Head Tube - Left 1 13
1110709 Cap, Headtube 1 14
1110684 Kit, Fork Mounting Hardware 1 15 B
1028550 Locknut (5/8-18) 1 16
1041444 Washer (5/8 x 1-5/16 x 1/8") 1 17
1106068 Spacer, Stem (5/8 x 1-1/8 x 3/16") 1 18
1142340 Kit, Front Head Tube Assembly - Right 1 19 C
1121665 Head Tube - Right 1 110
1110717 Ring, Tolerance 1 211
40117X006 Bearing (5/8") 1 212
1142341 Kit, Front Head Tube Assembly - Left 1 19 C
1121666 Head Tube - Left 1 110
1110717 Ring, Tolerance 1 211
40117X006 Bearing (5/8") 1 212
1154107 Kit, Front Head Tube Mounting Hardware 1 113 D
1134248 Screw, Socket Button Head Cap w/ Patch (1/2-13 x
7/8") 1 214
1144639 Washer, Nylon (1/2 x 7/8 x 1/16") 1 215
1134247 Washer, Nylon (3/4 x 1-1/2 x 1/8") 1 216
1110683 Fork and Stem 1 117
1141020 Fork and Stem For TRRO/TRBKTS Option 1 117 I
1113123 Fork and Stem, 1-Sided - Right 1 117 E
1113124 Fork and Stem, 1-Sided - Left 1 117 E
1141005 Fork and Stem For TRRO/TRBKTS Option, 1-Sided
- Right 1 117 E,H
1141006 Fork and Stem For TRRO/TRBKTS Option, 1-Sided
- Left 1 117 E,H
1110708 Kit, Caster Mounting Hardware 1 118 F
1025734 Locknut (7/16-20) 1 119
1025724 Washer (15/32 x 5/8 x 3/64") 1 220
1025726 Screw, Hex Head (7/16-20 x 3-1/4") 1 121
1006049 Bearing (7/16") 1 222
1020592 Spacer, Bearing (7/16 x 5/8 x 1-3/4") 1 123
1115179 Wheel with Bearings, 6 x 2" Urethane Deep Profile 1 124
40117X006 Bearing (5/8") 1 125
1006049 Bearing (7/16") 1 126
1110715 Wheel with Bearings,
6" x 2" Urethane Deep Profile 1 127
1105854 Hub Cap 1 128
1108561 Hardware, Caster 1 129 G
42
To order call toll free 1-800-333-6900, or www.invacare.com
Form No. 07-082

Caster, 6" Front and Rear
Item
Number Part Number DescriptionNote
Quantity Per
Package Assembly
1105852 Pin, Cotter 1 130
1115246 Screw, Phillips Flat Head Countersunk (M6 x 1 x
45mm) 1 231
1108005 Spacer, Steel (5/8 x 7/8 x 1/8") 1 132
1025724 Washer (15/32 x 5/8 x 3/64") 1 133
1107168 Nut, Hex Slotted (7/16-20) 1 134
1107698 Locknut (M6 x 1) 1 235
A - Includes items 2 and 3
B - Includes items 6-8
C - Includes items 10-12
D - Includes items 14-16
E - When 1-sided forks are used, they are assembled in the front and rear of the power chair
F - Includes items 19-21
G - Includes items 30-35
H - The TRRO or TRBKTS option 1-sided fork will have a stamped centered dimple and radius outside edges
I - The TRRO or TRBKTS option 2-sided fork will have stamped centered dimple on both sides and radius outside edges
NOTE:
43
To order call toll free 1-800-333-6900, or www.invacare.com
Form No. 07-082

Item
Number Part Number DescriptionNote
Quantity Per
Package Assembly
1102339 Kit, Drive Wheel with Mounting Hardware - Flat Free
(10 x 3") 1 11 A
1023264 Key (6 MM x 6MM x 40 MM) 1 12
1023262 Washer (11/32 x 13/16 x 1/8") 1 13
1023260 Screw (M8 x 1-1/4 x 20MM) 1 14
1064179 Kit, Locking Tab Washers with Instruction Sheet 1 15
1102342 Tire w/ Flat-Free (10" x 3") 1 16
1105043 Wheel, Drive with Tire and Bearings - Flat Free (10"
x 3") 1 17
1064179 Kit, Locking Tab Washers with Instruction Sheet 1 15 B
1102342 Tire w/ Flat-Free (10" x 3") 1 16
A - Includes items 2-5 and 7
B - Includes 2 ea. Locking Tab Washers and Instruction Sheet
NOTE:
Drive Wheels and Mounting Hardware (10" x 3")
44
To order call toll free 1-800-333-6900, or www.invacare.com
Form No. 07-082

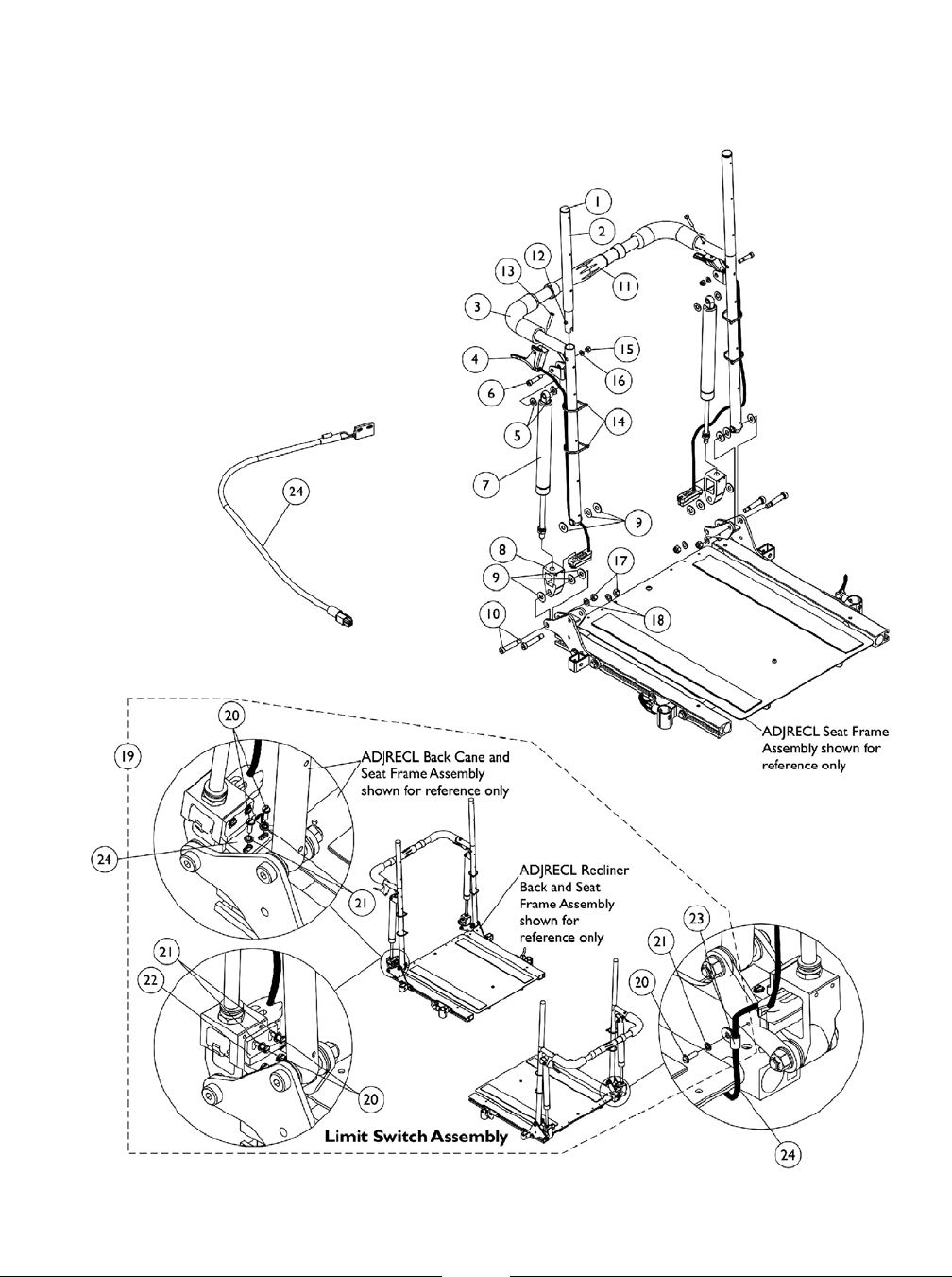
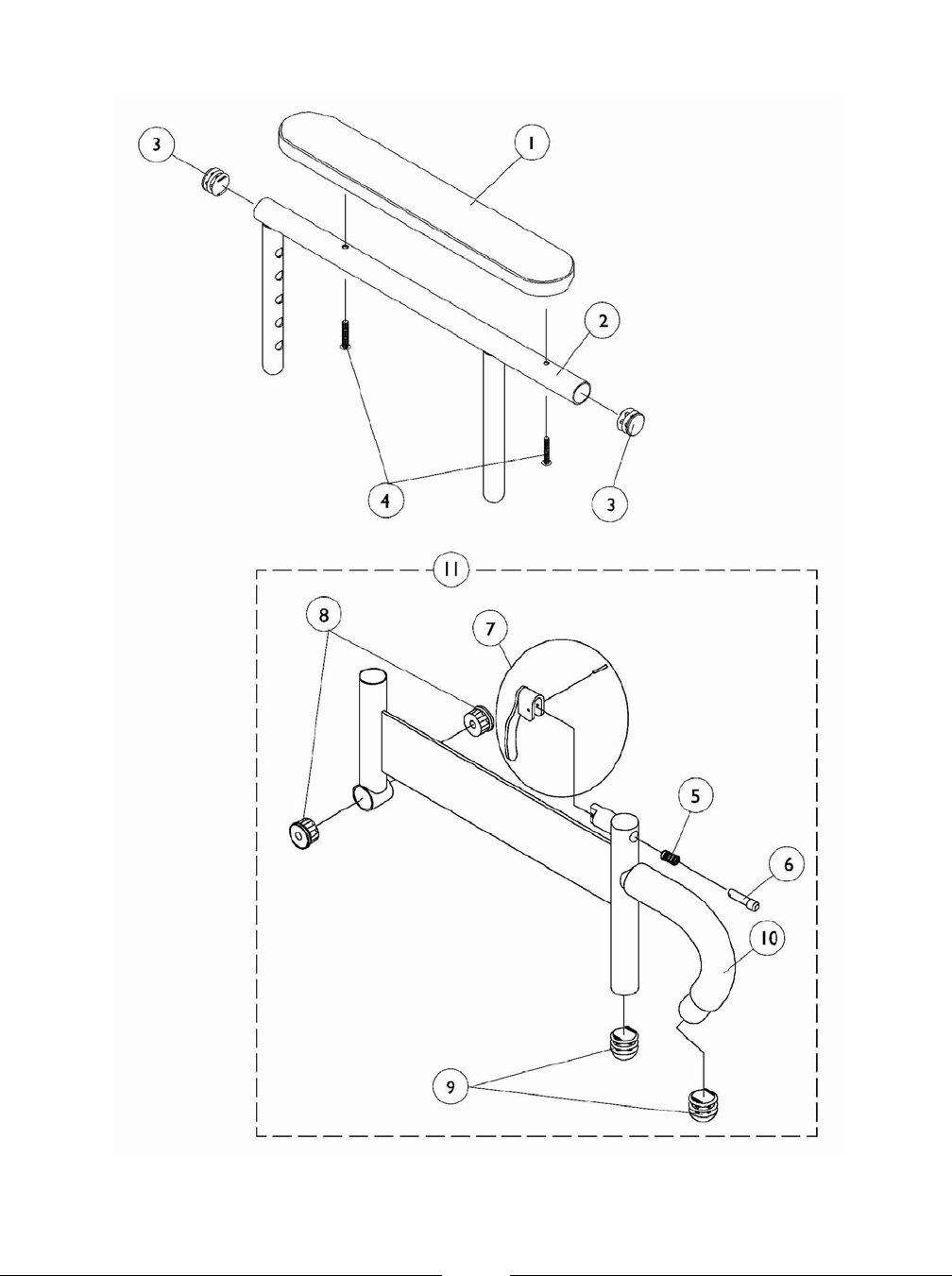
Manual Tilt Interface Assembly
TDX SPREE
45
To order call toll free 1-800-333-6900, or www.invacare.com
Form No. 07-082

Manual Tilt Interface Assembly
TDX SPREE
Item
Number Part Number DescriptionNote
Quantity Per
Package Assembly
1151028 Kit, Manual Tilt Interface Assembly TDX SPREE 1 11 A
1151027 Frame, Manual Tilt Center Seat 1 12
1151885 Rod, Pivot 1 13
1149616 Frame, Elevate Manual Tilt 1 14
1075256 Cylinder, Gas w/ Release Cable -Left 1 15
1075255 Cylinder, Gas w/ Release Cable -Right 1 16
1045267 Screw, Hex Head (1/4-20 x 3/4") 1 27
1026900 Washer (1/4 x 23/32 x 1/16") 1 28
1087417 Screw, Socket Head Shoulder (5/16 x 1") 1 29
1025736 Locknut (1/4-20) 1 410
1025351 Screw, Socket Head Shoulder (5/16 x 1-1/4") 1 211
1141290 Bumper, Rubber (1" Dia. x 3/8") 1 212
000037 Nut, Keps (5/16-18) 1 213
1104856 Spacer (5/16 x 1/2 x 3/8") 1 214
1016301 Washer, Nylon (5/16 x 7/8 x 1/8") 1 515
1074133 Washer (5/16 x 3/4 x 1/16") 1 216
1151027 Frame, Manual Tilt Center Seat 1 12
1151885 Rod, Pivot 1 13
1149616 Frame, Elevate Manual Tilt 1 14
1075256 Cylinder, Gas w/ Release Cable -Left 1 15
1075255 Cylinder, Gas w/ Release Cable -Right 1 16
1154122 Kit, Manual Tilt Interface Hardware TDX SPREE 1 1B,C
1045267 Screw, Hex Head (1/4-20 x 3/4") 1 27
1026900 Washer (1/4 x 23/32 x 1/16") 1 28
1087417 Screw, Socket Head Shoulder (5/16 x 1") 1 29
1025736 Locknut (1/4-20) 1 410
1025351 Screw, Socket Head Shoulder (5/16 x 1-1/4") 1 211
1141290 Bumper, Rubber (1" Dia. x 3/8") 1 212
000037 Nut, Keps (5/16-18) 1 213
1104856 Spacer (5/16 x 1/2 x 3/8") 1 214
1016301 Washer, Nylon (5/16 x 7/8 x 1/8") 1 515
1074133 Washer (5/16 x 3/4 x 1/16") 1 216
A - Includes items 2-16
B - Includes items 7-16
C - Not Shown
NOTE:
46
To order call toll free 1-800-333-6900, or www.invacare.com
Form No. 07-082

Mercury Switches and Hardware, Manual Tilt
TDX SPREE
47
To order call toll free 1-800-333-6900, or www.invacare.com
Form No. 07-082

Mercury Switches and Hardware, Manual Tilt
TDX SPREE
Item
Number Part Number DescriptionNote
Quantity Per
Package Assembly
1080635 Harness, Recline/Tilt Mercury Switch 1 21
1154117 Kit, Mercury Switch Mounting Hardware 1 12 A
1025708 Bolt, Hex Head Cap (1/4-20 x 3/4") 1 23
0062800 Bracket, Cable/Wire Mounting, Black 1 24
1025195 Locknut (1/4-20) 1 25
A - Includes items 3-5
NOTE:
48
To order call toll free 1-800-333-6900, or www.invacare.com
Form No. 07-082

ADJASBA Seat Frame, Seat Pan and Hardware
(12"-16" Wide) Non-Manual Tilt
49
To order call toll free 1-800-333-6900, or www.invacare.com
Form No. 07-082

ADJASBA Seat Frame, Seat Pan and Hardware
(12"-16" Wide) Non-Manual Tilt
Item
Number Part Number DescriptionNote
Quantity Per
Package Assembly
1121982 Frame, Center Seat 1 11
1126126 Crossbar, Seat Frame (12-16" Wide) 1 42
1126127 Rail, Side (12-18" Deep) 1 23
1126144 Seat Pan w/ Hook and Loop Fasteners (12-16" W x
12-18" D) 1 14 A
1039949 Fastener, Hook Adhesive Back (2" x 16") 1 45
1044578 Fastener, Loop Adhesive Back (2" x 16") 1 45
1135500 Kit, Seat Frame Assembly Hardware 12"-16" Wide 1 16 B
1045267 Screw, Hex Head (1/4-20 x 3/4") 1 87
1026907 Washer (1/4 x 1/2 x 1/16") 1 48
1026099 Spacer, Coved (1/4 x 11/16 x 1/2") 1 49
1025736 Locknut (1/4-20) 1 310
1029501 Plug Button, Black (1") 1 211
1008495 Screw, Socket Button Head (1/4-20 x 1-1/2") 1 312
1134425 Package, Plug Buttons, Black (1") 10 111
A - Includes item 5
B - Includes items 7-12
NOTE:
50
To order call toll free 1-800-333-6900, or www.invacare.com
Form No. 07-082

ADJASBA Seat Frame, Seat Pan and Hardware
(12"-16" Wide) Manual Tilt
51
To order call toll free 1-800-333-6900, or www.invacare.com
Form No. 07-082

ADJASBA Seat Frame, Seat Pan and Hardware
(12"-16" Wide) Manual Tilt
Item
Number Part Number DescriptionNote
Quantity Per
Package Assembly
1126126 Crossbar, Seat Frame (12-16" Wide) 1 41
1122647 Rail, Seat Frame (16-20" Deep For Formula TRE &
16-19" Deep For ADJASBA) 1 22
1142961 Seat Pan w/ Hook and Loop Fasteners (12-16 W x
12-18" D) 1 13 A
1043082 Hook Fastener, Adhesive (2" x 18") 1 24
1044580 Loop Fastener, Adhesive (2" x 18") 1 24
1135501 Kit, Seat Frame Assembly Hardware 1 15 B
1045267 Screw, Hex Head (1/4-20 x 3/4") 1 86
1026907 Washer (1/4 x 1/2 x 1/16") 1 27
1026099 Spacer, Coved (1/4 x 11/16 x 1/2") 1 48
1009838 Screw, Socket Head (1/4-20 x 3/4") 1 29
40187X014 Pin, Roll (3/16 x 1") 1 210
A - Includes item 4
B - Includes items 6-10
NOTE:
52
To order call toll free 1-800-333-6900, or www.invacare.com
Form No. 07-082

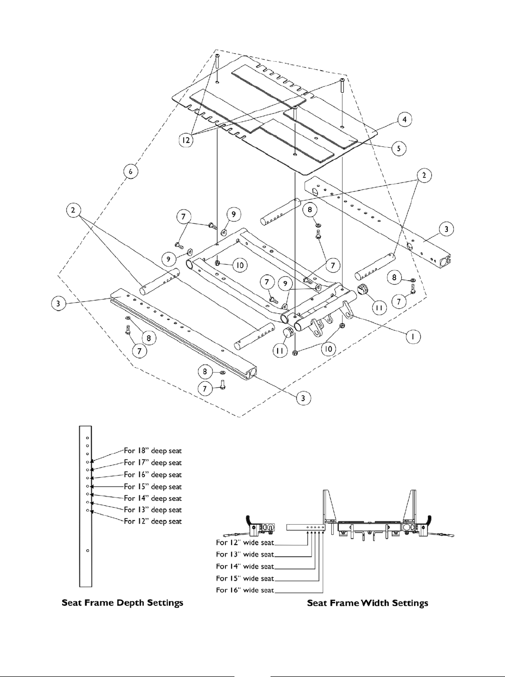
ADJASBA/ADJRECL Seat Frame, Seat Pan and Hardware
(16"-20" Wide) x (16"-20" Deep)
ADJRECL Seat Frame is not available with CGE elevate option
53
To order call toll free 1-800-333-6900, or www.invacare.com
Form No. 07-082

ADJASBA/ADJRECL Seat Frame, Seat Pan and Hardware
(16"-20" Wide) x (16"-20" Deep)
ADJRECL Seat Frame is not available with CGE elevate option
Item
Number Part Number DescriptionNote
Quantity Per
Package Assembly
1120288 Frame, Center Seat 1 11 D
1122475 Crossbar, Seat Frame (16"-20" Wide) 1 42
1122647 Rail, Seat Frame (16-20" Deep For Formula TRE &
16-19" Deep For ADJASBA) 1 23
1122677 Rail, Seat Frame (20-22" Deep For Formula TRE &
19-22" Deep For ADJASBA) 1 23 E
1124386 Seat Pan w/ Hook and Loop Fasteners
16-20" Wide x (16-20" Deep For Formula TRE &
16-19" Deep For ADJASBA)
1 14
1124666 Seat Pan w/ Hook and Loop Fasteners
16-20" Wide x (20-22" Deep For Formula TRE &
19-22" Deep For ADJASBA)
1 14
1043082 Hook Fastener, Adhesive (2" x 18") 1 25 A
1044580 Loop Fastener, Adhesive (2" x 18") 1 25 A
1043084 Hook Fastener, Adhesive (2" x 22") 1 25 B
1044584 Loop Fastener, Adhesive (2" x 22") 1 25 B
1135501 Kit, Seat Frame Assembly Hardware 1 16 C
1045267 Screw, Hex Head (1/4-20 x 3/4") 1 87
1026907 Washer (1/4 x 1/2 x 1/16") 1 28
1026099 Spacer, Coved (1/4 x 11/16 x 1/2") 1 49
1009838 Screw, Socket Head (1/4-20 x 3/4") 1 210
40187X014 Pin, Roll (3/16 x 1") 1 211
1114823 Decal, Seat Adjustment Warning 1 212
A - For 16"-19" deep seats
B - For 19"-22" deep seats.
C - Includes items 7-11
D - When ordering Center Seat Frame (item 1), also order 2 ea. Seat Adjustment Warning Decal (item 12).
E - TDX SC models go to 20" deep only
NOTE:
54
To order call toll free 1-800-333-6900, or www.invacare.com
Form No. 07-082

ADJASBA Seat Frame Mounting Hardware
(12"-16" Wide) Non-Manual Tilt TDX SPREE
55
To order call toll free 1-800-333-6900, or www.invacare.com
Form No. 07-082

ADJASBA Seat Frame Mounting Hardware
(12"-16" Wide) Non-Manual Tilt TDX SPREE
Item
Number Part Number DescriptionNote
Quantity Per
Package Assembly
1151880 Mounting Plate, Low Seat-To-Floor 1 21
1151881 Mounting Plate, Med Seat-To-Floor 1 21
1151882 Mounting Plate, Tall Seat-To-Floor 1 21
1147966 Kit, Seat Frame Mounting Hardware (12"-16" Wide) 1 12
1043627 Screw, Hex Head Cap with Patch (5/16-18 x 1-3/4") 1 63
1079247 Washer, Flat (21/64 x 53/64 x 7/64") 1 84
1028769 Locknut (5/16-18) 1 25
1137229 Plate, Nut (5/16-18) 1 26
1142304 Screw, Hex Head SEMS w/ Patch (5/16-18 x 3/4") 1 87
1121721 Nut, Weld (5/16-18 x 1-1/8" Spacing) 1 48
1118888 Screw, Hex Head (3/8-16 x 1-1/4") 1 49
1118889 Washer, Steel (3/8 x 7/8 x 1/16") 1 410
1147965 Bracket, Seat Frame Elevate Mounting 1 111
1154118 Kit, Mounting Plate Hardware 1 1B
1142304 Screw, Hex Head SEMS w/ Patch (5/16-18 x 3/4") 1 87
1121721 Nut, Weld (5/16-18 x 1-1/8" Spacing) 1 48
B - Not Shown. Includes items 7 and 8
NOTE:
56
To order call toll free 1-800-333-6900, or www.invacare.com
Form No. 07-082

ADJASBA Seat Frame Mounting Hardware
(12"-16" Wide) Manual Tilt TDX SPREE
57
To order call toll free 1-800-333-6900, or www.invacare.com
Form No. 07-082

ADJASBA Seat Frame Mounting Hardware
(12"-16" Wide) Manual Tilt TDX SPREE
Item
Number Part Number DescriptionNote
Quantity Per
Package Assembly
1151874 Kit, Seat Frame Mounting Hardware, Low
Seat-To-Floor (12"-16" Wide) 1 11 A
1118888 Screw, Hex Head (3/8-16 x 1-1/4") 1 42
1118889 Washer, Steel (3/8 x 7/8 x 1/16") 1 43
1151875 Kit, Seat Frame Mounting Hardware, Med
Seat-To-Floor (12"-16" Wide) 1 14 B
1151872 Screw, Hex Head (3/8-16 x 3") 1 45
1118889 Washer, Steel (3/8 x 7/8 x 1/16") 1 46
1151870 Bracket, 2" Seat-To-Floor 1 17
1151876 Kit, Seat Frame Mounting Hardware, Tall
Seat-To-Floor (12"-16" Wide) 1 18 C
1151873 Screw, Hex Head (3/8-16 x 5") 1 49
1118889 Washer, Steel (3/8 x 7/8 x 1/16") 1 410
1151871 Bracket, 4" Seat-To-Floor 1 111
1118889 Washer, Steel (3/8 x 7/8 x 1/16") 1 43
1151872 Screw, Hex Head (3/8-16 x 3") 1 45
1151873 Screw, Hex Head (3/8-16 x 5") 1 49
A - Includes items 2 and 3
B - Includes items 5-7
C - Includes items 9-11
NOTE:
58
To order call toll free 1-800-333-6900, or www.invacare.com
Form No. 07-082

ADJASBA/ADJRECL Seat Frame Mounting Hardware
(16"-20" Wide) Non-Elevate TDX SC
59
To order call toll free 1-800-333-6900, or www.invacare.com
Form No. 07-082

ADJASBA/ADJRECL Seat Frame Mounting Hardware
(16"-20" Wide) Non-Elevate TDX SC
Item
Number Part Number DescriptionNote
Quantity Per
Package Assembly
1147961 Kit, Seat Frame Mounting Hardware 16"-20" Wide 1 11 A
1104845 Screw, Socket Head Cap with Patch (5/16-18 x
1-3/4") 1 62
1137230 Washer, Ground (11/32 x 13/16 x 1/8") 1 63
1113341 Nut, Strap 1 24
1026158 Locknut (5/16-18) 1 25
A - Includes items 2-5 and used for ADJASBA/ADJRECL Non-Elevate TDX SC models
NOTE:
60
To order call toll free 1-800-333-6900, or www.invacare.com
Form No. 07-082

ADJASBA Seat Frame Mounting Hardware
(16"-20" Wide) Elevate TDX SC
61
To order call toll free 1-800-333-6900, or www.invacare.com
Form No. 07-082

ADJASBA Seat Frame Mounting Hardware
(16"-20" Wide) Elevate TDX SC
Item
Number Part Number DescriptionNote
Quantity Per
Package Assembly
1144686 Kit, Seat Frame Mounting Hardware 1 11 A
1086944 Screw, Socket Head Cap (5/16-18 x 3/4") 1 82
1137230 Washer, Ground (11/32 x 13/16 x 1/8") 1 83
1137229 Plate, Nut (5/16-18) 1 44
1154118 Kit, Mounting Plate Hardware 1 15 B
1142304 Screw, Hex Head SEMS w/ Patch (5/16-18 x 3/4") 1 86
1121721 Nut, Weld (5/16-18 x 1-1/8" Spacing) 1 47
1121710 Mounting Plate, Elevate Seat - Right 1 18
1121711 Mounting Plate, Elevate Seat - Left 1 18
1147098 Bracket, Seat Mounting (Elevate) 1 19
1065939 Screw, Hex Head (3/8-16 x 1") 1 410 C
1151872 Screw, Hex Head (3/8-16 x 3") 1 411 D
1151873 Screw, Hex Head (3/8-16 x 5") 1 412 E
1151870 Bracket, 2" Seat-To-Floor 1 113
1151871 Bracket, 4" Seat-To-Floor 1 114
A - Includes items 2-4
B - Includes items 6 and 7
C - Item 10 used for Low Seat-To-Floor
D - Item 11 used for Med Seat-To-Floor
E - Item 12 used for Tall Seat-To-Floor
NOTE:
62
To order call toll free 1-800-333-6900, or www.invacare.com
Form No. 07-082

Van Seat Frame and Hardware
TDX SC
63
To order call toll free 1-800-333-6900, or www.invacare.com
Form No. 07-082

Van Seat Frame and Hardware
TDX SC
Item
Number Part Number DescriptionNote
Quantity Per
Package Assembly
1123423 Frame, Van Seat -16" Wide 1 11
1115343 Frame, Van Seat -18" Wide 1 11
1115344 Frame, Van Seat -20" Wide 1 11
1115345 Frame, Van Seat -22" Wide 1 11
1088897 Screw, Hex Head (1/4-20 x 1-1/4") 1 22
1026900 Washer (1/4 x 23/32 x 1/16") 1 23
1052957 Screw, Hex Head (1/4-20 x 2") 1 24
1029501 Plug Button, Black (1") 1 25
1108410 Spacer (1/4 x 5/8 x 1/4") 1 26
1116421 Hardware, Van Seat Mounting 1 17 A
A - Includes items 2-6
NOTE:
64
To order call toll free 1-800-333-6900, or www.invacare.com
Form No. 07-082

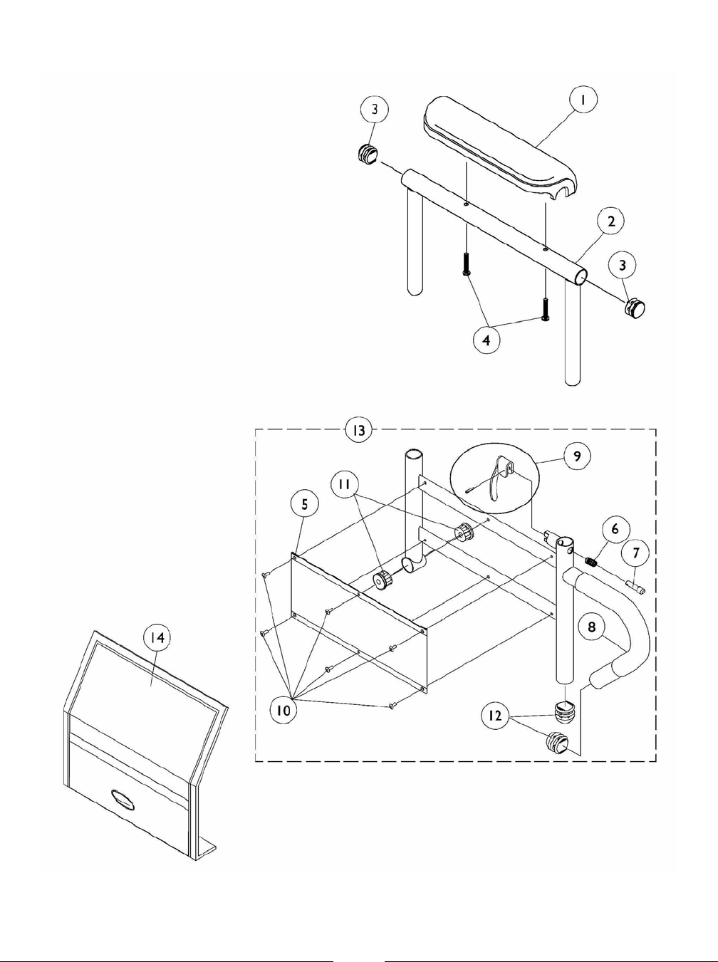
Van Seat Assembly
TDX SC
65
To order call toll free 1-800-333-6900, or www.invacare.com
Form No. 07-082

Van Seat Assembly
TDX SC
Item
Number Part Number DescriptionNote
Quantity Per
Package Assembly
1106969 Backrest Extension, Van Seat - Grey Fabric 1 11
1108408 Backrest Extension, Van Seat - Grey Vinyl 1 11
1106968 Backrest Extension, Van Seat - Tan Vinyl 1 11
See Chart #2 Van Seat (Semi-Recline) Assembly 1 12
See Chart #3 Van Seat (Semi-Recline) w/ Solid Seat Base
Assembly 1 13
1123384 Solid Seat Base, Van Seat - 16" Wide (Grey Vinyl) 1 14 A
1123385 Solid Seat Base, Van Seat - 18" Wide (Grey Vinyl) 1 14 A
1123386 Solid Seat Base, Van Seat - 20" Wide (Grey Vinyl) 1 14 A
1123387 Solid Seat Base, Van Seat - 22" Wide (Grey Vinyl) 1 14 A
A - Solid Seat Base is the only item available for service parts with regard to the Van Seats. Seat Hinges are not sold
separately.
NOTE:
#2 Van Seat (Semi-Recline) Assembly
Upholstery Type Van Seat with
Backrest
16" Wide
Van Seat with
Backrest
18" Wide
Van Seat with
Backrest
20" Wide
Van Seat with
Backrest
22" Wide
1109256110925511092541123424All Grey Fabric
1109244110924311092421123426All Grey Vinyl
1109250110924911092481123425All Tan Vinyl
NOTE: Semi-recline Van Seat reclines approximately 90-114 degrees. Adjustable depths are (16, 17, 18" deep for 16 & 18" wide seats) and
(18, 19, 20" deep for 20 & 22" wide seats). Recline release levers are standard on the right side. Left side release levers can be ordered as a
special with a new van seat.
66
To order call toll free 1-800-333-6900, or www.invacare.com
Form No. 07-082

Van Seat Assembly
TDX SC
#3 Van Seat (Semi-Recline) w/ Solid Seat Base Assembly
Upholstery Type
Van Seat w/ Solid
Seat
and Backrest
16" Wide
Van Seat w/ Solid
Seat
and Backrest
18" Wide
Van Seat w/ Solid
Seat
and Backrest
20" Wide
Van Seat w/ Solid
Seat
and Backrest
22" Wide
N/AN/AN/AN/AAll Grey Fabric
1123430112342711234281123429All Grey Vinyl
N/AN/AN/AN/AAll Tan Vinyl
NOTE: Semi-recline Van Seat reclines approximately 90-114 degrees. Adjustable depths are (16, 17, 18" deep for 16 & 18" wide seats) and
(18, 19, 20" deep for 20 & 22" wide seats). Recline release levers are standard on the right side. Left side release levers can be ordered as a
special with a new van seat.
67
To order call toll free 1-800-333-6900, or www.invacare.com
Form No. 07-082

Item
Number Part Number DescriptionNote
Quantity Per
Package Assembly
1108068 Kit, Seat Release Hardware 1 11 A
1109219 Spring, Torsion, Right 1 12
1109220 Spring, Torsion, Left 1 13
1108239 Pin, Slotted (1/4 x 1-1/8") 1 24
1106476 Latch, Seat 1 15
A - Includes items 2-5
NOTE:
Seat Release Hardware
Van Seat TDX SC
68
To order call toll free 1-800-333-6900, or www.invacare.com
Form No. 07-082

Seat Release Hardware and Adapter Frame
ADJASBA/ADJRECL Seat Frame TDX SC
69
To order call toll free 1-800-333-6900, or www.invacare.com
Form No. 07-082

Seat Release Hardware and Adapter Frame
ADJASBA/ADJRECL Seat Frame TDX SC
Item
Number Part Number DescriptionNote
Quantity Per
Package Assembly
1147960 Kit, Seat Frame Adapter and Release Hardware 1 11 A
1151332 Frame, ADJASBA Seat Adapter 1 12
1105038 Cap, Tube (1" Square) 1 43
1151331 Latch, Seat 1 14
1109219 Spring, Torsion, Right 1 25
1109220 Spring, Torsion, Left 1 26
1108239 Pin, Slotted (1/4 x 1-1/8") 1 27
1147982 Kit, Seat Frame Adapter and Release Hardware -
TRBKTS/TRRO Option Only 1 11 B
1147980 Frame, ADJASBA Seat Adapter 1 12
1105038 Cap, Tube (1" Square) 1 43
1151331 Latch, Seat 1 14
1109219 Spring, Torsion, Right 1 15
1109220 Spring, Torsion, Left 1 16
1108239 Pin, Slotted (1/4 x 1-1/8") 1 27
1031665 Screw, Socket Head Shoulder (3/8 x 1-1/2") 1 28
1026158 Locknut (5/16-18) 1 29
1154109 Kit, Seat Release Hardware 1 110
1151331 Latch, Seat 1 111
1109219 Spring, Torsion, Right 1 112
1109220 Spring, Torsion, Left 1 113
1108239 Pin, Slotted (1/4 x 1-1/8") 1 214
A - Includes items 2-7 and used for NON-TRBKTS/TRRO option chairs
B - Includes items 2-9 and used for TRBKTS/TRRO option chairs only
NOTE:
70
To order call toll free 1-800-333-6900, or www.invacare.com
Form No. 07-082

Seat Height Adjustment Slide Tubes and Mounting
Hardware
TDX SC Non-Elevate
71
To order call toll free 1-800-333-6900, or www.invacare.com
Form No. 07-082

Seat Height Adjustment Slide Tubes and Mounting
Hardware
TDX SC Non-Elevate
Item
Number Part Number DescriptionNote
Quantity Per
Package Assembly
1152529 Slide Tube, Seat Height Adjustment - Rear 1 21
1151333 Slide Tube, Seat Height Adjustment - Right 1 12
1151334 Slide Tube, Seat Height Adjustment - Left 1 12
1149556 Tube, Rear Upright - Right 1 13
1149557 Tube, Rear Upright - Left 1 13
1154114 Kit, Seat Height Adjustment Slide Tube Mounting
Hardware 1 14 A
1147627 Screw, Socket Head Cap with Patch (5/16-18 x
1-1/2") 1 45
1043629 Screw, Hex Head Cap with Patch (5/16-18 x 1-1/4") 1 46
1074133 Washer (5/16 x 3/4 x 1/16") 1 47
1151907 Slide Tube, Seat Height Adjustment TRRO/TRBKTS
- Rear 1 28
A - Includes items 5-7
NOTE:
72
To order call toll free 1-800-333-6900, or www.invacare.com
Form No. 07-082

#1 Contoura Seat Cushion Assembly
Chair Width 16" Deep 17" Deep 18" Deep 19" Deep 20" Deep
1132986
1132985
1132984
1132983
1132982
16" W See Note(s) A See Note(s) A See Note(s) A See Note(s) A See Note(s) A
1132991
1132990
1132989
1132988
1132987
18" W See Note(s) A See Note(s) A See Note(s) A See Note(s) A See Note(s) A
1132996
1132995
1132994
1132993
1132992
20" W See Note(s) A See Note(s) A See Note(s) A See Note(s) A See Note(s) A
A - Cushion Foam is not available separately. NOTE:
#2 Contoura Seat Cushion Cover
Chair Width 16" Deep 17" Deep 18" Deep 19" Deep 20" Deep
1132957113295611329551132954113295316" W
1132962113296111329601132959113295818" W
1132967113296611329651132964113296320" W
Seat Cushion Assembly
ADJASBA Only
73
To order call toll free 1-800-333-6900, or www.invacare.com
Form No. 07-082

Conventional Back without Mounting Hardware
(12"-15" Wide) - TDX SPREE
NOTE: Hook Fastener Adhesive Kit must be ordered when a Back Pan is requested. This will allow the
Loop Fastener Adhesive on the Back Cover to attach properly.
74
To order call toll free 1-800-333-6900, or www.invacare.com
Form No. 07-082

Conventional Back without Mounting Hardware
(12"-15" Wide) - TDX SPREE
NOTE: Hook Fastener Adhesive Kit must be ordered when a Back Pan is requested. This will allow the
Loop Fastener Adhesive on the Back Cover to attach properly.
#1 Back Assembly without Hardware
Overall
Back
Height
Material
Back
Height 12" Wide 13" Wide 14" Wide 15" Wide
114628411462791146274114626912"16"
114628511462801146275114627013"17"
114628611462811146276114627114"18"
114628711462821146277114627215"19"
114628811462831146278114627316"20"
#2 Back Pan without Hook Fastener Adhesive
Overall
Back
Height
Material
Back
Height 12" Wide 13" Wide 14" Wide 15" Wide
114875411487491148744114873912"16"
114875511487501148745114874013"17"
114875611487511148746114874114"18"
114875711487521148747114874215"19"
114875811487531148748114874316"20"
75
To order call toll free 1-800-333-6900, or www.invacare.com
Form No. 07-082

Conventional Back without Mounting Hardware
(12"-15" Wide) - TDX SPREE
NOTE: Hook Fastener Adhesive Kit must be ordered when a Back Pan is requested. This will allow the
Loop Fastener Adhesive on the Back Cover to attach properly.
#3 Back Cushion Assembly with Hook & Loop Fastener Adhesive
Overall
Back
Height
Material
Back
Height 12" Wide 13" Wide 14" Wide 15" Wide
114877411487691148764114875912"16"
114877511487701148765114876013"17"
114877611487711148766114876114"18"
114877711487721148767114876215"19"
114877811487731148768114876316"20"
NOTE: Back Cover and Foam are sold as a Back Cushion Assembly only.
Item
Number Part Number DescriptionNote
Quantity Per
Package Assembly
See Chart #1 Back Assembly without Hardware 1 11
See Chart #2 Back Pan without Hook Fastener Adhesive 1 12
See Chart #3 Back Cushion Assembly with Hook & Loop
Fastener Adhesive 1 13
1125723 Kit, Hook Fastener w/ Adhesive Back 1 15 A
A - Hook Fastener Adhesive kit is used for 12"-15" wide Conventional Backs to attach the Back Cover to the Back Pan and
must be ordered when a new Back Pan is requested.
NOTE:
76
To order call toll free 1-800-333-6900, or www.invacare.com
Form No. 07-082

Conventional Back without Mounting Hardware
(16" Wide) Non-Manual Tilt - TDX SPREE
Only the Back Assembly needs to be replaced when changing back heights.
NOTE: Hook Fastener w/ Adhesive Back Kit must be ordered when a Back Pan or Back Assembly is
requested. This will allow the Loop Fastener w/ Adhesive on the Back Cover to attach properly.
77
To order call toll free 1-800-333-6900, or www.invacare.com
Form No. 07-082

Conventional Back without Mounting Hardware
(16" Wide) Non-Manual Tilt - TDX SPREE
Only the Back Assembly needs to be replaced when changing back heights.
NOTE: Hook Fastener w/ Adhesive Back Kit must be ordered when a Back Pan or Back Assembly is
requested. This will allow the Loop Fastener w/ Adhesive on the Back Cover to attach properly.
Item
Number Part Number DescriptionNote
Quantity Per
Package Assembly
1125564 Back Assembly w/o Hardware (16" Wide x 15" High) 1 11 A
1124578 Back Pan (16" Wide x 15" High) 1 12 A
1097397 Back Cushion Assembly (17" Wide x 15" High) 1 13 B
1125723 Kit, Hook Fastener w/ Adhesive Back 1 14 C
1125724 Edge Trim, Vinyl Black (96" Long) Cut-To-Length 1 15
A - Description reflects materials actual width x height. Item is used for a 16" wide chair with an overall back height of 20"
B - Back cover and foam are sold as a back cushion assembly only. Description reflects actual back cushion material width x
Height. Back Cushion will be 1" wider than the chair width and used for a chairs overall back height of 20".
C - Hook Fastener w/ Adhesive Back Kit is used to attach the Back Cover to the Back Pan and must be ordered when a new
Back Pan or Back Assembly is requested.
NOTE:
78
To order call toll free 1-800-333-6900, or www.invacare.com
Form No. 07-082

Contoura Back without Mounting Hardware
TDX SC
79
To order call toll free 1-800-333-6900, or www.invacare.com
Form No. 07-082

Contoura Back without Mounting Hardware
TDX SC
#1 Back Assembly without Hardware 16", 18", 20" Wide
Overall
Back
Height
Material
Back
Height 16" Wide 18" Wide 20" Wide
11328301132829113282820"25"
11247341124733113282524"29"
#2 Back Pan with Vinyl Edge Trim 16", 18", 20" Wide
Overall
Back
Height
Material
Back
Height 16" Wide 18" Wide 20" Wide
11314071131406113140520"25"
11224531122454113141024"29"
#3 Back Cushion Assembly 16", 18", 20" Wide
Overall
Back
Height
Material
Back
Height 16" Wide 18" Wide 20" Wide
11328221132821113282020"25"
11256421125641113281724"29"
Item
Number Part Number DescriptionNote
Quantity Per
Package Assembly
See Chart #1 Back Assembly without Hardware 16", 18", 20"
Wide 1 11
See Chart #2 Back Pan with Vinyl Edge Trim 16", 18", 20"
Wide 1 12
See Chart #3 Back Cushion Assembly 16", 18", 20" Wide 1 13
1125725 Hook Fastener w/ Adhesive Back (1" Wide x 48"
Long) 1 14
1125724 Edge Trim, Vinyl Black (96" Long) Cut-To-Length 1 15
80
To order call toll free 1-800-333-6900, or www.invacare.com
Form No. 07-082

Item
Number Part Number DescriptionNote
Quantity Per
Package Assembly
1148440 Kit, Conventional Back Mounting Hardware (12"-15"
Wide) 1 11 A
1008495 Screw, Socket Button Head (1/4-20 x 1-1/2") 1 42
1113408 Clamp, Inner 1 43
1113407 Clamp, Outer 1 44
1025195 Locknut (1/4-20) 1 45
1113406 Pin, Hinge 1 46
A - Includes items 2-6
NOTE:
Conventional Back Mounting Hardware
(12"-15" Wide) - TDX SPREE
81
To order call toll free 1-800-333-6900, or www.invacare.com
Form No. 07-082

Conventional Back Mounting Hardware
(16" Wide) TDX SPREE Non-Manual Tilt
82
To order call toll free 1-800-333-6900, or www.invacare.com
Form No. 07-082

Conventional Back Mounting Hardware
(16" Wide) TDX SPREE Non-Manual Tilt
Item
Number Part Number DescriptionNote
Quantity Per
Package Assembly
1125757 Kit, Back Mounting Hardware For Conventional Tilt 1 11 A
1025195 Locknut (1/4-20) 1 42
1026900 Washer (1/4 x 23/32 x 1/16") 1 83
40157X019 Spacer, Coved (1/4 x 7/8 x 7/16") 1 44
1108411 Spacer (1/4 x 5/8 x 3/8") 1 45
1002108 Screw, Socket Button Head (1/4-20 x 2") 1 46
A - Includes items 2-6
NOTE:
83
To order call toll free 1-800-333-6900, or www.invacare.com
Form No. 07-082

Contoura Back Mounting Hardware
TDX SC
84
To order call toll free 1-800-333-6900, or www.invacare.com
Form No. 07-082

Contoura Back Mounting Hardware
TDX SC
Item
Number Part Number DescriptionNote
Quantity Per
Package Assembly
1140945 Kit, Contoura Back Mounting Hdwr. - Round Canes 1 11 A
1136838 Bracket, Back Mounting, Black - Front 1 42
1025706 Screw, Phillips Oval Head Countersunk (#10-16 x
7/8") 1 23
1009838 Screw, Socket Head (1/4-20 x 3/4") 1 84
1026900 Washer (1/4 x 23/32 x 1/16") 1 85
1025195 Locknut (1/4-20) 1 86
1136839 Bracket, Back Mounting, Black - Rear 1 47
A - Includes items 2-7
NOTE:
85
To order call toll free 1-800-333-6900, or www.invacare.com
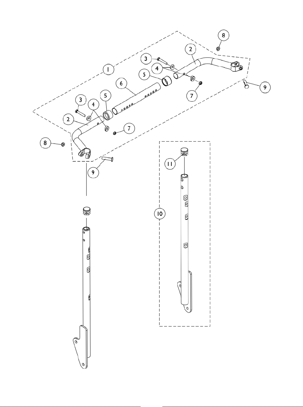
Form No. 07-082

Recliner Back Assembly
For ADJRECL Seat Frames - TDX SC
86
To order call toll free 1-800-333-6900, or www.invacare.com
Form No. 07-082

Recliner Back Assembly
For ADJRECL Seat Frames - TDX SC
#3 Back Cane with Grip
Back Height 16"-17" Wide Rt. 16"-17" Wide Lt. 18"-20" Wide Rt. 18"-20" Wide Lt.
105209010520891052080105207918" H
105209210520911052082105208120" H
105209410520931052084105208322" H
105209610520951052086105208524" H
105209810520971052088105208726" H
87
To order call toll free 1-800-333-6900, or www.invacare.com
Form No. 07-082

Recliner Back Assembly
For ADJRECL Seat Frames - TDX SC
Item
Number Part Number DescriptionNote
Quantity Per
Package Assembly
1027095 Plug Button, Black (7/8") 1 21
1052997 Tube, Headrest with Plug Button,
without Snap Buttons - Right 1 12
1052998 Tube, Headrest with Plug Button,
without Snap Buttons - Left 1 12
See Chart #3 Back Cane with Grip 1 13
1050214 Cable with Trigger 1 24 B
1050215 Cable with Trigger 1 24 C
1050216 Cable with Trigger 1 24 D
1026032 Washer, Nylon (11/32 x 11/16 x 1/16") 1 45
1050153 Screw, Socket Head Shoulder (5/16 x 7/8") 1 26
1050154 Lock Cylinder, Recline 1 27 E
1050306 Lock Cylinder 1 27 F
1050136 Pivot Block 1 28
1012371 Washer, Nylon (3/8 x 7/8 x 1/16") 1 129
1031665 Screw, Socket Head Shoulder (3/8 x 1-1/2") 1 410
1050293 Bar, Spreader, Black (14-20") 1 111 G
1050294 Bar, Spreader, Black (21-24") 1 111 H
1024713 Spring, Torsion w/ Button 1 212
1091417 Screw, Phillips Pan Head (#10-24 x 1-1/4") 1 213
1095503 Package, Cable Ties (5-5/8" Long) 10 114
1025736 Locknut (1/4-20) 1 215
1026907 Washer (1/4 x 1/2 x 1/16") 1 216
1026158 Locknut (5/16-18) 1 417
1025704 Washer, Flat (5/16 x 5/8 x 1/16") 1 418
1134498 Kit, Limit Switch Assembly 1 119 A
1025116 Screw, Slotted Hex Head (#4-3/8") 1 520
1008525 Washer, Internal Tooth Lock (#4-40) 1 521
1024001 Sensor, Actuator Switch 1 122
1050310 Clamp, Cable 1 123
1146573 Cable, Drive Lockout Sensor (MK6i) 1 124
A - Includes items 20-23. Cable sensor is not included, see item 24
B - 26" high back canes
C - 22-24" high back canes
D - 18-20" high back canes
E - 250 lb. weight limit
F - 251-400 lb. weight limit
G - 16-17" wide
H - 18-20" wide
NOTE:
88
To order call toll free 1-800-333-6900, or www.invacare.com
Form No. 07-082

Single Liners
Width 21"-22"
High 23"-24"
High
12"-13"
High 14"-15"
High 16"-17"
High 18"-19"
High 20"
High
N/AN/AN/A104525810452571045222104522112" W
N/AN/AN/A104526010452591045224104522313" W
N/AN/A1068945104520510451731049942104993914" W
N/AN/A1068946104520610451741049943104994015" W
105452910451591068947104520788810451751045175104994116" W
105453010451601068948104520810451761049945N/A17" W
105453110451611068949104520910451771049946N/A18" W
Back Upholstery - Nylon
89
To order call toll free 1-800-333-6900, or www.invacare.com
Form No. 07-082

Back Upholstery - Nylon
Dual Liners
Width 16"-17"
High 18" - 19"
High 20"
High 21" - 22"
High 23" - 24"
High
N/AN/A10689501045210104517814" W
N/AN/A10689511045211104517915" W
1054534104516410689521045212104518016" W
1054535104516510689531045213104518117" W
1054536104516610689541045214104518218" W
1054537104516710689551045215104518319" W
1054538104516810689561045216104518420" W
NOTE: Dual liner back upholstery is used with chairs that have a seat deeper than 17" or back wider than 18".
Back Upholstery Hardware
Item
Number Part Number DescriptionNote
Quantity Per
Package Assembly
1026298 Screws with Washers (#10 x 7/8") 2 1A
See Chart Dual Liners - Nylon 1 1A
See Chart Single Liners 1 1A
A - Not Shown
NOTE:
90
To order call toll free 1-800-333-6900, or www.invacare.com
Form No. 07-082

Single Liners
Width 18" High 20" High 22" High 24" High 26" High
1050334105032910503241050319105031416" W
1050335105033010503251050320105031517" W
1050336105033110503261050321105031618" W
Dual Liners
Width 18" High 20" High 22" High 24" High 26" High
1050383105037210503611050350105033916" W
1050384105037310503621050351105034017" W
1050385105037410503631050352105034118" W
1050386105037510503641050353105034219" W
1050387105037610503651050354105034320" W
NOTE: Dual liner back upholstery is used with chairs that have a seat deeper than 17" or back wider than 18".
Back Upholstery - Nylon
Recliner - TDX SC
91
To order call toll free 1-800-333-6900, or www.invacare.com
Form No. 07-082

Back Upholstery - Nylon
Recliner - TDX SC
Back Upholstery Hardware 1027059
Consists of:
Screw with Washer (#10 x 7/8")10 each
92
To order call toll free 1-800-333-6900, or www.invacare.com
Form No. 07-082

Nylon Headrest
Chair Width Part Number
105462816" W
105528117" W
105462918" W
105528219" W
105528320" W
Back Upholstery Hardware 1030441
Consists of:
Screw with Washer (10 x 7/8")6 each
Headrest Pillows - Nylon
Chair Width 16"-18" W 19"-20" W
10545981054896Part Number
Headrest Upholstery and Pillows
Recliner - TDX SC
93
To order call toll free 1-800-333-6900, or www.invacare.com
Form No. 07-082

Back Cane and Spreader Bar
(16" Wide) Conventional Back Non-Manual Tilt - TDX SPREE
94
To order call toll free 1-800-333-6900, or www.invacare.com
Form No. 07-082

Back Cane and Spreader Bar
(16" Wide) Conventional Back Non-Manual Tilt - TDX SPREE
Item
Number Part Number DescriptionNote
Quantity Per
Package Assembly
1125709 Kit, Spreader Bar Assembly (16"-20" Wide) 1 11 A
1120293 Handle, Spreader Bar 1 22
1030949 Screw, Hex Head (1/4-20 x 1-1/2") 1 23
1026099 Spacer, Coved (1/4 x 11/16 x 1/2") 1 44
15680X013 Anti-Rattle (1") 1 25
1120280 Tube, Spreader Bar Adjustable (16"-20" Wide) 1 16
1025195 Locknut (1/4-20) 1 27
1025730 Locknut (5/16-24) 1 28
1031026 Screw w/ Lug (5/16-24 x 1-3/8") 1 29
1128394 Kit, Back Cane w/o Push Handle, Solid Straight w/
Plug Button - Right 1 110
1128395 Kit, Back Cane w/o Push Handle, Solid Straight w/
Plug Button - Left 1 110
1134426 Package, Plug Buttons, Black (3/4") 10 111
A - Includes items 2-7
NOTE:
95
To order call toll free 1-800-333-6900, or www.invacare.com
Form No. 07-082

Back Cane, Spreader Bar and Push Handle Assembly
(12"-16" W) Sling Nylon Back Uph. (12"-15" W) Conv. Back - TDX SPREE
96
To order call toll free 1-800-333-6900, or www.invacare.com
Form No. 07-082

Back Cane, Spreader Bar and Push Handle Assembly
(12"-16" W) Sling Nylon Back Uph. (12"-15" W) Conv. Back - TDX SPREE
Item
Number Part Number DescriptionNote
Quantity Per
Package Assembly
1126147 Kit, Spreader Bar Assembly (12"-16" Wide) 1 11 A,B
1127158 Cover, Spreader Bar 1 12
1126138 Insert, Spreader Bar Connector 1 23
15680X013 Anti-Rattle (1") 1 24
1008495 Screw, Socket Button Head (1/4-20 x 1-1/2") 1 45
1026099 Spacer, Coved (1/4 x 11/16 x 1/2") 1 46
1127970 Tube, Spreader Bar 1 17
1025195 Locknut (1/4-20) 1 28
1029501 Plug Button, Black (1") 1 29
1152733 Kit, Back Cane Assembly with Hardware (12"-15"
Back Height) - Right 1 110 C
1055398 Grip, Foam (4") 1 111
1126143 Handle, Push 1 112
1151347 Cane, Lower (12"-15" Back Height) - Right 1 113
1003545 Screw, Socket Head (1/4-20 x 1-1/4") 1 214
1025736 Locknut (1/4-20) 1 215
1152734 Kit, Back Cane Assembly with Hardware (12"-15"
Back Height) - Left 1 110 C
1055398 Grip, Foam (4") 1 111
1126143 Handle, Push 1 112
1151348 Cane, Lower (12"-15" Back Height) - Left 1 113
1003545 Screw, Socket Head (1/4-20 x 1-1/4") 1 214
1025736 Locknut (1/4-20) 1 215
1152735 Kit, Back Cane Assembly with Hardware (16"-19"
Back Height) - Right 1 110 C
1055398 Grip, Foam (4") 1 111
1126143 Handle, Push 1 112
1151349 Cane, Lower (16"-19" Back Height) - Right 1 113
1003545 Screw, Socket Head (1/4-20 x 1-1/4") 1 214
1025736 Locknut (1/4-20) 1 215
1152736 Kit, Back Cane Assembly with Hardware (16"-19"
Back Height) - Left 1 110 C
1055398 Grip, Foam (4") 1 111
1126143 Handle, Push 1 112
1151350 Cane, Lower (16"-19" Back Height) - Left 1 113
1003545 Screw, Socket Head (1/4-20 x 1-1/4") 1 214
1025736 Locknut (1/4-20) 1 215
1152737 Kit, Back Cane Assembly with Hardware (20"-22"
Back Height) - Right 1 110 C
1055398 Grip, Foam (4") 1 111
1126143 Handle, Push 1 112
1151351 Cane, Lower (20"-22" Back Height) - Right 1 113
1003545 Screw, Socket Head (1/4-20 x 1-1/4") 1 214
1025736 Locknut (1/4-20) 1 215
97
To order call toll free 1-800-333-6900, or www.invacare.com
Form No. 07-082

Back Cane, Spreader Bar and Push Handle Assembly
(12"-16" W) Sling Nylon Back Uph. (12"-15" W) Conv. Back - TDX SPREE
Item
Number Part Number DescriptionNote
Quantity Per
Package Assembly
1152738 Kit, Back Cane Assembly with Hardware (20"-22"
Back Height) - Left 1 110 C
1055398 Grip, Foam (4") 1 111
1126143 Handle, Push 1 112
1151352 Cane, Lower (20"-22" Back Height) - Left 1 113
1003545 Screw, Socket Head (1/4-20 x 1-1/4") 1 214
1025736 Locknut (1/4-20) 1 215
1135505 Package, Foam Hand Grips (4" Long) 10 111
1126148 Kit, Spreader Bar with Headrest Bracket (12"-16"
Adj. Width) 1 116 D
1008432 Screw, Socket Button Head (1/4-20 x 1-1/4") 1 217
1025195 Locknut (1/4-20) 1 418
1112539 Folding Hinge Assembly 1 219
1127159 Cover, Spreader Bar w/ Headrest Bracket 1 120
1008495 Screw, Socket Button Head (1/4-20 x 1-1/2") 1 421
1026099 Spacer, Coved (1/4 x 11/16 x 1/2") 1 422
15680X013 Anti-Rattle (1") 1 223
1126138 Insert, Spreader Bar Connector 1 224
1127972 Tube, Spreader Bar w/ Headrest Bracket 1 125
1028513 Screw, Socket Head (#10-32 x 1-1/4") 1 126
1126103 Release Handle w/ Cable Assembly 1 127
1086207 Nut, Square (#10-32) 1 128
1133698 Grip, Foam Hand (9" Long) 1 229
1082620 Handle, Push w/ Foam Grip, Black (12" Wide) 1 130
1082621 Handle, Push w/ Foam Grip, Black (13" Wide) 1 130
1082622 Handle, Push w/ Foam Grip, Black (14" Wide) 1 130
1082623 Handle, Push w/ Foam Grip, Black (15" Wide) 1 130
1082624 Handle, Push w/ Foam Grip, Black (16" Wide) 1 130
A - Plug Buttons are not required when stroller handles are used.
B - Includes items 2-9
C - Includes items 11-15
D - Includes items 17-25
NOTE:
98
To order call toll free 1-800-333-6900, or www.invacare.com
Form No. 07-082

Back Cane Attaching Hardware
(12"-16" Wide) ADJASBA Seats - TDX SPREE
99
To order call toll free 1-800-333-6900, or www.invacare.com
Form No. 07-082

Back Cane Attaching Hardware
(12"-16" Wide) ADJASBA Seats - TDX SPREE
Item
Number Part Number DescriptionNote
Quantity Per
Package Assembly
1146452 Bracket, Back Cane Mounting, Black 1 11
1154110 Kit, Back Cane Bracket Mounting Hardware 1 12 A
1069724 T-Nut (5/16-18) 1 23
1074133 Washer (5/16 x 3/4 x 1/16") 1 24
1039860 Screw, Hex Head Cap with Patch (5/16-18 x 3/4") 1 25
1147973 Kit, Back Cane Mounting Hardware (Pair) 1 16 B
1126132 Insert, Back Cane 1 27
1079247 Washer, Flat (21/64 x 53/64 x 7/64") 1 48
1003548 Screw, Hex Head Cap (5/16-18 x 1") 1 29
1042484 Screw, Hex Head (5/16-18 x 2") 1 210
1026158 Locknut (5/16-18) 1 411
1025704 Washer, Flat (5/16 x 5/8 x 1/16") 1 212
1016263 Spacer, Coved (3/4 x 1 x 1/2") 1 213
1154111 Kit, Back Cane Bracket Mounting Hardware TRRO 1 114 C
1125632 T-Nut (5/16-18) 1 115
1074133 Washer (5/16 x 3/4 x 1/16") 1 216
1050161 Screw, Hex Head Cap with Patch (5/16-18 x 1") 1 117
1139428 Screw, Socket Head Cap (5/16-18 x 3/4") 1 118
1039860 Screw, Hex Head Cap with Patch (5/16-18 x 3/4") 1 119
1147968 Kit, Back Cane Mounting Hardware TRRO (Pair) 1 120 D
1126132 Insert, Back Cane 1 221
1105030 Bolt, Round Head Square Neck (5/16-18 x 1") 1 222
1147969 Screw, Round Head Square Neck (5/16-18 x 2") 1 223
1028769 Locknut (5/16-18) 1 224
1025704 Washer, Flat (5/16 x 5/8 x 1/16") 1 225
1016263 Spacer, Coved (3/4 x 1 x 1/2") 1 226
1026158 Locknut (5/16-18) 1 227
1079247 Washer, Flat (21/64 x 53/64 x 7/64") 1 228
1125733 Kit, Solid Straight Back Cane w/o Push Handle,
Mounting Hardware 1 129 E
1003548 Screw, Hex Head Cap (5/16-18 x 1") 1 230
1026158 Locknut (5/16-18) 1 231
1079247 Washer, Flat (21/64 x 53/64 x 7/64") 1 232
A - Includes items 3-5
B - Includes items 7-13
C - Includes items 15-19
D - Includes items 21-28
E - Includes items 30-32
Back Cane Mounting Hardware is used for TDX SPREE Non-Manual Tilt and Manual Tilt models. Conventional Back for 16" wide Non-
Manual Tilt will use the solid straight back cane only
NOTE:
100
To order call toll free 1-800-333-6900, or www.invacare.com
Form No. 07-082

Back Cane and Spreader Bar
(16"-20" Wide) ADJASBA Seats - TDX SC
Contoura Backs for ADJASBA Seating do not utilize a Spreader Bar Assembly.
101
To order call toll free 1-800-333-6900, or www.invacare.com
Form No. 07-082

Back Cane and Spreader Bar
(16"-20" Wide) ADJASBA Seats - TDX SC
Contoura Backs for ADJASBA Seating do not utilize a Spreader Bar Assembly.
Item
Number Part Number DescriptionNote
Quantity Per
Package Assembly
See Chart #1 Back Cane Assemblies 1 11
1135506 Package, Foam Hand Grips (9" Long) 10 12
1134426 Package, Plug Buttons, Black (3/4") 10 13
1125709 Kit, Spreader Bar Assembly (16"-20" Wide) 1 14 A
1120293 Handle, Spreader Bar 1 25
1030949 Screw, Hex Head (1/4-20 x 1-1/2") 1 26
1026099 Spacer, Coved (1/4 x 11/16 x 1/2") 1 47
15680X013 Anti-Rattle (1") 1 28
1120280 Tube, Spreader Bar Adjustable (16"-20" Wide) 1 19
1025195 Locknut (1/4-20) 1 210
1025730 Locknut (5/16-24) 1 211
1031026 Screw w/ Lug (5/16-24 x 1-3/8") 1 212
A - Includes items 5-10
NOTE:
#1 Back Cane Assemblies
Back
Height
Back Cane-
Push Handle
10 Deg. Bend
Left
Back Cane-
No Push
Handle
10 Deg. Bend
Right
Back Cane-
No Push
Handle
10 Deg. Bend
Left
Back Cane-
Push Handle
Straight
Right
Back Cane-
Push Handle
Straight
Left
Back Cane-
Push Handle
10 Deg. Bend
Right
11338151133814113378611337851134059113405812"
11338171133816113378811337871134061113406013"
11338191133818113379011337891134063113406214"
11338211133820113379211337911134065113406415"
11338231133822113379411337931134067113406616"
11338251133824113379611337951134069113406817"
11338271133826
1143335
1143334
1134071113407018" See Note(s) B See Note(s) B
11338291133828113380011337991134073113407219"
11338311133830113380211338011134075113407420"
11338331133832
1136012
1136011
1134077113407621" See Note(s) A See Note(s) A
11338351133834113601411360131134079113407822"
11338381133837
1136016
1136015
1134081113408023" See Note(s) A See Note(s) A
11338401133839
1136018
1136017
1134083113408224" See Note(s) A See Note(s) A
A - 21"-24" High Straight Back Canes with Push Handles are only offered On-Chair when the Back Upholstery is omitted
B - Chairs with Contoura Backs use 18" high back canes only
NOTE:
NOTE: Back Cane Assemblies include Foam Grips and Plug Buttons where shown
102
To order call toll free 1-800-333-6900, or www.invacare.com
Form No. 07-082

Back Cane Attaching Hardware
(16"-20" Wide) ADJASBA Seats - TDX SC
103
To order call toll free 1-800-333-6900, or www.invacare.com
Form No. 07-082

Back Cane Attaching Hardware
(16"-20" Wide) ADJASBA Seats - TDX SC
Item
Number Part Number DescriptionNote
Quantity Per
Package Assembly
1133755 Kit, Back Cane Mounting Hardware (Pair) 1 11 A
1003548 Screw, Hex Head Cap (5/16-18 x 1") 1 42
1079247 Washer, Flat (21/64 x 53/64 x 7/64") 1 43
1026158 Locknut (5/16-18) 1 44
1025730 Locknut (5/16-24) 1 25
1031026 Screw w/ Lug (5/16-24 x 1-3/8") 1 26
A - Includes items 2-6
NOTE:
104
To order call toll free 1-800-333-6900, or www.invacare.com
Form No. 07-082

Back Cane Attaching Hardware
(16"-20" Wide) ADJASBA Seats with TRRO Option - TDX SC
105
To order call toll free 1-800-333-6900, or www.invacare.com
Form No. 07-082

Back Cane Attaching Hardware
(16"-20" Wide) ADJASBA Seats with TRRO Option - TDX SC
Item
Number Part Number DescriptionNote
Quantity Per
Package Assembly
1137234 Kit, Back Cane Mounting Hardware For TRRO
Option (Pair) 1 11 A
1079247 Washer, Flat (21/64 x 53/64 x 7/64") 1 42
1134942 Bolt, Round Head Square Neck (5/16-18 x 1-1/4") 1 23
1105030 Bolt, Round Head Square Neck (5/16-18 x 1") 1 24
1026158 Locknut (5/16-18) 1 45
1031026 Screw w/ Lug (5/16-24 x 1-3/8") 1 26
1025730 Locknut (5/16-24) 1 27
A - Includes items 2-7, Right and Left sides
NOTE:
106
To order call toll free 1-800-333-6900, or www.invacare.com
Form No. 07-082

Arms, "T" and Hardware
107
To order call toll free 1-800-333-6900, or www.invacare.com
Form No. 07-082

Arms, "T" and Hardware
Item
Number Part Number DescriptionNote
Quantity Per
Package Assembly
8881083213 Arm Pad, Desk Length, Right
(9" L x 2" W) 1 11 A,B
8881083214 Arm Pad, Desk Length, Left
(9" L x 2" W) 1 11 A,B
8881083215 Arm Pad, Full Length, Right
(14" L x 2" W) 1 11 A,B
8881083216 Arm Pad, Full Length, Left
(14" L x 2" W) 1 11 A,B
1055205 Package, Screws Phillips Pan Head (#10-32 x
1-3/8") 2 12
1069639 "T" Arm w/ Plug Buttons, Desk Length - Low Range 1 13
1069643 "T" Arm w/ Plug Buttons, Full Length - Low Range 1 13
1027095 Plug Button, Black (7/8") 1 24
1069635 Arm Post, Low Range 1 15
1073424 Kit, Clothing Guard, Low Range - Right 1 16
1073425 Kit, Clothing Guard, Low Range - Left 1 16
1069652 Clothing Guard, Low Range 1 17
1069650 Support Tube, High Range - Right 1 18
1073246 Support Tube, High Range - Left 1 18
1028427 Grip, Foam 1 19
1025731 Locknut (#10-32) 1 110
1073235 Lock Lever 1 111
1025716 Screw, Phillips Pan Head (#10-32 x 11/16") 1 112
1073196 Spring, Torsion 1 113
1006773 Screw, Socket Head (1/4-20 x 1/2") 1 314
1073190 Clamp, Skirt Guard 1 115
1151356 Kit, "T" Arm Socket Mounting Hardware 1 116 B
1151355 Bracket, "T" Arm Socket 1 117
1069609 Insert, Arm Socket 1 218
1069620 Bracket, Socket 1 119
1055305 Screw, Socket Button Head (1/4-28 x 3/4") 1 420
1026108 Lockwasher (1/4 x 15/32 x 1/64") 1 421
1098960 Screw, Socket Head Cap w/ Patch (5/16-18 x 5/8") 1 222
1069724 T-Nut (5/16-18) 1 223
A - Specify U67 upholstery color when ordering.
B - Includes items 17-21
NOTE:
108
To order call toll free 1-800-333-6900, or www.invacare.com
Form No. 07-082

Arms, Adjustable Height
(12"-16" W x 12"-18" D) Seat Frame
109
To order call toll free 1-800-333-6900, or www.invacare.com
Form No. 07-082

Arms, Adjustable Height
(12"-16" W x 12"-18" D) Seat Frame
Item
Number Part Number DescriptionNote
Quantity Per
Package Assembly
8881015932 Arm Pad, Vinyl, Full Length (14" L x 2" W) - Right 1 11 A
8881015933 Arm Pad, Vinyl, Full Length (14" L x 2" W) - Left 1 11 A
8881053577 Arm Pads, Vinyl, Full Length with Screws (14" L x 2"
W) 2 11 A
8881011811 Arm Pad, Vinyl, Desk Length (9" L x 2" W) 1 11 A
8881053578 Arm Pads, Vinyl, Desk Length with Screws (9" L x
2" W) 2 11 A
1071263 Upper Arm Assembly, Adjustable Height with Plug
Buttons - Full Length 1 12
1071259 Upper Arm Assembly, Adjustable Height with Plug
Buttons - Desk Length 1 12
1027095 Plug Button, Black (7/8") 1 23
1055949 Screws, Phillips Pan Head (#10-32 x 1-1/8") 2 14
47471X074 Spring, Arm Lock 1 15
1028594 Pin, Arm Lock 1 16
1090768 Kit, Lock Handle w/Rivets (both LT & RT side) 2 17
1065936 Plug, Pivot 1 28
1067734 Plug Button, Black (5/8") 1 29
1016298 Grip, Push Handle 1 110
1068585 Arm Base Assembly, Adjustable Height - Right
(Black) 1 111 B
1068586 Arm Base Assembly, Adjustable Height - Left
(Black) 1 111 B
A - Specify U67 Black upholstery color when ordering.
B - Includes items 5-10
NOTE:
110
To order call toll free 1-800-333-6900, or www.invacare.com
Form No. 07-082

Arms, Fixed Height
(16"-20" Wide) x (16"-20" Deep) Seat Frames
111
To order call toll free 1-800-333-6900, or www.invacare.com
Form No. 07-082

Arms, Fixed Height
(16"-20" Wide) x (16"-20" Deep) Seat Frames
#1 Arms Less Pad
16-20" Deep Seat Frames
Arm Style Right Left
10685671068566Desk Length
10685601068559Full Length
Item
Number Part Number DescriptionNote
Quantity Per
Package Assembly
See Chart #1 Arms Less Pad - 16-20" Deep Seat Frames 1 11 A
1117328 Arm Pad, Full Length, Urethane Waterfall with
Screws, Black
(13" L x 2-5/8" W)
1 12
1110818 Arm Pads, Full Length, Urethane Waterfall
with Screws, Black (13" L x 2-5/8" W) (Pair) 2 12
1117327 Arm Pad, Desk Length, Urethane Waterfall with
Screws, Black
(9" L x 2-5/8" W)
1 12
1110817 Arm Pads, Desk Length, Urethane Waterfall with
Screws, Black (9" L x 2-5/8" W) (Pair) 2 12
1068564 Arm Tube, Desk Length
16-19" Deep - Right (Black) 1 13 B
1068565 Arm Tube, Desk Length
16-19" Deep - Left (Black) 1 13 B
1068490 Arm Tube, Full Length Standard
16-19" Deep - Right (Black) 1 13 B
1068491 Arm Tube, Full Length Standard
16-19" Deep - Left (Black) 1 13 B
1032244 Grip, Foam Hand (9" Long) 1 14
1025729 Screw, Self Tapping Pan Head (#8-32 x 3/8") 1 45
1035472 Clothing Guard, Desk Length 1 16 B
1044572 Clothing Guard, Full Length 16-19" Deep 1 16 B
1035065 Cover, Clothing Guard with Pocket - For Fixed
Height Desk Length & Adjustable Height Full/Desk
Length
1 17
1094270 Screw, Phillips Pan Head (#10-32 x 1-1/4") (Pair) 2 18
1065936 Plug, Pivot 1 29
1067734 Plug Button, Black (5/8") 1 210
A - Includes items 3-6 & 9-10
B - All seat depths will use the 16-19" deep replacement components only.
NOTE:
112
To order call toll free 1-800-333-6900, or www.invacare.com
Form No. 07-082

Arms, Adjustable Height
(16"-20" Wide) x (16"- 20" Deep) Seat Frames
113
To order call toll free 1-800-333-6900, or www.invacare.com
Form No. 07-082

Arms, Adjustable Height
(16"-20" Wide) x (16"- 20" Deep) Seat Frames
Item
Number Part Number DescriptionNote
Quantity Per
Package Assembly
1117328 Arm Pad, Full Length, Urethane Waterfall with
Screws, Black
(13" L x 2-5/8" W)
1 11
1110818 Arm Pads, Full Length, Urethane Waterfall
with Screws, Black (13" L x 2-5/8" W) (Pair) 2 11
1117327 Arm Pad, Desk Length, Urethane Waterfall with
Screws, Black
(9" L x 2-5/8" W)
1 11
1110817 Arm Pads, Desk Length, Urethane Waterfall with
Screws, Black (9" L x 2-5/8" W) (Pair) 2 11
1071253 Arm Top, Adjustable Height with Plug Buttons - Full
Length (Black) 1 12
1070859 Arm Tube, Upper with Plug Buttons (Black) - Desk
Length 1 12
1027095 Plug Button, Black (7/8") 1 23
1094270 Screw, Phillips Pan Head (#10-32 x 1-1/4") (Pair) 2 14
1064130 Clothing Guard 1 15
47471X074 Spring, Arm Lock 1 16
1028594 Pin, Arm Lock 1 17
1032244 Grip, Foam Hand (9" Long) 1 18
1090768 Kit, Lock Handle w/Rivets (both LT & RT side) 2 19
1028645 Rivet 1 610
1065936 Plug, Pivot 1 211
1067734 Plug Button, Black (5/8") 1 212
1068416 Arm Base, Adjustable Height
16-19" Deep - Right (Black) 1 113 A,B
1068417 Arm Base, Adjustable Height
16-19" Deep - Left (Black) 1 113 A,B
1067761 Arm Base, 1" Lower, Adjustable Height
16-19" Deep - Right (Black) 1 113 A,B
1067762 Arm Base, 1" Lower, Adjustable Height
16-19" Deep - Left (Black) 1 113 A,B
1035065 Cover, Clothing Guard with Pocket - For Fixed
Height Desk Length & Adjustable Height Full/Desk
Length
1 114
A - Includes items 5-12
B - All seat depths will use the 16-19" deep replacement components only.
NOTE:
114
To order call toll free 1-800-333-6900, or www.invacare.com
Form No. 07-082

Van Seat Arms
TDX SC
115
To order call toll free 1-800-333-6900, or www.invacare.com
Form No. 07-082

Van Seat Arms
TDX SC
Item
Number Part Number DescriptionNote
Quantity Per
Package Assembly
1142487 Upper Arm Assembly, Desk Length (Right/Left) 1 18 A
1139923 Arm Pad - Desk Length, Black Urethane (12-1/4" L
x 2-5/8" W) 1 11
1104845 Screw, Socket Head Cap with Patch (5/16-18 x
1-3/4") 1 12
1025704 Washer, Flat (5/16 x 5/8 x 1/16") 1 23
1026158 Locknut (5/16-18) 1 14
1104257 Screw, Hex Head (5/16-18 x 1-1/4") 1 15
1117303 Nut, Hex (5/16-18) 1 16
1113665 Arm Tube, Upper Adjustable Height 1 17
1139923 Arm Pad - Desk Length, Black Urethane (12-1/4" L
x 2-5/8" W) 1 11
1140426 Upper Arm Assembly, Full Length (Right/Left) 1 18 A
1139924 Arm Pad - Full Length, Black Urethane (15" L x
2-5/8" W) 1 11
1104845 Screw, Socket Head Cap with Patch (5/16-18 x
1-3/4") 1 12
1025704 Washer, Flat (5/16 x 5/8 x 1/16") 1 23
1026158 Locknut (5/16-18) 1 14
1104257 Screw, Hex Head (5/16-18 x 1-1/4") 1 15
1117303 Nut, Hex (5/16-18) 1 16
1113665 Arm Tube, Upper Adjustable Height 1 17
1139924 Arm Pad - Full Length, Black Urethane (15" L x
2-5/8" W) 1 11
1114910 Knob, Adjustment (5/16-18 x 3/4") 1 19
1114914 Handle, Release (5/16-18 x 1/2") 1 110
1113646 Arm Tube, Lower Adjustable Width - Right 1 111
1113647 Arm Tube, Lower Adjustable Width - Left 1 111
1142494 Arm Assembly, Desk Length Adj. Height - Right 1 112 B
1142495 Arm Assembly, Desk Length Adj. Height - Left 1 112 B
1142476 Arm Assembly, Full Length Adj. Height - Right 1 112 B
1142477 Arm Assembly, Full Length Adj. Height - Left 1 112 B
1114359 Arm Tube, Fixed Height - Right 1 113
1114797 Arm Tube, Fixed Height - Left 1 113
1142490 Arm Assembly, Desk Length Fixed Height - Right 1 114 C
1142491 Arm Assembly, Desk Length Fixed Height - Left 1 114 C
1142485 Arm Assembly, Full Length Fixed Height - Right 1 114 C
1142484 Arm Assembly, Full Length Fixed Height - Left 1 114 C
A - Includes items 1-7
B - Includes items 8-11
C - Includes items 1-6,10, and 13
NOTE:
116
To order call toll free 1-800-333-6900, or www.invacare.com
Form No. 07-082

Arm Mounting Swingaway Hardware
ADJASBA/ADJRECL Seats
117
To order call toll free 1-800-333-6900, or www.invacare.com
Form No. 07-082

Arm Mounting Swingaway Hardware
ADJASBA/ADJRECL Seats
Item
Number Part Number DescriptionNote
Quantity Per
Package Assembly
1068488 Kit, Swingaway Armrest Mounting Hardware 1 11 A
1019590 Screw, Socket Button Head (1/4-20 x 1-5/8") 1 12
1068025 Clevis, Pivot 1 13
1025195 Locknut (1/4-20) 1 14
1068039 Pin, Pull 1 15
A - Includes items 2-5
NOTE:
118
To order call toll free 1-800-333-6900, or www.invacare.com
Form No. 07-082

Front/Rear Arm Socket Assembly and Hardware
(12"-16" Wide) TDX SPREE
Refer to page titled "Back Cane Attaching Hardware For ADJASBA Seats (12"-16" Wide)" for replacing the
Back Cane Bracket for chairs with T-Arms
119
To order call toll free 1-800-333-6900, or www.invacare.com
Form No. 07-082

Front/Rear Arm Socket Assembly and Hardware
(12"-16" Wide) TDX SPREE
Refer to page titled "Back Cane Attaching Hardware For ADJASBA Seats (12"-16" Wide)" for replacing the
Back Cane Bracket for chairs with T-Arms
Item
Number Part Number DescriptionNote
Quantity Per
Package Assembly
1144596 Kit, Front/Rear Arm Socket Asbly. Mtg. Hdwr.
(12-16" Wide) 1 11 A
1122652 Screw, Hex Head (5/16-18 x 5/8") 1 42
1074133 Washer (5/16 x 3/4 x 1/16") 1 43
1069724 T-Nut (5/16-18) 1 44
1125734 Kit, Front/Rear Arm Socket Assembly Mounting
Hardware 1 15 B
1039860 Screw, Hex Head Cap with Patch (5/16-18 x 3/4") 1 26
1074133 Washer (5/16 x 3/4 x 1/16") 1 47
1069724 T-Nut (5/16-18) 1 48
1122652 Screw, Hex Head (5/16-18 x 5/8") 1 29
1144596 Kit, Front/Rear Arm Socket Asbly. Mtg. Hdwr.
(12-16" Wide) 1 15 C
1122652 Screw, Hex Head (5/16-18 x 5/8") 1 46
1074133 Washer (5/16 x 3/4 x 1/16") 1 47
1069724 T-Nut (5/16-18) 1 48
1136025 Kit, Front/Rear Arm Socket Assembly Mounting
Hardware For TRRO Option 1 110 D
1039860 Screw, Hex Head Cap with Patch (5/16-18 x 3/4") 1 111
1050161 Screw, Hex Head Cap with Patch (5/16-18 x 1") 1 112
1139428 Screw, Socket Head Cap (5/16-18 x 3/4") 1 113
1074133 Washer (5/16 x 3/4 x 1/16") 1 414
1125632 T-Nut (5/16-18) 1 115
1069724 T-Nut (5/16-18) 1 216
1122652 Screw, Hex Head (5/16-18 x 5/8") 1 217
1122619 Socket, Front Arm - Right 1 118
1122620 Socket, Front Arm - Left 1 118
1126142 Socket, Rear Arm 1 119
1125478 Socket, Rear Arm - Right 1 120
1125479 Socket, Rear Arm - Left 1 120
A - Includes items 2-4. Used for both (12"-15" Deep) ADJASBA Non-Manual Tilt Seat Frame and ADJASBA Manual Tilt Seat
Frame.
B - Includes items 6-9. Used for (16"-18" Deep) ADJASBA Non-Manual Tilt Seat Frame
C - Includes items 6-8. Used for (16"-18" Deep) ADJASBA Manual Tilt Seat Frame
D - Includes items 11-16. Used for TRRO option on both (16"-18" Deep) ADJASBA Non-Manual Tilt Seat Frame and
ADJASBA Manual Tilt Seat Frame.
NOTE:
120
To order call toll free 1-800-333-6900, or www.invacare.com
Form No. 07-082

Front/Rear Arm Socket Assembly and Hardware
(16"-20" Wide) ADJASBA/ADJRECL Seats - TDX SC
121
To order call toll free 1-800-333-6900, or www.invacare.com
Form No. 07-082

Front/Rear Arm Socket Assembly and Hardware
(16"-20" Wide) ADJASBA/ADJRECL Seats - TDX SC
Item
Number Part Number DescriptionNote
Quantity Per
Package Assembly
1125734 Kit, Front/Rear Arm Socket Assembly Mounting
Hardware 1 11 A
1039860 Screw, Hex Head Cap with Patch (5/16-18 x 3/4") 1 22
1074133 Washer (5/16 x 3/4 x 1/16") 1 43
1069724 T-Nut (5/16-18) 1 44
1122652 Screw, Hex Head (5/16-18 x 5/8") 1 25
1122619 Socket, Front Arm - Right 1 16
1122620 Socket, Front Arm - Left 1 16
1125478 Socket, Rear Arm - Right 1 17
1125479 Socket, Rear Arm - Left 1 17
1134481 Socket, ADJRECL Rear Arm - Right 1 17
1134482 Socket, ADJRECL Rear Arm - Left 1 17
A - Includes items 2-5
NOTE:
122
To order call toll free 1-800-333-6900, or www.invacare.com
Form No. 07-082

Front/Rear Arm Socket Assembly and Hardware
(16"-20" Wide) ADJASBA Seats with TRRO Option - TDX SC
123
To order call toll free 1-800-333-6900, or www.invacare.com
Form No. 07-082

Front/Rear Arm Socket Assembly and Hardware
(16"-20" Wide) ADJASBA Seats with TRRO Option - TDX SC
Item
Number Part Number DescriptionNote
Quantity Per
Package Assembly
1136025 Kit, Front/Rear Arm Socket Assembly Mounting
Hardware For TRRO Option 1 11
1039860 Screw, Hex Head Cap with Patch (5/16-18 x 3/4") 1 12
1050161 Screw, Hex Head Cap with Patch (5/16-18 x 1") 1 13
1139428 Screw, Socket Head Cap (5/16-18 x 3/4") 1 14
1074133 Washer (5/16 x 3/4 x 1/16") 1 45
1125632 T-Nut (5/16-18) 1 16
1069724 T-Nut (5/16-18) 1 27
1122652 Screw, Hex Head (5/16-18 x 5/8") 1 28
1122619 Socket, Front Arm - Right 1 19
1122620 Socket, Front Arm - Left 1 19
124
To order call toll free 1-800-333-6900, or www.invacare.com
Form No. 07-082

NOTE: Calf Pads with attaching hardware not included on Legrest.
NOTE: Pivot/Slide Tube attaching hardware not included.
NOTE: Pivot/Slide Tube and Footplates do not include Heel Loops. See Footrest and Legrest
Accessories.
1651 = Composite footplate with 9-7/8" curved pivot/ slide tube.
AT5543 = Adjustable angle footplate with 9-7/8" straight pivot/ slide tube.
1350 = Extra large footplate with "L" style pivot/ slide tube.
Support Assemblies - AT5544, 70NHD, PHW93
Rigging Type AT5544 70NHD PHW93 (Black)
1114755
8881053149
8881045291
Right
See Note(s) A See Note(s) A
1114756
8881053148
8881045292
Left
See Note(s) A See Note(s) A
A - Specify frame color when ordering, see page titled "Frame Finishes and Touch-Up Paints". Used for TDX SC models only NOTE:
Pivot/ Slide Tube and Footplates For AT5544, 70NHD, PHW93
Footplate
Type AT5543
14-15" W
AT5543
16" and
Wider
1651
12-14" W 1651
15-16" W 1651
17-22" W 1350
17-22" W AT5543
12-13" W
10627561060444106044210263951057879
1057869
1057859
Right
See Note(s) A See Note(s) A
10627571060445106044310263961057880
1057870
1057860
Left
See Note(s) A See Note(s) A
10627601062758N/A10865151057881
1057871
1057861
Right 2"
Longer See Note(s) A See Note(s) A
10627611062759N/A10865171057882
1057872
1057862
Left 2" Longer
See Note(s) A See Note(s) A
11211401121138N/A10865161058423
1058421
1058419
Right 4"
Longer See Note(s) A See Note(s) A
11211411121139N/A10865181058424
1058422
1058420
Left 4" Longer
See Note(s) A See Note(s) A
Front Riggings Reference Chart
For AT5544, 70NHD, PHW93
125
To order call toll free 1-800-333-6900, or www.invacare.com
Form No. 07-082

Front Riggings Reference Chart
For AT5544, 70NHD, PHW93
A - Not available on AT5544 legrest 13-15" wide NOTE:
126
To order call toll free 1-800-333-6900, or www.invacare.com
Form No. 07-082

NOTE: Pivot/Slide tube attaching hardware not included.
NOTE: Pivot/Slide tube and footplates do not include heel loops. See footrest and legrest accessories.
AT5543 = Adjustable angle footplate wtih 9-7/8" straight pivot/slide tube.
Support Assemblies
Pivot/Slide tube and footplates are interchangeable with the support assemblies listed.
Rigging
Type 90 SWING
8881062596
Right
See Note(s) A
8881062597
Left
See Note(s) A
A - Specify frame color when ordering, see page titled "Frame Finishes and Touchup Paints". NOTE:
Pivot/Slide Tube and Footplates
Footplate
Type AT5543
12-13" W AT5543
14-15" W AT5543
16" W
106257010604381060436Right
106257110604391060437Left
Front Riggings Reference Chart
For 90 SWING
127
To order call toll free 1-800-333-6900, or www.invacare.com
Form No. 07-082

NOTE: Pivot/Slide Tube attaching hardware not included.
NOTE: Pivot/Slide Tube and Footplates do not include Heel Loops. See Footrest and Legrest
Accessories.
1650 = Aluminum footplate with "L" style pivot/slide tube.
AT5543 = Adjustable angle footplate with 9-7/8" straight pivot/ slide tube.
Support Assembly - PH93M2
Rigging
Type PH93M2 (Black)
1122964Right
1122965Left
Pivot/Slide Tube and Footplates For PH93M2
Footplate
Type AT5543
16" W
1650
12-13" W 1650
14-15" W 1650
16" W AT5543
12-13" W AT5543
14-15" W
106257210604321060430105796911230761123074Right
106257310604331060431105797011230771123075Left
Front Riggings Reference Chart
For PH93M2
128
To order call toll free 1-800-333-6900, or www.invacare.com
Form No. 07-082

NOTE: Calf Pads with attaching hardware not included on Legrest.
NOTE: Pivot/Slide Tube attaching hardware not included.
NOTE: Pivot/Slide Tube and Footplates do not include Heel Loops. See Footrest and Legrest
Accessories.
1650 = Aluminum footplate with "L" style pivot/slide tube.
1350 = Extra large footplate with "L" style pivot/slide tube.
AT5543 = Adjustable angle footplate with 9-7/8" straight pivot/ slide tube.
Support Assembly - PHAL4A
Rigging
Type PHAL4A (Chrome Only)
1031437Right
1031438Left
Pivot/Slide Tube and Footplates For PHAL4A
Footplate
Type 1650
14-15" W 1650
16-22" W 1350
17-22" W AT5543
14-15" W AT5543
16" and Wider
10917771091775103545610239071023905Right
10917781091776103545710239081023906Left
Front Riggings Reference Chart
For PHAL4A
129
To order call toll free 1-800-333-6900, or www.invacare.com
Form No. 07-082

NOTE: Pivot/Slide Tube attaching hardware not included.
NOTE: Pivot/Slide Tube and Footplates do not include Heel Loops. See Footrest and Legrest
Accessories.
1651 = Composite footplate with 9-7/8" curved pivot/slide tube.
Support Assemblies - 70ST TAPER
Rigging
Type 70ST TAPER
8881026996
Right
See Note(s) A
8881026997
Left
See Note(s) A
A - Specify frame color when ordering, see page titled "Frame Finishes and Touch-Up Paints". Used on TDX SC models only NOTE:
Pivot/Slide Tube and Footplates For 70ST TAPER
Footplate
Type 1651
16-17" W 1651
18-19" W 1651
20" and Wider
105787910578691057859Right
105788010578701057860Left
105788110578711057861
Right
2" Longer
105788210578721057862
Left
2" Longer
Front Riggings Reference Chart
70ST TAPER
130
To order call toll free 1-800-333-6900, or www.invacare.com
Form No. 07-082

Front Rigging Hangers and Hardware
Pin & Sector Style For ADJASBA (12"-16" Wide)
131
To order call toll free 1-800-333-6900, or www.invacare.com
Form No. 07-082

Front Rigging Hangers and Hardware
Pin & Sector Style For ADJASBA (12"-16" Wide)
Item
Number Part Number DescriptionNote
Quantity Per
Package Assembly
1124723 Kit, Side Rail Cap Hardware (Pair) 1 11 A
1038379 Screw, Socket Head Cap w/ Patch (1/4-20 x 1-1/2") 1 42
1122618 Spacer (1/4 x 3/8 x 29/32") 1 43
1120286 Cap, Side Rail End 1 24
1029501 Plug Button, Black (1") 1 25
1122613 Block, Threaded 1 26
1125726 Kit, Front Rigging Hanger Mounting Hardware (Pair) 1 17 B
1038379 Screw, Socket Head Cap w/ Patch (1/4-20 x 1-1/2") 1 48
1047449 Spacer (1/4 x 3/8 x 3/16") 1 49
1120286 Cap, Side Rail End 1 210
1122613 Block, Threaded 1 211
1122602 Front Rigging Hanger Asbly., Sector Style - Right 1 112 C
1122603 Front Rigging Hanger Asbly., Sector Style - Left 1 112 C
1054571 Kit, Sector Block - Right 1 113 D
1054572 Kit, Sector Block - Left 1 113 D
1124401 Front Rigging Hanger
Pin Style with Plug Button (Hemi) - Right 1 114
1124402 Front Rigging Hanger
Pin Style with Plug Button (Hemi) - Left 1 114
1134426 Package, Plug Buttons, Black (3/4") 10 115
A - Includes items 2-6
B - Includes items 8-11
C - Includes item 13
D - Includes Sector Block, Screw and Washer
NOTE:
132
To order call toll free 1-800-333-6900, or www.invacare.com
Form No. 07-082

Front Rigging Hangers and Hardware
Pin & Sector Style For ADJASBA/ADJRECL (16"-20" Wide)
133
To order call toll free 1-800-333-6900, or www.invacare.com
Form No. 07-082

Front Rigging Hangers and Hardware
Pin & Sector Style For ADJASBA/ADJRECL (16"-20" Wide)
Item
Number Part Number DescriptionNote
Quantity Per
Package Assembly
1124723 Kit, Side Rail Cap Hardware (Pair) 1 11 A
1038379 Screw, Socket Head Cap w/ Patch (1/4-20 x 1-1/2") 1 42
1122618 Spacer (1/4 x 3/8 x 29/32") 1 43
1120286 Cap, Side Rail End 1 24
1029501 Plug Button, Black (1") 1 25
1122613 Block, Threaded 1 26
1125726 Kit, Front Rigging Hanger Mounting Hardware (Pair) 1 17 B
1038379 Screw, Socket Head Cap w/ Patch (1/4-20 x 1-1/2") 1 48
1047449 Spacer (1/4 x 3/8 x 3/16") 1 49
1120286 Cap, Side Rail End 1 210
1122613 Block, Threaded 1 211
1122602 Front Rigging Hanger Asbly., Sector Style - Right 1 112 C
1122603 Front Rigging Hanger Asbly., Sector Style - Left 1 112 C
1054571 Kit, Sector Block - Right 1 113 D
1054572 Kit, Sector Block - Left 1 113 D
1124401 Front Rigging Hanger
Pin Style with Plug Button (Hemi) - Right 1 114
1124402 Front Rigging Hanger
Pin Style with Plug Button (Hemi) - Left 1 114
1134426 Package, Plug Buttons, Black (3/4") 10 115
A - Includes items 2-6
B - Includes items 8-11
C - Includes item 13
D - Includes Sector Block, Screw and Washer
NOTE:
134
To order call toll free 1-800-333-6900, or www.invacare.com
Form No. 07-082

Front Rigging Hangers and Hardware
For Van Seat TDX SC
135
To order call toll free 1-800-333-6900, or www.invacare.com
Form No. 07-082

Front Rigging Hangers and Hardware
For Van Seat TDX SC
Item
Number Part Number DescriptionNote
Quantity Per
Package Assembly
1134425 Package, Plug Buttons, Black (1") 10 11
1148228 Kit, Front Rigging Hanger Hardware For Van Seat 2 12 A
1038379 Screw, Socket Head Cap w/ Patch (1/4-20 x 1-1/2") 1 43
1047449 Spacer (1/4 x 3/8 x 3/16") 1 44
1025736 Locknut (1/4-20) 1 45
1143416 Front Rigging Hanger Asbly. (Sector Style) - Right 1 16 B
1143417 Front Rigging Hanger Asbly. (Sector Style) - Left 1 16 B
1054571 Kit, Sector Block - Right 1 17 C
1054572 Kit, Sector Block - Left 1 17 C
1143783 Front Rigging Hanger w/ Plug Button (Hemi) - Right 1 18 D
1143784 Front Rigging Hanger w/ Plug Button (Hemi) - Left 1 18 D
1134426 Package, Plug Buttons, Black (3/4") 10 19
A - Includes items 3-5
B - Includes item 8
C - Includes Sector Block, Screw and Washer
D - Includes item 9 Plug Button
NOTE:
136
To order call toll free 1-800-333-6900, or www.invacare.com
Form No. 07-082

Footrest Support Assemblies
Sector Style
137
To order call toll free 1-800-333-6900, or www.invacare.com
Form No. 07-082

Footrest Support Assemblies
Sector Style
Item
Number Part Number DescriptionNote
Quantity Per
Package Assembly
8881053149 Footrest Support Assembly, 70° Non-Tapered
Heavy Duty, Sector, Color - Right 1 11 A,C,F
8881053148 Footrest Support Assembly, 70° Non-Tapered
Heavy Duty, Sector, Color - Left 1 11 A,C,F
8881026996 Footrest Support Assembly, 70° Tapered, Sector,
Color - Right 1 11 A,D,F
8881026997 Footrest Support Assembly, 70° Tapered, Sector,
Color - Left 1 11 A,D,F
8881062596 Footrest Support Assembly, 90°, Sector, Color -
Right 1 11 A,F,I
8881062597 Footrest Support Assembly, 90°, Sector, Color - Left 1 11 A,F,I
1022831 Screw, Socket Button Head (1/4-20 x 1-7/8") 1 12
1029501 Plug Button, Black (1") 1 13
1017148 Plug, Pivot 1 14
1025736 Locknut (1/4-20) 1 15
1025451 Screw, Slotted Hex Washer Head (#10-32 x 5/8") 1 26
1017423 Screw, Slotted Hex Washer Head (#10-32 x 1/2") 1 17
1025454 Latch Housing - Right 1 18
1025455 Latch Housing - Left 1 18
1026124 Anti-Rattle Collar 1 19
1045267 Screw, Hex Head (1/4-20 x 3/4") 1 110
1026099 Spacer, Coved (1/4 x 11/16 x 1/2") 1 211 B
1020534 Insert, Threaded 1 112
1070759 Screw, Hex Head (1/4-20 x 1-1/2") 1 113
1044214 Nut, Hex with Nylon Cap (1/4-20) 1 114
1026703 Kit, Pivot/Slide Tube Mounting Hardware (Pair) 1 115 G
1057846 Kit, Pivot/Slide Tube Mounting Hardware (Pair) 1 116 H
8881038231 Kit, 3" Extension w/ Hardware (Pair) 1 117 A
1026987 Impact Guard, 8" Long 1 1E
A - Specify frame color when ordering. See page titled "Frame Finishes and Touch-Up Paints."
B - Item 16 takes 4
C - See Image "A"
D - See Image "B"
E - Not Shown
F - Includes items 2-9
G - Includes items 10-12
H - Includes items 11-14
I - See Image "C"
NOTE:
138
To order call toll free 1-800-333-6900, or www.invacare.com
Form No. 07-082

PHW93 (Hemi) Footrest Supports
Black (Pin Style)
139
To order call toll free 1-800-333-6900, or www.invacare.com
Form No. 07-082

PHW93 (Hemi) Footrest Supports
Black (Pin Style)
Item
Number Part Number DescriptionNote
Quantity Per
Package Assembly
1020719 Anti-Rattle, Black 1 11
1025716 Screw, Phillips Pan Head (#10-32 x 11/16") 1 12
47565X057 Bushing (7/32 x 3/8 x 11/32") 1 13
1025735 Locknut (#10-32) 1 14
1026114 Screw, Phillips Pan Head (#10-32 x 1/2") 1 15
1114749 Release Handle (Black) - Right 1 16 A
1114750 Release Handle (Black) - Left 1 16 A
1028846 Rivnut (#10-32) 1 17
1028707 Spring, Release - Right 1 18
1028708 Spring, Release - Left 1 18
1006490 Tip, Plastic, Black 1 19
15680X012 Collar, Anti-Rattle (7/8") 1 110
1070759 Screw, Hex Head (1/4-20 x 1-1/2") 1 111
1026099 Spacer, Coved (1/4 x 11/16 x 1/2") 1 212
1044214 Nut, Hex with Nylon Cap (1/4-20) 1 113
1020534 Insert, Threaded 1 114
1074143 Kit, Slide Tube Mounting Hardware 1 115 C
1114755 Footrest Support Assembly, Hemi, Black - Right 1 116 B
1114756 Footrest Support Assembly, Hemi, Black - Left 1 116 B
A - Includes items 2-4
B - Includes items 1-10
C - Includes items 11-14
NOTE:
140
To order call toll free 1-800-333-6900, or www.invacare.com
Form No. 07-082

PH93M2 (Hemi) Footrest Supports
Black (Pin Style)
141
To order call toll free 1-800-333-6900, or www.invacare.com
Form No. 07-082

PH93M2 (Hemi) Footrest Supports
Black (Pin Style)
Item
Number Part Number DescriptionNote
Quantity Per
Package Assembly
1030979 Screw, Phillips Pan Head Tap (#10-32 x 3/4") 1 11
1022874 Bumper 1 12
1006490 Tip, Plastic, Black 1 13
60279X003 Locknut (#10-32) 1 14
47565X057 Bushing (7/32 x 3/8 x 11/32") 1 15
40163X008 Screw, Phillips Pan Head (#10-32 x 11/16") 1 16
40163X002 Screw, Phillips Round Head (#10-32 x 1/2") 1 17
1008935 Spring, Release - Right 1 18
1008936 Spring, Release - Left 1 18
67005X000 Rivnut (#10-32) 1 19
1114745 Handle, Release - Right 1 110
1114746 Handle, Release - Left 1 110
1027095 Plug Button, Black (7/8") 1 211
60264X001 Locknut (5/16-24) 1 112
11232X009 Screw, Lug (5/16-24 x 1-3/8") 1 113
1122964 Footrest Support Assembly, Hemi, Black - Right 1 114 A
1122965 Footrest Support Assembly, Hemi, Black - Left 1 114 A
A - Includes items 1-13
NOTE:
142
To order call toll free 1-800-333-6900, or www.invacare.com
Form No. 07-082

AT5544 Legrest Supports
(Sector Style)
16" and Wider Chairs
143
To order call toll free 1-800-333-6900, or www.invacare.com
Form No. 07-082

AT5544 Legrest Supports
(Sector Style)
16" and Wider Chairs
Item
Number Part Number DescriptionNote
Quantity Per
Package Assembly
1017187 Cover, Top 1 11
1028529 Screw, Phillips Pan Head (#8-32 x 3/8") 1 22
40363X000 Hex Nut (3/8"-16) 1 13
1058636 Washer, Nylon (25/64 x 7/8 x 1/32") 1 24
11919X000 Screw, Truss Head (3/8-16 x 1-1/2") 1 15
1025730 Locknut (5/16-24) 1 16
1026030 Screw, Lug (5/16-24 x 1-3/8") 1 17
1043556 Tube, Elevating Support (Black) - Right 1 18
1043557 Tube, Elevating Support (Black) - Left 1 18
8881048851 Tube, Elevating Support (Color) - Right 1 18 A
8881048852 Tube, Elevating Support (Color) - Left 1 18 A
1032266 Bracket, Legrest Pad Mounting 1 19
04528X002 Bracket, Release (Chrome) 1 110
1025451 Screw, Slotted Hex Washer Head (#10-32 x 5/8") 1 211
1025454 Latch Housing - Right 1 112
1025455 Latch Housing - Left 1 112
1017423 Screw, Slotted Hex Washer Head (#10-32 x 1/2") 1 113
42326X001 Bar, Ratchet 1 114
10261X000 Acorn Nut (5/16"-24) 1 115
1017148 Plug, Pivot 1 116
1029501 Plug Button, Black (1") 1 117
1001762 Screw, Socket Button Head (1/4-20 x 1-3/4") 1 118
8881045289 Bracket, Legrest Support - Right 1 119 A
8881045290 Bracket, Legrest Support - Left 1 119 A
1040831 Snap Ring 1 120
1013519 Washer, Nylon (5/16 x 11/16 x 1/16") 1 121
1040060 Tip, Black Plastic 1 122
1037485 Spring, Release 1 123
1037125 Cam, Legrest 1 124
1037126 Handle, Release 1 125
1096974 Kit, Ratchet Elevating Legrest 2 126 B
1096943 Instruction Sheet, Ratchet Kit 1 1C
8881045291 Legrest Support Assembly, Sector, Color - Right 1 1A,C
8881045292 Legrest Support Assembly, Sector, Color - Left 1 1A,C
A - Specify frame color when ordering. See page titled "Frame Finishes and Touch-Up Paints".
B - Includes items 10, 14, 15 and 20-25
C - Not Shown
NOTE:
144
To order call toll free 1-800-333-6900, or www.invacare.com
Form No. 07-082

PHAL4A (Hemi) Articulating Legrest Supports
Chrome
145
To order call toll free 1-800-333-6900, or www.invacare.com
Form No. 07-082

PHAL4A (Hemi) Articulating Legrest Supports
Chrome
Item
Number Part Number DescriptionNote
Quantity Per
Package Assembly
1030979 Screw, Phillips Pan Head Tap (#10-32 x 3/4") 1 11
1022874 Bumper 1 12
1023428 Handle, Release, Chrome - Right 1 13
1023431 Handle, Release, Chrome - Left 1 13
47565X057 Bushing (7/32 x 3/8 x 11/32") 1 14
60279X003 Locknut (#10-32) 1 15
40163X008 Screw, Phillips Pan Head (#10-32 x 11/16") 1 16
1008935 Spring, Release - Right 1 17
1008936 Spring, Release - Left 1 17
67005X000 Rivnut (#10-32) 1 18
40163X002 Screw, Phillips Round Head (#10-32 x 1/2") 1 19
1023092 Legrest Support Tube Assembly, Hemi, Chrome -
Right 1 110
1023093 Legrest Support Tube Assembly, Hemi, Chrome -
Left 1 110
1027097 Plug Button, Black (3/4") 1 111
1040060 Tip, Black Plastic 1 112
1037126 Handle, Release 1 113
1049527 Washer, Nylon (3/8 x 3/4 x 1/16") 1 214
1022866 Screw, Socket Button Head (3/8-16 x 3/4") 1 215
40363X000 Hex Nut (3/8"-16) 1 316
1022846 Bar, Link, Chrome 1 117
1022877 Tube Support and Drive Link - Right 1 118
1022878 Tube Support and Drive Link - Left 1 118
1022854 Screw, Slotted Head Shoulder (1/2 x 1-1/8") 1 119
10261X000 Acorn Nut (5/16"-24) 1 120
04528X002 Bracket, Release (Chrome) 1 121
1040831 Snap Ring 1 122
47328X003 Bushing, Pivot (5/16 x 7/16 x 7/8") 1 123
42326X004 Bar, Ratchet - Right/Left 1 124
1037485 Spring, Release 1 125
1037125 Cam, Legrest 1 126
1013519 Washer, Nylon (5/16 x 11/16 x 1/16") 1 127
1024911 Decal, Smartleg 1 128
1014807 Screw, Hex Head (5/16-24 x 3-1/4") 1 129
48823X008 Spring, Leaf 1 130
47328X003 Bushing, Pivot (5/16 x 7/16 x 7/8") 1 131
1025133 Spacer, Legrest Pad 1 132
04526X019 Plate, Legrest Pad 1 133
60264X001 Locknut (5/16-24) 1 134
1025104 Bracket, Legrest (Chrome) 1 135
11232X009 Screw, Lug (5/16-24 x 1-3/8") 1 136
1022848 Slide Tube, Articulating (Chrome) - Right 1 137
1022849 Slide Tube, Articulating (Chrome) - Left 1 137
146
To order call toll free 1-800-333-6900, or www.invacare.com
Form No. 07-082

PHAL4A (Hemi) Articulating Legrest Supports
Chrome
Item
Number Part Number DescriptionNote
Quantity Per
Package Assembly
1027377 Washer (#20) 1 138
1107321 Nut, Low Cap (5/16"-24) 1 139
1031437 Legrest Support Assembly, Articulating, Hemi,
Chrome - Right 1 140 B
1031438 Legrest Support Assembly, Articulating, Hemi,
Chrome - Left 1 140 B
8881091764 Pad, Legrest Vinyl - Right/Left 1 141 A,C
04529X003 Calf Pad w/Cover Black 14-15" without Hardware -
Right 1 141
04529X004 Calf Pad w/Cover Black 14-15" without Hardware -
Left 1 141
1068649 Screws, Phillips Head (#10-32 x 11/16") 2 142
A - Specify upholstery color U67 black when ordering.
B - Includes items 1-39
C - For 16" and wider seats
NOTE:
147
To order call toll free 1-800-333-6900, or www.invacare.com
Form No. 07-082

Calf Pads and Attaching Hardware
148
To order call toll free 1-800-333-6900, or www.invacare.com
Form No. 07-082

Calf Pads and Attaching Hardware
Item
Number Part Number DescriptionNote
Quantity Per
Package Assembly
8881091759 Pad w/Cover and Screws, Legrest Vinyl (Pair) 2 11 A
8881091764 Pad, Legrest Vinyl - Right/Left 1 11 A
88804529X003 Pad, Legrest Vinyl - Right 1 11 A,B
88804529X004 Pad, Legrest Vinyl - Left 1 11 A,B
04526X019 Plate, Legrest Pad 1 12
1025730 Locknut (5/16-24) 1 13
1025133 Spacer, Legrest Pad 1 14
1032267 Spacer, Legrest Pad Mounting 1 15
1037110 Screw, Hex Head (5/16-24 x 3-1/2") 1 16
1028514 Screw, Hex Head (5/16-24 x 1-1/2") 1 17
1066591 Screws, Phillips Head (#10-32 x 11/16") 2 18
48823X008 Spring, Leaf 1 19
60264X001 Locknut (5/16-24) 1 110
1025104 Bracket, Legrest (Chrome) 1 111
1014807 Screw, Hex Head (5/16-24 x 3-1/4") 1 112
1032266 Bracket, Legrest Pad Mounting 1 113
A - Specify upholstery color. See page titled "Frame Finishes, Touch-Up Paints and Upholstery Options".
B - 14"-15" Wide Chairs
NOTE:
149
To order call toll free 1-800-333-6900, or www.invacare.com
Form No. 07-082

Pivot/Slide Tube and 1651 Composite Footplates
NOTE: Heel Loops are not included. See Footrest and Legrest Accessories.
NOTE: For complete pivot/slide tube and footplate assemblies, see Front Riggings Reference Charts
150
To order call toll free 1-800-333-6900, or www.invacare.com
Form No. 07-082

Pivot/Slide Tube and 1651 Composite Footplates
NOTE: Heel Loops are not included. See Footrest and Legrest Accessories.
NOTE: For complete pivot/slide tube and footplate assemblies, see Front Riggings Reference Charts
Item
Number Part Number DescriptionNote
Quantity Per
Package Assembly
1057852 Pivot/Slide Tube, Curved End (9-7/8") (Steel) 1 11
1057854 Pivot/Slide Tube, Curved End 2" Longer (Steel) 1 11
1058418 Pivot/Slide Tube, Curved End 4" Longer (Steel) 1 11
1025457 Spacer, Coved (1/4 x 3/4 x 11/32") 1 22
1027097 Plug Button, Black (3/4") 1 13
1025195 Locknut (1/4-20) 1 14
60285X006 Screw, Socket Head Cap (1/4-20 x 2-1/4") 1 15
1026879 Footplate, Composite - Small (6" W x 6" L) 1 16 A
1026880 Footplate, Composite - Medium (7" W x 6" L) 1 16 B
1026881 Footplate, Composite - Large (8" W x 6" L) 1 16 C
1026879 Footplate, Composite - Small (6" W x 6" L) 1 16 D
1026880 Footplate, Composite - Medium (7" W x 6" L) 1 16 E
1026881 Footplate, Composite - Large (8" W x 6" L) 1 16 F
A - 12"-14" Wide
B - 15"-16" Wide
C - 17" and Wider
D - 16"-17" Wide 70 ST TAPER
E - 18"-19" Wide 70 ST TAPER
F - 20" and Wider 70 ST TAPER
NOTE:
151
To order call toll free 1-800-333-6900, or www.invacare.com
Form No. 07-082

Pivot/Slide Tube and 1650, 1350 Aluminum Footplates
NOTE: Heel Loops are not included. See Footrest and Legrest Accessories
NOTE: For complete pivot/slide tube and footplate assemblies, see Front Riggings Reference Charts.
152
To order call toll free 1-800-333-6900, or www.invacare.com
Form No. 07-082

Pivot/Slide Tube and 1650, 1350 Aluminum Footplates
NOTE: Heel Loops are not included. See Footrest and Legrest Accessories
NOTE: For complete pivot/slide tube and footplate assemblies, see Front Riggings Reference Charts.
Item
Number Part Number DescriptionNote
Quantity Per
Package Assembly
1048834 Pivot/Slide Tube with Plug Button 1 11 A
1098906 Pivot/Slide Tube with Plug Button - 2" Longer 1 11 A
1086482 Pivot/Slide Tube with Plug Button - 4" Longer 1 11 A
1041526 Pivot/Slide Tube with Plug Button (Steel) 1 11 B
1041527 Pivot/Slide Tube with Plug Button (Black) 1 11 C
1027097 Plug Button, Black (3/4") 1 12
1070168 Push Plug, Footplate 1 13
44200X032 Footplate, Aluminum - Extra Small (5-3/4" W x 6" L) 1 14 D
44200X059 Footplate, Aluminum - Small (6-3/4" W x 6" L) 1 14 E
44200X027 Footplate, Aluminum - Medium (7-3/4" W x 6" L) 1 14 F
44200X025 Footplate, Aluminum - Extra Large (8" W x 8-1/2" L)
- Right 1 14
44200X026 Footplate, Aluminum - Extra Large (8" W x 8-1/2" L)
- Left 1 14
1016346 Cap, Tube End (7/8") 1 15
1027095 Plug Button, Black (7/8") 1 16
1006981 Spring, Leaf 1 27
40120X001 Screw, Phillips Pan Head (#8-32 x 3/8") 1 28
1018133 Plug Button, Black (5/8") 1 19
1036123 Spring, Leaf 1 110
A - Extra Large footplate for AT5544, 70 NHD, PHW93,
B - Standard Aluminum and Extra Large footplate for PHAL4A
C - Standard Aluminum footplate for PH93M2
D - For 12"-13" wide seats
E - For 14"-15" wide seats
F - For 16" and wider seats
NOTE:
153
To order call toll free 1-800-333-6900, or www.invacare.com
Form No. 07-082

AT5543 Adjustable Angle Footplates
90°, 70°, PHW93, AT5544, PH93M2, PHAL4A Swingaway Supports
NOTE: Heel loops are not included. See footrest and legrest accessories.
154
To order call toll free 1-800-333-6900, or www.invacare.com
Form No. 07-082

AT5543 Adjustable Angle Footplates
90°, 70°, PHW93, AT5544, PH93M2, PHAL4A Swingaway Supports
NOTE: Heel loops are not included. See footrest and legrest accessories.
Item
Number Part Number DescriptionNote
Quantity Per
Package Assembly
1060426 Footplate, Adjustable Angle - Medium
(4-1/4" W x 8" L) 1 11 B
1060427 Footplate, Adjustable Angle - Large
(5-1/4" W x 8" L) 1 11 C
1062569 Footplate, Adjustable Angle - X-Large
(6-1/4" W x 8" L) 1 11 D
1029545 Screw, Socket Head Cap (1/4-20 x 3/4") 1 22
1058517 Clamp, Footplate 1 13
1082686 Nut, Hex Head (1/4-20 x 11/16") 1 24
1025736 Locknut (1/4-20) 1 15
1026907 Washer (1/4 x 1/2 x 1/16") 1 16
1048816 Screw, Nylon Adjustment (1/2-13 x 7/8") 1 17
1052102 Hinge, Footplate - Right 1 18
1052103 Hinge, Footplate - Left 1 18
1022831 Screw, Socket Button Head (1/4-20 x 1-7/8") 1 19
1026900 Washer (1/4 x 23/32 x 1/16") 1 110
1057855 Pivot/Slide Tube, Straight (9-7/8" Long - Steel) 1 111
1057856 Pivot/Slide Tube, Straight (11-7/8" Long - Steel) 1 111
1091745 Pivot/Slide Tube, Straight (13-7/8" Long - Steel) 1 111 A
1120379 Pivot/Slide Tube, Straight (9-7/8" Long - Alum.) 1 111 E
1016301 Washer, Nylon (5/16 x 7/8 x 1/8") 1 112
1025457 Spacer, Coved (1/4 x 3/4 x 11/32") 1 113
1026099 Spacer, Coved (1/4 x 11/16 x 1/2") 1 114
1036435 Washer, Nylon (1/4 x 7/8 x 1/32") 1 115
See Chart Item #16 Pivot/ Slide Tube with Footplate
Assemblies 1 116
A - For PHAL4A only
B - For 12-13" wide chairs
C - For 14-15" wide chairs
D - For 16" and wider chairs
E - For PH93M2 only
NOTE:
155
To order call toll free 1-800-333-6900, or www.invacare.com
Form No. 07-082

AT5543 Adjustable Angle Footplates
90°, 70°, PHW93, AT5544, PH93M2, PHAL4A Swingaway Supports
NOTE: Heel loops are not included. See footrest and legrest accessories.
Item #16 Pivot/ Slide Tube with Footplate Assemblies
Rigging
Type Side 12-13" W
Medium
Footplate
14-15" W
Large
Footplate
16" and Wider
X- Large
Footplate
106257010604381060436Right90 Deg.
106257110604391060437Left
106275610604441060442Right
70, PHW93,
AT5544
106275710604451060443Left
10627601062758N/ARight
70, PHW93,
AT5544
2" Longer
Slide Tube
10627611062759N/ALeft
106257210604321060430RightPH93M2
106257310604331060431Left
10917771091775N/ARightPHAL4A
10917781091776N/ALeft
156
To order call toll free 1-800-333-6900, or www.invacare.com
Form No. 07-082

Footplate
Type
Heel Loop w/
Ankle Strap
Pair #
Attaching
Hardware
Pair #
Chair
Width Heel Loop
Single # Heel Loop
Pair #
Heel Loop w/
Ankle Strap
Single # Rt.
Heel Loop w/
Ankle Strap
Single # Lt.
103593110359061035909103590810359121028412
12-14" W
or
15-17" W
Tapered
Composite
Small
(1651)
103593110359181035920103591910359171017621
15-16" W
or
18-19" W
Tapered
Composite
Medium
(1651)
103593110359301035933103593210359171017621
17-22" W
or
20-22" W
Tapered
Composite
Large
(1651)
10359071035906103590910359081035905102523414-15" W
Standard
Aluminum
(1650)
10359071035918103592010359191035917101762116-22" W
Standard
Aluminum
(1650)
10552411035918103592010359191035917101762116-22" W
X-Large
Aluminum
(1350)
Attaching Hardware Part Numbers (Less AT5543)
Footplate Type Part Number Part Number Consists of
2 each Screw, PPH
(1/4-20 x 2-1/4")
2 each Spacer
(1/4 x 11/32 x 1-3/4")
2 each Locknut (1/4-20)
1035931Composite (1651)
2 each Screw, PPH
(1/4-20 x 2-1/2")
2 each Spacer
(1/4 x 11/32 x 1-3/4")
2 each Locknut (1/4-20)
1035907Standard Aluminum (1650)
2 each Screw, PPH
(1/4-20 x 2-1/4")
2 each Spacer
(1/4 x 11/32 x 1-3/4")
2 each Locknut (1/4-20)
1055241X-Large Aluminum (1350)
Footrest and Legrest Accessories
NOTE: Heel loops for Power Articulating Legrest located on Power Articulating Legrest page.
157
To order call toll free 1-800-333-6900, or www.invacare.com
Form No. 07-082

Footrest and Legrest Accessories
NOTE: Heel loops for Power Articulating Legrest located on Power Articulating Legrest page.
158
To order call toll free 1-800-333-6900, or www.invacare.com
Form No. 07-082

Footrest and Legrest Accessories
NOTE: Heel loops for Power Articulating Legrest located on Power Articulating Legrest page.
Heel Loops, Heel Loops w/ Ankle Straps and Hardware (For AT5543)
Footplate Type Part Number Part Number Consists of
2 each Heel Loops
4 each Screw, SHC
(#10-32 x 1-1/2")
4 each Spacer
(1/4 x 5/16 x 1-3/32")
4 each Washer
(3/16 x 7/16 x 1/16")
1038245
Heel Loops w/ Hardware
Adjustable Angle Footplate (Pair)
AT5543 Adj. Angle
2 each Heel Loops
w/ Ankle Straps
4 each Screw, SHC
(10-32 x 1-1/2")
4 each Spacer
(1/4 x 5/16 x 1-3/32")
4 each Washer
(3/16 x 7/16 x 1/16")
1038246
Heel Loops w/ Ankle Straps &
Hardware
Adjustable Angle Footplate (Pair)
AT5543 Adj. Angle
Toe Loops (1345) and Attaching Hardware
Footplate
Type
Toe Loop
w/o Hardware
Single #
Toe Loop
w/o Hardware
Pair #
Attaching
Hardware
Part Number
Attaching
Hardware
Consists of
4 each Screw, PPH
(#10-32 x 7/8")
4 each Washer
(1/4 x 3/4 x 3/32")
4 each Locknut
(#10-32)
1037089103708704572X025
1651,
1650,
1350,
Footplates
4 each Screw, PPH
(10-32 x 1/2")
4 each Washer
(1/4 x 3/4 x 3/32")
1104749103708704572X025
AT5543
Footplates
159
To order call toll free 1-800-333-6900, or www.invacare.com
Form No. 07-082

Footrest and Legrest Accessories
NOTE: Heel loops for Power Articulating Legrest located on Power Articulating Legrest page.
Item
Number Part Number DescriptionNote
Quantity Per
Package Assembly
1032243 Calf Strap w/ Hook and Loop (36" Long) 1 1A
1032214 H-Strap, 24" Long 1 1A,B
1032215 H-Strap, 26" Long 1 1C,A
1032216 H-Strap, 31" Long 1 1D,A
1026987 Impact Guard, 8" Long 1 2A
See Chart Heel Loops and Hardware (Less AT5543) 1 1A
See Chart Attaching Hardware Part Numbers 1 1A
See Chart Heel Loops, Heel Loops w/ Ankle Straps and
Hardware AT5543 1 1A
See Chart Toe Loops and Hardware 1 1A
A - Not Shown
B - 12-14" wide seats
C - 15-16" wide seats
D - 17" and wider seats
NOTE:
160
To order call toll free 1-800-333-6900, or www.invacare.com
Form No. 07-082

90FB Flip-Up Removable Footboard Assembly
For TDX SC Van Seat
161
To order call toll free 1-800-333-6900, or www.invacare.com
Form No. 07-082

90FB Flip-Up Removable Footboard Assembly
For TDX SC Van Seat
Item
Number Part Number DescriptionNote
Quantity Per
Package Assembly
1151904 Kit, 90FB Footboard Assembly 1 11 A
1106223 Screw, Socket Head (3/8-16 x 2-1/2") 1 12
1065214 Washer, Flat (3/8 x 11/16 x 1/16") 1 13
1049527 Washer, Nylon (3/8 x 3/4 x 1/16") 1 24
1105039 Bushing (3/8 x 5/8 x 1/2") 1 15
1028486 Locknut, Low Profile (3/8-16) 1 16
1108457 Screw, Socket Set Flat (5/16-18 x 1") 1 17
1028769 Locknut (5/16-18) 1 18
1105038 Cap, Tube (1" Square) 1 19
1061922 Screw, Hex Head Cap w/ Patch (5/16-18 x 1/2") 1 410
1149252 Bracket, Footboard Mounting 1 111
1114311 Footboard w/ Cover (11-1/4" Wide x 11-1/2" Long) 1 112
1114311 Footboard w/ Cover (11-1/4" Wide x 11-1/2" Long) 1 112
1147134 Kit, Footboard Mounting Hardware 1 113 B
1106223 Screw, Socket Head (3/8-16 x 2-1/2") 1 12
1065214 Washer, Flat (3/8 x 11/16 x 1/16") 1 13
1049527 Washer, Nylon (3/8 x 3/4 x 1/16") 1 24
1105039 Bushing (3/8 x 5/8 x 1/2") 1 15
1028486 Locknut, Low Profile (3/8-16) 1 16
1108457 Screw, Socket Set Flat (5/16-18 x 1") 1 17
1028769 Locknut (5/16-18) 1 18
8881151621 Shroud with Decal, Notched Front, Color 1 114
1151615 Screw, Thumb (10-32 x 7/8") 1 215
1152728 Package, Screw, Thumb (10-32 x 7/8") 10 115
1029501 Plug Button, Black (1") 1 2C
1134425 Package, Plug Buttons, Black (1") 10 1C
A - Includes items 2-12. When ordering a 90FB Footboard in the field for the first time, item numbers 14, 15 and 2 ea. of part #
1029501 Plug Buttons for the Van Seat Frame are required as well.
B - Includes items 2-8
C - Not Shown. Plug Buttons are used for the Van Seat Frame when converting to a 90FB Footboard for the first time in the
field
NOTE:
162
To order call toll free 1-800-333-6900, or www.invacare.com
Form No. 07-082

Front Rigging - Center Mount Rigging CTMT-FJ
(CTMT-FJ = 9-1/4" - 12" Range)
163
To order call toll free 1-800-333-6900, or www.invacare.com
Form No. 07-082

Front Rigging - Center Mount Rigging CTMT-FJ
(CTMT-FJ = 9-1/4" - 12" Range)
Item
Number Part Number DescriptionNote
Quantity Per
Package Assembly
1121990 Center Mount Rigging Assembly, Junior
(CTMTJ/CTMT-FJ) ASBA/ADJASBA (9-1/4 - 12"
Range)
1 11 A
1123021 Legrest Support Assembly, Center Mount, Junior,
Black 1 12 B
1113376 Ring, Retainer (1/4 x 1/2 x 1/64") 1 23
1113373 Pin, Angle Adjustable A.S.B.A. 1 14
1110669 Bearing, Flanged (1/2 x 13/16 x 1/2") 1 25
1121984 Support, Junior Legrest (CTMTJ/CTMT-FJ) 1 16
1113372 Rack, Center Mount Rigging Angle Adjustable 1 17
1021344 Screw, Socket Head Cap (5/16-18 x 1-1/2") 1 48
1123042 Extension Tube and Footplate Assembly
w/ Heel Loop, Junior - Right 1 19 C
1123043 Extension Tube and Footplate Assembly
w/ Heel Loop, Junior - Left 1 19 C
1123044 Extension Tube, Footrest Short
(CTMTJ/CTMT-FJ = 9-1/4" - 12" Range)
(CTMT/CTMT-F = 12-1/4" - 15" Range) (PCTMT =
10" - 13" Range)
1 110
1021421 Screw, Phillips Pan Head (1/4-20 x 2-1/4") 1 211
1006477 Spacer (1/4 x 11/32 x 1-3/4") 1 212
1121996 Heel Loop, Center Mount Rigging 1 213
1078214 Screw, Hex Head Cap w/ Patch (1/4-20 x 1/2") 1 214
1025195 Locknut (1/4-20) 1 215
1121988 Footplate CTMTJ/CTMT-FJ (5-1/4" W x 8-13/16" L)
- Right 1 116
1121989 Footplate CTMTJ/CTMT-FJ (5-1/4" W x 8-13/16" L)
- Left 1 116
1120345 Center Mount Rigging Footplate Mounting Hardware
- Right 1 117 D
1121123 Center Mount Rigging Footplate Mounting Hardware
- Left 1 117 D
1021343 Screw, Socket Head Cap (5/16-18 x 1-1/4") 1 218
1113384 Hinge, Adjustable Angle - Right 1 119
1113385 Hinge, Adjustable Angle - Left 1 119
1047449 Spacer (1/4 x 3/8 x 3/16") 1 120
1065362 Locknut (1/4-28) 1 121
1096810 Screw, Socket Head (1/4-28 x 1-3/4") 1 122
1108122 Locknut (5/16-18) 1 223
1113530 Hinge Attachment 1 124
1021343 Screw, Socket Head Cap (5/16-18 x 1-1/4") 1 125
A - Includes items 2, 8 & 9
B - Includes items 3-7
C - Includes items 10-16 & 17
D - Includes items 18-25
NOTE:
164
To order call toll free 1-800-333-6900, or www.invacare.com
Form No. 07-082

Front Rigging - Center Mount Rigging (CTMT-F)
(CTMT-F = 12-1/4" - 15" Range)
165
To order call toll free 1-800-333-6900, or www.invacare.com
Form No. 07-082

Front Rigging - Center Mount Rigging (CTMT-F)
(CTMT-F = 12-1/4" - 15" Range)
Item
Number Part Number DescriptionNote
Quantity Per
Package Assembly
1117262 Center Mount Rigging Assembly (CTMT) (CTMT-F),
ASBA/ADJASBA (12-1/4 - 15" Range) 1 11 A
1120346 Legrest Support Assembly, Center Mount, Black 1 12 B
1113376 Ring, Retainer (1/4 x 1/2 x 1/64") 1 23
1113373 Pin, Angle Adjustable A.S.B.A. 1 14
1110669 Bearing, Flanged (1/2 x 13/16 x 1/2") 1 25
1113609 Support, Center Mount Rigging Legrest 1 16
1113372 Rack, Center Mount Rigging Angle Adjustable 1 17
1021344 Screw, Socket Head Cap (5/16-18 x 1-1/2") 1 48
1123034 Extension Tube and Footplate Assembly
with Heel Loop, Short - Right 1 19 C
1123035 Extension Tube and Footplate Assembly
with Heel Loop, Short - Left 1 19 C
1123044 Extension Tube, Footrest Short
(CTMTJ/CTMT-FJ = 9-1/4" - 12" Range)
(CTMT/CTMT-F = 12-1/4" - 15" Range) (PCTMT =
10" - 13" Range)
1 110
1021421 Screw, Phillips Pan Head (1/4-20 x 2-1/4") 1 211
1006477 Spacer (1/4 x 11/32 x 1-3/4") 1 212
1121996 Heel Loop, Center Mount Rigging 1 213
1078214 Screw, Hex Head Cap w/ Patch (1/4-20 x 1/2") 1 214
1025195 Locknut (1/4-20) 1 215
1113606 Footplate, Center Mount Rigging - Right
(5-1/4" W x 9-5/8" L) 1 116
1113607 Footplate, Center Mount Rigging - Left
(5-1/4" W x 9-5/8" L) 1 116
1120345 Center Mount Rigging Footplate Mounting Hardware
- Right 1 117 D
1121123 Center Mount Rigging Footplate Mounting Hardware
- Left 1 117 D
1021343 Screw, Socket Head Cap (5/16-18 x 1-1/4") 1 218
1113384 Hinge, Adjustable Angle - Right 1 119
1113385 Hinge, Adjustable Angle - Left 1 119
1047449 Spacer (1/4 x 3/8 x 3/16") 1 120
1065362 Locknut (1/4-28) 1 121
1096810 Screw, Socket Head (1/4-28 x 1-3/4") 1 122
1108122 Locknut (5/16-18) 1 223
1113530 Hinge Attachment 1 124
1021343 Screw, Socket Head Cap (5/16-18 x 1-1/4") 1 125
A - Includes items 2, 8 & 9
B - Includes items 3-7
C - Includes items 10-16 & 17
D - Includes items 18-25
NOTE:
166
To order call toll free 1-800-333-6900, or www.invacare.com
Form No. 07-082

Front Rigging - Center Mount Rigging (CTMT-FJ with
CTMTFB One PC Flip-Up Footboard)
(CTMT-FJ = 9-1/4"-12" Range)
167
To order call toll free 1-800-333-6900, or www.invacare.com
Form No. 07-082

Front Rigging - Center Mount Rigging (CTMT-FJ with
CTMTFB One PC Flip-Up Footboard)
(CTMT-FJ = 9-1/4"-12" Range)
Item
Number Part Number DescriptionNote
Quantity Per
Package Assembly
1154209 Legrest Support Assembly, Center Mount Rigging 1 11 A
1113376 Ring, Retainer (1/4 x 1/2 x 1/64") 1 22
1113373 Pin, Angle Adjustable A.S.B.A. 1 13
1110669 Bearing, Flanged (1/2 x 13/16 x 1/2") 1 24
1121984 Support, Junior Legrest (CTMTJ/CTMT-FJ) 1 15
1113372 Rack, Center Mount Rigging Angle Adjustable 1 16
1021344 Screw, Socket Head Cap (5/16-18 x 1-1/2") 1 47
1021344 Screw, Socket Head Cap (5/16-18 x 1-1/2") 1 47
1154208 Footboard Assembly, CTMTFB (For CTMT-FJ
9-1/4"-12" Range) 1 18 B
1144608 Kit, Heel Stop and Extension Tube Mounting
Hardware 1 19 C
1026158 Locknut (5/16-18) 1 210
1124677 Bushing, Actuator Motor (3/8 x 3/4 x 5/32") 1 411
1148710 Screw, Hex Head (5/16-18 x 4") 1 212
1153789 Bracket, Heel Stop 1 213
1154108 Tube, Extension w/ Cap 1 214
1144607 Tube, Vertical Support w/ Caps 1 115 D
1144609 Package, End Caps (1" Square) 10 116
1147134 Kit, Footboard Mounting Hardware 1 117 E
1106223 Screw, Socket Head (3/8-16 x 2-1/2") 1 118
1065214 Washer, Flat (3/8 x 11/16 x 1/16") 1 119
1049527 Washer, Nylon (3/8 x 3/4 x 1/16") 1 220
1105039 Bushing (3/8 x 5/8 x 1/2") 1 121
1028486 Locknut, Low Profile (3/8-16) 1 122
1108457 Screw, Socket Set Flat (5/16-18 x 1") 1 123
1028769 Locknut (5/16-18) 1 124
1114311 Footboard w/ Cover (11-1/4" Wide x 11-1/2" Long) 1 125
A - Includes items 2-7
B - Includes items 9, 13, 14, 15, 17 and 25
C - Includes items 10-12
D - Vertical Support Tube includes Tube Caps at both ends
E - Includes items 18-24
NOTE:
168
To order call toll free 1-800-333-6900, or www.invacare.com
Form No. 07-082

Front Rigging - Center Mount Rigging (CTMT-F with
CTMTFB One PC Flip-Up Footboard)
(CTMT-F = 12-1/4" - 15" Range)
169
To order call toll free 1-800-333-6900, or www.invacare.com
Form No. 07-082

Front Rigging - Center Mount Rigging (CTMT-F with
CTMTFB One PC Flip-Up Footboard)
(CTMT-F = 12-1/4" - 15" Range)
Item
Number Part Number DescriptionNote
Quantity Per
Package Assembly
1148725 Legrest Support Assembly, Center Mount Rigging 1 11 A
1113376 Ring, Retainer (1/4 x 1/2 x 1/64") 1 22
1113373 Pin, Angle Adjustable A.S.B.A. 1 13
1110669 Bearing, Flanged (1/2 x 13/16 x 1/2") 1 24
1113609-NLA Support, Center Mount Rigging Legrest 1 15
1113372 Rack, Center Mount Rigging Angle Adjustable 1 16
1021344 Screw, Socket Head Cap (5/16-18 x 1-1/2") 1 47
1021344 Screw, Socket Head Cap (5/16-18 x 1-1/2") 1 47
1148722 Footboard Assembly, FBCTMT (For CTMT-F
12-1/4" - 15" Range & PCTMT 10"-13" Range) 1 18 B
1144608 Kit, Heel Stop and Extension Tube Mounting
Hardware 1 19 C
1026158 Locknut (5/16-18) 1 210
1124677 Bushing, Actuator Motor (3/8 x 3/4 x 5/32") 1 411
1148710 Screw, Hex Head (5/16-18 x 4") 1 212
1153789 Bracket, Heel Stop 1 213
1148711 Tube, Extension - Short (For CTMT-F 12-1/4" - 15"
Range & PCTMT 10"-13" Range) 1 214 F
1144607 Tube, Vertical Support w/ Caps 1 115 D
1144609 Package, End Caps (1" Square) 10 116
1147134 Kit, Footboard Mounting Hardware 1 117 E
1106223 Screw, Socket Head (3/8-16 x 2-1/2") 1 118
1065214 Washer, Flat (3/8 x 11/16 x 1/16") 1 119
1049527 Washer, Nylon (3/8 x 3/4 x 1/16") 1 220
1105039 Bushing (3/8 x 5/8 x 1/2") 1 121
1028486 Locknut, Low Profile (3/8-16) 1 122
1108457 Screw, Socket Set Flat (5/16-18 x 1") 1 123
1028769 Locknut (5/16-18) 1 124
1114311 Footboard w/ Cover (11-1/4" Wide x 11-1/2" Long) 1 125
A - Includes items 2-7
B - Includes items 9, 13, 14, 15, 17 and 25
C - Includes items 10-12
D - Extension Tube and Vertical Support Tube includes Tube Caps at both ends
E - Includes items 18-24
F - End Caps are no longer used or required for the extension tube as of 4/9/08
NOTE:
170
To order call toll free 1-800-333-6900, or www.invacare.com
Form No. 07-082

Center Mount Rigging Mounting Hardware
(CTMT-F/CTMT-FJ)
(12"-16" Wide) Non-Manual Tilt Chairs with ADJASBA Seats
171
To order call toll free 1-800-333-6900, or www.invacare.com
Form No. 07-082

Center Mount Rigging Mounting Hardware
(CTMT-F/CTMT-FJ)
(12"-16" Wide) Non-Manual Tilt Chairs with ADJASBA Seats
Item
Number Part Number DescriptionNote
Quantity Per
Package Assembly
1135960 Kit, Center Mount Rigging Mounting Hardware 1 11 A
1069724 T-Nut (5/16-18) 1 12
1056087 Screw, Socket Head (#10-32 x 1/2") 1 13
1061922 Screw, Hex Head Cap w/ Patch (5/16-18 x 1/2") 1 14
1146442 Bracket, Release Handle Mounting 1 15
1086207 Nut, Square (#10-32) 1 16
1113622 Cable/Brake Assembly 1 17
1113375 Pin, Quick Release (5" Long) 1 18
98007X005 Cable Tie (11-1/2" Long) 1 29
1071736 Screw, Socket Head Shoulder (5/16 x 1-5/8") 1 110
1025736 Locknut (1/4-20) 1 111
40163X008 Screw, Phillips Pan Head (#10-32 x 11/16") 1 212
1028527 Washer, Lock (3/16 x 5/16 x 1/32") 1 213
1113389 Housing, Ratchet 1 114
1113383 Bearing, Glide 1 115
1121079 Cable/Brake Assembly with Ratchet Housing and
Glide Bearing 1 116 B
A - Includes items 2-15
B - Includes items 7, 12, 13, 14 and 15
NOTE:
172
To order call toll free 1-800-333-6900, or www.invacare.com
Form No. 07-082

Center Mount Rigging Mounting Hardware
(CTMT-F/CTMT-FJ)
(12"-16" Wide) Manual Tilt Chairs with ADJASBA Seats
173
To order call toll free 1-800-333-6900, or www.invacare.com
Form No. 07-082

Center Mount Rigging Mounting Hardware
(CTMT-F/CTMT-FJ)
(12"-16" Wide) Manual Tilt Chairs with ADJASBA Seats
Item
Number Part Number DescriptionNote
Quantity Per
Package Assembly
1154220 Kit, Center Mount Rigging Mounting Hardware,
Manual Tilt 1 11 A
1069724 T-Nut (5/16-18) 1 12
1056087 Screw, Socket Head (#10-32 x 1/2") 1 13
1061922 Screw, Hex Head Cap w/ Patch (5/16-18 x 1/2") 1 14
1146442 Bracket, Release Handle Mounting 1 15
1086207 Nut, Square (#10-32) 1 16
1113622 Cable/Brake Assembly 1 17
1113375 Pin, Quick Release (5" Long) 1 18
98007X005 Cable Tie (11-1/2" Long) 1 29
1008495 Screw, Socket Button Head (1/4-20 x 1-1/2") 1 110
1122652 Screw, Hex Head (5/16-18 x 5/8") 1 411
1038379 Screw, Socket Head Cap w/ Patch (1/4-20 x 1-1/2") 1 412
1122618 Spacer (1/4 x 3/8 x 29/32") 1 413
1025195 Locknut (1/4-20) 1 114
1122613 Block, Threaded 1 215
1120286 Cap, Side Rail End 1 216
1029501 Plug Button, Black (1") 1 217
1026160 Spacer (5/16 x 7/16 x 3/8") 1 218
1151338 Support, Center Mount Rigging 1 119
1071736 Screw, Socket Head Shoulder (5/16 x 1-5/8") 1 120
1025736 Locknut (1/4-20) 1 121
40163X008 Screw, Phillips Pan Head (#10-32 x 11/16") 1 222
1028527 Washer, Lock (3/16 x 5/16 x 1/32") 1 223
1113389 Housing, Ratchet 1 124
1113383 Bearing, Glide 1 225
1121079 Cable/Brake Assembly with Ratchet Housing and
Glide Bearing 1 126 B
A - Includes items 2-25
B - Includes items 7, 22, 23, 24, 25
NOTE:
174
To order call toll free 1-800-333-6900, or www.invacare.com
Form No. 07-082

Center Mount Rigging Mounting Hardware
(CTMT-F/CTMT-FJ)
(16"-20" Wide) Chairs with ADJASBA Seats
175
To order call toll free 1-800-333-6900, or www.invacare.com
Form No. 07-082

Center Mount Rigging Mounting Hardware
(CTMT-F/CTMT-FJ)
(16"-20" Wide) Chairs with ADJASBA Seats
Item
Number Part Number DescriptionNote
Quantity Per
Package Assembly
1124701 Kit, CTMT-F/CTMT-FL/CTMT-FJ Center Mount
Riggings Mounting Hardware 1 11 A
98007X005 Cable Tie (11-1/2" Long) 1 22
1122652 Screw, Hex Head (5/16-18 x 5/8") 1 43
1026160 Spacer (5/16 x 7/16 x 3/8") 1 24
1122613 Block, Threaded 1 25
1038379 Screw, Socket Head Cap w/ Patch (1/4-20 x 1-1/2") 1 46
1122618 Spacer (1/4 x 3/8 x 29/32") 1 47
1120286 Cap, Side Rail End 1 28
1029501 Plug Button, Black (1") 1 29
1069724 T-Nut (5/16-18) 1 110
1056087 Screw, Socket Head (#10-32 x 1/2") 1 111
1125775 Bracket, Release Handle Mounting 1 112
1061922 Screw, Hex Head Cap w/ Patch (5/16-18 x 1/2") 1 113
1086207 Nut, Square (#10-32) 1 114
1113375 Pin, Quick Release (5" Long) 1 116
1025736 Locknut (1/4-20) 1 117
1071736 Screw, Socket Head Shoulder (5/16 x 1-5/8") 1 118
1113622 Cable/Brake Assembly 1 120
40163X008 Screw, Phillips Pan Head (#10-32 x 11/16") 1 221
1028527 Washer, Lock (3/16 x 5/16 x 1/32") 1 222
1113389 Housing, Ratchet 1 123
1113383 Bearing, Glide 1 124
1008495 Screw, Socket Button Head (1/4-20 x 1-1/2") 1 125
1025195 Locknut (1/4-20) 1 126
1122675 Support, Center Mount Rigging (16"-19" Seat
Depths) 1 115 C
1136001 Support, Center Mount Rigging (Long) (19"-22" Seat
Depths) 1 115 D
1121079 Cable/Brake Assembly with Ratchet Housing and
Glide Bearing 1 119 B
1113622 Cable/Brake Assembly 1 120
40163X008 Screw, Phillips Pan Head (#10-32 x 11/16") 1 221
1028527 Washer, Lock (3/16 x 5/16 x 1/32") 1 222
1113389 Housing, Ratchet 1 123
1113383 Bearing, Glide 1 124
A - Includes items 2-14, 16-18 and 20-26
B - Includes items 20-24
C - Support used for 16"-19" deep seats
D - Support used for 19"-20" deep seats. TDX SC models extend to 20" deep only
NOTE:
176
To order call toll free 1-800-333-6900, or www.invacare.com
Form No. 07-082

Power Articulating Legrest ELRPW/ELRPW22
TDX SC
177
To order call toll free 1-800-333-6900, or www.invacare.com
Form No. 07-082

Power Articulating Legrest ELRPW/ELRPW22
TDX SC
Item
Number Part Number DescriptionNote
Quantity Per
Package Assembly
1125436 Legrest Support Assembly, Sector, Black - Right 1 11 A
1125437 Legrest Support Assembly, Sector, Black - Left 1 11 A
1025454 Latch Housing - Right 1 12
1025455 Latch Housing - Left 1 12
1017423 Screw, Slotted Hex Washer Head (#10-32 x 1/2") 1 13
1025451 Screw, Slotted Hex Washer Head (#10-32 x 5/8") 1 24
1079203 Decal, Warning Pinch Point 1 15
1099685 Plug, Pivot 1 16
1091870 Screw, Socket Button Head w/ Patch
(1/4-20 x 3/4") 1 17
1125433 Cushion Pad - Right 1 18
1125434 Cushion Pad - Left 1 18
1025351 Screw, Socket Head Shoulder (5/16 x 1-1/4") 1 29
1025736 Locknut (1/4-20) 1 510
1025704 Washer, Flat (5/16 x 5/8 x 1/16") 1 111
1099671 Bearing, Flange (1/4 x 5/16" Long) 1 212
1026907 Washer (1/4 x 1/2 x 1/16") 1 1213
1012371 Washer, Nylon (3/8 x 7/8 x 1/16") 1 114
1125424 Plate, Pivot 1 115
1110746 Cover, Legrest Support - Right 1 116
1110747 Cover, Legrest Support - Left 1 116
1009837 Screw, Socket Button Head (1/4-20 x 1") 1 117
1091870 Screw, Socket Button Head w/ Patch
(1/4-20 x 3/4") 1 118
1101883 Glide 1 219
0175600 Spacer, Coved (5/16 x 3/4 x 3/8") 1 220
1110741 Extrusion, Internal Slide (14-1/4" Long) 1 121
1099702 Glide, Internal 1 122
1018846 Screw, Socket Button Head (#10-24 x 3/4") 1 123
1110972 Actuator Bracket Assembly 1 124 B
1082699 T-Nut (1/4-20) 1 1125
1100023 Screw, Button Head w/Patch (1/4-20 x 1/2") 1 1026
1087417 Screw, Socket Head Shoulder (5/16 x 1") 1 127
1110724 Motor, Actuator - Right 1 128
1110725 Motor, Actuator - Left 1 128
8881110977 Calf Pad Assembly with Mounting Hardware - Right 1 129 C
8881111715 Calf Pad Assembly with Mounting Hardware - Left 1 129 C
88804529X003 Pad, Legrest Vinyl - Right 1 130
88804529X004 Pad, Legrest Vinyl - Left 1 130
1110748 Hardware, Calf Pad Bracket 1 1D,F
1026033 Washer, Nylon (1/4 x 1/2 x 1/16") 1 431
1099700 Bracket, Calf Pad Mounting, Black 1 132
1026114 Screw, Phillips Pan Head (#10-32 x 1/2") 1 233
1025765 Locknut (1/4-28) 1 134
178
To order call toll free 1-800-333-6900, or www.invacare.com
Form No. 07-082

Power Articulating Legrest ELRPW/ELRPW22
TDX SC
Item
Number Part Number DescriptionNote
Quantity Per
Package Assembly
1074191 Screw, Socket Countersunk Head (1/4-28 x 1/2") 1 135
1099690 Block, Calf Pad 1 136
1111716 Bracket, Calf Pad Mounting, Black - Right 1 137
1111717 Bracket, Calf Pad Mounting, Black - Left 1 137
1078214 Screw, Hex Head Cap w/ Patch (1/4-20 x 1/2") 1 238
1110742 Bushing, Sleeve 1 139
1079151 Pin, Roll (5/64 x 5/8") 1 140
1121026 Extrusion, External (12-1/2" Long)
(ELRPW22 Before 7/22/04) and (ELRPW20 After
7/21/04)
1 141
1125435 Extrusion, External (14-1/2" Long) ELRPW22 1 141
1101114 Footplate Assembly - Right 1 142 E
1101115 Footplate Assembly - Left 1 142 E
1023965 Screw, Socket Head Cap (#10-32 x 1-1/2") 1 243
1028516 Washer (3/16 x 7/16 x 1/16") 1 244
1015629 Bushing 1 245
1101268 Heel Loop Assembly - Right 1 146
1101269 Heel Loop Assembly - Left 1 146
1060427 Footplate, Adjustable Angle - Large
(5-1/4" W x 8" L) 1 147
1029545 Screw, Socket Head Cap (1/4-20 x 3/4") 1 248
1008495 Screw, Socket Button Head (1/4-20 x 1-1/2") 1 149
1082686 Nut, Hex Head (1/4-20 x 11/16") 1 250
1052102 Hinge, Footplate - Right 1 151
1052103 Hinge, Footplate - Left 1 151
1048816 Screw, Nylon Adjustment (1/2-13 x 7/8") 1 152
1016301 Washer, Nylon (5/16 x 7/8 x 1/8") 1 253
1099678 Extrusion, Footplate Adapter 1 154
1126091 Legrest, Power Articulating (13"-20" Range) - Right
ELRPW 1 155
1126092 Legrest, Power Articulating (13"-20" Range) - Left
ELRPW 1 155
1126093 Legrest, Power Articulating (15"-22" Range) - Right
ELRPW22 1 155
1126094 Legrest, Power Articulating (15"-22" Range) - Left
ELRPW22 1 155
A - Includes items 2-7
B - Includes items 13, 25 and 26
C - Includes Items 25, 26 and 30-38
D - Includes Items 25, 26, 31-36, 38
E - Includes Items 10, 13, 25, 26 and 43-54
F - Not Shown
NOTE:
179
To order call toll free 1-800-333-6900, or www.invacare.com
Form No. 07-082

Dual Legs Integrated Actuator Module (DLIAM) MK6i
For ELRPW Front Riggings - TDX SC
180
To order call toll free 1-800-333-6900, or www.invacare.com
Form No. 07-082

Dual Legs Integrated Actuator Module (DLIAM) MK6i
For ELRPW Front Riggings - TDX SC
Item
Number Part Number DescriptionNote
Quantity Per
Package Assembly
1140032 Module, Dual Legs Integrated Actuator (DLIAM)
MK6i 1 11
1021742 Screw, Phillips Pan Head (#4-40 x 1/2") 1 22
181
To order call toll free 1-800-333-6900, or www.invacare.com
Form No. 07-082

MK6i Electronics
182
To order call toll free 1-800-333-6900, or www.invacare.com
Form No. 07-082

Oxygen Holder Assembly Kit
ADJASBA Seats
NOTE: Oxygen holder is not available on recliner options and the 12"-16" wide TDX SPREE ADJASBA
Seat Frame
183
To order call toll free 1-800-333-6900, or www.invacare.com
Form No. 07-082

Oxygen Holder Assembly Kit
ADJASBA Seats
NOTE: Oxygen holder is not available on recliner options and the 12"-16" wide TDX SPREE ADJASBA
Seat Frame
Item
Number Part Number DescriptionNote
Quantity Per
Package Assembly
1135504 Kit, Oxygen Holder Assembly For ADJASBA Seats 1 11 A
1116948 Oxygen Holder 1 12
1124403 Bracket, Oxygen Holder (ASBA and ADJASBA
Seats) 1 13
1045267 Screw, Hex Head (1/4-20 x 3/4") 1 44
1026907 Washer (1/4 x 1/2 x 1/16") 1 45
1025195 Locknut (1/4-20) 1 46
1043629 Screw, Hex Head Cap with Patch (5/16-18 x 1-1/4") 1 27
1079247 Washer, Flat (21/64 x 53/64 x 7/64") 1 28
1026158 Locknut (5/16-18) 1 29
1134793 Instruction Sheet, Oxygen Holder For ADJASBA
Seats 1 110
1021148 Bag, Poly Zip-Lip (6" Wide x 8-3/4" Long) 1 111
1021866 Bag, Poly (15" Wide x 26" Long) 1 112
1097276 Carton, Shipper 1 113
A - Includes items 2-13
NOTE:
184
To order call toll free 1-800-333-6900, or www.invacare.com
Form No. 07-082

Oxygen Holder Assembly Kit
Van Seat
185
To order call toll free 1-800-333-6900, or www.invacare.com
Form No. 07-082

Oxygen Holder Assembly Kit
Van Seat
Item
Number Part Number DescriptionNote
Quantity Per
Package Assembly
1116956 Assembly, Oxygen Holder (D or E Tanks) 1 11 A
1116950 Pad, Non-Skid 1 12
1080866 Decal, Oxygen Warning - English 1 13
1116945 Spring, Oxygen Holder 1 14
1072319 Screw, Socket Button Head (#10-32 x 1/2") 1 15
1025735 Locknut (#10-32) 1 16
1116957 Instruction Sheet, Oxygen Holder 1 17
1021866 Bag, Poly (15" Wide x 26" Long) 1 18
1063960 Carton 1 19
HFO2-ML6 Assembly, Oxygen Holder (Home Filled Tank) 1 110 A
A - Includes Oxygen Holder plus items 2-9. For seats with an EXTERNAL (visible) hinge assembly.
NOTE:
186
To order call toll free 1-800-333-6900, or www.invacare.com
Form No. 07-082

Headrest Supports, Tarsys
TDX SPREE with Manual Tilt Only
187
To order call toll free 1-800-333-6900, or www.invacare.com
Form No. 07-082

Headrest Supports, Tarsys
TDX SPREE with Manual Tilt Only
Item
Number Part Number DescriptionNote
Quantity Per
Package Assembly
0127700 Headrest, Curved (6"W x 7"H) 1 11
0022600 Headrest, Small Adjustable, Otto Bock
(9"W x 3-1/2"H) 1 11
0022400 Headrest, Large Adjustable, Otto Bock (12"W x 6"H) 1 11
0128000 Headrest, Two-Step (8-1/2"W x 5-1/2"H) 1 11
1128754 Headrest Bracket Assembly (Offset) 1 12
1127973 Kit, Headrest Clamp Hardware 1 13 A
1028410 Screw, Socket Button Head (1/4-20 x 7/8") 1 24
1026907 Washer (1/4 x 1/2 x 1/16") 1 45
0237422-NLA Clamp, Small Bottom Half 1 16 B
0237522-NLA Clamp, Small Top Half 1 17 B
1072439 Knob, Adjustment (1-3/8" Dia., 3/4" Long Threads) 1 18
1025736 Locknut (1/4-20) 1 29
1128725 Pin, Quick Release with Lanyard 1 110
0273100 Kit, Headrest Clamp 1 111 C
0288706 Screw, Socket Head (1/4-20 x 1") 1 212
A - Includes items 4-10
B - Clamp is no longer available individually. See item 11, Clamp Assembly - Part # 0273100 for replacement.
C - Includes items 6-9 and 12.
NOTE:
188
To order call toll free 1-800-333-6900, or www.invacare.com
Form No. 07-082

Back Cane Push Handle Attachments
(16" Wide) Conventional Back Non-Manual Tilt - TDX SPREE
189
To order call toll free 1-800-333-6900, or www.invacare.com
Form No. 07-082

Back Cane Push Handle Attachments
(16" Wide) Conventional Back Non-Manual Tilt - TDX SPREE
Item
Number Part Number DescriptionNote
Quantity Per
Package Assembly
1133259 Kit, Back Cane Push Handle Attachments (Pair) 1 11 A
1086460 Foam Hand Grip (4-1/2" Long) 1 22
1027095 Plug Button, Black (7/8") 1 23
1133221 Attachment, Back Cane Push Handle 1 24
1021406 Screw, Hex Head (1/4-20 x 1-1/4") 1 45
1047449 Spacer (1/4 x 3/8 x 3/16") 1 46
1025736 Locknut (1/4-20) 1 47
A - Includes items 2-7.
NOTE:
190
To order call toll free 1-800-333-6900, or www.invacare.com
Form No. 07-082

Miscellaneous Accessories
NOTE: Chest Positioning Straps share the same hardware that attaches the Back Upholstery
191
To order call toll free 1-800-333-6900, or www.invacare.com
Form No. 07-082

Miscellaneous Accessories
NOTE: Chest Positioning Straps share the same hardware that attaches the Back Upholstery
Item
Number Part Number DescriptionNote
Quantity Per
Package Assembly
See Chart #1 Positioning Straps 1 11
See Chart #1 Pelvic Restraint Belt For TRRO Option Only 1 11 C
1124385 Kit, Seat Positioning Strap Mounting Hardware (both
LT & RT sides) 1 12 A
1045267 Screw, Hex Head (1/4-20 x 3/4") 1 23
1026907 Washer (1/4 x 1/2 x 1/16") 1 24
1025195 Locknut (1/4-20) 1 25
1134055 Screw, Hex Head (3/8-24 x 5/8") 1 26
1134054 Bushing, Nylon (1/2 x 9/16 x 9/32") 1 27
1134056 Nut, Barrel (3/8-24) 1 28
40176X010 Tire Pump 1 1B
A - Includes items 3-5
B - Not Shown
C - Before ordering a replacement Pelvic Restraint Belt for TRRO Option, Please read the information provided on page titled
"TRRO and TRBKTS Option Clarification Reference" page
NOTE:
192
To order call toll free 1-800-333-6900, or www.invacare.com
Form No. 07-082

Miscellaneous Accessories
NOTE: Chest Positioning Straps share the same hardware that attaches the Back Upholstery
#1 Positioning Straps
Description 12"-15" Wide 16"-19" Wide 20" Wide
1034625
Positioning Strap,
Seat/Chest w/ Auto Style
Push Button Buckle
(Eyelet to Eyelet Length
61")
1004310
Positioning Strap,
Seat/Chest w/ Auto Style
Push Button Buckle
(Eyelet to Eyelet Length
48")
1036527
Positioning Strap,
Seat/Chest w/ Auto Style
Buckle
(Eyelet to Eyelet Length
33")
Auto Style
Push Button
See Note(s) A 1034752
Positioning Strap,
Seat/Chest w/ Airline Style
Buckle
(Eyelet to Eyelet Length
61")
1034625
Positioning Strap,
Seat/Chest w/ Auto Style
Push Button Buckle
(Eyelet to Eyelet Length
61")
N/AAirline Style
1034745
Positioning Strap,
Seat/Chest w/ Hook and
Loop Style Buckle
(Eyelet to Eyelet Length
61")
1034744
Positioning Strap,
Seat/Chest w/ Hook and
Loop Style Buckle
(Eyelet to Eyelet Length
45")
N/A
Hook and Loop
See Note(s) B See Note(s) B See Note(s) B
A - 12"-15" wide positioning straps come in rainbow color.
B - Hook and Loop style positioning strap for power chairs is used for chest positioning only
NOTE:
#1 Pelvic Restraint Belt For TRRO Option Only
Description 12"-16" Wide 16"-20" Wide
1134476
Belt, Pelvic Restraint w/ Auto Style
Push Button Buckle (Bushing Hole to
Bushing Hole Length 55")
1134475
Belt, Pelvic Restraint w/ Auto Style
Push Button Buckle (Bushing Hole to
Bushing Hole Length 37")
Auto Style
Push Button
See Note(s) A See Note(s) A
A - Includes the Pelvic Restraint Belt and items 6-8 NOTE:
193
To order call toll free 1-800-333-6900, or www.invacare.com
Form No. 07-082

Yes, you can. ™
Invacare Corporation www.invacare.com
One Invacare Way
Elyria, Oh USA
44036-2125
800-333-6900
Technical Support
800-832-4707
Florida Technical Support
407-321-5630
Customer Service
800-333-6900
Form No.
07-082
©2008 Invacare Corporation. Elyria, Ohio.
All rights reserved. Trademarks are
identified by the symbols ™ and ®. All
trademarks are owned by or licensed to
Invacare Corporation unless otherwise
noted. Otto Bock is a registered trademark
of Otto Bock Orthopaedische Industrie
GMBH & Co.. Tash is a registered
trademark of Tash International Inc..
Therafin is a registered trademark of
W/R/ Medical Electronics Co.. Bussman is a
registered trademark of Cooper Industries.
MIDI is a registered trademark of Littelfuse
Inc.. Dynamic is a registered trademark of
Dynamic Controls Limited.
(Revised 6/20/2008)