JVC GZ HD5AG M8H7 User Manual HD5AG, HD6AG LYT1878 005A
GZ-HD5AH GZ-HD5AH, GZ-HD6AH LYT1878-005A English, Guidebook
GZ-HD5AA GZ-HD5AA, GZ-HD6AA LYT1878-005A English, Guidebook
GZ-HD6AA GZ-HD6AA, GZ-HD6AG, GZ-HD6AH LYT1878-005A English, Guidebook
User Manual: JVC GZ-HD5AG GZ-HD5AG, GZ-HD6AG English, Guidebook
Open the PDF directly: View PDF
.
Page Count: 84
- Safety Precautions
- JVC Software License Agreement
- Contents
- GETTING STARTED
- RECORDING
- PLAYBACK
- EDITING/PRINTING
- COPYING
- PC OPERATION
- FURTHER INFORMATION

ENGLISH
EN
HD HARD DISK CAMCORDER
Dear Customers
Thank you for purchasing
this hard disk camera. Before
use, please read the safety
information and precautions
contained on pages 4 and 5 to
ensure safe use of this product.
GUIDEBOOK
AA/AG/AH
AA/AG/AH
GZ-HD5
GZ-HD6

2
1440
1080
1920
1080
Record in High-Definition!
Select the mode which suits your purpose.
• FHD To record in full high-definition
• SP To record in higher quality video
• LP To record a longer time
• 1440 CBR If you want to copy and edit the video as high-
definition images by i.LINK output
8 To change the settings
See page 66.
View in High-Definition!
Enjoy viewing images in high-definition image quality by
simply connecting the camera to a high-definition television
using an optional HDMI cable.
8 If the television is not equipped with an HDMI
connector
Use the component cable (included) and the AV cable
(included) to connect to the television.
8 To view on conventional or wide screen televisions
Use the AV cable (included). Images can be viewed with
standard picture quality.
High-definitionFull high-definition

3
ENGLISH
Back Up High-Definition Images
on DVD Discs!
Video can easily be backed up on a DVD disc by connecting to
a separate DVD burner (CU-VD40).
• This DVD disc can then be played in the camera or a PC, but
not in a DVD player.
• If a CU-VD40 is used, the DVD burner can be connected
directly to a television so the disc can be played without using
the camera.
Edit High-Definition Images on a
PC!
Perform advanced editing on high-definition images by loading to
a PC.

4
Safety Precautions
WARNING: TO PREVENT FIRE OR SHOCK
HAZARD, DO NOT EXPOSE THIS UNIT TO RAIN
OR MOISTURE.
CAUTIONS:
• If you notice smoke or a peculiar smell coming
from the camcorder or AC Adapter, shut it
down and unplug it immediately. Continue using
the camcorder or AC Adapter under these
conditions could lead to fire or electric shock.
Contact your JVC dealer. Do not attempt to
repair the malfunction yourself.
• To prevent shock, do not open the cabinet. No
user serviceable parts inside. Refer servicing to
qualified personnel.
• When you are not using the AC adapter for a
long period of time, it is recommended that you
disconnect the power cord from AC outlet.
• In certain areas, use the conversion plug
depending on the type of your AC wall outlet..
NOTES:
• The rating plate and safety caution are on the
bottom and/or the back of the main unit.
•
The serial number plate is on the battery pack mount.
• The rating information and safety caution of the
AC adapter are on its upper and lower sides.
WARNING:
The battery pack, the camera with battery
installed, and the remote control with battery
installed should not be exposed to excessive heat
such as direct sunshine, fire or the Iike.
CAUTION:
The mains plug shall remain readily operable.
Caution on Replaceable lithium battery
The battery used in this device may present a fire
or chemical burn hazard if mistreated.
Do not recharge, disassemble, heat above 100°C
or incinerate.
Replace battery with Panasonic (Matsushita
Electric), Sanyo, Sony or Maxell CR2025.
Danger of explosion or Risk of fire if the battery is
incorrectly replaced.
• Dispose of used battery promptly.
• Keep away from children.
• Do not disassemble and do not dispose of in fire.
When the equipment is installed in a cabinet or on
a shelf, make sure that it has sufficient space on
all sides to allow for ventilation (10 cm or more on
both sides, on top and at the rear).
Do not block the ventilation holes.
(If the ventilation holes are blocked by a
newspaper, or cloth etc. the heat may not be able
to get out.)
No naked flame sources, such as lighted candles,
should be placed on the apparatus.
When discarding batteries, environmental
problems must be considered and the local rules
or laws governing the disposal of these batteries
must be followed strictly.
The apparatus shall not be exposed to dripping
or splashing.
Do not use this equipment in a bathroom or
places with water.
Also do not place any containers filled with water
or liquids (such as cosmetics or medicines, flower
vases, potted plants, cups etc.) on top of this unit.
(If water or liquid is allowed to enter this
equipment, fire or electric shock may be caused.)

5
ENGLISH
Remember that this camera is intended for
private consumer use only.
Any commercial use without proper permission
is prohibited. (Even if you record an event such
as a show, performance or exhibition for personal
enjoyment, it is strongly recommended that you
obtain permission beforehand.)
Trademarks
• i.LINK is a trademark of Sony
Corporation.
• x.v.ColourTM is a trademark of
Sony Corporation.
• HDMI is a trademark of HDMI
Licensing, LLC.
• Windows® is either registered trademark or
trademark of Microsoft Corporation in the United
States and/or other countries.
• Macintosh is a registered trademark of Apple
Inc.
• Other product and company names included in
this instruction manual are trademarks and/or
registered trademarks of their respective holders.
CAUTION:
To avoid electric
shock or damage to
the unit, first firmly
insert the small end
of the power cord into
the AC Adapter until
it is no longer wobbly,
and then plug the
larger end of the power cord into an AC outlet.
If this symbol is shown, it is only
valid in the European Union.
Do not point the lens directly into the sun. This
can cause eye injuries, as well as lead to the
malfunctioning of internal circuitry. There is also a
risk of fire or electric shock.
CAUTION!
The following notes concern possible physical
damage to the camera and to the user.
Carrying or holding the camera by the LCD
monitor can result in dropping the unit, or in a
malfunction.
Do not use a tripod on unsteady or unlevel
surfaces. It could tip over, causing serious damage
to the camera.
CAUTION!
Connecting cables (Audio/Video, S-Video, etc.)
to the camera and leaving it on top of the TV is
not recommended, as tripping on the cables will
cause the camera to fall, resulting in damage.
6
JVC SOFTWARE LICENCE AGREEMENT
IMPORTANT
TO CUSTOMERS: PLEASE MAKE SURE TO
READ THIS CAREFULLY BEFORE INSTALLING
OR USING THE SOFTWARE PROGRAM
NAMED “DIGITAL PHOTO NAVIGATOR”
(“Program”) ON YOUR PC.
The right to use the Program is granted by Victor
Company of Japan, Limited (“JVC”) to You only
on the condition that You agree to the following.
Should You not agree to the terms hereof, You
may not install or use the Program. HOWEVER,
INSTALLING OR USING THE PROGRAM
INDICATES YOUR ACCEPTANCE OF THESE
TERMS AND CONDITIONS.
1 COPYRIGHT; OWNERSHIP
You acknowledge that all copyrights and other
intellectual property rights in the Program are
owned by JVC and its licensor, and remain
vested in JVC and such licensor. The Program is
protected under the copyright law of Japan and
other countries, and related Conventions.
2 GRANT OF LICENCE
(1) Subject to the conditions of this Agreement,
JVC grants to You a non-exclusive right to
use the Program. You may install and use the
Program on a HDD or other storage devices
incorporated in Your PC.
(2) You may make one (1) copy of the Program
solely for your personal backup or archival
purposes.
3 RESTRICTION ON THE PROGRAM
(1) You may not reverse engineer, decompile,
disassemble, revise or modify the Program,
except to the extent that expressly permitted
by applicable law.
(2) You may not copy or use the Program, in
whole or in part, other than as expressly
specified in this Agreement.
(3) You have no right to grant a licence to use the
Program, and may not distribute, rent, lease
or transfer the Program to any third party or
otherwise let them use the Program.
4 LIMITED WARRANTY
JVC warrants that any media in which the
Program is embodied are free from any defects
in materials and workmanship for a period of
thirty (30) days from the date of Your purchasing
any our products accompanying the Program.
JVC’s entire liability and your exclusive remedy
in connection with the Program shall be
replacement of such defective media. EXCEPT
FOR THE EXPRESS WARRANTIES STATED
HEREIN AND TO THE EXTENT PERMITTED BY
APPLICABLE LAW, JVC AND ITS LICENSORS
DISCLAIM ANY OTHER WARRANTIES, EITHER
EXPRESS OR IMPLIED, INCLUDING BUT
NOT LIMITED TO IMPLIED WARRANTIES
OF MERCHANTABILITY AND FITNESS FOR
A PARTICULAR PURPOSE IN REGARD TO
THE PROGRAM AND THE ACCOMPANYING
PRINTED MATERIALS. SHOULD THERE BE
ANY PROBLEM ARISING FROM OR CAUSED
BY THE PROGRAM, YOU SHOULD SETTLE
ALL SUCH PROBLEM AT YOUR OWN COST
AND EXPENSE.
5 LIMITED LIABILITY
TO THE EXTENT PERMITTED BY APPLICABLE
LAW, IN NO EVENT SHALL JVC AND ITS
LICENSORS BE LIABLE FOR ANY INDIRECT,
SPECIAL, INCIDENTAL OR CONSEQUENTIAL
DAMAGES WHATSOEVER, REGARDLESS
OF THE FORM OF ACTION WHETHER IN
CONTRACT, TORT OR OTHERWISE ARISING
OUT OF OR IN CONNECTION WITH THE USE
OF OR INABILITY TO USE THE PROGRAM,
EVEN IF JVC HAS BEEN ADVISED OF THE
POSSIBILITY OF SUCH DAMAGES. YOU
WILL INDEMNIFY AND HOLD HARMLESS
JVC FROM ANY LOSS, LIABILITY OR
COST ARISING OUT OF OR IN ANY WAY
CONNECTED TO CLAIMS FROM ANY THIRD
PARTY RELATING TO THE USE OF THE
PROGRAM.
JVC Software Licence Agreement

7
ENGLISH
6 TERM
This Agreement will become effective on the date
when You install and use the Program on Your
machine, and continue to be in effect until the
termination under the following provision.
Should You breach any provision of this
Agreement, JVC may terminate this Agreement
without giving any notice to You. In this event,
JVC may claim against You for any damages
caused by Your breach. Should this Agreement
be terminated, You must immediately destroy the
Program stored in Your machine (including the
erasing from any memory in Your PC), and no
longer own such Program.
7 EXPORT CONTROL
You agree that You will not ship, transfer or
export the Program or underlying information
and technology to any countries to which Japan
and other relevant countries have initiated an
embargo on such goods.
8 U.S. GOVERNMENT USER
If You are an agency of the United States of
America (the “Government”), You acknowledge
JVC’s representation that the Program is
a “Commercial Item” as defined in Federal
Acquisition Regulation (FAR) part 2.101 (g)
consisting unpublished “Commercial Computer
Software” as those items are used at FAR part
12.212 and is only licenced to You with the same
use rights JVC grants all commercial end users
pursuant to the terms of this Agreement.
9 GENERAL
(1) No modification, change, addition, deletion or
other alternation of or to this Agreement will
be valid unless reduced to writing and signed
by an authorized representative of JVC.
(2) If any part of this Agreement is held invalid by
or in conflict with any law having jurisdiction
over this Agreement, the remaining
provisions will remain in full force and effect.
(3) This Agreement shall be governed by and
interpreted under the laws of Japan. The
Tokyo District Court has jurisdiction over all
disputes which may arise with respect to the
execution, interpretation and performance of
this Agreement.
Victor Company of Japan, Limited
NOTE
If You acquired the Program in Germany, the
provisions of Sections 4 (Limited Warranty)
and 5 (Limited Liability) provided above will be
replaced with those of the German version of this
Agreement.
CAUTION:
• Operate this equipment according to the
operating procedures described in this manual.
• Use only the provided CD-ROM. Never use any
other CD-ROM to run this software.
• Do not attempt to modify this software.
• Changes or modifications not approved by
JVC could void user’s authority to operate the
equipment.
How to handle a CD-ROM
• Take care not to soil or scratch the mirror
surface (opposite to the printed surface). Do
not write anything or put a sticker on either
the front or back surface. If the CD-ROM
gets dirty, gently wipe it with a soft cloth
outward from the centre hole.
• Do not use conventional disc cleaners or
cleaning spray.
• Do not bend the CD-ROM or touch its mirror
surface.
• Do not store your CD-ROM in a dusty, hot or
humid environment. Keep it away from direct
sunlight.
You can find the latest information (in
English) on the provided software program at
our world wide web server at http://www.jvc-
victor.co.jp/english/global-e.html

8
Contents
GETTING STARTED
Accessories .......................................... 10
Attaching/Detaching the Lens Hood ............10
Attaching the Shoulder Strap .......................11
Preparing the Remote Control .....................11
Attaching the Core Filter to the USB Cable
and DC cord .............................................. 11
Index ...................................................... 12
Indications on LCD Monitor ................. 14
Necessary Settings before Use ........... 16
Charging the Battery Pack ...........................16
Language Setting ........................................17
Date/Time Setting ........................................17
Other Settings ....................................... 18
Grip Adjustment ...........................................18
Tripod Mounting ...........................................18
When Using a microSD Card ......................18
RECORDING
Recording Files ..................................... 20
Video Recording ..........................................20
Still Image Recording ..................................21
Zooming .......................................................22
Registering Files to Events ..........................22
Checking the Remaining Space on the
Recording Media ...................................... 23
Checking the Remaining Battery Power ......23
Manual Recording ............................... 24
To Change to Manual Recording Mode ....... 24
Program AE .................................................24
Manual Focus .............................................. 25
Nightscope ...................................................25
Backlight Compensation ..............................25
Spot Exposure Control ................................26
Manual Setting in Function Menu ................26
PLAYBACK
Playing Back Files ................................ 29
Video Playback ...........................................29
Still Image Playback ...................................30
File Search Function ....................................31
To Play Back TPD Files ...............................32
Playback with Special Effects ......................32
Watching Images on TV........................ 35
Connection with TV......................................35
Playback Operation .....................................36
EDITING/PRINTING
Managing Files ...................................... 37
Deleting/Protecting Files ..............................37
Viewing File Information ..............................39
Changing the Event Registration of Video
Files after Recording ................................. 40
To Extract a Still Image File from a
Video File ................................................. 40
DPOF Print Setting .....................................41
Playlists ................................................. 43
Creating Playlists ........................................43
Playing Back Playlists ..................................44
Other Operations of Playlists .......................45
COPYING
Copying Files ........................................ 46
Using a DVD Burner to Copy Files from the
Camera .....................................................46
Using a VCR/DVD Recorder to Dub Files from
the Camera ...............................................49
Copying/Moving Still Image Files.................51

9
ENGLISH
Read This First!
Make a backup of important recorded data
It is recommended to copy your important
recorded data to a DVD or other recording
media for storage. (Z p. 46) JVC will not be
responsible for any lost data.
Make a trial recording
Before the actual recording of important data,
make a trial recording and play back the
recorded data to check that the video and
sound have been recorded correctly.
Reset the camera if it does not operate
correctly
This camera uses a microcomputer. Factors
such as background noise and interference
can prevent it from operating correctly. If the
camera does not operate correctly, reset the
camera. (Z p. 76)
Precautions on handling batteries
• Be sure to use the JVC BN-VF815U/
VF823U battery packs.
• If the camera is subjected to electrostatic
discharge, turn the power off before using it
again.
If a malfunction occurs, stop using the
camera immediately and consult your
local JVC dealer
• If a problem occurs when using the
microSD card, take the card together with
the camera for repair. If one of them is
not included, the cause of the malfunction
cannot be diagnosed, and the camera
cannot be repaired.
• Recorded data may be erased while the
camera is being repaired or inspected. Back
up all data before requesting repairs or
inspections.
Because cameras may be used
for demonstration in a shop, the
demonstration mode is set to on by
default
To deactivate the demonstration mode, set
[DEMO MODE] to [OFF]. (Z p. 69)
Do not cover the fan (Z p. 12 &, C)
If the camera becomes too hot inside it may
cause a malfunction.
PC OPERATION
File Backup on a Windows® PC ........... 52
System Requirements ................................. 52
Software Installation ....................................53
Connecting the Camera to the PC ...............55
File Backup on the PC .................................56
File Backup on the PC without Using
Software .................................................... 57
Other Windows® PC Operations .......... 58
Playing Back Files on the PC ......................58
Creating Discs/Editing Files .........................59
Getting More Use of the Software ............... 60
File Backup on a Macintosh ................ 61
System Requirements ................................. 61
Software Installation ....................................61
Connecting the Camera to the Macintosh ... 62
File Backup on the Macintosh .....................63
Folder Structure and Extensions ........ 64
Customer Support Information ........... 65
FURTHER INFORMATION
Changing the Menu Settings ............... 66
Troubleshooting .................................... 72
Warning Indications ............................. 77
Cleaning ................................................ 79
Specifications ....................................... 80
Cautions ................................................ 82
Terms ..................................................... 84

10
AC Adapter
AP-V14E
Power Cord Battery Pack
BN-VF815U
Component Cable
(Z p. 35)
Audio/Video Cable
(Z p. 36, 50)
USB Cable
(Z p. 46, 55, 62)
GZ-HD6
Lens Hood
Already attached to the
camera. (Z below)
Shoulder Strap
(Z p. 11)
CD-ROM
(Z p. 53, 61)
Remote Control
RM-V750U (Z p. 11)
Lithium Battery
CR2025
Pre-installed in the
remote control unit.
Core Filter
(Z p. 11)
NOTE
Make sure to use the provided cables for connections. Do not use any other cables.
GZ-HD6
Attaching/Detaching the Lens Hood
Guide ridge
Place the guide
ridge in the groove.
GETTING STARTED
Accessories

11
ENGLISH
Attaching the Shoulder Strap
Peel off the pad and thread
the end of the strap through
the eyelet.
Thread the strap through the
buckle, adjust its length, and use
the strap guide to fix it in place.
Position the buckle near
the eyelet and reattach
the pad.
Preparing the Remote Control
A battery is included inside the remote control at the time of purchase.
Remove the insulation sheet before use.
Beam Effective Area
NOTE
The transmitted beam may not be effective
or may cause incorrect operation when the
remote sensor is directly exposed to sunlight
or powerful lighting.
To Reinsert the Battery
Pull out the battery holder by pressing the
lock tab.
Eyelet
Strap Guide
Buckle
Effective distance:
Max. 5 m
Remote Sensor
Lock Tab
Lithium Battery
(CR2025)
Attaching the Core Filter to the USB Cable and DC cord
Attach the core filter (Large) to the USB cable. Also, attach the core filter (Small) to the DC cord.
The core filter reduces interference. Connect the end of the cable with the core filter to the camera.
Release the stopper. 3 cm Wind once.

12
NOTES
• The LCD monitor can rotate 270°.
• Power-linked operation
You can also turn the camera on/off by
opening/closing the LCD monitor.
• Be careful not to cover sensors 5, < and =
during shooting.
Index

13
ENGLISH
6 Grip Strap (Z p. 18)
7 USB (Universal Serial Bus) Connector [ 2 ]
(Z p. 46, 55, 62)
8 HDMI Connector [HDMI] (Z p. 35)
9 Component Connector [COMPONENT]
(Z p. 35)
: Audio/Video Connector [AV] (Z p. 36, 50)
; i.LINK Connector [ i ] (Z p. 49)
< Remote Sensor (Z p. 11)
= Lens Cover/Lens
>
GZ-HD6
Lens Hood (Z p. 10)
? Shoe
@ microSD Card Slot (Z p. 19)
A Stud Hole (Z p. 18)
B Tripod Mounting Socket (Z p. 18)
C Fan inlet
D Battery Release Button [BATT.] (Z p. 16)
E Battery Pack Mount (Z p. 16)
Remote Control
Q Infrared Beam Transmitting Window
R ZOOM (T/W) Buttons
(Zoom in/out during playback.)
S Up Button
Rotate Button (counterclockwise) (Z p. 30)
T Skip Backward Button
U Left Button
V Back Button
W PLAYLIST Button (Z p. 43)
X START/STOP Button
Y SNAPSHOT Button (Z p. 21)
Z INFO Button (Z p. 39)
a Skip Forward Button
b PLAY/PAUSE Button
c Right Button
d Next Button
e Down Button
Rotate Button (clockwise) (Z p. 30)
f INDEX Button
g DATE Button
NOTE
You can move the zooming area with the up/
down/left/right button during zoom in playback
mode.
Camera
! Index Button [INDEX] (Z p. 31)/
Remaining Space Button/
Data Battery Button [ 0 / 1 ] (Z p. 23)
# Set Lever
Move to ¡ :
Reverse Skip (Z p. 29)/Up/ Backlight
Compensation Button [BACK LIGHT]
(Z p. 25)
Move to ¢ :
Forward Skip (Z p. 29)/Down/ Manual
Focus Button [FOCUS] (Z p. 25)
Move to £ :
Reverse Search (Z p. 29)/Left/
Nightscope [NIGHT] (Z p. 25)
Move to ¤ :
Forward Search (Z p. 29)/Right/Program
AE [PROGRAM AE] (Z p. 24)
Press down:
Play/Pause (Z p. 29)
$ Function Button [FUNCTION] (Z p. 26)
% Auto/Manual Mode Button [AUTO]
(Z p. 24)/Information Button [INFO]
(Z p. 39)
& Fan outlet
( Playback/Recording Mode Switching
Button [PLAY/REC] (Z p. 20)
) Zoom Lever [W 7 , T ,] (Z p. 22)
Speaker Volume Control [–VOL+] (Z p. 29)
* Still Image Shooting Button [SNAPSHOT]
(Z p. 21)
+ Access/Charge Lamp [ACCESS/CHARGE]
(Z p. 16) (Blinks when you access files
or charge the battery. Do not turn off the
power or remove the battery pack/AC
adapter while accessing files.)
Video/Still Image Mode Lamp [ !, # ]
(Z p. 20, 21)
, LCD Monitor
- Direct Backup Button [DIRECT BACK UP]
(Z p. 56)/Event Button [EVENT] (Z p. 22)
. Focus Assist Button [FOCUS ASSIST]
(Z p. 25)
/ Menu Button [MENU] (Z p. 17, 66)
0 Video Recording Start/Stop Button [REC]
(Z p. 20)
1 DC Input Connector [DC] (Z p. 16)
2 Microphone Input Connector [MIC]
3
GZ-HD6
Headphone Connector
4 Power/Mode Switch [OFF (CHARGE), ON,
MODE] (Z pg. 16)
5 Stereo Microphone

14
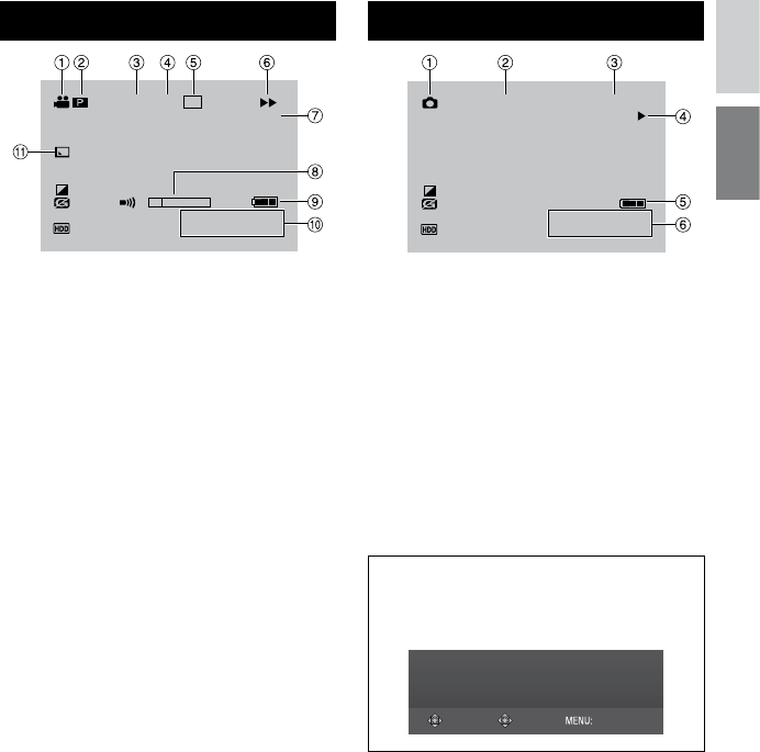
During both Video and Still Image
Recording
W T
0
FOCUS
200X
F5.6
1/4000
LCD
16:55
20.01.2008
! Selected Recording Mode Indicator
(Z p. 24)
# Tele Macro Mode Indicator (Z p. 28)
$ Approximate Zoom Ratio (Z p. 22)
% Zoom Indicator (Z p. 22)
& Focus Assist Indicator (Z p. 25)
( Shutter Speed (Z p. 27)
) Brightness/Sharpness Control Indicator
(Z p. 28, 69)
* Battery Indicator (Z p. 23)
+ Date/Time (Z p. 17)
, Manual Focus Adjustment Indicator
(Z p. 25)
- Monitor Backlight (Z p. 69)
. Selected Recording Medium Indicator
(Z p. 67, 68)
/ Drop Detection Indicator (Appears when
[DROP DETECTION] is set to [OFF].)
(Z p. 69)
0 Effect Mode Indicator (Z p. 28)
1 Program AE Mode Indicator (Z p. 24)/
5 : Nightscope Indicator (Z p. 25)
2 White Balance Indicator (Z p. 27)
3 Aperture Value (F-number) (Z p. 27)
4 ±0 : Exposure Adjustment Indicator
(Z p. 27)
- : Backlight Compensation Indicator
(Z p. 25)
. : Spot Exposure Control Indicator
(Z p. 26)
C : Iris Lock Indicator (Z p. 26)
During Video Recording Only
RE C
0:04:01
[4h59m]
FHD
xvC
! Mode Indicator (Z p. 20)
# Wind Cut Indicator (Z p. 67)
$ x.v.ColourTM (Z p. 67)
% Picture Quality (Z p. 66)
& Remaining Time (Z p. 20, 81)
( Counter (Z p. 67)
)
7REC : (Appears during recording.)
(Z p. 20)
79 : (Appears during record-standby
mode.)
* External Microphone Input Level Indicator
(Z p. 67)
+ Event Indicator (Z p. 22)
, Optical Image Stabiliser (OIS) Indicator
(Appears when [OIS] is set to [OFF].)
(Z p. 67)
During Still Image Recording Only
PHOTO
[9999]
FINE
10
1920
! Mode Indicator (Z p. 21)
# ISO Sensitivity
(GAIN): When set to [AUTO], there is no
indication. (Z p. 67)
$ Focus Indicator (Z p. 21)
% Image Size (Z p. 67)
& Picture Quality (Z p. 67)
( Remaining Number of Shots (Z p. 81)
) { : Continuous Shooting Mode Indicator
(Z p. 68)
J : Bracket Shooting Mode Indicator
(Z p. 68)
* Shooting Indicator (Z p. 21)
+ Self-Timer Recording Indicator (Z p. 68)
Indications on LCD Monitor

15
ENGLISH
During Video Playback
1:55:01
X-60
FHD
xvC1080p
16:55
20.01.2008
! Mode Indicator (Z p. 29)
# 6 : Playlist Playback Indicator (Appears
when playing back a playlist.) (Z p. 44)
$ Output with 1080p (Z p. 70)
% x.v.ColourTM (Z p. 67)
& Picture Quality (Z p. 66)
( Playback Mode (Z p. 29)
U : Playback
9 : Pause
5
: Forward Search
3
: Reverse Search
9U : Forward Slow-Motion
Y9 : Reverse Slow-Motion
(The number on the left shows speed.)
) Counter (Z p. 67)
* Volume Level Indicator
+ Battery Indicator
, Date/Time (Z p. 68)
- Wipe/Fader Effect Indicator (Z p. 34)
During Still Image Playback
101-0098
16:55
20.01.2008
1080p
! Mode Indicator (Z p. 30)
# Output with 1080p (Z p. 70)
$ Folder/File Number
% Slide Show Playback Indicator (Z p. 30)
& Battery Indicator
( Date/Time (Z p. 68)
Operation guide display
The operation guide is displayed at the
bottom of the screen during menu display
etc.
SELECT SET QUIT

16
Be sure to configure the following 3 settings
before use.
Charging the Battery Pack
1 Set the power/mode switch to OFF.
OFF
(CHARGE)
2 Attach the battery pack.
BATT.
3 Connect the AC adapter.
• The access/charge lamp blinks to
indicate charging has started.
• When the lamp goes out, charging is
finished.
Required charging/recording time (approx.)
Battery pack Charging time Recording
time
BN-VF815U
(Provided) 2 hr. 40 min.
GZ-HD5
1 hr. 25 min.
GZ-HD6
1 hr. 20 min.
BN-VF823U 3 hr. 50 min.
GZ-HD5
2 hr. 05 min.
GZ-HD6
2 hr. 00 min.
8 To detach the battery pack
Slide and hold BATT. (step 2), then remove
the battery pack.
8 To check the remaining battery power
See page 23.
NOTES
• You can also use the camera with just the
AC adapter.
• Please do not pull or bend the AC adapter
plug and cable. This may damage the AC
adapter.
DC Connector
AC Adapter To AC Outlet
(110V to 240V)
Necessary Settings before Use

17
ENGLISH
Language Setting
The language on the display can be changed.
1 Set the power/mode switch to ON.
ON
2 Select the menu mode.
MENU
3 Select [GENERAL].
¬
Select
Set
SP
ZOOM
QUALITY
OIS
VIDEO
SELECT SET QUIT
SCENE COUNTER
EXTERNAL MIC LEVEL
4 Select [LANGUAGE].
Select
Set
DISPLAY
DISPLAY ON TV
CLOCK ADJUST
LANGUAGE
DATE DISPLAY STYLE
GENERAL
SELECT SET QUIT
5 Select the desired language.
Select
Set
ENGLISH
LANGUAGE
SELECT SET QUIT
DEUTSCH
8 To return to the previous screen
Move the set lever to £.
8 To exit the screen
Press the MENU button.
Date/Time Setting
After performing steps 1-3 (Z left column)
4 Select [CLOCK ADJUST].
Select
Set
5 Set the date and time.
Select
Set
31 01
11 07
2007
DATE TIME
CLOCK ADJUST
SELECT SET QUIT
Repeat this step to input the month, day,
year, hour and minute.
8 To return to the previous screen
Move the set lever to £.
8 To exit the screen
Press the MENU button.

18
Grip Adjustment
Open the pad and make grip adjustments.
Tripod Mounting
Align the camera stud hole with the tripod
stud, and the mounting socket with the screw,
and then rotate the camera clockwise to
mount it to the tripod.
Bottom of the Camera
NOTE
Do not use a tripod on unsteady or unlevel
surfaces. It could tip over, causing serious
damage to the camera.
When Using a microSD Card
If you want to record to a microSD card, the
following 3 operations need to be performed.
• Operations are certified on the following
microSD cards.
- Panasonic
- TOSHIBA
- SanDisk
- ATP
Video recording:
Class 6 compatible SDHC card (4 GB)
Still image recording:
microSD card (128 MB to 2 GB) or SDHC
card (4 GB)
• If other media are used, they may fail to
record data correctly, or they may lose data
that had already been recorded.
• MultiMediaCards are not supported.
• Files are recorded on a microSD card in
SP mode, regardless of the picture quality
setting. You cannot dub these files on HDV
devices in high-definition picture quality.
• Cards used to record video on this camera
cannot be played back on other devices.
Other Settings

19
ENGLISH
Q Insert a microSD card
Preparation:
Set the power/mode switch to OFF.
1 Open the microSD card cover.
2 Firmly insert the card with its clipped
edge first.
Bottom of the Camera
3 Close the microSD card cover.
8 To remove a microSD card
Push the microSD card once.
After the card comes out a little, pull it out.
NOTES
• Insert and remove the microSD card only
while the power is turned off. Otherwise,
data on the card may be corrupted.
• Do not touch the terminal on the reverse
side of the label.
R Change the recording medium
The camera is programmed to record on the
built-in hard disk when it is shipped from the
factory. You can change the recording medium
to microSD card.
Set [REC MEDIA FOR VIDEO] and
[REC MEDIA FOR IMAGE] to [SD].
(Z p. 67, 68)
NOTE
Video picture quality will automatically be set
to [SP].
S Format a microSD card when using it
for the first time
This will also ensure stable speeds and
operation when accessing the microSD card.
Select [EXECUTE] in [FORMAT SD
CARD] to format the card. (Z p. 71)

20
Video Recording
Preparation: Set the power/mode switch to ON.
Press the PLAY/REC button to
select the recording mode.
PLAY/REC
SELECT
The lens cover opens automatically.
Press the REC button to start
recording.
REC
[4h59m]
SP
Approximate remaining
time for recording
8 To stop recording
Press the REC button again.
8 To change the picture quality
Change the settings in [QUALITY].
(Z p. 66)
8 To register a file to an event
See page 22.
Slide the power/mode switch to
MODE to select ! (video) mode.
MODE
The switch returns to
the original position
when it is released.
The ! lamp on the camera lights up.
NOTES
• If the camera is not operated for 5 minutes while the power is on, it turns itself off automatically
to conserve power. To turn the camera on again when using the battery pack, set the power/
mode switch to OFF, then to ON. When using the AC adapter, perform any operation such as
zooming.
• Video files are given the names MOV001.TOD to MOV009.TOD, MOV00A.TOD to
MOV00F.TOD, and MOV010.TOD in order of recording.
• A new file will be created for every 4 GB or approx. 19 minutes of continuous shooting.
• This camera records video in MPEG2 format compliant with SD-VIDEO format.
• Do not move or shake the camera suddenly during recording. If you do so, the driving sound
(hum) of the hard disk may be recorded.
RECORDING
Recording Files

21
ENGLISH
Still Image Recording
Preparation: Set the power/mode switch to ON.
Slide the power/mode switch to
MODE to select # (still image)
mode.
MODE
The switch returns to
the original position
when it is released.
The # lamp on the camera lights up.
Press the PLAY/REC button to
select the recording mode.
PLAY/REC
SELECT
19
The lens cover opens automatically.
Press and hold the SNAPSHOT
button halfway.
[
FINE
1920
The ? indicator becomes green when
the captured image is focused.
Press the SNAPSHOT button to
start recording.
PHOTO
[9999]
FINE
20
NOTES
• If the camera is not operated for 5 minutes while the power is on, it turns itself off automatically
to conserve power. To turn the camera on again when using the battery pack, set the power/
mode switch to OFF, then to ON. When using the AC adapter, perform any operation such as
zooming.
• The sides of still images recorded in 16:9 size may be cut off when printed. Check whether
16:9 size prints can be printed at your local print store.
8 To change the picture quality
Change the settings in [QUALITY].
(Z p. 67)
8 To record still images continuously
Set [CONTINUOUS SHOOTING] to [ON].
(Z p. 68)
8 To change the image size
Change the settings in [IMAGE SIZE].
(Z p. 67)

22
Recording Files (Continued)
Zooming
Preparation:
• Select ! or # mode.
• Select the recording mode.
Zoom out Zoom in
W: Wide angle T: Telephoto
Maximum zoom ratio is 10X (factory-preset).
8 To change the maximum zoom ratio
(for ! mode only)
Change the settings in [ZOOM]. (Z p. 67)
NOTE
Macro shooting is possible as close as
approx. 5 cm to the subject when the zoom
lever is set all the way to W.
Registering Files to Events
– ! mode only
If you select an event to register the file toevent to register the file to
before starting recording, the file will be
registered to the selected event, thus making
the file easy to find at playback.
Preparation:
• Select ! mode.
• Select the recording mode.
1
BACKUP
EVENT
DIRECT
2 Select [ON/SELECT].
Select
Set
ON/SELECT
CHANGE EVENT REG.
OFF
3 Select the event that you want to
register the file to.
To cancel the event registration, select
[NON SECTION].
Select
Set
VACATION 1/ 3
NON SECTION NEXT PAGE
SELECT SET QUIT
The selected event is displayed on the
screen.
8 To exit the screen
Press the EVENT button.
8 To search by event for a file to play back
See page 31.
NOTE
Once you select a certain event to register a
file, the setting will remain even if you turn the
power off.

23
ENGLISH
Checking the Remaining Space on the
Recording Media – ! mode only
Preparation:
• Select ! mode.
• Select the recording mode.
INDEX
MAX RECORDING TIME
5h00m
7h00m
12h00m
5h00m
HDD
FREE
USED
The maximum recording time is displayed for
each picture quality mode.
8 To return to the normal screen
Press the 0 / 1 button again.
Checking the Remaining Battery
Power
Preparation:
• Set the power/mode switch to OFF.
• Attach the battery pack.
INDEX
BATTERY CONDITION
MAX TIME
min
100%
50%
0%
Battery information is displayed for approx.
3 seconds if the button is pressed and
released quickly, and for approx. 15 seconds
if the button is pressed and held for several
seconds.
NOTE
The recordable time display should only be
used as a guide. It is displayed in 10 minute
units.

24
Manual recording mode enables you to set
the focus and screen brightness etc. manually.
To Change to Manual Recording
Mode
Preparation:
• Select ! or # mode.
• Select the recording mode.
AUTO
INFO
8 To return to the auto recording mode
Press the AUTO/INFO button so that the 4
indicator appears.
Program AE
You can record videos or still images with
optimum brightness by adjusting the exposure
and shutter speed to suit your surroundings or
the subject.
In the manual recording mode;
1
2 Select the desired setting.
For details on each setting, see below.
Select
Set
OFF
8 To cancel the program AE
Select [OFF] in step 2.
8 Items for program AE setting
• 6 PORTRAIT:
The subject in the foreground is
accentuated by blurring the background.
• H SPORTS:
Records fast moving subjects clearly.
• G SNOW:
Compensates for subjects that may
appear too dark when shooting in
extremely bright surroundings, such as
in snow.
• / SPOTLIGHT:
Select this when a spotlight makes a
subject appear too bright.
• V TWILIGHT:
Makes evening scenes look more natural.
Manual Recording

25
ENGLISH
Manual Focus
In the manual recording mode;
1
F
O
C
U
S
2 Adjust the focus.
4 :
J A N . 2
8 To cancel the manual focus setting
Move the set lever to ¢ (FOCUS) so that
the @/A indicator disappears.
Focus Assist
The image becomes black and white. The
outline of focused object is displayed in
blue. Use this for adjusting the focus more
precisely.
1
FOCUS ASSIST
FOCUS
2 Adjust the focus, then press down
the set lever to fix the focus.
¬
8 To cancel the focus assist mode
Press the FOCUS ASSIST button again.
NOTE
If you use focus assist in dark places, the
rough area of the image appears in colour,
and the outline colour becomes difficult to
see.
Nightscope
Nightscope enables recording with more
sensitivity in dim locations, by adjusting the
shutter speed automatically.
In the manual recording mode;
N
I
G
H
T
8 To cancel NightscopeNightscope
Move the set lever to £ (NIGHT) so that the
5 indicator disappears.
NOTE
It is recommended to use the tripod (Z p. 18)
because the shutter speed becomes slow.
Backlight Compensation
Backlight compensation brightens the subject
by increasing the exposure.
In the manual recording mode;
8 To cancel backlight compensation
Move the set lever to ¡ ( - ) twice so that
the - indicator disappears.

26
Spot Exposure Control
Use this function when backlight
compensation does not work well, or to adjust
the brightness in the desired spot.
In the manual recording mode;
1 Move twice.
2 Select the desired spot metering area
frame.
Select
Set
[5h56m]
SP
8 To lock the exposure
After you finish configuring the setting, press
and hold the set lever for more than 2 seconds.
The
C
indicator appears.
8 To cancel spot exposure control
Move the set lever to ¡ ( - ) once so that
the . indicator disappears.
Manual Recording (Continued)
Manual Setting in Function Menu
You can use manual recording functions
easily by selecting items in the function
menus.
The following illustrations of display
screens are examples of when [EFFECT] is
set to [SEPIA].
In the manual recording mode;
1
FUNCTION
2 Select the desired menu.
For details on each menu, see below.
Select
Set
ZEBRA
WB
TELE MACRO
CUSTOM SETTING
EFFECT
APERTURE PRIORITY
SHUTTER SPEED
ADJUST BRIGHTNESS
3 Select the desired setting.
Select
Set
EFFECT
STROBE
CLASSIC FILM
MONOTONE
SEPIA
OFF
4
FUNCTION
EFFECT
STROBE
CLASSIC FILM
MONOTONE
SEPIA
OFF
The menu disappears and the indicator for
the set function appears.
8 To return to the previous screen
Move the set lever to £.
8 To exit the screen
Press the FUNCTION button.

27
ENGLISH
Menus Settings: [ ] = Factory-preset
ADJUST BRIGHTNESS
Adjusts the brightness.
For ! mode
[AUTO]: The brightness is adjusted automatically.
–6 to +6: Corrects the brightness within this range in increments
of 1. Move the set lever to ¡ / ¢ to set the value.
For # mode
[±0]: The brightness is not adjusted.
–2.0 to +2.0 (EV): Corrects the brightness within this range in
increments of 1/3EV. Move the set lever to ¡ / ¢ to set the
value.
8 To lock the exposure
When the menu disappears after you finish configuring the
setting, press and hold the set lever for more than 2 seconds.
The C indicator appears.
SHUTTER SPEED
A fast shutter speed can
freeze the motion of a
fast-moving subject, and
a slow shutter speed can
blur the subject to give the
impression of motion.
[AUTO]: The shutter speed is adjusted automatically.
1/2 to 1/4000:
The smaller the value, the faster the shutter speed. Move the
set lever to ¡ / ¢ to set the value.
NOTE
It is recommended to use a tripod (Z p. 18) when recording with a slow
shutter speed.
APERTURE PRIORITY
You can add a blurring
effect to the background
by setting the aperture
value (F-number).
[AUTO]: The aperture value is adjusted automatically.
F1.8 to F8:
The lower the F-number (larger aperture value), the more
blurred the background will become. The higher the F-number
(smaller aperture value), the clearer the focus will be for both
near and far objects. Move the set lever to ¡ / ¢ to set the
value.
NOTE
If the image is too bright, set to a larger F-number. If the image is too
dark, set to a smaller F-number.
WB
Adjusts the white balance
to achieve the optimum
colours for the amount of
light in your surroundings
during recording.
@ [AUTO]: White balance is adjusted automatically.
B MWB: Adjusts the white balance manually depending on the
light source.
1) Hold a sheet of plain white paper in front of
the subject so that the white paper fills the
screen.
2) Press and hold the set lever until the B
indicator starts blinking then stops blinking.
D FINE: When shooting outdoors on a sunny day.
E CLOUD: When shooting outdoors on a cloudy day.
F HALOGEN: When a video light or similar type of lighting is used.

28
Manual Recording (Continued)
Menus Settings: [ ] = Factory-preset
EFFECT
Enables you to record
videos or still images with
special effects.
1 [OFF]: No effect is used.
J SEPIA: The image has a brownish tint like old photos.
K MONOTONE: The image becomes black and white like old
movies.
L CLASSIC FILM*: This effect skips frames to give images of an
old movie atmosphere.
M STROBE*: The image looks like a series of consecutive
snapshots.
TELE MACRO
Enables you to shoot
a subject as large as
possible at a distance of
approx. 40 cm.
1 [OFF]: Disables the function.
t ON: Activates the function.
ZEBRA*
The sections of the
photographic subject that
are reflected as white due
to light are displayed in a
striped pattern. Use this
as a guide for adjusting
the brightness.
[OFF]: Deactivate this function.
70%: Sections that are close to being reflected as white (bright)
are displayed in a striped pattern.
100%: Sections that are completely reflected as white (too bright)
are displayed in a striped pattern.
CUSTOM SETTING* Press down the set lever then select sub menus.
SHARPNESS
Adjusts the
enhancement level
of the outline of the
recorded image.
Adjust the sharpness moving the set lever to £ / ¤ , then press
down.
NOTE
Enhancing the sharpness causes the recorded image to appear grainy.
COLOR BAR
The colour bar will
be displayed. The
colour characteristics
of the camera can
be confirmed by
recording this display.
[OFF]: Deactivate this function.
ON: Activate this function.
* Not available in # mode.

29
ENGLISH
8 To return to the index screen
Press the INDEX button.
8 To watch on TV
See page 35.
8 To turn the date display on/off
Change the settings in [DATE/TIME].
(Z p. 68)
8 To check the file information
Press the AUTO/INFO button when
playback is paused. (Z p. 39)
8 To make one frame of video being
played back into a still image
Press the SNAPSHOT button when
playback is paused.
Select the playback mode.
PLAY/REC
SELECT
VIDEO
8/8
SELECT SET SORT
The index screen appears.
(The lens cover closes automatically.)
Select the desired file.
Select
Set
Video Playback
Select ! (video) mode.
MODE
The switch returns to
the original position
when it is released.
The ! lamp on the camera lights up.
Operations during Playback
Return to the first
scene of the file
Reverse search/
Frame-by-frame
playback (during
pause)
Play/Pause
Forward search/
Frame-by-frame
playback (during
pause)
Go to the first scene
of the next file
During forward/reverse search, moving the set lever to £ / ¤
alters the search speed (maximum 60x).
J : Turn down the
volume
I : Turn up the
volume
Speaker volume/
GZ-HD6
Headphone volume
PLAYBACK
Playing Back Files

30
8 To return to the index screen
Press the INDEX button.
8 To watch on TV
See page 35.
8 To turn the date display on/off
Change the settings in [DATE/TIME]. (Z p. 68)
8 To check the file information
Press the AUTO/INFO button. (Z p. 39)
Select the playback mode.
PLAY/REC
SELECT
IMAGE
8/8
SELECT SET SORT
The index screen appears.
(The lens cover closes automatically.)
Select the desired file.
Select
Set
Still Image Playback
Select # (still image) mode.
MODE
The switch returns
to the original
position when it is
released.
The # lamp on the camera lights up.
Rotate 90 degrees
(counterclockwise)
Display the previous file
Start/end the slide show
Display the next file
Rotate 90 degrees
(clockwise)
During the slide show, moving the set lever to ¡ / ¢ changes the playback order.
Operations during Playback
Playing Back Files (Continued)

31
ENGLISH
File Search Function
You can switch the index screen to the
date index screen or event screen for the
convenient file search.
Date Index Screen
You can search the desired file by the
recording date.
Preparation:
• Select ! or # mode.
• Select the playback mode.
1
INDEX
2 Select the recording date.
Select
Set
SEARCH DATE
31 01 2007
22 01 2007
25 01 2007
22 12 2006
19 12 2006
SELECT SET SORT
3 Select the file you want to play back.
Select
Set
07 01 2007
1/3
SELECT SET SORT
8 To return to the index screen
Press the INDEX button.
Event Screen – ! mode only
You can search the desired file by the event
that you registered the file to when recording.
(Z p. 22) After searching by the event, you
can search by the recording date to narrow
down the search.
Preparation:
• Select ! mode.
• Select the playback mode.
1 Press twice.
INDEX
2 Select the event.
To move to the next page, select [NEXT
PAGE].
Select
Set
VACATION 1/ 3
NEXT PAGE
SELECT SET SORT
3 Select the recording date.
To display all the files, select [ALL
SCENES].
Select
Set
SEARCH EVENT
SELECT SET SORT
ALL SCENES
22 01 2007
25 01 2007
4 Select the file you want to play back.
Select
Set
VACATION
1/3
SELECT SET SORT
8 To return to the index screen
Press the INDEX button.
8 To change the event registration of a file
See page 40.

32
To Play Back TPD Files
– ! mode only
TPD files (demonstration files, etc.) are stored
in the EXTMOV folder.
If you copy videos recorded on this camera
to a PC, edit them on the PC, and then
recopy them to this camera, store them in the
EXTMOV folder. (Z p. 64)
Follow the procedure below to play back the
TPD files in the EXTMOV folder.
Preparation:
• Select ! mode.
• Select the playback mode.
1
FUNCTION
2 Select [PLAYBACK TPD FILE].
Select
Set
DELETE
PROTECT
PLAYBACK TPD FILE
PLAYBACK NORMAL FILE
EDIT PLAYLIST
PLAYBACK PLAYLIST
WIPE/FADER
EFFECT
3 Select the file you want to play back.
Select
Set
VIDEO [TPD]
8/8
SELECT SET QUIT
8 To exit the screen
Press the FUNCTION button.
8 To return to the normal file playback
mode
Select [PLAYBACK NORMAL FILE] in
step 2.
NOTE
During TPD file playback, you cannot use
some of the functions.
Playing Back Files (Continued)
Playback with Special Effects
Playback effects
Add effects that, for example, alter the colour
tones of images.
Preparation:
• Select ! or # mode.
• Select the playback mode.
1
FUNCTION
2 Select [EFFECT].
Select
Set
DELETE
PROTECT
PLAYBACK TPD FILE
PLAYBACK NORMAL FILE
EDIT PLAYLIST
PLAYBACK PLAYLIST
WIPE/FADER
EFFECT
3 Select a desired effect.
For details on each effect, see below.
Select
Set
EFFECT
STROBE
CLASSIC FILM
MONOTONE
SEPIA
OFF
SELECT SET QUIT
4 Start playback.
8 To exit the screen
Press the FUNCTION button.
8 To turn off the effect
Select [OFF] in step 3.

33
ENGLISH
8 Items for EFFECT setting
• J SEPIA:
The image is given a brownish tint like an
old photo.
• K MONOTONE:
The image becomes black and white like
an old movie.
• L CLASSIC FILM*:
The image is given an old movie
atmosphere by the effect of skipping
frames.
• M STROBE*:
The image looks like a series of
consecutive snapshots.
* Not available in # mode.

34
Wipe or fader effects – ! mode only
Add effects at the beginning and end of
videos. These effects cannot be set for still
images.
Preparation:
• Select ! mode.
• Select the playback mode.
1
FUNCTION
2 Select [WIPE/FADER].
Select
Set
DELETE
PROTECT
PLAYBACK TPD FILE
PLAYBACK NORMAL FILE
EDIT PLAYLIST
PLAYBACK PLAYLIST
WIPE/FADER
EFFECT
3 Select a desired effect.
For details on each effect, see the right
column.
Select
Set
WIPE/FADER 1/2
WIPE-CORNER
FADER-B.W
FADER-BLACK
FADER-WHITE
OFF
SELECT SET QUIT
4 Start playback.
8 To exit the screen
Press the FUNCTION button.
8 To turn off the effect
Select [OFF] in step 3.
8 Items for WIPE/FADER setting
• O FADER-WHITE:
Fades in or out with a white screen.
• P FADER-BLACK:
Fades in or out with a black screen.
• Q FADER-B.W:
Fades in to a colour screen from a black
and white screen, or fades out in the
opposite way.
• R WIPE-CORNER:
Wipes in on a black screen from the
upper right to the lower left corner, or
wipes out in the opposite way.
• S WIPE-WINDOW:
Starts in the centre of a black screen and
wipes in toward the corners, or wipes out
in the opposite way.
• T WIPE-SLIDE:
Wipes in from right to left, or wipes out in
the opposite way.
• U WIPE-DOOR:
Wipes in as the two halves of a black
screen which open to the left and right
revealing the scene, or wipes out in the
opposite way.
• V WIPE-SCROLL:
Wipes in from the bottom to the top of a
black screen, or wipes out in the opposite
way.
• W WIPE-SHUTTER:
Wipes in from the centre of a black
screen toward the top and bottom, or
wipes out in the opposite way.
NOTE
No effect will be applied on files with a play
time shorter than 7 seconds.
Playing Back Files (Continued)

35
ENGLISH
This camera is designed to be used with
high-definition or PAL-type colour television
signals. It cannot be used with a television of
a different standard.
Connection with TV
You can output videos from the HDMI
connector, COMPONENT connector, or AV
connector. Select the connector that best suits
your television.
Preparation: Turn off all units.
8 To connect using the HDMI connector
NOTE
Change the settings in [HDMI OUTPUT],
[HDMI COLOR SETTING] or [HDMI
ENHANCE SETTING] according to the
connection. (Z p. 70)
8 To connect using the COMPONENT
connector
NOTE
Change the settings in [COMPONENT
OUTPUT] according to the connection.
(Z p. 70)
HDMI Connector
AC Adapter
DC Connector
HDMI Connector
HDMI Cable
(optional)
To AC Outlet
AV Cable
AC Adapter
To AC Outlet
Video Connector
is not in use.
AV Connector
Component
Cable
DC Connector
COMPONENT
Connector
Audio L/R Input
Connector
COMPONENT
Input Connector
Watching Images on TV

36
8 To connect using the AV connector
NOTE
Change the settings in [VIDEO OUTPUT]
to suit the screen size of your television.
(Z p. 70)
Playback Operation
After the connection with TV is
completed
1 Turn on the camera and the TV.
2 Set the TV to its VIDEO mode.
3 (Only when connecting the camera to the
VCR/DVD recorder)
Turn on the VCR/DVD recorder, and
set the VCR/DVD recorder to its AUX
input mode.
4 Start playback on the camera.
(Z p. 29, 30)
8 To display camera’s on-screen display
on TV
Set [DISPLAY ON TV] to [ON]. (Z p. 69)
NOTE
When the video was recorded with
x.v.ColourTM set to [ON], change the
x.v.ColourTM setting on TV. For details, refer to
the TV’s instruction manual.
AV Cable
DC Connector
AC Adapter
To AC Outlet
AV Connector
AV Input Connector
Watching Images on TV (Continued)

37
ENGLISH
CAUTION
Do not remove the recording medium or
perform any other operation (such as turning
off the power) while accessing files. Also,
be sure to use the provided AC adapter, as
the data on the recording medium may be
corrupted if the battery becomes exhausted
during operation. If the data on the recording
medium becomes corrupted, format the
recording medium to use the medium again.
(Z p. 71)
Deleting/Protecting Files
• Protected files cannot be deleted. To delete
them, release the protection first.
• Once files are deleted, they cannot be
restored. Check files before deleting.
Preparation:
• Select ! or # mode.
• Select the playback mode.
The following illustrations of display
screens are examples of when performing
[DELETE].
Deleting/Protecting the Currently
Displayed File
1
FUNCTION
2 Select [DELETE] or [PROTECT].
Select
Set
DELETE
PROTECT
PLAYBACK TPD FILE
PLAYBACK NORMAL FILE
EDIT PLAYLIST
PLAYBACK PLAYLIST
WIPE/FADER
EFFECT
3 Select [CURRENT].
Select
Set
DELETE
DELETE ALL
FILE SELECT
CURRENT
SELECT SET QUIT
You can select the previous or next file by
moving the set lever to £ / ¤.
4 Select [EXECUTE].
Select
Set
DELETE?
0008REMAINING FILES:
CANCEL
EXECUTE
SELECT SET
8 To exit the screen
Press the FUNCTION button.
EDITING/PRINTING
Managing Files

38
Managing Files (Continued)
Deleting/Protecting All Files
After performing steps 1-2 (Z p. 37)
3 Select [DELETE ALL] or [PROTECT
ALL].
Select
Set
DELETE
DELETE ALL
FILE SELECT
CURRENT
SELECT SET QUIT
4 Select [EXECUTE].
Select
Set
DELETE ALL?
EXCEPT PROTECTED FILE
CANCEL
EXECUTE
SELECT SET
8 To exit the screen
Press the FUNCTION button.
8 To release protection
Select the protected file in step 4
(“Deleting/Protecting Files” Z left
column).
8 To release protection of all files
1) In step 3, select [CANCEL ALL].
2) Select [EXECUTE].
Deleting/Protecting Files
After performing steps 1-2 (Z p. 37)
3 Select [FILE SELECT].
Select
Set
DELETE
DELETE ALL
FILE SELECT
CURRENT
SELECT SET QUIT
4 Select the desired file.
Select
Set
VIDEO DELETE
8/8
SELECT SET QUIT
• The $ (deletion) or x (protection) mark
appears on the file. To select other files,
repeat this step.
• If you slide the zoom lever towards T,
the preview screen is displayed. Sliding
the zoom lever towards W returns to the
index screen.
5
FUNCTION
VIDEO DELETE
8/8
SELECT SET QUIT
6 Select [EXECUTE AND QUIT] (when
performing [DELETE]), or [QUIT]
(when performing [PROTECT]).
Select
Set
DELETE?
EXECUTE AND QUIT
CANCEL
QUIT
SELECT SET
8 To exit the screen
Press the FUNCTION button.

39
ENGLISH
Viewing File InformationFile Information
Preparation:
• For ! mode: Pause the playback.
Otherwise, select the file on the index
screen.
• For # mode: Play back the still image.
Otherwise, select the file on the index
screen.
AUTO
INFO
: FHD
: OFF
: MOV005.TOD
: 00:30:02
: 01.01.2008 10:56
: PRG001
QUALITY
PROTECT
FILE
PB TIME
DATE/TIME
FOLDER
• FILE:
File name
• FOLDER:
Folder name
• DATE/TIME:
Date and time of the recording
• PB TIME (for video files):
Playback time (length of the file)
• SIZE (for still images):
Image size (Z p. 67)
• QUALITY:
Image quality (Z p. 66, 67)
• PROTECT:
File protection status (Z p. 37)
8 To turn off the file information display
Press the AUTO/INFO button again.
Histogram – # mode only
A histogram is a graph indicating the image’s
brightness.
By checking the image and its histogram, you
can see the exposure level pattern and the
overall tone reproduction.
Preparation:
Play back the still image.
Press twice.
AUTO
INFO
BD
1/250 s
F3.5
ISO100
• A larger number of pixels in the centre
position indicates correct exposure and well-
balanced brightness.
D B
• The shutter speed, F-number and ISO
sensitivity (GAIN) when recorded are also
displayed.
8 To turn off the file information display
Press the AUTO/INFO button a few times.
NOTE
The shutter speed displayed during shooting
in auto mode is an approximation. It may not
match the one displayed with the histogram.
Brightness level
Number of
pixels
(Dim) (Bright)

40
Managing Files (Continued)
Changing the Event Registration of
Video Files after Recording
– ! mode only
Preparation:
• Select ! mode.
• Select the playback mode.
1
BACKUP
EVENT
DIRECT
2
Select a new event to register the file to.
• To move to the next page, select [NEXT
PAGE].
• To cancel the event registration, select
[NON SECTION].
Select
Set
VACATION 1/ 3
NON SECTION NEXT PAGE
SELECT
REGISTER
QUIT
3 Select the file you want to register.
Select
Set
VIDEO
8/8
SELECT SET QUIT
• To select other files, repeat this step.
• If you slide the zoom lever towards T,
the preview screen is displayed. Sliding
the zoom lever towards W returns to the
index screen.
4
BACKUP
EVENT
DIRECT
5 Select [SAVE AND QUIT].
Select
Set
SELECT
SET
EVENT RE-REGISTRATION ENDS
DO YOU WANT TO SAVE?
SAVE AND QUIT
CANCEL
DELETE AND QUIT
8 To cancel the event registration
Select [DELETE AND QUIT].
To Extract a Still Image File from a
Video File – ! mode only
You can extract the desired scene from a
recorded video file, and store it as a still
image file.
Preparation:
• Select ! mode.
• Select the playback mode.
1 Select the desired video file.
Select
Set
VIDEO
8/8
SELECT SET SORT
Playback starts. Search the desired scene.
2
SNAP
SHOT
NOTES
• Extracted still images are stored at a
resolution of 1920 x 1080. The image can
be elongated in the horizontal or vertical
directions depending on the picture quality
of the source video file.
• Images cannot be extracted when the video
file is in search or slow-motion playback.
Extract images when the video is in normal
playback, or when it is paused.
• The continuous shooting function (Z p. 68)
cannot be used to extract images.

41
ENGLISH
DPOF Print Setting – # mode only
The number of prints to make of a still image
recorded on a microSD card can be set. This
feature is useful when taking the microSD
card to a photo lab for printing.
Preparation:
• Select # mode.
• Select the playback mode.
• Set [REC MEDIA FOR IMAGE] to [SD].
(Z p. 68)
Setting Files Individually
1
FUNCTION
2 Select [DPOF].
Select
Set
EFFECT
DPOF
MOVE
COPY
PROTECT
DELETE
3 Select [SELECT IMAGES].
Select
Set
DPOF
CHECK SETTINGS
RESET
ALL 1
SELECT IMAGES
SELECT SET QUIT
4 Select the desired file.
Select
Set
DPOF TOTAL: 0
8/8
SELECT SET QUIT
If you slide and hold the zoom lever
towards T, the preview screen of the still
image is displayed.
5 Select the number of prints (max.
15 prints).
Select
Set
To set print information for other images,
repeat steps 4 and 5. (You can set up to
999 files.)
6
FUNCTION
8 To exit the screen
Press the FUNCTION button.
8 To cancel the selection
Set the number of prints to “00” in step 5.
8 To confirm DPOF settings
In step 3, select [CHECK SETTINGS].
• If necessary, change the number of prints
for the desired file by following steps 4
and 5.
8 To reset DPOF settings
1) In step 3, select [RESET].
2) Select [EXECUTE].

42
Setting All Files Together (One Print for
Each)
1
FUNCTION
2 Select [DPOF].
Select
Set
EFFECT
DPOF
MOVE
COPY
PROTECT
DELETE
3 Select [ALL1].
Select
Set
DPOF
CHECK SETTINGS
RESET
ALL 1
SELECT IMAGES
SELECT SET QUIT
4 Select [EXECUTE].
Select
Set
ALL1
EXECUTE
CANCEL
SELECT SET
8 To exit the screen
Press the FUNCTION button.
8 To reset DPOF settings
1) In step 3, select [RESET].
2) Select [EXECUTE].
Managing Files (Continued)

43
ENGLISH
Continued on next page
It is a list that enables you to organise
recorded videos in order of preference.
Preparation:
• Select ! mode.
• Select the playback mode.
Creating Playlists
1
FUNCTION
2 Select [EDIT PLAYLIST].
Select
Set
DELETE
PROTECT
PLAYBACK TPD FILE
PLAYBACK NORMAL FILE
EDIT PLAYLIST
PLAYBACK PLAYLIST
WIPE/FADER
EFFECT
3 Select [NEW LIST].
Select
Set
EDIT PLAYLIST
RENAME
DELETE
EDIT
NEW LIST
SELECT SET QUIT
4 Select an item and display files.
Select
Set
NEW LIST
IMPORT FROM EVENT
ALL SCENES
IMPORT FROM DATE
SELECT SET QUIT
• [IMPORT FROM EVENT]:
Search for an event and display the
corresponding files listed by recording
date.
Select the event.
• [IMPORT FROM DATE]:
Display all the files in the medium listed
by recording date.
• [ALL SCENES]:
Display all files individually.
5 Select the file to add to playlist.
Select
Set
EDIT
8/8
TOTAL
00h00m
SELECT REGISTER
• Files recorded in 1440 CBR video picture
quality are displayed with a 1440 CBR
icon.
• When you select [IMPORT FROM
EVENT]/[IMPORT FROM DATE], you
can preview scenes. Select the file and
press the INDEX button. When the index
screen of individual scenes appears,
select the file.
To return to previous screen, press the
INDEX button.
6 Select the insertion point.
Select
Set
EDIT
8/8
TOTAL
00h00m
SELECT REGISTER
• To add other files, repeat steps 5 and 6.
• To delete a registered scene, select the
registered file.
7
FUNCTION
EDIT
8/8
TOTAL
30h15m
SELECT REGISTER
8 Select [SAVE AND QUIT].
Select
Set
SELECT
SET
QUIT PLAYLIST
SAVE EDITED CONTENTS?
SAVE AND QUIT
CANCEL
DELETE AND QUIT
8 To exit the screen
Press the FUNCTION button.
Playlists – ! mode only

44
Playlists – ! mode only (Continued)
NOTES
• A maximum of 99 playlists can be created.
• Each playlist can consist of a maximum of
99 scenes.
• If you delete the original files, the
corresponding files are also deleted from
the playlist.
Playing Back Playlists
1
FUNCTION
2 Select [PLAYBACK PLAYLIST].
Select
Set
DELETE
PROTECT
PLAYBACK TPD FILE
PLAYBACK NORMAL FILE
EDIT PLAYLIST
PLAYBACK PLAYLIST
WIPE/FADER
EFFECT
3 Select the playlist that you want to
play back.
Select
Set
PLAYBACK PLAYLIST
01 07. 01. 2007 16:45
02 07. 01. 2007 21:25
03 07. 01. 2007 21:55
SELECT SET QUIT
8 To exit the screen
Press the FUNCTION button.
8 To stop playback
Press down the set lever.
8 To return to the normal file playback
mode
Select [PLAYBACK NORMAL FILE] in
step 2.
8 To play back from the desired scene
1) In step 2, press the INDEX button. (The
index screen for playlist appears.)
2) Select the desired scene.

45
ENGLISH
Other Operations of Playlists
You can perform additional editing and delete
files in a created playlist.
Preparation:
Perform steps 1-2. (Z p. 43)
Adding/Deleting Files in Playlist
3 Select [EDIT].
4 Select the playlist you want to edit.
To add or delete files, follow the steps 5 to
8 in “Creating Playlists”. (Z p. 43)
Changing Playlist Names
The default name of a playlist is its creation
date and time.
3 Select [RENAME].
4 Select the desired playlist.
5 Select the desired letter.
• Repeat this process to complete the
name.
• You can change the character types
(capital letters, small letters or marks) by
selecting [A/a/@].
• To correct a letter, select [}] or []] and
press down the set lever to move the
cursor to the letter, then select [CLE] and
press down the set lever.
6 Select [¯].
Deleting Playlist
Original files are not deleted even if you
delete the playlist.
3 Select [DELETE].
4 Select a playlist you want to delete.
To delete all playlists at once, select
[DELETE ALL].
5 Press down the set lever.
6 Select [EXECUTE].

46
Using a DVD Burner to Copy Files
from the Camera
The files in the camera can be backed up to a
DVD disc using a DVD burner.
• Supported media:
DVD-R, DVD-RW, DVD-R DL (More than
one disc may be required depending on the
size of the file to be copied. In this case, use
new (unused) discs.)
• This disc cannot be played in a normal DVD
player. Use one of the following methods to
view the disc.
- Playback the disc using the camera.
(“To play back the created disc using the
camera” Z p. 47, 49)
- Playback the disc using a DVD burner.*
- Playback on a PC.*
* The disc must first be finalised on the camera.
Connection with a DVD Burner
Preparation:
Set the power/mode switch to OFF.
NOTES
• Turn the DVD burner on first, then turn the
camera on.
• Use the USB cable that came with the DVD
burner.
Types of Copying and Connectable Device
The Camera
You can copy still images
between the HDD and
microSD card with this
camera alone. (Z p. 51)
DVD Burner (CU-VD40)
You can copy video/still
image files recorded on this
camera onto DVD discs.
(Z right column)
VCR/DVD Recorder
You can dub video files
recorded on this camera
onto DVD discs. (Z p. 49)
PC
You can copy video/still
image files on this camera
onto your PC. For details,
refer to PC OPERATION
section. (Z p. 52 to 65)
DC Connector
USB Connector
AC Adapter
To AC Outlet
USB Cable
DVD Burner
USB Connector
COPYING
Copying Files

47
ENGLISH
Backup All Files
Preparation:
• Connect the camera to the DVD burner.
• Select ! or # mode.
The following illustrations of display
screens are examples of when backing up
video files.
1 Select [NORMAL BACK-UP].
Select
Set
SELECT SET
VIDEO
FINALIZE
SELECT BACK-UP
PLAYBACK
NORMAL BACK-UP
2 Select the desired menu.
• [UNSAVED SCENES/FILES NOT
BACKED-UP]:
Files that have never been copied to a
DVD disc are automatically selected and
copied.
• [ALL]:
All files in the recording medium are
copied.
Select
Set
NORMAL BACK-UP
SELECT SET TOP
UNSAVED SCENES
ALL
3 Select the desired menu.
• [CONTINUE TO COPY]:
Files are added to the free space of a
disc. Displayed only when a recordable
disc is inserted.
• [FORMAT]:
After the disc is formatted (all recorded
data on the disc is deleted), the files are
copied on the disc.
Select
Set
VIDEOS ARE RECORDED
CANCEL
CONTINUE TO COPY
FORMAT
SELECT SET TOP
4 Select [EXECUTE] or [EXECUTE AND
FINALIZE].
By selecting [EXECUTE AND FINALIZE],
the disc is finalised after the files are
copied.
Select
Set
DVD(DL)
DVD
3
5
CANCEL
EXECUTE
EXECUTE AND FINALIZE
SELECT SET TOP
• The files are copied on the disc. When
[COMPLETED] appears, press down the
set lever to complete the operation.
• When [COMPLETED. CHANGE DISC]
appears, change the disc. Remaining
files are copied on the second disc.
• To cancel the copying, select [STOP].
8 To return to the top screen
Press the MENU button, then select [YES].
8 To finalise the disc after copy is finished
1) Connect the camera to the DVD burner.
2) Turn the camera’s power on.
3) Select [FINALIZE].
4) Select [EXECUTE].
5) When [COMPLETED] appears, select
[OK].
8 To play back the created disc using the
camera
1) Connect the camera to the DVD burner.
2) Turn the DVD burner on first, then turn
the camera on.
3) Select [PLAYBACK].
4) Select the desired folder.
5) Select the desired file.
To return to the previous screen, press
the INDEX button.

48
Select Files for Backup
Preparation:
• Connect the camera to the DVD burner.
• Select ! or # mode.
The following illustrations of display
screens are examples of when backing up
video files.
1 Select [SELECT BACK-UP].
Select
Set
SELECT SET
VIDEO
FINALIZE
SELECT BACK-UP
PLAYBACK
NORMAL BACK-UP
2 Select the desired menu.
Select
Set
SELECT BACK-UP
CREATE BY DATE
SELECT FROM SCENES
CREATE BY PLAYLIST
CREATE BY EVENT
SELECT SET TOP
• [SELECT FROM SCENES/SELECT
FROM IMAGES]:
Register backup files individually.
1) Select the desired file. To select other
files, repeat this process.
2) Press the INDEX button then go to
step 4.
• [CREATE BY EVENT*]:
Files are sorted according to event.
Relevant files are displayed in a list.
Select the event.
• [CREATE BY PLAYLIST*]:
Select the desired playlist from the list
of playlists. The selected playlists are
displayed in a list.
1) Select the desired list. To select other
lists, repeat this process.
2) Move the set lever to ¤ twice.
• [CREATE BY DATE]:
Files are sorted according to the date
on which they were recorded. Relevant
files are displayed in a list. Select the
recording date.
* Not available in # mode.
To preview scenes, press the INDEX
button. (The index screen of individual
scenes appears.) Select the file.
To return to previous screen, press the
INDEX button.
3 Select [ALL].
CREATE BY EVENT
ALL
01.01.2007 12:04
01.02.2007 12:04
01.01.2007 12:15
01.02.2007 12:15
SELECT SET
ALL
SORT
4 Select the desired menu.
• [CONTINUE TO COPY]:
Files are added to the free space of the
disc. Displayed only when a recordable
disc is inserted.
• [FORMAT]:
After the disc is formatted (all recorded
data on the disc is deleted), the files are
copied to the disc.
Select
Set
VIDEOS ARE RECORDED
CANCEL
CONTINUE TO COPY
FORMAT
SELECT SET TOP
5 Select [EXECUTE] or [EXECUTE AND
FINALIZE].
By selecting [EXECUTE AND FINALIZE],
the disc is finalised after the files are
copied.
Select
Set
DVD(DL)
DVD
3
5
CANCEL
SELECT
EXECUTE
EXECUTE AND FINALIZE
SELECT SET TOP
• The disc begins to be created. When
[COMPLETED] appears, press down the
set lever to complete the operation.
• When [COMPLETED. CHANGE DISC]
appears, change the disc. The second
disc begins to be created.
• To cancel the disc creation, select
[STOP].
Copying Files (Continued)

49
ENGLISH
Continued on next page
Preparation: Turn off all units.
8 To connect using the i.LINK connector
(digital dubbing)
NOTES
• Be sure to use the optional JVC VC-
VDV206U or VC-VDV204U i.LINK cable
depending on the connector type (4 or
6 pins) of the VCR/DVD recorder.
• To dub videos in high-definition quality:
- Connect a device that supports high-definition
quality videos.
- Use the i.LINK connector.
- Set [i.LINK OUTPUT (DUB)] to [1440 CBR].
(Z p. 70)
- Make a playlist consisted of 1440 CBR video
only, and dub the playlist. (Z p. 50)
• To dub videos in standard quality:
- Use the i.LINK connector.
- Set [i.LINK OUTPUT (DUB)] to [DV]. (Z p. 70)
8 To return to the top screen
Press the MENU button, then select [YES].
8 To finalise the disc after copy is finished
1) Connect the camera to the DVD burner.
(Z p. 46)
2) Turn on the camera.
3) Select [FINALIZE].
4) Select [EXECUTE].
5) When [COMPLETED] appears, select
[OK].
8 To play back the created disc using the
camera
1) Connect the camera to the DVD burner.
(Z p. 46)
2) Turn the DVD burner on first, then turn
the camera on.
3) Select [PLAYBACK].
4) Select the desired folder.
5) Select the desired file. To return to
previous screen, press the INDEX
button.
NOTE
In case of [CREATE BY PLAYLIST], date/time
on the file information display shows the date
of copying the file, not of the actual recording.
Using a VCR/DVD Recorder to Dub
Files from the Camera
You can connect the camera to a VCR or DVD
recorder, and dub the camera’s files directly
onto those devices.
Connection with a VCR/DVD Recorder
You can connect using either the i.LINK
connector or AV connector.
i.LINK
Connector
AC Adapter
VCR/DVD Recorder
i.LINK Connector
i.LINK Cable
(optional)
DC Connector
To AC Outlet

50
8 To connect using the AV connectors
(analog dubbing)
Dubbing Operation
1 Set the VCR/DVD recorder to its AUX
input mode.
Check that the images from the camera
are input correctly to the VCR/DVD
recorder.
2 Start playback on the camera.
• To play back videos
• To play back playlists
1) Press the FUNCTION button.
2) Select [DUBBING PLAYBACK].
3) Move the set lever to ¤. *1
4) Select [START PLAYBACK]. (A black
screen is displayed for 5 seconds at
the first and the last scene. *2)
*1 When dubbing using the i.LINK
connection and with [i.LINK OUTPUT
(DUB)] set to [1440 CBR], a
confirmation screen is displayed after
operation. Select [OK] and proceed to
step 4).
*2 When dubbing using the i.LINK
connection and with [i.LINK OUTPUT
(DUB)] set to [1440 CBR], the image
to be dubbed is not displayed on the
camera’s screen. Check the images
on a TV connected to the VCR/DVD
recorder.
3 At the point you want to start
dubbing, start recording on the VCR/
DVD recorder.
Refer to the VCR/DVD recorder’s
instruction manual
.
8 To stop dubbing
Stop recording on the VCR/DVD recorder,
then press the REC button again.
NOTES
• The date displays effects and wipe/fader
effects cannot be dubbed using the i.LINK
connection.
• When playing back images dubbed using
the i.LINK on a VCR/DVD recorder, the
images may stop momentarily at junctions
between scenes.
Copying Files (Continued)
AV Cable
DC Connector
AC Adapter
To AC Outlet
AV Connector
VCR/DVD Recorder

51
ENGLISH
Copying/Moving Still Image Files
You can copy or move still image files
between the HDD and microSD card.
Preparation:
• Select # mode.
• Select the playback mode.
• Make sure that microSD card is inserted in
the microSD slot.
• Make sure that enough free space is left in
the copy/move destination medium.
1
FUNCTION
2 Select [COPY] or [MOVE].
• [COPY]:
Files are copied to the destination
medium while leaving original files in the
source medium.
• [MOVE]:
Files are moved to the destination
medium while deleting original files
(except read-only files) in the source
medium.
Select
Set
EFFECT
DPOF
MOVE
COPY
PROTECT
DELETE
3 Set the direction of copy/move.
(HDD ] SD or SD ] HDD)
IMAGE COPY
CANCEL
EXECUTE
HDD SDMEDIA
FILE UNIT
NUMBER OF FILE 0059
ALL
SELECT SET QUIT
4
5 Set the file unit ([ALL] or [FILE]) to
copy/move.
• [FILE]:
Select this to transfer the selected files.
1) Select the desired file.
• The s mark appears on the file. To
select other files, repeat this step.
2) Press the FUNCTION button.
• [ALL]:
Select this to transfer all files in the
recording medium.
6 Select [EXECUTE].
Select
Set
File transfer starts. When [COPYING
COMPLETED/MOVING COMPLETED]
appears, press down the set lever.
8 To exit the screen
Press the FUNCTION button, then select
[EXECUTE].
8 To stop the file transfer
1) Press down the set lever.
2) Select [EXECUTE].

52
Install the software that came with the camera
to your PC.
You can back up your files on your PC with a
simple one-touch operation, edit your files on
your PC, and also create discs.
Even if you do not install the software, you
can still back up your files on your PC.
(Z p. 57)
System Requirements
OS: Either one of the following OS should be
pre-installed (32-bit):
• Windows® XP Home Edition (SP2)
• Windows® XP Professional (SP2)
• Windows Vista® Home Basic
• Windows Vista® Home Premium
CPU:
• Intel® Pentium® 4, at least 3.2 GHz
(Intel® CoreTM Duo 1.66 GHz or more
recommended)
• Intel® Pentium® M, at least 1.8 GHz
RAM:
• [XP] At least 512 MB
(1 GB or more recommended)
• [Vista] At least 1 GB
(2 GB or more recommended)
Free hard disk space:
• At least 750 MB for installation
• For creating Blu-ray disc, at least 30 GB
(60 GB or more recommended)
Connector:
USB 2.0 connector
Sound card:
Direct Sound compatible sound card
Display:
• Must be capable of displaying at least
1024 x 768 (XGA) in high colour 16 bit or
higher
(1280 x 1024 (SXGA) or higher is
recommended)
• Intel/nVidia/ATI MPEG-2 HD DxVA
compatible card
Miscellaneous:
• Internet Explorer 5.5 or later
• DirectX 9.0 or later
Supported media:
BD-RE, BD-R, DVD-R/-RW, DVD+R/+RW,
CD-R/RW
For the compatible drives:
http://jp.cyberlink.com/english/products/
powerproducer/4/comp_dvd_drive.jsp
For the compatible BD drives:
http://jp.cyberlink.com/english/products/
powerproducer/4/comp_nextgen_drives.jsp
NOTE
Even if your system meets the recommended
requirements above, you may still experience
dropped frames while playing back high
definition video, or you may find that editing
takes a long time. In order to use these
functions more smoothly, it is recommended
that you use a higher performance PC (CPU:
Intel® CoreTM 2 Duo, memory: 2 GB or more).
PC OPERATION
File Backup on a Windows® PC

53
ENGLISH
Continued on next page
Software Installation
The following software is included in the CD-
ROM that came with your camera.
CyberLink BD Solution
Comprehensive application software that
consists of the following 3 kinds of software.
• PowerCinema NE for Everio
The main authoring software. You can
perform various operations such as file
backup, playback, and editing from the top
menu of this software.
Q You can perform detailed settings for each
item.
R Select a function on the right, and an
explanation is displayed.
S The operating procedure for each function
is displayed.
T Plays back video files on the PC. (Z p. 58)
U Plays back still image files on the PC.
(Z p. 58)
V Creates discs/Edits files. (Z p. 59)
W Backs up camera files onto the PC.
(Z p. 56)
• PowerProducer 4 NE
Allows you to create discs. Automatically
starts from an operation in PowerCinema
NE for Everio.
• PowerDirector 6 NE
Allows you to edit files on your PC.
Automatically starts from an operation in
PowerCinema NE for Everio.
NOTE
If the recorded video will be edited with
the software in the supplied CD-ROM, set
x.v.ColourTM to [OFF] before recording.
Digital Photo Navigator 1.5
Allows you to change the format of still image
files backed up on your PC.
You can find the latest information on the
provided software program at CyberLink’s
world wide web server at http://www2.cli.
co.jp/products/ne/
Preparation:
Quit any other software you are using. (Check
that there are no other application icons on
the status bar.)
1 Load the provided CD-ROM into the
PC.
After a moment, the [SETUP] screen
appears. If the [SETUP] screen does not
appear, double-click the CD-ROM icon in
[My Computer].
2 Click [Easy Installation].
If you want to specify the type of software
to install or the installation destination
folder etc., select [Custom Installation].
Follow the instructions on the screen to
install the software.
3 Click [Yes].

54
8 When installation is completed
The installed software is displayed in [All
Programs] – [CyberLink BD Solution].
The backup destination folder [MyWorks]
for files is created on the hard disk drive
that has the most free space.
4 Select the desired language and click
[OK].
5 Click [Yes].
The software installation starts.
6 Click [Finish].
File Backup on a Windows® PC (Continued)

55
ENGLISH
8 When you have finished operation
Always follow the procedures below when
disconnecting the camera, or turning off the
camera/PC power.
Failing to do so may cause damage to the
camera and PC.
1) Confirm that the access/charge lamp on
the camera does not light or blink. (If the
access/charge lamp lights or blinks, wait
until it is turned off before proceeding.)
2) Double-click the [Safely Remove
Hardware] or [Unplug or Eject Hardware]
icon in the status bar.
3) Select [USB Mass Storage Device] or
[USB Disk], and then click [Stop].
4) Click [OK].
5) Disconnect the USB cable.
6) Turn off the camera and PC.
Connecting the Camera to the PC
Preparation:
Set the camera’s power/mode switch to OFF.
NOTES
• Never disconnect the USB cable while the
access/charge lamp on the camera lights or
blinks.
• Do not turn off the camera when the USB
cable is connected, to prevent malfunctions
of the PC.
• Connect the camera directly to the PC, not
through a hub.
• Do not use an extension USB cable.
• When you copy files from the computer to
the recording medium on the camera, do not
include any other files than those recorded
with the camera.
• Do not delete, move, or rename the files and
folders in the camera from the PC.
AC Adapter
DC Connector
To AC Outlet
USB Cable
USB Connector
USB Connector

56
File Backup on the PC
This method uses the software on the CD-
ROM to back up files onto your PC.
Video files that have never been backed up
onto the PC are automatically selected and
backed up.
Preparation:
• Install the software from the provided CD-
ROM.
• Connect the camera to the PC.
1 Set the camera’s power/mode switch
to ON.
2 On the camera, press the DIRECT
BACK UP button.
A dialog box is displayed on the PC
screen. However, you do not need to
use the dialog box. File copy starts
automatically.
When the progress bar disappears, the
process is complete.
NOTE
When backup is performed, folders for each
medium (HDD or microSD) are created in the
[MyWorks] folder (Z p. 54), and the files are
backed up inside those folders. (If backup is
performed from more than one camera HDD,
individual HDD folders are created.)
File Backup from the specified media
Preparation:
• Install the software.
• Connect the camera to the PC.
1 Set the camera’s power/mode switch
to ON.
2 On the camera, select [BACK UP].
SELECT SET
BACK UP
PLAYBACK ON PC
QUIT
3 On the PC, Click [EVERIO_HDD] or
[EVERIO_SD].
When the progress bar disappears, the
process is complete.
File Backup on a Windows® PC (Continued)

57
ENGLISH
File Backup on the PC without Using
Software
Preparation:
Connect the camera to the PC with the USB
cable. (Z p. 55)
1 On the PC, create a folder to back up
files into.
2 Set the camera’s power/mode switch
to ON.
3 On the camera, select
[PLAYBACK ON PC].
SELECT SET
BACK UP
PLAYBACK ON PC
QUIT
4 On the PC, Double-click [EVERIO_
HDD] or [EVERIO_SD].
5 Select the folder that you want to
back up, and drag & drop it into the
folder you created in step 1.
• SD_VIDEO:
Folder that contains video files. If you
want to back up files individually, open
this folder, and drag & drop files such as
[PRG001] one by one.
• DCIM:
Folder that contains still image files. If
you want to back up files individually,
open this folder, and drag & drop files
such as [PIC_0001.JPG] one by one.
NOTE
For further details on the use of folders, see
page 64.

58
Playing Back Files on the PC
Preparation:
• Install the software.
• Connect the camera to the PC.
1 Set the camera’s power/mode switch
to ON.
2 On the camera, select [PLAYBACK
ON PC].
A dialog box is displayed on the PC
screen. However, you do not need to
use the dialog box. PowerCinema starts
automatically.
SELECT SET
BACK UP
PLAYBACK ON PC
QUIT
3 Click [Browse Videos] (for video
playback) or [Browse Pictures] (for
still image playback).
4 Click the media that contains desired
files.
5 Click the desired file.
If you click Sort by/Filter by/View by,
searching options are displayed.
• Sort by:
The order of files is rearranged according
to item that you selected.
• Filter by:
Files are filtered according to the item
that you selected.
• View by:
You can change the number of
thumbnails on a screen.
For more information on detailed
operations of the software, refer to their
Read me (Z p. 60) or CyberLink web site.
(Z p. 53)
Other Windows® PC Operations

59
ENGLISH
Continued on next page
Creating Discs/Editing Files
Preparation:
• Install the software.
• Connect the camera to the PC.
1 Set the camera’s power/mode switch
to ON.
2 On the camera, select [PLAYBACK
ON PC].
A dialog box is displayed on the PC
screen. However, you do not need to
use the dialog box. PowerCinema starts
automatically.
SELECT SET
BACK UP
PLAYBACK ON PC
QUIT
3 Click [Copy/Edit].
4 Click the media that contains desired
files.
5 Click the check box of the desired
file.
The s mark appears in the check box.
To select other files, repeat this step.
6 Click [Copy/Advanced function].
7 Click [Create Disc] for creating discs,
or [Advanced Editing] for editing.
PowerProducer (for creating discs) or
PowerDirector (for editing) starts. For more
information on detailed operations of the
software, refer to their Read me (Z p. 60)
or CyberLink web site. (Z p. 53)

60
NOTES
• You can use following discs:
- BD-RE, BD-R
- DVD-R/DVD+R (Unused discs)
- DVD-RW/DVD+RW (They need to be
formatted before recording. Formatting
deletes all content recorded on the disc.)
- CD-R/RW
• DVD-RAM discs cannot be used.
• You may not be able to play back the
created disc depending on the performance
of a device. Also the image may stop
momentarily at junctions between scenes.
• The PC must be equipped with a compatible
drive and player software to play back the
created disc.
Getting More Use of the Software
For more information on operations of the
software, see the Tutorials for each software
program or the User’s Guides.
PowerCinema NE for Everio
1 Double-click [PowerCinema NE for
Everio] icon on the desktop.
2 Click [Tutorial].
PowerProducer 4 NE
1 Select [CyberLink BD Solution] –
[PowerProducer] from [All Programs].
2 Click [User’s Guide] or [Readme].
PowerDirector 6 NE
1 Select [CyberLink BD Solution] –
[PowerDirector] from [All Programs].
2 Click [User’s Guide] or [Readme].
Digital Photo Navigator 1.5
The User’s Guide is included on the CD-ROM
in PDF format.
1 Load the provided CD-ROM into the
PC.
2 Right-click the CD-ROM icon in [My
Computer], then click [Open].
3 Double-click the [DOCS] folder.
4 Open the “Start.pdf” file and click the
button of the desired language.
NOTES
• You need to connect to the Internet to see
the Tutorial.
• Adobe® Acrobat® ReaderTM or Adobe®
Reader® must be installed to read PDF
files. Adobe® Reader® can be loaded from
Adobe’s web site: http://www.adobe.com/
Other Windows® PC Operations (Continued)

61
ENGLISH
If the software on the provided CD-ROM is
installed, the backed up file can be viewed in
QuickTime Player or edited in iMovie HD or
Final Cut Pro. (Several functions will not be
accessible.)
You can find the latest information on the
provided software program at our world wide
web server at http://www2.cli.co.jp/products/
ne/
System Requirements
Hardware:
• Macintosh 1.25 GHz or faster Power PC
G4/G5 or Intel® processor
(Intel® CoreTM Duo 1.66 GHz or more
recommended.)
• USB 2.0 connector is required.
OS:
Mac OS X (10.4.4 to 10.4.11, 10.5.1)
RAM:
At least 512 MB
(1 GB or more recommended)
Software Installation
Preparation:
Quit any other software you are using.
1 Load the provided CD-ROM into the
PC.
2 Double-click the CD-ROM icon.
3 Double-click the QuickTime
Component for Everio icon.
4 Click [Continue].
5 Click [Agree] and click [Continue].
6 Click [Install].
The software installation starts.
7 Click [Close].
File Backup on a Macintosh

62
8 When you have finished operation
Always follow the procedures below when
disconnecting the camera, or turning off the
camera/computer power.
Failing to do so may cause damage to the
camera and computer.
1) Drag & drop the recording medium icon
on the desktop into the [Trash] icon. If
the confirmation message appears, click
[OK].
2) Confirm that the access/charge lamp on
the camera does not light or blink. If the
access/charge lamp lights or blinks, wait
until it is turned off before proceeding.
3) Disconnect the USB cable.
4) Turn off the camera and computer.
Connecting the Camera to the
Macintosh
Preparation:
Set the camera’s power/mode switch to OFF.
NOTES
• Never disconnect the USB cable while the
access/charge lamp on the camera lights or
blinks.
• Do not turn off the camera when the USB
cable is connected, to prevent malfunctions
of the computer.
• Connect the camera directly to the
computer, not through a hub.
• Do not use an extension USB cable.
• When you copy files from the computer to
the recording medium on the camera, do not
include any other files than those recorded
with the camera.
• Do not delete, move, or rename the files and
folders in the camera from the computer.
File Backup on a Macintosh (Continued)
DC Connector
AC Adapter
To AC Outlet
USB Cable
USB Connector
USB Connector

63
ENGLISH
File Backup on the Macintosh
Preparation:
Connect the camera to the computer with the
USB cable. (Z p. 64)
1 On the computer, create a folder to
back up files into.
2 Set the camera’s power/mode switch
to ON.
3 On the camera, select [PLAYBACK
ON PC].
SELECT SET
BACK UP
PLAYBACK ON PC
QUIT
4 On the computer, double-click
[EVERIO_HDD] or [EVERIO_SD].
5 Select the folder that you want to
back up, and drag & drop it into the
folder you created in step 1.
• SD_VIDEO:
Folder that contains video files. If you
want to back up files individually, open
this folder, and drag & drop files such as
[PRG001] one by one.
• DCIM:
Folder that contains still image files. If
you want to back up files individually,
open this folder, and drag & drop files
such as [PIC_0001.JPG] one by one.
NOTE
For further details on the use of folders, see
page 64.

64
[MOV_XXXX.TPD]
[MOV_XXXX.TPD]
[MOV_XXXX.TPD]
[XXXJVCSO]
[XXXJVCSO]
[PIC_XXXX.JPG]
[PIC_XXXX.JPG]
[XXXJVCSO]
[DCIM]
[SD_VIDEO]
[EXTMOV]
[MISC]
[PRIVATE]
[MGR_INFO]
[PRGXXX]
[PRGXXX]
[PRGXXX]
[PRGXXX.PGI]
[MOVXXX.TOD]
[MOVXXX.MOI]
* Information such as the date and time of recording, recorded with the video file.
Extensions
Video files : “.TOD”
Still image files : “.jpg”
The file extension may not appear depending on the [FOLDER] option setting of Windows®.
Management information*
Recording medium X = number
Contains the video file folders.
Contains the still image folders.
Management information* for the media as a
whole
Video file
Management information* for the video file
After backing up to a PC, the video files which
were edited on a PC and then recopied to the
camera are saved. Video files with defective
management information are also saved.
Contains management information files of event
information and/or DVD creation for the files taken
with the camera.
Contains folders with DPOF setting data.
Still image file
Folder Structure and Extensions

65
ENGLISH
Contact us for information on the provided software
Use of this software is authorized according to the terms of the software licence.
JVC
When contacting the nearest JVC office or agency in your country (refer to the JVC Worldwide
Service Network at http://www.jvc-victor.co.jp/english/worldmap/index-e.html) about this
software, please have the following information ready.
• Product Name
• Model
• Problem
• Error Message
• PC
Manufacturer
Model (Desktop/Laptop)
CPU
OS
Memory (MB)
Available Hard Disk Space (GB)
Please note that it may take some time to respond to your questions, depending on their subject
matter.
JVC cannot answer questions regarding basic operation of your PC, or questions regarding
specifications or performance of the OS, other applications or drivers.
CyberLink
Telephone/fax support
Location Language Office hours
(Mon. to Fri.) Phone # Fax #
Germany
English / German /
French / Spanish /
Italian
9:00 to 17:00 +49-700-462-92375 +49-241-70525-25
Taiwan Mandarin 9:00 to 18:00 +886-2-8667-1298
ext. 333 +886-2-8667-1300
Japan Japanese 10:00 to 17:00 +81-3-3516-9555 –
Paid voice support
Location Language Lines are open
(Mon. to Fri.) URL
U.S.A. English 13:00 to 22:00 CST http://www.cyberlink.com/english/cs/support/
new_site/voice_support.jsp
Support web/e-mail
Language URL/e-mail address
English http://www.cyberlink.com/english/cs/support/new_site/support_
index.html
German / French / Spanish /
Italian goCyberlink@aixtema.de
Japanese http://jp.cyberlink.com/support/
Customer Support Information

66
1 Select the menu mode.
MENU
2 Select the desired first menu item.
! : VIDEO
# : IMAGE
Y : GENERAL
Q : OUTPUT SETTING
_ : MEDIA
¬
Select
Set
SP
ZOOM
QUALITY
OIS
VIDEO
SELECT SET QUIT
SCENE COUNTER
EXTERNAL MIC LEVEL
3 Select the desired second menu item.
For details on each menu, see below.
Select
Set
DISPLAY
DISPLAY ON TV
CLOCK ADJUST
LANGUAGE
DATE DISPLAY STYLE
GENERAL
SELECT SET QUIT
4 Select the desired setting.
Select
Set
ON
OFF
DEMO MODE
SELECT SET QUIT
8 To return to the previous screen
Move the set lever to £.
8 To exit the screen
Press the MENU button.
Menus Settings: [ ] = Factory-preset
! VIDEO
n QUALITYQUALITY
Sets the picture quality for
videos.
[FHD]: Record in 1920 x 1080i (full high-definition),
VBR (Variable Bit Rate).
SP: Record in 1440 x 1080i (high-definition), VBR
(Variable Bit Rate). Select this to record in the
higher picture quality.
LP: Record in 1440 x 1080i (high-definition), VBR
(Variable Bit Rate). Select this in order to record for
a long time.
1440 CBR: Record in 1440 x 1080i (high-definition),
CBR (Constant Bit Rate). Select this to copy a
recorded video in high-definition using the i.LINK
connector.
NOTE
If you switch the quality settings between FHD/SP/LP and
1440 CBR, a new file management folder is created in the
HDD or microSD card. (SP and LP files are stored in same
folders.) If you change the settings frequently, you may not
be able to record due to a limited quantity of folders. In this
case, perform the operation on page 77.
FURTHER INFORMATION
Changing the Menu Settings

67
ENGLISH
Menus Settings: [ ] = Factory-preset
! VIDEO
@ ZOOMZOOM
Sets the maximum zoom ratio.
[10X] / 40X / 200X
NOTE
Optical zoom is used up to 10X. Digital zoom is used from
more than 10X up to the selected zoom ratio.
q OIS
Compensates for hand shake.
OFF: Disables the function.
[ON]: Activates the function.
NOTES
• Complete stabilisation may not be possible if hand shake
is excessive, or depending on the shooting conditions.
• Switch off this mode when recording with the camera on a
tripod.
[ GAIN UPGAIN UP
Makes the subject appear bright
automatically when you record in
dark places. However, the overall
colour tones appear grayish.
OFF: Disables the function.
[AGC]: Electrically brightens the scene in dark place.
AUTO: Automatically brightens the scene when it is
dark. (Becomes brighter than AGC)
o WIND CUT
Reduces noise caused by wind.
[OFF]: Disables the function.
ON: Activates the function.
/ REC MEDIA FOR VIDEO
Sets the recording medium for
videos.
[HDD] / SD
NOTE
When set to [SD], video picture quality will be automatically
set to [SP].
h SCENE COUNTER
Displays the scene counter.
OFF: Disables the function.
[ON]: Activates the function.
Y EXTERNAL MIC LEVEL
Displays the input level when the
external microphone (optional) is
connected.
OFF: Disables the function.
[ON]: Activates the function.
X x.v.Color
Records video in the colour
range suitable for viewing in an
x.v.ColourTM compliant TV.
[OFF]: Disables the function.
ON: Activates the function.
NOTE
It is recommend to set x.v.ColourTM to [OFF] before the
recording if the recorded video will be edited with a software.
# IMAGE
n QUALITYQUALITY
Sets the picture quality for still
images.
[FINE] / STANDARD
y IMAGE SIZEIMAGE SIZE
Selects the picture size for still
images.
[1920 x 1080] / 1440 x 1080 / 1024 x 768 / 640 x 480
2 GAIN
Sets the ISO setting to increase
the sensitivity in dark conditions.
[AUTO] / 100 / 200 / 400

68
Changing the Menu Settings (Continued)
Menus Settings: [ ] = Factory-preset
# IMAGE
{ CONTINUOUS SHOOTINGCONTINUOUS SHOOTING
Records still images continuously
while the SNAPSHOT button is
pressed.
[OFF]: Disables the function.
ON: Activates the function.
BRACKETING: Activates the bracket shooting function.
In addition to an image with the exposure set by
the camera, two other images are recorded with
exposure values shifted to the +0.3 EV and –0.3 EV
sides. You can select the image that has a suitable
exposure after shooting.
NOTES
• The interval between recording still images is approx. 0.5
seconds.
• Continuous shooting may not work well depending on the
recording medium.
• The continuous shooting speed will drop if this function is
used repeatedly.
z SELF-TIMERSELF-TIMER
Starts recording when the
set time elapses after the
SNAPSHOT button is pressed.
[OFF] / 2SEC / 10SEC
NOTES
• You can confirm the countdown on the camera screen.
• You can also use this to prevent vibration by the hand.
3 REC MEDIA FOR IMAGE
Sets the recording medium for
still images.
[HDD] / SD
Y GENERAL
9 LANGUAGELANGUAGE
Sets the display language.
(Zp.17)
GZ-HD5AA/AG
GZ-HD6AA/AG
: [ENGLISH]
GZ-HD5AH
GZ-HD6AH
: [汉语]
You have a choice of 21 languages.
: CLOCK ADJUST
Sets the time. (Zp.17) DATE / TIME
; DATE DISPLAY STYLEDATE DISPLAY STYLE
Sets the date and time display
format.
DATE STYLE:
month.day.year / year.month.day / [day.month.year]
TIME:
[24h] / 12h
< DATE/TIME
Displays the current time on the
LCD monitor.
[AUTO]: The date/time appears for approx. 5 seconds in
the following cases.
• When the power/mode switch is set from OFF to ON
• When playback starts
ON: The date/time is always displayed.
OFF: The date/time does not appear.
Z PRESET
Returns all the camera settings
to their default values.
EXECUTE: Performs this function.
[CANCEL]: Returns to the menu screen without
executing reset.

69
ENGLISH
Menus Settings: [ ] = Factory-preset
Y GENERAL
\ BRIGHTBRIGHT
Sets the brightness of the LCD
monitor.
Adjust the brightness of the display by moving the set
lever to £ / ¤, then press down.
C MONITOR BACKLIGHT
Enables you to adjust the
brightness of backlight on the
monitor.
BRIGHTER / STANDARD / [AUTO]
NOTE
When you select [AUTO], the brightness will automatically
be set to [BRIGHTER] when you use the camera outdoors
and to [STANDARD] when you use the camera indoors.
^ DROP DETECTIONDROP DETECTION
Prevents damage to the
HDD by turning off the power
automatically when it is detected
that the camera dropped.
OFF: Disables the function.
[ON]: Activates the function.
To turn the camera on when the drop detection
worked, set the power/mode switch to OFF, and to
ON again.
CAUTION
Setting this function to off increases the risks of damaging
the built-in hard disk if the camera is accidentally dropped.
N FOCUS ASSIST
When this function is used, the
outline of the focused object is
displayed in the selected colour.
[BLUE] / RED / GREEN
] REMOTEREMOTE
Turns reception of the operation
signal from the remote control
on/off.
OFF: The camera does not receive the signal from the
remote control.
[ON]: Enables operation with the remote control.
[ DEMO MODEDEMO MODE
Introduces special features of
the camera when there is no
operation for about 3 minutes
during recording mode.
OFF: Disables the function.
[ON]: Activates the function.
NOTES
• The demonstration only works when the AC adapter is
connected, not with the battery.
• If a microSD card is in the camera, demonstration will not
take place even if this mode is set to [ON].
\ OPERATION SOUNDOPERATION SOUND
Turns the operation sound on/off.
OFF: Turns off the operation sound.
[MELODY]: The melody sounds when operations are
performed.
l DISPLAY
Displays the on-screen display.
OFF: Turns off the on-screen display.
[ON]: Turns on the on-screen display.
% DISPLAY ON TV
Displays camera’s on-screen
display on a TV screen.
[OFF]: Does not display on TV.
ON: Displays on TV.
NOTE
When connected to a TV using the i.LINK connector, the
camera’s on-screen display is not displayed on the TV, even
if this setting is [ON].

70
Menus Settings: [ ] = Factory-preset
Q OUTPUT SETTING
R VIDEO OUTPUT
Set the aspect (16:9/4:3) to
the screen of the connected
television when outputting videos
from the AV connector.
[16:9] / 4:3
S COMPONENT OUTPUT
Sets the definition of the video
output from the COMPONENT
connector.
[576i]: Outputs at 576i.
1080i: Outputs at 1080i.
T HDMI OUTPUT
Sets the definition of the video
output from the HDMI connector.
[AUTO1]: The definition that best suits the connected
device is automatically selected: 576i, 576p, 1080i
or 1080p*.
AUTO2:
The definition that best suits the connected
device is automatically selected: 576i, 576p or 1080i.
576p: Outputs at 576p. Select when the video is not
projected correctly.
* Playback mode only
U HDMI COLOR SETTING
Sets the video format of the
video output from the HDMI
connector.
[AUTO]: Select this under normal circumstances.
RGB: Select this when the video is not projected
correctly.
V HDMI ENHANCE SETTING
Automatically adjusts the image
quality (depth of colour, dark
colour suppression, etc.) of video
output when connecting to the
TV’s DVI connector.
[OFF]: Image quality is not automatically adjusted.
ON: Image quality is automatically adjusted.
W i.LINK OUTPUT (DUB)
Sets the video output according
to the device connected or
picture quality of the copied files
when using the i.LINK connector
to copy files.
DV: Outputs FHD/SP/LP/1440 CBR videos. Select this
when copying with a device that supports DV input.
[1440 CBR]: Outputs 1440 CBR videos only. Select this
when copying video that was recorded with [1440
CBR] set in [QUALITY].
Changing the Menu Settings (Continued)

71
ENGLISH
Menus Settings: [ ] = Factory-preset
_ MEDIA
1 CLEAN-UP HDD
Writing speed to HDD tends to
become slow after long periods
of repeated use. Execute cleanup
periodically to regain the writing
speed.
Connect the AC adapter.
EXECUTE: Performs this function. Select [OK] when
completed.
[CANCEL]: Cancels this function.
NOTE
Depending on the condition of the HDD, it may take several
minutes for the cleanup process to be completed.
2 FORMAT HDD
Ensures stable speeds and
operation when accessing the
hard disk drive.
EXECUTE: Performs this function. Select [OK] when
completed.
[CANCEL]: Cancels this function.
NOTES
• Be aware that all files and data including protected files
will be erased by the formatting process.
• Do not format the hard disk of the camera by your PC.
, FORMAT SD CARD
You have to format newly
purchased microSD cards with
this camera before using them.
This will also ensure stable
speeds and operation when
accessing the microSD card.
EXECUTE: Performs this function. Select [OK] when
completed.
[CANCEL]: Cancels this function.
NOTES
• Be aware that all files and data including protected files
will be erased by the formatting process.
• Do not format the microSD card in the camera by your
PC.
0 DELETE DATA ON HDD
When you dispose of the
camera, perform this to make it
difficult to recover data on the
HDD.
Connect the AC adapter.
EXECUTE: Performs this function. Select [OK] when
completed.
[CANCEL]: Cancels this function.
NOTE
In addition to this operation, it is recommended that you use
a commercially available date erasing software to eliminate
the risk of data recovery.
- VIDEO NO. RESET
. IMAGE NO. RESET
By resetting the file number
(name), a new folder is made.
The new files will be stored in the
new folder.
It is convenient to separate
the new files from previously
recorded files.
EXECUTE: Performs this function. Select [OK] when
completed.
[CANCEL]: Cancels this function.

72
Trouble Action
Card
Cannot insert the
microSD card.
• Check that the microSD card is facing the right direction.
Power
No power is supplied. • Connect the AC adapter correctly.
• Recharge the battery.
After the low
temperature message
is displayed, the
power turns off when
the camera warms up.
• When the camera has warmed up after being cold, the camera
may switch itself off to check it is operating correctly.
There is a sound
when turning on/off
the power.
• When you turn on/off the power, the lens cover opens/closes
automatically and this causes a sound. This is not a malfunction.
Recording
Recording cannot be
performed. • Set the power/mode switch to ON.
• Press the PLAY/REC button to select the recording mode.
Recording stops by
itself.
• If the camera temperature increases, REC flashes in the LCD
monitor. If the temperature continues to increase, operation stops
automatically to protect the HDD.
• Move to a place where the camera is not affected by excessive
sound or vibration.
• Recording stops automatically after 12 hours of continuous
recording.
The focus is
not adjusted
automatically.
• Clean any dirt or water droplets from the lens.
• Set focus to the automatic mode.
• If you are recording in a dark place or a subject that has no
contrast between dark and light, adjust the focus manually.
The recorded subject
is too dark.
• Use backlight compensation or Nightscope.
• Set the brightness to the [+] side.
• For videos, set [GAIN UP] in the video menu to [AGC] or [AUTO].
• For still images, set [GAIN] in the image menu to [AUTO] or [400].
The camera is a microcomputer-controlled
device. External noise and interference (from
a TV, a radio, etc.) might prevent it from
functioning properly.
The following phenomena are not
malfunctions.
• The camera heats up when it is used for a
long time.
• The battery heats up during charging.
• When playing back a video file, the
image stops momentarily or the sound is
interrupted at junctions between scenes.
• To solve the problem, first follow the
instructions below.
• If the problem is not solved, reset the
camera. (Z p. 76)
• If the problem persists, please consult your
nearest JVC dealer.
Troubleshooting

73
ENGLISH
Trouble Action
Recording
The recorded subject
is too bright. • Set the backlight compensation to [OFF] if it is being used.
• Set the brightness to the [–] side.
Cannot use spot
exposure control. • Keep the zoom ratio below 10X.
The colour of the
recorded subject
looks strange.
• If there are numerous light sources etc. behind the subject, set the
white balance to [MWB].
Bright vertical lines
appear on recorded
images.
• This type of phenomenon may occur when shooting a subject
illuminated by bright light. This is not a malfunction.
Digital zoom does not
work. • Change [ZOOM] in the video menu to [40x] or [200x].
White balance setting
cannot be activated.
• This cannot be used if [SEPIA] or [MONOTONE] are selected as
effects.
• Do not use [TWILIGHT] from program AE.
The continuous
shooting speed is
slow.
• The continuous shooting speed will drop after continuous shots.
• Continuous shooting speed may drop depending on the recording
media or under certain recording conditions.
The date/time does
not appear. • Set [DATE/TIME] in the general menu to [ON].
A function cannot be
activated.
• Check the indication that represents that function.
• If the indication is flashing or off, you have selected two functions
that cannot be used together. Choose which of the functions to
use.
Video movement
appears jerky/like it is
frame dropping.
• Deactivate Nightscope, [SHUTTER SPEED] and/or [EFFECT].
Displays
The indication display
flashes or goes out. • You have selected two functions that cannot be used together.
Choose which of the functions to use.
The LCD monitor
appears blank.
• Operate the camera.
(When using the AC adapter, if the camera is not operated for a
certain length of time it will enter sleep mode, the video/still image
mode lamp lights, and the LCD backlight turns off.)
The remaining battery
display is not correct.
• Fully charge the battery, run it down, and then recharge it again.
• If the camera is used for long periods of time in high or low
temperatures, or if the battery is repeatedly charged, the amount
of remaining battery may not be displayed correctly.

74
Trouble Action
Displays
The LCD monitor
display is uneven.
• If the LCD monitor or surrounding parts have been pressed,
remove your hand and leave the camera for a short while.
(Applying pressure causes image unevenness.)
Images on the LCD
monitor appear dark
or whitish.
• Adjust the brightness and angle of the LCD monitor.
• The LCD monitor appears dark when used in cold places. This is
not a malfunction.
• The LCD monitor may be reaching the end of its service life.
Consult your nearest JVC dealer or the JVC customer service.
The LCD monitor is
difficult to see. • The LCD monitor may be difficult to see if used in bright areas
such as under direct sunlight.
Playback
The same scene
appears stopped for a
long time.
• Replace the microSD card.
(If there are scratches etc. on the microSD card, the camera will
have difficulty reading the data, and this phenomenon may occur.
The camera will try to play back as much as possible, but if this
condition continues, the camera will not be able to play back the
video and it will automatically stop.)
• Perform cleanup or formatting.
Video movement
appears jerky.
Sound or video are
interrupted. • Sometimes playback is interrupted at the connecting section
between two scenes.
Noise can be heard. • Do not move the camera suddenly during recording. (If the camera
is moved suddenly during recording, the driving sound (hum) of
the hard disk may have been recorded.)
Images look unnatural
on the TV (long and
thin etc.)
• Change [VIDEO OUTPUT] in the output setting menu to match
your TV.
A part of the TV
screen appears to be
shaking.
• Change [HDMI OUTPUT] in the output setting menu to [AUTO].
Cannot find a
recorded video.
• Select [PLAYBACK TPD FILE] in the function menu, then search
the video file on the index screen.
(Video files that have damaged management information or video
files that were written back from a computer can be played.)
The colour of images
looks strange.
• When recording the white balance was not correctly adjusted.
• When the video was recorded with x.v.ColourTM set to [ON],
change the setting as desired on TV.
Troubleshooting (Continued)

75
ENGLISH
Trouble Action
Playback
Some functions
cannot be used when
playing back a backup
DVD through a DVD
burner connected to
the camera.
• The following functions cannot be used for a backup DVD.
[When playing back video]
- Special playback (forward slow motion, reverse slow motion,
frame-by-frame forward, frame-by-frame back)
- Saving still images from video playback
- Search index by date
- Playback effects
- Playback zoom (remote control function)
[When playing back still image]
- Rotate 90 degrees
-
INFO button (file information, histogram)
- Playback effects
- Playback zoom (remote control function)
When playing back
video, mosaic-type
noise may occur on
the playback screen.
• Mosaic-type noise may occur when recording under the following
conditions.
- When there is a complicated pattern in the background
- If the camera is moved around a lot, or moved quickly
- When recording a subject that moves quickly (especially when
recording in [LP] mode)
Dubbing
High-definition
dubbing cannot be
performed to a HDV
device.
• Check all of the following.
- Record with [QUALITY] in the video menu set to [1440 CBR].
- Create a playlist, then dub the playlist. (Dubbing cannot be done
for each video file.)
- When dubbing, set [i.LINK OUTPUT (DUB)] in the output setting
menu to [1440 CBR].
When connected
with an i.LINK cable,
the camera does not
operate if controls are
attempted from the
PC etc.
• Operate the camera.
(The camera cannot be operated from the PC.)
When dubbing a
playlist, some videos
cannot be played
back.
• When dubbing high-definition videos to a connected HDV device,
do not include [FHD] or [SP] quality videos in the playlist.
(When the playlist is being played back, these videos will not be
played.)
• Set [i.LINK OUTPUT (DUB)] in the output setting menu to [DV],
and dub to a DV camera or DVD recorder using standard quality
dubbing.
• Connect using a audio/video cable, and dub to an analog device
using standard quality dubbing.
When dubbing, the
connected video
device does not
start recording
automatically.
• Operate the video device manually to start and stop recording.

76
Trouble Action
Other problems
The camera operates
slowly when
switching between
video mode and still
image mode, or when
switching the power
on or off.
• Copy all files from the media onto your computer, and erase the
files from the media.
(If there are many still images (more than 1,000 files) on the
media, it takes time for the camera to process the files.)
The camera gets hot. • This is not a malfunction.
The lamp does not
flash during battery
charging.
• Check the remaining battery charge.
(When the battery is fully charged, the lamp does not flash.)
• When recharging in either a hot or cold environment, ensure that
battery is being charged within the permitted temperature range.
(If the battery is being recharged outside the permitted
temperature range, recharging may stop to protect the battery.)
The remote control
doesn’t work.
• Replace the batteries.
• Set [REMOTE] in the general menu to [ON].
• The remote control may not operate outdoors or in places
exposed to strong light.
8 The following phenomena are not malfunctions.
• LCD monitor momentarily becomes red or black when sunlight is recorded.
• Black spots, or red, green, or blue spots appear on the LCD monitor.
(The LCD monitor contains 99.99% effective pixels, but 0.01% or fewer pixels may be
ineffective.)
8 Maintaining HDD Performance
Periodically perform [CLEAN-UP HDD].
8 If a malfunction occurs in the HDD
! Perform [CLEAN-UP HDD].
# If this does not solve the malfunction, perform [FORMAT HDD]. (All data is deleted.)
$ If this does not solve the problem, perform the disc check function from a PC after
formatting.
% If this does not solve the problem, contact the JVC customer service for repairs.
8 To reset the camera
! Set the power/mode switch to OFF and remove the power supply (battery pack or AC
adapter) from the camera, then reattach it.
# Execute [PRESET] in the general menu. (Z p. 68)
Troubleshooting (Continued)

77
ENGLISH
Indication Meaning/Action
HARD DISK DRIVE IS FULL • Erase files. Move onto media such as a computer.
MEMORY CARD IS FULL • Erase files. Move onto media such as a computer. Replace
with a new microSD card.
COMMUNICATING ERROR •
Detach the battery pack once and re-attach it firmly.
INCOMPATIBLE FORMAT • Remove and re-insert the microSD card.
UNSUPPORTED FILE! • Use a supported file format.
NO SUPPORTED FILES • Record some still images.
NUMBER OF FOLDERS
OVERFLOW
• Perform the following operations in order.
! Backup files onto a PC etc.
# Select [FORMAT HDD] in the media menu. (For microSD
cards, select [FORMAT SD CARD].)
$ Select [EXECUTE].
% While holding down the event button, press the set lever.
POWER NOT ON OR USB
DEVICE NOT COMPATIBLE • Check that the power of the connected USB device is on.
RECORDING FAILURE
[microSD card]
• Check whether the microSD card has been checked for
operability.
[HDD]
• Perform cleanup.
• Do not allow the camera to be subject to impact/vibrations.
RECORDING CANCELLED • Select [OK] and stop recording.
• Use the camera in areas where it will not be subject to impact/
vibrations.
THIS FILE IS PROTECTED • Switch off the [PROTECT] function in the function menu.
NUMBER OF PRINTS ERROR • Set between 1~999 images.
EVENT LIST EMPTY • Set the event.
NO PLAYLIST • Create a playlist.
NO REGISTERED SCENES IN
PLAYLIST
SOME OF SCENES MAY NOT
BE PLAYED BACK
PROCESSING CANCELLED
DUE TO LACK OF SPACE
FOR OPERATION
• Reduce the number of videos that can be registered to a
playlist to less than 99 files.
Warning Indications

78
Indication Meaning/Action
MEMORY CARD ERROR!
• Remove and re-insert the microSD card. (Multimedia cards
cannot be used.)
• Remove any dirt from the microSD card terminals.
• Insert the microSD card before switching the power on.
HDD ERROR! • Perform cleanup or formatting.
RECORDING MAY NOT BE
CORRECT ON THE MEMORY
CARD
• Check the operating procedure, and perform once again.
MEMORY CARD CANNOT BE
PLAYED BACK CORRECTLY
MAY NOT RECORD HARD
DISK DRIVE CORRECTLY
CANNOT PLAYBACK HARD
DISK DRIVE CORRECTLY
THIS CARD IS NOT
FORMATTED • Perform formatting.
SET DATE/TIME! • Set the date and time. (If the display does not disappear
after completing the settings, the clock battery is exhausted.
Consult your nearest JVC dealer.)
VIDEO MANAGEMENT
FILE IS BROKEN TO
RECORD/PLAYBACK VIDEO,
RECOVERY IS REQUIRED
RECOVER?
• Select [OK] to restore.
CANNOT USE IN VIDEO
MODE
• Set the video media in the video menu to [HDD].
• Replace the microSD card. (Cards that have been recorded on
using anything other than JVC high-definition hard disk movies
cannot be used.)
Warning Indications (Continued)

79
ENGLISH
Before cleaning, turn off the camera and remove the battery pack and AC adapter.
8 To clean the exterior
Wipe gently with a soft cloth. If the camera is particularly dirty, dip the cloth into diluted mild
soap and wring it out well. After wiping with the wet cloth, wipe again with a dry cloth.
8 To clean the LCD monitor
Wipe gently with a soft cloth. Be careful not to damage the monitor.
8 To clean the lens
Wipe gently with lens cleaning paper.
NOTES
• Avoid using strong cleaning agents such as benzine or alcohol.
• Mould may form if the lens is left dirty.
• When using a cleaner or chemically treated cloth, refer to the cautions for each product.
Cleaning

80
Camera
8 For general
Power supply
DC 11 V (Using AC adapter)
DC 7.2 V (Using battery pack)
Power consumption
GZ-HD5
Approx. 6.9 W
GZ-HD6
Approx. 7.1 W
Dimensions (W x H x D)
GZ-HD5
78 mm x 73 mm x 130 mm
GZ-HD6
79 mm x 73 mm x 138 mm
Weight
GZ-HD5
Approx. 480 g (incl. strap)
Approx. 565 g (incl. battery and strap)
GZ-HD6
Approx. 505 g (incl. strap)
Approx. 590 g (incl. battery and strap)
Operating temperature
0°C to 40°C
Operating humidity
35% to 80%
Storage temperature
–20°C to 50°C
Pickup
1/5" (570,000 pixels) progressive CCD
Lens
F 1.8 to 1.9,
f = 3.3 mm to 33.0 mm,
10:1 power zoom lens
Filter diameter
ø43.0 mm
LCD monitor
2.8" diagonally measured,
LCD panel/TFT active matrix system
Speaker
Monaural
8 For video/audio
Format
SD-VIDEO
Recording/Playback format
Video: MPEG-2 TS
Audio: MPEG-1 Layer 2
Signal format
1080/50i
Recording mode (video)
FHD: VBR, average of 26.6 Mbps
SP: VBR, average of 19 Mbps
LP: VBR, average of 11.1 Mbps
1440 CBR: CBR, 27 Mbps
Recording mode (audio)
48 kHz, 384 kbps
8 For still image
Format
JPEG
Image size
4 modes: 1920 x 1080
1440 x 1080
1024 x 768
640 x 480
Picture quality
2 modes: FINE / STANDARD
8 For connectors
HDMI
HDMITM (V.1.3 with x.v.ColourTM)
Component output
Y, Pb, Pr component output
Y: 1.0 V (p-p), 75 W
Pb/Pr: 0.7 V (p-p), 75 W
i.LINK output
4-pin (i.LINK/IEEE1394 compliant)
AV output
Video output: 1.0 V (p-p), 75 W
Audio output: 300 mV (rms), 1 kW
USB
Mini USB type A and type B,
USB 2.0 compliant
Microphone
ø3.5 mm stereo mini jack
GZ-HD6
Headphone
ø3.5 mm stereo mini jack
AC Adapter
Power requirement
AC 110 V to 240 Vd, 50 Hz/60 Hz
Output
DC 11 V
§
, 1 A
Specifications

81
ENGLISH
Approximate recording time (minutes) (for video)
Recording medium
Quality
HDD microSD Card
GZ-HD5
60 GB
GZ-HD6
120 GB 4 GB
FHD 300 600 –
SP 420 840 25
LP 720 1440 –
1440 CBR 300 600 –
Approximate number of storable images (for still image)
Recording medium
Image size/Quality
HDD microSD Card
GZ-HD5
60 GB
GZ-HD6
120 GB 512 MB 1 GB 2 GB 4 GB
16:9
1920 x 1080 / FINE 9999 9999 535 1065 2115 4220
1920 x 1080 / STANDARD 9999 9999 840 1670 3225 6445
4:3
1440 x 1080 / FINE 9999 9999 705 1405 2785 5565
1440 x 1080 / STANDARD 9999 9999 1110 2205 4380 8750
1024 x 768 / FINE 9999 9999 1415 2810 5575 9999
1024 x 768 / STANDARD 9999 9999 2225 4115 8765 9999
640 x 480 / FINE 9999 9999 3465 6870 9999 9999
640 x 480 / STANDARD 9999 9999 6235 9999 9999 9999
Remote Control
Power supply
DC 3 V
Battery life
Approx. 1 year
(depending on the frequency of use)
Operating distance
Within 5 m
Operating temperature
0°C to 40°C
Dimensions (W x H x D)
42 mm x 14.5 mm x 91 mm
Weight
Approx. 30 g
(incl. battery)
Design and specifications subject to change
without notice.

82
Battery Packs
The supplied battery pack is
a lithium-ion battery. Before
using the supplied battery
pack or an optional battery
pack, be sure to read the
following cautions:
Terminals
• To avoid hazards
... do not burn.
... do not short-circuit the terminals. Keep it away
from metallic objects when not in use. When
transporting, make sure the provided battery
cap is attached to the battery. If the battery
cap is misplaced, carry the battery in a plastic
bag.
... do not modify or disassemble.
... do not expose the battery to temperatures
exceeding 60°C, as this may cause the battery
to overheat, explode or catch fire.
... use only specified chargers.
• To prevent damage and prolong service life
... do not subject to unnecessary shock.
... charge within the temperature range of
10°C to 35°C. This is a chemical reaction
type battery — cooler temperatures impede
chemical reaction, while warmer temperatures
can prevent complete charging.
... store in a cool, dry place. Extended exposure
to high temperatures will increase natural
discharge and shorten service life.
... fully charge and then fully discharge the
battery every 6 months when storing the
battery pack over a long period time.
... remove from charger or powered unit when
not in use, as some machines use current
even when switched off.
Recording Medium
• Be sure to follow the guidelines below
to prevent corruption or damage to your
recorded data.
• Do not bend or drop the recording medium, or
subject it to strong pressure, jolts or vibrations.
• Do not splash the recording medium with water.
• Do not use, replace, or store the recording
medium in locations that are exposed to strong
static electricity or electrical noise.
• Do not turn off the camera power or remove
the battery or AC adapter during shooting,
playback, or when otherwise accessing the
recording medium.
• Do not bring the recording medium near objects
that have a strong magnetic field or that emit
strong electromagnetic waves.
• Do not store the recording medium in locations
with high temperature or high humidity.
• Do not touch the metal parts.
• When formatting or erasing data using the
camera, only the file administration information
is changed. The data is not completely erased
from the hard disk. If you want to completely
erase all of the data, we recommend either
using commercially available software that
is specially designed for that purpose, or
by physically destroying the camera with a
hammer etc.
Hard disk
• Do not use the unit where it is subject to
vibrations or loud sounds.
• If you move the unit suddenly, the drop
detection function may operate and the power
may be turned off.
LCD Monitor
• To prevent damage to the LCD monitor, DO
NOT
... push it strongly or apply any shocks.
... place the camera with LCD monitor on the
bottom.
• To prolong service life
... avoid rubbing it with coarse cloth.
Cautions

83
ENGLISH
Main Unit
• For safety, DO NOT
... open the camera’s chassis.
... disassemble or modify the unit.
... allow inflammables, water or metal objects to
enter the unit.
... remove the battery pack or disconnect the
power supply while the power is on.
... leave the battery pack attached when the
camera is not in use.
... place naked flame sources, such as lighted
candles, on the apparatus.
... expose the apparatus to dripping or splashing.
... leave dust or metal objects adhered to the
power plug or an AC wall outlet.
... insert any objects in the camera.
• Avoid using the unit
... in places subject to excessive humidity or dust.
... in places subject to soot or steam such as
near a cooking stove.
... in places subject to excessive shock or vibration.
... near a television set.
... near appliances generating strong magnetic
or electric fields (speakers, broadcasting
antennas, etc.).
... in places subject to extremely high (over 40°C)
or extremely low (under 0°C) temperatures.
... in places where the air pressure is low (more
than 3000 m above the sea level).
• DO NOT leave the unit
... in places of over 50°C.
... in places where humidity is extremely low
(below 35%) or extremely high (above 80%).
... in direct sunlight.
... in a closed car in summer.
... near a heater.
... in high places such as on a TV. Leaving the
unit in high places while a cable is connected
may result in a malfunction if the cable is
caught and the unit falls onto the floor.
• To protect the unit, DO NOT
... allow it to become wet.
... drop the unit or strike it against hard objects.
... subject it to shock or excessive vibration
during transportation.
... keep the lens directed at extremely bright
objects for long periods.
... expose the lens to direct sunlight.
... swing it excessively when using the hand strap.
... swing the soft camera case excessively when
the camera is inside it.
... place the camera in dusty or sandy areas,
such as on a beach.
• To prevent the unit from dropping,
• Attach the shoulder strap securely and fasten
the grip belt securely.
• When using the camera with a tripod, attach the
camera to the tripod securely.
If the camera drops, you may be injured and the
camera may be damaged.
When a child uses the unit, there must be parental
guidance.

0208FOH-AL-OT
AA/AG/AH
© 2008 Victor Company of Japan, Limited
A AC Adapter ...................................................... 16
Adjust Brightness ............................................ 27
Aperture Priority .............................................. 27
AV Connection ..................................... 36, 50, 70
B Backlight Compensation .................................. 25
Battery Pack ........................................ 16, 23, 82
Brightness Control (LCD Monitor) ................... 69
C Clean-up HDD ................................................. 71
Clock Adjust .............................................. 17, 68
Color Bar ......................................................... 28
Component Connection ............................ 35, 70
Continuous Shooting ....................................... 68
Copying (Moving) Still Images ... 46, 50, 51, 52, 61
Copying Video Files ....................... 46, 50, 52, 61
D Date/Time ........................................................ 68
Date Display Style ........................................... 68
Date Index Screen ........................................... 31
Deleting Files ............................................ 37, 71
Deleting Playlist ............................................... 45
Demonstration Mode ....................................... 69
Display on TV .................................................. 69
DPOF .............................................................. 41
Drop Detection ................................................ 69
DVD Burner ..................................................... 46
DVD Recorder ................................................. 49
E Effect ......................................................... 28, 32
Event Registration ..................................... 22, 40
Event Screen ................................................... 31
External Microphone ................................. 13, 67
F File Information ................................................ 39
Focus ............................................................... 25
Focus Assist .............................................. 25, 69
Formatting a Recording Medium ..................... 71
G Gain ................................................................. 67
Gain Up ........................................................... 67
H Hard Disk ........................................................ 82
HDMI Connection ...................................... 35, 70
I i.LINK Connection ..................................... 49, 70
Image Rotation ................................................ 30
Image Size ...................................................... 67
L Language Setting ...................................... 17, 68
LCD Monitor ........................................ 12, 14, 82
M Macintosh ........................................................ 61
Manual Recording ........................................... 24
Menu Settings ................................................. 66
microSD Card .................................................. 18
Monitor Backlight ............................................. 69
N Nightscope ...................................................... 25
O On-Screen Display .......................................... 69
Operation Sound ............................................. 69
Optical Image Stabiliser (OIS) ......................... 67
P Picture Quality ........................................... 66, 67
Playlist ............................................................. 43
Power-Linked Operation .................................. 12
Preset .............................................................. 68
Program AE ..................................................... 24
Protecting Files ............................................... 37
R Recordable Time/Number of Images ............... 81
Recording Medium ........................ 23, 67, 68, 82
Remote Control ................................... 11, 13, 69
Resetting the File Number ............................... 71
S Scene Counter ................................................ 67
Self-Timer ........................................................ 68
Sharpness ....................................................... 28
Shutter Speed ................................................. 27
Slide Show ...................................................... 30
Speaker Volume .............................................. 29
Spot Exposure Control .................................... 26
Still Image ................................................. 21, 30
T Tele Macro ....................................................... 28
Tripod Mounting ............................................... 18
TV .............................................................. 35, 36
V VCR ................................................................. 49
Video ......................................................... 20, 29
W White Balance ................................................. 27
Wind Cut ......................................................... 67
Windows PC .................................................... 52
Wipe or Fader Effects ...................................... 34
X x.v.Colour ........................................................ 67
Z Zebra ............................................................... 28
Zooming .................................................... 22, 67
Terms