JVC LT 20BW7BW User Manual 4J 06801 012 EN
User Manual: JVC LT-20BW7BW LT-20BW7BW English,
Open the PDF directly: View PDF
.
Page Count: 39

WIDE LCD PANEL TV INSTRUCTIONS
16:9 LCD TV
BEDIENUNGSANLEITUNG
TELEVISEUR A ECRAN LCD PANORAMIQUE
MANUEL D’INSTRUCTIONS
BREEDBEELD LCD TV
GEBRUIKSAANWIJZING
TELEVISOR CON PANEL LCD PANORÁMICO
MANUAL DE INSTRUCCIONES
TV LCD WIDESCREEN
ISTRUZIONI
TELEVISOR COM ECRÃ PANORÂMICO DE
CRISTAL LÍQUIDO
INSTRUÇÕES
LT-20BW7BW
LT-20BW7BE
LT-20BW7BN
LT-20BW7BS
ENGLISH
DEUTSCH
FRANÇAIS
NEDERLANDS
CASTELLANO
ITALIANO
PORTUGUÊS

Dear Customer,
This apparatus is in conformance with the valid European directives and standards regarding
electromagnetic compatibility and electrical safety.
European representative of Victor Company of Japan, Limited is:
JVC Technology Centre Europe GmbH
Postfach 10 05 52
61145 Friedberg
Germany
Sehr geehrter Kunde, sehr geehrte Kundin,
dieses Gerät stimmt mit den gültigen europäischen Richtlinien und Normen bezüglich
elektromagnetischer Verträglichkeit und elektrischer Sicherheit überein.
Die europäische Vertretung für die Victor Company of Japan, Limited ist:
JVC Technology Centre Europe GmbH
Postfach 10 05 52
61145 Friedberg
Deutschland
Cher(e) client(e),
Cet appareil est conforme aux directives et normes européennes en vigueur concernant la
compatibilité électromagnétique et à la sécurité électrique.
Représentant européen de la société Victor Company of Japan, Limited :
JVC Technology Centre Europe GmbH
Postfach 10 05 52
61145 Friedberg
Allemagne
Geachte klant,
Dit apparaat voldoet aan de geldende Europese normen en richtlijnen inzake elektromagnetische
compatibiliteit en elektrische veiligheid.
De Europese vertegenwoordiger van Victor Company of Japan, Limited is:
JVC Technology Centre Europe GmbH
Postfach 10 05 52
61145 Friedberg
Duitsland
ENGLISH
DEUTSCH
FRANÇAIS
NEDERLANDS

Apreciado cliente,
Este aparato cumple con las normativas y normas europeas respecto a la seguridad eléctrica y a la
compatibilidad electromagnética.
El representante europeo de Victor Company of Japan, Limited es:
JVC Technology Centre Europe GmbH
Postfach 10 05 52
61145 Friedberg
Alemania
Gentile Cliente,
Questa apparecchiatura è conforme alle direttive e alle norme europee relative alla compatibilità
elettromagnetica e alla sicurezza elettrica.
Il rappresentante europeo della Victor Company of Japan, Limited è:
JVC Technology Centre Europe GmbH
Postfach 10 05 52
61145 Friedberg
Germania
Caro Cliente,
Este aparelho encontra-se em conformidade com as directivas Europeias válidas e padrões referentes
à compatibilidade magnética e segurança eléctrica.
O representante europeu da Victor Company of Japan, Limited é:
JVC Technology Centre Europe GmbH
Postfach 10 05 52
61145 Friedberg
Alemanha
CASTELLANO
ITALIANO
PORTUGUÊS

1
ENGLISH
Thank you for buying this JVC LCD flat television.
To make sure you understand how to use your new TV, please read this manual thoroughly before you
begin. (“LCD” stands for Liquid Crystal Display.)
WARNING: TO PREVENT FIRE OR SHOCK HAZARD, DO NOT EXPOSE THIS
APPLIANCE TO RAIN OR MOISTURE.
WARNING
• Fingers may be trapped under the TV causing injuries.
Hold the TV at the bottom in the middle, and do not
allow it to tilt up or down.
WARNING
• The TV may fall causing injuries. Hold the bottom of the
stand with your hand and tilt the TV up and down.
• Do not allow children to hang from the TV, place their
elbows on the TV or lean against the TV. Doing so may
cause the TV to fall over and lead to injuries.
CAUTION
• The TV screen may be damaged if the TV is carried as
shown in the diagram on the right.

2
Failure to take the following precautions may cause damage to the television
or remote control.
DO NOT block the TV’s ventilation openings or holes.
(If the ventilation openings or holes are blocked by a newspaper or cloth, etc., the heat may not be
able to get out.)
DO NOT place anything on top of the TV.
(such as cosmetics or medicines, flower vases, potted plants, cups, etc.)
DO NOT allow objects or liquid into the cabinet openings.
(If water or liquid is allowed to enter this equipment, fire or electric shock may be caused.)
DO NOT place any naked flame sources, such as lighted candles, on the TV.
DO NOT subject the TV to direct sunlight.
Make enough room for inserting and removing the power plug! Place the TV as close to the
outlet as possible.
The main power supply for this TV is controlled by inserting or removing the power plug.
Pixel defects
LCDs use collections of fine points (“pixels”) to display images. While there is no problem with
more than 99.99% of these pixels, please understand that a very small number of pixels may not
light, or may light all the time.
Distance recommendations
Avoid improper installation and never position the unit
where good ventilation is impossible.
When installing this TV, distance recommendations
must be maintained between the set and the wall, as well
as inside a tightly enclosed area or piece of furniture.
Keep to the minimum distance guidelines shown for
safe operation.
The surface of the TV screen is easily damaged. Be very careful with it when handling the TV.
Should the TV screen become soiled, wipe it with a soft dry cloth. Never rub it forcefully.
Never use any cleaner or detergent on it.
If there is a fault, unplug the unit and call a service technician. Do not attempt to repair it yourself
or remove the rear cover.

3
ENGLISH
Cleaning the screen
The screen is coated with a special thin film to reduce reflection. If this film is damaged, uneven
colors, discoloration, scratches, and other problems that cannot be repaired may occur. Pay
attention to the following when handling the screen.
• Do not use glue or adhesive tape on the screen.
• Do not write on the screen.
• Do not allow the screen to come in contact with any hard objects.
• Do not allow condensation to form on the screen.
• Do not use alcohol, thinner, benzene or other solvents on the screen.
• Do not rub the screen hard.
Information for Users on Disposal of Old Equipment
CAUTION:
• Operate only from the power source specified (AC 220 – 240 V, 50/60 Hz) on the unit.
• Avoid damaging the AC plug and power cord.
• When you are not using this unit for a long period of time, it is recommended that you disconnect
the power cord from the main outlet.
[European Union]
Attention:
This symbol is
only valid in the
European Union.
This symbol indicates that the electrical and electronic equipment should not be
disposed as general household waste at its end-of-life. Instead, the product should
be handed over to the applicable collection point for the recycling of electrical and
electronic equipment for proper treatment, recovery and recycling in accordance
with your national legislation.
By disposing of this product correctly, you will help to conserve natural resources
and will help prevent potential negative effects on the environment and human
health which could otherwise be caused by inappropriate waste handling of this
product. For more information about collection point and recycling of this
product, please contact your local municipal office, your household waste
disposal service or the shop where you purchased the product.
Penalties may be applicable for incorrect disposal of this waste, in accordance
with national legislation.
(Business users)
If you wish to dispose of this product, please visit our web page www.jvc-
europe.com to obtain information about the take-back of the product.
[Other Countries outside the European Union]
If you wish to dispose of this product, please do so in accordance with applicable
national legislation or other rules in your country for the treatment of old electrical
and electronic equipment.

4
CONTENTS
Setting up your TV ...................................5
Installation.................................................. 5
Using the stand.......................................... 5
Connecting the aerial and video cassette
recorder (VCR)....................................... 6
Connecting the power cord to the AC
outlet....................................................... 7
Putting the batteries into the remote
control..................................................... 7
Initial settings (Setup tour) ......................... 7
TV buttons and functions........................9
Turn the TV on from standby mode ........... 9
Choose a TV channel ................................ 9
Watch images from external devices......... 9
Adjust the volume .................................... 10
Using the Menu........................................ 10
Remote control buttons and functions 11
Turn the TV on or off from standby mode 11
Choose a TV channel and watch images
from external devices ........................... 11
Adjust the volume .................................... 12
Information function ................................. 12
ZOOM function......................................... 13
Hyper Sound function .............................. 14
Sleep Timer function................................ 14
Sound Mode function............................... 15
Picture Mode function .............................. 15
Operating a JVC brand VCR or DVD
player.................................................... 16
Teletext function ....................................17
Basic operation ........................................ 17
Hold.......................................................... 17
Sub-page ................................................. 17
Reveal...................................................... 17
Size.......................................................... 18
Index ........................................................ 18
Cancel...................................................... 18
Using the TV’s menu..............................19
Basic operation ........................................ 19
Picture menu ..........................................20
Picture Mode............................................ 20
Bright-1 .................................................... 20
Contrast ................................................... 20
Colour ...................................................... 20
Sharpness................................................ 20
Picture Reset ........................................... 20
Picture Advanced Setting......................... 20
Sound menu ...........................................22
Bass......................................................... 22
Treble ....................................................... 22
Balance .................................................... 22
Hyper Sound ............................................ 22
Sound Mode.............................................22
Sound Reset ............................................22
Install menu............................................ 23
Auto Program ........................................... 23
Manual Program....................................... 23
Program Edit ............................................ 24
Program List............................................. 25
Colour System.......................................... 26
Feature menu ......................................... 27
Language ................................................. 27
Aspect Ratio............................................. 27
Sleep Timer.............................................. 27
Child Lock ................................................ 27
Blue Back................................................. 27
PC Setting menu.................................... 28
Auto.......................................................... 28
Dot Clock.................................................. 28
Clock Phase ............................................. 28
H. Position................................................ 28
V. Position ................................................ 28
Displaying a computer screen.............. 29
Connecting to the computer..................... 29
Watching images from a computer ..........29
Table of signals for each type of
computer............................................... 29
Additional preparation .......................... 30
Connecting external equipment ...............30
Troubleshooting .................................... 33
Specifications ........................................ 35

5
ENGLISH
Setting up your TV
• When you install the TV on the wall, only use a JVC wall mounting unit (optional) which is
designed for this TV.
• Make sure that the TV is installed on the wall by a skilled installer.
Installation
Cautions for installation
• Install the TV in a corner on a wall or on the floor so as to keep cords out of the way.
• The TV will generate a slight amount of heat during operation. Ensure that sufficient space is
available around the TV to allow satisfactory cooling. See “Distance recommendations” on
page 2.
Using the stand
This TV comes with a table top stand already attached.
This stand can be used to adjust the direction of the TV screen up and down.
Tilt the TV backwards and forward:
While holding the bottom of the stand with one
hand, push the top side of the TV to tilt it
backward. To tilt the TV forward, pull the top
side of the TV toward yourself.
Cable holder
A cable holder which is used to keep the
connection cables tidy is attached to the back
of the stand. Put the cables in the cable holder
and make sure that they are properly routed. cable holder

6
Setting up your TV
Connecting the aerial and video cassette recorder (VCR)
• The connecting cables are not provided.
• For further details, refer to the manuals provided with the devices to be connected.
Caution
• Turn off all the equipment including the
TV before connecting anything.
• Aerial cable is not supplied. Use a
good quality 75-ohm coaxial cable.
• Read the manual that came with the
VCR before connecting.
If you are connecting a VCR,
follow A → B → C in the next
diagram.
If you are not connecting a VCR,
follow 1.
• You can watch a video using the VCR
without doing C. For details, see your
VCR instruction manual.
• To connect additional external devices,
please see “Connecting external
equipment” on page 30.
75-Ohm
Coaxial
Cable
75-Ohm
Coaxial
Cable
To Aerial
input
To Aerial
Output
AV IN/OUT
Terminal
21-pin
SCART
Cable

Setting up your TV
7
ENGLISH
Connecting the power cord to
the AC outlet
Insert the AC plug on the power cord from
the TV into an AC outlet.
Caution
• Operate only from the power source
specified (AC 220 – 240 V, 50/60 Hz)
on the unit.
• Remove the AC plug from the outlet to
completely disconnect the TV from the
power supply.
Putting the batteries into the
remote control
Use two AA/R6 dry cell batteries.
Insert the batteries from the - end, making
sure the + and - polarities are correct.
• Follow the warnings printed on the
batteries.
• Battery life is about six months to one
year, depending on how much you use the
remote control.
• The batteries we supply are only for
setting up and testing your TV, please
replace them as soon as you need to.
• If the remote control does not work
properly, replace the batteries.
Initial settings (Setup tour)
When the TV is first turned on, it goes into
the initial settings mode and the Quick Setup
menu will appear. Follow the instructions on
the screen display to make the initial settings.
1 Press the button on the remote
control
The TV turns on from standby mode.
• Check that the AC plug on the power
cord from the TV is connected to AC
outlet.
• If the Quick Setup menu does not
appear this is because your TV has
already been turned on for the first
time. Use the “Language” and “Auto
Program” functions to make the initial
settings. For details, see “Language”
on page 27 and “Auto Program” on
page 23.
PICTURE/OK button
1 /4/ 2 / 3 buttons
button
MENU button
Remote control
sensor
Power lamp

8
Setting up your TV
2 Press the 2 and 3 buttons to
choose English. Then press the 4
button
The on-screen display will then be in
English.
3 Press the 2 and 3 buttons to
choose the country where you are.
Then press the 4 button
When your country is selected, the Sound
System will change automatically to suit.
4 Press the PICTURE/OK or 3 button
to start the Search function
The TV channels you receive are
automatically stored in the Programme
numbers (Pr.).
• To stop the Search function:
Press the MENU button.
After the TV channels have been
registered in the Programme
numbers (Pr.), the first stored TV
channel will be displayed
• If you want to, you can now edit the
Programme numbers (Pr.) using the
Program Edit function. For details, see
“Program Edit” on page 24.
• If a TV channel you want to view is
not set to a Programme number (Pr.),
you can set it using the Manual
Program function. For details, see
“Manual Program” on page 23.
• The Search function does not set the
Programme number Pr. 0 for your
video cassette recorder. You will need
to set this using the Manual Program
function.
Now, setting up is complete. Please
enjoy your new JVC TV!
Quick Setup
Language English
Country U.K.
Sound System I
Search > 100%
MENU:
Quick Setup
Language English
Country U.K.
Sound System I
Search > 100%
MENU:
Quick Setup
Language English
Country U.K.
Sound System I
Search > 5%
MENU:

9
ENGLISH
TV buttons and functions
Refer to the pages in parentheses for details.
1Remote control sensor
2Power lamp (page 7)
3 (Stand by) button (page 9)
4P buttons (page 9)
5 (Volume) buttons (page 10)
6TV/AV/OK button (page 9)
7MENU button (pages 10, 19)
8Headphone jack (mini jack) (page 30)
Turn the TV on from standby
mode
Press the button to turn the TV on
from standby mode
When the TV is turned on, the power lamp
lights green.
To turn the TV off:
Press the button again. The power lamp
lights red.
• The TV will turn off automatically when
no TV input signal (not EXT input
signals) is detected for 5 minutes.
Caution
• The button on the TV does not fully
isolate the TV from the AC supply. If
you are not going to use the TV for a
long period, be sure to disconnect the
AC plug from the AC socket.
Choose a TV channel
Press the P buttons to choose a
Programme number (Pr.)
Watch images from external
devices
Press the TV/AV/OK button to choose
an EXT terminal
EXT2
TV mode EXT modes
Last
Programme
number EXT1
EXT-1
EXT-2
EXT-2 S-VIDEO
EXT-3
PC IN
HDMI
EXT2-S
EXT3
PC
HDMI
EXT-3 S-VIDEO
EXT3-S

11
ENGLISH
Remote control buttons and functions
1Muting button
2Number buttons
3ZOOM button
4button
5(Text) button
6AV button
72 / 3 / 1 / 4 buttons
8P buttons
9 buttons
0Information button
- (Standby) button
=Colour buttons
~PICTURE/OK button
!MENU button
@ (Volume) buttons
#VCR/DVD/Teletext control buttons
$Stereo/Bilingual button
%VCR/TELETEXT/DVD switch
Turn the TV on or off from
standby mode
Press the (standby) button to turn
the TV on or off
When the TV is turned on, the power lamp
lights green.
• The power can also be turned on by
pressing the AV button, P buttons
or Number buttons.
• The TV will turn off automatically when
no TV input signal (not EXT input
signals) is detected for 5 minutes.
Choose a TV channel and
watch images from external
devices
Use the number buttons:
Enter the Programme number (Pr.)
of the channel using the number
buttons
Example:
•Pr. 6 → press 0 and 6
• Pr. 12 → press 1 and 2

12
Remote control buttons and functions
Use the P buttons:
Press the P buttons to
choose the Programme number
(Pr.) you want
Use the AV button:
Press the AV button to choose an
EXT terminal
• If you choose an EXT terminal with no
input signal, the EXT terminal name
becomes fixed on the screen.
• If you do not have a clear picture or no
colour appears, change the colour system
manually. See “Colour System” on
page 26.
• If you cannot hear the normal sound even
if the picture of the TV channel appears
normally, follow the description “Manual
Program” on page 23 to use the Sound
System function to change the Sound
System setting.
To return to a TV channel:
Press the P buttons or Number
buttons.
To use the Programme number Pr. 0:
When the TV and VCR are connected only
by the aerial cable, choosing the Programme
number Pr. 0 allows you to view images from
the VCR. Set the VCR RF channel to the
Programme number Pr. 0 manually. For
details, see “Manual Program” on page 23.
Adjust the volume
Press the buttons to adjust
the volume.
The volume level indicator appears and the
volume changes as you press the
buttons.
Muting the sound
Press the (muting) button to turn
off the sound
Pressing the (muting) button again
restores the previous volume level.
Information function
You can see the channel number of the
programme you are watching. The channel
number and channel name (when the channel
name is registered) of the programme you are
watching or the EXT terminal name is
displayed.
Press the (Information) button to
display the information you want to
see.
EXT2
TV mode EXT modes
Last
Programme
number EXT1
EXT-1
EXT-2
EXT-2 S-VIDEO
EXT-3
PC IN
HDMI
EXT2-S
EXT3
PC
HDMI
EXT-3 S-VIDEO
EXT3-S

Remote control buttons and functions
13
ENGLISH
ZOOM function
You can change the screen size according to
the picture aspect ratio. Choose the optimum
one from the following ZOOM modes.
• The ZOOM mode is fixed at Full when
1080i or 720p component video (HDMI)
signal is displayed.
• Only Full and Regular can be selected
when you are using the TV as a PC
screen.
Auto:
When a WSS (Wide Screen Signalling)
signal, which shows the aspect ratio of the
picture, is included in the broadcast signal or
the signal from an external device, the TV
automatically changes the ZOOM mode to
16:9 Zoom mode or Full mode according to
the WSS signal.
• When the Auto (WSS) mode does not
function correctly due to poor WSS signal
quality or when you want to change the
ZOOM mode, press the ZOOM button
and change to another ZOOM mode.
Regular:
Use to view a normal picture (4:3 aspect
ratio) as this is its original shape.
Panoramic:
This stretches the left and right sides of a
normal picture (4:3 aspect ratio) to fill the
screen, without making the picture appear
unnatural.
• The top and bottom of the picture are
slightly cut off.
14:9 Zoom:
This zooms up the wide picture (14:9 aspect
ratio) to the upper and lower limits of the
screen.
16:9 Zoom:
This zooms up the wide picture (16:9 aspect
ratio) to the full screen.
16:9 Zoom Subtitle:
This zooms up the wide picture (16:9 aspect
ratio) with subtitles to the full screen.
Full:
This uniformly stretches the left and right
sides of a normal picture (4:3 aspect ratio) to
fill the wide TV screen.
• For 16:9 aspect ratio pictures that have
been squeezed into a normal picture (4:3
aspect ratio), use the Full mode to restore
the picture to its original shape.
Choose the ZOOM mode
Press the ZOOM button to choose a
ZOOM mode
The picture expands and the chosen
ZOOM mode is displayed instantly. To
select other ZOOM modes, press the
ZOOM button several times.

14
Remote control buttons and functions
Hyper Sound function
You can enjoy sounds with a wider
ambience.
• This function also works for the sound
from headphones.
Press the button to turn on or off
the Hyper Sound function
• You can also turn on or off the Hyper
Sound function with the “Sound menu”
(see page 22).
Sleep Timer function
You can set the TV to automatically turn off
after a set period of time.
Press the yellow button several times
to turn on the Sleep Timer function
and set the period of time
You can set the period of time for up to
120 minutes (2 hours) in 10 minute steps.
To cancel the Sleep Timer function:
Press the yellow button to set the period
of time to “Off”.
• The Sleep Timer function cannot be used
to turn off the TV’s main power.
• When the Sleep Timer function is on, you
can press the yellow button to display the
remaining period of time of the Sleep
Timer function.
• You can also set the Sleep Timer function
with the “Feature menu” (see page 27).
Hyper Sound On Hyper Sound Off
Sleep Timer Off
Sleep Timer
(10 Minutes)
Sleep Timer
(20 Minutes)
Sleep Timer
(120 Minutes)
Off
10 Minutes
20 Minutes
120 Minutes
.........

Remote control buttons and functions
15
ENGLISH
Sound Mode function
When you are viewing a bilingual broadcast
programme, you can choose the sound from
Dual I (sub I) or Dual II (sub II). If you have
poor reception on a stereo broadcast, you can
change from stereo to mono sound so that
you can hear the broadcast more clearly and
easily.
When you are viewing video from an EXT
terminal, you can also choose the sound from
the left channel, right channel or both.
Press the button to choose a
Sound Mode
• The sound mode you can choose differs
depending on the TV programme and
input video.
• You can also choose a Sound Mode with
the “Sound menu” (see page 22).
Picture Mode function
You can choose one of the Picture Modes to
adjust the picture settings automatically.
Press the PICTURE/OK button several
times to select a suitable Picture
Mode
Bright:
Heightens contrast and sharpness.
Standard:
Standardizes picture adjustment.
Soft:
Softens contrast and sharpness.
Manual:
Your own customised picture mode.
• You can also choose a Picture Mode and
customise the Manual mode with the
“Picture menu” (see page 20).
Stereo : stereo sound
Mono : mono sound
Dual I : sub I sound
Dual II : sub II sound
Dual I + II : sub I and sub II sounds
L+L : left channel sound
R+R : right channel sound
L+R : left and right channel sounds
Bright mode
Standard mode
Soft mode
Manual mode
Bright
Standard
Soft
Manual

16
Remote control buttons and functions
Operating a JVC brand VCR or
DVD player
These buttons will operate a JVC brand VCR
or DVD player. Pressing a button that looks
the same as the device’s original remote
control button has the same effect as the
original remote control.
1 Set the VCR/TELETEXT/DVD
Switch to the VCR or DVD position
VCR:
When you are operating the VCR, set the
switch to the VCR position.
• You can turn the VCR on or off with
the (standby) button.
DVD:
When you are operating the DVD player,
set the switch to the DVD position.
• You can turn the DVD player on or off
with the (standby) button.
2 Set the VCR/DVD control buttons to
control your VCR or DVD player
• If your device is not made by JVC,
these buttons will not work.
• Even if your device is made by JVC,
some of these buttons may not work,
depending on the device you are using.
• You can use the buttons to
choose a TV channel the VCR will
receive, or choose the chapter the
DVD player plays back.
• Some models of DVD player use the
buttons for both operating the
fast forward/backward functions and
for choosing the chapter. In this case,
the / buttons do not work.

17
ENGLISH
Teletext function
Basic operation
1 Choose a TV channel with a teletext
broadcast
2 Set the VCR/TELETEXT/DVD switch
to the (TELETEXT) position
3 Press (Text) button to display
the teletext
Pressing (Text) button changes the
mode as follows:
4 Choose a teletext page by pressing
the P buttons, number
buttons or colour buttons
To return to the TV mode:
Press the (Text) button.
• If you have trouble receiving teletext
broadcasts, consult your local dealer or
the teletext station.
• The ZOOM function will not work in
the Text mode.
• You cannot operate menus when
viewing a teletext programme.
Hold
You can hold a teletext page on the screen for
as long as you want, even while several other
teletext pages are being received.
Press the (Hold) button
To cancel the Hold function:
Press the (Hold) button again.
Sub-page
Some teletext pages include sub-pages that
are automatically displayed.
1 Choose a teletext page that
includes sub-pages
A Teletext page that includes sub-pages is
indicated by an "S" following the Teletext
page number on the top left corner of the
screen.
2 Press the (Subpage) button
3 Press the number buttons to enter
sub-page number
Reveal
Some teletext pages include hidden text
(such as answers to a quiz).
You can display the hidden text.
Each time you press the (Reveal)
button, text is hidden or revealed
VCR/TELETEXT/DVD switch
TV mode Text mode
Hold indication

18
Teletext function
Size
You can double the height of the teletext
display.
Press the (Size) button
Index
You can return to the index page instantly.
Press the (Index) button
Returns to page 100 or a previously specified
page.
Cancel
You can search for a teletext page while
watching TV.
1 Press the number button to enter a
page number, or press a colour
button
The TV searches for a teletext page.
2 Press (Cancel) button
The TV programme appears. When the
TV finds the teletext page, its page
number appears in the upper left of the
screen.
3 Press (Cancel) button to return
to a teletext page when the page
number is on the screen
• The TV mode cannot be resumed by
pressing the (Cancel) button. To
return to the TV mode press the
(Text) button.

19
ENGLISH
Using the TV’s menu
This TV has a number of functions you can
operate using menus. To use all your TV’s
functions, you need to understand the basic
menu operating techniques fully.
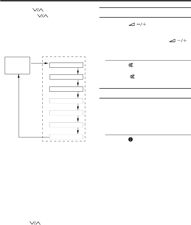
Buttons used to operate the menus
Basic operation
1 Press the MENU button to display
the menu
2 Press the 1 and 4 buttons to
choose the menu you want to use
and then press the PICTURE/OK or
3 button
3 Press the 1 and 4 buttons to
choose the item to be set, press the
2 and 3 buttons to set the item, or
press the PICTURE/OK button to
confirm
Items with a ‘>’ symbol behind their
names have submenus. Press the
PICTURE/OK or 3 button to enter the
submenu.
• Press the MENU button to return to the
previous menu or exit from the menu.
• Some menu items may not be operated
or set depending on the TV status or
other menu item settings. Menu items
that cannot be operated or set are
displayed in blue in the menu and
cannot be chosen.
Types of menu
• The menu will disappear after about 15
seconds if no operation is performed.
Operation with the buttons on the TV
You can also operate the menus using the
buttons on the front panel of the TV.
PICTURE/OK
button
MENU button
1 /4/ 2 / 3
buttons
Picture
Picture Mode Manual
Bright-1 32
Contrast 44
Colour 32
Sharpness 0
Picture Advanced Setting >
Picture Reset
MENU: OK:
Sound
Bass -2
Treble 0
Balance 0
Hyper Sound Off
Sound Mode Stereo
Sound Reset
MENU: OK:
Chosen menu name
Chosen
menu
Picture menu
Choose to set the screen
settings.
Sound menu
Choose to set the sound settings.
Install menu
Choose to edit the channels.
Feature menu
Choose to set the display lan-
guage, sleep timer and child
lock settings.
PC Setting menu
Choose to set the PC screen set-
tings.
2 / 3
buttons
1 /4
buttons
TV/AV/OK
button
MENU
button

20
Picture menu
• In the Picture menu, the last setting made
for each item is memorised.
Picture Mode
You can choose one of the Picture Modes to
adjust the picture settings automatically or
customise your own Picture Mode by
adjusting the Picture settings.
Bright:
Heightens contrast and sharpness.
Standard:
Standardizes picture adjustment.
Soft:
Softens contrast and sharpness.
Manual:
Your own customised Picture Mode. When
this mode is chosen, you can change the
Bright-1, Contrast, Colour and Sharpness
settings to suit your preferences.
Bright-1
You can adjust the picture brightness.
2 : darker
3 : brighter
Contrast
You can adjust the picture contrast.
2 :lower
3 : higher
Colour
You can adjust the picture colour.
2 : lighter
3 : deeper
Sharpness
You can adjust the picture sharpness.
2 : softer
3 :sharper
Picture Reset
You can reset all settings in the Picture menu
using this function.
Press the PICTURE/OK or 3 button to
reset the settings
• This function is only available when
the Picture Mode is set to Manual.
Picture Advanced Setting
Choose Picture Advanced Setting and press
the PICTURE/OK or 3 button to display the
sub-menu.
Hue
You can adjust the picture hue.
2 : reddish
3 :greenish
• You can change the Hue setting (picture
hue) when the Colour System is
NTSC3.58, or NTSC4.43.
Noise Reduction
The Noise Reduction function cuts down the
amount of ‘noise’ (‘snow’ or interference) in
the original picture.
You can choose from the four Noise
Reduction function settings of Low, Middle,
High and Off.
Picture
Picture Mode Manual
Bright-1 32
Contrast 44
Colour 32
Sharpness 0
Picture Advanced Setting >
Picture Reset
MENU: OK:
Picture Advanced Setting
Hue 0
Noise Reduction Low
Colour Temperature Cool
Bright-2 Bright
MENU:

Picture menu
21
ENGLISH
Low:
The TV will automatically adjust the level of
the Noise Reduction effect to match the
amount of noise in the picture, giving you the
best possible picture.
• If you set the Noise Reduction effect too
high it can make the picture less sharp. It
is recommended you use the Low setting
if you can. If you set the Noise Reduction
function to Low but still notice some
noise, change the setting from Low to
Middle.
Middle:
The level of the Noise Reduction effect is set
to the medium. If you set the Noise
Reduction function to
Low
but feel that the
sharpness of the original picture has not been
reproduced fully, change the setting from
Low
to
Middle
.
• The
Middle
setting is not suitable for low-
quality pictures which contain a lot of
noise.
High:
The level of the Noise Reduction effect is set
to the maximum. If you set the Noise
Reduction function to
Middle
but still notice
some noise, change the setting from
Middle
to High.
• The High setting is not suitable for high-
quality pictures which contain very little
noise.
Off:
Turns off the Noise Reduction function.
Colour Temperature
You can select one of three Colour
Temperature modes (three tones of white) to
adjust the white balance of the picture. Since
white is the colour which is used as a
reference for all the other colours, changing
the Colour Temperature mode affects the
appearance of all the other colours on the
screen.
Cool:
A bluish white. Using this mode when
watching bright pictures allows you to enjoy
a more vivid and bright picture.
Normal:
The normal white colour.
Warm:
A reddish white. Using this mode when
watching films allows you to enjoy colours
that are characteristic of films.
Bright-2
You can adjust the back light.
Normal:
For viewing in normal conditions.
Bright:
For viewing in environments with bright
ambient lighting.
Power Save:
For viewing in darker environments.

22
Sound menu
• In the Sound menu, the last setting made
for each item is memorised.
Bass
You can adjust the low tone of the sound.
2 : weaker
3 : stronger
Treble
You can adjust the high tone of the sound.
2 : weaker
3 : stronger
Balance
You can adjust the volume balance between
the left and right speaker.
2 : decrease the right speaker’s volume level.
3 : decrease the left speaker’s volume level.
Hyper Sound
You can enjoy Surround sound with a “live”
effect by using the Hyper Sound function.
• You can choose to turn on or off the
Hyper Sound function. For details, see
“Hyper Sound function” on page 14.
• You can also operate the Hyper Sound
function with the button. For details,
see “Hyper Sound function” on page 14.
Sound Mode
When you are viewing a bilingual broadcast
programme or input video from an EXT
terminal, you can choose a suitable sound
mode.
• For details, see “Sound Mode function”
on page 15.
• You can also operate the Sound Mode
function with the button. For
details, see “Sound Mode function” on
page 15.
Sound Reset
You can reset all settings in the Sound menu
using this function.
Press the PICTURE/OK or 3 button to
reset the settings
Sound
Bass -2
Treble 0
Balance 0
Hyper Sound Off
Sound Mode Stereo
Sound Reset
MENU: OK:

23
ENGLISH
Install menu
Auto Program
You can again perform the Auto Program
function TV channel automatic registration
which was performed in the “Initial settings
(Setup tour)” (page 7).
1 Choose Auto Program, then press
the PICTURE/OK or 3 button
The Auto Program menu appears.
2 Press the 2 and 3 buttons to
choose the country where you are,
then press the 4 button
3 Press the PICTURE/OK or 3 button
to start the Search function
The TV channels you receive are
automatically stored in the Programme
numbers (Pr.).
• To stop the Search function:
Press the MENU button.
4 After the TV channels have been
registered in the Programme
numbers (Pr.), the first stored TV
channel will be displayed
Manual Program
With the Manual Program function, you can
manually store a new TV channel on a
particular Programme number (Pr.).
1 Choose Manual Program, then
press the PICTURE/OK or 3 button
The Manual Program menu appears.
2 Press the 2 and 3 buttons to
choose the Sound System
(broadcasting system) for a TV
channel you want to register
For the Sound Systems in each country or
region, refer to the table below:
Install
Auto Program >
Manual Program >
Program Edit >
Program List >
MENU: OK:
Auto Program
Country U.K.
Search > 100%
MENU:
Area Country or Region System
Asia,
Middle
East
Bahrain, Kuwait, Oman,
Qatar, United Arab Emirates,
Yemen, etc.
Indonesia, Malaysia,
Singapore, Thailand, India,
etc.
BG
China, Vietnam, etc. DK
Hong Kong, etc. I
Islamic Republic of Iran,
Lebanon, Saudi Arabia, etc. BG
Philippines, Taiwan,
Myanmar, etc. M
Europe
Russia, etc. DK
Czech Republic, Poland, etc. DK
Germany, Holland, Belgium,
etc. BG
UK, etc. I
Oceania Australia, New Zealand, etc. BG
Africa
Republic of South Africa, etc. I
Nigeria, etc. BG
Egypt, Morocco, etc. BG
Manual Program
Sound System BG
Colour System Auto
Program 01
Frequency ___.__ MHz
Fine Tuning
Store 01
MENU: OK:

24
Install menu
3 Press the 4 button to choose
Program, then press the 2 and 3
buttons to choose a Programme
number (Pr.) for a new TV channel
4 Press the 4 button to choose
Frequency, then press the 2 and 3
buttons to search for a TV channel
Scanning stops when the TV finds a TV
channel. Then the TV channel is
displayed.
• If you know the exact frequency of the
new channel, you can also enter the
frequency using the number buttons.
5 Press the 4 button to choose Fine
Tuning, then press the 2 and 3
buttons to fine-tune the reception
of TV signal
• Fine-tuning is necessary only when the
TV channel reception is poor.
6 Press the 4 button to choose
Store, then press the PICTURE/OK
button to register the TV channel to
a Programme number (Pr.)
The Programme number (Pr.) stops
blinking, indicating that the TV channel
has been successfully registered.
Program Edit
With the Program Edit function, you can
perform the following operations to existing
TV channels:
Name:
This function registers a channel name (ID)
to a TV channel.
Swap:
This function changes the programme
number (Pr.) of a TV channel.
Delete:
This function deletes a TV channel you do
not want to list.
Caution
• Using the Name, Swap or Delete
functions rewrites the current
Programme numbers (Pr.) list.
Therefore, the Programme numbers
(Pr.) of some of the TV channels will
change.
Basic operation
1 Choose Program Edit, then press
the PICTURE/OK or 3 button
The Program Edit menu appears.
2 Follow the description for the
function you want to use
Name
1 Press the 2 and 3 buttons to
choose a Programme number (Pr.),
then press the 4 button to choose
Name
• You can also press the number buttons to
choose a Programme number (Pr.)
directly.
2 Press the 3 button to start editing
the name
Program Edit
Program 01
Name ------
Swap --
Delete 01
MENU: OK:
Program Edit
Program 01
Name *-----
Swap --
Delete 01
MENU: OK:

Install menu
25
ENGLISH
3 Press the 2 and 3 buttons to move
the cursor, and press the 1 and 4
buttons to choose each character
of the channel name
4 Press the PICTURE/OK button to
store the name
Swap
1 Press the 2 and 3 buttons (or the
number buttons) to choose a
Programme number (Pr.), then
press the 4 button to choose Swap
2 Press the number buttons to
choose a new Programme number
(Pr.)
To cancel the Swap function:
Press the MENU button.
3 Press the PICTURE/OK button to
change the Programme number
(Pr.) of a TV channel to a new
Programme number (Pr.)
Delete
1 Press the 2 and 3 buttons (or the
number buttons) to choose a TV
channel
2 Press the PICTURE/OK button to
delete the TV channel
The TV channel is deleted from the
Programme numbers (Pr.) list.
Program List
With the Program List function, you can
quickly jump to a TV channel directly.
1 Choose Program List, then press
the PICTURE/OK or 3 button
The Program List appears.
• An EXT terminal number does not appear
in the Programme numbers (Pr.) list.
2 Press the 1 / 4 / 2 / 3 buttons to
choose a TV channel
The chosen TV channel picture is
displayed in the background.
3 Press the MENU button to remove
the Program List
Program List
01 ------ 08 ------
02 ------ 09 ------
03 ------ 10 ------
04 ------ 11 ------
05 ------ 12 ------
06 ------ 13 ------
07 ------ 14 ------
MENU: OK:

26
Install menu
Colour System
The colour system is chosen automatically.
However, if the picture is not clear or no
colour appears, choose the colour system
manually.
Choose Colour System, then press
the 2 and 3 buttons to choose the
appropriate colour system
PAL:
PAL system
SECAM:
SECAM system
NTSC3.58:
NTSC3.58 MHz system
NTSC4.43:
NTSC4.43 MHz system
Auto:
This function detects a colour system
from the input signal.
• The Auto function may not function
properly if you have poor signal quality.
If the picture is abnormal in the Auto
function, choose another colour system
manually.
• Colour System cannot be chosen when
you are watching the PC picture.
• Available Colour System options vary
according to current selected input signal
type.
For colour system in your country or
region, refer to the table below:
Area Country or Region System
Asia,
Middle
East
Bahrain, Kuwait, Oman,
Qatar, United Arab Emirates,
Yemen, etc.
Indonesia, Malaysia,
Singapore, Thailand, India,
etc.
PAL
China, Vietnam, etc. PAL
Hong Kong, etc. PAL
Islamic Republic of Iran,
Lebanon, Saudi Arabia, etc. SECAM
Philippines, Taiwan,
Myanmar, etc. NTSC
Europe
Russia, etc. SECAM
Czech Republic, Poland, etc. PAL
Germany, Holland, Belgium,
etc. PAL
UK, etc. PAL
Oceania Australia, New Zealand, etc. PAL
Africa
Republic of South Africa, etc. PAL
Nigeria, etc. PAL
Egypt, Morocco, etc. SECAM

27
ENGLISH
Feature menu
• In the Feature menu, the last setting made
for each item is memorised.
Language
The Language setting which was performed
in the “Initial settings (Setup tour)” (page 7)
Press the 2 and 3 buttons to choose a
language
Aspect Ratio
You can change the screen size according to
the picture aspect ratio. For details about the
Aspect Ratio settings, see “ZOOM function”
on page 13.
Press the 2 and 3 buttons to choose a
setting
Sleep Timer
You can set the TV to automatically turn off
after a set period of time. For details, see
“Sleep Timer function” on page 14.
Press the 2 and 3 buttons to set the
period of time
Child Lock
You can use this function to prevent children
changing programmes or adjustments etc.
without remote control.
Press the 2 and 3 buttons to turn the
function on or off
When “Off” is selected, there will be no
difference in the operation of your TV.
When “On” is selected, the TV can only
be controlled by the remote control
handset. In this case the control panel
buttons, except button, on the TV will
not work.
Blue Back
You can set the TV to automatically change
to a blue screen and mute the sound if the
signal is weak or absent, or when there is no
input from an external device.
Press the 2 and 3 buttons to turn the
function on or off
Feature
Language English
Aspect Ratio Full
Sleep Timer Off
Child Lock Off
Blue Back On
MENU: OK:

28
PC Setting menu
• This menu is only available when the TV
is displaying a computer screen. For
details about how to display a computer
screen, see “Displaying a computer
screen” on page 29.
• In the PC Setting menu, the last setting
made for each item is memorised.
Auto
If you shift the picture horizontally or
vertically to an unwanted position, use this
function to put the picture into correct place
automatically.
Press the PICTURE/OK button to
begin auto adjustment
Dot Clock
This function corrects interference that may
appear as vertical banding in dot intensive
presentations like spreadsheets or paragraphs
or text in smaller fonts.
Press the 2 and 3 buttons to adjust
the value
Clock Phase
Depending on the resolution and scan
frequency of the PC input. you may see a
muddy or noisy picture on the screen. In such
case you can use this function to get a clear
picture.
Press the 2 and 3 buttons to adjust
the value
H. Position
This function shifts the image horizontally to
right hand side or left hand side of the screen.
Press the 2 and 3 buttons to adjust
the value
V. Position
This function shifts the image vertically
towards the top or bottom of the screen.
Press the 2 and 3 buttons to adjust
the value
PC Setting
Auto
Dot Clock 0
Clock Phase -7
H. Position
V. Position
MENU: OK:

29
ENGLISH
Displaying a computer screen
This TV can be used as a computer screen.
Connecting to the computer
Use a D-SUB cable to connect the TV’s PC
IN RGB terminal to the computer’s analogue
RGB output terminal.
If you want to listen to the sound from the
computer, use an audio cable to connect the
TV’s PC IN AUDIO terminal to the
computer’s sound output terminal.
• Refer to the computer manual for a
detailed explanation of the connections at
the computer side.
• Ensure that the connectors are facing the
correct way when connecting.
• After connecting the D-SUB cable,
tighten the two screws to fix the connector
in place.
Watching images from a
computer
After starting the computer, press the
AV button to choose “PC”
You can listen to the sound when the
sound from the computer is connected to
the PC IN AUDIO terminal.
Table of signals for each type
of computer
* Only the above formats are supported.
* Even with the above formats, some
problems may be experienced depending
on the quality of the synchronous signal.
(Depending on the quality, some pictures
may not be displayed properly.)
When a picture is not displayed
Check the computer’s refresh rate and set it
according to the table above. Refer to the
computer’s instruction manual.
Computers which cannot have compatible
refresh rates cannot be used with this unit.
Resolution Vertical
frequency
(Hz)
Horizontal
frequency
(kHz)
720 × 400 (VGA70) 70.08 31.47
640 × 480 (VGA) 60 31.5
640 × 480 (VGA) 67 35
640 × 480 (VGA) 75 37.5
640 × 480 (VGA) 72.81 37.86
800 × 600 (SVGA) 56.25 35.16
800 × 600 (SVGA) 60.32 37.9
800 × 600 (SVGA) 75 46.9
800 × 600 (SVGA) 72.19 48.08
1024 × 768 (XGA) 60 48.4
1024 × 768 (XGA) 70 56.5
1024 × 768 (XGA) 75 60
1360 × 768 (WXGA) 60 47.7

30
Additional preparation
Connecting external equipment
Connect the equipment to the TV, making
the correct connections.
Before connecting anything:
• Read the manuals that came with the
equipment.
Depending on the equipment, the
connection method may be different from
the diagram. Also, the equipment settings
may need to change depending on the
connection method.
• Turn off all the equipment including the
TV.
• The “Specifications” on page 35 give the
details of the EXT terminals. If you are
connecting equipment not listed in the
following connection diagram, see the
table to choose the best EXT terminal.
• Connecting cables are not supplied.
Connecting the PC
For details, see “Connecting to the
computer” on page 29.
1VCR (composite signal)
2VCR (composite signal/S-VIDEO signal)
3Decoder
4DVD player (composite signal/S-VIDEO
signal)
5DVD player (composite signal/RGB
signal)
6DVD player (digital audio/video signal;
HDMI)
7TV game (composite signal/RGB signal)
8TV game (composite signal/S-VIDEO
signal)
9Headphones
0Camcorder (composite signal/S-VIDEO
signal)
-SCART cable
=Audio cable
~Video cable
!S-VIDEO cable
@HDMI cable

Additional preparation
31
ENGLISH

32
Additional preparation
Equipment which can output the
composite signal such as a VCR
Connect the equipment to the EXT-1, EXT-2
or EXT-3 terminal.
Equipment which can output the
S-VIDEO signal (Y/C signal) such
as an S-VHS VCR
Connect the equipment to the EXT-2 or
EXT-3 terminal.
Equipment which can output the
digital audio/video signal (HDMI)
such as a DVD player
Connect the equipment to the HDMI
terminal.
Connecting headphones
Connect the headphones with a stereo mini-
jack (3.5 mm diameter) to the headphone
socket at the TV rear panel.
• No sound comes from the TV speakers
when the headphones are connected.
TV output from the EXT-1 terminal
The video/sound signal of a TV channel you
are viewing is always output from the EXT-1
terminal.
• Changing over a Programme number (Pr.)
also changes over the TV output from the
EXT-1 terminal.
• Teletext programmes cannot be output.
TV and video output from the EXT-
2 terminal
The video/sound signal of a TV channel is
output from the EXT-2 terminal when
viewing the TV and EXT3-S inputs.
When viewing composite video input from
the EXT-1 or EXT-3 terminal, the
video/sound signal is also output from the
EXT-2 terminal.
Connecting speakers/amplifier
While referring to the audio equipment
connection diagram, connect the audio
equipment you want to the TV.
You can use external front speakers to listen
to the TV sound instead of the TV speakers.
Before connecting anything:
• Read the manuals provided with the
amplifier and speakers.
• Turn the TV and amplifier off.
• Note that connecting cables are not
supplied.
• The output from the AUDIO OUT
terminal is not interrupted by headphone
connection to the TV. You cannot cut the
sound from the front speaker even if you
connect a headphone to the TV.
• Adjust the volume of the external
speakers with the amplifier.
LR
1Amplifier
2External speakers (Magnetic-shielded type)

33
ENGLISH
Troubleshooting
If a problem arises while you are using the TV, please read this troubleshooting guide carefully
before you ask to have the TV repaired. You may be able to fix it easily by yourself. For example,
if the mains plug is disconnected from the mains outlet, or the TV aerial has problems, you may
think there is a problem with the TV itself.
Important:
• This troubleshooting guide only covers problems whose causes are not easy to decide. If you
have a question when you are operating a function, read the page(s) for that function carefully,
not this troubleshooting guide.
• If you follow the advice in this troubleshooting guide without any success, unplug the mains
plug and ask for your TV to be repaired. Do not attempt to repair the TV by yourself or to
remove the rear cover of the TV.
If you cannot turn on the TV
• Is the mains plug connected to the mains
outlet?
• Is the power lamp lit? If not, press the
button on the TV.
No picture or no sound
• Have you chosen a TV channel with very
poor reception? If so, the Blue Back
function will be activated: the entire
screen becomes blue, and the sound is
muted. If you still want to view the TV
channel, follow the description “Blue
Back” on page 27 to change the Blue
Back function setting to Off.
• If the Sound System setting for a TV
channel is incorrect, it may prevent the
sound from being issued. Follow the
description “Manual Program” on page 23
to use the Manual Program function to try
to change the Sound System setting.
Poor picture
• If noise (snow) totally blocks out the
picture, there may be a problem with the
aerial or aerial cable. Check the following
to try to solve the problem:
– Have the TV and aerial been connected
properly?
– Has the aerial cable been damaged?
– Is the aerial pointing in the right
direction?
– Is the aerial itself faulty?
• If the TV or aerial suffers interference
from other equipment, stripes or noise
may appear in the picture. Move any
equipment such as an amplifier, personal
computer, or a hair drier, that can cause
interference away from your TV. Or try
moving the TV. If the aerial suffers
interference from a radio tower or high-
voltage wire, please contact your local
dealer.
• If the TV suffers interference from signals
reflecting from mountains or buildings,
double-pictures (ghosting) will occur. Try
to change the aerial’s direction or replace
it with one with better directionality.
• Are your Colour System settings correct?
Follow the description “Colour System”
on page 26 to try to solve the trouble.
• Have the Colour and Bright-1 settings
been adjusted properly? Follow the
description “Colour” and “Bright-1” on
page 20 to try to adjust them properly.
• Videotaping teletext is not recommended
because it may not record correctly.
• When viewing images from commercially
available video software products, or
videos from videotapes which have been
recorded improperly, the top of the image
may be distorted. This is due to the
condition of the video signal. There is
nothing wrong with the TV.
Poor sound
• Have you adjusted Bass or Treble
properly? If not, follow the description
“Bass” or “Treble” on page 22.
• When TV channel reception is poor, it can
be hard to hear stereo or bilingual sound.
In this case, follow the description
“Sound Mode” on page 22 to hear the
sound more easily by changing it to a
mono sound.

34
Troubleshooting
If the TV does not respond to the
remote control
• Have the batteries of the remote control
worn out? Follow the description “Putting
the batteries into the remote control” on
page 7 and replace them with new batteries.
• Have you attempted to use the remote
control from the sides or rear of the TV or
from more than seven metres away from the
TV? Use the remote control in front of your
TV or from less than seven metres away.
• When you are viewing a teletext
programme, you cannot operate the
menus. Press the (Text) button to
return to the ordinary TV programme, and
then try operating the menus.
• If the TV suddenly stops responding,
disconnect the power cord of the TV from
the AC outlet. Connect them to the AC
outlet again to turn on the TV. If the TV
returns to a normal state, it is not a failure.
Other issues
• When the Sleep Timer function operates,
the TV is automatically turned off. If the
TV suddenly turns off, try to press the
(standby) button to turn on the TV
once again. If the TV goes back to
normal, there is no problem.
• It takes a short period of time from the
time an operation such as changing
channels is performed until an image is
displayed. This is not a fault. This is the
time needed for the image to stabilize
before it can be displayed.
• The TV may make a crackling sound due
to a sudden change in temperature. The
picture or sound may be normal. If you
hear crackling sounds frequently while
you are viewing the TV, there may be
other causes. As a precaution, ask your
service technician to inspect it.
• The top of the TV and the screen may
become hot during use but this has no
affect on the performance of the TV.
Make sure that the ventilation holes are
not blocked.
• When the picture is unstable, the screen
may become white for a moment. This
happens when the signal which drives the
liquid crystal is missing. This is not a
fault.
• When a still image has been displayed for
a long period, a faint residual image may
remain on the screen for a short time after
the power has been turned off or when
another image is displayed. This is not a
fault and the image will eventually
disappear.

35
ENGLISH
Specifications
We may change the design and specifications without notice.
Pictures displayed on the screen using this TV’s ZOOM functions should not be shown for any
commercial or demonstration purpose in public places (cafes, hotels, etc.) without the consent of
the owners of copyright of the original picture sources, as this would be an infringement of
copyright.
Model LT-20BW7BW / LT-20BW7BE / LT-20BW7BN / LT-20BW7BS
Broadcasting systems BG, I, DK, L
Colour systems PAL, SECAM
• The EXT terminals also support the NTSC3.58 and NTSC4.43 systems
Channels and frequencies 47-862MHz
Sound-multiplex systems NICAM (BG, I, DK, L) system, A2 (BG, DK) system
Teletext systems TOP/FLOF (Fastext)
Power requirements 220 - 240 V AC, 50/60 Hz
Power consumption 70 W (Standby: < 1 W)
Screen size Viewable area 50.8 cm (measured diagonally)
Audio output Rated Power output: 3 W + 3 W
Speakers 2.5 cm round × 2
EXT-1 terminal Euroconnector (21-pin, SCART)
• Video input, Audio L/R inputs and RGB inputs are available.
• TV broadcast outputs (Video and Audio L/R) are available.
EXT-2 terminal Euroconnector (21-pin, SCART)
• Video input, S-VIDEO (Y/C) input and Audio L/R inputs are available.
• Video and Audio L/R outputs are available.
EXT-3 terminal RCA connectors × 3 (composite input)
S-VIDEO connector × 1
HDMI terminal HDMI connector × 1
• 480p, 576p, 720p and 1080i signals are available.
AUDIO OUT terminal RCA connectors × 2
• Audio L/R outputs are available.
• Output level 500 Vrms.
PC INPUT terminal Analog RGB D-SUB (15 pin) × 1
• PC signal is available. Refer to page 29 for details of the signals which can be
input.
PC audio stereo mini-jack (3.5 mm in diameter) × 1
Headphone jack Stereo mini-jack (3.5 mm in diameter)
Dimensions (W × H × D) 533 mm × 348 mm × 107 mm (TV only)
533 mm × 386 mm × 236 mm (with stand)
Weight 6.76 kg (TV only)
7.51 kg (with stand)
Accessories Remote control unit × 1 (RM-C1514)
AA/R6 dry cell battery × 2

4J.06801.012
0307TKH-BQ
