JVC UX J66VUX J66V/J55V[UX] User Manual GVT0116 014A
UX-J55VUX UX-J55VUX GVT0116-014A English, Arabic,
User Manual: JVC UX-J66VUX UX-J66VUX English, Arabic,
Open the PDF directly: View PDF  .
.
Page Count: 68

GVT0116-014A
[UX]
For Customer Use:
Enter below the Model No. and Serial No.
which are located either on the rear, bot-
tom or side of the cabinet. Retain this
information for future reference.
Model No.                                                         
Serial No.                                                          
UX-J66V– Consists of CA-UXJ66V and SP-UXJ66V
UX-J55V– Consists of CA-UXJ55V and SP-UXJ55V
MICRO COMPONENT SYSTEM
INSTRUCTIONS
S
P-UXJ55V
C
A-
U
X
J55
V
S
P-UXJ55V
S
P-UXJ66V
C
A-
U
X
J66
V
S
P-UXJ66V
VIDEO  CD VERSION 2.0
VIDEO  CD VERSION 2.0
COMPACT
DIGITAL VIDEO
COMPACT
DIGITAL AUDIO
COMPACT
DIGITAL VIDEO
COMPACT
DIGITAL VIDEO
STANDBY/ON
DISPLAY
CLOCK
/TIMER
SLEEP
TREBLE
UP
DOWN
BASS
CANCELSET
TAPE F M/AM AUX
REPEATRANDOM
REV.
MODE FM MODE
STILL COLOR
PRGMRETURN
/SELECT
1 32
4 65
7 98
10 +10
CD
PREV. NEXT
CD
STANDBY/ON
DISPLAY
CLOCK
/TIMER
SLEEP
TREBLE
UP
BASS
CANCELSET
TAPE FM/AM AUX
REPEAT
KARAOKE
RANDOM
AHB
PRO
STILL
MPX
PRGM
RETURN
13
2
4 65
7 98
10 +10
RM-
DIGITAL
ECHO
NEXT
DOWN
PREV.
/SELECT
CD
FM
MODE
REV.
MODE
CD
CA-UXJ66V SP-UXJ66V
CA-UXJ55V SP-UXJ55V
English
ARCover,UX-J66/55V(UX) 4/8/03, 4:52 PM3

– G-1 –
Warnings, Cautions and Others
CAUTION
• Do not block the ventilation openings or holes.
(If the ventilation openings or holes are blocked by a newspaper
or cloth, etc., the heat may not be able to get out.)
• Do not place any naked flame sources, such as lighted candles,
on the apparatus.
• When discarding batteries, environmental problems must be
considered and local rules or laws governing the disposal of
these batteries must be followed strictly.
• Do not expose this apparatus to rain, moisture, dripping or
splashing and that no objects filled with liquids, such as vases,
shall be placed on the apparatus.
CAUTION
To reduce the risk of electrical shocks, fire, etc.:
1. Do not remove screws, covers or cabinet.
2. Do not expose this appliance to rain or
moisture.
Caution ––  STANDBY/ON button!
Disconnect the mains plug to shut the power off completely (the  STANDBY/ON lamp goes off).
The  STANDBY/ON button in any position does not disconnect the mains line.
• When the unit is on standby, the STANDBY/ON lamp lights red.
• When the unit is turned on, the STANDBY/ON lamp lights green.
The power can be remote controlled.
Safety_UX-66/55V[UX]/1 4/8/03, 5:23 PM1

– G-2 –
IMPORTANT FOR LASER PRODUCTS
REPRODUCTION OF LABELS  /
WARNING LABEL, PLACED INSIDE THE UNIT
1. CLASS 1 LASER PRODUCT
2. CAUTION: Do not open the top cover. There are no user serviceable parts inside the unit; leave all servicing to
qualified service personnel.
3. CAUTION: Invisible laser radiation when open and interlock failed or defeated. Avoid direct exposure to beam.
4. REPRODUCTION OF LABEL: CAUTION LABEL, PLACED INSIDE THE UNIT.
ADVARSEL: Usynlig laser-
stråling ved åbning, når 
sikkerhedsafbrydere er ude 
af funktion. Undgå udsæt-
telse for stråling                 (d)
VARNING: Osynlig laser- 
strålning när denna del är 
öppnad och spärren  är 
urkopplad. Betrakta ej 
strålen.                              (s)
CAUTION: Invisible laser 
radiation when open and 
interlock failed or defeated.
AVOID DIRECT EXPOSURE 
TO BEAM.                         (e)
VARO: Avattaessa ja suo-
jalukitus ohitettaessa olet 
alttiina näkymättömälle 
lasersäteilylle.  Älä katso 
säteeseen.                         (f)
Caution: Proper Ventilation
To avoid risk of electric shock and fire, and to prevent damage, locate the apparatus as follows:
1 Front:
No obstructions and open spacing.
2 Sides/ Top/ Back:
No obstructions should be placed in the areas shown by the dimensions below.
3 Bottom:
Place on the level surface. Maintain an adequate air path for ventilation by placing on a stand with a height of
10 cm or more.
15
 cm
15
 c
m
1
cm
1
cm
15
 c
m
15
 c
m
15
 c
m
10
 c
m
UX-J66V/UX-J55V
UX-J66V
UX-J55V
Safety_UX-66/55V[UX]/1 4/8/03, 5:23 PM2

1
English
Introduction
About This Manual
This manual is organized as follows:
• The manual mainly explains operations using the
buttons on the remote control.
You can use the buttons both on the remote control and
on the main unit for the same operations if they have
the same or similar names (or marks), unless mentioned
otherwise.
The illustrations used in this manual are of UX-J66V
unless mentioned otherwise.
• Basic and common information that is the same for many
functions is grouped in one place, and is not repeated for
each procedure. For instance, we do not repeat the
information about turning on/off the unit, setting the
volume, changing the sound effects, and others, which are
explained in the section “Common Operations” on pages 9
to 11.
• The following symbols are used in this manual:
Gives you warning and caution to prevent
damage or risk of fire/electric shock.
Furthermore, it gives you information about
what is not good for obtaining the best possible
performance from the unit.
Gives you information and hints you should
know.
Precautions
Installation
• Install in a place which is level, dry and neither too hot nor
too cold—between 5˚C and 35˚C.
• Install the unit in a location with adequate ventilation to
prevent internal heat buildup in the unit.
• Leave sufficient distance between the unit and the TV.
• Keep the speakers away from the TV to avoid interference
with TV.
DO NOT install the unit in a location near heat
sources, or in a place subject to direct sunlight,
excessive dust or vibration.
We would like to thank you for purchasing one of our JVC products.
Before operating this unit, read this manual carefully and thoroughly to
obtain the best possible performance from your unit, and retain this manual
for future reference.
Power sources
• When unplugging the unit from the wall outlet, always pull
on the plug, not the AC power cord.
DO NOT handle the AC power cord with wet
hands.
Moisture condensation
Moisture may condense on the lens inside the unit in the
following cases:
• After starting heating in the room
• In a damp room
• If the unit is brought directly from a cold to a warm place
Should condensation occur, the unit may malfunction. In this
case, leave the unit turned on for a few hours until the
moisture evaporates, unplug the AC power cord, then plug it
in again.
Others
• Should any metallic object or liquid fall into the unit,
unplug the power cord and consult your dealer before
operating any further.
• If you are not going to operate the unit for an extended
period of time, unplug the AC power cord from the wall
outlet.
DO NOT disassemble the unit since there are no
user serviceable parts inside.
If anything goes wrong, unplug the AC power cord and
consult your dealer.
Which compact discs can be used?
Many types of compact discs are sold for a variety of uses.
The player can play the following compact discs:
Video CD discs both with and without PBC
Audio CD discs
Discs you cannot playback
Any other discs than listed above (such as CD-ROM, DVD,
CD-G or CD-I Discs) cannot be played. Playing back such
discs may generate noise and damage your speakers.
Even though a logo listed above is printed on the disc, it may
not be played if it is a non-standard disc.
COMPACT
DIGITAL VIDEO
COMPACT
DIGITAL AUDIO
EN01-14_UX-J66&55[UX]1.pm6 4/8/03, 5:15 PM1

2
English
Contents
Location of the Buttons and Controls ....................... 3
Front Panel and Top View .......................................... 3
Remote Control .......................................................... 5
Getting Started ............................................................ 6
Supplied Accessories .................................................. 6
Putting the Batteries into the Remote Control ........... 6
Connecting Antennas ................................................. 6
Connecting Speakers .................................................. 7
Connecting Other Equipment ..................................... 8
Adjusting the Voltage Selector ................................... 8
Common Operations .................................................. 9
Setting the Clock ........................................................ 9
Setting the AM Tuner Interval Spacing ...................... 9
Turning On the Power .............................................. 10
Adjusting the Volume ............................................... 10
Enjoying Sound Effects ............................................ 10
Selecting the Illumination Brightness ...................... 11
Selecting the Display Color
(ONLY FOR UX-J66V) ..................................... 11
Listening to FM and AM Broadcasts ...................... 12
Tuning in to a Station ............................................... 12
Presetting Stations .................................................... 12
Tuning in to a Preset Station .................................... 13
Disc Introduction ...................................................... 14
Playing Back Discs (CD/CD-R/CD-RW/MP3) ....... 15
Playing Back the Entire Disc—Normal Play ........... 15
Basic Disc Operations .............................................. 16
Programming the Playing Order of the Tracks
—Program Play .................................................. 17
Playing at Random—Random Play ......................... 17
Repeating Tracks—Repeat Play ............................... 18
Prohibiting Disc Ejection—Tray Lock .................... 18
Using the Video CD Player (Video CDs) ................. 19
Setting the TV System.............................................. 19
Playing Video CDs with the PBC Function ............. 19
Playing Video CDs with the PBC Function without
Using the Menu Screen (Continuous Play) ........ 19
Playing Video CDs with the PBC Function
Using the Menu Screen (Menu-Driven Play) ..... 20
Playing video CDs without the PBC Function ......... 21
Various Functions to Enhance Your Enjoyment ....... 21
Playing Back Tapes ................................................... 23
Playing Back a Tape ................................................. 23
Recording .................................................................. 24
Recording on a Tape ................................................. 24
Disc Direct Recording .............................................. 25
One Track Recording ............................................... 25
Using the Microphone and Multiplex CDs ............. 26
Singing Along – Karaoke ......................................... 26
Microphone Mixing ................................................. 26
To Record Microphone Mixing on a Tape ............... 27
Using the Multiplex CDs and Singing Along with
Multiplex (MPX) Karaoke CDs ......................... 27
Using the Timers ....................................................... 28
Using Daily Timer and Recording Timer ................. 28
Using Sleep Timer .................................................... 29
Maintenance .............................................................. 30
Troubleshooting ........................................................ 31
Specifications ............................................................. 32
EN01-14_UX-J66&55[UX]1.pm6 4/8/03, 5:15 PM2

3
English
Front Panel
FOR UX-J55V:
FOR UX-J55V:
Location of the Buttons and Control
Become familiar with the buttons and control on your unit.
Front Panel and Top View
UX-J66V
1
2
3
4
8
9
p
q
e
r
y
u
i
t
w
5
6
7
MICRO   COMPONENT   SYSTEM
VIDEO  CD VERSION 2.0
COMPACT
DIGITAL VIDEO
Top View
o
;
MIC VOLUME
MIN MAX
EN01-14_UX-J66&55[UX]1.pm6 4/8/03, 5:15 PM3

4
English
Front Panel
1Disc tray
2Display window
3RETURN button (20 – 21)
4AUX button (10)
Pressing this button also turns on the unit.
5STANDBY/ON   button and STANDBY/ON lamp
(10, 29)
6REC (recording) button (24)
7Multi operation buttons
•DOWN4 (reverse skip)/PREV, 7 (stop)
and UP ¢ (forward skip)/NEXT
8SELECT CD ‹/8 (play/pause) button (16, 18)
Pressing this button also turns on the unit.
9TAPE ¤ ‹ button (10)
Pressing this button also turns on the unit.
pCassette holder
qPHONES jack (10)
wFOR UX-J66V:
COLOR button (11)
FOR UX-J55V:
VCD NUMBER button (20, 22)
eCD 0 (disc tray open/close) button (15, 16)
Pressing this button also turns on the unit.
rVOLUME + / – control (10)
tFOR UX-J66V:
SOUND TURBO button (11)
SURROUND button (11)
AHB (Active Hyper Bass) PRO button (10)
FOR UX-J55V:
AHB (Active Hyper Bass) PRO button (10)
BASS button (10)
TREBLE button (10)
yRemote sensor
uFM/AM button (9, 12)
Pressing this button also turns on the unit.
iPUSH OPEN 0 (cassette holder open) portion (23, 24)
oMIC Jack (26, 27)
;MIC VOLUME  Control (26, 27)
Display Window
Display Window
1Timer indicators
• (timer), DAILY, REC (recording timer), and SLEEP
2REC (recording) indicator
3ONLY FOR UX-J66V:
SURROUND indicator
4ONLY FOR UX-J66V:
BASS indicator
5Disc play mode indicators
• PRGM (program), RANDOM, and   ALL (repeat)
6ST (stereo) indicator
7Main display
• Shows the source name, frequency, etc.
8PBC (Playback Control) indicator
9AHB (Active Hyper Bass pro) indicator
pTape operation indicators
•2 3 (tape direction) and   (reverse mode)
qMONO indicator
When using the remote control, point it at the
remote sensor on the front panel.
[DAILY REC SLEEP]REC
ST
PRGM
RANDOM
ALL
SURROUND
BASS
MONO
PBC
AHB
12 34
56 7 98pq
See the pages in parentheses for details.
Continued
VIDEO  CD VERSION 2.0
EN01-14_UX-J66&55[UX]1.pm6 4/8/03, 5:15 PM4

5
English
1Number buttons
2BASS button (10)
3Multi operation buttons
•3 UP, 4 PREV (reverse skip), 7 (stop), ¢ NEXT
(forward skip) and 4 DOWN
4SET button (12, 17)
5Source buttons
•3/8 CD/SELECT, 2 3 TAPE, FM/AM and AUX
Pressing one of these buttons also turns on the unit.
6CD 0 (disc tray open/close) button (15, 16)
Pressing this button also turns on the unit.
7REV.MODE (reverse mode) button (23 – 24)
8 RETURN button (20, 21)
9KARAOKE button (26)
pSOUND TURBO button (11)
qMPX button (27)
wPBC button (20)
eDIGITAL ECHO button (26, 27)
rON SCREEN button (22)
tSTANDBY/ON   button (10, 29)
yDISPLAY button (9)
uCLOCK/TIMER button (9, 28, 29)
iSLEEP button (29)
oTREBLE button (10)
;CANCEL button (17)
aSTILL/FM MODE button (12, 21)
sCOLOR button (11)
dDisc play mode buttons (17, 18)
• PRGM (program), RANDOM, and REPEAT
fSURROUND button (11)
gAHB (Active Hyper Bass) PRO button (10)
hVIDEO INTRO button (22)
jVOLUME + / – button (10)
kDIMMER button (11)
Remote Control
STANDBY/ON
DISPLAY
CLOCK
/TIMER
SLEEP
TREBLE
UP
DOWN
BASS
CANCELSET
TAPE FM/AM AUX
REPEAT
KARAOKE
RANDOM
AHB
PRO
PBC
MPX
REV.
MODE FM MODE
STILL COLOR
PRGM
RETURN
/SELECT
1 32
4 65
7 98
10 +10
RM-SUXJ66V REMOTE CONTROL
ON
SCREEN DIMMER
SURROUND
SOUND
TURBO
VOLUME
CD
1
2
3
4
5
6
7
8
9
p
q
w
t
y
u
i
o
;
a
s
d
f
g
h
j
k
DIGITAL
ECHO
VIDEO
INTRO
PREV. NEXT
e
r
CD
For UX-J66V
STANDBY/ON
DISPLAY
CLOCK
/TIMER
SLEEP
TREBLE
UP
BASS
CANCELSET
TAPE
FM/AM AUX
REPEAT
KARAOKE
RANDOM
AHB
PRO
PBC
STILL
MPX
PRGM
RETURN
13
2
4 65
7 98
10 +10
RM-SUXJ55V REMOTE CONTROL
ON
SCREEN DIMMER
VOLUME
1
2
3
4
5
6
7
8
9
p
q
w
t
y
u
i
o
;
a
s
d
f
g
h
DIGITAL
ECHO
VIDEO
INTRO
NEXT
e
r
DOWN
PREV.
/SELECT
CD
FM
MODE
REV.
MODE
CD
For UX-J55V
1Number buttons
2BASS button (10)
3Multi operation buttons
•3 UP, PREV 4 (reverse skip), 7 (stop), ¢ NEXT
(forward skip) and 4 DOWN
4SET button (12, 17)
5Source buttons
•3/8 CD/SELECT, 2 3 TAPE, FM/AM and AUX
Pressing one of these buttons also turns on the unit.
6CD 0 (disc tray open/close) button (15, 16)
Pressing this button also turns on the unit.
7REV.MODE (reverse mode) button (23 – 24)
8 RETURN button (20, 21)
9KARAOKE button (26)
pSTILL button (21)
qMPX button (27)
wPBC button (20)
eDIGITAL ECHO button (26, 27)
rON SCREEN button (22)
tSTANDBY/ON   button (10, 29)
yDISPLAY button (9)
uCLOCK/TIMER button (9, 28, 29)
iSLEEP button (29)
oTREBLE button (10)
;CANCEL button (17)
aFM MODE button (12)
sDisc play mode buttons (17, 18)
• PRGM (program), RANDOM, and REPEAT
dAHB (Active Hyper Bass) PRO button (10)
fVIDEO INTRO button (22)
gVOLUME + / – button (10)
hDIMMER button (11)
EN01-14_UX-J66&55[UX]1.pm6 4/8/03, 5:15 PM5

6
English
Getting Started
Supplied Accessories
Make sure that you have all the following items.
The number in parentheses indicates the quantity of each
piece supplied.
• AM loop antenna (1)
• FM antenna (1)
• Remote control (1)
• Batteries (2)
• Speaker cords (ONLY FOR UX-J66V) (4)
• Video cord (1)
• AC plug adaptor (1)
If anything is missing, consult your dealer immediately.
Putting the Batteries into the Remote Control
Insert the batteries—R6(SUM-3)/AA(15F)—into the
remote control, by matching the polarity (+ and –) on the
batteries with the + and – markings on the battery
compartment.
When the remote control can no longer operate the unit,
replace both batteries at the same time.
1
3
• DO NOT use an old battery together with a new
one.
• DO NOT use different types of batteries together.
• DO NOT expose batteries to heat or flame.
• DO NOT leave the batteries in the battery
compartment when you are not going to use the
remote control for an extended period of time.
Otherwise, the remote control will be damaged
from battery leakage.
R6(SUM-3)/AA(15F)
Connecting Antennas
FM antenna
2
1Attach the FM antenna to the FM 75 Ω
COAXIAL terminal.
2Extend the FM antenna.
3Fasten it up in the position which gives you
the best reception, then fix it on the wall,
etc.
About the supplied FM antenna
The FM antenna supplied with this unit can be used as temporary
measure. If reception is poor, you can connect an outdoor FM
antenna.
To connect an outdoor FM antenna
Before connecting the antenna, disconnect the supplied FM
antenna.
FM antenna (supplied)
Outdoor FM antenna
(not supplied)
A 75 Ω antenna with coaxial type connector
(IEC or DIN 45325) should be used.
Coaxial cable (not supplied)
Continued
FM 75    
COAXIAL
AM EXT     
      AM LOOP
ANTENNA
FM 75    
COAXIAL
AM EXT     
      AM LOOP
ANTENNA
EN01-14_UX-J66&55[UX]1.pm6 4/8/03, 5:16 PM6

7
English
INPUT INPUT INPUT INPUT
RIGHT LEFT
 MAIN SPEAKERS
CAUTION: SPEAKER  IMPEDANCE  6   -16
SUBWOOFERS
RIGHT LEFT
1If the cords are covered with insulation,
remove a short section of insulation at the
end of each cord by twisting and pulling it
off.
2Connect the AM loop antenna to the AM
LOOP terminals as illustrated.
3Turn the AM loop antenna until you have
the best reception.
To connect an outdoor AM antenna
When reception is poor, connect a single vinyl-covered wire
to the AM EXT terminal and extend it horizontally. The AM
loop antenna must remain connected.
For better reception of both FM and AM
• Make sure the antenna conductors do not touch any other
terminals and connecting cords.
• Keep the antennas away from metallic parts of the unit,
connecting cords, and the AC power cord.
AM antenna
Vinyl-covered wire
(not supplied)
AM loop antenna
(supplied)
Connecting Speakers
Speaker cord
Speaker cord
FM 75    
COAXIAL
AM EXT     
      AM LOOP
ANTENNA
12
3
RIGHT
SPEAKER
IMPEDANCE
6    - 16
LEFT
SPEAKERS
FOR UX-J66V:
Right speaker Left speaker
FOR UX-J55V:
Right speaker Left speaker
Speaker
cord
Speaker
cord
1
23
Black
Red
Blue
Gray
1If the cords are covered with insulation,
remove a short section of insulation at the
end of each cord by twisting and pulling it
off.
2Press and hold the clamp of the speaker
terminal as illustrated.
3Insert the end of the speaker cord into the
terminal.
Match the polarity between the unit and the speaker
terminals: ª to ª and · to ·.
4Release your finger from the clamp.
EN01-14_UX-J66&55[UX]1.pm6 4/8/03, 5:16 PM7

8
English
RL
AUX
L
R
L
R
Speaker grille
To remove the speaker grille, insert your fingers at the top
of the speaker grille, pull towards you. Then pull the bottom
towards you.
To attach the speaker grille, put the projections of the
speaker grille into the holes of the speaker.
Holes Projections
• DO NOT connect speakers while the power is on.
• DO NOT connect more than one speaker to each
speaker teminal.
IMPORTANT: Use only speakers with the same speaker
impedance as shown on the speaker terminals on the
rear of the unit.
To remove the speaker grilles
The speaker grilles are removable.
Connecting Other Equipment
To connect an audio equipment
You can connect audio equipment—used only as a playback
device.
• DO NOT connect any equipment while the power
is on.
• DO NOT plug in any equipment until all
connections are complete.
Be sure that the plugs of the audio cords are colored: White
plugs and jacks are for left audio signals, and red ones for
right audio signals.
To audio output Audio
equipment
For playing other equipment through this unit, connect
between the audio output jacks on the other equipment and
AUX jacks by using audio cords (not supplied).
VOLTAGE
SELECTOR
110V
127V
220V
230V
-240V
Voltage mark
Adjusting the Voltage Selector
Before plugging in the unit, set the correct voltage for your
area with the voltage selector on the rear of the unit.
Use a screwdriver to rotate the voltage selector so the voltage
number the voltage mark is pointing at is the same as the voltage
where you are plugging in the unit. (See the back cover page.)
DO NOT plug in before setting the voltage selector
on the rear of the unit and all connection
procedures are complete.
Now, you can plug the AC power cord.
• If the wall outlet does not match the AC plug, use the
supplied AC plug adaptor.
IMPORTANT: Be sure to check all connections to be
done before plugging the AC power cord into a wall outlet.
To connect a TV set
You can connect a TV with a video input jack: used as a
monitor for video CD playback.
Auxiliary Equipment
RL
CAUTION: SPEAKER IMPEDANCE 6       - 16
RIGHT LEFTRIGHT LEFT
MAIN SPEAKERS SUBWOOFERS
VOLTAGE
SELECTOR
110V
127V
220V
230V
-240V
AM EXT
FM
COAXIAL
AM LOOP
75
ANTENNA
AUX
To video input TV
EN01-14_UX-J66&55[UX]1.pm6 4/8/03, 5:16 PM8

9
English
Common Operations
To change the clock
1 Make sure the   (timer) indicator is not lit on the
display.
• If it is lit, press and hold CLOCK/TIMER until it goes
off.
2 Press CLOCK/TIMER repeatedly until the unit enters
the clock setting mode (the hour digits start flashing
on the display).
First time you press CLOCK/TIMER, the unit enters the
timer setting mode. (See page 28.)
3 Repeat steps 
2
 and 
3
 of the procedure of “Setting the
Clock.”
4 Press and hold CLOCK/TIMER again so that the
 (timer) indicator goes off.
Setting the AM Tuner Interval Spacing
Some countries space AM stations 9 kHz apart, and some
countries use 10 kHz spacing.
When shipped, the built-in AM tuner is set to 9 kHz spacing.
You can change it to 9 kHz or 10 kHz spacing only while the
unit is on standby.
On the unit ONLY:
To select 10 kHz intervals, press
FM/AM while holding ¢.
To select 9 kHz intervals, press
FM/AM while holding 4.
When you change the setting
The preset stations are erased. You will need to preset the stations
again. (See page 12.)
DISPLAY
CLOCK
/TIMER
UP
DOWN
CLOCK
/TIMER
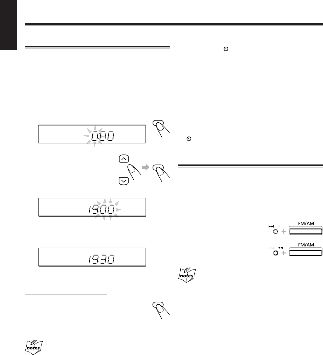
Setting the Clock
Before operating the unit any further, first set the clock built
in this unit. When you plug the AC power cord into the wall
outlet, “0:00” starts flashing on the display.
You can set the clock whether the unit is on or off.
• There is a time limit in doing the following steps. If the
setting is canceled before you finish, start from step 1
again.
1
Press CLOCK/TIMER.
The hour digits start flashing on the display.
2
Press UP or DOWN to
adjust the hour, then
press CLOCK/TIMER.
The minute digits start flashing
on the display.
3
Press UP or DOWN to adjust the minute,
then press CLOCK/TIMER.
To check the clock time during play
On the remote control ONLY:
Press DISPLAY.
• Each time you press the button, the source
indication and the clock time alternate on the
display.
• When you unplug the AC power cord or if a power failure
occurs
The clock is reset to “0:00” right away. If this happens, set the
clock again.
• The clock may gain or lose 1 to 2 minutes per month
If this happens, set the clock again.
EN01-14_UX-J66&55[UX]1.pm6 4/8/03, 5:16 PM9

10
English
Turning On the Power
To turn on the unit, press
STANDBY/ON  .
The STANDBY/ON lamp lights
green and “HELLO” appears on
the display.
• When you press the source button—CD 3/8, TAPE 2 3,
FM/AM, and AUX, the unit automatically turns on and
starts playback if the source is ready.
To turn off the unit (standby), press STANDBY/ON 
again.
The STANDBY/ON lamp lights red and “GOOD BYE”
appears on the display.
• “0:00” flashes on the display until you set the built-in
clock. After setting the clock, the clock time will appear on
the display while the unit is on standby.
The illumination and display brighten only for 4 seconds
by pressing DIMMER.
• A little power is always consumed even while the unit is on
standby.
To switch off the power supply completely, unplug the AC
power cord from the AC outlet.
When you unplug the AC power cord or if a power
failure occurs
The clock is reset to “0:00” right away, while the tuner preset
stations (see page 12) will be erased in a few days.
Adjusting the Volume
You can adjust the volume level only while the unit is turned
on. The volume level can be adjusted between “VOL MIN”
and “VOLUME 1” – “VOLUME 40 (VOL MAX).”
On the remote control:
Press VOLUME + to increase the volume or
press VOLUME – to decrease it.
On the unit:
Turn VOLUME + / – control clockwise
(+) to increase the volume or
counterclockwise (–) to decrease it.
For private listening
Connect headphones to the PHONES jack.
No sound comes out of the speakers. Be sure to turn down the
volume before connecting or putting on headphones.
DO NOT turn the unit off (standby) with the volume
set to an extremely high level; otherwise, the
sudden blast of sound can damage your hearing,
speakers and/or headphones when you turn on the
unit or start playing any source next time.
REMEMBER you cannot adjust the volume level
while the unit is on standby.
VOLUME
UP
DOWN
Continued
Enjoying Sound Effects
You can adjust the sound by using various sound effect
functions.
• These functions only affect the playback sound, and do not
affect your recording.
To adjust the tone (Bass/Treble)
You can adjust the bass level (low frequency range) and the
treble level (high frequency range) within a range of –5 to +5.
When shipped, the bass level set to “BASS +2” and the treble
level set to “TREBLE +2.”
• There is a time limit in doing the following steps. If the
setting is canceled before you finish, start over from step 
1
.
• For UX-J55V only, you can also use BASS and TREBLE
on the unit for this operation.
1
Press BASS to adjust the
bass level or press TREBLE
to adjust the treble level.
• Each timer you press the button,
“BASS” and “TREBLE” appears in the display
alternately.
2
Press UP to increase the level
or press DOWN to decrease it.
To reinforce the bass sound
You can reinforce the bass sound to maintain rich, full bass at
low volume—Active Hyper Bass Pro.
For UX-J66V:
Press AHB PRO.
• Each time you press the button, the Active
Hyper Bass Pro is turned on (AHB ON) and
off (AHB OFF) alternately. When it is turned
on, the AHB indicator lights up on the display.
For UX-J55V:
Press AHB PRO until “AHB 1” or “AHB 2”
appears on the display.
The AHB indicator also lights up on the display.
• Each time you press the button, the bass
reinforcement changes as follows:
• “AHB 2” has much more bass reinforcement effect than
“AHB 1.”
To cancel the effect, press AHB PRO until “AHB OFF”
appears on the display and the AHB indicator goes off.
AHB
PRO
AHB OFF
(Canceled)
AHB 1 AHB 2
AHB
PRO
AHB
BASS
TREBLE
STANDBY/ON
EN01-14_UX-J66&55[UX]1.pm6 4/8/03, 5:16 PM10

11
English
Selecting the Display Color
(ONLY FOR UX-J66V)
You can select the display color (COLOR 1 – COLOR 5 and
AUTO mode).
• AUTO mode changes the color (COLOR 1 to COLOR 5)
gradually.
To select the color, press COLOR.
• Each time you press the button, the color
changes as follows:
COLOR
AUTO COLOR 1 COLOR 2
COLOR 4 COLOR 3COLOR 5
DIMMER
To enjoy the heavy sound (ONLY FOR UX-J66V)
You can enjoy the heavy sound. The function boosts low and
high frequency sounds—Sound Turbo.
Press SOUND TURBO.
• Each time you press the button, the Sound
Turbo is turned on and off alternately. When it
is turned on, the BASS indicator lights up on
the display.
When the Sound Turbo is on, the bass and the treble levels
are set to +2 (see page 10). After the Sound Turbo is
canceled, these levels restored to the previous levels.
To reinforce the surround effect (ONLY FOR UX-J66V)
You can reinforce the surround effect.
• This function does not affect your recording and playback
sound of monaural sources.
To get the effect, press SURROUND so that
the SURROUND indicator lights up on the
display.
To cancel the effect, press SURROUND again so that the
SURROUND indicator goes off.
Selecting the Illumination Brightness
You can change the illumination and display brightness only
while the unit is turned on.
On the remote control ONLY:
To change the brightness, press DIMMER.
• Each time you press the button, the illumination
and display dim (DIM ON) and brighten (DIM
OFF) alternately.
SOUND
TURBO
SURROUND
BASS
EN01-14_UX-J66&55[UX]1.pm6 4/8/03, 5:16 PM11

12
English
Listening to FM and AM Broadcasts
Tuning in to a Station
1
Press FM/AM to select the band.
The unit automatically turns on and tunes in
to the previously received station—either FM
or AM.
• Each time you press the button, the band alternates
between FM and AM.
2
Press and hold ¢ or 4
for more than 1 second.
The unit starts searching for
stations and stops when a station
of sufficient signal strength is tuned in.
• If a program is broadcast in stereo, the ST (stereo)
indicator lights up.
To stop searching, press ¢ or 4.
When you press ¢ or 4 briefly and repeatedly
The frequency changes step by step.
To change the FM reception mode
On the remote control ONLY:
When an FM stereo broadcast is hard to receive
or noisy, press FM MODE so that the MONO
indicator lights up on the display. Reception will
improve.
To restore the stereo effect, press FM MODE again so that
the MONO indicator goes off. In stereo mode, you can hear
stereo sound when a stereo program is broadcast.
Presetting Stations
You can preset 30 FM and 15 AM stations.
In some cases, test frequencies have been already memorized
for the tuner since the factory examined the tuner preset
function before shipment. This is not a malfunction.
You need to preset stations separately for the FM and AM
bands.
• There is a time limit in doing the following steps. If the
setting is canceled before you finish, start over from step 
2
.
On the remote control ONLY:
1
Tune in to the station you want to preset.
• See “Tuning in to a Station.”
2
Press SET.
3
Press UP or DOWN to select a
preset number.
4
Press SET again.
The tuned station in step 
1
 is stored in the preset number
selected in step 
3
.
• Storing a new station on a used number erases the
previously stored one.
When you unplug the AC power cord or if a power
failure occurs
The tuner preset stations will be erased in a few days. If this
happens, preset the stations again.
FM/AM
PREV. NEXT
SET
UP
DOWN
Continued
FM MODE
STILL
EN01-14_UX-J66&55[UX]1.pm6 4/8/03, 5:16 PM12

13
English
Tuning in to a Preset Station
On the remote control ONLY:
1
Press FM/AM to select the band.
The unit automatically turns on and tunes in
to the previously received station—either FM
or AM.
• Each time you press the button, the band alternates
between FM and AM.
2
Press UP or DOWN to select a
preset number.
To tune in to a preset station directly using the number
buttons
On the remote control ONLY:
Pressing the number button(s) allows you to select the preset
number you want.
Ex.: For preset number 5, press 5.
For preset number 15, press +10,
then 5.
For preset number 20, press +10,
then 10.
For preset number 30, press +10,
+10, then 10.
UP
DOWN
123
456
789
10 +10
FM/AM
EN01-14_UX-J66&55[UX]1.pm6 4/8/03, 5:16 PM13

14
English
Disc Introduction
This unit has been designed to playback the following CDs:
• CD (Audio CD)
• CD-R (CD-Recordable)
• CD-RW (CD-Rewritable)
• MP3 disc (MP3 files recorded on a CD-R or CD-RW)
What is MP3?
MP3 is an abbreviation of Motion Picture Experts Group 1
(or MPEG-1) Audio Layer 3. MP3 is simply a file format
with a data compression ratio of 1:10 (128 kbps*). By using
MP3 format, one CD-R or CD-RW can contains 10 times as
much data volume as a regular CD can.
* Bit rate is the average number of bits that one second of
audio data will consume. The unit uses kbps (1,000 bits per
second). To get a better audio quality, choose a higher bit
rate. The most popular bit rate for encoding (recording) is
128 kbps.
MP3 disc structure
On an MP3 disc, each song (material) is recorded as a file.
Files are grouped into a directory (or folder). Directories can
also include other directories, creating hierarchical directory
layers. (See “How are MP3 files recorded and played back?” ).
This unit manages files and directories as “tracks” and
“groups.” This unit can recognize up to 255 tracks, up to 64
groups per disc. The unit ignores those exceeding the
maximum numbers and cannot play them back.
About MP3 discs
• MP3 discs (either CD-R or CD-RW) require a longer readout time.
(It varies due to the complexity of the recording configuration.)
• When making an MP3 disc, select ISO 9660 Level 1 or Level 2 as
the disc format.
• This unit does not support multisession recording.
• This unit can play MP3 files only with the following file extensions—
“.MP3”, “.Mp3”, “.mP3”, and “.mp3”.
• Files other than MP3 are ignored.
• Some MP3 discs may not be played back because of their disc
characteristics or recording conditions.
How are MP3 files recorded and played back?
MP3 “tracks (files)” can be recorded in “group”—folders or
directories, in PC terminology.
During recording, the tracks and groups can be arranged
similarly to the tracks and folders/directories of computer
data. “Root” is similar to the root of a tree. Every track and
group can be linked to the root.
In compliance with ISO 9660, the maximum allowable depth
of nested directories—so called “hierarchy”—is eight
(inclusive of the root).
Playback order, track search order, and group search order of
the MP3 tracks recorded on a disc are determined by the
writing (or encoding) application; therefore, playback order
may be different from the one you have intended while
recording the groups and the tracks.
The illustration shows an ordinary example of how MP3
tracks are recorded on a CD-R or CD-RW, how they are
played back and how they are searched for on this unit.
• The numbers in circles next to the MP3 tracks ( ) indicate
the playback order and search order of the MP3 tracks.
Normally this unit plays back MP3 tracks in the recorded
order.
• The numbers inside the groups indicate the playback order
and search order of the groups on an MP3 disc. Normally
this unit plays back MP3 tracks in the groups in the
recorded order.
The groups marked with asterisk (*) will be skipped since
they do not include any MP3 tracks.
6
5
4
3
*
8
7
*
*
Root
1
2
Hierarchy
Groups
MP3 tracks
1
MP3 group/track configuration:
EN01-14_UX-J66&55[UX]1.pm6 4/8/03, 5:16 PM14

15
English
Playing Back Discs (CD/CD-R/CD-RW/MP3)
When playing a CD-R or CD-RW
User-edited CD-Rs (CD-Recordable) and CD-RWs
(CD-ReWritable) can be played only if they are already
“finalized.”
• Usually you can play back your original CD-Rs or CD-
RWs recorded in music CD format. However, sometimes
they may not play depending on their characteristics or
recording conditions.
• Before playing CD-Rs or CD-RWs, read their instructions
or cautions carefully.
• Some CD-Rs or CD-RWs may not play on this unit because
of their disc characteristics, damage or stain on them, or if
the player’s lens is dirty.
• CD-RWs may require a longer readout time. This is
because the reflectance of CD-RWs is lower than for
regular discs.
General notes
In general, you will have the best performance by keeping
your discs and the mechanism clean.
• Store discs in their cases, and keep them in cabinets or on
shelves.
• Keep the unit’s disc tray closed when not in use.
Continued use of irregular shape discs
(heart-shape, octagonal, etc.) can damage the unit.
Handling discs
• Remove the disc from its case by
holding it at the edge while pressing the
center hole lightly.
• Do not touch the shiny surface of the
disc, or bend the disc.
• Put the disc back in its case after use to
prevent warping.
• Be careful not to scratch the surface
of the disc when placing it back in its
case.
• Avoid exposure to direct sunlight,
temperature extremes, and moisture.
To clean the disc
Wipe the disc with a soft cloth in a
straight line from center to edge.
DO NOT use any solvent—such as conventional record
cleaner, spray, thinner, or benzine—to clean the disc.
Playing Back the Entire Disc—Normal Play
■ For Audio  CDs
1
Press CD 0.
The unit automatically turns on and the disc
tray comes out.
2
Place a disc correctly on the circle of the
disc tray, with its label side up.
• When using a CD single (8 cm), place it on the inner
circle of the disc tray.
3
Press CD 3/8.
The disc tray automatically closes and the first
track of the disc starts playing.
• The disc automatically stops when the last track has
finished playing.
To stop playing, press 7.
To remove the disc, press CD 0.
• If the disc cannot be read correctly (because it is scratched,
for example) or an unreadable CD-R or CD-RW is inserted
Playback will not start.
• If no disc is inserted
“NO DISC” appears on the display.
DO NOT try to open or close the disc tray by hand
as it will be damaged.
Track number Elapsed playing time
CORRECT INCORRECT
Total track number Total playing time
CD
/SELECT
BASS
CD
Continued
EN15-23_UX-J66&55[UX]1.pm6 4/8/03, 5:20 PM15

16
English
■ For MP3 discs
1
Load a disc.
The unit searches for the disc (it may take some time),
and the following information appears on the display
(the group title will scrolls on the display).
2
Press ¢ NEXT or PREV 4 (or ¢
NEXT/PREV 4 on the remote control) to
select a group you want, then press CD 3/8.
The group number, track number and track title will
scroll on the display.
3
Press ¢ NEXT or PREV 4 (or ¢
NEXT/PREV 4 on the remote control) to
select a track you want to start playback with,
then press CD 3/8 again.
Only a maximum of 14 characters (including spaces between words)
can scroll on the display. The exceeding characters will be ignored.
To stop playing, press 7.
To remove disc, press 0 for the corresponding disc tray.
Group number flashes Track number
Group title of the first group (scrolling)
Track number flashes
Track title of the first group (scrolling)
• If the CD cannot be read correctly (because it is scratched, for
example) or an unreadable CD-R or CD-RW is inserted
Playback will not start.
• If no CD is inserted
“NO DISC” appears on the display.
DO NOT try to open or close the CD tray by hand
as it will be damaged.
Basic Disc Operations
While playing a disc, you can do the following operations.
To stop playing for a moment
During play, press CD 3/8.
While pausing, the elapsed playing time flashes on
the display.
To resume playing, press CD 3/8 again.
To go to another track
Before or during play, press ¢ or
4 repeatedly.
•¢ : Skips to the beginning of the
next or succeeding tracks.
•4 : Goes back to the beginning of the current or previous
tracks.
To go to another track directly using the number
buttons
On the remote control ONLY:
Pressing the number button(s) before or during play allows
you to start playing the track number you want.
Ex.: For track number 5, press 5.
For track number 15, press +10,
then 5.
For track number 20, press +10,
then 10.
For track number 32, press +10,
+10, +10, then 2.
To locate a particular point in a
track
During play, press and hold ¢ or
4.
•¢ : Fast-forwards the tracks.
•4 : Fast-reverses the tracks.
123
456
789
10 +10
CD
/SELECT
PREV. NEXT
PREV. NEXT
EN15-23_UX-J66&55[UX]1.pm6 4/8/03, 5:20 PM16

17
English
Programming the Playing Order of the Tracks
—Program Play
You can arrange the order in which tracks play before you
start playing. You can program up to 50 tracks.
On the remote control ONLY:
1
Load a disc.
• If the current playing source is not the CD player,
press CD 3/8, then 7 before going to the next step.
2
Press PRGM (program).
The PRGM (program) indicator lights up on
the display.
• If a program has been stored in memory, the program
is called up.
3
Press UP or DOWN to select the
track number, then press SET.
• You can select the track number directly
using the number button(s). (See “To go
to another track directly using the
number buttons.”)
4
Repeat step 
3
 to program other tracks you
want.
5
Press CD 3/8.
The tracks are played in the order you have
programed.
If you try to program a 51st track
“FULL” will appear on the display.
To stop playing, press 7.
To exit from Program Play, press PRGM (program) before
or after playing.
• The PRGM (program) indicator goes off.
To check the program contents
You can check the program contents
by pressing ¢ or 4 before or
after playback.
•¢ : To check the contents in the programmed order.
•4 : To check the contents in the reverse order.
Track number Program step number
PRGM
ST
PRGM
UP
DOWN
SET
ST
PRGM
CD
/SELECT
PRGM
PREV. NEXT
To modify the program
On the remote control ONLY:
Before or after playing, you can erase the last
programed track by pressing CANCEL.
• Each time you press the button, the last
programed track is erased from the program.
To add tracks in the program before playing, simply select
the track numbers you want to add by following step 
3
 of the
programming procedure.
To erase the program, press 7 before or after
playing.
• Disc ejection also erases the program.
If additional track cannot add  into the  program list,
repeat from step 1.
Playing at Random—Random Play
The tracks will play in no particular order when you use this
mode.
On the remote control ONLY:
1
Load a disc.
• If the current playing source is not the CD player,
press CD 3/8, then 7 before going to the next step.
2
Press RANDOM.
The RANDOM indicator lights up on the
display.
3
Press CD 3/8.
The tracks are randomly played.
Random Play ends when all the tracks are
played once.
To skip the current track, press ¢.
• You cannot go back to the previous track by
pressing 4.
To stop playing, press 7.
To exit from Random Play, press RANDOM before or after
playing.
Random Play is canceled and Normal Play resumes.
• The RANDOM indicator goes off.
RANDOM
CD
/SELECT
NEXT
CANCEL
EN15-23_UX-J66&55[UX]1.pm6 4/8/03, 5:20 PM17

18
English
Prohibiting Disc Ejection—Tray Lock
You can lock the disc tray and prohibit ejecting the disc
whether the unit is on or off.
On the unit ONLY:
To prohibit disc ejection, press CD ‹/8
while holding 7.
• If the disc tray is opened, close it first.
To cancel the prohibition and unlock the
disc, press CD ‹/8 while holding 7.
If you try to eject the disc while Tray Lock is in use
“LOCKED” appears to inform you that the disc tray is locked.
Repeating Tracks—Repeat Play
You can have all the tracks, the program or individual track
currently playing, repeat as many times as you like.
On the remote control ONLY:
To repeat playing, press REPEAT before or
during play.
• Each time you press the button, Repeat Play
changes as follows, and the following repeat
indicator lights up on the display:
 : Repeats one track.
 ALL : In Normal Play, repeats all the tracks.
In Program Play, repeats all the tracks in the
program.
In Random Play, repeats all the tracks in
random order.
To cancel Repeat Play, press REPEAT repeatedly until the
repeat indicator goes off.
REPEAT
ALL
Canceled
+
EN15-23_UX-J66&55[UX]1.pm6 4/8/03, 5:20 PM18

19
English
Using the Video CD Player (Video CDs)
You can play video CDs (with or without the Playback
Control (PBC) function) to watch the picture on your TV
while listening to the sound through your JVC Micro
Component System.
Before playing video CDs
Make sure that the connection between the System and your TV is
correct. (See page 8)
Setting the TV System
To view a picture of video CDs, it is required that you set
your CD player’s TV output mode according to your TV’s
color system.
Relationship among the playable CDs, System’s TV
output mode and your TV’s color system:
1
Turn off the power to put the System into
Standby mode.
2
Press the 7 button on the Unit for more
than 2 seconds.
The current TV output mode (“NTSC” for example)
appears on the display for five seconds.
3
Within five seconds, press the ¢ NEXT or
PREV 4 button on the Unit to select the
System’s TV output mode.
Each time you press the button, the TV output mode
changes as follows:
NTSC O PAL O PAL AUTO O (back to beginning)
NTSC: for NTSC exclusive TV
PAL: for PAL exclusive TV
PAL AUTO:for multisystem TV
4
Within five seconds, press the 7 button on
the Unit to apply the changes.
5
Turn on the TV and select the video input
on the TV.
6
Press the SELECT CD  3/8 button to turn
on the System.
“JVC VIDEO CD/CD PLAYER” screen will appear on
the TV without distortion.
Playable CD Player’s TV output mode Your TV’s color system
NTSC/PAL NTSC NTSC
NTSC/PAL PAL PAL
NTSC/PAL PAL AUTO Multisystem
2 3 4
NEXT
PREV.
• If you play an NTSC CD in PAL AUTO mode on a PAL exclusive
TV, the image may be distorted. If this happens change the CD
Player’s TV output mode to “PAL”.
• When you play an NTSC CD in PAL AUTO mode on a
multisystem TV, the image may blink for a moment. This
symptom occurs when the System detects the formula of the CD
and is not a malfunction.
• You can configure the current TV output mode by pressing the 7
button on the Unit for more than 2 seconds during standby mode.
Playing Video CDs with the PBC Function
The System provides Playback Control (PBC) which utilizes
a procedure (menu selection) programed into a VCD.
What is the Playback Control (PBC) function?
PBC allows you to enjoy the following features:
• Menu-Driven Play
You can interact with the TV screen using a menu display
to select and play an entry.
• High resolution still image playback
You can display high-quality images four times clearer than
video pictures.
To use a Karaoke video CD, see page 26.
You can play video CDs with PBC function using the menu
screen (Menu-Driven Play) or without using the menu screen
(Continuous Play).
• The playback operation procedure may differ depending on the
video CD you use.
• Sometimes due to improper manufacturing, video CDs will
function differently.
Playing Video CDs with the PBC Function
without Using the Menu Screen (Continuous
Play)
You can play video CDs with PBC without using the menu
screen, as if the CDs had no PBC function.
1
Load a video CD with PBC.
2
Press the CD 3/8 button.
Program Play, Random Play, Repeating Tracks:
Select the mode by pressing the respective button on the
Remote Control in the same way as for audio CDs. (See
pages 17 and 18)
EN15-23_UX-J66&55[UX]1.pm6 4/8/03, 5:20 PM19

20
English
Playing Video CDs with the PBC Function
Using the Menu Screen (Menu-Driven Play)
Before playing, make sure that Repeat indicator “ ” or
“
ALL
” is not lit. If lit, press the REPEAT button on the
Remote Control until the repeat indicator goes off.
1
Load a video CD with PBC.
Do not press the CD 3/8 button yet.
2
Press PBC button on the Remote Control.
3
Press the CD 3/8 button.
“PLAY” appears on the display and the first menu will
appear on the TV screen.
• If you leave your System on its own, the TV screen
will change as follows:
This depending on the disc you use.
To return to the previous menu, press the RETURN
button on the Unit or the RETURN button on the
Remote Control.
4
To move through the next menu, press the
following buttons.
On the Unit:
Press the ¢ NEXT or PREV 4 button.
On the Remote Control:
Press the NEXT ¢ or PREV 4 button.
5
To select the item (track) in the menu and
play it, press the following buttons.
On the Unit (Only for UX-J55V):
1. Press the VCD NUMBER button for more than 2
seconds. “SEL 1” will blink on the display.
 First Menu Last Menu (Back to the
first Menu)
Part of each movie
2. Press the ¢ NEXT/PREV 4 buttons to select the
item (“SEL XX”) and press the SELECT CD 3/8
button to play it back.
On the Remote Control:
Pressing the number button(s) allows
you to start playing the track number
you want.
Ex.: For track number 5, press 5.
For track number 15, press
+10, then 5.
For track number 20, press
+10, then 10.
For track number 32, press +10, +10, +10, then 2.
• The next track will be automatically played after the
current track is finished.
To pause, press the CD 3/8 button on the Remote Control.
To stop playback and return to the first menu, press the
RETURN button repeatedly.
To stop the video CD, press 7 button.
To select other items during playback, repeat step 4.
• Program Play, Random Play and Repeating Tracks cannot be
performed during Menu-Driven Play.
Reminder!
Do not pause Video CD for more than 10 minutes to prevent
screen burns.
Basic Remote Control and Unit Button Functions for Menu-Driven Play:
* The PBC function button names on the unit and the remote control are printed in orange.
PREV 44
44
4 / ¢¢
¢¢
¢ NEXT
VCD NUMBER
≠≠
≠≠
≠
PREV 44
44
4 / ¢¢
¢¢
¢ NEXT
(Only for UX-J55V)
SELECT CD 33
33
3/88
88
8
RETURN
PREV 44
44
4 / NEXT ¢¢
¢¢
¢
Number button
 RETURN
Remote Control Unit* Function
Move through menu.
Select a specific menu item.
Enters the selected video CD number or item. When a part of
movie is displayed on the TV screen, starts playing that track
from the beginning.
Returns to the previous menu during playback.
EN15-23_UX-J66&55[UX]1.pm6 4/8/03, 5:20 PM20

21
English
1
2
3
1
2
3
1
2
2
1 3
1231
2
Menu Screen
Moving
Picture
Still
Picture
To next screen
press
 RETURN
press
 RETURN
press
 RETURN
To previous  screen
A selection menu is displayed when you start playing a video
CD with PBC. The selection menu shows a list of numbers
for selection. Some video CDs may show moving pictures or
a divided screen.
• When a list of numbers is displayed, selecting a number
shows its contents.
• When a moving picture is displayed, pressing SELECT
CD 3/8 when the part of the movie you desire is shown
plays the movie.
• When the selection menu is re-displayed after you have
played your selection, selecting a number again can replay
its contents. (Some video CDs may show the menu screen
several times)
When “NEXT” and “PREV” are shown, pressing ¢ NEXT
or PREV 4 can change the selection menu.
• After playback, press RETURN to go back to the previous
screen. After playback, pressing RETURN for 2 seconds or
more causes it to stop. Some video CDs may return you to
the menu screen shown before playback.
• When a menu screen of a karaoke disc is displayed for about a
few minutes without any selection being made, it automatically
starts playing from the first song.
• When using the REPEAT function, the PBC function is not
available.
Playing video CDs without the PBC Function
Basic playback procedures for video CDs are the same as for
audio CDs. (See pages 15 and 16)
• When you start playing a video CD without PBC, “VIDEO
CD” appears on the display.
• During playback of a video CD, the following operations may
distort the image on the TV screen.
Searching for the beginning of the track, Skipping tracks,
Stopping/pausing the tracks, or frame-by-frame playback.
Various Functions to Enhance Your Enjoyment
You can use the following features using the Remote Control.
Frame-by-Frame Playback
Frame-by-Frame playback is possible only when moving
pictures (the video CDs with or without PBC) are played.
During playback, press the STILL button to pause the
video CD.
Each time you press the STILL button, the picture advances
by one frame. During Frame-by-Frame playback, no sound
will be heard.
To resume Normal Play, press the CD 3/8 button.
• You cannot return to the previous frame.
Example of playback using Playback Control (PBC)
Moving
Picture
Moving
Picture
Moving
Picture
Moving
Picture
Moving
Picture
Still
Picture
Moving
Picture
EN15-23_UX-J66&55[UX]1.pm6 4/8/03, 5:20 PM21

22
English
Display of Operating Status
You can view the current operating status on the TV screen.
Press the ON SCREEN button.
Pressing the above button alternates between on-screen
display ON and OFF.
• Once you have turned on the on-screen display, the track
number and playing time are always displayed on the TV
screen.
Viewing the Video Intro of Video CDs
You can check the contents of a video CD, watching about
7 seconds at the beginning of each track on the disc.
1
Play the video CD with or without PBC.
• Load the video CD with or without PBC.
• Press the CD 3/8 button, then press the 7 button.
2
Press the VIDEO INTRO button.
The Video Intro play starts whereby about 7 seconds at
the beginning of the first nine tracks will be played in
sequence.
1 2 3
4 5 6
7 8 9
• If the video CD has more than nine tracks, the tracks
whose track number is greater than nine will be
displayed on the next page when the 3 UP or ¢
NEXT is pressed.
• This function is not available in PBC mode or during
playback.
To select a track during Video Intro Play, press the number
buttons on the Remote Control to select the track to play.
Continuous play starts from the selected track.
When you use the Unit for UX-J55V, press the VCD
NUMBER button for more than 2 seconds and press the
PREV 4 or ¢ NEXT buttons to select the track, then
press the SELECT CD 3/8 button.
To stop and cancel the Video Intro Play, press the 7.
Stop the Video CD playback before enter the video intro mode.
EN15-23_UX-J66&55[UX]1.pm6 4/8/03, 5:20 PM22

23
English
Playing Back Tapes
You can play back type I tapes.
Playing Back a Tape
1
Press PUSH OPEN 0 on the unit.
2
Put a cassette in with the exposed part of
the tape down.
3
Press PUSH OPEN 0 again to close the
cassette holder.
4
Press TAPE 2 3.
The unit automatically turns on and the
tape starts playing. The tape direction
indicator (3 or 2) flashes slowly on the
display.
• Each time you press the button, the tape direction
changes:
3 : plays the front side.
2 : plays the reverse side.
When the tape plays to the end, the deck automatically
stops if the Reverse Mode is set to   or  . (See
“To play both sides—Reverse Mode.”)
If no cassette is inserted when you press TAPE 2 3
“NO TAPE” appears on the display.
To stop playing, press 7.
To fast-wind to the left or to the
right, press ¢ or 4 while the tape
is not running.
The tape direction indicator (3 or 2)
starts flashing rapidly on the display.
To remove the cassette, press PUSH OPEN 0 on the unit.
• If the tape is playing, stop it first.
To play both sides—Reverse Mode
You can set the deck to play just one side of a tape, both sides
once, or both sides continuously.
Press REV.MODE (reverse mode).
• Each time you press the button, the Reverse
Mode changes as follows:
 : The deck automatically stops after playing both
sides of the tape. Stops when playback in the 2
direction is finished.
 : The deck continues to play both sides of the tape
until 7 is pressed.
 : The deck automatically stops after playing one
side of the tape.
•DO NOT open the cassette holder when the tape
is running.
•The use of C-120 or thinner tape is not
recommended, since characteristic deterioration
may occur and this tape easily jams in the pinch-
rollers and the capstans.
REV.
MODE
PUSH OPEN
TAPE
PREV. NEXT
EN15-23_UX-J66&55[UX]1.pm6 4/8/03, 5:20 PM23

24
English
Recording
Recording on a Tape
On the unit ONLY:
1
Put a recordable cassette in with the
exposed part of the tape down.
2
Close the cassette holder gently and check
the recording direction for the tape.
• If the tape direction is not correct, press TAPE 2 3
twice then 7 to change the tape direction.
• If you want to record on both sides of a tape, see “To
record on both sides—Reverse Mode.”
3
Start playing the source—FM, AM or
auxiliary equipment connected to AUX
jacks.
• When the source is the CD player, see “Disc Direct
Recording” on page 25.
4
Press REC (recording).
The REC (recording) indicator lights up on
the display and recording starts.
• If no cassette is inserted when you press REC
“NO REC” appears on the display.
• If a protected tape is inserted when you press REC
“NO REC” appears on the display.
To stop while recording, press 7.
To remove the cassette, press PUSH OPEN 0
on the unit.
• If the tape is recording, stop it first.
DO NOT open the cassette holder when the tape is
running.
To record on both sides—Reverse Mode
Press REV.MODE (reverse mode) repeatedly
until   or   is lit.
• When using the Reverse Mode for recording,
 lights up and start recording in the forward
(3) direction first. Otherwise, recording will stop when
recording is done only on one side (reverse) of the tape.
IMPORTANT:
• It may be unlawful to record or play back copyrighted
material without the consent of the copyright owner.
• The recording level is automatically set correctly, so it is
not affected by the other sound settings. Thus, during
recording you can adjust the sound you are actually
listening to without affecting the recording level.
• If recordings you have made have excessive noise or static,
the unit may be too close to a TV. Increase the distance
between the TV and the unit.
• You can use type I tape for recording.
To protect your recording
Cassettes have two small tabs
on the back to protect from
unexpected erasure or re-
recording.
To protect your recording,
remove these tabs.
To re-record on a protected tape, cover the holes with
adhesive tape.
To keep the best recording and playback sound quality
If the heads, capstans, and pinch rollers of the cassette deck
become dirty, the following will occur:
• Impaired sound quality
• Discontinuous sound
• Fading
• Incomplete erasure
• Difficulty in recording
To clean the heads, capstans, and pinch rollers
Use a cotton swab moistened with alcohol.
To demagnetize the heads
Turn off the unit, and use a head demagnetizer (available at
electronics and audio shops).
At the start and end of cassette tapes
There is leader tape which cannot be recorded onto. Thus, when
recording discs or radio broadcasts, wind the leader tape first to
ensure that the recording will be made without any loss.
Heads
Capstans
Pinch Rollers
REV.
MODE
0
REC
Continued
EN24-32_UX-J66&55[UX]1.pm6 4/8/03, 5:22 PM24

25
English
Disc Direct Recording
Everything on the disc goes onto the tape in the order it is on
the disc, or according to the order you have set in Program
Play.
On the unit ONLY:
1
Put a recordable cassette in with the
exposed part of the tape down.
2
Load a CD.
• If the current playing source is not the CD player,
press CD 3/8, then 7 before going to the next step.
— A non-recorded pause of about 4 seconds will be
automatically inserted between tracks. If you do
not want a 4 seconds pause between tracks, press
CD 3/8 twice.
• If you want to record on both sides of a tape, see “To
record on both sides—Reverse Mode.”
3
Press REC (recording).
The REC (recording) indicator lights up on
the display and recording starts.
After recording, the CD player and cassette
deck automatically stop.
To stop while recording, press 7.
The tape stops after 4 seconds.
To remove the cassette, press PUSH OPEN 0
on the unit.
• If the tape is recording, stop it first.
DO NOT open the cassette holder when the tape is
running.
To record on both sides—Reverse Mode
Press REV.MODE (reverse mode) repeatedly
until   or   is lit.
• When using the Reverse Mode for Disc Direct
Recording,   lights up and start recording in
the forward (3) direction first. When the tape reaches its
end while recording a song in the forward direction (3),
the last song will be re-recorded at the beginning of the
reverse side (2).
If you start recording on the reverse side (2), recording
will stop when recording is done only on one side (reverse)
of the tape.
When making Sleep Timer settings while doing Disc
Direct Recording
Set enough time to allow for the disc to finish playing; otherwise,
the power will go off before recording is completed.
One Track Recording
This recording method is convenient when you record tracks
while playing the disc. You can record just your favorite
songs on the tape.
On the unit ONLY:
1
Put a recordable cassette in with the
exposed part of the tape down.
2
Play the track on the disc you wish to
record.
3
Press REC (recording).
The CD player returns to the beginning of that
track and the track is recorded on the tape.
After recording, the CD player and cassette
deck automatically stop.
4
Repeat steps 
2
 and 
3
 to record other tracks
you want.
To stop while recording, press 7.
The tape stops after 4 seconds.
To remove the cassette, press PUSH OPEN 0
on the unit.
• If the tape is recording, stop it first.
DO NOT open the cassette holder when the tape is
running.
REV.
MODE
0
REC
REC
0
EN24-32_UX-J66&55[UX]1.pm6 4/8/03, 5:22 PM25

26
English
Using the Microphone and Multiplex CDs
By plugging in the microphone, you can use the System for
Karaoke or microphone mixing. You can also add an echo to
the microphone’s sound.
Karaoke and microphone mixing are only available
when you select the CD source with a playable disc
inside.
• When you will not be using the microphone, keep the MIC
VOLUME control set to MIN and disconnect the microphone.
Always set the MIC VOLUME control to MIN when
connecting or disconnecting the microphone.
Singing Along — Karaoke
You can enjoy singing along using audio CDs and video CDs
(Karaoke does not function for other sources such as tapes).
While singing along, you can apply echo.
Singing Along with Audio CDs — Vocal Masking
When playing an audio CD, you can reduce the lead vocal
and replace it with your voice by singing into the
microphone.
The following CDs are not suitable for Vocal Masking.
• Monoaural CDs
• Multiplex Karaoke CDs
• CD recorded duets, strong echo, a chorus, or only a few
instruments
1
Set the MIC VOLUME control to MIN by
turning it anti-clockwise.
2
Connect the microphone by plugging it into
the MIC jack.
3
Press the KARAOKE button on the Remote
Control until “V.MASK” appears on the
display.
Each time you press the button, the “V.MASK” and
“NORMAL”  appears on the display alternately as
shown below:
4
Play a CD.
5
Adjust the main volume and the MIC VOLUME
control, as you sing into the microphone.
• If you want to record on a tape, carry out CD Direct
Recording or One Track Recording. (See page 25)
To cancel the Karaoke mode, press the KARAOKE button
on the Remote Control until “NORMAL” appears on the
display.
NORMAL
(KARAOKE OFF)
V.MASK
(KARAOKE ON)
• After you have finished singing along, always cancel the Karaoke
mode.
• If “howling” occurs, keep the microphone away from the
speakers.
• During recording, you cannot change the Vocal Masking.
Applying an echo to your voice
You can apply echo to your voice through the microphone
during CD mode only.
Press the DIGITAL ECHO button on the Remote Control
until “ECHO ON” appears on the display.
Pressing the button alternates between echo ON and OFF.
“ECHO ON” and “ECHO OFF” will appear on the display
for 3 seconds.
To cancel the echo, press the DIGITAL ECHO button again
until “ECHO OFF” appears on the display.
During recording, you cannot switch the echo.
Always set the MIC VOLUME control to MIN when
connecting or disconnecting the microphone.
Microphone Mixing
Using a microphone, you can mix the microphone sound with
a CD sound.
1
Set MIC  VOLUME control to MIN by
turning it fully anti-clockwise.
2
Connect a microphone (not supplied) by
plugging it into the MIC jack.
3
Start the source: CD Only.
ECHO ON              ECHO OFF
DIGITAL
ECHO
EN24-32_UX-J66&55[UX]1.pm6 4/8/03, 5:22 PM26

27
English
Microphone mixing is not available for other sources such as Tape,
Tuner or Aux.
4
Adjust the main volume and the MIC
VOLUME control as you sing into the
microphone.
• To apply echo, press the DIGITAL ECHO button on the
Remote Control until “ECHO ON” appears on the display.
To cancel the echo, press the same button again. “ECHO
OFF” will appear on the display.
If “howling” occurs, keep the microphone away from the speakers.
To Record Microphone Mixing on a Tape
1
Follow the above steps 1-4.
2
To record, follow the steps in “Recording on
a Tape”. (See page 24)
Using the Multiplex CDs and Singing Along
with Multiplex (MPX) Karaoke CDs
If the source you are going to play is a multiplex CD, you can
use the Multiplex Sound function.
What is Multiplex Sound?
In a multiplex Karaoke CD, the instrumental parts are
recorded on the left channel and the vocal parts are recorded
on the right channel. With this system, you can select the
playback sound with your voice through the microphone
(With this system, you can select each channel separately).
1
Turn on the TV and select the video input
on the TV.
2
Set the MIC  VOLUME control to MIN by
turning it anti-clockwise.
3
Connect a microphone (not supplied) by
plugging it into the MIC jack.
4
Press the DIGITAL ECHO or MPX button
on the remote control to select the MPX or
Echo mode you want to use.
Each time you press the button, MPX and Echo mode
changes as follows.
Lch MONO: Only the left channel (instrumental parts)
are played through both speakers.
Rch MONO: Only the right channel (vocal parts) are
played through both speakers.
STEREO: Normal stereo mode.
• You can also select MPX and Echo mode during
playback.
• MPX status is not indicate on the display.
•To return to Normal stereo mode press the MPX
button on the remote control until “STEREO”
appear on the display.
5
Play a multiplex CD.
To play a video CD with PBC, see page 20.
6
Adjust the main volume and the MIC
VOLUME control as you sing into the
microphone.
• If you want to record on a tape, carry out CD Direct
Recording or One Track Recording. (See page 25)
MPX:
ECHO:
LCH MONO RCH MONO STEREO
ECHO ON ECHO OFF
EN24-32_UX-J66&55[UX]1.pm6 4/8/03, 5:22 PM27

28
English
Using the Timers
There are three timers available—Daily Timer, Recording
Timer, and Sleep Timer.
Before using the timers, you need to set the unit’s clock (see
page 9).
Using Daily Timer and Recording Timer
You can set the timer whether the unit is on or off.
How the timer actually works
When the on-time comes, the unit automatically turns on
(the   [timer] and the selected timer mode [DAILY or REC]
indicators flash just before the on-time, and continue flashing
while the timer is operating). Then, when the off-time comes,
the unit automatically turns off (standby).
The timer setting remains in memory until you change it.
• When the DAILY indicator is lit on the display, the timer
acts as the Daily Timer. Once the timer has been set, it will
be activated at the same time everyday until the timer is
turned off.
• When the REC indicator is lit on the display, the timer acts
as the Recording Timer. After the timer-recording finishes,
the details of the setting remain stored but the timer is
turned off.
Before you start...
When using “ TUNER” as the source to play, make sure to
select the desired station before turning off the power.
• There is a time limit in doing the following steps. If the
setting is canceled before you finish, start over from step 
1
.
1
Press CLOCK/TIMER.
The   (timer) indicator lights up and the
timer mode (DAILY or REC) indicator
flashes on the display.
The unit enters on-time setting mode.
2
Set the on-time when you want the unit to
turn on.
1) Press UP or DOWN to set the hour, then press
CLOCK/TIMER.
2) Press UP or DOWN to set the minute, then press
CLOCK/TIMER.
The unit enters off-time setting mode.
3
Set the off-time when you want the unit to
turn off (standby).
1) Press UP or DOWN to set the hour, then press
CLOCK/TIMER.
2) Press UP or DOWN to set the minute, then press
CLOCK/TIMER.
The unit enters the timer selecting mode.
4
Press UP or DOWN to select the timer
(Daily Timer or Recording Timer) with the
source to play, then press CLOCK/TIMER.
• Each time you press UP or DOWN, the timer mode
and the source change as follows:
DAILY TUNER:  tunes in to the last station you were
listening to. (Daily Timer)
REC TUNER:  records the last station you were
listening to. (Recording Timer)
• Put a recordable cassette into the deck.
DAILY CD:  plays a disc. (Daily Timer)
• Load a disc.
DAILY TAPE:  plays a tape. (Daily Timer)
• Make sure that a tape is in the cassette deck.
• Make sure that the tape direction is correct.
The unit enters the volume level setting mode.
CLOCK
/TIMER
[DAILY  ]
[DAILY  ]
UP
DOWN
CLOCK
/TIMER
CD
TAPE
TUNER
TUNER
DAILY REC
DAILY
DAILY
Continued
EN24-32_UX-J66&55[UX]1.pm6 4/8/03, 5:22 PM28

29
English
5
Press UP or DOWN to set the volume level,
then press CLOCK/TIMER.
• You can select the volume level (“VOLUME – –” and
“VOLUME 0” to “VOLUME 40”).
If you select “VOLUME – –,” the volume is set to the
previous level when the unit was turned off.
• To turn off the volume while the Recording Timer
(REC TUNER) is working, set the volume level
“VOLUME 0.”
The unit enters the clock setting mode.
6
Adjust the clock if you need.
• See “Setting the Clock” on page 9.
7
Press STANDBY/ON   to turn
off the unit (standby) if you have
set the timer with the unit turned
on.
• When the timer turns on the unit, the   (timer) and
the selected timer mode indicators (DAILY or REC)
start flashing.
To deactivate the timer temporarily, press
and hold CLOCK/TIMER until the   (timer)
indicator on the display goes off.
To activate or change the timer (with the previous
setting), follow steps 
1
 to 
7
 on pages 28 and 29.
• If you want to change the timer setting after the Daily
Timer be used, first deactivate the timer.
• If the unit is turned on when the timer on-time comes
Timer does not work.
• When you unplug the AC power cord or if a power failure
occurs
The timer will be canceled. You need to set the clock first, then
the timer again.
Using Sleep Timer
With the Sleep Timer, you can fall asleep to music. You can
set the Sleep Timer when the unit is turned on.
How the Sleep Timer actually works
The unit automatically turns off after the specified time
length passes.
On the remote control ONLY:
1
Press SLEEP.
The time length until the shut-off time appears
and the SLEEP indicator lights up on the
display.
• Each time you press the button, the time length
changes as follows:
2
Wait for about 5 seconds after specifying
the time length.
The illumination and display dim.
To check the remaining time until the shut-off time, press
SLEEP once so that the remaining time until the shut-off time
appears for about 5 seconds.
• The illumination and display brighten during this period.
To change the shut-off time, press SLEEP repeatedly until
the desired time length appears on the display.
To cancel the setting, press SLEEP repeatedly until the
SLEEP indicator goes off.
• The Sleep Timer is also canceled when you turn off the
unit.
• If you set the Sleep Timer after the Daily Timer starts playing
the selected source
The Daily Timer is canceled. When the Sleep Timer shut-off time
comes, the unit will be turned off.
• If you set the Sleep Timer after the Recording Timer starts
recording
The Recording Timer is canceled, but recording continues until
the Sleep Timer shuts off the power.
STANDBY/ON
CLOCK
/TIMER
SLEEP
SLEEP 10
Canceled
SLEEP 20 SLEEP 30
SLEEP 60
SLEEP 90SLEEP120
EN24-32_UX-J66&55[UX]1.pm6 4/8/03, 5:22 PM29

30
English
Maintenance
Handling cassette tapes
• If the tape is loose in its cassette, take up
the slack by inserting a pencil in one of
the reels and rotating.
• If the tape is loose, it may get stretched,
cut, or caught in the cassette.
• Be careful not to touch the tape surface.
• Avoid storing tapes in the following places:
—In dusty places
—In direct sunlight or heat
—In moist areas
—On a TV or speaker
—Near a magnet
Cleaning the unit
• Stains on the unit
Should be wiped off with a soft cloth. If the unit is heavily
stained, wipe it with a cloth soaked in water-diluted neutral
detergent and wrung well, then wipe clean with a dry cloth.
• Since the unit may deteriorate in quality, become
damaged or have its paint peel, be careful about the
following.
—DO NOT wipe it with a rough cloth.
—DO NOT wipe it strongly.
—DO NOT wipe it with thinner or benzine.
—DO NOT apply any volatile substances such as
insecticides to it.
—DO NOT allow any rubber or plastic to remain in contact
with it for a long time.
To get the best performance from the unit, keep your discs, tapes, and mechanism clean.
EN24-32_UX-J66&55[UX]1.pm6 4/8/03, 5:22 PM30

31
English
Troubleshooting
If you are having a problem with your unit, check this list for a possible solution before calling for service.
If you cannot solve the problem from the hints given here, or the unit has been physically damaged, call a qualified person,
such as your dealer, for service.
Symptom
No sound is heard.
Hard to listen to broadcasts because of
noise.
The disc tray does not open or close.
The disc does not play.
The disc sound is discontinuous.
The cassette holder cannot be opened.
Impossible to record.
Operations are disabled.
Unable to operate the unit from the
remote control.
Cause
• Connections are incorrect or loose.
• Headphones are connected.
• Antennas are disconnected.
• The AM loop antenna is too close to
the unit.
• The FM antenna is not properly
extended and positioned.
The AC power cord is not plugged in.
The disc is placed upside down.
The disc is scratched or dirty.
Power from the AC power cord has
been cut off while the tape was running.
Small tabs on the back of the cassette
are removed.
The built-in microprocessor may
malfunction due to external electrical
interference.
• The path between the remote control
and the remote sensor on the unit is
blocked.
• The batteries are exhausted.
Action
• Check all connections and make
corrections. (See pages 6 – 8.)
• Disconnect the headphones.
• Reconnect the antennas correctly and
securely.
• Change the position and direction of
the AM loop antenna.
• Extend the FM antenna to the best
position.
Plug the AC power cord.
Place the disc with the label side up.
Clean or replace the disc. (See page
15.)
Plug in the AC power cord, then turn on
the unit.
Cover the holes with adhesive tape.
Unplug the AC power cord and then
plug it back in.
• Remove the obstruction.
• Replace the batteries.
EN24-32_UX-J66&55[UX]1.pm6 4/8/03, 5:22 PM31

32
English
Specifications
UX-J66V (CA-UXJ66V and SP-UXJ66V)
Amplifier
Output Power:
SUBWOOFERS:
90 W (45 W + 45 W) at 6 Ω (10% THD)
MAIN SPEAKERS:
30 W (15 W + 15 W) at 6 Ω (10% THD)
Audio input sensitivity/Impedance (at 1 kHz)
AUX: 400 mV/48 kΩ
Speakers/Impedance: 6 Ω – 16 Ω
Tuner
FM tuning range: 87.50 MHz – 108.00 MHz
AM tuning range:
AM 10 kHz intervals: 530 kHz – 1 600 kHz
AM 9 kHz intervals: 531 kHz – 1 602 kHz
CD player
Dynamic range: 85 dB
Signal-to-noise ratio: 90 dB
Wow and flutter: Immeasurable
Cassette deck
Frequency response:
Normal (type I): 60 Hz – 14 000 Hz
Wow and flutter: 0.15% (WRMS)
Speaker—SP-UXJ66V
Speaker units: Subwoofer: 13.5 cm cone x 1
Woofer: 8.0 cm cone x 1
Tweeter : 4.0 cm cone x 1
Impedance: Subwoofer: 6 Ω
Main speaker: 6 Ω
Dimensions (approx.):
175 mm x 320 mm x 241 mm (W/H/D)
Mass (approx.): 3.7 kg each
Supplied Accessories
See page 6.
General
Power requirement:
AC 110 V/ 127 V/ 220 V/ 230 V – 240 V , adjustable
with the voltage selector, 50 Hz/60 Hz
Power consumption: 135 W (at operation)
3.4 W (on standby)
Dimensions (approx.):
520 mm x 320 mm x 323.3 mm (W/H/D)
Mass (approx.): 12.9 kg
UX-J55V (CA-UXJ55V and SP-UXJ55V)
Amplifier
Output Power:
120 W (60 W + 60 W) at 6 Ω (10% THD)
Audio input sensitivity/Impedance (at 1 kHz)
AUX: 400 mV/48 kΩ
Speakers/Impedance: 6 Ω – 16 Ω
Tuner
FM tuning range: 87.50 MHz – 108.00 MHz
AM tuning range:
AM 10 kHz intervals: 530 kHz – 1 600 kHz
AM 9 kHz intervals: 531 kHz – 1 602 kHz
CD player
Dynamic range: 85 dB
Signal-to-noise ratio: 90 dB
Wow and flutter: Immeasurable
Cassette deck
Frequency response:
Normal (type I): 60 Hz – 14 000 Hz
Wow and flutter: 0.15% (WRMS)
Speaker—SP-UXJ55V
Speaker units: Woofer: 12.0 cm cone x 1
Midrange: 4.0 cm cone x 1
Tweeter: 2.0 cm dome x 1
Impedance: 6 Ω
Dimensions (approx.):
160 mm x 285 mm x 181.5 mm (W/H/D)
Mass (approx.): 2.4 kg each
Supplied Accessories
See page 6.
General
Power requirement:
AC 110 V/ 127 V/ 220 V/ 230 V – 240 V , adjustable
with the voltage selector, 50 Hz/60 Hz
Power consumption: 130 W (at operation)
3.4 W (on standby)
Dimensions (approx.):
490 mm x 286 mm x 323.3 mm (W/H/D)
Mass (approx.): 10.3 kg
Design and specifications are
subject to change without notice.
EN24-32_UX-J66&55[UX]1.pm6 4/8/03, 5:22 PM32

±±
±±
±
•
UX-J66V
•
”“
•
•
•
•
•
JVC
•
AC
AC
•
•
•
AC
•
•
AC
AC
CD
PBC
CD
CD-ROMDVDCD-GCD-I
COMPACT
DIGITAL VIDEO
COMPACT
DIGITAL AUDIO
AR01-14,UX-J66&55V(UX) 4/8/03, 4:58 PM1

≤≤
≤≤
≤
AM
UX-J66V
FMAM
CD/CD-R/CD-RW/MP3
CD
CD
CD
CDPBC
CD
PBC
CD
PBC
CD
PBC
CD
CD
CDMPX
AR01-14,UX-J66&55V(UX) 4/8/03, 4:58 PM2

≥≥
≥≥
≥
UX-J55V:
UX-J66V
MICRO   COMPONENT   SYSTEM
VIDEO  CD VERSION 2.0
COMPACT
DIGITAL VIDEO
MIC VOLUME
MIN MAX
UX-J55V:
AR01-14,UX-J66&55V(UX) 4/8/03, 4:58 PM3

¥¥
¥¥
¥
RETURN
AUX
STANDBY/ON 
STANDBY/ON
REC
•DOWN4PREV7
UP ¢ NEXT
SELECT CD ‹/8
¤ ‹TAPE
PHONES
UX-J66V
COLOR
UX-J55V
VCD NUMBER
CD 0
VOLUME + /– 
UX-J66V
SOUND TURBO
SURROUND
AHB PRO
UX-J55V
AHB PRO
BASS
TREBLE
FM/AM
0 PUSH OPEN
VOLUMEMIC
[DAILY REC SLEEP]REC
ST
PRGM
RANDOM
ALL
SURROUND
BASS
MONO
PBC
AHB
•DAILYRECSLEEP
REC
 UX-J66V:
SURROUND
 UX-J66V:
BASS
•PRGMRANDOMALL
ST
•
PBC
AHB
•2 3 
MONO
VIDEO  CD VERSION 2.0
AR01-14,UX-J66&55V(UX) 4/8/03, 4:58 PM4

µµ
µµ
µ
STANDBY/ON
DISPLAY
CLOCK
/TIMER
SLEEP
TREBLE
UP
BASS
CANCELSET
TAPE
FM/AM AUX
REPEAT
KARAOKE
RANDOM
AHB
PRO
PBC
STILL
MPX
PRGM
RETURN
13
2
4 65
7 98
10 +10
RM-SUXJ55V REMOTE CONTROL
ON
SCREEN DIMMER
VOLUME
DIGITAL
ECHO
VIDEO
INTRO
NEXT
DOWN
PREV.
/SELECT
CD
FM
MODE
REV.
MODE
CD
BASS
•3 UPPREV 47
NEXT¢4 DOWN
SET
•SELECTCD 3/8
2 3 TAPEFM/AMAUX
 CD 0
REV.MODE
RETURN
KARAOKE
STILL
MPX
PBC
DIGITAL ECHO
ON SCREEN
STANDBY/ON 
DISPLAY
CLOCK/TIMER
SLEEP
TREBLE
CANCEL
FM MODE
CD
•PRGMRANDOMREPEAT
AHB PRO
VIDEO INTRO
VOLUME +
DIMMER
UX-J55V
BASS
•3 UPPREV 47
NEXT¢4 DOWN
SET
•SELECTCD 3/8
2 3 TAPEFM/AMAUX
 CD 0
REV.MODE
RETURN
KARAOKE
pSOUND TURBO
MPX
PBC
DIGITAL ECHO
ON SCREEN
STANDBY/ON 
DISPLAY
CLOCK/TIMER
SLEEP
TREBLE
CANCEL
STILL/FM MODE
sCOLOR
CD
•PRGMRANDOMREPEAT
SURROUND
AHB PRO
VIDEO INTRO
VOLUME +
DIMMER
STANDBY/ON
DISPLAY
CLOCK
/TIMER
SLEEP
TREBLE
UP
DOWN
BASS
CANCELSET
TAPE FM/AM AUX
REPEAT
KARAOKE
RANDOM
AHB
PRO
PBC
MPX
REV.
MODE FM MODE
STILL COLOR
PRGM
RETURN
/SELECT
1 32
4 65
7 98
10 +10
RM-SUXJ66V REMOTE CONTROL
ON
SCREEN DIMMER
SURROUND
SOUND
TURBO
VOLUME
CD
DIGITAL
ECHO
VIDEO
INTRO
PREV. NEXT
CD
UX-J66V
AR01-14,UX-J66&55V(UX) 4/8/03, 4:58 PM5

∂∂
∂∂
∂
•AM
•FM
•
•
•UX-J66V
•
•AC
—SUM-3)/AA(15FR6—
R6(SUM-3)/AA(15F)
FM
FMFM
FM 75 Ω COAXIAL
FM
FM
FM
FM
FM
FM
FM
FM
IEC DIN 45325
FM 75    
COAXIAL
AM EXT     
      AM LOOP
ANTENNA
FM 75    
COAXIAL
AM EXT     
      AM LOOP
ANTENNA
•
•
•
•
AR01-14,UX-J66&55V(UX) 4/8/03, 4:58 PM6

∑∑
∑∑
∑
AM
AM LOOP
AM
AM
AM EXT
AM
FMAM
•
•
AC
AM
AM
FM 75    
COAXIAL
AM EXT     
      AM LOOP
ANTENNA
INPUT INPUT INPUT INPUT
RIGHT LEFT
 MAIN SPEAKERS
CAUTION: SPEAKER  IMPEDANCE  6   -16
SUBWOOFERS
RIGHT LEFT
RIGHT
SPEAKER
IMPEDANCE
6    - 16
LEFT
SPEAKERS
UX-J66V
UX-J55V
ªª
··
AR01-14,UX-J66&55V(UX) 4/8/03, 4:59 PM7

∏∏
∏∏
∏
RL
AUX
L
R
L
R
•
•
•
•
AUX
VOLTAGE
SELECTOR
110V
127V
220V
230V
-240V
AC
•
ACAC
AC
CD
RL
SPEAKER
IMPEDANCE
MIN
 6
RIGHT LEFT
SPEAKERS
VOLTAGE
SELECTOR
110V
127V
220V
230V
-240V
AM EXT
FM
COAXIAL
AM LOOP
75
ANTENNA
AUX
AR01-14,UX-J66&55V(UX) 4/8/03, 4:59 PM8

ππ
ππ
π
DISPLAY
CLOCK
/TIMER
UP
DOWN
CLOCK
/TIMER
AC
00”“0
•
CLOCK/TIMER
UP
DOWN
CLOCK/TIMER
UPDOWN
CLOCK/TIMER
DISPLAY
•
•AC
00”“0
•
•
CLOCK/TIMER
CLOCK/TIMER
CLOCK/TIMER
”“
CLOCK/TIMER
AM
AM
AM
FM/AM¢ 
FM/AM 4
AR01-14,UX-J66&55V(UX) 4/8/03, 4:59 PM9

±∞±∞
±∞±∞
±∞
STANDBY/ON 
STANDBY/ON
“HELLO”
•—CD 3/8 
TAPE 2 3FM/AMAUX
STANDBY/ON 
STANDBY/ON
“GOOD BYE”
•00”“0
DIMMER
•
AC
AC
AC
00” “0
“VOL MIN”1”“VOLUME
40”VOLUMEVOL MAX“
VOLUME +
VOLUME –
VOLUME +
PHONES
VOLUME
STANDBY/ON
UP
DOWN
•
“BASS+2”
“TREBLE+2”
•
•UX-J55VBASS
TREBLE
BASS
TREBLE
•“BASS”
“TREBLE”
UP
DOWN
—
 UX-J66V:
AHB PRO
•
(AHB ON)(AHB OFF)
AHB
 UX-J55V:
AHB PRO“AHB 1”
“AHB 2”
AHB
•
•2”“AHB1”“AHB
AHB PRO
“AHB OFF”AHB
AHB
PRO
AHB OFF
(Canceled)
AHB 1 AHB 2
AHB
PRO
AHB
BASS
TREBLE
AR01-14,UX-J66&55V(UX) 4/8/03, 4:59 PM10

±±±±
±±±±
±±
DIMMER
UX-J66V
—
SOUND TURBO
•
BASS
UX-J66V
•
SURROUND
SURROUND
SURROUND
SURROUND
DIMMER
•
(DIM ON)(DIM OFF)
SOUND
TURBO
SURROUND
BASS
UX-J66V
COLOR 5–COLOR 1
AUTO
•AUTOCOLOR 1
COLOR 5
COLOR
•
COLOR
AUTO COLOR 1 COLOR 2
COLOR 4 COLOR 3COLOR 5
AR01-14,UX-J66&55V(UX) 4/8/03, 4:59 PM11

±≤±≤
±≤±≤
±≤
FMAM
FM/AM
—FMAM
•FM
AM
¢4
ST
¢  4
¢  4
FM
FM
FM
MODEMONO
FM MODE
MONO
FM/AM
PREV. NEXT
FM MODE
STILL
FMAM
FMAM
•
•”“
SET
UPDOWN
SET
•
AC
SET
UP
DOWN
AR01-14,UX-J66&55V(UX) 4/8/03, 4:59 PM12

±≥±≥
±≥±≥
±≥
FM/AM
—FMAM
•FM
AM
UPDOWN
5
+10
5
+10
10
+10+10
10
UP
DOWN
123
456
789
10 +10
FM/AM
AR01-14,UX-J66&55V(UX) 4/8/03, 4:59 PM13

±¥±¥
±¥±¥
±¥
CDs
•CDCD
•CD-RCD
•CD-RWCD
•MP3MP3CD-RCD-RW
MP3
MP3Audio Layer 3”MPEG-1
“Motion Picture Experts Group 1MP3
*
MP3CD-RCD-RW
CD
*
MP3
MP3
”MP3“
”“”“
MP3
•MP3CD-RCD-RW
•MP39660ISO
•
•MP3
”“MP3”“Mp3”“mP3”“mp3
•MP3
•MP3
MP3
”“MP3”“
PC
”“
9660ISO—
”“—
MP3
MP3
CD-RCD-RW
•MP3
MP3MP3
•
MP3MP3
*
MP3
MP3
6
5
4
3
*
8
7
*
*
1
2
1
*
AR01-14,UX-J66&55V(UX) 4/8/03, 4:59 PM14

±µ±µ
±µ±µ
±µ
CD/CD-R/CD-RW/MP3
CD-RCD-RW
CD-RCD
CD-RWCD
”“
•CD-RCD-RW
CD
•CD-RCD-RWs
•CD-RCD-RWs
•CD-RW
CD-RW
•
•
•
•
•
•
•
—
—
—
 ■CD
CD 0 
•CD
CD 3/8
•
7
CD 0
•
CD-RCD-RW
•
“NO DISC”
CD
/SELECT
BASS
CD
AR15-23,UX-J66&55V(UX) 4/8/03, 4:56 PM15

±∂±∂
±∂±∂
±∂
■MP3
¢ NEXTPREV 4
/NEXT ¢ PREV 4
CD 3/8
¢ NEXTPREV 4
PREV 4/NEXT ¢
CD 3/8
7
0
CD 3/8
CD 3/8
¢  4
•¢
•4
5
+105
+10
+10+10
+102
¢
4
•¢
•4
123
456
789
10 +10
PREV. NEXT
CD
/SELECT
PREV. NEXT
•CD
CD-RCD-RW
•
“NO DISC”
CD
AR15-23,UX-J66&55V(UX) 4/8/03, 4:56 PM16

±∑±∑
±∑±∑
±∑
—
•
CDCD 3/87
PRGM
PRGM
•
UPDOWN
SET
•
”
“
CD 3/8
“FULL”
7
PRGM
•PRGM
PRGM
ST
PRGM
UP
DOWN
SET
ST
PRGM
CD
/SELECT
PRGM
¢ 4
•¢ 
• 4
CANCEL
•
7
•
—
•CD
CD 3/87
RANDOM
RANDOM
CD 3/8
¢ 
• 4 
7
RANDOM
•RANDOM
RANDOM
CD
/SELECT
NEXT
CANCEL
AR15-23,UX-J66&55V(UX) 4/8/03, 4:56 PM17

±∏±∏
±∏±∏
±∏
—
REPEAT
•
 :
ALL  :
REPEAT
REPEAT
ALL
Canceled
—
CD ‹/87
•
 CD ‹/87
CD
“LOCKED”
+
AR15-23,UX-J66&55V(UX) 4/8/03, 4:56 PM18

±π±π
±π±π
±π
CDCD
CD
PBC
JVC
CD
CD
CD
CD
7
“NTSC”
¢ NEXT
PREV 4
O PALL AUTO O PAL O NTSC
NTSCNTSC
PALPAL
PAL AUTO
7
SELECT CD 3/8
“JVC VIDEO CD/CD PLAYER”
NTSC/PALNTSCNTSC
NTSC/PALPA LPA L
NTSC/PALPAL AUTO
•NTSC CDPAL AUTO
PAL
CD“PAL”
•NTSC CDPAL AUTO
CD
•7
CD
PBC
PBC
VCD
PBC
PBC
•
•
CD
CDPBC
•CD
•CD
CD
PBC
CDPBC
CD
PBC
CD
PBC
CD 3/8
CDs
– ±π –
NEXT
PREV.
AR15-23,UX-J66&55V(UX) 4/8/03, 4:56 PM19

≤∞≤∞
≤∞≤∞
≤∞
CD
PBC
”“ALL”“
REPEAT
CD
PBC
CD 3/8
PBC
CD 3/8
“PLAY”
•
RETURN
RETURN
¢ NEXTPREV 4
NEXT ¢PREV 4
UX-J55V
VCD NUMBER
1”“SEL
PREV 4/¢ NEXT
“SEL XX”CD 3/8SELECT
5
5
+1010
+10+10+10
2
•
CD 3/8
RETURN
CD7
•
CD
*PBC
PREV 44
44
4 / ¢¢
¢¢
¢ NEXT
≠≠
≠≠
≠
PREV 44
44
4 / ¢¢
¢¢
¢ NEXT
SELECT CD 33
33
3/88
88
8
RETURN
PREV 44
44
4 / NEXT ¢¢
¢¢
¢
RETURN
*
CD
AR15-23,UX-J66&55V(UX) 4/8/03, 4:56 PM20

≤±≤±
≤±≤±
≤±
RETURN
RETURN
RETURN
CD
PBC
CD
•
•SELECT CD 3/8
•
CD
“NEXT”“PREV”
 ¢¢
¢¢
¢ NEXTPREV 44
44
4
•RETURN
RETURN
CD
•
•REPEATPBC
CD
PBC
CDCD
•CDPBC
“VIDEO CD”
•CD
CDPBC
STILL
CD
STILL
CD 3/8
•
PBC
AR15-23,UX-J66&55V(UX) 4/8/03, 4:56 PM21

≤≤≤≤
≤≤≤≤
≤≤
123
456
789
ON SCREEN
ONOFF
•
CD
CD
CD
PBC
•CD
PBC
•CD 3/87
VIDEO INTRO
•CD
3 UPNEXT ¢
•PBC
VCD NUMBERPREV 4
¢ NEXT
SELECT CD 3/8
7
CD
AR15-23,UX-J66&55V(UX) 4/8/03, 4:56 PM22

≤≥≤≥
≤≥≤≥
≤≥
PUSH OPEN
TAPE
I
0  PUSH OPEN
PUSH OPEN 0
TAPE 2 3
32
•
3
2
”
—“
“NO TAPE”
7
 ¢ 4
32
0 PUSH OPEN
•
–
REV.MODE
•
2
7
•
•120C
PREV. NEXT
REV.
MODE
AR15-23,UX-J66&55V(UX) 4/8/03, 4:56 PM23

≤¥≤¥
≤¥≤¥
≤¥
•
•
•
•I
•
•
•
•
•
•TAPE 2 3
7
•”
“
FMAM
AUX
•CD”
“
REC
REC
•REC
“NO REC”
•REC
“NO REC”
7
0 PUSH OPEN
•
—
REV.MODE
•
3
REV.
MODE
0
REC
AR24-32,UX-J66&55V(UX) 4/8/03, 4:54 PM24

≤µ≤µ
≤µ≤µ
≤µ
CD
•CD
CD 3/87
CD 3/8 
•”
“
REC
REC
CD
7
0 PUSH OPEN
•
REV.MODE
•
CD3
3
2
2
CD
CD
REV.
MODE
0
REC
CD
REC
CD
CD
7
0 PUSH OPEN
•
REC
0
AR24-32,UX-J66&55V(UX) 4/8/03, 4:54 PM25

≤∂≤∂
≤∂≤∂
≤∂
CD
CD
•MIC VOLUME
MIN
MIC VOLUME
MIN
CDCD
CD
CD
CD
•CD
•CD
•CD
MIC VOLUME
MIN
MIC
KARAOKE
MASK”“V
MASK”“V
“NORMAL”
CD
MIC VOLUME
•
CD
KARAOKE
“NORMAL”
•
•”“
•
CD
DIGITAL ECHO
“ECHO ON”
ON
OFF
“ECHO ON”
“ECHO OFF”
DIGITAL ECHO
“ECHO OFF”
MIC VOLUME
MIN
CD
MIC VOLUME
MIN
MIC
CD
ECHO ON              ECHO OFF
DIGITAL
ECHO
NORMAL V.MASK
AR24-32,UX-J66&55V(UX) 4/8/03, 4:55 PM26

≤∑≤∑
≤∑≤∑
≤∑
MIC VOLUME
•DIGITAL ECHO
“ECHO ON”
“ECHO OFF”
”“
”
“
CD
CD
MPX
CD
CD
MIC VOLUME
MIN
MIC
DIGITAL ECHO
MPX
MPX
MPX
Lch MONO
Rch MONO
STEREO
•MPX
•MPX
•
MPX
“STEREO”
CD
CDPBC
MIC VOLUME
•
CD
MPX:
ECHO:
LCH MONO RCH MONO STEREO
ECHO ON ECHO OFF
AR24-32,UX-J66&55V(UX) 4/8/03, 4:55 PM27

≤∏≤∏
≤∏≤∏
≤∏
—
DAILY
REC
•DAILY
•REC
“TUNER”
•
CLOCK/TIMER
DAILYREC
CLOCK
/TIMER
[DAILY  ]
UPDOWN
CLOCK/TIMER
UPDOWN
CLOCK/TIMER
UPDOWN
CLOCK/TIMER
UPDOWN
CLOCK/TIMER
UPDOWN
CLOCK/TIMER
•UPDOWN
 DAILY TUNER
REC TUNER
•
DAILY CDCD
•
DAILY TAPE
•
•
[DAILY  ]
UP
DOWN
CLOCK
/TIMER
CD
TAPE
TUNER
TUNER
DAILY REC
DAILY
DAILY
AR24-32,UX-J66&55V(UX) 4/8/03, 4:55 PM28

≤π≤π
≤π≤π
≤π
UPDOWN
CLOCK/TIMER
•”“VOLUME
0”VOLUME “40”VOLUME“
”“VOLUME
•
REC TUNER
0”VOLUME .“
•”“
STANDBY/ON
•
DAILYREC
CLOCK/TIMER
•
•
•AC
STANDBY/ON
CLOCK
/TIMER
SLEEP
SLEEP
•
SLEEP
•
SLEEP
SLEEP
“SLEEP”
•
•
•
SLEEP
SLEEP 10 SLEEP 20 SLEEP 30
SLEEP 60
SLEEP 90SLEEP120
AR24-32,UX-J66&55V(UX) 4/8/03, 4:55 PM29

≥∞≥∞
≥∞≥∞
≥∞
•
•
•
•
•
•
—
—
—
—
—
AR24-32,UX-J66&55V(UX) 4/8/03, 4:55 PM30

≥±≥±
≥±≥±
≥±
•
•
•
•AM
•FM
AC
AC
•
•
•
•
•
•AM
•FM
AC
AC
AC
•
•
AR24-32,UX-J66&55V(UX) 4/8/03, 4:55 PM31

≥≤≥≤
≥≤≥≤
≥≤
UX-J66VCA-UXJ66VSP-UXJ66V
THD
THD
AUX
FM
AM
CD
I
WRMS
SP-UXJ66V—
 AC
UX-J55VCA-UXJ55VSP-UXJ55V
THD
AUX
FM
AM
AM
AM
CD
I
WRMS
SP-UXJ55V—
 AC
AR24-32,UX-J66&55V(UX) 4/8/03, 4:55 PM32

RL
OPTICAL DIGITAL
OUT
AM EXT
FM
COAXIAL
AM LOOP
75
ANTENNA
AUX
VOLTAGE
SELECTOR
110V
127V
220V
230V
-240V
VOLTAGE
SELECTOR
110V
127V
220V
230V
-240V
VICTOR COMPANY OF JAPAN, LIMITED
EN, AR 0603NKKFLEJEM
Mains (AC) Line Instruction (not applicable for Europe, U.S.A., Canada, Australia, and
U.K.)
IMPORTANT for mains (AC) line
BEFORE PLUGGING IN, do check that your mains (AC)
line voltage corresponds with the position of the voltage
selector switch provided on the outside of this equipment
and, if different, reset the voltage selector switch, to
prevent from a damage or risk of fire/electric shock.
AC
AC
ARCover,UX-J66/55V(UX) 4/8/03, 4:52 PM2