Jacuzzi J 470 User Manual To The 1bf4331d D862 445a 9b43 02857050dca6
User Manual: Jacuzzi J - 470 to the manual
Open the PDF directly: View PDF
.
Page Count: 104 [warning: Documents this large are best viewed by clicking the View PDF Link!]
- Front Cover
- Attention New Spa Owner!
- Table of Contents
- 1.0 Important Spa Owner Information
- 2.0 FCC Notice
- 3.0 Important Safety Instructions for all Spa Owners
- 4.0 Choosing a Location
- 5.0 General Electrical Safety Instructions
- 6.0 Electrical Installation Instructions (240V Service)
- 7.0 Power Requirements
- 8.0 Spa Fill Up Procedure
- 9.0 Spa Features
- 9.1 J-480 Spa Features
- 9.2 J-480 Massage/Waterfall Selector Diagram
- 9.3 J-480 Air Controls Diagram
- 9.4 J-470 Spa Features
- 9.5 J-470 Massage/Waterfall Selector Diagram
- 9.6 J-470 Air Controls Diagram
- 9.7 J-465 Spa Features
- 9.8 J-465 Massage/Waterfall Selector Diagram
- 9.9 J-465 Air Controls Diagram
- 9.10 J-460 Spa Features
- 9.11 J-460 Massage/Waterfall Selector Diagram
- 9.12 J-460 Air Controls Diagram
- 10.0 Control Panel Main Menu
- 11.0 Operating Instructions
- 11.1 J-1000™ Control Panel
- 11.2 Activate Jets Pump
- 11.3 Activate Lights
- 11.4 Optional Exterior Lighting
- 11.5 Adjusting Individual Jet Flow
- 11.6 Adjusting PowerPro™ MX2 Jets
- 11.7 Adjusting RX Jets
- 11.8 WaterColour™ Waterfall Control
- 11.9 Air Controls
- 11.10 Selecting the Desired Massage Action
- 11.11 Optional J-1000™ JBL Audio System
- 12.0 Programming Instructions for Settings 1 Menus
- 13.0 Programming Instructions for Settings 2 Menus
- 14.0 Spa Maintenance
- 15.0 Water Quality Maintenance
- 16.0 Error/Display Messages
- 17.0 Troubleshooting Procedures
- 18.0 Typical Spa Wiring Diagrams
- 19.0 Optional Jacuzzi J-1000™ Audio System Stereo System Features
- 19.1 J-1000 Audio System Sound System Controls
- 19.2 J-1000 Audio System Sound System Operation
- 19.3 J-1000 Audio System Radio Operation
- 19.4 J-1000 Audio System CD Player Operation
- 19.5 J-1000 Audio System USB & NAND Operation
- 19.6 J-1000 Audio System iPod Operation
- 19.7 Docking your iPod Music Player
- 19.8 Generic MP3 Player Operation
- 19.9 J-1000 Audio System Stereo Troubleshooting
- 19.10 J-1000 Audio System Stereo Specifications
- 19.11 J-1000 Wireless Remote
- 19.12 J-1000 Wireless Remote Battery Replacement

OWNER’S MANUAL
J-400™ Collection
J - 460
J - 465
J - 470
J - 480
2530-442W Rev. E

Attention New Spa Owner!
Congratulations on the purchase of your new Jacuzzi® spa! The
following is a list of automated functions performed by your spa. These
functions are listed below in an attempt to suppress any operational
concerns you may have during the rst 24 hours of ownership! Also listed
below are important maintenance recommendations you should observe
on a regular basis to protect your new investment.
Automated Spa Operations
Your new spa is equipped with an automated “clean-up” cycle that
clears all plumbing lines daily to promote maximum water sanitation.
Each day at 12:00 PM (noon), each pump will activate and run for one
minute. If either pump has just nished a 20 minute time out, it will not
automatically activate for the clean-up cycle. Be aware, the factory
programmed clean-up cycle cannot be canceled or altered!
Maintain Healthy Spa Water
Always maintain your spa’s water chemistry within the following
parameters as dened by the Association of Pool And Spa Professionals/
USA:
pH 7.4-7.6
Free chlorine 3.0-4.0 ppm
Free bromine 2.0-4.0 ppm
Total Alkalinity 100-120 ppm
Calcium Hardness 150-250 ppm
! TO DECREASE RISK OF INFECTION OR DISEASE! Always maintain
your spa lter as outlined below to ensure healthy spa water. Refer to
pages 67-68 (Sec. 14.0) for additional information.
Required Filter Maintenance
Your new spa is equipped with an advanced water ltration system that
provides unsurpassed water quality! To ensure maximum water quality
at all times, you should clean the skimming lter cartridge every three
months, or as necessary. See pages 67-68 (Sec. 14.0) for detailed lter
cartridge cleaning instructions.
Required Water Replacement
! TO DECREASE RISK OF INFECTION OR DISEASE! You should
replace the spa’s water every 3 months. The frequency depends on a
number of variables including frequency of use, number of users and
attention paid to water quality maintenance. You will know it is time for
a change when you cannot control sudsing and/or you can no longer
get the normal feel or sparkle to the water, even though the key water
balance measurements are all within the proper parameters. See pages
72-73 (Sec. 15.0) for additional information.

J-400
©Jacuzzi Hot Tubs, Inc. All Rights Reserved
Table of Contents
1.0 Important Spa Owner Information .......................................................... 1
2.0 FCC Notice ................................................................................................ 1
2.1 Industry Canada (IC) Information .............................................................. 1
3.0 Important Safety Instructions for all Spa Owners ................................ 2
3.1 Entrapment Risk ........................................................................................ 6
3.2 Hyperthermia ............................................................................................. 7
3.3 Important CSA safety instructions (Canada only) ...................................... 8
4.0 Choosing a Location ............................................................................... 8
4.1 Outdoor Location ....................................................................................... 9
4.2 Indoor Location ........................................................................................ 10
5.0 General Electrical Safety Instructions ................................................. 11
6.0 Electrical Installation Instructions (240V Service) .............................. 11
7.0 Power Requirements ............................................................................. 16
8.0 Spa Fill Up Procedure ............................................................................ 17
9.0 Spa Features .......................................................................................... 22
9.1 J-480 Spa Features ................................................................................. 22
9.2 J-480 Massage/Waterfall Selector Diagram ............................................ 23
9.3 J-480 Air Controls Diagram ..................................................................... 24
9.4 J-470 Spa Features ................................................................................. 25
9.5 J-470 Massage/Waterfall Selector Diagram ............................................ 26
9.6 J-470 Air Controls Diagram ..................................................................... 27
9.7 J-465 Spa Features ................................................................................. 28
9.8 J-465 Massage/Waterfall Selector Diagram ............................................ 29
9.9 J-465 Air Controls Diagram ..................................................................... 30
9.10 J-460 Spa Features ................................................................................. 31
9.11 J-460 Massage/Waterfall Selector Diagram ............................................ 32
9.12 J-460 Air Controls Diagram ..................................................................... 33
10.0 Control Panel Main Menu ...................................................................... 34
10.1 Control Panel ........................................................................................... 34
10.2 Main Menu Features................................................................................ 35
10.3 Menu Flowchart ....................................................................................... 37
10.4 Entertainment Menu Display ................................................................... 38
10.5 iPod®/AUX Submenu .............................................................................. 40
10.6 AUX Submenu ......................................................................................... 41
10.7 USB Submenu ......................................................................................... 42
10.8 NAND Submenu ...................................................................................... 44
10.9 FM Radio Submenu................................................................................. 45
10.10 AM Radio Submenu ................................................................................ 47
10.11 CD Submenu ........................................................................................... 49

J-400
11.0 Operating Instructions .......................................................................... 50
11.1 J-1000™ Control Panel ........................................................................... 50
11.2 Activate Jets Pump .................................................................................. 50
11.3 Activate Lights ......................................................................................... 51
11.4 Optional Exterior Lighting ........................................................................ 53
11.5 Adjusting Individual Jet Flow ................................................................... 53
11.6 Adjusting PowerPro™ MX2 Jets ............................................................. 53
11.7 Adjusting RX Jets .................................................................................... 53
11.8 WaterColour™ Waterfall Control ............................................................. 54
11.9 Air Controls .............................................................................................. 54
11.10 Selecting the Desired Massage Action .................................................... 54
11.11 Optional J-1000™ JBL Audio System ..................................................... 54
12.0 Programming Instructions for Settings 1 Menus ................................ 55
12.1 To access the Settings 1 Menu:............................................................... 55
12.2 Choosing the Language .......................................................................... 55
12.3 Setting the Check Filter Reminder........................................................... 56
12.4 Setting the Date ....................................................................................... 56
12.5 Setting the Time....................................................................................... 57
12.6 Locking and Unlocking the Topside ......................................................... 58
13.0 Programming Instructions for Settings 2 Menus ................................ 59
13.1 Programming Heating Cycles .................................................................. 59
13.2 Auto-Heating Mode.................................................................................. 60
13.3 Programmable Heating Mode.................................................................. 60
13.4 Clean-Up “Blow-Out” Cycle ..................................................................... 63
13.5 Programming the Primary Filter Cycle .................................................... 64
13.6 Programming the Secondary Filter Cycle ............................................... 65
14.0 Spa Maintenance.................................................................................... 66
14.1 Cleaning the Filter Cartridges .................................................................. 67
14.2 Draining and Relling .............................................................................. 68
14.3 Cleaning the Spa Interior ......................................................................... 69
14.4 Pillow Care .............................................................................................. 69
14.5 Maintaining the Synthetic Cabinet ........................................................... 69
14.6 Cleaning the Control Panel...................................................................... 69
14.7 Vinyl Cover Care and Maintenance ......................................................... 70
14.8 Winterizing ............................................................................................... 70
14.9 Restarting Your Spa in Cold Weather ...................................................... 72
15.0 Water Quality Maintenance ................................................................... 72
15.1 pH Control ............................................................................................... 72
15.2 Sanitizing ................................................................................................. 73
15.3 Other Additives ........................................................................................ 73
15.4 Ozone Water Maintenance System (Optional) ........................................ 73
16.0 Error/Display Messages ........................................................................ 74
17.0 Troubleshooting Procedures ................................................................ 78

J-400
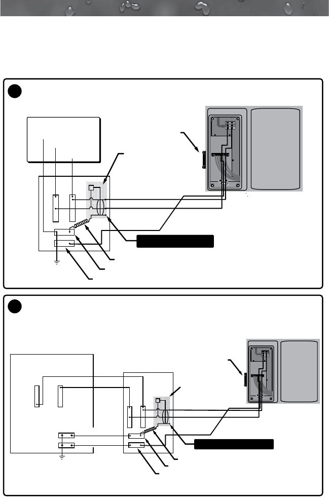
18.0 Typical Spa Wiring Diagrams ............................................................... 80
18.1 Wiring diagram for North American 60 Hz Models Only .......................... 80
19.0 Optional Jacuzzi J-1000™ Audio System Stereo System Features .. 81
19.1 J-1000 Audio System Sound System Controls ........................................ 81
19.2 J-1000 Audio System Sound System Operation ..................................... 82
19.3 J-1000 Audio System Radio Operation ................................................... 84
19.4 J-1000 Audio System CD Player Operation ............................................ 85
19.5 J-1000 Audio System USB & NAND Operation ....................................... 86
19.6 J-1000 Audio System iPod Operation...................................................... 87
19.7 Docking your iPod Music Player .............................................................. 88
19.8 Generic MP3 Player Operation................................................................ 89
19.9 J-1000 Audio System Stereo Troubleshooting ........................................ 90
19.10 J-1000 Audio System Stereo Specications ............................................ 90
19.11 J-1000 Wireless Remote ........................................................................ 91
19.12 J-1000 Wireless Remote Battery Replacement....................................... 98

J-400
1.0 Important Spa Owner Information
Your Jacuzzi® spa is constructed to the highest standards and is capable
of providing many years of trouble-free use. However, because heat reten-
tive materials are utilized to insulate the spa for efcient operation, an
uncovered spa surface and wall ttings directly exposed to sunlight and
high temperatures for an extended period is subject to permanent damage
or discoloration. Damage caused by exposing the spa to this abuse is not
covered under warranty. We recommend that you always keep the spa full
of water when it is exposed to direct sunlight and that you keep the Jacuzzi
insulating cover in place at all times when the spa is not in use. Read and
carefully follow the requirements for your spa’s support base found in the
Section 4.0 titled, “Choosing a Location” (page 8).
2.0 FCC Notice
This device complies with part 15 of the FCC Rules. Operation is subject
to the following two conditions: (1) This device may not cause harmful
interference, and (2) this device must accept any interference received,
including interference that may cause undesired operation.
This equipment has been tested and found to comply with the limits for
a Class B Digital Device, pursuant to Part 15 of the FCC Rules. These
limits are designed to provide reasonable protection against harmful
interference in a residential installation. This equipment generates, uses
and can radiate radio frequency energy and, if not installed and used in
accordance with the instructions, may cause harmful interference to radio
communications. However, there is no guarantee that interference will
not occur in a particular installation. If this equipment does cause harmful
interference to radio or television reception, which can be determined by
turning the equipment off and on, the user is encouraged to try to correct
the interference by one or more of the following measures:
1. Rearrange or relocate the receiving antenna;
2. Increase the separation between the equipment and receiver;
3. Connect the equipment into an outlet on a circuit different from the
circuit connected;
4. Consult the dealer or an experienced radio/TV technician for help.
(Changes or modications not expressly approved by the party
responsible for FCC compliance could void the user’s authority to
operate this equipment.)
2.1 Industry Canada (IC) Information
The installer of this radio equipment must ensure that the antenna is
located or pointed such that it does not emit RF eld in excess of Health
Canada limits for the general population; consult Safety Code 6,
obtainable from Health Canada’s website: www.hc-sc.gc.ca/rpb.
.

Page 1
J-400
1.0 Important Spa Owner Information
Your Jacuzzi® spa is constructed to the highest standards and is capable
of providing many years of trouble-free use. However, because heat reten-
tive materials are utilized to insulate the spa for efcient operation, an
uncovered spa surface and wall ttings directly exposed to sunlight and
high temperatures for an extended period is subject to permanent damage
or discoloration. Damage caused by exposing the spa to this abuse is not
covered under warranty. We recommend that you always keep the spa full
of water when it is exposed to direct sunlight and that you keep the Jacuzzi
insulating cover in place at all times when the spa is not in use. Read and
carefully follow the requirements for your spa’s support base found in the
Section 4.0 titled, “Choosing a Location” (page 8).
2.0 FCC Notice
This device complies with part 15 of the FCC Rules. Operation is subject
to the following two conditions: (1) This device may not cause harmful
interference, and (2) this device must accept any interference received,
including interference that may cause undesired operation.
This equipment has been tested and found to comply with the limits for
a Class B Digital Device, pursuant to Part 15 of the FCC Rules. These
limits are designed to provide reasonable protection against harmful
interference in a residential installation. This equipment generates, uses
and can radiate radio frequency energy and, if not installed and used in
accordance with the instructions, may cause harmful interference to radio
communications. However, there is no guarantee that interference will
not occur in a particular installation. If this equipment does cause harmful
interference to radio or television reception, which can be determined by
turning the equipment off and on, the user is encouraged to try to correct
the interference by one or more of the following measures:
1. Rearrange or relocate the receiving antenna;
2. Increase the separation between the equipment and receiver;
3. Connect the equipment into an outlet on a circuit different from the
circuit connected;
4. Consult the dealer or an experienced radio/TV technician for help.
(Changes or modications not expressly approved by the party
responsible for FCC compliance could void the user’s authority to
operate this equipment.)
2.1 Industry Canada (IC) Information
The installer of this radio equipment must ensure that the antenna is
located or pointed such that it does not emit RF eld in excess of Health
Canada limits for the general population; consult Safety Code 6,
obtainable from Health Canada’s website: www.hc-sc.gc.ca/rpb.

Page 2
J-400
3.0 Important Safety Instructions for all Spa Owners
READ AND FOLLOW ALL INSTRUCTIONS CAREFULLY!
This spa was manufactured to meet the standards and specications
outlined in the “Virginia Graeme Baker Pool and Spa Safety Act” (VGB
Safety Act). When installing and using this spa, basic safety precautions
should always be followed, including:
1. ! DANGER: RISK OF SEVERE INJURY OR DROWNING!
Extreme caution must be exercised to prevent unauthorized access by •
children.
To avoid accidents, ensure that children do not use this spa unless •
supervised at all times. Adult supervision is a critical safety factor in
preventing children from drowning.
Use the straps and clip tie downs to secure the spa cover when not in •
use. This will help discourage unsupervised children from entering the
spa. Keep the spa cover secure in high-wind conditions.
There is no representation that the cover, clip tie-downs, or actual locks •
will prevent access to the spa.
2. ! DANGER: RISK OF SEVERE INJURY OR DROWNING!
Keep hair, loose articles of clothing or hanging jewelry away from •
suction ttings, rotating jets or other moving components to avoid
entrapment that could lead to drowning or severe injury.
Never use the spa unless all suction guards, lter, lter lid, or skimmer •
assembly are installed to prevent body and/or hair entrapment.
Never operate or use the spa if the lter, lter lid, or skimmer assembly •
are broken or any part of the skimmer assembly is missing. Please
contact your dealer or nearest service center for service.
The suction ttings and suction covers in this spa are sized to match the •
specic water ow created by the pump(s). If it is necessary to replace
the suction ttings, suction covers or pump(s), be sure that the ow
rates are compatible and are in compliance with the VGB Safety Act.
Never replace a suction tting or suction cover with one rated less •
than the ow rate marked on the original suction tting. Using improper
suction ttings or suction covers can create a body or hair suction
entrapment hazard that may lead to drowning or severe injury.
3. ! DANGER: RISK OF SEVERE INJURY FROM ELECTRIC
SHOCK OR DEATH FROM ELECTROCUTION!
Install the spa at least 5 feet (1.5m), from all metal surfaces. As an •
alternative, a spa may be installed within 5 feet of metal surfaces if each
metal surface is permanently connected (bonded) by a minimum No. 8
AWG (8.4 mm²) solid copper conductor attached to the wire connector

Page 3
J-400
on the grounding lug, inside the equipment compartment on the
equipment box.
A grounding wire connector is provided on this unit to connect a •
minimum No. 8 AWG (8.4 mm²) solid copper conductor between this
unit and any metal equipment, metal enclosures of electrical equipment,
metal water pipe, or conduit within 5 feet (1.5m) of the unit.
Never permit any electrical appliance, such as a light, telephone, radio, •
television, etc. within 5 feet (1.5m) of a spa unless such appliances are
built-in by the manufacturer.
Never bring any electrical appliances into or near the spa. •
Never operate any electrical appliances from inside the spa or when you •
are wet.
The electrical supply for this product must include a suitably rated switch •
or circuit breaker to open all ungrounded supply conductors to comply
with Section 422-20 of the National Electrical Code/USA, ANSI/NFPA
70. The disconnecting means must be readily accessible and visible to
the spa occupant but installed at least 5 feet (1.5m), from the spa.
The electrical circuit supplied for the hot tub must include a suitable •
ground fault circuit interrupter (GFCI) as required by NEC Article 680-42.
4. ! WARNING: RISK OF SEVERE INJURY OR DEATH!
Extreme caution must be exercised to prevent diving or jumping into •
the spa or slipping and falling, which could result in unconsciousness,
drowning, or serious injury. Remember that wet surfaces can be very
slippery.
Never stand, walk or sit on the top railing of the spa.•
5. ! WARNING: RISK OF HYPERTHERMIA (OVER-HEATING)
Water tem• perature in excess of 104°F (40°F) may be injurious to your
health.
Refer to Section 3.2 Hyperthermia for specic causes and symptoms of •
this condition.
The water in the spa should never exceed 104°F (40°C). Water •
temperatures between 100°F (38°C) and 104°F (40°C) are considered
safe for a healthy adult.
Lower water temperatures are recommended for young children •
(children are especially sensitive to hot water) and when spa use may
exceed 10 minutes.
The Consumer Products Safety Commission/USA has stated that the •
water temperature in a spa should not exceed 104°F (40°C).
Always test the spa water temperature before entering the spa. •
The user should measure the water temperature with an accurate
thermometer since the tolerance of water temperature-regulating
devices may vary as much as +/- 5°F (2°C).

Page 4
J-400
6. ! WARNING: RISK OF SEVERE INJURY OR DEATH!
Since excessive water temperatures have a high potential for causing •
fetal damage during the early months of pregnancy, if pregnant or
possibly pregnant, consult your physician before using a spa.
Pregnant or possibly pregnant women should limit spa water •
temperatures to 100°F (38°C).
Persons suffering from obesity or a medical history of heart disease, •
low or high blood pressure, circulatory system problems, diabetes,
infectious diseases or immune deciency syndromes should consult a
physician before using a spa.
If you experience breathing difculties in association with using or •
operating your spa, discontinue use and consult your physician.
Persons using medication should consult a physician before using •
a spa since some medication may induce drowsiness, while other
medication may affect heart rate, blood pressure, and circulation.
Persons suffering from any condition requiring medical treatment, the •
elderly, or infants should consult with a physician before using a spa.
The use of alcohol, drugs, or medication before or during spa use may •
lead to unconsciousness with the possibility of drowning.
7. ! WARNING: RISK OF SEVERE INJURY OR DEATH!
Prolonged immersion in a spa may be injurious to your health.•
Observe a reasonable time limit when using the spa. Exposures at •
higher temperatures can cause high body temperature (over-heating).
Symptoms may include dizziness, nausea, fainting, drowsiness, and
reduced awareness. These effects could possibly result in drowning or
serious injury.
Never use a spa immediately following strenuous exercise. Enter and •
exit the spa slowly. Wet surfaces can be slippery.
8. ! WARNING: TO DECREASE RISK OF INFECTION OR DIS-
EASE!
To reduce the risk of contracting a waterborne •
illness (e.g. an infection,
bacteria or virus) and/or respiratory ailments
, maintain water chemistry
within the parameters listed on the inside cover of this manual and
consult with a licensed engineer regarding proper ventilation if installed
indoors or in an enclosed area.
People with infectious diseases should not use a spa to avoid water •
contamination, which could result in spreading infections to others.
Always shower before and after using your spa. Maintain water chem-•
istry in accordance with manufacturer’s instructions. Failure to do
so may result in contracting a waterborne
illness (e.g. an infection,
bacteria or virus).

Page 5
J-400
9. ! WARNING: In addition to maintenance of lters and water
chemistry, proper ventilation is recommended to reduce the risk of
contracting a waterborne
illness (e.g. an infection, bacteria or virus)
and/or respiratory ailments
that could be present in the air or water.
Consult a licensed architect or building contractor to determine your
specic needs if installing your hot tub indoors.
10. CAUTION: TO DECREASE RISK OF PRODUCT DAMAGE.
Maintain water chemistry in accordance with manufacturer’s •
instructions.
Proper chemical maintenance of spa water is necessary to maintain •
safe water and prevent possible damage to spa components.
11. NOTE:
This spa is not intended nor designed to be used in a commercial or
public application. The spa buyer shall determine whether there are any
code restrictions on the use or installation of this spa since local code
requirements vary from one locality to another.
Hot Tub Safety Literature
To ensure you have a safe and enjoyable hot tub experience,
learn all you can about hot tub safety and emergency procedures.
Especially useful are the brochures listed below:
Children Aren’t Waterproof•
Pool and Spa Emergency Procedures For Infants and Children•
Layers of Protection•
The Sensible Way to Enjoy Your Spa or Hot Tub•
The Association of Pool and Spa Professionals publishes these
brochures. To acquire a brochure:
Ask your hot tub dealer (they may have copies) •
Go to • http://apsp.org
Conduct your own search on the internet•
Write to the following address:•
The Association of Pool and Spa Professionals
2111 Eisenhower Avenue
Alexandria VA 22314
703.838.0083

Page 6
J-400
3.1 Entrapment Risk
The Consumer Products Safety Commission/USA has reported that
users of pools and spas have become entrapped (stuck) to drain and/or
suction ttings causing death, drowning, or serious injury (see diagram
below). This spa was manufactured to meet the standards and specica-
tions outlined in the “Virginia Graeme Baker Pool and Spa Safety Act”
(VGB Safety Act). Entrapment risk can be minimized if proper precau-
tions are taken.
DANGER: RISK OF PERSONAL INJURY OR DEATH!
Never operate the spa if a suction tting, suction cover,
lter, lter lid or skimmer assembly are broken, damaged or
missing.
!
1. ! DANGER: RISK OF SEVERE INJURY OR DROWNING!
Hair entrapment: May occur if hair is entangled, knotted or snagged
in a drain suction or skimmer assembly. This has been reported in
persons who when submerge themselves underwater, allowing hair
to come close and/or within the reach of the suction fittings, suction
covers or skimmer assembly.
Keep hair away from suction ttings, suction covers, lter, lter lid or •
skimmer assembly.
Children are at risk for hair entrapment if swimming under water.•
Never allow children to play or get near the suction ttings, suction •
covers, lter, lter lid or skimmer assembly.
2. ! DANGER: RISK OF SEVERE INJURY OR DROWNING!
Limb entrapment: May occur when a limb becomes entrapped,
inserted or sucked into a suction or outlet opening.
Always keep suction ttings, suction covers, lter, lter lid or skimmer •
assembly in place when operating to avoid limb entrapment.
Never allow children to play or get near the suction ttings, suction •
covers, lter, lter lid or skimmer assembly.
Suction Fittings,
Suction Covers
(locations vary
by models)
Filter, Filter
Lid, Skimmer
Assembly
(location and
style vary by
models)

Page 7
J-400
3. ! DANGER: RISK OF SEVERE INJURY OR DROWNING!
May occur when part of the torso becomes
entrapped, inserted or sucked into a suction or outlet opening.
Never allow children to play or get near the suction ttings, suction •
covers, lter, lter lid or skimmer assembly.
4. ! DANGER: RISK OF SEVERE INJURY OR DROWNING!
Evisceration (disembowelment) entrapment: May occur when the
buttocks becomes entrapped, inserted or sucked into a suction or
outlet opening.
Never sit on suction ttings, suction covers, lter, lter lid or skimmer •
assembly.
Never allow children to play or get near the suction ttings, suction •
covers, lter, lter lid or skimmer assembly.
5. ! DANGER: RISK OF SEVERE INJURY OR DROWNING!
Mechanical entrapment: May occur when jewelry, swimsuit, or
hair accessories become entangled, knotted or snagged in a drain
suction or skimmer assembly.
Never allow your jewelry, swimsuit, or hair accessories to come close •
to the suction ttings, suction covers or skimmer assembly.
Never allow children to play or get near the suction ttings, suction •
covers, lter, lter lid or skimmer assembly.
3.2 Hyperthermia
Prolonged immersion in hot water may induce hyperthermia (over-
heating). The use of alcohol or drugs can greatly increase the risk of fatal
hyperthermia in spas. A description of the causes, symptoms, and effects
of hyperthermia are as follows:
Hyperthermia occurs when the internal temperature of the body reaches
a level several degrees above the normal body temperature of 98.6°F
(37°C). The symptoms of hyperthermia include drowsiness, lethargy
(fatigue), and an increase in the internal temperature of the body (feeling
of being too hot). The effects of hyperthermia include:
Unawarenes• s of impending hazard;
Failure to perceive heat;•
Failure to recognize the need to exit spa;•
Physical inability to exit spa;•
Fetal damage in pregnant women; and•
Unconsciousness and • danger of drowning.
A Warning Sign is provided in your warranty packet. Please install at
a location near your spa, where it is visible to users of the spa. For
additional or replacement Warning Signs please contact your local
Jacuzzi dealer and reference item number #6530-082.

Page 8
J-400
3.3 Important CSA safety instructions (Canada only)
When using this electrical equipment, basic safety precautions should
always be followed, including the following:
1. READ AND FOLLOW ALL INSTRUCTIONS.
2. A green colored terminal or a terminal marked G, Gr, Ground,
Grounding or the symbol* is located inside the supply terminal box
or compartment. To reduce the risk of electric shock, this terminal
must be connected to the grounding means provided in the electric
supply service panel with a continuous copper wire equivalent in size
to the circuit conductors that supply this equipment. *IEC Publication
417, Symbol 5019.
3. At least two lugs marked “Bonding Lugs” are provided on the
external surface or on the inside of the supply terminal box/
compartment. To reduce the risk of electric shock, connect the local
common bonding grid in the area of the spa to these terminals with
an insulated or bare copper conductor not smaller than No. 6 AWG
(10 mm²).
4. All eld-installed metal components such as rails, ladders, drains or
other similar hardware within 10 feet (3m) of the spa shall be bonded
to the equipment grounding buss with copper conductors not smaller
than No. 6 AWG (10 mm²).
5. SAVE THESE INSTRUCTIONS.
4.0 Choosing a Location
IMPORTANT: Because of the combined weight of the spa, water
and users, it is extremely important that the base upon which the
spa rests be smooth, at, level and capable of uniformly support-
ing this weight, without shifting or settling, for the entire time the
spa is in place. If the spa is placed on a surface which does not
meet these requirements, damage to the skirt and/or the spa shell
may result. Damage caused by improper support is not covered
under warranty. It is the responsibility of the spa owner to assure
the integrity of the support at all times. We recommend a poured,
reinforced concrete slab with a minimum thickness of 4 inches (10
cm). Wood decking is also acceptable provided it is constructed so
that it meets the requirements outlined above.

Page 9
J-400
WARNING:
-
consult a professional Structural Engineer
with experience in this type of application.
!
The spa must be installed in such a manner as to provide drainage away
from it. Placing the spa in a depression without provisions for proper
drainage could allow rain, overow and other casual water to ood the
equipment and create a wet condition in which it would sit in. For spas
which will be recessed into a oor or deck, install so as to permit access
to the equipment, either from above or below, for servicing. Make certain
that there are no obstructions which would prevent removal of all side
cabinet side panels and access to the jet components, especially on the
side with the equipment bay.
CAUTION: If the spa is indoors or located in an enclosed area,
proper ventilation should be discussed with an Engineer or authority
competent enough to understand the necessary provisions needed
to vent moist or heated air and air associated with chemical odors
outdoors. When the spa is in use considerable amounts of
moisture will escape potentially causing mold and mildew. This
can cause health risk. Over time, this can damage certain surfaces,
surroundings, and equipment.
4.1 Outdoor Location
In selecting the ideal outdoor location for your spa, we suggest that you
take into consideration:
The proximity to changing area and shelter (especially in colder •
weather).
The pathway to and from your spa (this should be free of debris so •
that dirt and leaves are not easily tracked into the spa).
The closeness to trees and shrubbery (remember that leaves and •
birds could create extra work in keeping the spa clean).
A sheltered environment (less wind and weather exposure can result •
in lowered operation and maintenance costs).
The overall enhancement of your environment. It is preferable not to •
place the spa under an unguttered roof overhang since run-off water
will shorten the life expectancy of the spa cover.
For spas that are to rest on balconies, roofs or other platforms not •
specically tied into main structural support, consult a professional
Structural Engineer with experience in this type of application.
!

Page 10
J-400
4.2 Indoor Location
For indoor installations many factors need to be considered before
installing a spa indoors.
WARNING: In addition to maintenance of lters and water
chemistry, proper ventilation is recommended to reduce the
risk of contracting a waterborne
illness (e.g. an infection, bac-
teria or virus) and/or respiratory ailments
that could be pres-
ent in the air or water. Consult a licensed architect or building
contractor to determine your specic needs if installing your
hot tub indoors.
!
Proper Foundation: Consult a Structural Engineer when
considering a foundation that will adequately support the spa
the entire time it is in place. Proper support is critical especially
if the spa is to rest on a second story or higher. For spas that are
to rest on balconies, roofs or other platforms not specically tied
into the main structural support, you should consult a professional
Structural Engineer with experience in this type of application.
Proper Drainage: It is extremely important to have in place
Be
sure the ooring in which the spa rests on has adequate drainage
and can handle the entire contents of the spa. Be sure to make
provisions for ceilings and other structures that may be below the
spas installation. Areas around your spa can become wet or moist so
all ooring and subsequent furniture, walls and adjacent structures
should be able to withstand or resist water and moisture.
Proper Ventilation: Proper ventilation should be discussed with
an Engineer or authority competent enough to understand the
necessary provisions needed to vent moist or heated air and air
associated with chemical odors outdoors. When the spa is in use
considerable amounts of moisture will escape, potentially causing
mold and mildew over time which can damage certain surfaces and/
or surroundings.
In the unlikely event that you should ever need
to access or gain entry to any portion of the spa for servicing, it is
highly recommended that you plan your indoor installation to provide
full access to the entire spa.
Warranty: Damage caused by not following these guidelines or any
improper installation not in accordance to local codes or authorities is
not covered under the spas warranty. Please consult your local state
or city building ordinances.

Page 11
J-400
5.0 General Electrical Safety Instructions
Your new Jacuzzi® spa is equipped with the J-1000™
system. It contains the most advanced safety and self-
protective equipment in the industry. Nonetheless, this spa
must be installed properly to ensure dependable usage.
Please contact your local Jacuzzi dealer or local building
department should you have any questions regarding your installation.
Proper grounding is extremely important. Jacuzzi spas are equipped with
a current collector system. A pressure wire connector is provided on the
surface of the control box, located inside the equipment door (Figure B, page
13) to permit connection of a bonding wire between this point and any
ground metal equipment, metal water pipe or conduit within 5 feet (1.5m)
of the spa, or copper clad grounding rod buried within 5 feet (1.5m) of the
spa. Bonding wire must be at least No. 8 AWG (8.4 mm²) solid copper
wire. This is a most important safety assurance feature.
Before installing your spa, check with your local building department to
ensure installation conforms to local building codes.
6.0 Electrical Installation Instructions (240V
Service)
IMPORTANT NOTICE: The electrical wiring of this spa
must meet the requirements of the National Electrical
Code/USA (NEC) and any applicable state or local codes.
The electrical circuit must be installed by a qualied
electrician and approved by a local building/electrical inspection authority.
1. ! DANGER:
PRODUCT DAMAGE OR ELECTRICAL FIRE.
This spa must be permanently connected (hard-wired) to the power
supply. No plug-in connections or extension cords are to be
used in conjunction with the operation of this spa. Supplying power
to the spa which is not in accordance with these instructions will void
both the independent testing agency listing and the manufacturer’s
warranty.
2. The power supplied to this spa must be a dedicated circuit with no other
appliances or lights sharing the power provided by the circuit.
3. To determine the current, voltage and wire size required, refer to Section
7.0 “Power Requirements” (page 16) for your specic spa model.
Wire size must be appropriate per NEC and/or local codes.•
We recommend type THHN wire.•
All wiring must be copper to ensure proper connections. • Do not use
aluminum wire.
When using wire larger than #6 (10 mm²), add a junction box near •
the spa and reduce to short lengths of #8 (8.4 mm²) wire to connect
to the spa.

Page 12
J-400
4. The electrical supply for this product must include a suitably rated
switch or circuit breaker to open all ungrounded supply conductors to
comply with Section 422-20 of the National Electrical Code/USA,
ANSI/NFPA 70. The disconnecting means must be readily accessible
to the spa’s occupant but installed at least 5 feet (1.5m) from spa
water.
5. The electrical circuit supplied for the spa must include a suitable
ground fault circuit interrupter (GFCI) as required by NEC Article
680-42/USA.
6. To gain access to the spa’s power terminal block, remove the screws
securing the cabinet panel on the side of the spa under the controls.
Then remove the four door screws for the small access door on the
control box (Figure A).
7. Select the power supply entrance you want to use (Figure A) and
remove the short cabinet panel from the front of the spa. Make sure
to install a 3/4" electrical tting and conduit through the large opening
provided in the bottom of the control box so you can feed the cable
through to the terminal block.
8. Connect wires to the terminal block (Figures B-E, pages 13-15). ALL
WIRES MUST BE SECURELY CONNECTED or equipment damage
could result!
9. Install control access box door and reinstall the cabinet side panels.
Figure A
Equipment Area
10
4
22
Flow
Note: Pump Locations Vary by Model
56
6
9
8
7
6
3
1
11
Access Door
1. J-1000™ Control Box
2. Power Supply Entrance(s)
3. Jet Pump #1
4. Heater
5. Spa Drain Valve
6. Pump Drain Plugs(s)
7. Jets Pump #2
8. Filter/Circulation Pump
9. Optional CD Ozonator
(Purchase Separately)
10. Factory Installed Ozone Injector
11. J-1000 Control Panel

Page 13
J-400
L2
L1
1. Main Terminal Block
2. Bonding Lug/Grounding Terminal
3. Power wires Entrance (Electrical tting and conduit must be
installed)
Figure C
Terminal Connection
(North American 240 VAC Connection Shown)
*Electrical tting and conduit must be installed
BLK
RED
Power In*
Green
Power In*
Main
Terminal
Block Use screwdriver
to pry open
the connector
Insert power
wires and
secure connection
L2
L1
L2
L1
BLK
RED
Power In*
Green
L2L1
Main
Terminal
Block
Grounding
Lug
2
1
3

Page 14
J-400
Figure D
L2
L1
L1
L2
1. Main Terminal Block
2. Heater Terminal Block
3. Bonding Lug/Grounding Terminal
4. Power wires Entrance (Electrical tting and conduit must be
installed)
Figure E
Terminal Connection
(Export 230 VAC 50 Hz Connection Shown)
** May only require one green
grounding wire. Check your local
country codes.
*Electrical tting and conduit must be installed
L2
L1
L1
L2
Main
Terminal
Block Use screwdriver
to pry open
the connector
Insert power
wires and
secure
connection
Power In*
L2
L1
Heater
Terminal
Block
Use screwdriver
to pry open
the connector
Insert power
wires and
secure connection
L1
L2
Power In*
Green**
BRW BRW
BLU
BLU
Power In*
Main
Terminal
Block
Grounding
Lug
L2L1
L1L2
Heater
Terminal
Block
BLU
BRW
BLU
BRW
Green**
3
1
4
2

Page 15
J-400
Figure F
1. Obtain a at head screwdriver (3/16" x 6" slotted).
2. Place it ush against the middle slot of the
terminal block (diagram 1).
Figure G
1. Firmly press inward and upward
on screwdriver blade, then pivot
upward to open underlying wire
clamp. Hold this position for step 2.
2. Insert power wire into slot A as
shown, then remove screwdriver to
release terminal block clamp and
secure wire in place. Gently pull on
wire after installation to verify it is
clamped tightly into terminal.
L1 L2
Screwdriver Slots
1
2
1
A
Power wire Slots
Side View
Side View

Page 16
J-400
7.0 Power Requirements
Jacuzzi® spas are designed to provide optimum performance and
exibility of use when connected to their maximum electrical service.
They are congured at the factory. The most common electrical
connections are listed below:
All North American 60 Hz Models only: These models come set for
50A logic. If you prefer, your qualied technician can perform a logic
modication that allows the spas to operate on a different electrical
service (see table footnotes below).
North American J-460/J-465/J-470/J-480 Models (60 Hz)
Voltage: 240 VAC 240 VAC 240 VAC
Max. Current Draw: 23A 36A 45A
Frequency: 60 Hz 60 Hz 60 Hz
Number of Wires: 333
Circuit Breaker (2-Pole): 30A*50A** 60A***
* In 30A conguration, the heater will not operate while either jets
pump is running.
** In 50A conguration, the heater will not operate while both jet
pumps are running. This is the factory setting.
*** In 60A conguration the heater will operate while both jet pumps
are running.
All Export 50 Hz Models: These models have two terminals
requiring 2 circuit breakers and only have one logic option available.
Export J-460/J-465/J-470/J-480 Models (50 Hz)
Main
Terminal Breaker*
Heater
Terminal Breaker**
Voltage: 230 VAC 230 VAC
Max. Current Draw: 16.6A 12A
Wattage 3.8 kW 2.6 kW
Frequency: 50 Hz 50 Hz
Number of Wires: 3 3
* The main terminal breaker is solely for the pumps, circulation
pump, ozone, stereo option (if installed) and accessories.
** The heater breaker is solely for the heater, to allow the heater to
operate while both jet pumps are running.
Note: Two breakers needed see Figure E page 15.

Page 17
J-400
8.0 Spa Fill Up Procedure
For best results, read each step in its entirety before proceeding with this
procedure.
1. Prepare The Spa For Filling
Clear all debris from• the spa. (Although the spa shell has been
polished at the factory, you may want to treat it with a specially
formulated spa cleaner.) Consult your authorized Jacuzzi dealer for
additional information prior to lling spa.
Remove both ProClear™ • Plus skimmer, polishing lter lids and lters
as illustrated in Section 14.1 (page 67).
2. Fill Spa
Place the end of your garden hose into empty skimming lter bucket •
(lter bucket on your left) as you stand next to the spa. Fill spa half
way, then place the garden hose into the opposite lter bucket (lter
bucket on your right) while adding the remaining ll water.
CAUTION:
MINIMIZE ACRYLIC DAMAGE.
Never ll with water from a water softener. If your water is extremely
“hard”, it is preferable to ll half-way with hard water and the rest of
the way with softened water. Water that is too soft can be corrosive
to metal components.
!
• WARNING: TO DECREASE RISK OF INFECTION OR
DISEASE.
Fill hot tub with clean tap water from garden hose, to reduce risk of
contracting a waterborne
illness (e.g. an infection, bacteria or virus)
and/or respiratory ailments
. Fill until water covers all jets but does not
touch the bottom of the lowest headrest (DO NOT OVERFILL!).
IMPORTANT: Always ll your spa through both lter buckets after
draining. Failure to do so may cause air to be trapped in either pump,
preventing the pump from circulating water. Remove the hose and
replace both lter cartridges as illustrated in Section 14.1 (page 67).
3. Turn On Power
Turn on power to spa at the home’s circuit breaker.
The heater and lter/circulation pump will automatically
activate. If the LCD display ashes the temperature
icon and either “Water is below set-temp” or “Freeze
protection” error, this is normal. Refer to page 74 for
additional information.
4. Activate Jets Pumps
Turn on all jets(s) pumps when adding chemicals in
step 5 (see Section 11.2, page 50 to activate jets).

Page 18
J-400
5. Add Start-Up Chemicals
Add the spa water chemicals as recommended by your authorized
Jacuzzi spa dealer. See Section titled “Water Quality Maintenance”
(page 72) for general guidance.
WARNING: RISK OF POISONING OR DEATH.
Never leave chemicals opened and accessible to anyone. Use
chemicals according to the vendors instructions. Always store
chemicals in a safe and/or locked location. Keep away from
and out of reach of children.
!
6. Establish A Stable Sanitizer Reading
Establish a stable sanitizer reading between 3.0-4.0 ppm chlorine
or 2.0-4.0 ppm bromine. To ensure healthy water conditions, always
maintain a constant sanitizer reading within the levels recommended
by the Association of Pool and Spa Professionals/USA printed on the
inside cover of this manual. If sanitizer levels cannot be stabilized,
perform the Decontamination Procedures on the following page.
Note: The “Decontamination Procedure” should also be used after the
spa has been “Winterized” (Sec. 14.8, page 70) or has been sitting
without power for an extended period.
7. Set Spa To Heat
To warm spa water to a comfortable
temperature, follow these steps:
The LCD display on the control panel •
displays the actual temperature of the spa
water. Press either the UP or DOWN button
on the Navigational Quad Keypad to increase or decrease the water
temperature by 1 degree.
The heater will• turn off 1 degree above set temperature and turn on 1
degree below set temperature.
Important Heater Details:
The maximum temperature for which the spa can be set is 104°F •
(40°C) and the minimum is 80°F (27°C).
For North American spas: With a 50 amp service, turn off one •
of the jet pumps to operate heater. With a 30 amp service, turn
off both jet pumps to operate heater. With a 60 amp service, the
heater will operate with both jet pumps on.
Setting the thermostat at maximum will not accelerate the heating •
process. This will only result in a higher ultimate temperature.
The heater operates until the water reaches • 1 degree above the
programmed “set temperature”, then turns off. The heater will
reactivate after the water cools to approximately 1 degree below
the “set temperature.”
UP
DOWN
RIGHT
LEFT
SPLASH

Page 19
J-400
8. Place Cover On Spa
Keeping the insulating cover in place anytime the spa is not in •
use will reduce the time required for heating, thereby minimizing
operating costs.
The time required for initial heat-up will vary depending on the •
starting water temperature.
DANGER: RISK OF PERSONAL INJURY.
Check water temperature carefully before entering hot tub!
Excessive water temperature can cause burns, welts and body
temperature to rise, hyperthermia (over-heating).
!
Decontamination Procedure
Steps 1-7 below are only required when sanitizer levels are unstable
after performing Spa Fill Up Procedures steps 1-6. Disregard
Decontamination Procedure below if sanitizer levels remain stable at
3.0-4.0 chlorine or 2.0-4.0 bromine ppm after performing Spa Fill Up
Procedures steps 1-6.
1. Add 2.5 ounces of sodium dichlor for every 100 gallons of water.
Refer to the table below for approximate water ll volume by model.
CAUTION: RISK OF PERSONAL INJURY OR SPA DAMAGE!
Never add chlorine tablets (trichlor) or acid to your hot tub for
any reason! These chemical may damage components within
your hot tub, burn or irritate your skin, create a rash, and void
the manufacturer warranty for your spa.
!
Water Fill Volume by Model
Average Sodium
Model Fill Volume* Dichlor
J-460................................350 Gal (1,325 L) .................................9.0 oz
J-465................................380 Gal (1,438 L) .................................9.5 oz
J-470................................415 Gal (1,571 L) ................................10.5 oz
J-480................................480 Gal (1,817 L) ................................12.0 oz
*Use average ll volume for chemical maintenance
2. Leave spa cover open during this step to allow
excessive chemical vapors to exit spa, protecting
pillows and plastic knobs from chemical attack. If spa is
indoors, open doors and windows for proper ventilation.
Turn on all spa jet pumps for one hour, open all air
controls, and place all massage selector knob(s) in their center
“combo” position as shown.
Note: You will need to activate the jet pumps every 20 minutes since
these functions have an automatic 20 minute time-out that turns them off.
B C
A

Page 20
J-400
WARNING: RISK OF PERSONAL INJURY!
To decrease the risk of injury, drowning or entrapment, •
never leave your hot tub unattended for any reason while
the cover is open and accessible, especially to small chil-
dren and animals!
Precautions should be taken to minimize your exposure •
to chemical vapors (that could cause lung, brain, or skin
damage).
!
3. Turn off power to the spa at the circuit breaker, then drain tub as
outlined in Section 14.2 (page 68).
4. Rell spa with clean tap water from garden hose until water covers
all jets but does not touch the bottom of the lowest headrest with all
headrests in their lowest position (DO NOT OVERFILL!)
CAUTION:
MINIMIZE ACRYLIC DAMAGE.
Never ll with water from a water softener. If your water is extremely
“hard”, it is preferable to ll half-way with hard water and the rest of
the way with softened water. Water that is too soft can be corrosive
to metal components.
5. Consult your authorized Jacuzzi dealer for chemical
recommendations, then add chemicals to spa water to achieve a
constant sanitizer reading within the levels recommended by the
Association of Pool and Spa Professionals/USA printed on the inside
cover of this manual.
6. Turn on all jet pumps when adding chemicals to ensure proper
mixing and leave your spa cover open until the sanitizer level falls
below 4.0 ppm to protect pillows and plastic knobs from chemical
attack.

Page 21
J-400
WARNING: RISK OF PERSONAL INJURY.
To decrease the risk of injury, entrapment or drowning, •
never leave your hot tub unattended for any reason while
the cover is open and accessible to small children and
animals!
To decrease the possibility of contracting a waterborne •
ill-
ness (e.g. an infection, bacteria or virus) and/or respiratory
ailments, maintain water chemistry within step 6 param-
eters. If you or other bathers experience such a condition,
discontinue use and seek medical attention.
!
7. Establish a sanitizer reading between 3.0-4.0 ppm chlorine or
2.0-4.0 ppm bromine, then allow the spa to set undisturbed for 8
hours. Retest water after 8 hours to determine if sanitizer levels
are stable. If sanitizer levels are stable, your spa is ready for use.
To ensure healthy water conditions, always maintain a constant
sanitizer reading within the levels recommended by the Association
of Pool and Spa Professionals/USA printed on the inside cover of
this manual. If sanitizer levels are not stable at this time, it will be
necessary to repeat this procedure in its entirety until stable sanitizer
readings are achieved.
8. After adequate sanitizer levels are achieved, close all spa air controls
to maximize heat retention when spa is not in use.

Page 22
J-400
9.0 Spa Features
9.1 J-480 Spa Features
98
F
1
2
3
4
5
9
10
11
7
3
4
5
12
13
8
5
54
4
3
7
6
6
66
14
15
18
16
23 3
21
24
20
20 20
20
17
17
17
19
19 22
25
17
J-1000™ Control Panel1.
Waterfall Control Valve2.
Air Control Valves (4 ea.) Introduce Air 3.
to Specied Jet Groups
Optional Audio System Speakers 4.
(4 ea.)
Adjustable Pillows (4 ea.)5.
Lighted Cup Holders (6. 4 ea.)
Massage Selectors (2 ea.) Controls 7.
Specied Jet Groups
Waterfalls (2 ea.)8.
FX Jets (4 ea.) and FX2S Jets (2 ea.)9.
ProClear Plus Polishing Filter Bag and 10.
Filter
ProClear Floating Skimmer and Filter 11.
Cartridge with Integrated Chemical
Dispenser
NX Jets (2 ea.) and MX2 Jets (3 ea.)12.
FX2S Jets (2 ea.)13.
NX Jets (2 ea.) and FX Jets (10 ea.)14.
Lounge Jets: 15.
RX Back Jets (6 ea.)
SX2 Jet for Wrists and Calves (6 ea.)
Lighted Seat Logo16.
Footwell Filter Suction Covers (4 ea.)17.
Waterfall Filtration Return18.
FX Calf Jets (4 ea.)19.
FX Footwell Jets (4 ea.)20.
Lighted IX Mass Aspiration Jet21.
Gravity Drain/Heater Input/Optional 22.
Ozone Return Fitting
Lighted Mass Aspiration Jet Flow 23.
Control Valve
Optional J-1000 JBL® Audio System24.
Optional Audio System IR Sensor25.

Page 23
J-400
9.2 J-480 Massage/Waterfall Selector Diagram
98
1a
1a
1b 2b
2b
2a
2a
2a
1
3
3
5
5
5
2
4
4
Massage Selectors (1-2)
• Massageselector1divertsoutputbetweenjetsgroups1a-1b.
• Massageselector2divertsoutputbetweenjetgroups2a-2b.
Waterfall Selector (3)
• Waterfallselector3controlscirculationpumpoutputtowaterfalls.
Mass Aspiration Jet Flow Control Valve (4)
• Valve4controlsoutputtofootwellIXJet.
Jets Without Massage Selector Controls (5)
• Jets5arealwaysonwhenjetspumpisrunning.

Page 24
J-400
9.3 J-480 Air Controls Diagram
98
F
1
1
2
2
2
23
4
4
44
4
3
1
23
4
Air Controls Operation
• Rotateaircontrols1-4toaddairtodesignatedjetgroups.
• CenterfootwellIXJetdrawsairatalltimeswhenjetspumpis
running.Thisjethasnoaircontrol.

Page 25
J-400
9.4 J-470 Spa Features
1
98
F
2
3
4
5
9
10
11
7
3
4
5
12
13
8
5
5
4
26
4
7
6
6
66
14
15
18
16
23 3
21
24
20 20
2020
17 17
17
19
22
3
25
17
J-1000 Control Panel1.
Waterfall Control Valve2.
Air Control Valves (4 ea.) Introduce Air 3.
to Specied Jet Groups
Optional Audio System Speakers 4.
(4 ea.)
Adjustable Pillows (4 ea.)5.
Lighted Cup Holders (6. 4 ea.)
Massage Selectors (2 ea.) Controls 7.
Specied Jet Groups
Waterfalls (2 ea.)8.
RX Jets (6 ea.)9.
ProClear Plus Polishing Filter Bag and 10.
Filter
ProClear Floating Skimmer and Filter 11.
Cartridge with Integrated Chemical
Dispenser
NX Jets (2 ea.) and MX2 Jets (3 ea.)12.
FX2S Jets (2 ea.)13.
NX Jets (2 ea.) and FX Jets (10 ea.)14.
FX2S Jet15.
Lighted Seat Logo16.
Footwell Filter Suction Covers (4 ea.)17.
Waterfall Filtration Return18.
FX Calf Jets (2 ea.)19.
FX Footwell Jets (4 ea.)20.
Lighted IX Mass Aspiration Jet21.
Gravity Drain/Heater Input/Optional 22.
Ozone Return Fitting
Lighted Mass Aspiration Jet Flow 23.
Control Valve
Optional J-1000 Audio System24.
FX Jets (4 ea.) and FX2S Jets (2 ea.)25.
Optional Audio System IR Sensor26.

Page 26
J-400
9.5 J-470 Massage/Waterfall Selector Diagram
98
F
1a
1b 2b
2b
2a
2a
1
3
3
5
5
5
2
4
4
Massage Selectors (1-2)
• Massageselector1divertsoutputbetweenjetsgroups1a-1b.
• Massageselector2divertsoutputbetweenjetgroups2a-2b.
Waterfall Selector (3)
• Waterfallselector3controlscirculationpumpoutputtowaterfalls.
Mass Aspiration Jet Flow Control Valve (4)
• Valve4controlsoutputtofootwellIXJet.
Jets Without Massage Selector Controls (5)
• Jets5arealwaysonwhenjetspumpisrunning.

Page 27
J-400
9.6 J-470 Air Controls Diagram
98
F
1
23
4
4
3
1
23
1
1
4
1
Air Controls Operation
• Rotateaircontrols1-4toaddairtodesignatedjetgroups.
• CenterfootwellIXJetdrawsairatalltimeswhenjetspumpis
running.Thisjethasnoaircontrol.

Page 28
J-400
9.7 J-465 Spa Features
98
F
2
4
9
10
11
3
4
5
13
8
5
5
5
4
4
7
6
6
6
15 16
17
20
19
17
17
1
3
22
21
12
12
12
18
14
14
14
3
13
23
12
J-1000 Control Panel1.
Waterfall Control Valve2.
Air Control Valves (3 ea.) Introduce Air 3.
to Specied Jet Groups
Optional Audio System Speakers 4.
(4 ea.)
Adjustable Pillows (4 ea.)5.
Lighted Cup Holders (6. 3 ea.)
Massage Selectors (1 ea.) Controls 7.
Specied Jet Groups
Waterfall8.
FX Jets (10 ea.)9.
ProClear Plus Polishing Filter Bag and 10.
Filter
ProClear Floating Skimmer and Filter 11.
Cartridge with Integrated Chemical
Dispenser
Footwell Filter Suction Covers (4 ea.)12.
NX Jets (4 ea.)13.
FX2S Jets (7 ea.)14.
SX215. Jets (4 ea.)
RX Jets (6 ea.)16.
MX Jets (5 ea.)17.
Lighted IX Mass Aspiration Jet18.
Gravity Drain/Heater Input/Optional 19.
Ozone Return Fitting
Waterfall Filtration Return20.
Lighted Mass Aspiration Jet Flow 21.
Control Valve
J-1000 Optional Audio System22.
Optional Audio System IR Sensor23.

Page 29
J-400
9.8 J-465 Massage/Waterfall Selector Diagram
Massage Selectors (1)
• Massageselector1divertsoutputbetweenjetsgroups1a-1b.
Mass Aspiration Jet Flow Control Valve (2)
• Valve2controlsoutputtofootwellIXJet.
Waterfall Selector (3)
• Waterfallselector3controlscirculationpumpoutputtowaterfall.
Jets Without Massage Selector Controls (4)
• Jets4arealwaysonwhenjetspumpisrunning.
98
F
1a
1b
1b
1b
4
4
4
44
1
2
3
3
2

Page 30
J-400
9.9 J-465 Air Controls Diagram
98
F
1
1
2
2
2 2
2
33
3
1
3
2
Air Controls Operation
• Rotateaircontrols1-3toaddairtodesignatedjetgroups.
• CenterfootwellIXJetdrawsairatalltimeswhenjetspumpis
running.Thisjethasnoaircontrol.

Page 31
J-400
9.10 J-460 Spa Features
98
3
3
7
4
4
3
4
5
5
20
8
14
10
16
12
11
9
10
16
14
15
18
17
6 6
5
219
5
9
13
3
4
9
9
10
16
13
99
14
16
21
1
J-1000 Control Panel1.
Waterfall Control Valve2.
Air Control Valves (4 ea.) Introduce Air 3.
to Specied Jet Groups
Optional Audio System Speakers 4.
(4 ea.)
Adjustable Pillows (4 ea.)5.
Lighted Cup Holders (6. 2 ea.)
Massage Selector (1 ea.) Controls 7.
Specied Jet Groups
Waterfall8.
FX Jets (14 ea.)9.
FX2S Jets (5 ea.)10.
ProClear Plus Polishing Filter Bag and 11.
Filter
ProClear Floating Skimmer and Filter 12.
Cartridge with Integrated Chemical
Dispenser.
SX213. Jets (4 ea.)
MX2 Jets (5 ea.)14.
Lighted IX Mass Aspiration Jet15.
Footwell Filter Suction Covers 16.
(4 ea.)
Gravity Drain/Heater Input/Optional 17.
Ozone Return Fitting
Waterfall Filtration Return18.
Lighted Mass Aspiration Jet Flow 19.
Control Valve
Optional J-1000 Audio System20.
Optional Audio System IR Sensor21.

Page 32
J-400
9.11 J-460 Massage/Waterfall Selector Diagram
98
1
4
4
1a
4
4
4
3
3 2
2
Massage Selector (1)
• Massageselector1divertsoutputbetweenjetsgroups1a-1b.
Mass Aspiration Jet Flow Control Valve (2)
• Valve2controlsoutputtofootwellIXJet.
Waterfall Selector (3)
• Waterfallselector3controlscirculationpumpoutputtowaterfall.
Jets Without Massage Selector Controls (4)
• Jets4arealwaysonwhenjetsisrunning.

Page 33
J-400
9.12 J-460 Air Controls Diagram
98
4
4
3
3
5
3
3
1
1
2
2
2
4
Air Controls Operation
• Rotateaircontrols1-4toaddairtodesignatedjetgroups.
• CenterfootwellIXJet(5)drawsairatalltimeswhenjetspumpis
running.Thisjethasnoaircontrol.

Page 34
J-400
10.0 Control Panel Main Menu
10.1 Control Panel
Your Jacuzzi Spa is equipped with a state-of-the-art control panel. You
will be able to access sets of multi-level menus. Familiarize yourself with
the following information, so you can gain the full benets of your spa. By
learning the key features of the control panel, you will navigate through
the menus and programming with ease. You will be referred back to this
page as you move on to proceeding sections. Please pay close attention
to the key points below.
Although the graphics on the LCD display are vivid and colorful, the •
screen is not a touch-screen. The screen does display menu icons
on every corner. These menus are activated by the button located
just to the side of them (buttons A-D).
At times you will see up, down, left or right arrows surrounding key •
features that are selected or made by using the Navigational Quad
Keypad (see below).
In the center of the Quad Keypad is the “Splash” button. This button •
is mostly used to save, set, reset or enter your changes.
Located to the left, about mid-screen, is an icon that lets you know •
what menu you are currently in.
Note: The Start up menu will time out after approximately 3 seconds and
then change to the display in Section 10.2, page 35.
START UP MENU DIAGRAM
Welcome to the
Family
C
B
A
D
BUTTON A
BUTTON B
BUTTON C
BUTTON D
UP
LEFT
DOWN
SPLASH
RIGHT
NAVIGATIONAL
QUAD KEYPAD
(see below)

Page 35
J-400
10.2 Main Menu Features
From the Main Menu you can access the main component menus to
operate your Jacuzzi Spa. Listed below is a list of the Main Menu icons.
A.
= Temperature control: Indicates that by using the Quad
Keypad you can:
Increase the temperature by pressing the Up button.•
Decrease the temperature by pressing the Down button.•
To display the temperature in °F, press the Right button.•
T• o display the temperature in °C, press the Left button.
Note: The temperature range for the spa is 80 to 104°F (27 to 40°C). To
activate the Extended Temperature feature, that allows the spa to reach
106°F (41°C), refer to page 76.
= Heating icon: Indicates that the heater is on and heating the
water. If icon is blinking, refer to page 76.
= Temperature indicator: The thermometer icon will either rise
or fall depending on the actual water temperature.
80º-88ºF 105ºF
higher
89º-98ºF 99º-104ºFbelow
79ºF
= Press this button to access the corresponding
menu located to the right side of it.
= Press this button to access the corresponding
menu located to the right side of it.
= Press this button to access the corresponding
menu located to the left side of it.
98
F
Temp.
4:05 PM
Dec 22, 2009
C
B
A
D
Temp.
A
C

Page 36
J-400
= Press this button to access the corresponding
menu located to the left side of it.
= Entertainment Menu Icon: Press button A to access the
menu to operate the J-1000 Audio System powered by JBL
(page 38).
= Jets Menu icon: Press button B to access the menu to
operate the jets pump (page 50).
= Lights Menu Icon: Press button C to access the menu to
operate the lights and lighting effects (page 51).
= Settings Menu Icon: Press button D to access the menu to
program and operate a majority of the key functions of the spa
(for example setting the language, date, time etc., page 55).
B. Menu Indicators
= Time indicator: The time will always be shown when
the Main Menu is displayed. The appearance will vary
depending on whether the clock is set to a 12-hour or
24-hour conguration.
Note: The spa does not adjust for daylight saving time, so the time must
be manually adjusted. The AM or PM indicators will only appear with the
12-hour conguration.
= Temperature: Displays the actual water temperature
in either °F or °C.
= Temperature setpoint: Displays the temperature that
the spa has been set to. Press the Up or Down button
on the Quad Keypad once to view setpoint. The word
“setpoint” will only appear when manually setting the
temperature.
= Date: The date will always be shown when the Main
Menu is displayed.
D
98
F
Temp.
4:05 PM
SETPOINT
Dec 22 2009
4:05 PM
1605
98
F
37.6
C
SETPOINT
Dec 22 2009

Page 37
J-400
10.3 Menu Flowchart
The owchart below is included to help you understand the spa’s
navigational screens. By pressing the buttons located next to each
corner icon, you will enter additional menus and submenus. Each menu
is covered in detail in the sections to follow.
Note: If your spa is not equipped with an audio system. The
Entertainment Menu and menu icon ( ) will not appear and be
replaced with a Lock icon (
5 4 3
).
98
FTemp.
4:05 PM
SETPOINT
Vol.
Track 01
AUX
Press to
iPod
iPod
Play or Pause
INTERIOR
COLOR
JETS
Jet 1
Jet 2 OFF
OFF
Press to
adjust filter
Language
Ozone
Filter
OFF
ENG
SETTINGS 1
ENTERTAINMENT MENU LIGHTS MENU
MAIN MENU
WITH STEREO
SETTINGS 1 MENU
JETS MENU
Welcome to the
Family
WELCOME MENU
NAND
Brightness

Page 38
J-400
10.4 Entertainment Menu Display
Jacuzzi models equipped with the optional J-1000 Audio System pow-
ered by JBL, offer an enhanced spa experience. These models include
an integrated AM/FM/CD/MP3 Player receiver, four high delity spa
engineered speakers for unsurpassed sound quality and long-life, and an
integrated subwoofer for an enhanced acoustical experience. A wireless
remote control is included to further enhance your experience by provid-
ing full sound, lighting and jets control at your ngertips.
Note: When you rst enter the Entertainment menu, the screen defaults
to the last device used.
Vol.
Track 01
Press to
play or pause
iPod
iPod
NAND
AUX C
B
A
D
= iPod®/AUX icon: Press button A to access the iPod/AUX
(Auxiliary) submenu when you rst enter the Entertainment
Menu (page 40).
= iPod icon: Indicates that an iPod device is in use (page 40).
= Auxiliary icon: Indicates that an Auxiliary device is in use
(page 41).
Press button B to access the
USB/NAND (Universal Serial Bus/Internal Memory) device
submenu (page 42).
Note: When you enter the submenu, the system will default to the last
device that was used.
Indicates that an USB device is in use. You can
access the drive’s folders and tracks (page 42).
= NAND icon: Indicates that the NAND is in use (page 44).
iPOD
AUX
iPod
AUX
NAND
NAND

Page 39
J-400
= Radio/CD Menu icon: Press button C to access the radio or
CD device submenus (page 45).
Note: When you enter the submenu, the system will default to the last
device that was used. If the Radio was used, it will also default to the last
broadcast band used (AM/FM).
= Radio icon: Allows access to the FM presets, FM tune, AM
presets, and AM tune modes (page 45).
= CD icon: Indicates that a CD is currently playing (page 49).
= Previous icon: Press button D to return to the Previous
menu.
= Splash button: This is a multi-task button, depending on the
menus and action required. The Splash button can select,
save, set, pause or play, preset submenus, and turn off the
system.

Page 40
J-400
10.5 iPod®/AUX Submenu
While in the Entertainment menu, press button A to access the for iPod/
AUX submenu. You can scroll through the tracks, control the volume, and
pause/play the device, for the iPod device only.
WARNING: RISK OF ELECTRICAL SHOCK HAZARD
EXISTS AND EQUIPMENT DAMAGE! Never install or remove
iPod while hands are wet or while sitting partially immersed or
fully immersed in spa!
Vol.
Track 01
AUX
Press to
play or pause
iPod
iPod
NAND
C
B
A
D
= Audio information: Displays the track number, artist, song,
and time elapsed (if available). The arrows on either side
indicate that the Quad Keypad can be used to scroll through
the tracks.
Press the Left button to move back to the previous track.•
Press the Right button to move forward to the next track.•
= Volume control: Allows you to control the volume level. The
arrows on the top and bottom of the volume indicate that the
Quad Keypad can be used to lower or raise the volume.
Press the Up button to increase the volume.•
Press the Down button to decrease the volume.•
= Splash button: Allows you to pause/play the music or turn off
the audio system.
Press the Splash button to pause when playing.•
Press the Splash button again to reactivate.•
Press and hold for longer than 3 seconds and the audio sys-•
tem will turn off. The screen will return to the Main Menu.
Press this button to access the AUX submenu.
Press this button to access the USB/NAND
submenus (page 42). DRM (Digital rights management) les
cannot be played. Personal les (MP3, WMA, iTunes or AAC)
can be played as long as they are not DRM encrypted les.
Note: The USB/NAND submenu will always default to the last device used.
“Displays
Audio
Information”
Vol.
A

Page 41
J-400
Press this button to access the Radio/CD
submenus (page 45).
Note: The Radio/CD submenu will always default to the last device used.
If the radio was used, it will also default to the last broadcast band used
(AM/FM).
Press this button to return to the Main Menu (page 35).
10.6 AUX Submenu
The Auxiliary submenu lets you connect to any MP3 device (other than
an iPod). When this submenu is active it provides a volume control func-
tion, all other functions are controlled through the connected device.
WARNING: RISK OF ELECTRICAL SHOCK HAZARD
EXISTS AND EQUIPMENT DAMAGE! Never install or
remove MP3 Player while hands are wet or while sitting par-
tially immersed or fully immersed in spa!
iPod
Vol.
AUXILIARY
AUX
NAND
C
B
A
D
= Volume control: Allows you to control the volume level. The
arrows on the top and bottom of the volume indicate that the
Quad Keypad can be used to lower or raise the volume. When
pressing the Up or Down button the “Vol” icon is replaced by
the volume level number.
Press the Up button to increase the volume.•
Press the Down button to decrease the volume.•
= Splash button: Press and hold for longer than 3 seconds and
the Audio System will turn off. The screen will return to the
Main Menu.
Press this button to access the iPod submenu
(page 40).
Press this button to access the USB/NAND
submenu (page 42).
C
D
Vol.
A

Page 42
J-400
Press this button to access the Radio/CD
submenus (page 45).
Note: The Radio/CD submenu will always default to the last device used.
If Radio was used, it will also default to the last broadcast band used
(AM/FM).
Press this button to return to the Main Menu (page 35).
When you press button B (while still in the Entertainment Menu) you can
access the USB/NAND submenu. The USB/NAND submenu lets you
connect to a USB device or the internal memory. You can control the
folder selection, track selection, volume, and pause/play of the device.
Note: The USB/NAND submenu will always default to the last device
used.
iPod
Vol.
Press to
select folder
USB
AUX
NAND
Folder
C
B
A
D
= Folder icon: Allows you to select the folder from the USB
drive. The arrows on either side indicate that the Quad
Keypad can be used to scroll through the folders.
Press the Left button to move to the previous folder.•
Press the Right button to move to the next folder.•
Once the folder is located that you would like to listen to, •
press the Splash button to select it. The LCD display will
change to the track information (Figure A).
WARNING: RISK OF ELECTRICAL SHOCK HAZARD
EXISTS AND EQUIPMENT DAMAGE! Never install or
remove USB device while hands are wet or while sitting par-
tially immersed or fully immersed in spa!
C
D
FOLDER

Page 43
J-400
iPod
Vol.
Press to
play or pause
USB
AUX
“Displays
Audio
Information”
NAND
C
B
A
D
= Audio information: Displays the track number, artist, song,
and time elapsed (if available). The arrows on either side
indicate that the Quad Keypad can be used to scroll through
the tracks.
Press the Left button to move to the previous track.•
Press the Right button to move to the next track.•
= Volume control: Allows you to control the volume level. The
arrows on the top and bottom of the volume indicate that the
Quad Keypad can be used to lower or raise the volume.
Press the Up button to increase the volume.•
Press the Down button to decrease the volume.•
= Splash button: Allows you to pause or play the music.
Press the Splash button to pause when playing.•
Press the Splash button again to reactivate.•
Press and hold for longer than 3 seconds and the audio sys-•
tem will turn off. The screen will return to the Main Menu.
Press this button to access the iPod/AUX submenu
(page 40).
Press this button to access the NAND submenu
(page 44).
Press this button to access the Radio/CD
submenus (page 45).
Note: The Radio/CD submenu will always default to the last device used.
If Radio was used, it will also default to the last broadcast band used
(AM/FM).
Press this button to return to the Main Menu (page
35).
“Displays
Audio
Information”
Figure A
Vol.
A
C
D

Page 44
J-400
10.8 NAND Submenu
The NAND (internal memory) submenu lets you access les copied onto
the hardware (Section 19.5, page 86). You can control the folder selec-
tion, track selection, volume, and pause/play of the device.
Note: The USB/NAND submenu will always default to the last device
used.
Vol.
Press to
play or pause
NAND
NAND
iPod
AUX
“Displays
Audio
Information”
C
B
A
D
= Volume control: Allows you to control the volume level. The
arrows on the top and bottom of the volume indicate that the
Quad Keypad can be used to lower or raise the volume.
Press the Up button to increase the volume.•
Press the Down button to decrease the volume.•
= Splash button: Press and hold for longer than 3 seconds and
the Audio System will turn off. The screen will return to the
Main Menu.
Press this button to access the iPod/AUX submenu
(page 40).
Press this button to access the USB submenu
(page 42).
Press this button to access the Radio/CD
submenus (page 45).
Note: The Radio/CD submenu will always default to the last device used.
If radio was used, it will also default to the last broadcast band used (AM/
FM).
Press this button to return to the Main Menu (page 35).
Vol.
A
C
D

Page 45
J-400
10.9 FM Radio Submenu
The FM radio submenu gives you access to your preset stations and
local FM radio stations.
A. Listening to Preset stations
Vol.
FM
106.7
Press for
radio tuning mode
PRESET 1
iPod
AUX
NAND
C
B
A
D
= Preset number: Indicates which preset station is currently
playing. The arrows on the either side of the station number
indicate that the Quad Keypad can be used to scroll through
the preset stations 1-6.
Press the Left button to move back through preset stations.•
Press the Right button to move forward through preset •
stations.
= Volume control: Allows you to control the volume level. The
arrows on the top and bottom of the volume indicate that the
Quad Keypad can be used to lower or raise the volume.
Press the Up button to increase the volume.•
Press the Down button to decrease the volume.•
= Splash button: Allows you to:
Press to access the FM tuning menu and scan through the •
local radio stations.
Press and hold for longer than 3 seconds and the audio •
system will turn off. The screen will return to the Main
Menu.
= Press this button to access the iPod/AUX submenu
(page 40).
= Press this button to access the USB/NAND
submenu (page 42).
Note: The USB/NAND submenu will always default to the last device
used.
= Press this button to access the CD submenu (page 49).
= Press this button to return to the Main Menu (page 35).
FM
106.7
Vol.
A
C
D

Page 46
J-400
B. Listening to local FM radio stations
Vol.
FM
5
97.7
Press for
AM PRESETS
RADIO
C
B
A
D
= Station number: Indicates the station that is currently playing.
The arrows on the either side of the station number indicate
that the Quad Keypad can be used to scroll through the local
stations.
Press the Left button to move slowly back through stations.•
Press the Right button to move slowly forward through •
stations.
Note: The superscripted number above the station is used for Export
models only.
= Volume control: Allows you to control the volume level. The
arrows on the top and bottom of the volume indicate that the
Quad Keypad can be used to lower or raise the volume.
Press the Up button to increase the volume.•
Press the Down button to decrease the volume.•
= Splash button: Allows you to:
Press to go to the AM Preset submenu. •
Press and hold for longer than 3 seconds and the audio •
system will turn off. The screen will return to the Main
Menu.
n A: Press this button to Seek back through stations
and stop at the station with the strongest signal.
Press this button to start an intro scan. The radio
will scan and stop at stations with the strongest signal for
about 5 seconds, then continue scanning until button B is
pressed again to stop the scan.
C: Press this button to Seek forward through stations
and stop at the station with the strongest signal.
Press this button to return to the Main Menu.
FM
5
97.7
Vol.
A
C
D

Page 47
J-400
10.10 AM Radio Submenu
The AM radio submenu gives you access to your preset stations and
local AM radio stations.
A. Listening to Preset stations
Vol.
AM
980
Press for
radio tuning mode
PRESET 1
iPod
AUX
NAND
C
B
A
D
= Preset number: Indicates which preset station is currently
playing. The arrows on the either side of the station number
indicate that the Quad Keypad can be used to scroll through
the preset stations 1-6.
Press the Left button to move back through preset stations.•
Press the Right button to move forward through preset •
stations.
= Volume control: Allows you to control the volume level. The
arrows on the top and bottom of the volume indicate that the
Quad Keypad can be used to lower or raise the volume.
Press the Up button to increase volume.•
Press the Down button to decrease volume.•
= Splash button: Allows you to:
Press to access the AM tuning • menu to scan through the
local AM radio stations.
Press and hold for longer than 3 seconds and the Audio Sys-•
tem will turn off. The screen will return to the Main Menu.
utton A: Press this button to access the iPod/AUX
submenu.
= Press this button to access the USB/NAND
submenu.
Note: The USB/NAND submenu will always default to the last device
used.
utton C: Press this button to access the CD submenu.
= Press this button to return to the Main Menu.
AM
980
Vol.
A
C
D

Page 48
J-400
B. Listening to local AM radio stations
Vol.
AM
980
Press for
FM PRESETS
RADIO
C
B
A
D
= Station number: Indicates the station that is currently playing.
The arrows on the either side of the station number indicate
that the Quad Keypad can be used to scroll through the local
stations.
Press the Left button to move slowly back through stations.•
Press the Right button to move slowly forward through •
stations.
= Volume control: Allows you to control the volume level. The
arrows on the top and bottom of the volume indicate that the
Quad Keypad can be used to lower or raise the volume.
Press the Up button to increase the volume.•
Press• the Down button to decrease the volume.
= Splash button: Allows you to:
Press to go to the FM Preset submenu. •
Press and hold for longer than 3 seconds and the Audio •
System will turn off. The screen will return to the Main
Menu.
utton A: Press this button to Seek back through stations
and stop at the station with the strongest signal.
Press this button to start an intro scan. The radio
will scan and stop at stations with the strongest signal for
about 5 seconds, then continue scanning until button B is
pressed again to stop the scan.
Press this button to Seek forward through stations
and stop at the station with the strongest signal.
tton D: Press this button to return to the Main Menu.
AM
980
Vol.
A
C
D

Page 49
J-400
10.11 CD Submenu
The CD submenu gives you access select a track, adjust the volume
level and pause or play.
iPod
Vol.
AUX
Press to
play or pause
CD PLAYER
“Displays
Audio
Information”
NAND
C
B
A
D
= Audio Information: Displays the track number, artist, song,
and time elapsed (if available). The arrows on either side
indicate that the Quad Keypad can be used to scroll through
the tracks.
Press the Left button to move to the previous track.•
Press the • Right button to move to the next track.
= Volume control: Allows you to control the volume level. The
arrows on the top and bottom of the volume indicate that the
Quad Keypad can be used to lower or raise the volume.
Press the Up button to increase the volume.•
Pres• s the Down button to decrease the volume.
= Splash button: Allows you to pause or play the music:
Press the Splash button to pause the music.•
Press the Splash button again to reactivate.•
Press and hold for longer than 3 seconds and the audio •
system will turn off. The screen will return to the Main
Menu.
Press this button to access the iPod/AUX
submenu.
Press this button to access the USB/NAND
submenu.
Note: The USB/NAND submenu will always default to the last device
used.
utton C: Press this button to access the Radio submenus.
Note: The Radio submenu will always default to the last broadcast band
(AM/FM) used.
Press this button to return to the Main Menu.
“Displays
Audio
Information”
Vol.
A
C
D

Page 50
J-400
11.0 Operating Instructions
11.1 J-1000™ Control Panel
Your Jacuzzi spa is equipped with a J-1000™ control panel, massage
selectors, and air control knobs located on the top rim of the spa (pages
22-33). These controls let you operate many of the special functions of
your Jacuzzi spa. When you press button B from the Main Menu, you will
enter the Jets pump submenu (Figure A).
JETS
Jet 1
Jet 2
OFF
OFF
C
B
A
D
= Jets Pump 1 icon
= Jets Pump 2 icon
utton A: Turns Jets pump 1 on and off.
Turns Jets pump 2 on and off.
Press this button to return to the Main Menu.
11.2 Activate Jets Pump
From the Main Menu (page 35), press button B to enter the Jets Pump
Submenu. The LCD screen will display the Jets Pump Submenu
(Figure A). From this menu you can control both pumps in the following
sequence:
1. Press button A to activate pump #1.
2. Press again to turn pump #1 off.
3. Press button C to activate pump #2.
4. Press again to turn pump #2 off.
The pumps will move from an “OFF” state into an ON ( ) state.
Auto Turn Off —Anytimeapumphasbeenmanuallyturnedon,itwill
automaticallyturnoffafterapproximately20minutes.Ifatthistimeyou
desiremorejetoperationyoumaysimplyturnthepump(s)backon.
Figure A
A
C
D
JETS ICON
WHEN OFF
JETS ICON
WHEN ON

Page 51
J-400
11.3 Activate Lights
From the Main Menu (page 35), press button C to enter the Lights
submenus. The LCD screen will display the Lighting icons (Figure B).
From this menu you can control the interior lighting (waterfall, footwell,
IX logo, pillows and cup holder lights). The spa is equipped with two light
modes; 1) Solid Color or 2) Light Rotation mode for interior lighting.
Note: The interior lights automatically turn off after 2 hours. They can be
reactivated if needed.
= Interior Lights icon
= Interior Light Rotation icon
= Exterior Lights icon (feature is not available)
= Exterior Light Rotation icon (feature is not available)
utton A: Press this button to access the interior lights menu.
(feature is not available).
= Press this button to access the interior light rotation
menu.
tton D: Press this button to return to the Main Menu.
= Color selection: Allows you to choose or scroll through the
colors by using the Quad Keypad (page 34).
= Allows you to control the intensity of the light by
using the Quad Keypad.
= Light Rotation selection: Allows you to control the speed of
the light rotation for interior by using the Quad Keypad.
INTERIOR
COLOR
Brightness
C
B
A
D
Figure B
A
C
D
COLOR
Brightness
SPEED

Page 52
J-400
A. To Access the Interior Solid Color Mode:
1. Press button A to activate the solid color mode.
Note: The default color and intensity will always be the last color and
intensity used.
2. Press again to turn off.
3. Press either the Left or Right button of the Quad Keypad to scroll
through or select one of the 7 different colors (Figure C).
Press the Left button to move forward in the color sequence. (Blue-•
Cyan-Green-Yellow-Orange-Red-Purple-Blue).
Press the Right button to move backwards in the color sequence. (Blue-•
Purple-Red-Orange-Yellow-Green-Cyan-Blue).
4. The intensity of the lights can be controlled
in both the solid color or light rotation modes
by using the Quad Keypad (Figure D).
Press the Up button to increase the intensity •
in 25% increments.
Press the Down button to decrease the intensity in •
25% increments.
Note: The intensity range is from 25% to 100%, in increments of 25%. As
the intensity is increased/decreased the bulb will darken/lighten to reect
the effect. Intensity defaults to the last setting used.
B. To access the Interior Light
Rotation Mode
The lighting performance can be user
enhanced by controlling the intensity
and frequency effects as follows:
1. Press button C to enter the Light
Rotation Mode (Figure E).
2. To control the speed of the light
rotation use the Quad Keypad by
pressing the Right button to
increase the speed of the light
rotation speed from 1, 2, 3, 4, 5 or 6 (60, 33, 18, 10, 5 or
3 seconds, respectively) or press the Left button to
decrease the speed of the light rotation from 6, 5, 4, 3, 2 or 1 (3, 5,
10, 18, 33 or 60 seconds, respectively). On the LCD display you will
see a number from 1-6 to indicate the speed selection (Figure F).
Blue Cyan
Green
Yellow
Orange
RedPurple
Figure C
25% 50% 75% 100%
Figure D
ROTATION
Brightness
Displays
Speed
Information
Figure E
Figure F
1 2 3 4 5 6
(60 sec) (33 sec) (18 sec) (10 sec) (5 sec) (3 sec)

Page 53
J-400
3. To increase or decrease light intensity, use the Quad Keypad as
follows:
Press the Up button to increase the intensity in 25% increments.•
Pres• s the Down button to decrease the intensity in 25% increments.
Note: The intensity range is from 25% to 100%, in increments of 25%.As
the intensity is increased the bulb will darken to reect the effect (Figure
D, page 52). Intensity defaults to the last setting used.
4. Press button A to deactivate light rotation mode and select a solid
color (the last color and intensity used).
5. Press button B go to exterior lights - Feature is not available.
6. Press button C to turn off the interior lights.
7. Press button D to return to Main Menu.
11.4 Optional Exterior Lighting
Exterior lighting is not available
(Figure G).
11.5 Adjusting Individual Jet Flow
The water ow to certain jets in your spa can be increased or
decreased by rotating the outside jet face.
Note: Always keep at least 6 adjustable jets open at all times.
11.6 Adjusting PowerPro™ MX2 Jets
Tilt PowerPro MX2 Jet nozzle to angle of choice as desired.
Rotate nozzle clockwise to reduce ow volume from jet or
rotate counterclockwise to increase ow volume.
Note: Always keep at least 6 adjustable jets open at all times.
11.7 Adjusting RX Jets
Turn center jet adjustment knob clockwise to decrease or
shut off water ow. Turn center jet adjustment knob
counterclockwise to turn on or increase water ow.
Note: Always keep at least 6 adjustable jets open at all times.
EXTERIOR
Feature not installed
Figure G

Page 54
J-400
11.8 WaterColour™ Waterfall Control
Turn waterfall control valve (pages 22-32) counterclockwise
to increase waterfall output. Turn control valve clockwise to
decrease or turn off waterfalls.
11.9 Air Controls
Certain jet systems have their own air control. Each control
introduces air into the water lines that supply that specic jet
group (pages 22-32). Simply rotate any air control clockwise to open or
rotate counterclockwise to close. To minimize heat loss, all air controls
should be closed when the spa is not in use.
11.10 Selecting the Desired Massage Action
Your Jacuzzi spa is equipped to allow you to customize
the massage action you desire. Each model incorporates
a massage selector that allow you to customize the
massage and performance by diverting water between
various jet systems. Simply turn massage selector to position A (Combo),
B, or C to divert water pressure to various jet groups.
Note: The massage selector valve(s) is designed to operate in positions
A (Combo), B, and C for optimum performance. It is considered normal
for sound levels within the valve to vary between positions due to the
large amounts of water owing through it. For optimum ltration benets,
leave the valve in position A when spa is covered. Select position B or C
for maximum jet performance during spa use.
11.11 Optional J-1000™
Jacuzzi models equipped with the optional audio system offer enhanced
hot tub enjoyment by offering an integrated state-of-the-art audio system.
These models include an integrated AM/FM/CD/MP3/iPod/USB, and
NAND (internal hard-drive) player receiver, high-quality spa engineered
speakers for unsurpassed sound quality and long-life, and an integrated
subwoofer for an enhanced acoustical experience.
B C
A
11
USB
AUX
12
iPod
22

Page 55
J-400
12.0 Programming Instructions for Settings 1 Menus
Your Jacuzzi spa is equipped with two settings menus that allow you to
program and activate different components of the spa. In the “Settings
1” menu you can program the Language, Date and Time, Lock/Unlock
the spa and the check/clean lter reminder. You can also access the
“Settings 2” menu (Section 13.0, page 59).
12.1 To access the Settings 1 Menu:
1. Press button D from the Main Menu (page 35) to enter the Settings 1
Menu (Figure A).
2. From this menu you can choose a language (either English or
Français), set the time and date, lock/unlock the spa, set the change/
clean lter remainder and check the “on” or “off” status for the ozone
(if equipped, the ozone is not programmable).
12.2 Choosing the Language
1. Press button A to enter the
Language submenu. The screen will
change to the Figure B.
Note: English is the default language.
2. Use the Quad Keypad to switch
between English and Français by
pressing the Up or Down button.
3. Press the Splash button to save your change. The screen will return
to the Settings 1 Main Menu.
Press to
set filter timer
Language
Ozone
Filter
OFF
ENG
5 4 3
SETTINGS 1
C
B
A
D
Figure A
Figure B
5 4 3
LANGUAGE
Select
English ENG
Français FRA
English ENG
FRA
Press to save

Page 56
J-400
12.3 Setting the Check Filter
Reminder
1. Use the Quad Keypad to scroll from
Language to Filter by using the
Down button. After “Filter” selection
is active, press the Splash button to
access the “set lter timer” (Figure
C).
2. Press the Left or Right button on the
Quad Keypad to scroll the number
of days you would like the reminder
to appear so the lters and polishing
bag can be cleaned or replaced
(Figure D).
3. Press the Splash button to conrm
and save your selection.
4. When the set time period expires, the “Please check lter!” message
will appear on the Main Menu display (page 76). The reminder must
be reset when the time allotted expires.
Note: The time range is from 10 to 365 days in increments of 10 days or
you can elect to turn the feature “OFF”.
12.4 Setting the Date
1. Press button C (Figure A, page 55)
to enter the date and time menu.
2. The “Date Settings” is already
selected once you enter the screen
(Figure E). Press the Splash button
on the Quad Keypad to go to the
submenus.
3. The screen will open with the “Set
Year” selected (Figure F). Press the
Left or Right button on the Quad
Keypad to scroll through selection.
Once the correct year is displayed,
press the Down button on the
Quad Keypad to access the month
selection.
Figure C
Press to
set filter timer
Language
Ozone
Filter
100 Days
ENG
543
SETTINGS 1
Figure D
Press to
save filter timer
Language
Ozone
Filter
100 Days
ENG
543
SETTINGS 1
Press to enter
5 4 3
DATE & TIME
Select
Date Settings
Time Settings
Date Settings
Figure E
543
TIME
Select
Ye a r
Month
Day
Press to Save
Set Year 2009
Figure F

Page 57
J-400
4. With the “Set Month” selected
(Figure G), use the Left or Right
button on the Quad Keypad to scroll
through selection. Once the correct
month is displayed, press the Down
button to access the day selection.
5. With the “Set Day” selected
(Figure H), press the Left or Right
button on the Quad Keypad to scroll
through selection. Once the correct
day is displayed, press the Splash
button to save your changes. Press
button D to return to the Date and
Time Setting menu.
12.5 Setting the Time
1. Press the Down button on the Quad
keypad to access the “Time Settings”
(Figure I) menu, then press “Splash”
to enter the submenus.
2. The screen will open with
“Set Clock” selected (Figure J).
Press either the Left or Right button
on the Quad Keypad to choose
either a 12-hour or 24-hour (military
time) display. Then press the Down
button to access the hour selection.
3. With “Set Hour” selected
(Figure K), press the Left (decrease)
or Right (increase) button on the
Quad Keypad to scroll through the
selection. Once the correct hour is
displayed, press the Down button to
access the minutes selection.
Note: If you are using a standard 12-
hour period, you will see the hour displayed as “1PM”. For the
24-hour period it will read “1300”.
Figure G
5 4 3
TIME
Select
Ye a r
Hour
Day
Press to save
Set Month Jan
Figure H
543
TIME
Select
Ye a r
Month
Day
Press to save
Set Day 02
Press to enter
5 4 3
DATE & TIME
Select
Date Settings
Time Settings
Time Settings
Figure I
Figure J
5 4 3
TIME
Select
ClockSet Clock 12hr
Hour
Minutes
Press to save
Figure K
5 4 3
TIME
Select
Clock
Hour
Minutes
Press to save
Set Hour 1PM

Page 58
J-400
4. With “Set Min.” selected
(Figure L), press the Left (decrease)
or Right (increase) button on the
Quad Keypad to scroll through the
selection. Once the correct minutes
are displayed, press the Splash
button to save your changes. Press
button D to return to the Settings 1
Main Menu.
12.6 Locking and Unlocking the Topside
1. From the “Date and Time” Menu
(Figure M), press button C to access
the Lock feature. This feature
accepts a three digit code to lock
and unlock the panel from
unauthorized use.
2. To set each “lock code” digit, use the Left or Right button on the
Quad Keypad. To change a number, press the Up or Down button
to scroll through selection 0-9 (Figure N). Once you have selected a
3-digit code, press the Splash button to save your changes. When
the spa is locked the LCD display will look like Figure O.
3. To Unlock the topside panel, press
the Splash button on the Quad
Keypad. The lock icon will appear on
the LCD display (Figure P). Press
the Up, Down, Left and Right Quad
Keypad buttons to enter “lock code”
from left to right. After all three lock
code digits are entered, press the
Splash button to access the Main Menu (if correct code
was entered).
Note: In case the lock/unlock code is lost or forgotten, a default code of
772 can be used to unlock the panel.
5 4 3
TIME
Select
Clock
Hour
Minutes
Press to save
02
Set Min.
Figure L
Figure M
Press to enter
5 4 3
DATE & TIME
Select
Date Settings
Time Settings
Time Settings
98
F
5:25 PM
Press to
enter lock code
Press to save
2 4 8
LOCK
2 4 8
Figure O
Figure N
Figure P
Press to unlock
2 4 8
LOCK

Page 59
J-400
13.0 Programming Instructions for Settings 2 Menus
The “Settings 2” screen allows you to program Heating, Primary Filter
and Secondary Filter modes.
13.1 Programming Heating Cycles
Your Jacuzzi spa is equipped with two modes of heating. An
automatic mode called “Auto-Heating”, where the spa’s temperature is
maintained at all times by the “Setpoint”. The second mode is called
“Programmable”, where the spa will only activate the heater at set times
programmed by you. To activate either mode follow the procedures
below.
To access the “Settings 2” Menu:
1. From the Settings 1 Menu (Figure A), press button B.
2. The “Settings 2” Menu will appear (Figure B).
Note: You can return to the factory default heating and ltration modes
by pressing the Splash button on the Quad Keypad while in the Settings
2 Main Menu (Figure B) at any time.
Press to
set filter timer
Language
Ozone
Filter
OFF
ENG
5 4 3
SETTINGS 1
C
B
A
D
Figure A
D
C
B
A
Primary
Secondary
Heating
Press to
reset to default
SETTINGS 2
OFF
Figure B

Page 60
J-400
13.2 Auto-Heating Mode
Auto-Heating mode is typically selected
by customers in cold climates where heat
up times are extended due to lower
ambient temperatures. In this mode,
water temperature is regulated by the set
temperature which activates the heater
automatically as needed.
Note: If you elect to use Auto-Heating, you can skip this
section. Auto-Heating is the default spa setting.
1. Press button B to enter the Heating
Menu (Figure C). The menu appears
with Auto-Heating selected. If you
elect to use this mode, press the
Splash button on the Quad Keypad.
The display will conrm your
selection and Figure D will be
displayed.
2. To exit the submenu, press button D to return to the “Settings 2”
Menu.
13.3 Programmable Heating Mode
Programmable heating mode is typically selected by customers in warm
climates where heat up times are minimized due to higher ambient
temperatures. In this mode, the water temperature is regulated by the set
temperature only when a programmed heating cycle is running, unless in
summer logic page 64.
1. From the Heating Menu (Figure C), use the Quad Keypad Down
button to select the programmable setting, then press the Splash
button to enable selection.
A. Program A Heating Mode
1. You are allowed to have two separate
programs in the programmable
mode, you can elect to use both or
just one. Press the Splash button to
enter the submenus for “Program A”
(Figure E).
HEATING
Auto-Heating
Press to set
Select
A
Programmable
Auto-Heating
Figure C
24-hour Heating
Enabled
Figure D
Figure E
PROGRAMMABLE
Program A
Press to set
Select
B
Program B
A
Program A A

Page 61
J-400
2. From this menu (Figure F), you can
set the days, times, and duration.
With “Day Settings” selected press
the Splash button on the Quad
Keypad to access the submenus.
3. When you enter the submenu
(Figure G), you can choose the
day(s) you would like “Program A” to
run for a heating cycle. Press the Up
or Down button (on the Quad
Keypad) to scroll through and
choose the days you would like the
heater to activate. Press the Left or
Right button to turn “ON” ( ) or
“OFF” the heater for that day.
4. Press the Splash button once to save settings.
5. Press button D to return to the submenu (Figure F) to continue
programming the start time and duration.
6. Press the Down button on the Quad
keypad to select “Start Time” (Figure
H). Press the Left or Right button on
the Quad Keypad to select the time
you wish the spa to run. Press the
Down button to access the
“Duration” submenus.
Note: If you are using a standard 12-
hour period, you will see the hour displayed as “1PM”. For the
24-hour period it will read “1300”.
7. Now you will need to adjust the
cycle “Duration” (Figure I). Cycle
duration range is adjustable from 0
(OFF) to 6 hours. Press the Left or
Right button on the Quad Keypad to
make adjustments in increments of 1
hour.
Figure F
PROGRAM A
Start Time
Day Settings
Duration
Select
A
Day Settings
Press to enter
Figure G
Select
A
Tuesday
Wednesday
Thursday
Friday
Saturday
Sunday
Press to save
Monday
OFF
OFF
OFF
OFF
OFF
OFF
OFF
PROGRAM A
PROGRAM A
Start Time
Day Settings
Duration
Select
A
Start Time
1PM
Press to save
Figure H
PROGRAM A
Start Time
Day Settings
Duration
Select
A
Press to save
Duration
OFF
Figure I

Page 62
J-400
8. Press the Splash button on the Quad Keypad to save your changes
and return to the Heating Menu. At this point you can program a
Secondary Heating Mode (Program B) or to continue on to the
Filtering programming (see Section 13.5, page 64).
B.
1. To program the Secondary Heating
mode press the Down button on the
Quad Keypad to access the
“Program B” (Figure J) settings.
Press the Splash button to enter the
submenus for Program B.
2. From this menu (Figure K), you can
set the days, times, and duration.
With “Day Settings” selected, press
the Splash button on the Quad
Keypad to conrm selection.
3. When you enter the submenu
(Figure L), you can choose the
day(s) you would like “Program B” to
run for a heating cycle. Press the Up
or Down button (on the Quad
Keypad) to scroll through and
change the days you would like the
heating to activate. Press the Left or
Right button to turn “ON” ( ) or “OFF” the heating
for that day.
4. Press the Splash button once to save settings.
5. Press button D to return to the submenu to continue programming
the start time and duration (Figure K).
PROGRAMMABLE
Program A
Press to set
Select
B
Program B
A
Program B B
Figure J
PROGRAM B
Start Time
Day Settings
Duration
Select
B
Day Settings
Press to enter
Figure K
Figure L
PROGRAM B
Tuesday
Wednesday
Thursday
Friday
Saturday
Sunday
Select
B
Press to save
Monday
OFF
OFF
OFF
OFF
OFF
OFF
OFF

Page 63
J-400
6. Once back to the “Program B” Main
Menu, press the Down button on the
Quad Keypad to select “Start Time”
(Figure M). Press the Left or Right
button on the Quad Keypad to select
the time you wish the spa to run.
Press the Down button on the Quad
keypad to access the “Duration”
setting.
Note: If you are using a standard 12-hour period, you will see the hour
displayed as “1PM”. For the 24-hour period it will read “1300”.
7. Now you will need to adjust the
“Duration” (Figure N) of the cycle.
The duration range is from 0 (OFF)
to 6 hours. Press the Left or Right
button on the Quad Keypad to make
your adjustment(s) in increments of 1
hour.
Note: The default “Duration” is OFF.
8. Press the Splash button on the Quad Keypad to save your changes
and return to the Heating Menu.
9. Press button D to exit the Heating
Menu and return to the Settings 2
Main Menu. If you have
programmed both heating cycles
and the settings have been
accepted, you will see the two
program icons next to word Heating
on the display (Figure O). If only one
cycle was programmed, there will only be one icon. If no
cycles were programmed there would be a thermometer with wavy
arrows as the icon.
The clean-up cycle is once per day in both Auto-Heating and
Programmable modes at 12:00 (noon) for two minutes. This is not user
programmable. Each jets pump activates for one minute to circulate any
water in the plumbing unless a pump has just nished a 20 minute time
out, it will not automatically activate for the clean-up cycle. Be aware, the
factory programmed clean-up cycle cannot be canceled or altered!
PROGRAM B
Start Time
Day Settings
Duration
Select
B
Start Time
Press to save
1AM
Figure M
PROGRAM B
Start Time
Day Settings
Duration
Select
B
Press to enter
Duration
OFF
Figure N
Primary
Secondary
Heating
Press to
reset to default
SETTINGS 2
OFF
AB
Figure O

Page 64
J-400
13.5 Programming the Primary Filter Cycle
1. To program the Primary Filter cycle
press button A (Figure P). This cycle
is mainly used to alter the pre-
programmed 12-hour running period
of the circulation pump. The 12-hour
cycle is from 12:00 AM to 12:00 PM.
(If you would like to leave the
circulation pump as is, then skip this
section). Upon entering the Primary submenu the “Start
Time” will be selected (Figure Q).
2. Press the Left or Right button on the
Quad Keypad to choose the hour
you want the circulation pump to
start running (Figure Q).
Note: If you are using a standard
12-hour period, you will see the hour
displayed as “1PM”. For the 24-hour
period it will read “1300”.
3. Now you will need to adjust the
“Duration” (Figure R) of the cycle.
Press the Left or Right button on the
Quad Keypad to make adjustments
in increments of 1 hour. Press the
Splash button on the Quad Keypad
to save hour and duration selections
and return to the Settings 2 Main
Menu (Figure P).
Summer Logic: In warm weather, the water temperature in the spa
may exceed the set temperature. This condition may occur due to heat
transference from the lter/circulation pump and jets pumps. If the
water temperature is higher than 95°F (35°C) and rises two degrees
above the set temperature, a “Summer Logic” condition occurs that
deactivates the lter/circulation pump and ozonator (if equipped).
This safety feature cannot be altered! The lter/circulation pump and
ozonator will remain off until the water temperature cools to the set
temperature (except between 9:00-11:00 AM when the lter/circulation
pump runs for its mandatory 2-hour cycle). To help prevent a “Summer
Logic” condition, it may be necessary to reduce lter/circulation pump
cycles run times in warm weather.
Primary
Secondary
Heating
Press to
reset to default
SETTINGS 2
OFF
Figure P
PRIMARY
Start Time
Duration
Start Time 1PM
Select
Figure Q
PRIMARY
Start Time
Duration
Duration 12hr Select
Press to save
Figure R

Page 65
J-400
13.6 Programming the Secondary Filter Cycle
1. To program the Secondary Filter
cycle, press button C. This cycle
will activate the main jet pump to
run for additional ltration when
programmed (Fiugre S). If you
choose not to use this feature,
please skip this section.
2. When you enter the Secondary Filter
Cycle submenu, the “Day Settings”
will be selected (Figure T). From this
menu, you can set the day, time, and
duration. Press the Splash button on
the Quad Keypad to conrm
selection.
3. You can choose the day(s) you would
like to run a secondary lter cycle
(Figure U). Press the Up or Down
button on the Quad Keypad to scroll
through and change the days you
would like the ltration to run. Press
the Left or Right button to turn “ON”
( ) or “OFF” the ltration for that
day.
4. Press the Splash button to save settings.
5. Press button D to return to the submenu to continue programming
the start time and duration (Figure T).
6. Press the Down button on the Quad
Keypad to select “Start Time” (Figure
V). Press the Left or Right button on
the Quad Keypad to select the time
you wish the spa to lter. Press the
Down button on the Quad keypad to
access the “Duration” setting.
Note: If you are using a standard 12-
hour period, you will see the hour displayed as “1PM”. For the
24-hour period it will read “1300”.
Primary
Secondary
Heating
Press to
reset to default
SETTINGS 2
OFF
Figure S
Figure T
SECONDARY
Start Time
Day Settings
Duration
Select
Day Settings
Press to enter
SECONDARY
Select
Tuesday
Wednesday
Thursday
Friday
Saturday
Sunday
Press to enter
Monday
OFF
OFF
OFF
OFF
OFF
OFF
OFF
Figure U
SECONDARY
Start Time
Day Settings
Duration
Press to save
Select
Start Time
1AM
Figure V

Page 66
J-400
7. Now you will need to adjust the lter
cycle “Duration” (Figure W). The
duration range is from 0 (OFF) to 120
minutes. Press the Left or Right
button on the Quad Keypad to make
your adjustments in increments of 15
minutes.
8. Press the Splash button on the Quad Keypad to save
selection. Then press button D several times to return to the main
operation menu (page 35).
14.0 Spa Maintenance
Proper and regular maintenance of your spa will help it retain its beauty
and performance. Your authorized Jacuzzi dealer can supply you with
all the information, supplies, and accessory products you will need to
accomplish this.
DANGER:
ENTRAPMENT!
Keep hair, loose articles of clothing or hanging jewelry away from •
suction ttings, rotating jets or other moving components to avoid
entrapment that could lead to drowning or severe injury.
Never use the spa unless all suction guards, lter, lter lid, or skim-•
mer assembly are installed to prevent body and/or hair entrapment.
Never operate or use the spa if the lter, lter lid, or skimmer assem-•
bly are broken or any part of the skimmer assembly is missing.
Please contact your dealer or nearest service center for service.
The suction ttings and suction covers in this spa are sized to match •
the specic water ow created by the pump(s). If it is necessary to
replace the suction ttings, suction covers or pump(s), be sure that
the ow rates are compatible and are in compliance with the VGB
Safety Act, page 2.
Never replace a suction tting or suction cover with one rated less •
than the ow rate marked on the original suction tting. Using
improper suction ttings or suction covers can create a body or hair
suction entrapment hazard that may lead to drowning or severe
injury.
Owners must alert all spa users to the potential risk of Hair, Limb, •
Body, Evisceration (disembowelment), and Mechanical Entrapment,
page 6.
!
Figure W
SECONDARY
Start Time
Day Settings
Duration
Press to save
Select
Duration
OFF

Page 67
J-400
14.1 Cleaning the Filter Cartridges
A programmable “Please Check Filter”
reminder appears on the control panel
display after a specied number days to
remind you to clean the skimmer lter and to
check the polishing bag lter. This reminder
must be reset at each lter cleaning interval.
Refer to Section 12.3 (page 56) for additional
information and programming details. Your new spa is equipped with an
advanced 2-stage ltration system. Fine debris are ltered by the
circulation pump drawing water through the ProClear™ skimmer and
pleated lter cartridge 12 hours (unless programmed otherwise). Large
debris are ltered when either jets pump is running when the spa is in
use or during a programmed lter cycle. These pumps draw water from
footwell suction tting and through a secondary water polishing bag lter
and additional lter. The exclusive footwell “sweeper” suction tting
enhances ltration in the footwell area by creating a “swirling” water
motion to maximize particle agitation and pickup.
To ensure optimum performance, the ProClear II
skimming lter cartridge (A) must be cleaned every
three months and replaced once a year. The secondary
ProClear Plus polishing lter bag (B) should be emptied
weekly and replaced every 3 months. The ProClear II
lter cartridge (C) must be cleaned every three months
and replaced once a year. To accomplish this, refer to the
following lter cleaning procedure.
Note: Do not attempt to wash the polishing lter bag (B)
or it will come apart!
DANGER: TURN POWER TO SPA OFF! TO DECREASE RISK OF
DAMAGED OR ALTERED!
A
B
2.1. 4. 5.
3.
1. Remove power to the hot tub before removing the skimmer
(A) or lter bag cover (B).
2. Remove the polishing bag lid (B) by rotating it counterclockwise
approximately 5 degrees until you feel it unlatch.
3. Remove the polishing bag by reaching into the lter bucket and
gently pulling upward on the blue lter ring (empty lter bag weekly
102
FTemp.
6:45 PM
Please check filter!
A
C

Page 68
J-400
or install a new bag every three months.) Located below
the bag is a small Proclear lter. Remove the lter by
rotating it counterclockwise. For cleaning procedures see
step 6 below. Once the lter has been cleaned or replaced,
reinstall it into the skimmer below the polishing bag.
Replace bag, then install lter lid by rotating it clockwise
until you feel it latch in place. DO NOT FORCE LID!
FINGER TIGHT ONLY!
4. Remove the ProClear skimmer assembly (A) by gently
lifting upward from the lter bucket.
5. Remove the ProClear lter cartridge by rotating it
counterclockwise to unthread it, then remove the center cap and
chemical dispenser from the lter cartridge as shown (right).
6. Clean the ProClear lter cartridges with a garden hose and high
pressure nozzle. Rinse debris from the lter pleats beginning at the
top and working your way downward. Continue, one section at a
time until you have cleaned all debris from the lter pleats. When
replacing the lter cartridge, make sure you remove the center cap
and chemical dispenser for use with the new cartridge. Replacement
lter cartridges may be purchased from your authorized Jacuzzi
dealer.
14.2 Draining and Refilling
About every 3 to 6 months, you will want to replace the spa’s water. The
frequency depends on a number of variables including the amount of
use, number of users, attention paid to water quality maintenance, etc.
You will know it is time for a change when you cannot control sudsing
and/or you can no longer get the normal feel or sparkle to the water even
though the key water balance measurements are all within the proper
parameters.
To prevent dam-
age to the spas components, turn off power to the spa at the circuit
breaker before draining it. Do not turn the power back on until your
spa has been relled.
CAUTION: There are certain precautions to keep in mind when
draining your spa. If it is extremely cold, and the spa is out-
doors, freezing could occur in the lines or the equipment (see
“WINTERIZING”, page 70). On the other hand, if it is hot outdoors,
do not leave the spa’s surface exposed to direct sunlight.

Page 69
J-400
To drain your spa, perform the following steps:
1. Turn off power to spa at breaker.
2. Locate the drain valve located on the front left
corner on the black plastic pan. Hold the
larger (rear) drain valve body to prevent it
from turning, then loosen and remove the
front cap to expose the underlying male hose
threads.
3. Attach a garden hose to the exposed threads.
4. Gently rotate the larger (rear) valve body
1/3 turn counterclockwise to unlock the drain
valve.
5. Pull the larger (rear) body outward as shown
to open drain.
6. After the spa drains, perform steps 2-5 in
reverse order to close the drain prior to relling
spa.
After relling, turn on power to the spa and follow the steps listed under
“Spa Fill Up Procedures.” (page 17). Always ll your spa through both
lter buckets.
14.3 Cleaning the Spa Interior
To preserve the sheen of your spa’s surface, it is crucial that you avoid
using abrasive cleaners or cleaners which have adverse chemical effect
on the surface. If you are not certain as to the suitability of a particular
cleanser, consult your authorized Jacuzzi dealer. Regardless of the
cleanser used, use extreme care to assure that no soap residue is left on
the surface. This could cause severe sudsing when the spa is relled.
14.4 Pillow Care
Clean the headrests in your spa as needed by wiping them with a
cloth with soapy water. It is not necessary to remove the headrests for
cleaning. To remove headrests for long term storage or replacement,
grasp both ends of each headrest and gently pull inward towards the
center of the spa. To reinstall, over mounting strip and press down until
headrest mounting bracket emits a “click” sound. Then adjust headrest
height by simply moving up or down as desired.
14.5 Maintaining the Synthetic Cabinet
The synthetic cabinet requires little or no maintenance of any kind. To clean,
simply wipe cabinet with mild detergent soap solution and a clean towel.
14.6 Cleaning the Control Panel
To clean, simply wipe cabinet with a micro-ber cloth that is used for
cleaning polycarbonate lenses.
2.
3.
4.
Unlock
Drain
Open Drain
5.

Page 70
J-400
CAUTION: Never spray cabinet with a high pressure garden
hose for any reason since this action may induce an electrical
short in the spa’s electrical equipment.
14.7 Vinyl Cover Care and Maintenance
Your Jacuzzi cover has a vinyl encasement. This vinyl encasement is
attractive and durable. Monthly cleaning and conditioning is strongly
recommended to maintain and increase the longevity of your cover.
A. To Clean and Condition the Vinyl Cover
1. Use a garden hose to loosen debris and dirt.
2. Using a large sponge or a soft bristle brush, use diluted or mild soap
and scrub the vinyl top. Rinse clean and do not allow soap to dry on
cover. Do not use soap on the underside of the cover.
3. Please check with your Jacuzzi Dealer for recommended cover
care and conditioning products. Condition using non-petroleum
based conditioners to keep the vinyl supple and threads/stitching
from drying out. Do not use solvents, abrasive cleaners or strong
detergents. Do not use products that contain silicone or alcohol.
B. Additional Care and Maintenance Instructions:
1. Debris can accumulate on the spa cover. Removal of snow or other
debris will help to avoid breakage of the foam cores.
2. Be sure to lock the cover straps to secure the cover from unwanted
or accidental entry.
3. Do not place heavy objects on the vinyl.
4. Do not walk, sit or stand on the cover.
5. Do not drag or use the aps/skirt or the cover lock straps to remove
the cover.
6. Use only recommended cover lift systems.
7. Use only chemicals and cleaners recommended by Jacuzzi.
8. Remember to keep spa covered when not in use. Maintaining proper
water levels assures efcient operation and efcient electrical usage.
9. Do not expose your spa to the sun for extended periods of time as
UV rays can damage the interior surface.
10. Use caution when removing cover. Before removing cover, assure all
locks have been released to avoid lock breakage and or cover strap
damage.
14.8 Winterizing
Your Jacuzzi spa is designed to automatically protect itself against
freezing when operating properly. During periods of severe freezing
temperatures, you should check periodically to be certain that the
electrical supply to the spa has not been interrupted. In extreme, bitter

Page 71
J-400
cold weather (less than -20°F) verify auto-heating is set for 24-hour
operation (Section 13.5 Programming The Primary Filter Cycle, page 64)
and that auto-heating is selected (Section 13.2 Auto-Heating or Section
13.3 Programmable Heating Mode, page 60) to protect against damage
to the spa.
If you do not intend to use your spa, or if there is a prolonged power
outage during periods of severe freezing temperatures, it is important
that all water be removed from the spa and equipment to protect
against damage from freezing.
your authorized Jacuzzi dealer. In emergency situations, damage can
be minimized by taking the following steps:
CAUTION: TURN OFF POWER TO SPA.
1. Follow the directions on page 68 for draining the spa.
2. Turn the massage/diverter selector(s) into the middle combo position
to allow the water in the plumbing lines to drain, see page 54.
3. Turn the waterfall valve to the open position to allow the water in the
plumbing lines to drain, see page 54.
4. As the water level drops below the seats, use whatever means
necessary to get the water out of the recessed seating areas and
into the footwell, such as a wet/dry vacuum.
5. When the water level ceases to drop, use whatever means available
to remove any remaining water from the footwell, such as a wet/dry
vacuum.
6. Remove the equipment-side cabinet panels and locate the drain
plugs in the front of each pump (Figure A, page 12). Remove these
plugs to allow the water to drain out of the pumps and heater.
Note: Approximately one to two gallons will be released during this
procedure. Use a wet/dry vacuum or other means to keep this from
ooding the equipment compartment. Replace the drain plugs.
7. Loosen hose clamp at bottom of heater (Figure A, page 12) and pull
hose off of heater tting (twist the hose back and forth while pulling
downward). Tip hose down and allow to drain, then reinstall hose
and clamp.
8. Loosen the hose clamp on the circulation pump (if equipped) intake
behind the control box (Figure A) and pull the hose off (twist hose
back and forth while pulling outward). Tip hose down and allow to
drain, then reinstall hose and clamp.
9. Re-install cabinet side panels and cover spa so that no casual
moisture can enter into it.
Consult your Jacuzzi dealer if you have any questions regarding winter
use or winterizing.

Page 72
J-400
14.9 Restarting Your Spa in Cold Weather
If you want to start up your spa after it has sat empty for a time in
freezing temperatures, be aware that the water remaining in certain
sections of the piping may still be frozen. This situation will block water
ow preventing the spa from operating properly and possibly damaging
the equipment. We recommend you consult your dealer for guidance
before attempting to restart your spa under these conditions.
15.0 Water Quality Maintenance
To decrease the risk of contracting a waterborne illness (e.g. an infection,
bacteria or virus) and/or respiratory ailments
, m
aintain water quality
within specied limits. This will enhance your enjoyment and prolong
the life of the hot tub’s equipment. Doing so requires regular attention
because the water chemistry involved is a balance of several factors.
Procrastination in regard to water maintenance will result in poor and
potentially unhealthful conditions for soaking and even damage to your
hot tub investment. For specic guidance on maintaining water quality,
consult your Authorized Jacuzzi dealer who can recommend appropriate
chemical products for sanitizing and maintaining your hot tub.
WARNING: FAILURE TO MAINTAIN WATER QUALITY
WILL:
Increase risk of contracting a waterborne illness (e.g. an •
infection bacteria or virus) and/or respiratory ailments
.
Damage the equipment, components and spa shell, which •
are not covered under the hot tub’s warranty.
!
CAUTION: Never store hot tub chemicals inside the hot tub’s
equipment bay. The equipment bay may reach elevated tempera-
tures, this is where high voltage electronic devices are located. This
area is not intended for storage of any kind.
15.1 pH Control
pH is a measure of relative acidity or alkalinity of water and is measured
on a scale of 0 to 14. The midpoint of 7 is said to be neutral, above which
is alkaline and below which is acidic. In spa water, it is very important
to maintain a slightly alkaline condition of 7.4 to 7.6. Problems become
proportionately severe the further outside of this range the water gets.
A low pH will be corrosive to metals in the spa equipment. A high pH will
cause minerals to deposit on the interior surface (scaling). In addition,
the ability of the sanitation agents to keep the spa clean is severely
affected as the pH moves beyond the ideal range. That is why almost all
spa water test kits contain a measure for pH as well as sanitizer.

Page 73
J-400
15.2 Sanitizing
To destroy bacteria and organic compounds in the spa water, a sanitizer
must be used regularly. Chlorine and bromine are the two most popular
sanitizers used to date. The “Proclear Mineral Spa Clarier” designed
especially for your hot tub is a benecial product for water maintenance.
Many other additives are available for your spa. Some are necessary to
compensate for out-of-balance water; some aid in cosmetic water treatment
and others simply alter the feel or smell of the water. Your authorized Jacuzzi
dealer can advise you on the use of these additives. When adding spa
shock (chlorine or non-chlorine) or pH balancing chemicals activate the
jets pump(s) and leave the spa cover open for a minimum of 20 minutes.
By doing this you will allow excessive chemical vapors to exit the spa,
protecting pillows and plastic knobs from chemical attack.
WARNING:
OR ENTRAPMENT!
Never leave your hot tub unattended for any reason while the
cover is open and accessible, especially to small children and
animals!
CAUTION: RISK OF PERSONAL INJURY OR SPA DAMAGE!
Never add chlorine tablets (trichlor) or acid to your hot tub for
any reason! These chemical may damage components within
your hot tub, burn or irritate your skin, create a rash and void
the manufacturer warranty for your spa.
!
15.3 Other Additives
Many other additives are available for your spa. Some are necessary
to compensate for out-of-balance water, some aid in cosmetic water
treatment and others simply alter the feel or smell of the water. Your
authorized Jacuzzi dealer can advise you on the use of these additives.
15.4 Ozone Water Maintenance System (Optional)
This system is optional on North American models and standard
equipment on export 50 Hz models. If your spa is equipped with the
Jacuzzi CD ozone water purication system you will nd that your water
stays fresh and clear with signicantly less chemical usage. You will
probably be able to go longer between complete spa drainings.
Note: To maximize sanitation benets from this product, always turn off
the spa waterfall valve when the spa is covered or not in use. This setting
ensures maximum water ow through the ozone injector and higher
ozone concentrations. The ozone only runs when the circulation pump
is running and shuts off when either jets pump is manually activated
during spa use. The ozone will remain off for 5 minutes after both jets
pumps time out or are manually turned off, then resume operation as
programmed.

Page 74
J-400
16.0 Error/Display Messages
There are a number of unique functions designed into your Jacuzzi spa
to protect it from damage and/or to aid in troubleshooting. When an error
occurs the spa will notify you by showing the screen below and an error
code next to it. Following is a listing of all the possible messages along
with their meanings:
1.
Overheat protection: (Heater is deactivated, lter/circulation pump is
activated). Water temperature is above acceptable limits. DO NOT
ENTER THE WATER! Remove spa cover to speed cooling. See
“Water Is Too Hot” on page 79. If condition persists, contact your
authorized dealer or authorized service center.
2. Water is below set-temp: If the spa water is more than 20°F/6°C
cooler than the temperature set point, the circulation pump and
heater will automatically activate to provide freeze protection. The
spa will stay in this mode until the water temperature reaches
15 degrees below the set temperature. No corrective action is
necessary.
3. Communication error: Communication between the control panel and
circuit board is faulty. If condition persists, contact your authorized
dealer or service organization.
4. Pump does not operate: Proper ow of water is inhibited or a ow
switch has malfunctioned. Check for proper water level and for
clogged lter (page 67). If no sound is detected or if a “buzzing”
sound is detected, turn off power to the hot tub. Pump may not be
properly primed. If condition persists, contact your authorized dealer
or service organization.
5. Freeze protection: A potential freeze condition has been detected. No
action is required. Jets pump(s) and heater operate until the spa is out
of danger. Depending on the amperage provided, operation will be as
follows:
In 60A or 20A (50Hz only) logic, the heater remains on at all •
times, while pump 1 and pump 2 turn on for 10 minutes and then
off for 10 minutes. The pumps will alternate on and off until the
spa gets out of the freeze condition.
98
F
Temp.
4:05 PM
!“Displays
Error
Message”
WARNING: RISK OF HYPERTHERMIA (OVER-HEATING)
!

Page 75
J-400
In 50A or 30A logic, the heater turns on for 10 minutes then turns •
off. Then pump 1 and pump 2 turn on for 10 minutes, then turn
off. The spa will alternate between the heater and the pumps
being on and off until the spa gets out of the freeze condition.
Note: The pumps cannot be manually controlled while the Freeze
condition is active. If a button is pushed, the error message will go away,
but will reappear if the spa is still in the Freeze condition 5 minutes later.
This error commonly occurs when the spa is rst lled because tap water
is often very cold.
6. Emergency shutdown: Water temperature is above acceptable limits.
DO NOT ENTER SPA! (spa is deactivated) A problem has been
detected which could cause damage to the spa or its components.
Contact your authorized dealer or service organization.
7. Open sensor: The temperature sensor is not functional. Heater is
disabled. This must be repaired only by a qualied authorized service
organization or service technician.
8. Shorted sensor: The temperature sensor is not functional. Heater is
disabled. This must be repaired only by a qualied authorized service
organization or service technician.
9. Open sensor: The hi-limit temperature sensor is not functional.
Heater is disabled. This must be repaired only by a qualied
authorized service organization or service technician.
10. Shorted sensor: The hi-limit temperature sensor is not functional.
Heater is disabled. This must be repaired only by a qualied
authorized service organization or service technician.
11. Start-up malfunction: Flow switch is non-functional. Closed or
shorted ow switch on system start-up (system disabled). This
must be repaired only by an authorized dealer or qualied service
organization.
12. Open Flow Switch: (Heater is deactivated. The lter/circulation may
also be deactivated). The ow switch is malfunctioning open, the
circulation pump’s lter cartridge is excessively dirty, or an air lock
condition has occurred at the circulation pump intake. Contact your
authorized dealer or service organization.
13. Closed Flow Switch: (Heater is deactivated. The lter/circulation
may also be deactivated). The ow switch is malfunctioning closed.
Contact your authorized dealer or service organization.
WARNING: RISK OF HYPERTHERMIA (OVER-HEATING)
!

Page 76
J-400
14. Audio Communication Malfunction: Communication between the
control panel and audio system is faulty. Shutdown power to the
spa, wait 3 seconds and restart the spa to reset the communication.
Contact your authorized dealer or service organization.
15. Blinking Heater icon: This icon will blink on and off to indicate that:
• The temperature sensor is sensing a -20°F/6°C
difference between the actual and set temperature or;
• The temperature sensor is sensing a temperature above
112°F/44°C or the hi-limit temperature sensor is sensing
a temperature above 116°F/46°C.
16. Extended Temperature
Activated:
The spa is set to go up to
104°F (40°C), but it can
be set to reach 106°F
(41°C). To access the
extended temperature you must press the “Up” (on the
Quad Keypad) button and the button D at the same time for 2
seconds. The system will now allow you to raise the temperature to
106°F (41°C) and the LCD display will read “EXTENDED
(Figure A). To clear this message,
just press the Down button on the Quad Keypad to lower the
temperature below or back to 104°F (40°C).
17. Please Check Filter!
This message will appear when the lter
reminder time has expired (Figure B).
Please remove the Proclear lters and
lter bag for cleaning or replacement.
18. Feature not installed: (Exterior lights)
This message will appear when a
user tries to activate the exterior
lights and they are not installed
(Figure C). To clear the message
press button D to return to Main
Menu.
106
F
Temp.
6:45 PM
Extended Temperature
Activated
UP
C
B
A
D
Figure A
102
FTemp.
6:45 PM
Please check filter!
Figure B
EXTERIOR
Feature not installed
C
B
A
D
Figure C

Page 77
J-400
19. Clear Settings 2 Programs
This message will appear when you choose to reset all settings 2
menu settings back to factory defaults (Figure D). You can either
press the Splash button to reset or press the Previous button D to
cancel.
20. Remote bonding screens
These message screens will appear when the wireless remote has
been bonded to the spa and can now be used to control the spa
functions (Figure E).
Primary
Secondary
Heating
Press to
reset to default
SETTINGS 2
OFF
Primary
Secondary
Heating
Press to
reset to default
SETTINGS 2
OFF
Primary
Secondary
Heating
Press to
reset to default
SETTINGS 2
OFF
Primary
Secondary
Heating
Press to
reset to default
SETTINGS 2
OFF
Reset Settings?
Press to confirm
Press to cancel
Figure D
Primary
Secondary
Heating
Press to
reset to default
SETTINGS 2
OFF
Primary
Secondary
Heating
Press to
reset to default
SETTINGS 2
OFF
Primary
Secondary
Heating
Press to
reset to default
SETTINGS 2
OFF
Primary
Secondary
Heating
Press to
reset to default
SETTINGS 2
OFF
Reset Settings?
Press to confirm
Press to cancel
REMOTE CONTROL
CONNECTION
Figure E
REMOTE CONTROL
CONNECTION
Enjoy

Page 78
J-400
17.0 Troubleshooting Procedures
In the unlikely event your spa is not working the way you believe it
should, please rst review all the installation and operating instructions in
this manual and check the message on the panel display; second, if you
are still not satised it is working properly, please follow the appropriate
troubleshooting instructions.
PROCEDURE
NONE OF THE
COMPONENTS
OPERATE (i.e.
pump light)
Check the control panel lights.
1. If there are letters or symbols displayed on
the screen, refer to the previous section to
determine the meaning and action required.
2. If nothing appears on the screen:
A. Check the household circuit breaker.
B. Contact you dealer or authorized service
center.
PUMP DOES
NOT OPERATE
AND ICON DOES
Activate the “JETS”:
1. If no sound is detected or if a “buzzing” sound
is detected, turn off power to the spa and
contact your dealer or service center.
2. If motor operates but no water ows to jets:
A. Pump may not be properly primed. See
instructions below.
B. Contact dealer or authorized service center.
Pump Priming Instructions:
1. Turn off power to the spa.
2. Remove the handle from the massage selector supplied by the pump
you are priming.
3. Loosen the massage selector’s cap slightly (counterclockwise),
listening for the air to seep out.
4. Tighten the cap nger-tight, replace the handle and turn the hot tub’s
power back on.
Note: This method must be used for the jet’s pumps because these
pumps are not connected to the main lter system in any way.
CAUTION: If freezing conditions exist and pump is not operational,
take measures to protect the system from freeze damage. See
Section titled “Winterizing” (page 70).

Page 79
J-400
POOR JET ACTION
(see pages 22-32)
1. Make certain the jets pump is turned on.
2. Check position of massage selectors.
3. Open air control for selected jet system.
4. Check for adequate water level.
5. Check for dirty lter (page 67).
WATER IS TOO HOT 1. Reduce thermostat setting (page 18).
2. Switch hot tub to “Programmable” mode
to turn heater on only during programmed
lter cycles (page 60).
NO HEAT 1. Check thermostat setting.
2. Keep the cover in place while heating.
3. If heater indicator is displayed, but no
temperature increase is experienced after
a reasonable period of time, contact your
dealer or authorized service center.
FILTER/CIRCULATION
PUMP OFF
1. Verify lter/circulation pump is
programmed to run 12 hours a day (page
64).
2. Filter/circulation pump cycle canceled by
power interruption. Wait 24 hours for hot
tub to reset.
3. Hot tub water is warmer than 95°F (34°C)
and two degrees warmer than the set
temperature. The “Summer Logic” safety
feature has activated. See note on page
64 for details.
Jacuzzi builds the best spas in the industry. Nonetheless, we are always
striving to improve the quality and features of our products. Your input
as a Jacuzzi spa owner is a cherished part of this process. If you have
any comments or suggestions, or if you wish to be informed on any new
products for your spa, please write to us.
CONGRATULATIONS on your good taste and welcome to the happiest
and most relaxed family in the world!

Page 80
J-400
Red (L2)
Pigtail
Neutral Bus
Ground
Black (L1)
Green
Main
Service
Panel
with
GFCI
2-Pole
GFCI
Breaker
Ground/Bonding Lug**
2-Pole Circuit Breaker with 2-Wire Grounded Load Connection
(3 Wires to Hot Tub, 2-Hot (L1-L2), 1-Ground)
White (N)
Black (L1)
Red (L2)
240 VAC
No Load Neutral Wire
Note: service disconnect not
shown in this diagram.
The control box TB1 terminal
position varies between models.
Red (L2)
Red (L2)
Pigtail
Neutral Bus
Ground
Black (L1)
Black (L1)
Green
GFCI Sub Panel*
Main Panel*
2-Pole
GFCI
Breaker
Ground/Bonding Lug**
No Load Neutral Wire
Main Panel with Secondary GFCI Shut-Off Box Using a
2-Pole GFCI Breaker with 2-Wire Grounded Connection
(3 Wires to Hot Tub, 2-Hot (L1-L2), 1-Ground)
White (N)
Green (Ground)
*GFCI Sub Panel commonly
used when recommended GFCI
does not install in Main Panel.
Note: service disconnect not
shown in this diagram.
The control box TB1 terminal
position varies between models.
B
A
240 VAC
18.0 Typical Spa Wiring Diagrams
18.1 Wiring diagram for North American 60 Hz Models Only

Page 81
J-400
19.0 Optional Jacuzzi J-1000™ Audio System Stereo System
Features
19.1 J-1000 Audio System Sound System Controls
1
217 3
98
75
46
10
11
13
15
12
16
14
18
1. Power On/Off Button
2. Tune/Seek Up/Down Button
3. Volume Up/Down Button
4. Mode Button
5. SEL/EQ Button
6. AS/PS Button
7. MUTE Button
8. BAND/RPT Button
9. ENT/SH/RDM Button
10. USB Docking Station
11. AUX Input Jack
12. iPod Docking Station
13. Disc Eject Button
14. CD Installation Slot
15. Front Panel Release Button
16. Front Panel
17. Function Display
18. IR Sensor

Page 82
J-400
19.2 J-1000 Audio System Sound System Operation
1. Power On and Off
Press power button (1) once to turn on
stereo system. Press a second time to
turn off.
2. Adjusting Volume
Press VOL Up/Down button (3) to increase
or decrease volume. Current volume setting
is briey displayed (0 to 45).
3. Mute
In Radio or AUX mode, press mute
button (7) once to mute audio output
(“MUTE” appears on display). To restore audio output, press button
(7) a second time, or press Volume Up/Down button. In CDP, USB,
NAND and iPod mode, press button (7) to pause playback. Press
again to resume playback.
4. Program Selection
Press MODE button (4) to cycle through available program sources
as follows: Radio --> CDP --> USB --> NAND --> IPOD --> AUX -->
Radio. If a CD or iPod is unavailable, that source will not appear on
the display (17).
5.
Press EQ button (5) repeatedly until display reads “BASS”. Press
VOL Up/Down button (3) to choose desired setting. A display of
“BASS 0” indicates center, -1 to -7 indicates bass cut, and +1 to +7
indicates bass boost.
Note: Unit returns to volume mode if volume control is not operated for 3
seconds.
6. Adjusting Treble Level
Press EQ button (5) repeatedly until display reads “TREBLE.” Press
VOL Up/Down button (3) to choose desired setting. A display of
“TREBLE 0” indicates center, -1 to -7 indicates treble cut, +1 to +7
indicates treble boost.
Note: Unit returns to volume mode if volume control is not operated for 3
seconds.
7.
Press EQ button (5) repeatedly until display reads “BALANCE.”
Press VOL Up/Down button (3) to choose desired setting. A display
of “BALANCE R-L” indicates center, L01 to 15 indicates left balance,
R01 to 15 indicates right balance.
Note: Unit returns to volume mode if volume control is not operated for 3
seconds.
1
217 3
98
75
46
10
11
13
15
12
16
14
18

Page 83
J-400
8. Adjusting Fader Level
Press EQ button (5) repeatedly until display reads “FADER.” Press
VOL Up/Down button (3) to choose desired setting. A display of
“FADER F-R” indicates center, R01 to 15 indicates rear fade, F01 to
15 indicates front fade.
Note: Unit returns to volume mode if volume control is not operated for 3
seconds.
9.
Press and hold down EQ button (5) for about 2 seconds until display
reads “BEEP 2ND”, then release. Press VOL Up/Down button (3) to
select either BEEP 2ND or BEEP on option.
Select BEEP on, you can hear “beep” sound when you press all •
buttons.
Select BEEP 2ND, you can hear “beep” sound when you press the •
button over 1.5 secs.
Note: Unit returns to volume mode if volume control is not operated for 3
seconds.
10. Adjusting I-VOL Level
Press and hold the EQ button (5) for about 2 seconds, then
repeatedly press until display reads “I-VOL” (Initial Volume Level
Adjustment). Press VOL Up/Down button (3) to choose desired set-
ting (0 to 45), and the I-VOL will be set automatically. This feature
regulates the max volume level during power up. If the volume level
is higher than the initial volume setting when audio unit is turned off,
once the audio unit is switched back on again, the audio unit will
keep the volume adjusted to the preset level. If the volume level is
lower than the initial volume setting when audio unit is turned off, it
will remember the lower level and resume volume at that level when
unit is turned on again.
Note: Unit returns to volume mode if volume control is not operated for 3
seconds.
11. Adjusting Area
In Radio mode, press and hold the EQ button (5) for about 2
seconds, then repeatedly press until display reads “AREA USA” or
“AREA EUR”. Press VOL Up/Down button (3) to choose desired
setting, then press and hold the BND button (8) for 2 seconds to
conrm selection.
Note: Unit returns to volume mode if volume control is not operated for 3
seconds.

Page 84
J-400
12. Open/Close Front Panel
Press rmly on the release button (15),
then open front panel (16) by gently
lifting upward on bottom edge. To close
front panel, gently ip panel down, then
press rmly on panel directly above
release button (15) until you hear
an audible “click”. Keep front panel
closed at all the times to prevent water
intrusion, except when changing discs.
NOTE: Never insert wet discs into unit or CD
player will be damage!
19.3 J-1000 Audio System Radio Operation
1. Radio Operation.
Press MODE button (4) to select Radio mode. Station frequency is
indicated on display.
To Select Band: Press BAND button (8) repeatedly to scroll through •
radio mode as follows: FM1 --> FM2 --> FM3 --> AM1 --> AM2
-->FM1. Each radio band stores up to 6 independent stations, for a
total of 18 FM and 12 AM presets.
To Program • Station Presets in Radio mode: Press and hold SH
button (9) until display reads “SHIFT”. Immediately afterwards,
press and hold the Tune Up/Down button (2) for 2 seconds, then
repeatedly press to select preset 1 to 6. At desired preset, press the
ENT button (9) to store current frequency into selected preset.
Note: When power to spa is shut off for any reason, all station presets
are reset.
2. Automatically Setting Station Presets
Press and hold the AS/PS button (6) for approximately 2 seconds
until you hear a beep that conrms the memory function is engaged.
The unit will search for six strong stations and automatically store
them on the current band. All 18 FM and 12 AM presets can be set
sequentially by selecting the next band and continuing the operation
during auto programming.
3. Seek/Manual Tune
Press TUN Up/Down button (2) once to activate manual tuning
mode, then press TUN Up/Down repeatedly to manually increase or
decrease displayed frequency. Press and hold either TUN Up/Down
button (2) for at least 2 seconds to activate auto tuning mode. The
unit will automatically search and stop at the next higher or lower sta-
tion with sufcient signal strength.
1
217 3
98
75
46
10
11
13
15
12
16
14
18

Page 85
J-400
4. Preset Scan Function
Press AS/PS button (6) once to enter scan mode. Each preset
station in the current band will play for 5 seconds while the preset
number is ashes on the display (17). At the desired station, press
AS/PS button (6) a second time.
5. Accessing Preset Stations
Press and hold ENT/SH button (9) until display reads “SHIFT”.
Repeatedly press TUN Up/Down button (2) to choose preset 1-6,
then press ENT/SH button (9) to conrm selection.
19.4 J-1000 Audio System CD Player Operation
1.
Open front panel (16) by pressing rmly on release button (15) and
lifting panel upward from bottom edge. Gently insert CD into slot (14)
with label facing up. The CD will be drawn inside by the motorized
mechanism. DO NOT FORCE! Close front panel by folding down,
then press rmly on panel directly above release latch (15) until you
hear an audible “click”. Keep front panel closed at all the times to
prevent water intrusion, except when changing discs. CD playback
will automatically begin after CD is loaded. A “S-CDP” icon on the
display indicates that a disc is inside the mechanism.
To Play CD: Press the MODE button (4) to change to CD mode. •
The CD will play. The display shows current track, play time, and
animates a 3-D rotating disc during playback.
To Remove CD: Open the front panel and press CD eject button •
(13). Remove CD from drive and close front panel as instructed in
step 12 (page 84).
2. Changing CD Tracks and Music Seek
To advance to next track, press TUN Up button (2) once to increase
track counter one track. When nal CD track is reached, play will
resume on track #1.
To fast forward through tracks: Press and hold TUN Up button (2) •
until track counter displays desired track, then release button.
To rewind current track: Press and hold the TUN Down button (2) the •
track will quickly rewind until you release the button.
Note: It will go back to the beginning of the playing track when you press
the Tune/Seek down button once, and it will go back to the previous track
when you press the button once again.
3.
Random Mode: Press SH button (9) to play the CD tracks in random •
order. The left side of the display (17) reads “RDM” when random
mode is enabled. Press a second time to deactivate.
Repeat Mode: Press BND button (8) to repeat current CD track. The •
left side of the display reads “RPT” when repeat mode is enabled.
Press a second time to deactivate.

Page 86
J-400
4. Searching File or Folder in MP3/WMA CD
To Search File in CDP (MP3/WMA) •
mode: Press AS/PS button (6) to enter
track searching mode. Then press
the VOL Up/Down button (3) to scroll
through available tracks. At desired
track, press ENT button (9) to conrm
selection. Once a track is selected, it will
automatically begin to play.
To Search Folder in CDP (MP3/WMA) •
mode: Press and hold AS/PS button (6)
for 2 or more seconds to enter folder
searching mode. Then press VOL Up/
Down button (3) to search through
available folders. At desired folder, press
ENT button (9) to conrm selection. Once a folder is selected, it will
automatically begin to play the rst track in the selected folder.
5. Display ID3
While in MP3 or WMA track is playing, you can know its ID3
information by following operation:
Press and hold ENT button (9) for about 2 seconds until it displays •
“SHIFT” icon on LCD. Then repeatedly press MODE to display
TITLE, FILE, ARTIST, and ALBUM.
Note: The intervals between each push should be less than 4 seconds.
Once the “SHIFT” icon disappears from the LCD, it would work as
changing mode. After the “SHIFT” icon disappears from the LCD, it would
scroll the selected ID3 information on LCD.
1.
Open the front panel and plug a USB device into the USB Docking
Station (10). The USB device will begin to play automatically. Close
the front panel. The “USB” symbol on the display indicates that a
USB device is connected.
To Play connected USB device: Press MODE button (4) to change •
to USB mode. The USB will play. The display (17) shows the current
track, play time, and USB symbol. If no USB device is connected,
simply plug a USB device into the USB docking station (10) and the
unit will automatically switch to USB mode.
To Play NAND: Press MODE button (4) to change to NAND mode. •
The NAND will play. The display shows the current track and play
time. The Play/Pause, Repeat, and Random function for USB and
NAND are the same as CD Player Operation (pages 85-86).
2.
In USB mode, press and hold SEL button (5) for about 2 seconds
until “ONE COPY” displays on LCD (17), then press VOL Up/Down
1
217 3
98
75
46
10
11
13
15
12
16
14
18

Page 87
J-400
button (3) to choose ONE or ALL. Press ENT button (9) to conrm
selection.
If ONE COPY is selected: The record percent “DOWN LOAD xx%” •
will display on the LCD (17). After copying is nished, the next track
will automatically begin playback.
If ALL COPY is selected: “The number of total track --> the number of •
recorded track” will display on LCD (17). After copying is nished, the
unit will beep for about 3 seconds, then automatically begin playback
of track #1.
Note: In copying process, you can change to other modes. (USB and
NAND modes could not be selected.) While in other modes, the screen
will default to the downloading process after 3 seconds.
3. Deleting Music Files from NAND (internal memory)
In NAND mode, press and hold SEL button (15) for about 2 seconds
until “ONE DEL” displays on LCD (17). Use VOL up or down button
(3) to choose ONE or ALL. Press ENT button (9) to conrm selection.
If ONE DEL is selected: Next track will begin playback after le •
deletion has nished.
If ALL COPY is selected: “DELETING” will display on LCD, then “NO •
FILE” will display after deletion process has nished. After that it
would automatically switch to Radio mode.
4.
To Search File In USB or NAND mode: Press AS/PS button (6) once •
to enter track searching mode, then press VOL Up/Down button (3)
to scroll through available tracks. At desired track, press ENT button
(9) to conrm selection. Once track is selected, it will automatically
begin to play.
To Search Folder in USB or NAND mode: Press AS/PS button (6) to •
enter folder searching mode. Then press VOL Up/Down button (3) to
scroll through available folders. At desired folder, press ENT button
(9) to conrm selection. Then search your desired le as above
method.
19.6 J-1000 Audio System iPod Operation
1. Play iPod
Open front panel (16) and plug an iPod into the iPod Docking Station
(12) as shown. Refer to step 12 (page 84) for details. The iPod will
begin to play automatically. Close front panel. The “iPod” symbol will
display to indicate an iPod is connected.
• To Play connected iPod: Press MODE button (4) to change to iPod
mode. The iPod will play. The display will either show:
A. The current track and play time or
B. The iPod will resume or pick up the last song played prior to docking
it. Please note after a few seconds the stereo display will show
audio information from iPod.

Page 88
J-400
2. Searching Folders in iPod Mode
T• o select folder in iPod mode: Press AS/PS button (6) to display music
and then playlist. Press VOL Up/Down button (3) to select between
Playlist, Artist, Albums, Genres, Songs and Composer (the scroll
sequence depends on the iPod that is used). At the desired menu, press
ENT button (9) to conrm selection and enter into Sub-folder selection.
Then press VOL Up/Down to select again. At each desired folder/le,
you need to press ENT to conrm selection.
Note: The DRM (Digital Rights Management Files) cannot be played on
this deck. Personal les (MP3, WMA, iTunes or AAC) can be played as
long as they are not DRM encrypted les.
3. Searching Files in iPod
To advance to next track, press TUN Up button (2) once to increase
track counter one track. When nal track is reached, play will resume
to track #1.
To fast forward through tracks: Press and hold TUN Up button (2) •
until track counter displays desired track, then release button.
To rewind current track: Press and hold the TUN Down button (2), •
the track will quickly rewind until you release the button.
Note: It will go back to the beginning of the playing track when you press
the Tune/Seek Down button once, and it will go back to the previous
track when you press the button once again.
4. Notes for iPod mode
In iPod Mode, the play/pause function works.•
In iPod Mode, the RDM function does work.•
In iPod Mode, press RPT button only can play the current track •
repeatedly. If RPT function is activated, press Seek Up/Down button
could not select the next or previous track, it could only go back to
the beginning of the current track and begin to play again.
19.7 Docking your iPod Music Player
1. Docking Your iPod
The Docking Station for iPod is compatible with
most dockable Apple iPod models. The Docking
Station also charges the iPod when docked.
Note: The 3G/3GS iPhone models are compatible.
To dock an Apple iPod:
A. Open Docking Station door (A) as outlined in
step 12 (page 84).
B. Center iPod over Docking Station Interface
Port, then gently press downward as shown
(B). DO NOT FORCE!
C. Close Docking Station door as shown (C),
then press rmly on door directly above door release latch (15)
until you hear an audible “click”.

Page 89
J-400
WARNING: RISK OF ELECTRICAL SHOCK HAZARD
EXISTS AND EQUIPMENT DAMAGE! Never install or
remove iPod while hands are wet or while sitting partially
immersed or fully immersed in spa!
CAUTION: Never leave iPod in Docking Station when spa is
not is use to prevent damage from outdoor elements! Never
spray Docking Station with pressurized water hose for any
reason! Damage to iPod or spa stereo system caused by
water intrusion is not covered under the manufacturer war-
ranty! Damage to Docking Station port or iPod due to exces-
sive force or improper alignment during installation or removal
from Docking Station is not covered under warranty.
19.8 Generic MP3 Player Operation
1. Connecting Your MP3 Player
A. Plug in any MP3 player’s
headphone output jack
with supplied cable into the
auxiliary port (11) using the
supplied audio RCA cable.
Close stereo compartment
during use to prevent
moisture from entering the
compartment.
2. Setting Up The MP3 Player for
Use
A. Select preferred song/album/
playlist prior to plugging in
MP3 player and start playback.
B. Press “Mode Button” on stereo receiver until the LCD display
reads “AUX”.
Note: All external MP3 player playback operations are performed solely
by the MP3 Player with the exception of volume control and “Mode
Button” selector, which can be controlled via wireless remote or on the
stereo receiver.
WARNING: RISK OF ELECTRICAL SHOCK HAZARD
EXISTS AND EQUIPMENT DAMAGE! Never connect, dis-
connect or operate external MP3 player while hands are wet
or while sitting or standing partially or fully immersed in water!
1
217 3
98
75
46
10
11
13
15
12
16
14
18

Page 90
J-400
19.9 J-1000 Audio System Stereo Troubleshooting
1. Unit will not turn-on
Make sure spa power is turned on, then
check both harness fuses on side of unit
making sure they are the proper ratings:
Yellow memory B+ line (10A fuse).•
When faced with a malfunction during •
operation, push BND button (8) and Eject
button (13) at the same time to reset
software.
With spa power off, use a paperclip to •
press the reset button located besides the USB Docking Station (10)
to do a hardware reset.
Note: It will be necessary to re-enter the radio preset memories and
other personal settings after performing a reset. After resetting player,
always ensure all functions are operation correctly.
2. Fogged CDs and Lens
This condition may occur when it’s cold. Wipe fogged CDs with a soft
cloth. Fogged optical components inside the unit will return to normal
operation after an hour in a heated environment.
19.10 J-1000 Audio System Stereo Specifications
Tuner
FM usable sensitivity ....................................10 dB
FM 50 dB quieting sensitivity ..............................25 dB
FM alternate channel selectivity ............................80 dB
FM stereo separation @ 1 kHz.............................30 dB
AM usable sensitivity ....................................35 dB
CD Player
Sampling frequency (8X oversampling) . . . . . . . . . . . . . . . . . . . .44.1 kHz
Channel separation @ 1 kHz ..............................50 dB
Signal-to-noise ratio . . . . . . . . . . . . . . . . . . . . . . . . . . . . . . . . . . . . . 60 dB
Frequency-to-noise response @ +/-2 dB ................. 20-20 kHz
Audio
Maximum power output .......(45 watts x 4 channel, 4Ω, 1 kHz) 180W
Continuous power.............18 watts x 4, 4 ohms, THD = 1%,1 kHz
Bass boost/cu.................................100 Hz +/- 10 dB
Treble boost/cut ................................10 kHz +/-10 dB
General
Nominal power supply ................................14.4 VDC
Allowable power supply ...........................10.8-15.6 VDC
Current consumption .................................. <15 mA
Speaker impedance . . . . . . . . . . . . . . . . . . . . . . . . . . . . . . . . . . . . . 4-8 Ω
USB

Page 91
J-400
19.11 J-1000 Wireless Remote
A. The J-1000 Remote
Your spa is equipped with a technologically
advance wireless remote (Figure A). Most spa
functions can be controlled with the remote. The
sleek modern design and easy navigation make
this remote a great addition to your spa enjoy-
ment. Listed below are the remote features, how
to access and control them. General features of
the remote are:
The remote does not have a touch screen.•
When you rst use the remote, it needs to be •
bonded to the spa.
When not in used or after any 15 seconds •
of inactivity the remote goes into a “Sleep”
status until activated. The backlighting and
display will turn off.
When activated the remote checks and •
veries that it and the control system are
bonded.
When activated the remote checks to see if any of the •
components are running. If so, the component icon will blink on
the remote LCD display to alert you that those components are
activated. The water temperature is displayed on top of the screen,
while the main menu is displayed.
Pressing any key will activate the remote; the backlight will turn on •
and illuminate the keys and display. This lighting has a 10 second
time-out period if no keys are pressed.
Note: Remote unit is water resistant not waterproof, therefore the unit
should never be left in the spa while the cover is on and spa is not in use.
= Lock icon: Will only appear if the spa is in locked mode and
needs to be unlocked via the spa not the remote.
= Temperature icon: Allows you to set and control the
temperature.
= Time icon: Allows you to set and control the time, either in a
12-hour or 24-hour period.
1
= Lights 1 icon: Allows you to control the interior lights.
1
= Show 1 icon: Allows you to control the interior Light Rotation
mode.
2
= Lights 2 icon: Feature not available.
11
USB
AUX
12
iPod
22
Figure A

Page 92
J-400
2
= Show 2 icon: Feature not available.
1
= Jet 1 icon: Allows you to turn on/off the
jets pump 1.
2
= Jet 2 icon: Allows you to turn on/off the
jets pump 2.
Noties you when
the batteries are low and might need to
be replaced. This icon will only appear if
the battery is low.
= Return button: Will return you to the
Main menu for most submenus.
= Navigational Keypad: Allows you to make selections using
the Up, Down, Left, and Right buttons. The Select button is in
the middle.
For spas with the stereo option the features below are also
included.
AM
= AM icon: Only appears when you are in the radio mode.
FM
= FM icon: Only appears when you are in the radio mode.
= Radio icon: Allows you to access the FM tuning, FM presets,
AM tuning, AM presets.
= CD icon: Shows the CD status.
USB
AUX
Allows you to access les on a USB drive. Devices
must be connected in order for the remote to operate them.
NAND
= NAND icon: (Special icon arrangement.) Go to USB icon, the
press the Up button on the Navigational Keypad. Display will
blink with “NAND on it. Use only, if NAND hard drive is loaded
with music les, otherwise this feature will not operate.
USB
AUX
= AUX icon: Allows you to access les on an auxiliary device.
Devices must be connected in order for the remote to operate
them.
iPod
= iPod icon: Allows you to access les on an iPod.
11
USB
AUX
12
iPod
22
UP
LEFT RIGHT
DOWN

Page 93
J-400
1.
When you rst use the remote, it will
need to be bonded to the spa for opera-
tional use. To bond the remote:
Press button D and the Down but-•
ton, at the same time, for 2 seconds
(Figure A).
The programming instructions will appear on the •
control panel LCD Display (Figure A).
You will need to press the keys below on the • remote
unit, not the control panel on the spa, in the follow-
ing sequence (Figure B):
1. Return, up
2. Return, up
3. Return, up
4. Select
After you press the Select button, •
Figure C will appear on the control
panel LCD Display.
Finally, Figure D will appear once the •
bonding has nished. To clear the
LCD display, press any key on the
control panel.
2. Main Menu
When any key is pressed and the remote
awakes it will display the icons that are
selectable. You can use the Navigational
Keypad (up, down, left or right) to navigate through the screens
and make selections. By moving through the icons, they will blink to let
you know that if you hit the Select button you will activate that component
or aspects of it.
1
2
1
USB
AUX
1
2
2
iPod
1
2
1
1
2
2
Remote display for spas
with the stereo option
Remote display for spas
without the stereo option
REMOTE CONTROL
CONNECTION
Press the keys below
Return, up
Return, up
Return, up
Select
DOW N
D
Figure A
REMOTE CONTROL
CONNECTION
Figure C
REMOTE CONTROL
CONNECTION
Enjoy
Figure D
11
USB
AU X
12
iP o d
22
RETURN
UP
SELECT
Figure B

Page 94
J-400
3. Adjusting the Temperature
When the temperature icon is selected, all other icons on the display
screen will disappear. The only two items shown are the thermometer
icon and the digit temperature in °C or °F. Using the Navigational Keypad
you can:
Increase the temperature by pressing the Up button.•
Decrease the temperature by pressing the Down button.•
Use °C reading by pressing the Left button.•
Use °F reading by pressing the Right button.•
Go to the Main Menu by pressing the Return button or not pressing •
any keys for 4 seconds.
Note: When you rst enter the screen the temperature display will be
blinking. You can stop this by pressing any key.
4. Activating the Jets
When the Jets pump icon is selected, all other icons on the display screen
will disappear. The only two items shown are the jets pump icon and the digit
temperature in °C or °F. Using the Navigational Keypad you can:
Turn on the Jets pump by pressing the Select button.•
Turn off the Jets pump by pressing the Select button• .
5. Turning on the Interior Lights
When the Lights 1 icon is selected, all other icons on the display screen
will disappear. The only two items shown are the temperature and the
Light 1 icon. Using the Navigational Keypad you can:
Press Select to turn the lights on or off.•
Increase the intensity by pressing the Up button (the lights will •
increase in increments of 25%, ranging from 25 to 100%).
Decrease the intensity by pressing the Down button (the lights will •
decrease in increments of 25%, ranging from 25 to 100%).
Go to the previous color by pressing the Left button.•
Go to the next color by pressing the Right button.•
Turn on or off the interior lights by pressing the Select button.•
Go to the Main Menu by pressing the Return button.•
6. Turning on the Interior Light Rotation Mode
When the Show 1 icon is selected, all other icons on the display screen
will disappear. The only two items shown are the temperature and the
Show 1 icon. Using the Navigational Keypad you can:
Increase the intensity by pressing the Up button.•
Decrease the intensity by pressing the Down button.•
Slow down the light show speed by pressing the Left button (the •
lights will decrease in speed from 3, 5, 10, 18, 33, or 60 seconds).
Speed up the light show speed by pressing the Right button (the •
lights will increase in speed from 60, 33, 18, 10, 5, or 3 seconds).
Turn on or off the interior Light Rotation mode by pressing the Select •
button.
Go to the Main Menu by pressing the Return button.•
7. Turning on the Exterior Lights: Feature is not available.

Page 95
J-400
8. Turning on the Exterior Light Rotation Mode: Feature is not
available.
9. Lock Reminder
If you press any key to activate the remote and the lock icon is the only
thing showing, then the spa has been locked. You must rst unlock the
spa from the main control panel to be able to use the remote.
B. If your model is equipped with the J-1000 Audio System
controllable by your remote.
1. AM Radio Operation
You can scan through you AM preset stations and
adjust the volume with the remote. When you are in
the AM radio mode the screen will appear like Figure
A; then it will change to the actual station number.
Using the Navigational Keypad you can:
Increase the volume by pressing the Up button.•
Decrease the volume by pressing the Down button.•
Go to the previous preset station by pressing the Left button.•
Go to the next preset station by pressing the Right button.•
Go to the FM radio settings by pressing the Select button.•
Turn off the system by pressing and holding the Select button for •
longer than 3 seconds.
Go to the Main Menu by pressing the Return button.•
2. FM Radio Operation
You can scan through you FM preset stations and
adjust the volume with the remote. When you are in
the FM radio mode the screen will appear like Figure
B; then it will change to the actual station number.
Using the Navigational Keypad you can:
Increase the volume by pressing the Up button.•
Decrease the volume by pressing the Down button.•
Go to the previous preset station by pressing •
the Left button.
Go to the next preset station by pressing the •
Right button.
Go to the AM radio settings by pressing the •
Select button.
Turn off the system by pressing and holding the Select button for •
longer than 3 seconds.
Go to the Main Menu by pressing the Return button.•
Note: Export models will show a small superscripted number after the
station number (Figure C).
AM
Figure A
FM
FM
Figure B
Figure C

Page 96
J-400
3. CD Operation
You can scan through the track numbers and adjust
the volume with the remote. When you are in the CD
mode the screen will appear like Figure D; then it
will change to the track duration screen for the track.
Using the Navigational Keypad you can:
Increase the volume by pressing the Up button.•
Decrease the volume by pressing the Down button.•
Go to the previous track by pressing the Left button.•
Go to the next track by pressing the Right button.•
Pause or play by pressing the Select button.•
Turn off the system by pressing and holding the Select button for •
longer than 3 seconds.
Go to the Main Menu by pressing the Return button.•
Note: If more than 2 seconds have elapsed since the CD menu was
selected and the system does not detect a CD, it will return to the Main
Menu.
4.
You can scan through the folders, track numbers
and adjust the volume with the remote. Using the
Navigational Keypad you can:
Increase the volume by pressing the Up button.•
Decrease the volume by pressing the Down button.•
Go to the previous track by pressing the Left button.•
Go to the next track by pressing the Right button.•
Pause or play by pressing the Select button.•
Turn off the system by pressing and holding the Select button for •
longer than 3 seconds.
Go to the Main Menu by pressing the Return button.•
5.
You can scan through the track numbers and adjust
the volume with the remote. Once you enter the
screen and the track number has appeared, the
screen will change to the track duration for the track.
Using the Navigational Keypad you can:
Increase the volume by pressing the Up button.•
Decrease the volume by pressing the Down button.•
Go to the previous track by pressing the Left button.•
Go to the next track by pressing the Right button.•
Pause or play by pressing the Select button.•
Turn off the system by pressing and holding the Select button for •
longer than 3 seconds.
Go to the • Main Menu by pressing the Return button.
Figure D
USB
Figure E
USB
Figure F

Page 97
J-400
6. NAND Folder Operation
To access the NAND menu, select the USB feature and then
press the Up button. You can scan through the folders, track
numbers and adjust the volume with the remote. Using the
Navigational Keypad you can:
Increase the volume by pressing the Up button.•
Decrease the volume by pressing the Down button.•
Go to the previous track by pressing the Left button.•
Go to the next track by pressing the Right button.•
Pause or play by pressing the Select button.•
Turn off the system by pressing and holding the Select button for •
longer than 3 seconds.
Go to the Main Menu by pressing the Return button.•
7. Auxiliary Operation
You can control the volume of an auxiliary device. Using
the Navigational Keypad you can (Figure H):
Increase the volume by pressing the Up button.•
Decrease the volume by pressing the Down button.•
Turn off the system by pressing and holding the Select •
button for longer than 3 seconds.
Go to the Main Menu by pressing the Return button.•
Note: Remote control has no effect on MP3 Player playback if/when the
generic MP3 cable output is used.
WARNING: RISK OF ELECTRICAL SHOCK HAZARD
EXISTS AND EQUIPMENT DAMAGE!
Never install, handle or remove MP3 Player while hands are
wet or while sitting partially or fully immersed.
8. iPod® Operation
You can scan through the track numbers, play or
pause and adjust the volume with the remote. When
you are in the iPod mode the screen will appear like
Figure I; then it will change to the track duration screen
for the track. Using the Navigational Keypad you can:
Increase the volume by pressing the Up button.•
Decrease the volume by pressing the Down button.•
Go to the previous track by pressing the Left button. Go to the next •
track by pressing the Right button.
Pause or play by pressing the Select button.•
Turn off the system by pressing and holding the Select button for •
longer than 3 seconds.
Go to the Main Menu by pressing the Return button.•
Figure G
Figure H
AUX
iPod
Figure I

Page 98
J-400
WARNING: RISK OF ELECTRICAL SHOCK HAZARD
EXISTS AND EQUIPMENT DAMAGE! Never install or
remove iPod while hands are wet or while sitting partially
immersed or fully immersed in spa!
9. Error has occurred
If the remote senses an error that needs attention, it will dis-
play the words “Spa” - “Err”, one word at a time, (see Figure
J). The words will cycle for 1 second each. Please go to the
main spa control panel for further instructions. If this error is
not detected by the user within 20 seconds, the remote will
go to sleep mode and the backlighting will begin to ash on
and off until a key is pressed.
1. Turn the remote unit over and locate the battery
door (Figure A).
2. Remove the six screws securing the door.
3. Remove the battery door. You could use a small screwdriver to pry
the door upward.
4. Replace or install 3 AAA batteries.
5. Reinstall the battery door and screws.
Note: Remote unit is water resistant not waterproof, therefore the unit
should be stored in a dry location within your home and never be left in
the spa while the cover is on and spa is not in use.
Figure J
Figure A
Figure B
Figure C