Jensen Hello Kitty Kt2054 Users Manual
KT2054 to the manual bf499ef4-b363-4e01-a860-d98010f65c2a
2015-01-24
: Jensen Jensen-Hello-Kitty-Kt2054-Users-Manual-341805 jensen-hello-kitty-kt2054-users-manual-341805 jensen pdf
Open the PDF directly: View PDF
.
Page Count: 11


P1
1) Read these Instructions.
2) Keep these Instructions.
3) Heed all Warnings.
4) Follow all Instructions.
5) Do not use this apparatus near water.
6) Clean only with a dry cloth.
7) Do not block any ventilation openings. Install in accordance with the
manufacturer’s instructions.
8) Do not install near any heat sources such as radiators, heat registers, stoves, or
other apparatus (including amplifiers) that produce heat.
9) Do not defeat the safety purpose of the polarized or grounding-type plug. A
polarized plug has two blades with one wider than the other. A grounding type
plug has two blades and a third grounding prong. The wide blade or the third
prong are provided for your safety. When the provided plug does not fit into
your outlet, consult an electrician for replacement of the obsolete outlet.
IMPORTANT SAFETY INSTRUCTIONS
WARNING:
To reduce the risk of fire or electric shock, do not expose this appliance to rain or moisture.
CAUTION:
Use of controls or adjustments or performance of procedures other than those specified
may result in hazardous radiation exposure.
CAUTION - TO REDUCE THE RISK OF ELECTRIC SHOCK, DO NOT
REMOVE COVER (OR BACK). NO USER-SERVICING TO QUALIFIED
SERVICE PERSONNEL.
The lightning flash with arrowhead symbol, within a n equilateral triangle,
is intended to alert the user to the presence of un insulated “dangerous
voltage” within the product’s enclosure that may be of sufficient
magnitude to constitute a risk of electric shock to persons.
The exclamation point within an equilateral triangle is
intended to alert the user to the presence of important
operating and maintenance (servicing) instructions in the
literature accompanying the appliance.
CAUTION
RISK OF ELECTRIC SHOCK
DO NOT OPEN

P2
10)
11)
12)
13)
14)
15)
16)
17)
18)
19)
Protect the power cord from being walked on or pinched particularly at plugs,
convenience receptacles, and the point where they exit from the apparatus.
Only use attachments/accessories specified by the manufacturer.
Use only with a cart, stand, tripod, bracket, or table specified by the manufacturer, or
sold with the apparatus. When a cart is used, use caution when moving the cart/
apparatus combination to avoid injury from tip-over.
Unplug this apparatus during lightning storms or when unused for
long periods of time.
Refer all servicing to qualified service personnel. Servicing is
required when the apparatus has been damaged in any way, such
as power-supply cord or plug is damaged, liquid has been spilled
or objects have fallen into the apparatus, the apparatus has been
exposed to rain or moisture, does not operate normally, or has
been dropped.
The apparatus shall not be exposed to dripping or splashing and that no objects
filled with liquids, such as vases, shall be placed on apparatus.
Main plug is used as disconnect device and it should remain readily operable during
intended use. In order to disconnect the apparatus from the mains completely, the
mains plug should be disconnected form the mains socket outlet completely.
Battery shall not be exposed to excessive heat such as sunshine, fire or the like.
Caution marking is located at the bottom of apparatus.
The marking information is located at the bottom of apparatus.
810-00000S-190

P3
This equipment has been tested and found to comply with the limits for a
Radio Receiver, pursuant to Part 15 of the FCC Rules. These limits are
designed to provide reasonable protection against harmful interference in
a residential installation. This equipment generates, uses and can radiate
radio frequency energy and, if not installed and used in accordance with
the instructions, may cause harmful interference to radio communications.
However, there is no guarantee that interference will not occur in a
particular installation. If this equipment does cause harmful interference
to radio or television reception, which can be determined by turning the
equipment off and on, the user is encouraged to try to correct the
interference by one or more of the following measures:
- Reorient or relocate the receiving antenna.
- Increase the separation between the equipment and receiver.
- Connect the equipment into an outlet on a circuit different from which
the receiver is connected.
- Consult the dealer or an experienced radio technician for help.
CAUTION:
TO PREVENT ELECTRIC SHOCK,
MATCH WIDE BLADE OF PLUG
TO WIDE SLOT. FULLY INSERT
THE PLUG TO MAIN POWER
SOCKET.
COMPLIANCE WITH FCC REGULATIONS
WARNING
Changes or modifications to this unit not expressly approved by the party
responsible for compliance could void the user’s authority to operate the
equipment.

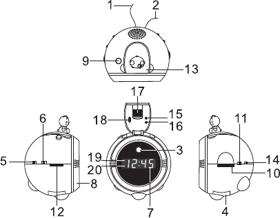
FUNCTIONS AND CONTROLS
1. AC Power Cord
2. FM Antenna Wire
3. Snooze Button
4. Battery Compartment
5. Clock Setting Switch (RUN / ALM / TIME)
6. ON / AUTO / OFF switch
7. LED Display
8. Rotary Set Dial
9. Sleep Button
10. Tuning Control Knob
11. AM/FM Band Selection Switch
12. Volume / Buzz Knob
13. Projection
14. Projection ON / OFF
15. Minute Button for Projection
16. Hour Button for Projection
17. Focus Adjustment Knob
18. Time Set Button for Projection
19. PM Indicator
20. Auto Indicator
P4
POWER SOURCE
This product operates on 120VAC/60Hz household electrical outlet
voltage. For clock memory back-up you need to install one 9V battery
(not included) to the battery clip located inside the Battery
Compartment (#4). The battery helps retain the time and alarm settings
in memory in the event of a power outage, but will not display it on the
Clock Display (#7). Normal display and functions will resume when the
power is restored. We recommend checking and/or replacing the
battery every one to three months. If the battery is weak, replace it
immediately. For maximum performance we recommend using a good
quality battery (such as Eveready type 6F22 or equivalent).
RADIO OPERATION
1. Set the ON/AUTO/OFF Switch (#6) to “ON” position.
2. Set the AM / FM Band Selection Switch (#11) to desired band.
3. Tune to the desired station with Tuning Control (#10).
4. Adjust the volume level with Volume Control (#12).
5. For best FM reception, fully extend the FM Antenna Wire. For best
AM reception, try turning the unit slowly until the best station
reception is obtained.
6. The radio can be switched off by setting ON/AUTO/OFF Switch (#6)
to the “OFF” position.
Note: Do not connect the FM Antenna wire to any other external
antenna.
SETTING THE CLOCK TIME
1. Set the Clock Setting Switch (#5) to the time set position. The 2 dots
between the hour and minutes will begin flashing.
2. Rotate the Rotary Set Dial (#8) counterclockwise for adjusting the
current minute or clockwise for adjusting the current hour.
3. A “PM” Indicator (#19) is located on the LED Clock Display (#7) in the
upper left-hand corner. The time will be in the “AM” range when the
“PM” indicator is not lit. It is important that the "AM" or "PM" setting is
correct for proper operation of the alarm function.
4. Once the time is adjusted, set the Clock Setting Switch (#5) to the
“RUN” position. The 2 flashing dots will stop flashing.
P5
SETTING THE ALARM TIME
1. Set the Clock Setting Switch (#5) to the “ALM” position. The 2 dots
between the hour and minutes will begin flashing.
2. Rotate the Rotary Set Dial (#8) counterclockwise or clockwise for
adjusting the hour or minute for the alarm respectively.
3. Once the alarm is adjusted to the desired wake-up time, set the
Clock Setting Switch (#5) to “RUN” position. The 2 flashing dots will
stop flashing.
4. Note: Do not rotate the dial too quickly when you are setting the
clock or alarm to insure desired time and alarm settings.
ALARM OPERATION
Set the ON/AUTO/OFF Switch (#6) to the “AUTO” position. The AUTO
Indicator (#20) will light.
- WAKE TO RADIO
Set the radio Tuning Control Knob (#10) to the station you wish to
listen to when the alarm time is reached. Set the Volume/Buzz Knob
(#12) to a desired volume level. The radio will now turn on at the
selected alarm time.
- WAKE TO BUZZER
Slide the Volume/Buzz Knob (#12) to the BUZZ position. The buzzer
will now turn on at the selected alarm time.
TIME SETTING FOCUSING FOR PROJECTION CLOCK
- To set the hours, simultaneously press and hold the Hour Button
(#16) and the Time Button (#18). Keep them depressed until the
desired hour digits are displayed.
- To preset the minutes, simultaneously press and hold the Minute
Button (#15) and the Time Button (#18). Keep them depressed until
the desired minute digits are displayed.
- Focusing: Adjust the projection clock clarity by turning the Focus
Adjustment Knob (#17) until the projected time is clearly shown on
the ceiling or wall.
Note:
1. The LED Digital Clock and the Projection Clock must be set
separately.
2. The projected time is visible on a ceiling or wall in a darkened room.
The maximum projection distance is 3-9 feet.
P6
SNOOZE FUNCTION
1. When your alarm (buzzer or radio) sounds, you can press the
Snooze Button (#3) to extend the alarm time by 9 minutes. The
buzzer or radio will then turn on again once the 9 minutes expires.
2. This can be repeated until the ON/AUTO/OFF Switch (#6) is moved
to the "OFF" position.
SLEEP TIMER OPERATION
1. This clock radio is equipped with a “sleep timer” function that will
switch off the radio automatically after a selected period anywhere
from 1 minute up to 1 hour and 59 minutes.
2. Press the Sleep Button (#9), and then rotate the Rotary Set Dial (#8)
clockwise to extend the operation period between 1 minute and 59
minutes or rotate it counterclockwise to set the sleep time in the
range of 1 hour 59 minute).
3. After the selected sleep time has elapsed, the radio will automatically
turn off.
4. To turn the unit off before the sleep time expires, press the Snooze
Button (#3).
SLEEP AND WAKE TO RADIO
1. Set the desired alarm time as described in the section “SETTING
THE ALARM TIME”.
2. Tune the radio to your desired channel.
3. Set your desired sound volume and sleep time as described in the
above section.
4. Switch the ON/AUTO/OFF Switch (#6) to “AUTO” position. The AUTO
Indicator (#20) will light.
5. The radio will switch off after the sleep time has elapsed and on after
the alarm time reaches.
CARE AND MAINTENANCE
1. Clean the unit with a soft, damp (never wet) cloth. Solvent or
detergent should never be used.
2. Avoid operating your unit under direct sunlight or in hot, humid or
dusty places to reduce the risk of fire or electric shock.
3. Keep your unit away from heating appliances and sources of
electrical noise such as fluorescent lamps or motors.
4. For better Clock Display clarity, avoid operating the unit under direct
sunlight or in strong room illumination.
5. Unplug the unit from the electrical power outlet immediately in case
of malfunction. P7
SERVICE
Please refer to the instructions on this Manual for returning your unit
for service. When returning the unit, please remove batteries to
prevent damage to the unit in transit and/or from possible battery
leakage. We are not responsible for batteries returned with the product
or for the cost of replacement.
Distributed by:
Spectra Merchandising International, Inc.
Chicago Industry Tech Park
4230 North Normandy Avenue
Chicago, IL60634, U.S.A.
Please have model number ready, for Customer Service,
call 1-800-777-5331
Printed in China
** THIS PRODUCT IS NOT A TOY.
910-H003 P8
SPECTRA MERCHANDISING INTERNATIONAL, INC. warrants this unit to be free from
defective materials or factory workmanship for a period of 90 days from the date of
original customer purchase and provided the product is utilized within the U.S.A. This
warranty is not assignable or transferable. Our obligation under this warranty is the
repair or replacement of the defective unit or any part thereof, except batteries, when it
is returned to the SPECTRA Service Department, accompanied by proof of the date of
original consumer purchase, such as a duplicated copy of a sales receipt.
You must pay all shipping charges required to ship the product to SPECTRA for
warranty service. If the product is repaired or replaced under warranty, the return
charges will be at SPECTRA’s expense. There are no other express warranties other
than those stated herein.
This warranty is valid only in accordance with the conditions set forth below:
1. The warranty applies to the SPECTRA product only while:
a. It remains in the possession of the original purchaser and proof of purchase is
demonstrated
b. It has not been subjected to accident, misuse, abuse, improper service, usage
outside the descriptions and warnings covered within the owner’s manual or non-
SPECTRA approved modifications
c. Claims are made within the warranty period
2. This warranty does not cover damage or equipment failure caused by electrical
wiring not in compliance with electrical codes or SPECTRA owner’s manual
specifications, or failure to provide reasonable care and necessary maintenance as
outlined in the owner’s manual.
3. Warranty of all SPECTRA products applies to residential use only and is void when
products are used in a nonresidential environment or installed outside the United
States.
This warranty gives you specific legal rights, and you may also have other rights which
vary from state to state. TO OBTAIN SERVICE please remove all batteries (if any) and
pack the unit carefully and send it prepaid by insured parcel post or UPS to SPECTRA
at the address shown below. IF THE UNIT IS RETURNED WITHIN THE WARRANTY
PERIOD shown above, please include a proof of purchase (dated cash register receipt)
so that we may establish your eligibility for warranty service and repair of the unit
without cost. Also include a note with a description explaining how the unit is defective.
A customer service representative may need to contact you regarding the status of your
repair, so include your name, address, phone number and e-mail address to speed the
process.
IF THE UNIT IS OUTSIDE THE WARRANTY PERIOD, please include a check for
$ 15.00 to cover the cost of repair, handling and return postage. All out of warranty
returns must be sent prepaid.
P9
90 DAY LIMITED WARRANTY AND SERVICE
VALID IN THE U.S.A ONLY

It is recommended that you contact SPECTRA first at 1-800-777-5331 or by e-mail at
info@spectraintl.com for updated information on the unit requiring service. In some
cases the model you have may be discontinued and SPECTRA reserves the right to
offer alternative options for repair or replacement.
SPECTRA MERCHANDISING INTERNATIONAL, INC.
4230 North Normandy Avenue,
Chicago, IL60634, USA.
1-800-777-5331
To register your product, visit the link below on the website to enter your information.
http://www.spectraintl.com/wform.htm
P10