Jet Tools Oes 80Cs Users Manual
OES-80CS JETEdgeSander
OES-80CS to the manual f0b6c187-3aa6-e254-8574-7e0e435ce161
2015-02-02
: Jet-Tools Jet-Tools-Oes-80Cs-Users-Manual-434060 jet-tools-oes-80cs-users-manual-434060 jet-tools pdf
Open the PDF directly: View PDF
.
Page Count: 24

Operating Instructions and Parts Manual
Oscillating Edge Sander
Model: OES-80CS
WMH TOOL GROUP
2420 Vantage Drive
Elgin, Illinois 60124 Part No. M-708447
Ph.: 800-274-6848 Revision B1 1/07
www.wmhtoolgroup.com Copyright © WMH Tool Group
This Manual is Bookmarked

2
Warranty and Service
WMH Tool Group, Inc., warrants every product it sells. If one of our tools needs service or repair, one of our
Authorized Service Centers located throughout the United States can give you quick service. In most cases, any of
these WMH Tool Group Authorized Service Centers can authorize warranty repair, assist you in obtaining parts, or
perform routine maintenance and major repair on your JET® tools. For the name of an Authorized Service Center in
your area call 1-800-274-6848.
MORE INFORMATION
WMH Tool Group is consistently adding new products to the line. For complete, up-to-date product information, check
with your local WMH Tool Group distributor, or visit jettools.com.
WARRANTY
JET products carry a limited warranty which varies in duration based upon the product (MW = Metalworking, WW =
Woodworking).
WHAT IS COVERED?
This warranty covers any defects in workmanship or materials subject to the exceptions stated below. Cutting tools,
abrasives and other consumables are excluded from warranty coverage.
WHO IS COVERED?
This warranty covers only the initial purchaser of the product.
WHAT IS THE PERIOD OF COVERAGE?
The general JET warranty lasts for the time period specified in the product literature of each product.
WHAT IS NOT COVERED?
Five Year Warranties do not cover woodworking (WW) products used for commercial, industrial or educational
purposes. Woodworking products with Five Year Warranties that are used for commercial, industrial or education
purposes revert to a One Year Warranty. This warranty does not cover defects due directly or indirectly to misuse,
abuse, negligence or accidents, normal wear-and-tear, improper repair or alterations, or lack of maintenance.
HOW TO GET SERVICE
The product or part must be returned for examination, postage prepaid, to a location designated by us. For the name
of the location nearest you, please call 1-800-274-6848.
You must provide proof of initial purchase date and an explanation of the complaint must accompany the
merchandise. If our inspection discloses a defect, we will repair or replace the product, or refund the purchase price,
at our option. We will return the repaired product or replacement at our expense unless it is determined by us that
there is no defect, or that the defect resulted from causes not within the scope of our warranty in which case we will,
at your direction, dispose of or return the product. In the event you choose to have the product returned, you will be
responsible for the shipping and handling costs of the return.
HOW STATE LAW APPLIES
This warranty gives you specific legal rights; you may also have other rights which vary from state to state.
LIMITATIONS ON THIS WARRANTY
WMH TOOL GROUP LIMITS ALL IMPLIED WARRANTIES TO THE PERIOD OF THE LIMITED WARRANTY FOR
EACH PRODUCT. EXCEPT AS STATED HEREIN, ANY IMPLIED WARRANTIES OR MERCHANTABILITY AND
FITNESS ARE EXCLUDED. SOME STATES DO NOT ALLOW LIMITATIONS ON HOW LONG THE IMPLIED
WARRANTY LASTS, SO THE ABOVE LIMITATION MAY NOT APPLY TO YOU.
WMH TOOL GROUP SHALL IN NO EVENT BE LIABLE FOR DEATH, INJURIES TO PERSONS OR PROPERTY,
OR FOR INCIDENTAL, CONTINGENT, SPECIAL, OR CONSEQUENTIAL DAMAGES ARISING FROM THE USE
OF OUR PRODUCTS. SOME STATES DO NOT ALLOW THE EXCLUSION OR LIMITATION OF INCIDENTAL OR
CONSEQUENTIAL DAMAGES, SO THE ABOVE LIMITATION OR EXCLUSION MAY NOT APPLY TO YOU.
WMH Tool Group sells through distributors only. The specifications in WMH catalogs are given as general information
and are not binding. Members of WMH Tool Group reserve the right to effect at any time, without prior notice, those
alterations to parts, fittings, and accessory equipment which they may deem necessary for any reason whatsoever.
JET® branded products are not sold in Canada by WMH Tool Group.
3
Table of Contents
Warranty and Service .............................................................................................................................. 2
Table of Contents....................................................................................................................................3
Warnings................................................................................................................................................. 4
Introduction ............................................................................................................................................. 6
Specifications .......................................................................................................................................... 6
Unpacking ............................................................................................................................................... 7
Shipping Contents................................................................................................................................ 7
Tools Needed for Assembly ................................................................................................................. 7
Assembly ................................................................................................................................................ 8
Stand Assembly................................................................................................................................... 8
Installing Table and Motor Unit to Stand ............................................................................................... 8
Sanding Belt Installation....................................................................................................................... 9
Drum Guard & Dust Port .................................................................................................................... 10
Extension Table ................................................................................................................................. 10
Electrical ............................................................................................................................................... 11
Grounding Instructions ....................................................................................................................... 11
115 Volt Operation ............................................................................................................................. 11
230 Volt Operation ............................................................................................................................. 11
Adjustments .......................................................................................................................................... 12
Sanding Platen Angle Adjustment ...................................................................................................... 12
Platen Lock Tension Adjustment ........................................................................................................ 12
Changing the Sanding Belt................................................................................................................. 13
Belt Tracking Adjustment ................................................................................................................... 13
Motor Mount Tracking Adjustment ...................................................................................................... 14
Table Adjustment............................................................................................................................... 14
Basic Operations ................................................................................................................................... 15
Horizontal Sanding............................................................................................................................. 15
Vertical Sanding................................................................................................................................. 15
Contour Sanding ................................................................................................................................16
Troubleshooting Operating Problems..................................................................................................... 17
Parts ..................................................................................................................................................... 17
Ordering Replacement Parts.............................................................................................................. 17
Table and Motor – Parts..................................................................................................................... 18
Sanding Belts..................................................................................................................................... 19
Table and Motor – Assembly.............................................................................................................. 20
Idle Drum – Parts............................................................................................................................... 21
Stand Assembly................................................................................................................................. 23
Wiring Diagram...................................................................................................................................... 24
The specifications in this manual are given as general information and are not binding. WMH Tool Group
reserves the right to effect, at any time and without prior notice, changes or alterations to parts, fittings,
and accessory equipment deemed necessary for any reason whatsoever.

4
Warnings
1. Read and understand the entire owner's manual before attempting assembly or operation.
2. Read and understand the warnings posted on the machine and in this manual. Failure to comply with
all of these warnings may cause serious injury.
3. Replace the warning labels if they become obscured or removed.
4. This Oscillating Edge Sander is designed and intended for use by properly trained and experienced
personnel only. If you are not familiar with the proper and safe operation of an edge sander, do not
use until proper training and knowledge have been obtained.
5. Do not use this machine for other than its intended use. If used for other purposes, WMH Tool Group
disclaims any real or implied warranty and holds itself harmless from any injury that may result from
that use.
6. Always wear approved safety glasses/face shields while using this Oscillating Edge Sander.
Everyday eyeglasses only have impact resistant lenses; they are not safety glasses.
7. Before operating this edge sander, remove tie, rings, watches and other jewelry, and roll sleeves up
past the elbows. Remove all loose clothing and confine long hair. Non-slip footwear or anti-skid floor
strips are recommended. Do not wear gloves.
8. Wear ear protectors (plugs or muffs) during extended periods of operation.
9. Some dust created by power sanding, sawing, grinding, drilling and other construction activities
contain chemicals known to cause cancer, birth defects or other reproductive harm. Some examples
of these chemicals are:
• Lead from lead based paint.
• Crystalline silica from bricks, cement and other masonry products.
• Arsenic and chromium from chemically treated lumber.
Your risk of exposure varies, depending on how often you do this type of work. To reduce your
exposure to these chemicals, work in a well-ventilated area and work with approved safety
equipment, such as face or dust masks that are specifically designed to filter out microscopic
particles.
10. Do not operate this machine while tired or under the influence of drugs, alcohol or any medication.
11. Make certain the switch is in the OFF position before connecting the machine to the power source.
12. Make certain the machine is properly grounded.
13. Make all machine adjustments or maintenance with the machine unplugged from the power source.
14. Form a habit of checking to see that all extra equipment such as adjusting keys, wrenches, scrap,
stock, and cleaning rags are removed away from the machine before turning on.
15. Keep safety guards in place at all times when the machine is in use. If removed for maintenance
purposes, use extreme caution and replace the guards immediately when maintenance is complete.
16. Make sure the edge sander is firmly secured to the floor before use.
17. Check damaged parts. Before further use of the machine, a guard or other part that is damaged
should be carefully checked to determine that it will operate properly and perform its intended
function. Check for alignment of moving parts, binding of moving parts, breakage of parts, mounting
and any other conditions that may affect its operation. A guard or other part that is damaged should
be properly repaired or replaced.
18. Provide for adequate space surrounding work area and non-glare, overhead lighting.
19. Keep the floor around the machine clean and free of scrap material, oil and grease.

5
20. Keep visitors a safe distance from the work area. Keep children away.
21. Make your workshop child proof with padlocks, master switches or by removing starter keys.
22. Give your work undivided attention. Looking around, carrying on a conversation and “horse-play” are
careless acts that can result in serious injury.
23. Maintain a balanced stance at all times so that you do not fall or lean against the sanding belt or other
moving parts. Do not overreach or use excessive force to perform any machine operation.
24. Use the right tool at the correct speed and feed rate. Do not force a tool or attachment to do a job for
which it was not designed. The right tool will do the job better and safer.
25. Use recommended accessories; improper accessories may be hazardous.
26. Maintain machinery with care. Follow instructions for lubricating and changing accessories.
27. Turn off the machine before cleaning. Use a brush or compressed air to remove dust or debris — do
not use your hands.
28. Do not stand on the machine. Serious injury could occur if the machine tips over.
29. Never leave the machine running unattended. Turn the power off and do not leave the machine until it
comes to a complete stop.
30. At all times hold the stock firmly.
31. Do not use this sander for other than it intended use. If used for other purposes, WMH Tool Group
disclaims any real or implied warranty and holds itself harmless for any injury or damage which may
result from that use.
Familiarize yourself with the following safety notices used in this manual:
This means that if precautions are not heeded, it may result in minor injury and/or
possible machine damage.
This means that if precautions are not heeded, it may result in serious injury or possibly
even death.
6
Introduction
This manual is provided by WMH Tool Group covering the safe operation and maintenance procedures
for a JET Model OES-80CS Sander. This manual contains instructions on installation, safety precautions,
general operating procedures, maintenance instructions and parts breakdown. This machine has been
designed and constructed to provide years of trouble free operation if used in accordance with
instructions set forth in this manual. If there are any questions or comments, please contact either your
local supplier or WMH Tool Group. WMH Tool Group can also be reached at our web site:
www.wmhtoolgroup.com.
Specifications
Stock Number.................................................................................................................................708447
Fence........................................................................................................................................4”H x 24”L
Abrasive Belt Size .................................................................................................................... 6”W x 89”L
Dust Chute Diameter..............................................................................................................................4”
Extension Table Size............................................................................................................9-7/8 x 11-7/8
Table Size ................................................................................................................................ 32”L x 7”W
Table Tilt ..............................................................................................................................................90°
Motor.................................................................................................................................. 1-1/2 HP, 1 Ph
............................................................................................................................. 115/230V, prewired 115
Belt Speed (SPFM)........................................................................................................................... 3,900
Overall Dimensions .................................................................................................. 51”L x 26.5”W x 20”H
Net Weight (approx.)......................................................................................................................258 lbs.
Shipping Weight (approx.) .............................................................................................................275 lbs.
The above specifications were current at the time this manual was published, but because of our policy of
continuous improvement, WMH Tool Group reserves the right to change specifications at any time and
without prior notice, without incurring obligations.
7
Unpacking
Upon delivery, open shipping containers and check
that all parts are in good condition. Any damage
should be reported to your distributor and shipping
agent immediately. Before proceeding further, read
your manual and familiarize yourself thoroughly
with assembly, maintenance and safety
procedures.
Compare the contents of your container with the
following parts list to make sure all parts are intact.
Missing parts, if any, should be reported to your
distributor. Read the instruction manual thoroughly
for assembly, maintenance and safety instructions.
Shipping Contents
01 Front Panel with Door (Stand)
01 Rear Panel (Stand)
02 Side Panel (Stand)
01 Shelf
02 M5x10 Screw
02 M5 Flat Washer
02 M5 Lock Washer
01 Extension Table Assembly
01 Drum Guard & Dust Port
01 Owner’s Manual
01 Warranty Card
01 Table and Motor Unit
01 Back Stop Bracket
01 Belt Tension Handle
01 Belt Tracking Tool
01 Miter Gauge Assembly
01 Sanding Belt
Cabinet Hardware
01 Lock Knob (20mm Length)
02 Lock Knob (12mm Length)
01 Lock Knob (35mm Length)
04 Cabinet Pads
04 5/16” x 5/8” Screws
22 5/16” Flat Washers
12 5/16” Hex Nuts
08 5/16” x 5/8” Hex Cap Bolts
02 5/16” x 1-1/4” Hex Cap Bolts
04 Larger O/D 5/16” Flat Washers
10 5/16” Lock Washers
Extension Table Hardware
05 1/4" x 5/8” Hex Cap Bolts
05 1/4" Flat Washers
05 1/4” Lock Washers
01 Bracket
02 10-24x3/4 Socket Head Cap Screws
Dust Chute Hardware
03 Pan Head Screws
Tools Needed for Assembly
2 12mm Wrench or sockets
1 10mm Wrench or sockets
1 Flat Head Screw Driver
1 Cross Point Screw Driver

8
Assembly
Stand Assembly
Referring to Figure 1:
1. Remove all contents from the shipping
container.
2. Clean all rust protected surfaces with a mild
solvent. Do not use paint or lacquer thinner,
gasoline, or mineral spirits; these will damage
painted surfaces.
3. Attach the four rubber pads (A) to the bottoms
of the side panels (C) with four each
5/16” x 5/8” screws, 5/16” flat washers and
5/16” hex nuts (B). The hardware can be found
in the bag with the rubber pads.
4. Attach the side panels (C) to the front panel (D)
with four 5/16” x 5/8” hex cap screws, eight
5/16” flat washers, four 5/16” lock washers, and
four 5/16” hex nuts (E). Hand tighten the
hardware at this point.
Note: Assemble the stand upside down to
make sure that the tops of the panels are flush.
5. Mount the shelf (F) to the inside of the stand
with two M5x10 pan head screws, two M5 flat
washers and two M5 lock washers (G).
6. Finish the stand assembly by attaching the rear
panel (H) to side panels (C) with four
5/16” x 5/8” hex cap screws, eight 5/16” flat
washers, four 5/16” lock washers, and four
5/16” hex nuts (J).
7. Make sure stand is sitting evenly on a level
surface before tightening hardware.
Installing Table and Motor Unit to Stand
The Table and Motor Unit is
heavy! Use great care and adequate resources
when lifting the unit up onto the stand! Failure
to comply may cause serious injury and/or
damage to the sander and/or property!
Referring to Figure 2:
1. With the aid of another person, carefully lift the
table and motor unit (A) out of the shipping
box, and up onto the stand (B).
2. Line up threaded holes in the base (C) with the
holes in the stand (D).
3. Open the cabinet door (E) and through the
opening attach main unit to stand with two
5/16” x 1-1/4” hex cap screws (F), two 5/16”
lock washers (G) and two 5/16” flat
washers (H). Tighten with a 12mm wrench.
Figure 1
Figure 2

9
Referring to Figure 3:
4. The sanding platen (A) is presently in the
horizontal position. Pull lock handle (B) forward
to unlock the platen assembly.
5. Tilt sanding platen to the vertical position (C),
which will look like D in Fig. 4; then push the
lock handle (B) to lock the platen assembly in
place.
Note: Do not turn the lock handle. Turning or
rotating the lock handle will change the tension
of the locking assembly. This may cause the
locking assembly not to work, making it
necessary for adjustment before using the
machine.
Sanding Belt Installation
Referring to Figure 5:
1. From the rear of the sander, remove the belt
guard (A) by unscrewing two lock knobs (B).
Take out the sanding belt and removable fence
from behind the belt guard.
2. Place the handle (C) on belt tensioning
lever (D). Remove the tension from the
mechanism by moving the handle (C) to the
Loose position.
3. Place belt on both rollers so that the edge of
the belt is even with the edge of the rollers.
Note: Make sure that direction arrow on belt
matches the direction indicator on the top of
the platten.
4. Tighten the belt by moving the tension arm
handle (C) to the Tight position. Rotate the belt
by hand in the direction indicated by the arrow
on top of the platten. If the belt tracking needs
adjustment, see Belt Tracking Adjustment on
page 13.
Figure 3
Figure 4
Figure 5

10
Drum Guard & Dust Port
Referring to Figure 6:
Mounting the Drum Guard & Dust Port (referred to
below as drum guard)
1. Insert four M4x20 flat head screws (A) through
the two hinges (B) of the drum guard (C). Then
place two rectangular spacers (D) on the
threaded ends of the screws.
Note: Orient the spacers so the slightly
rounded side sits against the hinge and the
edge farther from the screws lines up with the
edge of the hinge.
2. Secure the drum guard (A) to the belt guard on
the rear side of the sander by threading the
screws through the mounting holes (E) in the
belt guard. Tighten the screws.
Mounting the Connection Plate
3. Place the drum guard (C) in the closed position
– this will cover the drive drum (J).
Note: You may have to slightly lift the cover
when closing in order to clear the motor case.
This is normal.
4. Place washers (G) on two small lock knobs (H)
and then insert the threaded end of one lock
knob through the slot of the connection
plate (F) and the other lock knob through the
hole of the connection plate.
5. Secure the slotted side of the extension plate
to the drum guard (C) and the side with the
hole to the belt guard (E).
When repositioning the drum guard, slightly loosen
both lock knobs, open or close the cover, then
secure the lock knobs.
Extension Table
Referring to Figure 7:
1. Attach the bracket (E) for the extension table to
the side of the motor housing (D) and secure
with two socket head cap screws (F).
2. Slide the shaft of the extension table (C) into
the bracket (E), positioning the table so the
opening (B) wraps around the drive drum (A).
3. Insert lock knob (G) into the threaded hole on
the side of the bracket (E) visible from the rear
of the sander.
Figure 6
Figure 7

11
Electrical
Grounding Instructions
This sander must be
grounded while in use to
protect the operator from electric shock.
In the event of a malfunction or breakdown,
grounding provides a path of least resistance for
electric current to reduce the risk of electric
shock. This tool is equipped with an electric
cord having an equipment-grounding conductor
and a grounding plug. The plug must be
plugged into a matching outlet that is properly
installed and grounded in accordance with all
local codes and ordinances.
Do not modify the plug provided. If it will not fit
the outlet, have the proper outlet installed by a
qualified electrician. Improper connection of the
equipment-grounding conductor can result in a
risk of electric shock. The conductor, with
insulation having an outer surface that is green
with or without yellow stripes, is the equipment-
grounding conductor. If repair or replacement of
the electric cord or plug is necessary, do not
connect the equipment-grounding conductor to a
live terminal.
Check with a qualified electrician or service
personnel if the grounding instructions are not
completely understood, or if in doubt as to
whether the tool is properly grounded. Use only
three wire extension cords that have three-prong
grounding plugs and three-pole receptacles that
accept the tool’s plug.
Repair or replace a damaged or worn cord
immediately.
115 Volt Operation
Referring to Figure 8:
As received from the factory, your Oscillating
Edge Sander is ready to run at 115-volt
operation. This Oscillating Edge Sander, when
wired for 115 volt, is intended for use on a circuit
that has an outlet and a plug that looks like the
one illustrated in (A). A temporary adapter,
which looks like the adapter shown in (B), may
be used to connect this plug to a two-pole
receptacle if a properly grounded outlet is not
available.
Figure 8
The temporary adapter should only be used until
a properly grounded outlet can be installed by a
qualified electrician. This adapter is not
applicable in Canada. The green colored rigid
ear, lug, or tab, extending from the adapter,
must be connected to a permanent ground such
as a properly grounded outlet box.
230 Volt Operation
Referring to Figure 9:
If 230V, single-phase operation is desired, the
following instructions must be followed:
1. Disconnect the machine from the power
source.
2. The JET Oscillating Edge Sander motor has
four numbered leads that are factory
connected for 115V operation, as shown in
(A). For 230V operation reconnect the leads
as shown in (B).
3. The 115V attachment plug (C) supplied with
the Oscillating Edge Sander must be
replaced with a UL/CSA listed plug suitable
for 230V operation (D). Contact your local
Authorized JET Service Center or qualified
electrician for proper procedures to install
the plug. The Oscillating Edge Sander must
comply with all local and national codes after
the 230-volt plug is installed.
4. The Oscillating Edge Sander with a 230-volt
plug should only be connected to an outlet
having the same configuration as shown in
(D). No adapter is available nor should be
used with the 230-volt plug.
Figure 9

12
Extension Cords
Make sure your extension cord is in good
condition. When using an extension cord, be sure
to use one heavy enough to carry the current your
machine will draw. An undersized cord will cause
a drop in the line voltage resulting in power loss
and overheating. Table 1 shows the correct size to
use depending on the cord length and nameplate
ampere rating. If in doubt, use the next heavier
gauge. Remember, the smaller the gauge number,
the heavier the cord.
Adjustments
Sanding Platen Angle Adjustment
Referring to Figure 10:
1. Disconnect the machine from the power
source.
2. Pull the lock handle (B) forward (unlock) to
release tension.
Move the sanding platen (A) to the desired
position. Use a combination square between
the table and sanding platen to get precise
angles.
3. Hold the platen (A) while locking the handle.
Platen Lock Tension Adjustment
1. Disconnect the machine from the power
source.
2. Loosen (unlock) the handle (B, Fig. 10) and
place the platen in the horizontal position as
shown in (A, Fig. 10). Do not lock.
3. Tension eccentric block by tightening the nylon
nut (B, Fig. 11) with a 14mm wrench. Turn the
nut in by 1/4 turn increments and test locking
handle for proper tension.
The lock handle is properly tensioned when it
requires positive force to move the eccentric
block (attached to the locking handle) from one
side to the other. The platen and motor
assembly must stay in a locked position
without sliding once the handle has been
moved to the locked position. Re-adjust as
necessary.
Recommended Extension Cord Gauges
Extension Cord Length in Feet *
Amps
25 50 75 100 150 200
< 5 16 16 16 14 12 12
5 to 8 16 16 14 12 10 NR
8 to 12 14 14 12 10 NR NR
12 to 15 12 12 10 10 NR NR
15 to 20 10 10 10 NR NR NR
21 to 30 10 NR NR NR NR NR
*based on limiting the line voltage drop to 5V at 150% of the
rated amperes.
NR: Not Recommended.
Table 1
Figure 10
Figure 11

13
Changing the Sanding Belt
Referring to Figure 12:
1. Disconnect the machine from the power
source.
2. Lock the sanding platen in the vertical position
(see the Sanding Platen Angle Adjustment
section on page 12).
3. Release tension on the belt by loosening the
handle (C).
4. Loosen or remove the lock knobs (B) and
remove the belt guard (A).
5. Remove the old belt and install the new belt
matching the direction of the arrows on the belt
with the arrow label on the top of the platen.
6. Line up edge of belt with edge of rollers.
7. Place tension on the belt by moving the
tension arm handle (C) to the Tight position.
8. Reinstall the belt guard (A) and tighten the lock
handles (B)
Note: Belts stretch with wear. When a belt is
replaced, you may have to adjust tracking.
Belt Tracking Adjustment
The Belt Tracking Adjustment is a fine adjustment
procedure. The Motor Mount Tracking Adjustment
(following section) is a course adjustment.
To adjust the belt tracking:
1. Disconnect the machine from the power
source.
2. Push the belt by hand from left to right (the
direction indicated top of the platen) and
observe the belt’s position on the rollers. The
oscillating movement of the belt is by design.
Observe the belt's range of movement from its
highest to lowest position. The edges of the
belt should not have a tendency to move
above or below the edges of the rollers.
If adjustment is still necessary:
3. Insert the round shaft of the belt tracking tool
(provided) into the micro adjust lock nut (A)
and turn away from you to loosen.
4. Turn the micro adjusting screw (B) in 1/4 turn
increments until the belt tracks evenly on the
rollers when rotated by hand.
Tip: Moving the belt tracking tool away from
you raises the belt on the drum and towards
you lowers the belt on the drum.
5. Tighten the micro adjusting nut (A).
Figure 12
Figure 13
6. Connect the machine to power.
7. Turn on the power to the machine and observe
the belt’s up and down range of movement.
Adjustment is correct when the edges of the
belt do not move above or below the edges of
the rollers.
8. When adjustment is complete, tighten the micro
adjust lock nut (A).
If the tracking cannot be corrected go to the Motor
Mount Tracking Adjustment section (next page).

14
Motor Mount Tracking Adjustment
Referring to Figure 14:
The OES-80CS comes with tracking adjustment
bolts (A) on the motor plate. These are set at the
factory and should not require any further
adjustment. If, however, you are not able to track
the belt with the Belt Tracking Adjustment
described in the previous section, the motor mount
bolts will have to be adjusted.
Note: The Motor Mount Tracking Adjustment is a
course adjustment. Use the Belt Tracking
Adjustment first for fine adjustment. If it cannot be
adjusted, then use the procedure described below.
To adjust:
1. Disconnect the machine from the power
source.
2. Slightly loosen the four motor mount nuts (B)
just enough so the tracking screws (A) can be
turned to make an adjustment.
3. Loosen the two locking hex nuts (C) that
secure the tracking screws (A).
4. Turn one screw (A) a 1/4 turn and rotate the
sanding belt by hand to observe which
direction the adjustment is causing the belt to
move. If it is traveling in the direction needed
to correctly track the belt go to step 6.
5. If the belt starts to travel in the wrong direction,
back off a quarter turn and tighten the other
screw a quarter turn. This should start the belt
moving in the proper direction.
6. Tighten both locking nuts (C) and motor mount
nuts (B). Then return to the Belt Tracking
Adjustment section (previous page) and again
attempt to fine tune the tracking.
Table Adjustment
Do not position table below
sanding belt! Keep an overlap of at least 1/16”
between table and sanding belt to avoid
material and/or fingers getting caught! Failure
to comply may cause serious injury!
1. Loosen two lock knobs (A, Fig. 15).
2. Raise or lower work table to desired level.
3. Tighten two lock knobs.
Figure 14
Figure 15

15
Basic Operations
Removing the belt guard
exposes more of the sanding belt! Replace the
belt guards immediately after completing any
sanding that requires its removal! Failure to
comply may cause serious injury!
Horizontal Sanding
For horizontal sanding, the platen is locked in the
horizontal position as shown (F) and the removable
fence (D) is secured to the table (E) as follows.
Referring to Figure 16:
1. Place 5/16 flat washers (not shown) and guide
blocks (B) on two 12mm lock knobs (A) – Note:
the 12mm refers to the threaded shaft length.
2. Insert the guide blocks (B) into the miter slot
(C) and position the lock knobs (G) on the
table (E) as shown.
3. Place the removable fence (D) on the table
and secure by tightening the lock knobs
(G, Fig. 16 and Figure 17).
The backstop (H, Fig. 17) can also be used by
swiveling the drum guard & dust port (J, Fig. 17)
out of the way and placing the backstop pin in the
positioning hole and securing in place with the lock
knob (K, Fig. 17) and 5/16" flat washer. Note: This
is better shown in Figure 18. The drum guard &
dust port (J, Fig. 17) can then be returned to the
position shown.
Vertical Sanding
Referring to Figure 18:
For vertical sanding, the platen (G) is locked in the
vertical position as shown and the backstop (H)
and/or the miter gauge (B) may be used.
Miter Gauge
1. Slide the guide bar (D) of the miter gauge (A)
into the miter slot (C) on the table.
2. Set the miter angle; then secure the miter by
tightening the lock handle (B).
Backstop
Place the backstop pin in the positioning hole and
secure in place with the lock knob (E) and 5/16"
flat washer (F).
Figure 16
Figure 17
Figure 18

16
Contour Sanding
Referring to Figure 19:
Contour sanding is done from the extension table
mounted on the motor where the sanding belt
wraps around the drive drum (D). To set up the
sander for contour sanding:
1. Loosen the two lock knobs (C) that secure the
drum guard & dust port (E).
2. Swing the end guard (E) back, bringing the
drive drum (D) into view.
3. Tighten the lock knobs (C).
4. Mount the extension table (A) to the sander by
inserting the post (B) into the bracket (F).
5. Set the table to the desired height, then secure
into position by tightening the lock knob (G).
Important: When the extension table (B) is not in
use, the drum guard & dust port (E) should always
be in the closed position so the drive drum (D) is
not in view.
Figure 19

17
Troubleshooting Operating Problems
Trouble Possible Cause Solution
Sander will not start
1. Sander unplugged from
wall or motor
2. Fuse blown or circuit
breaker tripped
3. Cord damaged
1. Check all plug connections
2. Replace fuse or reset circuit breaker
3. Replace cord
Sanding belt does
not come up to speed
1. Extension cord too light
or too long
2. Motor not wired for
proper voltage
3. Low current
1. Replace with adequate size and length
cord (see Recommended Extension
Cord Gauges on page 12)
2. Refer to motor junction cover for proper
wiring
3. Contact a qualified electrician
Machine vibrates
excessively
1. Stand on uneven floor
2. Motor mounts are loose
3. Tension spring is worn
or broken
1. Adjust stand so that it rests evenly on the
floor
2. Tighten motor mount bolts
3. Replace spring
Abrasive belt keeps
tearing
1. Belt is running in the
wrong direction
1. Arrow on the sanding belt and machine
should be pointing in the same direction.
Sanded edge not
square
1. Table not square to
sanding platen
1. Use a square to adjust table to sanding
platen
Sanding marks on
wood
1. Wrong grit sanding belt
2. Feed pressure too great
3. Sanding against the
grain
1. Use coarser grit for stock removal and
fine grit for finish sanding.
2. Never force work into sanding platen
3. Sand with the grain
Parts
Ordering Replacement Parts
To order parts or reach our service department, call 1-800-274-6848 between 7:30 a.m. and 5:30 p.m.
(CST), Monday through Friday. Having the Model Number and Serial Number of your machine available
when you call will allow us to serve you quickly and accurately.
18
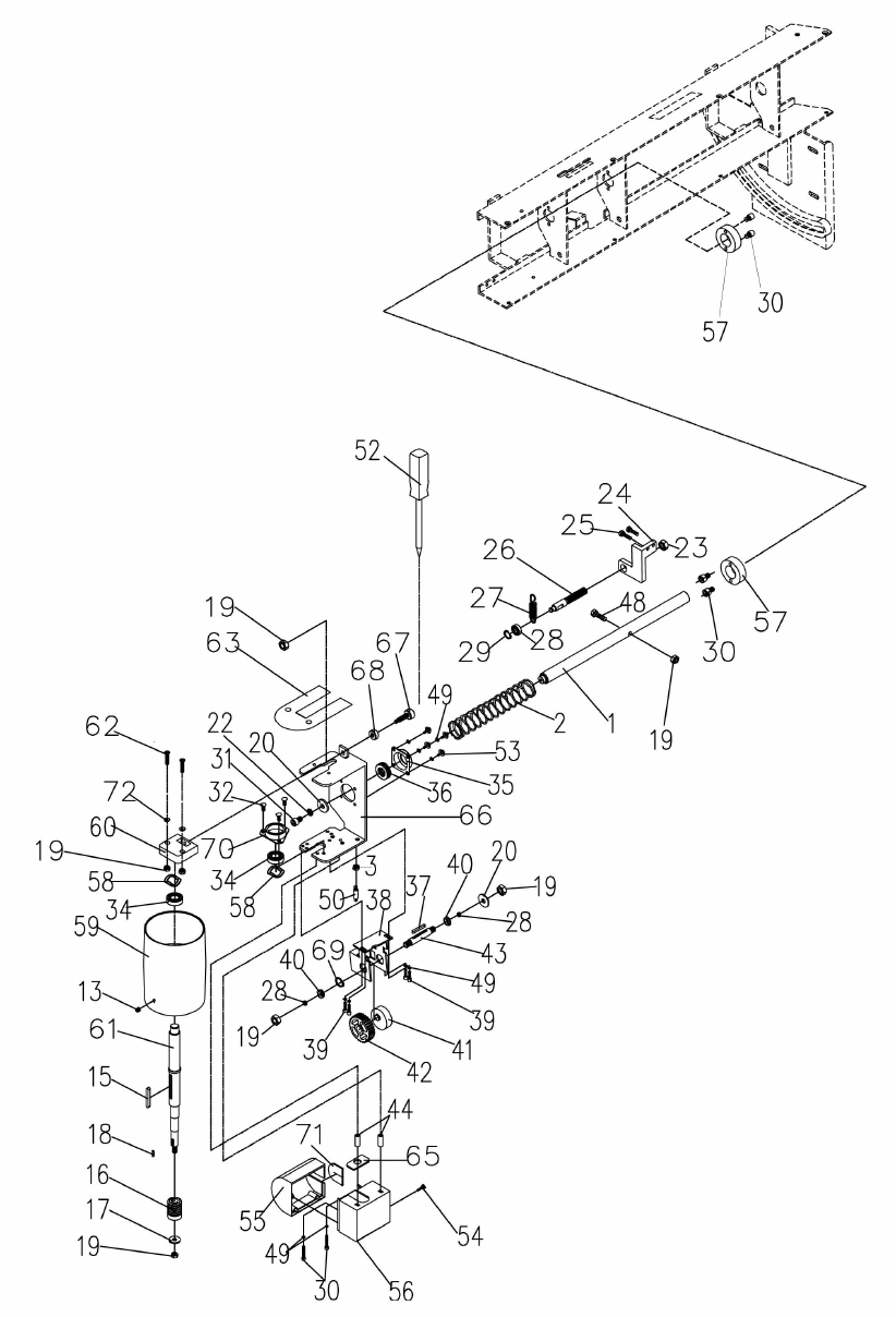
Table and Motor – Parts
Index No. Part No. Description Size Qty.
1............... EHVS80CS-01.........Base...................................................................................................... 1
2............... EHVS80-02N ...........Push Button Switch ............................................................................... 1
3............... EHVS80-03N ...........Switch Panel ......................................................................................... 1
4............... TS-081C082 ............Pan Head Screw ................................................#10-24×1-1/2”............. 3
5............... EHVS80-02B ...........Switch Box ............................................................................................ 1
6............... TS-0560071 .............Hex Nut ..............................................................#10-24........................ 5
7............... EHVS80-07..............Strain Relief........................................................................................... 2
8............... EHVS80-08..............Work Table Bar ..................................................................................... 1
9............... TS-0640091 .............Nylon Insert Lock Nut .........................................3/8”-16........................ 1
10............. EHVS80-10..............Locking Block ........................................................................................ 1
11............. EHVS80-11..............Spring Pin...........................................................∅4.............................. 1
12............. EHVS80-12..............Lock Handle .......................................................................................... 1
13............. 10102023A ..............Knob ..................................................................................................... 1
................. EHVS80-12A ...........Lock Handle Assembly (#12, #13) ......................................................... 1
14............. S0430525 ................Key.....................................................................5×5×25....................... 1
15............. TS-0050031 .............Hex Cap Screw ..................................................1/4”-20×3/4”................ 1
16............. TS-0680021 .............Flat Washer........................................................1/4”............................. 5
17............. EHVS80-17..............Table..................................................................................................... 1
18............. EHVS80 -18.............Screw.................................................................M10............................ 2
19............. TS-1540071 .............Hex Nut ..............................................................M10............................ 2
20............. EHVS80-20..............Guide Block........................................................................................... 2
21............. EHVS80-21..............Fence.................................................................................................... 1
22............. EHVS80-22A ...........JET Knob ...........................................................M8×12mm ..................3
23............. EHVS80-23..............Drive Drum............................................................................................ 1
24............. EHVS80-24..............Guide Bar.............................................................................................. 1
25............. S0310306 ................Pin......................................................................∅3.............................. 1
26............. TS-0267021 .............Set Screw...........................................................1/4”-20×1/4”................ 1
27............. EHVS80-27..............Location Plate........................................................................................ 1
28............. EHVS80-28..............Pointer................................................................................................... 1
29............. (See Below) .............Sanding Belt.......................................................6”W x 89”L.................. 1
30............. 10104046.................Miter Gauge Body.................................................................................. 1
................. EHVS80-MG............Miter Gauge Assembly ............................................................................
31............. TS-081B042.............Pan Head Screw ................................................#8-32×5/8”.................. 3
32............. TS-0560061 .............Hex Nut ..............................................................#8-32.......................... 3
33............. EHVS80-33..............Knob ..................................................................................................... 1
34............. 20101048.................Platen.................................................................................................... 1
35............. OES80CS-135 .........Side Plate.............................................................................................. 1
................. TS-0051061 .............Hex Cap Screw (motor plate-not shown) ..........5/16”-18×1-1/4”........... 2
................. TS-0561021 .............Hex Nut (motor plate-not shown) ......................5/16”-18...................... 2
36............. EHVS80-36A ...........JET Knob ...........................................................M8×35mm ..................1
37............. EHVS80-37A ...........Pin......................................................................∅6×40mm .................. 1
38............. TS-0561011 .............Hex Nut ..............................................................1/4”-20........................ 2
39............. EHVS80-39A ...........Spacer................................................................................................... 1
40............. TS-0733031 .............External Tooth Lock Washer...............................#10........................... 11
41............. EHVS80-28A ...........Location Block....................................................................................... 1
42............. TS-0561031 .............Hex Nut ..............................................................3/8”-16........................ 1
43............. TS-0051021 .............Hex Cap Screw ..................................................5/16”-18×5/8”.............. 4
44............. TS-0720091 .............Lock Washer ......................................................3/8”............................. 2
45............. EHVS80-49..............Washer Head Screw...........................................#10-24 x 3/8” .............. 3
46............. EHVS80-57..............Tilt Scale ............................................................................................... 1
47............. TS-081C052 ............Pan Head Screw ................................................#10-24x3/4” ................ 1
48............. EHVS80-59..............Pointer................................................................................................... 1
49............. TS-081C022 ............Pan Head Screw ................................................#10-24x3/8” ................ 2
50............. OES80CS-150 .........Motor..................................................................1-1/2HP, 1Ph.............. 1
51............. TS-0051061 .............Hex Cap Screw ..................................................5/16”-18x1-1/4”........... 5
52............. TS-0680031 .............Flat Washer........................................................5/16”......................... 10
19
Table and Motor – Parts
Index No. Part No. Description Size Qty.
53............. OES80CS-153 .........Pin......................................................................................................... 2
54............. EHVS80-67..............Motor Cord ............................................................................................ 1
55............. OES80CS-155 .........Dust Port ............................................................................................... 1
56............. OES80CS-156 .........Sanding Belt Cover................................................................................ 1
57............. EHVS80-70A ...........Up-Down Table Mount Plate.................................................................. 2
58............. EHVS80-71A ...........JET Knob ...........................................................M8X20mm..................4
59............. EHVS80-72..............Back Stop Bracket................................................................................. 1
60............. TS-0720081 .............Lock Washer ......................................................5/16”......................... 14
61............. TS-0561021 .............Hex Nut ..............................................................5/16”-18...................... 6
62............. TS-0051061 .............Hex Cap Screw ..................................................5/16”-18x1-1/4”........... 2
63............. TS-2285121 .............Flat Head Screw.................................................M5x12 ........................ 8
64............. TS-2284201 .............Flat Head Screw.................................................M4x20 ........................ 8
65............. EHVS80-94..............Extension Table..................................................................................... 1
66............. EHVS80-96..............Supporting Rod ..................................................................................... 1
67............. EHVS80-57A ...........Tilt Angle Scale Label ............................................................................ 1
68............. EHVS80-108............Direction Label ...................................................................................... 1
69............. EHVS80-107............Warning Label ...................................................................................... 1
70............. EHVS80-68..............Power Cord ........................................................................................... 1
71............. OES80CS-171 .........Hinge .................................................................................................... 2
72............. OES80CS-172 .........Knob ..................................................................M6.............................. 2
73............. OES80CS-173 .........Supporting Seat..................................................................................... 1
74............. TS-0206041 .............Socket Head Cap Screw.....................................#10-24x3/4” ................ 2
75............. OES80CS-175 .........Spacer................................................................................................... 2
76............. EHVS80-34G ...........Graphite Pad ......................................................................................... 1
77............. EHVS80-51..............Belt Tension Arm................................................................................... 1
78............. EHVS80-54..............Tension Arm Handle.............................................................................. 1
79............. OES80CS-179 .........Connection Plate ................................................................................... 1
80............. EHVS80-111............Drum Guard .......................................................................................... 1
81............. OES80CS-181 .........ID Label................................................................................................. 1
82............. OES80CS-182 .........Hinge Bracket........................................................................................ 2
Sanding Belts
................. 57422810.................040 Grit Open Coat
................. 57422910.................060 Grit Open Coat
................. 57423010.................080 Grit Open Coat
................. 7423110...................100 Grit Open Coat
................. 57423210.................120 Grit Open Coat
................. 57423310.................150 Grit Open Coat
................. 57423410.................180 Grit Open Coat
................. 57618210.................040 Grit Closed Coat
................. 57618410.................060 Grit Closed Coat
................. 57618510.................080 Grit Closed Coat
................. 57618610.................100 Grit Closed Coat
................. 57618710.................120 Grit Closed Coat
................. 57512410.................150 Grit Closed Coat
................. 57512510.................180 Grit Closed Coat

20
Table and Motor – Assembly
21
Idle Drum – Parts
Index No. Part No. Description Size Qty.
1............... OES80CS-201.........Tension Bar........................................................................................... 1
2............... OES80CS-203.........Spring.................................................................................................... 1
3............... TS-0561021 .............Hex Nut ..............................................................5/16”........................... 1
13............. TS-1523011 .............Socket Set Screw ...............................................M6x6.......................... 2
15............. S0400545 ................Key.....................................................................5x5x45mm.................. 1
16............. OES80CS-216 .........Worm .................................................................................................... 1
17............. OES80CS-217 .........Spacer................................................................................................... 1
18............. S0400425 ................Key.....................................................................4x4x25 ....................... 1
19............. TS-0640081 .............Nylon Insert Lock Nut .........................................5/16”........................... 6
20............. TS-0680031 .............Flat Washer........................................................5/16”........................... 4
22............. TS-0720081 .............Lock Washer ......................................................5/16”........................... 6
23............. TS-2342141 .............Nylon Insert Lock Nut .........................................M14............................ 2
24............. OES80CS-224 .........Bracket.................................................................................................. 1
25............. TS-0050031 .............Hex Cap Screw ..................................................1/4”-20x3/4”................ 2
26............. OES80CS-226N.......Lead Screw ........................................................................................... 1
27............. OES80CS-227 .........Spring.................................................................................................... 1
28............. OES80CS-228 .........Ball Bearing........................................................698............................. 3
29............. OES80CS-229 .........Retaining Ring....................................................STW-8........................ 1
30............. TS-1502051 .............Socket Head Cap Screw.....................................M5x20........................ 2
31............. TS-0208061 .............Socket Head Cap Screw.....................................5/16”x1”...................... 1
32............. TS-2284121 .............Flat Head Screw ................................................M4x12 ....................... 3
34............. BB-6202VV..............Ball Bearing........................................................6202LLU .................... 2
35............. OES80CS-235 .........Bearing Housing.................................................................................... 1
36............. BB6003ZZ ...............Ball Bearing........................................................6003ZZ....................... 1
37............. S0400430 ................Key.....................................................................4x4x30 ....................... 1
38............. OES80CS-238 .........Gear Housing ........................................................................................ 1
39............. TS-1502021 .............Socket Head Cap Screw.....................................M5x10........................ 5
40............. OES80CS-240 .........Bushing ................................................................................................. 2
41............. OES80CS-241 .........Cam ...................................................................................................... 1
42............. OES80CS-242 .........Worm Gear............................................................................................ 1
43............. OES80CS-243 .........Worm Gear Shaft................................................................................... 1
44............. OES80CS-244 .........Column.................................................................................................. 2
48............. TS-0051081 .............Hex Cap Screw ..................................................5/16”-18x1-3/4”........... 1
49............. TS-1551031 .............Lock Washer ......................................................M5.............................. 6
50............. OES80CS-250 .........Rod ....................................................................................................... 1
52............. EHVS80-81..............Belt Tracking Tool.................................................................................. 1
53............. TS-0810012 .............Round Head Slotted Machine Screw...................#10-24x1/4” ................ 4
54............. OES80CS-254 .........Self Tapping Screw ............................................M3x6.......................... 1
55............. OES80CS-255 .........Dust Hood (Left) .................................................................................... 1
56............. OES80CS-256 .........Dust Hood (Right).................................................................................. 1
57............. OES80CS-257 .........Ring ...................................................................................................... 2
58............. OES80CS-258 .........Wave Washer........................................................................................ 2
59............. OES80CS-259 .........Idle Drum .............................................................................................. 1
60............. OES80CS-260 .........Track Adjusting Block ............................................................................ 1
61............. OES80CS-261 .........Drive Shaft ............................................................................................ 1
62............. OES80CS-262 .........Button Head Socket Screw.................................5/16”X1-3/4 ................ 2
63............. OES80CS-263 .........Guard.................................................................................................... 1
65............. OES80CS-265 .........Foam Sheet for Drive Shaft ................................................................... 1
66............. OES80CS-266 .........Idle Drum Bracket.................................................................................. 1
67............. OES80CS-267 .........Track Adjusting Screw........................................................................... 1
68............. OES80CS-268 .........Track Adjusting Nut ............................................................................... 1
69............. OES80CS-269 .........Retaining Ring....................................................S10 ............................ 1
70............. OES80CS-270 .........Bearing Housing.................................................................................... 1
71............. OES80CS-271 .........Foam Sheet for Lead Screw .................................................................. 1
72............. OES80CS-272 .........Cone Disc Spring................................................................................... 2
................. OES80CS-IDRA.......Idle Drum Complete Assembly (index # 1-72) ..........................................

22
Idle Drum – Assembly

23
Stand Assembly
Index No. Part No. Description Size Qty.
1............... TS-0680031 .............Flat Washer........................................................5/16”......................... 22
2............... TS-0720081 .............Lock Washer ......................................................5/16”......................... 10
3............... TS-0561021 .............Hex Nut ..............................................................5/16”-18...................... 8
4............... EHVS80CS-S04.......Side Panel............................................................................................. 2
5............... EHVS80CS-S05.......Pad ....................................................................................................... 4
6............... EHVS80CS-S06.......Screw.................................................................................................... 4
7............... EHVS80CS-S07.......Rear Panel ............................................................................................ 1
8............... TS-0561021 .............Hex Nut ..............................................................5/16”-18...................... 4
9............... TS-0051061 .............Hex Cap Screw ..................................................5/16”-18x1-1/4”........... 2
10............. TS-1533032 .............Pan Head Screw ................................................M5x10 ........................ 2
11............. EHVS80CS-S11.......Door ...................................................................................................... 1
12............. EHVS80CS-S12.......Shelf...................................................................................................... 1
13............. EHVS80CS-S13.......Latch Assembly..................................................................................... 1
14............. TS-1551031 .............Lock Washer ......................................................M5.............................. 2
15............. EHVS80CS-S15.......Front Panel (W/Door)............................................................................. 1
16............. EHVS80CS-S16.......Screw.................................................................................................... 2
17............. EHVS80CS-S17.......JET Label.............................................................................................. 1
18............. TS-1550031 .............Flat Washer........................................................M5.............................. 2
19............. TS-0081031 .............Hex Cap Screw ..................................................5/16”-18x3/4”.............. 8

24
Wiring Diagram