Jingneng Telecom Technology Co GH3050 2.4GHz Cordless Phone User Manual 3050manual 2 20 P65
Shenzhen Jingneng Telecom Technology Co Ltd 2.4GHz Cordless Phone 3050manual 2 20 P65
Users Manual

2
CONTENTS
IMPORTANTSAFETYINSTRUCTIONS ................................................. 3
SAFETYINSTRUCTIONSFOR BATTERIES ........................................ 4
NAMEOF CONTROLSAND INDICATIONS ........................................... 5
FCC WANTS YOU TO KNOW............................................................... 8
INTRODUCTION
FEATURES ............................................................................................ 10
BOXCONTENTS .................................................................................. 11
INSTALLATION ....................................................................................... 11
OPERATING INSTRUCTIONS
CALLERID SETUP ............................................................................... 16
TELEPHONE OPERATION ................................................................... 21
MEMORYDIALING................................................................................. 28
CALLER ID OPERATION ....................................................................... 35
ANSWERINGSYSTERM OPERATION..................................................... 45
MESSAGE PLAYBACK.............................................................................. 49
TONE REMOTE OPERATION.................................................................. 52
TROUBLESHOOTING ........................................................................... 59
PRODUCT CARE.................................................................................. 64
LIMITEDWARRANTY ............................................................................ 65
SERVICE............................................................................................... 67
WALLMOUNTTEMPLATE..................................................................... 68
3050manual 2-20.P65 2002-5-31, 9:242

3
WHEN USING YOUR TELEPHONE EQUIPMENT, BASIC SAFETY
PRECAUTIONS SHOULDALWAYS BE FOLLOWEDTO REDUCETHE RISK
OF FIRE, ELECTRIC SHOCKAND INJURYTO PERSONS, INCLUDING THE
FOLLOWING:
1. Do not use this product near water,for example,near a bath tub,wash bowl,
kitchen sink,or laundry tub,in a wet basement,or near a swimming pool.
2. Avoidusinga telephone(other thana cordlesstype)during an electrical storm.
There may be a remote risk of electric shock from lightning.
3. Do not use the telephone to report a gas leak in the vicinity of the leak.
4. Useonlythe powercord and batteries indicated inthis manual.Donot dispose
of batteries in a fire.They may explode.Check with local codes for possible
special disposal instructions.
5. CAUTION
Danger of explosion if battery is incorrectly replaced.
Replace only with the same or equivalent type recommended by the
manufacturer.
Dispose of used batteries according to the manufacturer's instructions.
IMPORTANT SAFETY INSTRUCTIONS
3050manual 2-20.P65 2002-5-31, 9:243

4
SAFETY INSTRUCTIONS FOR BATTERIES
CAUTION
Use only a Southwestern Bell Freedom Phone approved battery
pack in the handset of your GH3050 ordlessTelephone. To reduce the
risk of fire or personal injury, read and follow these instructions.
1. Use only a Southwestern Bell Freedom Phone approved Nickel Metal
Hydride battery pack in the handset of your cordless telephone .
For HANDSET UNIT:
GP Ni-MH Battery GP60AAAH3BMX 3.6V, 600mAh
or GREATPOWER Battery GP60AAAH3BMX3.6V,600mAH
2. Do not dispose of the battery in a fire, as it may explode. Check with
local codes for possible special disposal instructions.
3. Do not open or mutilate the battery. Released electrolyte is corrosive
and may cause damage to the eyes and skin. It may be toxic if
swallowed.
4. Exercise care in handling batteries in order not to short the battery
with conducting materials such as rings, bracelets and keys. The
battery or conduction material may overheat and cause burns.
5. Charge the battery provided with or identified for use with this product
only in accordance with the instructions and limitations specified in
this manual.
6. Observe proper polarity orientation between the Battery Pack and
battery charger.
R
R
3050manual 2-20.P65 2002-5-31, 9:244

5
NAME OF CONTROLSAND INDICATORS
3050manual 2-20.P65 2002-5-31, 9:245

6
LCD DISPLAY INDICATORS
1. NEW: indicates the number of new caller ID data items that have not been
reviewed.
2. TOTAL: indicates the total number of stored Caller ID data items.
3. MEM: indicates the unit is in memory dial programming mode or memory
dialing mode.
4. REP: indicates how many phone calls have been made from the same
telephone number.
5. Arrow icon: indicates which arrow buttons can be used.
6. PROG: indicates the unit is in programming mode.
7. VIP: indicates that priority ringer has been set for the displayed number.
LCD BACK LIGHT
The LCD is back lit under the following conditions:
1. While receiving an incoming call (during ringing).
2. For 10 seconds, when the handset is picked up from the cradle.
3. For 10 seconds, when any button is pressed in the programming mode,
Caller ID review mode or stored number review mode.
4. For 10 seconds, when any button is pressed in any mode other than
those listed above.
* The LCD back light goes off 10 seconds after the talk mode is terminated by
pressing the TALK button, or immediately after the handset is placed in the
base.
ÿþÿ þ
þ
ÿ
3050manual 2-20.P65 2002-5-31, 9:246

7
NAME OF CONTROLS AND INDICATORS
3050manual 2-20.P65 2002-5-31, 9:247

8
FCC REQUIREMENT
This equipment complies with Part 68 of the FCC rules and ACTA technical
requirements.A label on the BASE UNIT of this equipment contains,among other
information,the Registration Number and the Ringer Equivalence Number (REN)
for this equipment. You must, upon request, provide this information to your
telephone company.
The REN is also useful in determining the quantity of devices that you may
connect to your telephone line and still these devices to ring when your telephone
number is called.In most areas,but not all, the sum of the /rens for all devices
connected to one line should not exceed five (5.0) .To be certain of the mumber
of devices that you may connect to your line ,you should contact your local
telephone company.
If your equipment should cause harm to the telephone network,the telephone
company may temporarily disconnect your service.If possible, they will notify
you in advance that temporary discontinuance of service may be
required.However,when advance written notice is not possible,the telephone
company may temporarily discontinue service without notice if such action is
necessary under the circumstances.The telephone company may make
changes in its communication facilities,equipment ,operations,or procedures
where such action is reasonably required in the operation of its business and is
not inconsistent with the rules and regulations of the Federal Communications
Commission.Do not attempt to repair or modify this equipment.
WARNING:Changes or modifications not expressly approved by the party
responsible for its compliance could void the user's authority to operate the
equipment.
Some cordless telephones operate at frequencies that may cause interference
to nearby TVsand VCRs.To minimize or prevent such interference,the BASE
UNIT of the cordless telephone should not be placed on or near a TV or VCR.If
interference is experienced, moving the cordless telephone farther away from
the TV or VCR will often reduce or eliminate the interference.
This equipment should not be used on coin telephone lines.Connection to party
line service is subject to state tariffs.If trouble is experienced,disconnect this
equipment from the telephone line to determine if it is causing the malfunction.
If the equipment is determined to be malfunctioning ,its use should be
discontinued until the problem has been corrected.
Federal Communications Commission Requirements
3050manual 2-20.P65 2002-5-31, 9:248

9
This equipment has been tested and found to comply with the limits for a Class
B digital device, pursuant to Part 15 of the FCC Rules. These limits are designed
to provide reasonable protection against harmful interference in a residential
installation. Some cordless telephones operate at frequencies that may cause
interference to nearby TV's and VCR's.To minimize or prevent such interference,
the base of the cordless telephone should not be placed near or on top of a TV
or VCR; and, if interference is experienced, moving the Cordless Telephone
farther away from the TV or VCR will often reduce or eliminate the interference.
However, there is no guarantee that interference will not occur in a particular
installation.If this equipment does causeharmful interference to radio ortelevision
reception, which can be determined by turning the equipment off and on, the
useris encouraged to try tocorrect the interference by oneor more of the following
measures:
1. Reorient or relocate the receiving antenna.
2. Increase the separation between the equipment and receiver.
3. Connect the equipment into an outlet on a circuit different from that to
which the receiver is connected.
4. Consult the dealer or an experienced radio TV technician for help.
HEARINGAID WEARERS: This CordlessTelephone has been registered
with the FCC as hearing aid compatible.
A FCC compliant telephone cord and modular plug is provided with this
equipment.This equipment is designed to be connected to the telephone network
or premises wiring using a compatible modular jack which is TIA/EIA-IS-968
compliant.See installations for details.
NOTE
FCC REQUIREMENT
3050manual 2-20.P65 2002-5-31, 9:249

10
INTRODUCTION
ABOUT THE GH3050
The GH3050 is a 2.4GHz Cordless Phone with Caller ID. It is designed
andengineeredtoexacting standardsforreliability,longlife, andoutstanding
performance.
FEATURES
• Caller ID (99 call data memory locations) with call waiting
• 40 Channels
• Multi LCD on the handset with three-language selection
• 20-Number two-touch dial memory
• Direct dialing from caller list
• Longbattery life
• Digital security coding
The GH3050 features includeAuto TalkTM andAuto StandbyTM.Auto TalkTM
allows you to answer a call by just removing the Handset from the Base so you
don't have to waste time pushing buttons or flipping switches. Auto StandbyTM
allows you to hang up by simply returning the Handset to the Base.
The Ultra Clear PlusTM true compander circuitry virtually eliminates
backgroundnoise.Thisinnovativetechnology, together with40 different channels,
provides you with the best possible reception during all of your conversations.
TOPROTECTYOUAGAINSTMISBILLEDCALLS, THE GH3050 HASRANDOM
CODEDIGITALSECURITYWHICHAUTOMATICALLYSELECTS ONEOFOVER
65,000DIGITALSECURITYCODESFORTHEHANDSETANDBASEUNIT.ALSO,
THEAUTOSECURERTM FEATURE ELECTRONICALLYLOCKS YOUR PHONE
WHEN THE HANDSET IS IN THE BASE. TO GET THE MOST FROM YOUR
GH3050,PLEASE READTHIS OPERATING GUIDETHOROUGHLY.
3050manual 2-20.P65 2002-5-31, 9:2410

11
BOX CONTENTS
INSTALLATION
1. Never install telephone wiring during a lightning storm.
2. Never install telephone jacks in wet locations.
3. Never touch uninsulated telephone wires or terminals.
4. Use caution when installing or modifying telephone lines.
Base unit
Handset
Rechargeable battery
Owner's manual
Memorylabel
Long telephone cord*
Short telephone cord*
AC adaptor with cord
Wall mounting bracket
Quick installation guide
Registration card
* US type modular plug at both ends of 6-foot cord and 6-
inch cord.
NOTE:
Keep the shipping carton and the packaging, in case you need to transport your
phone. If any of these items are missing or damaged, please contact your
place of purchase.
3050manual 2-20.P65 2002-5-31, 9:2411

12
120 VOLT OUTLET/TELEPHONE JACK
1. This telephone requires a modular phone jack (RJ11C) and standard 120
volt outlet.
2. Plug phone directly into outlet.
3. Do not plug other appliances into this outlet or have the outlet controlled by
a wall switch.
DESK TOP INSTALLATION
1. To connect the DESK/WALLmount bracket in the desk/table position, align
the bracket with the slots on the base (as shown in this first illustration),
until it is securely in place.
2. Plug one end of the long line cord into the back of the Base Unit.
3. Plug the other end of the line cord into the telephone wall jack.
4. Press until locking lever clicks.
5. ConnectACAdaptor into the back of the unit and plug directly into a standard
120V outlet.
Place the telephone and power cords where they will not
create a trip hazard, or where they could become chafed
and create a fire or other electrical hazards.
3050manual 2-20.P65 2002-5-31, 9:2412

13
WALL MOUNT INSTALLATION
Base unit may be mounted on a standard wall plate or onto two screws (not
included) that you fasten to the wall.
1. In case of using the standard wall plate, this step is not necessary. Place
the DESK/WALL bracket on the wall and mark the location of the screws.
Installthe screws, leaving 3/16"extending out from the wall. Use anchors to
secure the screws.
2. To connect the DESK/WALLmount bracket in the desk/table position, align
the bracket with the slots on the base (as shown in this first illustration), until
it is securely in place.
3. Plug theAC adaptor into the back of the base unit.
4. Plugoneend of theshort line cordinto the backof the baseunit, passing the
line cord through the groove.
5. Plug the other end of the line cord into the telephone wall jack.
6. Mountthebase on the wall plate studs and gentlypress until theunit locks in
place.
7. Plug theAC adaptor directly into the standard 120V outlet.
3050manual 2-20.P65 2002-5-31, 9:2413

14
HANDSET BATTERYCHARGING
The handset battery pack in the handset must be fully charged for about 10-14
hoursbefore usingthe telephone.After connecting toAC power, leave thehandset
unused in the cradle for ten to fourteen hours. Later, it will take less time for the
battery to recharge. The CHARGE LED on the base will be lit when the handset
is in the cradle.
NOTE:
a. When the battery gets low, LOW BATTERY will appear on the LCD, and the
handset will beep every 30 seconds.
b. If the battery becomes low while you are on a call, the TALK led will flash and
will sound one long beep. Terminate the call quickly and place the handset in
the base to recharge the battery.
c. The battery will hold its charge for several days out of the cradle, depending
on use.
NOTE:
The handset will not ring when the ringer is in "OFF" position. If the handset is
out of the cradle, the base unit IN USE LED will start flashing during an incoming
call.
DUAL CHARGING
The GH3050 is specially designed with a dual charge feature. The battery pack
will charge whether the handset is placed on the base facing up or facing into
the base.
NOTE:
When the belt clip is connected to the handset, the handset can only charge
correctly with the keypad facing into the base.
Chargingthe Handset without the belt clip. Charging the Handset with the
belt clip.
3050manual 2-20.P65 2002-5-31, 9:2414

15
TO REPLACE BATTERIES
1. Remove the handset battery cover.
2. Remove the old battery.
3. Plug the battery's cable into the Handset.
NOTE
The plastic connectors will fit together only one way. If you have
difficulty, make sure the battery's connector is aligned properly.
4. Replace the battery cover.
Tomaximize yourbattery's life,we recommendthat youperiodically fully discharge
the battery, and then recharge it. To do this, unplug your phone line cord from the
wall phone jack.Press the TALK button, andallow the handsetto remain onfor 10
to12 hours. Reconnect the phone cord to the wall phonejack. Return the handset
to the base and allow it to fully charge for 12 hours. If this process is completed
monthly, it will reduce the memory buildup that occurs from frequent partial
charging.
3050manual 2-20.P65 2002-5-31, 9:2415

16
CALLER ID SETUP
LANGUAGE SELECTION
The unit offers a choice of three LCD display languages: English (the default
value), French or Spanish. Follow the instructions given below to set your
language choice.
1. Hold down the ERASE button for more than 2 seconds or press theTALK
button twice to clear any displayed number and return to standby mode.
2. Press the PROG (PROGRAM) button.
3. Press the button once or the button 3 times.
4. Press the or button to select the language.
5. Press the PROG (PROGRAM) button again to store the new language.
The display shown below will appear for 3 seconds. A confirmation tone
will sound indicating that the selected language has been stored and the
programming mode will be terminated.
3050manual 2-20.P65 2002-5-31, 9:2416

17
AREA CODE SETTING
NOTE:
In order for the Caller ID redial feature to work properly, you must set your
area code.
1. Hold down the ERASE button for more than 2 seconds or press theTALK
button twice to clear any displayed number and return to standby mode.
] 2. Press the PROG (PROGRAM) button.
3. Press the button twice or the button twice. (Once you enter an area
code, the previously set number will appear. If you do not want to change
this area code, hold down the ERASE button for more than two seconds to
terminate the programming mode.).
4. Use the number buttons to enter the area code.
5. Press the PROG (PROGRAM) button again to store the area code. The
display shown below will appear for 3 seconds. A confirmation tone will
sound indicating that the entered area code has been stored and the
programming mode will be terminated.
3050manual 2-20.P65 2002-5-31, 9:2417

18
CONTRASTADJUST
If you find the LCD display difficult to view, you can adjust it to one of three levels.
The default setting is Contrast 2.
Adjust the contrast according to the following instructions:
1. Hold down the ERASE button for more than 2 seconds or press theTALK
button twice to clear any displayed number and return to standby mode.
2. Press the PROG (PROGRAM) button.
3. Press the button 3 times or the button once.
4. Press the or button to adjust the contrast.
5. Press the PROG (PROGRAM) button again to store the new contrast level.
The display shown below will appear for 3 seconds. A confirmation tone
will sound indicating that the new contrast level has been stored and the
programming mode will be terminated.
3050manual 2-20.P65 2002-5-31, 9:2418

19
SETTING THE RINGER ON/OFF CONTROL
If you wish to turn off the ringer, set the ringer switch on the side of the handset
to "OFF".
There are three types of rings:
•Incoming call ring: Two-tone ring synchronized with an incoming call signal.
•Priority ring (VIP):Adifferent ring sound that allows you to distinguish the
caller. To set this function, see the Section, "VIP (Priority Ring)" on page
34.
•Paging ring: Single tone three short beeps. Press the page button for at
least three seconds to extend the paging time to 30 seconds.
NOTE:
NOTE:
The auto talk mode will work even when the ringer switch is set to OFF.
The paging ringer will sound even when the ringer switch is set to OFF.
TONE/PULSE SETTING
The GH3050 will operate on tone or rotary (pulse) systems.
1. If your house is wired for rotary service, move the TONE/PULSE switch
(on the back of the base) to the PULSE position.
2. If your house is wired for tone service, move the TONE/PULSE switch to
the TONE position.
3. If you are unsure of the type of dialing service you have, set the switch to
TONE. On the handset, press the TALK button and dial any digit on the
keypad. If the dial tone persists, switch to PULSE.
3050manual 2-20.P65 2002-5-31, 9:2419

20
OUT-OF-RANGEALARM
You are out of range and should move closer to the base unit when
the following
happens:
•You hear noise or static.
•Pressing the TALK button generates an error tone. (three short beeps)
•Pressing the CID button when a number is displayed on the LCD generates
an error tone.
•You cannot receive an incoming call.
Selecting a different channel
The base unit will automatically search for the clearest channel in the standby
mode. However, should you hear static or noise during the course of a
conversation which makes it difficult to hear the caller, the CH (CHANNEL) button
on the handset allows you to choose between 40 preset channels:
The TALK LED flashes and the unit will sound 2 beeps to indicate the
GH3050 is changing to another channel. The unit will sound an error
beep and return to the original channel if it cannot reach a clearer
channel.
3050manual 2-20.P65 2002-5-31, 9:2420

21
TELEPHONE OPERATION
PLACINGACALL
Manual dialing:
1. Pick up the handset and press the TALK button. The unit enters the talk
mode and the TALK button lights.
2. Dial the number you are calling. The call duration time display will appear
10 seconds after dialing.
3. When you have finished the call, return the handset to the base unit, or
press theTALK button to hang up.
Using the REDIAL button
The unit stores the activity of the phone, in memory.
Numbers that can be redialed include any number up to 32 digits in
length. This includes redialed numbers, the last number seque-nce in a chain
dial, numbers dialed in temporary tone dial mode, and or incoming call. You
can automatically redial such numbers by performing the following steps:
1. Press theTALK button.The TALK button lights.
2. Press the REDIAL button.
NOTE:
Numbers that are longer than 32 digits will clear the redial memory.
3050manual 21-34.P65 2002-5-31, 9:2621

22
Direct dialing
1. In the stand by mode, you have the following direct dial options: redial the
last number called by pressing the REDIAL button, retrieve from the
two-touch dial memory or retrieve from the caller list.
•If you press the wrong button when dialing the number, press the ERASE
button momentarily to clear the last entered digit.
2. Press the CID button to start dialing the number on the display. For
information on the different dialing methods. See Section "Using THE
REDIAL BUTTON" on page 21, Section "TWO-TOUCH MEMORY SPEED
DIALING" .on page 33 or Section "DIALING FROM CALLERLIST"
on page 40.
NOTE:
The following actions will clear the displayed number:
1. No operation is performed for more than 30 seconds after entering the
number.
2.The TALK button is pressed.
3. The ERASE button is held down for more than 2 seconds.
Setting the receiver volume
You can set the handset receiver volume to one of three levels: Normal (the
default setting), Mid or High. The volume control can be set only in the TALK
mode.
1. In the talk mode, press the or button. Each press of the buttons
changes the display as shown below.
3050manual 21-34.P65 2002-5-31, 9:2622

23
FLASH BUTTON AND CALLWAITING
You can use your GH3050 cordless telephone with special services such as
Call Waiting (Special subscription from your local telephone company is
required).
Simply press the FLASH button which puts the first caller on hold and connects
you to the incoming call. Press the FLASH button again to return to the original
call.
SPEAKERPHONE VOLUME CONTROL
While in the speakerphone mode, press the VOLUME button on the top of
the base to the desired listening level.
You can set the speakerphone volume to one out of 6 steps for speakerphone
or TAD playback volume, the volume level number desplay on the message
counter.
The default level is step 4.
Even at the lowest volume level(1), the speakerphone and TAD will not be
completely muted.
TEMPORARY TONE FEATURE
If you live in a Pulse of Rotary dialing area and you use customer services, such
as banking by telephone, telephone answering machines or any other service
thatrequires touch tone dialing, your GH3050 can provide temporary tone.Follow
the instructions below.
In the pulse mode, press the TALK button followed by the number dialed in the
pulse setting. Then press the button to change to the temporary tone mode
while you are dialing. When you complete your call, your GH3050 will return to
pulse dialing mode.
3050manual 21-34.P65 2002-5-31, 9:2623

24
ANSWERINGACALL
When you receive a call, the name and telephone number of the caller is shown
on the LCD display.
When the handset is on the base unit
1. When the GH3050 rings, remove the handset from the base unit. TheTALK
buttonand theIN-USE LED at the baseunit light,indicating thata connection
has been made. The call timer will display as soon as the call is answered.
2. After you have finished the conversation, return the handset to the base
unit, or press the TALK button.
When the handset is off the base unit
1. When the GH3050 rings, press the TALK button. The TALK button and the
IN-USE LED at the base unit light, indicating that a connection has been
made. The call timer will display as soon as the call is answered.
2. After you have finished the conversation, return the handset to the base
unit, or press the TALK button.
When answering a call using speakerphone
1. When the GH3050 rings,Press"SPEAKER"button to answer the incom-
ing call, and then speak through the microphone on the base unit
without lifting the handset or pressing"Talk"button on handset.
2. Speakerphone will be displayed on handset as soon as the call is
answered by pressing "SPEAKER" button.
3. After you finish the conversation, press "SPEAKER"button again.
3050manual 21-34.P65 2002-5-31, 9:2624

25
PAGE
The PAGE function allows you to page the handset from the base unit by
sounding beeps in the handset to help you find the handset if you misplace it.
USING THE PAGE FUNCTION
Press the PAGE button on the base unit the handset will ring for 20 seconds
repeating sequences of three short beeps and the TALK button will flash."Page"
will be displayed on the LCD during paging.
Call Transfer
During a call, you can transfer the call from the base to from the
handset to the base.
From HANDSET to BASE
When you speak through the handset, you need to press the"SPEAKER"button
on the base(unit will be in three way onference mode), and then press the"TALK"
buttonto end the callthrough the handset. The user of the SPEAKER on the base
and outside caller can now speak to each other.
From BASE to HANDSET
When handset is off the base
When the unit is in the speakerphone mode, you need to press"TALK" button on
the handset(unit will be in three way conference mode), and press teh
"SPEAKER"button to end the call through the base. The user of the handset and
outside caller can now speak to each other.outside caller can now speaker to
each other.
When handset is on the base
When the call is in speaker phone mode, pick up the handset from cradle, and
then the call will be transferred to the handset with terminating speakerphone
mode of the base. The user of handset and outside caller can now speaker to
each other.
3050manual 21-34.P65 2002-5-31, 9:2625

26
The PAGE button cannot be used in the following conditions:
(1)When the handset is on the base unit.
(2)When the handset is in the talk mode.
(1)When the TALK button is pressed, the Page function will be terminated
and the handset will go into the talk mode.
(2)When an incoming call is received during Page mode and the ringer switch
is set to ON, the Page mode will be terminated and the incoming ringer
will start.
DIGITAL SECURITY SYSTEM
The security code prevents your cordless telephone conversation from being
accessedby a phoneon a differentline. Once thehandset battery isfully charged,
the handset will automatically select the code from a total of over
65,000 combinations. The code is changed every time the handset is placed in
the cradle.
If you experience difficulty with placing or receiving calls, a lost security code
may be the cause of the problem. When this occurs, the handset can no longer
communicate with the base. Reset by placing the handset on the base for 5-10
seconds. If that does not work, unplug the AC adaptor from the wall outlet.
Disconnect the handset battery for 5-10 seconds, then reconnect. Place the
handset back on the base and then replug theAC adaptor.
NOTE:
NOTE:
3050manual 21-34.P65 2002-5-31, 9:2626

27
USING THE HEADSET JACK
Your telephone can utilize a headset (not included) to be connected to your
HANDSET for you to enjoy a hands-free communication. When you plug in the
headset plug into the HEADSET JACK, it automatically mutes the microphone
and speaker of the HANDSET. Unplug the headset to return the HANDSET to
normaluse.TheHEADSETJACKiscompatiblewith2.5mmheadsetplugsonly.
3050manual 21-34.P65 2002-5-31, 9:2627

28
MEMORY DIALING
The speed dial memory has twenty memory locations that can each store one
16-digit telephone number and one 16-character name. In addition to telephone
numbers that you often use, you can store special access codes required in
chain dialing, such as banking transactions.
STORING NAMES AND TELEPHONE NUMBERS
Example : Storing the telephone number 5551234 with the name
Grandmother in location number 8.
1. Press the PROG (PROGRAM) button in the standby mode.
2. Enter the phone number. When more than 12 digits are entered, the first
digit is shifted to the upper line.
•If a 17th digit is entered, the store mode will be terminated with an error
tone.
•If you misdial, press the Delete button momentarily to clear the last
digit.
•If required, pauses can be inserted between digits by using the Redial
button.
•When a pause is inserted, the letter "P" is displayed.
3. Press the PROG (PROGRAM) button to enter the name editing mode. If
you do not want to enter a name for the number, press the MEMO button in
step 3 and continue from step 8.
3050manual 21-34.P65 2002-5-31, 9:2628

29
4. Press the 4 button once to enter the first character "G".
5. Press the 7 button three times to enter the second character "R".
6. Enter the remaining characters in the same way while referring to the
character entry list shown on the next page.
Two characters in sequence that are entered using the same number
button must be separated by pressing the button. For example, to
enter the "M" and "O" in GRANDMOTHER, follow these steps:
a) Press the 6 button to enter "M" as the 6th digit.
b) Press the button. The entered character "M" is lit and the
flashing digit is moved to the 7th digit.
c) Press the 6 button 3 times to enter the "O" at the 7th digit.
The name you enter can be no more than 16 digits. When you have
entered more than seventeen digits, the last letter will be change.
NOTE:
NOTE:
3050manual 21-34.P65 2002-5-31, 9:2629

30
7. Press the MEMO (MEMORY) button.
8. Enter 2 digits (01~20) on the dialing keypad to assign the location number
where you want to store the telephone number.
• Note that a 0 must be added to the beginning of location numbers 1 to
9.
• If the data is stored in a location where data has already been stored,
the old data will be overwritten by the new data.
9. One second after the operation in step 8, "Save Ok" will appear on the
display for 3 seconds. A confirmation tone will sound, indicating that the
new data has been saved and the programming mode will be exited.
3050manual 21-34.P65 2002-5-31, 9:2630

31
DELETING THE DIAL MEMORY
1. Press the PROG (PROGRAM) button in the stand by mode.
2. Press the MEMO (MEMORY) button.
3. Enter the 2 digits (01~20) memory location that you want to delete. Note
that a 0 must be added to the beginning of location numbers 1 to 9.
4. One second after the operation in step 3, the display as shown Delete
appears for 3 seconds.Aconfirmation tone will be heard indicating that the
selected number location was cleared and the programming mode will be
terminated.
3050manual 21-34.P65 2002-5-31, 9:2631

32
VIEWINGAND DIALING FROM THE DIAL MEMORY
1. Press the MEMO (MEMORY) button in the standby mode.
2. Enter the location number or use the or button until you find the
desired name and telephone number.
If you press a number button for which no telephone number has
been assigned, an error tone sounds, and the memory dial mode is
canceled.
3. Press the CID button to connect the telephone and dial the number.
VIEWING LONG NAMES AND TELEPHONE NUMBERS
Names more than 12 characters and telephone numbers more than 12 digits
cannot be viewed together. Do as follows to view such names and numbers.
1. Press the MEMO (MEMORY) button in the standby mode.
2. Enter the location number or press the or button until you find the
desired name and telephone number.
3. Press the button once or the button twice to view the full telephone
number.
NOTE:
3050manual 21-34.P65 2002-5-31, 9:2632

33
The display dial number will be cleared from the display under
the following conditions:
1.No operation is performed within 30 seconds after the number is
displayed.
2. The TALK button is pressed.
3. The ERASE button is held down for more than 2 seconds.
TWO-TOUCH MEMORY SPEED DIALING
1. In the talk mode, press the MEMO (MEMORY) button.
2. Select the desired location number (01~20) to dial the number.
After 2 seconds, the characters will disappear, and the entered
phone number will be dialled.
•Thelocationnumber has to beenteredwithin 30 seconds of pressing
the assigned number button, otherwise an error tone sounds and
the memory dial mode is canceled.
•If you press a number button for which no telephone number has
been assigned, an error tone sounds and the memory dial mode is
canceled.
•Any other numbers you may dial (including other numbers from
the dial memory) are dialed after the last digit of the two-touch dial
number.
.
NOTE:
3. Press the button twice more or the button once to view the full
telephone name.You can return to the original display by pressing
the button once more or the button twice.
NOTE:
3050manual 21-34.P65 2002-5-31, 9:2633

34
VIP (PRIORITY RINGER)
This function allows you to recognize an incoming caller from the ringing sound
by assigning a priority ringer to the designated telephone number from the speed
dial memory.
1.In the standby mode,press the MEMO (MEMORY) button.
3.When you find the desired caller press the PROG (PROGRAM) button.The
VIP icon on the LCD display will light,and the handset will beep indicate
operation success.Twenty five seconds after pressinfg the PROG button
the display will clear and go back to normal standby mode.the above
procedure can also be used to reset the VIP mode.
2. Enter the location number or press the or button to select the
caller in the speed dial memory to which you want to assign a
priority ringer.
3050manual 21-34.P65 2002-5-31, 9:2634

35
CALLER ID OPERATION
This cordless telephone is compatible with the Caller ID and Caller ID
Call Waiting services which are offered by most local telephone
companies. For further information on these services, contact your local
telephone company.
CALLER ID SERVICE
This service allows you to identify the caller before you answer the
phone. The unit stores the last 99 callers' names, phone numbers and
received date and time in the caller list. You can check the list anytime
and call back any of the numbers. You can also store a number in the
caller list to speed dial memory.
CALLER ID CALL WAITING SERVICE
Caller ID Call Waiting allows you to see who is calling, even while you
are on the line talking to someone else. When a new call comes in while
you are talking, the LCD lights and the new caller's name and number
appear on the LCD display.
NOTE
There may be a slight break in the conversation (approximately 2
seconds) after you hear the call waiting tone. This occurs as a
result of some telephone companies' Call Waiting service.
MESSAGE WAITING
YourGH3050 provides messagewaiting capability if youhave subscribed
to voice mail service from your local telephone company. The message
waiting feature acts as a digital answerer, eliminating the need for an
answering machine.
When you have received a call and a message has been placed into
your message waiting service, the Message Envelope icon will display
on the LCD to notify you that you have a message. The Envelope icon
will disappear after you have reviewed your messages.
Follow your telephone company's instructions to retrieve your message.
3050MANUAL 35-44.P65 2002-5-31, 9:2735

36
USING THE CALLER LIST
When a call is received, the name, telephone number, time and date of
the call are stored in the caller list. This list stores data for a total of 99
calls (with a maximum of 16 digits and 16 characters). The New Call
symbol on the LCD display will light, when there is data for calls in the
caller list that has not yet been viewed.
TO VIEW THE CALLER LIST
Perform the following operation in standby mode.
1. Press the CID button to display the caller list.
2. Press the button to view the information for the latest received
call.
•Another press of the button will display the information for the
call before the latest received call and so on.
•Press the button to view the oldest caller data. Note that you
cannotview alreadyreviewed call data until allthe new call data has
beenviewed.
•When a caller makes repeated calls, the REP icon (instead of the
TOTALicon) shows the number of calls that he has made.
•A "1" is automatically prefixed to the phone number of a call made
from outside the local area (if you have set your local area code).
Example:
When you are receiving a number "123-456-7890" the number
"1-123-456-7890" will be stored into the Caller ID memory.
3050MANUAL 35-44.P65 2002-5-31, 9:2736

37
DELETING CALLER LIST DATA
Theunit can store upto 99 caller dataitems, the oldest entryautomatically
deleted when the 100th item is stored. You can also delete the caller data
items manually either one at a time or all items.
DELETING THE SELECTED CALLER DATA ITEM
1. Press the CID button when no telephone number is displayed on
the LCD to open the caller list.
2. Select the desired caller data using the or button.
3. Press the PROG (PROGRAM) button.
4. Press the ERASE button. The display shown below appears and a
confirmation tone will be heard indicating that the selected caller
data item has been deleted and the programming mode will be
terminated.
3050MANUAL 35-44.P65 2002-5-31, 9:2737

38
DELETINGALLCALLER LIST DATA
1. Press the CID button when no telephone number is displayed on
the LCD to open the caller list.
2. Press the PROG (PROGRAM) button.
NOTE:
Press the TALK button if you do not want to delete all of the caller
list data.
3. Press and release the ERASE button to delete all caller list data. The
display shown below appears and a confirmation tone will be heard
indicatingthat allcaller data has been deletedand the programming
mode will be terminated.
3050MANUAL 35-44.P65 2002-5-31, 9:2738

39
VIEWING LONG TELEPHONE NUMBERS AND NAMES AND
CHECKING THE DATEAND TIME
Due to display size limitations, a telephone number longer than 10 digits
or a name more than 12 characters long cannot be viewed at one time.
For the same reason, the received date and time cannot be displayed
with the name and number.
For example the following information cannot be displayed together on
one screen.
Phone number: 12345678901
Name: MarieAntoinette
Date and time: Jun. 30, AM 11:46
To view the remaining information:
1. Press the button once or the button three times to display the
full received number.
2. Press the button twice or the button twice to display the full
name.
3. Press the button three times or the button once to display the
received date and time.
3050MANUAL 35-44.P65 2002-5-31, 9:2739

40
4. To return to the original display, press the button once again or
button three times more. In the following situations, it may not be
possible to view the caller data:
a) When the calling party blocks his name or phone number:
b) When the call comes from an area where the Caller ID service
is not available:
c) If the caller data for some reason cannot be received correctly,
the message "Not received" is displayed.
DIALING FROM CALLER LIST
1. Press the CID button to display the caller list.
2. Press the or button to select the desired caller data.
3. Press the CID button again to dial the number.
4. When the call is finished, return the handset to the base unit or
press the TALK button.
3050MANUAL 35-44.P65 2002-5-31, 9:2740

41
EDITING OR ERASING CALLER LIST DATA
You can edit or erase received telephone number and name data in the
caller list using the following steps.
Since the or button cannot be used when editing telephone
numbers, digits can only be inserted or deleted starting from the first
digit. When editing characters, no such restrictions apply. You can
both delete and overwrite characters.
EDITING TELEPHONE NUMBERS
Deleting the first digit in a telephone number.
1. Press the CID button when no telephone number is displayed on
the LCD to open the caller list.
2. Select the desired caller data using the or button.
3. Press the PROG button.
4. Press the button to start number editing. The first digit "1" starts
flashing.
NOTE
Example:
3050MANUAL 35-44.P65 2002-5-31, 9:2741

42
Example: Insert "5" at the beginning of the telephone number.
Perform the following steps after steps 1-4.
5. Press the ERASE button momentarily. The first digit "1" will be
deleted and the second digit will start flashing.
6. Press the 5 button, and "5" is inserted before the first digit.
7. Press the PROG (PROGRAM) button again, and "Save OK" will
appear for 3 seconds.A confirmation tone will be heard, indicating
that the new data has been saved, and the programming mode will
be exited.
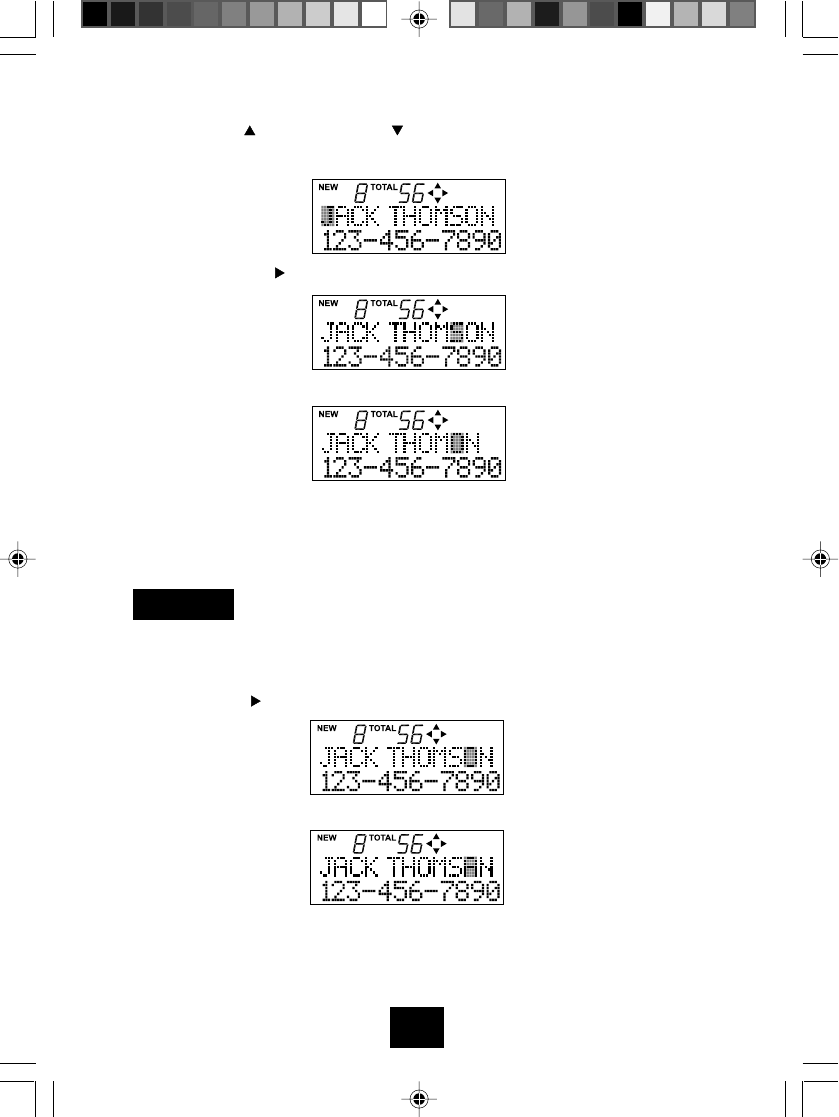
EDITING CALLER NAMES
Deleting the character "S" in the caller name Jack
Thomson.
1. Press the CID button when no telephone number is displayed on
the LCD to open the caller list.
2. Select the desired caller data using the or button.
3. Press the PROG (PROGRAM) button.
Example:
3050MANUAL 35-44.P65 2002-5-31, 9:2742

43
4. Press the button once or button twice to start character editing,
and "J" will start to flash.
5. Press the button 9 times to move the cursor to the character
"S".
6. Press the ERASE button, and the next character moves one step to
the left .
7. Press the PROG (PROGRAM) button again, and "Save OK" will
appear for 3 seconds.Aconfirmation tone will be heard, indicating
that the new data has been saved, and the programming mode will
be exited.
Changing the second "O" in the caller name JACK
THOMSON to "A". Perform the following steps after step 4 in the
exampleabove.
5. Press the button 10 times to move the cursor to the character
"O".
6. Press the 2 button once.
Example:
7. Press the PROG (PROGRAM) button again, and "Save OK" will
appearfor 3 seconds.Aconfirmation tone willbe heard, indicating
that the new data has been saved, and the programming mode
will be exited.
3050MANUAL 35-44.P65 2002-5-31, 9:2743

44
Caller names and telephone numbers in the caller list can be stored in
two touch speed dial memory.
Storing caller list item 1 to memory location 8.
1. Press the CID button when no telephone number is displayed on
the LCD to open the caller list.
2. Select the desired caller data using the or button.
3. Press the MEMO (MEMORY) button. If the caller data has to be
edited, edit the data according to the instructions "Editing or
erasing caller list data" on page 40 before you press the MEMO
button.
4. Enter the two digit memory location (01-20) where you wish to
store the caller data.
5. One second after the operation in step 4, "Save OK"will appear
for 3 seconds. A confirmation tone will be heard, indicating that
the new data has been saved, and the programming mode will be
exited.
Example:
STORING A CALLER LIST TO TWO TOUCH SPEED DIAL MEMORY
3050MANUAL 35-44.P65 2002-5-31, 9:2744

45
Remote Voice Menu
To assist your remote retrieving messages.
a. Press 1 to playback messages.
b. Press 2 to erase all messages.
c. Press 3 to record new outgoing greeting.
If “1” is pressed (To Playback Messages), and then
a. Press 2 to erase current message.
b. Press 4 to repeat current message.
c. Press 5 to stop message.
d. Press 6 to skip message.
e. Press 7 to return to main menu.
If “2” is pressed (To Erase want Messages), and then
a. Press 2 again to erase all messages.
If “3” is pressed (To Record a new greeting), and then
a. Record greeting after the beep. Press 5 to end recording.
To Turn Answer ON/OFF
The “ANS ON/OFF” butt on may be used to set the unit to Answer on,
Announce only, or Answer off.
Press “ANS ON/OFF” button once in Answer mode, the unit will say “Answer Off ” and the current time.
If the time is not set, the unit will say “Time is not set ”.
If you press the “ANS ON/OFF” button again,the unit will say“ Announce
Only ” and “ time is not set ”.
If you press the “ANS ON/OFF” button again,the unit will say “Answer ON”
and “time is not set”
ANSWERING SYSTEM OPERATION
Announce Only Mode
In the Announce Only mode, the unit will play your outgoing greeting, and disconnect
the line without recording an incoming message.
The unit will say “Announce Only”, and the current time, and the message counter will
display “A”.
This feature is useful if you want to provide information to the caller not wanting to record
any message.
If you have not recorded an outgoing greeting, when the unit is in the Announce
Only mode, it (Default greeting) answers, “Hello, our machine cannot accept messages.
Please call again”.

46
2. Press and hold the Greeting button. After a beep, speak clearly towards thebuilt in microphone.
(in the front of the base).
You can record your greeting up to 30 seconds.
The message counter should display “30” the “29” then “28” .... then “1” then “0”.
3. Release the “Greeting ” button as you finish recording your personalized outgoing greeting.
4. If the recorded greeting is less than 2 seconds, the unit will announce,“Greeting was not
recorded,please record longer greeting”
5. If the memory is full occupied, when recording greeting , unit announces, “Memory is full ” .
6. Unit beeps once and playbacks your recorded outgoing greeting and then returns to standby
mode.
To Rrcord Memo
1. Press and hold the MEMO button.The meesage counter indicates “rc” momentarily that
recording is in process.
2.After a beep, record your message (up to 60 seconds) through the microphone in the front
of the base.
The message counter displays “ 60 ” then “59” then “58”.... then “1”then “0”.
3.When recording your memory is completed, release MEMO button. The message counter
indicates an increment.When a MEMO is recorded, your unit considers it a kind of message
and includes it in the message count.
ANSWERING SYSTEM OPERATION
To Record Outgoing Greeting
Your system comes with a prerecorded outgoing greeting.To record your own outgoing greeting.
1. Press GREETING button, the previous recorded greeting playbacks.(If your personalized outgoing
greeting has not been recorded, you hear Default greeting “Hello We are not available now,
please leave your name and number after the beep” ).

47
Toll Saver
If you want to check whether you have new message or not remotely, then listen to the
number of rings until the unit answers Your call.
1. NO New Message Received
If your phone rings more than 2 rings, you have no new messages.
You can hang up on the fourth ring before your unit answers, and save the cost of the call.
2. NEW Messages Received.
If your unit answers after only 2 rings. You have new message.
ANSWERING SYSTEM OPERATION
When Memory is full during recording, the unit will announce, “Memory is full ”.
If the recorded memo is less than 2 seconds, the unit should announce “ Message was not
recorded. Please record longer message”.
Voice Activated Recording(VOX)
Your GH3050 records messages for up to 60 seconds as long. To avoid unnecessary
pauses due to hang-ups and to save message capacity, your unit will automatically stop
recording after 7 sceonds of silence.
Ring Select
You can select the number of rings to which the unit answers.Set the Ring Select switch
(on the back side of the base) to 2R or 4R , or Toll Saver (TS).
NOTE:

48
ANSWERING SYSTEM OPERATION
If no new message are received, your unit will answer the call after the fourth ring.
NOTE:
NOTE:

49
ANSWERING SYSTEM OPERATION
Incoming Messages
When the message Counter is lit,the unit is ready to answers incoming call.
The machine hangs up and resets to answer the next call in the following cases:When the caller
hangs up,the message length exceeds 60 seconds,If there are more than 7 seconds silence or
there is a steady tone (dial tone)for 7seconds.The GH3050 can record up to minute of incoming
messages.
The maximum recording time for each incoming message is 60 seconds.
Message Counter
The new Message LED will flash if there are new messages.
The message counter will display the total number of messages in memory which include old
messages plus new messages.
It will display “A” when unit is in ANNOUNCE ONLY mode.
It will display “--” when unit in answer off mode.
To playback Messages
1. If new message LED blink,press PLAY button,the unit will playback the new messages only.
2. After listening to all of the new messages,press PLAY button again to listen to all of the
messages.
3. The recived day and time will be heard after each message.
4. Afer the last incoming or MEMO message has been played back,the unit will announce,
“ No more messages.Press and hold the Delete button to erase all messages”,the unit will
announce,”All messages erased”.
If there is no message, “You have no message” will be played back.
NOTE:
NOTE:

50
MESSAGE PLAYBACK
If there are only old messages,”You have (X) message”.Followed by received time and day will be
played.
If there are old and new messages,”You have (X) messages,including (Y) new
messages”.Followed by recived time and day will be played.
If there are al new message,”you have (X) new messages”.
To PAUSE Playback Message
During playback, press PLAY button to pause playback.
If you press PLAY button again within one minute,the unit starts playback from here it had been
paused.
If you do not press PLAY button within 1minute,the playback mode will be terminated,as the unit
will return to standby mode.
To stop playback message.
To Repeat the Current Message
After playbacked all new messages,during playback,press the “REPEAT” button once
To Repeat the Previous Message
During playback,press teh “REPEAT” button twice.
To Skip to the Next Message
During playback,press “SKIP” button to skip to the next message.
To Erase Your Messages
MESSAGES WILL BE SAVED UNLESS YOU ERASE THEM.
1. While play backing mesages,press the “ERASE” button,The following announcement
“Message erased” will be played as the particular message being erased.
2. At the end of the last message,the muit will announce “No More Message”,Press and hold
the “ERASE” button,then the following announcement “All messages erased” will be
played as all messages being erased.Any new messages can’t be erased unless they
have been reviewed.

51
Message Capacity Full Detection
When the incoming message capacity up to 15 minute is full,the unit will answer call
and the following announcement,”Memories is full”,and sounds ”beep,beep,beep”
tone.After 10 seconds,the call will be automatically disconnected. “FU” in message
counter will shown.
Call Interrupt
If the unit answers an incoming call before you do,you can turn the answering system
off by picking up any extension phone or pressing TALK button on your handset.If the
unit does not stop answering,press the FLASH button once.You may also press the
STOP or SPEAKER button on the base.
Call Screening
To listen to an incoming call without picking up the phone,let your unit answer an
incoming call when it rings.If you don’t want to talk to the caller, let your unit take a
message,and you may adjust the volume level.
Caller does not know that you are screening call.
If you want to talk to the caller,pick up an extension phone or press TALK button on
your handset.
NOTE:
MESSAGE PLAYBACK

52
TONE REMOTE OPERATION
To access the GH-3050 from a remote phone,you need to enter a 3-Digit Remote
Access Code.
The default set is 1-2-3.
You can program the code to any 3-digit number you wish.
To turn on answering machine remotely
You can turn “Answer on” by calling your number from other telephone.
1. Call your number and let the unit ring 10 times.
The machine will answer with the greeting.
2. You can hang up the phone,and subsequent calls will be answered.

53
To access answering machine remotely
1. Call your number from a touch-tone telephone.
2. After the unit answers an incoming call,enter the three digit remote acces code
during the
greeting or ICM recording after the beep.
3. If the correct code was accessed,the unit stops playing the outgoing greeting and
sounds
one beep.
4. The unit will announce “You have(X) messages,including (Y) new messages”.
5. The remote menu will guide you to press the correct buttons.
TONE REMOTE OPERATION

54
TONE REMOTE OPERATION
Operation
Press Security code
Key
X,X,X
Announcement
You have X messages, Including Y
new
messages.
Press 1 to playback messages. .
Press 3 to record a new greeting.
Press 1 to playback
1 Press 2 to erase the message, 4 to
repeat, 6 to Skip.
After the last new message
No more new messages, Press 7 to
return to main menu.
If “1”is pressed to playback messages,all of the messages will playback.
After the last old message
being played
No more messages, Press 7 to return
to main menu,
Press 2 to erase all
messages
2 Press 2 again to erase all messages.
Press 2 again within 5
seconds
2 All messages erased.
Press 7 to return to main menu.
(During playback )
Press 2 to erase a current
message
2 Message erased
Press 3 to record a new
greeting
3 Record greeting after the beep, Press
5 to
end Recording.
Press 5 to end the recording 5 New greeting will play back to the
user.
After the unit announce the
greeting
Press 7 to return main menu.
Not press a button within 10
seconds
(After hearing Press 7 to
return 10 main menu)
Goodbye.

55
TONE REMOTE OPERATION
If there are only old messages, the unit Will announce You have (x)
messages”.
If there is no message, the unit will announce you have no message”.
If there are only new messages, the unit will announce You have (x)
Option Press
Playback messages (1)
Erase all messages (2)
Record new outgoing greeting (3)
If Press (1) to play messages:
Erase current message (2)
Repeat current message (4)
Stop message playback (5)
Skip to next message (6)
Return to main menu (7)
NOTE:
new messages”.
TO RETRIEVE MESSAGES FROM THE GH3050 HANDSET
you answer machine can be operated remotely by the GH3050 handset.
1.Press andhold CID/REMOTE key on the handset.
The unit is in remote mode now.
2.Press the following button on your keypad.

56
TONE REMOTE OPERATION
Operation
Press and hold CID/REMO
3 seconds.
Press 1 to playback
After the last new messag
If “1”is pressed to playbac
After the last message be
Press 2 to erase all mess
Press 2 again within 5 sec
(During playback )
Press 2 to erase a curren
Press 3 to record a new g
Press 5 to end the record
After the unit announce th
Not press a button

57
TONE REMOTE OPERATION
Call Screening
You may use the handset to screen your messages. When the answering system is answering a
call, press and hold CID/REMOTE listen to the messages being recorded. Caller does not know
that your are screening their calls. You may press the TALK button to speak With the caller.
Press Option
Playback messages (1)
Erase all messages (2)
Record new outgoing greeting (3)
Set Pin code ( 8)
Set Time ( 9)
Erase current message (2)
Repeat current message (4)
Stop message playback (5)
Skip to next message (6)
Return to main menu (7)
To save the messages,hang up the telephone
If “3” Is pressed, (To Record New Outgoing Greeting)
1. You will hear “Record greeting after the beep. Press 5 to end recording”.
2. Record your new outgoing greeting ( up to 30 seconds ).
3. When you have finished recording your outgoing greeting, press 5.
The new outgoing greeting will play back to you.
4. After the unit plays the new greeting, it will announce, “Press 1 to play back
message,press 2 to erase all message,press 3 to record a new
greeting”.
5. Hang up the phone.
6. If you do not press a button within 10 seconds,the unit will announce
“Goodby” and disconnect the call.

58
TONE REMOTE OPERATION
NOTE:
TO EXIT THE REMOTE OPERATION,PRESS THE CID/REMOTE BUTTON AGAIN.
Important Notice
IF THE TELEPHONE RINGS WHILE YOU ARE RETRIEVING MESSAGES WITH THE
HANDSET. RETRIEVING IS TERMINATED AND THE UNIT
ANSWERS THE CALL.