KEBA Automation 0005 RFID transceiver working at 13.56 MHz User Manual kemro userid bden

KEBA AG RFID transceiver working at 13.56 MHz kemro userid bden

user manual

                Kemro K2  Kemro UserID classic / eco  User Identification System User's Manual V 1.01                   Translation of the original manual
© KEBA 2008 Specifications are subject to change due to further technical developments. Details presented may be subject to correction.  All rights reserved.  Document: version 1.01 / article no.: 1000731 Filename: kemro_userid_bden.doc, last saving on: 29. 4. 2008  A:  KEBA AG, Gewerbepark Urfahr, A-4041 Linz Tel.: +43 732 7090-0, Fax: +43 732 7309-10,  E-Mail: keba@keba.com D:  KEBA GmbH Automation, Leonhard-Weiss-Strasse 40, D-73037 Göppingen, Tel.: +49 7161 9741-0,  Fax: +49 7161 9741-40, E-Mail: keba@keba.com US:  KEBA Corp., 100 West Big Beaver Road, Troy, MI 48084, US,Tel.: +1 248 526-0561, Fax: +1 248 526-0562,  E-Mail: usa@keba.com CN:  Beijing Austrian KEBA Science and Technology Development Ltd., Room B516, Nan Xin Cang Tower, A22 Dong Si Shi Tiao, Dong Cheng District, Beijing, 100027, P.R. China,  Telefon: +86 10 6409-6592, Fax: +86 10 6409-6312, E-Mail: china@keba.com www.keba.com
User Identification System  History User's Manual, Version: 1.01  3 © KEBA 2008   History Version  Date  Changes to chapter  Description  Author V1.00 100408    New  meis V1.01 290408    Various changes  meis
History  Kemro UserID classic / eco 4  User's Manual, Version: 1.01   © KEBA 2008
User Identification System  Contents User's Manual, Version: 1.01  5 © KEBA 2008   Contents  1 Introduction......................................................................................................................9 1.1 Purpose of the document.......................................................................................9 1.2 Target groups, pre-requirements ...........................................................................9 1.3 Intended use ........................................................................................................10 1.4 Notes on this document .......................................................................................10 1.4.1 Contents of document ..............................................................................10 1.4.2 Not contained in this document................................................................10 1.5 Documentation for further reading .......................................................................11 2 Safety notes ...................................................................................................................12 2.1 Representation.....................................................................................................12 2.2 General safety instructions...................................................................................13 2.3 Personnel safety instructions ...............................................................................14 2.4 Safety instructions for maintenance.....................................................................14 3 General product description.........................................................................................15 3.1 Versions ...............................................................................................................16 3.1.1 Kemro UserID classic.....................................................................17 3.1.2 Kemro UserID eco............................................................................18 3.2 View of modules...................................................................................................19 3.2.1 Stand-alone version .................................................................................19 3.2.2 Integrable version (OEM) .........................................................................20 3.3 Recommended transponder (RFID data carrier)..................................................22 3.4 Spare parts and accessories................................................................................23 3.4.1 Connection cable......................................................................................23 3.4.2 Data disc (transponders)..........................................................................23 3.4.3 Software ...................................................................................................23 4 Mounting and installation instructions........................................................................24 4.1 Stand-alone version .............................................................................................24 4.2 Integrable versions (OEM) ...................................................................................27 4.2.1 Antenna 1 - XE020_ANT-OEM (variants B-OEM and D-OEM)................28 4.2.2 Antenna 2 - X110_ANT-OEM (Versions A-OEM and C-OEM).................29 4.2.3 Evaluation unit without housing (versions A-OEM and B-OEM) ..............31 4.2.4 Evaluation unit with housing (versions C-OEM and D-OEM)...................32 5 Show, connections and wiring.....................................................................................33 5.1 Status LED...........................................................................................................33 5.2 Connections .........................................................................................................33 5.2.1 Kemro UserID classic (stand-alone) ................................................33 5.2.2 Kemro UserID classic C-OEM / D-OEM...........................................34 5.2.3 Kemro UserID eco (stand-alone) .......................................................34 5.2.4 Kemro UserID eco C-OEM / D-OEM..................................................36
Contents  Kemro UserID classic / eco 6  User's Manual, Version: 1.01   © KEBA 2008 5.2.5 Kemro UserID classic / eco A-OEM and B-OEM........................... 36 5.2.6 Antenna 1 (XE020_ANT-OEM) ............................................................... 37 5.2.7 Antenna 2 (X110_ANT-OEM).................................................................. 37 5.3 Shield clamp........................................................................................................ 38 5.3.1 Attaching the shield clamp....................................................................... 38 5.4 Power supply....................................................................................................... 39 5.4.1 Kemro UserID classic...................................................................... 39 5.4.2 Kemro UserID eco............................................................................. 40 5.5 Serial interface RS-232 (Kemro UserID classic) ......................................... 40 5.5.1 Kemro UserID classic and Kemro UserID classic C/D-OEM .. 40 5.5.2 Kemro UserID classic A/B-OEM...................................................... 41 5.6 USB 2.0 interface (Kemro UserID eco)......................................................... 42 5.6.1 USB interface for Kemro UserID eco C-OEM / D-OEM .................... 42 5.6.2 USB interface for Kemro UserID eco A-OEM / B-OEM..................... 43 6 Installation..................................................................................................................... 44 6.1 Requirements for the target system .................................................................... 44 6.2 Installation with Microsoft Windows 2000/2003  Server/XP/XPemb/Vista........... 45 6.3 Installation with Microsoft Windows CE............................................................... 45 6.3.1 Integration into the Windows CE Image .................................................. 45 6.3.2 Later installation / installation outside the Windows CE image ............... 46 6.3.3 Module settings for the operation with Windows CE ............................... 47 7 Operating behavior....................................................................................................... 48 7.1 Start-up behavior................................................................................................. 48 7.2 Behavior in operation .......................................................................................... 49 7.2.1 Activation modes for status LED ............................................................. 51 7.2.2 Validity test .............................................................................................. 52 7.3 Range and detection ........................................................................................... 53 8 Demo application.......................................................................................................... 54 8.1 Start-up operation................................................................................................ 54 8.1.1 Prerequisites............................................................................................ 54 8.1.2 Start-up operation of system ................................................................... 55 8.2 Description of the function of the demo application............................................. 55 8.2.1 Application window.................................................................................. 55 8.2.2 Tab page Read/Write Binary Data........................................................... 57 8.2.3 Tab page Read/Write Euromap 65 Data ................................................. 59 8.2.4 Tab Settings ............................................................................................ 60 9 Function interface of device driver ............................................................................. 63 9.1 Data format.......................................................................................................... 63 9.1.1 Euromap 65 Standard ............................................................................. 63 9.1.2 Binary format ........................................................................................... 63 9.2 Data structure...................................................................................................... 63 9.2.1 Data structure TEuromapData................................................................. 64 9.2.2 Data structure TEuromapOEMData ........................................................ 66 9.2.3 Data structure TEuromapTime ................................................................ 66
User Identification System  Contents User's Manual, Version: 1.01  7 © KEBA 2008   9.2.4 Data structure TFactorySettings...............................................................66 9.2.5 Data structure TModuleSettings...............................................................67 9.2.6 Data structure TRfidDeviceName.............................................................67 9.2.7 Data structure TRfidUid............................................................................68 9.2.8 Data structure for Callback.......................................................................68 9.3 Enumeration types ...............................................................................................69 9.3.1 Call-up actions of the Event Callback.......................................................69 9.3.2 Operating state of the Status LED............................................................69 9.3.3 Color of the Status LED............................................................................69 9.4 Constants.............................................................................................................70 9.5 Functions..............................................................................................................71 9.5.1 Registration of an Event Callback ............................................................71 9.5.2 Read out list of currently connected Kemro UserID modules..............72 9.5.3 Opening a connection to a Kemro UserID module..............................72 9.5.4 Closing a connection to an opened Kemro UserID module.................72 9.5.5 Controlling the LED of the Kemro UserID module...............................73 9.5.6 Reading out current settings of the Kemro UserID module.................73 9.5.7 New settings for the Kemro UserID module ........................................74 9.5.8 Reading out the factory settings of the Kemro UserID module ...........74 9.5.9 Creating a list of currently recognized transponders................................74 9.5.10 Opening a connection to a specific transponder....................................75 9.5.11 Closing a connection to an opened transponder....................................75 9.5.12 Reading out data from a transponder.....................................................76 9.5.13 Writing data of a transponder.................................................................77 10 Diagnosis........................................................................................................................78 11 Maintenance and repair instructions...........................................................................79 11.1 Maintenance.........................................................................................................79 11.2 Repair...................................................................................................................79 11.2.1 Packaging, shipment..............................................................................79 12 Disposal..........................................................................................................................80 12.1 Disposal of the module.........................................................................................80 13 Technical data................................................................................................................81 13.1 Stand-alone versions ...........................................................................................82 13.2 OEM versions.......................................................................................................82 14 EC directives and standards ........................................................................................83 14.1 EC Directives .......................................................................................................83 14.2 Standards.............................................................................................................83 14.2.1 R & TTE .................................................................................................83 14.2.2 Other Standards and recommendations ................................................83 14.2.3 Environmental and surrounding conditions ............................................84 14.3 Standards for the American market .....................................................................84 14.3.1 UL test for industrial control equipment..................................................84 14.3.2 FCC........................................................................................................84
Contents  Kemro UserID classic / eco 8  User's Manual, Version: 1.01   © KEBA 2008
User Identification System  Introduction User's Manual, Version: 1.01  9 © KEBA 2008   1 Introduction 1.1  Purpose of the document This document describes the products Kemro UserID classic and Kemro UserID eco.   This manual enables the user to operate the above-mentioned products and integrate them into the existing control and visualization system. 1.2  Target groups, pre-requirements This document is made for the following persons with adequate skill pre-requirements:  Target group  Knowledge and skills pre-requirements Project engineer  •  Basic technical training (University of Applied Science/University level or corresponding professional experience),  • Knowledge in: • working mode of a PLC,  • safety instructions, • the application. Operator  •  Basic technical training (Vocational high school, engineer training or corresponding professional experience).  • Knowledge in: • safety instructions, • working mode of machine or plant,  • principal functions of the application, • system analysis and troubleshooting,  • setting options at the operating installations. Service technician  •  Basic technical training (Vocational high school, engineer training or corresponding professional experience).  • Knowledge in: • working mode of a PLC,  • safety instructions, • working mode of machine or plant,  • Diagnosis possibilities, • systematic error analysis and rectification.   Information To integrate the Kemro UserID into an existing system does not require knowledge about RFID technology and the EUROMAP 65 standard. The necessary information is provided in respective chapter.
Introduction  Kemro UserID classic / eco 10  User's Manual, Version: 1.01   © KEBA 2008 1.3 Intended use Kemro UserID is used in applications for user identification at industrial plants and machines. The typical applications areas include injection mold-ing machines, robots, presses, machine tools, machines / systems in the foodstuffs/luxury foodstuffs and pharmacy industries and similar.  Kemro UserID was developed, manufactured, tested and documented in accordance with the appropriate safety standards. Provided, therefore, that the instructions and safety precautions relating to the intended use are pro-perly observed, under normal circumstances the products do not represent any danger to the health of personnel or a risk of damage to other property or equipment.  Information KEBA assumes no liability for damages resulting from non-observance of safety instructions or improper use.  1.4  Notes on this document This manual is part of the product. It must be retained over the whole life-time and if necessary referred to subsequent owners or users of the prod-uct. 1.4.1  Contents of document z Description of the product and its function z Installation guidelines (mounting, cabling) z Description of operating behavior z Description of an example application z Description of function interface z Technical data 1.4.2  Not contained in this document z Description of the integration packages Integration packages are collections of modules that assist with the in-tegration of the Kemro UserID products into the visualization system used on the customer side. z Description of the Kemro.userID secure+ version
User Identification System  Introduction User's Manual, Version: 1.01  11 © KEBA 2008   1.5  Documentation for further reading Doc.No.  Description  Target group DE: 1000732 EN: 1000733  Kemro.userID secure+ User's manual  • Project engineer • Commissioner • Service technician   User's manuals Kemro.userID Integration package • Project engineer • Commissioner
Safety notes  Kemro UserID classic / eco 12  User's Manual, Version: 1.01   © KEBA 2008 2 Safety notes 2.1 Representation At various points in this manual you will see notes and precautionary warn-ings regarding possible hazards. The symbols used have the following meaning:  ! DANGER! • indicates an imminently hazardous situation which, if not avoided, will result in death or serious injury.  ! WARNING! • indicates a potentially hazardous situation which, if not avoided, could result in death or serious injury.  ! CAUTION! • means that if the corresponding safety measures are not taken a poten-tially hazardous situation can occur which, if not avoided, may result in property damage or slight bodily injury.   NOTICE • NOTICE used without the safety alert symbol indicates a potentially hazardous situation which, if not avoided, may result in property dam-age.   • This symbol reminds you of the possible consequences of touching electrostatically sensitive components.   Information Information on use of equipment and useful practical tips is identified by the symbol "Information". "Information" items do not contain any information that draws attention to potentially dangerous or harmful functions.
User Identification System  Safety notes User's Manual, Version: 1.01  13 © KEBA 2008   2.2  General safety instructions ! WARNING! • The following application areas are expressly excluded for Kemro UserID:  • Use in explosive or fire-risk areas • Use in mining • Outdoor use  • Kemro UserID are not allowed to be used for safety-relevant applica-tions or safety functions (e.g. shutdown in emergency).  Other products are to be used for the above applications! For further information, see EN 954-1 (EN ISO 13849-1).  ! CAUTION! • Arbitrary or unsanctioned modifications to the device are prohibited. This leads to the expiration of the conformity with the legal regulations as well as loss of guarantee and warranty claims.   NOTICE • Kemro UserID corresponds partially or completely to an "open type equipment" (according to UL 508), depending on version, and must the-refore be installed in a control cabinet or suitable housing. Further information: See chapter Fehler! Verweisquelle konnte nicht ge-funden werden..    • When removed from the rack, the integrable versions (OEM) are sensi-tive to electrostatic discharge. Before handling the module, touch a grounded metal object in order to discharge any static electricity from your body.
Safety notes  Kemro UserID classic / eco 14  User's Manual, Version: 1.01   © KEBA 2008 2.3 Personnel safety instructions ! WARNING! Danger of personal injury due to electric shock! • Supply the Kemro UserID exclusively from power sources that have a protective low voltage (e.g. SELV according to EN 60950-1) • Connect only voltages and power circuits to connections, terminals and interfaces up to 50 V rated voltage that have a secure disconnect for hazardous voltages (e.g. with sufficient isolation).  ! CAUTION! Fire hazard with module failure! • Provide suitable fuses for the 24 V DC power supply of the final appli-cation. The maximum allowable fuse is 10 A!  2.4  Safety instructions for maintenance ! CAUTION! • Always turn off the power supply before mounting and dismounting the Kemro UserID. Otherwise, the module can be destroyed or undefined signal states can lead to damage of the control system.  ! CAUTION! • The device may only be opened by qualified personnel and only main-tenance activities expressly approved by KEBA may be performed (see chapter “Service notes”).    • Protective measures against electrostatic discharge must be used (elec-trostatic wristband, service mat) when performing maintenance and service work. • Do not touch the parts on the modules unless it is unavoidable. • Turn off the power supply on the device before inserting or removing the modules.
User Identification System  General product description User's Manual, Version: 1.01  15 © KEBA 2008   3  General product description Kemro UserID is a system for easy and fast identification of users of in-dustrial plants and machines. Process-related and frequent login and logoff operations can be carried out reliably and efficiently.  User data stored on a card are transferred via non-contact RFID technology to the control system of the plant or machine. The entry of passwords is no longer necessary with Kemro UserID. This substantially increases the security and transparency of the machines and plants.  Kemro UserID is available in different versions (see chapter V) and can therefore be used for variety of applications.   Next to the hardware components, Kemro UserID also contains device drivers for different operating systems. The device drivers have interfaces that are easy to use for integration with all common visualization systems. A pre-fabricated set of commands is available for user identification to facili-tate the integration into a system.  In addition to the device drivers, comprehensive integration packages are available for various, commercially available visualization systems. These integration packages contain custom-made components for the simple in-tegration of the Kemro UserID modules in the various visualization sys-tems and present their versatile application options in an array of descrip-tive application examples.  Details: See manuals for Kemro UserID integration packages
General product description  Kemro UserID classic / eco 16  User's Manual, Version: 1.01   © KEBA 2008 3.1 Versions The product versions are basically divided into the following two groups:  z "Stand-alone" versions: All Kemro UserID stand-alone products are installed well protected in rugged and compact housings. Their integration is simple and just as problem-free with regard to retrofitting existing machines.   z Integrable versions (OEM): For integrable Kemro UserID products, the installation is made di-rectly in the customer's system, without interfering edges or gaps, which effectively reduces contamination of the devices. The antenna for this is integrated directly in the housing of the machine or the visualization de-vice.  All OEM versions are available with different antennae and with or with-out metal housing.  The Kemro UserID product line consists of the following versions:  Stand-alone version  Integrable version Kemro UserID classic • Serial interface • Module and antenna in a common housing • Rugged housing (Front side: IP65)  Kemro UserID classic OEM • Serial interface • For installation in machinery and plants • Antennas can be remotely positioned from the module  Kemro UserID eco • USB interface • Module and antenna in a common housing • Rugged housing (Front side: IP65)  Kemro UserID eco OEM • USB interface • For installation in a machinery and plants • Antennas can be remotely positioned from the module   Information A further system version is Kemro UserID secure+. This additionally offers a special encoding feature for increasing data security. This version is not described in this manual due to the technical differences (see chapter Documentation for further reading).
User Identification System  General product description User's Manual, Version: 1.01  17 © KEBA 2008   3.1.1 Kemro UserID classic  Material No.  Name  Description 074223   Kemro UserID classic  (IC 140/A) RFID read/write unit  •  Stand-alone version with complete electronics in compact plastic housing  •  Serial interface  •  Connector plug: 9 pole D-SUB (fe-male) and 2 pole male connector (supply) •  without connection cable   074224   Kemro UserID classic A-OEM (IC 140/A-OEM) RFID read/write unit  •  without sheet metal housing for evalu-ation unit •  Serial interface  •  Antenna 2 (L x W = 50 mm x 30 mm)  •  Connecting plug:  Terminal block  •  without connection cable  •  Shield clamp for the shield connection (with fixing screw) •  Connection cable evaluation unit – Antenna (coax cable and LED con-nection cable)  074225   Kemro UserID classic B-OEM (IC 140/B-OEM) RFID read/write unit  •  without sheet metal housing for evalu-ation unit •  Serial interface  •  Antenna 1 (L x W = 57 mm x 53 mm) •  Connecting plug:  Terminal block  •  without connection cable  •  Shield clamp for the shield connection (with fixing screw) •  Connection cable evaluation unit – Antenna (coax cable and LED con-nection cable)  074226   Kemro UserID classic C-OEM (IC 140/C-OEM) RFID read/write unit  •  incl. sheet metal housing for evalua-tion unit  • Serial interface •  Antenna 2 (L x W = 50 mm x 30 mm)  •  Connecting plug:  9 pole D-SUB (fe-male) and 2 pole male connector (supply)  •  without connection cable  •  Connection cable evaluation unit – Antenna (coax cable and LED con-nection cable)
General product description  Kemro UserID classic / eco 18  User's Manual, Version: 1.01   © KEBA 2008 Material No.  Name  Description 074227   Kemro UserID classic D-OEM (IC 140/D-OEM) RFID read/write unit  •  incl. sheet metal housing for evalua-tion unit •  Serial interface  •  Antenna 1 (L x W = 57 mm x 53 mm)  •  Connecting plug:  9 pole D-SUB (fe-male) and 2 pole male connector (supply)  •  without connection cable  •  Connection cable evaluation unit – Antenna (coax cable and LED con-nection cable)   3.1.2 Kemro UserID eco  Material No.  Name  Description 074229   Kemro UserID eco (IE 160/A ) RFID read/write unit • USB interface •  Stand-alone version with complete electronics in compact plastic housing •  Connecting plug: USB Type B •  without connection cable   074230   Kemro UserID eco A-OEM  (IE 160/A-OEM) RFID read/write unit • USB interface •  Antenna 2 (L x W = 50 mm x 30 mm) •  Connecting plug: Terminal block •  without sheet metal housing for evalu-ation unit •  without connection cable  •  Connection cable evaluation unit – Antenna (coax cable and LED con-nection cable)  074231   Kemro UserID eco B-OEM  (IE 160/B-OEM) RFID read/write unit • USB interface •  Antenna 1 (L x W = 57 mm x 53 mm) •  Connecting plug: Terminal block •  without sheet metal housing for evalu-ation unit •  without connection cable  •  Connection cable evaluation unit – Antenna (coax cable and LED con-nection cable)
User Identification System  General product description User's Manual, Version: 1.01  19 © KEBA 2008   Material No.  Name  Description 074232   Kemro UserID eco C-OEM  (IE 160/C-OEM) RFID read/write unit • USB interface •  Antenna 2 (L x W = 50 mm x 30 mm) •  Connecting plug: USB Type B •  incl. sheet metal housing for evalua-tion unit •  without connection cable  •  Connection cable evaluation unit – Antenna (coax cable and LED con-nection cable)  074233   Kemro UserID eco D-OEM  (IE 160/D-OEM ) RFID read/write unit • USB interface •  Antenna 1 (L x W = 57 mm x 53 mm) •  Connecting plug: USB Type B •  incl. sheet metal housing for evalua-tion unit •  without connection cable  •  Connection cable evaluation unit – Antenna (coax cable and LED con-nection cable)   3.2 View of modules 3.2.1 Stand-alone version  Stand-alone version (Kemro UserID classic / eco)
General product description  Kemro UserID classic / eco 20  User's Manual, Version: 1.01   © KEBA 2008 3.2.2 Integrable version (OEM) 3.2.2.1  Kemro UserID classic / Kemro UserID eco A-OEM Scope of delivery: z Read/write unit without sheet metal housing for the evaluation unit z Antenna 2 (L x W = 50 mm x 30 mm) z Connecting cable evaluation unit -> antenna z Shield clamp with fixing screw (shield connection)  Kemro UserID classic / Kemro UserID eco A-OEM 3.2.2.2  Kemro UserID classic / Kemro UserID eco B-OEM Scope of delivery: z Read/write unit without sheet metal housing for the evaluation unit z Antenna 1 (L x W = 57 mm x 53 mm) z Connecting cable evaluation unit -> antenna z Shield clamp with fixing screw (shield connection)  Kemro UserID classic / Kemro UserID eco B-OEM
User Identification System  General product description User's Manual, Version: 1.01  21 © KEBA 2008   3.2.2.3  Kemro UserID classic / Kemro UserID eco C-OEM Scope of delivery: z Read/write unit with sheet metal housing for the evaluation unit z Antenna 2 (L x W = 50 mm x 30 mm) z Connecting cable evaluation unit -> antenna  Kemro UserID classic / Kemro UserID eco C-OEM Information The version Kemro UserID classic OEM only differs from the shown Kemro UserID eco OEM version by the different data interfaces. 3.2.2.4  Kemro UserID classic / Kemro UserID eco D-OEM Scope of delivery: z Read/write unit with sheet metal housing for the evaluation unit z Antenna 1 (L x W = 57 mm x 53 mm) z Connecting cable evaluation unit -> antenna  Kemro UserID classic / Kemro UserID eco D-OEM Information The version Kemro UserID classic OEM only differs from the shown Kemro UserID eco OEM version by the different data interfaces.
General product description  Kemro UserID classic / eco 22  User's Manual, Version: 1.01   © KEBA 2008 3.3  Recommended transponder (RFID data carrier) Kemro UserID classic or Kemro UserID eco is for use with ISO/IEC 15693 compatible transponders (tags) designed with at least 256 bit freely writable memory.  Transponders with the following transponder chips are approved: z Tag-it HF I Plus (Texas Instruments) z Tag-it HF I Standard (Texas Instruments) z I-Code SLI SL2 ICS20 (Philips)  Different transponder designs can be obtained directly from KEBA. The cor-rect functioning of these transponders is guaranteed by KEBA through comprehensive system tests. For an overview of all available transponders, please see the chapter "Data disc (transponders)". If other transponders are to be used, these are to be approved by KEBA.
User Identification System  General product description User's Manual, Version: 1.01  23 © KEBA 2008   3.4  Spare parts and accessories 3.4.1 Connection cable Material No.  Name  Description on request  Serial data cable, 1 m  D-Sub 9-pin plug/socket, 1 m  074212   Serial data cable, 3.6 m   D-Sub 9-pin plug/socket, 3.6 m on request  Serial data cable, 5 m   D-Sub 9-pin plug/socket, 5 m 073384   USB data cable, USB type A/type B, 2 m  USB-A-USB-B 2.0 m 070780   USB data cable, USB type A/type B, 4 m  USB-A-USB-B 4.0 m 069145   USB data cable, USB type A/type B, 4.6 m  USB-A-USB-B 4.6 m   Information To ensure a proper functioning, we recommend using the cables specified above.  3.4.2  Data disc (transponders) Material No.  Name  Description 074665   XC140/A  Check card transponder unprinted, 2kBit on request  XC140/Z  Check card transponder, printed (4-color), 2 kBit 074662   XC240/A  Key ring transponder unprinted, 2kBit  on request  XC240/Z   Key ring transponder, printed (4-color), 2 kBit 074710   XC340/A   Wristband transponder unprinted, 2kBit  on request  XC340/Z   Wristband transponder, printed (4-color), 2 kBit   3.4.3 Software Material No.  Name  Description 074345  Kemro UserID Device driver CD-Rom Device driver for the product line Kemro UserID, suitable for instal-lation in all Windows-based devel-opment environments. 074346  Kemro UserID Integration packages CD-ROM  Kemro UserID Integration pack-ages for the easy installation in current visualization systems
Mounting and installation instructions  Kemro UserID classic / eco 24  User's Manual, Version: 1.01   © KEBA 2008 4  Mounting and installation instructions In order to guarantee the defined range of the antenna (see chapter Technical data) and ensure an error-free operation, observe the installation instructions listed in this chapter.  Information The range is largely dependent on the installation situation. (see chapter Range and detection)  4.1 Stand-alone version  NOTICE • The Kemro UserID stand-alone version is defined as "open type equipment" (according to UL 508). After mounting the front side rates as part of the final casing to a "type 1" indoor use (according to UL 508) or the protection type IP65.  Dimensions: 25,134,624,1 10,57738,512573854,4453 Dimensions (in mm)
User Identification System  Mounting and installation instructions User's Manual, Version: 1.01  25 © KEBA 2008   5743Cut-Out Dimension of the opening for the installation (in mm)  Information The edges of the opening must be deburred to prevent damage to the de-vice that might occur otherwise.
Mounting and installation instructions  Kemro UserID classic / eco 26  User's Manual, Version: 1.01   © KEBA 2008 Installation 12435 1.  Create an opening with a size of 57 mm x 43 mm. 2.  Remove the product from the packaging 3.  Take off front cover (by pressing the clip 2 in the direction of the arrow) 4.  Fit module (without front cover) in the opening 1. Information The wall strength of the carrier material 5 can amount to 1.5 mm and 6 mm.  5.  Press in the clip of the mounting bracket and hold pressed 2 6.  Stick the front cover onto the module from the front side 3. 7.  Tighten both retaining screws (max. 0.5 Nm) 4.   NOTICE • The housing can be damaged by tightening the retaining screws too tightly.
User Identification System  Mounting and installation instructions User's Manual, Version: 1.01  27 © KEBA 2008   4.2  Integrable versions (OEM) General installation instructions for all integrable versions: z No metal may be located in front of the antenna print (from the perspec-tive of the user).  z The larger the distance is between the antenna print and the metallic environment, the greater the range. z The back side of the antenna print and the evaluation electronics must be protected against touching by a metallic cover. The distance to the back side of the antenna print must be at least 2.5 cm.   • The module and the antenna are sensitive to electrostatic discharge and thus corresponding ESD protection measures must be taken. (ground strap)   NOTICE • The operation of the module is only approved with the supplied anten-nas. Arbitrary or unsanctioned modifications to the module or the an-tenna are prohibited and will lead to the loss of the operating license.   NOTICE • The Kemro UserID OEM-version is defined as "open type equipment" (according to UL 508) so that it must be installed in a control cabinet or in other suitable housings.  Information • Not observing the installation instructions will result in a loss of guaran-tee and warrantee claims. • The manufacturer is responsible for the compliance with the corre-sponding standards of the complete device for the integration of OEM modules.
Mounting and installation instructions  Kemro UserID classic / eco 28  User's Manual, Version: 1.01   © KEBA 2008 4.2.1  Antenna 1 - XE020_ANT-OEM (variants B-OEM and D-OEM)  57536,56,5103,3 Antenna 1 - XE020_ANT-OEM (dimensions in mm) Information The thickness of the circuit board varies over ±10%, this must be reconsid-ered for mounting the circuit board into the front plate. (see following figure) 4.2.1.1  Antenna 1: Installation example 5678921 3452167727min. 25 mmdepends oncircuit board57434753 1  Antenna 1 (XE020_ANT-OEM) antenna module 2  Adhesive strips between antenna module and front plate 3  Opening in the front plate 4 Front film 5  Front plate (aluminum material) at least 5 mm thick 6 Antenna 7 Metallic cover Installation example of the antenna 1 (back view) (dimensions in mm)
User Identification System  Mounting and installation instructions User's Manual, Version: 1.01  29 © KEBA 2008   4.2.2  Antenna 2 - X110_ANT-OEM (Versions A-OEM and C-OEM)  12,932215,620,81,610 Antenna 2 - X110_ANT-OEM Antenna - dimensions (in mm) Information The thickness of the circuit board varies over ±10%, this must be reconsid-ered for mounting the circuit board into the front plate. 4.2.2.1  Antenna 2: Installation example 123456min. 25 mm245663255035  1 ... Front film (plastic) 2 ... Front plate 3 ... Metallic cover (contact protection) 4 ... Antenna 2 (X110_ANT-OEM) antenna module 5 ... Plastic clip *) 6 ... Screw  *) To prevent a restriction of the range, the support clip must never be made of a metallic material.  Installation example of the antenna 2 (back view) (dimensions in mm)
Mounting and installation instructions  Kemro UserID classic / eco 30  User's Manual, Version: 1.01   © KEBA 2008
User Identification System  Mounting and installation instructions User's Manual, Version: 1.01  31 © KEBA 2008   4.2.3  Evaluation unit without housing (versions A-OEM and B-OEM)  4 470424450 Dimensions of the evaluation unit without housing (versions A-OEM and B-OEM) (dimensions in mm)  4.2.3.1  Evaluation unit without housing - installation example  101 23 42  1 Evaluation unit (print) 2 Screw 3 Spacer bolts 4 Carrier material Evaluation unit without housing - installation example
Mounting and installation instructions  Kemro UserID classic / eco 32  User's Manual, Version: 1.01   © KEBA 2008 4.2.4 Evaluation unit with housing (versions C-OEM and D-OEM)  745484944,5 Dimensions of the evaluation unit with housing (versions C-OEM and D-OEM) (dimensions in mm)  4.2.4.1 Installation The evaluation unit with housing can be screwed to any level carrier mate-rial using 2 M4 screws.
User Identification System  Show, connections and wiring User's Manual, Version: 1.01  33 © KEBA 2008   5  Show, connections and wiring 5.1  Status LED  A three-color status LED to display the status is mounted on the housing front of the stand-alone version or on the antenna module of the integrated versions (OEM).  Information The conditions of the status LED are described in chapter Diagnosis.  5.2 Connections 5.2.1  Kemro UserID classic (stand-alone) 24/12V0VRS23212 1 … Voltage supply 24/12 V (2-pole plug) 2 … Serial interface (D-Sub socket 9-pole) Kemro UserID classic, back view
Show, connections and wiring  Kemro UserID classic / eco 34  User's Manual, Version: 1.01   © KEBA 2008 5.2.2  Kemro UserID classic C-OEM / D-OEM  24/12V0VRS232ANTLED1234 1 … Voltage supply 24/12 V (2-pole plug) 2 … Serial interface (D-Sub socket 9-pole) 3 … ANT, plug for antenna cable 4 … LED, plug for status LED Kemro UserID classic C-OEM / D-OEM 5.2.3  Kemro UserID eco (stand-alone)  USB1 1 … USB interface (type B) Kemro UserID eco, back view
User Identification System  Show, connections and wiring User's Manual, Version: 1.01  35 © KEBA 2008
Show, connections and wiring  Kemro UserID classic / eco 36  User's Manual, Version: 1.01   © KEBA 2008 5.2.4  Kemro UserID eco C-OEM / D-OEM  USBANTLED123 1 … USB interface (type B) 2 … ANT, plug for antenna cable 3 … LED, plug for status LED Kemro UserID eco C-OEM / D-OEM 5.2.5  Kemro UserID classic / eco A-OEM and B-OEM 1132 1 … LED, plug for status LED 2 … ANT, plug for antenna cable 3 … S1, terminal block for data interface (eco and classic) and voltage supply   (classic only) Kemro UserID classic / eco A-OEM and B-OEM
User Identification System  Show, connections and wiring User's Manual, Version: 1.01  37 © KEBA 2008    5.2.6  Antenna 1 (XE020_ANT-OEM) 12 1 … ANT … connection for antenna cable 2 … LED ... Connection for status LED cable Antenna 1 (XE020_ANT-OEM)   5.2.7  Antenna 2 (X110_ANT-OEM) 12 1 … ANT, connection for antenna cable 2 … LED, connection for status LED cable Antenna 2 (X110_ANT-OEM)
Show, connections and wiring  Kemro UserID classic / eco 38  User's Manual, Version: 1.01   © KEBA 2008 5.3 Shield clamp Information The shield clamp is used for grounding and must never be used as strain relief. 5.3.1  Attaching the shield clamp Proceed as follows to connect the cable to the terminal block and subse-quently attach the shield clamp:  1. Strip the insulation off the cable end.    2. Fold back the shielding braid and shielding foil.    3. Attach conductive textile-backed strip.    4. Strip the insulation off the pins.    5. Connect the pins to the ter-minal block according to the pin assignment.    6. Attach the shield clamp to the print using fixing screw.    The cable is now connected and the shield clamp is connected with the print.
User Identification System  Show, connections and wiring User's Manual, Version: 1.01  39 © KEBA 2008   5.4 Power supply 5.4.1  Kemro UserID classic All Kemro UserID classic modules can be optionally supplied with +24 V DC  or +12 V DC.  Depending on the module version, the voltage supply occurs either via a plug or a terminal block.  Kemro UserID classic stand-alone, C-OEM / D-OEM:  24 / 12 V DC0 V (GND)  Plug for the voltage supply (24/12V) for Kemro UserID classic stand-alone C-OEM / D–OEM  Kemro UserID classic A-OEM / B-OEM:  1624 / 12 V DC 0 V (GND) Terminal block S1 for Kemro UserID classic A-OEM / B-OEM
Show, connections and wiring  Kemro UserID classic / eco 40  User's Manual, Version: 1.01   © KEBA 2008 5.4.2  Kemro UserID eco All Kemro UserID eco modules are supplied with voltage directly via the USB interface.  Kemro UserID eco modules can only be connected to USB devices that fulfill the high power standard, i.e. a voltage supply of 500 mA is guaran-teed.  5.5  Serial interface RS-232 (Kemro UserID classic) 5.5.1  Kemro UserID classic and Kemro UserID classic C/D-OEM  5196 9-pole DSUB female connector (S3)  Pin  Description 1 -- 2 RxD 3 TxD 4 -- 5 0V (GND) 6 -- 7  (RTS) is not used 8  (CTS) is not used 9 --  5.5.1.1  Cable and plug specification: Cable type Shielded standard cable.  Plug type 9-pole D-SUB male connector with completely conductive shell.  The cable shielding must be connected plane with the shield cover of the plug.
User Identification System  Show, connections and wiring User's Manual, Version: 1.01  41 © KEBA 2008   Cable length tested up to 30 m  Minimum bend radius Minimum bend radius during installation: 60 mm Minimum bend radius for installed cable: 50 mm  5.5.2  Kemro UserID classic A/B-OEM  16 Terminal block S1  Terminal  Description 1 +24/12V 2 0V (GND) 3 CTS 4 RxD 5 TxD 6 RTS  5.5.2.1  Cable and plug specification: Cable type Shielded standard cable.  Cable length tested up to 30 m  Minimum bend radius Minimum bend radius during installation: 60 mm Minimum bend radius for installed cable: 50 mm
Show, connections and wiring  Kemro UserID classic / eco 42  User's Manual, Version: 1.01   © KEBA 2008 5.6  USB 2.0 interface (Kemro UserID eco) Kemro UserID eco is a high-power USB device and has a standard USB 2.0 interface. The USB master interface to which the Kemro UserID eco - module is connected must be able to supply this with 500 mA (high-power). 5.6.1  USB interface for Kemro UserID eco C-OEM / D-OEM  2134 USB interface type B Pin  Description 1 Vbus (+5V) 2 D- 3 D+ 4  0 V (GND)  5.6.1.1  Cable and plug specification: Cable type Shielded USB cable, twisted pair data cables with a characteristic imped-ance of 90 Ohm +/- 15%.  Cable length tested up to 5 m
User Identification System  Show, connections and wiring User's Manual, Version: 1.01  43 © KEBA 2008   5.6.2  USB interface for Kemro UserID eco A-OEM / B-OEM 16 Terminal block S1  Terminal  Description 1 0V (GND) 2 D+ 3 D- 4 0V (GND) 5 0V (GND) 6 5V  5.6.2.1  Cable and plug specification: Cable type Shielded USB cable, twisted pair data cables with a characteristic imped-ance of 90 Ohm +/- 15%. Plug type Standard USB connector type B with fully conductive shell.  The cable shielding must be connected plane with the shield cover of the plug.   Cable length tested up to 5 m
Installation  Kemro UserID classic / eco 44  User's Manual, Version: 1.01   © KEBA 2008 6 Installation Generally the Kemro UserID can be integrated with every system that, depending on the product version, has a serial interface or USB interface with a host function (master) and is supported by the operating system.  The device drivers supplied are suitable for the following operating sys-tems:  z Microsoft Windows XP z Microsoft Windows XP emb. z Microsoft Windows CE 5.x z Microsoft Windows Vista z Microsoft Windows 2000  z Microsoft Windows Server 2003   When integrating serial Kemro UserID modules in systems conforming to EN 61131, the following additional operating systems are possible:  z Linux z VxWorks  6.1  Requirements for the target system Before installing the Kemro UserID one of the following operating sys-tems must have been fully installed in the target system:  z Microsoft Windows XP SP2 z Microsoft Windows XP emb. z Microsoft Windows CE 5.x z Microsoft Windows Vista z Microsoft Windows 2000 SP4 z Microsoft Windows Server 2003   In case of product version Kemro UserID eco the following additional requirement must be met:  z USB interface (host controller / master, type A socket, the interface can supply high-power devices with 500 mA current consumption)
User Identification System  Installation User's Manual, Version: 1.01  45 © KEBA 2008   6.2  Installation with Microsoft Windows 2000/2003  Server/XP/XPemb/Vista  1.)  Start target system.   2.)  Insert  Kemro UserID installation CD into the CD drive.   3.)  Start installation by calling up the file INSTALL_device_driver.cmd (directory <Kemro UserID CD>\drivers\Win_XP_Vista).   4.)  Re-start  system.  The drivers necessary for operation are installed and Kemro UserID can now be used from all windows-based application development systems. 6.3  Installation with Microsoft Windows CE 6.3.1 Integration into the Windows CE Image  1.)  Start target system.   2.)  Copy the files  SIUSBXP.dll SIUSBXP_LIB.dll UIDDRV_RfbCommUsb.dll UIDDRV_RfbMaster.dll UIDDRV_RfbInterface.dll UIDDRV_RfidInterface.dll UIDDRV_RfidService.dll    of directory <Kemro UserID CD>\drivers\win_ce into directory \Windows of the target system.  3.)  Take over the registry entries from files SIUSBXP.reg and  UIDDRV_Win32ce_RfidService.reg.  Here the Dll entries are to be set on \Windows\SIUSBXP.DLL or \Windows\UIDDRV_RfidService.dll (in the platform builder).  4.)   Create Windows CE Image in the platform builder.  The drivers necessary for operation are installed and Kemro UserID can now be used from all windows-based application development systems.
Installation  Kemro UserID classic / eco 46  User's Manual, Version: 1.01   © KEBA 2008 6.3.2  Later installation / installation outside the Windows CE image  1.)  Start target system.  2.)   Copy the files SIUSBXP.dll SIUSBXP_LIB.dll UIDDRV_RfbCommUsb.dll UIDDRV_RfbMaster.dll UIDDRV_RfbInterface.dll UIDDRV_RfidInterface.dll UIDDRV_RfidService.dll   of directory <Kemro UserID CD>\drivers\win_ce into a non-volatile directory (e.g. flash drive, a hard disc or a battery-buffered Ram)  3.)  Take over the registry entries of file UIDDRV_Win32ce_RfidService.reg into the registry of the target system and at the same time change the path of entry Dll to the path under which file UIDDRV_RfidService.dll was stored . The registry can be edited via a remote registry editor if the target system has no registry editor available. The suitability of the editor depends on the Windows CE image and the CPU used. Additional in-formation is available from the manufacturer of the target system. 4.)  Now connect the Kemro UserID module to the target system. The target system will now display a dialog in which you are requested to enter the driver for the new device. Now specify the file <pfad>\SIUSBXP.dl, which could not be copied into the non-volatile directory of the target system.   If this dialog is not displayed the registry key [HKEY_LOCAL_MACHINE\DRIVERS\USB\LoadClients\Default\Default\255] is to be deleted in the target system with the aid of the registry editor. The connecting cable to the Kemro UserID mo-dule must then be unplugged and again plugged in. The dialog should now be displayed.  5.)  Re-start the target system.  The drivers necessary for operation are installed and Kemro UserID can now be used from all windows-based application development systems.
User Identification System  Installation User's Manual, Version: 1.01  47 © KEBA 2008   6.3.3  Module settings for the operation with Windows CE In order to keep the system capacity low with the use of the device driver, we recommend setting the inventory cycle (cycle time with which the mod-ule is polled by the driver via identified cards) to 300 ms (default value:  50 ms). This setting can be carried out using the demo application (see chapter Tab Settings). Moreover, the inventory cycle can also be set directly via the de-vice driver (see chapter New settings for the Kemro UserID module).
Operating behavior  Kemro UserID classic / eco 48  User's Manual, Version: 1.01   © KEBA 2008 7 Operating behavior 7.1 Start-up behavior During the startup of the Kemro UserID module, states are displayed in the following order by the status LED:   Step  Display  Description 1 off (continuous)  Only for Kemro UserID eco: Module from device driver not yet detected and swit-ched on.  Only for Kemro UserID classic: Once the module is supplied with voltage, the status LED lights up red and the firmware is loaded (step 2) 2 red (continuous)  Firmware is loaded 3 orange (continuous) Firmware is loaded, data communication with device driver on the host system is established 4  green / orange (blinking)  Supply and data communication with device driver on the host system exists  After completion of the startup, the LED can either be set individually by the driver or through a communication interface by the application (see chapter Activation modes for status LED).
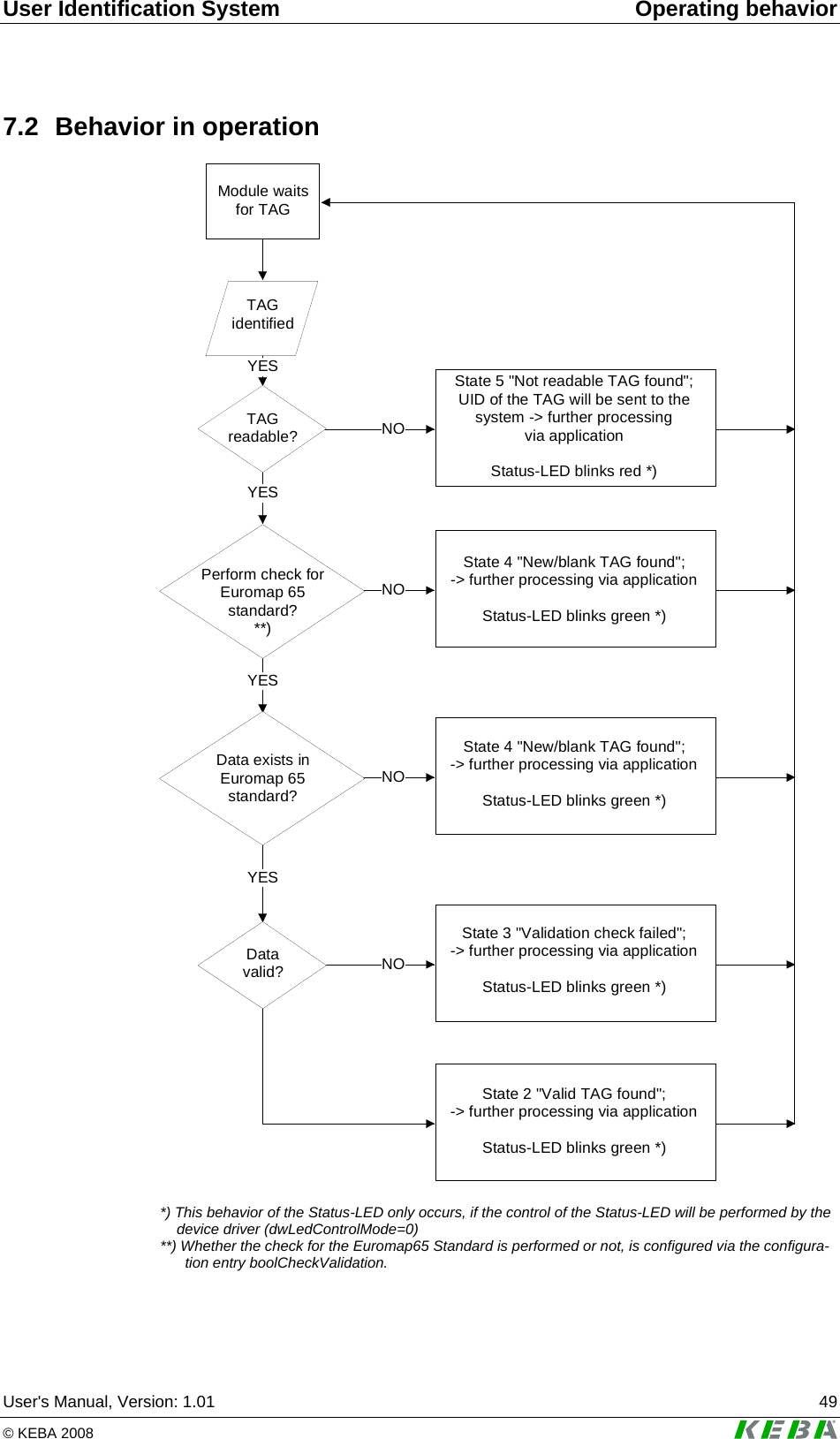
User Identification System Operating behavior User's Manual, Version: 1.01  49 © KEBA 2008   7.2  Behavior in operation Module waitsfor TAGTAGidentifiedTAGreadable?Perform check forEuromap 65standard?**)Data exists inEuromap 65standard?Datavalid?YESYESYESYESNONONONOState 5 "Not readable TAG found";UID of the TAG will be sent to thesystem -> further processingvia applicationStatus-LED blinks red *)State 4 "New/blank TAG found";-> further processing via applicationStatus-LED blinks green *)State 4 "New/blank TAG found";-> further processing via applicationStatus-LED blinks green *)State 3 "Validation check failed";-> further processing via applicationStatus-LED blinks green *)State 2 "Valid TAG found";-> further processing via applicationStatus-LED blinks green *)  *) This behavior of the Status-LED only occurs, if the control of the Status-LED will be performed by the device driver (dwLedControlMode=0) **) Whether the check for the Euromap65 Standard is performed or not, is configured via the configura-tion entry boolCheckValidation.
Operating behavior  Kemro UserID classic / eco 50  User's Manual, Version: 1.01   © KEBA 2008 Information For a detailed description of the individual status messages, see the chap-ter Call-up actions of the Event Callback.  The operating behavior of the started up Kemro UserID modules is de-pendent on their configuration. Configurations in all Windows-based devel-opment environments for the following parameters can be determined via a predefined data structure (see chapter Data structure TModuleSettings):  z dwLedControlMode This determines how the status LED is controlled after successful star-tup.  z boolCheckValidation This determines whether a validity test according to Euromap 65 guide-line is to occur.  Via a function of the device driver from the Kemro UserID module, the selected configuration can be read and also written to this (see chapter Call-up actions of the Event Callback).
User Identification System Operating behavior User's Manual, Version: 1.01  51 © KEBA 2008   7.2.1 Activation modes for status LED Two operation types result by the setting of the parameter dwLedCon-trolMode for the signaling of the Kemro UserID modules through the status LED:   z Operation type 0 (status on delivery)   The device driver controls the status LED according to the schema shown below. The read/write functions on the status LED from the ap-plication remain without effect.   LED signals  Designation / description LED green (continuous)  Default behavior if valid module detected LED green (blinking, max. 3 sec.)  Readable transponder detected The status LED blinks green as long as the trans-ponder is within reading range (max. 3 sec.) LED red (blinking, max. 3 sec.)  Transponder could not be read; unsupported trans-ponder type The status LED blinks red as long as the transponder is within reading range (max. 3 sec.)  Information The signaling via the status LED merely provides information about whether a transponder was able to be read correctly. Whether the stored used on the transponder can actually be logged in on the system is not sig-naled in this operating mode.   z Operating mode 1 status LED is controlled by the application. In this was, the LED can be arbitrarily set by the application via the corresponding read/write func-tions. An individual formation of the acknowledgement can thus be real-ized through the status LED.  Information The data basis for the user data is stored in the control or visualization sys-tem and is retrievable by the associated application. Thus, the validity of user data can be checked in the application and signaled via driver inter-face through the status LED of the Kemro UserID module.
Operating behavior  Kemro UserID classic / eco 52  User's Manual, Version: 1.01   © KEBA 2008 7.2.2 Validity test The setting of the parameter boolCheckValidation determines whether the transponder is checked for validity according to the Euromap 65 guide-line. Through this setting, different call actions of the callback function be-come effective (see chapter Call-up actions of the Event Callback).  z TRUE (status on delivery)  Validity of a detected transponder is checked according to the Euromap 65 guideline. The data content is linked with an individually settable "security key". Falsified transponders can thus be reliably detected. Thus the following invoking actions of the callback function of the driver are possible through the validity test: z Valid transponder found z Falsified transponder was found (security test failed) z Empty / invalid transponder was found z Unreadable transponder was found z Known transponder was removed.  z FALSE  No validity test of a known transponder is performed. Thus, the follow-ing invoking actions of the callback function of the driver are possible: z Transponder was found z Unreadable transponder was found z Known transponder was removed.  Information The invoking action "Transponder was found" for switched off validity test is ident with the invoking action "Empty / invalid transponder was found" for activated validity test.
User Identification System Operating behavior User's Manual, Version: 1.01  53 © KEBA 2008   7.3  Range and detection The range between transponder and the Kemro UserID module is de-pendent on the installation situation, the antenna size (with OEM versions) and the transponder used. The range increases if the antenna (for OEM versions) or the stand-alone module are installed in non-metallic materials. In addition, the range increases if a sufficiently large surface is available for the transponder antenna. Thus, check card transponders have a slightly higher range than transponders in the form of key chains.  The simultaneous detection of up to four transponders is possible. If multi-ple transponders are in the reception area of a Kemro UserID module simultaneously, the module will automatically attempt to read out the trans-ponders, filter out unreadable transponders and make the valid card(s) available at the interface of the device driver.
Demo application  Kemro UserID classic / eco 54  User's Manual, Version: 1.01   © KEBA 2008 8 Demo application The demo application is a complete application with which the Kemro UserID can be put into operation quickly and easily on systems with Mi-crosoft Windows.  The demo application is a practical application for reading out and writing on transponders in Euromap 65 or binary form.   The demo application can be used to configure Kemro UserID modules and to test different functions.  8.1 Start-up operation 8.1.1 Prerequisites Before installing the demo application one of the following operating sys-tems must have been fully installed in the target system:  z Windows XP z Windows XP emb. z Windows Vista z Windows 2000  z Windows Server 2003   In case of product version Kemro UserID eco the following additional requirement must be met:  z USB interface (host controller / master, type A socket, the interface can supply high-power devices with 500 mA current consumption)
User Identification System  Demo application User's Manual, Version: 1.01  55 © KEBA 2008   8.1.2  Start-up operation of system  1.)  Installation of the device driver. See chapter Installation with Microsoft Windows 2000/2003  Server/XP/XPemb/Vista  2.)  Installation of .NET Framework 2.0, if it is not already in the target system. This setup can also be called up from the CD-ROM at: <root>/drivers/Framework 2.0/dotnetfx.exe  3.)  Connect  the  Kemro UserID modules with target system and en-sure the power supply of the modules.  4.)  Start the demo application. The demo application can only be started directly from the CD-ROM and can be called up at: <root>/demo application/Demo_Application.exe 8.2  Description of the function of the demo application 8.2.1 Application window Description of the mask The application window of the demo application consists of a continuously visible (general) part and a part that can be switched over via tabs.  In the constantly visible part of the application the general functions of the Kemro UserID modules are contained. On the tab pages of the applica-tion files can be manipulated and module configurations displayed and changed.   The Kemro UserID modules can read out and write on transponders in Euromap 65 format or binary format. The write and read processes can be switched over with the two tabs Read / Write Binary Data and Read / Wri-te Euromap 65 Data.   Tab page Settings contains all functions required for configuring the mod-ule.
Demo application  Kemro UserID classic / eco 56  User's Manual, Version: 1.01   © KEBA 2008  Kemro UserID demo application - application window Description of the elements  Element  Description Read  Reading out user data from the selected transponder and displaying it according to the selected format in binary form or Euromap 65 form.  Note: The button can only be operated when at least one valid card has been recognized by the Kemro UserID mod-ule.  Write  Writing user data on the selected transponder in the format selected. The format is set by the setting of the tab.  Note: The button can only be operated when at least one valid card has been recognized by the Kemro UserID mod-ule.  Date / time  (to the right next to the Write button) System time and system date are displayed here.  Status display  (to the right next to date / time)  Messages from Kemro UserID module are displayed in the status display.   The following messages are possible:  - Recognized Kemro UserID modules - Removed Kemro UserID modules - Recognized transponders and their status - Removed transponders - Return signal of write commands - Return signal at changes in settings - Fault messages from the application - Fault messages from the device driver
User Identification System  Demo application User's Manual, Version: 1.01  57 © KEBA 2008   Element  Description read valid tags automatically  When selecting this option a transponder that is valid according to the Euromap 65 standard and within receiv-ing range is automatically read out. The tab page Read / Write Euromap 65 Data is displayed automatically.   A further transponder can only be automatically read when the current transponder has left the receiving ran-ge.  UIDs  This selection field displays the UIDs of all recognized transponders that are within the receiving range. The individual transponders for further use (writing, reading) can be selected in this selection field.  Clear Tag  User data of the selected transponder can be deleted with this function. The deletion process overwrites all bytes with 0.  Tag Info  The UID and size of the data memory of the selected transponder are displayed in the status display.  Exit  The connection to the modules is terminated and the application closed.  LED green  The color of the status LED can be set on green with this button.   Note: The color of the status LED can only be set when the module is operated in "LED application mode". See also chapter Tab Settings.  Orange LED  The color of the status LED can be set to orange with this button.   Note: The color of the status LED can only be set when the module is operated in "LED application mode". See also chapter Tab Settings.  Red LED  The color of the status LED can be set on red with this button.   Note: The color of the status LED can only be set when the module is operated in "LED application mode". See also chapter Tab Settings.   8.2.2 Tab page Read/Write Binary Data Purpose On this tab page data in binary format can be read out from or written onto the transponder.
Demo application  Kemro UserID classic / eco 58  User's Manual, Version: 1.01   © KEBA 2008 Description of the mask The type of display (text / byte) and the number of bytes to be read out from the transponder's user memory can be set in upper sector of the tab page. Two fields are located below this. The left text field displays the user data read out from the transponder. The right input field is used to enter data that can be subsequently written into the user memory of the transponder.   Kemro UserID demo application - tab page read / write binary data  Description of the elements  Element  Description Show text  The selection of this option displays the user data of the transponder as text in the left text field.   Show byte  The selection of this option displays the user data of the transponder as byte characters in the left text field.   Bytes to read  Number of Bytes to be read from the user memory of the transponder (user data). The maximum storage memory is specified by the selected transponder.  Text field (left)  Here the user data of the transponder are displayed in the selected display format after being read out.  Input field (right)  Any type of content can be entered as text in the input field. This content is written on the selected transponder during the write process.  Usage of this mask z Reading out user data in binary format from a transponder z Writing user data in binary format onto a transponder
User Identification System  Demo application User's Manual, Version: 1.01  59 © KEBA 2008   8.2.3 Tab page Read/Write Euromap 65 Data Purpose On this tab page data in Euromap 65 format can be read out from or written onto the transponder.  Information The Euromap 65 Standard is specifically matched to the requirements of user identification on machines and plants. Additional information can be found in the Internet at 0Hhttp://www.euromap.org/H.  Description of the mask On this tab page the user data acc. to the Euromap65 standard are dis-played. Here each Euromap 65 parameter is displayed in its own text field. The parameters can also be modified in each field.   In selection field Specific parameters the reserved parameters acc. to the Euromap 65 standard can be selected per index number (203-255) and displayed and modified in the input field on the right.   Kemro UserID demo application - tab Read/Write Euromap 65 data  Description of the elements  Element  Description UID  Display of UID of the read out transponder  User ID numerical  Identification number of transponder profile  User ID textual  Name of transponder profile  Expire date  Expiry date of transponder. The transponder loses its validity after this date. This enables the validity of lost transponders to be limited in the application with regard to time.
Demo application  Kemro UserID classic / eco 60  User's Manual, Version: 1.01   © KEBA 2008 Element  Description Preferred language  Language code of preferred language according to ISO 639-2/B (3-digit, e.g. eng for English).  Country code  Country code acc. to ISO 3166-1 (2-digit, e.g. GB for United Kingdom).  Factory identifier  Company code  (note: a distinction is made between upper and lower case letters in the input).  Access rights  Access rights according to the Euromap65 standard with the following options:  • 0 = no access • 1 = lowest level • 2 = middle level • 3 = highest level   User level  User level of transponder profile (0-255)  Reproduction identifier  Identifier for rights for multiplication of the transponder  Recommended application:  0- writing of further transponders not possible 1- user can create transponder with low access rights. 2- user can create transponder with the same access rights.  Specific parameters  Selection of reserved parameters (203-255) acc. to Eu-romap 65 standard. The value of the parameter is dis-played or entered in the input field to the right.    Usage of this mask z Reading out user data in Euromap 65 format from a transponder z Writing user data in Euromap 65 format onto a transponder   8.2.4 Tab Settings Purpose With this tab page the configuration of the Kemro UserID module can be displayed and modified.
User Identification System  Demo application User's Manual, Version: 1.01  61 © KEBA 2008   Description of the mask On this tab page all the configuration parameters of a Kemro UserID module are displayed. The connected options are displayed in their own sector with a surrounding border. Each parameter can be modified by an entry or a selection.   Kemro UserID demo application - tab settings  Description of the elements  Element  Description Get settings  Reading out settings.  Security ON / Security OFF  Switching validation check on or off  (Note: when using the Euromap65 standard the valida-tion check must be switched on.)  LED default mode  The condition of the status LED is set directly by the driver.  LED application mode  The condition of the status LED is controlled by the ap-plication. In this mode the condition and the color of the status LED can be changed with the buttons in the lower area of the mask.  Euromap 65 (r/w)  With the selection of this option the configuration data of the transponder are read and written in the Euromap65 format.   The setting applies only to write and read processes of the configuration data. The format of the user data is influenced by the selection of the other tab pages.  Binary (r/w)  With the selection of this option the configuration data of the transponder are read and written in binary format.   The setting applies only to write and read processes of the configuration data. The format of the user data is influenced by the selection of the other tab pages.
Demo application  Kemro UserID classic / eco 62  User's Manual, Version: 1.01   © KEBA 2008 Element  Description Inventory cycle [ms]  The cycle time with which the module searches for new transponders in the detection range (typical value: 50 ms).  After the corresponding Change button is pressed this setting is changed.  Safety key  Key (32-bit safety key) for calculating the safety code acc. to the Euromap 65 standard.   The safety code is calculated from the checksum of the data stored on the transponder and this safety key (hid-den factory safety key), and stored on trans-ponders in Euromap 65 format.  After the corresponding Change button is pressed this setting is changed.  LED off  LED is switched off in the application mode  LED on  LED lights up in the application mode  LED blink 1 Hz  LED blinks once per second in the application mode  LED blink 2 Hz  LED blinks twice per second in the application mode  Baud rate  Transmission rate of serial interface.  After the corresponding Change button is pressed this setting is changed.    Usage of this mask z Displaying and changing the configuration of the Kemro UserID mo-dule
User Identification System  Function interface of device driver User's Manual, Version: 1.01  63 © KEBA 2008   9  Function interface of device driver With the aid of the Kemro UserID simple and easy integration into exist-ing visualization systems is possible.  This chapter describes the commands of the device driver of the Kemro UserID for accessing the module and transponders recognized by the module.  9.1 Data format Data can be stored on the RFID transponder either in Euromap 65 format, or in binary form. The format is set by the write command used.  9.1.1  Euromap 65 Standard The user data on the RFID transponder are displayed in Unicode UTF-8 format and stored with the byte sequence Low-Byte-First (Little-Endian).  The data are stored as a sequence of parameters and formatted as follows:  <ID><len><parameter...><ID><len><parameter...>...   Parameter  Description ID Identification of the parameter (8-bit value)  len Number of attached parameters in 8-bit units (optional, depends on parameter)  parameter Value of the parameter   9.1.2 Binary format When using the binary format the user data transferred to the device driver are stored directly on the transponder. These data are not specially format-ted.  9.2 Data structure  Information An alignment of 1 applies to all data structures listed here
Function interface of device driver  Kemro UserID classic / eco 64  User's Manual, Version: 1.01   © KEBA 2008 9.2.1  Data structure TEuromapData This chapter describes all data elements which correspond to the optional Euromap65 parameters.   Data element  Euromap 65 ID #  Description DWORD TEuromapData::dwValid  --  Switches the following structure entries valid or invalid. A set bit means that the data entry is filled during reading and taken over during writing. If the bit is not set, the corresponding structure entry is not used. One bit each acti-vates/deactivates the specified structure entry: • Bit0: dwUserIdNumerical • Bit1: strUserIdTextual • Bit2: sExpiryDate • Bit3: strLanguageCode • Bit4: strCountryCode • Bit5: strFactoryId • Bit6: bAccessRights • Bit7: bUserLevel • Bit8: bReproductionId • Bit9: rsOEMData •  Bit10-31: not used  The bit pattern can be used as constants (see chapter Fehler! Verweisquelle konnte nicht gefunden werden.).  DWORD TEuromap-Data::dwUserIdNumerical 0x01  Numerical user identification char TEuromap-Data::strUserIdTextual 0x02  Textual user identification   Maximum length of the text field: 16 characters  Note: The length by 1 byte larger than in Euromap defines due to 0-termination, further bytes due to alignment of the structure.  TEuromapTime TEuromap-Data::sExpiryDate 0x03  Expiry date of transponder char TEuromap-Data::strLanguageCode 0x04  Language code of user   It is recommended to store the language code in line with ISO-2/B.   Note: The length by 1 byte larger than in Euromap defines due to 0-termination.
User Identification System  Function interface of device driver User's Manual, Version: 1.01  65 © KEBA 2008   Data element  Euromap 65 ID #  Description char TEuromap-Data::strCountryCode 0x04  Country code of user   It is recommended to store the language code in line with ISO-1/B.   Note: The length by 1 byte larger than in Euromap defines due to 0-termination, further bytes due to alignment of the structure.  char  EuromapData::strFactoryId 0x05  Factory identification   Maximum length of the text field: 16 characters  Note: The length by 1 byte larger than in Euromap defines due to 0-termination.  BYTE TEuromap-Data::bAccessRights  0x06  Access rights BYTE TEuromapData::bUserLevel  0xC9  User level (Keba-specific) Value range 0-255  BYTE TEuromap-Data::bReproductionId 0xCA  Reproduction code for the user (Keba-specific)   Recommended application: • 0: writing of further transponders not possible • 1: user can create transponder with low access rights • 2: user can create transponder with the same access rights   TeuromapOEMData TEuromap-Data::rsOEMData 0xCB - 0xFF  List with further, free Euromap entries (OEM-specific)
Function interface of device driver  Kemro UserID classic / eco 66  User's Manual, Version: 1.01   © KEBA 2008 9.2.2  Data structure TEuromapOEMData This data structure is used to specify further free Euromap65 entries in the Euromap65 format (ID 203-255).  Data element  Euromap 65 ID #  Description BYTE TEuromapOEM-Data::bEuromapID 0x1F - 0xC8  Specific machine manufacturer parameters (these are issued exclusively by the EUROMAP organization, H1Hhttp://www.euromap.orgH )  BYTE TEuromapOEMData::bDummy  --  Dummy for structure alignment   WORD TEuromapOEMData::wLength  --  Length of data of the Euromap65 entry defined by bEuromapID.   BYTE TEuromapOEMData::rbEuromapData[EUROMAP_OEM_DATALENGTH] --  Data pointer of data of the Euro-map65 entry defined by bEuro-mapID.    9.2.3  Data structure TEuromapTime This data structure is used to display the Euromap65 time specifications.  Data element  Euromap 65 ID #  Description WORD TEuromapTime::wYear  --  Year  BYTE TEuromapTime::bMonth  --  Month (1-12)  BYTE TEuromapTime::bDay  --  Day (1-31)  9.2.4  Data structure TFactorySettings This data structure is used for reading the factory data of an RFID module.  Data element  Euromap 65 ID #  Description DWORD TFactorySet-tings::dwSerialNumber --  Serial number of the RFID module
User Identification System  Function interface of device driver User's Manual, Version: 1.01  67 © KEBA 2008   9.2.5  Data structure TModuleSettings This data structure is used for reading and writing the setting data of an RFID module.  Data element  Euromap 65 ID #  Description DWORD TModuleSet-tings::dwInventoryRequestCycle --  Cycle time for searching the new transponders  DWORD TModuleSet-tings::dwLedControlMode --  Specification of who controls the LEDs (default: 0): •  0: driver takes over control. •  1: the application takes over control.    BOOL TModuleSet-tings::boolCheckValidation --  Specifies whether the validity of the transponder is checked ac-cording to Euromap 65 regulation. unsigned short TModuleSet-tings::usSafetyKey --  Safety key for Euromap 65 encod-ing This key is used to together with the data content of the trans-ponder to calculate the safety code.  DWORD TModuleSet-tings::dwBaudrate --  Baud rate of the Bus connection for to the Kemro UserID mod-ule  Note: Only valid for units with serial interfaces (Kemro UserID classic).   9.2.6  Data structure TRfidDeviceName This data structure is used in connection with the device name of a Kemro UserID module.  Data element  Euromap 65 ID #  Description char TRfidDevice-Name::strDeviceName --  Name of Kemro UserID modules
Function interface of device driver  Kemro UserID classic / eco 68  User's Manual, Version: 1.01   © KEBA 2008 9.2.7  Data structure TRfidUid This data structure is used in connection with the clear identification of a transponder.  Data element  Euromap 65 ID #  Description unsigned char TRfidUid::uid  --  Clear transponder ID  9.2.8  Data structure for Callback The Event Callback is used to signal transponder or device actions.   typedef void __stdcall TEventCallback(const TRfidDeviceName sDevice-Name, TRfidUid sTag, const TRfidAction eAction)  Parameter  Description sDeviceName  Name of device that has caused the action sTag   Name of transponder that has caused the action  eAction   The action that was carried out  The following actions are signaled via this Callback.  Action  Description eAction • 0: New Kemro UserID module added (sTag is transmit-ted as 0)  • 1: Kemro UserID module was removed •  2: Valid transponder found •  3: Copied transponder was found (security check has failed) •  4: New / empty / transponder was found •  5: Non-readable transponder was found •  6: Known transponder was removed  Information If a Kemro UserID module or a transponder is removed and it is open (rfidOpenDevice/rfidOpenTag), then the connection with regard to this Callback is to be closed (rfidCloseDevice/rfidCloseTag), since the respective Handle looses its validity when removed.    NOTICE • Under no circumstance is blocking and waiting for something during the Callback permitted. Editing during Callback must be short and fast.
User Identification System  Function interface of device driver User's Manual, Version: 1.01  69 © KEBA 2008   9.3 Enumeration types 9.3.1  Call-up actions of the Event Callback enum TRfidAction  Enumeration values  Description RfidAction_NewDevice  New Kemro UserID module added (sTag is transmitted as 0) RfidAction_DeviceRemoved  Kemro UserID module was removed RfidAction_ValidTagFound  Valid transponder found RfidAction_CopiedTagFound  Copied transponder was found (security check has failed) RfidAction_EmptyTagFound  New / empty / transponder was found RfidAction_UnreadableTagFound Non-readable transponder was found RfidAction_TagRemoved  Known transponder was removed  9.3.2 Operating state of the Status LED enum TRfidLedStatus  Enumeration values  Description RfidLedStatus_Off  LED off (continuous) RfidLedStatus_On  LED on (continuous) RfidLedStatus_Slow  LED blinking slowly (1 Hz) RfidLedStatus_Fast  LED blinking fast (2 Hz)  9.3.3  Color of the Status LED enum TRfidLedColor  Enumeration values  Description RfidLedColor_Red  Led illuminated/blinks red RfidLedColor_Green  Led illuminated/blinks green RfidLedColor_Orange  Led illuminated/blinks orange
Function interface of device driver  Kemro UserID classic / eco 70  User's Manual, Version: 1.01   © KEBA 2008 9.4 Constants  Constant  Value  Description USER_ID_LENGTH 16 Maximum length of the textual user identification  FACTORY_ID_LENGTH 16 Maximum length of the textual factory identifica-tion  LANGUAGECODE_LENGTH 3 Number of language code bBytes   COUNTRYCODE_LENGTH 2 Number of country code bytes   OEM_DATA_LENGTH 53 Maximum number of user commands (ID 0xcb to ID 0xff)  FLAG_OPEN_EUROMAP65 1 Transponder connection is opened in Euromap65 format  FLAG_OPEN_BINARY 2 Transponder connection is opened in binary for-mat  RFID_DEVICENAME_LENGTH 50 Maximum length of module name   EUROMAP_OEM_DATALENGTH 256 Maximum length of an OEM data entry  EUROMAP_VALID_USERID_NUMERICAL 0x0001 The entry "UserID-Numerical“ of the Euromap structure contains valid data for writing/reading  EUROMAP_VALID_USERID_TEXTUAL 0x0002 The entry "UserId-textual“ of the Euromap struc-ture contains valid data for writing/reading  EUROMAP_VALID_EXPIRY_DATE 0x0004 The entry "Expiry Date“ of the Euromap structure contains valid data for writing/reading  EUROMAP_VALID_LANGUAGE_CODE 0x0008 The entry "Language Code“ of the Euromap struc-ture contains valid data for writing/reading  EUROMAP_VALID_COUNTRY_CODE 0x0010 The entry "Country Code“ of the Euromap struc-ture contains valid data for writing/reading  EUROMAP_VALID_FACTORY_ID 0x0020 The entry "FactoryID“ of the Euromap structure contains valid data for writing/reading  EUROMAP_VALID_ACCESS_RIGHTS 0x0040 The entry "Access Right“ of the Euromap struc-ture contains valid data for writing/reading  EUROMAP_VALID_KEBA_USER_LEVEL 0x0080 The entry "User Level“ of the Euromap structure contains valid data for writing/reading  EUROMAP_VALID_KEBA_REPRODUCTION_ID 0x0100 The entry "ReproductionId“ of the Euromap struc-ture contains valid data for writing/reading  EUROMAP_VALID_OEM_DATA 0x0200 The entry "OEM Data“ of the Euromap structure contains valid data for writing/reading  EUROMAP_ID_USERID_NUMERICAL 0x01 UserId-Numerical entry
User Identification System  Function interface of device driver User's Manual, Version: 1.01  71 © KEBA 2008   Constant  Value  Description EUROMAP_ID_USERID_TEXTUAL 0x02 UserId-Textual entry   EUROMAP_ID_EXPIRY_DATE 0x03 Expiry-Date entry  EUROMAP_ID_PREFERED_LANGUAGE 0x04 Language and Country-Code entry   EUROMAP_ID_FACTORY_ID 0x05 FactoryID entry  EUROMAP_ID_ACCESS_RIGHTS 0x06 Access-Rights entry  EUROMAP_ID_KEBA_USER_LEVEL 0xc9 User-Level entry   EUROMAP_ID_KEBA_REPRODUCTION_ID 0xca ReproductionId entry    9.5 Functions 9.5.1  Registration of an Event Callback  DWORD rfidRegisterEventCallback (TEventCallback * pfnEventCallback)  Parameter  Description pfnEventCallback  Callback function that is called up with the previously described actions  A Callback can be registered with this function which is called up in the subsequent action. (see definition of T_EventCallback):  z 0.....New RFID module added (sTag is transmitted as 0) z 1.....Kemro UserID module was removed z 2.....Valid transponder found z 3.....Copied transponder was found (security check has failed) z 4.....New / empty / transponder was found z 5.....Non-readable transponder was found z 6.....Known transponder was removed  The de-registration of a Callback is carried out by transferring a ZERO pointer as Callback pointer  Return Value  Description 0  If everything is OK, otherwise descriptive error code
Function interface of device driver  Kemro UserID classic / eco 72  User's Manual, Version: 1.01   © KEBA 2008 9.5.2  Read out list of currently connected Kemro UserID modules DWORD rfidGetDeviceList (TRfidDeviceName rsDeviceName[], DWORD * pdwCount)  Parameter  Description rsDeviceName  String list in which the automatically generated symbolic names of the Kemro UserID modules are written pdwCount In  Length of string list  Out: Number of entered RFID modules  This function lists all Kemro UserID modules found (independent of con-nection, USB or RS232). The symbolic names specified are generated automatically and can continue to be used to open a Kemro UserID module with rfidOpenDevice, to control LEDs or to read or modify the settings of the module.   Return Value  Description 0  If everything is OK, otherwise descriptive error code  9.5.3  Opening a connection to a Kemro UserID module DWORD rfidOpenDevice (const TRfidDeviceName sDeviceName, HANDLE * phDevice)  Parameter  Description sDeviceName  Symbolic name of Kemro UserID module to be opened phDevice  Pointer on the Handle of the opened Kemro UserID mod-ule  This function opens the data connection to a Kemro UserID module and supplies a Handle with which the data of the Kemro UserID module can continue to be accessed.  Return: Value  Description 0  If everything is OK, otherwise descriptive error code  9.5.4  Closing a connection to an opened Kemro UserID module void rfidCloseDevice (HANDLE hDevice)  Parameter  Description hDevice   Name of the opened Kemro UserID module
User Identification System  Function interface of device driver User's Manual, Version: 1.01  73 © KEBA 2008   9.5.5  Controlling the LED of the Kemro UserID module DWORD rfidSetLedStatus (HANDLE hDevice, TRfidLedStatus eStatus, TRfidLedColor eColor)  Parameter  Description hDevice   Handle on the Kemro UserID module whose Led is to be controlled eStatus  Operating status of the LED. • 0: Off • 1: On • 2: Slowly flashing (1Hz) • 3: Fast flashing (2Hz)  eColor  Color of the LED • 0: Red • 1: Green • 2: orange   This function controls the operating state of the LED and switches the LED off/on and controls its color.   Information The LED can only be controlled when the control for the LED has been re-leased in the settings for the application. Otherwise the driver takes over the exclusive control of the LED.   Return: Value  Description 0  If everything is OK, otherwise descriptive error code  9.5.6  Reading out current settings of the Kemro UserID module DWORD rfidGetModuleSettings (HANDLE hDevice, TModuleSettings * psModuleSettings)  Parameter  Description hDevice   Handle on the Kemro UserID module psModuleSettings   Setting data of the Kemro UserID module  The current device driver settings are supplied for this Kemro UserID module.  Return: Value  Description 0  If everything is OK, otherwise descriptive error code
Function interface of device driver  Kemro UserID classic / eco 74  User's Manual, Version: 1.01   © KEBA 2008 9.5.7  New settings for the Kemro UserID module DWORD rfidSetModuleSettings (HANDLE hDevice, TModuleSettings * psModuleSettings)  Parameter  Description hDevice   Handle on the Kemro UserID module psModuleSettings   New setting data of the Kemro UserID module  The current device driver settings are set for this Kemro UserID module.  Return: Value  Description 0  If everything is OK, otherwise descriptive error code  9.5.8  Reading out the factory settings of the Kemro UserID module DWORD rfidGetFactorySettings (HANDLE hDevice, TFactorySettings * psFactorySettings)  Parameter  Description hDevice   Handle on the Kemro UserID module psFactorySettings   Factory data of the Kemro UserID module  The Kemro UserID module data entered at the factory are read out and supplied.   Return: Value  Description 0  If everything is OK, otherwise descriptive error code  9.5.9  Creating a list of currently recognized transponders DWORD rfidGetTagList (HANDLE hDevice, TRfidUid rsUids[], DWORD * pdwCount)  Parameter  Description hDevice   Handle on the Kemro UserID module whose transponder is to be determined rsUids   List into which the UIDs of the detected transponders are written pdwCount   In: Length of UID list.  Out: Number of entered transponders  This function lists all detected transponders for the specified Kemro UserID module. The UIDs are required to establish a data connection to a transponder (rfidOpenTag).
User Identification System  Function interface of device driver User's Manual, Version: 1.01  75 © KEBA 2008   Return: Value  Description 0  If everything is OK, otherwise descriptive error code  9.5.10 Opening a connection to a specific transponder DWORD rfidOpenTag (TRfidUid sUid, DWORD dwFlags, HANDLE * phTag)   Parameter  Description sUid   UIDs of the transponder to be opened dwFlags   Data mode in which the transponder is to be opened • FLAG_OPEN_EUROMAP65: opens the connection in the Euromap65 standard, i.e. at rfidRead-Tag/rfidWriteTag data in the form of a T_EuromapData structure are expected (pvData is of type T_EuromapData *). • FLAG_OPEN_BINARY: opens the connection in the bi-nary mode, i.e. binary data are expected at rfidRead-Tag/rfidWriteTag (pvData is of type BYTE *). The transmitted data correspond 1:1 to the memory dump of the transponder, without any formatting.  phTag   Pointer on the Handle of the opened transponder  This function opens the data connection to a transponder and supplies a Handle with which the data of the transponder can continue to be ac-cessed.   Information Opening in the Euromap65 mode is only possible when the safety code check (boolCheckValidation = 1) has been activated. If the validation check is deactivated, the rfidOpenTag issues an error. Specifying the Kemro UserID module is not necessary here, since the transponders are administered centrally for all Kemro UserID modules.   Return: Value  Description 0  If everything is OK, otherwise descriptive error code  9.5.11 Closing a connection to an opened transponder void rfidCloseTag (HANDLE hTag)  Parameter  Description hTag   Handle of the opened transponder
Function interface of device driver  Kemro UserID classic / eco 76  User's Manual, Version: 1.01   © KEBA 2008 9.5.12 Reading out data from a transponder DWORD rfidReadTag (HANDLE hTag, void * pvData, DWORD dwCount, DWORD * pdwCountRead)  Parameter  Description hTag   Handle of the transponder to be read pvData   Buffer for the data read out. The data have the following format, depending on the data mode in which the trans-ponder was opened: • FLAG_OPEN_EUROMAP65: a data buffer in the form of a T_EuromapData structure is expected. Those fields of the structure that are activated by dwValid (at parame-ter transfer [in]), are filled during reading out, the fields not activated remain unaffected. • FLAG_OPEN_BINARY: a byte array of adequate size is expected. The data are copied from the transponder into the buffer in binary form (1:1 image)   dwCount   FLAG_OPEN_EUROMAP65: number of structures to be read, must be permanently set on 1. • FLAG_OPEN_BINARY: number of bytes to be read.   pdwCountRead   FLAG_OPEN_EUROMAP65: number of the structures read, 1 if reading was possible, otherwise 0. • FLAG_OPEN_BINARY: number of bytes read.   This function reads the data of an opened transponder. The data are sup-plied in the form of Euromap65 structure or as binary data depending on how the connection to the transponder was opened.   Return: Value  Description 0  If everything is OK, otherwise descriptive error code
User Identification System  Function interface of device driver User's Manual, Version: 1.01  77 © KEBA 2008   9.5.13 Writing data of a transponder DWORD rfidWriteTag (HANDLE hTag, void * pvData, DWORD dwCount, DWORD * pdwCountWritten) .   Parameter  Description hTag   Handle of the transponder to be written pvData  Buffer that contains the data to be written. The data have the following format, depending on the data mode in which the transponder was opened: • FLAG_OPEN_EUROMAP65: a data buffer in the form of a T_EuromapData structure is expected. Those fields of the structure that are activated by dwValid are taken over, the fields not activated remain unaffected. • FLAG_OPEN_BINARY: a byte array of adequate size is expected. The data are taken over in binary form and copied into the transponder (1:1 image).  dwCount   FLAG_OPEN_EUROMAP65: number of structures to be writ-ten, must be permanently set on 1. • FLAG_OPEN_BINARY: number of bytes to be written.  pdwCountWritten   FLAG_OPEN_EUROMAP65: number of the structures written, 1 if writing was possible, otherwise 0. • FLAG_OPEN_BINARY: number of bytes written.  This function writes the data of an opened transponder. The data are ex-pected in the form of Euromap65 structure or as binary data depending on how the connection to the transponder was opened.   Return: Value  Description 0  If everything is OK, otherwise descriptive error code
Diagnosis  Kemro UserID classic / eco 78  User's Manual, Version: 1.01   © KEBA 2008 10 Diagnosis The following states can be signaled with the status LED:  Display  Description LED off  Kemro UserID module is not supplied  Only with Kemro UserID eco: The module has not yet been detected by the device driver or the device driver for the module has not been installed yet.  red (continuous)  Firmware of the module is loaded orange (continu-ous)  Firmware is loaded, data communication with device driver on the host system is established  green / orange (blinking) Supply and data communication with device driver on the host sys-tem exists  green (continu-ous)  Default behavior of the module, as soon as the device driver has instantiated the module at least one time. green (blinking, max. 3 sec.)  Readable transponder detected The status LED blinks green as long as the transponder is within reading range (max. 3 sec.) red (blinking, max. 3 sec.)  Transponder could not be read; unsupported transponder type The status LED blinks red as long as the transponder is within read-ing range (max. 3 sec.)
User Identification System  Maintenance and repair instructions User's Manual, Version: 1.01  79 © KEBA 2008   11 Maintenance and repair instructions 11.1 Maintenance This device does not require regular maintenance.  11.2 Repair A defective device may only be repaired by KEBA specialists, otherwise the warranty claim expires. This is to be sent to KEBA in a suitable transport packaging.  11.2.1 Packaging, shipment The module is wrapped in protective packaging material for shipment.  The protective packaging does not qualify as adequate transport packaging and hence is not suited for transportation via carrier haulage or airplane. Appropriate transportation packaging is required for these types of ship-ment.
Disposal  Kemro UserID classic / eco 80  User's Manual, Version: 1.01   © KEBA 2008 12 Disposal 12.1 Disposal of the module  • The symbol with the crossed-out rubbish bin indicates that electrical and electronic devices including their accessories should not be dis-posed of in the household garbage. • Depending on their coding, the raw materials are recyclable. By dispos-ing of such used devices correctly, you can ensure that they can be re-used, their raw materials recycled or put to another use, and you will be making an important contribution to the protection of our environment!
User Identification System  Technical data User's Manual, Version: 1.01  81 © KEBA 2008   13 Technical data General information Power consumption: (Kemro UserID eco) Max. 0.75 W Power consumption: (Kemro UserID classic) Max. 1 W Reading range:  Up to 6 cm from the housing / antenna (depending on the installation situation, the transponder design and the number of transponders) Supported transponders:  Transponders according to ISO/IEC 15693 in any form (Tag-it, I-Code SLI) Signaling:  Three-color LED on the front side of the housing / on the antenna print Device driver for the operation sys-tems:  Windows 2000, Windows 2003 Server, Windows CE, Win-dows XP pro, Windows XP emb., Windows Vista  Interfaces Data interface:  RS 232 – bei Kemro UserID classic USB 2.0 (12 Mbit) – bei Kemro UserID eco Power supply voltage:  12 V / 24 V DC – for Kemro UserID classic USB bus powered – for Kemro UserID eco Communication connecting plug:  DSUB 9 pol. (female) – for Kemro UserID classic stand-alone and OEM – variants C-OEM and D-OEM USB type B – for Kemro.UserID eco stand-alone and OEM – variants C-OEM and D-OEM Terminal block: Kemro UserID OEM variants A-OEM and B-OEM classic and eco Supply connecting plug:  Only Kemro UserID classic (IC 140/A, IC 140/C-OEM, IC 140/D-OEM): 2-pole plug  RF signal Frequency range:  13.56 MHz Transmitting power:  Typical 200 mW (max. 250 mW) Chip set:  Melexis  Casing, dimensions Stand-alone module:  Width:  77 mm  Length: 65.4 mm  Height:  46.3 mm Antenna print small:  Width:  50 mm  Length:  30 mm Antenna print large:  Width:  57 mm  Length  53 mm Evaluation unit with housing:  Width:  94 mm  Length:  54 mm  Height: 24 mm Evaluation unit without housing:  Width:  70 mm  Length: 50 mm  Height:  11 mm
Technical data  Kemro UserID classic / eco 82  User's Manual, Version: 1.01   © KEBA 2008 Transportation and Environmental conditions Operating temperature:  +0 °C to +65 °C (OEM variants) +5 °C to +55 °C (stand-alone variant) Storage temperature:  -25 °C to +70 °C Relative humidity of air:  5 % to 95 % (non condensing) Vibration resistance:  according to EN 61131-2 Shock resistance:  according to EN 61131-2  13.1 Stand-alone  versions General Information Housing:  Robust plastic housing   PC / ABS Bayblend FR3010 Device installation:  Direct installation in opening of the front plate, fastening with retaining screws Protection class:  IP65 (front-sided); IP20 (back-sided) Housing material fire-resistant according to UL 94 Wall thickness for the installation:  1.5 mm to 6 mm  13.2 OEM  versions General Information Antenna installation:  Antenna installation flush with front plate possible corresponding to the installation guidelines Transmission range evaluation unit:  Evaluation unit can be positioned up to 30 cm from the an-tenna Connection antenna - evaluation unit  Plug-in Sheet metal housing:  Only for versions C-OEM and D-OEM. Contact protection (IP 20) and fitting aid of the evaluation unit Protection class:  IP20
User Identification System  EC directives and standards User's Manual, Version: 1.01  83 © KEBA 2008   14 EC directives and standards 14.1 EC  Directives Directive 1999/5/EG  R&TTE Directive (Radio & Telecommunications Terminal Equipment) Directive 2002/95/EG  RoHS directives 14.2 Standards The following, legally non-binding European standards, were applied in or-der to check that the Kemro K2 System conforms with the Directives. 14.2.1 R & TTE EN 300330-2  Electromagnetic compatibility and radio spectrum matters (ERM); Short range devices (SRD); Radio equipment with operating frequencies in the range of 9 kHz to 25 MHz and induction loop systems in the range of 9 kHz to 30 MHz EN 301489-01  Electromagnetic compatibility and radio spectrum matters (ERM); Electromagnetic compatibility for radio equipment and –services Part 1: General technical requirements EN 301489-03  Electromagnetic compatibility and radio spectrum matters (ERM); Electromagnetic compatibility for radio equipment and –services; Part 3: Specific conditions for short range radio devices (SRD) for the use on frequencies between 9 kHz and 40 Ghz EN 50364  Limit of the exposition of persons to electromagnetic fields of devices that are operated in the frequency range of 0 Hz to 10 GHz and used in the electronic article monitoring (en: EAS), high-frequency identification (en: RFID) and similar applications EN 60950-1  Information Technology Equipment – Safety; Part 1  14.2.2 Other Standards and recommendations In addition, partial aspects of the following legally non-binding stan-dards/recommendations were consulted: EN 61000-6-2  Electromagnetic compatibility (EMC) – Part 6-2: Generic standards – Immunity for industrial environments EN 61000-6-4  Electromagnetic compatibility (EMC) – Part 6-2: Generic standards – Emission standard for industrial einvi-ronments
EC directives and standards  Kemro UserID classic / eco 84  User's Manual, Version: 1.01   © KEBA 2008 14.2.3 Environmental and surrounding conditions EN 61131-2  Stored-program controls – Part 2 IEC 60068-2-6  Vibration, test FC IEC 60068-2-27  Shock 14.3 Standards for the American market 14.3.1 UL test for industrial control equipment UL 508, 2005  Industrial Control Equipment 14.3.2 FCC CFR 47 Part 15  Radio Frequency Devices 14.3.2.1 FCC Requirements The device complies with Part 15 of the FCC Rules. Operation in subject to the following two conditions: 1.  this device may not cause harmful interference, and 2.  this device must accept any interference received, including in-terference that may cause undesired operation.  This device is labelled with an FCC ID number. If this label is not visible when installed in an end device, the outside of the device MUST also display a label referring to the enclosed module.  Contains FCC ID: U870002 - IC 140/A (Kemro UserID classic Stand Alone)  Contains FCC ID: U870003 – IC 140/C - OEM U870003 – IC 140/D – OEM (Kemro UserID classic OEM)  Contains FCC ID: U870004 – IE 160/A (Kemro UserID eco Stand Alone)  Contains FCC ID: U870005 – IE 160/C – OEM U870005 – IE 160/D – OEM (Kemro UserID eco OEM)  Information No other antennas except the one provided by KEBA shall be used.  Changes or modifications not expressly approved by KEBA could void the user's authority to operate the equipment.

Navigation menu