User Manual

LoRa IoT Station
Classification
level 1 - Internal use only
This document is owned by
KLK
and can not
Installation
Installation and
Maintenance
Manual
Reference:
INSTALL_
Station
Version ........ 2.0
Author .........
Michel GILBERT
Date .............
17/09/2015
2 – Confidential 3 -
Confidential limited
and can not
be distributed, used and/or reproduced without
KERLINK
authorization.
Installation
and Maintenance
LoRa IoT Station
INSTALL_
Long_Range_IoT_
Michel GILBERT
17/09/2015
Confidential limited
written
Page
1 / 53
and Maintenance
Manual

LoRa IoT Station
Classification
level 1 - Internal use only
This document is owned by
KLK
and can not
Author
Name
Michel GILBERT
Entity
Initial
MGI
Date
17/09/2015
Visa
Destination List
Name
Company / Service
Document history
Version
Modification
V0.1
Preliminary version
V0.2
Adding of some precisions on the following
contents:
•
Internet cabling
•
Cable gland dimensions
•
Auxiliary power supply
•
GPS and GSM considerations
V0.3
Safety recommendations adding
V0.4
Safety
recommendations adding
V0.5
Safety recommendations adding
V0.6
Recommended additional lightning protections
V1.0
New mounting kit
V2.0
Added specific parts for LoRa IOT stations 915 and
923
Installation and
Maintenance
Manual
Reference:
INSTALL_
Station
Version ........ 2.0
Author .........
Michel GILBERT
Date .............
17/09/2015
2 – Confidential 3 -
Confidential limited
and can not
be distributed, used and/or reproduced without
KERLINK
authorization.
Approved by
Validated by
Michel GILBERT
Ronan
DUBOURG
Yannick Delibie
RDU
17/09/2015
18/09
/2015
18/09
Company / Service
Place
Author
Preliminary version
LLO
Adding of some precisions on the following
Internet cabling
and cable type
Cable gland dimensions
Auxiliary power supply
GPS and GSM considerations
SNI
Safety recommendations adding
SNI
recommendations adding
SNI
Safety recommendations adding
SNI
Recommended additional lightning protections
SNI
SNI
Added specific parts for LoRa IOT stations 915 and
MGI
INSTALL_
Long_Range_IoT_
Michel GILBERT
17/09/2015
Confidential limited
written
Page
2 / 53
Validated by
Yannick Delibie
YDE
18/09
/2015
Commentry
Date
27
/
01
/2014
06/05/2014
02/06/2014
30/06/2014
23/07/2014
29/09/2014
08/04/2015
17/09/2015

LoRa IoT Station
Classification
level 1 - Internal use only
This document is owned by
KLK
and can not
Contents
1 OPEN ISSUES
................................
2 REFERENCES
................................
3 GLOSSARY
................................
4 INTRODUCTION
................................
5 DESCRIPTION OF THE L
ORA IOT STATION
5.1 BLOCK DIAGRAM
................................
5.2 TECHNICAL SPECIFICATIONS
................................
5.2.1 LoRa IOT Station 868
................................
5.2.2 LoRa IOT Station 915
................................
5.2.3 LoRa IOT Station 923
................................
5.3 MECHANICAL IMPLEMENTA
TION
5.4 STICKERS
................................
6 REGULATIONS
................................
6.1 LORA IOT STATION 868
................................
6.2 LORA IOT STATION 915
................................
6.2.1 FCC
................................
6.2.2 IC
................................
6.3 LORA IOT STATION 923
................................
7 INSTALLATION PROCEDURE
................................
7.1 INSTALLATION TOPOLOGY
................................
7.1.1
Single station installation
7.1.2 Multi-
station installation
7.1.2.1
With SIM Subscription
7.1.2.2
Without SIM Subscription
7.2 ELECTRIC DISTRIBUTION
TO THE
7.2.1 Safety standard
................................
7.2.2 Power-Over-
Ethernet (POE) power supply
7.2.3 Solar power supply
................................
7.3 MOUNTING OF THE ENCLO
SURE
7.3.1
GPS and GSM considerations
7.3.2
General considerations
7.3.3
Position of the universal antenna support vs. the enclosure
7.3.4 Pole mounting by U-
bolt
7.3.5 Wall mounting
................................
7.3.6
Metallic strapping mounting
7.3.7
Key parameters to optimise the radio performance
7.3.7.1 Height of the site
................................
7.3.7.2
Propagation model vs area type
7.3.7.3 Co-
localization with GSM/UMTS/LTE transmitters
7.3.7.3.1
LoRa IoT Station 868
7.3.7.3.2
LoRa IoT Station 915
7.3.7.3.3
LoRa IoT Station 923
Installation and
Maintenance
Manual
Reference:
INSTALL_
Station
Version ........ 2.0
Author .........
Michel GILBERT
Date .............
17/09/2015
2 – Confidential 3 -
Confidential limited
and can not
be distributed, used and/or reproduced without
KERLINK
authorization.
................................
................................................................
................................
................................
................................................................
................................
................................
................................................................
................................
................................
................................................................
................................
ORA IOT STATION
................................................................
................................
................................................................
................................
................................
................................
................................
................................
................................
................................
................................
................................
................................
................................
................................
................................
TION
................................................................
................................
................................
................................................................
................................
................................
................................................................
................................
................................
................................
................................
................................
................................
................................
................................
................................................................
................................
................................
................................................................
................................
................................
................................
................................
................................
................................
................................
................................
................................
................................
Single station installation
................................................................
................................
station installation
................................................................
................................
With SIM Subscription
................................................................
................................
Without SIM Subscription
................................................................
................................
TO THE
LORA IOT STATION ................................
................................
................................
................................
................................
Ethernet (POE) power supply
................................
................................
................................
................................
................................
SURE
................................................................
................................
GPS and GSM considerations
................................................................
................................
General considerations
................................................................
................................
Position of the universal antenna support vs. the enclosure
................................
bolt
................................................................
................................
................................
................................................................
................................
Metallic strapping mounting
................................................................
................................
Key parameters to optimise the radio performance
................................
................................
................................
................................
................................
Propagation model vs area type
................................................................
................................
localization with GSM/UMTS/LTE transmitters
................................
................................
LoRa IoT Station 868
................................................................
................................
LoRa IoT Station 915
................................................................
................................
LoRa IoT Station 923
................................................................
................................
INSTALL_
Long_Range_IoT_
Michel GILBERT
17/09/2015
Confidential limited
written
Page
3 / 53
................................
..........................6
................................
...........................6
................................
..............................6
................................
.....................8
...............................................9
................................
.......................9
................................
.......................................10
................................
......................................10
................................
......................................13
................................
......................................16
................................
.................................18
................................
................................21
................................
...................... 22
................................
...........................................22
................................
...........................................23
................................
..................................23
................................
....................................24
................................
...........................................25
................................
................................. 26
................................
..........................................26
................................
...............................26
................................
................................27
................................
............................................ 27
................................
...................................... 28
................................
........................................29
................................
..............................................29
................................
.....................................29
................................
.........................................30
................................
..................................31
................................
.........................31
................................
...................................31
................................
..........................................32
................................
.................................33
................................
................34
................................
..........................35
................................
......................36
................................
.................................................... 36
................................
............................. 37
................................
................................. 38
................................
.......................................... 40
................................
.......................................... 41
................................
.......................................... 41

LoRa IoT Station
Classification
level 1 - Internal use only
This document is owned by
KLK
and can not
7.3.7.4 Fresnel ellipsoid
................................
7.4 SETTING CONNECTIONS
................................
7.4.1 Ethernet connection
................................
7.4.2
LoRa RF Antenna connection
7.5 COMMISSIONING
................................
7.5.1 SIM card
................................
7.5.2 Power on
................................
7.5.3 Functional check
................................
7.6 LIGHTNING PROTECTIONS
................................
7.6.1 Antenna link
................................
7.6.2 Ethernet link
................................
8 MAINTENANCE OF THE A
CCESS POINT
8.1 SIMPLE CHECKS
................................
8.1.1 LoRa IoT
Station enclosure
8.1.2 Cables
................................
8.1.3 LED
................................
8.2 INTERFACES FOR DEBUG
OR MAINTENANCE PURPO
8.2.1
Proprietary debug interface
8.2.2
USB and Ethernet interface
8.2.3
TEST and RESET buttons
9 KERLINK SUPPORT
................................
Installation and
Maintenance
Manual
Reference:
INSTALL_
Station
Version ........ 2.0
Author .........
Michel GILBERT
Date .............
17/09/2015
2 – Confidential 3 -
Confidential limited
and can not
be distributed, used and/or reproduced without
KERLINK
authorization.
................................
................................................................
................................
................................
................................
................................
................................
................................
................................
LoRa RF Antenna connection
................................................................
................................
................................
................................................................
................................
................................
................................................................
................................
................................
................................................................
................................
................................
................................
................................
................................
................................
................................
................................
................................................................
................................
................................
................................................................
................................
CCESS POINT
................................................................
................................
................................
................................................................
................................
Station enclosure
................................................................
................................
................................
................................................................
................................
................................
................................................................
................................
OR MAINTENANCE PURPO
SES ................................
................................
Proprietary debug interface
................................................................
................................
USB and Ethernet interface
................................................................
................................
TEST and RESET buttons
................................................................
................................
................................
................................................................
................................
INSTALL_
Long_Range_IoT_
Michel GILBERT
17/09/2015
Confidential limited
written
Page
4 / 53
................................
...................... 41
................................
.............................................43
................................
.......................................43
................................
..........................43
................................
.....................47
................................
.........................47
................................
........................48
................................
.............................................48
................................
..........................................50
................................
...................50
................................
...................50
................................
................. 51
................................
.......................51
................................
.............................51
................................
.............................51
................................
..................................51
................................
.....................................51
................................
...........................51
................................
............................52
................................
.................................52
................................
............... 52

LoRa IoT Station
Classification
level 1 - Internal use only
This document is owned by
KLK
and can not
Figures
Figure 1: LoRa Network topology
Figure 2: LoRa IoT Station Block diagram
Figure 3 : LoRa IoT Station casing
Figure 4 : POE injector (example)
Figure 5 : LoRa IoT Station casing
Figure 6 : Mounting kit
................................
Figure 7 : Single station installation (with SIM)
Figure 8 : Single station installation (No SIM)
Figure 9 : Multi-
station installation (with SIM)
Figure 10 : Multi-
station installation (No SIM)
Figure 11 : Ethernet connection
................................
Figure 12 : DC power supply connection (temporary image)
Figure 13 : Mounting kit dimensions
Figure 14 : Universal antenna support dimensions
Figure 15 : Position of the universal antenna support when mounted on the enclosure support
Figure 16 : Pole mount set on the enclosure
Figure 17 : Another view of the pole mounting using U
Figure 18 : Wall mount of the enclosure (front side)
Figure 19 : Wall mount of
the universal antenna support (front side)
Figure 20 : Pole mount set using strapping
Figure 21 : Pole mounting of the universal antenna support using strapping
Figure 22 : Urban (small city) Hata propagation model vs height of the antenna
Figure 23 : Rural
countryside Hata propagation model vs height of the antenna
Figure 24 : Hata propagation model vs area configuration (Height = 1
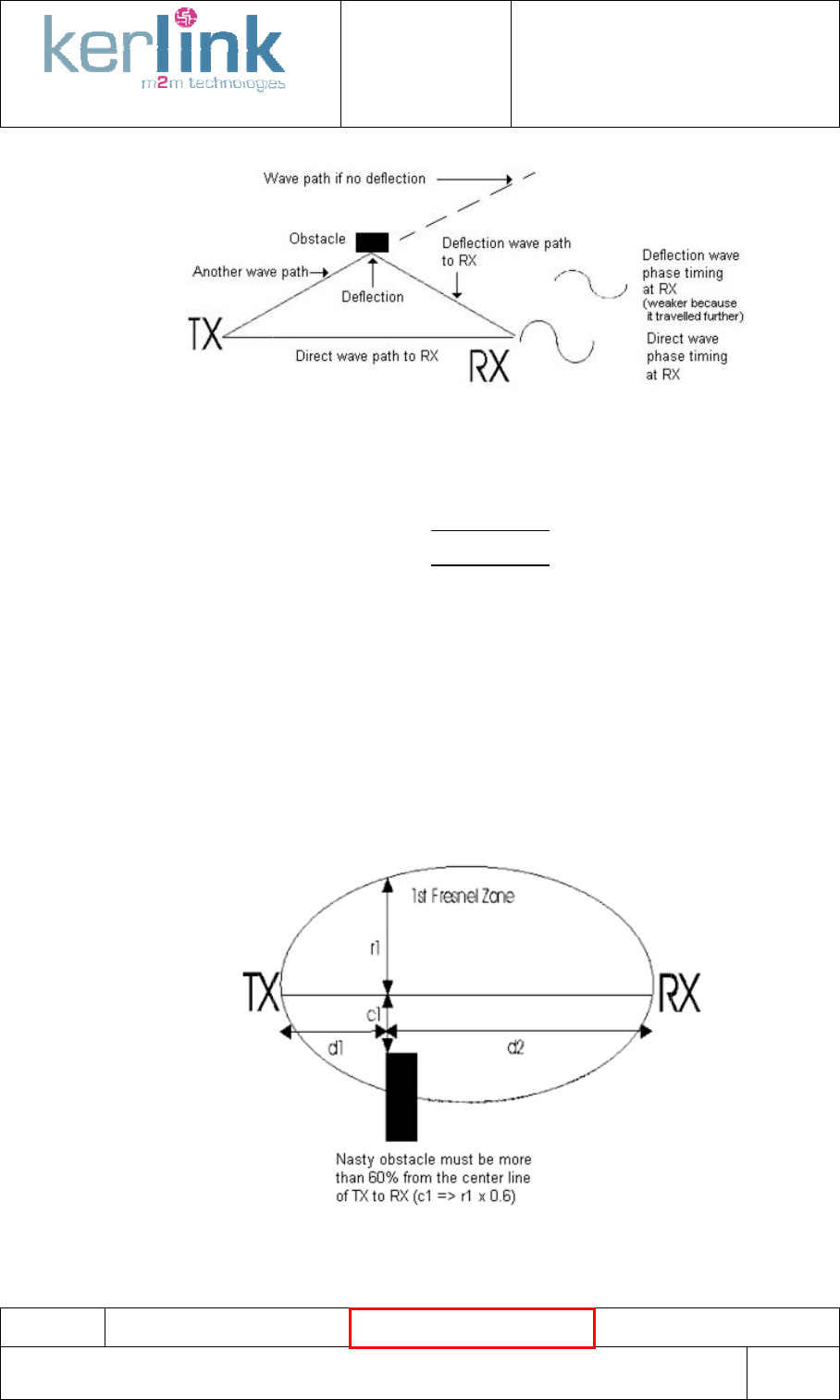
Figure 25 : Fading effects due to obstacles
Figure 26 : Fresnel ellipsoid clearance
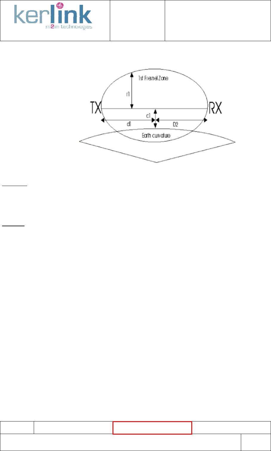
Figure 27 : Fresnel ellipsoid and earth
Figure 28 : Technical antenna 868 specifications
Figure 29 : Technical antenna 915 specifications
Figure 30 : attachment
of the antenna on the mounting set
Figure 31 : connection of LoRa RF antenna (bottom view)
Figure 32 : attachment of the RF antenna cable
Figure 33 : SIM Card
................................
Figure 34 : Test and Reset buttons
Figure 35 : LEDs indicators
................................
Figure 36 : Proprietary debug interface of the LoRa IoT Station
Figure 37 : USB connector of the LoRa IoT Station
Installation and
Maintenance
Manual
Reference:
INSTALL_
Station
Version ........ 2.0
Author .........
Michel GILBERT
Date .............
17/09/2015
2 – Confidential 3 -
Confidential limited
and can not
be distributed, used and/or reproduced without
KERLINK
authorization.
Figure 1: LoRa Network topology
................................................................
................................
Figure 2: LoRa IoT Station Block diagram
................................................................
................................
Figure 3 : LoRa IoT Station casing
- external view ................................
................................
Figure 4 : POE injector (example)
................................................................
................................
Figure 5 : LoRa IoT Station casing
- internal view ................................
................................
................................
................................
................................
Figure 7 : Single station installation (with SIM)
................................
................................
Figure 8 : Single station installation (No SIM)
................................
................................
station installation (with SIM)
................................
................................
station installation (No SIM)
................................
................................
................................
................................
................................
Figure 12 : DC power supply connection (temporary image)
................................
................................
Figure 13 : Mounting kit dimensions
................................................................
................................
Figure 14 : Universal antenna support dimensions
................................
................................
Figure 15 : Position of the universal antenna support when mounted on the enclosure support
Figure 16 : Pole mount set on the enclosure
................................
................................
Figure 17 : Another view of the pole mounting using U
-
bolt (no pole represented)
Figure 18 : Wall mount of the enclosure (front side)
................................
................................
the universal antenna support (front side)
................................
Figure 20 : Pole mount set using strapping
................................
................................
Figure 21 : Pole mounting of the universal antenna support using strapping
................................
Figure 22 : Urban (small city) Hata propagation model vs height of the antenna
................................
countryside Hata propagation model vs height of the antenna
................................
Figure 24 : Hata propagation model vs area configuration (Height = 1
2m)
................................
Figure 25 : Fading effects due to obstacles
................................
................................
Figure 26 : Fresnel ellipsoid clearance
................................................................
................................
Figure 27 : Fresnel ellipsoid and earth
curvature ................................
................................
Figure 28 : Technical antenna 868 specifications
................................
................................
Figure 29 : Technical antenna 915 specifications
................................
................................
of the antenna on the mounting set
................................
................................
Figure 31 : connection of LoRa RF antenna (bottom view)
................................
................................
Figure 32 : attachment of the RF antenna cable
................................
................................
................................
................................................................
................................
Figure 34 : Test and Reset buttons
................................................................
................................
................................
................................
................................
Figure 36 : Proprietary debug interface of the LoRa IoT Station
................................
Figure 37 : USB connector of the LoRa IoT Station
................................
................................
INSTALL_
Long_Range_IoT_
Michel GILBERT
17/09/2015
Confidential limited
written
Page
5 / 53
................................
......................... 8
................................
............. 9
................................
.............................. 19
................................
....................... 19
................................
............................... 20
................................
....................................... 21
................................
.................................. 26
................................
.................................... 26
................................
.................................. 27
................................
................................... 28
................................
......................... 29
................................
............ 30
................................
.................. 31
................................
............................ 32
Figure 15 : Position of the universal antenna support when mounted on the enclosure support
................... 32
................................
..................................... 33
bolt (no pole represented)
........................................ 33
................................
......................... 34
................................
.............................. 34
................................
........................................ 35
................................
................... 35
................................
............. 36
................................
............. 37
................................
...................... 38
................................
........................................ 42
................................
............... 42
................................
............................... 43
................................
............................... 44
................................
............................... 44
................................
............ 45
................................
................ 45
................................
................................ 46
................................
........... 47
................................
..................... 48
................................
................................. 49
................................
....................................... 51
................................
............................ 52

LoRa IoT Station
Classification
level 1 - Internal use only
This document is owned by
KLK
and can not
1 Open Issues
Reference
Status
[1]
2 References
Reference
Document/Link
[1]
https://www.lora
-
alliance.org/For-
Developers/LoRaWANDevelopers
[2]
[3]
3 Glossary
Keyword
Description
ADC
Analog to Digital Converter
AMR
Automatic Meter Reading
AP
Access Point
APC
Automated Power Control
API
Application Programming Interface
APN
Access Point Name
BTS
Base Transceiver S
tation
CAN
Control Area Network
CPU
Central Processing Unit
DAC
Digital to Analog Converter
DDRAM
Double Data Rate RAM
DHCP
Dynamic Host Configuration Protocol
DOTA
Download Over The Air
EIRP
Equivalent Isotropically Radiated P
EMC
ElectroMagnetic Compatibility
FTP
File Transfer Protocol
GPRS
General Packet Radio Service
GPS
Global Positioning System
GSM
Global System for Mobile communication
HTTP
HyperText Transfer Protocol
IK
Mechanical Impact
Installation and
Maintenance
Manual
Reference:
INSTALL_
Station
Version ........ 2.0
Author .........
Michel GILBERT
Date .............
17/09/2015
2 – Confidential 3 -
Confidential limited
and can not
be distributed, used and/or reproduced without
KERLINK
authorization.
Description
Description
Developers/LoRaWANDevelopers
LoRaWAN™ Specification
V1.0 2015 January
Analog to Digital Converter
Automatic Meter Reading
Automated Power Control
Application Programming Interface
tation
Control Area Network
Central Processing Unit
Digital to Analog Converter
Double Data Rate RAM
Dynamic Host Configuration Protocol
Download Over The Air
Equivalent Isotropically Radiated P
ower
ElectroMagnetic Compatibility
General Packet Radio Service
Global Positioning System
Global System for Mobile communication
HyperText Transfer Protocol
INSTALL_
Long_Range_IoT_
Michel GILBERT
17/09/2015
Confidential limited
written
Page
6 / 53
V1.0 2015 January

LoRa IoT Station
Classification
level 1 - Internal use only
This document is owned by
KLK
and can not
IO
In / Out
IoT
Internet of Things
IP
Internet Protocol or Ingress Protection
KLK
Kerlink
KNET
Kerlink M2M network
LED
Light
-
Emitting Diode
LoRa
Long
Range
LTE
Long Term Evolution
M2M
Machine to Machine
MIPS
Millions of Instructions Per Second
NFS
Network File System
NMEA
National Marine Electronics Association
PCB
Printed Circuit Board
PoE
Power over Ethernet
PU
Polyurethane
RAM
Random Access
Memory
RF
Radio Frequency
RSSI
Received Signal Strength Indicator
SAW
Surface Acoustic Wave
SI
Système d’Information
SIM
Subscriber Identity Module
SMA
SubMiniature version A
SSH
Secure Shell
TBD
To Be Defined
TCP
Transmission Control Protocol
UMTS
Universal Mobile Telecommunications System
USB
Universal Serial Bus
UV
UltraViolet
WAN
Wide Area Network
WLAN
Wireless Local Area Network
VHF
Very High Frequency
Installation and
Maintenance
Manual
Reference:
INSTALL_
Station
Version ........ 2.0
Author .........
Michel GILBERT
Date .............
17/09/2015
2 – Confidential 3 -
Confidential limited
and can not
be distributed, used and/or reproduced without
KERLINK
authorization.
Internet Protocol or Ingress Protection
Kerlink M2M network
Millions of Instructions Per Second
National Marine Electronics Association
Memory
Received Signal Strength Indicator
Surface Acoustic Wave
Système d’Information
Subscriber Identity Module
SubMiniature version A
Transmission Control Protocol
Universal Mobile Telecommunications System
Wireless Local Area Network
INSTALL_
Long_Range_IoT_
Michel GILBERT
17/09/2015
Confidential limited
written
Page
7 / 53

LoRa IoT Station
Classification
level 1 - Internal use only
This document is owned by
KLK
and can not
4 Introduction
The LoRa IoT
Station is part of the global Long Range Radio fix network to provide M2M connectivity link
between low power end-
point and Internet Access.
The product is based on LoRa technology provided by
Three different versions of LoRa IoT Stations are available to cover different countries and areas around the
world:
Please check (or contact Kerlink) the appropriate version for the dedicated country.
The present document addresses
Installation and
Maintenance
Manual
Reference:
INSTALL_
Station
Version ........ 2.0
Author .........
Michel GILBERT
Date .............
17/09/2015
2 – Confidential 3 -
Confidential limited
and can not
be distributed, used and/or reproduced without
KERLINK
authorization.
Station is part of the global Long Range Radio fix network to provide M2M connectivity link
point and Internet Access.
Figure 1: LoRa Network topology
The product is based on LoRa technology provided by
Semtech Company.
Three different versions of LoRa IoT Stations are available to cover different countries and areas around the
Please check (or contact Kerlink) the appropriate version for the dedicated country.
The present document addresses
all the above LoRa IoT Station versions.
INSTALL_
Long_Range_IoT_
Michel GILBERT
17/09/2015
Confidential limited
written
Page
8 / 53
Station is part of the global Long Range Radio fix network to provide M2M connectivity link
Three different versions of LoRa IoT Stations are available to cover different countries and areas around the
Please check (or contact Kerlink) the appropriate version for the dedicated country.

LoRa IoT Station
Classification
level 1 - Internal use only
This document is owned by
KLK
and can not
5 Description of the
LoRa
5.1 Block Diagram
The following figure describes the functional architecture:
Installation and
Maintenance
Manual
Reference:
INSTALL_
Station
Version ........ 2.0
Author .........
Michel GILBERT
Date .............
17/09/2015
2 – Confidential 3 -
Confidential limited
and can not
be distributed, used and/or reproduced without
KERLINK
authorization.
LoRa
IoT Station
The following figure describes the functional architecture:
Figure 2: LoRa IoT Station Block diagram
INSTALL_
Long_Range_IoT_
Michel GILBERT
17/09/2015
Confidential limited
written
Page
9 / 53

LoRa IoT Station
Classification
level 1 - Internal use only
This document is owned by
KLK
and can not
5.2
Technical specifications
5.2.1 LoRa IOT Station 868
Installation and
Maintenance
Manual
Reference:
INSTALL_
Station
Version ........ 2.0
Author .........
Michel GILBERT
Date .............
17/09/2015
2 – Confidential 3 -
Confidential limited
and can not
be distributed, used and/or reproduced without
KERLINK
authorization.
Technical specifications
INSTALL_
Long_Range_IoT_
Michel GILBERT
17/09/2015
Confidential limited
written
Page
10 / 53

LoRa IoT Station
Classification
level 1 - Internal use only
This document is owned by
KLK
and can not
Installation and
Maintenance
Manual
Reference:
INSTALL_
Station
Version ........ 2.0
Author .........
Michel GILBERT
Date .............
17/09/2015
2 – Confidential 3 -
Confidential limited
and can not
be distributed, used and/or reproduced without
KERLINK
authorization.
INSTALL_
Long_Range_IoT_
Michel GILBERT
17/09/2015
Confidential limited
written
Page
11 / 53

LoRa IoT Station
Classification
level 1 - Internal use only
This document is owned by
KLK
and can not
Installation and
Maintenance
Manual
Reference:
INSTALL_
Station
Version ........ 2.0
Author .........
Michel GILBERT
Date .............
17/09/2015
2 – Confidential 3 -
Confidential limited
and can not
be distributed, used and/or reproduced without
KERLINK
authorization.
INSTALL_
Long_Range_IoT_
Michel GILBERT
17/09/2015
Confidential limited
written
Page
12 / 53

LoRa IoT Station
Classification
level 1 - Internal use only
This document is owned by
KLK
and can not
5.2.2 LoRa IOT Station 915
Installation and
Maintenance
Manual
Reference:
INSTALL_
Station
Version ........ 2.0
Author .........
Michel GILBERT
Date .............
17/09/2015
2 – Confidential 3 -
Confidential limited
and can not
be distributed, used and/or reproduced without
KERLINK
authorization.
INSTALL_
Long_Range_IoT_
Michel GILBERT
17/09/2015
Confidential limited
written
Page
13 / 53

LoRa IoT Station
Classification
level 1 - Internal use only
This document is owned by
KLK
and can not
Installation and
Maintenance
Manual
Reference:
INSTALL_
Station
Version ........ 2.0
Author .........
Michel GILBERT
Date .............
17/09/2015
2 – Confidential 3 -
Confidential limited
and can not
be distributed, used and/or reproduced without
KERLINK
authorization.
INSTALL_
Long_Range_IoT_
Michel GILBERT
17/09/2015
Confidential limited
written
Page
14 / 53

LoRa IoT Station
Classification
level 1 - Internal use only
This document is owned by
KLK
and can not
Installation and
Maintenance
Manual
Reference:
INSTALL_
Station
Version ........ 2.0
Author .........
Michel GILBERT
Date .............
17/09/2015
2 – Confidential 3 -
Confidential limited
and can not
be distributed, used and/or reproduced without
KERLINK
authorization.
INSTALL_
Long_Range_IoT_
Michel GILBERT
17/09/2015
Confidential limited
written
Page
15 / 53

LoRa IoT Station
Classification
level 1 - Internal use only
This document is owned by
KLK
and can not
5.2.3 LoRa IOT Station 923
Installation and
Maintenance
Manual
Reference:
INSTALL_
Station
Version ........ 2.0
Author .........
Michel GILBERT
Date .............
17/09/2015
2 – Confidential 3 -
Confidential limited
and can not
be distributed, used and/or reproduced without
KERLINK
authorization.
INSTALL_
Long_Range_IoT_
Michel GILBERT
17/09/2015
Confidential limited
written
Page
16 / 53

LoRa IoT Station
Classification
level 1 - Internal use only
This document is owned by
KLK
and can not
Installation and
Maintenance
Manual
Reference:
INSTALL_
Station
Version ........ 2.0
Author .........
Michel GILBERT
Date .............
17/09/2015
2 – Confidential 3 -
Confidential limited
and can not
be distributed, used and/or reproduced without
KERLINK
authorization.
INSTALL_
Long_Range_IoT_
Michel GILBERT
17/09/2015
Confidential limited
written
Page
17 / 53

LoRa IoT Station
Classification
level 1 - Internal use only
This document is owned by
KLK
and can not
5.3
Mechanical implementation
The LoRa IoT
Station is based on a high impact resistant polycarbonate wall mounting cabinet that withstand
harsh industrial and outdoor environments.
It offers excellent flammability rating, good UV resistance and also good chemical resistance.
The dimensions are 231
mm x 125 mm x 60 mm. It is rated IP67.
The opening system is simple: clipping (screwing is optional)
Installation and
Maintenance
Manual
Reference:
INSTALL_
Station
Version ........ 2.0
Author .........
Michel GILBERT
Date .............
17/09/2015
2 – Confidential 3 -
Confidential limited
and can not
be distributed, used and/or reproduced without
KERLINK
authorization.
Mechanical implementation
Station is based on a high impact resistant polycarbonate wall mounting cabinet that withstand
harsh industrial and outdoor environments.
It offers excellent flammability rating, good UV resistance and also good chemical resistance.
mm x 125 mm x 60 mm. It is rated IP67.
The opening system is simple: clipping (screwing is optional)
INSTALL_
Long_Range_IoT_
Michel GILBERT
17/09/2015
Confidential limited
written
Page
18 / 53
Station is based on a high impact resistant polycarbonate wall mounting cabinet that withstand
It offers excellent flammability rating, good UV resistance and also good chemical resistance.

LoRa IoT Station
Classification
level 1 - Internal use only
This document is owned by
KLK
and can not
Installation and
Maintenance
Manual
Reference:
INSTALL_
Station
Version ........ 2.0
Author .........
Michel GILBERT
Date .............
17/09/2015
2 – Confidential 3 -
Confidential limited
and can not
be distributed, used and/or reproduced without
KERLINK
authorization.
Figure 3 : LoRa IoT Station casing - external view
Figure 4 : POE injector (example)
INSTALL_
Long_Range_IoT_
Michel GILBERT
17/09/2015
Confidential limited
written
Page
19 / 53

LoRa IoT Station
Classification
level 1 - Internal use only
This document is owned by
KLK
and can not
The LoRa IoT Station is composed of:
• The enclosure itself
including:
o
The casing (item 1)
o
1 cable gland for RJ45 POE (item 2). The LoRa IoT Station is delivered without RJ45 POE cable
(Ethernet cable).
o
1 N connector (item 3) to connect LoRa antenna
o
1 pressure stabilizer for protection against condensation (item 4)
•
LoRa RF antenna connection with N connector (item 5) and its cable
•
A POE injector (item 7) and its power supply cable.
•
The internal shielding (item 8)
•
A mounting kit (item 6) designed to answer different installation configurations:
o
Pole mounting by U
o Wall mounting
o
Metallic strapping mounting (tube, pipe, flue...)
The mounting kit owns
a full independent universal antenna support that could be mounted on the
enclosure support (by default) or directly on a pole, a
Installation and
Maintenance
Manual
Reference:
INSTALL_
Station
Version ........ 2.0
Author .........
Michel GILBERT
Date .............
17/09/2015
2 – Confidential 3 -
Confidential limited
and can not
be distributed, used and/or reproduced without
KERLINK
authorization.
Figure 5 : LoRa IoT Station casing - internal view
The LoRa IoT Station is composed of:
including:
The casing (item 1)
1 cable gland for RJ45 POE (item 2). The LoRa IoT Station is delivered without RJ45 POE cable
(Ethernet cable).
1 N connector (item 3) to connect LoRa antenna
1 pressure stabilizer for protection against condensation (item 4)
LoRa RF antenna connection with N connector (item 5) and its cable
A POE injector (item 7) and its power supply cable.
The internal shielding (item 8)
A mounting kit (item 6) designed to answer different installation configurations:
Pole mounting by U
-bolt (delivered by default)
Metallic strapping mounting (tube, pipe, flue...)
a full independent universal antenna support that could be mounted on the
enclosure support (by default) or directly on a pole, a
wall …
INSTALL_
Long_Range_IoT_
Michel GILBERT
17/09/2015
Confidential limited
written
Page
20 / 53
1 cable gland for RJ45 POE (item 2). The LoRa IoT Station is delivered without RJ45 POE cable
1 pressure stabilizer for protection against condensation (item 4)
A mounting kit (item 6) designed to answer different installation configurations:
a full independent universal antenna support that could be mounted on the

LoRa IoT Station
Classification
level 1 - Internal use only
This document is owned by
KLK
and can not
5.4 Stickers
The LoRa IoT Station has stickers placed inside
-
A sticker on the door including LoRa IoT Station seri
information (item 9)
- A stic
ker explaining the LEDs behaviour (item 10)
-
A sticker outside the casing including regulatory marking and sentences depending on the countries
(FCC ID, IC ID, etc …).
Installation and
Maintenance
Manual
Reference:
INSTALL_
Station
Version ........ 2.0
Author .........
Michel GILBERT
Date .............
17/09/2015
2 – Confidential 3 -
Confidential limited
and can not
be distributed, used and/or reproduced without
KERLINK
authorization.
Figure 6 : Mounting kit
The LoRa IoT Station has stickers placed inside
or outside the casing:
A sticker on the door including LoRa IoT Station seri
al number, regulatory markings
ker explaining the LEDs behaviour (item 10)
A sticker outside the casing including regulatory marking and sentences depending on the countries
INSTALL_
Long_Range_IoT_
Michel GILBERT
17/09/2015
Confidential limited
written
Page
21 / 53
al number, regulatory markings
and electrical
A sticker outside the casing including regulatory marking and sentences depending on the countries

LoRa IoT Station
Classification
level 1 - Internal use only
This document is owned by
KLK
and can not
6 Regulations
6.1 LoRa IoT Station 868
LoRa Io
T Station 868 complies with r
1 –
Electromagnetic compatibility (article 3.1
Applied standard(s):
2 –
Efficient use of the radio frequency spectrum (article 3.2 of the R&TTE Directive)
Applied standard(s):
3 – Safety (article 3.1-
a of the R&TTE Directive)
Applied standard(s):
4 – Magnetic field exposure
Applied standard(s)
The LoRa Io
T Station 868 is considered as a category 2 receiver according to the EN 300
The LoRa IoT Station 868
has CE marking.
In Europe, the LoRa IoT Station must comply to
maximum EIRP.
They are summarized in the following table:
ERC
70
-
03
Band
Frequency (MHz)
g1
865
-
868
g1.1
868
-
868,6
g1.2
868,7
-
869,2
g1.3
869,4
-
869,65
g1.4
869,7
-
870
g2
870
-
873
g2.1
870
-
873
Annex2/c
870
-
873
Installation and
Maintenance
Manual
Reference:
INSTALL_
Station
Version ........ 2.0
Author .........
Michel GILBERT
Date .............
17/09/2015
2 – Confidential 3 -
Confidential limited
and can not
be distributed, used and/or reproduced without
KERLINK
authorization.
T Station 868 complies with r
equirements
listed in the article 3 of the R&TTE 1999/5/EC Directive
Electromagnetic compatibility (article 3.1
-b of the R&TTE Directive)
Applied standard(s):
EN 301 489-1 issue 1.9.2
EN 301 489-3 issue 1.4.1
EN 301 489-7 issue 1.3.1
EN 301 489-19 issue 1.2.1
Efficient use of the radio frequency spectrum (article 3.2 of the R&TTE Directive)
Applied standard(s):
EN 301 511 issue 9.0.2
EN 301 908 issue 6.2.1
EN 300 440-1 issue 1.6.1
EN 300 440-2 issue 1.4.1
EN 300 220-1 issue 2.4.1
EN 300 220-2 issue 2.4.1
a of the R&TTE Directive)
Applied standard(s):
EN 60 950-
1 (Ed. 2006/A11 : 2009/A1 : 2010/A12:2011)
Applied standard(s)
: EN 50 385 ( Ed. 2002)
EN 62 479 ( Ed. 2010)
T Station 868 is considered as a category 2 receiver according to the EN 300
has CE marking.
In Europe, the LoRa IoT Station must comply to
the ERC 70-
3 requirements regarding duty cycle and
They are summarized in the following table:
Frequency (MHz)
Power
Duty cycle
"14dBm erp
6,5dBm/100KHz"
1,0%
868,6
14dBm erp
1%
869,2
14dBm
erp
0,1%
869,65
27dBm erp
10%
870
14dBm erp
1%
14dBm erp
0,1%
14dBm erp
1%
27dBm erp
2,5%
INSTALL_
Long_Range_IoT_
Michel GILBERT
17/09/2015
Confidential limited
written
Page
22 / 53
listed in the article 3 of the R&TTE 1999/5/EC Directive
Efficient use of the radio frequency spectrum (article 3.2 of the R&TTE Directive)
1 (Ed. 2006/A11 : 2009/A1 : 2010/A12:2011)
T Station 868 is considered as a category 2 receiver according to the EN 300
220-1.
3 requirements regarding duty cycle and

LoRa IoT Station
Classification
level 1 - Internal use only
This document is owned by
KLK
and can not
If the LoRa
antenna is changed, the output power must be adjusted to take into account the gain of the
antenna to not overrule the ERC 70
For other countries, outside Europe, check the maximum EIRP and duty cycle allowed.
6.2 LoRa IoT Station 915
The LoRa
IoT Station is compliant to:
- IEC 60950 -1
The LoRa is also
compliant to both FCC and IC regulations.
Applicable documents:
- CFR 47 FCC Part 15
o
FCC 47 CFR Part 15 : 2014
o
FCC PART 15.247
5850 MHz. (frequency
FCC Part 15.207 conducted emissions on AC mains in the band
FCC Part 15.247 intentional radiated emissions
FCC Part 15.21
- RSS 247
o RSS-Gen –
Issue 4, November 2014
Certification of radio Apparatus
o RSS-247
Issue 1, May 2015
Systems (FHSS
) and Licence
The associated FCC and IC identifiers are:
FCC ID : 2AFYS-KLK915LOI
IC : 20637-KLK915LOI
Model : LORA IOT STATION 915
Contains FCCID : QISMU509C
Contient IC : 6369A-MU509C
Model : MU509-c
Some conditions have to be respected to maintain the FCC
Canada
. They are detailed in the following
For others countries, check the specific regulations regarding maximu
6.2.1 FCC
As stated by the external sticker on the enclosure, “
Operation is subject to the following two conditions: (1) this device may not cause harmful interference, and
(2)
this device must accept any interference received, including interference that may cause undesired
operation.”
Installation and
Maintenance
Manual
Reference:
INSTALL_
Station
Version ........ 2.0
Author .........
Michel GILBERT
Date .............
17/09/2015
2 – Confidential 3 -
Confidential limited
and can not
be distributed, used and/or reproduced without
KERLINK
authorization.
antenna is changed, the output power must be adjusted to take into account the gain of the
antenna to not overrule the ERC 70
-3 regulation.
For other countries, outside Europe, check the maximum EIRP and duty cycle allowed.
IoT Station is compliant to:
compliant to both FCC and IC regulations.
FCC 47 CFR Part 15 : 2014
- Part 15- Radio frequency devices
FCC PART 15.247
- Operation within the bands 902–
928 MHz, 2400
5850 MHz. (frequency
hopping and digitally modulated)
FCC Part 15.207 conducted emissions on AC mains in the band
FCC Part 15.247 intentional radiated emissions
FCC Part 15.21
5 Additional provisions to the general radiated emissions
Issue 4, November 2014
-
General requirements and Information for the
Certification of radio Apparatus
Issue 1, May 2015
- Di
gital Transmission Systems (DTSS
) and Licence
-Exempt Local Area Network (LE-
LAN) Devices
The associated FCC and IC identifiers are:
Some conditions have to be respected to maintain the FCC
and IC
compliance of the device
. They are detailed in the following
paragraphs.
For others countries, check the specific regulations regarding maximu
m EIRP and duty cycle allowed.
As stated by the external sticker on the enclosure, “
This device complies with Part 15 of the FCC Rules.
Operation is subject to the following two conditions: (1) this device may not cause harmful interference, and
this device must accept any interference received, including interference that may cause undesired
INSTALL_
Long_Range_IoT_
Michel GILBERT
17/09/2015
Confidential limited
written
Page
23 / 53
antenna is changed, the output power must be adjusted to take into account the gain of the
For other countries, outside Europe, check the maximum EIRP and duty cycle allowed.
928 MHz, 2400
–2483.5 MHz, and 5725–
FCC Part 15.207 conducted emissions on AC mains in the band
150kHz – 30MHz
5 Additional provisions to the general radiated emissions
limitations
General requirements and Information for the
gital Transmission Systems (DTSS
), Frequency Hopping
LAN) Devices
compliance of the device
s vin USA and
m EIRP and duty cycle allowed.
This device complies with Part 15 of the FCC Rules.
Operation is subject to the following two conditions: (1) this device may not cause harmful interference, and
this device must accept any interference received, including interference that may cause undesired

LoRa IoT Station
Classification
level 1 - Internal use only
This document is owned by
KLK
and can not
Changes or modifications not expressly approved by the party responsible for compliance could void the
user's authority to operate the
equipment.
This equipment has been tested and found to comply with the limits for a Class A digital device, pursuant to
part 15 of the FCC Rules. These limits are designed to provide reasonable protection against harmful
interference when the equipment is
and can radiate radio frequency energy and, if not installed and used in accordance with the instruction
manual, may cause harmful interference to radio communications. Operation of thi
residential area is likely to cause harmful interference in which case the user will be required to correct the
interference at his own expense.
This device must be professionally installed.
Also, some specific recommendations for exposu
This equipment complies with FCC’s radiation exposure limits set forth for an uncontrolled environment
under the following conditions:
1.
This equipment should be installed and operated such that a minimum separation
20
cm is maintained between the radiator (antenna) and user’s/nearby person’s body at all
times.
2.
This transmitter must not be co
or transmitter.
6.2.2 IC
This device complies with Industr
Operation is subject to the following two conditions:
1. This device may not cause harmful interference, and
2. This device must accept any interference received, including interference that may cause
undesired operation of
Le présent appareil est conforme aux CNR d'Industrie Canada applicables aux appareils radio exempts de
licence.
L'exploitation est autorisée aux deux conditions suivantes :
1. L’appareil ne doit pas produire de brouillage ;
2. l'utilisateur de
l'appareil doit accepter tout brouillage radioélectrique subi, même si le brouillage
est susceptible d'en compromettre le fonctionnement.
Under Industry Canada regulations, this radio transmi
maximum
(or lesser) gain approved for the t
interference to other us
ers, that antenna type and its
isotropically radiated power (
EIRP)
This radio transmitter (IC –
KLK915LOI
types listed below with th
e maximum permissible gain and
type indicated.
Antenna types not
indicated for that type, are
strictly prohibited for use with the device.
Installation and
Maintenance
Manual
Reference:
INSTALL_
Station
Version ........ 2.0
Author .........
Michel GILBERT
Date .............
17/09/2015
2 – Confidential 3 -
Confidential limited
and can not
be distributed, used and/or reproduced without
KERLINK
authorization.
Changes or modifications not expressly approved by the party responsible for compliance could void the
equipment.
This equipment has been tested and found to comply with the limits for a Class A digital device, pursuant to
part 15 of the FCC Rules. These limits are designed to provide reasonable protection against harmful
interference when the equipment is
operated in a commercial environment. This equipment generates, uses,
and can radiate radio frequency energy and, if not installed and used in accordance with the instruction
manual, may cause harmful interference to radio communications. Operation of thi
residential area is likely to cause harmful interference in which case the user will be required to correct the
interference at his own expense.
This device must be professionally installed.
Also, some specific recommendations for exposu
re to magnetic fields must be followed:
This equipment complies with FCC’s radiation exposure limits set forth for an uncontrolled environment
This equipment should be installed and operated such that a minimum separation
cm is maintained between the radiator (antenna) and user’s/nearby person’s body at all
This transmitter must not be co
-
located or operating in conjunction with any other antenna
This device complies with Industr
y Canada’s licence-exempt RSSs.
Operation is subject to the following two conditions:
1. This device may not cause harmful interference, and
2. This device must accept any interference received, including interference that may cause
undesired operation of
the device.
Le présent appareil est conforme aux CNR d'Industrie Canada applicables aux appareils radio exempts de
L'exploitation est autorisée aux deux conditions suivantes :
1. L’appareil ne doit pas produire de brouillage ;
l'appareil doit accepter tout brouillage radioélectrique subi, même si le brouillage
est susceptible d'en compromettre le fonctionnement.
Under Industry Canada regulations, this radio transmi
tter may only operate using an
(or lesser) gain approved for the t
ransmitter by Industry
Canada. To reduce potential radio
ers, that antenna type and its
gain should be so chosen that the equivalent
EIRP)
is not more than that necess
ary for successful communication.
KLK915LOI
) has been
approved by Industry Canada to
e maximum permissible gain and
required antenna impedance for each antenna
Antenna types not
included
in this list, having a gain greater than the maximum gai
strictly prohibited for use with the device.
INSTALL_
Long_Range_IoT_
Michel GILBERT
17/09/2015
Confidential limited
written
Page
24 / 53
Changes or modifications not expressly approved by the party responsible for compliance could void the
This equipment has been tested and found to comply with the limits for a Class A digital device, pursuant to
part 15 of the FCC Rules. These limits are designed to provide reasonable protection against harmful
operated in a commercial environment. This equipment generates, uses,
and can radiate radio frequency energy and, if not installed and used in accordance with the instruction
manual, may cause harmful interference to radio communications. Operation of thi
s equipment in a
residential area is likely to cause harmful interference in which case the user will be required to correct the
re to magnetic fields must be followed:
This equipment complies with FCC’s radiation exposure limits set forth for an uncontrolled environment
This equipment should be installed and operated such that a minimum separation
distance of
cm is maintained between the radiator (antenna) and user’s/nearby person’s body at all
located or operating in conjunction with any other antenna
2. This device must accept any interference received, including interference that may cause
Le présent appareil est conforme aux CNR d'Industrie Canada applicables aux appareils radio exempts de
l'appareil doit accepter tout brouillage radioélectrique subi, même si le brouillage
tter may only operate using an
antenna of a type and
Canada. To reduce potential radio
gain should be so chosen that the equivalent
ary for successful communication.
approved by Industry Canada to
operate with the antenna
required antenna impedance for each antenna
in this list, having a gain greater than the maximum gai
n

LoRa IoT Station
Classification
level 1 - Internal use only
This document is owned by
KLK
and can not
6.3 LoRa IOT Station 923
On going
Installation and
Maintenance
Manual
Reference:
INSTALL_
Station
Version ........ 2.0
Author .........
Michel GILBERT
Date .............
17/09/2015
2 – Confidential 3 -
Confidential limited
and can not
be distributed, used and/or reproduced without
KERLINK
authorization.
INSTALL_
Long_Range_IoT_
Michel GILBERT
17/09/2015
Confidential limited
written
Page
25 / 53

LoRa IoT Station
Classification
level 1 - Internal use only
This document is owned by
KLK
and can not
7
Installation procedure
This device must be professionally
Changes or modifications not expressly approved by the party responsible for compliance could void the
user's authority to operate the equipment.
7.1 Installation topology
7.1.1 Single station installation
With SIM Subscription
Figure 7
: Single station installation (with SIM)
Installation and
Maintenance
Manual
Reference:
INSTALL_
Station
Version ........ 2.0
Author .........
Michel GILBERT
Date .............
17/09/2015
2 – Confidential 3 -
Confidential limited
and can not
be distributed, used and/or reproduced without
KERLINK
authorization.
Installation procedure
This device must be professionally
installed.
Changes or modifications not expressly approved by the party responsible for compliance could void the
user's authority to operate the equipment.
Without SIM Subscription
: Single station installation (with SIM)
Figure 8
: Single station installation (No SIM)
INSTALL_
Long_Range_IoT_
Michel GILBERT
17/09/2015
Confidential limited
written
Page
26 / 53
Changes or modifications not expressly approved by the party responsible for compliance could void the
Without SIM Subscription
: Single station installation (No SIM)

LoRa IoT Station
Classification
level 1 - Internal use only
This document is owned by
KLK
and can not
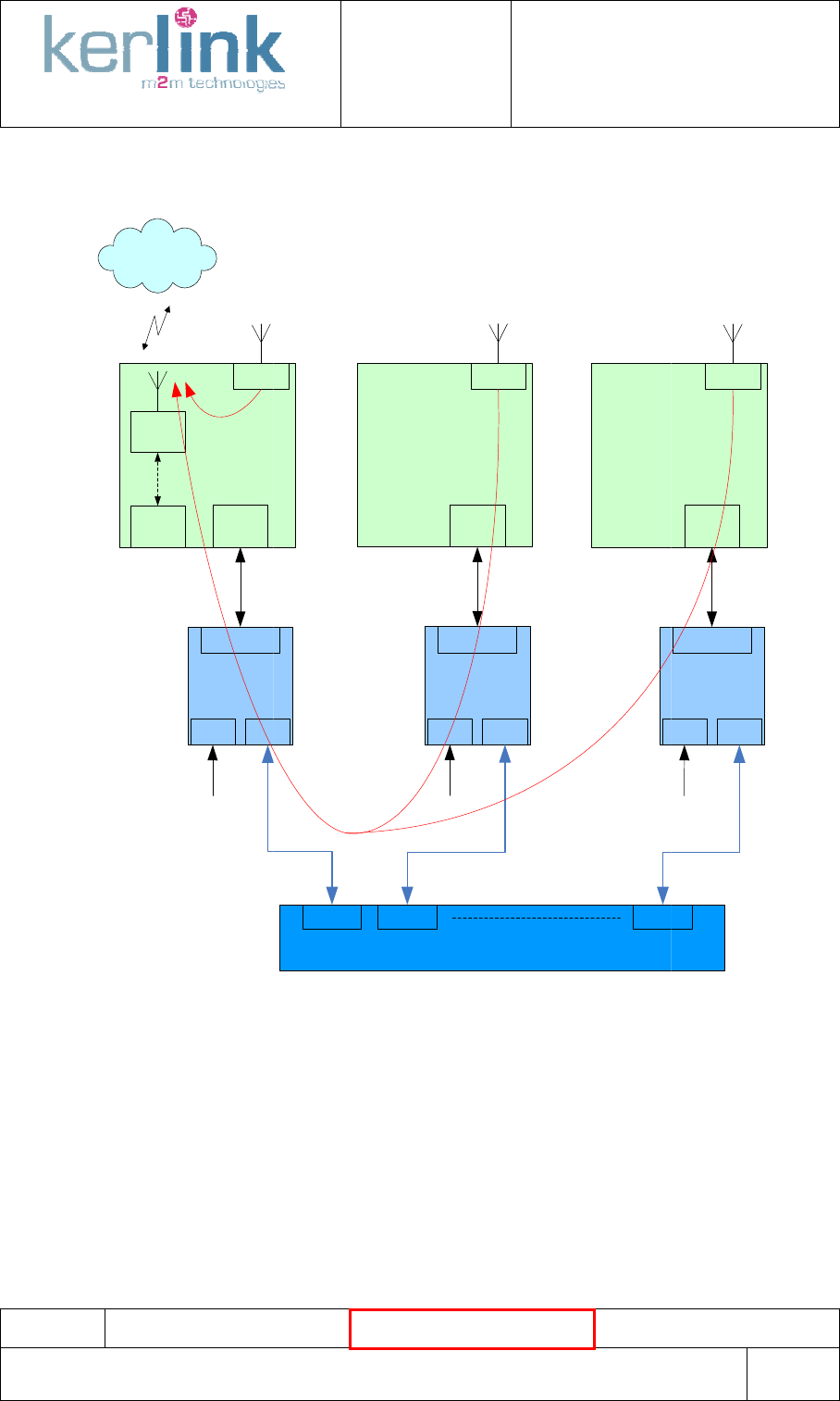
7.1.2 Multi-station installation
7.1.2.1 With SIM Subscription
LoRa IoT
Station
1
SIM
3G
POE
Injector
POE
ETH+PWR
PWR
ETH
220V/230VAC
LoRa
IP Router
WAN
connection
Installation and
Maintenance
Manual
Reference:
INSTALL_
Station
Version ........ 2.0
Author .........
Michel GILBERT
Date .............
17/09/2015
2 – Confidential 3 -
Confidential limited
and can not
be distributed, used and/or reproduced without
KERLINK
authorization.
Figure 9 : Multi-station installation (with SIM)
ETH
LoRa
Ethernet switch
Port 1 Port 2
Port N
LoRa IoT
Station
220
V
LoRa IoT
Station
2
POE
Injector
POE
ETH+PWR
PWR ETH
220V/230VAC
LoRa
INSTALL_
Long_Range_IoT_
Michel GILBERT
17/09/2015
Confidential limited
written
Page
27 / 53
Port N
LoRa IoT
Station
N
POE
Injector
POE
ETH+PWR
PWR ETH
V
/230VAC
LoRa

LoRa IoT Station
Classification
level 1 - Internal use only
This document is owned by
KLK
and can not
7.1.2.2
Without SIM Subscription
Installation and
Maintenance
Manual
Reference:
INSTALL_
Station
Version ........ 2.0
Author .........
Michel GILBERT
Date .............
17/09/2015
2 – Confidential 3 -
Confidential limited
and can not
be distributed, used and/or reproduced without
KERLINK
authorization.
Without SIM Subscription
Figure 10 : Multi-station installation (No SIM)
INSTALL_
Long_Range_IoT_
Michel GILBERT
17/09/2015
Confidential limited
written
Page
28 / 53

LoRa IoT Station
Classification
level 1 - Internal use only
This document is owned by
KLK
and can not
7.2
Electric distribution to the LoRa IoT Station
7.2.1 Safety standard
The installation must conformed to EN
7.2.2 Power-Over-
Ethernet (POE) power supply
The LoRa IoT Station is supplied through Ethernet cable: POE 48V class
The nominal current is about 70mA in Lora Rx mode with the GSM in a network a
Kerlink recommends a CAT6 SSTP standard Ethernet cable.
The maximum cable length is 100m.
On LoRa IoT Station side, the Ethernet cable must be
of the cable must be clamp like in the
T
he internal wires have to be connected to the terminal block as described on the
The cable gland allows external cable diameter
On t
he other side of the POE cable, RJ45 connector must be inserted into POE injector. This POE injector is
connected to 230VAC.
The POE injector must be installed in accordance to its own specifications.
Installation and
Maintenance
Manual
Reference:
INSTALL_
Station
Version ........ 2.0
Author .........
Michel GILBERT
Date .............
17/09/2015
2 – Confidential 3 -
Confidential limited
and can not
be distributed, used and/or reproduced without
KERLINK
authorization.
Electric distribution to the LoRa IoT Station
The installation must conformed to EN
60728-11 (Cabled distribution systems
standard).
Ethernet (POE) power supply
The LoRa IoT Station is supplied through Ethernet cable: POE 48V class
0
(Max: 15
The nominal current is about 70mA in Lora Rx mode with the GSM in a network a
Kerlink recommends a CAT6 SSTP standard Ethernet cable.
The maximum cable length is 100m.
On LoRa IoT Station side, the Ethernet cable must be
firstly
inserted through the cable gland.
of the cable must be clamp like in the
following picture to get a good earth shielding.
he internal wires have to be connected to the terminal block as described on the
Figure 11 : Ethernet connection
The cable gland allows external cable diameter
from 4mm to 8 mm.
he other side of the POE cable, RJ45 connector must be inserted into POE injector. This POE injector is
The POE injector must be installed in accordance to its own specifications.
INSTALL_
Long_Range_IoT_
Michel GILBERT
17/09/2015
Confidential limited
written
Page
29 / 53
standard).
(Max: 15
Watts)
The nominal current is about 70mA in Lora Rx mode with the GSM in a network a
ttached mode.
inserted through the cable gland.
Then, the shield
following picture to get a good earth shielding.
he internal wires have to be connected to the terminal block as described on the
picture below:
he other side of the POE cable, RJ45 connector must be inserted into POE injector. This POE injector is

LoRa IoT Station
Classification
level 1 - Internal use only
This document is owned by
KLK
and can not
7.2.3 Solar power supply
The LoRa I
oT Station can be also supply with a DC power supply as a solar panel. The input voltage range is
11 to 30VDC.
The power supply must be qualified as a limited power source.
The maximum power is 13W.
The nominal current for a 12V power supply is about 250mA
attached mode.
After insertion through the cable gland, a 2
described on the figure below:
Figure
The cable gland allows external cable diameter from 4mm to 8 mm.
Installation and
Maintenance
Manual
Reference:
INSTALL_
Station
Version ........ 2.0
Author .........
Michel GILBERT
Date .............
17/09/2015
2 – Confidential 3 -
Confidential limited
and can not
be distributed, used and/or reproduced without
KERLINK
authorization.
oT Station can be also supply with a DC power supply as a solar panel. The input voltage range is
The power supply must be qualified as a limited power source.
The nominal current for a 12V power supply is about 250mA
in Lora Rx Mode with the GSM in a network
After insertion through the cable gland, a 2
-
wire cable can be connected to the dedicated terminal block
Figure
12 : DC power supply connection (temporary image)
The cable gland allows external cable diameter from 4mm to 8 mm.
INSTALL_
Long_Range_IoT_
Michel GILBERT
17/09/2015
Confidential limited
written
Page
30 / 53
oT Station can be also supply with a DC power supply as a solar panel. The input voltage range is
in Lora Rx Mode with the GSM in a network
wire cable can be connected to the dedicated terminal block
as

LoRa IoT Station
Classification
level 1 - Internal use only
This document is owned by
KLK
and can not
7.3
Mounting of the enclosure
7.3.1
GPS and GSM considerations
The LoRa ioT
Station owns a GPS and a GSM integrated solutions. Those both technologies
product in an open environment to get acceptable performances.
Depending on the LoRa IoT Station version, different WAN configuration can be used:
- LoRa IoT
Station 868: EGSM900/DCS1800/UMTS900/UMTS2100
- LoRa IoT
Station 915: GSM850/
- LoRa IoT
Station 923: EGSM900/DCS1800/UMTS900/UMTS2100
7.3.2 General considerations
The LoRa IoT Station must be mounted on any concrete pedestal, concrete wall or any non
surface (UL94-V0).
It must not be mounted on a flammab
The mounting kit delivered with the LoRa IoT Station allows fixing the product in different ways.
Installation and
Maintenance
Manual
Reference:
INSTALL_
Station
Version ........ 2.0
Author .........
Michel GILBERT
Date .............
17/09/2015
2 – Confidential 3 -
Confidential limited
and can not
be distributed, used and/or reproduced without
KERLINK
authorization.
Mounting of the enclosure
GPS and GSM considerations
Station owns a GPS and a GSM integrated solutions. Those both technologies
product in an open environment to get acceptable performances.
Depending on the LoRa IoT Station version, different WAN configuration can be used:
Station 868: EGSM900/DCS1800/UMTS900/UMTS2100
Station 915: GSM850/
PCS1900/UMTS850/UMTS1900
Station 923: EGSM900/DCS1800/UMTS900/UMTS2100
The LoRa IoT Station must be mounted on any concrete pedestal, concrete wall or any non
It must not be mounted on a flammab
le surface.
The mounting kit delivered with the LoRa IoT Station allows fixing the product in different ways.
Figure 13 : Mounting kit dimensions
INSTALL_
Long_Range_IoT_
Michel GILBERT
17/09/2015
Confidential limited
written
Page
31 / 53
Station owns a GPS and a GSM integrated solutions. Those both technologies
need to install the
Depending on the LoRa IoT Station version, different WAN configuration can be used:
The LoRa IoT Station must be mounted on any concrete pedestal, concrete wall or any non
-flammable
The mounting kit delivered with the LoRa IoT Station allows fixing the product in different ways.

LoRa IoT Station
Classification
level 1 - Internal use only
This document is owned by
KLK
and can not
7.3.3
Position of the universal antenna support
The universal antenna support as described on
To optimize the
colocation between the internal
20 cm is required between both radiated parts.
Therefore, when possible we strongly recommend dissociating the universal antenna support away from the
enclosure
support. This is the best way to guarantee the 20
antenna.
When the dissociation is not possible, the LoRa antenna must be placed on the opposite side of the GSM
antenna as described on Figure
15
Figure 15 :
Position of the u
Internal GSM
antenna area
Installation and
Maintenance
Manual
Reference:
INSTALL_
Station
Version ........ 2.0
Author .........
Michel GILBERT
Date .............
17/09/2015
2 – Confidential 3 -
Confidential limited
and can not
be distributed, used and/or reproduced without
KERLINK
authorization.
Figure 14 : Universal antenna support dimensions
Position of the universal antenna support
vs. the enclosure
The universal antenna support as described on
Figure 14
is intended for the LoRa antenna.
colocation between the internal
GSM antenna and the external LoRa antenna, a distance of
20 cm is required between both radiated parts.
Therefore, when possible we strongly recommend dissociating the universal antenna support away from the
support. This is the best way to guarantee the 20
cm min distance between GSM antenna and LoRa
When the dissociation is not possible, the LoRa antenna must be placed on the opposite side of the GSM
15
.
Position of the u
niversal antenna support
when mounted on the enclosure support
LoRa antenna
Universal antenna
support on the
right side
20
cm
Internal GSM
antenna area
INSTALL_
Long_Range_IoT_
Michel GILBERT
17/09/2015
Confidential limited
written
Page
32 / 53
is intended for the LoRa antenna.
GSM antenna and the external LoRa antenna, a distance of
Therefore, when possible we strongly recommend dissociating the universal antenna support away from the
cm min distance between GSM antenna and LoRa
When the dissociation is not possible, the LoRa antenna must be placed on the opposite side of the GSM
when mounted on the enclosure support
LoRa antenna
Universal antenna
support on the
right side

LoRa IoT Station
Classification
level 1 - Internal use only
This document is owned by
KLK
and can not
7.3.4 Pole mounting by U-bolt
By default, the LoRa IoT Station is delivered with a U
of 60mm.
To tighten the U-
bolt, it is recommended to use nut
Figure 17
: Another view of the pole mounting using U
1 nut on each side
Installation and
Maintenance
Manual
Reference:
INSTALL_
Station
Version ........ 2.0
Author .........
Michel GILBERT
Date .............
17/09/2015
2 – Confidential 3 -
Confidential limited
and can not
be distributed, used and/or reproduced without
KERLINK
authorization.
By default, the LoRa IoT Station is delivered with a U
-
bolt to be mounted on a pole of a maximum diameter
bolt, it is recommended to use nut
s provided in the m
ounting kit.
Figure 16 : Pole mount set on the enclosure
: Another view of the pole mounting using U
-
bolt (no pole represented)
1 nut on each side
INSTALL_
Long_Range_IoT_
Michel GILBERT
17/09/2015
Confidential limited
written
Page
33 / 53
bolt to be mounted on a pole of a maximum diameter
ounting kit.
bolt (no pole represented)
U
-
bolt

LoRa IoT Station
Classification
level 1 - Internal use only
This document is owned by
KLK
and can not
For safety reason, the
metallic mounting kit
good earth connection on the metallic pole since the U
7.3.5 Wall mounting
The LoRa IoT Station can be also mounted on a wall with M4 screws (not delivered with
Figure
19
Installation and
Maintenance
Manual
Reference:
INSTALL_
Station
Version ........ 2.0
Author .........
Michel GILBERT
Date .............
17/09/2015
2 – Confidential 3 -
Confidential limited
and can not
be distributed, used and/or reproduced without
KERLINK
authorization.
metallic mounting kit
must own a good earth connection.
good earth connection on the metallic pole since the U
-bolt is conductive.
The LoRa IoT Station can be also mounted on a wall with M4 screws (not delivered with
Figure 18 : Wall mount of the enclosure (front side)
19
: Wall mount of the universal antenna support (front side)
2 x M4 screws or 2x M8 long screw
2 x M4 screws
2 x M4 screws
or 2x M8 long screw
INSTALL_
Long_Range_IoT_
Michel GILBERT
17/09/2015
Confidential limited
written
Page
34 / 53
must own a good earth connection.
This may be ensured by a
The LoRa IoT Station can be also mounted on a wall with M4 screws (not delivered with
the mounting kit).
: Wall mount of the universal antenna support (front side)
or 2x M8 long screw

LoRa IoT Station
Classification
level 1 - Internal use only
This document is owned by
KLK
and can not
For safety reason, the
metallic mounting kit
adding an earth connection on one of the four screws (fastening not delivered by default).
7.3.6
Metallic strapping mounting
The LoRa IoT Station can be also mounted on a pole by strapping. The maximum acceptable width of the
strapping is 25mm. It is recommended to use 2 metallic strappings as described on the figure below:
Figure 21
:
For safety reason, the
metallic mounting
good earth connection on the metallic pole if strappings are conductive.
Installation and
Maintenance
Manual
Reference:
INSTALL_
Station
Version ........ 2.0
Author .........
Michel GILBERT
Date .............
17/09/2015
2 – Confidential 3 -
Confidential limited
and can not
be distributed, used and/or reproduced without
KERLINK
authorization.
metallic mounting kit
must own a good earth connection.
adding an earth connection on one of the four screws (fastening not delivered by default).
Metallic strapping mounting
The LoRa IoT Station can be also mounted on a pole by strapping. The maximum acceptable width of the
strapping is 25mm. It is recommended to use 2 metallic strappings as described on the figure below:
Figure 20 : Pole mount set using strapping
:
Pole mounting of the universal antenna support
using strapping
metallic mounting
kit
must own a good earth connection.
good earth connection on the metallic pole if strappings are conductive.
INSTALL_
Long_Range_IoT_
Michel GILBERT
17/09/2015
Confidential limited
written
Page
35 / 53
must own a good earth connection.
This may be ensured by
adding an earth connection on one of the four screws (fastening not delivered by default).
The LoRa IoT Station can be also mounted on a pole by strapping. The maximum acceptable width of the
strapping is 25mm. It is recommended to use 2 metallic strappings as described on the figure below:
using strapping
must own a good earth connection.
This may be ensured by a
Strapping
Alternative
Strapping
positions

LoRa IoT Station
Classification
level 1 - Internal use only
This document is owned by
KLK
and can not
7.3.7 Key parameters
to optimise the
7.3.7.1 Height of the site
A key point to have an optimized LoRa IoT
of the LoRa antenna. The LoRa IoT Station must be installed as high as possible to have the better reception.
The figures below shows
the RSSI of the signal vs. the distance to the end
station (4m, 8m, 12m and 30m). Two uses cases are presented: one for a small city configuration (urban
area) and one for countryside
area.
The propagation model used is based on Hata model.
The frequency is 868MHz
in this case but performance and conclusions at 915MHz would be almost identical.
The RSSI is the received
signal by the LoRa IoT Station.
The end point EIRP is assumed to be 25mW.
The height of the end point is 1m.
Figure 22 :
Urban (small city) Hata propagation model vs height of the antenna
Installation and
Maintenance
Manual
Reference:
INSTALL_
Station
Version ........ 2.0
Author .........
Michel GILBERT
Date .............
17/09/2015
2 – Confidential 3 -
Confidential limited
and can not
be distributed, used and/or reproduced without
KERLINK
authorization.
to optimise the
radio performance
A key point to have an optimized LoRa IoT
reception is the height of installation site and moreover the height
of the LoRa antenna. The LoRa IoT Station must be installed as high as possible to have the better reception.
the RSSI of the signal vs. the distance to the end
point vs. the height of the Lora IoT
station (4m, 8m, 12m and 30m). Two uses cases are presented: one for a small city configuration (urban
area.
The propagation model used is based on Hata model.
in this case but performance and conclusions at 915MHz would be almost identical.
signal by the LoRa IoT Station.
The end point EIRP is assumed to be 25mW.
The height of the end point is 1m.
Urban (small city) Hata propagation model vs height of the antenna
INSTALL_
Long_Range_IoT_
Michel GILBERT
17/09/2015
Confidential limited
written
Page
36 / 53
reception is the height of installation site and moreover the height
of the LoRa antenna. The LoRa IoT Station must be installed as high as possible to have the better reception.
point vs. the height of the Lora IoT
station (4m, 8m, 12m and 30m). Two uses cases are presented: one for a small city configuration (urban
in this case but performance and conclusions at 915MHz would be almost identical.
Urban (small city) Hata propagation model vs height of the antenna

LoRa IoT Station
Classification
level 1 - Internal use only
This document is owned by
KLK
and can not
Figure 23 :
Rural countryside Hata propagation model vs height of the antenna
What is noticeable is that the coverage distance at a fixed RSSI is doubled dep
antenna.
7.3.7.2
Propagation model vs area type
Predicting the RSSI and more generally the coverage of the LoRa IoT Station depends on many factors. The
propagation channel must be well defined and known to have an efficient prediction.
Radio coverage simulations are recommended before the installation of the LoRa IoT Stations to make sure
the gateway would cover the expected area. Contact Kerlink for more information.
In a first approach, t
he figure below show
of area (urban, suburban, countryside, desert). The height of the LoRa antenna is assumed to be 12 meters.
The propagation model used is based on Hata model.
The frequency is 868MHz in
this case but performance and conclusions at 915MHz would be almost identical.
The RSSI is the received
signal by the LoRa IoT Station.
The end point EIRP is assumed to be 25mW.
The height of the end point is 1m.
Installation and
Maintenance
Manual
Reference:
INSTALL_
Station
Version ........ 2.0
Author .........
Michel GILBERT
Date .............
17/09/2015
2 – Confidential 3 -
Confidential limited
and can not
be distributed, used and/or reproduced without
KERLINK
authorization.
Rural countryside Hata propagation model vs height of the antenna
What is noticeable is that the coverage distance at a fixed RSSI is doubled dep
Propagation model vs area type
Predicting the RSSI and more generally the coverage of the LoRa IoT Station depends on many factors. The
propagation channel must be well defined and known to have an efficient prediction.
Radio coverage simulations are recommended before the installation of the LoRa IoT Stations to make sure
the gateway would cover the expected area. Contact Kerlink for more information.
he figure below show
s
the RSSI of the signal vs. the distance to the end point vs. the type
of area (urban, suburban, countryside, desert). The height of the LoRa antenna is assumed to be 12 meters.
The propagation model used is based on Hata model.
this case but performance and conclusions at 915MHz would be almost identical.
signal by the LoRa IoT Station.
The end point EIRP is assumed to be 25mW.
The height of the end point is 1m.
INSTALL_
Long_Range_IoT_
Michel GILBERT
17/09/2015
Confidential limited
written
Page
37 / 53
Rural countryside Hata propagation model vs height of the antenna
What is noticeable is that the coverage distance at a fixed RSSI is doubled dep
ending on the height of the
Predicting the RSSI and more generally the coverage of the LoRa IoT Station depends on many factors. The
propagation channel must be well defined and known to have an efficient prediction.
Radio coverage simulations are recommended before the installation of the LoRa IoT Stations to make sure
the gateway would cover the expected area. Contact Kerlink for more information.
the RSSI of the signal vs. the distance to the end point vs. the type
of area (urban, suburban, countryside, desert). The height of the LoRa antenna is assumed to be 12 meters.
this case but performance and conclusions at 915MHz would be almost identical.

LoRa IoT Station
Classification
level 1 - Internal use only
This document is owned by
KLK
and can not
Figure 24
The coverage radius of the LoRa IoT station, depending on the area type can vary from 2 km (urban areas) to
15 km (desert countryside).
7.3.7.3 Co-localiz
ation with GSM/UMTS/LTE
The LoRa IoT Station
insures good co
BTS, in two ways:
-
Limited spurious and noise generated in the BTS receiver bands
-
Immunity to BTS transmitter
The LoRa IoT Station
is obviously compliant
country. However, mee
ting these
sharing the same site.
This is why KERLINK has reinforced these specifications to allow th
KERLINK has designed the transmitter to reduce the spurious and the noise generated in the BTS receive
bands below -
80dBm in a 100KHz resolution bandwidth. This is then pretty much in line with BTS
specifications to insure co-
localization
The measurements made on the
The receiver offers also
high attenuation outside the
High attenuation of out of band blockers is obtained:
• >105dB at +/-
10MHz
• >150dB in BTS
downlink bands
This means that the blockers levels, due to the BTS, could be up to +10dBm causing no
gateway.
Installation and
Maintenance
Manual
Reference:
INSTALL_
Station
Version ........ 2.0
Author .........
Michel GILBERT
Date .............
17/09/2015
2 – Confidential 3 -
Confidential limited
and can not
be distributed, used and/or reproduced without
KERLINK
authorization.
: Hata propagation model vs
area configuration (Height = 12m)
The coverage radius of the LoRa IoT station, depending on the area type can vary from 2 km (urban areas) to
ation with GSM/UMTS/LTE
transmitters
insures good co
-localization
other transmitters on the same site, and especially
Limited spurious and noise generated in the BTS receiver bands
Immunity to BTS transmitter
is obviously compliant
to all
EMC emissions and immunity
ting these
regulations is not sufficient to insure good coexistence with BT
This is why KERLINK has reinforced these specifications to allow th
e coexistence.
KERLINK has designed the transmitter to reduce the spurious and the noise generated in the BTS receive
80dBm in a 100KHz resolution bandwidth. This is then pretty much in line with BTS
localization
between BTS.
The measurements made on the
LoRa IoT Station show typical values of -
85dBm/100KHz.
high attenuation outside the
receive band.
High attenuation of out of band blockers is obtained:
10MHz
downlink bands
This means that the blockers levels, due to the BTS, could be up to +10dBm causing no
INSTALL_
Long_Range_IoT_
Michel GILBERT
17/09/2015
Confidential limited
written
Page
38 / 53
area configuration (Height = 12m)
The coverage radius of the LoRa IoT station, depending on the area type can vary from 2 km (urban areas) to
other transmitters on the same site, and especially
with
EMC emissions and immunity
regulations specific to very
regulations is not sufficient to insure good coexistence with BT
S when
KERLINK has designed the transmitter to reduce the spurious and the noise generated in the BTS receive
80dBm in a 100KHz resolution bandwidth. This is then pretty much in line with BTS
85dBm/100KHz.
This means that the blockers levels, due to the BTS, could be up to +10dBm causing no
interference with the

LoRa IoT Station
Classification
level 1 - Internal use only
This document is owned by
KLK
and can not
Based on this performance, this means that about 50dB isolation is required between the
antenna and the ba
se station antenna to avoid desensitization of the BTS.
Specifying a minimum distance between antennas may not guarantee the 50dB isolation, unless over
specifying the required distance. This is mainly due to the fact that both LoRa antenna and BTS antenna
directive antenna. This means that the antenna gain is not omnidirectional in both cases.
BTS antenna have about 10 to 15dB antenna maximum gain but the gain above or below the antenna is
reduced by 20dB to 30dB as described below:
Mounting the
LoRa antenna just above or below the 4G antenna allows then to get 20 to 30dB isolation
among the 50dB required.
The LoRa antenna can be an omnidirectional antenna. The worst case would be a 3dBi antenna which has the
“less directive” antenna pattern. An
We can see that the gain on the top of the antenna or below the antenna is about
Installation and
Maintenance
Manual
Reference:
INSTALL_
Station
Version ........ 2.0
Author .........
Michel GILBERT
Date .............
17/09/2015
2 – Confidential 3 -
Confidential limited
and can not
be distributed, used and/or reproduced without
KERLINK
authorization.
Based on this performance, this means that about 50dB isolation is required between the
se station antenna to avoid desensitization of the BTS.
Specifying a minimum distance between antennas may not guarantee the 50dB isolation, unless over
specifying the required distance. This is mainly due to the fact that both LoRa antenna and BTS antenna
directive antenna. This means that the antenna gain is not omnidirectional in both cases.
BTS antenna have about 10 to 15dB antenna maximum gain but the gain above or below the antenna is
reduced by 20dB to 30dB as described below:
LoRa antenna just above or below the 4G antenna allows then to get 20 to 30dB isolation
The LoRa antenna can be an omnidirectional antenna. The worst case would be a 3dBi antenna which has the
“less directive” antenna pattern. An
example is presented below:
We can see that the gain on the top of the antenna or below the antenna is about
INSTALL_
Long_Range_IoT_
Michel GILBERT
17/09/2015
Confidential limited
written
Page
39 / 53
Based on this performance, this means that about 50dB isolation is required between the
LoRa IoT Station
Specifying a minimum distance between antennas may not guarantee the 50dB isolation, unless over
specifying the required distance. This is mainly due to the fact that both LoRa antenna and BTS antenna
are
directive antenna. This means that the antenna gain is not omnidirectional in both cases.
BTS antenna have about 10 to 15dB antenna maximum gain but the gain above or below the antenna is
LoRa antenna just above or below the 4G antenna allows then to get 20 to 30dB isolation
The LoRa antenna can be an omnidirectional antenna. The worst case would be a 3dBi antenna which has the
We can see that the gain on the top of the antenna or below the antenna is about
-15dBi to -20dBi.

LoRa IoT Station
Classification
level 1 - Internal use only
This document is owned by
KLK
and can not
In case of sectorial antenna, the antenna gain above or below the antenna is also significantly reduced to
to -15dB as shown below:
Then, taking into account the performance of the antenna, we need to get about 10 to 20dB more isolation
to meet the 50dB isolation between antenna.
A gap of 1 meter between antenna would insure 30dB additional attenuation.
Therefore, our rec
ommendation is to have the LoRa antenna just above the BTS) antenna with 1 meter gap
min.
Placing the LoRa
antenna below the BTS antenna could be also possible. However, this is not recommended
as reception could be impacted by metallic structures in the close area.
7.3.7.3.1 LoRa IoT Station 868
Co-
localization is possible with the following BTS:
- EGSM900, GSM1800
, GS
- UMTS900, UMTS2100
- LTE800,
LTE 900, LTE 1800, LTE 2100, LTE 2300, LTE26
The most
difficult use case is the LTE 800 band that is very close to the 868MHz band. Actually, the end of the
LTE 800 band is 862MHz whereas the beginning of the 868MHz
862MH
z while transmitting at 863MHz or even at 868Mhz is not achievable with the s
filters. Therefore, the
LoRa IoT Station
865MHz range can
not be used on transmit side. This limitation allows usage of SAW filter offering low
insertion loss at 865MHz but sufficient attenuation at 862MHz. These SAW filters are designed specifically for
KERLINK as standard SAW filters on the shelf d
filters and limitation of the TX frequency range (865MHz
80dBm/100KHz spur
ious limit in the LTE 800 band.
Co-
localization is not possible with GSM850,
Installation and
Maintenance
Manual
Reference:
INSTALL_
Station
Version ........ 2.0
Author .........
Michel GILBERT
Date .............
17/09/2015
2 – Confidential 3 -
Confidential limited
and can not
be distributed, used and/or reproduced without
KERLINK
authorization.
In case of sectorial antenna, the antenna gain above or below the antenna is also significantly reduced to
Then, taking into account the performance of the antenna, we need to get about 10 to 20dB more isolation
to meet the 50dB isolation between antenna.
A gap of 1 meter between antenna would insure 30dB additional attenuation.
ommendation is to have the LoRa antenna just above the BTS) antenna with 1 meter gap
antenna below the BTS antenna could be also possible. However, this is not recommended
as reception could be impacted by metallic structures in the close area.
localization is possible with the following BTS:
, GS
M1900
LTE 900, LTE 1800, LTE 2100, LTE 2300, LTE26
00
difficult use case is the LTE 800 band that is very close to the 868MHz band. Actually, the end of the
LTE 800 band is 862MHz whereas the beginning of the 868MHz
band is 863MHz.
z while transmitting at 863MHz or even at 868Mhz is not achievable with the s
LoRa IoT Station
has a limited transmit frequency range of 865
not be used on transmit side. This limitation allows usage of SAW filter offering low
insertion loss at 865MHz but sufficient attenuation at 862MHz. These SAW filters are designed specifically for
KERLINK as standard SAW filters on the shelf d
o not achieve such performance.
filters and limitation of the TX frequency range (865MHz
-873MHz) the
LoRa IoT Station
ious limit in the LTE 800 band.
localization is not possible with GSM850,
UMTS850 and LTE850
INSTALL_
Long_Range_IoT_
Michel GILBERT
17/09/2015
Confidential limited
written
Page
40 / 53
In case of sectorial antenna, the antenna gain above or below the antenna is also significantly reduced to
-10
Then, taking into account the performance of the antenna, we need to get about 10 to 20dB more isolation
ommendation is to have the LoRa antenna just above the BTS) antenna with 1 meter gap
antenna below the BTS antenna could be also possible. However, this is not recommended
difficult use case is the LTE 800 band that is very close to the 868MHz band. Actually, the end of the
band is 863MHz.
Insuring -80dBm/100KHz at
z while transmitting at 863MHz or even at 868Mhz is not achievable with the s
tate of the art of SAW
has a limited transmit frequency range of 865
-873MHz. The 863-
not be used on transmit side. This limitation allows usage of SAW filter offering low
insertion loss at 865MHz but sufficient attenuation at 862MHz. These SAW filters are designed specifically for
o not achieve such performance.
Based on these specific SAW
LoRa IoT Station
also meets the -

LoRa IoT Station
Classification
level 1 - Internal use only
This document is owned by
KLK
and can not
Note:
In India, co-
localization with CDMA800 requires usage of a specific cavity filter.
Contact Kerlink for more information.
7.3.7.3.2 LoRa IoT Station 915
Co-
localization is possible with the following BTS:
- GSM850, GSM1800,
GSM1900
- UMTS850, UMTS1900
, UMTS2100
- LTE700, LTE850,
LTE1700, LTE 1800, LTE1900, LTE26
Co-
localization is not possible with GSM900, UMTS900 and LTE900
In case of co-
localization with GSM900, UMTS900 or LTE900, then
gateway. If
LoRa IoT Station 915 want to be used when co
a specific cavity filter is required. Contact Kerlink for more information.
7.3.7.3.3 LoRa IoT Station 923
Co-
localization is possible with the following BTS:
- GSM850, GSM90
0, GSM1800
- UMTS850,
UMTS900, UMTS2100
- LTE700, LTE800,
LTE850,
Co-
localization is not possible with
Note:
In Singapore, co-
localization with
Contact Kerlink for more information.
7.3.7.4 Fresnel ellipsoid
Radio waves generally travel in a straight line from the emitter to the receiver. This is obviously true when
there are
no obstacles between the transmit
some obstacles between the transmitter and the receiver. Then, the radio waves bump into the obstacles
and are reflected or diffracted with dephasing. These diffracted waves when arriving on the r
cause phase cancelling with the straight line signals
depends on the distance
between
associated out of phase.
Installation and
Maintenance
Manual
Reference:
INSTALL_
Station
Version ........ 2.0
Author .........
Michel GILBERT
Date .............
17/09/2015
2 – Confidential 3 -
Confidential limited
and can not
be distributed, used and/or reproduced without
KERLINK
authorization.
localization with CDMA800 requires usage of a specific cavity filter.
Contact Kerlink for more information.
localization is possible with the following BTS:
GSM1900
, UMTS2100
LTE1700, LTE 1800, LTE1900, LTE26
00
localization is not possible with GSM900, UMTS900 and LTE900
.
localization with GSM900, UMTS900 or LTE900, then
LoRa IoT Station 923
LoRa IoT Station 915 want to be used when co
-
localized with GSM900, UMTS900 or LTE900, then
a specific cavity filter is required. Contact Kerlink for more information.
localization is possible with the following BTS:
0, GSM1800
, GSM1900
UMTS900, UMTS2100
LTE850,
LTE 900, LTE 1800, LTE 2100, LTE 2300,
LTE2500,
localization is not possible with
EGSM900, only GSM900.
localization with
EGSM900
requires usage of a specific cavity filter.
Contact Kerlink for more information.
Radio waves generally travel in a straight line from the emitter to the receiver. This is obviously true when
no obstacles between the transmit
ter and the receiver. However, there are, most of the time,
some obstacles between the transmitter and the receiver. Then, the radio waves bump into the obstacles
and are reflected or diffracted with dephasing. These diffracted waves when arriving on the r
cause phase cancelling with the straight line signals
reducing
the received power (fading). The fading effect
between
the receiver and the emitter, the
nature of the
INSTALL_
Long_Range_IoT_
Michel GILBERT
17/09/2015
Confidential limited
written
Page
41 / 53
LoRa IoT Station 923
is a more suitable
localized with GSM900, UMTS900 or LTE900, then
LTE2500,
LTE2600
requires usage of a specific cavity filter.
Radio waves generally travel in a straight line from the emitter to the receiver. This is obviously true when
ter and the receiver. However, there are, most of the time,
some obstacles between the transmitter and the receiver. Then, the radio waves bump into the obstacles
and are reflected or diffracted with dephasing. These diffracted waves when arriving on the r
eceiver can
the received power (fading). The fading effect
nature of the
obstacles and the

LoRa IoT Station
Classification
level 1 - Internal use only
This document is owned by
KLK
and can not
To minimize the fading effects, obstacles in a “Fresnel ellipsoid” must be avoided.
The Fresnel ellipsoid is a
theoretical ellipsoid located between the transmitter and the receiver.
The radius
of the ellipsoid is defined as follows:
Where:
• d1 =
distance from Tx antenna
•
d2 = distance from Rx antenna
• f = frequency
•
c = celerity (3E8 m/s)
•
r1 = radius at the distance d1
A global rule is that 60% of the Fresnel ellipsoid
In case of buildings between the end point and the LoRa IoT station, the antenna height must be adjusted to
make sure the building is not close to 60% of r1.
Installation and
Maintenance
Manual
Reference:
INSTALL_
Station
Version ........ 2.0
Author .........
Michel GILBERT
Date .............
17/09/2015
2 – Confidential 3 -
Confidential limited
and can not
be distributed, used and/or reproduced without
KERLINK
authorization.
Figure 25 : Fading effects due to obstacles
To minimize the fading effects, obstacles in a “Fresnel ellipsoid” must be avoided.
theoretical ellipsoid located between the transmitter and the receiver.
of the ellipsoid is defined as follows:
distance from Tx antenna
d2 = distance from Rx antenna
c = celerity (3E8 m/s)
r1 = radius at the distance d1
A global rule is that 60% of the Fresnel ellipsoid
must be clear of obstacles.
In case of buildings between the end point and the LoRa IoT station, the antenna height must be adjusted to
make sure the building is not close to 60% of r1.
Figure 26 : Fresnel ellipsoid clearance
INSTALL_
Long_Range_IoT_
Michel GILBERT
17/09/2015
Confidential limited
written
Page
42 / 53
To minimize the fading effects, obstacles in a “Fresnel ellipsoid” must be avoided.
theoretical ellipsoid located between the transmitter and the receiver.
In case of buildings between the end point and the LoRa IoT station, the antenna height must be adjusted to

LoRa IoT Station
Classification
level 1 - Internal use only
This document is owned by
KLK
and can not
Be careful, if the antennas
height
ellipsoid and overrule the 60% criteria.
Example:
An
end point is located at 3500m from the LoRa IoT Station.
The LoRa IoT Station is installed on the roof of a bui
What is the required height of the LoRa antenna for have an optimized reception?
Answer:
If we want to receive end points i.e. 360° area coverage, it should be better to have the antenna located in
the mid of the building root.
The antenna is therefore at 15m from the edge of the roof.
Then we have:
• d1 = 15m
• d2 = 3600 -
15 = 3585m
• f = 868MHz
• c = 3E8 m/s
So, r1 = 2.3m
The antenna must be installed at
7.4 Setting connections
7.4.1 Ethernet connection
Before connecting the Ethernet wires, ensure that the POE injector is not
The Ethernet wires must be connected as described in §
7.4.2
LoRa RF Antenna connection
LoRa IoT Station 868
is delivered with a 868MHz antenn
Installation and
Maintenance
Manual
Reference:
INSTALL_
Station
Version ........ 2.0
Author .........
Michel GILBERT
Date .............
17/09/2015
2 – Confidential 3 -
Confidential limited
and can not
be distributed, used and/or reproduced without
KERLINK
authorization.
height
s
are not sufficient, then the ground (earth curve) can get inside the Fresnel
ellipsoid and overrule the 60% criteria.
Figure 27 : Fresnel ellipsoid and earth curvature
end point is located at 3500m from the LoRa IoT Station.
The LoRa IoT Station is installed on the roof of a bui
l
ding. The building roof is 30 meters long vs 20m large.
What is the required height of the LoRa antenna for have an optimized reception?
If we want to receive end points i.e. 360° area coverage, it should be better to have the antenna located in
The antenna is therefore at 15m from the edge of the roof.
15 = 3585m
The antenna must be installed at
a minimum height of 2.3m
from the roof top, on a mast for instance.
Before connecting the Ethernet wires, ensure that the POE injector is not
connected to 230VAC.
The Ethernet wires must be connected as described in §
7.2.1.
LoRa RF Antenna connection
is delivered with a 868MHz antenn
a.
INSTALL_
Long_Range_IoT_
Michel GILBERT
17/09/2015
Confidential limited
written
Page
43 / 53
are not sufficient, then the ground (earth curve) can get inside the Fresnel
ding. The building roof is 30 meters long vs 20m large.
What is the required height of the LoRa antenna for have an optimized reception?
If we want to receive end points i.e. 360° area coverage, it should be better to have the antenna located in
from the roof top, on a mast for instance.
connected to 230VAC.

LoRa IoT Station
Classification
level 1 - Internal use only
This document is owned by
KLK
and can not
LoRa IoT Station
915 and 923 are delivered with a 915
First, tighten the
universal antenna support on the enclosure support using provided screw and
Next, tighten the antenna
on the mounting set:
Installation and
Maintenance
Manual
Reference:
INSTALL_
Station
Version ........ 2.0
Author .........
Michel GILBERT
Date .............
17/09/2015
2 – Confidential 3 -
Confidential limited
and can not
be distributed, used and/or reproduced without
KERLINK
authorization.
Figure 28 : Technical antenna 868 specifications
915 and 923 are delivered with a 915
MHz antenna.
Figure 29 : Technical antenna 915 specifications
universal antenna support on the enclosure support using provided screw and
on the mounting set:
INSTALL_
Long_Range_IoT_
Michel GILBERT
17/09/2015
Confidential limited
written
Page
44 / 53
universal antenna support on the enclosure support using provided screw and
nut.

LoRa IoT Station
Classification
level 1 - Internal use only
This document is owned by
KLK
and can not
Figure
Once the RF antenna is fixed, connect the N connector of the antenna cable on the connector based on the
bottom of the casing a
s described on the figure below.
For safety reason, the power supply of the pr
Figure
To improve the durability of the RF
Kerlink recommends to protect
connectors with an
To tighten
the antenna cable, it is possible to
purpose:
N connector of
the antenna
cable
Installation and
Maintenance
Manual
Reference:
INSTALL_
Station
Version ........ 2.0
Author .........
Michel GILBERT
Date .............
17/09/2015
2 – Confidential 3 -
Confidential limited
and can not
be distributed, used and/or reproduced without
KERLINK
authorization.
Figure
30 : attachment of the antenna on the mounting set
Once the RF antenna is fixed, connect the N connector of the antenna cable on the connector based on the
s described on the figure below.
For safety reason, the power supply of the pr
oduct must be disconnected before plugging the N connector.
Figure
31 : connection of LoRa RF antenna (bottom view)
To improve the durability of the RF
connections against environmental ag
gression (moisture, pollution,
connectors with an
insulating tape
like the reference 130C from 3M.
the antenna cable, it is possible to
tighten
it with cable clamp, using spaces provided for this
Universal antenna support mounting screw and nut
INSTALL_
Long_Range_IoT_
Michel GILBERT
17/09/2015
Confidential limited
written
Page
45 / 53
Once the RF antenna is fixed, connect the N connector of the antenna cable on the connector based on the
oduct must be disconnected before plugging the N connector.
gression (moisture, pollution,
…),
like the reference 130C from 3M.
it with cable clamp, using spaces provided for this
N connector on the casing
Universal antenna support mounting screw and nut

LoRa IoT Station
Classification
level 1 - Internal use only
This document is owned by
KLK
and can not
It is possible to o
rder other antennas as an option. Kerlink
For more details, contact Kerlink
Installation and
Maintenance
Manual
Reference:
INSTALL_
Station
Version ........ 2.0
Author .........
Michel GILBERT
Date .............
17/09/2015
2 – Confidential 3 -
Confidential limited
and can not
be distributed, used and/or reproduced without
KERLINK
authorization.
Figure 32 : attachment of the RF antenna cable
rder other antennas as an option. Kerlink
proposes antennas with gain from 3dBi to 16dBi.
For more details, contact Kerlink
at support@kerlink.fr.
Spaces provided to fix the
antenna
INSTALL_
Long_Range_IoT_
Michel GILBERT
17/09/2015
Confidential limited
written
Page
46 / 53
proposes antennas with gain from 3dBi to 16dBi.
Spaces provided to fix the
antenna
cable

LoRa IoT Station
Classification
level 1 - Internal use only
This document is owned by
KLK
and can not
7.5 Commissioning
7.5.1 SIM card
The SIM card is mandatory to establish the 3G/GPRS communications.
Before inserting the SIM card, pay attention that the LoRa IoT Station is unpowered
PWR are OFF.
Then, to insert a SIM card in the Access Point:
o
Open the LoRa IoT Station casing
o
Open the internal door of the cabinet
o Then, you can r
emove the SIM card holder of the Lora IoT Station by pressing with a little
screwdriver, the extraction button (as shown below)
o
Place the SIM card in the SIM card holder
o
Insert carefully the SIM card holder with the SIM card in the LoRa IoT Station
In case of replacement of the SIM card,
Ethernet wires or disconnecting the POE injector. For few seconds, t
due to the internal backup battery. Wait and check the 2 LEDs PWR are switched off before extract the SIM
card.
A
fter inserting the new SIM card as described above, the Lora IoT Station can be
In case o
f change of mobile operator, APN and login/password must be updated. For more details, contact
Kerlink at support@kerlink.fr.
Installation and
Maintenance
Manual
Reference:
INSTALL_
Station
Version ........ 2.0
Author .........
Michel GILBERT
Date .............
17/09/2015
2 – Confidential 3 -
Confidential limited
and can not
be distributed, used and/or reproduced without
KERLINK
authorization.
The SIM card is mandatory to establish the 3G/GPRS communications.
Before inserting the SIM card, pay attention that the LoRa IoT Station is unpowered
Then, to insert a SIM card in the Access Point:
Open the LoRa IoT Station casing
Open the internal door of the cabinet
emove the SIM card holder of the Lora IoT Station by pressing with a little
screwdriver, the extraction button (as shown below)
Place the SIM card in the SIM card holder
Insert carefully the SIM card holder with the SIM card in the LoRa IoT Station
Figure 33 : SIM Card
In case of replacement of the SIM card,
the power supply must be firstly switched off by disconnecting
Ethernet wires or disconnecting the POE injector. For few seconds, t
he
LoRa IoT Station
due to the internal backup battery. Wait and check the 2 LEDs PWR are switched off before extract the SIM
fter inserting the new SIM card as described above, the Lora IoT Station can be
f change of mobile operator, APN and login/password must be updated. For more details, contact
INSTALL_
Long_Range_IoT_
Michel GILBERT
17/09/2015
Confidential limited
written
Page
47 / 53
Before inserting the SIM card, pay attention that the LoRa IoT Station is unpowered
by checking the 2 LEDs
emove the SIM card holder of the Lora IoT Station by pressing with a little
Insert carefully the SIM card holder with the SIM card in the LoRa IoT Station
the power supply must be firstly switched off by disconnecting
LoRa IoT Station
is still powered-on
due to the internal backup battery. Wait and check the 2 LEDs PWR are switched off before extract the SIM
re-powered on.
f change of mobile operator, APN and login/password must be updated. For more details, contact
Press the extraction
button here

LoRa IoT Station
Classification
level 1 - Internal use only
This document is owned by
KLK
and can not
7.5.2 Power on
Once the RF antenna and the Ethernet wires are connected and the SIM card is inse
can be powered on.
To POWER ON the LoRa IoT Station, connect the POE injector on the 230VAC main power supply.
7.5.3 Functional check
To ensure the LoRa IoT Station is started up, check the 2 PWR
seconds, the LEDs switch off.
Then, to check and analyse the status of
order to activate the LEDs functionality during 1 minute. This operation
Status of the Lora IoT Station:
Name Color
PWR (Station) Green
Continuous
PWR (Modem) Green
Continuous
GSM1 Green
Continuous
GSM2 Green
Continuous
Installation and
Maintenance
Manual
Reference:
INSTALL_
Station
Version ........ 2.0
Author .........
Michel GILBERT
Date .............
17/09/2015
2 – Confidential 3 -
Confidential limited
and can not
be distributed, used and/or reproduced without
KERLINK
authorization.
Once the RF antenna and the Ethernet wires are connected and the SIM card is inse
To POWER ON the LoRa IoT Station, connect the POE injector on the 230VAC main power supply.
To ensure the LoRa IoT Station is started up, check the 2 PWR
LEDS: they should be switched ON. After some
Then, to check and analyse the status of
the LoR
a IoT Station, the TEST button must be pressed briefly in
order to activate the LEDs functionality during 1 minute. This operation
can be repeated indefinitely.
Figure 34 : Test and Reset buttons
Mode Details
Continuous
Station power indicator
Continuous
Modem power indicator
Continuous
GSM quality level
Most Significant Bit
Continuous
GSM quality level
Least Significant Bit
INSTALL_
Long_Range_IoT_
Michel GILBERT
17/09/2015
Confidential limited
written
Page
48 / 53
Once the RF antenna and the Ethernet wires are connected and the SIM card is inse
rted, the Lora IoT Station
To POWER ON the LoRa IoT Station, connect the POE injector on the 230VAC main power supply.
LEDS: they should be switched ON. After some
a IoT Station, the TEST button must be pressed briefly in
can be repeated indefinitely.
Station power indicator
Modem power indicator
Most Significant Bit
Least Significant Bit
Test button
Reset button

LoRa IoT Station
Classification
level 1 - Internal use only
This document is owned by
KLK
and can not
WAN quality level :
GSM1
0
0
1
1
T
he behaviour of the other LEDs depends on the application software downloaded in the LoRa IoT Station.
Only Station LEDS (WAN, MOD1 and MOD2) can be controlled by the application.
Installation and
Maintenance
Manual
Reference:
INSTALL_
Station
Version ........ 2.0
Author .........
Michel GILBERT
Date .............
17/09/2015
2 – Confidential 3 -
Confidential limited
and can not
be distributed, used and/or reproduced without
KERLINK
authorization.
GSM2
Status
0
SIM Card error
1
No network connection
0
RSSI Level < 17
1
RSSI Level >18
he behaviour of the other LEDs depends on the application software downloaded in the LoRa IoT Station.
Only Station LEDS (WAN, MOD1 and MOD2) can be controlled by the application.
Figure 35 : LEDs indicators
INSTALL_
Long_Range_IoT_
Michel GILBERT
17/09/2015
Confidential limited
written
Page
49 / 53
he behaviour of the other LEDs depends on the application software downloaded in the LoRa IoT Station.
Only Station LEDS (WAN, MOD1 and MOD2) can be controlled by the application.

LoRa IoT Station
Classification
level 1 - Internal use only
This document is owned by
KLK
and can not
7.6 Lightning protections
In harsh environment,
additional protections
7.6.1 Antenna link
For the antenna link, Kerlink recommends t
Protections must be installed in
accordance to its own specifications.
7.6.2 Ethernet link
For the Ethernet link, Kerlink recommends the
Protections must be installed in accordance to its own specifications.
Installation and
Maintenance
Manual
Reference:
INSTALL_
Station
Version ........ 2.0
Author .........
Michel GILBERT
Date .............
17/09/2015
2 – Confidential 3 -
Confidential limited
and can not
be distributed, used and/or reproduced without
KERLINK
authorization.
additional protections
may be used
to improve lightning immunity.
For the antenna link, Kerlink recommends t
he P8AX series from CITEL.
accordance to its own specifications.
For the Ethernet link, Kerlink recommends the
CITEL MJ8-POE-B
reference from CITEL.
Protections must be installed in accordance to its own specifications.
INSTALL_
Long_Range_IoT_
Michel GILBERT
17/09/2015
Confidential limited
written
Page
50 / 53
to improve lightning immunity.
reference from CITEL.

LoRa IoT Station
Classification
level 1 - Internal use only
This document is owned by
KLK
and can not
8
Maintenance of the Access point
8.1 Simple checks
8.1.1
LoRa IoT Station enclosure
Check the robustness of the installation:
-
Screwing of the LoRa IoT Station on the mounting set
-
Screwing of the mounting set (depends on the configuration)
Check the Ingress Protection of the enclosure:
- No trace of water
inside the enclosure
-
Tightening of the cable gland
-
Tightening of the pressure stabiliser
- PU gasket on the door
8.1.2 Cables
Check:
- The LoRa RF a
ntenna N connectors are well screw
mounting set.
-
Screwing of Ethernet wires
- E
nsure that the POE injector is correctly installed (RJ45 and power supply cable).
8.1.3 LED
Make sure the LoRa IoT Station is working properly according to LEDs indications
See §7.5.3.
8.2
Interfaces for debug or maintenance purposes
8.2.1
Proprietary debug interface
The LoRa IOT Station has a proprietary debug interface:
Figure
Debug connector
Installation and
Maintenance
Manual
Reference:
INSTALL_
Station
Version ........ 2.0
Author .........
Michel GILBERT
Date .............
17/09/2015
2 – Confidential 3 -
Confidential limited
and can not
be distributed, used and/or reproduced without
KERLINK
authorization.
Maintenance of the Access point
LoRa IoT Station enclosure
Check the robustness of the installation:
Screwing of the LoRa IoT Station on the mounting set
Screwing of the mounting set (depends on the configuration)
Check the Ingress Protection of the enclosure:
inside the enclosure
Tightening of the cable gland
Tightening of the pressure stabiliser
ntenna N connectors are well screw
ed
and tightened
Screwing of Ethernet wires
nsure that the POE injector is correctly installed (RJ45 and power supply cable).
Make sure the LoRa IoT Station is working properly according to LEDs indications
Interfaces for debug or maintenance purposes
Proprietary debug interface
The LoRa IOT Station has a proprietary debug interface:
Figure
36
: Proprietary debug interface of the LoRa IoT Station
Test button
Reset button
INSTALL_
Long_Range_IoT_
Michel GILBERT
17/09/2015
Confidential limited
written
Page
51 / 53
and tightened
on the casing and on the
nsure that the POE injector is correctly installed (RJ45 and power supply cable).
Make sure the LoRa IoT Station is working properly according to LEDs indications
: Proprietary debug interface of the LoRa IoT Station
Test button
Reset button

LoRa IoT Station
Classification
level 1 - Internal use only
This document is owned by
KLK
and can not
This debug interface is intended to be used by authorized and qualified personnel only.
Be careful:
Only specific equipment
It is also possible to access to the debug interface by Ethernet connection by connecting directly to the POE
injector or the Ethernet switch (depending on the installation topology).
8.2.2
USB and Ethernet interface
Firmw
are update can be performed with a USB key
8.2.3 TEST and RESET buttons
Test and reset button are small buttons present on the
RESET button is intended to reinitialize the LoRa IOT Station.
TEST button has 2 functions:
-
Short Press : LEDs functionality is activated during 1 minute
-
Long Press : Activation of an auto
9 Kerlink support
The LoRa IoT Station must be installed and maintained by authorized and qualifi
In case of defect or breakdown, make sure the above recommendations detailed in this document are met.
If an issue is not addressed in this document, contact Kerlink at
USB type A
connector
Installation and
Maintenance
Manual
Reference:
INSTALL_
Station
Version ........ 2.0
Author .........
Michel GILBERT
Date .............
17/09/2015
2 – Confidential 3 -
Confidential limited
and can not
be distributed, used and/or reproduced without
KERLINK
authorization.
This debug interface is intended to be used by authorized and qualified personnel only.
Only specific equipment
developed by Kerlink
must be connected to this interface.
It is also possible to access to the debug interface by Ethernet connection by connecting directly to the POE
injector or the Ethernet switch (depending on the installation topology).
USB and Ethernet interface
are update can be performed with a USB key
via the USB type A connector below:
Figure 37 : USB connector of the LoRa IoT Station
Test and reset button are small buttons present on the
top side as shown in
Figure
RESET button is intended to reinitialize the LoRa IOT Station.
Short Press : LEDs functionality is activated during 1 minute
Long Press : Activation of an auto
-
test sequence defined by the application software
The LoRa IoT Station must be installed and maintained by authorized and qualifi
ed personnel only.
In case of defect or breakdown, make sure the above recommendations detailed in this document are met.
If an issue is not addressed in this document, contact Kerlink at
support@kerlink.fr
INSTALL_
Long_Range_IoT_
Michel GILBERT
17/09/2015
Confidential limited
written
Page
52 / 53
This debug interface is intended to be used by authorized and qualified personnel only.
must be connected to this interface.
It is also possible to access to the debug interface by Ethernet connection by connecting directly to the POE
via the USB type A connector below:
Figure
36.
test sequence defined by the application software
ed personnel only.
In case of defect or breakdown, make sure the above recommendations detailed in this document are met.
support@kerlink.fr
.

LoRa IoT Station
Classification
level 1 - Internal use only
This document is owned by
KLK
and can not
Installation and
Maintenance
Manual
Reference:
INSTALL_
Station
Version ........ 2.0
Author .........
Michel GILBERT
Date .............
17/09/2015
2 – Confidential 3 -
Confidential limited
and can not
be distributed, used and/or reproduced without
KERLINK
authorization.
* * *
End of document
INSTALL_
Long_Range_IoT_
Michel GILBERT
17/09/2015
Confidential limited
written
Page
53 / 53