KTC Technology 00003 8 inch PAD User Manual

Shenzhen KTC Technology Co., Ltd. 8 inch PAD

Contents

User manual

Model: 800P11B800P11B ( MTK8377 )
CONTENTSSpecial Features .........................................................1Important Safety Attentions .......................................2Accessories List .........................................................6Buttons and Ports .......................................................7Installation Instruction ...............................................9   Micro SD Card Installation and Uninstallation .............9SIM/USIM Card Installation and Uninstallation ..........11Connecting the Tablet to PC .....................................12QuickStart .................................................................13   Battery Charging ......................................................13   Power-on .................................................................13   Unlocking .................................................................13   Locking ....................................................................13   Power-off .................................................................14   Volume Adjustment ..................................................14   Touch Screen Operation ...........................................14Introduction to the Home Screen of PAD....................15   Basic Operation Method ...........................................16   System Time and Date Setting .................................17   Input Method Selection ............................................18Application ................................................................18   Browser ...................................................................18   Video Player ............................................................22   Music Player ............................................................24   Image Player ...........................................................25   File manager ............................................................26Call functions ...........................................................28   Messaging................................................................30   Camera ....................................................................30   E-mail ......................................................................32800P11B ( MTK8377 )
System Settings ........................................................33Set the Wi-Fi Network...............................................33   Set Bluetooth ...........................................................35   Set the Mobile Traffic Warning ..................................37   Set the Virtual Private Network (VPN) .......................38   Set the Portable Hotspot ..........................................38   Connect and Set the Mobile Network ........................39   Audio profiles ...........................................................39   Display .....................................................................40   Storage ....................................................................40   Battery .....................................................................40   Apps ........................................................................40   Location access .......................................................41   Security ....................................................................41   Language & input .....................................................42   Backup & reset .........................................................42   ACCOUNTS .............................................................42   Date & time ..............................................................43   Scheduled power on & off .........................................43   Accessibility .............................................................43   Developer options ....................................................43   About tablet ..............................................................43Troubleshooting ........................................................44Important Statements ...............................................45Technical Specifications ...........................................47800P11B ( MTK8377 )
Special Features1. Includes a LED backlit screen with a high resolution ratio.2. Includes a capacitive touch screen with high sensitivity,supporting multi-touch.3. Employs ARM Cortex A9 core, with CPU dominant frequency at 1.0GHz,4. Employs the Google Android4.1 system.5. A built-in Wi-Fi module supports the 802.11 b/g/n wireless standard.6. Built-in bluetooth module.7. Built-in 0.3 Mega Pixel front camera and 2 Mega Pixelrear camera, which can have the functions of video chatting, photographing and shooting.8. Support WCDMA, GSM, GPRS, EDGE; HSPA Internet calls.9. Includes a built-in speaker with high quality.10. Supports output of high-fidelity stereo headphone;11. A built-in 3-axis gravity sensor supports the screen to auto rotate in 4 directions;12. Integrate A/V hard decoder, allow playing mainstreamA/V formats on the market.13. A built-in lithium battery with high capacity.1800P11B ( MTK8377 )
Important Safety AttentionsThank you for purchasing our high performance and multi-function tablet PC. It will bring you a better visual and aural experience. To make sure safety, extend the service life of the product, and give full play to the bestperformance of the product, please read all the instructions and nameplates carefully, follow the safety attentions, and keep the user manual for future use.Medical DeviceElectromagnetic wave produced by the device in working condition may interfere with the normal work of implantable medical devices or personal medical devices like pacemaker, embedding cochlea, hearing-aid, etc. If you are using the above mentioned medical devices, please consult with the manufacturer for the conditions or limitations of using the product.Hearing ProtectionUse careful with the earphone maybepossible excessive sound pressure from earphones and headphones can cause hearing loss. Please plug the earphone with the audio source and turn down volume of the device before putting the earplugs into ears. To avoid damaging hearing, it is suggested to use the lowest volume when listening to music or making a voice call by earphone. Please don't use earplugs for a prolonged period.2800P11B ( MTK8377 )
Traffic Safety Please don't use the device when crossing the road, riding a bike or driving, which may get you distracted and cause accident. Wireless devices may interfere with the flight system of a plane, so please comply with relevant rules of airline companies; turn off the device in places where wireless devices are prohibited.Operation Environment Please don't use the device in places with water source, such as bathtubs, pools, washing machines or moist basements and other similar environments. Once the device is with splash, please turn off the device atonce, and don't use it before being aired. To avoid internal circuit fault of the device, please don't charge or use the device in places of dusty, moist, dirty or places near magnetic fields. Please don't put the device and its accessories with flammable liquid, flammable gas or explosive objects in the same case for storage or transportation. Please turn off the device in places where using of wireless devices are expressly prohibited. Working environment temperature for the device is-10 ~ 40. Please don't use The device when the temperature goes out of the range, otherwise, fault may occur.Child HealthThe device and its accessories may include several 3800P11B ( MTK8377 )
small parts, please keep them out of children reach. Or else children may damage the device and its accessories by accident, or swallow small parts, resulting in apnea or other damage.Environment ProtectionPlease comply with the local laws of disposing of the device, battery and its accessories, and support recycling. Don't dispose of the device, battery and its accessories as ordinary household garbage.Accessory RequirementIt is only allowed to use the adapter and accessories authorized by the device manufacturer and compatible with the model number of the device. If other type of adapters and accessories are used, it may violate the guarantee clause and related provisions of the country where the device located, resulting in safety accidents. If authorized batteries, adapters and accessories areneeded, please contact with Dealers.Safety Use of Battery and Adapter Adapter shall be installed near the equipment and shall be easily accessible. After charging completes or in none-charging conditions, please cut off the connection with the device and unplug the adapter from the power socket. Don't place the device around any heating devices like microwave ovens, ovens or radiators, etc. Overheated battery may cause explosion.4800P11B ( MTK8377 )
 Don't disassemble or refit the batteries, so as not to cause leaking liquid, overheating, fire or explosion. If the battery leaks, please keep your skin or eyes away from the leaking liquid; if you skin or eyes get touchwith the leaking liquid, please wash it with clean water,and go to hospital for medical handling. If the power cord of the adapter has been damaged, don't continue to use it, so as to avoid electric shock orfire.Maintenance Please keep the device and its accessories dry, anddon't use external heating devices like microwave ovens to dry them. Don't make the device and its accessories impacted intensively or shocked, so as not to damage the device and its accessories, or cause fire or explosion to the batteries. Don't place the device and its accessories in areas with over-high or over-low temperature, or else it may cause accident, fire or explosion to the device, battery and adapter. When the temperature is lower than 0, theperformance of the battery may be limited. Don't place sharp metal objects like large-head pins near the speaker; it may suck such kind of objects by itsmagnetism, resulting in damage when using the device. Don't use strong chemicals, abluent or detergent to clean with the device or its accessories. Before cleaning or maintenance, please turn off the device and cut off the connection between the adapter and the device.5800P11B ( MTK8377 )
 Don't disassemble the device and its accessories by yourself; the damage caused in this case won't be covered by maintenance. If the device impacts hard objects or gets intense impact from outside, causing crush to the screen, don't touch or try to remove the broken part, please stop using it and contact with the specific maintenance point at once.Screen Protection Don't place any objects on the device, so as to avoid laceration. Don't use a sharp object to touch the screen.Proper Use The device complies with RF specifications when the device used at 0mm form your body Don't indulge in the cyber world and games, as using the internet and playing games for a prolonged period will be harmful for your health.Accessories List Tablet PC (1)  Power Adapter (1) User Manual (1)  USB Data Cable (1)6800P11B ( MTK8377 )
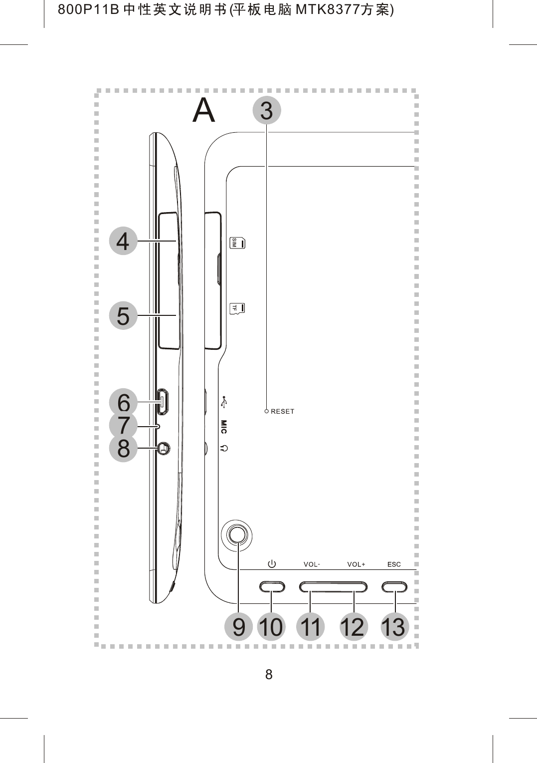
7MICTFSIM12345678910 11 12 13AButtons and PortsFront ViewRear ViewRight View800P11B ( MTK8377 )
MICTFSIM345678910 11 12 13A8800P11B ( MTK8377 )
Front CameraSpeakerRESET: Hard Reset Button Hole      : SIM Card Slot      : Micro SD Card Slot         : Micro USB Port / Power Input PortMIC: Microphone       : Earphone portRear Camera       : Power ButtonVOL-: Volume- ButtonVOL+: Volume+ ButtonESC: Return ButtonTFSIM11121378910654321Notes:Hard Reset Button Hole: In case of dead halt etc., insert a toothpick or similar object to the port, and press the reset button in the port to execute the forced shutdown operation.Installation InstructionMicro SD Card Installation and UninstallationThe device supports a standard Micro SD storage card9800P11B ( MTK8377 )
Installation:Push a SD card into the bottom of the slot as shown in the figure below until you hear a "Tap" sound, which means the SD card is successfully installed.Uninstallation:1. TapSettings>Storage in the application list.2. Find out the SD card in the Storage details, and tapUnmount SD card.10MICTFSIMMicroSD800P11B ( MTK8377 )
3. Push the SD card towards the inner side of the slotuntil it can be moved ahead, release the SD card, then the SD card will be popped out.Installation:Insert the standard SIM/USIM card into the slot along the direction shown in the figure until a click sound is heard.Note: The SIM card can't be recognized if it is inserted when the tablet is powered on. Please turn it off before installing the SIM card.Uninstallation:first turn off the tablet, push the SIM/USIM card to theinside of the slot until the end, and then release to ejectthe SIM/USIM card.11MICTFSIMSIMSIM/USIM Card Installation and Uninstallation800P11B ( MTK8377 )
Connecting the Tablet to PCConnection:Connect the USB terminal of the cable to PC, and connect the micro USB terminal to the tablet.Settings:1. Connect the tablet and PC with the USB cable, and the system notification bar shows USB Connected.2. Click the notification bar to show the window on the screen, and click USB Connected in the notification bar.3. USB mass storage device is opened on the screen.4. After copying files, click to close USB mass storagedevice, and unmount the SD card and built-in storage of Android device from PC.Note: When the USB mass storage device is turned on, certain applications you are using may be stopped, and are unavailable until you turn off the USB mass storage device.USB cable12800P11B ( MTK8377 )
QuickStartBattery ChargingBefore the first use, charging for the battery is a must. Plug the power socket port of the adapter supplied with the device into an AC socket of 100-240V, and plug the output port into the power input interface of the device; When the charging is normal, the icon     in the status bar indicates charging battery; when the charging is finished, the status bar will prompt electric quantity 100%.Note: To make sure the battery is fully charged, please ensure that the first charging time is over 4 hours.Power-onLong press the power button for about 4 seconds to start the device.UnlockingWhen the system is locked, press the power button     , and the screen become bright, then press the lock icon, and right-drag it towards the unlock icon to unlock the touch screen and the system.Locking1. When the system is powered-on, press the power button     , and there is no display on screen, then system is locked.2. When there is not any operation on the screen for minutes, the system will be auto locked.Note: you can adjust the standby time in the Settings113800P11B ( MTK8377 )
14>Display.Power-offWhen the system is powered-on, long press the Power button for 2 seconds, then the power-off dialog box will display on the screen, tap the OK option in the box to auto power-off the system.Volume AdjustmentPress the VOL+/VOL- key in the device to adjust the volume.Touch Screen OperationThe Android system defines several touch operations, so as to give you a more convenient and efficient experience.Tap : Tap a target file with your finger.Double-Tap: Double-tap a target file fast.Long-Tap: Long-tap a target file for 2 seconds or more.Drag: Drag a target file and slide to a new position.Slide: Tap the blank place on the screen and fast move in the up/down/left/right direction to browse a webpage or turn to another page etc.Zoom in/out: Put two fingers on the screen, and pinch them together to zoom out or move them apart to zoom in.Note: Please use the fingertip to tap the screen; the touch screen doesn't respond if you tap with the fingernail.800P11B ( MTK8377 )
Introduction to the Home Screen of PADIntroduction to Icons of the Notification BarTool Bar Desktop Notification BarThe device is connected with a PC. Charging for the battery.Indication for battery power.Downloading/Uploading files. Notification for new emails.Wi-Fi has been activated. Uploading/Downloading Data by Wi-FiWarning InformationSoftware update notification15800P11B ( MTK8377 )
Introduction to Icons of the Tool BarReturn: tap the icon to return to the previous page.Desktop:tap the icon to return to the desktop.       : tap the icon to view recently visited applications.    : Shortcut menu: Tap on this icon to display the shortcut menu options.       /       : Volume +/ Volume-: Adjust the volume.Basic Operation Method1. Tap the screen and left-slide it to turn to the previous page; right-slide it to turn to the next page.2. Tap a system notification icon to view details of the notification icon.3. Press the blank space on the desktop to display Choose wallpaper form, tap Wallpaper/Live Wallpaper 16Portable WLAN hotspot is enabledCurrent system timeBluetooth activatedFile transfer via BluetoothNo signal2G network signal strength3G network signal strengthNew messageMissed callTablet muteAlarm clock onFlight mode800P11B ( MTK8377 )
/ /Gallery to select a wallpaper.4. Press an icon on the desktop and drag it to otherlocation: drag an icon to the Xicon on the top of thescreen to delete the icon; drag the icon to the box on theleft or right side of the screen to drag it to the previous page or the next page; drag the icon on another icon toput these two icons together, and the system will create a new folder for them; if they are game applications, tap the folder and tap the Unnamed Folder to name the folder as "game".5. Tap the      option on the upper right of the desktop to enter the application list.6. Long-tap an application icon to place the icon to the desktop.7. Tap an application icon to run the application.System Time and Date Setting1. Tap the      option on the upper right of the desktop to enter the application list.2. Tap Settings > Date & time > Set date/Set time inthe application list. After the setting completes, tap Set toconfirm and exit.3. Tap Use 24-hour format and Choose date formatto set a time display format.Note: If the device is connected with the internet, you can tap Select time zone to select the area where youlocate, and tap Automatic date & time to auto obtain the current time by the system from the internet.Video Wallpapers17800P11B ( MTK8377 )
Input Method SelectionTap Settings >Language & Input, and tap an input method desired in the KEYBOARD & INPUT METHOD.ApplicationNotes: The device has very complicated functions; you can install an application by yourself. Operation methods differ according to different applications. Please operate applications according to the computer knowledge you possess; the operation of applications in the manual is only for reference.BrowserTap the browser icon in the application list to run the browser.Introduction to the option icon of the browser184567 11109812321Return to the previous webpageGo ahead to the next webpage800P11B ( MTK8377 )
Basic Operations for BrowserVisit WebsitesBefore visiting websites, please connect your device to the Internet via Wi-Fi, mobile Internet or Ethernet (refer to "System Settings" for specific settings).1. Tap the address bar in the browser, and you will see a virtual keyboard.1110987URL input boxAdd Bookmark optionInput URL optionBrowser Menu optionView Bookmark option6543Refresh webpageWindow of a browser webpageClose the current webpage windowCreate a new webpage window19800P11B ( MTK8377 )
2. Tap the virtual keyboard to input the correct address and then tap the GO key at the virtual keyboard to visit the relevant website.Touch Screen Operations for Webpage Browsing1. Zoom in the webpage:put two fingers closely together on the target part of the webpage and separate them quickly, or double tap the target part of the webpage.2. Drag the webpage:put a finger on the screen and slide it upwards, downwards, leftwards or rightwards quickly to drag the webpage upwards, downwards, leftwards or rightwards.3. Tap Text/Link/Image to display and edit the editableitems.Use of BookmarkYou can use the bookmark to save your favorite webpages so that you can find and open them easily next time. Save a Webpage as a Bookmark1. Tap the add bookmark icon       in the browser.2. Tap the virtual keyboard to input the browser tabs.3. Make sure the address displayed in the address bar is correct.4. Tap Account and Add to to display the relevant drop-down lists, tap account and target storage location, and then tap OK. View a Bookmark1. Tap the view bookmark icon     in the browser.20800P11B ( MTK8377 )
2. Tap the target bookmark to open it. Delete or Edit a Bookmark1. Tap the view bookmark icon     in the browser.2. Long-tap the target bookmark.3. Edit the relevant editable items.Copy and Paste the Text from the Internet1. Long-tap the target text on the Internet page, and you will see the editing options on the upper part of thescreen. Drag the cursor select the text that you want to copy.2. Tap the COPY option on the browser toolbar.3. Long tap the textbox to display the option paste. TapPASTE to paste the copied text into the textbox.21800P11B ( MTK8377 )
Save the Image from the Internet1. Long tap the target image on the Internet page, and then tap Save image in the editing option.2. Tap the system notification bar to check the downloading progress. When the downloading finishes,please tap View Details.Download the Information from the Internet1. Input the relevant link address in the address bar.2. Open the link to find and tap the Save/Downloadoption, and the system will auto start downloading.3. Tap the system notification bar to check the downloading progress and details.Browser Settings1. Tap the menu icon       at the upper right corner of the browser and then tap the Settings option.2. Tap General >Set Homepage to set the homepage address for the browser.3. Tap Privacy & Security >Clear cache to clear the browser's locally stored cache files.Please complete other settings as per your specific needs.Video PlayerTap video player in the application list. tap a video file to play it.Introduction to the Icons on the Video Player22800P11B ( MTK8377 )
Note: If the video is stuck while playing with the video player of the tablet, the video file may be too large, or the hard decoding of the tablet doesn't support the video format. Please download a third party application from Android Market.01:5500:263214Share icon: select the mode to share this video.Settings menu icon.Progress bar: long tap the cursor and drag it to adjust the playing progress.Aspect ratio: Original, 16:9, 4:3.231 234800P11B ( MTK8377 )
Music PlayerTap Music player in the application list.The music player supports the artist list, album list and song list. Select a song from the song list to play it.Introduction to the Icons on the Music Player321Display the play list.Play songs at random.Set the loop playback mode.Settings option: tap the icon to set up the playing sound effect.Artist name of the current song.Album name of the current song.Name of the current song.1234567891011456724800P11B ( MTK8377 )
Image PlayerTap Gallery in the application list and then tap a file to play it.Introduction to the Icons on the Image Player251 2 3Previous/Fast Rewind: tap it to play the previous song, or long tap it to fast rewind.Play/PauseNext/Fast Forward: tap it to play the next song, or long tap it to fast forward.Progress bar: long tap the cursor and drag it to adjust the playing progress.891011321Share the image.Delete the image.Settings.800P11B ( MTK8377 )
Basic Operations for Image Player1. Zoom in the image:put two fingers closely together on the screen and separate them quickly, or double tap the screen.2. Zoom out the image:put two separated fingers on the screen and quickly pinch them together, or double tapthe screen.Note: The image can not be zoomed out when played in original size.3. Page up/down:long tap the screen and slide it leftwards/rightwards quickly to play the previous/nextimage.File managerTap File manager in the application list.Edit a File1. Tap the disk where the target file is located.2. Tap the folder where the target file is located.3. Tap the target file to run it.4. Long tap the top of the screen of the destination fileto show the edit menu, including Select All, Copy, Delete and Cut, Menu, and perform the operations accordingly.26800P11B ( MTK8377 )
5. Tap the boxes to the right of the file names to selectmultiple files (the selected file names are ticked in blue); on the edit menu, tap Copy, Delete, Cut and Menu toperform the operations accordingly.Installing application1. In the file directory, find the application to beinstalled, and tap on the application.2. The system displays prompt box to prohibit the installation (by default, the system prohibits installing applications from unknown sources). You need to tapSettings >Security >DEVICE ADMINISTRATION tocheck the Unknown sources option.3. Tap       to return to the installation page, tap the 27800P11B ( MTK8377 )
application installation package again to begin installing, and tap Done after installed. After the application has been successfully installed, the icon will be added to the application list, and you can tap the icon in the application list to start the application.Call functionsTap theDial option in the application list.Note: Before using dial and message functions, please check if the SIM card is installed; if not, turn off the tablet first, insert the SIM card into the slot (the SIM card can'tbe recognized if it is installed when the tablet is powered on), and then restart the tablet.Calling via direct-dial1. Tap       in the upper left corner of the dial interface.2. Tap the virtual dial keys to enter the phone number,and then tap     in the bottom of the screen to call thenumber.3. When the call ends, tap         to end.Calling via Contacts1. Tap    in the upper right corner of the dial-up interface to access to local contacts.2. Find the number in the Contacts list, and tap on thecontact to begin calling (please refer to Contacts on how to create a contact).3. When the call ends, tap         to end.28800P11B ( MTK8377 )
Calling via Call log1. Tap      in the top of the dial interface to view recent call log.2. In the call log list, the blue arrow indicates incoming calls, green arrow indicates outgoing calls, and red arrow indicates missed calls. In the list, tap      on the right to call the number.3. When the call ends, tap           to end.Answering or rejecting a call1. When receiving a call, Long tap       , and slide left to   to reject the call, slide right to      to answer the call, slide up to       to reject the call and reply in message.2. In the call interface, tap       to show the keypad, tap   to turn on the speaker, tap   to turn off the microphone, tap      to pause the call, tap       to enter the dial interface, and add a third party to join the call; tapto create a conference call. (Pause, third-party call and conference call require network support. Please consult the network operator for details).PeopleTap a People in the application list.Creating a contact1. Tap        in the contacts screen.2. Enter the basic information and numbers of the contact.3. TapDone to save the contact information.Saving received call / missed call as a contact1. Tap the dial application, and tap      in the Call log29800P11B ( MTK8377 )
interface.2. When the system asks whether to add the number to Contacts, tap OK.3. If you have previously saved the contact details, find the contact and save the number to the contact; if the contact hasn't been created, tap Create contact to create a new contact.MessagingTap Messaging in the applications list.Creating a messaging1. Tap        in the messaging screen.2. Enter the recipient number or tap    and add the recipient number from People.3. Enter the message content, tap     on the top of the screen to add attachment (the message will be automatically converted to MMS when attachment is added), and tap        to send the message.Replying messaging1. Tap the message to be replied in the messaging list.2. Enter the message content and tap     to send the message.CameraTap Camera in the application list.Introduction to the Icons on the Camera30800P11B ( MTK8377 )
4321Camera mode: tap it to switch to the camera mode.Video recording mode: tap it to switch to the video recording mode.Panoramic shooting, tap this item to switch to panoramic shooting model.Multi-angle shooting; tap this option to switch to multi-angle shooting mode.Zooming: slide it towards " + " / " - "  to zoom in/out the focal length.Settings: enter the settings mode.AW: set the white balance.SCN: set the view finding mode (the white balance             does not work in Night mode).6512346758931800P11B ( MTK8377 )
32Note: Tap on the tool bar to pop out operation icons, and tap to exit Camera.E-mailTap Email in the application list.Set and add your E-mail account at first use.1. Input your E-mail address and password and then tap Next. (For general e-mail accounts, it will skip to step 5 when you tap Next; for the corporate e-mail accounts, you also need to set up according to step 2, 3 and 4).2. Select an account type from POP3, IMAP and Exchange based on the service provided by your E-mail provider.3. Confirm the settings for the receiving server and then tap Next.4. Confirm the settings for the sending server and then tap Next.5. Now your E-mail account has been set successfully.tap Gave this account a name to set the account name and tap your name to set your signature for outbox E-mails.6. TapInbox to receive E-mails.78     : Camera settings: set the photo size.     : exit the camera settings.Shoot: tap it to shoot a photo.Front/rear camera switch key.View: tap it to view the photos.86800P11B ( MTK8377 )
Send an E-mail1. Login your E-mail account and then tap the iconon the upper part of the screen.2. Complete the Receiver and Subject, input the E-mail text, tap the icon       to add attachments, and then tap the option Send on the upper part of the screen to send the E-mail.System SettingsSettings option helps users configure the wirelessnetwork, change the system time, set the input method, view system properties and so on.Set the Wi-Fi Network1. Tap Settings in the application list.2. Tap the Wi-Fi switch to enable the Wi-Fi function. Tap     at the upper right corner of the screen, then tap Scan to search the Wi-Fi network. When the searching is finished, please tap the target network. If the target Wi-Fi network is encrypted, the icon        will appear at the lower right side of the signal strength icon.3. Tap the password box to input the connection password. If you use DHCP on your router, just tap Connect to complete the network connection afterinputting the password. If your router has no DHCP or does not support DHCP, please follow the steps below to complete the network connection.33800P11B ( MTK8377 )
4. Tap        to hide the input method and then tap      on the left of Show advanced options.5. Tap the IP settings box to select Static, complete 34800P11B ( MTK8377 )
the IP address,Gateway,Network prefix length,DNS1and DNS2 (the settings in the figure below are for reference only), and then tap Connect to complete the network connection.Set BluetoothBluetooth is a wireless technology enabling devices to communicate over a short distance. Keep the distance between devices within 10m and make sure no solid barrier between them, so as to receive the best signal. Enable Bluetooth and Pair Devices1. Tap Bluetooth in Settings, and set Bluetooth switch to on to enable it to search for Bluetooth devices nearby automatically. (Make sure that the target device enables Visible to All nearby Bluetooth devices before35800P11B ( MTK8377 )
searching.)2. After tapping the target device in the list of available devices, the system will display the dialog box of Bluetooth pairing request.3. Tap Pairing after confirming the connection key inthe dialog box.Send Files1. In the applications list, tap File Manager and find the desired files in the directory, long tap the file until a tick appears later in the file, then tap the       icon  in the upperright corner of the screen and tap Share in the pop-up dialog box.2. Tap Send > Bluetooth in the displayed menu, and the Bluetooth device chooser menu will be shown;3. After tapping Scan for devices in Bluetooth device chooser, the device starts to scan for the Bluetooth devices nearby.4. Tap the receiver's name in the list of visible devices.5. TapReceive File in the receiver. Receive Files1. TapBluetooth in Settings.2. Switch Not visible to other Bluetooth devices in the right setting area to Visible to all nearby Bluetoothdevices, and be ready to receive files.3. When any file arrivals, will be shown in the notification bar.4. Tap the notification message to display the File transfer dialog box.Receives the file request36800P11B ( MTK8377 )
5. TapAccept in the dialog box to receive the files. 6. TapNotification Bar to check the receiving progress.7. Tap File manager in the application list, open theBluetooth folder in the Internal Memory device to check the received files.Note: The files may fail to transfer between different Bluetooth devices due to problems of interoperability and compatibility.Set the Mobile Traffic WarningTo use the mobile data traffic, please set the traffic warning to avoid extra expenses incurred by excessive mobile data traffic.1. Tap ON on the right of the Mobile data to enable the mobile data traffic.37800P11B ( MTK8377 )
382. Tap    on the right of the option Set mobile data limit, tap Data usage cycle to select a monthly payment cycle for the traffic package, long tap the time axis anddrag it leftwards/rightwards to adjust the days of a trafficcycle, and long tap the traffic limit axis and drag itupwards/downwards to adjust the traffic warning and limit.Set the Virtual Private Network (VPN)The VPN can access the internal network resources of your company via public network. To set the VPN, the IP address of the server provided by the network manager of your company is required.1. TapSettings >More... >VPN.2. Tap Add Network and enter Change VPN to add network: input the VPN name, type and server address, and then tap Save.3. The network set in step 2 will be added to the network list. Tap this network, input the user name and password, and then tap Connect.Set the Portable HotspotThe portable hotspot allows your device to act as Wi-Fi hotspot. Any device connected to your hotspot can access the Internet through the mobile data traffic of your device.1. Tap More... and then tap Portable hotspot in the list on the right.2. Tap      on the right of the option Portable hotspot toenable the portable Wi-Fi hotspot, and then tap Set up 800P11B ( MTK8377 )
39Wi-Fi hotspot.3. Tap Network SSID to input the network name, tapSecurity to select an encryption method, tap Passwordto input the password, and then tap Save to complete the setting process. The Wi-Fi hotspot indicator icon will appear in the notification bar.Connect and Set the Mobile NetworkThis option can be set only when the SIM / USIM cardhas been inserted.Data enabled:enable the mobile data traffic function.Data roaming:select to allow or disallow the use of mobile data traffic in roaming state.Network Mode: Select the network connection mode.Access Point Names:set the mobile data access point based on the data provided by your mobile provider.Network operator:manually or automatically search the network operator.Mobile data service preferred: Allows data transfer rate to be the maximum.Audio profilesSelect or set the profiles. The system has three profiles by default: General, Conference and Outdoor (tap    on the right of Profiles to select the option). Users can add other profiles, such as "Rest".Adding and modifying a profile1. Tap Add in the upper right of the Profiles interface.800P11B ( MTK8377 )
402. Enter the profile name "Rest" and tap OK to add.3. In the Profiles list, tap "Rest".4. In the Menu option, tap Volumes, Voice Call Ringtone, Video Call Ringtone, Dial pad Touch tones,Touch sounds or Screen Lock sound to configure. After setting, the system automatically saves the settings.DisplayBrightness:adjust the screen brightness.Wallpaper: select an image as the wallpaper.Auto-rotate screen: Allows the system to identify your current viewing angle of the screen so that the system automatically adjusts display orientation based on your viewing angle.Sleep: set the time for the screen to be auto locked incase of no operation.Font size: set the font size.StorageCheck the details of the internal storage space, internal storage device, SD card or USB memory, or uninstall/format the memory.Note: Please backup your important personal files before formatting the memory.BatteryCheck the battery state.AppsEnter the Apps option, and you can check 800P11B ( MTK8377 )
41downloaded applications, applications stored in the SD card, running applications, storage space, etc. You canalso tap an application to stop it running or uninstall it.Location accessWi-Fi & mobile network location: By this function, the system can send anonymous location data to Google; and the authorized applications can receive data from Wi-Fi and mobile network, so as to locate your position.GPS satellite: Turn on GPS positioning function.GPS  EPO assistance: Use GPS assist data (EPO) to speed GPS positioning process. EPO technique uses offline server-based GPS assisted positioning function, and supports up to 30 days of GPS satellite orbit prediction data thus shortening the first GPS positioning time.EPO settings: Tap to modify EPO configuration information.A-GPS: A-GPS can speed up positioning by accessing data through network connection, thus shortening the first GPS positioning time.A-GPS settings: Modify A-GPS settings.Location & Google search: By this function, Google can use your location information for a better search results and other services.SecurityProtect the security options for the device.Screen Lock: set the lock mode for the screen.800P11B ( MTK8377 )
42Encrypt tablet: You have to enter the numeric PIN or password to decrypt the Tablet PC each time you turn it on.Set up SIM card lock: Activate the SIM card lock.Make passwords visible: under the password lock mode, you will be requested to input the unlock passwords to unlock the device. In this mode the password you input will be displayed.Device administrators: view or stop the deviceadministrators.Unknown source: enable the device to installapplications from unknown source.Trusted credentials: display the trusted credentials.Install from SD card: install credentials from SD cardClear credentials: delete all credentials.Language & inputSet the system language and input method.Backup & resetBack up my data: back up the application data, Wi-Fi passwords and other settings to the Google Server.Factory data reset: delete all settings on the tablet PC and restore to the factory settings. (This operation will clear all data in the memory device of the tablet PC.)ACCOUNTSAdd or Check the local accounts and synchronize them by connecting them to the Internet.800P11B ( MTK8377 )
43Date & timeAutomatic data & time::use the time on the Internet.Set date: manually set the date.Set time: manually set the time.Select time zone: manually select a time zone.Choose date format: set the date format.Scheduled power on & offSet up the time of schedule power on & off.AccessibilityLarge text: display text in large font.Power button ends call: whether to allow ending thecall by pressing the power button.Auto-rotate screen: the system will auto rotate the screen if you change the direction of the screen. Enhance web accessibility: the scripts from Google can be installed by apps, so that you can browse the appscontent in the webpage.Developer optionsThese options are only used for developers. Once enabled, the system and applications may crash or work abnormally.About tabletCheck the information about tablet like system update, model, system version, and core version.800P11B ( MTK8377 )
44TroubleshootingYour device can't be turned on.The battery power is used up. Please fully charge your device.Your device cannot access the Internet via Wi-Fi.1. Check whether your device can receive any Wi-Fi signal.2. Check whether the wireless router supports DHCP. If not, please configure a static IP address.3. Check whether the wireless router has been connected to the Internet.Your device responds to operations slowly.1. Check whether too many applications are running in the background.2. Check whether any incompatible-version applicationhas been installed.3. Use the antivirus software to scan and kill the malicious programs (if any).Your device gets warm in use.It is normal that your device get warm in a long-time use or in charging.Your device crashes and its keys do not work.Long press the power button for 6 seconds, and the power-off dialog box will display on the screen, then tap the OK option in the box to auto power-off the system. After that restart your device. If this fails, insert a slimneedle to the reset button hole to realize the forced shutdown.The total memory is smaller than the actual memory.800P11B ( MTK8377 )
45A certain space has been used to store the system files and install user applications, so it appears that the total memory is smaller than the actual memory.Some video files can't be played.Your device supports most of the common audio and video file formats, except a few special formats. We suggest that you download a third-party player from the application market to play those exceptional files.Important StatementsAll contents and services obtained through your device shall belong to a third party under the protection of copyright, patent, trademark or other intellectualproperties, and shall be used for your personal non-commercial purposes only. You are not allowed to use any content or service in any way without the authorization of the content or service provider.In no case shall we be held liable for any direct, indirector accidental loss or damage caused by your accessing any content, service, information or third-party software through your device.Third-party services are subject to change, deletion or stop without prior notice. We shall not imply or assure thatall services and contents will be kept available at all time.We shall not be responsible for providing any related customer service for any third-party service or content. Please refer your questions and service requests directly to the relevant content or service provider.Please remember to backup the data when using your device. We shall not be held liable for any personal data800P11B ( MTK8377 )
loss or damage caused by software or hardware misoperation, product repair, battery replacement or any other unexpected situations, or for any other indirect loss arising thereof. Any of your misunderstandings for this Manual shall be beyond our control, so we shall not bear any liability for any accidental loss caused by the use of this Manual or for any third-party claim caused by the use of your device.Trademark"Android" is the trademark of Google Inc."Micro SD" is the trademark of SD Card Association.Other company names, product names or services may be also the registered trademarks of other companies, and shall be subject to the applicable laws, regulations and international conventions, whether indicated andmarked on the product and in this Manual or not.46800P11B ( MTK8377 )
47Dual-core 1.0GHz 1GB8GBAndroid 4.1Wi-Fi, 802.11b/g/nMicro USB 2.0Standard SIM / USIM cardFront Camera, 0.3 Mega PixelRear Camera, 2 Mega PixelGSM, GPRS, EDGE; WCDMA, HSPA (DL 7.1Mbps, UL 5.76Mbps)Built-inBuilt-inBuilt-in8 /1WBasic ParametersCPU FrequencyDDR-RAMNAND FLASHOperating SystemNetwork AccessUSB PortSIM card slotCameraData servicesElectronic compassG-sensorMicrophoneSpeakerTechnical SpecificationsLi-polymer Battery, 3.7V, 3700mAh201.4mm x 152.5mm x 10.9mm430gInput: 100-240VAC, 50-60 HzOutput: DC 5V   2A32G max.8-inch LED backlight Screen, Resolution: 1024 x 768Standard BatteryPower AdapterMicro SD Card (Main Screentoexpand capacity)Product SizeProduct Weight800P11B ( MTK8377 )
Disclaimer: These specifications are for reference only and shall not constitute any commitment in any way.Considering the product improvement, we shall reserve the right to change the product specifications without further notice.48APK Installer, File managerChromelite browserStandard Android Keyboard, Supporting Third-party Input MethodsCalendar, Alarm Clock, Calculator, Paper Note, Clock, Voice RecorderVideo, Gallery, Music.ApplicationFile ManagerNetworkInput MethodToolEntertainment800P11B ( MTK8377 )
800P11B (MTK8377 )FCC Warning This device complies with part 15 of the FCC Rules. Operation is subject to the following two conditions: (1) This device may not cause harmful interference, and (2) this device must accept any interference received, including interference that may cause undesired operation. Any changes or modifications not expressly approved by the party responsible for compliance could void the user's authority to operate the equipment. 15.105B: For a Class B digital device or peripheral, thenstructions furnished the user shall include the following or similar statement, placed in a prominent location in thetext of the manual: Note: This equipment has been tested  and found to comply with the limits for a Class B digital  device, pursuant to part 15 of the FCC Rules. These limits are designed to provide reasonable protection againstharmful interference in a residential installation. This equipment generates, uses and can radiate radio frequency energy and, if not installed and used in 49
accordance with the instructions, may cause harmful interference to radio communications. However, there is no guarantee that interference will not occur in a particular installation. If this equipment does cause harmful interference to radio or television reception, which can be determined by turning the equipment off and on, the user is encouraged to try to correct the interference by one or more of the following measures:Reorient or relocate the receiving antenna. Increasethe separation between the equipment and receiver. Connect the equipment into an outlet on a circuit different from that to which the receiver is connected.  Consultthe dealer or an experienced radio/TV technician for help.15.21 Statement: Information to user: the user'smanual or instruction manual for an intentional or unintentional radiator shall caution the user that changes or modifications not expressly approved by the party responsible for compliance could void a sample statement is below: Note: The manufacturer is not responsible for any radio or TV interference caused by unauthorized modifications to this equipment. Suchmodifications could void the user's authority to operate the equipment.50800P11B ( MTK8377 )

Navigation menu