Kaba Access Installation Instructions E Plex Electronic Pushbutton Lock 5000/5200/5600/5700 Series 1.25 Mortise Inst 5x00 1 25 Pkg3090
E-Plex 5x00 Series Installation Instructions 1.25 Mortise - PKG3090 e-plex-5x00-series-installation-instructions-1-25-mortise-pkg3090 E-Plex 5700 Electronic Pushbutton Lock - Kaba Access & Data Systems
Kaba E-Plex Electronic Pushbutton Lock - 5000/5200/5600/5700 Series 1.25 Mortise Installation Inst e-plex-5x00-series-installation-instructions-1-25-mortise-pkg3090 Installation Instructions
User Manual: Kaba Access Kaba E-Plex Electronic Pushbutton Lock - 5000/5200/5600/5700 Series 1.25 Mortise Installation Inst Installation Instructions
Open the PDF directly: View PDF
.
Page Count: 24

E-PLEX
11/4” MORTISE INSTALLATION INSTRUCTIONS
®

2
TABLE OF CONTENTS
Tools Required . . . . . . . . . . . . . . . . . . . . . . . . . . . . . . . . . . . . . . . . . . . . . . . . . . . . . . . . . . . . . . . . .3
Exploded Install Parts . . . . . . . . . . . . . . . . . . . . . . . . . . . . . . . . . . . . . . . . . . . . . . . . . . . . . . . . . . .4
A. Mortise Handing . . . . . . . . . . . . . . . . . . . . . . . . . . . . . . . . . . . . . . . . . . . . . . . . . . . . . . . . . . . .5
B. Door Preparation . . . . . . . . . . . . . . . . . . . . . . . . . . . . . . . . . . . . . . . . . . . . . . . . . . . . . . . . . . .8
C. Installing the Strike . . . . . . . . . . . . . . . . . . . . . . . . . . . . . . . . . . . . . . . . . . . . . . . . . . . . . . . .14
D. Installing Outside Unit Assembly . . . . . . . . . . . . . . . . . . . . . . . . . . . . . . . . . . . . . . . . . . . . .15
E. Installing Inside Unit Assembly . . . . . . . . . . . . . . . . . . . . . . . . . . . . . . . . . . . . . . . . . . . . . .15
F. Installing the Inside Lever . . . . . . . . . . . . . . . . . . . . . . . . . . . . . . . . . . . . . . . . . . . . . . . . . .16
G. Changing Key-In-Lever Cylinder . . . . . . . . . . . . . . . . . . . . . . . . . . . . . . . . . . . . . . . . . . . . . .17
H. Installing / Removing Outside Lever (Key-In-Lever) KIL . . . . . . . . . . . . . . . . . . . . . . . . .18
I. Installing / Removing Outside Lever (Interchangeable/ . . . . . . . . . . . . . . . . . . . . . . . . .18
removable core models)
J. Installing the Battery Pack and Cover . . . . . . . . . . . . . . . . . . . . . . . . . . . . . . . . . . . . . . . .20
K. Testing the Operation of the Lock . . . . . . . . . . . . . . . . . . . . . . . . . . . . . . . . . . . . . . . . . . . .21
L. Programming and Software Settings . . . . . . . . . . . . . . . . . . . . . . . . . . . . . . . . . . . . . . . . .21
M. Installing Rubber Bumpers . . . . . . . . . . . . . . . . . . . . . . . . . . . . . . . . . . . . . . . . . . . . . . . . . .22
Warning:The Master Code of this lock has been factory preset:
1,2,3,4,5,6,7,8. To activate lock functions, the master combination
must be changed at time of installation.
Warnings and Cautions
Important: Carefully inspect windows, door frame, door, lights, etc.
to ensure that the recommended procedures will not cause damage.
Kaba Access Control’s warranty does not cover damages caused by
installation.
Caution: Wear safety glasses when preparing door.

3
Introduction
The purpose of this manual is to instruct the installer on the proper installation
procedure for the E-Plex 5x66 and 5x67 1 1⁄4" American Steel Mortise (ASM)
Mortise locks. These instructions pertain to models with and without deadbolts.
For models without deadbolts, please disregard any references to a thumbturn
in the instructions.
TOOLS REQUIRED
• Safety glasses
• 1⁄2" (13 mm) chisel
• 1⁄8" (3 mm) drill bit
• 1⁄4" (7 mm) drill bit
• 1⁄2" (13 mm) drill bit
• 21⁄8" (54 mm) hole saw
• Drill
• Awl or center punch
• Hammer
• Small flat screwdriver
• Phillips screwdriver (#2)
• Fine steel file
• Mortising machine
• Router
• Mortise faceplate router
template
• Adjustable square
• Tape measure
• Pencil
• Tape
• Cleaning supplies
(drop cloth, vacuum)
OPERATIONAL NOTE:
The E-Plex Mortise lock is almost identical to the E-Plex 5000
Cylindrical lock with the following exceptions:
1. Operation of the Lever When the lock’s handing is properly
set, only a downward rotation of lever will actuate latch.
2. Key Override Use The key override differs in that rotating
the key does not actuate the latch. To use the key override
the key must be inserted into the cylinder and rotated count-
er clockwise until it stops (approximately 90 degrees) then
while holding the key in this position with one hand use the
other hand to rotate the lever downward to retract the latch.
Once the lever has rotated a few degrees the key may be
released.

4
For technical assistance please call
1-800-849-TECH (8324) or 336-725-1331
The 1 1⁄4" Mortise lock for the E-Plex series comes preassembled from the
factory for a left-hand installation. It is field reversible.
Installation Qualifications
These instructions are designed for use by maintenance professionals or lock
installers who are familiar with common safety practices and competent to
perform the steps described. Kaba Access Control is not responsible for
damage, injury or malfunction due to incorrect installation.
Outside Unit
Assembly
Outside Lever
Assembly
Mounting
Plate
Mortise Lock
Mortise Faceplate
Strike
Mortise
Spindle
Thumbturn
Spindle
Lower
Mounting
Screws Release
Tool
Mounting
Plate
Screws
Allen
Wrench
Battery Cover
Screws
Battery Pack Cover
Battery Pack
Lectrobolt
Inside Unit
Assembly
Inside Lever
Security
Screw Tool
Upper
Mounting Screw
E-PLEX 11⁄4" Mortise Lock
5x66 and 5x67

5
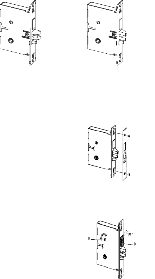
A. MORTISE HANDING
Compare the mortise with the figure. If the mortise is the correct handing for
the door, you may skip the next section on reversing the Mortise Handing.
A. 1.1 REVERSIBLE ASM
A-1.1
1. Remove the mortise faceplate.
Place the mortise on a flat
surface for the following steps.
2. Partially extend the deadbolt:
For normal ASM, rotate hub (H) using a
screwdriver, until the deadbolt (D)
extends approximately 1/4”.
For LH (left hand) and
RHR (right hand reverse)
For RH (right hand) and
LHR (left hand reverse)

6
A-1.1 Continued
3. Push in the latch bolt (L) to the
middle of its stroke, and hold it
there. (Continue Step 1 and 2)
Hold the latch (L) inside the mortise, and insert the tail-
piece retaining tool (S) so that the tailpiece (T) will not
drop inside the mortise case. Hold the tool and the latch
with one hand, and slide up the tailpiece using a small
screwdriver.
Continue to hold tool (S). Release the latch bolt (L) and
keep the anti-friction latch (F) toward the flat side of the
latch bolt so that the bolt extends fully.
4. Pull out the latch bolt (L), until it just clears the front
plate.
NOTE: If you remove the bolt completely, you must turn
it 90oto re-insert it.)
Rotate the latch bolt (L) 180o. Re-insert it to the end of
its stroke.
Holding tool (S) in place, re-engage tailpiece bolt (L)
(slide tailpiece down). There may be some play required
to align the parts. Remove the tool (S).
Lock Position
180o
Unlock Position

Release the latch to the middle of the stroke
and hold it there. Use a small screwdriver to
push the lock mechanism back on lock position
(see step 1 and 2).
IMPORTANT: The lock mechanism has to be
horizontal on lock position.
5. Release the latch bolt (L). Position
the latch bolt so that the bottom
tooth of the anti-friction latch (F)
remains inside the mortise case
as shown.
IMPORTANT: If the tooth of (F) is outside the mortise, you will not be
able to re-assemble the faceplate on the mortise.
6. If the auxiliary latch (X) is
shaped like a triangle, there is
no need to change its handing.
If the auxiliary latch (X) is
crescent shape, remove it,
turn it 180o, and replace it. The
auxiliary latch slides easily in and
out of the mortise.
7
F (tooth)
mortise
bottom view
X (triangular = OK)
X (crescent = must be reversed)
(re-insert)
180o

8
7. The mortise should look like the diagram
at the right. (Check the orientation of
the latch bolt and auxiliary latch.) Check
the bevel of the mortise and change it if
required as described in section B-8 on
page 14.
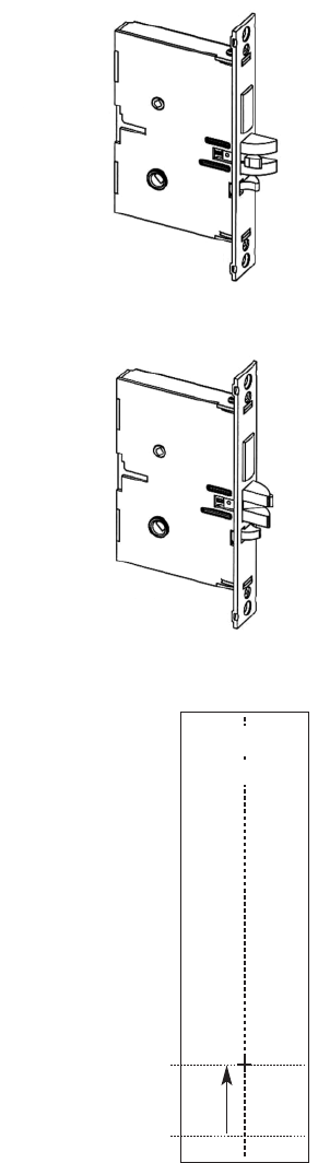
B. DOOR PREPARATION
If using the installation jig to prepare the door, refer
to the instructions provided with the jig, then proceed
with step 7.
B-1 Mark the handle height on the edge of the door,
as determined directly from the strike.
1
1⁄4"
Door
(CL)
Lever Centerline=
Bottom Edge of Strike lip
For LH (left hand) and RHR
(right hand reverse)
For RH (right hand) and
LHR (left hand reverse)

The axis of rotation of the handle is level
with the bottom lip of the strike.
B-2 Align the template along the vertical
center line of the mortise (CL) at the
desired handle height, and tape it to
the door.
B-3 Mark all holes and cutouts for the
mortise in the edge of the door and
remove the template.
B-4 Locate the two sets of vertical fold
lines on the template allowing you
to adjust the positioning of the tem-
plate depending on the bevel of the
door.
Note: Fold lines on template are for
13⁄4"door. Some thickness and bevel
conditions may make it necessary to
re-position the template for marking
each side of the door.
B-5 If the door has no bevel, fold the template along the solid lines. Align the
fold with the edge of the door and mark the holes for the lock. Repeat on
the other side of the door. If the door has a 3° bevel, fold and align the
dashed line marked “H” on the template with the higher-beveled edge of
the door and mark the lock holes on that side of the door. Repeat on the
side with the lower-beveled edge using the dashed line marked “L.”
B-6 Prepare the cutout for the mortise in the edge of the door using a mortis-
ing machine, router and chisel (for dimensions, refer to template). Ensure
clearance is provided for
moving latch parts as
indicated on the tem-
plate.
B-7 When making holes, drill
from both sides of the
door to prevent unsightly
damage (for dimensions,
refer to template). Drill
the small holes before
the large holes. This will
keep small holes on loca-
tion before the 21⁄8" holes
are made tangent with
them.
9
Mortise
RH/LHR (ASM shown) LH/RHR
P
Logo
Q
R
R

Kaba Access Control warrants this product to be free from defects in material
and workmanship under normal use and service for a period of three (3) years.
Kaba Access Control will repair or replace, at our discretion, 5000 Series Locks
found by Kaba Access Control analysis to be defective during this period. Our
only liability, whether in tort or in contract, under this warranty is to repair or
replace products that are returned to Kaba Access Control within the three (3)
year warranty period.
This warranty is in lieu of and not in addition to any other warranty or condi-
tion, express or implied, including without limitation merchantability, fitness for
purpose or absence of latent defects.
ATTENTION: This warranty does not cover problems arising out of improper
installation, neglect or misuse. All warranties implied or written will be null and
void if the lock is not installed properly and /or if any supplied component part
is substituted with a foreign part. If the lock is used with a wall bumper, the
warranty is null and void. If a doorstop is required, we recommend the use of a
floor secured stop.
The environment and conditions of use determine the life of finishes
on Kaba Access Control products. Finishes on Kaba Access Control products
are subject to change due to wear and environmental
corrosion. Kaba Access Control cannot be held responsible for the
deterioration of finishes.
Authorization to Return Goods
Returned merchandise will not be accepted without prior approval. Approvals
and Returned Goods Authorization Numbers (RGA Numbers) for the 5000
Series are available through our Customer Service department in Winston-
Salem, NC (800) 849-8324. The serial number of a lock is required to obtain
this RGA Number. The issuance of an RGA does not imply that a credit or
replacement will be issued.
The RGA number must be included on the address label when material
is returned to the factory. All component parts including latches and strikes
(even if not inoperative) must be included in the package with return. All mer-
chandise must be returned prepaid and properly packaged
to the address indicated.
* Simplex 5000 locks are warranted three (3) years from date of purchase.
E-Plex 5x00 locks are warranted three (3) years from date of activation.
KABA SIMPLEX®/E-PLEX®5x00 SERIES
LIMITED WARRANTY
10

KABA ACCESS CONTROL
2941 INDIANA AVENUE
WINSTON-SALEM, NC 27199-3770
NO POSTAGE
NECESSARY
IF MAILED
IN THE
UNITED STATES
BUSINESS REPLY MAIL
FIRST-CLASS MAIL PERMIT NO. 1563
POSTAGE WILL BE PAID BY ADDRESSEE
WINSTON-SALEM, NC

Thank you for purchasing our product. In order to
protect your investment and to enable us to better
serve you in the future, please fill out this registration
card and return it to Kaba Access Control, or
register online at www.kabaaccess.com.
This lock will be used in what type of facility?
oCommercial Building oIndustrial / Manufacturing oAirport
oCollege/University oGovernment/Military oSchool/Educational
oHospital/Healthcare oOther (please specify)
What area is being secured with this lock? (e.g. Front Door, Common Door, Exercise Room)
This lock is:
oNew Installation
oReplacing a conventional keyed lock
oReplacing a Kaba Mechanical Pushbutton Lock
oReplacing a Kaba Electronic Access Control
oReplacing a Keyless Lock other than Kaba
How did you learn about Kaba Access Control Pushbutton Locks?
oAdvertisement o Previous Use oInternet / Web oAnother Use
oLocksmith oMaintenance oTraining Class oOther (please specify)
What was your reason for buying this lock?
Who installed your lock?
oLocksmith oMaintenance oOther
oCheck here if you would like more information on Kaba Access Control locks.
Name
Position
Company
Address
City
State ZIP (Postal Code) Country
Phone
Email
Name of Dealer Purchased From
Date of Purchase
Lock Model Number
REGISTRATION CARD

Notes

14
B-8 Check the bevel of the mortise faceplate. If adjustment is required, loosen
the two bevel screws and adjust mortise front plate angle to match the
bevel of the door (R).
B-9 Re-tighten screws.
B-10 Install the mortise with two 1" Phillips screws (Q) provided.
B-11 Install mortise faceplate (P) with the two 8-32 x 1⁄4" screws provided.
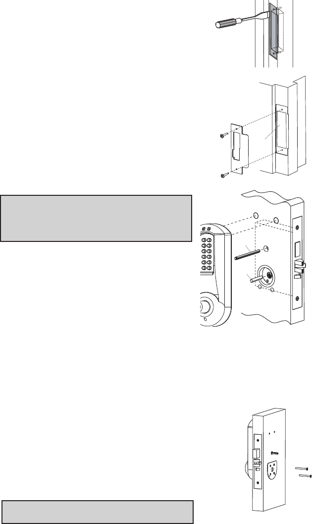
C. INSTALLING THE STRIKE
C-1 Align the paper template on the door
frame to match with the desired handle
height, and along the vertical center line of
the mortise (CL), which is also the center
line of the door, allowing for any bumpers
on the door frame.
Respect applicable building codes regard-
ing handle height.
C-2 Select the strike for the desired handing,
according to the depiction on the template.
Mark the location of the strike cutout and
mounting screws.
C-3 Drill pilot holes for the strike mounting
screws. Mortise the door frame for the
strike dimensions shown.
33⁄8" (L) X 1" (D) X 1" (W)
Note: Make certain not to mortise
over screw holes drilled earlier.
(CL)
Strike
Cutout
3 3⁄8"

15
C-4 Position the strike against the door frame
and align it with the mounting screw holes.
Then mark the outline of the strike.
C-5 Remove any material from within the strike
outline (a) so that the strike will be flush with
the door frame.
C-6 Install the strike using the screws
provided.
D. INSTALLING OUTSIDE UNIT
ASSEMBLY
Note: Ensure that the mounting hole for the
red collars is cleaned out so that the collars
are not crushed upon installation. If necessary,
the hole can be opened up to 5⁄16".
D-1 For door thickness of 13⁄4" – 2", insert the
short square spindle (G) into the outside
housing hub. Door thickness of 21⁄8" – 21⁄4",
insert the long square spindle into the
outside unit hub.
D-2 If your lock comes with a thumbturn,
insert the end of the thumbturn spindle
(F) into the small spindle hole in the outside
housing.
D-3 Place the outside housing on the door so that the bottom spindle engages
the hub on the mortise, and the top thumbturn spindle passes through the
mortise top hub. The outside unit assembly (c) will rest flush against the
door. Ensure the red collar is seated into the top left mounting hole.
E. INSTALLING INSIDE UNIT ASSEMBLY
E-1 Place inside mounting plate flush against the door as
shown. For door thicknesses 13⁄4" – 2" insert diagonal-
ly (as shown) two 21⁄16" Phillips flat head screws (sup-
plied in STD door kit). For door thickness 2" – 21⁄4"
insert diagonally (as shown) two 23⁄8" Phillips flat
head screws (supplied in thick door kit).
Note: The screws must correspond to the two
through holes in the mortise.
a
G
F

16
E-2 For door thickness of 13⁄4" – 2", insert the short
square spindle (G) into the inside housing hub.
Door thickness of 21⁄8" – 21⁄4", insert the long
square spindle into the inside unit hub.
E-3 Put the thumbturn (T), if applicable in a vertical
position and place the inside trim assembly on
the door so that the upper spindle (F) engages
the thumbturn and mortise hubs, respectively.
Ensure the red collar is seated into its mounting
hole. Carefully push the inside housing flush
against the door.
E-4 Select the LectroBolt™ (screw with red sleeve) length that corresponds to
the correct door thickness as noted in this chart:
Door LectroBolt Top Mounting Lower
Thickness Size Screw Size Mounting Screws
13⁄4" to 2" 23⁄4"2
7⁄8"5⁄8"
(44 mm to 51 mm) (70 mm) (73 mm) (16 mm)
21⁄8" to 21⁄4"3" 3
1⁄4"5⁄8"
(54 mm to 57 mm) (76 mm) (83 mm) (16 mm)
E-5 Insert the LectroBolt™ through the red inside hous-
ing hole marked with the lightening bolt symbol. For
now, only partially tighten the LectroBolt™ to keep
the red collars in position.
E-6 Then, insert and tighten the other three mounting
screws. (Refer to the chart for
correct screw lengths.)
E-7 Finish tightening the LectroBolt™ to secure the lock
on the door.
Warning: If using a power drill, please be careful not to over-tighten as this
could cause damage to the mounting screws and threads.
F. INSTALLING THE INSIDE LEVER
Insert the inside lever (A) onto the inside unit assembly.
Secure the inside lever with the hex screw (B) (supplied)
using the allen wrench (C) (supplied).
F
G
T
Red Collar
Lectrobolt
5⁄8"
(16mm)
a
cb

17
G. CHANGING KEY-IN-LEVER CYLINDER
On key-in-lever models of the E-Plex 5000 series, the outside lever
comes preassembled with Kaba’s key-in-lever cylinder (Kaba 1599). To use
a different key-in-lever cylinder follow remaining steps in this section.
G-1 To remove KIL (key-in-lever) cylinder (a) from the outside lever (b).
Remove the cylinder insert (e) and the
cylinder retainer
(c) using a small flat bladed screwdriver
or small needle nose pliers.
G-2 Determine the proper tailpiece (d) from
the chart below for your KIL cylinder.
You must use a Kaba tailpiece. The K 2 tailpiece is
preassembled with the Kaba 1599.
G-3 Assemble the required tailpiece (d) (from
above) with your KIL cylinder. All tailpieces
must be installed vertically (with key removed
from cylinder) for proper installation.
G-4 Insert the KIL cylinder (a) into the outside
lever and secure it with the cylinder retainer
(c) and the cylinder insert (e) until the KIL
cylinder is snug and unable to move freely.
Assa 65611, Australian: Kaba experT 107K5 &
Boyd KC286, Corbin Russwin 2000-03, Kaba
1599, Schlage 23-001, Schlage Primus 20-
760,
Kaba Peaks 1099
Medeco 20W200H1
Arrow C100, Sargent 10 LINE
Marks
Abloy 5277, Abloy 5477, Assa 65691,
Kaba 1539, Kaba Gemini 4730
KIL CYLINDERTAILPIECE
K1
K3
K2
K4
K5
c
f
ab
de
c
ab
e
d

18
H. INSTALLING / REMOVING OUTSIDE LEVER
(Key-In-Lever models only)
H-1 Make certain the lever catch is up as shown (c). To
successfully install the outside lever, the lever
sleeve (f) tab must be positioned correctly with the
respective notch on the lever. The lock comes
shipped with the lever sleeve already installed in the
lock housing. When installing lever, ensure it is ori-
ented to engage the lever sleeve to accommodate
desired lock handing as shown.
H-2 Insert one of the supplied keys (a) into the outside
lever (b) and rotate key counterclockwise 45
degrees.
H-3 Insert the outside lever (b) until it is flush to the
outside unit assembly (g). Secure the outside lever
by rotating the key (a) clockwise 45 degrees to hor-
izontal position. Remove key.
Note: To remove the outside lever from the
outside unit assembly, follow the step below.
H-4 Insert one of the supplied keys (a) into the outside
lever and rotate it counterclockwise 45 degrees.
Insert release tool (d) into the small hole (e) under
lever as shown. Gently push lever catch up until it
clicks. Remove tool, then remove outside lever (b).
I. INSTALLING / REMOVING OUTSIDE
LEVER
(Interchangeable / Removable Core Models)
I-1 Make certain the lever catch is up as shown (c). To
successfully install the outside lever, the lever sleeve
(f) tab must be positioned correctly with the respec-
tive notch on the lever. The lock comes shipped with
the lever sleeve already installed in the lock housing.
When installing lever, ensure it is oriented to engage
the lever sleeve to
accommodate desired lock handing as shown.
Note: For all interchangeable/removable cylinders
except ASSA/Medeco/Yale, proceed to section I-2.
For ASSA/Medeco/Yale cylinders, skip to section I-5.
LH
KIL Lever Sleeve
RH
a
b
45º
a
b
f
c
Correct
Position
Incorrect
Position
45º
e
d
g
g
IC Lever Sleeve
RH
LH
f
c
Correct
Position
Incorrect
Position

19
I-2 Insert the outside lever (a) until it is flush to the outside
unit assembly (b). To secure the outside lever, insert the
release tool (d) (or screwdriver) into the outside lever as
shown, and slide the lever catch down until it clicks.
Make certain lever is attached before installing the core.
I-3 Insert the supplied tailpiece (e) vertically into the outside
lever as shown. Make certain that you rotate the tailpiece
so that it will align with the interchangeable core. For
screw cap type cylinders (Schlage) (g), the tailpiece must
be assembled to the cylinder first as shown
(vertical position). Insert the interchangeable
core into the outside lever.
Note: To remove the outside lever from the
outside unit assembly, follow steps below.
I-4 Remove the interchangeable core (g).
Then remove the tailpiece (e).
I-5 For ASSA/Medeco/Yale
interchangeable/removable cylinders, the
tailpiece must be prepped for the desired
length before installation.
When using a Yale cylinder on a cylindrical
latch application, measure the door thickness
of the intended application.
I-6 Notice the score marks on the flat portion of the
ASSA/Medeco/Yale tailpiece. Using the diagram below,
locate the score mark on your tailpiece that matches
your cylinder prep for the intended application, and
break the tailpiece off accordingly.
I-7 Using two pairs of pliers, break the tailpiece to the
desired length of the intended application by holding one
pair of pliers on the good side of the score mark and a
second pair on the other side of the score mark. Slowly
move the 2nd pair of pliers up and down until the
unneeded portion of the tailpiece breaks free.
I-8 Insert the Medeco tailpiece (e) vertically
into the outside lever as shown. Make
certain that you rotate the tailpiece
slightly so that it will align with the
interchangeable/removable cylinder.
Insert the interchangeable/removable
cylinder into the outside lever..
Note: To remove the outside lever from the
outside unit assembly, follow steps below.
I-9 Remove the interchangeable/removable
cylinder. Then remove the tailpiece (e).
Note: You may want to use needle nose
pliers for some tailpieces.
e
a
b
d
b
a
vertical
g
b
d
f
a
YALE 6 & 7 PIN,
CYLINDRICAL – THIN DOOR
(1 3⁄8" (35 mm) to 1 1⁄2" (38 mm))
(DO NOT SHORTEN TAILPIECE -
For 1 5⁄8" (41 mm) to 2 1⁄4" (57 mm))
ASSA/MEDECO 5, 6 & 7 PIN,
CYLINDRICAL – DO NOT SHORTEN TAILPIECE
ASSA & MEDECO 6 PIN,
EXIT & MORTISE
MEDECO 5 PIN,
EXIT & MORTISE
YALE 6 & 7 PIN,
EXIT & MORTISE

20
I-10 Insert the lever release tool (d) into the small hole (f) under lever as
shown. Gently push lever catch up until it clicks. Remove tool, then
remove outside lever (a).
Note: You may want to use needle nose pliers for some tailpieces.
Insert the release tool (d) into the small hole (f) under the lever as shown.
Gently push lever catch up until it clicks. Remove tool, then remove the outside
lever (a).
Note: Do not shut door until installing batteries and testing operation as
outlined in the following two sections.
J. INSTALLING THE BATTERY PACK AND
COVER/CHANGING BATTERIES
J-1 To install the battery pack (f) and cover
(g), snap the cable connector onto the
top of the loaded battery pack. Then
place the battery pack into the cover,
terminals at the top. Put the two securi-
ty screws (h) into the cover and fasten
the cover to the inside housing with the
security screw tool (i).
Caution: Over-tightening these screws could
strip the threads in the housing or crack the
cover.
Warning: If the lock goes without power for more than two minutes, you will
lose the lock’s current date and time only. If this happens, program the lock
with the correct date and time. Refer to Operations Manual.
J-2 Remove the two screws (h) securing the battery cover to the
housing, using the security screw tool (i) provided with your
lock.
J-3 Remove the four depleted batteries and install four new
Alkaline only AA batteries. Ensure that each battery is
installed in the proper direction as shown at each battery loca-
tion in the battery holder (f).
Warning: Do not install a 9V battery. Your lock operates on 4 alkaline only
AA batteries (6V). A 9V will ruin the electronics in the lock, and void your
warranty!
J-4 Reconnect the battery cable. Place the battery holder into the cover.
Screw the back cover onto the inside housing, ensuring that the cable is
not trapped under the edge of the cover.
Caution: Over-tightening these screws could strip the threads in the housing
or crack the cover.
f
h
i
g

21
K. TESTING THE OPERATION OF THE LOCK
K-1 Rotate inside lever and hold. Ensure that the mortise latch is fully retract-
ed and flush with the mortise faceplate. Release the inside lever; the latch
should be fully extended.
K-2 Enter the factory-set combination: 1,2,3,4,5,6,7,8. You should see a green
light and hear a high-pitched tone as you push each button. When the lock
opens you will briefly hear the sound of an electric motor. If 1,2,3,4,5,6,7,8
does not seem to work, please follow the steps to perform a hard reset by
following the procedure in section L.
K-3 Rotate outside lever and hold. Ensure that the latch is fully retracted and
flush with the latch faceplate. Release the outside lever; the latch should
be fully extended. When the lock re-locks, you will again hear the motor.
K-4 Insert key into the outside lever. Rotate key counterclockwise to stop posi-
tion and hold. Ensure that the latch is fully retracted and flush with the
latch faceplate. Rotate the key clockwise to the horizontal position and
remove the key. The latch should be fully extended.
K-5 To test the deadbolt function (where applicable), turn the thumbturn knob
to extend the deadbolt. A red light should flash once. Then, turn the
thumbturn again and verify that the deadbolt is retracted and there is a
flash of the green light.
Note: Refer to the Operating Manual to set up lock operation.
L. PROGRAMMING AND SOFTWARE SETTINGS:
L-1 You must change the master Code from the factory default to another
code to program the lock. For further information on how to manually
program the E-Plex 3x00/5x00 Series Models, refer to the companion “E-
Plex 3x00/5x00 Operation Manual.” Software is required to program the
E3200/E5200 Series Locks.
L-2 When configuring the E3000/E5000 Series Locks using the optional
Standard Software, choose the box that contains “Entry Lock with
Passage (Cylindrical or Mortise without Deadbolt)” during lock setup.
L-3 When configuring the E3200/3700 and E5200/E5700 Series Locks
using the Enerprise Software, select the appropriate lock type during
lock setup.

22
M. INSTALLING RUBBER BUMPERS
M-1 Close the door and apply pressure
making sure the deadlatch (a) rests
on the strike plate (b) as shown.
Standing on the frame (door step)
side of the door, check for gaps between the door and the frame on the
three sides of the frame (left, right and top).
M-2 Mark locations where the gaps are approximately
3⁄16" (5 mm). Make sure these locations are free from grease and dust. Peel
the bumpers (c) (supplied) from their protective backing without touching
the adhesive surface and stick them on the marked locations.
Note: Allow 24 hours for bumper adhesive
to set before testing. The door may be
operated manually during this time.
a
b
Correct
Incorrect
c
ab

23
Notes

Kaba Access Control
2941 Indiana Avenue
Winston-Salem, NC 27105 USA
Tel: (800) 849-8324 (336) 725-1331
Fax: (800) 346-9640 (336) 725-3269
www.kabaaccess.com PKG3090 0912