Kaba Reset Unknown/Lost Simplex Combination Code PKG3216E Unknown Lost
User Manual: Kaba Reset Unknown/Lost Simplex Combination Code - PKG3216E Simplex 2015 Mechanical Lock - Kaba Access & Data Systems
Open the PDF directly: View PDF
.
Page Count: 1

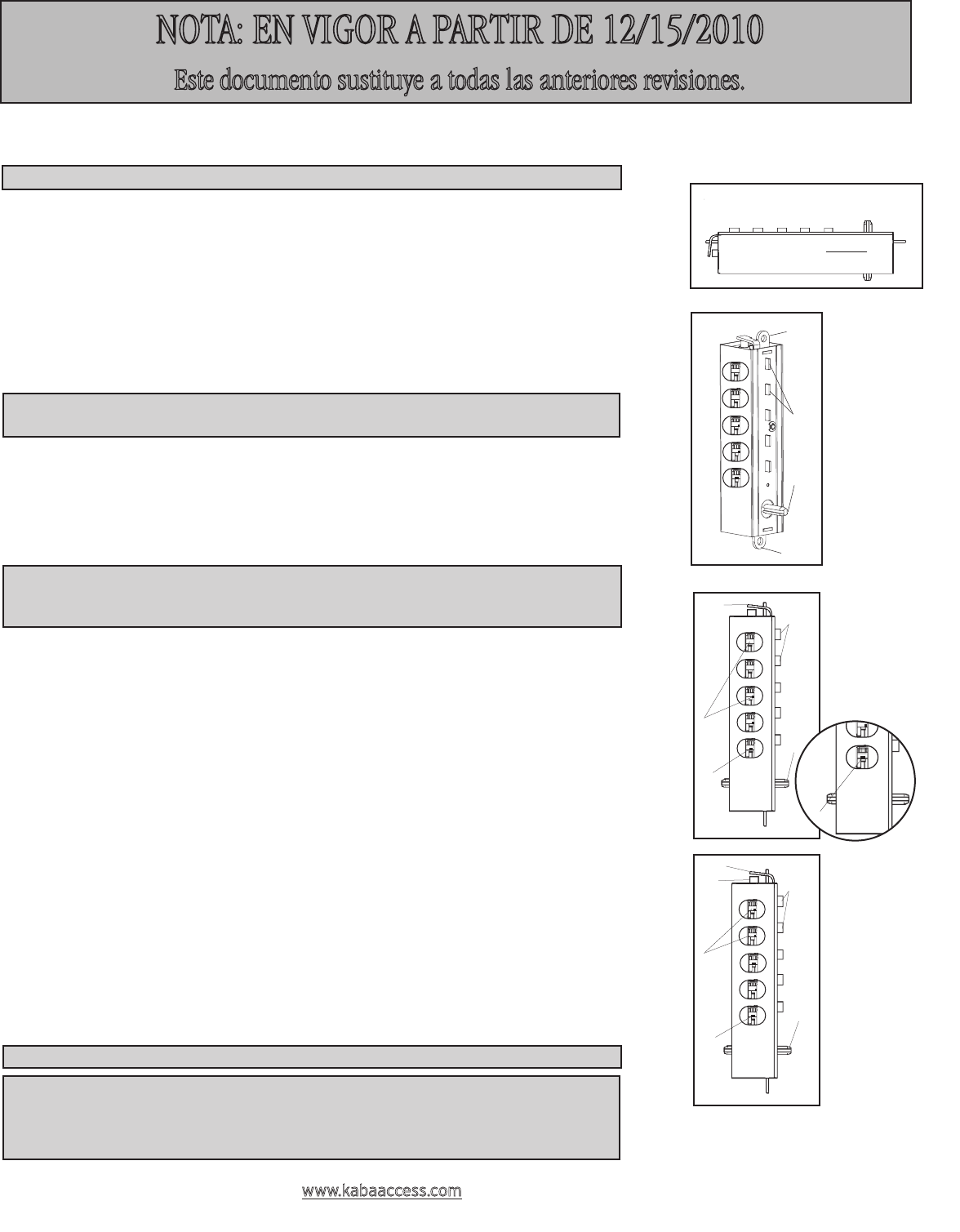
Remueva la cámara de combinación del candado.
NO se requiere remover la cubierta y NUNCA debe ser removida para la
recuperación de un código perdido.
1. Sostenga la cámara con una mano por la pestaña de tornillo (b) en cada extremo con
las clavijas (c) mirando hacia usted y el eje de control (d) en el fondo (Vea la Figura 2).
2. Usando pinzas o equivalentes, gire el eje de control (d) en el sentido contrario a
las manecillas del reloj y libere para despejar la cámara (Vea la Figura 2).
3. Vea los 5 engranes de código (e) que se encuentran dentro de las ventanas oblon-
gas. Si alguno de los bolsillos de los engranes de código (f) ya está en la línea de
corte (posición de abierto), ignórelo. No se usan en la combinación (Vea la Figura 3).
Nota: La línea de corte (posición abierta) hace referencia a la pata en forma
de “L” ya alineada con el bolsillo de engrane de acople.
4. Busque el o los bolsillos de engrane de código (f) que estén más lejos de la línea
de corte (posición de abierto). Presione esa o esas clavijas (c) y libere (Vea la
Figura 3). Si algunos bolsillos de engrane de código están a una distancia igual de
la línea de corte, deben de presionarse juntos para restablecer la combinación.
5. Busque el o los bolsillos de engrane de código (f) que sean los más lejanos de la
línea de corte (posición de abierto). Presione esa clavija (c) (Vea la Figura 3).
Nota: Si uno de los bolsillos de engrane de código pasa la línea de corte, los
bastones clave fueron presionados en una secuencia equivocada. Comience de
nuevo en el paso 2.
6. Repita el paso 5 hasta que todos los bolsillos de engrane de código (f) estén en
la línea de corte (posición de abierto).
7. Si todos los bolsillos de engrane de código (f) no están alineados en la línea
de corte (posición de abierto), comience de nuevo en el paso 2.
8. Presione la deslizadera de bloqueo (g) en la parte superior de la cámara y
libere (parece un extremo de bujía) (Vea la Figura 3).
9. Usando pinzas o equivalentes, gire el eje de control (d) en sentido contrario a
las manecillas del reloj y libere. La deslizadera de bloqueo (g) deberá saltar (el
botón por debajo permanecerá presionado) (Vea la Figura 4).
10. Presione las clavijas (c) que desea en la combinación, liberando cada uno
después de que es presionado (Vea la Figura 4).
11. Una vez que todos los dígitos de la nueva combinación hayan sido presionados,
con las pinzas o equivalente, gire el eje de control (d) en el sentido de las
manecillas del reloj (Vea la Figura 4). El botón de cambio de código (h) debajo
de la deslizadera de bloqueo (g), deberá saltar (Vea la Figura 4). Ya quedó es-
tablecida la nueva combinación.
12. Vea los bolsillos de engrane de código (f). Los números en la nueva
combinación no deben estar en la línea de corte (posición de abierto)
(Vea la Figura 4).
Reinstalación: Reinstale la cámara en el cierre.
Pruebas: Gire la perilla/palanca exterior y libere (para modelos de cierre
giratorio, gire en el sentido contrario de las manecillas del reloj). Ingrese el
código. Gire la perilla/palanca (para modelos de cierre giratorio, gire en el
sentido de las manecillas del reloj). El pestillo debe retraerse.
Para ver esto en inglés y francés, visite www.kabaaccess.com
f
gc (5)
e (5)
Fig. 1
Fig. 2
Fig. 3
Fig. 4
NOTA: EN VIGOR A PARTIR DE 12/15/2010
Este documento sustituye a todas las anteriores revisiones.
Restableciendo una combinación
PKG3216S 1210
Kaba Access Control
2941 Indiana Avenue,
Winston-Salem, NC 27105 U.S.A.
Tel. 800.849.8324 o 336.725.1331
www.kabaaccess.com
b
d
b
c (5)
f
e (5)
LA CUBIERTA NUNCA
DEBE REMOVERSE
f
g
hc (5)
e (5)
d
d
Retirer de la serrure l’alvéole de la combinaison.
Le couvercle n’a PLUS besoin d’être enlevé et ne doit JAMAIS être enlevé
pour récupérer un code perdu.
1. Tenir l’alvéole d’une main par la patte vissée (b) à chaque bout avec les tiges
des clés (c) devant vous et la tige de contrôle (d) en bas (voir la figure 2).
2. À l’aide de pinces ou l’équivalent, tourner la tige de contrôle (d) anti-horaire-
ment et relâcher pour vider l’alvéole (voir la figure 2).
3. Examiner les 5 engrenages (e) situés dans les fentes oblongues. Si toute ochette
d’engrenage (f) se trouve en position ouverte, il ne faut pas en tenir compte. Elles
ne sont pas utilisées dans la combinaison (Voir la figure 3).
Note: La ligne de cisaillement (position ouverte) est en rapport avec les
pieds en « L » déjà alignés avec la pochette appariée.
4. Localiser la ou les pochette(s) d’engrenage (f) la (les) plus éloignée(s) de la
ligne de cisaillement (position ouverte). Enfoncer la ou les tige(s) (c) de ces
clés et relâcher (voir la figure 3). Si des pochettes d’egrenage sont à égale
distance de la ligne de cisaillement, il faut les enfoncer ensemble pour
éarmer la combinaison.
5. Localiser la ou les deuxième(s) pochette(s) d’engrenage (f) le plus éloignée(s) de
la ligne de cisaillement (position ouverte). Enfoncer la ou les tige(s) de ces clés (c)
et relâcher (voir la figure 3).
Note: Si une ou plusieurs pochettes d’engrenage dépassent la ligne de
cisaillement, les tiges de clés ont été enfoncées dans une séquence
erronée. Revenir à l’étape 2.
6. Répéter l’étape 5 jusqu’à ce que toutes les pochettes d’engrenage (f) soient à la
ligne de cisaillement (position ouverte).
7. Si toutes les pochettes d’engrenage (f) ne sont pas alignées à la position
ouverte, recommencer à l’étape 2.
8. Enfoncer la glissière de verrouillage (g) en haut de l'alvéole et la relâcher
(elle ressemble au bout d’une bougie d’allumage) (voir la figure 3).
9. À l’aide de pinces ou l’équivalent, faire pivoter la tige de contrôle (d) anti-ho-
rairement pour vider l'alvéole et la relâcher. La glissière de verrouillage (g)
doit ressortir (le bouton en-dessous restera enfoncé) (voir la figure 4).
10. Enfoncer la ou les tige(s) de clé(s) désirées (c) dans la combinaison,
relâchant chacune après l’avoir enfoncée (voir la figure 4).
11. Une fois tous les chiffres de la nouvelle combinaison enfoncés, à l’aide de
pinces ou l’équivalent, faire pivoter la tige de contrôle (d) horairement (voir la
figure 4). Le bouton de modification du code (h) sous la glissière de verrouil-
lage (g) doit ressortir (voir la figure 4). La nouvelle combinaison est main-
tenant réglée.
12. Examiner les pochettes d’engrenage (f). Les chiffres de la nouvelle combinai-
son ne doivent pas être situées à la ligne de cisaillement (position ouverte)
(voir la figure 4).
Réinstallation: Remettre l’alvéole dans la serrure.
Tests: Faire tourner le bouton ou levier extérieur et relâcher (pour les
modèles à bouton-poucier, tourner anti-horairement). Entrer le code.
Tourner le bouton ou levier (pour les modèles à bouton-poucier, tourner
horairement). Le taquet doit rentrer.
Pour l’espagnol et le français, visiter www.kabaaccess.com
f
gc (5)
e (5)
Fig. 1
Fig. 2
Fig. 3
Fig. 4
AVIS: À PARTIR DU 15 DÉCEMBRE 2010
Le présent document remplace toutes les versions précédentes.
Réinitialisation d’une combinaison inconnue
PKG3216F 1210
Kaba Access Control
2941 Indiana Avenue,
Winston-Salem, NC 27105 U.S.A.
Tel. 800.849.8324 ou 336.725.1331
www.kabaaccess.com
b
d
b
c (5)
f
e (5)
LE COUVERCLE NE DOIT
JAMAIS ÊTRE ENLEVÉ
f
g
hc (5)
e (5)
d
d