Kawasaki Zzr1200 Users Manual
ZZR1200 to the manual 361f3f26-0d17-4fbf-849e-4c4a54af8edb
2015-01-21
: Kawasaki Kawasaki-Zzr1200-Users-Manual-219615 kawasaki-zzr1200-users-manual-219615 kawasaki pdf
Open the PDF directly: View PDF
.
Page Count: 496 [warning: Documents this large are best viewed by clicking the View PDF Link!]
- Index
- Section 1 - General Information
- Section 2 - Periodic Maintenance
- Section 3 - Fuel System
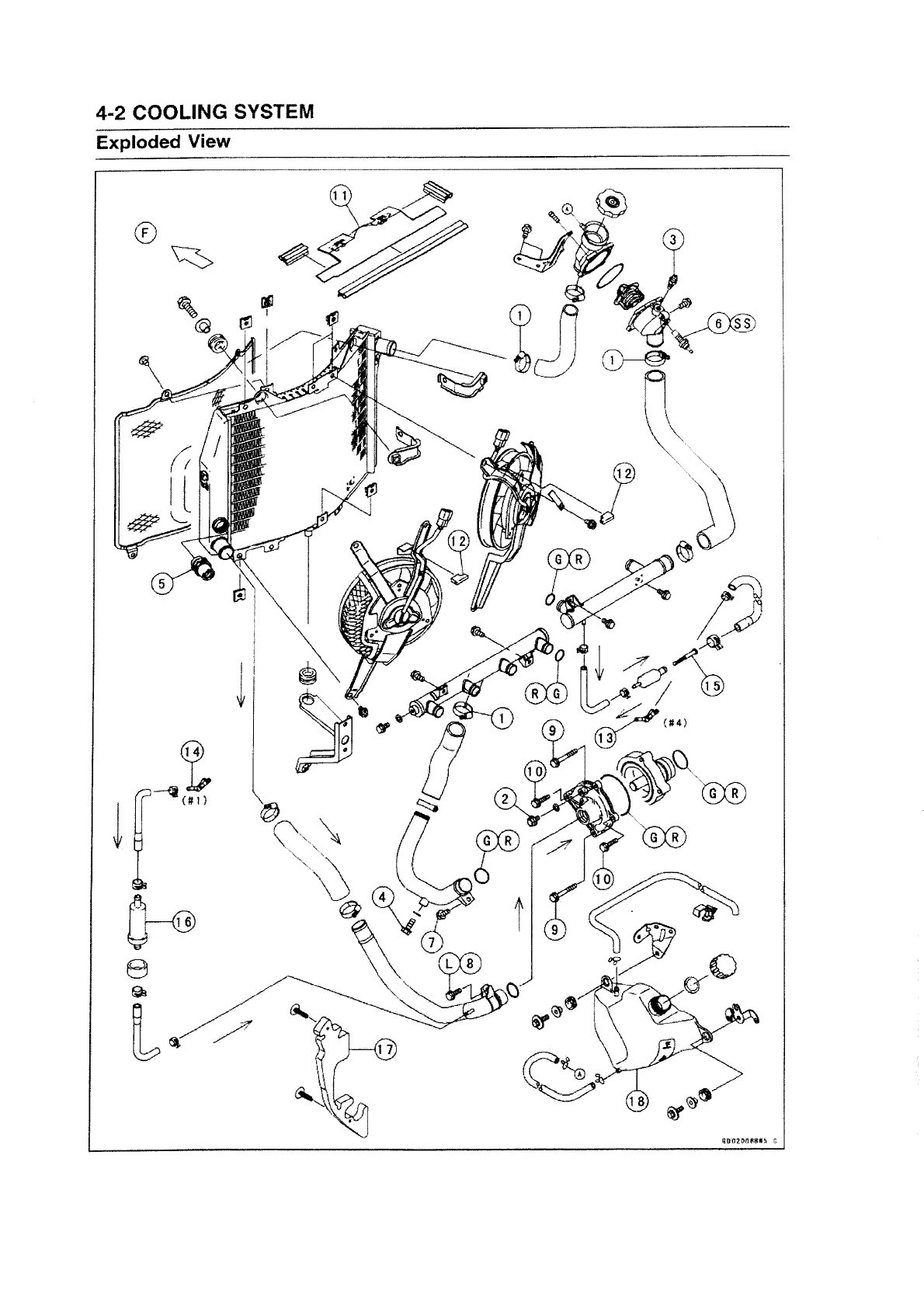
- Section 4 - Cooling System
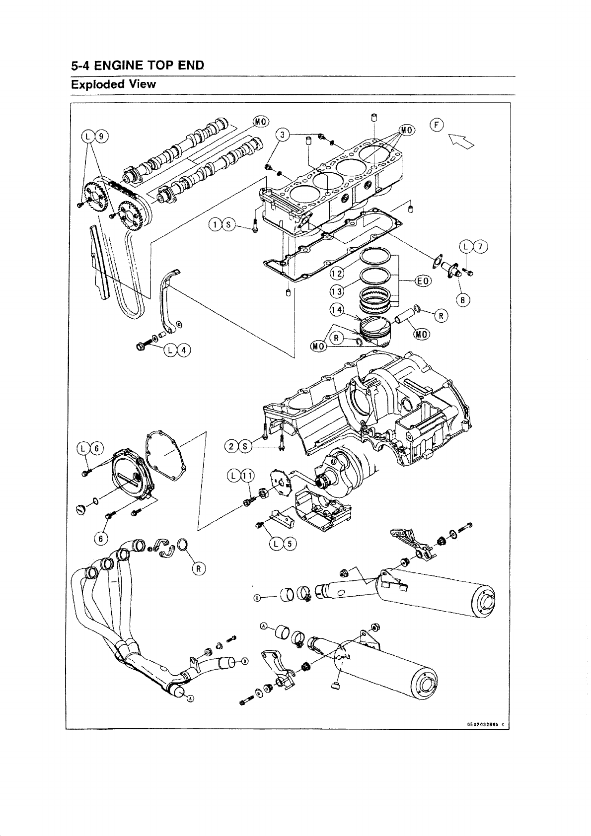
- Section 5 - Engine Top End
- Section 6 - Clutch
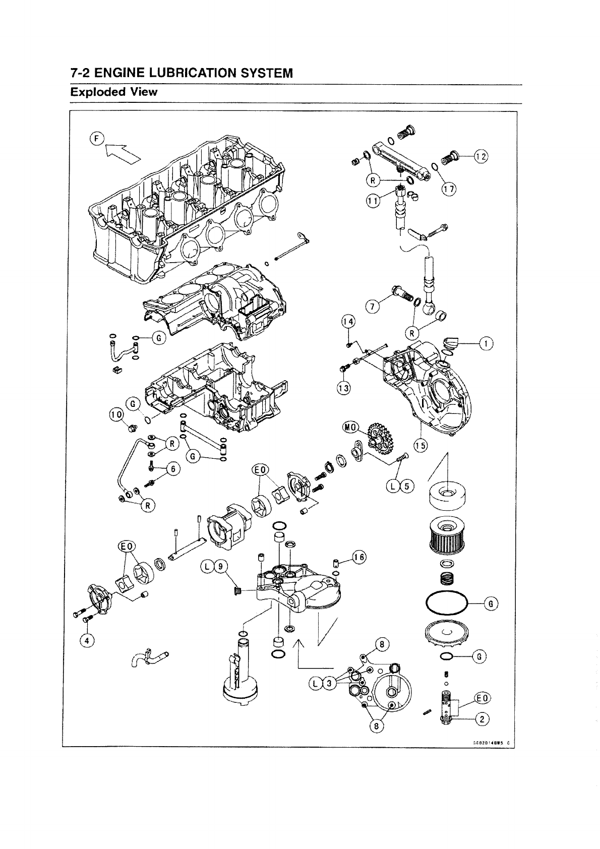
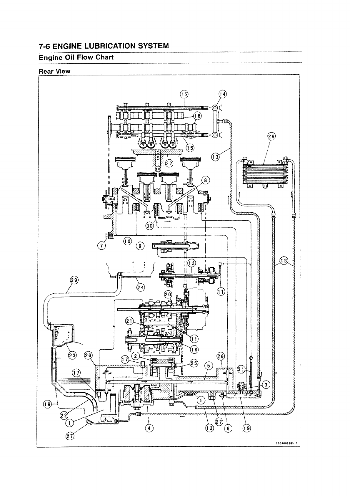
- Section 7 - Engine Lubrication System
- Section 8 - Engine Removal / Installation
- Section 9 - Crankshaft/Transmission
- Section 10 - Wheels / Tires
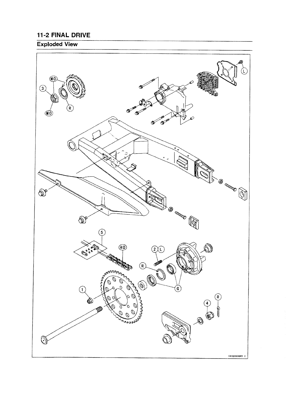
- Section 11 - Final Drive
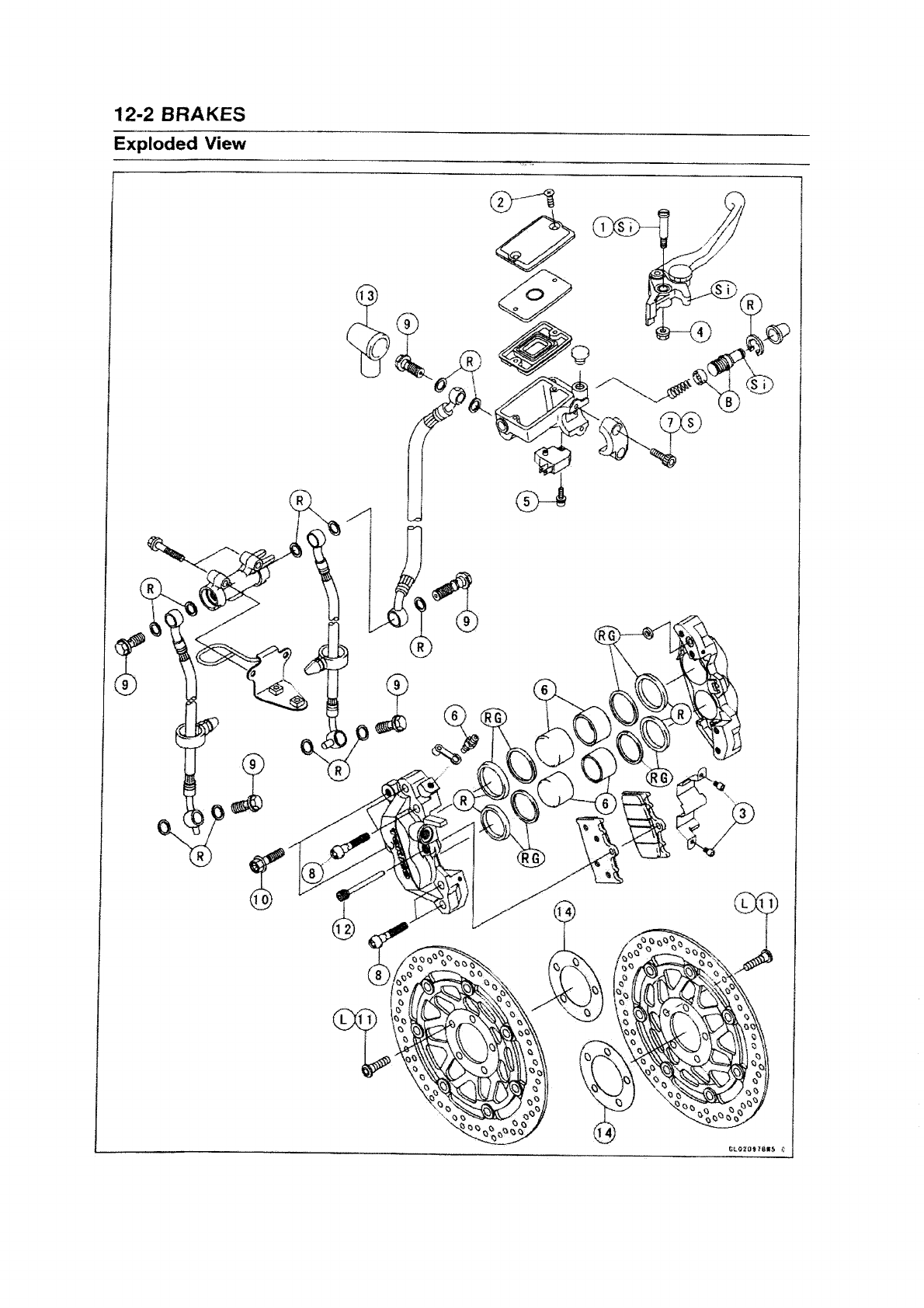
- Section 12 - Brakes
- Section 13 - Suspension
- Section 14 - Steering
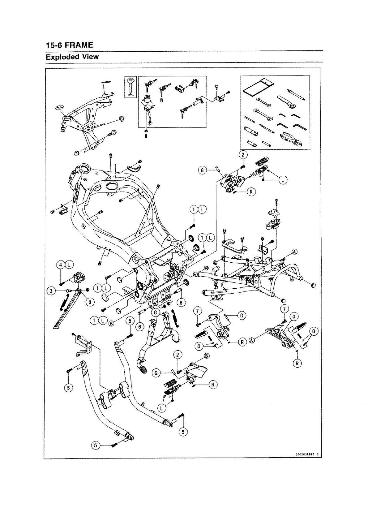
- Section 15 - Frame
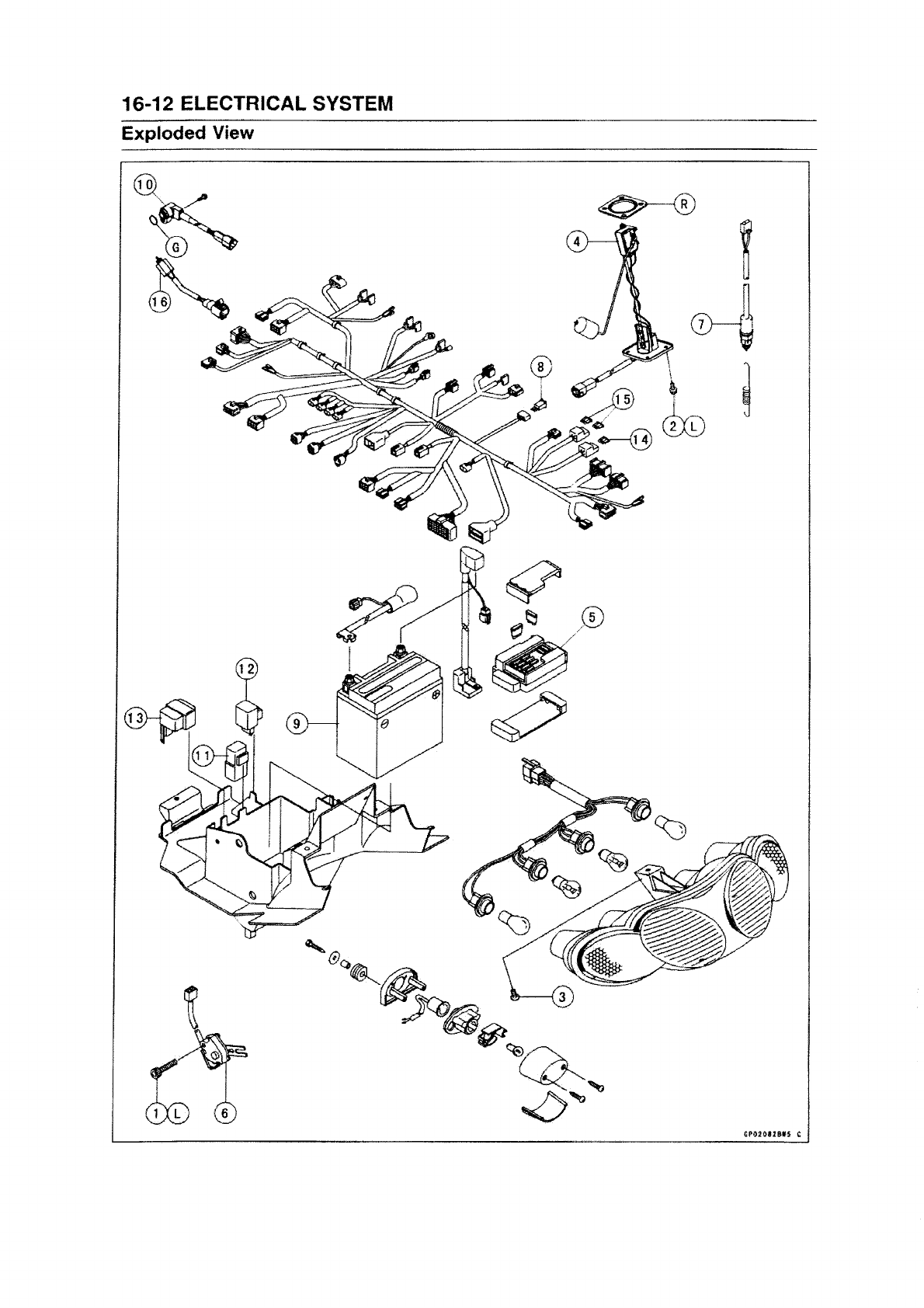
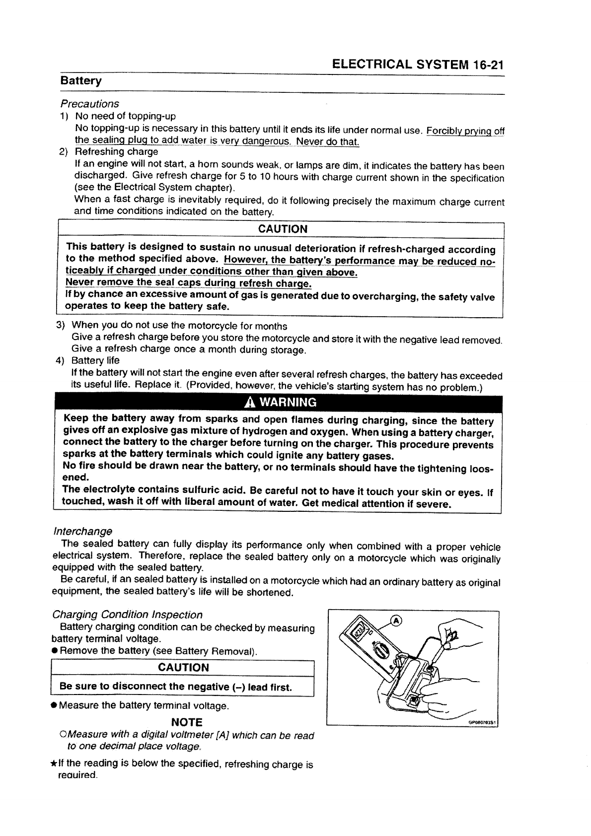
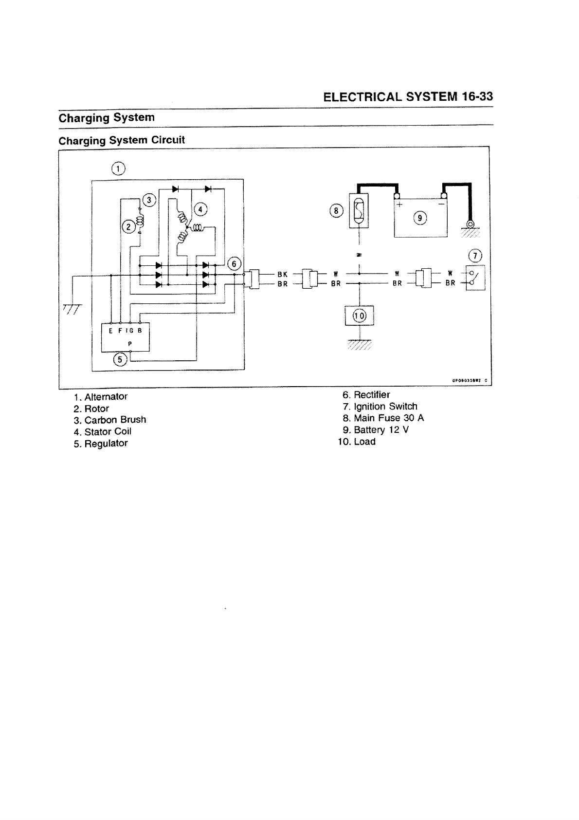
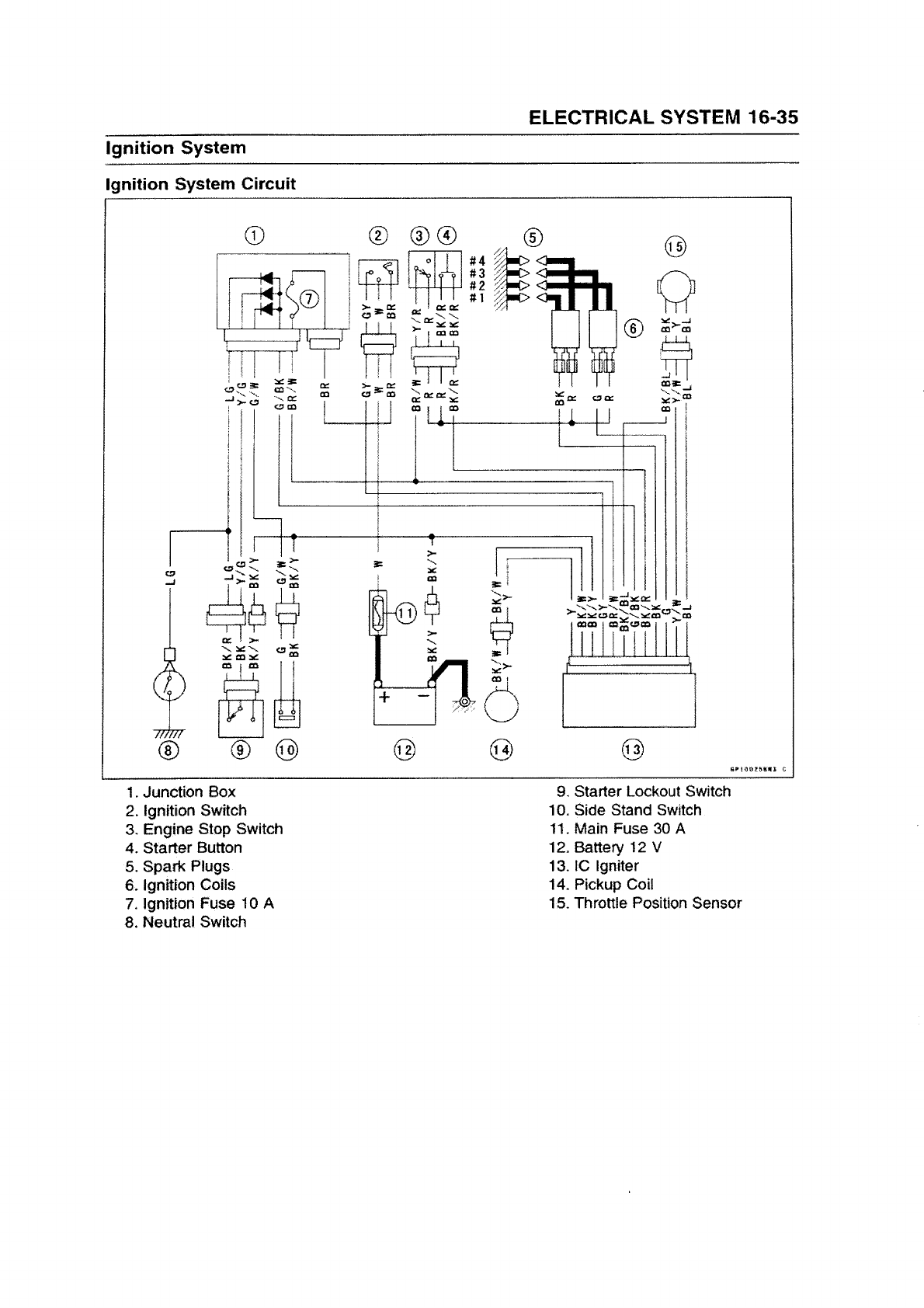
- Section 16 - Electrical System
- Section 17 - Appendix































































































































































































































































































































































































































































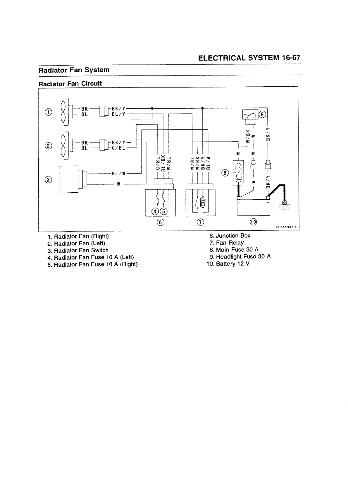
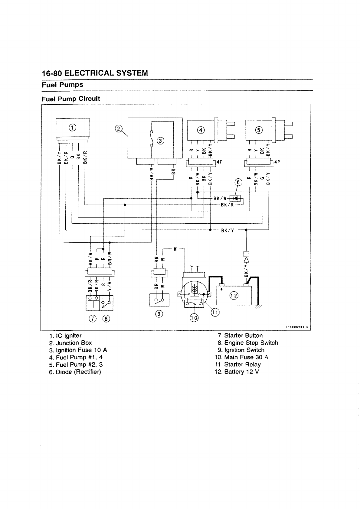
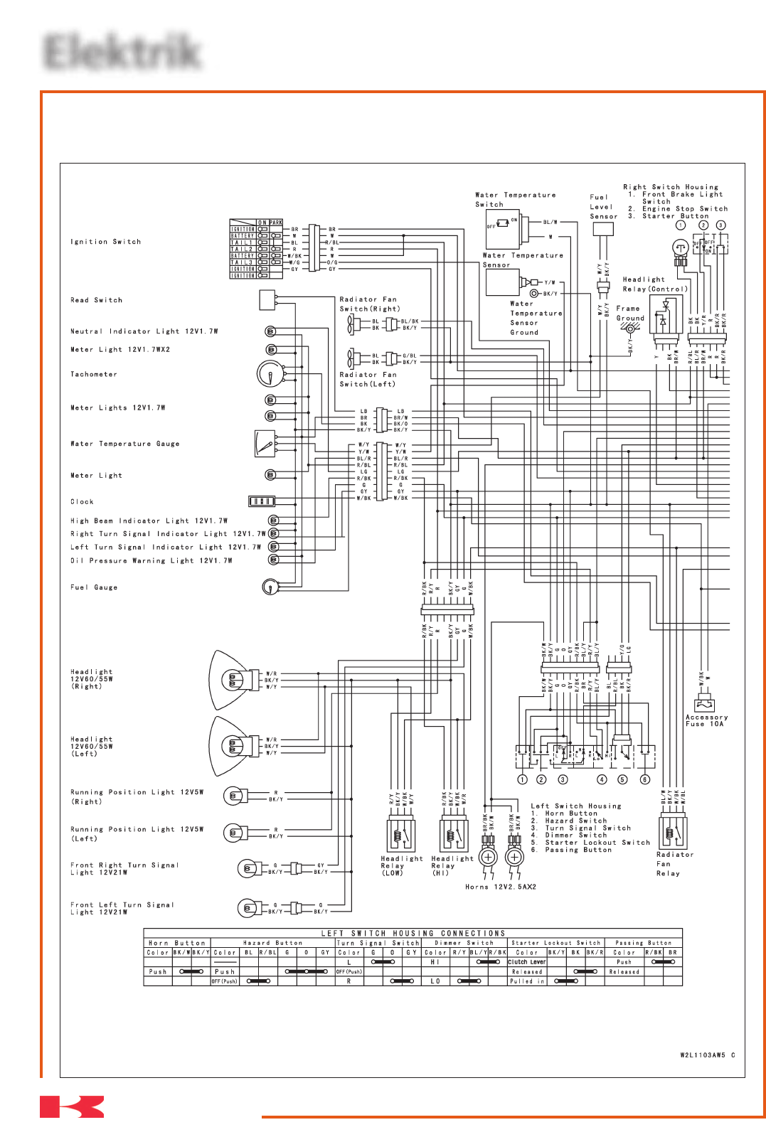
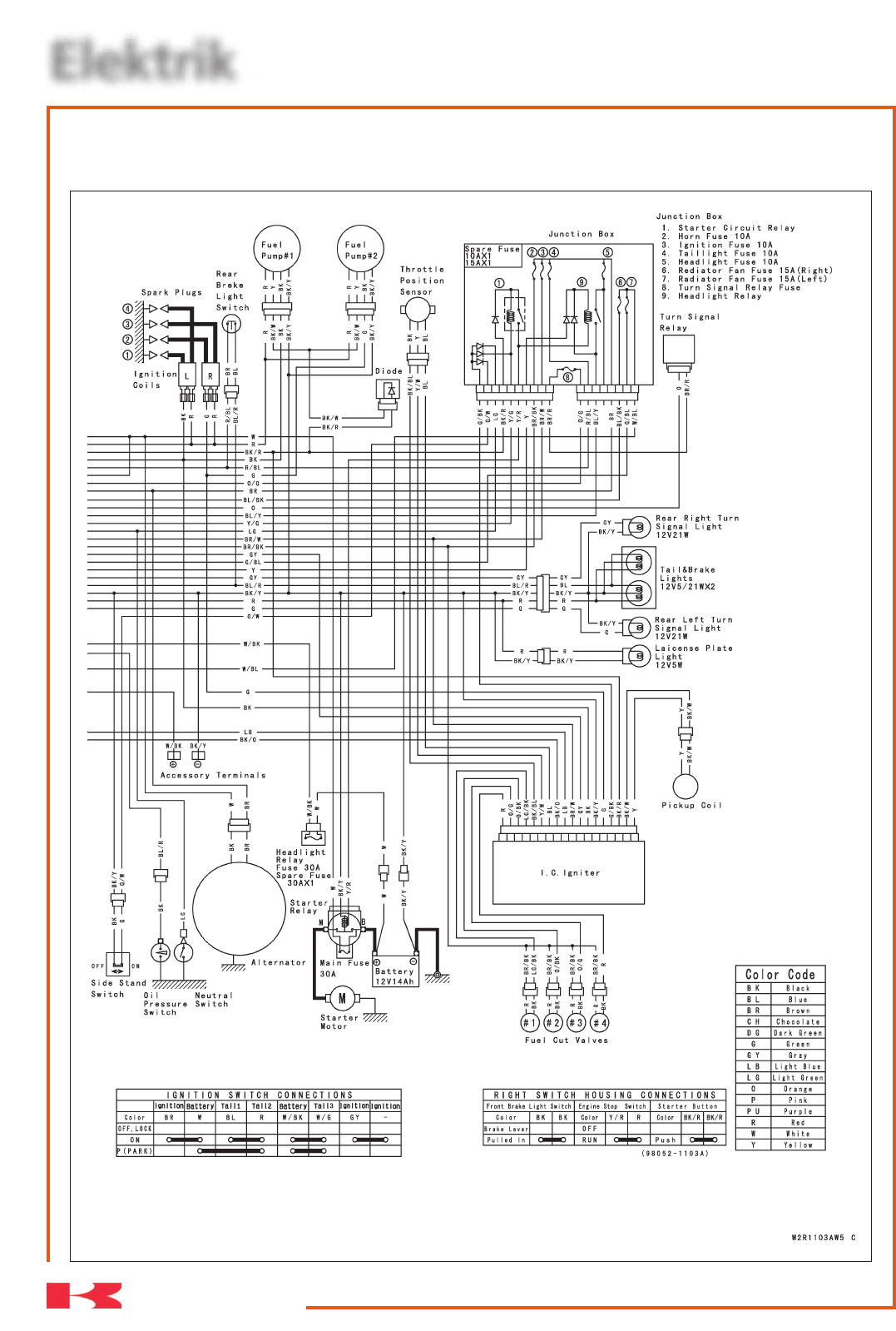
Elektrik 16-80
Kawasaki ZZR 1200
ZX-1200-C1 Schaltplan (Australien)

Elektrik 16-81
Kawasaki ZZR 1200
ZX-1200-C1 Schaltplan (Australien)

Elektrik 16-82
Kawasaki ZZR 1200
ZX-1200-C1 Schaltplan (Alle Modelle außer Australien, Kanada, Malaysia und USA)
Kühlergebläseschalter
Kraft-
stoff-
stand-
sensor
Rechtes Schaltergehäuse
1. Scheinwerferschalter
2. Vorderrad-Bremslicht-
schalter
3. Motorausschalter
4. Anlasserknopf
Wassertemperatur-
sensor
Wassertemperatur-
sensor-Masse
Kühlgebläse
(rechts)
Kühlgebläse
(links)
Rahmen-
Masse
Zünder
Leseschalter
Leerlauf-Anzeigeleuchte 12 V 1,7 W
Messgeräteleuchte 12 V 1,7 W
Tachometer
Messgeräteleuchten 12 V 1,7 W x 2
Wassertemperatur-Messgerät
Messgeräteleuchte 12 V 1,7 W
Uhr
Fernlicht-Anzeigeleuchte 12 V 1,7 W
Anzeigeleuchte Rechter Blinker 12 V 1,7 W
Anzeigeleuchte Linker Blinker 12 V 1,7 W
Öldruck-Warnleuchte 12 V 1,7 W
Kraftstoffstand-Messgerät
Scheinwerfer 12 V
60/55 W (Rechts)
Scheinwerfer 12 V,
60/55 W (Links)
Fahrpositionsleuchte 12 V, 5 W
(rechts)
Fahrpositionsleuchte 12 V, 5 W
(links)
Vorderer Rechter Blinker 12 V 21 W
Vorderer Linker Blinker 12 V 21 W
Zusatz-
siche-
rung
10 A
Kühlgebläse-
relais
Linkes Schaltergehäuse
1. Hupenknopf
2. Blinkerschalter
3. Abblendschalter
4. Zündunterbrecher
5. Alarmknopf
Hupen 12 V
2,5 A x 2
ANSCHLÜSSE DER LINKEN SCHALTARMATUR
Zündunterbrecher Hupenknopf Abblendschalter Blinkerschalter Alarmknopf
Farbe BK/Y BK BK/R Farbe BK/W BK/Y Farbe R/Y BL/Y R/BK Farbe G O GY Farbe BR R/BK
Kupplungshebel drücken Abblendlicht R drücken
losgelassen losgelassen Aus(drücken) losgelassen
angezogen Fernlicht L
Schein-
werfer-
relais
(Abblend-
licht)
Schein-
werfer-
relais
(Fern-
licht)

Elektrik 16-83
Kawasaki ZZR 1200
ZX-1200-C1 Schaltplan (Alle Modelle außer Australien, Kanada, Malaysia und USA)
Zündkerzen
Farbkode
BK schwarz
BL blau
BR braun
CH schokoladenbraun
DG dunkelgrün
G grün
GY grau
LB hellblau
LG hellgrün
O orange
Prosa
PU violett
Rrot
W weiß
Y gelb
Benzinpumpe
Nr. 1
Benzinpumpe
Nr. 2
Verteilerkasten
Ersatzsicherung
Drossel-
klappen-
sensor
Verteilerkasten
1. Anlasserschaltungsrelais
2. Hupensicherung 10A
3. Zündungssicherung 10A
4. Rückleuchtensicherung 10 A
5. Scheinwerferrelais 10A (rechts)
6. Gebläsesicherung 10A (rechts)
7. Gebläsesicherung 10A (links)
8. Blinkerrelais-Sicherung 10 A
Zündspulen Blinkerrelais
Zusatzklemmen
Impulsgeberspule
Leuchte Hinterer Rechter
Blinker 12V 21W
Rück- und Bremsleuchte
Leuchte Hinterer Linker
Blinker 12V 21W
Kennzeichenleuchte
Scheinwerfer-
sicherung 30A
Ersatz-
sicherung
30A x 1
IC-Zünder
Licht-
maschine
Haupt-
sicherung
30A
Batterie
12V 14A
Anlasser
Kraftstoff-Absperrventil
Leerlauf-
schalter
Öldruck-
schalter
Seiten-
ständer-
schalter
RECHTE SCHALTARMATUR
Scheinwerferschalter Vorderradbremslichtschalter Motorausschalter Anlasserknopf
Farbe BL/Y BL R/BL R/W Farbe BK BK Farbe Y/R R Farbe BK/R BK/R
AUS Bremshebel Aus
angezogen gedrückt
AN losgelassen Fahrt losgelassen
ZÜNDSCHLOSS
Zündung Batterie Rücklicht1 Rücklicht2 Zündung Zündung
Farbe BR W BL R GY
OFF, Lock
ON (Ein)
P (Parken)

Elektrik 16-84
Kawasaki ZZR 1200
ZX-1200-C1 Schaltplan (Malaysia)

Elektrik 16-85
Kawasaki ZZR 1200
ZX-1200-C1 Schaltplan (Malaysia)

Elektrik 16-86
Kawasaki ZZR 1200
ZX-1200-C1 Schaltplan (USA und Kanada)

Elektrik 16-87
Kawasaki ZZR 1200
ZX-1200-C1 Schaltplan (USA und Kanada)









































