Kenmore Pro 25344833600 User Manual FREEZER Manuals And Guides L0609654
KENMORE PRO Upright Freezer Manual L0609654 KENMORE PRO Upright Freezer Owner's Manual, KENMORE PRO Upright Freezer installation guides
User Manual: Kenmore Pro 25344833600 25344833600 KENMORE PRO FREEZER - Manuals and Guides View the owners manual for your KENMORE PRO FREEZER #25344833600. Home:Kitchen Appliance Parts:Kenmore Pro Parts:Kenmore Pro FREEZER Manual
Open the PDF directly: View PDF
.
Page Count: 13

"[M
44833
Freezer
Use & Care Guide
Congelador
Gufa para su uso y cuidado
Cong_lateur
Guide d'utilisation et d'entretien
Sears, Roebuck and Co., Hoffman Estates, IL 60179 U.S.A.
Sears Canada, inc., Toronto, Ontario, Canada M5B 2B8 www.sears.com
297112000 (July 2006)
m

Serial/Model Numbers ........................... 2
Important Safety Instructions .................. 2-3
Kenmore PRO Appliance Warranty ....... 3
Protection Agreements .......................... 4
Features at a Glance .............................. 5
First Steps ............................................... 6-7
Setting the Temperature Control ............ 7
Freezer Features .................................... 7-9
Energy Saving Tips ................................ 9
Power Failure/Freezer Failure ................ 9
Ice Service .............................................. 9-10
Care and Cleaning ................................ 10
Troubleshooting Guide .......................... 11-12
Sears Service ......................................... 13
Sears Canada Customers ..................... 13
READ AND SAVETH ESE INSTRUCTIONS
This Owner's Guide provides specific operating instructions for
your model. Use your freezer only as instructed in this guide.
These instructions are not meant to cover every possible condition
and situation that may occur. Common sense and caution must
be practiced when installing, operating, and maintaining any
appliance.
RECORDYOUR MODEL AND SERIAL NUMBERS
Record the model number and serial numbers in the space
provided below. The serial plate is located on the left wall inside
the freezer.
Model Number: 253.
or 970.
Serial Number:
Purchase Date:
READ ALL INSTRUCTIONS BEFORE USING THIS
FREEZER.
FORYOUR SAFETY
,, Do not store or use gasoline or other flammable vapors and
liquids in the vicinity of this unit or any other appliance. Read
product labels for flammability and other warnings.
,, Do not operate this product in the presence of explosive fumes.
CHILD SAFETY
,, Destroy carton, plastic bags, and any exterior wrapping
material immediately after the freezer is unpacked. Children
should never use these items to play. Cartons covered with
rugs, bedspreads, plastic sheets or stretch wrap may become
airtight chambers and can quickly cause suffocation.
,, Remove all staples from the carton. Staples can cause severe
cuts, and destroy finishes if they come in contact with other
appliances or furniture.
,, An empty, discarded ice box, refrigerator or freezer is a very
dangerous attraction to children.
,, Remove or discard any spacers used to secure the shelves
during shipping. Small objects are a choke hazard to children.
,, Remove the door(s) of any appliance that is not in use, even if
it is being discarded.
PROPER DISPOSAL OF YOUR REFRIGERATOR OR
FREEZER
RISK OF CHILD ENTRAPMENT
Child entrapment and suffocation are not problems of the past.
Junked or abandoned refrigerators or freezers are still
dangerous - even if they will sit for "just a few days". If you are
getting rid of your old refrigerator or freezer, please follow the
instructions below to help prevent accidents:
,Remove the door(s).
,, Leave shelves in place so children may not easily climb inside.
,, Have the refrigerant removed by a qualified technician.
Model and Serial
Number Plate

ELECTRICAL iNFORMATiON
These guidelines must be followed to ensure that safety
mechanisms in the design of this freezer will operate properly.
o Refer to the serial plate for correct electrical rating. The
power cord of the freezer is equipped with a three-prong
grounding plug for protection against shock hazards. It must
be plugged directly into its own properly grounded three-prong
receptacle, protected with a 15 amp time delay fuse or circuit
breaker. The power supply circuit must be installed in
accordance with current edition of the National Electrical Code
(NFPA 70) and local codes and ordinances. Consult a qualified
electrician. Receptacles protected by Ground Fault Circuit
Interrupters (GFCI) are NOT RECOMMENDED. DO NOT USE
AN EXTENSION CORD OR AN ADAPTER PLUG.
,, If the voltage varies by 10 percent or more, freezer performance
may be affected. Operating the freezer with insufficient power
can damage the motor. Such damage is not covered under the
warranty. Ifyou suspect your household voltage is high or low,
consult your power company for testing.
,, To prevent the freezer from being turned off accidentally, do
not plug the unit into an outlet controlled by a wall switch or
pull cord.
,, Do not pinch, knot, or bend the power cord in any manner.
OTHER PRECAUTIONS
,, Never unplug the freezer by pulling on the power cord. Always
grip the plug firmly and pull straight out from the receptacle.
,, Turning the control to "OFF" turns off the compressor but does
not disconnect power to the light bulb or other electrical
components.
Grounding type
wall receptacle
fDo not, under \
any circumstances, I
cut_ remover
or bypass the
-_grounding prong, j
Power cord with
3-prong grounded plug
ONE YEAR LiMiTED WARRANTY
When installed, operated and maintained according to all in-
structions supplied with the product, if this appliance fails due to
a defect in material or workmanship within one year from the
date of purchase, call 1-800-4-MY-HOME ® to arrange for free
repair.
LIMITED FIVE YEAR WARRANTY ON SEALED
REFRIGERATION SYSTEM
For five years from the date of purchase, when this
appliance is installed,operated, and maintained according
to the instructions supplied with it, Sears will repair the
sealed system (consisting of refrigerant, connecting tubing,
and compressor), free of charge, if defective in material or
workmanship.
If this appliance is used for other than private family purposes,
this warranty applies for only 90 days from the date of purchase.
This warranty covers only defects in material and workman-
ship. Sears will NOT pay for:
1. Expendable items that can wear out from normal use,
including but not limited to filters, belts, light bulbs and
bags.
2. A service technician to instruct the user in correct product
installation, operation or maintenance.
3. A service technician to clean or maintain this product.
4. Damage to or failure of this product if it is not installed,
operated or maintained according to all instructions
supplied with the product.
5. Damage to or failure of this product resulting from accident,
abuse, misuse or use for other than its intended purpose.
6. Damage to or failure of this product caused by the use of
detergents, cleaners, chemicals or utensils other than
those recommended in all instructions supplied with the
product.
7. Damage to or failure of parts or systems resulting from
unauthorized modifications made to this product.
Disclaimer of implied warranties; limitation of remedies
Customer's sole and exclusive remedy under this limited war-
ranty shall be product repair as provided
herein. Implied warranties, including warranties of merchantability
or fitness for a particular purpose, are limited to one year or the
shortest period allowed by law. Sears shall not be liable for inci-
dental or consequential damages. Some states and provinces
do not allow the exclusion or limitation of incidental or conse-
quential damages, or limitations on the duration of implied war-
ranties of merchantability or fitness, so these exclusions or limi-
tations may not apply to you.
This warranty applies only while this appliance is used in the
United States and Canada.
This warranty gives you specific legal rights, and you may also
have other rights which vary from state to state.
Sears, Roebuck and Co., Dept. 817WA, Hoffman Estates, IL
60179
Sears Canada Inc.,Toronto, Ontario, Canada M5B 2B8

In the U.S.A.
Master Protection Agreements
Congratulations on making a smart purchase. Your new
Kenmore Pro® product is designed and manufactured for
years of dependable operation. But like all products, it may
require preventive maintenance or repair from time to time.
That's when having a Master Protection Agreement can save
you money and aggravation.
Purchase a Master Protection Agreement now and protect
yourself from unexpected hassle and expense.
The Master Protection Agreement also helps extend the life
of your new appliance. Here's what's included in the
Agreement:
_" Expert service by our 12,000 professional repair
specialists
_" Unlimited service and no charge for parts and labor
on all covered repairs
_" "No-lemon" guarantee - replacement of your covered
product if four or more product failures occur within
twelve months
_" Product replacement if your covered product can't be
fixed
_" Annual Preventive Maintenance Check at your
request - no extra charge
_" Fast help by phone - phone support from a Sears
technician on products requiring in-home repair, plus
convenient repair scheduling
_" Power surge protection against electrical damage due
to power fluctuations
_" Rental reimbursement if repair of your covered product
takes longer than promised
Once you purchase the Agreement, a simple phone call is all
that it takes for you to schedule service. You can call anytime
day or night, or schedule a service appointment online.
Sears has over 12,000 professional repair specialists, who
have access to over 4.5 million quality parts and
accessories. That's the kind of professionalism you can
count on to help prolong the life of your new purchase for
years to come. Purchase your Master Protection Agreement
today!
Some limitations and exclusions apply. For prices and
additional information, call 1-800-827-6655.
Sears Installation Service
For Sears professional installation of home appliances and
items like garage door openers, water heaters, and other
major home items, in the U.S.A. call 1-800-4MY-HOME ®.
In Canada
Maintenance Agreements
Your purchase has added value because you can depend on
Sears HomeCentral ® for service. With over 2400 Service
Technicians and more than a million parts and accessories,
we have the tools, parts, knowledge and skills to back our
pledge:
We Service What We Sell.
Your Kenmore Pro® product is designed, manufactured and
tested to provide years of dependable operation. But like all
products, it may require service from time to time. The Sears
Maintenance Agreement offers you an outstanding service
program, affordably priced.
The Sears Maintenance Agreement
• Is your way to buy tomorrow's service at today's price.
• Eliminates repair bills resulting from normal wear and
tear.
• Provides phone support from a Sears technician on
products requiring in-home repair.
• Even if you don't need repairs, provides an annual
Preventive Maintenance Check, at your request, to
ensure that your product is in proper running condition.
Some limitations apply. For more information about
concerning Sears Canada Maintenance Agreements, call
1-800-361-6665.

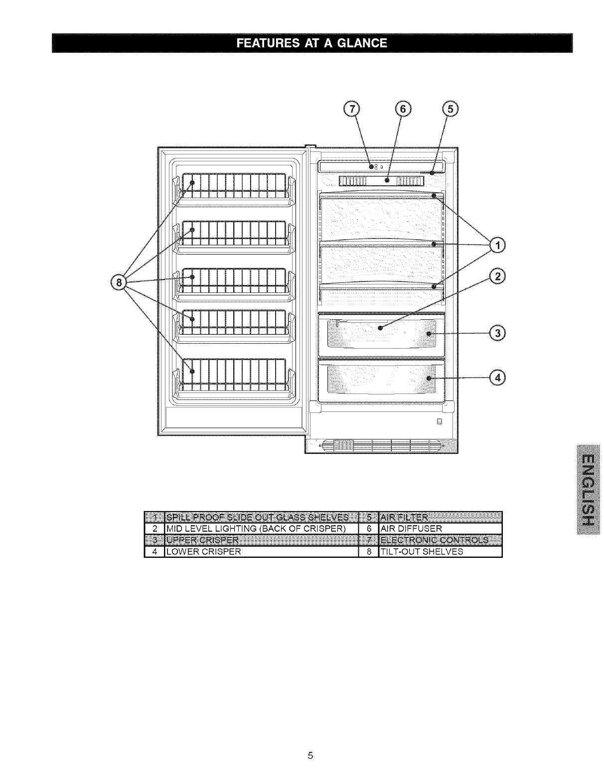
I4 ILOWERCRISPER I8 ITILT-OUT SHELVES

This Owner's Guide provides specific operating instructions for
your model. Use the freezer only as instructed in this Owner's
Guide. Before starting the freezer, follow these important first
steps.
INSTALLATION
,Choose a place that is near a grounded electrical outlet. DO
NOT use an extension cord or an adapter plug.
, For most efficient operation, the freezer should be located
where surrounding temperatures will not drop below 40°F (5°C)
or exceed 110°F (43°C).
,Allow the following clearances for ease of installation, proper
air circulation, and electrical connections:
Sides 3/8 inch
Back & Top 1 inch
,Do not block the toe grille on the lower front of your freezer.
Sufficient air circulation is essential for the proper operation of
your freezer.
i
TO LEVEL FREEZER:
After discarding crating screws and wood base, use a carpenter's
level to level the freezer from front to back. Adjust the plastic
leveling feet in front, 1/2 bubble higher, so that the door closes
easily when left halfway open.
LEVELING INSTRUCTIONS FOR ALL REFRIGERATOR /
FREEZER PAIR:
,Remove two leg levelers provided in literature bag. While unit
is lying on its back for wood skid removal, install both leg
levelers in rear of unit.
,Level door of first unit using all four levelers and slide unit into
place. Recheck for levelness and adjust if necessary.
,Measure distance from floor to bottom of door on first unit.
Adjust and level second unit so door height matches.
,Leg Level Adjustments:
,One full turn of all four leg levelers will raise door 5/32".
,One full turn of both front leg levelers will raise door 3/16" and
tilt top of door back 7/16".
,One full turn of both rear leg levelers will lower door 1/32" and
tilt top of door forward 7/16".
,One full turn of both side leg levelers will raise door 3/16" and
tilt top of door 3/8".
,Slide second unit into place leaving a minimum gap of 3/16"
between units for door swing clearance.
,This last step may require at least one extraction of the second
unit to properly align units in a "built-in" application.
Lower Plastic
leveling Feet
CratLl_g
Screw
"-. DLscalYj
And (2) Wood Bases
DOOR OPENING
NOTE: If your freezer is placed with the door hinge side against
a wall, you may have to allow additional space so the door can
be opened wider.
LEVELING
The freezer must have all bottom corners resting firmly on a solid
floor. The floor must be strong enough to support a fully loaded
freezer. It is VERY iMPORTANT for your freezer to be level in
order to function properly. If the freezer is not leveled during
installation, the door may be misaligned and not close or seal
properly, causing cooling, frost or moisture problems.
Shelf
Front

DOOR REMOVAL
If door must be removed:
,, Unplug the unit
,, Gently lay freezer on its back, on a rug or blanket.
,, Remove two base screws and base panel. Remove wire from
clips on bottom of cabinet, if required.
,, Unplug connector, if required, by holding the cabinet connector
in place and pulling the door connector out.
,, Remove the bottom hinge screws.
,, Remove the plastic top hinge cover.
,, Remove the screws from the top hinge.
,, Remove the top hinge from the cabinet.
,, Remove the door and bottom hinge from the cabinet.
,, To replace door, reverse the above procedures and securely
tighten all screws to prevent hinge slippage.
Base Panel Screws -
Base
COOL DOWN PERIOD
For safe food storage, allow four (4) hours for freezer to cool
down completely. The freezer will run continuously for the first
several hours.
ELECTRONIC TEMPERATURE CONTROL
The electronic temperature control is located inside the freezer.
Temperature is factory preset to provide satisfactory food storage
temperatures. However, the temperature control is adjustable to
provide a range of temperatures for your personal satisfaction.
To adjust the temperature setting, move the UP (A) button for
warmer temperature and DOWN (V) button for colder
temperature on the control panel. Allow several hours for the
temperature to stabilize between adjustments.
Hinge Screws
Wire
FREEZERTEMP
.............. 7 is coUdest
0 is off
Door
Cabinet Connector
iCE MAKER INSTALLATION
If your freezer has an automatic ice maker, please refer to the
insert in the bond pack that came with your freezer
(CONNECTING ICE MAKER TO WATER SUPPLY) to correctly
hook-up your ice maker.
INTERIOR LIGHTING
The light comes on automatically when the door is opened. The
light bulb assembly is located
on the back of the freezer
control box. To replace the light
bulb, turn the temperature
control to "OFF" and unplug the
electrical cord. Replace the old
bulb with a bulb of the same
type and wattage.
SPILL PROOF SLIDE-OUT GLASS SHELVING
Multi-position adjustable slide out glass shelves can be moved
to any position for larger or smaller packages. The shipping
spacers that stabilize the shelves for shipping may be removed
and discarded.

TOADJUSTTHESHELVES
®
®
®
Lift front edge up.
Pull shelf out
Replace the shelf by inserting the hooks at rear of the shelf into
the wall bracket. Lower the shelf into the desired slots and lock
into position.
CRISPERSWITH ADJUSTABLE DiViDERS
The crispers, located at the bottom of the freezer shelf, provide
separate storage space for items that are difficult to store on
freezer slelves.
MiD LEVEL LiGHTiNG
The mid level lighting is located at the back of the crispers. The
lights come on automatically when the door is opened. To replace
the light bulb, turn the temperature control to OFF and unplug the
electrical cord. Remove the lens from the lamp housing by
unsnapping it from the lamp housing using your fingers or a
screwdriver. Be careful not to break the locking tabs on the lamp
housing. Replace the old bulb with a bulb of the same type and
wattage. To replace the lens, snap one side of the lens opening
to the tab on the lamp housing. Then carefully attach the other
side.
To Remove Light Lens _
Press Tabs _ _ _.._
in Direction Showm. /. /
Mid Level Lighting
/\o
AiR FILTER
The air filter is located on the back of the control box. In general,
you should change the air filter every six months to ensure optimal
filtering of freezer odors. You may want to adjust this time period
depending on the types and amounts of food you typically store
in your freezer.
TO REPLACETHE AiR FILTER:
,, Push the plastic bubble tab at the back of the control box
housing. This releases the hinged bottom half to drop open.
,, Remove the old filter
and discard it. PushTab
to Roloase
,, Unpackage the new FIIterCover_
filter and place it inside
the hinged bottom half
of the housing. ,-J_
,, Push the hinged bottom
half upward until the tab
snaps into closed
position.
/
/
Air Flbr
DOOR MOUNTEDTEMPERATURE GAUGE
The door mounted temperature gauge displays the cabinet
internal temperature.

TiLT - OUT SHELF
This shelf is located inside on the freezer door and provides
additional storage space. To access an item, tilt the top of "basket"
shelf down.
Tilt-Out Shelf
ENERGYSAVINGIDEAS
Locate the freezer in the coolest part of the
room, out of direct sunlight, and away from
heating ducts or registers. Do not place
the freezer next to heat-producing
appliances such as a range, oven, or
dishwasher. If this is not possible, a section
of cabinetry or an added layer of insulation
between the two appliances will help the
freezer operate more efficiently.
,, Level the freezer so that the door closes tightly.
,, Refer to the "SETTING THE TEMPERATURE CONTROL"
section for the suggested temperature control settings.
,, Let hot foods cool to room temperature before placing them in
the freezer. Overloading the freezer forced the compressor to
run longer. Foods that freezer too slowly may spoil or lose
quality.
,, Do not overcrowd the freezer or block cold air vents. Doing so
causes the freezer to run longer and use more energy.
,, Be sure to wrap foods properly and wipe containers dry before
placing them in the freezer. This cuts down on frost build-up
inside the freezer.
,, Freezer shelves should not be lined with aluminum foil, wax
paper, or paper toweling. Liners interfere with cold air
circulation, making the freezer less efficient.
,, Organize the freezer to reduce door openings. Remove as
many items as needed at one time and close the door as soon
as possible.
VACATION AND MOVING TIPS
Short Vacations:
,, Leave the freezer operating during vacations of less than three
weeks.
Long Vacations:
If the freezer will not be used for several months:
,, Remove all food and unplug the power cord.
,, Clean and dry the interior thoroughly.
,, Leave the freezer door open slightly, blocking it open if
necessary, to prevent odor and mold growth.
Moving: When moving the freezer, foflow these guidelines to
prevent damage:
,, Disconnect the power cord plug from the wall outlet.
,, Remove foods, then defrost, and clean the freezer.
,, Secure all loose items such as base panel, baskets, and
shelves by taping them securely in place to prevent damage.
,, In the moving vehicle, secure freezer in an upright position to
prevent movement. Also protect outside of freezer with a
blanket, or similar item.
NOTE: Do not open freezer door unnecessarily if freezer is off for
several hours.
If apower failure occurs, frozen foods will stay frozen for at
least 24 hours if the freezer is kept closed. If the power failure
continues, pack seven or eight pounds of dry ice into the freezer
every 24 hours. Look in the Yellow Pages under Dry Ice, Dairies
or Ice Cream Manufacturers for local dry ice suppliers. Always
wear gloves and use caution when handling dry ice.
if the freezer has stopped operating, see "FREEZER DOES
NOT RUN" in the "TROUBLESHOOTING GUIDE" section. If you
cannot solve the problem, call Sears Service immediately.
If the freezer remains off for several hours, follow the directions
above for the use of dry ice during a power failure. If necessary,
take the food to a local locker plant until the freezer is ready to
operate. Look in the Yellow Pages under Frozen Food Locker
Plants.
If your freezer has an automatic icemaker, it will provide a sufficient
supply of ice for normal use. During the initial startup of your
freezer, however, no ice will be produced during the first 24 hours
of operation. Automatic ice makers are also optional accessories
that may be installed in some models at any time. Call your local
dealer for information.
TURNING YOUR ICE MAKER ON
After the plumbing connections have been completed, the water
supply valve must be opened. Place the ice container under the
ice maker, pushing it as far back as possible. Lower the wire
signal arm to its "down" or ON position. New plumbing connections
may cause the first production of ice cubes to be discolored or
have an odd flavor. These first cubes should be discarded until
the cubes produced are free of discoloration and taste.
I ON
J
Signal Arm
J
i
/

TURNING YOUR iCE MAKER OFF
To stop the ice maker, lift the wire signal arm until it clicks and
locks in the "up" or OFF position. The ice maker also turns off
automatically when the ice container is full. If your model has an
adjustable freezer shelf, place the shelf in the lower position, so
that the wire signal arm will hit the ice when the container is full.
Leve]ing Bracket
Keep your freezer clean to prevent odor build-up. Wipe up any
spills immediately and clean at least twice a year. Never use
metallic scouring pads, brushes, abrasive cleaners or strong
alkaline solutions on any surface. Do not wash any removable
parts in a dishwasher. Always unplug the electrical power cord
from the wall outlet before cleaning.
ICE MAKER TiPS
,, Ice cubes stored too long may develop an odd flavor. Empty
the ice container and ensure that the wire signal arm is in its
"down" or ON position. The ice maker will then produce more
ice.
,, Occasionally shake the ice container to keep ice separated.
,Keep the wire signal arm in its "up" or OFF position until the
freezer is connected to the water supply or whenever the water
supply is turned off.
,, The following sounds are normal when the ice maker is
operating:
,, Motor running
,, Ice loosening from tray
,, Ice dropping into ice container
,, Running water
,, Water valve opening or closing
_L
Interior/Door
Liner
Door Gaskets
Drawers /
Bins
Glass
Shelves
Exterior and
Handles
Exterior and
Handles
Stainless
Steel modeIs
only)
CARE AND CLEANING CHART
L= rill m_J
* Soap and water
* Baking soda and
water
* Soap and water
* Soap and water
* Soap and water
* Glass cleaner
* Mild liquid sprays
* Soap and water
* Non Abrasive
Glass Cleaner
Soap and water
Ammonia
Stainless Steel
Cleaners
Use 2 table spoons of baking soda in 1
quart of warm water. Be sure to wring
excess water out of sponge or cloth
before cleaning around controls,
Ii_tht bulb or any electrical part.
Wipe gaskets with a clean soft cloth.
Do not wash any removable items
(bins, drawers, etc.} in dishwasher.
Atlow grass to warm to room
temperature before immersing in warm
water.
Do not use commercial household
cleaners, ammonia or alcohol to clean
handles. Use a soft cloth to clean
smooth handles. Do not use a dry
cloth to clean smooth doors.
Clean stainless steel front and handles
with soapy water and a dishcloth. Rinse
with clean water and a soft cloth. Wipe
stubborn spots with an ammonia-
soaked paper towel, and rinse. Use a
non-abrasive stainless steel cleaner.
These cleaners can be purchased at
most home improvement or major
department stores. Always follow
manufacturer's instructions.
NOTE: Always clean, wipe and dry
with the grain to prevent cross-grain
scratching. Wash the rest of the
cabinet with warm water and mild liquid
detergent. Rinse welI, and wipe dry with
a clean soft cloth.
10

!! !!!!!!,,,,!!!i!!!!
PROBLEM
FREEZER OPERA TION
Freezer does not run.
Freezer runs too much or
too long.
Interior freezer temperature
is too cold.
Interior freezer temperature
is too warm.
Freezer external surface
temperature is warm.
SOUND AND NOISE
Louder sound levels
whenever freezer is on.
Louder sound levels when
compressor comes on.
Popping or cracking sound
when compressor comes
on.
Before calling for service, review this list. It may save you time and expense. This list includes
common occurrences that are not the result of defective workmanship or materials in this
freezer.
CAUSE CORRECTION
* Freezer is plugged into a circuit that
has a ground fault interrupt.
* Temperature control is in the "OFF"
position.
* Freezer may not be plugged in, or
plug may be loose.
* House fuse blown or tripped circuit
breaker.
* Power outage.
* Room or outside weather is hot.
* Freezer has recently been
disconnected for a period of time.
* Large amount of warm or hot food
have been stored recently.
* Door is opened too frequently or
kept open too long.
* Freezer door may be slightly open.
* Temperature control is set too low.
* Freezer gaskets are dirty, worn,
cracked or poorly fitted.
* Temperature control is set too low.
* Temperature control is set too
warm.
* Door is opened too frequently or
kept open too long.
* Freezer door may be slightly open.
* Large amount of warm or hot food
have been stored recently.
* Freezer has recently been
disconnected for a period of time.
* The external freezer walls can be
as much as 30°F warmer than room
temperature.
* Use another circuit. If you are unsure about the outlet
have it checked by a certified technician.
* See "SETTING THE TEMPERATURE CONTROL"
section.
* Ensure plug is tightly pushed into outlet.
* Check/replace fuse with a 15 amp time delay fuse.
Reset circuit breaker.
* Check house lights. Call local Electric Company.
* It's normal for the freezer to work harder under these
conditions.
* It takes 24 hours for the freezer to cool down
completely.
* Warm food will cause freezer to run more until the
desired temperature is reached.
* Warm air entering the freezer causes it to run more.
Open the door less often.
*See "DOOR PROBLEMS".
* Turn control knob to a warmer setting. Allow several
hours for the temperature to stabilize.
* Clean or change gasket. Leaks in the door seal will
cause freezer to run longer in order to maintain
desired temperature.
* Turn control knob to a warmer setting. Allow several
hours for the temperature to stabilize.
* Turn control knob to a colder setting. Allow several
hours for the temperature to stabilize.
* Warm air entering the freezer causes it to run more.
Open the door less often.
*See "DOOR PROBLEMS".
* Wait until the freezer has had a chance to reach its
selected temperature.
* Freezer requires 24 hours to cool down completely.
* This is normal while the compressor works to transfer
heat from inside the freezer cabinet.
* Modern freezers have increased
storage capacity and more stable
temperatures. They require heavy
duty compressors.
* Freezer operates at higher
pressures during the start of the ON
cycle.
* Metal parts undergo expansion and
contraction, as in hot water pipes.
* This is normal. When the surrounding noise level is
low, you might hear the compressor running while it
cools the interior.
* This is normal. Sound will level off or disappear as
freezer continues to run.
* This is normal. Sound will level off or disappear as
freezer continues to run.
11

PROBLEM lCAUSE lCORRECTION
SOUND AND NOISE (Cont.)
Bubbling or gurgling sound, *Refrigerant (used to cool freezer is *This is normal.
circulating throughout the system.
Vibrating or rattling noise. * Freezer is not level. It rocks on the * Level the freezer. Refer to "LEVELING" in the "FIRST
floor when it is moved slightly. STEPS" section.
• Floor is uneven or weak. * Ensure floor can adequately support freezer. Level
the freezer by putting wood or metal shims under part
of the freezer.
• Freezer is touching the wall. * Re-level freezer or move freezer slightly. Refer to
"LEVELING" in the "FIRST STEPS" section.
• This is normal.
WATER / MOISTURE /FROST INSIDE FREEZER
Moisture forms on inside *Weather is hot and humid, which
freezer walls, increases internal rate of frost build-
up.
• Door is slightly open.
• Door is kept open too long or is
opened too frequently.
WATER / MOISTURE/FROST OUTSIDE FREEZER
Moisture forms on outside * Door may not be seating properly,
freezer walls, causing the cold air from inside the
freezer to meet warm moist air from
outside.
* See "DOOR PROBLEMS".
* Open the door less often.
* See "DOOR PROBLEMS".
ODOR IN FREEZER
Odors in freezer. * Interior needs to be cleaned.
* Foods with strong odors are in the
freezer.
* Clean interior with sponge, warm water, and baking
soda. Replace air filter.
* Cover the food tightly.
DOOR PROBLEMS
Door will not close. * Freezer is not level. It rocks on the * This condition can force the cabinet out of square and
floor when it is moved slightly, misalign the door. Refer to "LEVELING" in the
"FIRST STEPS" section,
• Floor is uneven or weak. * Ensure floor can adequately support freezer. Level
the freezer by putting wood or metal shims under part
of the freezer.
LIGHTING PROBLEMS
Light bulb is not on. *The fluorescent lamp or light bulb is *Follow directions under "INTERIOR LIGHTING" or
burned out. "MID LEVEL LIGHTING" in the "FREEZER
FEATURES" section,
•No electric current is reaching the *See "FREEZER DOES NOT RUN".
freezer.
•Ice maker is not working. *Ensure the wire signal arm is not in the UP position
A UTOMA TIC ICE MAKER
Automatic ice maker not
working. * Water supply is turned off.
* Water pressure is too low.
* The freezer is not cold enough.
12

"We Service What We Sell" is our assurance you can depend on
Sears for service ... and Sears service is nationwide. Your freezer
has added value when you consider that Sears has service units
nationwide, staffed with professional technicians specifically
trained on Sears appliances and having parts, tools and
equipment to ensure that we meet our pledge to you... "We Service
What We Sell".
SEARS MAINTENANCE AGREEMENT
Maintain the value of your Kenmore PRO® freezer with a Sears
Maintenance Agreement. Sears freezers are designed,
manufactured and tested for years of dependable operation. Yet,
any modern appliance may require service from time to time.
The Sears Maintenance Agreement
,, Is your way to buy tomorrow's service at today's price.
,, Eliminates repair bills resulting from normal use.
,, Allows for as many service calls as required.
,, Provides for service by professional Sears-trained technicians.
,, Offers an annual preventive maintenance check-up at your
request.
This maintenance agreement does not cover original installation,
reinstallation, or damage resulting from external causes such as
acts of God, abuse, theft, fire, flood, wind, lightning, freezing,
power failure, power reduction, etc. Please ask a salesperson to
see the agreement for all of the terms and conditions.
Dear Customer:
In manufacturing this product, many steps have been taken to
provide you with the highest quality. Unfortunately, errors or
omissions occasionally occur. In the event you find a missing or
defective part, please contact your nearest Sears store. (See the
back cover for phone numbers).
If you have any suggestions that would help us to improve our
assembly/operation instructions or this product, please write them
down, including the information listed below and mail to:
Sears Canada, Ine,
222 Jarvis Street
Toronto, Ontario
M5B 2B8
Attn: Buyer Dept. 646
Purchased by:
Name:
Address:
City:
Postal Code:
Model No.: 970.
Serial No.:
Date of Purchase:
Location of Purchase:
Comments:
Phone:
Prov.:
13