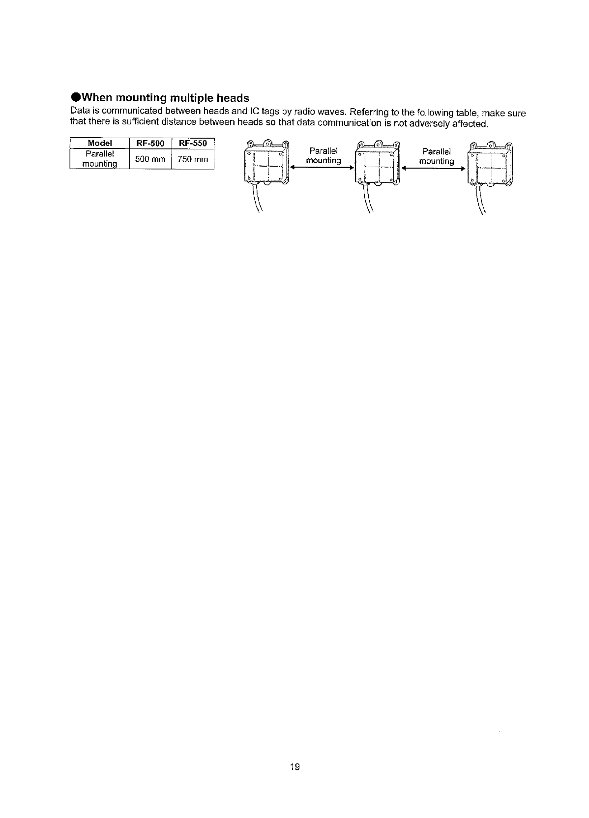
Keyence 0773B RFIS Transmitter User Manual
Keyence Corporation RFIS Transmitter
UserManual.wiki
>
Keyence
>
0773B User Manual HTML Version
User Manual
Navigation menu
Upload a User Manual
Namespaces
Wiki Guide
HTML
PDF
Info
Views
User Manual
Discussion / Help
Navigation