Kitchenaid Kssc48Mfs05 Users Manual
2015-01-24
: Kitchenaid Kitchenaid-Kssc48Mfs05-Users-Manual-267693 kitchenaid-kssc48mfs05-users-manual-267693 kitchenaid pdf
Open the PDF directly: View PDF
.
Page Count: 30

1 Cabinet (Not A Serviceable Part)
3 2005004 Grommet, Tube Crossover
4 1112023 Roller, Front & Rear (4)
5 Support, Leveler Assembly
2004506 Refrigerator Side
2004505 Freezer Side
6 2005006 Grommet, Wiring
7 2005007 Grommet, Flexible
9 2004852 Mounting Stud, Grill
10 2005237 Wire Clip
11 1112849 Cap, Grommet
13 1113122 Grommet, Wiring
14 2004913 Wiring Harness, Cabinet
16 488946 Tube, Clamp
17 2005378 Screw, Door Stop
18 Hinge (Top)
2005252 Left Side
2005251 Right Side
19 2005294 Shim, Hinge Top
20 1112805 Guard, Wiring
21 2004994 Lock, Adjustable Bushing
22 2002903 Bushing
24 Spring, Door Closure
2004566 Refrigerator Side
2004567 Freezer Side
25 486194 Screw
26 2005008 Retaining Ring, Adjustable Bushing
27 1113227 Fastener (3)
28 2004867 Gap, Cover Assembly (Bottom)
29 Hinge (Bottom)
2004539 Freezer Side
2004507 Refrigerator Side
30 2005293 Bushing, Adjustable
31 3400207 Screw
33 2004516 Linkage, Door Closure
34 Grille Base, Front
2004532 Black
35 489238 Screw
36 2004512 Cover, Rear
37 1113123 Grommet, Wiring
39 2004595 Cup, Wiring
40 2004565 Bushing, Door Closure
41 1163283 Screw
42 2150347 Union
43 3400207 Screw (4)

1 2005256 Cabinet, Trim Right Side
2 2003857 Screw
3 1163283 Screw
4 2004538 Cabinet, Trim (Bottom)
5 486194 Screw
6 2003647 Cabinet, Trim Top
7 2005493 Cabinet, Trim Left Side

1 Liner (Not A Serviceable Part)
2 1113649 Bracket, Light
3 1113650 Lens
4 1112613 Light, Socket
5 548049 Light, Bulb
6 538533 Support Clip, Icemaker (2)
7 2000193 Grommet, Screw (2)
8 488552 Screw
12 486194 Screw
13 1112591 Spacer, Control Panel (3)
14 842534 Clip, Air Duct (4)
16 1112260 Support, Evaporator
17 2004068 Stud, Shelf (20)
18 487559 Screw

1 LINER (Not A Serviceable Part)
2 1112591 Spacer, Control Panel (3)
5 2001117 Ladder, Shelf (2)
6 520965 Screw Support, Ladder (8)
7 488357 Screw
8 486194 Screw
9 1112257 Hole Plug
10 2003579 Meat Pan, Air Duct Cover
11 2000337 Meat Pan, Air Duct
12 2003299 Inlay, Control Meat Pan
13 2001326 Seal, Air Duct
14 1112218 Damper Control, Meat Pan
15 2003811 Control Knob, Meat Pan
16 2003841 Retainer, Knob
17 2004484 Air Baffle Assembly
21 2001146 Seal
22 1116793 Cover, Thermistor
23 1116959 Thermistor
25 2003578 Air Baffle Cover
26 2003577 Guard, Air Return

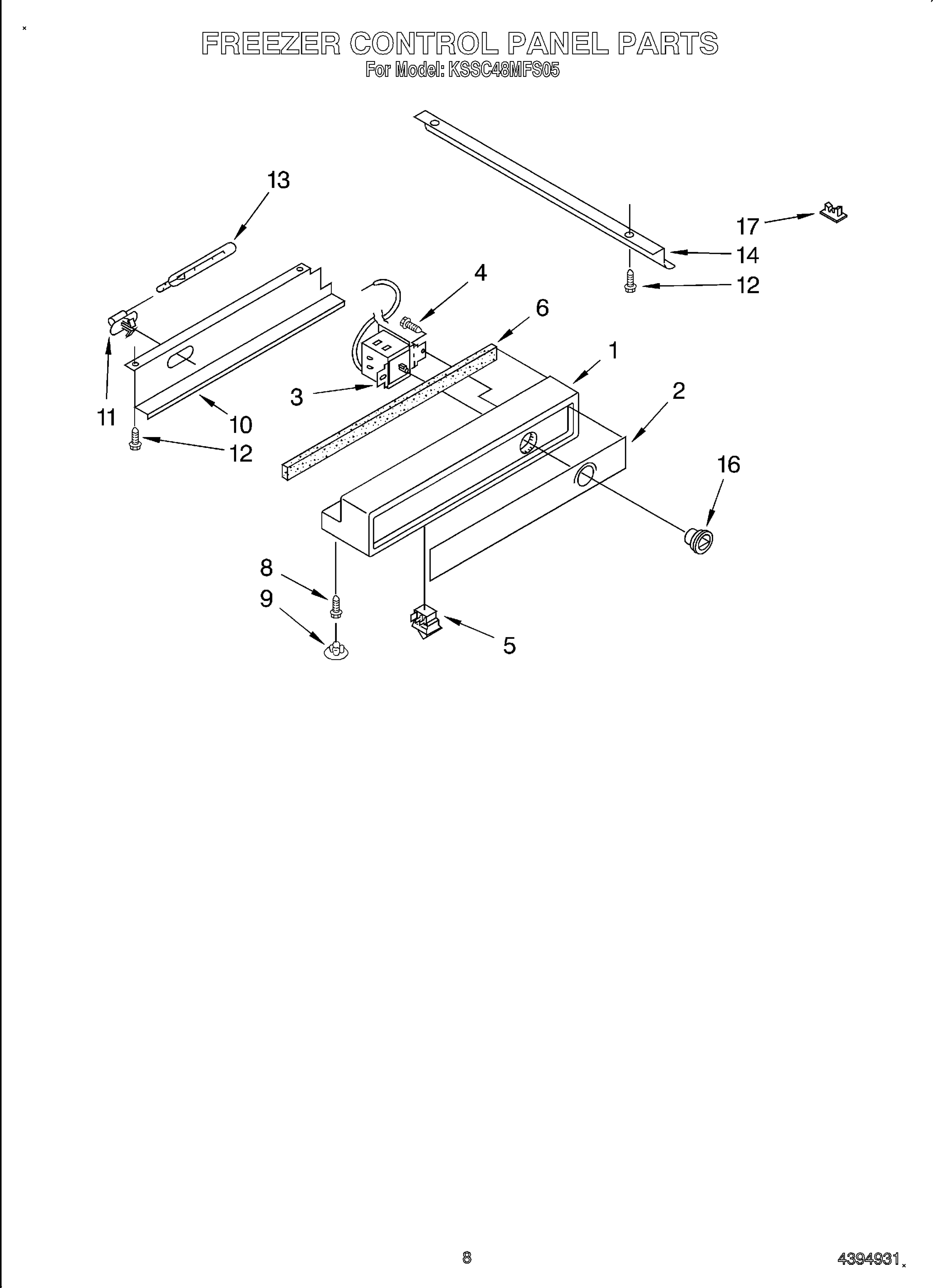
1 1112642 Control Panel
2 2003303 Inlay, Control Panel
3 2004005 Circuit Board
4 2003842 Control Knob
5 2003841 Retainer, Knob
6 1118894 Switch, Rocker Arm
7 1113137 Seal, Control Panel
8 489260 Screw (3)
9 2000153 Hole Plug (3)
10 1113775 Shield, Control Panel
11 1112613 Socket, Light (2)
12 548049 Light Bulb (2)
13 486194 Screw
14 2003758 Wire, Light
15 2001141 Channel, Wiring
16 1115375 Clip, Wiring (2)

1 1113627 Control Panel
2 2003309 Inlay, Control Panel
3 1113466 Thermostat & Barrier Assembly
4 488974 Screw (2)
5 1115373 Switch, Rocker Arm
6 1113136 Seal, Control Panel
8 489260 Screw (3)
9 2000153 Hole Plug (3)
10 1113769 Shield, Control Panel
11 1112613 Socket, Light
12 486194 Screw
13 548049 Light Bulb
14 2001974 Channel, Wiring
16 2182112 Knob, Thermostat
17 1115375 Clip, Wiring

1 2174404 Frame, Shelf
2 2003377 Glass, Shelf
3 1112006 Reflector, Shelf
4 1113792 Gasket, Glass (2)
5 2179375 Rack, Wine
6 2169933 Egg Bin
7 2003327 Frame, Assembly Meat Pan
8 2164373 Egg Carrier
9 1112247 Cover, Crisper
10 2003380 Glass, Crisper (Includes #9)
11 2000742 Meat Pan, Connector
12 2169935 Cover
14 2003317 Crisper Pan (2)
15 2174388 Roller
16 2174478 Eyelet, Roller
17 2003478 Screw
20 2003322 Meat Pan
23 2002181 Retainer, Glass
25 2003411 Crisper Spacer, Right Side (2)
27 1113169 Stop, Roller
28 2003410 Crisper Spacer, Left Side (2)
29 486194 Screw

1 2003144 Solid Shelf
2 2003135 Front, Ice Compartment
3 1113638 Shelf, Fixed (2)
1112052 Shelf, Fixed-Deep
4 2001626 Basket (2)
5 2002727 Ice Container
6 2003045 Front Cover
7 Slide, Container
2002720 Right Side
2002721 Left Side
8 2003046 Hole Plug, Front
9 2003047 Hole Plug, Rear
13 2003114 Trim, Basket
15 2174388 Roller
16 2174478 Eyelet, Roller
17 2003478 Screw
18 488886 Screw
22 Basket Slide
2000061 Right Side
2000062 Left Side
24 1113169 Stop, Roller
25 486194 Screw

1 2005314 Top Grille Assembly
2 2005549 Cover, Unit
3 486194 Screw
4 2002484 Grille, Bracket
5 2001415 Screw
6 2005292 Nameplate
7 2005534 Guard, Compressor Wiring
9 2004333 Nut
10 2005485 Bracket, Trim Panel
11 2005483 Louver, Bracket
12 2005259 Vent, Louver
13 488649 Screw

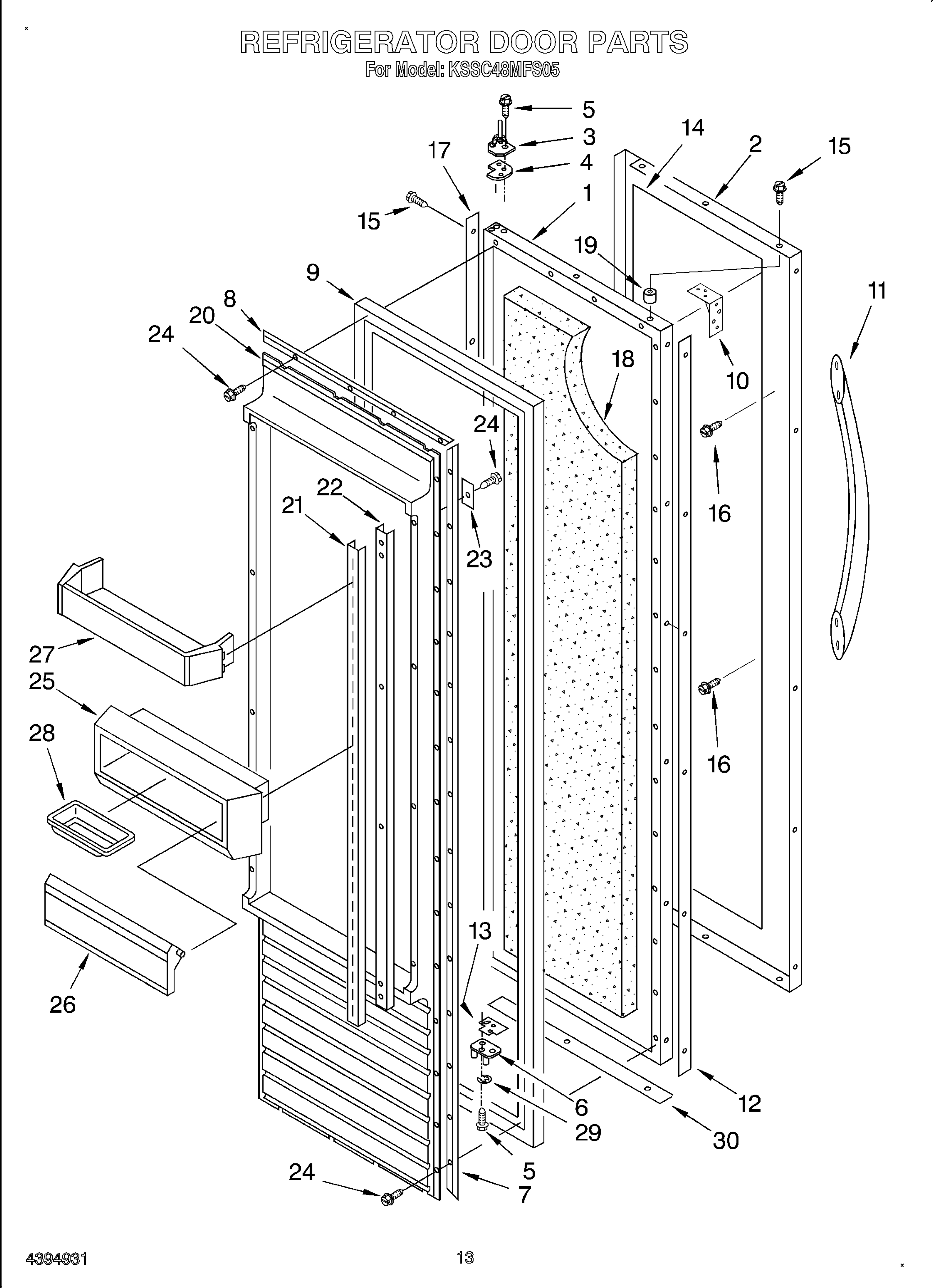
1 2003872 Refrigerator Door Panel (Includes Insulation)
2 2005283 Door Skin
3 2005329 Hinge Assembly, Top
4 2004520 Spacer-Door, Top
5 489282 Screw
6 2004523 Hinge Assembly, Bottom
7 1112533 Gasket Retainer, Side (2)
8 1112542 Gasket Retainer, Top & Bottom
9 2001049 Door Gasket, Magnetic
10 2004447 Door Brace, Corner
11 2005290 Handle, Door
12 2005320 Spacer, Handle Side
13 2004549 Door, Spacer Bottom
14 2005327 Filler, Door
15 Screw
487052 Stainless Steel
16 90864 Screw
17 2005030 Spacer, Hinge Side
18 2005058 Insulation, Encapsulated
19 2005433 Spacer, Top
20 1113950 Panel, Interior Door
21 1113949 Ladder, Shelf (2)
22 1113948 Retainer, Shelf Ladder (2)
23 1112514 Back Up Plate (8)
24 486194 Screw
25 1113955 Gasket
26 2003465 Door, Utility Bin
27 2003132 Door Shelf (4)
28 2165792 Butter Tray
29 2004881 Retaining Ring, Door-Closure
30 2004935 Spacer-Door, Skin

1 2003878 Freezer Door Panel (Includes Insulation)
2 2004520 Spacer-Door, Top
3 2004524 Hinge, Bottom
4 489282 Screw
5 2005329 Hinge, Top
6 2004881 Retaining Ring Door-Closure
7 1112533 Gasket Retainer, Side (2)
8 1112539 Gasket Retainer, Top & Bottom
9 2000878 Door Gasket, Magnetic
10 486194 Screw (34)
11 2005290 Handle, Door
12 90864 Screw
13 2004549 Door, Spacer
14 487052 Screw
15 2005433 Spacer, Top
16 2004447 Door Brace, Corner
17 2004933 Spacer-Door, Skin
18 2005030 Spacer, Hinge Side
19 2000179 Interior Door Panel
20 2003129 Shelf Bin (4)
22 2005054 Insulation, Encapsulated
23 2005323 Filler, Door
24 2005289 Door Skin
25 2005330 Spacer, Handle Side

1 2003398 Assembly, Unit Base
2 2163787 Clip, Compressor Mounting (4)
3 2183420 Compressor (Includes Items 7, 8, 9, 11, 12 & 21) (Also Order)
876765 Tube Kit
4 680975 Washer
5 2003389 Bushing, Foam
6 2163786 Grommet, Mounting
7 1127675 Wire Assembly
8 2176858 Overload (Includes Relay)
9 2162358 Terminal Cover
11 1108143 Relay
12 2169137 Capacitor
14 486899 Screw
15 487869 Screw
16 2003392 Condenser
17 943447 Grommet (4)
18 1113019 Clamp (4)
19 487522 Screw
20 851095 Wire Tie (2)
21 2164492 Drier
23 2169135 Motor, Fan
24 1108179 Blade, Fan
25 2003169 Orifice, Fan
27 489099 Screw (3)
29 486692 Speed Nut
30 2162044 Defrost Timer
31 488911 Screw
32 2000645 Sleeve, Condenser
34 2003011 Process, Tube
35 486194 Screw
36 2003174 Cover, Fan
37 2005535 Cover, Condenser
38 2003263 Air Vane
39 2003381 Service Cord
41 1113162 Clamp, Cord (2)
42 1113229 Switch, Power Disconnect
43 488879 Screw, Ground
44 653035 Clip, Cord Plug
45 2003356 Wiring Harness, Unit Compartment
Following Parts Not Illustrated and Optional Parts Not Included
978025 Valve, Access (1/4")
978026 Valve, Access (5/16")
978027 Valve, Access (3/8")
978028 Valve, Access (1/2")
978029 Valve, Access (5/8")
978030 Valve, Access (3/4")
876764 Valve, Access (3/16")
REFRIGERANT CHARGE 7.5 oz. (R-134A)

1 2000528 Defrost Bi-Metal
2 1113043 Clamp, Bi-Metal
3 486194 Screw
4 2003271 Sleeve
5 2002171 Sleeve
6 2002999 Condenser Inlet Tube
7 2003484 Sleeve
8 2003015 Tube, Connect (Drier)
9 2004545 Heater, Drain Pan
10 1113062 Hanger, Heater
12 2002448 Sleeve
13 2002995 Tube, Discharge
14 2003272 Sleeve
15 2003003 Heat Exchanger
16 2002966 Evaporator
17 2001608 Heater, Defrost
18 1113048 Clamp, Heater (2)
19 1108431 Clamp, Heater (2)
20 1112844 Gasket, Evaporator
21 857547 Wire Tie
23 851095 Strap
25 2001264 Drain Pan
26 Bracket, Drain Pan
1113206 Left
1113207 Right
27 513942 Dampener

1 2003200 Fan Motor
2 2002732 Cup, Clearance
3 2169142 Fan Blade
4 548263 Bracket (Double)
5 938224 Bracket (Single)
6 548268 Grommet
7 486194 Screw
8 2003926 Deflector, Air Duct
9 488500 Screw, Ground
10 488366 Clamp, Tube
11 489348 Clamp, Nylon
12 2001145 Channel, Wiring
13 1112871 Fastner
14 2000783 Scroll, Fan
15 2003929 Deflector, Air Duct
16 488772 Screw
17 2004907 Assembly, Air Duct (Also Order Items8&15)
18 2000048 Air Deflector, Icemaker
22 1112869 Gasket, Air Baffle
23 2003576 Cover, Air Outlet
25 2005037 Cover, Evaporator
26 2000796 Connector, Meat Pan Duct
27 487539 Screw
28 1112840 Baffle, Evaporator
29 1112853 Diffuser, Air Duct
30 2004947 Reservoir
31 488280 Screw
42 Evaporator, Cover Rail
2000686 Left Side
2000685 Right Side
45 2001337 Gasket (2) Evaporator Cover
46 2001079 Gasket (2)
47 2001080 Gasket
48 2001081 Gasket

4 841707 Insert, Tube
5 628379 Clip, Fuse
7 2005009 Water Inlet Tube Assembly
8 1106508 Seal Gasket
9 2154472 Connector
10 2003791 Valve, Solenoid
11 627018 Nut, Compression
12 227991 Connector, Wire
13 2004547 Water Valve, Harness
14 2005038 Plug, Water Valve
15 489348 Clamp, Nylon Valve
16 488946 Clamp Tube
18 2174155 Cover
20 628228 Mold & Heater (Also Order)
542638 Silicone Grease
21 628398 Motor
22 628356 Cup-Water Fill
23 627843 Ejector
24 2182124 Ice Striper
25 2194712 Support
26 627796 Retainer Thermostat (2)
27 627985 Thermostat (Also Order)
542639 Cement Alumilastic
28 489322 Screw
30 489276 Screw
31 2171593 Shut Off Arm
33 2171952 Bracket
34 489478 Screw
35 628399 Module Assembly (Includes Items 21 & 41)
36 2004594 Heater, Fill Tube
37 2004914 Water Valve Mounting Bracket
41 489136 Screw (2)
43 486194 Screw
44 1129179 Compresion Nut
100 4317943 Complete Icemaker Assembly
Following Parts Not Illustrated (Optional Parts Only)
4318637 Front Panel Kit (White)
4318634 Front Panel Kit (Black)
4318640 Front Panel Kit (Almond)
4318643 Front Panel Kit (Stainless Steel)
978849 Black Acrylic Static Cleaner
LITERATURE PARTS
LIT2005291 Use & Care Guide
LIT2005275 Energy Label
LIT2005002 Service & Wiring Sheet
LIT628370 Modular Icemaker Service Sheet
LIT2005277 Installation Instructions