Kyocera KWC-K27 Dual-Band Dual-Mode CDMA Phone User Manual 82 G1710 1EN
Kyocera Communications, Inc Dual-Band Dual-Mode CDMA Phone 82 G1710 1EN
Kyocera >
User Manual

82-G1710-1EN.book Page i Monday, August 21, 2006 11:55 AM

ii
User Guide for the Kyocera K132 Phone
This manual is based on the production version of
the Kyocera K132 phone. Software changes may
have occurred after this printing. Kyocera reserves
the right to make changes in technical and product
specifications without prior notice. The products
and equipment described in this documentation
are manufactured under license from QUALCOMM
Incorporated under one or more of the following
U.S. patents:
4,901,307 5,056,109 5,101,501 5,109,390 5,228,054
5,267,261 5,267,262 5,337,338 5,414,796 5,416,797
5,490,165 5,504,773 5,506,865 5,511,073 5,535,239
5,544,196 5,568,483 5,600,754 5,657,420 5,659,569
5,710,784 5,778,338
Other patents pending.
The Kyocera Wireless Corp. ("KWC") products
described in this manual may include copyrighted
KWC and third party software stored in
semiconductor memories or other media. Laws in
the United States and other countries preserve for
KWC and third party software providers certain
exclusive rights for copyrighted software, such as
the exclusive rights to distribute or reproduce the
copyrighted software. Accordingly, any copyrighted
software contained in the KWC products may not
be modified, reverse engineered, distributed or
reproduced in any manner not permitted by law.
Furthermore, the purchase of the KWC products
shall not be deemed to grant either directly or by
implication, estoppel, or otherwise, any license
under the copyrights, patents or patent applications
of KWC or any third party software provider, except
for the normal, non-exclusive royalty-free license to
use that arises by operation of law in the sale of
a product.
Kyocera is a registered trademark of Kyocera
Corporation. Brick Attack, Doodler, and Race 21
are trademarks of Kyocera Wireless Corp.
QUALCOMM is a registered trademark, and
BREW and BREW shop are trademarks of
QUALCOMM, Inc. Openwave is a trademark of
Openwave Systems Incorporated.
eZiText is a registered trademark of Zi Corporation.
Java is a trademark of Sun Microsystems, Inc.
All other trademarks are the property of their
respective owners.
Copyright © 2006 Kyocera Wireless Corp.
All rights reserved.
Ringer Tones Copyright © 2000-2002
Kyocera Wireless Corp.
82-G1710-1EN, Rev. 001
FCC Notice
This device complies with part 15 of the FCC rules.
Operation is subject to the following two conditions:
(1) This device may not cause harmful
interference, and (2) this device must accept any
interference received, including interference that
may cause undesired operation. To maintain
compliance with FCC RF exposure guidelines, if
you wear a handset on your body, use the Kyocera
Wireless Corp. (KWC) supplied and approved
universal pouch CV90-61344-02(03) or case
CV90-M2834-01.
Other accessories used with this device for body-
worn operations must not contain any metallic
components and must provide at least 15mm
separation distance including the antenna and the
user’s body.
THIS MODEL PHONE MEETS THE GOVERNMENT’S
REQUIREMENTS FOR EXPOSURE TO RADIO WAVES.
Your wireless phone is a radio transmitter and
receiver. It is designed and manufactured not to
exceed the emission limits for exposure to radio
frequency (RF) energy set by the Federal
Communications Commission of the U.S.
Government. These limits are part of
comprehensive guidelines and establish permitted
levels of RF energy for the general population. The
guidelines are based on standards that were
developed by independent scientific organizations
through periodic and thorough evaluation of
scientific studies. The standards include a
82-G1710-1EN.book Page ii Monday, August 21, 2006 11:55 AM

User Guide for the Kyocera K132 Phone iii
substantial safety margin designed to assure the
safety of all persons, regardless of age and health.
The exposure standard for wireless mobile phones
employs a unit of measurement known as the
Specific Absorption Rate, or SAR. The SAR limit
set by the FCC is 1.6 W/kg.* Tests for SAR are
conducted using standard operating positions
specified by the FCC with the phone transmitting at
its highest certified power level in all tested
frequency bands.
Although the SAR is determined at the highest
certified power level, the actual SAR level of the
phone while operating can be well below the
maximum value. This is because the phone is
designed to operate at multiple power levels so as
to use only the power required to reach the network.
In general, the closer you are to a wireless base
station antenna, the lower the power output.
Before a phone model is available for sale to the
public, it must be tested and certified to the FCC
that it does not exceed the limit established by the
government-adopted requirement for safe
exposure. The tests are performed in positions and
locations (e.g., at the ear and worn on the body) as
required by the FCC for each model. The body-
worn SAR values were obtained by using Kyocera
Wireless Corp. [KWC] supplied and approved
universal pouch CV90-61344-02(03) or case
CV90-M2834-01.
Body-worn measurements differ among phone
models, depending upon availability of accessories
and FCC requirements.
While there may be differences between the SAR
levels of various phones and at various positions,
they all meet the government requirement for
safe exposure.
The FCC has granted an Equipment Authorization
for this model phone with all reported SAR levels
evaluated as in compliance with the FCC RF
emission guidelines. SAR information on this
model phone is on file with the FCC and can be
found under the Display Grant section
http://www.fcc.gov/oet/fccid after searching on the
FCC ID: OVFKWC-K27.
Additional information on SAR can be found on the
Cellular Telecommunications and Internet
Association (CTIA) web-site at
http://www.wow-com.com.
* In the United States and Canada, the SAR limit for
mobile phones used by the public is 1.6 watts/kg
(W/kg) averaged over one gram of tissue. The
standard incorporates a substantial margin of
safety to give additional protection for the public
and to account for any variations in measurements.
Caution
The user is cautioned that changes or
modifications not expressly approved by the party
responsible for compliance could void the warranty
and user’s authority to operate the equipment.
Optimize your phone’s performance
Use the guidelines on page 2 to learn how to
optimize the performance and life of your phone
and battery.
Air bags
If you have an air bag, DO NOT place installed or
portable phone equipment or other objects over the
air bag or in the air bag deployment area. If
equipment is not properly installed, you and your
passengers risk serious injury.
Medical devices
Pacemakers—Warning to pacemaker wearers:
Wireless phones, when in the ‘on’ position, have
been shown to interfere with pacemakers. The
phone should be kept at least six (6) inches away
from the pacemaker to reduce risk.
The Health Industry Manufacturers Association
and the wireless technology research community
recommend that you follow these guidelines to
minimize the potential for interference.
82-G1710-1EN.book Page iii Monday, August 21, 2006 11:55 AM

iv
• Always keep the phone at least six inches
(15 centimeters) away from your pacemaker
when the phone is turned on.
• Do not carry your phone near your heart.
• Use the ear opposite the pacemaker.
• If you have any reason to suspect that
interference is taking place, turn off your phone
immediately.
Hearing aids—Some digital wireless phones may
interfere with hearing aids. In the event of such
interference, you may want to consult your service
provider or call the customer service line to discuss
alternatives.
Other medical devices—If you use any other personal
medical device, consult the manufacturer of the
device to determine if it is adequately shielded
from external RF energy. Your physician may be
able to help you obtain this information.
In health care facilities—Turn your phone off in health
care facilities when instructed. Hospitals and
health care facilities may be using equipment that
is sensitive to external RF energy.
Potentially unsafe areas
Posted facilities—Turn your phone off in any facility
when posted notices require you to do so.
Aircraft—FCC regulations prohibit using your phone
on a plane that is in the air. Turn your phone off or
switch it to Airplane Mode before boarding aircraft.
Vehicles—RF signals may affect improperly installed
or inadequately shielded electronic systems in
motor vehicles. Check with the manufacturer of the
device to determine if it is adequately shielded
from external RF energy. Your physician may be
able to help you obtain this information.
Blasting areas—Turn off your phone where blasting
is in progress. Observe restrictions, and follow any
regulations or rules.
Potentially explosive atmospheres—Turn off your
phone when you are in any area with a potentially
explosive atmosphere. Obey all signs and
instructions. Sparks in such areas could cause an
explosion or fire, resulting in bodily injury or death.
Areas with a potentially explosive atmosphere are
often, but not always, clearly marked.
They include:
• fueling areas such as gas stations
• below deck on boats
• transfer or storage facilities for fuel
or chemicals
• vehicles using liquefied petroleum gas, such as
propane or butane
• areas where the air contains chemicals or
particles such as grain, dust, or metal powders
• any other area where you would normally be
advised to turn off your vehicle engine
Use with care
Use only in normal position (to ear). Avoid
dropping, hitting, bending, or sitting on the phone.
Keep phone dry
If the phone gets wet, turn the power off
immediately and contact your dealer. Water
damage may not be covered under warranty.
Resetting the phone
If the screen seems frozen and the keypad does
not respond to keypresses, reset the phone by
completing the following steps:
1. Remove the battery door.
2. Remove and replace the battery.
If the problem persists, return the phone to the
dealer for service.
Accessories
Use only Kyocera-approved accessories with
Kyocera phones. Use of any unauthorized
accessories may be dangerous and will invalidate
the phone warranty if said accessories cause
damage or a defect to the phone.
To shop online for phone accessories, visit
www.kyocera-wireless.com/store.
82-G1710-1EN.book Page iv Monday, August 21, 2006 11:55 AM

User Guide for the Kyocera K132 Phone v
To order by phone, call 800-349-4188
(U.S.A. only) or 858-882-1410.
Radio Frequency (RF) energy
Your telephone is a radio transmitter and receiver.
When it is on, it receives and sends out RF energy.
Your service provider’s network controls the power
of the RF signal. This power level can range from
0.006 to 0.6 watts.
In August 1996, the U.S. Federal Communications
Commission (FCC) adopted RF exposure
guidelines with safety levels for hand-held
wireless phones. These guidelines are consistent
with the safety standards previously set by both
U.S. and international standards bodies in the
following reports:
• ANSI C95.1
(American National Standards Institute, 1992)
• NCRP Report 86
(National Council on Radiation Protection and
Measurements, 1986)
• ICNIRP
(International Commission on Non-Ionizing
Radiation Protection, 1996)
Your phone complies with the standards set by
these reports and the FCC guidelines.
E911 mandates
Where service is available, this handset complies
with the Phase I and Phase II E911 Mandates
issued by the FCC.
Hearing Aid Compatibility (HAC) with Mobile Phones
Some mobile phones and hearing devices (hearing
aids and cochlear implants), when used together,
result in buzzing, humming, or whining noises
detected by the user. Some hearing devices are
more immune than others to this interference
noise, and phones also vary in the amount of
interference they generate.
The wireless telephone industry has developed
ratings for some of their mobile phones, to assist
hearing device users in finding phones that may be
compatible with their hearing devices. Not all
phones have been rated.
Phones that are rated have the rating on their box
or a label on the box. The ratings are not
guarantees and results will vary depending on the
user’s hearing device and hearing loss. If your
hearing device happens to be vulnerable to
interference, you may not be able to use a rated
phone successfully. Trying out the phone with your
hearing device is the best way to evaluate it for
your personal needs.
M-Ratings— Phones rated M3 or M4 meet FCC
requirements and are likely to generate less
interference to hearing devices than phones that
are not labeled. M4 is the better/higher of the two
ratings.
T-Ratings— Phones rated T3 or T4 meet FCC
requirements and are likely to be more usable with
a hearing device’s telecoil (“T Switch” or
“Telephone Switch”) than unrated phones. T4 is
the better/higher of the two ratings. (Note that not
all hearing devices have telecoils in them.)
Hearing devices may also be measured for
immunity to this type of interference. Your hearing
device manufacturer or hearing health professional
may help you choose the proper rating for your
mobile phone. The more immune your hearing aid
is, the less likely you are to experience interference
noise from mobile phones.
For more information about hearing aid
compatibility, visit the FCC's Consumer &
Governmental Affairs Bureau Web site at
www.fcc.gov/cgb/dro.
Hearing Aid Compatibility (HAC) Rating: M3
82-G1710-1EN.book Page v Monday, August 21, 2006 11:55 AM

vi
Battery and charger specifications
Kyocera Wireless Corp.
10300 Campus Point Drive, San Diego, CA 92121
U.S.A.
Visit us at www.kyocera-wireless.com
To purchase accessories, visit
www.kyocera-wireless.com/store
Travel Charger Input Output
CE90-R2231-01 100-240 VAC / 50/60 Hz 4.5 V 1.2 A
CV90-G2588-01 120 VAC / 60Hz 5.2 V 400 mA
CV90-G2589-01 85-264 VAC / 50/60 Hz 4.5 V 1.2 A
Vehicle Charger Input Output
CV90-G2959-01 100-240 VAC / 50 / 60 Hz 4.5 V 1.2 A
CV90-K0278-01 120 VAC / 60Hz 5.2 V 400 mA
Standard Battery
CV90-N3344-01, 3.7V / 850mAh
82-G1710-1EN.book Page vi Monday, August 21, 2006 11:55 AM

User Guide for the Kyocera K132 Phone vii
TABLE OF CONTENTS
1 Getting Started. . . . . . . . . . . . . . . . . . . . . . 1
Installing the battery. . . . . . . . . . . . . . . . . . . . . . .1
Getting to know your phone . . . . . . . . . . . . . . . . .3
2 Making and Answering Calls . . . . . . . . . . 7
Making a call . . . . . . . . . . . . . . . . . . . . . . . . . . . .7
Using the speakerphone. . . . . . . . . . . . . . . . . . . .8
Speed dialing . . . . . . . . . . . . . . . . . . . . . . . . . . .10
Setting up voicemail . . . . . . . . . . . . . . . . . . . . . .10
Calling emergency services. . . . . . . . . . . . . . . . .11
Understanding roaming . . . . . . . . . . . . . . . . . . .12
3 Entering Letters, Numbers,
and Symbols . . . . . . . . . . . . . . . . . . . . . . 14
4 Storing Contacts . . . . . . . . . . . . . . . . . . . 17
Creating a new contact . . . . . . . . . . . . . . . . . . . .17
Adding a code or extension . . . . . . . . . . . . . . . .17
Customizing your contacts . . . . . . . . . . . . . . . . .17
Editing a contact . . . . . . . . . . . . . . . . . . . . . . . .18
Erasing a contact . . . . . . . . . . . . . . . . . . . . . . . .18
Customizing a phone number. . . . . . . . . . . . . . .19
Finding contact information . . . . . . . . . . . . . . . .19
Using caller groups . . . . . . . . . . . . . . . . . . . . . .20
5 Sending and Receiving Text Messages. 22
Sending text messages . . . . . . . . . . . . . . . . . . . .22
Retrieving text messages. . . . . . . . . . . . . . . . . . .26
Customizing message settings. . . . . . . . . . . . . . .27
6 Customizing Your Phone . . . . . . . . . . . . 29
Silencing all sounds . . . . . . . . . . . . . . . . . . . . . .30
Choosing ringers . . . . . . . . . . . . . . . . . . . . . . . .30
Setting sounds for your phone . . . . . . . . . . . . . .30
Adjusting volume . . . . . . . . . . . . . . . . . . . . . . . .31
Setting message alerts . . . . . . . . . . . . . . . . . . . .32
Using shortcuts . . . . . . . . . . . . . . . . . . . . . . . . .32
Personalizing the screen . . . . . . . . . . . . . . . . . .33
Creating a secure environment. . . . . . . . . . . . . .35
Network settings . . . . . . . . . . . . . . . . . . . . . . . .36
Data Settings . . . . . . . . . . . . . . . . . . . . . . . . . . . 37
Setting position location. . . . . . . . . . . . . . . . . . .38
7 Using Voice Recognition. . . . . . . . . . . . . 39
Setting up voice dialing . . . . . . . . . . . . . . . . . . .39
Calling using voice tags . . . . . . . . . . . . . . . . . . . 39
Calling using digit dialing. . . . . . . . . . . . . . . . . . 40
Training voice recognition . . . . . . . . . . . . . . . . . 42
8 Using Media Gallery. . . . . . . . . . . . . . . . . 43
Accessing files . . . . . . . . . . . . . . . . . . . . . . . . . .43
Creating free space . . . . . . . . . . . . . . . . . . . . . . 44
9 Using Tools and Games . . . . . . . . . . . . . 45
Voice Memo. . . . . . . . . . . . . . . . . . . . . . . . . . . . 45
Scheduler . . . . . . . . . . . . . . . . . . . . . . . . . . . . . 46
Alarm Clock. . . . . . . . . . . . . . . . . . . . . . . . . . . . 47
Tip Calculator . . . . . . . . . . . . . . . . . . . . . . . . . . 47
Calculator . . . . . . . . . . . . . . . . . . . . . . . . . . . . . 48
Timer. . . . . . . . . . . . . . . . . . . . . . . . . . . . . . . . .48
Stopwatch . . . . . . . . . . . . . . . . . . . . . . . . . . . . .48
Games . . . . . . . . . . . . . . . . . . . . . . . . . . . . . . . . 49
Brick Attack. . . . . . . . . . . . . . . . . . . . . . . . . . . . 49
10 Connecting to the Internet . . . . . . . . . . . 52
Using the Mobile Web . . . . . . . . . . . . . . . . . . . .52
11 Getting Help . . . . . . . . . . . . . . . . . . . . . . . 54
Index . . . . . . . . . . . . . . . . . . . . . . . . . . . . . . . . . 56
82-G1710-1EN.book Page vii Monday, August 21, 2006 11:55 AM

82-G1710-1EN.book Page viii Monday, August 21, 2006 11:55 AM

User Guide for the Kyocera K132 Phone 1
1GETTING STARTED
Installing the battery
Your Kyocera K132 phone comes with a
removable lithium ion (LiIon) battery.
Fully charge the battery before using the phone.
To install the battery:
1. Hold the phone face
down.
2. Toward the bottom of the
phone there is a recess
to aid you in opening the
battery door. Use your
fingernail to pull the
battery door away.
3. Place the battery in the
phone casing with the
metal contacts toward
the bottom of the phone.
4. Place the battery door
tab in the openings near
the top of the phone.
5. Press the battery door
until it clicks into place.
Note: Before you remove the battery, make sure
the phone is powered off.
Charging the battery
You must have at least a partial charge in the
battery to make or receive calls.
To charge the battery:
1. Connect the AC adapter
to the jack on the bottom
of the phone.
2. Plug the adapter into a
wall outlet.
The battery icon in the upper-right corner of the
screen tells you whether the phone is:
• Charging (the icon is animated)
• Partially charged
• Fully charged
Note: The battery will not charge if you use the
phone while it is connected to an AC adapter.
Recharging the battery
You can safely recharge the battery at any time,
even if it has a partial charge.
82-G1710-1EN.book Page 1 Monday, August 21, 2006 11:55 AM

2Installing the battery
Caring for the battery
General safety guidelines
• Do not take apart, puncture, or short-circuit
the battery.
• If you have not used the battery for more than
a month, recharge it before using your phone.
• Avoid exposing the battery to extreme
temperatures, direct sunlight, or high
humidity.
• Never dispose of any battery in or near a fire.
It could explode.
Common causes of battery drain
• Playing games or using the Web.
• Keeping backlighting on.
• Operating in analog ( ) mode. Your phone
switches between modes to find the best
signal. To set your phone to operate in a single
mode, select Menu → Settings →
Network → Digital/Analog.
• Operating in digital mode when far away from
a base station or cell site.
• Using data cables or accessories.
• Operating when no service is available, or
service is available intermittently.
• High earpiece and ringer volume settings.
• Repeating sound, vibration, or lighted alerts.
Performing basic functions
Turn the phone on and off: Press and hold until
the phone beeps or plays a tone.
Make a call: Enter the number and press .
End a call: Press .
Answer a call: Open the flip and press .
Access voicemail: Press and hold and follow
the system prompts.
Verify your phone number: Select Menu → Phone Info.
Silence the ringer on an incoming call:
Press then to answer.
-or-
Press the side volume key up or down
then to answer.
Silent Mode shortcut: Press and hold .
Record a voice memo: Press and hold right.
Access Recent Calls list:
Press and hold down.
Launch the Browser:
Press and hold left.
Access your custom menu: Press and hold up.
(see “Creating and updating your custom menu”
on page 32 for instructions on setting up your
custom menu).
82-G1710-1EN.book Page 2 Monday, August 21, 2006 11:55 AM

User Guide for the Kyocera K132 Phone 3
Getting to know your phone
Home screen.
Left softkey accesses menus and functions.
Navigation key scrolls through lists and text entry fields and
accesses shortcuts from the home screen.
Send/Talk key starts or answers calls. Press once to activate voice
dialing, twice to display the Recent Calls list, and three times to
redial the last dialed number.
Back key erases characters in text entry and returns to the previous
screen.
Keypad for entering numbers, letters, or symbols.
* Shift key changes the text mode in text entry.
Right softkey accesses the Contacts directory and other
menu options.
OK key selects a menu item or option.
End/Power key turns the phone on and off, ends a call or browser
session, and returns you to the home screen from other menus.
Speakerphone key activates the speakerphone and answers
incoming calls.
# Space key enters a space during text entry. Activates Silent mode.
0 Next key cycles through word choices during text entry.
Jack for AC adapter (included) .
Warning: Inserting an accessory into the incorrect jack will damage the phone.
1
2
3
4
5
6
7
8
9
10
11
12
13
14
82-G1710-1EN.book Page 3 Monday, August 21, 2006 11:55 AM

4 Getting to know your phone
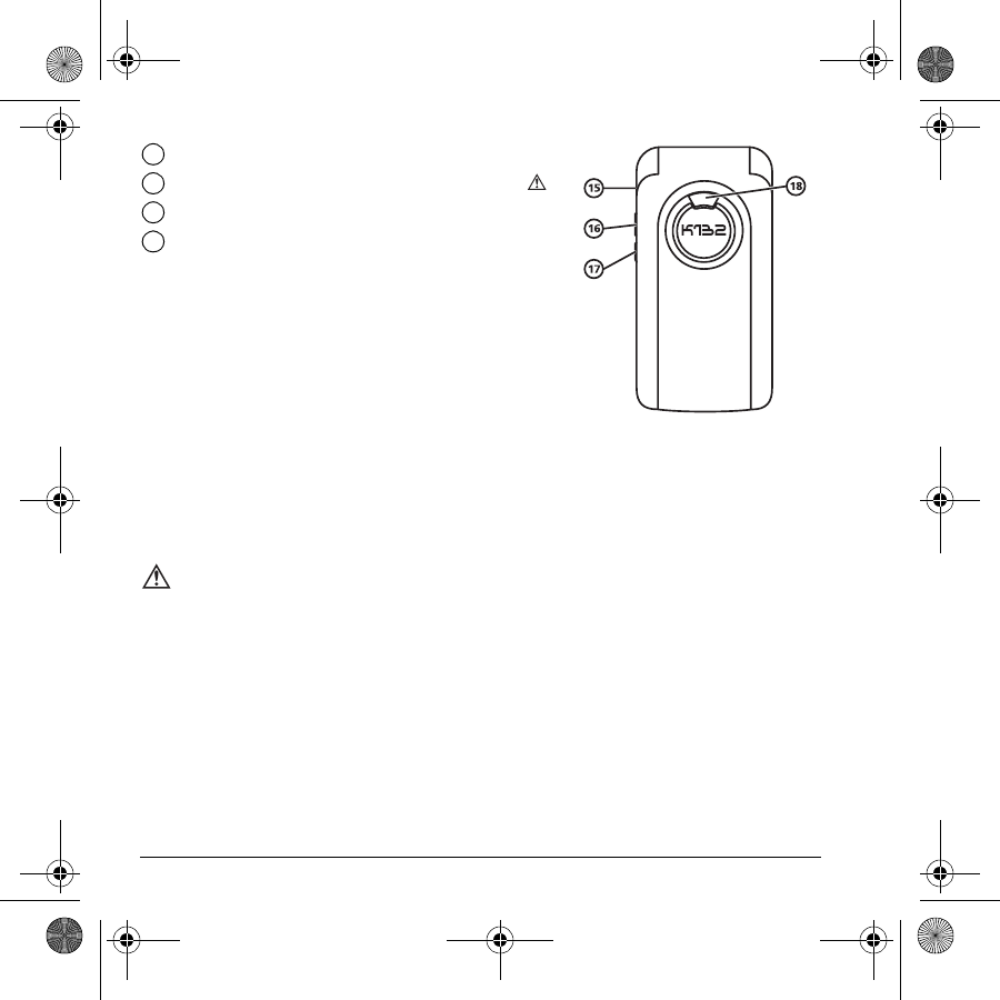
Antenna (does not extend)
Jack=for hands-free headset and data cable (sold separately) .
Volume key to raise or lower speaker volume.
External speaker for speakerphone and alerts.
Warning: Inserting an accessory into the incorrect jack will damage the phone.
15
16
17
18
82-G1710-1EN.book Page 4 Monday, August 21, 2006 11:55 AM

User Guide for the Kyocera K132 Phone 5
Using menus
Navigating through menus
• Press the left soft key to select Menu.
• Press left, right, up, or down to view
menus and options.
• Press to select a menu item.
• Press to back up a menu level.
• Press to return to the home screen.
In this guide, an arrow → tells you to select an
option from a menu.
For example, Menu → Settings means select
Menu then select the Settings option.
Note: To change the way the menus appear, see
“Choosing a menu view” on page 33 for details.
The contents of the main menu are as follows:
Recent Calls
All Calls
Incoming Calls
Outgoing Calls
Missed Calls
Erase Call Lists
Recent Calls Timer
All Calls Timer
Home Calls Timer*
Roam Calls Timer*
Contacts
View All
Add New
View Groups
Speed Dial List
Voice Dial List*
Information
Messages
New Text Msg
Voicemail
InBox
Browser Alerts
Sent
OutBox
Saved
Drafts
Msg Settings
Erase Messages
Media Gallery
Images
Sounds
Settings
Silent Mode
Sounds
Display
Convenience
Voice Features
Messaging
Security
Network
Accessories
Tools & Games
Brick AttackTM
Race 21TM
Voice Memo
Scheduler
Alarm Clock
Tip Calculator
Calculator
Timer
Stopwatch
World Clock
Web Browser
Connects to Internet
Phone Info
Platform
Your Number
SW Version
PRL Version
Factory Config
ESN
Technology
SID
Browser Info
Icon Key
BREW Apps
Mobile Shop
Settings
Help
82-G1710-1EN.book Page 5 Monday, August 21, 2006 11:55 AM

6 Getting to know your phone
Understanding screen icons
These icons may appear on your phone’s home screen and the external LCD.
The phone is operating in IS2000 (1X)
digital mode.
The phone is operating in
IS95 digital mode.
The phone is operating in Analog
(FM) mode.
The phone is receiving a signal. You can
make and receive calls. Fewer bars
indicate a weaker signal.
A call is in progress.
The phone is not receiving a signal. You
cannot make or receive calls.
The phone is roaming outside of its
home service area.
You have a voice message.
The battery is fully charged. The more
black bars, the greater the charge.
The alarm clock is set.
The phone is in privacy mode or is
accessing a secure Web site.
High-speed (3G) data service is
available and active on your phone.
Check with your service provider for
availability.
(blinking) The phone is sending high-
speed data.
(blinking) The phone is receiving high-
speed data.
High-speed data service is available, but
the phone is dormant.
The phone is at the home screen. To
access Menu, press the left soft key .
The phone is at the home screen. To
access Contacts, press the right soft key
.
The phone is set to light up instead of
ring.
The phone is set to vibrate or to vibrate
and then ring.
Position location is set to your service
provider and to emergency services.
Position location is set to emergency
services only.
DRM protected.
Auto-Answer is on.
Speakerphone is on.
82-G1710-1EN.book Page 6 Monday, August 21, 2006 11:55 AM

User Guide for the Kyocera K132 Phone 7
2MAKING AND ANSWERING CALLS
Making a call
Make sure you are in an area where a signal can be
received. Look for on the home screen.
Note: The more bars you see in this symbol, the
stronger the signal. If there are no bars, move to
where the signal strength is better.
1. Open the flip.
2. Enter the phone number and press .
3. Press or close the flip to end the call.
Redialing a number
• Press three times to redial the last
number called.
Calling a saved number
Use your Contacts directory to quickly find a
saved number.
1. Press the right soft key to select Contacts.
2. Scroll down the list to find the contact you
want to call.
3. Highlight the name and press to dial
the number.
Answering a call
When a call comes in, the phone rings, vibrates, or
lights up, depending on your settings. The phone
number of the caller appears on the external
screen if the flip is closed, or home screen if the flip
is open. If the number is stored in your Contacts
directory, the contact name also appears.
1. Open the flip.
2. Press to answer the incoming call.
- or -
Press to answer the incoming call and turn
on the speakerphone simultaneously.
Setting Open to Answer
The default setting of your phone requires you to
press to answer an incoming call. You can set
the phone to answer immediately when you open
the flip.
•Select
Menu → Settings → Convenience →
Open to Answer → Enabled.
–Select Disabled to have the phone continue
ringing when you open the flip.
82-G1710-1EN.book Page 7 Monday, August 21, 2006 11:55 AM

8Using the speakerphone
Silencing an incoming call
• Press or to silence the call.
Note: In the absence of voicemail, this feature
drops the call.
- or -
• Press to silence the call then press
to answer it.
Either action silences only the current call. The
next call will ring according to your settings.
Adjusting the volume during a call
• To adjust the earpiece volume during a call,
press or up or down.
Using the speakerphone
Your Kyocera K132 phone has a built-in
speakerphone that you can use during a call when
the flip is open.
Note: This function works only for the current call.
Once the call is ended, the speakerphone turns off
and the earpiece volume returns to normal.
1. Open the flip.
2. Press to answer the call and turn on the
speakerphone simultaneously. “ Speaker
is ON” displays on the screen.
- or -
Press to turn on the speakerphone at any
time during a call.
To turn off the speakerphone, press .
Setting the phone to hold calls
The Hold Call feature allows you to place
incoming calls on hold until you are ready to
answer them.
Note: This feature will not work if “Open to
Answer” is enabled. See “Setting Open to Answer”
on page 7.
1. Select Menu → Settings → Convenience →
Hold Call → Enabled.
– If you have not recorded a hold message,
you will be prompted to record one, such
as “Please hold. I’ll answer in a minute.”
2. Press the left soft key to select Record.
3. Record the message twice, as prompted.
4. Select Save or Options (Play, Re-Record,
or Exit).
The next time a call comes in, you will have the
option of placing it on hold.
Placing a call on hold
You can place a call on hold once you have
enabled this feature.
Note: If you are already on a call and you receive
another call, you cannot place the incoming call
on hold. It will go to voicemail.
1. When a call comes in, press the right soft key
to select Hold Call. The caller will be
placed on hold and will hear your recorded
hold message.
2. To speak to the caller, select Answer.
- or -
82-G1710-1EN.book Page 8 Monday, August 21, 2006 11:55 AM

User Guide for the Kyocera K132 Phone 9
To hang up without speaking to the caller,
select End Call.
Changing the hold message
1. Select Menu → Settings → Convenience →
Hold Call → Re-Record Msg and follow the
prompts.
2. Record the message twice.
3. Select Save or Options (Play, Re-Record,
or Exit).
Dealing with missed calls
When you have missed a call, “Missed Call”
appears on your screen unless the caller
leaves a voicemail.
• To clear the screen, open the flip and press
the left soft key to select OK.
• To view details of the call, press the right soft
key to select Calls. Highlight the missed
call number and press the left soft key to
select Details.
• To return the call, highlight the number and
press .
Setting missed call alerts
You can set an alert to beep every five minutes
after you have missed a call.
1. Select Menu → Settings → Sounds →
Missed Call Alert
2. Highlight an option and press .
Viewing recent call details
Details on the last 30 calls you made, received, or
missed are stored in the Recent Calls list and are
identified by the following icons:
Viewing recent calls
1. Select Menu → Recent Calls.
2. Select a list: All Calls, Incoming Calls,
Outgoing Calls, or Missed Calls.
3. Highlight a recent call and press the right soft
key to select Options:
–Save adds the phone number to the
Contacts list.
–Send Msg allows you to send a text
message to the phone number.
–Erase erases the selected call record.
Note: If the phone number has been classified as
“secret,” you must enter your four-digit lock code
to view or edit it. For information on the lock
code, see “Changing your lock code” on page 35.
To classify a phone number as secret, see
“Creating a new contact” on page 17.
Calling recent calls
1. Open the flip.
2. Press and hold down.
3. Highlight a number to call and press .
Outgoing call Incoming call
Missed call (flashing)
82-G1710-1EN.book Page 9 Monday, August 21, 2006 11:55 AM

10 Speed dialing
Erasing recent calls
1. Select Menu → Recent Calls →
Erase Call Lists.
2. Select an option: All Calls, Incoming Calls,
Outgoing Calls, or Missed Calls.
3. Press the left soft key to select Yes.
Speed dialing
Before you can use speed dialing, you must save a
phone number as a contact and assign a speed
dial location to it.
• To add a speed dial location to a saved or new
contact, see “Customizing a phone number”
on page 19.
Using speed dialing
To call a contact that has a speed dial location:
• From the home screen, enter the one- or two-
digit speed dialing location and press .
1-Touch dialing
1-Touch dialing is the fastest way to call a
saved contact.
Note: You must (1) enable 1-Touch dialing on
your phone and (2) have a speed dial location
assigned to a contact.
Enabling 1-Touch dialing
•Select Menu → Settings → Convenience →
1-Touch Dialing → Enabled.
Using 1-Touch dialing
To call a contact that has a speed dial location:
• From the home screen, press and hold the
speed dialing number. If it is a two-digit
number, press the first digit briefly, then press
and hold the second digit. For example, if the
speed dialing location is 15, press
briefly then press and hold .
Setting up voicemail
Before your phone can receive voicemail
messages, you must set up a password and record
a personal greeting with your service provider. All
unanswered calls to your phone are then
automatically transferred to voicemail, even if
your phone is in use or turned off.
1. From the home screen, press and hold .
2. Follow the system prompts to create a
password and record a greeting.
Note: If you are having trouble accessing your
voicemail, contact your service provider.
Checking voicemail messages
When a voice message is received, your screen
displays “New Messages” along with the
symbol at the top of your screen. The symbol
flashes if the message is urgent.
82-G1710-1EN.book Page 10 Monday, August 21, 2006 11:55 AM

User Guide for the Kyocera K132 Phone 11
If you see “New Messages” on your screen
1. Press the left soft key to select Call and
call your voicemail number.
2. Press when you hear your greeting.
3. Follow the prompts to retrieve the message.
To clear the screen without checking messages:
• Press the right soft key to select Ignore.
If you see only the symbol
1. Press and hold to call to your
voicemail number.
2. Follow the prompts to retrieve the message.
Note: You can set the phone to beep or vibrate
every five minutes to remind you that you have a
voicemail message. See “Setting message alerts”
on page 32.
Calling emergency services
Regardless of your 3-digit emergency code (911,
111, 999, 000, etc.), your phone operates as
described below.
•Dial your 3-digit emergency code and
press .
You can call the code even if your phone is locked,
has no balance, or your account is restricted. When
you call, your phone enters Emergency mode. This
enables the emergency service exclusive access to
your phone to call you back, if necessary. To make
or receive regular calls after dialing the code, you
must exit this mode.
To exit Emergency mode
When you have completed the emergency call:
1. Press the left soft key to select Exit.
2. Press the left soft key again to confirm
your choice.
Note: To determine who has access to your
location, see “Setting position location” on
page 37.
Using your phone in an airplane
While in an airplane, it is normally required that
you turn off your mobile phone because it emits
RF signals that interfere with air traffic control.
In Airplane mode, however, your phone will not
emit RF signals. You cannot make or receive calls,
send text messages, or use the Web, but you can
play games, use the Scheduler, set the clock, and
make emergency calls to designated
emergency numbers.
Note: Please check with uniformed personnel
before operating your phone in Airplane mode.
Setting Airplane mode
1. Select Menu → Settings → Convenience →
Airplane Mode.
2. Press the left soft key to select OK after
reading the message.
3. Select Enabled or Disabled.
4. Select Yes or No to set the date and time.
5. Press the left soft key to select Done.
82-G1710-1EN.book Page 11 Monday, August 21, 2006 11:55 AM

12 Understanding roaming
Tracking calls
You can track the number and duration of calls
made and received on your phone.
1. Select Menu → Recent Calls.
2. Select a timer:
–Recent Calls Timer tracks all calls you
have made and received since you last
reset this timer. To reset this timer, press
the left soft key to select Reset.
–All Calls Timer tracks all calls you have
made and received. This timer cannot be
reset.
–Home Calls Timer tracks all calls you have
made while your phone is not roaming. To
reset this timer, press the left soft key
to select Reset. This will reset both the
Home Calls and the Roam Calls Timer.
–Roam Calls Timer tracks all the roam calls
you have made. To reset this timer, press
the left soft key to select Reset. This
will reset both the Home Calls and the
Roam Calls Timer.
Timing your calls
You can set your phone to beep 10 seconds
before each minute passes when you are on a call.
•Select
Menu → Settings → Sounds →
Minute Alert → Enabled.
Understanding roaming
Setting an alert for roaming
The phone can alert you when you roam outside
of your home service area.
1. Select Menu → Settings → Network →
Roam/Svc Alert.
2. Select an option and press .
–When no svc alerts you with three tones
decreasing in pitch when service is lost
and three tones increasing in pitch when
service is acquired again.
–On roam change alerts you with two
decreasing tones when roaming service is
acquired and three increasing tones when
home area service is acquired again.
–On any change alerts you with three
increasing tones if there is a change in
roaming service or three decreasing tones
if the phone loses service.
Setting the roam ringer
You can set a ringer to indicate when an incoming
call will be subject to roaming charges.
•Select
Menu → Settings → Sounds →
Roam Ringer → Enabled. You will hear
the ringer.
82-G1710-1EN.book Page 12 Monday, August 21, 2006 11:55 AM

User Guide for the Kyocera K132 Phone 13
Setting Call Guard
You can set the phone to warn you before you
answer or place a call while roaming.
•Select
Menu → Settings → Convenience →
Call Guard → Call Prompt.
– The phone now emits a distinctive roam
ring to indicate when you are roaming
during calls.
– To accept or place a call while roaming,
you must press .
Note: Call Prompt is disabled when the phone is
in emergency mode.
Setting digital or analog mode
Depending on services available from your service
provider, you may set the phone to either digital
or analog mode. This is useful if you are in an
area that borders on digital service and the
automatic feature is causing the phone to keep
switching between modes.
1. Select Menu → Settings → Network →
Digital/Analog.
2. Select an option and press .
–Automatic automatically switches the
phone between digital and analog.
–Digital only sets the phone to work in
digital mode only.
Turning roaming on or off
This setting allows you to control the phone’s
roaming feature by specifying which signals the
phone will accept.
1. Select Menu → Settings → Network →
Roam Option.
2. Select an option and press .
–Automatic (recommended setting) accepts
any system the phone service provides.
–No roaming prevents you from making
or receiving calls outside of your home
service area.
Note: If your phone has more than one setting for
Automatic, contact you service provider to
determine which one to use.
82-G1710-1EN.book Page 13 Monday, August 21, 2006 11:55 AM

14 Entering Letters, Numbers, and Symbols
3ENTERING LETTERS, NUMBERS, AND SYMBOLS
You can enter letters, numbers, and symbols in
contacts, text messages, and your banner.
Understanding text entry screens
The current text entry mode (and capitalization
setting, when applicable) are indicated by icons.
Text entry modes
There are six text entry modes:
Case change
Numbers only
Normal alpha
Rapid Entry
Add Symbol
Add Smiley
Note: The mode you start in depends on the task
you are doing. For example, when entering a
phone number, you’re in number mode. When
entering a name for a contact, you’re in normal
text mode. See “Changing modes” on page 15.
Entering numbers
• To enter a number while in mode, press
a number key once.
• To enter a number while in or
mode, press and hold a number key until the
number appears on the screen.
Entering words letter by letter
1. Press a key once for the first letter, twice for
the second letter, and so on. If your phone is
set to Spanish, French, or Portuguese,
accented letters are available.
2. Wait for the cursor to move right and enter the
next letter.
Note: To enter a space, press .
Entering words quickly
When you press a series of keys using mode,
checks its dictionary of common words and
guesses at the word you are trying to spell.
1. For each letter of the word you want, press the
key once. For example, to enter the word
“any” press → → .
2. If the word doesn’t match what you want,
press to look at other word matches.
3. When you see the word you want, press .
text entry
fields
text entry mode
capitalization settingcharacters
remaining
82-G1710-1EN.book Page 14 Monday, August 21, 2006 11:55 AM

User Guide for the Kyocera Milan KX9B/KX9C Phones 15
Entering symbols
While entering text, you can enter symbols by
pressing until you see the symbol you want.
Using this method, you have access to the
following symbols:
To access the full set of symbols:
1. From the text entry screen, select Options.
2. Select Add Symbol.
3. Press down to view the list of symbols.
4. Press the number key corresponding to the
symbol you want.
Entering smileys
1. From the text entry screen, select Options.
2. Select Add Smiley.
3. Press down to view the list of smileys.
4. Press the number key corresponding to the
smiley you want.
Switching default text entry modes
You can change the default text entry mode when
creating a text message. This setting applies only
to the message body screen, not the “To” screen.
1. Select Menu → Messages → Msg Settings
→ Default Text.
2. Select Normal Alpha or Rapid Mode.
Changing modes
Sometimes you need to change modes. For
example, to enter numbers in an email address
while in mode, you must change to
mode, enter the numbers, and then change
back to mode to complete the address.
To change text entry modes:
• Press and hold until the icon for the
mode you want appears.
-or-
•Select
Options then select a different mode.
Capitalization settings
You can change capitalization at any time while
entering text. Simply press to choose upper
or lower case while in Normal Alpha mode.
.@?!-,&:‘1
82-G1710-1EN.book Page 15 Monday, August 21, 2006 11:55 AM

16 Entering Letters, Numbers, and Symbols
Quick reference to text entry
This table gives general instructions for entering letters, numbers, and symbols.
To... Do this...
Enter a letter Use mode and press a key until you see the letter you
want. For more information, see page 14.
Enter a number Use mode and press a key once to enter its number.
For more options, see page 14.
Enter a symbol Press until you find the symbol you want. See page 15.
Enter a smiley Use mode and press a key once to enter its number.
For more options, see page 15.
Enter a space Press .
Erase a character Press .
Erase a word Press and hold .
Move the cursor right or left Press right or left.
Move the cursor up or down Press up or down.
Change text entry modes Press and hold .
Capitalize any letter In mode, press . Choose .
Lowercase any letter In mode, press . Choose .
Select soft options on the screen Press the appropriate key, left or right .
Highlight an option at the bottom of
the screen Press right or left.
82-G1710-1EN.book Page 16 Monday, August 21, 2006 11:55 AM

User Guide for the Kyocera K132 Phone 17
4STORING CONTACTS
Use your phone’s Contacts directory to store
information about a person or company. Each
contact entry can have up to six phone numbers,
two email addresses, two Web addresses, two
street addresses, and a space for notes.
Creating a new contact
1. From the home screen, enter the phone
number you want to save, including the
area code.
2. Press the left woft key to select Save.
3. Press to select Save New Contact.
4. Enter a name for the contact.
– If you need to learn how to enter letters,
see “Understanding text entry screens” on
page 14.
– To add a symbol or smiley to the contact
name, or to change the text entry mode,
press the right soft key to select
Options.
5. Either save now or add more
contact information.
– To save now, press the left soft key to
select Save.
– To enter additional phone numbers, email
and Web addresses, or notes, press
down repeatedly. For help switching
between numbers and letters for email or
Web addresses, see “Changing modes” on
page 15.
Adding a code or extension
When you save the phone number of an
automated service, you may include a pause to
stop dialing, for example, where you would wait
to dial an extension.
1. From the home screen, enter the first portion
of the phone number.
2. Press the right soft key to select Options.
3. Select a type of pause:
–
Time Pause
– Hard Pause
4. Enter the remaining numbers.
5. Press the left soft key to select Save.
Customizing your contacts
You can customize each contact in your Contacts
directory by assigning ringers, pictures, and
number types, or by classifying your contacts as
Personal or Business.
Assigning ringers
1. Press the right soft key to select Contacts.
2. Highlight a contact and press .
3. Highlight the contact name and press the right
soft key to select Options.
X
82-G1710-1EN.book Page 17 Monday, August 21, 2006 11:55 AM

18 Editing a contact
4. Select Ringer → Assign Ringer.
5. Scroll down the list to hear the different
ringers and press to select one.
Assigning pictures
1. Press the right soft key to select Contacts.
2. Highlight a contact and press .
3. Highlight the contact name and press the right
soft key to select Options.
4. Select Picture → Assign Picture → Images.
5. Select Saved Images or Caller IDs.
Note: With Kyocera Mobile PhoneTools, you
can transfer digital pictures to your phone. To
purchase MPT or other accessories, visit
www.kyocera-wireless.com/store.
6. Scroll through the list to view your options
and press to assign it to your contact.
Assigning number types
When you assign a number type, an icon is placed
in front of a contact number to specify the type of
number, such as work, home, or mobile.
1. Press the right soft key to select Contacts.
2. Highlight a contact and press .
3. Highlight the contact number and press the
left soft key to select Edit.
4. Press down once and press .
5. Highlight an option to designate the number
as General, Work, Home, Mobile, Pager, or Fax and
press . The associated icon will appear
next to the number in your Contacts directory
and Recent Calls list.
6. Press the left soft key to select Save.
Editing a contact
1. Press the right soft key to select Contacts.
2. Highlight a contact and press .
3. Highlight the contact name or number and
press the left soft key to select Edit.
4. Enter your changes and press the left soft key
to select Save.
Erasing a contact
1. Press the right soft key to select Contacts.
2. Highlight the contact to erase and press .
3. Select Options.
4. Highlight Erase Contact and press .
5. Press the left soft key to confirm.
Work email address
Home Street address
Mobile Web page URL
Pager Note
Fax General
82-G1710-1EN.book Page 18 Monday, August 21, 2006 11:55 AM

User Guide for the Kyocera K132 Phone 19
Customizing a phone number
1. Press the right soft key to select Contacts.
2. Highlight the contact to edit and press .
3. Press down to highlight the number.
4. Press the right soft key to select Options.
5. Highlight an option and press :
–Call to call the contact.
–Send Text Msg brings you to the text
messaging screen.
–Add Speed Dial assigns or removes the
speed dial location.
–View Number to see the selected
phone number.
–Erase Number erases the number from
the contact.
–Secret makes the number secret so that it
will not appear on the screen until the
lock code is entered. Secret numbers can
be called without a lock code. (For more
information, see “Limiting calls” on
page 35.)
–Primary Number makes this number the
first one that shows up when you open
the contact.
–Add to Group... allows you to add the
contact to a caller group that you have
defined. For more information on caller
groups, see “Using caller groups” on
page 20.
–Add Voice Dial to record a voice tag so you
can call a contact using voice recognition
(VR). For more information, see page 39.
–Erase Voice Dial erases the voice tag
associated with the number.
–Edit Voice Dial records a new voice tag.
6. Enter the new information and follow
the prompts.
7. Select Save, if necessary.
Finding contact information
To find a phone number or contact, you can (1)
check the Frequent list, (2) search the Contacts
directory, or (3) use Fast Find.
Checking the Frequent List
From the home screen, select Contacts. The last
15 of your most frequently called contacts appear
when the Frequent List is enabled. Scroll past the
double line to view the All Contacts list.
To enable the Frequent List setting
•Select
Menu → Settings → Convenience →
Frequent List → Enabled.
Searching the Contacts directory
1. Select Contacts for a list of all contacts.
To quickly get down the list, enter the first
letter of the contact. The menu skips to that
letter of the alphabet.
- or -
Select Menu → Contacts.
82-G1710-1EN.book Page 19 Monday, August 21, 2006 11:55 AM

20 Using caller groups
2. Select a search method:
–View All lists all saved contacts.
–View Groups, Speed Dial List, Voice Dial
List selects a contact from the specified
list.
3. Highlight a contact and press .
– To call the contact, highlight the number
and press .
Setting Fast Find
With Fast Find, you press one or two keys to view
close matches of the number you are looking for.
•Select
Menu → Settings → Convenience →
Fast Find → Enabled.
Using Fast Find
1. From the home screen, press the keys
corresponding to the letters of the name you
want to find. A matching contact or speed dial
entry appears.
2. Press down to scroll through matching
entries.
3. Highlight the name you want then press to
call the number.
Using caller groups
Caller groups are a way to organize your contacts
into groups that can then share a common ring
tone or graphic.
Note: Your phone comes with two groups already
defined, Business and Personal.
Creating a caller group
1. Select Menu → Contacts → View Groups.
2. Press the left option button to select New.
3. Enter a name for the group.
– If you need to learn how to enter letters,
see “Understanding text entry screens” on
page 17.
– To add a symbol or smiley to the contact
name, or to change the text entry mode,
press the right option button to
select Options.
4. Press the left option button to select Next.
5. Press down to scroll through your saved
contacts. Press the left option button to
Add a contact to the group. A check mark
appears next to the name.
Note: To remove a checked contact from the
group, press the left option button again
to select Remove.
Note: If a contact you are trying to add
already belongs to another group, an alert
dialog appears. To continue adding the
contact to the new group, select Yes. To abort,
select No.
6. Press the right option button to select
Done and save the group.
82-G1710-1EN.book Page 20 Monday, August 21, 2006 11:55 AM

User Guide for the Kyocera K132 Phone 21
Editing a caller group
1. Select Menu → Contacts → View Groups.
2. Press down to scroll through the list of
groups. When you come to the group you wish
to edit, press the right option button to
select Options → Edit.
3. Follow Steps 3 through 6 under “Creating a
caller group” on page 20 to edit the group.
Assigning a ring tone to a
caller group
1. Select Menu → Contacts → View Groups.
2. Press down to scroll through the list of
groups. When you come to the group you wish
to assign a ring tone to, press .
3. Select Options → Ringer → Assign ringer.
4. Press up and down to scroll through the
list of available ring tones. When you come to
the desired ring tone, press .
Note: You can assign ringtones to the Business
or Personal caller group by selecting Menu →
Settings → Sounds → Business ringtones or
Personal ringtones.
82-G1710-1EN.book Page 21 Monday, August 21, 2006 11:55 AM

22 Sending text messages
5SENDING AND RECEIVING TEXT MESSAGES
This chapter describes how to send, receive, and
erase text messages from your phone. For
information on voicemail messages, see “Setting
up voicemail” on page 10.
Important: The features and menus described in
this chapter may vary depending on services
available in your area. Check with your service
provider for details and possible usage charges.
Sending text messages
You can only send text messages to phones
that are capable of receiving them or to
email addresses.
Creating a text message
1. Select Menu → Messages → New Text Msg.
2. Enter a recipient’s phone number or
email address:
–Select
Options to access your Recent List,
Contacts, or Group Lists and press .
Select a contact and press . Highlight
the number field and press . For more
about group lists, see “Creating a caller
group” on page 20.
- or -
– Enter a New Address manually.
(To learn how to enter text, see
“Understanding text entry screens” on
page 14.)
3. Add another recipient if desired:
– Press the right soft key to select
Options then select Recent List, Contacts,
or Group Lists.
- or -
– Enter a space or comma after the first
number then enter another
recipient manually.
Note: You can send a message to up to 10
contacts at once. The messages will be sent
one at a time, once to each addressee.
4. When you are done entering addresses,
press twice.
5. Enter the message. To learn how to enter text,
see “Understanding text entry screens” on
page 14.
- or -
Add QuickText, symbols, or emoticons in your
message. See “Including prewritten text and
symbols” for information.
6. Press the left soft key to select Send. See
“Setting sending options” for information
about how and when you want the message to
be received.
82-G1710-1EN.book Page 22 Monday, August 21, 2006 11:55 AM

User Guide for the Kyocera K132 Phone 23
Including prewritten text and symbols
During text entry, you can add QuickText,
symbols, or emoticons in your message.
1. From the text entry screen, select Options.
2. Select an option and press .
–Insert QuickText: Scroll through the list of
options and press to select one.
–Add Symbol: Scroll through the list and
press the corresponding number key to
select it.
–Add Smiley: Scroll through the list and
press the corresponding number key to
select it.
3. When you have finished your message, select
Send. See “Setting sending options” for
information about how and when you want the
message to be received.
Setting sending options
When you are ready to send a message, you have
several options for how and when you want the
message to be received.
1. Once you have completed the message,
select Options:
–Add Address returns to the “Send To”
screen to add another recipient without
losing the message. Select Options to
access your Recent List, Contacts, or
Group Lists and press . Select a
contact and press . Highlight the
number field and press .
–Save Message saves the message in
your Drafts folder. This prevents the
message from being deleted if you have
activated AutoErase and enables you to
send the message to others.
–Save QuickText saves the message you
have just entered as a prewritten message
then returns to the message entry screen
so you can send the message.
–Settings allows you to choose from the
following after pressing :
•Request Receipt to request notification
when the message has been received.
•Set Priority labels the message as
“Urgent.”
•Callback Number includes a callback
number with the message to let
recipients know at what number they
can call you back. Select OK to include
your own number or Edit to enter a
different callback number.
•Send Later schedules a time to send
the message.
•Validity Period defines the expiration
period limit for a message.
2. When you have finished setting options, press
the right soft key to return to the
message window.
82-G1710-1EN.book Page 23 Monday, August 21, 2006 11:55 AM

24 Sending text messages
3. Press the left soft key to select Send.
Adding a signature
The signature you create is included at the end of
all outgoing messages and is counted as
characters in your messages; however, it does not
appear in the message creation screen.
To create a signature:
1. Select Menu → Settings → Messages →
Signature.
2. Enter your signature in the text field.
3. Select OK to save the setting.
Note: The characters in the signature are
included in the total character count of the
message. See the note under step 5 in “Creating a
text message” on page 22.
If you cannot send messages
You may not be able to send or receive messages
if your phone’s memory is nearly full, or if digital
service is not available at the time. To free up
memory, erase old messages. See “Erasing
messages” on page 27.
Understanding appended messages
If you go over the character limit for a single
message, the phone may automatically append an
empty segment to your message to make space.
Important: Your service provider will charge you
for each message segment.
When you start a message, the maximum
character limit appears once you are in the
message entry field. This number counts down as
you enter characters, until it reaches 0. If you
continue to enter text after this counter reaches 0,
a message segment may be appended. When you
reach the message size limit, you are prompted to
edit the message or alerted that the message is
being appended.
Receiving incoming calls while
creating messages
• If you don’t wish to answer the call, press the
right soft key to select Ignore. The phone
returns to the message screen.
• To answer the call, press . Your message is
saved to the Drafts folder. To return to the
text entry
fields
text entry mode
capitalization settingcharacters
remaining
82-G1710-1EN.book Page 24 Monday, August 21, 2006 11:55 AM

User Guide for the Kyocera K132 Phone 25
message, select Menu → Messages →
Drafts → Resume.
Viewing your sent messages
To save your outgoing messages, you must first
enable Save to Sent.
1. Select Menu → Messages →
Msg Settings → Save to Sent.
2. Select an option and press .
–Enabled automatically saves all successfully
sent messages in the Sent folder.
–Prompt allows you to choose whether or
not to save your message when you send it.
To view successfully sent messages:
1. Select Menu → Messages → Sent.
2. Press up or down through the list of
messages. One of the following symbols
appears next to each message:
Viewing failed or pending messages
Failed or pending messages are stored in
your OutBox.
To view your OutBox:
1. Select Menu → Messages → OutBox. A list
of all failed or pending messages appears.
2. Scroll through the list of messages and press
to read one. One of the following symbols
appears next to each message:
The scheduled message will be sent at
the scheduled time. You cannot
cancel delivery of the message.
The scheduled message has been sent
and will be delivered as scheduled.
You cannot cancel delivery of the
message.
The message has been received.
The message has been received and
opened. (This symbol may not be
available. Check with your service
provider.)
The message has been sent to more
than one recipient.
The message has never been sent or
has not been sent since it was last
modified. You can cancel delivery of
the message.
The message is pending and will be
sent when possible. You can cancel
delivery of the message.
The message cannot be sent
because service is not available. An
alert appears on your phone if the
message cannot be sent.
82-G1710-1EN.book Page 25 Monday, August 21, 2006 11:55 AM

26 Retrieving text messages
Retrieving text messages
When a text message is received, your screen
displays “New Messages” with the symbol at
the top of your screen. The symbol flashes if the
message is urgent.
If you see the “New Messages” note
• To view the message, press the left soft key
to select InBox, highlight the message, and
press the left soft key to select View.
•To Ignore the message, press the right soft key
.
Note: If you receive a new message while you are
reading a message, the one you are reading will
be replaced by the new one. You can find the
older message in the InBox:
•Select
Menu → Messages → InBox.
If you see the symbol
1. Select Menu → Messages → InBox. A list of
all your received messages appears.
– indicates an “Urgent” message.
2. Scroll through the list of messages and press
to read one.
Reading the message
The options available to you may vary. Check with
your service provider.
1. If the text message is long, press down to
view the entire message.
2. When you are finished, you can Reply to the
sender, Erase the message, Save the message
to your Saved folder, or set additional Options
for the message:
–Erase the message.
–Lock Msg to protect the message from
being accidentally deleted.
–Forward the message.
–Reply with Copy to reply to the message
with a copy of the original attached.
–Save Message to save the message.
–Save as QuickText to save the text from the
message as QuickText, which you can
insert into other messages. Graphics and
sound are not saved as part of
QuickText.(For more about QuickText, see
page 27.)
–View
Sender information.
3. Select Done.
Setting message alerts
You can set your phone to alert you of incoming
text messages or pages. For more information,
see “Setting message alerts” on page 32.
82-G1710-1EN.book Page 26 Monday, August 21, 2006 11:55 AM

User Guide for the Kyocera K132 Phone 27
Erasing messages
It is a good idea to erase old messages to free up
memory in your phone.
You have the option of erasing text messages and
pages as you send or read them, erasing them one
at a time from the list in the OutBox or InBox, or
erasing them all at once.
Erasing single messages
1. Select Menu → Messages.
2. Select the type of text message you want to
erase and press : InBox, OutBox, Sent,
or Saved.
3. Highlight the message to erase and press .
4. Select Options.
5. Select Erase to erase the message. A
notification appears: “Erase this message?”
6. Select Yes to erase the message.
Note: You can erase a scheduled message from
the OutBox, but you cannot cancel delivery of
the message.
Erasing all messages
1. Select Menu → Messages →
Erase Messages.
2. Select a folder from which to erase all
messages: InBox, Sent, OutBox, Saved Folder,
Drafts Folder, or All Messages. To erase
messages from all folders, select
All Messages.
3. A message appears: “Erase all messages?”
Select Yes to erase messages or No to cancel.
Erasing messages automatically
Use this setting to have old messages
automatically erased from the InBox, Sent Msgs
folder, or both when memory is low.
•Select
Menu → Messages →
Msg Settings → Auto-Erase →
Old InBox Msgs/Sent Msgs/Both. Older
messages will be erased as new messages are
received.
Customizing message settings
To make messaging easier, you can customize
settings for sending and receiving messages.
Creating and editing prewritten
messages (QuickText)
Your phone comes with prewritten (QuickText)
messages, such as “Please call me,” which you
can insert into the body of a text message. You can
edit these messages and create new ones. Your
phone will store up to 40 QuickText messages,
with up to 100 characters per message.
1. Select Menu → Messages →
Msg Settings → Edit QuickText.
2. To create a new pre-written message,
select New Msg.
- or -
To edit an existing pre-written message,
highlight the message and select Edit.
82-G1710-1EN.book Page 27 Monday, August 21, 2006 11:55 AM

28 Customizing message settings
3. Enter or edit the text and press the left soft key
to select Done. For help entering text, see
“Understanding text entry screens” on
page 14.
Note: You can also save a message you have
written or received as QuickText. See “Setting
sending options” on page 23 or “Reading the
message” on page 26.
82-G1710-1EN.book Page 28 Monday, August 21, 2006 11:55 AM

User Guide for the Kyocera K132 Phone 29
6CUSTOMIZING YOUR PHONE
The contents of the Settings menu are as follows.
Silent Mode
Vibrate Only
Vibe then Ring
Lights Only
Normal Sounds
Sounds
Ringer Volume
Ringer Type
Roam Ringer
Flip Open
Flip Closed
Pwr On/Off Sound
Key Volume
Key Length
Key Sound
Alerts
Smart Sound
Minute Alert
Earpiece Volume
Spkrphone Volume
Display
My Banner
Main Menu View
Color Themes
Wallpaper
Screen Saver
Backlighting
Auto-Hyphen
Language
Time/Date Format
Contrast
Brightness
Convenience
Airplane Mode
Open to Answer
Fast Find
Frequent List
Hold Call
1-Touch Dialing
Web Prompt*
Call Guard
Voice Features
Add Voice Dial
Erase Voice Dial
Voice Training
Voice Wake-Up
Voice Answer
Expert Mode
Messaging
Alerts
Signature
Edit QuickText
Callback Number
Text Msg Receipt
Save to Sent
Auto-Erase
Default Text
Voicemail Number
Security
Lock Phone
Limit Calls
New Lock Code
Erase Contacts
Emergency Numbers
Network
Privacy Alert
Set Phone Line
Roam/Svc Alert
Roam Option
Digital/Analog
Location
Accessories
Pwr Backlighting
Headset Sounds
Auto-Answer
TTY Device
82-G1710-1EN.book Page 29 Monday, August 21, 2006 11:55 AM

30 Silencing all sounds
Silencing all sounds
Your phone is set to make sounds when you
receive calls, press keys, navigate through menus,
and receive alerts (such as new messages). You
can silence all sounds and set the phone to vibrate
or light up when you receive calls and alerts.
Setting the phone to vibrate or light up
1. Select Menu → Settings → Silent Mode.
2. Choose an option and press :
–Vibrate Only: The phone vibrates for the
duration of the incoming call or other
alert. appears on the home screen.
–Vibe then Ring: The phone vibrates for the
first 10 seconds and then rings for the
remainder of the incoming call alert.
appears on the home screen.
–Lights Only: The phone lights up for the
duration of the incoming call or other
alert. appears on the home screen.
–Normal Sounds: The phone rings for the
incoming call or alert (in effect, returns
phone to a non-silent mode).
Note: The phone will ring when it is attached to
an external power source (such as a charger),
even if all sounds have been silenced.
Shortcut to Vibrate Only mode
• Press and hold .
Turning sounds back on
•Select Menu → Settings → Silent Mode →
Normal Sounds.
- or -
Press and hold .
Choosing ringers
Your Kyocera K132 phone has pre-programmed
ringers you can choose to use for incoming calls.
1. Select Menu → Settings → Sounds →
Ringer Type.
2. Scroll down the list to hear the different
ringers and press to select one.
Note: Downloaded ringers are added to the end
of the standard list of ringers.
Importing ringers
You can download additional ringers to your
phone using the Kyocera Mobile PhoneTools
software, if available (sold separately). To
purchase this software and other accessories, visit
www.kyocera-wireless.com/store.
Setting sounds for your phone
You can set your phone to sound tones when you
open and close the flip and when you turn the
phone on and off. Sounds will not occur during
an incoming call, if you are on a call, or if a
headset or car kit is attached to your phone.
82-G1710-1EN.book Page 30 Monday, August 21, 2006 11:55 AM

User Guide for the Kyocera K132 Phone 31
Set sound when flip opens
1. Select Menu → Settings → Sounds →
Flip Open.
2. Scroll through the list to hear the sounds and
press to select one.
Set sound when flip closes
1. Select Menu → Settings → Sounds →
Flip Closed.
2. Scroll through the list to hear the sounds and
press to select one.
Set sound when phone powers on
or off
•Select Menu → Settings → Sounds →
Pwr On/Off Sound → Enabled.
– To deselect this sound, select Disabled.
Adjusting volume
You can adjust the earpiece, speakerphone, and
ringer volume as well as key tones.
Adjusting the earpiece volume
To adjust the earpiece volume manually during a
call, press the key up or down.
To set the earpiece volume:
1. Select Menu → Settings → Sounds →
Earpiece Volume.
2. Press right to increase the volume or left
to decrease the volume and select Save.
Using smart sound
You can set a baseline volume that the phone uses
to automatically adjust the earpiece volume when
there is a change in the amount of noise around
you or the caller’s voice.
•Select
Menu → Settings → Sounds →
Smart Sound → Enabled.
Adjusting the ringer volume
1. Select Menu → Settings → Sounds →
Ringer Volume.
2. Press right to increase the volume or left
to decrease the volume and select Save.
Adjusting speakerphone volume
1. Select Menu → Settings → Sounds →
Spkrphone Volume.
2. Press right to increase the volume or left
to decrease the volume and select Save.
Adjusting key tone volume
You can change the volume of the tones the phone
makes when you press the keys.
1. Select Menu → Settings → Sounds →
Key Volume.
2. Press right to increase the volume, or left
to decrease the volume and select Save.
82-G1710-1EN.book Page 31 Monday, August 21, 2006 11:55 AM

32 Setting message alerts
Setting key length
You can change duration of the tones the phone
makes when you press the keys.
1. Select Menu → Settings → Sounds →
Key Length.
2. Choose Normal or Long and press .
Setting key sound
You can choose the sound the phone makes when
you press the keys.
1. Select Menu → Settings → Sounds →
Key Sound.
2. Choose Tone, Click, or Off and press .
Setting message alerts
You can choose how you want be alerted of
incoming voicemail, pages, or text messages.
1. Select Menu → Settings → Messaging →
Alerts.
2. Select the type of alert and press : Message
Alert, Page Alert, or Voicemail Alert.
3. Select an option:
–Vibrate, Beep, Freeway!, Game!, Bloop,
Winner!, and Zilofon! sets the phone to
vibrate, beep, or play a tune once when a
new message is received.
– Options with Remind set the phone to notify
you once when a new message is received
and then notify you again every five minutes.
To stop a reminder alert, press the right soft
key to select Ignore.
–Disabled turns off message alerts.
Using shortcuts
From the home screen, press in one of four
directions to access three shortcuts and one
custom menu.
Creating and updating your
custom menu
You can create a custom menu that contains your
favorite features. After you set up your menu,
simply press and hold up to access it.
1. Press and hold up to launch
Custom Menu.
2. Select Manage List.
3. Scroll through the available options and
press to select or deselect options.
– You may select more than one feature.
Items appear in alphabetical order in the
menu.
4. Select Save changes.
Up Access your Custom Menu
Down Access Recent Calls
Left Access Messaging
Right Record voice memo
82-G1710-1EN.book Page 32 Monday, August 21, 2006 11:55 AM

User Guide for the Kyocera K132 Phone 33
Choosing a different language
Your phone may display alternative languages.
1. Select Menu → Settings → Display →
Language.
2. Select a language and press .
Personalizing the screen
Changing your banner
Your personal banner appears on the home
screen above the time and date and can be up to
14 characters long.
1. Select Menu → Settings → Display →
My Banner.
2. Select Edit.
3. Press to clear the screen.
4. Enter your new text. See “Understanding text
entry screens” on page 14.
5. Select Save.
Choosing a menu view
You can change the appearance of your
phone’s menus:
1. Select Menu → Settings → Display →
Main Menu View.
2. Select an option and press :
–Graphic displays icons of each menu item,
with its name at the bottom of the screen.
–List displays a list of each menu item.
3. Press to return to the home screen. The
next time you select Menu, you will see the
menu view you selected.
Adjusting the backlighting
Your screen lights up while you are in a call or
when you press a key on the keypad. However,
you can set the duration and brightness of
backlighting.
1. Select Menu → Settings → Display →
Backlighting → Duration.
2. Select an option and press :
–7 seconds, 15 seconds, or 30 seconds
turns backlighting on for 7, 15,
or 30 seconds after your last keypress.
–7 sec. & in call, 15 sec. & in call, or 30 sec.
& in call turns backlighting on for the
duration of a call and for 7, 15, or 30
seconds after your last keypress.
Note: The “in call” settings drain the battery
more quickly.
Using Power Save Mode
You can conserve battery life by activating Power
Save mode. The backlighting appears for the
selected duration, but is less bright than with
Power Save off.
•Select
Menu → Settings → Display →
Backlighting → Pwr Save Mode → On.
Setting power backlighting
You can set backlighting to remain on when an
external power source, such as the AC adapter, is
used with the phone.
Note: Power backlighting may not be available
with the optional desktop charger or other
accessories.
82-G1710-1EN.book Page 33 Monday, August 21, 2006 11:55 AM

34 Personalizing the screen
•Select Menu → Settings → Accessories →
Pwr Backlighting → Always On.
– To disable this feature, select Normal.
Note: The battery charges more slowly when
power backlighting is on.
Changing the display contrast
1. Select Menu → Settings → Display →
Contrast.
2. Press left or right to adjust the contrast
and select Save.
Changing the display brightness
1. Select Menu → Settings → Display →
Brightness.
2. Press left or right to adjust the brightness
and select Save.
Setting numbers to auto-hyphenate
Auto-hyphenation, when enabled, automatically
inserts hyphens into your phone numbers to be
consistent with the U.S. dialing plan.
For example, 1-222-333-4444.
•Select
Menu → Settings → Display →
Auto-Hyphen → Enabled.
Selecting a screen saver
Screen savers appear on the home screen when
the flip is open and are activated 10 seconds after
the last keypress. Incoming calls and alerts
override screen savers.
1. Select Menu → Settings → Display →
Screen Saver.
2. Highlight a screen saver and press . The
image appears.
3. Press to assign the screen saver.
4. Press to return to the home screen and
wait 10 seconds to view the selected
screen saver.
Note: Downloaded screen savers are added to
the end of the list.
Selecting wallpaper
Wallpaper appears as background on the
home screen.
1. Select Menu → Settings → Display →
Wallpaper.
2. Highlight a wallpaper design and press .
3. Select Assign to save your selection.
Selecting a color theme
You can select a color theme for the display
background of your phone.
1. Select Menu → Settings → Display →
Color Themes.
2. Scroll through the options to view the color
themes and press to select one.
Choosing a different time/date format
1. Select Menu → Settings → Display →
Time/Date Format.
2. Highlight an option press .
82-G1710-1EN.book Page 34 Monday, August 21, 2006 11:55 AM

User Guide for the Kyocera K132 Phone 35
Creating a secure environment
This section describes all the features involved in
securing your phone and preventing access to
personal information. All security features are
shielded by a four-digit lock code.
Changing your lock code
The lock code is typically 0000 or the last 4 digits
of your phone number.
1. Select Menu → Settings → Security.
2. Enter your four-digit lock code.
3. Select New Lock Code. A message appears:
“Change Code?”
4. Select Yes and enter a new four-digit code.
5. Enter your new lock code again.
Locking your phone
When your phone is locked, you can call only
emergency numbers or your service provider’s
number. You can still receive incoming calls.
1. Select Menu → Settings → Security.
2. Enter your four-digit lock code.
3. Select Lock Phone.
4. Highlight an option and press :
–Never does not lock the phone.
–On power up locks the phone every time
you turn it on.
–Now locks the phone immediately.
Unlocking the phone
1. From the home screen, press the left soft key
to select Unlock.
2. Enter your four-digit lock code.
Designating emergency numbers
The emergency numbers feature allows you to
specify three personal phone numbers that can be
called when the phone is locked.
1. Select Menu → Settings → Security.
2. Enter your four-digit lock code.
3. Select Emergency Numbers.
4. Select an Unassigned slot.
5. Enter the phone number, including the area
code. Do not enter 1 before the area code.
6. Select Done.
Notes:
• You can view these numbers only when they’re
being entered for the first time.
• To make a call to an emergency number from
a locked phone, you must dial the number
(including area code) exactly as it was stored
in Emergency Numbers.
Limiting calls
You can limit the calls that can be made from your
phone to emergency numbers, your contacts, and
service provider numbers.
1. Select Menu → Settings → Security.
2. Enter your four-digit lock code.
3. Select Limit Calls.
4. Choose an option and press :
–No Limit limits no calls.
82-G1710-1EN.book Page 35 Monday, August 21, 2006 11:55 AM

36 Network settings
–Limit Outgoing calls only. Incoming calls
can still be received and answered.
–Limit All limits both incoming and
outgoing calls.
Erasing all contacts
You can erase all entries in your Contacts
directory.
1. Select Menu → Settings → Security.
2. Enter your four-digit lock code.
3. Select Erase Contacts.
4. Select Yes to erase all contacts. A message
appears: “Erase ALL Contacts?”
5. Select Yes again to erase all contacts.
Network settings
Switching between phone lines
Your phone can have two service accounts, or
phone lines, associated with it. Each phone line
has its own phone number.
When you are using one line, you cannot receive
calls from the other. It would be as if the phone
were “off” for that number. Your voicemail,
however, will still take messages. All contacts and
settings are shared for both lines.
Note: You must first establish a second phone
line with your service provider. Once established,
a second phone number becomes available in the
menu for selection.
1. Select Menu → Settings → Network →
Set Phone Line.
2. Select one of the two lines and press .
Ensuring Call Privacy
You can set your phone to sound an alert if
enhanced CDMA voice privacy is lost or regained
(check with your service provider to see if CDMA
voice privacy is enabled in your area). When voice
privacy is activated during a call, you will see a
message and on your screen.
To set this alert:
•Select
Menu → Settings → Network →
Privacy Alert → Enabled.
82-G1710-1EN.book Page 36 Monday, August 21, 2006 11:55 AM

User Guide for the Kyocera K132 Phone 37
Data Settings
Setting Com port speed
The Com Speed sets the data rate at which your
phone connects to a laptop or personal computer
or at which it sends and receives over-the-air
text messages.
1. Select Menu → Settings → Accessories →
Com Port Speed.
2. Select the speed: 19.2 kbps, 115.2 kbps
(default), 230.4 kbps, or Other.
Note: There may be a higher charge for making
calls using high-speed data in areas where 1X
service is available. Check with your service
provider for details.
Connecting to a TTY/TDD device
You can connect the phone to a TTY device for the
hearing impaired.
Note: Enable TTY only when using the phone with
a TTY device.
1. Connect the TTY device to the phone.
2. Enter from
your keypad.
3. Select the TTY option.
4. Press to clear the message.
5. Highlight an option and press .
Note: TTY/TDD service may not be available.
Check with your service provider for more
information.
Setting position location
This setting allows you to share your location
information with network services other than
emergency services (911, 111, 999, 000, etc.) in
markets where service has been implemented.
Note: This feature works only when your phone is
in digital mode. You do not have the option of
turning off the locator to emergency services.
1. Select Menu → Settings → Network →
Location.
2. Select 911 Only or Location On.
–911 Only (default) shares your position
information only with emergency services
when you call your 3-digit emergency
code (911, 000, 111, etc.).
–Location On shares your position
information with your service provider’s
network in addition to emergency
services.
82-G1710-1EN.book Page 37 Monday, August 21, 2006 11:55 AM

User Guide for the Kyocera K132 Phone 39
7USING VOICE RECOGNITION
Voice recognition allows you to make and answer
calls by speaking commands into the phone.
Note: You cannot use voice recognition to end a
call; you must press or close the flip.
Setting up voice dialing
To make or receive calls using voice dialing,
contacts must be saved with associated voice tags.
Creating a voice tag for a contact
1. Select Menu → Settings →
Voice Features → Add Voice Dial.
2. Follow the voice prompts to record a name for
the contact.
3. Highlight an option and press :
–Add New saves a new contact to go with
the voice tag.
–Add to existing adds the voice tag to a
saved contact. Select the contact, highlight
the phone number, and press the left soft
key to Select.
Viewing entries with voice tags
•Select Menu → Contacts → Voice Dial List. A
list of all contacts with assigned voice
tags appears.
Editing a voice tag
1. Select Menu → Contacts → Voice Dial List.
2. Highlight the contact you want to edit and
press .
3.
Highlight the phone number and select
Options.
4. Select Add Voice Dial, Erase Voice Dial, or Edit
Voice Dial.
5. Follow the prompts.
Calling using voice tags
1. If you haven’t already done so, record a voice
tag for the person you wish to call.
2. From the home screen, press . The phone
responds: “Say a name” or “Say ‘dial.’”
3. Say the name of the person you want to call.
4. If the name you said matches a contact in the
Voice Dial List, the phone responds: “Calling
(Name).” Remain silent to make the call, or
say No to cancel.
82-G1710-1EN.book Page 39 Monday, August 21, 2006 11:55 AM

40 Calling using digit dialing
5. If the phone finds multiple voice tags that
sound like the name you said, you will be
asked to verify which name you want to call.
Say Yes when you hear the correct name. Say
No when you hear an incorrect name.
6. When you are finished with the call,
press . You cannot end the call with a
voice command.
Erasing all voice tags
1. Select Menu → Settings →
Voice Features → Erase Voice Dial.
2. Select Yes.
3. Select Yes again at the confirmation.
Calling using digit dialing
You can speak the digits of a phone number
to dial it.
Note: You cannot speak a string of digits. You
must speak one digit at a time and wait for
the prompt.
1. From the home screen, press . The phone
responds: “Say a name or say Dial.”
2. Say “Dial.” The phone responds:
“Speak a digit.”
3. Speak the first digit of the phone number you
want to call. Once the phone repeats the digit,
you can speak the next digit.
If you pause, the phone prompts you with the
following five options. After the prompt, speak
an option.
–Say “
Clear” to erase the last digit entered.
The phone responds: “Digit cleared.”
To clear the entire phone number, say
“Clear” again. When the phone prompts
you with “Clear entire phone number?”,
say “Yes” to clear or “No” to cancel.
–Say “
Call” to dial the number.
–Say “Verify” to hear the set of
spoken digits.
–Say “
Cancel” to exit voice recognizer and
return to the home screen.
–Speak a digit to enter the next digit. Once
the phone repeats the digit, you can speak
the next digit or pause to hear the prompt.
Using voice features with
hands-free car kits
You can use voice commands to make a phone
call or to answer the phone only if your phone is
connected to a portable hands-free car kit
(sold separately).
Note: The following features apply only to
portable hands-free car kits unless noted.
To shop for these accessories, visit
www.kyocera-wireless.com/store or call
800-349-4188 (U.S.A. only) or 858-882-1410.
82-G1710-1EN.book Page 40 Monday, August 21, 2006 11:55 AM

User Guide for the Kyocera K132 Phone 41
Waking up the phone
If your phone is connected to a portable hands-
free car kit, you can use a voice command to
activate the phone to make a call.
Note: Voice Wake-up does not work with
Keygaurd active. To disable Keygaurd, see
“Locking your phone” on page 35.
To activate the Voice Wake-up setting:
•Select
Menu → Settings →
Voice Features → Voice Wake-Up →
With accessory.
To wake up the phone:
1. Say Wake Up and listen for a tone.
2. Say Wake Up again until you hear two tones.
If the phone does not recognize your “Wake up”
command, see “Training voice recognition” on
page 42.
Answering the phone
You can set the portable hands-free car kit to
either (1) answer automatically or (2) answer
using a voice command.
Answering automatically
•Select Menu → Settings → Accessories →
Auto-Answer → After 5 seconds.
Note: This setting also works with the portable
hands-free car kit.
Answering using voice commands
If Auto-Answer is turned off, you can use a voice
command to answer an incoming call using the
installed Kyocera hands-free car kit.
To turn off Auto-Answer:
•Select
Menu → Settings → Accessories →
Auto-Answer → Disabled.
To activate the Voice Answer setting:
1. Select Menu → Settings →
Voice Features → Voice Answer → Enabled.
2. Select Menu → Settings → Silent Mode →
Normal Sounds.
To answer a call:
When you receive an incoming call, the phone
responds: “Incoming call, answer?” or “Incoming
roam call, answer?” If the caller is recognized as a
saved contact entry, then the phone says
“Incoming call from (Name), answer?”
•Say
Yes or press any key except .
Ignoring an incoming call
To ignore an incoming call, do one of the
following:
•Say
No and press to silence the alert.
• Remain silent. The voice alert repeats twice
and the phone rings once, then returns to the
home screen.
82-G1710-1EN.book Page 41 Monday, August 21, 2006 11:55 AM

42 Training voice recognition
Using Expert Mode
Expert Mode allows you to use voice recognition
at a faster pace by reducing the number of voice
instructions and replacing them with tones.
Simply speak a command after the tone.
•Select
Menu → Settings → Voice Features→
Expert Mode → Expert.
Training voice recognition
If your phone is having trouble recognizing your
voice, you can train it with commands, such as
Yes, No, and Wake up.
1. Select Menu → Settings →Voice Features.
2. Select Voice Training.
3. Read the message and select OK to continue
or Cancel to return to the previous screen.
4. Select Train All or the item you want to train.
5. Follow the prompts for each word until
training is complete.
82-G1710-1EN.book Page 42 Monday, August 21, 2006 11:55 AM

User Guide for the Kyocera K132 Phone 43
8USING MEDIA GALLERY
The media gallery stores and displays all the
image and sound files in the phone.
Accessing files
1. Select Menu → Media Gallery.
2. Highlight an option and press :
–Images displays a list of categories that
contain preloaded, downloaded, saved, or
created files, such as wallpapers, screen
savers, or caller IDs.
–Sounds displays a list of categories that
contain saved or downloaded sounds,
such as ringers and voice memos.
Browsing images
The Images menu allows you to assign your files
to various applications.
1. Select Menu → Media Gallery → Images.
2. Highlight an option and press :
–Saved Images displays available images.
–Wallpapers displays wallpaper selections.
–Screen Savers displays available screen
savers.
–Caller IDs displays pictures and images
that can be assigned to saved contacts.
3. Highlight an image and select Options.
Note: Options vary according to
menu selection.
4. Highlight an option and press :
–Erase the image (image must not
be locked).
–Set As Default sets as default setting.
–Assign an image as a caller ID, wallpaper,
or screen saver.
–Rename an image.
–Details gives you the file size of the image.
–Erase All erases all stored images (images
must not be locked).
5. Select or when done.
Browsing sounds
The Sounds menu allows you to view and listen to
all sound files stored on your phone.
1. Select Menu → Media Gallery → Sounds.
2. Highlight an option and press :
–Saved Sounds contains sounds saved on
your phone.
–Ringers contains ringers saved on
your phone.
–Voice Memos contains recorded
voice memos.
82-G1710-1EN.book Page 43 Monday, August 21, 2006 11:55 AM

44 Creating free space
3. Highlight a sound file and select Options.
4. Highlight an option and press :
–Erase the sound.
–Assign a sound as a ringer.
–Rename a ringer.
–Details gives you the file size of the sound.
–Erase All stored sounds.
5. Select or when done.
Creating free space
If your phone does not have enough memory to
store a file, a dialog appears and asks you if you
want to create space.
•Select
Yes to display the file browser
(categories) with the memory needed and
available memory.
•Select
No to return to the previous screen. No
files are saved or downloaded.
The actions are limited to the following:
–Erase the selected file (you cannot erase
locked files).
–Done re-attempts the download or save.
82-G1710-1EN.book Page 44 Monday, August 21, 2006 11:55 AM

User Guide for the Kyocera K132 Phone 45
9USING TOOLS AND GAMES
Voice Memo
The Voice Memo tool allows you to record and
play back audio memos.
Recording a voice memo
1. Select Menu → Tools & Games →
Voice Memo → Record New.
-or-
Press and hold right.
2. Say your memo and press the left soft key
to select Stop.
3. Select Save to save your memo.
Note: If an incoming call is received while you’re
recording a memo, the memo is saved and the
incoming call screen appears.
Playing or reviewing a voice memo
1. Select Menu → Tools & Games →
Voice Memo → Recorded Memos.
2. Highlight the voice memo to review and
select Play.
3. Press right and left to select a function and
press to perform it:
Naming a saved voice memo
1. Select Menu → Tools & Games →
Voice Memo → Recorded Memos.
2. Highlight the memo and select Options.
3. Select Rename.
4. Press and hold to clear the default name.
5. Use the keypad to enter a name for the memo.
6. Select Save.
Erasing a saved voice memo
1. Select Menu → Tools & Games →
Voice Memo → Recorded Memos.
2. Highlight the memo and select Options.
3. Select Erase. The prompt “Erase file?”
appears.
4. Select Yes or No.
Scheduler
The Scheduler allows you to schedule events and
set reminder alerts.
Creating an event
1. Select Menu → Tools & Games →
Scheduler → Add New Event.
2. Enter a name for the event and press
down. For help entering text, see page 14.
Play
Stop
Pause
82-G1710-1EN.book Page 45 Monday, August 21, 2006 11:55 AM

46 Alarm Clock
3. Select Options and classify the type of event and
press :
Meeting, Phone Call, Birthday,
Anniversary, Vacation, Medical, or Other.
4. Press to change the date of the event (the
current date is the default date of the event).
– Press left or right to move between the
month, day, and year fields.
– Press up or down to change the
month, day, or year.
– Press to save your changes.
5. Press to set the time of the event.
– Press left or right to move between the
hour, minute, and AM/PM fields.
– Press up or down to change the hour,
minute, or AM/PM.
– Press to save your changes.
6. Press to set the duration of the event.
– Press left or right to move between the
hour and minute fields.
– Press up or down to change the hour
and minute.
– Press to save your changes.
7. Press to set a reminder of the event.
– Select an option and press .
8. Press to set the reminder sound.
– Select an option and press .
9. Press to select a Silent Mode setting
–Select
No or During Event and press .
10. Press to select whether or not this is a
recurring event.
– Select an option and press : No, Daily,
Weekly, Monthly, or Annually.
11. Select Save.
Editing, erasing, or sending an event
1. Select Menu → Tools & Games →
Scheduler → View Month.
2. Press up, down, left or right to highlight
the day with the event to view, edit, or erase
and press .
3. Press up or down to highlight the event
and press .
4. Press the right soft key to select Options.
5. Select Edit, Erase, or Send and press .
– For more information about editing the
event, see “Scheduler” on page 46.
– To erase the event, highlight Erase and
press . Press the left soft key to
confirm.
– For more information about sending the
event, see “Sending and Receiving Text
Messages” on page 22.
Alarm Clock
You can set up to four alerts with your phone’s
three alarm clocks and one quick alarm.
Note: The alert occurs only if the phone is on.
82-G1710-1EN.book Page 46 Monday, August 21, 2006 11:55 AM

User Guide for the Kyocera K132 Phone 47
Setting an alarm clock
1. Select Menu → Tools & Games →
Alarm Clock.
2. Highlight one of the alarms and select Set.
3. Use the phone keypad to enter numbers and
to switch between AM and PM.
– Press left or right to move between
hours, minutes, and AM/PM fields.
– Press up or down to change the hours,
minutes, and AM/PM options.
– Press to set the time of the alarm.
4. Select Options to set the alarm sound.
5. Highlight an option and press .
6. Select Options to set the recurring time.
7. Highlight an option and press .
8. Enter a note for the alarm and press .
9. Press the left soft key to select Save and
set the alarm(s).
10. When the alarm rings, select Off to turn off the
alarm or Snooze to silence the alarm for
10 minutes.
Note: Opening the flip turns off the alarm.
Setting the QuickAlarm
1. Select Menu → Tools & Games →
Alarm Clock.
2. Highlight QuickAlarm and select Set.
3. Select an option and press : 5 minutes, 15
minutes (default), 30 minutes, or 60 minutes.
A message appears telling you the QuickAlarm
is On.
4. When the alarm rings, select Off to turn off the
alarm or Reset to set the QuickAlarm again.
Tip Calculator
The Tip Calculator helps you calculate how much
tip to include with a bill.
1. Select Menu → Tools & Games →
Tip Calculator.
2. Enter the amount of your bill.
3. Select Next.
4. Select the amount you want to include as a tip
(10%, 15%, 18%, 20%, Other) and press .
Your total bill appears, including tip.
5. To split the bill, press the right soft key to
select Split.
6. Press to clear the default of 2 guests.
7. Enter the number of guests and press the left
soft key to select Next. The amount each
guest pays is calculated.
8. Select Done.
Calculator
Use the calculator for basic mathematical
equations.
1. Select Menu → Tools & Games → Calculator.
2. Use the keypad to enter numbers.
82-G1710-1EN.book Page 47 Monday, August 21, 2006 11:55 AM

48 Timer
3. Use to select mathematical operations:
4. Press to calculate the result.
Example: Enter 5, press left to select X,
enter 2, then press to obtain the result of 10.
5. Press to return to the home screen.
- or -
Press to clear the screen.
Timer
This timer counts down for a specified
amount of time. It beeps when that amount
of time has elapsed.
1. Select Menu → Tools & Games → Timer.
2. Select Set.
– Press to move the cursor left or right.
– Press up or down to set the hours,
minutes, and seconds.
3. Select Start to begin the countdown.
Select Stop to pause the countdown.
Select Reset to clear the timer.
4. Select Sound to set the alarm sound and press
.
5. Press or the right soft key to silence
the alarm.
Stopwatch
1. Select Menu → Tools & Games →
Stopwatch.
2. Select Start to begin counting.
Select Stop to stop counting.
Select Reset to clear the counter.
World Clock
The World Clock lets you check times in cities
around the world in relation to local time.
1. Select Menu → Tools & Games → World
Clock.
The World Clock menu is displayed. Your
local time and date is on the first line,
followed by your selected world city and that
city’s time and date.
When you first access World Clock, you are
prompted to select a city.
2. Press to select Cities. The Cities menu is
displayed, showing 85 world cities in
alphabetical order.
Left x (multiply) Up + (add)
Right ÷ (divide) Down -
(subtract)
Options
M+ Adds displayed digit to the value stored
in memory.
MR Displays currently stored value on
screen.
MC Clears value currently stored in
memory.
82-G1710-1EN.book Page 48 Monday, August 21, 2006 11:55 AM

User Guide for the Kyocera K132 Phone 49
3. Press up or down to scroll through the
cities list. You can also use the number keys
(2-9) to alphabetically tab through the list.
4. Press to select a city, like Athens.
The World Clock menu is displayed again,
with Athens’ time and date.
From the World Clock menu, you can also select
Edit to search by city or country.
1. Select Edit from the World Clock menu.
The Edit City menu is displayed.
2. Select your type of search.
– Press search By City.
– Press down, then press to search
By Country.
3. If you search by City, the Search screen
is displayed.
a. Use your number keys (2-9) to enter the
letter(s) by which you want to search. For
example, press 2 once to enter the
letter A.
b. Press Ok.
c. Cities beginning with A are displayed, like
Anchorage, Athens, and Atlanta.
d. Use to move through the list, press the
right soft key to view information on
the city you highlighted
e. Press to select a city.
4. If you search by Country, the Find Country
screen is displayed.
a. Use your number keys (2-9) to enter the
letter(s) by which you want to search. For
example, press 2 once to enter the
letter A.
b. Press Search.
c. Countries beginning with A are displayed,
like Afghanistan, Algeria, and Australia.
Use to move through the list, then press to
select a country.
Games
The games in this section may not be available
on your phone. Check with your service provider
for availability.
If you receive an incoming call alert while you are
playing a game, the game is paused and exited.
You can return to play once the call alert ends.
Games do not remain paused if the phone is
turned off or loses power.
Brick Attack
The goal of this game is to eliminate bricks
arranged in levels. You send a moving ball
upward using a paddle at the bottom of
the screen.
1. Select Menu → Tools & Games →
Brick Attack.
2. Press the left soft key to select Yes at the
prompt, “Turn off backlight to conserve
battery?”
82-G1710-1EN.book Page 49 Monday, August 21, 2006 11:55 AM

50 Brick Attack
3. Press the left soft key to select New.
– To pause the game, press , then press
to Resume.
– To move the paddle, press left or right.
– To exit the game, highlight Exit and
press .
Race 21
This game is a timed variation of Black Jack. Each
game comprises three 90-second rounds. To score
points, add cards in each of the four columns,
trying to reach but not exceed 21 in each column
within during the course of the game.
1. Select Menu → Tools & Games → Race 21.
2. Press to select Yes at the prompt, “Turn
off backlight to conserve battery?”
3. Select New Game. The first card to be placed
is shown at the top left of the screen. Press a
key to add a card to the row as follows:
4. Continue placing cards until you are satisfied
with your selections.
– You can pause or end the game at any time
by pressing .
– You lose points each time you exceed 21
in a column.
–Select
Skip to skip one card per round.
5. Press to select to get your score and
advance to the next round.
6. Select an option and press to select it.
–New Game initiates game play. To pause
the game, press . From here you can
choose Resume, New or Quit.
–Resume Game returns you to the game
you were last playing.
–Scoreboard provides you with the top
five scores.
–Music plays music with this game. Select
from Music Always, Sound Effects,
Instructions, Credits, During Title, or
No Music.
7. Press to end all games.
Add cards to the first row
Add cards to the second row
Add cards to the third row
Add cards to the fourth row
Shortcut: Press left or right to choose
arrows at the bottom of the screen then press
to add cards to corresponding rows.
Note: Each time you place a card, a new card
appears for placement.
82-G1710-1EN.book Page 50 Monday, August 21, 2006 11:55 AM

52 Using the Mobile Web
10 CONNECTING TO THE INTERNET
Using the Mobile Web
You can use your K132 phone to browse the
Internet if you have obtained phone Internet
services from your service provider and if over-
the-air Internet access is available in your area.
Note: You cannot receive incoming calls while
you are using the Web Browser.
Starting the Web Browser
1. Select Menu → Web Browser.
- or -
Press and hold left to launch the browser.
Note: A message about airtime fees appears
every time you start the browser. To cancel the
message, see “Changing the Web prompt” on
page 53. For more information about how
airtime is charged, contact your
service provider.
2. Press to continue.
If this is the first time you have connected to
the Internet, a message informs you that
security is not yet enabled for your
Web Browser.
3. Press the left soft key to select Yes to
enable security.
When you are connected, a browser home
page appears. It has a list of bookmarks and
some Web menu options at the bottom of
the screen.
– A appears in a secure session.
– An underline and an arrow indicate that
there is more text. Press down to view
more text. Press to return to the
previous screen.
– To choose a site, highlight it and press the
left soft key to select Go.
4. When you have finished using the Internet,
press to exit the browser.
Using the Web menu options
The following options may appear on your screen:
•Home returns you to the main Web Browser
window or home page.
•Mark Site saves the current location as a
bookmark for easy access.
•Bookmarks displays a list of your saved
Web sites.
•Setup gives you options for changing how
information is displayed.
–Show URL displays the entire URL.
–About Openwave displays information
about your Web Browser version.
82-G1710-1EN.book Page 52 Monday, August 21, 2006 11:55 AM

User Guide for the Kyocera K132 Phone 53
–Encryption should not be used unless you
are instructed to do so by your
service provider.
–UP.Link selects a different browser server.
You can use this option if you have more
than one Web Browser account.
–Restart restarts the Web Browser.
Searching for a Web site
How you search for a Web site depends on your
service provider. For more information, contact
your service provider.
Going to a bookmarked site
1. Select Menu → Web Browser. If you see a
message prompt, press to continue.
2. From your Web home page, select
Bookmarks. A list of bookmarks appears.
3. Enter the number corresponding to the
bookmark you want and press .
Checking Browser alerts
Alerts received from a Web site are sent to your
Browser Alerts inbox.
1. Select Menu → Messages → Browser Alerts.
This action launches the browser inbox.
2. Press to accept browser fees.
3. Select an alert and follow the prompts.
Changing the Web prompt
1. Select Menu → Settings → Convenience →
Web Prompt.
2. Highlight an option and press :
–At Start confirms that airtime fees will be
applied when you use the browser.
–At End verifies you want to exit
the browser.
–Both prompts you when you start and exit
the browser.
–No Prompts does not use any prompts.
82-G1710-1EN.book Page 53 Monday, August 21, 2006 11:55 AM

54
11 GETTING HELP
Customer support
Your service provider’s customer support
department may be accessible directly from your
phone when you dial a number such as *611
(check with your service provider). They can
answer questions about your phone, phone bill,
call coverage area, and specific features available
to you, such as call forwarding or voicemail.
For questions about the phone features, refer to
the materials provided with your phone, or visit
www.kyocera-wireless.com.
For additional questions, you may contact the
Kyocera Wireless Corp. Customer Care Center in
any of the following ways:
• Web site: www.kyocera-wireless.com
• Email: phone-help@kyocera-wireless.com
• Phone: 1-800-349-4478 (U.S. and Canada)
or 1-858-882-1401. Customer support
phone numbers are also available in the
following countries.
Before requesting support, please try to
reproduce and isolate the problem. When you
contact the Customer Care Center, be ready to
provide the following information:
• The name of your service provider.
• The actual error message or problem you are
experiencing.
• The steps you took to reproduce the problem.
• The phone’s electronic serial number (ESN).
– To locate the ESN select Menu →
Phone Info and scroll down to ESN: for the
11-digit number.
Argentina: 0-800-666-0052
Australia: 1-800-507-000
Brazil: 0-800-55-2362
Chile: 800-43-1212
Colombia: 01-800-700-1546
India: Toll free:1-600-121214
Toll: 0124-284-5000
Mexico: 001-866-650-5103
New Zealand: 0-800-990-100
Panama: 001-800-201-1984
Peru: 0-800-51-934
Puerto Rico: 1-866-664-6443
Venezuela: 0-800-100-2640
82-G1710-1EN.book Page 54 Monday, August 21, 2006 11:55 AM

User Guide for the Kyocera K132 Phone 55
Qualified service
If the problem with your phone persists, return
the phone with all accessories and packaging to
the dealer for qualified service.
Phone accessories
To shop for K132 phone accessories, visit
www.kyocera-wireless.com/store. You may also
call us at 800-349-4188 (U.S.A. only) or
858-882-1410.
Become a product evaluator
To participate in the testing and evaluation of
Kyocera Wireless Corp. products, including
cellular or PCS phones, visit
beta.kyocera-wireless.com.
82-G1710-1EN.book Page 55 Monday, August 21, 2006 11:55 AM

56
INDEX
Numerics
1-touch dialing, 10
A
accessories, iv, 55
alarm clock, 6, 47
alerts
browser, 53
for messages, 32
for missed calls, 9
minute alert, 12
roaming, 12
analog mode, 6, 13
auto-hyphenation, 34
B
banner, 33
battery, 1
blocking outgoing calls, 35
Brick Attack, 49
browser, 52
C
calculator, 48
callback number, 23
caller groups, 20
calls
answering, 7
ending, 7
missed, 9
tracking, 12
Choosing, 30
color themes, 34
com port speed, 37
contacts
groups, 20
contacts directory, 17
contrast, 34
countdown timer, 48
custom menu, 32
updating, 32
D
digital mode, 6, 13
display contrast, 34
Doodler, 50
E
emergency
calls, 11
emergency mode, 11
exit emergency mode, 11
position location, 6, 38
erasing
all contacts, 36
contact entries, 18
phone numbers, 19
text messages, 27
expert mode, 42
F
fast find, 20
finding contact information, 19
frequent contacts, 19
G
games
Brick Attack, 49
Doodler, 50
Race 21, 49
H
hands-free car kit
answering using voice, 41
purchasing, iv, 55
hands-free headset
purchasing, iv, 55
hard pause, 17
I
icons, 6
contacts, 18
messages, 25
recent calls, 9
InBox, 26
Internet, 52
L
language, 33
lights
lights-only mode, 6, 30
limiting calls, 35
lock code, 35
locking
phone, 35
M
memory
creating free space, 44
saving, 27
menu view, 33
N
Network settings, 13
Digital/Analog, 13
number mode, 14
O
OutBox, 25
82-G1710-1EN.book Page 56 Monday, August 21, 2006 11:55 AM

User Guide for the Kyocera K132 Phone 57
P
phone numbers
erasing, 19
verifying your own, 2
phone, unlocking, 35
position location, 6, 38
Q
QuickAlarm, 47
QuickText, 23, 27
R
Race 21, 49
resetting the phone, iv
ringers
for contacts, 17
for roaming calls, 12
general, 30
silencing, 2
volume, 31
roaming, 6, 12
alerts, 12
ringer, 12
S
scheduler, 46
screen contrast, 34
screen icons, 6, 14, 25, 30
screen savers, 34, 43
secret contacts, 9, 19
security, 35
sent messages, 25
shortcuts, 32
silent mode, 6, 30
smart sound, 31
smiley mode, 15
speakerphone, 8
speed dialing, 10, 19
stopwatch, 48
symbol mode, 15
T
technical support, 54
text entry, 14
quick reference, 16
text messages, 22
time format, 35
timer, 48
timing calls, 12
tip calculator, 47
TTY/TDD, 37
U
unlocking the phone, 35
V
vibrate, 6, 30
voice answer, 41
voice dialing, 39
voice memo, 43
erasing, 45
naming, 45
recording, 2, 45
voicemail, 10
setting up, 2
volume
earpiece, 8, 31
key beep, 31
ringer, 31
W
wallpaper, 34, 43
web browser, 52
82-G1710-1EN.book Page 57 Monday, August 21, 2006 11:55 AM

82-G1710-1EN.book Page 58 Monday, August 21, 2006 11:55 AM