LG Electronics USA L17LM 17" LCD Monitor User Manual Microsoft PowerPoint F User s Manual
LG Electronics USA 17" LCD Monitor Microsoft PowerPoint F User s Manual
users manual

APPENDIX F :
FCC ID : BEJL17LM
USER’S MANUAL

1
FCC Compliance Statement
This equipment has been tested and found to comply within
the limits of a Class B digital device pursuant to Part 15 of
the FCC Rules. These limits are designed to provide
reasonable protection against harmful interference in a
residential installation.
This equipment generates, uses, and can radiate radio
frequency energy and if not installed and used in
accordance with the instructions, may cause harmful
interference to radio communications. However, there is no
guarantee that interference will not occur in a particular
installation.
If this equipment does cause harmful interference to radio
or television reception (which can be determined by turning
the equipment on and off), the user is encouraged to try to
correct the interference by using one or more of the
following measures:
Reorient or relocate the receiving antenna.
Increase the separation between the equipment and the
receiver.
Connect the equipment into an outlet on a circuit
different from that to which the receiver is connected.
Consult the dealer or an experienced radio/TV
technician for help.
Caution: Changes or modifications not expressly approved
by the party responsible for compliance could void the
user's (or your) authority to operate the equipment. Only
peripherals (digital input/output devices, terminals, printers,
etc.) certified to comply with the Class B limits may be
attached to this monitor. Operation with non-certified
peripherals is likely to result in interference to radio and TV
reception.
Only shielded signal cables may be used with this System.
Canadian DOC Notice
This Class B digital apparatus meets all requirements of the
Canadian Interference-Causing Equipment Regulations.
Cet appareil numérique de la classe B respecte toutes les
exigences du Règlement sur le matériel brouilleur du
Canada.
CE Conformity Notice (for Europe)
Products with the “CE” Marking comply with the EMC
Directive(89/336/EEC) and LOW VOLTAGE Directive
(73/23/EEC) issued by the Commission of the European
Community.
Compiance with these directives implies conformity to the
following European Norms :
• EN 55022:1998 ; Radio Frequency Interference
• EN 55024:1998 ; Electromagnetic Immunity
• EN 61000-3-2 ; Power Line Harmonics
• EN 61000-3-3 ; Voltage Fluctuations
• EN 60950 ; Product Safety
Low Radiation Compliance (MPR II)
This monitor meets one of the strictest guidelines available
today for low radiation emissions, offering the user extra
shielding and an antistatic screen coating. These
guidelines, set forth by a government agency in Sweden,
limit the amount of emission allowed in the Extremely Low
Frequency (ELF) and Very Low Frequency (VLF)
electromagnetic range.
TCO95
Congratulations!
You have just purchased a TCO’95 approved and labelled
product! Your choice has provided you with a product
developed for professional use. Your purchase has also
contributed to reducing the burden on the environment and
to the further development of environmentally-adapted
electronic products.
Why do we have environmentally labelled computers?
In many countries, environmental labelling has become an
established method for encouraging the adaptation of
goods and services to the environment. The main problem
as far as computers and other electronic equipment are
concerned is that environmentally harmful substances are
used both in the products and during their manufacture.
Since it has not been possible so far for the majority of
electronic equipment to be recycled in a satisfactory way,
most of these potentially damaging substances sooner or
later enter Nature.
There are also other characteristics of a computer, such as
energy consumption levels, that are important from both the
working and natural environment viewpoints. Since all
types of conventional electricity generation have a negative
effect on the environment (acidic- and climatic-influencing
emissions, radioactive waste, etc.), it is vital to conserve
energy. Electronic equipment in offices consumes as
enormous amount of energy, since it is often routinely left
running continuously.
What does the environmenal labelling involve?
This product meets the requirements for the TCO’95
Regulatory Information
NOTICE
The regulations are applied only to the products with the
ID LABEL indicating specific requirements.
NOTICE
The regulations are applied only to the products with the
ID LABEL indicating specific requirements.
NOTICE
The regulations are applied only to the products with the
ID LABEL indicating specific requirements.

2
Regulatory Information cont.
NUTEK
Naturskydds
föreningen
Närings- och teknikutvecklingsverket
SEMKO
scheme, which provides for international environmental
labelling of personal computers. The labelling scheme was
developed as a joint effort by the TCO (The Swedish
Confederation of Professional Employees),
Naturckyddsföreningen (The Swedish Society for Nature
Conservation), and NUTEK (The National Board for
Industrial and Technical Development in Sweden), and
SEMKO AB (an international certification agency).
The requirements cover a wide range of issues:
environment, ergonomics, usability, emission of electrical
and magnetic fields, energy consumption and electrical and
fire safety.
The environmental demands concern, among other things,
restriction on the presence and use of heavy metals,
brominated and chlorinated flame retardants, CFCs
(freons), and chlorinated solvents. The product must be
prepared for recycling, and the manufacturer is obliged to
have an environmental plan, which must be adhered to in
each country where the company implements its
operational policy.
The energy requirements include a demand that the
computer and/or display, after a certain period of inactivity,
shall reduce its power consumption to a lower level, in one
or more stages. The length of time to reactivate the
computer shall be reasonable for the user.
Labelled products must meet strict environmental
demands, for example, in respect of the reduction of electric
and magnetic fields, along with physical and visual
ergonomics and good usability.
The following is a brief summary of the environmental
requirements met by this product. The complete
environmental criteria document may be ordered from:
TCO Development Unit
Linnegatan 14, S-11494 Stockholm, Sweden
FAX +46-8 782 92 07
E-mail (Internet): development@tco.se
Current information regarding TCO’95 approved and
labelled products may also be obtained on the Internet
using the address: http://www.tco-info.com/
TCO’95 is a co-operative project between:
Environmental requirements
Brominated flame retardants are present in printed circuit
boards, cabling, casings, and housings, and are added to
delay the spread of fire. Up to 30% of the plastic in a
computer casing can consist of flame-retardant substances.
These are related to another group of environmental toxins,
PCBs, and are suspected of giving rise to similar harm,
including reproductive damage in fish-eating birds and
mammals. Flame retardants have been found in human
blood, and researchers fear that they can disturb fetus
development.
Bio-accumulative1TCO’95 demands require that plastic
components weighing more than 25 grams must not
contain flame retardants with organically bound chlorine or
bromine.
Lead can be found in picture tubes, display screens, solder,
and capacitors. Lead damages the nervous system and in
higher doses causes lead poisoning. The relevant bio-
accumulative TCO’95 requirement permits the inclusion of
lead, as no replacement has yet been developed.
Cadmium is present in rechargeable batteries and in the
color-generating layers of certain computer displays.
Cadmium damages the nervous system and is toxic in high
doses. The relevant bio-accumulative TCO’95 requirement
states that batteries may not contain more than 25 ppm
(parts per million) of cadmium. The color-generating layers
of display screens must not contain any cadmium.
Mercury is sometimes found in batteries, relays and
switches. Mercury damages the nervous system and is
toxic in high doses. The relevant bio-accumulative TCO’95
requirement states that batteries may not contain more than
25 ppm of mercury and that no mercury is present in any of
the electrical or electronic components concerned with the
display unit.
CFCs (freons) are sometimes used for washing printed
circuit boards and in the manufacture of expanded foam for
packaging. CFCs break down ozone and thereby damage
the ozone layer in the atmosphere, causing increased
reception on Earth of ultra-violet light with consequent
increased risks of skin cancer (malignant melanoma). The
relevant TCO’95 requirement: Neither CFCs nor HCFCs
may be used during the manufacture of the product or its
packaging.
1Bio-accumulative means that the substance accumulates
within living organisms.
Shipping Package
The packaging material can be recycled, or you can save it
to return the monitor to a service center for repair or
disposal.
CFC Compounds in Distribution Packaging
Cushioning material used for shipping finished monitors are
not manufactured with nor do they contain any CFC
compounds.
Design for Disassembly/Recycling
These monitors have been designed for easy end-of-life
disassembly and recycling. Fasteners are generally of the
same type for efficient disassembly. Components made of
different materials can be easily separated and plastics
have been identified using intermational symbols to aid in
recycling.
Monitor Disposal
WARNING
If you need to dispose of a monitor, ask a qualified service
representative for the proper procedure. Improper disposal
could result in personal injury from implosion.

3
TCO99
Congratulations!
You have just purchased a TCO’99 approved and
labelled product! Your choice has provided you with
a product developed for professional use. Your
purchase has also contributed to reducing the
burden on the environment and also to the further
development of environmentally adapted electronics
products.
Why do we have environmentally labelled
computers?
In many countries, environmental labelling has
become an established method for encouraging the
adaptation of goods and services to the environment.
The main problem, as far as computers and other
electronics equipment are concerned, is that
environmentally harmful substances are used both in
the products and during their manufacture. Since it is
not so far possible to satisfactorily recycle the
majority of electronics equipment, most of these
potentially damaging substances sooner or later
enter nature.
There are also other characteristics of a computer,
such as energy consumption levels, that are
important from the viewpoints of both the work
(internal) and natural (external) environments. Since
all methods of electricity generation have a negative
effect on the environment (e.g. acidic and climate-
influencing emissions, radioactive waste), it is vital to
save energy. Electronics equipment in offices is
often left running continuously and thereby
consumes a lot of energy.
What does labelling involve?
This product meets the requirements for the TCO’99
scheme which provides for international and
environmental labelling of personal computers. The
labelling scheme was developed as a joint effort by
the TCO (The Swedish Confederation of
Professional Employees), Svenska
Naturskyddsforeningen (The Swedish Society for
Nature Conservation) and Statens Energimyndighet
(The Swedish National Energy Administration).
Approval requirements cover a wide range of issues:
environment, ergonomics, usability, emission of
electric and magnetic fields, energy consumption
and electrical and fire safety.
The environmental demands impose restrictions on
the presence and use of heavy metals, brominated
and chlorinated flame retardants, CFCs (freons) and
chlorinated solvents, among other things. The
product must be prepared for recycling and the
manufacturer is obliged to have an environmental
policy which must be adhered to in each country
where the company implements its operational
policy.
The energy requirements include a demand that the
computer and/or display, after a certain period of
inactivity, shall reduce its power consumption to a
lower level in one or more stages. The length of time
to reactivate the computer shall be reasonable for
the user.
Labelled products must meet strict environmental
demands, for example, in respect of the reduction of
electric and magnetic fields, physical and visual
ergonomics and good usability.
Below you will find a brief summary of the
environmental requirements met by this product. The
complete environmental criteria document may be
ordered from:
TCO Development
SE-114 94 Stockholm, Sweden
Fax: +46 8 782 92 07
Email (Internet): development@tco.se
Current information regarding TCO’99 approved and
labelled products may also be obtained via the Internet,
using the address: http://www.tco-info.com/
Environmental requirements
Flame retardants
Flame retardants are present in printed circuit
boards, cables, wires, casings and housings. Their
purpose is to prevent, or at least to delay the spread
of fire. Up to 30% of the plastic in a computer casing
can consist of flame retardant substances. Most
flame retardants contain bromine or chloride, and
those flame retardants are chemically related to
another group of environmental toxins, PCBs. Both
the flame retardants containing bromine or chloride
and the PCBs are suspected of giving rise to severe
health effects, including reproductive damage in
fish-eating birds and mammals, due to the bio-
accumulative* processes. Flame retardants have
been found in human blood and researchers fear
that disturbances in foetus development may occur.
The relevant TCO’99 demand requires that plastic
components weighing more than 25 grams must not
contain flame retardants with organically bound
bromine or chlorine. Flame retardants are allowed in
the printed circuit boards since no substitutes are
available.
Cadmium**
Cadmium is present in rechargeable batteries and in
the colour-generating layers of certain computer
displays. Cadmium damages the nervous system
and is toxic in high doses. The relevant TCO’99
requirement states that batteries, the colour-
generating layers of display screens and the
electrical or electronics components must not contain
any cadmium.
Regulatory Information cont.

4
Regulatory Information cont.
Mercury**
Mercury is sometimes found in batteries, relays and
switches. It damages the nervous system and is
toxic in high doses. The relevant TCO’99
requirement states that batteries may not contain
any mercury. It also demands that mercury is not
present in any of the electrical or electronics
components associated with the labelled unit.
CFCs (freons)
The relevant TCO’99 requirement states that neither
CFCs nor HCFCs may be used during the
manufacture and assembly of the product. CFCs
(freons) are sometimes used for washing printed
circuit boards. CFCs break down ozone and thereby
damage the ozone layer in the stratosphere, causing
increased reception on earth of ultraviolet light with
e.g. increased risks of skin cancer (malignant
melanoma) as a consequence.
Lead**
Lead can be found in picture tubes, display screens,
solders and capacitors. Lead damages the nervous
system and in higher doses, causes lead poisoning.
The relevant TCO’99 requirement permits the
inclusion of lead since no replacement has yet been
developed.
* Bio-accumulative is defined as substances which
accumulate within living organisms
** Lead, Cadmium and Mercury are heavy metals which are
Bio-accumulative.
EPA (U.S.A only)
ENERGYSATR is a set of power-saving guidelines
issued by the U.S. Environmental Protection
Agency(EPA).
NOM MARK (Mexico only)
GOST MARK
EPA POLLUTION PREVENTER
As an ENERGY STAR Partner LG
Electronics U.S.A.,Inc. has
determined that this product meets the
ENERGY STAR guidelines for
energy efficiency.
BZ03
Internet Address:http://www.lg.ru
»ÌÙÓχˆËÓÌ̇ˇ ÒÎÛÊ·‡ LG
Electronics (095)742-77-77

A1
This unit has been engineered and manufactured to ensure your personal
safety, however improper use may result in potential e shock or fire hazards.
In order to allow the proper operation of all safeguards incorporated in this
display, observe the following basic rules for its installation, use, and
servicing.
On Safety
Use only the power cord supplied with the unit. In case you use another power
cord, make sure that it is certified by the applicable national standards if not being
provided by the supplier. If the power cable is faulty in any way, please contact the
manufacturer or the nearest authorized repair service provider for a replacement.
The power supply cord is used as the main disconnection device. Ensure that the
socket-outlet is easily accessible after installation.
Operate the display only from a power source indicated in the specifications of
this manual or listed on the display. If you are not sure what type of power supply
you have in your home, consult with your dealer.
Overloaded AC outlets and extension cords are dangerous. So are frayed power
cords and broken plugs. They may result in a shock or fire hazard. Call your service
technician for replacement.
Do not Open the Display.
There are no user serviceable components inside.
There are Dangerous High Voltages inside, even when the power is OFF.
Contact your dealer if the display is not operating properly.
To Avoid Personal Injury :
Do not place the display on a sloping shelf unless properly secured.
Use only a stand recommended by the manufacturer.
To Prevent Fire or Hazards:
Always turn the display OFF if you leave the room for more than a short period
of time. Never leave the display ON when leaving the house.
Keep children from dropping or pushing objects into the display's cabinet
openings. Some internal parts carry hazardous voltages.
Do not add accessories that have not been designed for this display.
During a lightning storm or when the display is to be left unattended for an
extended period of time, unplug it from the wall outlet.
Important Precautions

A2
Important Precautions
On Installation
Do not allow anything to rest upon or roll over the power cord, and do not place
the display where the power cord is subject to damage.
Do not use this display near water such as near a bathtub, washbowl, kitchen
sink, laundry tub, in a wet basement, or near a swimming pool.
Displays are provided with ventilation openings in the cabinet to allow the release
of heat generated during operation. If these openings are blocked, built-up heat
can cause failures which may result in a fire hazard. Therefore, NEVER:
Block the bottom ventilation slots by placing the display on a bed, sofa, rug, etc.
Place the display in a built-in enclosure unless proper ventilation is provided.
Cover the openings with cloth or other material.
Place the display near or over a radiator or heat source.
Do not rub or strike the Active Matrix LCD with anything hard as this may scratch,
mar, or damage the Active Matrix LCD permanently.
Do not press the LCD screen with your finger for a long time as this may cause
some afterimages.
Some dot defects may appear as Red, Green or Blue spots on the screen.
However, this will have no impact or effect on the display performance.
If possible, use the recommended resolution to obtain the best image quality for
your LCD display. If used under any mode except the recommended resolution,
some scaled or processed images may appear on the screen. However, this is
characteristic of the fixed-resolution LCD panel.
On Cleaning
Unplug the display before cleaning the face of the display screen.
Use a slightly damp (not wet) cloth. Do not use an aerosol directly on the display
screen because over-spraying may cause electrical shock.
On Repacking
Do not throw away the carton and packing materials. They make an ideal
container in which to transport the unit. When shipping the unit to another
location, repack it in its original material.

A3
Connecting the Display
Using the Computer
1. Connect the signal cable. When attached, tighten the thumbscrews to secure
the connection.
2. Connect the power cord into a proper power outlet that is easily accessible and
close to the display.
Mac adapter
For Apple Macintosh use, a separate plug adapter is needed to
change the 15 pin high density (3 row) D-sub VGA connector
on the supplied cable to a 15 pin 2 row connector.
Wall-outlet type*
NOTE
This is a simplified representation of the rear view.
This rear view represents a general model; your display
may differ from the view as shown.
PC-outlet type*
PC
MAC
Power Cord Signal Cable
Analog signal
D-sub*
*
Varies according to model.

A4
Connecting the Display
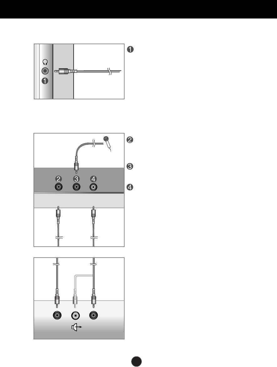
Side Jack
Bottom
AUDIO
IN
MIC.
IN
MIC.
OUT
Headphone/Earphone Input
Automatically mutes the speaker volume
when the headphones are plugged in.
Microphone Output
Connects to the microphone jack of the
PC sound card.
Microphone Input
Connects to the microphone.
Audio Input
Connects to the *LINE OUT jack of the
PC sound card.
*LINE OUT
A terminal used to connect to the
speaker including a built-in amplifier
(Amp). Make sure that the connecting
terminal of the PC sound card is checked
before connecting. If the Audio Out of PC
sound card has only Speaker Out,
reduce the PC volume.
If the Audio Out of the PC sound card
supports both Speaker Out and Line Out,
convert to Line Out using the card
jumper of the program (Refer to the
Sound Card Manual).
<Display>
<Display - Back>
*Line Out
MIC IN
Speaker Out
<Jack of the PC sound card>

A5A5
Control Panel Functions
Front Panel Controls
Buttons
Use these buttons to choose or adjust items in
the On Screen Display.
MENU Button
Use this button to enter or exit the On Screen
Display.
Use this button to turn the display on or off.
This Indicator lights up green when the display
operates normally. If the display is in DPM (Energy
Saving) mode, this indicator color changes to amber.
Power Button
Power (DPMS)
Indicator
Use this button to enter a selection in the On Screen
Display.
SELECT/AUTO
Button
Control Function
Control Direct Access Function
Use these buttons to decrease or increase the volume level.
VOLUME:
100
100
Bring up Contrast and Brightness adjustment.

A6
Control Panel Functions
Control Direct Access Function
When adjusting your display settings, always press the
SELECT/AUTO button before entering the On Screen
Display(OSD). This will automatically adjust your display image
to the ideal settings for the current screen resolution size
(display mode).
The best display mode is 1280x1024.
AUTO adjustment function
This function allows you to secure the current control settings,
so that they cannot be inadvertently changed. Press and hold
the MENU button and button for 3 seconds: the message
“CONTROLS LOCKED” appears.
You can unlock the OSD controls at any time by pushing the
MENU button and button for 3 seconds:
the message “CONTROLS UNLOCKED” will appear.
CONTROLS LOCKED/UNLOCKED
:
MENU and
This function optimizes the brightness, contrast or color value to
the surrounding conditions and settings and enables you to
enjoy the most suitable picture by adjusting the surroundings
(DAY/NIGHT/USER MODE).
•
TEXT: For viewing letters
•
MOVIE: For viewing movies
•
PHOTO: For viewing pictures or the photographs
•
USER MODE: This function memorizes the manual
adjustment -Brightness, Contrast and Color value on the
On Screen Display.
Used to select mute on (means sound off) and mute off
(means sound on).
MUTE

A7
On Screen Display (OSD) Control Adjustment
Screen Adjustment
Making adjustments to the image size, position and operating parameters of
the display is quick and easy with the On Screen Display Control system. A
short example is given below to familiarize you with the use of the controls.
The following section is an outline of the available adjustments and selections
you can make using the OSD.
To make adjustments in the On Screen Display, follow these steps:
Press the MENU Button, then the main menu of the OSD appears.
To access a control, use the or Buttons. When the icon you want
becomes highlighted, press the SELECT/AUTO Button.
Use the Buttons to adjust the item to the desired level.
Accept the changes by pressing the SELECT/AUTO Button.
Exit the OSD by Pressing the MENU Button.
NOTE
Allow the display to stabilize for at least 30 minutes before making image adjustments.

A8
NOTE
The order of icons may differ depending on the model (A8~A10).
On Screen Display(OSD) Selection and Adjustment
To adjust the brightness and
contrast of the screen
BRIGHTNESS
CONTRAST
COLOR
POSITION
TRACKING
AUDIO
SETUP
Main menu Sub menu Reference
The following table indicates all the On Screen Display control, adjustment,
and setting menus.
PRESET
9300K
6500K
R/G/B(User Color)
To adjust the position of the
screen
To customize the color of the
screen
To customize the screen status
for a user's operating environment
To adjust the audio function.
To improve the clarity and
stability of the screen
: Adjustable
BRIGHTNESS
CONTRAST
V POSITION
H POSITION
CLOCK
PHASE
LANGUAGE
OSD POSITION
FACTORY RESET
VOLUME
TREBLE
BASS
BALANCE

A9
On Screen Display(OSD) Selection and Adjustment
You were introduced to the procedure of selecting and adjusting an item
using the OSD system. Listed below are the icons, icon names, and icon
descriptions of the all items shown on the Menu.
OSD Adjust Description
BRIGHTNESS
To adjust the brightness of the screen.
CONTRAST
To adjust the contrast of the screen.
Vertical Position
To move image up and down.
Horizontal Position
To move image left and right.
To adjust the brightness and contrast of the screen
To adjust the position of the screen
OSD Adjust Description
PRESET
RED
GREEN
BLUE
9300K/6500K
Select the screen color.
• 9300K: Slightly bluish white.
• 6500K: Slightly reddish white.
Set your own color levels.
To customize the color of the screen
OSD Adjust Description
NOTE
OSD (On Screen Display) menu languages on the monitor may differ from the manual.

A10
On Screen Display(OSD) Selection and Adjustment
To improve the clarity and stability of the screen
OSD Adjust Description
To minimize any vertical bars or
stripes visible on the screen
background.The horizontal screen
size will also change.
To adjust the focus of the display.
This item allows you to remove any
horizontal noise and clear or sharpen
the image of characters.
CLOCK
PHASE
To customize the screen status for a user's operating environment
OSD Adjust Description
To choose the language in which the
control names are displayed.
To adjust position of the OSD window
on the screen.
Return to all factory default settings
except "LANGUAGE".
If you don’t want to reset the monitor,
use the button to select NO and
then press the AUTO/SELECT button.
LANGUAGE
OSD POSITION
FACTORY
RESET
To adjust the audio function
OSD Adjust Description
To decrease or increase volume level.
To raises or lowers Treble level.
To raises or lowers Bass level.
To adjust the balance level.
VOLUME
TREBLE
BASS
BALANCE

A11
Troubleshooting
No image appears
Check the following before calling for service.
No image appears
Is the power cord of the
display connected?
Is the power indicator
light on?
Is the power on and the
power indicator green?
Is the power indicator
amber?
Do you see an "INPUT
SIGNAL OUT OF
RANGE" message on
the screen?
Do you see a "NO
SIGNAL "message on
the screen?
Do you see a "CONTROLS LOCKED" message on the screen?
Check and see if the power cord is connected
properly to the power outlet.
Press the Power button.
Adjust the brightness and the contrast.
If the display is in power saving mode, try moving
the mouse or pressing any key on the keyboard
to bring up the screen.
Make sure if the power is on.
Try to turn on the PC.
This message appears when the signal from the
PC (video card) is out of horizontal or vertical
frequency range of the display. See the
'Specifications' section of this manual and
configure your display again.
This message appears when the signal cable
between your PC and your display is not
connected. Check the signal cable and try again.
You can secure the current control settings,
so that they cannot be inadvertently
changed. You can unlock the OSD controls
at any time by pushing the MENU button
and button for 3 seconds: the message
“CONTROLS UNLOCKED” will appear.
Do you see
“CONTROLS LOCKED”
when you push MENU
button?

A12
Troubleshooting
Display image is incorrect
Display Position is
incorrect.
On the screen
background, vertical
bars or stripes are
visible.
Any horizontal noise
appearing in any
image or characters
are not clearly
portrayed.
The screen color is
mono or abnormal.
The screen blinks.
Press the SELECT/AUTO button to automatically
adjust your display image to the ideal setting.
If the results are unsatisfactory, adjust the image
position using the H position and V position icon
in the on screen display.
Check Control Panel --> Display --> Settings and
see if the frequency or the resolution were changed.
If yes, readjust the video card to the recommend
resolution.
Press the SELECT/AUTO button to automatically
adjust your display image to the ideal setting.
If the results are unsatisfactory, decrease the
vertical bars or stripes using the CLOCK icon in the
on screen display.
Press the SELECT/AUTO button to automatically
adjust your display image to the ideal setting.
If the results are unsatisfactory, decrease the
horizontal bars using the PHASE icon in the on
screen display.
Check Control Panel --> Display --> Settings and
adjust the display to the recommended resolution or
adjust the display image to the ideal setting. Set the
color setting higher than 24 bits (true color).
Check if the signal cable is properly connected and
use a screwdriver to fasten if necessary.
Make sure the video card is properly inserted in the
slot.
Set the color setting higher than 24 bits (true color)
at Control Panel - Settings.
Check if the screen is set to interlace mode and if
yes, change it to the recommend resolution.
Make sure the power voltage is high enough, It has
to be higher than AC100-240V 50/60Hz.

A13
Troubleshooting
Have you installed the display driver?
Have you installed the
display driver?
Do you see an
"Unrecognized monitor,
Plug&Play (VESA DDC)
monitor found"
message?
Be sure to install the display driver from the
display driver CD (or diskette) that comes with
your display. Or, you can also download the
driver from our web site: http://www.lge.com.
Make sure to check if the video card supports
Plug&Play function.
Audio function
Check if the audio cable is correctly connected.
Check the volume level.
Adjust the TREBLE to an appropriate level.
Adjust the BASS to an appropriate level.
Check the volume level.
No sound.
Sound is too high
pitched or too low
piched.
Sound level is too low.

A14
Specifications
NOTE
Information in this document is subject to change without notice.
17 inches (43.2cm) Flat Panel Active matrix-TFT LCD
Anti-Glare coating
17 inches viewable
0.26 mm pixel pitch
Horizontal Freq. 30 - 83kHz (Automatic)
Vertical Freq. 56 - 75Hz (Automatic)
Input Form Separate TTL, Positive/Negative
Composite TTL Positive/Negative
SOG (Sync On Green)
Signal Input 15 pin D-Sub Connector
Input Form RGB Analog (0.7Vp-p/75ohm)
Max VESA 1280 x 1024@75Hz
Recommend VESA 1280 x 1024@60Hz
DDC 2B
RMS Audio Output
1W+1W(R+L)
Input Sensitivity
0.7Vrms
Speaker Impedance
16Ω
Normal :
40W
Stand-by/Suspend
≤3W
DPMS Off ≤3W
Width 37.6 cm / 14.80 inches
Height 42.7 cm / 16.81 inches
Depth 22.4 cm / 8.82 inches
Net 8.0 kg (17.64 lbs)
Tilt -5˚~30˚
Swivel 360˚
AC 100-240V 50/60Hz 1.0A
Operating Conditions
Temperature 10˚C to 35 ˚C
Humidity 10 % to 80 % non-Condensing
Storage Conditions
Temperature -20˚C to 60 ˚C
Humidity 5 % to 95 % non-Condensing
Attached( O ), Detached ( )
Attached( ), Detached ( O )
Wall-outlet type or PC-outlet type
TCO99
Display
Sync Input
Video Input
Resolution
Plug&Play
AUDIO
Power
Consumption
Dimensions
&Weight
(with tilt stand)
Tilt Range
Power Input
Environmental
Conditions
Tilt Stand
Signal cable
Power cord
Regulations

A15
Specifications
Preset Modes (Resolution)
Display Modes (Resolution) Horizontal Freq. (kHz) Vertical Freq. (Hz)
1
2
3
4
5
6
7
8
9
10
11
12
13
640 x 350
720 x 400
640 x 480
640 x 480
800 x 600
800 x 600
832 x 624
1024 x 768
1024 x 768
1152 x 870
1152 x 900
1280 x 1024
1280 x 1024
31.469
31.468
31.469
37.500
37.879
46.875
49.725
48.363
60.123
68.681
61.805
63.981
79.976
70
70
60
75
60
75
75
60
75
75
65
60
75
VGA
VGA
VGA
VESA
VESA
VESA
MAC
VESA
VESA
MAC
VESA
VESA
VESA
VESA wall mounting
Connected to another object (stand
type and wall-mounted type. This
monitor accepts a VESA-compliant
mounting interface pad.)
Kensington Security Slot- optional
Connected to a locking
cable that can be purchased
separately at most computer
stores

A16
Making use of USB (Universal Serial Bus)
- Optional
USB (Universal Serial Bus) is an innovation in connecting your different
desktop peripherals conveniently to your computer. By using the USB, you will
be able to connect your mouse, keyboard, and other peripherals to your display
instead of having to connect them to your computer. This will give you greater
flexibility in setting up your system. USB allows you to connect a chain of up to
120 devices on a single USB port; and you can “hot” plug (attach them while
the computer is running) or unplug them while maintaining the Plug and the
Plug auto detection and configuration. This display has an integrated BUS-
powered USB hub, allowing up to 2 other USB devices to be attached it.
USB connection
1. Connect the upstream port of the display to the downstream port of the USB
compliant PC or another hub using the USB cable. (Computer must have a
USB port)
2. Connect the USB compliant peripherals to the downstream ports of the
display.
NOTE
To activate the USB hub function, the display must be connected to a USB compliant PC(OS)
or another hub with the USB cable(enclosed).
When connecting the USB cable, check that the shape of the connector at the cable side
matches the shape at the connecting side.
Even if the display is in a power saving mode, USB compliant devices will function when they
are connected the USB ports(both the upstream and downstream) of the display.
USB downstream Port
connect the cables from USB
compliant peripherals-such as
keyboard, mouse, etc
This is a simplified representation
of rear view.
To USB downstream port of
the USB compliant PC or
another hub cable
USB upstream Port

A17
Making use of USB (Universal Serial Bus)
- Optional
IMPORTANT: These USB connectors are not designed for use with high-power USB devices
such as a video camera, scanner, etc. LGE recommends connecting high-power USB devices
directly to the computer
Rev. 1.1 complied BUS-powered hub
100mA for each (MAX)
12 Mbps (full), 1.5 Mbps (low)
1 Upstream port
2 Downstream ports
USB standard
Downstream power supply
Communication speed
USB port
USB Specifications