LG Electronics USA V134ME Microwave Oven User Manual att00002
LG Electronics USA Microwave Oven att00002
UserManual.wiki
>
LG Electronics USA
>
V134ME User Manual HTML Version
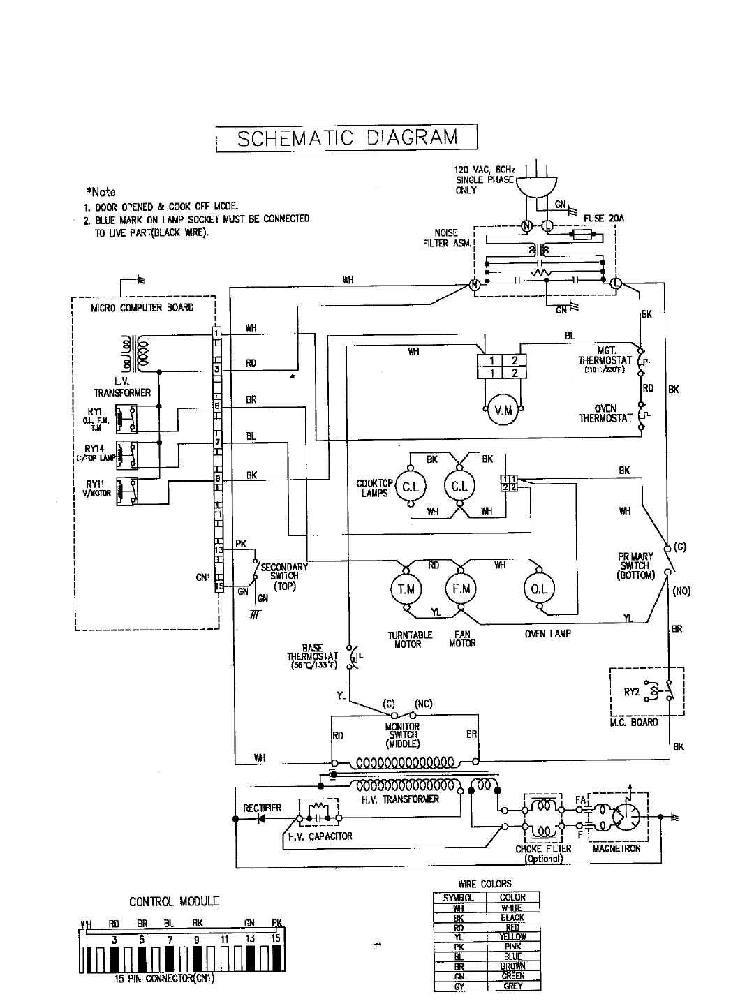
Preliminary Users Manual
PRELIMINARY
FCC ID : BEJV134ME
Navigation menu
Upload a User Manual
Namespaces
Wiki Guide
HTML
PDF
Info
Views
User Manual
Discussion / Help
Navigation