LG Electronics USA V194XH Microwave Oven User Manual 3828W5A2393
LG Electronics USA Microwave Oven 3828W5A2393
Users Manual

Owner's Manual
Contents
Important S afety Instructions
Installation
Features
Operation
Using the Metal Rack
Cooking
Maintenance
R ecommended Utensil
Trouble S hooting
3
6
22
25
36
37
42
44
45
Covering Model MV-194S
Part No.3828W5A2393
Electric Microwave
Keep instructions for future reference.
Be sure manual stays with microwave.

Recognize Safety Symbols, Words, Labels
DANGER
!
DANGERImmediate hazards which WILL result in severe personal
injury or death. WARNING
!
WARNINGHazards or unsafe practices which COULD result in severe
personal injury or death.
CAUTION
!
CAUTIONHazards or unsafe practices which COULD result in minor
personal injury or product or property damage.
What You Need to Know
About Safety Instructions
Warning and Important Safety
Instructions appearing in this manual are
not meant to cover all possible
conditions and situations that may
occur. Common sense, caution, and care
must be exercised when installing,
maintaining, or operating microwave.
Always contact your dealer, distributor,
service agent, or manufacturer about
problems or conditions you do not
understand.
Please take the time to complete the registration card and return promptly.
If the registration card is missing, call Amana Consumer Affairs Department.
When contacting Amana, provide product information from serial plate:
Model Number _______________________________
Manufacturing (P) Number _____________________
Serial Number (S/N) __________________________
Purchase Date ______________________________
Dealer Name ________________________________
Dealer Address ______________________________
Dealer Phone _______________________________
Keep this manual and your sales receipt together in a safe place for
future reference or if warranty service is required.
For answers to questions or to locate an authorized servicer, call
1-800-NAT-LSVC (1-800-628-5782) inside USA or 319-622-5511 outside
USA. Warranty service must be performed by an authorized servicer.
Amana Appliances also recommends contacting an authorized servicer if
service is required after warranty expires.
Asure Extended
Service Plan
Amana Appliances offers long-term
service protection for this new range.
Asure™ Extended Service Plan,
covering functional parts, labor, and
travel charges, is specially designed to
supplement a strong warranty.
Call 1-800-528-2682 for information.
Parts and Accessories
Purchase replacement parts and
additional accessories by phone.
To order accessories for your Amana
product, call
1-800-843-0304 inside USA or
319-622-5511 outside USA.
Save Time and Money
If something seems unusual, please
check “Troubleshooting” section,
which is designed to help you solve
problems before calling service. If you
have a question, call us at
(800) 843-0304 or write us at:
Consumer Affairs Department
Amana Appliances
2800 - 220th Trail
Amana, Iowa 52204
Remember to include model number
of your appliance and your phone
number.
Thank you for buying an Amana Microwave!
Questions on cooking, cleaning or usage?
Refer to
Product Assistance at www.amana.com
or
call Consumer Affairs at 1-800-843-0304
- 2 -

1. Briskly stir or pour liquids before heating with
microwave energy to prevent spontaneous boiling
or eruption. Do not overheat. If air is not mixed
into a liquid, liquid can erupt in oven or after
removal from oven.
2. Do not deep fat fry in oven. Fat could overheat
and be hazardous to handle.
3. Do not cook or reheat eggs in shell or with an
unbroken yolk using microwave energy. Pressure
may build up and erupt. Pierce yolk with fork or
knife before cooking.
4. Pierce skin of potatoes, tomatoes, and similar
foods before cooking with microwave energy.
When skin is pierced, steam escapes evenly.
5. Do not operate equipment without load or food in
oven cavity.
6. Use only popcorn in packages designed and
labeled for microwave use. Popping time varies
depending on oven wattage. Do not continue to
heat after popping has stopped. Popcorn will
scorch or burn. Do not leave oven unattended.
7. Do not use regular cooking thermometers in
oven. Most cooking thermometers contain
mercury and may cause an electrical arc,
malfunction, or damage to oven.
8. Do not heat baby bottles in oven.
9. Do not use metal utensils in oven.
10. Never use paper, plastic, or other combustible
materials that are not intended for cooking.
11. When cooking with paper, plastic, or other
combustible materials, follow manufacturer's
recommendations on product use.
12. Do not use paper towels which contain nylon
or other synthetic fibers. Heated synthetics could
melt and cause paper to ignite.
13. Do not heat sealed containers or plastic bags
in oven. Food or liquid could expand quickly and
cause container or bag to break. Pierce or open
container or bag before heating.
14. To avoid pacemaker malfunction, consult
physician or pacemaker manufacture about
effects of microwave energy on pacemaker.
CAUTION
!
To avoid personal injury or property damage, observe the following:
IMPORTANT SAFETY INFORMATION
SAVE THESE INSTRUCTIONS
PRECAUTIONS TO AVOID POSSIBLE EXPOSURE
TO EXCESSIVE MICROWAVE ENERGY
a. DO NOT attempt to operate this oven with the
door open since open-door operation can result
in harmful exposure to microwave energy. It is
important not to defeat or tamper with safety
interlocks.
b. DO NOT place any object between the oven
front face and the door or allow soil or cleaner
residue to accumulate on sealing surfaces.
c. DO NOT operate oven if it is damaged. It is
particularly important that oven door close
properly and that there is no damage to the:
(1) door (bent), (2) hinges and latches (broken
or loosened), (3) door seals and sealing
surfaces.
d. Oven should NOT be adjusted or repaired by
anyone except properly qualified service
personnel.
- 3 -

IMPORTANT SAFETY INFORMATION
SAVE THESE INSTRUCTIONS
1. READ all instructions before using equipment.
2. READ AND FOLLOW the specific
PRECAUTIONS TO AVOID POSSIBLE
EXPOSURE TO EXCESSIVE MICROWAVE
ENERGY on page 3.
3. This equipment MUST BE GROUNDED. Connect
only to properly GROUNDED outlet. See
GROUNDING INSTRUCTIONS on page 6.
4. Install or locate this equipment ONLY in
accordance with the installation instructions in
this manual.
5. Some products such as whole eggs and sealed
containersfor example, closed glass jarsmay
explode and SHOULD NOT be HEATED in this
oven.
6. Use this equipment ONLY for its intended use as
described in this manual. Do not use corrosive
chemicals or vapors in this equipment. This type
of oven is specifically designed to heat or cook. It
is not designed for industrial or laboratory use.
7. As with any equipment, CLOSE SUPERVISION
is necessary when used by CHILDREN.
8. DO NOT operate this equipment if it has a
damaged cord or plug, if it is not working
properly, or if it has been damaged or dropped.
9. This equipment, including power cord, must be
serviced ONLY by qualified service personnel.
Special tools are required to service equipment.
Contact nearest authorized service facility for
examination, repair, or adjustment.
10. DO NOT cover or block filter or other openings on
equipment.
11. DO NOT store this equipment outdoors. DO NOT
use this product near waterfor example, near a
kitchen sink, in a wet basement, or near a
swimming pool, and the like.
12. DO NOT immerse cord or plug in water.
13. Keep cord AWAY from HEATED surfaces.
14. DO NOT let cord hang over edge of table or counter.
15. See door cleaning instructions in Care and
Cleaning section of manual on page 42.
16. Do not use this oven for commercial purposes. It is
made for household use only.
17. Clean the ventilating hood frequently.
18. Do not allow grease to accumulate on the hood or
filters.
19. Use care when cleaning the venttilating hood filters.
Corrosive cleaning agents such as lye-based oven
cleaners may damage the filters.
20. When flaming foods under the hood, turn the fan on.
21. Suitable for use above both gas and electric cooking
equipment 36 inches or less wide.
WARNING
!
When using electrical equipment, basic safety precautions should be followed to reduce the risk of burns, electrical
shock, fire, or injury to persons.
a. DO NOT overcook food. Carefully attend
equipment if paper, plastic, or other combustible
materials are placed inside the oven to facilitate
cooking.
b. Remove wire twist-ties from paper or plastic
bags before placing bag in oven.
c. KEEP oven DOOR CLOSED, turn oven off, and
disconnect the power cord, or shut off power at
the fuse or circuit breaker panel, if materials
inside the oven should ignite. Fire may spread if
door is opened.
d. DO NOT use the cavity for storage. DO NOT
leave paper products, cooking utensils, or food
in the cavity when not in use.
CAUTION
!
To reduce the risk of fire in the oven cavity:
- 4 -

- 5 -
SAVE THESE INSTRUCTIONS
This equipment generates and uses ISM frequency
energy and if not installed and used properly, that is
in strict accordance with the manufacturer's
instructions, may cause interference to radio and
television reception. It has been type tested and
found to comply with limits for ISM Equipment
pursuant to part 18 of FCC Rules, which are
designed to provide reasonable protection against
such interference in a residential installation.
However, there is no guarantee that interference will
not occur in a particular installation. If this equipment
does cause interference to radio or television
reception, which can be determined by turning the
equipment off and on, the user is encouraged to try
to correct the interference by one or more of the
following:
• Reorient the receiving antenna of the radio or
television.
• Relocate the Microwave Oven with respect to the
receiver.
• Move the microwave oven away from the receiver.
• Plug the microwave oven into a different outlet so
that the microwave oven and the receiver are on
different branch circuits.
The manufacturer is not responsible for any radio or
TV interference caused by unauthorized
modification to this microwave oven. It is the
responsibility of the user to correct such interference.
FEDERAL COMMUNICATIONS COMMISSION RADIO FREQUENCY INTERFERENCE
STATEMENT ( U.S.A. ONLY)
IMPORTANT SAFETY INFORMATION

- 6 -
INSTALLATION

- 7 -
INSTALLATION
Read this entire manual before you begin.
BEFORE YOU START
•Proper installation is the installer's responsibility!
- Write the model & serial numbers on the owner’s manual. The model number label is located on the oven
front. The mounting plate is located on the back side of the microwave oven. See Figure 1.
BE SURE TO READ THE FOLLOWING SAFETY INSTRUCTIONS:
YOUR SAFETY FIRST
Mounting
plate
( Remove from
oven to install. )
Back of oven
Figure 1
To avoid risk of personal injury, electrical shock or death:
• Note where electrical outlets and electrical wires are before you drill into the wall.
• Locate and disconnect power to any electrical circuits that could be affected by installing this oven.
• Microwave must have a dedicated 120V, 60 Hz, AC, 15 or 20A fused electrical supply located in the cabinet
above the microwave, as close as possible to the microwave.
WARNING
To avoid risk of personal injury or property damage, you will need two people to install this microwave oven.
CAUTION

- 8 -
INSTALLATION
•MAKE SURE YOU HAVE ENOUGH SPACE AND SUPPORT.
- Mount the oven against a flat, vertical wall, so it is supported by the wall. The wall should be constructed of
minimum 2" x 4" wood studding and 3/8" thick drywall or plaster/lath.
- ATTACH AT LEAST ONE of the two lag screws supporting the oven to a vertical, 2" x 4" wall stud.
- DO NOT mount the microwave oven to an island or peninsula cabinet.
- BE SURE the upper cabinet and rear wall structures are able to support 150 lbs., plus the weight of any
items you place inside the oven or upper cabinet.
- Locate the oven away from strong draft areas, such as windows, doors, and strong heating vents.
- BE SURE you have enough space. See Figure 3 below for minimum vertical and horizontal clearance.
- This microwave oven can be installed over gas or electric cooking products no more than 36 inches wide.
YOUR SAFETY FIRST
To avoid risk of personal injury, install microwave oven only as instructed.
CAUTION
To avoid risk of personal injury, place a piece of the carton or other heavy material, such as a blanket, over
the countertop or cooktop to protect it. DO NOT use a plastic cover.
CAUTION

THE FOLLOWING PARTS ARE SUPPLIED WITH THE OVEN:
NOTE: Depending on your ventilation requirements, you may not use all of these parts.
NOTE: You need to install at least 2 lag screws into one 2" x 4" stud and four anchor bolts into the wall.
The mounting area must meet the 150 lbs. weight requirement.
- 9 -
Backdraft damper / duct connector
(for roof-venting or wall-venting installation)
Not Actual Size ( 2 pieces must be
assembled as shown )
One power cord clamp and
One dark-colored mounting screw
(to hold the power cord)
Actual Size
Four 1/4" x 2" lag screws - Actual Size
(for wall stud holes)
Two 1/4" x 2" or 3" bolts - Actual Size
(for securing to the upper cabinet)
Four spring toggle heads - Actual Size
(for the toggle bolts)
Two washers - Actual Size
(for the two upper cabinet bolts)
Four 1/4" x 3" toggle bolts - Actual Size
(for drywall holes)
One power cord clamp bushing - Actual Size
(for the cord hole in a metal upper cabinet)
One lock pin and one washer-Not Actual size
INSTALLATION
PARTS, TOOLS, MATERIALS
Two self - tapping screws - Actual Size
(for attaching the damper duct connector)

- 10 -
INSTALLATION
PARTS, TOOLS, MATERIALS
Clear tape
(for taping the templates to the wall)
Stud finder or thin nail.
Saber saw (for cutting vent
holes for roof or wall venting)
Keyhole saw (for the power cord hole)
Electric drill
3/8" and 3/4" wood drill bits
1/2" and 3/16"
drill bits
Phillips screwdriver (for the screws)
Pencil
Flat blade screwdriver (for the toggle bolts)
Measuring tape (metal preferred)
Small side cutters or tin snips Caulking gun
Plumb line
Duct Tape
YOU WILL NEED THE FOLLOWING TOOLS AND MATERIALS FOR THE INSTALLATION:
Carton or other heavy material for covering the counter top.
•If you have brick or masonry walls, you will need special hardware and tools.
•The ductwork you need for the installation is not included. All wall and roof caps must have a back-draft
damper.

- 11 -
INSTALLATION
STEP 1: PREPARE THE ELECTRICAL CONNECTIONS
•DO NOT, UNDER ANY CIRCUMSTANCES, REMOVE THE POWER SUPPLY CORD GROUNDING
PRONG!
This appliance MUST be grounded!
1. Locate the grounded electric outlet for this oven in the cabinet
above the oven, as shown in Figure 4.
NOTE: The outlet should be on a circuit dedicated to the
microwave oven (120V, 60Hz., AC only) with a
15 or 20A fused electrical supply.
IMPORTANT: If you do not have the proper wall outlet, you MUST
have one installed by a qualified electrician.
2. You will cut the power-supply-cord hole (shown in
Figure 4) later when you prepare the wall and upper cabinet in
Step 4.
NOTE: Do not use an extension cord.
Keep the power cord dry and do not pinch or crush it.
Grounded Outlet
( Inside Cabinet )
Upper
Cabinet
Power-Supply-Cord Hole
Figure 4
WARNING
To avoid risk of personal injury, electrical shock or death, this oven must be grounded.
WARNING

- 12 -
INSTALLATION
STEP 2: PREPARE THE VENTING SYSTEM
NOTE: The ductwork you need for outside ventilation is not included with your oven. The standard ductwork
fittings and length are shown in Figure 9.
You may vent your oven in one of three ways. However, do NOT vent into a wall cavity, an attic, or an unused area.
Roof-venting If your oven is located on an outside wall near the roof, as in Figures 6 (31/4" x 10" duct) and
Figure 8 (6" round duct.)
Wall-venting If your oven is located on an outside wall of your house, as in Figure 5 (31/4" x 10" duct) and
Figure 8 (6" round duct.)
Room-venting If your oven is located on an inside wall of your house, as in Figure 7.
NOTE: If you choose the rear exhaust method (roof-or wall-venting), be sure there is enough clearance within
the wall for the exhaust duct.
REMEMBER AS YOU INSTALL THE
VENTING:
•Keep the length of the ductwork and the
number of elbows to a minimum to
ventilate your oven efficiently.
See examples on next page.
•Keep the size of the ductwork the same.
•Do not install two elbows together.
•Use duct tape to seal all joints in the duct
system.
•Use caulking gun to seal the exterior wall
or roof opening around the cap.
Wall Venting
Wall venting
through-the-wall
wall cap
3 1/4"x10"
duct
Figure 5
cabinet
oven
Roof Venting
through-the-roof
3 1/4"x10"
duct
Figure 6
roof cap
Roof venting
cabinet
oven
6" min.
diameter
round duct
3 1/4" to round
duct transition
3 1/4" to round
ductwork transition
Figure 8
roof cap
wall cap
elbow
Room Venting
Figure 7
cabinet
oven
To avoid risk of personal injury, property damage, or fire this microwave oven must be properly vented.
WARNING

- 13 -
INSTALLATION
STEP 2: PREPARE THE VENTING SYSTEM
STANDARD FITTINGS
NOTE: If the existing duct is round, you must use a rectangular-to-round adapter, with a rectangular 3"
extension duct installed between the damper assembly and the adapter to prevent the exhaust
damper’s sticking.
DUCT LENGTH
The total length of the duct system, including straight duct, elbows, transitions, and wall or roof caps must not
exceed the equivalent of 140 feet.
For best performance, do not use more than three 90 degree elbows, and keep length as short as possible.
Below are the standard fittings and their equivalent length in feet.
To calculate the equivalent length of each ductpiece used, see the examples below.
Figure 9
1
4567
23
3 1/4"x10"
to 6"=5ft.
90˚ elbow
=10ft.
45˚ elbow
=5ft.
3 1/4"x10"
wall cap
=40ft.
3 1/4"x10"
flat elbow
=10ft.
3 1/4"x10" roof
cap=24ft.
3 1/4"x10" 90˚
elbow=25ft.
Examples
For 3 1/4"x10" SYSTEMS
1-3 1/4" x 10" 90˚ elbow
1-Wall Cap
8 feet straight duct
TOTAL LENGTH
1-transition
2-90˚ elbows
1-Wall Cap
8 feet straight
TOTAL LENGTH
For 6" ROUND SYSTEMS
6ft.
2ft. 2ft.
3 1/4"x10"
90˚ elbow wall cap
6ft.
90˚ elbows
transition
wall cap
= 25 ft.
= 40 ft.
= 8 ft.
= 73 ft.
= 5 ft.
= 20 ft.
= 40 ft.
= 8 ft.
= 73 ft.

- 14 -
INSTALLATION
back plate
Damper
Exhaust
adaptor
blower plate
mounting screw
blower unit
Parts "B"
back plate
blower plate
blower unit
mounting screw

- 15 -
INSTALLATION
blower unit
exhaust ports
blower plate
mounting screw
blower unit
blower plate
back plate
blower unit
mounting screw
blower plate
mounting screw
blower unit
Parts "B"
back plate
blower plate
blower unit
mounting screw
blower unit
back plate
Parts "B"
blower plate
mounting screw
blower plate
blower unit
mounting screw

- 16 -
INSTALLATION
STEP 4: PREPARE THE WALL AND UPPER CABINET FOR INSTALLATION
MEASURE AND TACK / TAPE UP THE TEMPLATES
1. Using a plumb line and (metal) measuring tape, find and mark the
vertical center line on the back wall, as in Figure 22.
2. Find and mark one or two points where the studs are on the wall.
(Studs are normally 16 inches apart)
Then measure and mark the stud locations.
If you cannot find any wall stud, consult a local building contractor.
3. Line up the plumb line on the wall with the center line on the
mounting plate.
NOTE: Be sure the minimum width is 30 inches and the distance
from the top of the wall template to the range or counter top
is at least 30 inches.
See Figure 22.
4. Center mounting plate in operating by lining up the plumb line on
wall with centerline on mounting plate. Make sure the minimum
width is 30 inches and that the top of the mounting plate is located
a minimum of 30 inches above the cooking surface.
See Figure 23.
NOTE: If the cabinets are not plumb, adjust the mounting plate to
the cabinets.
If the front edge of the cabinet is lower than the back edge,
adjust the mounting plate to be level with the cabinet front.
5. Measure the bottom of the upper cabinet frame. Trim the edges
A, B and Con the upper cabinet template so that the template will
fit on the bottom of the upper cabinet. If upper cabinet has a
recessed frame, trim the template so it fits inside the recessed
area. Align the centerline of the upper cabinet template with the
centerline of the mounting plate, then securely tape or tack the
upper cabinet template in place.
See Figure 23.
Figure 22
Figure 23
upper cabinet template
mounting plate
To avoid personal injury or property damage, do not ateempt to install this microwave oven if you cannot find a
wall stud.
CAUTION

- 17 -
INSTALLATION
STEP 4: PREPARE THE WALL AND UPPER CABINET FOR INSTALLATION
DRILL THE HOLES IN THE WALL AND UPPER CABINET.
1. Find the points on the mounting plate labeled A, B, C, and D.
Drill a 3/16" diameter hole at any points that are over a wall
stud. Drill a 3/4" diameter hole at any points over drywall.
2. Drill a 3/8" hole at points J, K, and Non the upper cabinet
template.
NOTE: If the bottom of the upper cabinet is recessed 3/4" or
more, you will need 2"x2" filler blocks (not included) to
provide additional support for the bolts. See Figure 24.
• Mark the center of each filler block and drill a 3/8"
diameter hole at the marks.
• Align filler blocks over the two openings in the top of
the microwave oven cabinet and attach to cabinet with
masking tape. See Figure 25.
3. Cut or drill a 2" diameter hole at the area marked M.
Power supply cord hole on the upper cabinet template. If the
upper cabinet is metal, you will need to cover the edge of the
hole with the power supply cord bushing (supplied) to prevent
damage to the cord from the rough metal edge.
4. Cut out the venting areas (with the saber saw):
• Roof-Vented: cut out the shaded area marked Lon the upper
cabinet template.
• Room-Vented: go to STEP 5, INSTALL THE MOUNTING
PLATE, located on page 18.
5. Complete whichever venting system you have chosen.
Use caulking compound to seal the exterior wall or roof opening
around the wall cap or roof cap.
Figure 24
Figure 25
cabinet front filler block cabinet
bottom shelf
filler
block
To avoid risk of personal injury, electrical shock or death:
• Note where electrical outlets and electrical wires are before you drill into the wall.
• Locate and disconnect power to any electrical circuits that could be affected by installing this oven.
WARNING
To avoid risk of personal injury, electrical shock or death, cover the edge of the power supply cord hole with
the power supply cord bushing.
WARNING

- 18 -
INSTALLATION
STEP 5: INSTALL THE MOUNTING PLATE
THE OVEN MUST BE CONNECTED TO AT LEAST ONE
WALL STUD.
1. Draw a vertical line on the wall at the center of the 30″
wide space. Use the mounting plate as the template for
the rear wall. Place the mounting plate on the wall,
making sure that the tabs are against the bottom of the
cabinet. Line up the notch and center line on the
mounting plate to the center line on the wall.
2. While holding the mounting plate with one hand, draw
circles on the wall at holes A, B, C and D. Four holes
must be used for mounting. If the holes are not used, the
installation will not be secure. Installer must use these
holes for proper installation. Use toggle bolts through
these holes unless one of them lines up with a stud. Use
a wood screw for studs.
NOTE: Draw a fifth circle inside area E, through one of
the bottom holes to match the location of a stud.
For wall-vented: The oven requires a rear wall cutout
opening for the rear wall duct and the exhaust adaptor
must be attached to the mounting plate. See the next page
on how to prepare the rear wall cutout opening and the
exhaust adaptor/mounting plate for wall-vented.
3. Drill holes on the circles. If there is a stud, drill a 3 / 16″
hole for lag screws. If there is no stud, drill a 5 / 8″hole
for toggle bolts. Make sure to use at least 1 lag screw in
a stud, and 4 toggle bolts in the drywall or the plaster.
4. Attach the plate to the wall. To use spring toggle head
bolts: Remove the toggle wings from the bolts. Insert the
bolts into the mounting plate and replace the spring
toggle head to 3 / 4″past the bolt ends. Insert the spring
toggle head into the holes in the wall to mount the
bracket. You may pull forward on the bracket to help in
tightening the toggle bolts. Tighten all bolts.
Wall
Mounting
Plate
Space More Than W all Thickness
Bolt
End
Toggle Bolt
Toggle Wings
Figure 27
Center Line
A
C
B
3/16" Hole on Studs
5/8" Hole on Drywall Only
Draw
Center Line
Draw Lines
on Studs
For Wall-
Vented Only
Minimum 66
"
From the Floor
Support Tab Support Tab
E
Mounting
Plate
Figure 26
D

- 19 -
INSTALLATION
STEP 5: INSTALL THE MOUNTING PLATE
TO PREPARE THE REAR WALL CUTOUT OPENING
AND EXHAUST ADAPTOR/MOUNTING PLATE FOR
WALL-VENTED:
1. Place the mounting plate against the rear wall as
described in step 5 item 1.
2. Using a pencil, put dots through slots F and G, and
through holes H and I. Remove the mounting plate and
draw lines extending through the points. This will give
the location and size of the box cutout for the rear wall
duct.
• Attach the exhaust adaptor to the rear mounting plate by
sliding it into the guides at the top center of the plate on
the wall side. Push in securely until it is past the top
locking tabs and in the lower locking tabs. Take care to
assure the damper hinge is installed so that it is at the top
and that the damper swings freely.
• Carefully guide the exhaust adaptor, now attached to the
mounting plate, into the house duct, before using the
screws to attach the plate to the wall. This will assure
proper alignment for installation.
• Return to step 5, item 3 to continue. After completing the
installation of the mounting plate, again check the rear
damper for free movement to assure it will operate
properly.
F
I
H
G
Slide exhaust
adaptor into
guides on
rear panel.
Exhaust Adaptor Damper
(hinge side up)
Locking
Tabs Guides
Mounting Plate
(wall side)
Figure 28
Figure 29

- 20 -
INSTALLATION
STEP 6: ATTACH THE OVEN TO THE WALL
1. Carefully lift microwave oven and hang it on support tabs
(See Figure 26 at the bottom of the mounting plate.) Reaching
through upper cabinet, thread power supply cord through the
power supply cord hole in the bottom of the upper cabinet. See
Figure 30.
2. Rotate the microwave oven upward so the top of oven is against
the bottom of the upper cabinet or cabinet frame.
3. Drop the lock pin and washer assembly into hole N(left side
hole) and push the pin down as far as it will go.
See Figure 31.
4. Place washers over two 1/4"x3" bolts. Then insert a bolt down
through each hole in the upper cabinet bottom.
Tighten the bolts until the gap between the upper cabinet and
microwave oven is closed. See Figure 32.
5. Remove the lock pin and washer.
If wall-vented or room-vented installation is used, skip to
No. 6, 7.
Figure 30
Figure 32
washer
Figure 31
lock pin
power cord
power cord
hole
To avoid risk of personal injury or property damage, you will need two people to install this microwave oven.
CAUTION

- 21 -
INSTALLATION
STEP 6: ATTACH THE OVEN TO THE WALL
6. Roof venting installation: Install ductwork through the vent
opening in the upper cabinet. Complete the venting system
through the roof according to the method needed.
See Figure 34. See PREPARE THE VENTING SYSTEM,
STEP 2. Use caulking gun to seal the exterior roof opening
around the exhaust cap.
See Figure 6.
7. Use the power supply cord clamp to bundle the power supply
cord. Install the power supply cord clamp, using a screw as
shown in Figure 34, to inside of the cabinet.
8. Grasp filter screen with one hand holding the ring and the other
hand holding the opposite end. Insert the end of the filter screen
without ring into the opening and slide towards the side of the
microwave oven. Insert ring end of filter screen into the opening
and slide entire screen towards the center of the microwave
until screen is securely in position. Repeat for other filter screen.
See Figure 35.
9. Plug in the power supply cord.
10. Read your Owner’s Manual, then check the operation of your
microwave oven.
Figure 33
Figure 34
Figure 35
damper
duct power
supply
cord
clamp

- 22 -
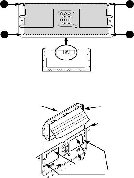
MICROWAVE OVEN FEATURES
OVEN SPECIFICATIONS
Door Handle
Window with
Metal Shield
Oven Control
Panel
Cooktop/Countertop Light
Grease Filter
Door Safety
Lock System
Model and Serial
Number Plate
Cooking Guide
Vent Grille
Metal Rack
Glass Turntable
FEATURES
Power Supply 120 VAC, 60 Hz
Input Power 1,550 W
Cooking Power 1,000 W (IEC 705 Standard)
Frequency 2,450 MHz
Rated Current 13.5 A
Outer Dimensions (WxHxD) 29-15/16”x 16-7/16”x 15-5/8”
Cavity Volume 1.8 Cu. Ft
Net Weight 54 lbs

- 23 -
OVEN CONTROL PANEL
FEATURES
- 24 -
FEATURES
1. DISPLAY: The display includes a clock and
indicators to tell you time of day, cooking time
settings, and cooking functions selected.
2. POPCORN: Touch this pad when popping popcorn
in your microwave oven. See page 30 for more
information.
3. BAKED POTATO: Touch this pad to cook from 1 to
4 potatoes. See page 30 for more information.
4. BEVERAGE: Touch this pad to reheat one or two
cups of a beverage. See page 30 for more
information.
5. AUTO COOK: Touch this pad to cook vegetables,
rice, casseroles. See page 30 for more information.
6. PIZZA SLICE: Touch this pad to reheat 1 to 3
slices. See page 30 for more information.
7. AUTO REHEAT: Touch this pad to reheat dinner
plate, soup/sauce, casseroles, roll/muffin.
See page 32 for more information.
8. CUSTOM RECIPE: Touch this pad to recall one
cooking instruction previously programmed into
memory. See page 27 for more information.
9. ADD 30 SEC.: Touch this pad to set and start
quickly at 100% power level. See page 27 for more
information.
10. AUTO DEFROST: Meat, poultry, fish. Touch on
pad to select food type and defrost food by weight.
See page 33 for more information.
11. TIME DEFROST: Touch this pad to defrost most
other frozen foods.
See page 36 for more information.
12. RAPID DEFROST 1lb.: This pad provides you
with the RAPID defrosting method for 1.0 pounds
frozen foods.
See page 36 for more information.
13. NUMBER: Touch number pads to enter cooking
time, power level, quantities, or weights.
14. KITCHEN TIMER: Touch this pad to set the
kitchen timer. See page 25 for more information.
15. CLOCK: Touch this pad to enter the time of day.
See page 25 for more information.
16. LIGHT TIMER: Touch this pad to set the light
timer. See page 26 for more information.
17. MORE: Touch this pad to add ten seconds of
cooking time each time you press it. See page 27
for more information.
18. LESS: Touch this pad to subtract ten seconds of
cooking time each time you press it. See page 27
for more information.
19. HELP: Touch this pad to learn how to use each
oven function.See page 25 for more information.
20. STOP/CLEAR: Touch this pad to stop the oven or
to clear all entries.
21. START: Touch this pad to start a function. If you
open the door after oven begins to cook, START
again.
22. POWER LEVEL: Touch this pad to select a
cooking power level.
23. CUSTOM PROGRAMS: Touch this pad to set a
cooking time.
24. HOLD WARM: Touch this pad to keep hot,
cooked foods warm in your microwave oven for up
to 99 minutes 99 seconds. See page 27 for more
information.
25. OPTIONS: Touch this pad to change the oven’s
default settings for sound, clock, display speed
and defrost weight. See page 25 for more
information.
26. TURNTABLE ON/OFF: Touch this pad to turn off
the turntable. OFF will appear in the display.
See page 26 for more information.
27. FAN HI LOW OFF: Touch this pad to turn the fan
on or off. See page 26 for more information.
28. LIGHT HI LOW OFF: Touch this pad to turn on
the cooktop/countertop light. See page 26 for
more information.

- 25 -
LEARN ABOUT YOUR MICROWAVE OVEN
This section discusses the concepts behind microwave cooking and introduces you to the basics you need to
know to operate your microwave oven. Please read this information before use.
CLOCK
This oven includes a 24-hour clock.
OPERATION
1. Touch CLOCK pad.
(Press once for AM,
twice for PM.)
2. Enter the time by using the
number key pad.
3. Touch CLOCK (or START)
pad.
Example: To set 8:00 AM.
1. Touch HELP pad.
2. Touch POPCORN pad.
Example: To learn about POPCORN.
HELP
The HELP pad displays feature information and
helpful hints. Press HELP, then select a key pad.
1. Touch KITCHEN TIMER
pad.
2. Enter the time by using the
number key pad.
3. Touch START pad.
When the time is over, you
will hear seven beeps and
END will display.
Example: To time 3 minutes.
KITCHEN TIMER
You can use your microwave oven as a timer. Use
the Timer for timing up to 99 minutes, 99 seconds.
OPTIONS
You can change the default values for beep sound,
clock, display speed and defrost weight.
See following chart for more information.
NUMBER FUNCTION NUMBER RESULT
1
2
1
2
1
2
3
1
2
Beep ON/OFF
control
Clock display
control
Display
Defrost weight
mode select
Sound ON
Sound OFF
Clock ON
Clock OFF
Slow speed
Normal speed
Fast speed
Lbs.
Kg.
1
2
3
4
1. Touch OPTIONS pad.
2. Touch number 4pad.
3. Touch number 2 pad.
Example: To change defrost weight mode.
(from Lbs. to Kg.)
To avoid risk of personal injury
or property damage, do not use
stoneware, aluminum foil, metal utensils,
or metal trimmed utensils in the oven.
CAUTION
To avoid risk of personal injury
or property damage, do not run oven empty.
CAUTION

- 26 -
OPERATION
TURNTABLE ON/OFF
For best cooking results, leave the
turntable on. It can be turned off for
large dishes. Press TURNTABLE
ON/OFF
to turn the turntable on or off.
NOTE: • Sometimes the turntable can become hot
to touch. Be careful touching the turntable
during and after cooking.
NOTE: • Do not run the oven empty.
FAN HI LOW OFF
The FAN moves steam and other
vapors from the cooking surface.
Touch FAN once for High fan speed,
twice for Low fan speed, or three
times to turn the fan off.
NOTE: If the temperature gets too hot around the
microwave oven, the fan in the vent hood will
automatically turn on at the LOW setting to cool the
oven. It may stay on up to an hour to cool the oven.
When this occurs, You can not turn the vent fan off.
CHILD LOCK
You may lock the control panel to prevent the
microwave from being accidentally started or used by
children.
The Child Lock feature is also useful when cleaning
the control panel. Child Lock prevents accidental
programming when wiping the control panel.
1. Touch STOP/CLEAR pad.
2. Touch and hold 0 pad more
than 4 seconds. LOCKED
will appear in the display
window with two beeps.
Example: To set the child lock.
1. Touch and hold 0 pad more
than 4 seconds. LOCKED
will disappear and you hear
two beeps. At this time the
oven is ready.
Example: To cancel the child lock.
LIGHT HI LOW OFF
Touch LIGHT pad once for bright
light, twice for night light, or three
times to turn the light off.
LIGHT TIMER
You can set the
LIGHT
to turn on and off automatically
at any time you want. The light comes on at the same
time every day until reset.
1. Touch LIGHT TIMER pad.
(Press once for AM,
twice for PM.)
2. Enter the time you want
the LIGHT to turn on.
3. Touch LIGHT TIMER pad
again.
(Press once for AM,
twice for PM.)
4. Enter the time you want
the LIGHT to turn off.
5. Touch START pad.
Example: Turn on 2:00 AM, turn off 7:00 AM.
1. Touch LIGHT TIMER pad.
2. Touch STOP/CLEAR pad.
NOTE: To reset that time to turn on and off the
LIGHT, repeat steps 1 to 5.
Example: To cancel the LIGHT TIMER.
NOTE: If you want to cancel the LIGHT TIMER in
operation, you should touch key.

- 27 -
OPERATION
ADD 30 SEC.
A time-saving pad, this simplified control lets you
quickly set and start microwave cooking without the
need to touch START pad.
NOTE:
If you touch ADD 30 SEC., it will add 30 seconds up
to 3 minutes; after 3 minutes, every touch will add 1
minute up to 99 min 59 seconds.
HOLD WARM
You can keep cooked food warm in your microwave
oven for up to 99 minutes 99 seconds. You can use
HOLD WARM by itself or to follow a cooking cycle
automatically.
1. Touch HOLD WARM pad.
2. Touch START pad.
Example: To use the hold warm.
CUSTOM RECIPE
CUSTOM RECIPE lets you recall one cooking
instruction previously placed in memory and begin
cooking quickly.
1. Touch CUSTOM RECIPE
pad.
2. Enter the cook time.
3. Touch START pad.
Example: To cook for 2 minutes.
1. Touch CUSTOM RECIPE
pad.
2. Touch START pad.
When the cook time is over,
you will hear four beeps and
END will display.
Example: To recall the custom recipe.
MORE/LESS
By using the MORE or LESS keys, all of the pre-
programmed cook and time cook features can be
adjusted to cook food for a longer or shorter time.
Pressing MORE will add 10 seconds of cooking time
each time you press it. Pressing LESS will subtract 10
seconds of cooking time each time you press it.
1. Touch POPCORN pad.
2. Touch number 1 pad.
3. Touch MORE pad.
Example: To adjust the 1.75 oz POPCORN cooking
time for a longer time.
NOTES:
• HOLD WARM operates for up to 99 minutes 99
seconds.
• Food cooked covered should be covered during
HOLD WARM.
• Pastry items (pies, turnovers, etc.) should be
uncovered during HOLD WARM.
• Complete meals kept warm on a dinner plate could
be covered during HOLD WARM.
To make HOLD WARM automatically follow
another cycle:
• While you are programming the cooking
instructions, touch HOLD WARM before touching
START.
• When the last cooking cycle is over, you will hear
two tones and “WARM” will appear in the oven
display.
• You can set HOLD WARM to follow AUTO
DEFROST, or multi-cycle cooking.
1. Touch ADD 30 SEC. pad
4 times.
The oven begins cooking
and display shows time
counting down.
Example: To set ADD 30 SEC. for 2 minutes.

- 28 -
OPERATION
COOKING AT HIGH COOK POWER
1. Enter the cook time.
2. Touch START pad.
When the cook time is over,
you will hear four beeps and
END will display.
Example: To cook food for 8 minutes 30 seconds.
COOKING WITH MORE THAN ONE
COOK CYCLE
For best results, some recipes call for one Power
Level for a certain length of time, and another Power
Level for another length of time. Your oven can be set
to change from one to another automatically, for up to
three cycles if the first heating cycle is defrost or the
last at 0% power.
1. Enter the cook time.
2. Touch POWER LEVEL pad.
3. Enter the power level.
4. Touch START pad.
When the cook time is over,
you will hear four beeps and
END will display.
Example: To cook food for 7 minutes 30 seconds
at 70% power.
COOKING AT LOWER POWER LEVELS
HIGH power cooking does not always give you the
best results with foods that need slower cooking,
such as roasts, baked goods, or custards. Your oven
has10 power settings in addition to HIGH.
1. Enter the first cook time.
2. Touch CUSTOM
PROGRAMS pad.
3. Enter the second cook time.
4. Touch POWER LEVEL pad.
5. Enter the power level.
6. Touch START pad.
When the cook time is over,
you will hear four beeps
and END will display.
Example:
To cook food for 3 minutes at 100% power and
then 70% power for 7 minutes 30 seconds.

- 29 -
OPERATION
POWER LEVEL MICROWAVE OUTPUT USE
• Boil water.
• Cook ground beef.
• Make candy.
• Cook fresh fruits and vegetables.
• Cook fish and poultry.
• Preheat browning dish.
• Reheat meat slices quickly.
• Saute onions, celery, and green pepper.
• All reheating.
• Cook scrambled eggs.
• Cook breads and cereal products.
• Cook cheese dishes, veal.
• Cook cakes, muffins, brownies, cupcakes.
• Cook pasta.
• Cook meats, whole poultry.
• Cook custard.
• Cook whole chicken, turkey, spare ribs, rib
roast, sirloin roast.
• Cook less tender cuts of meat.
• Reheat frozen convenience foods.
• Thawing meat, poultry, and seafood.
• Cooking small quantities of food.
• Finish cooking casserole, stew, and some
sauces.
• Soften butter and cream cheese.
• Heating small amounts of food.
• Soften ice cream.
• Raise yeast dough.
• Standing time.
10
HIGH
9
8
7
6
5
4
3
2
1
0
100%
90%
80%
70%
60%
50%
40%
30%
20%
10%
COOKING GUIDE FOR LOWER POWER LEVELS
The 10 power levels in addition to HIGH allow you to
choose the best power level for the food you are
cooking. Below are listed all the power levels,
examples of foods best cooked at each level, and the
amount of microwave power you are using.

- 30 -
OPERATION
1. Touch PIZZA SLICE pad.
2. Touch number 1 pad.
When the cook time is over,
you will hear four beeps and
END will display.
Example: To reheat 1 slice pizza.
1. Touch AUTO COOK pad.
2. Choose food category.
3. Enter quantity/servings.
When the cook time is over,
you will hear four beeps and
END will display.
Example: To cook 2 cups of Rice.
AUTO COOK
AUTO COOK provides four preset categories for cooking
.
Category Touch pad
number
1
2
3
4
BAKED POTATO
BAKED POTATO lets you cook potatoes with preset times
and cook powers. You can choose from 1 to 4 potatoes.
NOTE:
• Cooking times are based on an average 9 ~ 11 oz.
ounce potato per each.
• Before baking, pierce potato with fork several times.
• After baking, let stand for 5 minutes.
1. Touch BAKED POTATO pad.
2. Touch number 2 pad.
When the cook time is over,
you will hear four beeps and
END will display.
POPCORN
POPCORN lets you pop 1.75, 3.0, and 3.5 ounce
bags of commercially packaged microwave popcorn.
Pop only one package at a time. If you are using a
microwave popcorn popper, follow manufacturer’s
instructions.To set your microwave oven correctly,
follow this chart:
1. Touch POPCORN pad.
2. Touch number 2pad.
When the cook time is over.
you will hear four beeps and
END will display.
Example: To pop a 3.0 oz. bag.
Bag Size-ounces 1.75 3.0 3.5
Touch NUMBER 1 2 3
PIZZA SLICE
PIZZA lets you reheat up to 3 slices refrigerated
pizza. A slice is based on a 5 ounce slice.
1. Touch BEVERAGE pad.
2. Touch number 1 pad.
When the cook time is over,
you will hear four beeps and
END will display.
Example: To reheat one 8 oz. beverage.
BEVERAGE
BEVERAGE lets you heat up to 2 beverages.
NOTE:
• Reheat times based on an 8 ounce cup.
•
Beverage may be very hot; remove from oven with care.
Example: To cook 2 Potatoes.
Fresh
vegetable
Frozen
vegetable
Rice
Casserole
Category Number of
cups
1 - 4 cups
1 - 4 cups
1 - 2 cups
1 - 4 cups
Fresh
vegetable
Frozen
vegetable
Rice
Casserole

- 31 -
OPERATION
COOKING GUIDE FOR AUTO COOK
CATEGORY
CODE QUANTITY
DIRECTIONS
FRESH
VEGETABLE
FROZEN
VEGETABLE
RICE
CASSEROLE
1
2
3
4
Place in a microwavable bowl or casserole.
Add water according to the quantity.
Cover with plastic wrap and vent.
Let stand for 5 minutes.
1 cup
Vegetables and
2 tbsp water
2 cups
Vegetables and
2 tbsp water
3 cups
Vegetables and
4 tbsp water
4 cups
Vegetables and
4 tbsp water
Place in a microwavable bowl or casserole.
Add water according to the quantity.
Cover with plastic wrap and vent.
Let stand for 5 minutes.
1 cup
2 cups
3 cups
4 cups
In large microwavable casserole, combine
water, rice, margarine and salt. Cover with
microwavable lid or plastic wrap and vent.
After cooking, let stand covered for 5
minutes.
1 cup
of long grain rice and
2 1/4 cups of water
2 cups
of long grain rice and
4 1/2 cups of water
Place in a microwavable bowl or casserole.
Cover with plastic wrap and vent.
1 cup
Vegetables and
2 tbsp water
2 cups
Vegetables and
2 tbsp water
3 cups
Vegetables and
4 tbsp water
4 cups
Vegetables and
4 tbsp water

- 32 -
OPERATION
1. Touch AUTO REHEAT pad.
2. Choose food category.
3. Enter quantity/servings.
When the cook time is over,
you will hear four beeps and
END will display.
Example: To reheat 2 servings of Dinner plate.
Category
Dinner plate
Soup/sauce
Casserole
Roll/Muffin
Touch pad
number
1
2
3
4
Category
Dinner plate
Soup/sauce
Casserole
Roll/Muffin
Number of
cups/Items
1 - 2 servings
1 - 4 cups
1 - 4 cups
1 - 4 pieces
AUTO REHEAT
AUTO REHEAT provides four preset categories for reheating.
COOKING GUIDE FOR AUTO REHEAT
CATEGORYCODE
1
2
3
4
DINNER PLATE
SOUP/SAUCE
CASSEROLE
ROLL/MUFFIN
Place on a low plate.
Cover with vented plastic wrap.
Place in shallow microwavable casserole.
Cover with vented plastic wrap.
Place in a microwavable bowl or casserole.
Cover with plastic wrap.
Place on paper towel.
Do not cover.
1 serving
2 servings
1 cup
2 cups
3 cups
4 cups
1 cup
2 cups
3 cups
4 cups
1 piece
2 pieces
3 pieces
4 pieces
SERVING AMOUNT DIRECTION

- 33 -
OPERATION
WEIGHT CONVERSION CHART
To enter food weight in AUTO DEFROST, you must
specify pounds and tenths of a pound. If the weight
on the food package is in fractions of a pound, you
can use the following chart to convert the weight to
decimals.
DEFROSTING TIPS
• When using AUTO DEFROST, the weight to be
entered is the net weight in pounds and tenths of
pounds
(the weight of the food minus the container)
.
• Use AUTO DEFROST only for raw food. AUTO
DEFROST gives best results when food to be
thawed is a minimum of 0°F (taken directly from a
true freezer). If food has been stored in a
refrigerator-freezer that does not maintain a
temperature of 5°F or below, always program a
lower food weight (for a shorter defrosting time)
to prevent cooking the food.
• If the food is stored outside the freezer for up to
20 minutes, enter a lower food weight.
• The shape of the package alters the defrosting
time. Shallow rectangular packets defrost more
quickly than a deep block.
• Separate pieces as they begin to defrost.
Separated pieces defrost more easily.
• You can use small pieces of aluminum foil to
shield foods like chicken wings, leg tips, and fish
tails, but the foil must not touch the side of the
oven. Foil causes arcing, which can damage the
oven lining.
• Shield areas of food with small pieces of foil if
they start to become warm.
• For better results, a preset standing time is
included in the defrosting time.
NUMBER AFTER DECIMAL
EQUIVALENT
OUNCE WEIGHT
.10
.20
.25
.30
.40
.50
.60
.70
.75
.80
.90
1.00
1.6
3.2
4.0
4.8
6.4
8.0
9.6
11.2
12.0
12.8
14.4
16.0
One-Quarter Pound
One- Half Pound
Three-Quarters Pound
One Pound
AUTO DEFROST
Your microwave oven is preset with three defrost
sequences. Using AUTO DEFROST is the best way
to defrost frozen foods. The Auto Defrost Sequence
Table below provides some basic guidelines for using
the three defrost sequences.
1. Touch AUTO DEFROST
pad.
2. Choose food category.
Category
Meat
Poultry
Fish
Touch pad
number
1
2
3
3. Enter the weight.
4. Touch START pad.
5. Close the door and restart.
When the defrost time is over,
you will hear four beeps and
END will display.
NOTE: If you do not open the
door, the display will
resume the countdown.
NOTE: When you touch the START pad. The
display changes to defrost time count down.
The oven will beep during the DEFROST
cycle. At beep, open the door and turn food
over, separate or rearrange the food.
Remove any portions that have thawed.
The oven will not STOP during the beep
unless the door is opened.
Example: To defrost 1.2 lbs. of ground beef.

- 34 -
OPERATION
FOOD AT BEEP
SETTING
SPECIAL INSTRUCTIONS
BEEF
Ground Beef,
Bulk
Ground Beef,
Patties
Round Steak
Tenderloin
Steak
Stew Beef
Pot Roast,
Chuck Roast
Rib Roast
Rolled Rump
Roast
LAMB
Cubes for
Stew
Chops
(1 inch thick)
PORK
Chops
(1/2 inch thick)
Hot Dogs
Spareribs
Country-style
Ribs
Sausage,
Links
Sausage,
Bulk
Loin Roast,
Boneless
MEAT
MEAT
MEAT
MEAT
MEAT
MEAT
MEAT
MEAT
MEAT
MEAT
MEAT
MEAT
MEAT
MEAT
MEAT
MEAT
Remove thawed portions with
fork. Turn over. Return
remainder to oven.
Separate and rearrange.
Turn over. Cover warm areas
with aluminum foil.
Turn over. Cover warm areas
with aluminum foil.
Remove thawed portions with
fork. Separate remainder.
Return remainder to oven.
Turn over. Cover warm areas
with aluminum foil.
Turn over. Cover warm areas
with aluminum foil.
Turn over. Cover warm areas
with aluminum foil.
Remove thawed portions with
fork. Return remainder to
oven.
Separate and rearrange.
Separate and rearrange.
Separate and rearrange.
Turn over. Cover warm areas
with aluminum foil.
Separate and rearrange.
Remove thawed portions with
fork. Turn over. Return
remainder to oven.
Turn over. Cover warm areas
with aluminum foil.
Meat of irregular shape and large, fatty cuts of
meat should have the narrow or fatty areas
shielded with foil at the beginning of a defrost
sequence.
Do not defrost less than 1/4 lb.
Freeze in doughnut shape.
Do not defrost less than two oz. patties.
Depress center when freezing.
Place on a microwavable roasting rack.
Place on a microwavable roasting rack.
Place in a microwavable baking dish.
Place on a microwavable roasting rack.
Place on a microwavable roasting rack.
Place on a microwavable roasting rack.
Place in a microwavable baking dish.
Place on a microwavable roasting rack.
Place on a microwavable roasting rack.
Place on a microwavable roasting rack.
Place on a microwavable roasting rack.
Place on a microwavable roasting rack.
Place in a microwavable baking dish.
Place on a microwavable roasting rack.
AUTO DEFROST CHART
Meat setting

- 35 -
AUTO DEFROST CHART (CONTINUED)
Poultry setting
Fish setting
OPERATION
NOTE : Food to be defrosted must be not more than 6.0 lbs (4.0 Kg).
*Available weight is 0.1~6.0 lbs (0.1~4.0 Kg).
FOOD AT BEEP
SETTING
SPECIAL INSTRUCTIONS
CHICKEN
Whole (up to
6 lbs)
Cut-up
CORNISH
HENS
Whole
TURKEY
Breast
(under 6 lbs)
POULTRY
POULTRY
POULTRY
Turn over (finish defrosting
breast-side down). Cover
warm areas with aluminum
foil.
Separate pieces and
rearrange.
Turn over. Cover warm
areas with aluminum foil.
Turn over. Cover warm
areas with aluminum foil.
Turn over. Cover warm
areas with aluminum foil.
Place chicken breast-side up on a microwavable
roast rack. Finish defrosting by immersing in cold
water. Remove giblets when chicken is partially
defrosted.
Place on a microwavable roasting rack.
Finish defrosting by immersing in cold water.
Place on a microwavable roasting rack.
Finish defrosting by immersing in cold water.
Place on a microwavable roasting rack.
Finish defrosting by immersing in cold water.
FOOD AT BEEP
SETTING
SPECIAL INSTRUCTIONS
FISH
Fillets
Steaks
Whole
SHELLFISH
Crabmeat
Lobster tails
Shrimp
Scallops
FISH
FISH
FISH
FISH
FISH
FISH
FISH
Turn over. Separate fillets
when partially thawed if
possible.
Separate and rearrange.
Turn over.
Break apart. Turn over.
Turn over and rearrange.
Separate and rearrange.
Separate and rearrange.
Place in a microwavable baking dish.
Carefully separate fillets under cold water.
Place in a microwavable baking dish.
Run cold water over to finish defrosting.
Place in a microwavable baking dish.
Cover head and tail with foil; do not let foil touch
sides of microwave . Finish defrosting by
immersing in cold water.
Place in a microwavable baking dish.
Place in a microwavable baking dish.
Place in a microwavable baking dish.
Place in a microwavable baking dish.

- 36 -
1. Touch TIME DEFROST
pad.
2. Enter the defrosting time
you want.
3. Touch START pad.
(Defrost starts)
When the defrost time is
over, you will hear four
beeps and END will
display.
Example: To defrost for 2 minutes.
OPERATION
TIME DEFROST
This feature allows you to choose the time you want
to defrost.
1. Touch RAPID DEFROST
1lb. pad.
2. Touch START pad.
Example: To defrost 1lb ground beef.
RAPID DEFROST 1lb.
The RAPID DEFROST 1lb. feature provides you with
the rapid defrosting method for 1.0 pound frozen
foods. The oven automatically sets the defrosting time
for ground beef.
USE OF THE METAL RACK
To use rack:
Place rack securely in the four plastic supports.
To avoid risk of property damage:
• Do not use rack to pop popcorn.
• Rack must be on the four plastic supports when
used.
• Use the rack only when cooking food on two
levels.
• Do not cook with rack on floor of the oven.
CAUTION
Rack MUST NOT touch metal walls or back of
microwave oven.
CAUTION

- 37 -
COOKING
GETTING THE BEST COOKING RESULTS
To get the best results from your microwave oven,
read and follow the guidelines below.
• Storage Temperature: Foods taken from the
freezer or refrigerator take longer to cook than the
same foods at room temperature. The time for
recipes in this book is based on the normal storage
temperature of the food.
• Size: Small pieces of food cook faster than large
ones, pieces similar in size and shape cook more
evenly. For even cooking, reduce the power when
cooking large pieces of food.
• Natural Moisture: Very moist foods cook more
evenly because microwave energy is attracted to
water molecules.
• Stir foods such as casseroles and vegetables from
the outside to the center to distribute the heat evenly
and speed cooking. Constant stirring is not necessary.
• Turn over foods like pork chops, baking potatoes,
roasts, or whole cauliflower halfway through the
cooking time to expose all sides equally to
microwave energy.
• Place delicate areas of foods, such as asparagus
tips, toward the center of the dish.
• Arrange unevenly shaped foods, such as chicken
pieces or salmon steaks, with the thicker, meatier
parts toward the outside of the dish.
• Shield, with Small pieces of aluminum foil, parts of
food that may cook quickly, such as wing tips and
leg ends of poultry.
• Let It Stand: After you remove the food from the
microwave, cover food with foil or casserole lid and
let it stand to finish cooking in the center and avoid
overcooking the outer edges. The length of standing
time depends on the density and surface area of the
food.
• Wrapping in waxed paper or paper towel:
Sandwiches and many other foods containing
prebaked bread should be wrapped prior to
microwaving to prevent drying out.
FISH & SHELLFISH
Cooking Fish and Shellfish: General Directions
• Prepare the fish for cooking.
- Completely defrost the fish or shellfish.
- Arrange unevenly shaped pieces with thicker parts
toward the outside of the dish. Arrange shellfish in
a single layer for even cooking.
- The type of cover you use depends on how you
cook. Poached fish needs a microwavable lid or
vented plastic wrap.
- Baked fish, coated fish, or fish in sauce needs to
be covered lightly with waxed paper to keep the
coating crisp and sauce from getting watery.
- Always set the shortest cooking time. Fish is done
when it turns opaque and the thickest part begins
to flake. Shellfish is done when the shell turns from
pink to red and the flesh is opaque and firm.
• The Fish and Shellfish Cooking Table below
provides specific directions with Power Level and
Cooking Time settings for most types of fish and
shellfish.
Fish And Shellfish Cooking Table
FISH
Fish fillets
Fish steaks
Whole fish
Scallops
Shrimp, shelled
HI
HI
7
HI
HI
31/2-41/2 minutes
41/2-51/2 minutes
41/2-6 minutes
31/2-5 minutes
31/2-5 minutes
Arrange fish in a single layer with thickest portion toward
outside edge of 11/2 quart microwavable baking dish.
Brush with melted butter and season, if desired. Cook
covered with vented plastic wrap. Let stand covered
2 minutes. If you are cooking more than 1 lb. of fish, turn
the fish halfway through cooking.
Arrange in a single layer. Prepare as directed above,
except stir instead of turning the shellfish.
POWER
LEVEL COOKING TIME DIRECTIONS
- 38 -
COOKING
APPETIZERS / SAUCES / SOUPS
Cooking Appetizers: Tips and Techniques
Recommended
• Crisp crackers, such as melba toast, shredded
wheat, and crisp rye crackers are best for
microwave use. Wait until party time to add the
spreads. Place a paper towel under the crackers
while they cook in the microwave oven to absorb
extra moisture.
• Arrange individual appetizers in a circle for even
cooking.
• Stir dips to distribute heat and shorten cooking time.
Cooking Sauces: Tips and Techniques
• Use a microwavable casserole or glass measuring
cup that is at least 2 or 3 times the volume of the
sauce.
• Sauces made with cornstarch thicken more rapidly
than those made with flour.
Cooking Soups: Tips and Techniques
• Cook soups in a microwavable dish which holds
double the volume of the recipe ingredients to
prevent boil-over, especially if you use cream or milk
in the soup.
• Generally, cover microwaved soups with VENTED
plastic wrap or a microwavable lid.
• Cover foods to retain moisture. Uncover foods to
retain crispness.
• Avoid overcooking by using the minimum suggested
time. Add more time, if necessary, only after
checking the food.
Not Recommended
• Appetizers with a crisp coating or puff pastry are
best done in a conventional oven with dry heat.
• Breaded products can be warmed in the microwave
oven but will not come out crisp.
• Cook sauces made with cornstarch or flour
uncovered so you may stir them 2 or 3 times during
cooking for a smooth consistency.
• To adapt a conventional sauce or gravy recipe,
reduce the amount of liquid slightly.
• Stirring occasionally will help blend flavors,
distribute heat evenly, and may even shorten the
cooking time.
• When converting a conventional soup recipe to cook
in the microwave, reduce the liquid, salt, and strong
seasonings.
MEAT
Cooking Meat: General Directions
• Prepare the meat for cooking.
- Defrost completely.
- Trim off excess fat to avoid splattering.
- Place the meat, fat side down, on a microwavable
rack in a microwavable dish.
- Use oven cooking bag for less tender cuts of meat.
- Arrange the meat so that thicker portions are
toward the outside of the dish.
- Cover the meat with waxed paper to prevent
splattering.
• Tend the meat as it cooks.
- Drain juices as they accumulate to reduce
splattering and keep from overcooking the bottom
of the meat.
- Shield thin or bony portions with strips of foil to
prevent overcooking.
NOTE: Keep the foil at least 1 inch from the oven
walls, and do not cover more than one-third of the
meat with foil at any one time.
• Let the meat stand covered with foil 10-15 minutes
after you remove it from the oven. The internal
temperature of the meat may rise from 5-10˚F
during standing time.
The Meat Cooking Table on the next page provides
detailed directions, Power Level, and Cooking Time
settings for most cuts of meat.

MEAT POWER
LEVEL COOKING TIME DIRECTIONS
- 39 -
COOKING
Form patties with depression in center of each.
Place on microwavable roast rack. Brush with browning
agent, if desired. Cover with waxed paper.
Turn over halfway through cooking.
Let stand covered 1 minute.
Place roast fat side down on microwavable roast rack.
Add desired seasonings and cover with waxed paper.
Turn meat over halfway through cooking and shield if
necessary. Remove roast from microwave oven when
desired temperature is reached. Let stand covered with
foil 15 minutes.(Temperature may rise about 10˚F).
Place roast fat side down on microwavable roast rack.
Brush lamb with marinade or desired seasonings such
as rosemary, thyme or marjoram. Cover with waxed
paper. Turn roast over after 15 minutes, and again after
30 minutes. Shield if necessary.
Remove roast from microwave when desired
temperature is reached. Let stand covered with foil 15
minutes (Temperature may rise about 10°F).
Place bacon slices on microwavable roast rack.
Cover with paper towels.
After cooking, let stand 1 minute.
Place chops in microwavable baking dish.
Add desired seasonings and cover with vented plastic
wrap. Cook until no longer pink or until internal
temperature reaches 170°F. Turn chops over halfway
through cooking. Let stand covered 5 minutes.
(Temperature may rise about 10°F).
Place roast in cooking bag in microwavable dish.
Add seasonings and browning agent if desired. Close
bag loosely with microwavable closure or string. After
cooking, let stand in bag 15 minutes. (Temperature may
rise about 10°F.) Internal temperature of pork should
reach 170°F before serving.
Pierce links and place on microwavable roast rack.
Cover with waxed paper or paper towel.
Turn over halfway through cooking.
After cooking, let stand covered 1 minute.
Beef
Hamburgers,
Fresh or defrosted
(4 oz. each)
1 patty
2 patties
4 patties
Sirloin tip roast
(3-4 lbs.)
Lamb
Lamb roast,
rolled boneless
(3-4 lbs.)
Pork
Bacon slices
2 slices
4 slices
6 slices
Chops
(5-7 oz. each)
2 chops
4 chops
Loin Roast,
rolled, boneless
(3 1/2- 4 1/2 lbs.)
Sausage links,
Fresh or Frozen,
defrosted
(1-2 oz. each)
2 links
4 links
6 links
10 links
(8 oz. pkg.)
Meat Cooking Table
HI
5
5
HI
3
3
HI
1-11/2 minutes
11/2-2 minutes
21/2-31/2 minutes
8-10 minutes
per pound
RARE(135°F)
11-13 minutes
per pound
MEDIUM(155°F)
11-12 minutes
per pound
RARE(135°F)
12-13 minutes
per pound
MEDIUM(145°F)
13-14 minutes
per pound
WELL(155°F)
11/2-2 minutes
21/2-3 minutes
31/2-41/2 minutes
18-20 minutes
per pound
15-17 minutes
per pound
25-27 minutes
per pound
(165°F)
45-60 seconds
1-11/2 minutes
11/2-2 minutes
13/4-2 minutes

- 40 -
COOKING
POULTRY
Cooking Poultry: General Directions
• Prepare the poultry for cooking.
- Defrost completely.
- Arrange poultry pieces with thicker pieces at the
outside edge of the baking dish. When cooking
legs, arrange them like the spokes of a wheel.
- Cover the baking dish with waxed paper to reduce
splattering.
- Use a browning agent or cook with a sauce to give
a browned appearance.
• Watch the poultry as it cooks.
- Drain and discard juices as they accumulate.
- Shield thin or bony pieces with small strips of
aluminum foil to prevent overcooking. Keep foil at
least 1 inch from the oven walls and other pieces
of foil.
• Poultry is done when it is no longer pink and the
juices run clear. When done, the temperature in the
thigh meat should be 180-185˚F.
• Let the poultry stand after cooking covered with foil
for 10 minutes.
The Poultry Cooking Table below provides detailed
directions, Power Level, and Cooking Time settings
for most cuts and types of poultry.
Poultry Cooking Table
POULTRY POWER
LEVEL COOKING TIME DIRECTIONS
Wash, shake the water off, and go on with cooking. Place
pieces in a single layer in a microwavable baking dish with
thicker pieces to the outside. Brush with butter or
browning agent and seasonings if desired. Cover with
waxed paper. Cook until no longer pink and juices run
clear. Let stand covered 5 minutes.
Before cooking, wash and shake off water. Place breast
side down on a microwavable roast rack. Brush with
butter, or browning agent and seasoning if desired. Cover
with waxed paper. Cook 1/3 of estimated time. Turn breast
side up, brush with butter, or browning agent. Replace
waxed paper. Cook 1/3 of estimated time again. Shield if
necessary. Cook remaining 1/3 of estimated time or until
no longer pink and juices run clear. Let stand covered with
foil 10 minutes. (The temperature may rise about 10°F.)
The temperature in the high should be 180°F-185°F when
the poultry is done.
Wash, shake the water off, and go on with cooking. Tie
wings to body of hen and the legs to tail. Place hens
breast side down on microwavable rack. Cover with
waxed paper. Turn breast side up halfway through
cooking. Shield bone ends of drumsticks with foil. Remove
and discard drippings. Brush with butter or browning agent
and seasonings if desired. Cook until no longer pink and
juices run clear. Remove hens from microwave when they
reach desired temperature. Let stand covered with foil 5
minutes. (Temperature may rise about 10°F).
Temperature in breast should be 170°F before serving.
Chicken pieces
(21/2-3 lbs).
Chicken whole
(3-31/2 lbs)
Cornish Hens
Whole
(1-11/2 lbs. each)
HI
HI
HI
41/2-51/2 minutes
per pound
12-13 minutes
per pound
6-7 minutes
per pound

- 41 -
COOKING
PASTA AND RICE
Microwave cooking and conventional cooking of pasta,
rice, and cereal require about the same amount of time,
but the microwave is a more convenient method
because you can cook and serve in the same dish.
There is no stirring needed and leftover pasta tastes
just like fresh cooked when reheated in the microwave
oven.
Cooking Pasta and Rice: Tips and Techniques
•
If you are planning to use rice or pasta in a casserole,
undercook it so it is still firm.
•
Allow for standing time with rice, but not for pasta.
•
The Pasta and Rice Cooking Tables below provide
specific directions, with Power Level and cooking time
settings for most common types of pasta and rice.
Pasta Cooking Table
TYPE OF PASTA
Spaghetti
4 cups water
Add 8 oz. spaghetti
Macaroni
3 cups water
Add 2 cups macaroni
Lasagna noodles
4 cups water
Add 8 oz. lasagna noodles
Egg noodles
6 cups water
Add 4 cups noodles
HI
5
HI
5
Hi
5
HI
5
9 to 10 minutes
71/2 to 81/2 minutes
6 to 7 minutes
51/2 to 61/2 minutes
7 to 8 minutes
11 to 121/2 minutes
8 to 10 minutes
51/2 to 61/2 minutes
Combine hot tap water and salt, if desired. Use a
2-quart microwavable baking dish and cover with
vented plastic wrap for spaghetti and lasagna noodles.
Use microwavable lid or vented plastic wrap for
macaroni and egg noodles.
Cook at Power Level HI as directed in chart or until
water boils. Stir in pasta; cook covered at Power Level
5 as directed in chart or until tender.
Drain in a colander.
POWER
LEVEL
COOKING TIME DIRECTIONS
TYPE OF RICE
Long grain
2 1/4 cups water Add
1 cup rice
Brown
2 1/2 cups water Add
1 cup rice
Long grain and
wild rice mix
2 1/3 cups water Add
6 oz. pkg.
Quick cooking
1 cup water Add
1 cup rice
HI
5
HI
5
Hi
5
HI
5 to 6 minutes
15 minutes
41/2 to 51/2 minutes
28 minutes
4 to 5 minutes
24 minutes
2 to 3 minutes
Combine hot tap water and salt, if desired, in 2 quart
microwavable casserole. Cover with microwavable lid
or vented plastic wrap. Cook as directed in chart at
Power Level HI or until water boils. Stir in rice and any
seasonings.
Cook covered as directed in chart at Power Level 5 or
until water is absorbed and rice is tender.
Let stand covered 5 to 10 minutes. Fluff with fork.
Cook water until it boils. Stir rice into boiling water and
let stand, covered 5 to 10 minutes or until water is
absorbed and rice is tender. Fluff with fork.
POWER
LEVEL
COOKING TIME DIRECTIONS
Rice Cooking Table

- 42 -
CARE AND CLEANING
For best performance and safety, keep the oven
clean inside and outside. Take special care to keep
the inner door panel and the oven front frame free of
food or grease build-up.
Never use abrasive cleaners or pads. Wipe the
microwave oven inside and out, including the hood
bottom cover, with a soft cloth and a warm (not hot)
mild detergent solution. Then rinse and wipe dry. Use
a chrome cleaner and polish on chrome, metal, and
aluminum surfaces. Wipe spatters immediately with a
wet paper towel, especially after cooking chicken or
bacon. Clean your oven weekly or more often, if
needed.
METAL RACK
Wash the metal rack with a mild soap and a soft or
nylon scrub brush. Dry completely.
Do not use abrasive scrubbers or cleaners to clean
rack.
CLEANING THE GREASE FILTERS
The grease filter should be removed and cleaned
often, at least once a month.
1. To remove grease filter, slide each filter back.
Pull filters downward and push to the other side.
The filter will drop out.
CHARCOAL FILTER REPLACEMENT
If your oven is vented inside, the charcoal filter should
be replaced every 6 to 12 months, and more often if
necessary. The charcoal filter cannot be cleaned. To
order a new charcoal filter, contact the Parts
Department at your nearest Authorized Service
Center or call Amana at 1-800-843-0304(inside U.S.A)
1-319-622-5511(outside U.S.A).
Order Charcoal Filter kit # : MVHRK3.
1. Disconnect Power to oven.
2. Remove the two vent grille mounting screws.
(2 middle screws)
MAINTENANCE
2. Wash in dishwasher or soak grease filter in hot
water and a mild detergent. Rinse well and shake
to dry. Do not use ammonia. The aluminum will
darken filter.
3. To reinstall the filter, slide it into the side slot, then
push up and toward front to lock.
6. Slide the bottom of the grille into place. Push the
top until it snaps into place. Replace the mounting
screws. Turn the power back on at the main power
supply and set the clock.
5. Slide a new charcoal filter into place. The filter
should rest at the angle shown.
3. Tip the grille forward, then lift it out.
4. Remove old filter.
To avoid risk of personal injury
or property damage, do not operate oven hood
without filters in place.
CAUTION

- 43 -
OVEN LIGHT REPLACEMENT
1. Unplug oven or turn off power at the main power
supply.
2. Remove the vent cover mounting screws.(2 middle
screws)
3. Tip the cover forward, then lift out to remove.
MAINTENANCE
COOKTOP/NIGHT LIGHT REPLACEMENT
1. Unplug the oven or turn off power at the main
power supply.
2. Remove the bulb cover mounting screws.
3. Replace bulb(s) with 30 watt appliance bulb(s).
4. Replace bulb cover, and mounting screws.
5. Turn the power back on at the main power supply.
4. Remove bulb holder.
5. Lift up the bulb holder.
6. Replace bulb with a 30 or 40 watt appliance bulb.
7. Replace the bulb holder.
8. Slide the bottom of the vent cover into place. Push
the top until it snaps into place. Replace the
mounting screws. Turn the power back on at the
main power supply.
To avoid personal injury or property damage,
wear gloves when replacing light bulb.
CAUTION

- 44 -
USE
OVENPROOF GLASS (treated for high
intensity heat):
utility dishes, loaf dishes, pie plates,
cake plates, liquid measuring cups,
casseroles and bowls without metallic
trim.
CHINA:
bowls, cups, serving plates and platters
without metallic trim.
PLASTIC:
Plastic wrap (as a cover)-- lay the plastic
wrap loosely over the dish and press it
to the sides.
Vent plastic wrap by turning back one
edge slightly to allow excess steam to
escape. The dish should be deep
enough so that the plastic wrap will not
touch the food. As the food heats it may
melt the plastic wrap wherever the wrap
touches the food.
Use plastic dishes, cups,
semirigid freezer containers and plastic
bags only for short cooking time. Use
these with care because the plastic
may soften from the heat of the food.
PAPER:
Paper towels, waxed paper, paper
napkins, and paper plates with no
metallic trim or design. Look for the
manufacturer's label for use in the
microwave oven.
DO NOT USE
METAL UTENSILS:
Metal shields the food from microwave energy and produces
uneven cooking. Also avoid metal skewers, thermometers or
foil trays. Metal utensils can cause arcing, which can damage
your microwave oven.
METAL DECORATION:
Metal-trimmed or metal-banded dinnerware, casserole dishes,
etc. The metal trim interferes with normal cooking and may
damage the oven.
ALUMINUM FOIL:
Avoid large sheets of aluminum foil because they hinder
cooking and may cause harmful arcing. Use small pieces of
foil to shield poultry legs and wings. Keep ALL aluminum foil
at least 1 inch from the side walls and door of the oven.
WOOD:
Wooden bowls and boards will dry out and may split or crack
when you use them in the microwave oven. Baskets react in
the same way.
TIGHTLY COVERED UTENSILS:
Be sure to leave openings for steam to escape from covered
utensils. Pierce plastic pouches of vegetables or other food
items before cooking. Tightly closed pouches could explode.
BROWN PAPER:
Avoid using brown paper bags.
They absorb too much heat and could burn.
FLAWED OR CHIPPED UTENSILS:
Any utensil that is cracked, flawed, or chipped may break in
the oven.
METAL TWIST TIES:
Remove metal twist ties from plastic or paper bags.
They become hot and could cause a fire.
MICROWAVE UTENSIL GUIDE
RECOMMENDED UTENSIL

- 45 -
TROUBLE SHOOTING
BEFORE CALLING FOR SERVICE
Check the following list to be sure a service call is really necessary. A quick reference of this manual as
well as reviewing additional information on items to check may prevent an unneeded service call.
If nothing on the oven operates:
If the oven interior light does not work:
If oven will not cook:
If oven takes longer than normal to
cook or cooks too rapidly:
If the time of day clock does not
always keep correct time:
If food cooks unevenly:
If food is undercooked:
If food is overcooked:
If arcing (sparks) occur:
If the Display shows a time counting
down but the oven is not cooking:
Vent fan starts automatically.
• check for a blown circuit fuse or a tripped main circuit breaker.
• check if oven is properly connected to electric circuit in house.
• check that controls are set properly.
• the light bulb is loose or defective.
• check that control panel was programmed correctly.
• check that door is firmly closed.
• check that Start Pad was touched.
• check that timer wasn’t started instead of a cook function.
• be sure the Power Level is programmed properly.
• check that the power cord is fully inserted into the outlet
receptacle.
• be sure the oven is the only appliance on the electrical circuit.
• be sure food is evenly shaped.
• be sure food is completely defrosted before cooking.
• check placement of aluminum foil strips used to prevent
overcooking.
• check recipe to be sure all directions (amount, time, & power
levels) were correctly followed.
• be sure microwave oven is on a separate circuit.
• be sure food is completely defrosted before cooking.
• check recipe to be sure all directions (amount, power level, time,
size of dish) were followed.
• be sure microwavable dishes were used.
• be sure wire twist ties weren’t used.
• be sure oven wasn’t operated when empty.
• make sure metal rack (if used) is properly installed on 4 supports.
• check that door is firmly closed.
• check that timer wasn’t started instead of a cooking function.
If the temperature gets too hot around the microwave oven, the fan
in the vent hood will automatically turn on at the LOW setting to cool
the oven. It may stay on up to an hour to cool the oven.
Problem Possible Causes

- 46 -
TROUBLE SHOOTING
QUESTIONS AND ANSWERS
Question
Can I use a rack in my microwave
oven so that I may reheat or cook in
two levels at a time?
Can I use either metal or aluminum
pans in my microwave oven?
Sometimes the door of my microwave
oven appears wavy. Is this normal?
What are the humming noises that I
hear when my microwave oven is
operating?
Why does the dish become hot when I
microwave food in it? I thought that
this should not happen.
What does standing time mean?
Can I pop popcorn in my microwave
oven?
How do I get the best results?
Why does steam come out of the air
exhaust vent?
Only use the rack that is supplied with your microwave oven. Use of
any other rack can result in poor cooking performance and/or arcing
and may damage your oven.
Usable metal includes aluminum foil for shielding (use small, flat
pieces). Never allow metal to touch walls or door.
This appearance is normal and does not affect the operation of your
oven.
You hear the sound of the transformer when the magnetron tube
cycles on and off.
As the food becomes hot it will conduct the heat to the dish. Use hot
pads to remove food after cooking. Dish may not be microwave
safe.
Standing time means that food should be taken out of the oven and
covered for additional time after cooking. This process allows the
cooking to finish, saves energy, and frees the oven for other
purpose.
Yes. Pop packaged microwave popcorn following manufacturer’s
guidelines or use the preprogrammed Popcorn pad.
Do not use regular paper bags. Use the listening test by stopping
the oven as soon as the popping slows to a pop every one or two
seconds. Do not try to repop unpopped kernels. You can also use
special microwave poppers. When using a popper, be sure to follow
manufacturer’s directions. Do not pop popcorn in glass utensils.
Steam is normally produced during cooking. The microwave oven
has been designed to vent this steam out the top vent.
Answer
To avoid electrical shock which can cause severe personal injury or death,
do not remove outer case at any time, Only an authorized servicer should remove outer case.
WARNING