Land Pride 4200Nt Users Manual
TREKER 4200/4400 NT/ST 700-108p
4200ST to the manual 24419aaa-5bc4-44de-a17e-5767133657a0
2015-02-09
: Land-Pride Land-Pride-4200Nt-Users-Manual-570096 land-pride-4200nt-users-manual-570096 land-pride pdf
Open the PDF directly: View PDF
.
Page Count: 132 [warning: Documents this large are best viewed by clicking the View PDF Link!]

Treker
4200 & 4400 NT ST Utility Vehicles
21107 700-108P
Parts Manual
Read the Operator's manual entirely. When
you see this symbol, the subsequent
instructions and warnings are serious - follow
without exception. Your life and the lives of
others depend on it!
© Copyright 2009 Printed 02/19/09
Cover photo may show optional equipment not
supplied with standard unit.
Table of Contents Part Number Index

Section 1: Introduction.................................................4
Using This Manual...............................................................4
Manual Replacement Information.......................................4
Manual Revisions................................................................4
Touch-up Paint....................................................................4
Hardware Legend................................................................5
Replacement Hardware......................................................5
Serial Numbers...................................................................5
Part Number Service Coding..............................................5
TREKER 00 SERIES
Section 2: Frame & Suspension...................................6
Lower Control Arm S/N 400269-.........................................6
Lower Control Arm S/N 400270 To 407690.........................8
Lower Control Arm S/N 407691 to 464184 ST: S/N 407691
to 464880 NT..............................................................10
Lower Control Arm S/N 464185+ ST: S/N 464881+ NT.....12
Main Frame.......................................................................14
Shock Front.......................................................................16
Shock Rear.......................................................................18
Trailing Arm (S/N 464191-)................................................20
Trailing Arm (S/N 464192+)...............................................22
Section 3: Steering Components...............................24
Steering Components (S/N 429606- NT) (S/N 434129-
ST)..............................................................................24
Steering Components (S/N 429607+ NT) (S/N 434130+
ST)..............................................................................26
Section 4: Throttle.......................................................28
Throttle Components.........................................................28
Section 5: Brakes........................................................30
Brake Drum Rear Components.........................................30
Front Brake System...........................................................32
Front Disc Brake Components..........................................34
Rear Brake System...........................................................36
Section 6: Drive Train..................................................38
CV Driveshaft S/N 434125 to 437241...............................38
Drive Belt Components.....................................................40
Engine Mounting Honda....................................................42
Front Differential Components..........................................44
Front Differential, Axleshaft and Driveshaft.......................48
Shift Selector Components...............................................50
Transaxle Rear and Axle Shafts........................................52
Transaxle Rear Components.............................................54
Transfer Case and Rear Driveshaft S/N 484886- ST S/N
464194- NT.................................................................58
Transfer Case and Rear Driveshaft S/N 484887+ ST S/N
464195+ NT................................................................60
Transfer Case Components...............................................62
Section 7: Air Filtration...............................................64
Air Filter Components, NT.................................................64
Air Filter Components, ST.................................................66
Section 8: Exhaust System.........................................68
Exhaust Components (S/N 440720+)...............................68
Exhaust Components NT & ST S/N 440719-)...................70
Section 9: Fuel System...............................................72
Fuel System Components.................................................72
Fuel System Components, NT..........................................74
Section 10: Electrical System.....................................76
Electrical Wiring NT S/N 464880- ST S/N 464184-...........76
Electrical Wiring NT S/N 464881+ ST S/N 464185+.........78
Electrical Wiring Schematic, Main 00 Series NT...............80
Electrical Wiring Schematic, Main 00 Series ST...............82
Instrument Panel, 4200 (S/N 418338-).............................84
Instrument Panel, 4200 (SN 418339 to 440716)...............86
Instrument Panel, 4400 (S/N 418338-).............................88
Instrument Panel, 4400 (S/N 418339 to 440713)..............90
Insturment Panel, 4200 (S/N 440714+).............................92
Insturment Panel, 4400 (S/N 440714+).............................94
Section 11: Four Post Accessory and Seats.............96
Four Post Accessory Bar...................................................96
Seat Components.............................................................98
Section 12: Panels and Shields................................100
Panels and Shields, NT S/N (460319-)...........................100
Panels and Shields, ST (S/N 460319-)...........................102
Panels Sheilds & Choke Cable ST(S/N 460320+)..........104
Panels Shields & Choke Cable NT S/N (460320+).........106
Section 13: Hood and Cargo Box.............................108
Cargo Box Components..................................................108
Cargo Box Tilt Lock-Down Latch.....................................110
Cargo Box Tilt Lock-Up Arm............................................112
Hood Components..........................................................114
Section 14: Tires........................................................116
Front Tires.......................................................................116
Rear Tires........................................................................118
Section 15: Decals.....................................................120
Decals.............................................................................120
NT ST Camo and Decal Components.............................122
Section 16: Options...................................................124
CVT Enclosure Kit...........................................................124
Front Bumpers.................................................................126
Part Number Index.....................................................128
© Copyright 2009. All rights reserved.
Land Pride provides this publication “as is” without warranty of any kind, either expressed or implied. While every precaution has been taken in the preparation of this manual,
Land Pride assumes no responsibility for errors or omissions. Neither is any liability assumed for damages resulting from the use of the information contained herein. Land
Pride reserves the right to revise and improve its products as it sees fit. This publication describes the state of this product at the time of its publication, and may not reflect
the product in the future. The illustrations in this manual are not intended for safe and proper assembly or disassembly of equipment. The illustrations are intended for
ordering parts only.
Land Pride is registered trademark.
All other brands and product names are trademarks or registered trademarks of their respective holders.
Printed in the United States of America.
24200 & 4400 NT ST Utility Vehicles Treker 700-108P 02/19/09
Table of Contents Part Number Index
Table of Contents

TREKER 00 SERIES
AAir Filter Components, NT............................................64
Air Filter Components, ST............................................66
BBrake Drum Rear Components....................................30
CCargo Box Components.............................................108
Cargo Box Tilt Lock-Down Latch................................110
Cargo Box Tilt Lock-Up Arm.......................................112
CV Driveshaft S/N 434125 to 437241..........................38
CVT Enclosure Kit......................................................124
DDecals........................................................................120
Drive Belt Components................................................40
EElectrical Wiring NT S/N 464880- ST S/N 464184-......76
Electrical Wiring NT S/N 464881+ ST S/N 464185+.....78
Electrical Wiring Schematic, Main 00 Series NT..........80
Electrical Wiring Schematic, Main 00 Series ST..........82
Engine Mounting Honda...............................................42
Exhaust Components (S/N 440720+)..........................68
Exhaust Components NT & ST S/N 440719-)..............70
FFour Post Accessory Bar..............................................96
Front Brake System......................................................32
Front Bumpers............................................................126
Front Differential Components......................................44
Front Differential, Axleshaft and Driveshaft..................48
Front Disc Brake Components.....................................34
Front Tires..................................................................116
Fuel System Components............................................72
Fuel System Components, NT.....................................74
HHood Components.....................................................114
IInstrument Panel, 4200 (S/N 418338-).........................84
Instrument Panel, 4200 (SN 418339 to 440716)..........86
Instrument Panel, 4400 (S/N 418338-).........................88
Instrument Panel, 4400 (S/N 418339 to 440713).........90
Insturment Panel, 4200 (S/N 440714+)........................92
Insturment Panel, 4400 (S/N 440714+)........................94
LLower Control Arm S/N 400269-....................................6
Lower Control Arm S/N 400270 To 407690....................8
Lower Control Arm S/N 407691 to 464184 ST: S/N 407691
to 464880 NT.........................................................10
Lower Control Arm S/N 464185+ ST: S/N 464881+
NT..........................................................................12
MMain Frame..................................................................14
NNT ST Camo and Decal Components........................122
PPanels and Shields, NT S/N (460319-)......................100
Panels and Shields, ST (S/N 460319-)......................102
Panels Sheilds & Choke Cable ST(S/N 460320+).....104
Panels Shields & Choke Cable NT S/N (460320+).....106
RRear Brake System......................................................36
Rear Tires...................................................................118
SSeat Components........................................................98
Shift Selector Components..........................................50
Shock Front..................................................................16
Shock Rear...................................................................18
Steering Components (S/N 429606- NT) (S/N 434129-
ST).........................................................................24
Steering Components (S/N 429607+ NT) (S/N 434130+
ST).........................................................................26
TThrottle Components....................................................28
Trailing Arm (S/N 464191-)...........................................20
Trailing Arm (S/N 464192+)..........................................22
Transaxle Rear and Axle Shafts...................................52
Transaxle Rear Components........................................54
Transfer Case and Rear Driveshaft S/N 484886- ST S/N
464194- NT............................................................58
Transfer Case and Rear Driveshaft S/N 484887+ ST S/N
464195+ NT...........................................................60
Transfer Case Components..........................................62
Table of Contents Part Number Index
Alphabetized Table of Contents
02/19/09 4200 & 4400 NT ST Utility Vehicles Treker 700-108P 3

RevisionCommentsPart DescriptionPart No.Ref.
Drawing Image Numberdwg21300
KEEPER PLATE700-004D1.
For Both L.H. & R.HFRONT A-ARM WELDMENT700-114H2.
Includes No. 2, 4, 5,6,10 & 12ARM CONTROL, RH-LOWER ASSEMBLY700-116S3.
Includes No. 2, 4, 5,6,10 & 12ARM CONTROL, LH-LOWER ASSEMBLY700-110S3.
FNT CONTROL ARM SHAFT700-138D4.
Material Change To Reduce Wear
S/N 454673+
FNT CONTROL ARM BUSHING700-139D5.
SNAP RING EXT 5100-125 1.25SFT800-359C6.
HHCS 3/8-16X1 GR5802-017C7.
Rev. 2S/N (400210+)HFSS 1/4-20X3/4 GR5802-257C8.
NUT HEX NYLOCK 1/4-20803-255C9.
NUT HEX NYLOCK M12X1.25 PLT803-340C10.
RH DISC BRAKE ASM 1/6 TAPER700-256D11.
LH DISC BRAKE ASM 1/6 TAPER700-257D11.
Does not include #8 & #15BALL JOINT 1/6 TAPER,M12X1.25840-124C12.
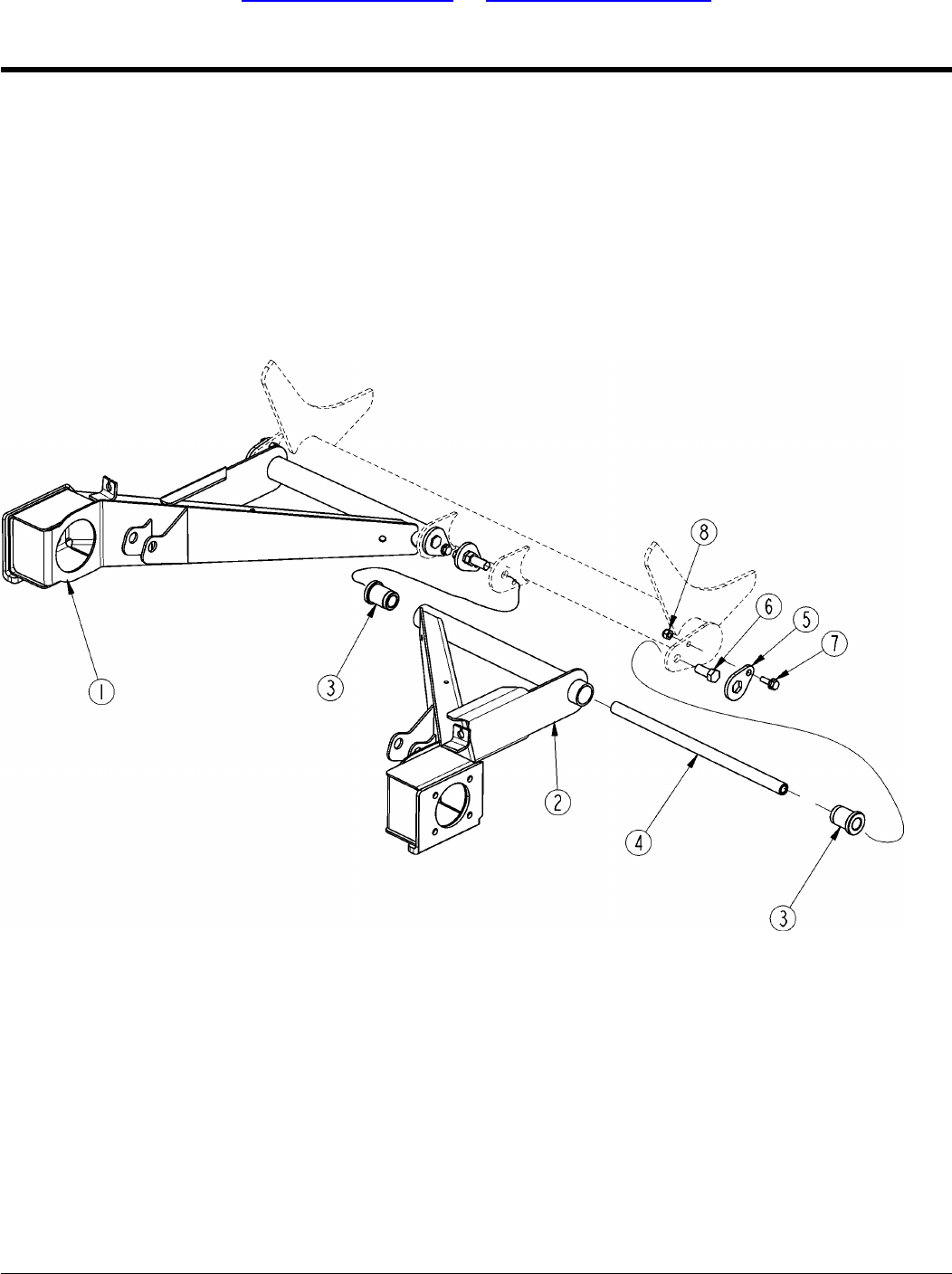
02/19/09 4200 & 4400 NT ST Utility Vehicles Treker 700-108P 7
Table of Contents Part Number Index
Section 2: Frame & Suspension Land Pride
TREKER 00 SERIES
Lower Control Arm S/N 400269-
Applies to 4200NT, 4200ST, 4400NT, 4400ST

RevisionCommentsPart DescriptionPart No.Ref.
Drawing Image Numberdwg21313
KEEPER PLATE700-004D1.
Includes No. 3, 4, 5, 6, 10, 11 & 13ARM CONTROL, RH-LOWER SIR SUB700-117S2.
Includes No. 3, 4, 5, 6, 10, 11 & 13ARM CONTROL, LH LOWER SIR SUB700-118S2.
FRONT A-ARM WELDMENT SIR700-119H3.
FNT CONTROL ARM SHAFT700-138D4.
Material Change To Reduce Wear
S/N 454673+
FNT CONTROL ARM BUSHING700-139D5.
SNAP RING EXT. 36MM DIN 471800-363C6.
HHCS 3/8-16X1 GR5802-017C7.
HFSS 1/4-20X3/4 GR5802-257C8.
NUT HEX NYLOCK 1/4-20803-255C9.
NUT HEX SLOTTED M10X1.25 PLT803-341C10.
PIN COTTER 3/32 X 1 LONG805-063C11.
RH DISC BRAKE ASM 172mm W/JNT815-143C12.
LH DISC BRAKE ASM 172mm W/JNT815-144C12.
Includes #8, #15 & #16BALL JOINT SIR840-136C13.
02/19/09 4200 & 4400 NT ST Utility Vehicles Treker 700-108P 9
Table of Contents Part Number Index
Section 2: Frame & Suspension Land Pride
TREKER 00 SERIES
Lower Control Arm S/N 400270 To 407690
Applies to 4200NT, 4200ST, 4400NT, 4400ST

RevisionCommentsPart DescriptionPart No.Ref.
Drawing Image Numberdwg21317
KEEPER PLATE700-004D1.
Includes No. 3, 4, 9, 10, 14 & 15RH A-ARM BOLT ON STYLE ASM700-123S2.
Includes No. 3, 4, 9, 10, 14 & 15LH A-ARM BOLT ON STYLE ASM700-122S2.
FNT CONTROL ARM SHAFT700-138D3.
Material Change To Reduce Wear
S/N 454673+
FNT CONTROL ARM BUSHING700-139D4.
HHCS 3/8-16X1 GR5802-017C5.
HFSS 1/4-20X3/4 GR5802-257C6.
HHCS M10X1.5X30 GR8.8802-609C7.
NUT HEX NYLOCK 1/4-20803-255C8.
NUT HEX SLOTTED M10X1.25 PLT803-341C9.
WASHER FLAT 3/8 USS PLT804-011C10.
WASHER FLAT M10 PLT804-162C11.
PIN COTTER 3/32 X 1 LONG805-063C12.
RH DISC BRAKE ASM 172mm W/JNT815-143C13.
LH DISC BRAKE ASM 172mm W/JNT815-144C13.
BALL JOINT BOLT ON SIR840-137C14.
Includes 14 & 15LH A-ARM W/BOLT ON BALL JOINT840-138C15.
Includes 14 & 15RH A-ARM W/BOLT ON BALL JOINT840-139C15.
02/19/09 4200 & 4400 NT ST Utility Vehicles Treker 700-108P 11
Table of Contents Part Number Index
Section 2: Frame & Suspension Land Pride
TREKER 00 SERIES
Lower Control Arm S/N 407691 to 464184 ST: S/N 407691 to 464880 NT
Applies to 4200NT, 4200ST, 4400NT, 4400ST

RevisionCommentsPart DescriptionPart No.Ref.
Drawing Image Numberdwg23791
HHCS M12X1.75X80 GR8.8 PLT802-486C1.
HHCS M10X1.5X30 GR8.8802-609C2.
NUT HEX NYLOCK M10X1.5 PLT803-280C3.
NUT HEX NYLOCK M12X1.75 PLT803-281C4.
NUT HEX SLOTTED M10X1.25 PLT803-341C5.
WASHER FLAT 3/8 USS PLT804-011C6.
WASHER FLAT M10 PLT804-162C7.
PIN COTTER 3/32 X 1 LONG805-063C8.
RH DISC BRAKE ASM 172mm W/JNT815-143C9.
LH DISC BRAKE ASM 172mm W/JNT815-144C9.
BALL JOINT BOLT ON SIR840-137C10.
Includes No. 2, 3, 5, 6, 7, 8, 10, 12 &
13
A-ARM, RIGHT ASSEMBLY840-227C11.
Includes No. 2, 3, 5, 6, 7, 8, 10, 12 &
13
A-ARM, LEFT ASSEMBLY840-226C11.
A-ARM, NEW BUSHING840-228C12.
BUSHING, A-ARM840-229C13.
02/19/09 4200 & 4400 NT ST Utility Vehicles Treker 700-108P 13
Table of Contents Part Number Index
Section 2: Frame & Suspension Land Pride
TREKER 00 SERIES
Lower Control Arm S/N 464185+ ST: S/N 464881+ NT
Applies to 4200NT, 4200ST, 4400NT, 4400ST

RevisionCommentsPart DescriptionPart No.Ref.
Drawing Image Numberdwg21207
S/N 464880- Will Require
Rplacement of Front & Rear
Suspension
SERV - NT MAIN FRAME W/DECALS700-144A1.
S/N 464184- Will Require
Rplacement of Front & Rear
Suspension
SERV - ST MAIN FRAME W/DECALS700-145A1.
02/19/09 4200 & 4400 NT ST Utility Vehicles Treker 700-108P 15
Table of Contents Part Number Index
Section 2: Frame & Suspension Land Pride
TREKER 00 SERIES
Main Frame
Applies to 4200NT, 4200ST, 4400NT, 4400ST

RevisionCommentsPart DescriptionPart No.Ref.
Drawing Image Numberdwg23892
(Update kit for units S/N 524740-)
Contains 2 Ea. 840-321C
TREKER SHOCK UPDATE KIT700-500A
*
STEERING BRACKET RIGHT700-055H1.
STEERING BRACKET LEFT700-054H1.
2 ea. Item 7SPRINGS, ST TRUCK HI RATE701-193A2.
HHCS 3/8-16X2 GR8 PLT802-771C3.
NUT LOCK 3/8-16 NYLON INSERT803-078C4.
NUT HEX NYLOCK M10X1.5 PLT803-280C5.
S/N 524741+SHOCK COIL/STRUT FRNT TRUCK840-321C6.
S/N 524740-SHOCK COIL/STRUT FRNT TRUCK840-100C6.
SPRG, TRUCK FRT STRUT HI RATE840-330C7.
STRUT TOP HARDWARE KIT700-131A8.
02/19/09 4200 & 4400 NT ST Utility Vehicles Treker 700-108P 17
Table of Contents Part Number Index
Section 2: Frame & Suspension Land Pride
TREKER 00 SERIES
Shock Front
Applies to 4200NT, 4200ST, 4400NT, 4400ST

RevisionCommentsPart DescriptionPart No.Ref.
Drawing Image Numberdwg21210
SHOCK SPACER PLATE700-212D1.
HHCS M14X2.00X60 GR8.8802-751C2.
NUT HEX NYLOCK M14X2.00803-334C3.
SHOCK COIL REAR TRUCK840-101C4.
02/19/09 4200 & 4400 NT ST Utility Vehicles Treker 700-108P 19
Table of Contents Part Number Index
Section 2: Frame & Suspension Land Pride
TREKER 00 SERIES
Shock Rear
Applies to 4200NT, 4200ST, 4400NT, 4400ST

RevisionCommentsPart DescriptionPart No.Ref.
Drawing Image Numberdwg21209
NT & STARM, TRAILING, LH WELDMENT700-004H1.
NT & STARM, TRAILING, RH WELDMENT700-005H2.
Material Change To Reduce Wear
S/N 454673+
TRAILING ARM BUSHING700-018D3.
SHAFT TRAILING ARM PIVOT700-045D4.
KEEPER PLATE710-094D5.
HHCS 7/16-14X1 GR5802-080C6.
S/N (400210+)HFSS 1/4-20X3/4 GR5802-257C7.
S/N (400209-) Drill out tapped hole
and replace 1st revision with 2nd
revision & #8
HH DRILL SCREW 1/4 X 3/4LG801-174C7.
S/N (400210+)NUT HEX NYLOCK 1/4-20803-255C8.
02/19/09 4200 & 4400 NT ST Utility Vehicles Treker 700-108P 21
Table of Contents Part Number Index
Section 2: Frame & Suspension Land Pride
TREKER 00 SERIES
Trailing Arm (S/N 464191-)
Applies to 4200NT, 4200ST, 4400NT, 4400ST

RevisionCommentsPart DescriptionPart No.Ref.
Drawing Image Numberdwg21209
TRAILING ARM RH ASSY700-256S1.
TRAILING ARM LH ASSY700-257S2.
TRAILING ARM RH WELDMENT700-262H3.
TRAILING ARM LH WELDMENT700-263H4.
CENTER PIVOT TUBE WELDMENT700-371H5.
RPBY 700-422H700-374D6.
TRAILING ARM PIVOT BOLT WLDMNT700-422H7.
NUT HEX TOP LOCK 9/16-12 YLW803-319C8.
BUSHING IDLER ARM RUBBER817-517C9.
02/19/09 4200 & 4400 NT ST Utility Vehicles Treker 700-108P 23
Table of Contents Part Number Index
Section 2: Frame & Suspension Land Pride
TREKER 00 SERIES
Trailing Arm (S/N 464192+)
Applies to 4200NT, 4200ST, 4400NT, 4400ST

RevisionCommentsPart DescriptionPart No.Ref.
Drawing Image Numberdwg21220
STEERING COLUMN WELDMENT700-060H1.
STEERING STOP BUSHING700-273D2.
HFS 5/16-18X3/4 GR5802-387C3.
HHCS M8X1.25X25 GR8.8 YLW PLT802-714C4.
HHCS M8X1.25X100 GR8.8 PLT802-760C5.
NUT HEX NYLOCK 5/16-18 PLT803-084C6.
NUT HEX NYLOCK M8X1.25 PLT803-278C7.
NUT HEX M16X2.00X8MM THK PLT803-283C8.
NUT HEX NYLOCK M12X1.25 PLT803-340C9.
WASHER FLAT 5/16 HARD ASTMF436804-084C10.
BUSHING 1 OD X .75ID X 1817-525C11.
RACK & PINION NT826-399C12.
RACK & PINION ST826-400C12.
BOOT LH FOR 826-399C/400C1408313.
BOOT RH FOR 826-399C/400C1409414.
Includes #9TIE ROD END10005015.
STEERING WHEEL840-064C16.
STEERING WHEEL CAP840-065C17.
LOWER STEERING SHAFT TRUCK
ASSEMBLY
840-129C18.
BOLT FOR 840-093C2303519.
HHCS M10X1.5X35 PLT802-628C20.
NUT HEX NYLOCK M10X1.5 PLT803-280C21.
SPRING WASHER FOR 840-093C2006122.
UPPER STEERING SHAFT TRUCK ASSEMBLY840-130C23.
MVL INNER TIE ROD END62025024.
02/19/09 4200 & 4400 NT ST Utility Vehicles Treker 700-108P 25
Table of Contents Part Number Index
Section 3: Steering Components Land Pride
TREKER 00 SERIES
Steering Components (S/N 429606- NT) (S/N 434129- ST)
Applies to 4200NT, 4200ST, 4400NT, 4400ST

RevisionCommentsPart DescriptionPart No.Ref.
Drawing Image Numberdwg22117
NUT HEX SLOTTED M12X1.25 PLT91751.
TIE ROD W/BALL 826-399C/400C06800022.
NUT HEX M14X1.5 PLT431421003.
SPACER 826-399C/400C470023004.
STEERING COLUMN WELDMENT700-060H5.
HFS 5/16-18X3/4 GR5802-387C6.
HHCS M8X1.25X25 GR8.8 YLW PLT802-714C7.
HHCS M8X1.25X100 GR8.8 PLT802-760C8.
NUT HEX NYLOCK 5/16-18 PLT803-084C9.
NUT HEX NYLOCK M8X1.25 PLT803-278C10.
NUT HEX M16X2.00X8MM THK PLT803-283C11.
WASHER FLAT 5/16 HARD ASTMF436804-084C12.
PIN COTTER 3/32 X 1 LONG805-063C13.
BUSHING 1 OD X .75ID X 1817-525C14.
RACK & PINION NT826-399C15.
RACK & PINION ST826-400C15.
BOOT 826-399C/400C090900116.
TIE ROD END 826-399C/400C018000617.
STEERING WHEEL840-064C18.
STEERING WHEEL CAP840-065C19.
STEERING SHAFT TRUCK840-093C20.
MVL BOLT FOR 840-093C2303521.
HHCS M10X1.5X35 PLT802-628C22.
NUT HEX NYLOCK M10X1.5 PLT803-280C23.
MVL SPRING WASHER FOR 840-093C2006124.
UPPER STEERING SHAFT TRUCK ASM840-130C25.
02/19/09 4200 & 4400 NT ST Utility Vehicles Treker 700-108P 27
Table of Contents Part Number Index
Section 3: Steering Components Land Pride
TREKER 00 SERIES
Steering Components (S/N 429607+ NT) (S/N 434130+ ST)
Applies to 4200NT, 4200ST, 4400NT, 4400ST

RevisionCommentsPart DescriptionPart No.Ref.
Drawing Image Numberdwg21264
S/N 412103+GAS PEDAL WELDMENT700-127H1.
S/N 412102-RPBY 700-128S700-058H1.
Includes #1 & #14GAS PEDAL W/PAD ASSEMBLY700-128S2.
GAS PEDAL MOUNT700-129D3.
GAS PEDAL ADJUSTMENT PLATE700-206D4.
S/N 409701+ ( ST & NT Use as
needed)
BODY MOUNT SPACER .25 THICK700-254D5.
S/N 409701+ (ST & NT Use as
needed)
BODY MOUNT SPACER .375 THICK700-255D5.
HHCS 5/16-18X1 1/4 GR5802-010C6.
CHOKE CABLE ST840-261C16.
HHCS 3/8-16X1 1/4 GR5802-079C7.
HHCS 5/16-18X3/4 GR5 YELLOW DIE802-735C8.
NUT HEX FLANGE 3/8-16 PLT803-068C9.
NUT MAC-LOK FLG 3/8-16 GR F803-086C10.
NUT HEX LOCK 5/16-18 FLG.803-177C11.
SPRING EXT .5OD .075W 2.75LG807-227C12.
BUSHING NYLON 3/8ID (SNAP IN)817-540C13.
THROTTLE CABLE840-002C14.
BRAKE/ACCELERATOR PEDAL RUBBER840-134C15.
NT UNIT S/N 460320+CHOKE CABLE NT840-261C16.
ST UNIT S/N 460320CHOKE CABLE ST840-241C16.
02/19/09 4200 & 4400 NT ST Utility Vehicles Treker 700-108P 29
Table of Contents Part Number Index
Section 4: Throttle Land Pride
TREKER 00 SERIES
Throttle Components
Applies to 4200NT, 4200ST, 4400NT, 4400ST

RevisionCommentsPart DescriptionPart No.Ref.
Drawing Image Numberdwg21159
ITEM 19 NOT INCLUDEDRH DRUM ASM 180mm 4 ON 4" BC815-145C
ITEM 19 NOT INCLUDEDLH DRUM ASM 180mm 4 ON 4" BC815-146C
LEFT SHOEF1361.
RIGHT SHOEF1372.
BALL BEARINGF7773.
BEARING HOLDER HUBF8554.
BRAKE SHOE DISC RHF1795.
BRAKE SHOE DISC LHF1785.
BLEEDER SCREWF8276.
SHOES LOCKING SPRINGF6227.
RIGHT SPRING/HAND BRAKE LEVERF7928.
LEFT SPRING/HAND BRAKE LEVERF7938.
HYDRAULIC CYLINDERF2619.
DRUMF90810.
RIGHT LEVERS SETF17611.
LEFT LEVERS SETF17711.
CMX SPACERF85212.
BRAKE FLANGE HUB W/STUDSF17513.
SCREW M6 x 40F25814.
UPPER RETURN SPRINGF61015.
SPRING PINF62116.
LOWER RETURN SPRINGF60917.
STUDF90918.
NUT LUG 1/2-20 x 60 DEG PLT (.81AF)803-329C19.
BOOTF82820.
02/19/09 4200 & 4400 NT ST Utility Vehicles Treker 700-108P 31
Table of Contents Part Number Index
Section 5: Brakes Land Pride
TREKER 00 SERIES
Brake Drum Rear Components
Applies to 4200NT, 4200ST, 4400NT, 4400ST

RevisionCommentsPart DescriptionPart No.Ref.
Drawing Image Numberdwg21219
BRAKE PEDAL PIVOT WELDMENT700-056H1.
S/N 464192+BRAKE PEDAL ARM WELDMENT700-342H2.
Rev. 2S/N 412103 to 464191BRAKE PEDAL ARM WELDMENT700-126H2.
Rev 1; Use up stockS/N 412102-RPBY 700-129S700-057H2.
S/N 464192+ Includes #2 & #31BRAKE PEDAL W/ PAD ASSEMBLY700-341S3.
S/N 464191- Includes #2 & #31BRAKE PEDAL W/PAD ASSEMBLY700-129S3.
WIRING/TUBE CLIP FOR 1/4 OD800-347C4.
RETAINING RING 5/8 EXT.800-355C5.
CLAMP PINCH FOR .50 OD HOSE800-356C6.
HOSE CLAMP 1/4 ID800-360C7.
HH DRILL SCREW 1/4 x 3/4 LG801-174C8.
HHCS 5/16-18 x 1 GR5 YELLOW DIE802-738C9.
NUT HEX NYLOCK 5/16-18 PLT803-084C10.
PIN COTTER 3/32 x 1 LONG805-063C11.
PIN CLEVIS 5/16 x 1805-066C12.
MASTER CYLINDER PUSH ROD815-150C13.
JAM NUT MASTER CYL. PUSH ROD815-151C14.
MASTER CYLINDER BOOT815-152C15.
MASTER CYLINDER CLEVIS815-154C16.
DUAL RESEVOIR BRAKE FLUID W/CAP815-155C17.
DUAL MASTER CYLINDER815-156C18.
MASTER CYLINDER PRESS. SWITCH815-157C19.
MSTR CYL CPPR WSHR 16X10X1.5MM815-158C20.
MASTER CYLINDER RESERVOIR CLIP815-163C21.
BULK HEAD FLOW THROUGH815-167C22.
FRONT BRAKE LINE LH815-173C23.
NT STEEL BRAKE LINE815-186C24.
ST STEEL BRAKE LINE815-175C24.
FRONT BRAKE LINE 15 1/4 RH NT815-187C25.
FRONT BRAKE LINE 21 1/4 RH ST815-174C25.
FRNT BRAKE LINE END LH STEEL815-190C26.
FRNT BRAKE LINE END RH STEEL815-196C27.
BRAKE LINE RBR 17" M10 x 1 FEMALE815-210C28.
BUSHING 3/4 OD x 5/8 ID x 3/4 FLG HD817-526C29.
12.5" FUEL LINE/HYDRAULIC FLUID RESVOIR.840-104C30.
S/N 412103+BRAKE/ACCELERATOR PEDAL RUBBER840-134C31.
NUT HEX FLG TOP LK 5/16-18 YLW803-177C32.
*
*
IMPORTANT NOTES:
1. Brake fluid type = DOT 3
2. Fluid capacity = Fill to line on reservoir
02/19/09 4200 & 4400 NT ST Utility Vehicles Treker 700-108P 33
Table of Contents Part Number Index
Section 5: Brakes Land Pride
TREKER 00 SERIES
Front Brake System
Applies to 4200NT, 4200ST, 4400NT, 4400ST

RevisionCommentsPart DescriptionPart No.Ref.
Drawing Image Numberdwg21221
Rev. 2(S/N 400270+) Does not include #3,
#4 & #5
RH DISC BRAKE ASM 172mm W/JNT815-143C
Rev. 1(S/N 400269-) Does not include #3,
#4 & #5
RH DISC BRAKE ASM 1/6 TAPER700-256D
Rev. 2(S/N 400270+) Does not include #3,
#4 & #5
LH DISC BRAKE ASM 172mm W/JNT815-144C
Rev. 1(S/N 400269-) Does not include #3,
#4 & #5
LH DISC BRAKE ASM 1/6 TAPER700-257D
HHCS 7/16-14X2 GR5802-589C1.
NUT HEX FLANGE LOC 7/16-14 PLT803-229C2.
NUT HEX NYLOCK M10X1.5 PLT803-280C3.
NUT HEX M16X1.5 TOP LOCK PLT803-332C4.
FRNT DISC BRAKE STUB SHAFT 2WD815-147C5.
NUT M8D20416.
BALL BEARING 60,05X30X37F7637.
SEEGERF7658.
SCREW M 10 X 1.25 X 35F7729.
GROWER 10F77310.
DUST BOOT RINGF82411.
CAPF82212.
SEALING RINGF82313.
RUBBER DUST BOOTF82014.
BLEEDER SCREWF82715.
BOOTF82816.
PLUGF82917.
ELASTIC RINGF83218.
SCREW M8 X 20F84519.
SCREW M8 X 65F77420.
HHS M10X1.5X50 PLTF79921.
CALIPER BODYF81322.
REACTION BRACKETF81523.
SPACERF81824.
BRAKE PAD KIT (PER WHEEL)F100425.
PINF82626.
Rev. 2S/N 400270+WHEEL PIVOTF84027.
Rev. 1S/N 400269-WHEEL PIVOT700-219D27.
CALIPER CLAMPING PLATEF83428.
DISC BRAKEF84329.
Rev. 2CMEX FLANGE WITH STUDSF18130.
Rev. 1RPBY F181F89630.
STUDF90931.
02/19/09 4200 & 4400 NT ST Utility Vehicles Treker 700-108P 35
Table of Contents Part Number Index
Section 5: Brakes Land Pride
TREKER 00 SERIES
Front Disc Brake Components
Applies to 4200NT, 4200ST, 4400NT, 4400ST

RevisionCommentsPart DescriptionPart No.Ref.
Drawing Image Numberdwg21233
EQUALIZER PARK BRAKE WLDMENT700-021H1.
MICRO-SWITCH PARK BRAKE BRACKET700-238D2.
EQUILIZER PARK BRAKE710-069D3.
WIRING/TUBE CLIP FOR 1/4 OD800-347C4.
E RETAINING RING EXTERNAL800-351C5.
SCR HEX SELF TAP 1/4-20 x 1 TYPE F801-151C6.
HH DRILL SCREW 1/4 x 3/4 LG801-174C7.
HHCS M8X1.25 x 30 GR10.9 YLW PLT802-731C8.
HHCS 5/16-18X3/4 GR5 YELLOW DI802-735C9.
SHLDR BLT 5/16 x.50 1/4-20UNC802-740C10.
HSHCS #4-40 x 3/4802-773C11.
NUT HEX NYLOCK 5/16-18 PLT803-084C12.
NUT HEX #4-40 PLT803-211C13.
NUT HEX NYLOCK 1/4-20803-255C14.
WASHER SPRING LOCK M8 PLT804-157C15.
PIN COTTER 3/32 x1 LONG805-063C16.
PIN CLEVIS 5/16 x1 BEE IND.805-066C17.
CLEVIS PIN 6MM x 16MM USABLE LENGTH805-336C18.
PIN CLEVIS 1/4 x 3/4805-342C19.
PARK BRAKE LEVER815-153C20.
REAR BRAKE LINE 28.3815-165C21.
FITTING 3 WAY HYDRAULIC815-178C22.
NT STEEL BRAKE LINE815-186C23.
ST STEEL BRAKE LINE815-175C23.
REAR RUBBER BRAKE LINE815-211C24.
PARK BRAKE MICRO-SWITCH833-330C25.
NTPARK BRAKE CABLE NT 46.5"LG840-117C26.
STPARK BRAKE CABLE ST 51 1/2"LG840-119C26.
NUT MALE BRAKE LINE M10X1.251100127.
NUT MALE BRAKE LINE M10X1.01100028.
02/19/09 4200 & 4400 NT ST Utility Vehicles Treker 700-108P 37
Table of Contents Part Number Index
Section 5: Brakes Land Pride
TREKER 00 SERIES
Rear Brake System
Applies to 4200NT, 4200ST, 4400NT, 4400ST

RevisionCommentsPart DescriptionPart No.Ref.
Drawing Image Numberdwg22231
REAR U-JOINT SKID PLATE700-219H1.
SKID PLATE U-JOINT (ST)700-281D2.
KEY 3/16 X 7/8800-296C3.
TPHMS Y 1/4-20X1 YELLOW DIE801-181C4.
HHCS 3/8-16X1 GR5802-017C5.
HHCS 3/8-16X1 3/4 GR5802-023C6.
HHCS 5/16-18X2 GR5802-115C7.
HHCS 3/8-16X2 GR5802-143C8.
HHCS 3/8-24X1 1/2 GR8 PLT802-758C9.
NUT HEX NYLOCK 5/16-18 PLT803-084C10.
NUT FLANGE LOCK 3/8-16 PLT803-209C11.
NUT HEX FLNG T-LOCK 1/4-20 PLT803-293C12.
WASHER FLAT 3/8 USS PLT804-011C13.
WASHER LOCK SPRING 3/8 PLT804-013C14.
PILLOW BLOCK BEARING TRUCK822-203C15.
DRIVELINE, FRONT 4X4 NT/ST826-463C16.
DRIVELINE, REAR 4X4 ST826-465C17.
MOUNT MOTOR H SYTLE840-080C18.
WASHER FENDER 1.5OD X.4IDX.06T840-108C19.
02/19/09 4200 & 4400 NT ST Utility Vehicles Treker 700-108P 39
Table of Contents Part Number Index
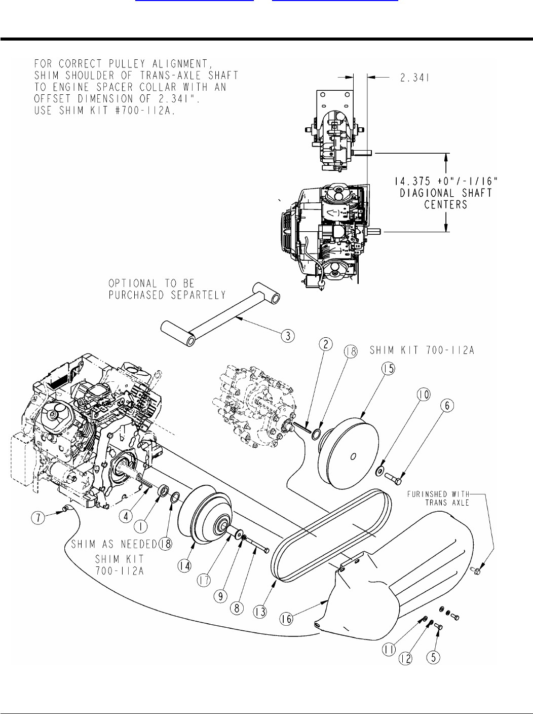
Section 6: Drive Train Land Pride
TREKER 00 SERIES
CV Driveshaft S/N 434125 to 437241
Applies to 4400ST

RevisionCommentsPart DescriptionPart No.Ref.
Drawing Image Numberdwg21241
CVT SPACER700-215D1.
KEY 3/16 X 3710-097D2.
OptionalTREKER ENGINE/TRANS ALIGNMENT790-001A3.
KEY .187 X .247 X 2.5 LG800-350C4.
HHCS M8X1.25 X 20 GR8.8802-314C5.
HHCS 1/2-20 X 2 GR5802-320C6.
HHCS M8X1.25 X 10 GR8.8802-765C7.
HHCS 3/8-24 X 3 1/2 GR5 PLT802-770C8.
WASHER LOCK SPRING 3/8 PLT804-013C9.
WASHER FLAT 1/2 USS PLT804-017C10.
WASHER FLAT 5/16 HARD ASTMF436804-084C11.
WASHER LOCK SPRING 5/16 YELLOW804-201C12.
(S/N 437153+)BELT CVT TRUCK816-464C13.
(S/N 437152-)BELT CVT TRUCK816-413C13.
(S/N 437153+)CVT DRIVER826-444C14.
(S/N 437152-)CVT DRIVER TRUCK826-415C14.
(S/N 437153+)CVT DRIVEN TRUCK 9 1/2"OD826-445C15.
(S/N 437152-)CVT DRIVEN TRUCK 10 1/8" OD826-416C15.
CVT COVER FRONT TRUCK840-098C16.
ADAPTER CVT DRIVEN840-135C17.
CVT SHIM KIT700-112A18.
02/19/09 4200 & 4400 NT ST Utility Vehicles Treker 700-108P 41
Table of Contents Part Number Index
Section 6: Drive Train Land Pride
TREKER 00 SERIES
Drive Belt Components
Applies to 4200NT, 4200ST, 4400NT, 4400ST

RevisionCommentsPart DescriptionPart No.Ref.
Drawing Image Numberdwg21240
ENGINE MOUNT WELDMENT700-059H1.
TRANS SUPPORT PLATE700-074D2.
ENGINE SUPPORT TUBE, RIGHT700-075D3.
ENGINE SUPPORT TUBE, LEFT700-076D4.
SPACER700-078D5.
TRANS MNT SUPPORT BRACKET ST700-099D6.
TRANS MNT SUPPORT BRACKET NT700-071D6.
(S/N 421313+)COVER/ENGINE TOP ASSEMBLY700-207S7.
For S/N 421312-ENGINE COVER SERVICE KIT700-208S7.
(S/N 429636+)SPACER PLATE, MOTOR MOUNT700-274D8.
COVER THROTTLE LINKAGE700-356D9.
(S/N 421313+)TPHMS Y 1/4-20X3/4 YELLOW DIE801-180C10.
TPHMS Y 1/4-20X1 YELLOW DIE801-181C11.
TPHMS Y 1/4-20X1/2 YELLOW DIE801-198C12.
HHCS 3/8-16X3 GR5802-024C13.
HHCS 7/16-14X1 3/4 GR5802-113C14.
HHCS 3/8-16X2 GR5802-143C15.
(S/N 421313+)NUT SQ 1/4-20 PLT803-005C16.
NUT LOCK 3/8-16 NYLON INSERT803-078C17.
NUT FLANGE LOCK 3/8-16 PLT803-209C18.
NUT HEX FLANGE LOC 7/16-14 PLT803-229C19.
NUT HEX FLNG T-LOCK 1/4-20 YLW803-293C20.
WASHER FLAT 3/8 USS PLT804-011C21.
Non Warranty Replacement PartHONDA ENGINE 20HP TRUCK826-413C22.
HFCS M8-1.25X20 10.9 HX FL ZN839-122C23.
MOUNT MOTOR H SYTLE840-080C24.
WASHER FENDER 1.5OD X.4IDX.06T840-108C25.
VOLTAGE REGULATOR FOR 826-41840-142C26.
*
*
Honda Engine Informatiom:
NGK2015 / BPR2ESSpark Plug
90605-230-000Honda Snap Ring (Throttle Cable)
99201-ZG8-1050Honda Jet Kit (Elevation 0-4,999 ft. (Fractory
Installed)
99201-ZG8-1020Honda Jet Kit (Elevation 5,000-7,999 ft.
99201-ZG8-1000Honda Jet Kit (Elevation 8,000 ft and up)
831-038CHonda Oil Filter
Fluid Type = SAE 10W30
Fluid Capacity = 1.48 qts with filter change
*
Contains Spark Plug, Fuel Filter,
Engine Oil Filter & Air Filter
TREKER TUNE-UP KIT (5"FILTER)700-245K
02/19/09 4200 & 4400 NT ST Utility Vehicles Treker 700-108P 43
Table of Contents Part Number Index
Section 6: Drive Train Land Pride
TREKER 00 SERIES
Engine Mounting Honda
Applies to 4200NT, 4200ST, 4400NT, 4400ST

RevisionCommentsPart DescriptionPart No.Ref.
Drawing Image Numberdwg21232
FRONT DIFFERENTIAL W/ELE CLTCH826-398C
#1 Kit includes #2 to #8 & 42OUTPUT COVER PLATE ASSEMBLY6203-12-1001.
Sold with #1 kitMATE-N-LOK- HOUSING2.
Sold with #1 kitMATE-N-LOK PIN3.
Sold with #1 kitGROMMET, OUTPUT COVER4.
Sold with #1 kitCOVER PLATE, OUTPUT-MACHINED5.
Sold with #1 kit & #39 kitO-RING, OUTPUT-164S (SQ. RING)6.
Sold with #1 kitCOIL POCKET INSERT7.
Sold with #1 kitCOIL W/PRESS FIT BOBBIN8.
ARMATURE PLATE6203-59-032-B9.
SHIM .05 THICK BRASS, HALF HARD6203-26-020-A10.
6008-C3 DEEP GROOVE ROLLER BEARING
4£
1215-02-038-T11.
#12 Kit includes #13 to #16CLUTCH ASSEMBLY6203-01-16612.
Sold separately & with #12 kit6015-C3 DEEP GROVE ROLLER BALL
BEARING
1215-02-141-T13.
Sold separately & with #12 kitCLTH.HSG./RNG GR., 42T 6.75DP6203-13-124-D14.
Sold separately & with #12 kitROLL KIT6203-29-010-015.
#16 Kit includes #17 & #18ROLL CAGE ASSEMBLY6203-20-07216.
Sold separately & with #16 kitROLL CAGE, PLASTIC-MACHINED17.
Sold separately & with #16 kitSPRING KIT, H-CLIP .008 THK6203-35-024-018.
#19 Kit includes #20 to #21RACE/OUTPUT HUB ASSEMBLY6203-27-017-B19.
Sold with #19 kitRACE/OUTPUT HUB, FEMALE20.
Sold with #19 kitPAP0806 PERMIGLIDE BUSHING21.
Sold separately & with #19 kitTC815 NEEDLE ROLLER THRUST BEARING1242-00-009-T22.
Sold separately & with #19 kit1/2 DIA X 1 LG. DOWEL PIN0430-01-002-T23.
Sold with #19 kitRACE/OUTPUT HUB, MALE24.
#25 Kit includes #26 to #32GEARCASE ASSEMBLY6203-13-16525.
Sold with #25 kitMB1615 DU BUSHING26.
Sold with #25 kitLABEL, BAR CODE27.
Sold with #25 kitTUBE, VENT 1/2 HOSE28.
Torque item #29 (PLUG OIL
FILL 3/4-16 HOLLOW HD) 10
ft*lbs.
Sold separately & with #25 kitPLUG OIL FILL 3/4-16 HOLLOW HEAD0518-03-009-T29.
Sold with #25 kitGEARCASE, LH-MACHINED30.
Sold with #25 kitBUSHNG, SELF LUBRICATING 80X85X2031.
#32 Kit includes #33 & #34DRAIN PLUG ASSEMBLY6203-95-001-032.
Sold with #32 kitWASHER, .625X.06, NYLON 6/633.
W/MAG. TIPSold with #32 kit; Torque
item #34 (PLG,OIL DRAIN,3/8-16HH
FLNGE W/M) 9 ft*lbs.
PLUG, OIL DRAIN, 3/8-16HH FLANGE34.
Torque item #35 (5/16" x 1" Hex
Head Bolts) 17 ft*lbs.
BOLT KIT6203-93-001-035.
SHAFT PNION 11T3.75DP, MACHINED6203-47-024-B36.
ROLLER BALL BEARING6306-03-C3 DP GROOVE1215-02-154-T37.
COVER PLATE, INPUT-MACHINED6203-12-064-B38.
#39 Kit includes #6 & #40 to #42MINOR REPAIR KIT6203-56-001-039.
Sold with #39 kit0-RING, INPUT, 148S40.
Sold with #1 kit & #39 kit25X47X8 TRIPLE LIP OIL SEAL41.
Sold with #39 kit40X52X7TC OIL SEAL, OUTPUT42.
*
*
IMPORTANT NOTES:
1. Torque 3/4" oil drain plug (Item #29) to 10 ft.
lbs.
2. Torque 3/8" oil drain plut (Item #34) to 9 ft.
lbs.
02/19/09 4200 & 4400 NT ST Utility Vehicles Treker 700-108P 45
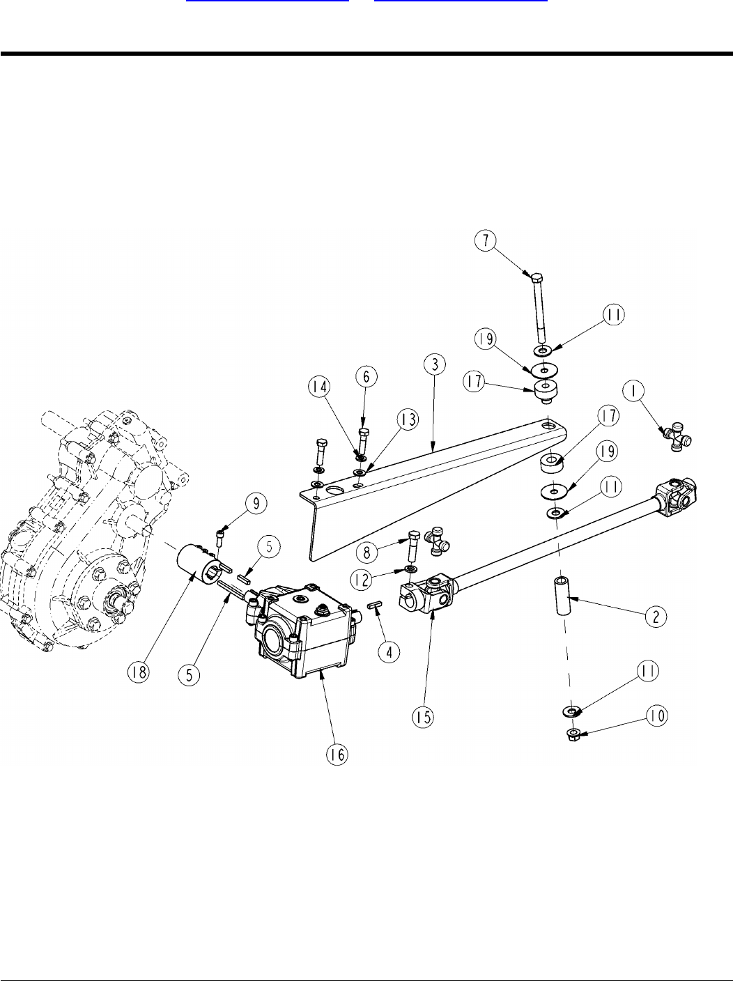
Table of Contents Part Number Index
Section 6: Drive Train Land Pride
TREKER 00 SERIES
Front Differential Components
Applies to 4400NT, 4400ST

RevisionCommentsPart DescriptionPart No.Ref.
3. Torque 5/16" x 1" bolts (Item #35) to 17 ft. lbs.
4. Use command track gen2 gear lube part #
821-061C or Mobil 424
5. Gear lube capacity = 5 oz.
46 4200 & 4400 NT ST Utility Vehicles Treker 700-108P 02/19/09
Table of Contents Part Number Index
Land Pride Section 6: Drive Train
TREKER 00 SERIES
Front Differential Components (continued)
Applies to 4400NT, 4400ST

RevisionCommentsPart DescriptionPart No.Ref.
Drawing Image Numberdwg21229
CROSS & BRG KIT1-0170NPL1.
VENT HOSE 1705 LG 4X4 GEARBOX700-466D2.
CABLE TIE 2 DIA MIN - BLK800-303C3.
SPRING CIR CLIP .95OD x .063 WIRE800-353C4.
CLAMP PINCH FOR .50 OD HOSE800-356C5.
HHCS 3/8-16 x 1 GR5802-017C6.
HHCS 5/16-18 x 2 GR5802-115C7.
NUT LOCK 3/8-16 NYLON INSERT803-078C8.
NUT HEX NYLOCK 5/16-18 PLT803-084C9.
NUT HEX M16 x 1.5 TOP LOCK PLT803-332C10.
WASHER FLAT 3/8 USS PLT804-011C11.
WASHER LOCK SPRING 3/8 PLT804-013C12.
PILLOW BLOCK BEARING TRUCK822-203C13.
WITH ELECTRIC CLUTCHFRONT DIFFERENTIAL826-398C14.
Left and right sideOUTER BOOT KIT W/ 2 CLAMPS504815.
Left and right sideINNER BOOT KIT W/2 CLAMPS505116.
Left & right side / Includes #15 & #16FRONT AXLE SHAFT NARROW826-403C17.
Left & right side / Includes #15 & #16FRONT AXLE SHAFT STANDARD826-405C17.
FRONT HALF DRIVELINE 4 x 4 NT/ST826-438C18.
02/19/09 4200 & 4400 NT ST Utility Vehicles Treker 700-108P 49
Table of Contents Part Number Index
Section 6: Drive Train Land Pride
TREKER 00 SERIES
Front Differential, Axleshaft and Driveshaft
Applies to 4400NT, 4400ST

RevisionCommentsPart DescriptionPart No.Ref.
Drawing Image Numberdwg21301
SHIFT CABLE PLATE700-073D1.
SHIFT LEVER700-135D2.
HHCS 1/4-20 X 2 1/4 GR5802-551C3.
HWH 5/16-18 X 3/4 THREAD-ROLLING802-764C4.
HHCS 1/4-20 X 1 1/4 GR8802-769C5.
NUT HEX NYLOCK 1/4-20803-255C6.
NUT HEX FLNG T-LOCK 1/4-20 PLT803-293C7.
Includes #9 to #13SELECTOR CONTROL TRUCK840-114C8.
RUBBER SHIELD/SELECTOR CONROLIC-31809.
KNOB, SELCECTOR CONTROLIC-351410.
SPRING COMP.5DX.406IDX1.5L.04W807-235C11.
KIT MICRO SWITCH WITH WIRESIC-358612.
NUT HEX LOCK M6 PLT803-154C13.
MICRO SWITCH 4 SHIFTER 840-114CV7-1C17D8-20114.
BALL JOINT 6MM X 1.00840-209C15.
02/19/09 4200 & 4400 NT ST Utility Vehicles Treker 700-108P 51
Table of Contents Part Number Index
Section 6: Drive Train Land Pride
TREKER 00 SERIES
Shift Selector Components
Applies to 4200NT, 4200ST, 4400NT, 4400ST

RevisionCommentsPart DescriptionPart No.Ref.
Drawing Image Numberdwg21243
SHIFT CABLE PLATE700-073D1.
SHIFT LEVER700-135D2.
HWH 5/16-18X3/4 THREAD-ROLLING802-764C3.
HHCS 1/4-20X1 1/4 GR8802-769C4.
NUT HEX NYLOCK 1/4-20803-255C5.
NUT HEX M16X1.5 TOP LOCK PLT803-332C6.
FLAT WASHER M16 NARROW PLT804-005C7.
GEARBOX SPICER INDEPENDENT REAR 4X4826-395C8.
Optiomal on NT OnlyTRANSAXLE W/ AUTO-LOCK DIFF.826-454C8.
INNER BOOT KIT WWITH 2 CLAMPS50519.
OUTER BOOT KIT WITH 2 CLAMPS504810.
INCLUDES #9 & #10REAR AXLE SHAFT NT 18T INT SPL826-406C11.
INCLUDES #9 & #10REAR AXLE SHFT NT, 24T INT.SPL EA826-455C11.
INCLUDES #9 & #10REAR AXLE SHAFT ST 18T INT SPL826-404C11.
02/19/09 4200 & 4400 NT ST Utility Vehicles Treker 700-108P 53
Table of Contents Part Number Index
Section 6: Drive Train Land Pride
TREKER 00 SERIES
Transaxle Rear and Axle Shafts
Applies to 4200NT, 4200ST, 4400NT, 4400ST

RevisionCommentsPart DescriptionPart No.Ref.
Drawing Image Numberdwg21222
GBOX DANA/SPICER INDEP.REAR4X4826-395C
Rev. 2 not compat. w/Rev. 1(S/N 440713+) (See Dwg Note 3);HOUSING AND SHAFT ASSBLY012CH291-2X1.
Rev. 1(S/N 440712-) (See Dwg Note 3)HOUSING AND SHAFT ASSBLY012CH291-1X1.
(See Note 3)HOUSING-AXLE FIN012CH2892.
Consist of compression spring, set
screw and detent ball.
KIT, DETENT012LK1333.
SEAL - OIL012HH1224.
ACTUATOR ASSY012GV164-X5.
Rev. 2 not compat. w/Rev. 1S/N 440713+SHIFT ROD SUB-ASSY012SV118-X6.
Rev. 1S/N 440712-SHIFT ROD SUB-ASSY012SV112-X6.
SEAL - OIL012HH1287.
TB ASM-REAR FIN W/O SEAL012TA327-X8.
SEAL - OIL515A89.
SCREW - FLG HEAD026HM10710.
RING - SNAP514A711.
RING - SNAP012HR12812.
BEARING 6004-2RS58597113.
SHAFT - AXLE FIN012SR12914.
SCREW - FLG HEAD012HM110-115.
NUT - LOCK012HN12016.
PLUG - RUBBER4135617.
VENT PLUG012HN14018.
PIN - DOWEL012HP12019.
BEARING 620558596520.
SHAFT - INPUT FIN012GS30721.
Use Shims as requiredKIT, SHIM012LK13422.
RPBY 012LK134012HS12022.
BEARING -6303 BALL SINGLE012HD11123.
BEARING -6204 BALL SINGLE012HD12924.
SPACER - FLAT012HS12125.
GEAR ASSY - FORWARD012GS202-X26.
GEAR - CLUTCH012GS30227.
SHAFT - INTERMEDIATE FIN012GS33728.
GEAR ASSY - REVERSE012GS204-X29.
GEAR - HELICAL FIN012GS21530.
SEAL - OIL012HH14031.
WASHER - THRUST012HS12532.
GEAR ASSY - IDLER012GS207-X33.
WASHER - THRUST012HS12634.
RING - SNAP012HR12835.
BEARING 600758599436.
GEAR - HELICAL FIN012GS21637.
ASSEMBLY, DIFFERENTIAL012DA120X38.
RPBY 012DA120X012DA117-X38.
RPBY012DA117-X012DA111-X38.
NUT - LOCK012HN13839.
BOLT - HEX012HM12940.
DRAIN PLUG012HG14541.
RETAINER - AXLE SHAFT012HR12142.
RING - O012HH13743.
S/N 440713+SWITCH, NEUTRAL, GEARBOX580344.
*
*
IMPORTANT NOTES:
1. Use Mobil 424 or equivalent
2. Gear lube capacity = 20 oz.
02/19/09 4200 & 4400 NT ST Utility Vehicles Treker 700-108P 55
Table of Contents Part Number Index
Section 6: Drive Train Land Pride
TREKER 00 SERIES
Transaxle Rear Components
Applies to 4200NT, 4200ST, 4400NT, 4400ST

RevisionCommentsPart DescriptionPart No.Ref.
3. Use Loctite 518 as a gasket between housings
#1 & #2.
56 4200 & 4400 NT ST Utility Vehicles Treker 700-108P 02/19/09
Table of Contents Part Number Index
Land Pride Section 6: Drive Train
TREKER 00 SERIES
Transaxle Rear Components (continued)
Applies to 4200NT, 4200ST, 4400NT, 4400ST

RevisionCommentsPart DescriptionPart No.Ref.
Drawing Image Numberdwg21231
CROSS & BRG KIT1-0170NPL1.
GEARBOX MOUNT SPACER700-016D2.
TRANSFER CASE MOUNT700-134D3.
KEY 3/16 X 7/8800-296C4.
S/N 409730+; (1 Required)KEY .187 X .187 X 2.25 LG800-366C5.
S/N 409729-; (2 Required)KEY 3/16 X 7/8800-296C5.
HHCS 5/16-18X3/4 GR5 YELLOW DI802-735C6.
HHCS 3/8-16X4 1/4 GR5802-750C7.
HHCS 3/8-24X1 1/2 GR8 PLT802-758C8.
(4 Required)HSHCS 1/4-28X5/8802-774C9.
NUT FLANGE LOCK 3/8-16 PLT803-209C10.
WASHER FLAT 3/8 USS PLT804-011C11.
WASHER LOCK SPRING 3/8 PLT804-013C12.
WASHER FLAT 5/16 HARD ASTMF436804-084C13.
WASHER LOCK SPRING 5/16 YELLOW804-201C14.
REAR HALF DRIVELINE 4X4 NT826-396C15.
REAR HALF DRIVELINE 4X4 ST826-419C15.
GBOX MODEL R100 1.5TO1 RATIO826-417C16.
MOUNT MOTOR H SYTLE840-080C17.
Includes #8GB COUPLER 4WD TRUCK840-096C18.
WASHER FENDER 1.5OD X.4IDX.06T840-108C19.
02/19/09 4200 & 4400 NT ST Utility Vehicles Treker 700-108P 59
Table of Contents Part Number Index
Section 6: Drive Train Land Pride
TREKER 00 SERIES
Transfer Case and Rear Driveshaft S/N 484886- ST S/N 464194- NT
Applies to 4400NT, 4400ST

RevisionCommentsPart DescriptionPart No.Ref.
Drawing Image Numberdwg23885
CROSS & BRG KIT1-0170NPL1.
GEAR BOX MNT PLATE700-408D2.
MOUNT BRACKET GEARBOX REAR700-447D3.
MOUNT BRACKET GEARBOX FRONT700-448D4.
KEY 3/16 X 7/8800-296C5.
KEY .187 X .187 X 2.25 LG800-366C6.
HHCS 5/16-18X3/4 GR5 YELLOW DI802-735C7.
HHCS 5/16-18X1 GR5 YELLOW DIE802-738C8.
HHCS 3/8-24X1 1/2 GR8 PLT802-758C9.
HSHCS 1/4-28X5/8802-774C10.
NUT HEX NYLOCK 5/16-18 PLT803-084C11.
WASHER LOCK SPRING 3/8 PLT804-013C12.
WASHER FLAT 5/16 HARD ASTMF436804-084C13.
WASHER LOCK SPRING 5/16 YELLOW804-201C14.
GBOX MODEL R100 1.5TO1 RATIO826-417C15.
REAR HALF DRIVELINE 4X4 NT826-396C16.
REAR HALF DRIVELINE 4X4 ST826-419C16.
GB COUPLER 4WD TRUCK840-096C17.
02/19/09 4200 & 4400 NT ST Utility Vehicles Treker 700-108P 61
Table of Contents Part Number Index
Section 6: Drive Train Land Pride
TREKER 00 SERIES
Transfer Case and Rear Driveshaft S/N 484887+ ST S/N 464195+ NT
Applies to 4400NT

RevisionCommentsPart DescriptionPart No.Ref.
Drawing Image Numberdwg21237
GBOX MODEL R100 1.5TO1 RATIO826-417C
HOUSING, R100 MACHINED TAP STDR100-003M-A04271.
HOUSING, R100 MACHINED THRU STDR100-004M-A04282.
STUB SHAFT/GEAR ASSEMBLYR100-8B00-A04713.
SUPERIOR CROSS SHAFT/GEAR ASSEMBLYR100-8B00-A04734.
BEARING, CONE1.00VN-L446432446435.
BEARING, CUP 1.98VN-L446102446106.
SEAL, 1-1.5-.187(R)TC1098437.
CAP, CP-1.5 -.187D#76471003018.
RTN RING EXT1.000 SHAFT2032939.
BOLT 5/16-18 X 1.25 SHCS10312510.
PLUG 1/4-18NPT SCHD20030011.
PLUG VENT 5PSIV/N0056772003PR12.
BUSHING 1/4NPT X 1/8 NPT2003VB13.
*
*
IMPORTANT NOTES:
1. Use S.A.E 80/90 wt. GL-5 lube.
2. Oil capacity = 6 oz.
02/19/09 4200 & 4400 NT ST Utility Vehicles Treker 700-108P 63
Table of Contents Part Number Index
Section 6: Drive Train Land Pride
TREKER 00 SERIES
Transfer Case Components
Applies to 4400NT, 4400ST

RevisionCommentsPart DescriptionPart No.Ref.
Drawing Image Numberdwg21242
HOSE, 2" ID X 4" LONG816-522C1.
RPBY 816-522C700-195D1.
HOSE, 2" ID X 16" LONG816-524C2.
RPBY 816-524C700-198D2.
CLAMP WRM DRV#36SS (1.81-2.75)800-259C3.
HHCS 5/16-18 X 1 GR5 YELLOW DIE802-738C4.
HSHCS M6X1 X 45 GR8.8802-752C5.
NUT HEX NYLOCK 5/16-18 PLT803-084C6.
WASHER FLAT 5/16 HARD ASTMF436804-084C7.
GASKET-ENGINE AIR INTAKE TRUCK816-421C8.
Includes #11, #12, #14, & 2 ea of #13AIR CLEANER ASSEMBLY WITH FILTER
G057514
839-309C9.
CLEANER CLAMP PPGF30839-311C10.
AIR FILTER P821575839-323C11.
COVER WITH LATCHES P533761839-375C12.
LATCH P538928839-376C13.
VACUATOR (BURP) P522958839-377C14.
AIR INTAKE PLASTIC NT TRUCK840-094C15.
02/19/09 4200 & 4400 NT ST Utility Vehicles Treker 700-108P 65
Table of Contents Part Number Index
Section 7: Air Filtration Land Pride
TREKER 00 SERIES
Air Filter Components, NT
Applies to 4200NT, 4400NT

RevisionCommentsPart DescriptionPart No.Ref.
Drawing Image Numberdwg21248
HOSE, 2" ID X 5 1/2" LONG816-523C1.
RPBY 816-523C700-194D1.
CLAMP WRM DRV#36SS (1.81-2.75)800-259C2.
HHCS 5/16-18X1 GR5 YELLOW DIE802-738C3.
HSHCS M6X1X45 GR8.8802-752C4.
NUT HEX LOCK 5/16-18 FLG.803-177C5.
WASHER FLAT 5/16 HARD ASTMF436804-084C6.
GASKET-ENGINE AIR INTAKE TRUCK816-421C7.
Includes #10, #11, #13 & 2 ea of #12AIR CLEANER ASSEMBLY W/FILTER G057514839-309C8.
AIR CLEANER CLAMP PPGF30839-311C9.
AIR FILTER P821575839-323C10.
COVER W/LATCHES P533761839-375C11.
LATCH P538928839-376C12.
VACUATOR (BURP) P522958839-377C13.
AIR INTAKE PLASTIC ST TRUCK840-072C14.
02/19/09 4200 & 4400 NT ST Utility Vehicles Treker 700-108P 67
Table of Contents Part Number Index
Section 7: Air Filtration Land Pride
TREKER 00 SERIES
Air Filter Components, ST
Applies to 4200ST, 4400ST

RevisionCommentsPart DescriptionPart No.Ref.
Drawing Image Numberdwg22118
As RequiredSHIM, MUFFLER MOUNTING700-517D1.
SCREW HEX SLT 8-18X1/2 PLT801-183C2.
SCREW HEX #8 X 1/2 SELF TAP801-193C3.
HHCS 5/16-18X3/4 GR5 YELLOW DI802-735C4.
NUT HEX LOCK 5/16-18 FLG.803-177C5.
NUT HEX FLANGE M8X1.25 PLT803-220C6.
WASHER FLAT 5/16 HARD ASTMF436804-084C7.
SPRING EXT. .5ODX1.68LGX.08W807-219C8.
GASKET MUFFLER HONDA 20HP839-383C9.
HONDA 20 HP ENGINE MUFFLER839-401C10.
HONDA 20 HP ENGINE MANIFOLD839-402C11.
EXHAUST HEAT SHEILD 20 HP839-403C12.
SPARK ARRESTER WITH SCREW840-315C13.
02/19/09 4200 & 4400 NT ST Utility Vehicles Treker 700-108P 69
Table of Contents Part Number Index
Section 8: Exhaust System Land Pride
TREKER 00 SERIES
Exhaust Components (S/N 440720+)
Applies to 4200NT, 4200ST, 4400NT, 4400ST

RevisionCommentsPart DescriptionPart No.Ref.
Drawing Image Numberdwg21239
(S/N 421412-) See Note 1MUFFLER SUPPORT STAND700-227D1.
HHCS 5/16-18X3/4 GR5 YELLOW DI802-735C2.
NUT HEX LOCK 5/16-18 FLG.803-177C3.
NUT HEX FLANGE M8X1.25 PLT803-220C4.
WASHER FLAT 5/16 HARD ASTMF436804-084C5.
SPRING EXTENSION .5OD X 1.68LG X .08W807-219C6.
(S/N 421413+) See Notes 2 & 3HONDA ENGINE MUFFLER 18/20 HP TRUCK839-321C7.
(S/N 421412-) Old style mufflerMUFFLER WITH STRAIGHT TAIL PIPEN/A7.
ENGINE MANIFOLD-HONDA 18/20HP TRUCK839-322C8.
GASKET MUFFLER HONDA 20HP839-383C9.
(S/N 421412-) See Note 1SPARK ARRESTER 1.26 ID840-079C10.
SPARK ARRESTER WITH SCREW840-315c11.
(S/N 421413+) See Note 2RPLBY 840-315C840-176C11.
See Note 2EXHAUST SOCK 20HP HONDARIN1004612.
See Note 2EXHAUST SOCK CLAMP 2 PER PKGRXR1014813.
*
*
Notes:
1. Items #1 and #10 are used with old style
muffler only.
2. Part No. 839-321C includes new style muffler
with bent tail pipe and items #11, #12 and #13.
3. If replaceing total exhaust, upgrade by
ordering 700-218S (straight exhaust manifold &
heat shield) and 839-401C (muffler).
02/19/09 4200 & 4400 NT ST Utility Vehicles Treker 700-108P 71
Table of Contents Part Number Index
Section 8: Exhaust System Land Pride
TREKER 00 SERIES
Exhaust Components NT & ST S/N 440719-)
Applies to 4200NT, 4200ST, 4400NT, 4400ST

RevisionCommentsPart DescriptionPart No.Ref.
Drawing Image Numberdwg21245
GAS TANK MOUNT SPACER700-017D1.
GAS TANK STRAP, WIDE700-175D2.
FUEL LINE 9" ST MODEL700-213D3.
ST FUEL TANK ASSY700-368S4.
PINCH CLAMP HONDA .32OD HOSE800-007C5.
CLAMP PINCH FOR .50 OD HOSE800-356C6.
HHCS 1/4-20X3/4 GR5802-004C7.
HHCS 1/4-20X1 GR5802-005C8.
NUT HEX NYLOCK 1/4-20803-255C9.
HONDA FUEL FILTER831-035C10.
GROMMET FOR FUEL GAUGE839-297C11.
FUEL CAP TALL839-298C12.
FUEL TANK 8 GALLON ST839-301C13.
FUEL GAUGE839-302C14.
02/19/09 4200 & 4400 NT ST Utility Vehicles Treker 700-108P 73
Table of Contents Part Number Index
Section 9: Fuel System Land Pride
TREKER 00 SERIES
Fuel System Components
Applies to 4200ST, 4400ST

RevisionCommentsPart DescriptionPart No.Ref.
Drawing Image Numberdwg21299
SERVICE - NT TANK STRAP W/DECAL700-146A1.
FUEL LINE 31" NT MODEL700-214D2.
PINCH CLAMP HONDA .32OD HOSE800-007C3.
CLAMP PINCH FOR .50 OD HOSE800-356C4.
HHCS 1/4-20 X 3/4 GR5802-004C5.
NUT HEX NYLOCK 1/4-20803-255C6.
FUEL CAP SHORT817-593C7.
FUEL FILTER HONDA831-042C8.
GROMMET FOR FUEL GAUGE839-297C9.
FUEL TANK 4 GALLON NT839-299C10.
FUEL GAUGE839-302C11.
02/19/09 4200 & 4400 NT ST Utility Vehicles Treker 700-108P 75
Table of Contents Part Number Index
Section 9: Fuel System Land Pride
TREKER 00 SERIES
Fuel System Components, NT
Applies to 4200NT, 4400NT

RevisionCommentsPart DescriptionPart No.Ref.
Drawing Image Numberdwg21265
894 - Available through your local
auto parts store
HEADLIGHT BULB 37.5 WATTN/A1.
1157 - Available through your local
auto parts store
TAILLIGHT BULB 1157N/A2.
RELAY BOSCH0-332-209-1503.
STRAP BATTERY HOLD DOWN710-093D4.
HFSS 1/4-20 X 3/4 GR5802-257C5.
NUT HEX NYLOCK 1/4-20803-255C6.
NUT HEX FLNG T-LOCK 1/4-20 PLT803-293C7.
Includes bulbHEADLIGHT WITH TRAP LENS 37.5 WATT833-255C8.
(NT Model)BATTERY CABLE POSITIVE 28 INCH NT833-257C9.
(ST Model)BATTERY CABLE POSITIVE 15 INCH ST833-256C9.
Rev. 3 not compat. w/Rev. 2(S/N 440714+)WIRING HARNESS, MAIN ST833-348C10.
Rev. 2 not compat. w/Rev. 1(S/N 418339 to 440713)MAIN WIRING HARNESS ST833-331C10.
(S/N 440714+)WIRING HARNESS, MAIN NT833-349C10.
Rev. 2 not compat. w/Rev. 1(S/N 418339 to 440713)MAIN WIRING HARNESS NT833-333C10.
(S/N 418338-)WIRING HARNESS TRUCK833-260C10.
BCI Group U1/U1R, min. 300CCA.
See Note 1
BATTERYN/A11.
Includes bulbTAILLIGHT833-277C12.
Rev. 2 not compat. w/Rev. 1(S/N 418339+)WIRE HARNESS INSTRUMENT PANEL833-335C13.
(S/N 418338-)WIRING HARNESS INSTRUMENT PANL833-296C13.
20" 6GA NEGATIVE BLACK CABLE833-303C14.
30 AMP RESETABLE CIRUIT BREAKR833-338C15.
20 AMP FUSE (5 PACK)839-288C16.
PUSH RETAINERS 4 NON-THRD SHFT840-105C17.
*
*
NOTES:
1. Due to extra shipping cost resulting from
chemical hazard rating, Land Pride recommends
the battery be purchased locally and has
provided detailed battery information above.
02/19/09 4200 & 4400 NT ST Utility Vehicles Treker 700-108P 77
Table of Contents Part Number Index
Section 10: Electrical System Land Pride
TREKER 00 SERIES
Electrical Wiring NT S/N 464880- ST S/N 464184-
Applies to 4200NT, 4200ST, 4400NT, 4400ST

RevisionCommentsPart DescriptionPart No.Ref.
Drawing Image Numberdwg23889
894 - Available through your local
auto parts store
HEADLIGHT BULB 37.5 WATTN/A1.
1157 - Available through your local
auto parts store
TAILLIGHT BULB 1157N/A2.
RELAY BOSCH0-332-209-1503.
HOLDOWN, BATTERY ST700-456D4.
HFSS 1/4-20X3/4 GR5802-257C5.
SP HOOK 5/16-18X9X3 THREAD802-793C6.
NUT HEX 5/16-18 PLT803-008C7.
NUT HEX FLNG T-LOCK 1/4-20 YLW803-293C8.
WASHER FLAT 5/16 SAE PLT804-036C9.
WASHER LOCK SPRING 5/16 YELLOW804-201C10.
HEADLIGHT W/TRAP LENS 37.5WATT833-255C11.
BATTERY CABLE POSITIVE 15 INCH833-256C12.
WIRING HARNESS, MAIN ST833-348C13.
WIRING HARNESS, MAIN NT833-349C13.
Buy LocallyBATTERYN/A14.
TAILLIGHT833-277C15.
WIRING HARNESS INSTRUMENT PANL833-296C16.
20" 6GA NEGATIVE BLACK CABLE833-303C17.
30 AMP RESETABLE CIRUIT BREAKR833-338C18.
20 AMP FUSE (5 PACK)839-288C19.
PUSH RETAINERS 4 NON-THRD SHFT840-105C20.
02/19/09 4200 & 4400 NT ST Utility Vehicles Treker 700-108P 79
Table of Contents Part Number Index
Section 10: Electrical System Land Pride
TREKER 00 SERIES
Electrical Wiring NT S/N 464881+ ST S/N 464185+
Applies to 4200NT, 4200ST, 4400NT, 4400ST

RevisionCommentsPart DescriptionPart No.Ref.
Drawing Image Numberdwg23886
WIRING HARNESS, MAIN NT833-349C1.
02/19/09 4200 & 4400 NT ST Utility Vehicles Treker 700-108P 81
Table of Contents Part Number Index
Section 10: Electrical System Land Pride
TREKER 00 SERIES
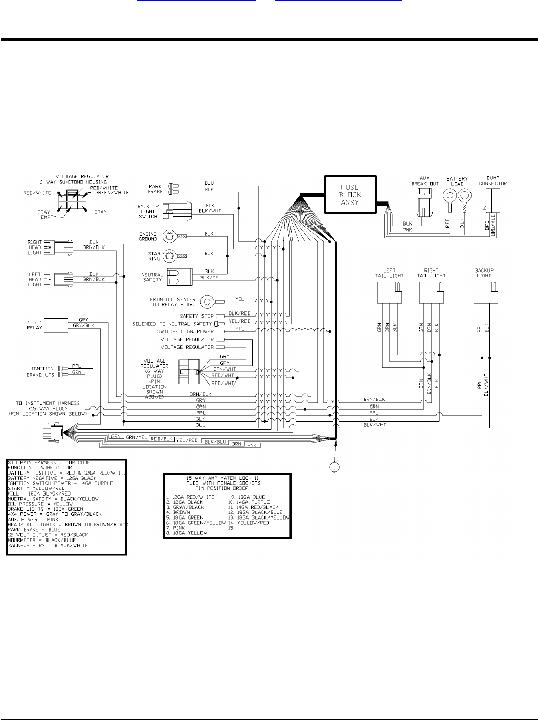
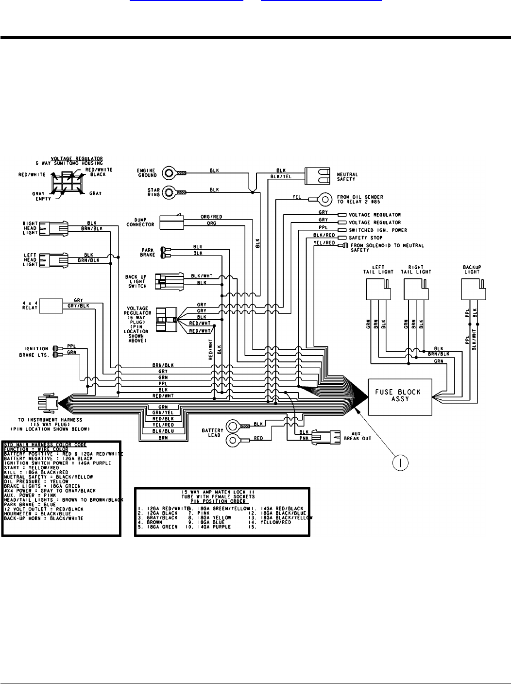
Electrical Wiring Schematic, Main 00 Series NT
Applies to 4200NT, 4400NT

RevisionCommentsPart DescriptionPart No.Ref.
Drawing Image Numberdwg23857
WIRING HARNESS, MAIN ST833-348C1.
02/19/09 4200 & 4400 NT ST Utility Vehicles Treker 700-108P 83
Table of Contents Part Number Index
Section 10: Electrical System Land Pride
TREKER 00 SERIES
Electrical Wiring Schematic, Main 00 Series ST
Applies to 4200ST, 4400ST

RevisionCommentsPart DescriptionPart No.Ref.
Drawing Image Numberdwg21234
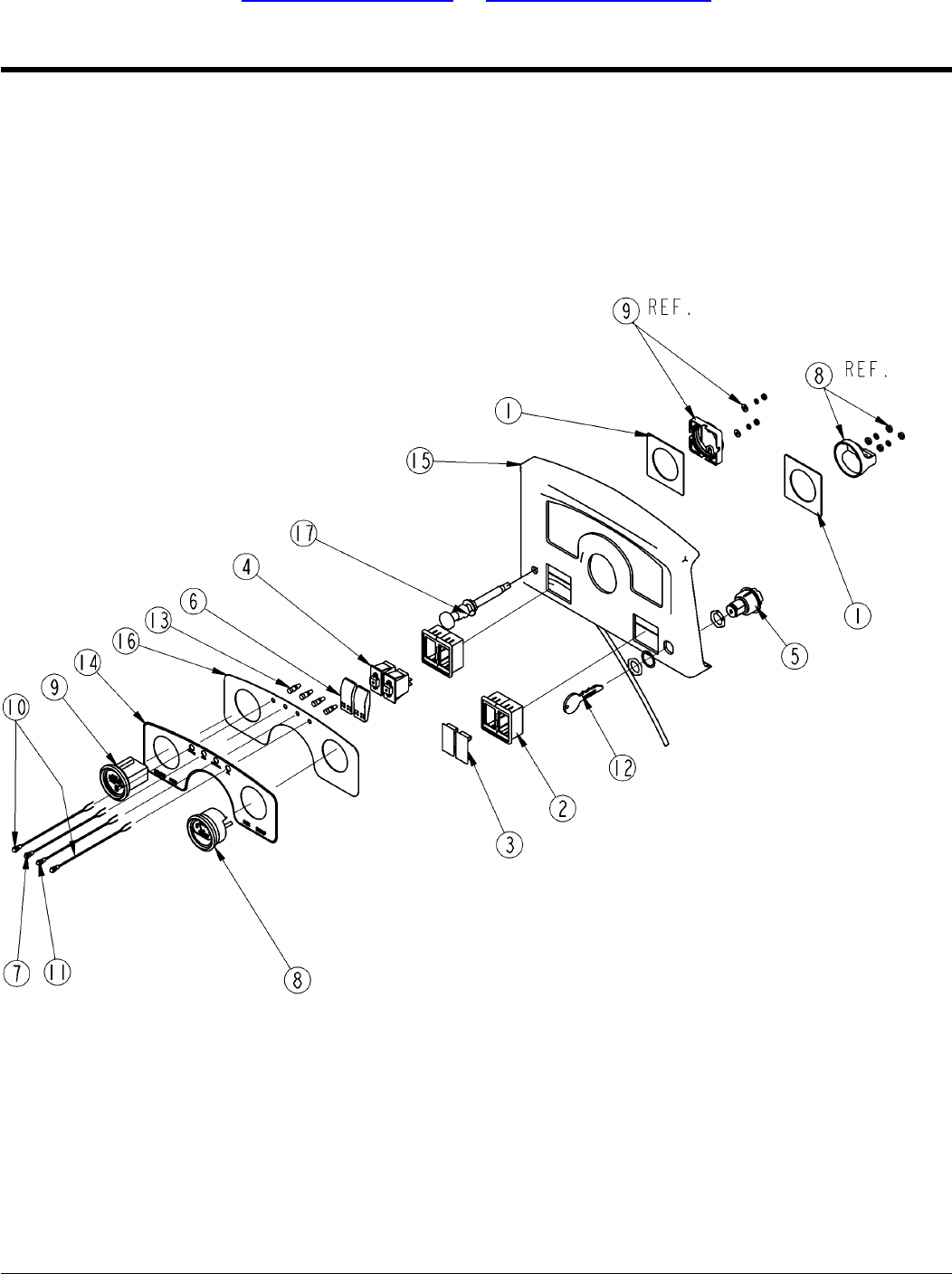
DASH BACKER PLATE700-211D1.
SWITCH MOUNT END833-267C2.
PANEL PLUG833-268C3.
SWITCH ROCKER SPST833-269C4.
IGNITION SWITCH WITH 2 KEYS833-270C5.
SWITCH ACTUATOR833-271C6.
GAUGE, VOLT METER833-298C7.
GAUGE, HOUR METER833-299C8.
LIGHT, WARNING RED833-300C9.
LIGHT, WARNING AMBER833-313C10.
KEY IGNITION (RP KEY 833-270C)833-325C11.
MALE BULLET INSUL.WAYTEK 30561833-329C12.
DECAL INSTR. PANEL TRUCK 4X2838-569C13.
DASH TRUCK840-097C14.
CHOKE CABLE 78840-120C15.
INSTRUMENT PANEL TRUCK 4X2840-125C16.
02/19/09 4200 & 4400 NT ST Utility Vehicles Treker 700-108P 85
Table of Contents Part Number Index
Section 10: Electrical System Land Pride
TREKER 00 SERIES
Instrument Panel, 4200 (S/N 418338-)
Applies to 4200NT, 4200ST

RevisionCommentsPart DescriptionPart No.Ref.
Drawing Image Numberdwg21386
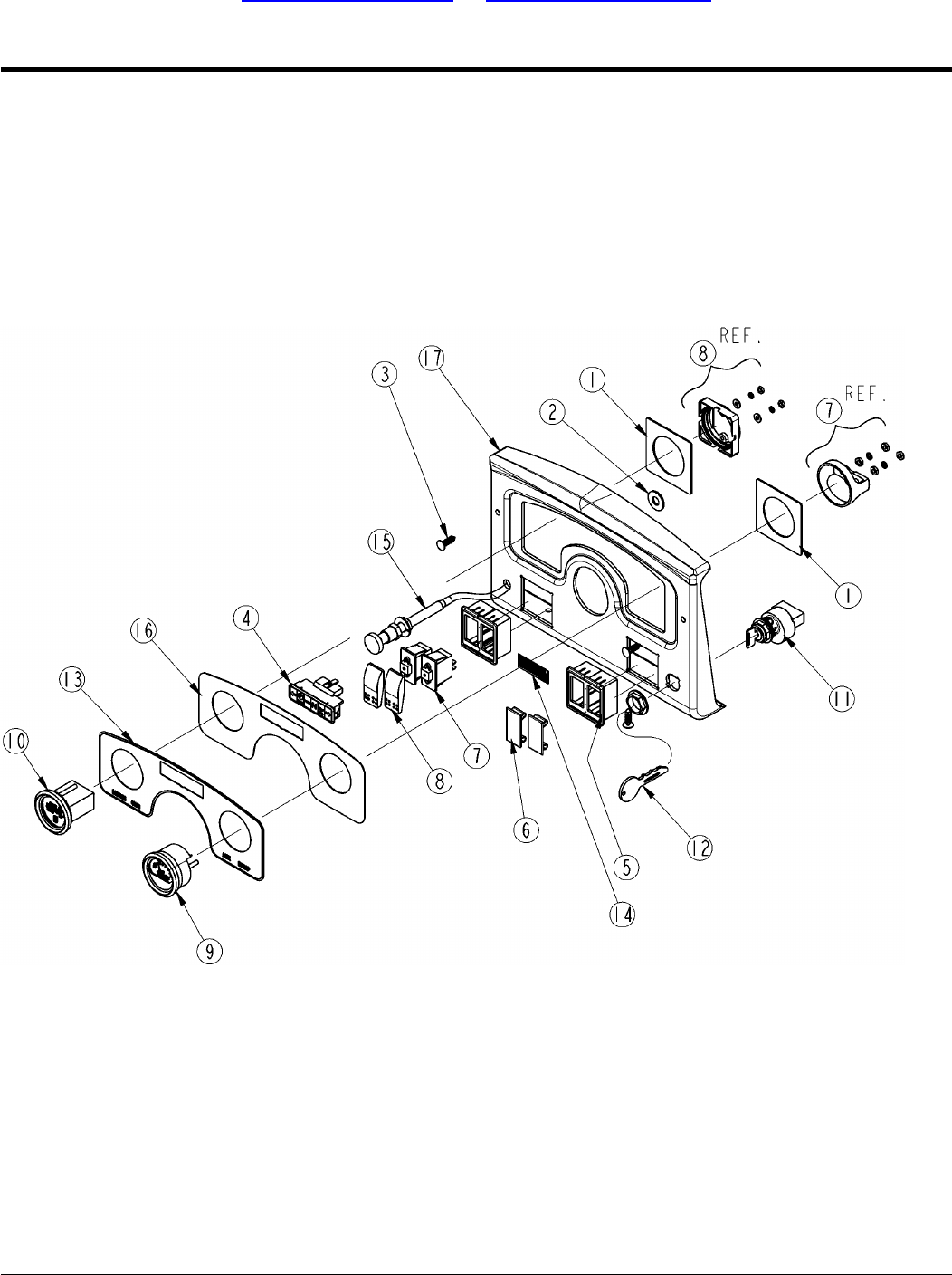
DASH BACKER PLATE700-211D1.
(S/N 434145+)WASHER FLAT 3/8 USS PLT804-011C2.
TREE RIVET817-527C3.
Replacement Bulb 833-418cINDICATOR LIGHT STRIP 8-PIN833-020C4.
SWITCH MOUNT END833-267C5.
PANEL PLUG833-268C6.
SWITCH ROCKER SPST833-269C7.
SWITCH ACTUATOR833-271C8.
GAUGE, VOLT METER833-298C9.
GAUGE, HOUR METER833-299C10.
IGNITION SWITCH W/2 KEYS(6PIN)833-336C11.
KEY W/SHIELD (RP FOR 833-336C)833-342C12.
DECAL INSTRUMENT PANEL838-623C13.
DECAL SETTING OF PARK BRAKE838-668C14.
CHOKE CABLE 78840-120C15.
INSTRUMENT PANEL840-160C16.
DASH TRUCK840-161C17.
02/19/09 4200 & 4400 NT ST Utility Vehicles Treker 700-108P 87
Table of Contents Part Number Index
Section 10: Electrical System Land Pride
TREKER 00 SERIES
Instrument Panel, 4200 (SN 418339 to 440716)
Applies to 4200NT, 4200ST

RevisionCommentsPart DescriptionPart No.Ref.
Drawing Image Numberdwg21228
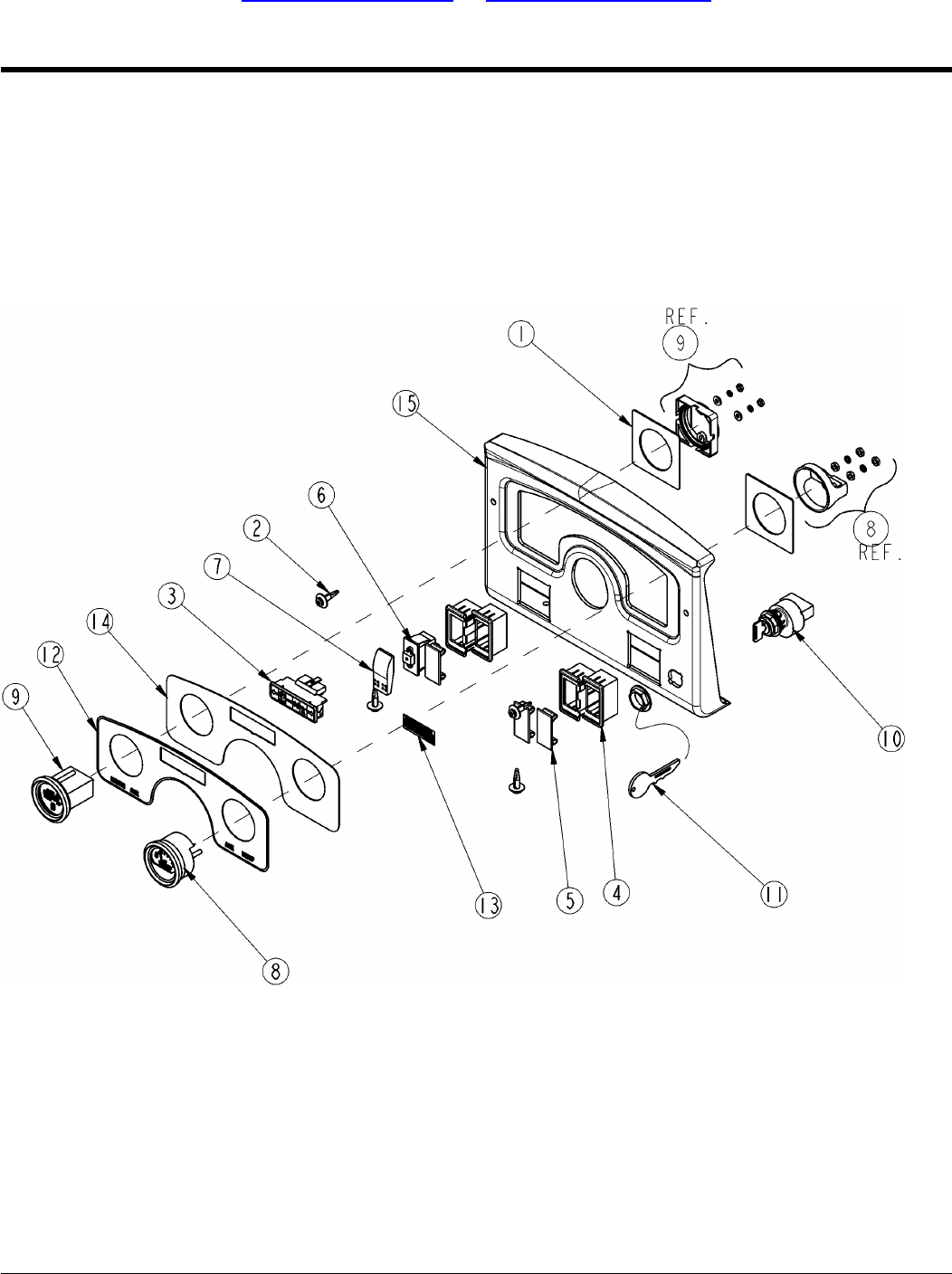
DASH BACKER PLATE700-211D1.
SWITCH MOUNT END833-267C2.
PANEL PLUG833-268C3.
SWITCH ROCKER SPST833-269C4.
IGNITION SWITCH WITH 2 KEYS833-270C5.
SWITCH ACTUATOR833-271C6.
LIGHT, WARNING GREEN833-297C7.
GAUGE, VOLT METER833-298C8.
GAUGE, HOUR METER833-299C9.
LIGHT, WARNING RED833-300C10.
LIGHT, WARNING AMBER833-313C11.
REPLACEMENT KEY, IGNITION833-325C12.
MALE BULLET INSUL.WAYTEK 30561833-329C13.
DECAL INSTR. PANEL TRUCK 4X4838-541C14.
DASH TRUCK840-097C15.
INSTRUMENT PANEL TRUCK 4X4840-102C16.
CHOKE CABLE 78840-120C17.
02/19/09 4200 & 4400 NT ST Utility Vehicles Treker 700-108P 89
Table of Contents Part Number Index
Section 10: Electrical System Land Pride
TREKER 00 SERIES
Instrument Panel, 4400 (S/N 418338-)
Applies to 4400NT, 4400ST

RevisionCommentsPart DescriptionPart No.Ref.
Drawing Image Numberdwg21385
DASH BACKER PLATE700-211D1.
(S/N 434145+)WASHER FLAT 3/8 USS PLT804-011C2.
TREE RIVET817-527C3.
Replacement Bulb 833-418cINDICATOR LIGHT STRIP 8-PIN833-020C4.
SWITCH MOUNT END833-267C5.
PANEL PLUG833-268C6.
SWITCH ROCKER SPST833-269C7.
SWITCH ACTUATOR833-271C8.
GAUGE, VOLT METER833-298C9.
GAUGE, HOUR METER833-299C10.
IGNITION SWITCH W/2 KEYS(6PIN)833-336C11.
KEY W/SHIELD (RP FOR 833-336C)833-342C12.
DECAL INSTRUMENT PANEL838-623C13.
DECAL SETTING OF PARK BRAKE838-668C14.
CHOKE CABLE 78840-120C15.
INSTRUMENT PANEL840-160C16.
DASH TRUCK840-161C17.
02/19/09 4200 & 4400 NT ST Utility Vehicles Treker 700-108P 91
Table of Contents Part Number Index
Section 10: Electrical System Land Pride
TREKER 00 SERIES
Instrument Panel, 4400 (S/N 418339 to 440713)
Applies to 4400NT, 4400ST

RevisionCommentsPart DescriptionPart No.Ref.
Drawing Image Numberdwg22414
DASH BACKER PLATE700-211D1.
S/N 464837+RIVET, 1/4 REMOVEABLE800-236C2.
S/N 464836-TREE RIVET817-527C2.
Replacement Bulb 833-418cINDICATOR LIGHT STRIP 8-PIN833-020C3.
SWITCH MOUNT END833-267C4.
PANEL PLUG833-268C5.
SWITCH ROCKER SPST833-269C6.
SWITCH ACTUATOR833-271C7.
GAUGE, VOLT METER833-298C8.
GAUGE, HOUR METER833-299C9.
IGNITION SWITCH W/2 KEYS(6PIN)833-336C10.
KEY W/SHIELD (RP FOR 833-336C)833-342C11.
DECAL INSTRUMENT PANEL838-623C12.
DECAL SETTING OF PARK BRAKE838-668C13.
INSTRUMENT PANEL840-160C14.
DASH TRUCK840-248C15.
02/19/09 4200 & 4400 NT ST Utility Vehicles Treker 700-108P 93
Table of Contents Part Number Index
Section 10: Electrical System Land Pride
TREKER 00 SERIES
Insturment Panel, 4200 (S/N 440714+)
Applies to 4200NT, 4200ST

RevisionCommentsPart DescriptionPart No.Ref.
Drawing Image Numberdwg22417
DASH BACKER PLATE700-211D1.
S/N 464837+RIVET, 1/4 REMOVEABLE800-236C2.
S/N 464836-TREE RIVET817-527C2.
Replacement Bulb 833-418cINDICATOR LIGHT STRIP 8-PIN833-020C3.
SWITCH MOUNT END833-267C4.
PANEL PLUG833-268C5.
SWITCH ROCKER SPST833-269C6.
SWITCH ACTUATOR833-271C7.
GAUGE, VOLT METER833-298C8.
GAUGE, HOUR METER833-299C9.
IGNITION SWITCH W/2 KEYS(6PIN)833-336C10.
KEY W/SHIELD (RP FOR 833-336C)833-342C11.
DECAL INSTR. PANEL TRUCK 4X4838-633C12.
DECAL SETTING OF PARK BRAKE838-668C13.
INSTRUMENT PANEL840-160C14.
DASH TRUCK840-248C15.
02/19/09 4200 & 4400 NT ST Utility Vehicles Treker 700-108P 95
Table of Contents Part Number Index
Section 10: Electrical System Land Pride
TREKER 00 SERIES
Insturment Panel, 4400 (S/N 440714+)
Applies to 4400NT, 4400ST

RevisionCommentsPart DescriptionPart No.Ref.
Drawing Image Numberdwg21258
ACCESSORY CROSS BAR700-036D1.
NTACCESSORY REAR WLDMNT NARROW700-067H2.
STACCESSORY REAR WLDMNT WIDE700-068H2.
NTACCESSORY FRONT WLDMNT NARROW700-069H3.
STACCESSORY FRONT WLDMNT WIDE700-070H3.
HHCS 5/16-18X2 GR5802-115C4.
HHCS 5/16-18X3/4 GR5 YELLOW DI802-735C5.
NUT HEX NYLOCK 5/16-18 PLT803-084C6.
02/19/09 4200 & 4400 NT ST Utility Vehicles Treker 700-108P 97
Table of Contents Part Number Index
Section 11: Four Post Accessory and Seats Land Pride
TREKER 00 SERIES
Four Post Accessory Bar
Applies to 4200NT, 4200ST, 4400NT, 4400ST

RevisionCommentsPart DescriptionPart No.Ref.
Drawing Image Numberdwg21256
S/N 464148+ NT Unit OnlySPCR DELUXE SEAT MNT RAZOR PRO356-074D1.
(NT Model)SEAT NARROW WELDMENT700-042H2.
(ST Model)SEAT WIDE WELDMENT700-043H2.
(NT Model)SERV - NT CONSOLE PLT W/DECALS700-148A3.
(ST Model)SERV - ST CONSOLE PLT W/DECALS700-149A3.
HHCS 5/16-18 X 3/4 GR5 YELLOW DI802-735C4.
S/N 464148+HHCS 5/16-18X1 GR5 YELLOW DIE802-738C5.
S/N 464147-HHCS 5/16-18 X 3/4 GR5 YELLOW DI802-735C5.
HSHSS 1/2 X 1/2 3/8-16 UNC SS802-747C6.
NUT LOCK 3/8-16 NYLON INSERT803-078C7.
NUT HEX FLANGE 1/4-20 PLT803-230C8.
WASHER FLAT 5/16 HARD ASTMF436804-084C9.
WASHER LOCK SPRING 5/16 YELLOW804-201C10.
S/N 464148+RBR STOP 1" OD 7/8" THK W/STUD816-496C11.
S/N 464147-RBR STOP 1" OD 3/8" THK W/STUD816-425C11.
BUCKET SEAT ATV BLACK839-300C12.
BUCKET SEAT ATV TAN839-303C12.
02/19/09 4200 & 4400 NT ST Utility Vehicles Treker 700-108P 99
Table of Contents Part Number Index
Section 11: Four Post Accessory and Seats Land Pride
TREKER 00 SERIES
Seat Components
Applies to 4200NT, 4200ST, 4400NT, 4400ST

RevisionCommentsPart DescriptionPart No.Ref.
Drawing Image Numberdwg21211
FLOOR NT W/NUT ZERTS ASSEMBLY700-140S1.
SERV - NT FIREWALL W/DECAL700-150A2.
FRONT FRAME GUARD NT700-196D3.
SPLASH GUARD NT700-202D4.
TPHMS Y 1/4-20X3/4 YELLOW DIE801-180C5.
HHCS 5/16-18X3/4 GR5 YELLOW DI802-735C6.
HHCS 5/16-18X1 GR5 YELLOW DIE802-738C7.
S/N 446518+NUT HEX FLANGE 3/8-16 PLT803-068C8.
NUT HEX NYLOCK 5/16-18 PLT803-084C9.
NUT HEX FLNG T-LOCK 1/4-20 PLT803-293C10.
WASHER FLAT 5/16 HARD ASTMF436804-084C11.
WASHER LOCK SPRING 5/16 YELLOW804-201C12.
RUBBER STOP 2"OD 3/4THK WITH STUD816-422C13.
Sold Per Foot (47" Required)FOAM RUBBER 3/16X3/4 THK W/PSA990-227R14.
02/19/09 4200 & 4400 NT ST Utility Vehicles Treker 700-108P 101
Table of Contents Part Number Index
Section 12: Panels and Shields Land Pride
TREKER 00 SERIES
Panels and Shields, NT S/N (460319-)
Applies to 4200NT, 4400NT

RevisionCommentsPart DescriptionPart No.Ref.
Drawing Image Numberdwg21217
FLOOR ST W/NUT ZERTS ASSEMBLY700-141S1.
FIREWALL WLDMENT WIDE700-113H2.
SERV - ST SIDE PANEL W/DECAL700-151A3.
FRONT FRAME GUARD ST700-197D4.
TPHMS Y 1/4-20X3/4 YELLOW DIE801-180C5.
HHCS 5/16-18X3/4 GR5 YELLOW DI802-735C6.
HHCS 5/16-18X1 GR5 YELLOW DIE802-738C7.
S/N 446518+NUT HEX FLANGE 3/8-16 PLT803-068C8.
NUT HEX NYLOCK 5/16-18 PLT803-084C9.
NUT HEX FLNG T-LOCK 1/4-20 PLT803-293C10.
WASHER FLAT 5/16 HARD ASTMF436804-084C11.
WASHER LOCK SPRING 5/16 YELLOW804-201C12.
RUBBER STOP 2"OD 3/4THK WITH STUD816-422C13.
Solid Per Foot (52.5" Required)FOAM RUBBER 3/16X3/4 THK W/PSA990-227R14.
02/19/09 4200 & 4400 NT ST Utility Vehicles Treker 700-108P 103
Table of Contents Part Number Index
Section 12: Panels and Shields Land Pride
TREKER 00 SERIES
Panels and Shields, ST (S/N 460319-)
Applies to 4200ST, 4400ST

RevisionCommentsPart DescriptionPart No.Ref.
Drawing Image Numberdwg22413
FLOOR WIDE WELDMENT700-047H1.
SIDE PANEL, WIDE700-145D2.
FRONT FRAME GUARD ST700-197D3.
KICK PANEL WLDMNT (ST)700-236H4.
TPHMS Y 1/4-20X3/4 YELLOW DIE801-180C5.
HHCS 5/16-18X3/4 GR5 YELLOW DI802-735C6.
HHCS 5/16-18X1 GR5 YELLOW DIE802-738C7.
NUT HEX FLANGE 3/8-16 PLT803-068C8.
NUT HEX NYLOCK 5/16-18 PLT803-084C9.
NUT HEX FLNG T-LOCK 1/4-20 PLT803-293C10.
WASHER FLAT 5/16 HARD ASTMF436804-084C11.
WASHER LOCK SPRING 5/16 YELLOW804-201C12.
RUBBER STOP 2"OD 3/4THK W/STUD816-422C13.
CHOKE CABLE 38 (ST)840-241C14.
FOAM RUBBER 3/16X3/4 THK W/PSA990-227R15.
02/19/09 4200 & 4400 NT ST Utility Vehicles Treker 700-108P 105
Table of Contents Part Number Index
Section 12: Panels and Shields Land Pride
TREKER 00 SERIES
Panels Sheilds & Choke Cable ST(S/N 460320+)
Applies to 4200ST, 4400ST

RevisionCommentsPart DescriptionPart No.Ref.
Drawing Image Numberdwg22412
FLOOR NARROW WELDMENT700-046H1.
FRONT FRAME GUARD NT700-196D2.
SPLASH GUARD NT700-202D3.
SERV-NT FIREWALL W/DECAL700-238A4.
TPHMS Y 1/4-20X3/4 YELLOW DIE801-180C5.
HHCS 5/16-18X3/4 GR5 YELLOW DI802-735C6.
HHCS 5/16-18X1 GR5 YELLOW DIE802-738C7.
NUT HEX FLANGE 3/8-16 PLT803-068C8.
NUT HEX NYLOCK 5/16-18 PLT803-084C9.
NUT HEX FLNG T-LOCK 1/4-20 PLT803-293C10.
WASHER FLAT 5/16 HARD ASTMF436804-084C11.
WASHER LOCK SPRING 5/16 YELLOW804-201C12.
RUBBER STOP 2"OD 3/4THK W/STUD816-422C13.
CHOKE CABLE 28 (NT)840-261C14.
FOAM RUBBER 3/16X3/4 THK W/PSA990-227R15.
02/19/09 4200 & 4400 NT ST Utility Vehicles Treker 700-108P 107
Table of Contents Part Number Index
Section 12: Panels and Shields Land Pride
TREKER 00 SERIES
Panels Shields & Choke Cable NT S/N (460320+)
Applies to 4200NT, 4400NT

RevisionCommentsPart DescriptionPart No.Ref.
Drawing Image Numberdwg21252
Added Lift Handles S/N 440716SERV - NT BOX-RED W/DECALS700-154A1.
SERV - NT BOX-GREEN W/DECALS700-155A1.
SERV - NT BOX-YELLOW W/DECALS700-156A1.
SERV - NT BOX-CAMO W/DECALS700-157A1.
SERV - ST BOX-RED W/DECALS700-158A1.
SERV - ST BOX-GREEN W/DECALS700-159A1.
SERV - ST BOX-YELLOW W/DECALS700-160A1.
SERV - ST BOX-CAMO W/DECALS700-161A1.
Added Lift Handles S/N 440716SERV - NT 4X2 T-GATE-RED/DECAL700-166A2.
SERV - NT 4X2 T-GATE-GREEN/DCL700-167A2.
SERV - NT 4X2 T-GATE YEL/DECAL700-168A2.
SERV - NT 4X2 T-GATE CAMO/DCL700-169A2.
SERV - NT 4X4 T-GATE RED/DECAL700-174A2.
SERV - NT 4X4 T-GATE GREEN/DCL700-175A2.
SERV - NT 4X4 T-GATE YELLW/DCL700-176A2.
SERV - NT 4X4 T-GATE CAMO/DCL700-177A2.
SERV - ST 4X2 T-GATE RED/DECAL700-182A2.
SERV - ST 4X2 T-GATE GREEN/DCL700-183A2.
SERV - ST 4X2 T-GATE YELLW/DCL700-184A2.
SERV - ST 4X2 T-GATE CAMO/DCL700-185A2.
SERV - ST 4X4 T-GATE RED/DECAL700-190A2.
SERV - ST 4X4 T-GATE GREEN/DCL700-191A2.
SERV - ST 4X4 T-GATE YELLW/DCL700-192A2.
SERV - ST 4X4 T-GATE CAMO/DCL700-193A2.
TAILGATE LATCH PIN700-165D3.
(S/N 416664+)NT FRONT HEAT SHEILD/BED INSUL700-258D4.
(S/N 416690+)ST FRONT HEAT SHEILD/BED INSUL700-259D4.
(S/N 416664+)NT REAR HEAT SHEILD/BED INSUL700-260D5.
(S/N 416690+)ST REAR HEAT SHEILD/BED INSUL700-261D5.
(S/N 421318 to 440715)ST STIFFENER/ANTI-VIBRATN BAR700-263D6.
(S/N 421318 to 440715)NT STIFFENER/ANTI-VIBRATN BAR700-262D6.
E RETAINGING RING 5/16 EXT.800-354C7.
PAN HD 5/16-18 1LG PHILLPS PLT801-176C8.
TPHMS Y 1/4-20X3/4 YELLOW DIE801-180C9.
S/N 406208+SHLD BLT 5/16X.75 1/4-20UNC SS802-746C10.
S/N 406207-RPBY 802-746C802-776C10.
SHLD BLT 5/8X.50SHLD,1/2-13 SS802-753C11.
HFS 1/2-13X2 1/4 GR5 PLT802-797C12.
NUT LOCK 1/2-13 PLT803-019C13.
NUT HEX JAM 1/2-13 PLT803-036C14.
NUT HEX WHIZ 5/16-18 PLT803-043C15.
NUT HEX NYLOCK 1/4-20803-255C16.
WASHER FLAT 1/2 SAE PLT804-016C17.
WASHER FLAT #10 SAE PLT804-046C18.
WASHER FLAT 1/4 HARD ASTMF436804-117C19.
WASHER FLAT 5/16 NEOPRENE PLT804-135C20.
SPRING TRUCK TAILGATE LATCH807-220C21.
RUBBER SLEEVE TAILGATE LATCH816-423C22.
CAP RECT TUBE 1X1.5X.083817-528C23.
WASHER NYLATRON1.25ODX.63ID.04817-543C24.
BUSHING 1/2IDX5/8ODX1/2 FLANGE817-559C25.
FENDER BLACK UNIVERSAL TRUCK840-122C26.
TRUCK TAILGATE CABLE840-126C27.
2" FOILED ADHESIVE TAPE990-133R28.
Rev. 2SPONGE RUBBER, 1/4X3/4 W/PSA990-235R29.
Rev. 1FOAM RUBBER 3/16X3/4 THK W/PSA990-227R29.
02/19/09 4200 & 4400 NT ST Utility Vehicles Treker 700-108P 109
Table of Contents Part Number Index
Section 13: Hood and Cargo Box Land Pride
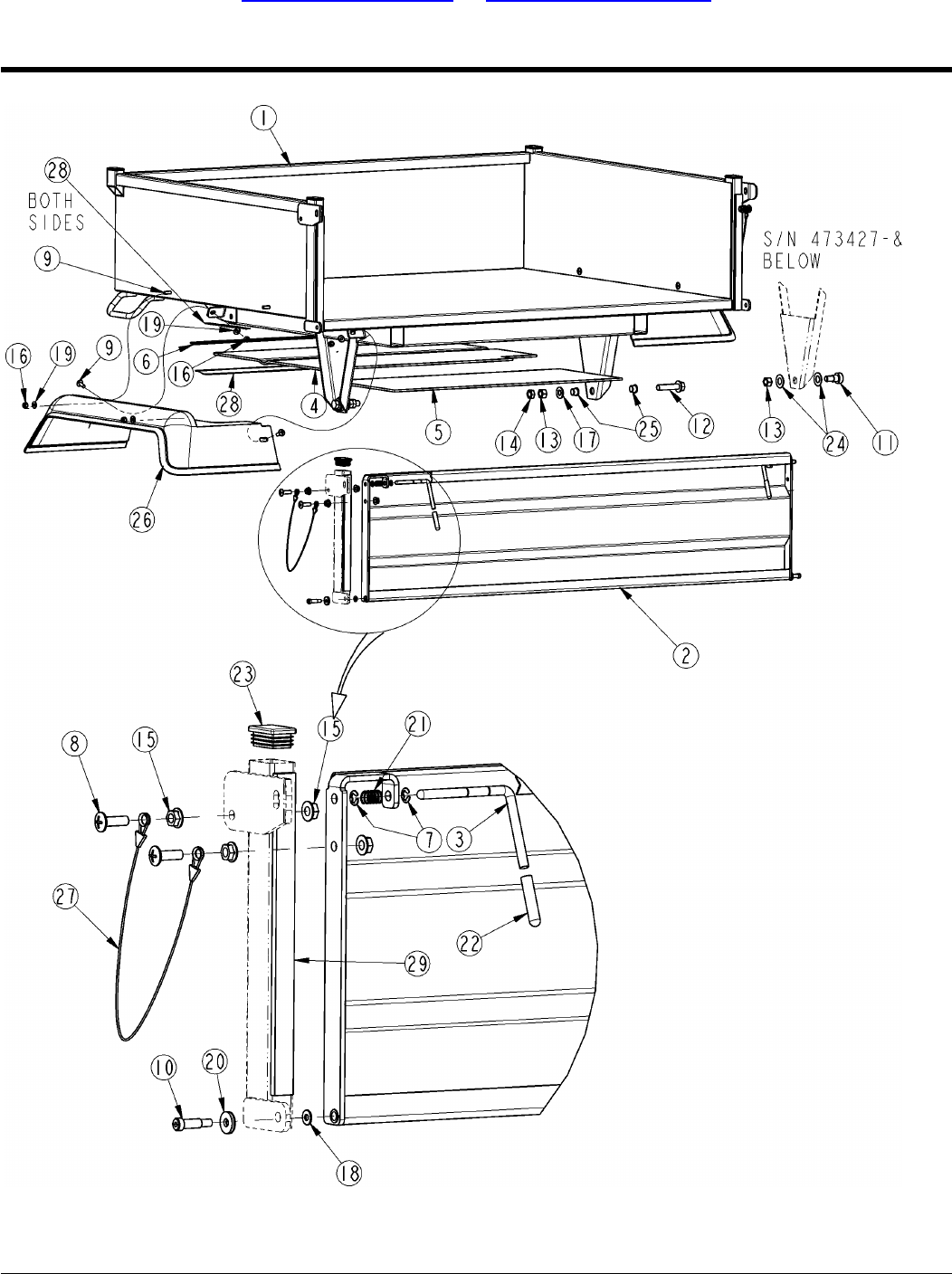
TREKER 00 SERIES
Cargo Box Components
Applies to 4200NT, 4200ST, 4400NT, 4400ST

RevisionCommentsPart DescriptionPart No.Ref.
Drawing Image Numberdwg21271
ThreadedBOX LATCH BACKING PLATE700-228D1.
HHCS 1/4-20 X 3/4 GR5802-004C2.
NUT HEX NYLOCK 1/4-20803-255C3.
BOX LATCH840-133C4.
02/19/09 4200 & 4400 NT ST Utility Vehicles Treker 700-108P 111
Table of Contents Part Number Index
Section 13: Hood and Cargo Box Land Pride
TREKER 00 SERIES
Cargo Box Tilt Lock-Down Latch
Applies to 4200NT, 4200ST, 4400NT, 4400ST

RevisionCommentsPart DescriptionPart No.Ref.
Drawing Image Numberdwg21273
BOX LATCH SUB-ASSY / NT700-001S1.
BOX LATCH SUB-ASSY / ST700-003S1.
NTBOX TILT LATCH NARROW700-071H2.
STBOX TILT LATCH WIDE700-115H2.
NTBOX TILT BAR, NARROW700-170D3.
STBOX TILT BAR, WIDE700-171D3.
BOX TILT BRACKET700-216D4.
HHCS 1/4-20X2 1/4 GR5802-551C5.
NUT HEX NYLOCK 1/4-20803-255C6.
PIN COTTER 5/32 X 1 1/4 LG805-045C7.
PIN CLEVIS 1/2X1 49/64 USABLE805-303C8.
SPRING PIN 1/4 X 7/8805-353C9.
SPRING PIN 1/4 X 1 1/4805-356C10.
SPRING TORSION .054 WIRE807-221C11.
SPRING COMPRESSION .72OD .072W 4.0LG807-222C12.
02/19/09 4200 & 4400 NT ST Utility Vehicles Treker 700-108P 113
Table of Contents Part Number Index
Section 13: Hood and Cargo Box Land Pride
TREKER 00 SERIES
Cargo Box Tilt Lock-Up Arm
Applies to 4200NT, 4200ST, 4400NT, 4400ST

RevisionCommentsPart DescriptionPart No.Ref.
Drawing Image Numberdwg21257
BACKING PLATE FOR TRUCK BODY700-233D1.
4200NT & 4400NT (S/N 409701+)BODY MOUNT SPACER .25 THICK700-254D2.
4200ST & 4400ST (S/N 409701+)BODY MOUNT SPACER .375 THICK700-255D2.
TPHMS Y 1/4-20X1 YELLOW DIE801-181C3.
HHCS 5/16-18X1 1/4 GR5802-010C4.
NUT HEX LOCK 5/16-18 FLG.803-177C5.
NUT HEX FLNG T-LOCK 1/4-20 PLT803-293C6.
WASHER FLAT 3/8 USS PLT804-011C7.
SOLD PER FOOT (14.25" REQ'D.)TRIM, 1/8 RUBBER EDGE(PER FT)816-318C8.
TREE RIVET817-527C9.
POWER PLUG OUTLET 12V833-322C10.
SERV - NT 4X2 BODY-RED W/DECAL700-162A11.
SERV - NT 4X2 BODY-GREEN/DECAL700-163A11.
SERV - NT 4X2 BODY-YELLOW/DCL700-164A11.
SERV - NT 4X2 BODY-CAMO/DECALS700-165A11.
SERV - NT 4X4 BODY-RED W/DECAL700-170A11.
SERV - NT 4X4 BODY-GREEN/DECAL700-171A11.
SERV - NT 4X4 BODY-YELLOW/DCL700-172A11.
SERV - NT 4X4 BODY-CAMO/DECALS700-173A11.
SERV - ST 4X2 BODY-RED W/DECAL700-178A11.
SERV - ST 4X2 BODY-GREEN/DECAL700-179A11.
SERV - ST 4X2 BODY-YELLOW/DCL700-180A11.
SERV - ST 4X2 BODY-CAMO/DECALS700-181A11.
SERV - ST 4X4 BODY-RED W/DECAL700-186A11.
SERV - ST 4X4 BODY-GREEN/DECAL700-187A11.
SERV - ST 4X4 BODY-YELLOW/DCL700-188A11.
SERV - ST 4X4 BODY-CAMO/DECALS700-189A11.
SERV - NT FOOTWELL W/DECALS700-152A12.
SERV - ST FOOTWELL W/DECALS700-153A12.
STORAGE BOX FOR VEHICLES840-106C13.
02/19/09 4200 & 4400 NT ST Utility Vehicles Treker 700-108P 115
Table of Contents Part Number Index
Section 13: Hood and Cargo Box Land Pride
TREKER 00 SERIES
Hood Components
Applies to 4200NT, 4200ST, 4400NT, 4400ST

RevisionCommentsPart DescriptionPart No.Ref.
Drawing Image Numberdwg21315
TIRE/RIM FRONT TURF 23-8.5-12700-038S1.
AT TIRE/RIM, GRAY RIGHT FRONT710-019S2.
AT TIRE/RIM, BLACK RIGHT FRONT700-386S2.
AT TIRE/RIM, GRAY LEFT FRONT710-036S2.
AT TIRE/RIM, BLACK LEFT FRONT700-388S2.
RIM, 12X7 4-4 BOLT GRAY814-214C3.
RIM, 12X7 4-4 BOLT BLACK814-290C3.
TIRE 25 X 8 X 12 AT489814-216C4.
TIRE TURF 23-8.5-12814-242C5.
VALVE STEM TR415 X. 625 X 1 1/4 LG816-035C6.
02/19/09 4200 & 4400 NT ST Utility Vehicles Treker 700-108P 117
Table of Contents Part Number Index
Section 14: Tires Land Pride
TREKER 00 SERIES
Front Tires
Applies to 4200NT, 4200ST, 4400NT, 4400ST

RevisionCommentsPart DescriptionPart No.Ref.
Drawing Image Numberdwg21314
TIRE/RIM REAR TURF 23-10.5-12700-037S1.
AT TIRE/RIM, GRAY RIGHT REAR710-018S2.
AT TIRE/RIM BLACK RIGHT REAR700-385S2.
AT TIRE/RIM, GRAY LEFT REAR710-035S2.
AT TIRE/RIM BLACK LEFT REAR700-387S2.
RIM 12X8.5 4-4 BOLT GRAY814-215C3.
RIM 12X8.5 4-4 BOLT BLACK814-289C3.
TIRE 25 X 11 X 12 AT489814-217C4.
TIRE TURF 23-10.5-12814-241C5.
VALVE STEM TR415 X. 625 X 1 1/4 LG816-035C6.
02/19/09 4200 & 4400 NT ST Utility Vehicles Treker 700-108P 119
Table of Contents Part Number Index
Section 14: Tires Land Pride
TREKER 00 SERIES
Rear Tires
Applies to 4200NT, 4200ST, 4400NT, 4400ST

RevisionCommentsPart DescriptionPart No.Ref.
Drawing Image Numberdwg21147
DECAL WARNING PINCH POINT/CRUSH818-045C1.
DECAL FLAG818-190C2.
DECAL DANGER GUARD MISSING818-543C3.
DECAL DANGER BATTERY838-303C4.
DECAL DANGER HOT838-444C5.
DECAL WARNING GENERAL UTILITY
VEHICLE
838-486C6.
DECAL WARNING ROLLOVER HAZARD838-489C7.
DECAL CAUTION STOP ENGINE838-490C8.
DECAL WARNING IMPROPER USE838-491C9.
DECAL CAUTION POWER SOURCE MAX 12V838-492C10.
S/N 421309+DECAL LAND PRIDE GOLD 6.42X1.3838-644C11.
S/N 421308-DECAL HONDA838-495C11.
DECAL LP FRONT EMBLEM838-507C12.
DECAL WARNING ENGINE COOL B4 GAS838-508C13.
DECAL WARNING VEHICLE ROLLOVER838-532C14.
DECAL TREKER LOGO LH BLACK838-542C15.
DECAL TREKER LOGO RH BLACK838-543C16.
4200NT RED, YELLOW & CAMO
VEHICLES
DECAL 4X2NT BLACK838-544C17.
4200NT GREEN VEHICLESDECAL 4X2NT SANDSTONE838-545C17.
4200ST RED,YELLOW & CAMO
VEHICLES
DECAL 4X2ST BLACK838-546C17.
4200ST GREEN VEHICLESDECAL 4X2ST SANDSTONE838-547C17.
4400NT RED, YELLOW & CAMO
VEHICLES
DECAL 4X4NT BLACK838-548C17.
4400NT GREEN VEHICLESDECAL 4X4NT SANDSTONE838-549C17.
4400ST RED, YELLOW & CAMO
VEHICLES
DECAL 4X4ST BLACK838-550C17.
4400ST GREEN VEHICLESDECAL 4X4ST SANDSTONE838-551C17.
DECAL LAND PRIDE BLCK W/SNDSTN838-554C18.
RED & YELLOW (S/N 421308-)RPBY 838-554C838-552C18.
DECAL WARNING (GVW)LOAD 4200NT838-581C19.
DECAL WARNING (GVW)LOAD 4400NT838-662C19.
DECAL WARNING (GVW)LOAD 4200ST838-570C19.
DECAL WARNING (GVW)LOAD 4400ST838-663C19.
DECAL TRAILER TOWING NT/ST838-579C20.
DECAL, CONSOLE TRUCK838-596C21.
S/N 429643+DECAL SETTING OF PARK BRAKE838-668C22.
S/N 421309+DECAL HONDA838-495C23.
Complete Decal Packages4X2NT DECAL PACKAGE RED/YELLOW700-194A24.
Complete Decal Packages4X2NT DECAL PACKAGE GREEN/CAMO700-195A24.
Complete Decal Packages4X2ST DECAL PACKAGE RED/YELLOW700-196A24.
Complete Decal Packages4X2ST DECAL PACKAGE GREEN/CAMO700-197A24.
Complete Decal Packages4X4NT DECAL PACKAGE RED/YELLOW700-198A24.
Complete Decal Packages4X4NT DECAL PACKAGE GREEN/CAMO700-199A24.
Complete Decal Packages4X4ST DECAL PACKAGE RED/YELLOW700-200A24.
Complete Decal Packages4X4ST DECAL PACKAGE GREEN/CAMO700-201A24.
Complete Decal Packages4X2NT DECAL PACKAGE CAMO700-220A24.
Complete Decal Packages4X2ST DECAL PACKAGE CAMO700-221A24.
Complete Decal Packages4X4NT DECAL PACKAGE CAMO700-222A24.
Complete Decal Packages4X4ST DECAL PACKAGE CAMO700-223A24.
Safety Decal PackagesSAFETY DECAL PACKAGE 4200NT700-142A25.
Safety Decal PackagesSAFETY DECAL PACKAGE 4200ST700-143A25.
Safety Decal PackagesSAFETY DECAL PACKAGE 4400NT700-212A25.
Safety Decal PackagesSAFETY DECAL PACKAGE 4400ST700-213A25.
02/19/09 4200 & 4400 NT ST Utility Vehicles Treker 700-108P 121
Table of Contents Part Number Index
Section 15: Decals Land Pride
TREKER 00 SERIES
Decals
Applies to 4200NT, 4200ST, 4400NT, 4400ST

RevisionCommentsPart DescriptionPart No.Ref.
Drawing Image Numberdwg22226
DECAL 4X4ST BLACK838-550C1.
DECAL 4X4NT BLACK838-548C1.
DECAL LAND PRIDE BLCK W/SNDSTN838-554C2.
DECAL, TREKER LOGO 71N. LG838-704C3.
TREKER ST CAMO RH SIDE PANEL840-203C4.
TREKER NT CAMO RH SIDE PANEL840-207C4.
TREKER ST CAMO LH SIDE PANEL840-204C5.
TREKER NT CAMO LH SIDE PANEL840-208C5.
TREKER ST CAMO TAILGATE PANEL840-205C6.
TREKER NT CAMO TAILGATE PANEL840-206C6.
TREKER ST CAMO FRONT PANEL BED840-216C7.
TREKER NT CAMO FRONT PANEL BED840-217C7.
Front: ST 49.5" & NT 43.5", Rear ST
53.25" & NT 47.25", Sides ST 46" &
NT 34", Rear Short ST & NT 3",
Sides Short ST & NT 8"
3M DOUBLE SIDED TAPE 1X.035990-132R8.
02/19/09 4200 & 4400 NT ST Utility Vehicles Treker 700-108P 123
Table of Contents Part Number Index
Section 15: Decals Land Pride
TREKER 00 SERIES
NT ST Camo and Decal Components
Applies to 4200NT, 4200ST, 4400NT, 4400ST

RevisionCommentsPart DescriptionPart No.Ref.
Drawing Image Numberdwg23821
CVT SPACER700-215D1.
ASSEMBLY, CVT INNER COVER700-228S2.
PLATE, ENGINE SEAL700-285D3.
BRACKET, CVT COVER TO TRANS.700-286D4.
KEY 3/16 X 3710-097D5.
OptionalTREKER ENGINE/TRANS ALIGNMENT790-001A6.
SPRING CLAMP 1" OD HOSE800-235C7.
CLAMP WRM DRV#36SS (1.81-2.75)800-259C8.
KEY .187 X .247 X 2.5 LG800-350C9.
TPHMS Y 1/4-20X3/4 YELLOW DIE801-180C10.
HSFHCS 5/16-24 X 3/4, BLK801-197C11.
SCR SELF TAP #10 X 3/4801-199C12.
HHCS 1/4-20X1 GR5802-005C13.
HHCS 1/2-20X2 GR5802-320C14.
HHCS 5/16-18X1 GR5 YELLOW DIE802-738C15.
HHCS 3/8-24X3 1/2 GR5 PLT802-770C16.
Included with Ref. #2INSERT, 1/4-20 ARS4-420-280N/A17.
NUT HEX FLG TOP LK 5/16-18 YLW803-177C18.
WASHER LOCK SPRING 3/8 PLT804-013C19.
WASHER LOCK SPRING 1/2 PLT804-015C20.
WASHER FLAT 1/2 USS PLT804-017C21.
WASHER FLAT 5/16 NEOPRENE PLT804-135C22.
SEAL, MAIN TRUCK CVT HOUSING816-469C23.
SEAL, CVT TO ENGINE816-470C24.
SEAL, CVT TO TRANSAXLE816-471C25.
BELT, TRUCK CVT816-512C26.
CAP, DRAIN 7/8 OD PORT817-621C27.
CVT DRIVER826-444C28.
CVT DRIVEN TRUCK 9 1/2"OD826-445C29.
CVT, 780 DVR WITH FAN826-474C30.
CVT COOLING FAN826-475C31.
RING, LOCKING TAB826-483C32.
ADAPTER CVT DRIVEN840-135C33.
COVER, TRUCK SEALED CVT OUTER840-218C34.
Included with Ref. #2COVER, TRUCK SEALED CVT INNERN/A35.
ST UnitDUCT, TRUCK CVT AIR INLET840-239C36.
NT UnitDUCT, NT TRUCK CVT AIR INLET840-267C36.
DUCT, TRUCK CVT AIR OUTLET840-240C37.
SNORKEL AIR INTAKE840-266C38.
FILTER, AIR INTAKE840-268C39.
CVT SHIM KIT700-112A40.
*
ENCLOSURE, CVT ST 440720+701-095A
ENCLOSURE, CVT NT 440720+701-096A
ENCLOSURE,CVT NT 437154-440719701-104A
ENCLOSURE,CVT ST 437154-440719701-105A
ENCLOSURE, CVT NT 437153-701-106A
ENCLOSURE, CVT ST 437153-701-107A
02/19/09 4200 & 4400 NT ST Utility Vehicles Treker 700-108P 125
Table of Contents Part Number Index
Section 16: Options Land Pride
TREKER 00 SERIES
CVT Enclosure Kit
Applies to 4200NT, 4200ST, 4400NT, 4400ST

RevisionCommentsPart DescriptionPart No.Ref.
Drawing Image Numberdwg21312
FRONT BUMPER NARROW700-105H1.
FRONT BUMPER WIDE700-106H1.
BRUSH GUARD ST701-037A2.
BRUSH GUARD NT701-038A2.
RHSNB 5/16-18X1 GR5802-282C3.
HHCS 5/16-18X3/4 GR5 YELLOW DI802-735C4.
NUT HEX NYLOCK 5/16-18 PLT803-084C5.
WASHER FLAT 5/16 SAE PLT804-036C6.
PLUG PLASTIC(1.5OD .083-.035WL817-538C7.
02/19/09 4200 & 4400 NT ST Utility Vehicles Treker 700-108P 127
Table of Contents Part Number Index
Section 16: Options Land Pride
TREKER 00 SERIES
Front Bumpers
Applies to 4200NT, 4200ST, 4400NT, 4400ST

The Part Number Index is a numeric index of all part numbers included in this manual. The index shows what page(s) the part is used on.
PagePart Number
77, 790-332-209-150 ...........55012CH289 .................55012CH291-1X ............55012CH291-2X ............55012DA111-X ..............55012DA117-X ..............55012DA120X ...............55012GS202-X ..............55012GS204-X ..............55012GS207-X ..............55012GS215 .................55012GS216 .................55012GS302 .................55012GS307 .................55012GS337 .................55012GV164-X ..............55012HD111 .................55012HD129 .................55012HG145 .................55012HH122 .................55012HH128 .................55012HH137 .................55012HH140 .................55012HM110-1 ..............55012HM129 .................55012HN120 .................55012HN138 .................55012HN140 .................55012HP120 .................55012HR121 .................55012HR128 .................55012HS120 .................55012HS121 .................55012HS125 .................55012HS126 .................55012LK133 ..................55012LK134 ..................55012SR129 .................55012SV112-X ..............55012SV118-X ..............55012TA327-X ...............270180006 ....................55026HM107 .................450430-01-002-T ...........450518-03-009-T ...........270680002 ....................270909001 ....................49, 59, 611-0170NPL ................25100050 ......................63100301 ......................63103125 ......................63109843 ......................3711000 ........................3711001 ........................451215-02-038-T ...........451215-02-141-T ...........451215-02-154-T ...........451242-00-009-T ...........2514083 ........................2514094 ........................63200300 ......................632003PR .....................632003VB ......................25, 2720061 ........................63203293 ......................25, 2723035 ........................63244610 ......................63244643 ......................99356-074D ...................5541356 ........................
PagePart Number
2743142100 ..................2747002300 ..................49, 535048 ..........................49, 535051 ..........................55514A7 ........................55515A8 ........................555803 ..........................55585965 ......................55585971 ......................55585994 ......................25620250 ......................456203-01-166 ..............456203-12-064-B ..........456203-12-100 ..............456203-13-124-D ..........456203-13-165 ..............456203-20-072 ..............456203-26-020-A ..........456203-27-017-B ..........456203-29-010-0 ...........456203-35-024-0 ...........456203-47-024-B ..........456203-56-001-0 ...........456203-59-032-B ..........456203-93-001-0 ...........456203-95-001-0 ...........113700-001S ...................113700-003S ...................7, 9, 11700-004D ...................21700-004H ...................21700-005H ...................59700-016D ...................73700-017D ...................21700-018D ...................37700-021H ...................97700-036D ...................119700-037S ...................117700-038S ...................99700-042H ...................99700-043H ...................21700-045D ...................107700-046H ...................105700-047H ...................17700-054H ...................17700-055H ...................33700-056H ...................33700-057H ...................29700-058H ...................43700-059H ...................25, 27700-060H ...................97700-067H ...................97700-068H ...................97700-069H ...................97700-070H ...................43700-071D ...................113700-071H ...................51, 53700-073D ...................43700-074D ...................43700-075D ...................43700-076D ...................43700-078D ...................43700-099D ...................127700-105H ...................127700-106H ...................7700-110S ...................41, 125700-112A ...................103700-113H ...................7700-114H ...................113700-115H ...................7700-116S ...................
PagePart Number
9700-117S ...................9700-118S ...................9700-119H ...................11700-122S ...................11700-123S ...................33700-126H ...................29700-127H ...................29700-128S ...................29700-129D ...................33700-129S ...................17700-131A ...................59700-134D ...................51, 53700-135D ...................7, 9, 11700-138D ...................7, 9, 11700-139D ...................101700-140S ...................103700-141S ...................121700-142A ...................121700-143A ...................15700-144A ...................15700-145A ...................105700-145D ...................75700-146A ...................99700-148A ...................99700-149A ...................101700-150A ...................103700-151A ...................115700-152A ...................115700-153A ...................109700-154A ...................109700-155A ...................109700-156A ...................109700-157A ...................109700-158A ...................109700-159A ...................109700-160A ...................109700-161A ...................115700-162A ...................115700-163A ...................115700-164A ...................115700-165A ...................109700-165D ...................109700-166A ...................109700-167A ...................109700-168A ...................109700-169A ...................115700-170A ...................113700-170D ...................115700-171A ...................113700-171D ...................115700-172A ...................115700-173A ...................109700-174A ...................109700-175A ...................73700-175D ...................109700-176A ...................109700-177A ...................115700-178A ...................115700-179A ...................115700-180A ...................115700-181A ...................109700-182A ...................109700-183A ...................109700-184A ...................109700-185A ...................115700-186A ...................115700-187A ...................115700-188A ...................115700-189A ...................109700-190A ...................
PagePart Number
109700-191A ...................109700-192A ...................109700-193A ...................121700-194A ...................67700-194D ...................121700-195A ...................65700-195D ...................121700-196A ...................101, 107700-196D ...................121700-197A ...................103, 105700-197D ...................121700-198A ...................65700-198D ...................121700-199A ...................121700-200A ...................121700-201A ...................101, 107700-202D ...................29700-206D ...................43700-207S ...................43700-208S ...................85, 87, 89, 91,
93, 95
700-211D ...................
121700-212A ...................19700-212D ...................121700-213A ...................73700-213D ...................75700-214D ...................41, 125700-215D ...................113700-216D ...................35700-219D ...................39700-219H ...................121700-220A ...................121700-221A ...................121700-222A ...................121700-223A ...................71700-227D ...................111700-228D ...................125700-228S ...................115700-233D ...................105700-236H ...................107700-238A ...................37700-238D ...................43700-245K ...................29, 115700-254D ...................29, 115700-255D ...................7, 35700-256D ...................23700-256S ...................7, 35700-257D ...................23700-257S ...................109700-258D ...................109700-259D ...................109700-260D ...................109700-261D ...................109700-262D ...................23700-262H ...................109700-263D ...................23700-263H ...................25700-273D ...................43700-274D ...................39700-281D ...................125700-285D ...................125700-286D ...................33700-341S ...................33700-342H ...................43700-356D ...................73700-368S ...................23700-371H ...................23700-374D ...................119700-385S ...................117700-386S ...................
128 4200 & 4400 NT ST Utility Vehicles Treker 700-108P 02/19/09
Table of Contents Part Number Index
Part Number Index

PagePart Number
119700-387S ...................117700-388S ...................61700-408D ...................23700-422H ...................61700-447D ...................61700-448D ...................79700-456D ...................49700-466D ...................17700-500A ...................69700-517D ...................127701-037A ...................127701-038A ...................125701-095A ...................125701-096A ...................125701-104A ...................125701-105A ...................125701-106A ...................125701-107A ...................17701-193A ...................119710-018S ...................117710-019S ...................119710-035S ...................117710-036S ...................37710-069D ...................77710-093D ...................21710-094D ...................41, 125710-097D ...................41, 125790-001A ...................73, 75800-007C ...................125800-235C ...................93, 95800-236C ...................65, 67, 125800-259C ...................39, 59, 61800-296C ...................49800-303C ...................33, 37800-347C ...................41, 125800-350C ...................37800-351C ...................49800-353C ...................109800-354C ...................33800-355C ...................33, 49, 73, 75800-356C ...................7800-359C ...................33800-360C ...................9800-363C ...................59, 61800-366C ...................37801-151C ...................21, 33, 37801-174C ...................109801-176C ...................43, 101, 103,
105, 107, 109,
125
801-180C ...................
39, 43, 115801-181C ...................69801-183C ...................69801-193C ...................125801-197C ...................43801-198C ...................125801-199C ...................73, 75, 111802-004C ...................73, 125802-005C ...................29, 115802-010C ...................7, 9, 11, 39, 49802-017C ...................39802-023C ...................43802-024C ...................29802-079C ...................21802-080C ...................43802-113C ...................39, 49, 97802-115C ...................39, 43802-143C ...................7, 9, 11, 21, 77,
79
802-257C ...................
127802-282C ...................
PagePart Number
41802-314C ...................41, 125802-320C ...................25, 27802-387C ...................13802-486C ...................51, 113802-551C ...................35802-589C ...................11, 13802-609C ...................25, 27802-628C ...................25, 27802-714C ...................37802-731C ...................29, 37, 59, 61,
69, 71, 97, 99,
802-735C ...................
101, 103, 105,
107, 127
33, 61, 65, 67,
99, 101, 103,
105, 107, 125
802-738C ...................
37802-740C ...................109802-746C ...................99802-747C ...................59802-750C ...................19802-751C ...................65, 67802-752C ...................109802-753C ...................39, 59, 61802-758C ...................25, 27802-760C ...................51, 53802-764C ...................41802-765C ...................51, 53802-769C ...................41, 125802-770C ...................17802-771C ...................37802-773C ...................59, 61802-774C ...................109802-776C ...................79802-793C ...................109802-797C ...................43803-005C ...................79803-008C ...................109803-019C ...................109803-036C ...................109803-043C ...................29, 101, 103,
105, 107
803-068C ...................
17, 43, 49, 99803-078C ...................25, 27, 33, 37,
39, 49, 61, 65,
803-084C ...................
97, 101, 103,
105, 107, 127
29803-086C ...................51803-154C ...................29, 33, 67, 69,
71, 115, 125
803-177C ...................
39, 43, 59803-209C ...................37803-211C ...................69, 71803-220C ...................35, 43803-229C ...................99803-230C ...................7, 9, 11, 21, 37,
51, 53, 73, 75,
77, 109, 111, 113
803-255C ...................
25, 27803-278C ...................13, 17, 25, 27, 35803-280C ...................13803-281C ...................25, 27803-283C ...................39, 43, 51, 77,
79, 101, 103,
105, 107, 115
803-293C ...................
23803-319C ...................31803-329C ...................35, 49, 53803-332C ...................19803-334C ...................
PagePart Number
7, 25803-340C ...................9, 11, 13803-341C ...................53804-005C ...................11, 13, 39, 43,
49, 59, 87, 91,
115
804-011C ...................
39, 41, 49, 59,
61, 125
804-013C ...................
125804-015C ...................109804-016C ...................41, 125804-017C ...................79, 127804-036C ...................109804-046C ...................25, 27, 41, 59,
61, 65, 67, 69,
804-084C ...................
71, 99, 101, 103,
105, 107
109804-117C ...................109, 125804-135C ...................37804-157C ...................11, 13804-162C ...................41, 59, 61, 79,
99, 101, 103,
105, 107
804-201C ...................
113805-045C ...................9, 11, 13, 27, 33,
37
805-063C ...................
33, 37805-066C ...................113805-303C ...................37805-336C ...................37805-342C ...................113805-353C ...................113805-356C ...................69, 71807-219C ...................109807-220C ...................113807-221C ...................113807-222C ...................29807-227C ...................51807-235C ...................117814-214C ...................119814-215C ...................117814-216C ...................119814-217C ...................119814-241C ...................117814-242C ...................119814-289C ...................117814-290C ...................9, 11, 13, 35815-143C ...................9, 11, 13, 35815-144C ...................31815-145C ...................31815-146C ...................35815-147C ...................33815-150C ...................33815-151C ...................33815-152C ...................37815-153C ...................33815-154C ...................33815-155C ...................33815-156C ...................33815-157C ...................33815-158C ...................33815-163C ...................37815-165C ...................33815-167C ...................33815-173C ...................33815-174C ...................33, 37815-175C ...................37815-178C ...................33, 37815-186C ...................33815-187C ...................33815-190C ...................
PagePart Number
33815-196C ...................33815-210C ...................37815-211C ...................117, 119816-035C ...................115816-318C ...................41816-413C ...................65, 67816-421C ...................101, 103, 105,
107
816-422C ...................
109816-423C ...................99816-425C ...................41816-464C ...................125816-469C ...................125816-470C ...................125816-471C ...................99816-496C ...................125816-512C ...................65816-522C ...................67816-523C ...................65816-524C ...................23817-517C ...................25, 27817-525C ...................33817-526C ...................87, 91, 93, 95,
115
817-527C ...................
109817-528C ...................127817-538C ...................29817-540C ...................109817-543C ...................109817-559C ...................75817-593C ...................125817-621C ...................121818-045C ...................121818-190C ...................121818-543C ...................39, 49822-203C ...................53, 55826-395C ...................59, 61826-396C ...................45, 49826-398C ...................25, 27826-399C ...................25, 27826-400C ...................49826-403C ...................53826-404C ...................49826-405C ...................53826-406C ...................43826-413C ...................41826-415C ...................41826-416C ...................59, 61, 63826-417C ...................59, 61826-419C ...................49826-438C ...................41, 125826-444C ...................41, 125826-445C ...................53826-454C ...................53826-455C ...................39826-463C ...................39826-465C ...................125826-474C ...................125826-475C ...................125826-483C ...................73831-035C ...................75831-042C ...................87, 91, 93, 95833-020C ...................77, 79833-255C ...................77, 79833-256C ...................77833-257C ...................77833-260C ...................85, 87, 89, 91,
93, 95
833-267C ...................
85, 87, 89, 91,
93, 95
833-268C ...................
02/19/09 4200 & 4400 NT ST Utility Vehicles Treker 700-108P 129
Table of Contents Part Number Index
Part Number Index (continued)

PagePart Number
85, 87, 89, 91,
93, 95
833-269C ...................
85, 89833-270C ...................85, 87, 89, 91,
93, 95
833-271C ...................
77, 79833-277C ...................77, 79833-296C ...................89833-297C ...................85, 87, 89, 91,
93, 95
833-298C ...................
85, 87, 89, 91,
93, 95
833-299C ...................
85, 89833-300C ...................77, 79833-303C ...................85, 89833-313C ...................115833-322C ...................85, 89833-325C ...................85, 89833-329C ...................37833-330C ...................77833-331C ...................77833-333C ...................77833-335C ...................87, 91, 93, 95833-336C ...................77, 79833-338C ...................87, 91, 93, 95833-342C ...................77, 79, 83833-348C ...................77, 79, 81833-349C ...................121838-303C ...................121838-444C ...................121838-486C ...................121838-489C ...................121838-490C ...................121838-491C ...................121838-492C ...................121838-495C ...................121838-507C ...................121838-508C ...................121838-532C ...................89838-541C ...................121838-542C ...................121838-543C ...................121838-544C ...................121838-545C ...................121838-546C ...................121838-547C ...................121, 123838-548C ...................121838-549C ...................121, 123838-550C ...................121838-551C ...................121838-552C ...................121, 123838-554C ...................85838-569C ...................121838-570C ...................121838-579C ...................121838-581C ...................121838-596C ...................87, 91, 93838-623C ...................95838-633C ...................121838-644C ...................121838-662C ...................121838-663C ...................87, 91, 93, 95,
121
838-668C ...................
123838-704C ...................43839-122C ...................77, 79839-288C ...................73, 75839-297C ...................73839-298C ...................75839-299C ...................99839-300C ...................73839-301C ...................
PagePart Number
73, 75839-302C ...................99839-303C ...................65, 67839-309C ...................65, 67839-311C ...................71839-321C ...................71839-322C ...................65, 67839-323C ...................65, 67839-375C ...................65, 67839-376C ...................65, 67839-377C ...................69, 71839-383C ...................69839-401C ...................69839-402C ...................69839-403C ...................29840-002C ...................25, 27840-064C ...................25, 27840-065C ...................67840-072C ...................71840-079C ...................39, 43, 59840-080C ...................27840-093C ...................65840-094C ...................59, 61840-096C ...................85, 89840-097C ...................41840-098C ...................17840-100C ...................19840-101C ...................89840-102C ...................33840-104C ...................77, 79840-105C ...................115840-106C ...................39, 43, 59840-108C ...................51840-114C ...................37840-117C ...................37840-119C ...................85, 87, 89, 91840-120C ...................109840-122C ...................7840-124C ...................85840-125C ...................109840-126C ...................25840-129C ...................25, 27840-130C ...................111840-133C ...................29, 33840-134C ...................41, 125840-135C ...................9840-136C ...................11, 13840-137C ...................11840-138C ...................11840-139C ...................43840-142C ...................87, 91, 93, 95840-160C ...................87, 91840-161C ...................71840-176C ...................123840-203C ...................123840-204C ...................123840-205C ...................123840-206C ...................123840-207C ...................123840-208C ...................51840-209C ...................123840-216C ...................123840-217C ...................125840-218C ...................13840-226C ...................13840-227C ...................13840-228C ...................13840-229C ...................125840-239C ...................125840-240C ...................29, 105840-241C ...................93, 95840-248C ...................
PagePart Number
29, 107840-261C ...................125840-266C ...................125840-267C ...................125840-268C ...................69840-315C ...................71840-315c ...................17840-321C ...................17840-330C ...................279175 ..........................123990-132R ...................109990-133R ...................101, 103, 105,
107, 109
990-227R ...................
109990-235R ...................35D2041 ........................121dwg21147 ..................31dwg21159 ..................15dwg21207 ..................21, 23dwg21209 ..................19dwg21210 ..................101dwg21211 ..................103dwg21217 ..................33dwg21219 ..................25dwg21220 ..................35dwg21221 ..................55dwg21222 ..................89dwg21228 ..................49dwg21229 ..................59dwg21231 ..................45dwg21232 ..................37dwg21233 ..................85dwg21234 ..................63dwg21237 ..................71dwg21239 ..................43dwg21240 ..................41dwg21241 ..................65dwg21242 ..................53dwg21243 ..................73dwg21245 ..................67dwg21248 ..................109dwg21252 ..................99dwg21256 ..................115dwg21257 ..................97dwg21258 ..................29dwg21264 ..................77dwg21265 ..................111dwg21271 ..................113dwg21273 ..................75dwg21299 ..................7dwg21300 ..................51dwg21301 ..................127dwg21312 ..................9dwg21313 ..................119dwg21314 ..................117dwg21315 ..................11dwg21317 ..................91dwg21385 ..................87dwg21386 ..................27dwg22117 ..................69dwg22118 ..................123dwg22226 ..................39dwg22231 ..................107dwg22412 ..................105dwg22413 ..................93dwg22414 ..................95dwg22417 ..................13dwg23791 ..................125dwg23821 ..................83dwg23857 ..................61dwg23885 ..................81dwg23886 ..................
PagePart Number
79dwg23889 ..................17dwg23892 ..................35F1004 ........................31F136 ..........................31F137 ..........................31F175 ..........................31F176 ..........................31F177 ..........................31F178 ..........................31F179 ..........................35F181 ..........................31F258 ..........................31F261 ..........................31F609 ..........................31F610 ..........................31F621 ..........................31F622 ..........................35F763 ..........................35F765 ..........................35F772 ..........................35F773 ..........................35F774 ..........................31F777 ..........................31F792 ..........................31F793 ..........................35F799 ..........................35F813 ..........................35F815 ..........................35F818 ..........................35F820 ..........................35F822 ..........................35F823 ..........................35F824 ..........................35F826 ..........................31, 35F827 ..........................31, 35F828 ..........................35F829 ..........................35F832 ..........................35F834 ..........................35F840 ..........................35F843 ..........................35F845 ..........................31F852 ..........................31F855 ..........................35F896 ..........................31F908 ..........................31, 35F909 ..........................51IC-3180 ......................51IC-3514 ......................51IC-3586 ......................71, 77, 79, 125N/A ............................63R100-003M-A0427 .....63R100-004M-A0428 .....63R100-8B00-A0471 ......63R100-8B00-A0473 ......71RIN10046 ..................71RXR10148 .................51V7-1C17D8-201 ........
130 4200 & 4400 NT ST Utility Vehicles Treker 700-108P 02/19/09
Table of Contents Part Number Index
Part Number Index (continued)
































































