Leetac Electronics Technology LEETACE69EA Wooden Music Center with Bluetooth User Manual
Zhongshan Leetac Electronics Co., Ltd. Wooden Music Center with Bluetooth
User Manual.pdf

1
Wooden Music Center with Bluetooth
MODEL:E-69EB
2
Important Safety Instructions ......................................................................... 3
Product Overview ........................................................................................... 4
Setup / Basic Operation ................................................................................. 8
Listening to a Vinyl Record ............................................................................ 8
Listening to a CD ............................................................................................ 9
Listening to the FM Radio ............................................................................ 10
Listening to an External Audio Device (AUX Mode) .................................... 10
Listening to an External Audio Device (Bluetooth Mode) ............................ 10
Listening to a Cassette Tape ........................................................................ 11
Maintenance / Proper Handling ................................................................... 11
USB-to-PC Recording .................................................................................. 13
Specifications ............................................................................................... 53
Troubleshooting Guide ................................................................................. 54
FCC Statement ............................................................................................. 56
CALIFORNIA PROP 65 WARNING ............................................................. 58
..........................................................................................................................

3
CAUTION
RISK OF ELECTRIC SHOCK
DO NOT OPEN
AVERTISSEMENT:
RISQUE DE CHOC ÉLECTRIQUE – NE PAS OUVRIR.
- This lightning flash with arrowhead symbol within an equilateral triangle is intended to alert the user to the
presence of non-insulated “dangerous voltage” within the product’s enclosure that may be of sufficient magnitude
to constitute a risk of electric shock.
- Warning: To reduce the risk of electric shock, do not remove cover (or back) as there are no user-serviceable parts
inside. Refer servicing to qualified personnel.
- The exclamation point within an equilateral triangle is intended to alert the user to the presence of important
operating and maintenance instructions in the literature accompanying the appliance.
CAUTION: To reduce the risk of fire or electric shock, do not expose this appliance to rain or moisture.
WARNING: To prevent electric shock, do not use this (polarized) plug with an extension cord, receptacle
or other outlet unless the blades can be fully inserted to prevent blade exposure
WARNING: Invisible laser radiation when open and interlock failed or defeated. Avoid direct
exposure to laser beam.
PRODUCT COMPLIES WITH DHHS RULE 21 CFR SUBCHAPTER J IN EFFECT AT DATE
OF MANUFACTURE
This equipment is a Class II or double insulated electrical appliance. It has been designed in
such a way that it does not require a safety connection to electrical earth.
Important Safety Instructions
1. Read these instructions – All the safety and operating instructions should be read before this product
is operated.
2. Keep these instructions- The safety and operating instructions should be retained for future reference.
3. Heed all warnings – All warnings on the appliance and in the operating instructions should be adhered
to.
4. Follow all instructions – All operating and use instructions should be followed.
5. Do not use this apparatus near water – The appliance should not be used near water or moisture – for
example, in a wet basement or near a swimming pool, and the like.
6. Clean only with dry cloth.
7. Do not block any ventilation openings. Install in accordance with the manufacturer’s instructions.
8. Do not install near any heat sources such as radiations, heat registers, stoves, or other apparatus
(including amplifiers) that produce heat.
9. Do not defeat the safety purpose of the polarized or grounding plug. A polarized plug has two blades
with one wider than the other. A grounding plug has two blades and a third grounding prong. The wide
blade or the third prong is provided for your safety. If the provided plug does not fit into your outlet,
consult an electrician for replacement of the obsolete outlet.
10. Protect the power cord from being walked on or pinched particularly at the
plugs, convenience receptacles, and at the point where they exit from the
apparatus.
11. Only use attachments/accessories specified by the manufacturer.
12. Use only with the cart, stand, tripod, bracket, or table specified by the
manufacturer, or sold with the apparatus. When a cart or rack is used, use
caution when moving the cart/apparatus combination to avoid injury from
tip-over.
13. Unplug the apparatus during lighting storms or when unused for long periods of time.
14. Refer all servicing to qualified personnel. Servicing is required when the apparatus has been damaged

4
in any way, such as power supply cord or plug is damaged, liquid has been spilled or objects have
fallen into the apparatus has been exposed to rain or moisture, does not operate normally, or has
been dropped.
15.
-This lightning flash with arrowhead symbol within an equilateral triangle is intended to alert the user to the
presence of non-insulated “dangerous voltage” within the product’s enclosure that may be of sufficient
magnitude to constitute a risk of electric shock.
-Warning: To reduce the risk of electric shock, do not remove cover (or back) as there are no
user-serviceable parts inside. Refer servicing to qualified personnel.
-The exclamation point within and equilateral triangle is intended to alert the user to the presence of
important operating and maintenance instructions in the literature accompanying the appliance.
16.
This equipment is a Class or double insulated electrical appliance. It has been designed in such a way
that it does not require a safety connection to electrical earth.
17. The mains plug is used as disconnect device, the disconnect device shall remain readily operable.
18. To reduce the risk of fire or electric shock, do not expose this apparatus to rain or moisture. The
apparatus shall not be exposed to dripping or splashing and that no objects filled with liquids, such as
vases, shall not be placed on apparatus.
19. The use of the equipment in moderate climate.
ACCESSORIES INCLUDED:
• RCA LINE OUT CABLE
• INSTRUCTION MANUAL
• WARRANTY (BACK OF MANUAL)
• 45 RPM ADAPTER
• USB CABLE
• AUDACITY SOFTWARE CD
Product Overview
Front View

5
1. STOP ( ) - Press to stop playback or cancel the program setting.
2&3. NEXT/PREVIOUS TRACK & FF/REWIND - ( or ).
4. PLAY/PAUSE ( ) - Press to start playback, press again to pause.
(Note: This button only works in CD and Bluetooth mode.)
5. “REPEAT” - Press to select the repeat mode.
(Note: This button only works in CD mode.)
6. “VOLUME” KNOB - Turn to adjust volume.
7. STEREO SPEAKERS
8. POWER (
)
- Push to turn the unit on or off.
9. DISC TRAY
10. 3.5mm HEADPHONE JACK - Accepts headphones.
11. LCD DISPLAY
12. 3.5mm AUX IN JACK - Connect your external source to the AUX IN jack.
13. OPEN/CLOSE ( ) - In CD mode, press to open and close the disc tray.
14. RADIO TUNER KNOB - In FM mode, turn to tune in a station.
15. FM - Press to listen to the FM Radio function.
16. TAPE - Press to listen to a CASSETTE TAPE.
17. CD - Press to listen to CD.
18. PHONO - Press to listen in PHONO mode.
19. (AUX/ ) - Press to listen in AUX or Bluetooth mode.
20. FM ST INDICATOR - Red light illuminates to indicate the station playing is in stereo.
21. BT INDICATOR - Blue light will flash when the unit is waiting to be paired. The Blue light will
stay lit when an external device is successfully paired to the unit.
22. TUNING DIAL POINTER
23. PROGRAM INDICATOR - Illuminates to indicate the program playback is set.
24. REPEAT INDICATOR - Red light will stay illuminated indicating all tracks are set to repeat.
Red light will flash when a single track is set to repeat.
(Note: This indicator only works in CD mode.)

6
Right Side View
25. CASSETTE FF & EJECT
Press halfway to fast forward, press all the way to end and eject the tape.
Rear View
26. FM wire antenna
While tuned to a station in FM mode, extend the wire and reposition to adjust for best reception.
27. USB socket
28. LINE OUT jacks
For amplifier device with RCA auxiliary input sockets, insert the white and red plugs on the RCA
cable into the unit. Insert the opposite end into the amplifier device. Be sure to connect the white
plug to the white jack and the red plug to the red jack.
29. AC Power Cord
Connect the AC plug into a wall outlet.
It’s strongly recommended that this product should be operated only from the type of power source
indicated on the marking label.

7
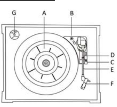
Parts of the Turntable
A. Turntable
B. Safety Screw (for transport) Before using the unit, turn the screw clockwise using a coin or
screwdriver.
Important: When you transport the unit, turn the screw counterclockwise to secure the turntable.
C. Speed Selector
D. Tone Arm holder
E. Tone Arm.
Before initial use, remove tie on the tone arm and lift the tone arm up.
F. Stylus
G. 45 RPM adaptor

8
Setup / Basic Operation
Setup
1. Remove white protective needle cover by gently pulling towards front of unit.
2. Remove any packaging materials from the unit.
3. Connect the AC power cord
to a wall outlet.
Note:
-You’re strongly recommended that this product should be operated only from the type of power
source indicated on the marking label.
-To prevent interference, avoid bundling audio signal cables together with the AC power cord.
Basic Operation
1. Push the POWER button to turn the unit on.
2. Select the source by pressing the (AUX/ )/PHONO/CD/TAPE/FM button.
3. Rotate the VOLUME knob to adjust to the desired sound level.
Listening through RCA LINE OUT
For amplified device listening, first reduce the volume level to minimum. Insert the white and red plugs
on the RCA cable into the unit, then insert the opposite end into the amplifier device. Be sure to connect
the white plug to the white jack and the red plug to the red jack.
Listening through Headphones (not included)
For private listening, first reduce the volume level to minimum.
Insert your headphones’ plug into the 3.5mm jack, then
adjust the volume up by turning the VOLUME knob.
Note: The speakers will automatically be deactivated while
headphones are plugged in.
CONDENSATION WARNING:
When the unit is moved from a cold or warm place, or is used following a sudden temperature change, there is the
danger that water vapor in the air may condense on the unit, preventing proper operation. In such cases, leave the
unit for 1-2 hours after plugging it into an AC outlet to allow it to stabilize at the temperature of its surroundings.
Listening to a Vinyl Record
1. Press the PHONO button.
2. Gently open the top cover.
Note: Be careful not to pinch your finger when opening/closing the top cover.
3. Place a vinyl record on the turntable. When playing a 45 RPM record, use the included adaptor.
4. Select the appropriate speed (4).
5. Remove the tone arm-rest holder to release the tone arm.

9
6. Move the tone arm gently to the edge of the record (or the starting point of a track).
The turntable will begin to turn.
7. When the record reaches its end, tone arm will stop at the center of the record and you must lift and
return the tone arm to the tone arm rest manually. Lock the tone arm-rest holder to protect the tone
arm.
Important:
- Closing the top cover will help prevent dust from settling on the turntable.
- Always relock the tone arm clip before transporting the unit.
- Do not place anything on top of the turntable cover, especially while playing a record.
Listening to a CD
1. Press the CD button.
(Note: When no disc is set, “no” will appear on the display.)
2. Press the OPEN/CLOSE (
)
button.
(Note: This button only works in CD mode.)
3. Place a disc on the tray with the printed label face up.
4. Press the OPEN/CLOSE button (
)
to close the tray.
5. Press the PLAY/PAUSE button ( ) to begin playback.
(Note: The CD playback will start automatically.)
6. To temporarily pause playback, press the PLAY/PAUSE button ( ). Press again to resume.
7. To skip tracks forward or backward, press the corresponding skip button ( or ). Pressing
( ) once will restart the current track. Pressing ( ) twice in succession will return to the
beginning of the previous track.
8. To fast forward / rewind within a track, press and hold down the corresponding skip button until the
desired position is reached.
9. To stop playback, press the STOP ( ) button.
Important:
- Never place more than one disc on the tray.
- The disc must be placed in the center of the disc tray. An incorrectly loaded disc can permanently
damage the tray door mechanism.
- Do not push the CD tray – always use the OPEN/CLOSE button.
- It takes a moment for the unit to load a disc, during which all buttons will be temporarily deactivated.
Repeat Playback
Each time the REPEAT button is pressed, the repeat mode will cycle through the following options:
REPEAT 1 (Repeat one track)
The repeat indicator will flash and the current track will be played repeatedly. If you press the
( or ) button to select another track, the track you select will be played repeatedly.
REPEAT ALL (Repeat the entire CD)
The repeat indicator will stay lit and the entire CD will be played repeatedly.
Notes:
- Repeat playback works with CD’s only.
Programmed Playback
Up to 20 tracks can be programmed to play in any desired order.
Notes:
- Programmed playback works with CD’s only.

10
1. Select “CD” mode, then load a CD.
2. While the CD is stopped, press and hold the REPEAT button.
3. “PROGRAM” indicator lights up and “01” blinks on the display.
4. Press ( or ) to select a track number.
5. Press the REPEAT button again to set the next program track, “02” appears and blinks.
Repeat steps 4 through 5 to program the remaining tracks.
6. When the selection of track numbers has been finished, press the PLAY button ( ) to start program
playback.
(Note: When all 20 program tracks are set, press REPEAT button and “FI” will appear on the display)
7. To cancel the program mode, press the STOP ( ) until the program indicator doesn’t light.
To check the programmed order
In stop mode, press ( or ) repeatedly to show the track numbers that have been programmed.
To add a track to the end of the programmed order:
In stop mode, press and hold the REPEAT button.
Select a track number by pressing ( or ), then press the REPEAT button.
The current track will be added to the end of the program.
Listening to the FM Radio
1. Press the FM button.
2. Tune to the desired station using the Radio Tuner Knob.
Note: In FM Mode, the red “FM ST” indicator lights up when the station reception is in tune.
Adjusting for Best Reception
FM broadcast: Extend and reposition the FM antenna.
Listening to an External Audio Device (AUX Mode)
In AUX (auxiliary) mode, this unit can play audio from an external audio source (iPod, MP3 Player,
Portable CD Player, etc.)
There is an AUX IN jack on the front of the unit. When connecting a device that has a headphone jack,
use the cable with 3.5mm plugs on either end with the front AUX IN jack.
1. Plug one end of the AUX IN cable (not included) into the AUX IN jack.
2. Press the (AUX/ )
button to select AUX function.
3. Plug the other end of the cable into the headphone jack of the external audio source.
NOTE: All operations are only available on your external device.
Listening to an External Audio Device (BT Mode)
In BT (Bluetooth) mode, this unit can play music from external devices that have a built-in
Bluetooth feature.
GETTING CONNECTED USING BLUETOOTH
1. Press the (AUX/ )
button twice to select Bluetooth function. The BT indicator will flash blue.

11
2. While the BT is activated, turn on the BT setting on your external device.
3. Your external device will begin to search for the Wooden Music Center.
NOTE: The effective distance between your external device and this apparatus is 10 meters (33ft).
4. Wait for “Wooden Music Center” to appear on the paired devices list on your external device and
press “Wooden Music Center”.
In some instances, you will be asked for a password. Fill in “0000” then press “OK” on your
external device.
5. A few seconds later when your Bluetooth connection is successful, the blue indicator will stay lit.
You can control music playback with the PLAY/PAUSE
( )
or the ( and ) buttons on the
apparatus.
Note: Stop / Fast Forward / Rewind are only available on your external device.
Listening to a Cassette Tape
1. Press the TAPE button.
2. Load an audio cassette tape into the unit (located on the right side of the unit). Playback will
automatically begin.
3. Press button halfway to Fast Forward the tape.
Press button lightly and playback will resume.
4. Press button completely down to end playback and eject tape.
Maintenance / Proper Handling
Compact Disc Handling
• Always place the disc on the disc tray with the label side facing upward (compact discs can be
played/recorded only on one side).
• To remove a disc from its storage case, press down on the center of the case and lift the disc
upward, holding it carefully by its edges.
• To clean a disc, wipe the surface from the center hole outward towards the outer edge with a soft,
dry cloth.
• Never use such chemicals as record spray, antistatic sprays or fluid, benzine or thinner to clean
discs; they will irreparably damage the disc’s plastic surface.
• Discs should be returned to their cases after use to protect from dust and scratches.
• Do not expose discs to direct sunlight, high humidity, or high temperature for extended periods of
time.
• Printable CD-R and CD-RW discs are not recommended, as the label side may become sticky and
damage the unit.
• Use a soft oil-based felt-tipped pen to write information on the label side. Never use a ball-point or
hard-tipped pen, as doing so may damage the recorded side.
• Do not use irregularly shaped CDs (octagonal, heart shaped, business card size, etc), as they will
damage the unit.
• Read all precautions supplied with any CD-R or CD-RW disc.
• Never handle a disc with dirty fingers.
• Never insert a disc that has a crack on the surface.
Handling Vinyl Records
• Do not touch the record’s grooves. Only handle records by the edges or the label with clean hands.
Touching the record surface will cause your record’s quality to deteriorate.
• To clean a record, use a soft anti-static cloth to gently wipe the record surface.
• Keep records in their protective sleeves when not in use.
• Always store records upright on their edges.
• Avoid placing records in direct sunlight, close to a heat source (radiators, stoves, etc.), or in a
location subject to vibration, excessive dust, heat, cold or moisture.
General Care
• When removing the power plug from the wall outlet, always pull directly on the plug.
Never pull the cord.

12
• To keep the laser pickup clean, do not touch it, and do not forget to close the disc tray.
• Do not attempt to clean the unit with chemical solvents as this might damage the finish.
• For cleaning, only use a clean, dry cloth.
• In order to shut off the power to this product completely, unplug the power cord from the wall outlet.
Be sure to unplug the unit if you do not intend to use it for an extended period of time.
How to Replace the Turntable Stylus
The stylus should last about 50 hours under normal use. However, it is recommenced that the stylus be
replaced as soon as you notice a change in sound quality. Prolonged use of
a worn-out stylus may damage the record. The highest speed of 78 RPM
records would wear out the stylus more quickly.
Removing the old stylus:
1. Set a screwdriver at the tip of the stylus and push downward (A).
2. Remove the stylus by pulling it simultaneously downward and forward.
Installing a new stylus:
1. Hold the front tip of the stylus and insert its rear edge (B) first.
2. Push the stylus upwards (C) until the tip locks into place.
Caution:
Do not bend the stylus.
Do not touch the needle to avoid injury your hand.
Turn off the unit’s power before you replace the stylus.
Keep out of reach of children.

13
USB TO PC RECORDING
Audacity Software
The provided CD disc contains the following software:
(1)Audacity_for_MAC---------For Mac
(2)Audacity_for_WIN---------For Windows
The software is compatible with Window XP, VISTA, 7 and 8, 10 requires appropriate drives and Mac.
NOTE:
- Read about Audacity on Windows 8, 7 and Vista. Windows 2000, NT, and 95 are not supported.
-Windows 10 is supported, but subject to all enabled devices having Windows 10-compatible drivers
designed for the device. This should be the case for the built-in sound device of a new computer that
came with Windows 10. Please see our Windows 10 page for solutions if you encounter problems. We
hope to improve our Windows 10 compatibility with older devices in a future release.
-A CPU that supports SSE2 is required (any CPU made after 2003 should support this). Please use
the legacy Audacity 2.0.6 version if your machine lacks SSE2 support.
- Audacity for Mac is a Universal Binary for OS X 10. 6 and later. Audacity runs best with at least 1 GB
RAM and a 1 GHz processor (2 GB RAM/2 GHz on OS X 10.7 and later).
- For lengthy multi-track projects, we recommend a minimum of 2 GB RAM and 2 GHz processor (4 GB
RAM on OS X 10.7 and later).
- The 2.1.1 release was the final release for PPC Macs.
Because of the variation of different operation systems, some of the interface may not be the same as
below.
Audacity Installation and USB Connection
Connect one end of USB cable to the turntable and the other end into your computer. Then connect the
AC power cord of the turntable.
Audacity for Windows
Installing the Audacity Software
1. Please insert the Audacity software disk that comes with your unit. Go to My Computer and double
click the CD ROM Drive.
2. Double click the audacity-win-2.1.2 to install the audacity software.

14
3.Select the setup language first and click on OK to continue.
Note: The language choice in the Windows EXE Audacity installer only selects the language
for the installer.
4.The Audacity Setup Wizard will appear. Click on Next to install the software.
5. Continue to click on the Next buttons.

15
6. Click on the Install button to start installation.

16
7. Click on Next to continue.
8. Click on Finish to complete installation.
9. You can now open the Audacity software and start recording your files.

17
Note
1. Once you set up Audacity, you do not need to re-set it with each use.
2. The “Audacity-win-2.1.2.exe” (helpfile included) is available for Windows 8/ Windows 7/ Windows 10
requires appropriate drivers / Windows Vista/ Windows XP.
3. If you cannot run the exe document, please go to the website below and download the file from it
directly.
http://www.audacityteam.org/download/windows
4. Users upgrading to this release from Audacity 2.0.5 or earlier who had FFmpeg installed will see
a notice that FFmpeg needs to be reconfigured.
Please visit http://manual.audacityteam.org/o/man/faq_installation_and_plug_ins.html#ffdown for a link
to the recommended 2.2.2 version of FFmpeg for Windows and Mac OS X, and for information for
Linux.
5. The Windows installer for 2.0.x versions will replace legacy 1.2.x or any previous 2.0.x installation,
but install alongside legacy 1.3.x Beta versions. It is strongly recommended to uninstall previous Beta
versions before installing current Audacity.
6. Audacity 2.1.2 requires the CPU to support the SSE2 instruction set which should be available on
any Intel hardware produced after 2001 and any AMD hardware produced after 2003. To check what
SSE levels your CPU supports, you can install CPU-Z. If your hardware only supports SSE, you may
download Audacity 2.0.6 from http://www.oldfoss.com/Audacity.html.
7. Users on Windows XP: You may see "Entry Point Not Found" when first launching Audacity after
installation. This error occurs if you are running less than the latest "Service Pack" of updates for your
Windows XP system.
Please see http://manual.audacityteam.org/o/man/faq_installation_and_plug_ins.html#entry_point
for how to install the latest Service Pack and for advice about the potential security risks of running XP
now that Microsoft no longer supports it.
8. On first use of Audacity you need to confirm or cancel the Register Effects dialog for detected effects
before you can launch Audacity. (For additional information, please visit the website at
http://manual.audacityteam.org/o/man/effects_preferences.html#register)

18
Configuring Audacity for Microsoft Windows
Audacity Interface
Audacity Control Buttons
Use the attribute controls button at the top of the screen to go to beginning, Pause, Play, Stop, Record
etc. Use the File, Edit, View, Transport, Tracks, Generate, Effect and Analyze menus to Save, Export,
and edit the music.
1. Click the ( ) button to pause the recording;
2. Click the ( ) button to play;
3. Click the ( ) button to stop the recording;
4. Click the ( ) button to skip to start;
5. Click the ( ) button to skip to end;

19
6. Click the ( ) button to record;
7. Adjust the input volume;
8. Adjust the output volume;
Audacity Preferences
1. Click the “Edit” on the Audacity interface, select “Preferences”.
In the pop-up window of the Audacity Preferences, tabs of Devices, Playback, Recording, Quality,
Interface, Tracks, Spectrograms, Import / Export, Extended Import, Projects, Libraries, Directories,
Warnings, Effects, Keyboard, Mouse and Modules are listed on the left side of the window as shown in
the picture below.

20
2. Click ‘Devices’ on the left side and detailed contents of the Devices will appear on the right hand side
of the interface.
Click the arrow on “Device” below Playback and choose “Realtek High Definition Audio”
or “Microphone Sound Mapper- Output”.
Click the arrow on ‘Device’ below ‘Recording’ and choose ‘‘USB PnP Audio Device’.
Click the arrow on ‘Channels’ to select ‘2(Stereo)’. Do not click OK until you finish all of the settings.
Note: If you cannot find the " USB PnP Audio Device " in the Device list, close the Audacity Software
and re-open and try again.
Windows Vista and later call most USB external devices "microphones" but Windows XP and earlier do
not. Some higher-end USB recording interfaces may appear as their explicit manufacturer's name.

21
3. Click ‘Recording’ on the left side and the detailed contents will display on the right side.
Click the checkbox beside ‘Software Playthrough: Listen while recording or monitoring new track’.
Click the checkbox beside ‘Sound Activated Recording’ and adjust the Sound Activation Level (dB) to
-36.
NOTE: Once the ‘Sound Activated Recording’ is selected, the Pause button will not work during
recording. You can Click “Interface” on the left side to select Sound Activation Level.

22
4. Before exporting a MP3 file, you need to find ‘lame’ first. If the program does not show the MP3
Library, make sure the Audacity driver disc is inside your computer.
Click ‘Libraries’ on the left side, then in ‘MP3 Export Library’ interface, click ‘Locate…’ button to find
‘lame_enc.dll’.
5. You can download the ‘lame’ software from the website.
Click ‘Download’ and a website will be opened automatically.
Open the website to download ‘lame_enc.dll’: click on LAME download page.

23
Jump straight to Windows download’ in the top line. Left click 'Windows download’ and it will jump to the
download chapter for Windows.
Audacity LAME is free, so you can click ‘libmp3lame-win-3.99.3.zip’ under ZIP OPTION to download.
Click Save, select the Folder you want to save it in, then click Save again to save it.
Close the webpage, then click OK to close the Audacity preference. Minimize Audacity interface, then
open the Folder where you saved the libmp3lame-win-3.99.3.Double click on it, then double click on it
again to open. Now left click on lame_enc.dll. Hold and drag it to your Desktop.

24
NOTES:
Once you move it to the Desktop you do not need to do this again.
After opening lame_enc.dll the first time it may not be necessary to open lame_enc.dll the next
time you record.
Go back to Audacity and click on Edit, then Preferences. Click on Libraries in MP3 library. Click on
Locate, then click on ‘Browse’. Click on Desktop, then click on Lame_enc.dll to highlight it. Then click
Open.
Click on OK on locate Lame box. Click OK on Audacity Preferences to close and to complete your
settings. Now you can Record, Export and save your favorite music.
6. For detailed information about how to run this program, please click ‘Help’ and click ‘Manual (in web
browser)’.
7. Adjust the output and input volume to 20% (or 0.2 level).
NOTE: Because of the variation of different operation systems, the input volume control may not work
on some individual Windows versions. Windows Vista is recommended to ensure the input volume
control works properly.
For any queries in regard to ‘Mixer Toolbar’ please visit:
http://wiki.audacityteam.org/index.php?title=Mixer_Toolbar_Issues

25
RECORDING OPERATION
To download music and save into computer:
1. Place the record on the turntable.
2. Move the tone-arm over to the record to start playing.
3. Click the Record ( ) button to start recording.
The waves (left and right tracks) will show on the interface.
4. At end of a song, click the “pause” ( ) button on the computer and press the Stop button on the
turntable, move the cursor to the wave area and left click at the end of the song.
For the next song, replace the album or move tone-arm to another desired song. Press the Play button
on the turntable to start playing the next song. Immediately press the “pause” ( ) button on the
computer and downloading will continue and another R/L track will appear on the interface.
NOTE: Pause button will not work during the recording process if the ‘Sound Activated Recording’ in
Preferences Recording is selected. Clear the checkbox next to ‘Sound Activated Recording’ if you want
to manually pause recording.
5. Repeat steps 3 and 4 until you have finished downloading.
NOTE: Do not click stop button on the computer when continuously downloading songs. Remember to
click pause button in between your desired songs. Press stop button on the computer only when all
your desired songs have been downloaded.
After your have finished downloading, you may play back the songs through your computer. In stop
mode, simply click ( ) SKIP TO START button and then the ( ) PLAY button.
TIP: If you press the “stop” button by accident, you can click “Transport” and click “Append Record” and
you can continue to record in the same track.

26
For example, if the “stop” button has been pressed by accident at the end of the first song, do not click
anything in Audacity. Prepare another song, click “Transport” tab and select “Append Record”. The
second song will continue to record on the same track at the end of the first song.
You now have a music download on your computer but the music needs to be saved and converted to
WAV, OGG, or MP3 formats before exporting.
GENERAL PROBLEMS FOR WINDOWS VERSION
1. If you do not have the fluctuating wave on the interface during recording, or the recording sounds
unsatisfactory, adjust the recording volume as follows:
• Click Start in the left corner of the computer, select Settings, Control Panel.
• In Control Panel interface Find Sounds and Audio Devices. Double click the icon to enter
Sounds and Audio Devices Properties interface.

27
• In Sounds and Audio Devices Properties interface
Volume window will display, select the Audio tab to reveal the settings.
In Sound recording, select USB PnP Audio Device and click the Volume button to set the recording
input level. The WAVE IN window will appear.
• In WAVE IN interface Adjust the recording volume to about 50% as per illustrated below.
The fluctuating wave will show on the interface when recording.

28
2. If you do not hear any sound when the turntable is connected and you wish to listen to the music and
/or video, it is possible that the default playback device has been changed to USB PnP Audio Device
when the turntable connects to the PC.
Recommended: Remove the USB cable from the PC.
Alternative: This solution requires you to change the setting manually every time you connect the USB
cable to the PC.
Change the setting as follows:

29
•For Vista and
Windows 7 users:
Click “Start” and go to the Control Panel. Find and
click “Sound” icon. Sound window will be opened
and the “Playback” window will be seen. You will
see that the Speaker USB PnP Audio Device is set
as default. To ensure the sound, click a playback
device (e.g., Speaker High Definition Audio), then
click “Set Default” and click OK. The sound should
now work.
•For Other Windows
versions users
(e.g.: Windows XP):
Click “Start” and find “Settings”, “Control Panel”. In
the Control Panel window, find and double click
into “Sounds and Audio Devices”. In the Sounds
and Audio Devices Properties window, Volume
window will be seen. Click the “Audio” tab to reveal
the settings. In the Sound playback section, you
will see that the USB PnP Audio Device is
selected.
To enable the sound, click the pull-down arrow and
select your inbuilt sound device or sound card by
name as the playback device (e.g., Realtek) and
click OK and the sound should be enabled
.

30
DIVIDING TRACKS
After you have finished downloading, you may play back the songs through your computer before
exporting. In stop mode, simply click ( ) SKIP TO START button and click then the ( ) PLAY
button.
1. Press ( ) button to return to the beginning of the first song.
2. Move cursor to the wave graphic area, left click mouse and hold then drag from left to right.
Release the mouse when the highlight reaches the end of the first song.
Highlighted
3. Click "File" tab then select "Export Selected Audio...".

31
4. In the next window, select a location as well as the format (most people prefer to save audios in
MP3 format (MP3 format is most common)) in My Music and put the title in the file name. Click
“Save”.
NOTE: The most common formats are: MP3, WAV (WAV uses a lot of space), and MYA/AAC
(most iPod devices can play audios with this format).
You can also choose alternative formats such as AIFF, WAV, OGG or FLAC if these formats are
supported on both your computer and the exported devices. Note that according to your selection,
the Edit Metadata window may not appear.
5. In the next window, fill in the information in the window entitled “Edit Metadata”. Then click “OK”.
Wait a few seconds before exporting the selected audio.

32
Second song to be divided and saved:
1. Move cursor to the wave graphic at the beginning of the second song. Left click mouse and hold
then drag from left to right until you reach and highlight the end of the second song.
2. Click "file" tab then select "Export Selected Audio...".
3. Follow above steps to divide songs, export and save, one-by-one.
MP3, WAV AND OGG FORMAT
THESE ARE DIGITAL FILE FORMATS FOR AUDIO (MUSIC) AND MOST CURRENT COMPUTERS ARE
COMPATIBLE. HOWEVER, IF YOU COPY THE FILE ONTO A CD DISC (CD-R OR CD-RW) AND PLAY
WITH ANOTHER CD PLAYER, YOU HAVE TO MAKE SURE THE CD PLAYER SUPPORTS THOSE
FORMATS; OTHERWISE, THE COPIED CD DISC WILL NOT PLAY. THE SAME THING IS TRUE WITH A
COPIED FILE TO BE PLAYED ON ANOTHER MP3 PLAYER.
EXPORT AND SAVE FOR WAV
AND OGG FORMATS
(AFTER RECORDING IS COMPLETE)
When the song is finished, click ( ) on the screen to stop playing.
You can export and save tracks individually, or export and save into one file.
To export and save individually:
1. Highlight the song that you want to save then click the file tab on the audacity interface.
2. Select “Export Selected Audio...”,
a window will appear as below:

33
Select the folder, put title in the file name and click the pull-down arrow to select a save type, such as
WAV or OGG format.
3. Choose the file format of the recording that should be exported and put in the title in the file name
and the folder of the location where it will be saved, i.e. desktop. Then click “Save”.
4. Edit Metadata window may appear, complete the information then press the OK button.
5. Wait for a few seconds until the export & saving is completed.

34
Setting the language
1. Click Edit and select Preferences.
2. Another window titled with Audacity Preferences will appear. Click the Interface tab and click the
pull down arrow to select the language you wanted.

35
3. Then click OK to close the window. The new setting will only be active in the next start -
that means you need to close the Audacity and re-open the software again.
AUDACITY FOR MAC USERS
System Requirements
Audacity for Mac is a Universal Binary for OS X 10.6 and later. Audacity runs best with at least
1 GB RAM and a 1 GHz processor (2 GB RAM/2 GHz on OS X 10.7 and later).
For lengthy multi-track projects, we recommend a minimum of 2 GB RAM and 2 GHz processor (4
GB RAM on OS X 10.7 and later).
1. Please insert the Audacity software disk that comes with your unit. Click the Audacity disk on the
desktop.

36
2. Select Audacity_for_MAC for Macintosh system.
TIPS: To check your computer OS version, you can click the Apple icon then select “About This Mac”.
The next window will display and the processor type and the OS version will display as below.
3. Double click on the "PPC" folder.
4. Then double click "audacity-macosx-ub-2.1.2.dmg".
Wait a few minutes until this window disappears.

37
Then another window will appear.
Drag the "Audacity" folder in to "Applications" as the instruction show on the window.
5. Double click the Audacity folder and in the Audacity window, files will be displayed in the folder.
6. Double click the Audacity icon to start the software running, alternatively, drag the “orange ball wearing
headphones” icon down onto the desktop toolbar. Click on this icon to run Audacity.

38
CONFIGURING AUDACITY FOR MAC
Audacity Interface for Mac
Audacity Interface---Settings and controls
At the top of the main Audacity window, to the right of the play control buttons, you will see the input and
output level meters (labeled L and R). Under the output level meter, is an icon that looks like a microphone.
Next to the microphone is a black arrow that points down. Click this arrow and select Start Monitor. (If you
do not see the input and output level meters, open your Preferences again as described above.)

39
AUDACITY CONTROLS AND BUTTONS
Use the attribute control button at the top of the screen to go to Beginning, Play, Record, Pause, Stop and
End. Use the File, Edit, View, Transport, Tracks, Generate, Effect and Analyze menus to Save, Export, and
Edit the music.
1. Click the ( ) button to pause the recording;
2. Click the ( ) button to play;
3. Click the ( ) button to stop the recording;
4. Click the ( ) button to skip to start;
5. Click the ( ) button to skip to end;
6. Click the ( ) button to record;
7. Input level monitor
8. Output level monitor
9. Input device
10. Output device
11. Adjust the input volume.
12. Adjust the output volume.

40
AUDACITY PREFERENCES SETTINGS
A few settings will be required before you download the music.
1. Click “Audacity” on the Audacity interface, select “Preferences” and another window will appear
on the screen.
2. In the window of Audacity Preferences click “Devices” on the left hand side.
Then on the right side within the Recording Device column, set Device to “USB PnP Audio Device”,
Channels to “2 (Stereo)”.
NOTE: If you cannot find the " USB PnP Audio Device" in the Device list, close the Audacity Software
and re-open and try again. Ensure that the turntable is connected to the computer.

41
3. Click “Recording” on the left. Then on the right side in Playthrough column, click the checkbox
beside “Software Playthrough: Listen while recording or monitoring new track”.
In the Sound Activated Recording column, click the checkbox beside “Sound Activated Recording”,
then slide the meter to -36 db. NOTE: Once the ‘Sound Activated Recording’ is selected, the Pause
button will not work during recording.

42
4. Click “Quality” on the left then on the right side in the Sampling column, select “44100 Hz” in
Default Sample Rate and select “16-bit” in Default Sample Format.
5. Click “Libraries” on the left then on the right side in MP3 Export Library column, check if the
program has detected and shown the MP3 Library Version there. If shown, skip and forward to
step 6.

43
If “MP3 export library not found” is displayed, you must find the “LAME”. Click “Locate…” button then
a window named “Locate Lame” appears to find where the “LAME” is. Click the “Browse…” button to
find it.
If you cannot find it or the LAME file you found is not compatible, click the “Download” button and a
website will show automatically. Scroll down the webpage to find a title named “Mac OS X”. Click the
“LAME download page” and another website will show automatically.
Find and Click the "MAC OSX downloads"
Scroll down the webpage.

44
You will notice a form showing the LAME for all version systems. Find a title named “For Audacity
1.3.3 or later on Mac OS X 10.4 and greater (Intel or PPC), and audacity 1.2.5 on OS X 10.4 and
later (Intel)” and then click “Lame Library v3.98.2 for Audacity on OSX.dmg” or "here" to download
the file. Then locate LAME and click OK.
6. Click OK to close the Preferences interface.
SETTING THE RECORDING INPUT LEVEL
It is recommended that the recording input level is adjusted prior to starting to record.
Slide the output level to about 0.5, slide the input level to 0.3, then get your record ready.

45
RECORDING OPERATION
To download music and save into computer:
1. Place the record on the turntable.
2. Move the tone-arm over to the record to start playing.
3. Click the Record ( ) button to start recording.
The waves (left and right tracks) will show on the interface.
4. At end of the song, click “pause” ( ) button on computer and press Stop button on turntable,
move cursor to the wave area and left click at the end of the song.
For the next song, replace the album or move tone-arm to another desired song. Press Play button
on the turntable to start playing the next song. Immediately press “pause” ( ) button on computer
and downloading will continue and another R/L track will appear on the interface.
NOTE: Pause button will not work during recording process if the ‘Sound Activated Recording’ in the
Preferences Recording is selected. Clear the checkbox next to the ‘Sound Activated Recording’ if
you want to pause recording manually.
5. Repeat steps 3 and 4 until you have finished downloading.
NOTE: Do not click stop button on computer while continuously downloading songs. Remember to
click pause button in between your desired songs. Press stop button on the computer only when all
your desired songs have been downloaded.
After your have finished downloading, you may play back the songs through your computer. In stop
mode, simply click ( ) SKIP TO START button then the ( ) PLAY button.

46
DIVIDING TRACKS
1. Press ( ) button to return to the beginning of the first song.
2. Move cursor to the wave graphic area, left click the mouse and hold then drag from left to right.
Release the mouse when the highlighter has reached the end of the first song.
3. Click "File" tab then select "Export Selected Audio...".
4. The window will pop up a dialog box for you to complete the Metadata. Click OK button when
completed.
5. Then a window appears, select your music file location and format and type in your file name. Click
“Save” and the song is saved on the computer.

47
6. Edit Metadata window will appear. Complete the information then click OK. Wait for a few
minutes until the saving is complete.
EXPORT AND SAVE FILES (AFTER
RECORDING IS COMPLETED)
When the recording is finished, click the ( ) on the screen and stop the cassette playback.
You have a music download on your computer now.
You may play back the song through your computer.
Simply click the ( ) to play.

48
1. To export and save individually, click the “File” tab on the Audacity window then select
“Export Selected Audio…”.
To export and save into one file, click the “File” tab on the Audacity window then select
“Export Audio”.

49
2. A window will pop up after clicking Export. It will default to the MP3 format, but you also can
select other formats by clicking the arrow located at the right of the MP3 Files.
3. Complete the “Save As” and Save-in location, click the Save button and the Edit Metadata
window will display. Complete the information if necessary then click OK and wait a few
minutes until it is finished saving.

50
TROUBLESHOOTING GUIDE
If you experience any problems with your unit, kindly consult the following guide prior to calling your dealer.
NO SOUND:
• If you are not getting any sound into the software application, go back to the preferences as shown above
and make sure that you have selected the USB PnP Audio Device for the recording device in the devices.
• Power Cycle: Close Audacity, turn off the turntable, unplug the USB Cable. then plug in the USB Cable,
turn on the turntable and reopen Audacity.
• If you are not able to hear any audio as you play the record, please click on the microphone drop-down
arrow and select Start Monitoring. This will enable you to hear the audio from the turntable, even if you have
not record-enabled the Audacity application.
Check the microphone slider to make sure that it is at full volume, all the way to the right as shown below. If
you find the recording sounds low or distorted, adjust the microphone slider.
If you still do not have the fluctuating wave on the interface during recording, or the recording sounds
unsatisfactory, adjust the recording volume as follows:
Click the launchedpad icon

51
Then find “System Preference” and double click it.
In the new interface, find the “Sound” icon and double click it.
Adjust the Output volume under “Sound Effects”
Under “Input”, select “USB PnP Audio Device” and adjust the “Input volume”

52
POOR SOUND QUALITY:
• Check your stylus to make sure it is secured to the tone arm. The stylus must be connected
to the tone arm whenever using the turntable.
• Make sure that your RCA plugs are plugged into a source or not touching bare metal. If you are
experiencing noise through the USB, you may have interference from the RCA plugs. Ensure the
USB cable is not touching or near any other cables.
• If you experience any odd sounds coming from the recording, try closing all applications and
restarting the computer. Only run Audacity while recording.

53
Specifications
GENERAL
Power Requirements AC 120 V~ 60 Hz
Power Consumption 30W
Dimensions (W x H x D) 460
x 335 x 243mm | 18.1 x 13.2 x 9.6 in
(approx.)
Weight 7
kg
. | 16 lbs (approx.)
AMPLIFIER
Output Power 5 W + 5 W
Frequency Response 60 to 20, 000 Hz
SPEAKER SYSTEM
Type 2-way
Impedance 8 ohms
Input Power Max. 6W
FM Radio
Range 88 to 108 MHz
CD PLAYER
Frequency Response 60 to 20, 000 Hz +/-4 dB
Signal-to-Noise Ratio 55 dB (IEC-A)
CASSETTE PLAYER
Track System 4 Track, 2 channel stereo
Tape Speed 4.8 cm/sec
Wow and Flutter 0.4% (WRMS)
Frequency Response 125 to 6300 Hz +/-6 dB
RECORD PLAYER
Motor DC servo motor
Drive System Belt Drive
Speeds 33-1/3rpm, 45 rpm and 78 rpm
S/N Ratio More than 50 dB
Cartridge Type Ceramic Stereo Cartridge
Stylus ITRRS-300
BLUETOOTH
Bluetooth Version Bluetooth V2.1+EDR
Bluetooth Profiles A2DP, AVRCP
Bluetooth Frequency range 2.402GHz-2.480GHz
Operating Distance 10 meters (33 ft.)
USB
Type USB series B connector
Recording USB to PC record
for vinyl record, CD, Cassette, AUX,
Bluetooth and FM.
Full-Speed USB 2.0 full speed

54
Troubleshooting Guide
GENERAL
Symptom Possible Cause Solution
• Unit will not power on. • Unit is unplugged. • Connect the unit to the AC
power supply.
• No sound output from
speakers.
•
The volume level is set too low.
• The input selector does not
match the playback source.
• Adjust the volume.
• Select the correct input
source.
• Noise/Distortion in
sound output.
• The unit is too close to a TV set
or another interfering device.
• Turn off the TV or other
appliance, and relocate
the unit.
• Unit fails to respond. • It might result from external
factors such as ESD
(Electro-static discharge).
• Disconnect the power cord
and external audio device.
Re-plug the power cord
after one minute.
TAPE
• The tape does not play.
• The cassette tape is not
inserted properly.
• The tape has reached the end.
• Insert the cassette tape
correctly.
• Flip the cassette.
FM RADIO
• Cannot listen to any
station, or signal
appears weak.
• The station is not tuned-in
properly.
• A TV set is being used nearby
and is interfering with the radio
reception.
• Properly tune-in the
desired station.
• Turn-off the interfering TV
set.
• The sound is distorted.
• The antenna is not oriented
properly.
• Re-orient the antenna until
reception improves.
CD PLAYER
• CD stops immediately
after starting, or unit
pauses or stops during
play.
• The CD is inserted upside
down.
• The CD is dusty or dirty or there
is condensation on the CD.
• Insert the CD with the
printed side right-side up.
• Carefully clean and dry the
CD.
• No sound. • The CD player is paused. • Press the PLAY/PAUSE
button.
• CD playback is noisy, or
playback stops or skips.
• The CD is scratched, damaged
or warped.
• The disc is very dirty.
• Replace CD with an
undamaged one.
• Carefully clean the CD.
• CD tray will not open. • AM/FM mode is selected. • Select AUX, PHONO, CD,
or TAPE mode.
• Buttons are not
functioning correctly.
• The unit is processing
information (“--- Busy” is
displayed).
• The unit needs to be restarted.
• Wait until the unit finishes
processing.
• Turn the unit off, then on
again.
PHONO
• Decline in turntable
audio performance.
• The turntable stylus is worn out.
• Replace the stylus.

55
Bluetooth
• No sound. • The unit is not switch to
Bluetooth mode.
• Your device’s and/or the unit’s
volume is not turned up.
• Your device is too far from the
unit or there is some obstacle
between your device and the
unit.
• Ensure the unit is switched
to AUX / BT mode.
• Move your Bluetooth
device closer to unit.
• Turn up the volume on
your portable device
and/or the unit.
• Turn off your Bluetooth
device and unit, then
power them both back on.
• Sound is garbled. • Your device’s and/or the unit’s
volume is not adjusted properly.
• Turn down the volume on
your device/phone and the
unit.
• Unable to pair with a
Bluetooth device.
• Your device doesn’t have
Bluetooth connectivity.
• The Bluetooth pairing is not
successful.
• Confirm that your device is
Bluetooth compatible.
• Repair the unit and device
again.
USB-PC
• No sound. • Have not selected the USB
PnP Audio Device for the
recording device in the devices.
• Microphone slider it is not at full
volume
• Go back to the
preferences as shown
above and make sure that
you have selected the
USB PnP Audio Device for
the recording device in the
devices.
• Close Audacity, turn off the
turntable, unplug the USB
Cable. Then plug in the
USB Cable, turn on the
turntable and reopen
Audacity.
• Please click on the
microphone drop-down
arrow and select Start
Monitoring.
• Adjust the microphone
slider.
• Poor sound quality • The stylus no connected to the
tone arm
• Unplug RCA plugs and USB
cable near any other cable
• Check your stylus to make
sure it is secured to the
tone arm.
• Make sure that your RCA
plugs are plugged into a
source or not touching
bare metal. If you are
experiencing noise
through the USB, you may
have interference from the
RCA plugs. Ensure the
USB cable is not touching
or near any other cables.
56
FCC Statement
This device complies with Part 15 of the FCC Rules. Operation is subject to the following two
conditions: (1) This device may not cause harmful interference, and (2) this device must accept any
interference received, including interference that may cause undesired operation.
NOTE: This equipment has been tested and found to comply with the limits for a Class B digital
device, pursuant to Part 15 of the FCC Rules. These limits are designed to provide reasonable
protection against harmful interference in a residential installation. This equipment generates uses
and can radiate radio frequency energy and, if not installed and used in accordance with the
instructions, may cause harmful interference to radio communications. However, there is no
guarantee that interference will not occur in a particular installation. If this equipment does cause
harmful interference to radio or television reception, which can be determined by turning the
equipment off and on, the user is encouraged to try to correct the interference by one of the following
measures:
- Reorient or relocate the receiving antenna.
- Increase the separation between the equipment and receiver.
- Connect the equipment into an outlet on a circuit different from that
to which the receiver is connected.
- Consult the dealer or an experienced radio/TV technician for help.
WARNING: Any changes or modifications not expressly approved by the party responsible for
compliance could void the user's authority to operate this equipment.
The device must not be co-located or operating in conjunction with any other antenna or transmitter.
CALIFORNIA PROP 65 WARNING
"WARNING" This product contains chemicals known to the State of California to cause birth defects or
other reproductive harm. For more information on these regulations and a list of chemicals, log on the
following website address:
http://www.oehha.ca.gov/prop65.html
device should be installed and operated with a minimum distance of 20cm between the radiator and your body.”
“This device complies with FCC and IC radiation exposure limits set forth for an uncontrolled environment. The