Lennox Hearth Montage 32Fs Users Manual
32FS to the manual ccf00133-df12-43e3-910a-83a7619b075a
2015-02-04
: Lennox-Hearth Lennox-Hearth-Montage-32Fs-Users-Manual-371256 lennox-hearth-montage-32fs-users-manual-371256 lennox-hearth pdf
Open the PDF directly: View PDF
.
Page Count: 36

INSTALLATION AND OPERATION MANUAL
Report No. 3105656MID
Save These Instructions
For Future Reference
Free-Standing
Pellet Stove
P/N 775,196M, Rev. NC, 06/2008
Pellet Stove
Model Montage™ 32FS
WARNINGS
•
Hot! Do not touch! The glass and surfaces of this appliance will be
hot during operation and will retain heat for a while after shutting off
the appliance. Severe burns may result.
•
Carefully supervise children in the same room as appliance.
•
Lennox™ pellet-burning appliances are designed for use as a supple-
mental heater. They are not intended for continuous use as a primary
heat source.
A French manual is available upon request. Order P/N 775,196CF.
Ce manuel d’installation est disponible en francais, simplement en faire la demande. Numéro de la pièce
775,196CF.
These appliances must be properly installed and operated in order to prevent the possibility
of a house re. Please read this entire manual before installation and use of this pellet
fuel-burning room heater. Failure to follow these instructions could result in property
damage, bodily injury or even death. Contact your local building or re ofcials
to obtain a permit and information on any installation requirements and
inspection requirements in your area.

IMPORTANT SAFETY AND WARNIING
INFORMATION
READ THIS MANUAL IN ITS ENTIRETY AND UNDER-
STAND THESE RULES TO FOLLOW FOR SAFETY.
2
WARNING
Do not attempt to alter or modify the construction of
the appliance or its components. Any modification
or alteration may void the warranty, certification
and listings of this unit.
WARNING
Improper installation, adjustment, alteration, ser-
vice or maintenance can cause injury or property
damage. Refer to this manual. For assistance or
additional information consult a qualified installer
or service agency.
1. DO NOT CONNECT THIS UNIT TO A CHIMNEY FLUE SERVING
ANOTHER APPLIANCE.
2. Do not connect this appliance to air ducts or any air distribu-
tion system.
3. DO NOT INSTALL A FLUE DAMPER IN THE EXHAUST VENTING
SYSTEM OF THIS UNIT.
4. Do not use class B venting intended for gas appliances as a
chimney or connector pipe on a pellet-fired appliance.
5. The minimum clearances must be maintained for all com-
bustible surfaces and materials including; furniture, carpet,
drapes, clothing, wood, papers, etc. Do not store combustibles
within this clearance space (see Clearances on Page 5).
6. INSTALLATION DISCLAIMER - It is imperative that the exhaust
venting system be installed correctly and sealed gas-tight
(not allowing exhaust to leak). Follow the vent manufacturer's
instructions for proper installation. Since Lennox Hearth
Products has no control over the installation of your stove,
Lennox Hearth Products grants no warranty, implied or stated
for the installation or maintenance of your stove, and assumes
no responsibility for any consequential damage(s).
7. Burning any kind of fuel consumes oxygen. If outside air is
not ducted to the appliance, ensure that there is an adequate
source of fresh air available to the room where the appliance
is installed.
8. The appliance will not operate using natural draft, nor without
a power source for the blower and fuel feeding systems.
9. Never use gasoline, gasoline-type lantern fuel, kerosene,
charcoal lighter fluid, or similar liquids to start or “freshen
up” a fire in this heater. Keep all such liquids well away from
the heater while it is in use.
10. The authority having jurisdiction such as municipal building
department, fire department, fire prevention bureau, etc.
should be consulted before installation to determine the
need to obtain a permit.
11. APPROVED FUEL: This appliance is designed specifically
for use only with pelletized wood fuels only. This appliance
is designed and approved for the burning of wood residue
pellets with up to 3% ash content. This appliance is NOT
approved to burn cardboard, nut hulls, cherry pits, corn, etc.
regardless if it is in pellet form. Failure to comply with this
restriction will void all warranties and the safety listing of
the stove. Consult with your Lennox Hearth Products dealer
for more information on approved pellet fuels.
12. CONTINUOUS OPERATION: When operated correctly, this
appliance cannot be overfired. Continuous operation at a
maximum burn can, however, shorten the life of the electri-
cal components (blowers, motors, and electronic controls),
and is not recommended. Typical approved operation would
include running at the low to mid range setting with occasional
running on the maximum setting during the coldest periods
of the winter. DO NOT OVER-FIRE THIS STOVE. Follow all
instructions regarding the proper use of this stove.
13.CAUTION: NEVER PUT FINGERS NEAR AUGER. This appliance
is equipped with a hopper lid switch, which is designed to stop
the auger when the hopper lid is opened. NEVER DISCONNECT
OR BYPASSED THIS SWITCH FOR ANY REASON. Pellet fuel is fed
to the UltraGrate™ by a screw auger. This auger is driven by
a high torque motor. The auger is capable of doing serious
harm to fingers. Keep pellets in the hopper at all times and
keep fingers away from auger. The auger can start and stop
automatically at any time while the stove is running.
14. CAUTION: HOT WHILE IN OPERATION. An appliance hot
enough to warm your home can severely burn anyone touching
it. Keep children, clothing and furniture away. Contact may
cause skin burns. Do not let children touch the appliance.
Train them to stay a safe distance from the appliance.
15. FLY ASH BUILD-UP: For all wood pellet fuel-burning heaters,
the combustion gases will contain small particles of fly-ash.
This will vary due to the ash content of the fuel being burned.
Over time, the fly-ash will collect in the exhaust venting
system and restrict the flow of the flue gases. The exhaust
venting system should be inspected regularly and cleaned
as necessary.
16. SOOT FORMATION: Incomplete combustion, such as occurs
during startup, shutdown, or incorrect operation of the room
heater will lead to some soot formation which will collect in
the exhaust venting system. A precautionary inspection on
a regular basis is advisable to determine the necessity of
cleaning. The exhaust venting system should be inspected
regularly and cleaned as necessary.
17. DISPOSAL OF ASHES: Ashes should be placed in a metal
container with a tight-fitting lid. The closed container of ashes
should be placed on a noncombustible floor or on the ground, well
away from all combustible materials, pending final disposal. If
the ashes are disposed of by burial in soil or otherwise locally
dispersed, they should be retained in the closed container until
all cinders have been thoroughly cooled.
18. The instructions must be strictly adhered to. Do not use
makeshift methods or compromise in the installation.
19. Do not abuse the door glass by striking, slamming or similar
trauma. Do not operate the stove with the glass removed,
cracked or broken.
20. SAVE THESE INSTRUCTIONS.
21. See the safety / listing label on the appliance hopper lid.

3
Please read and carefully follow all of the instructions found in this
manual. Please pay special attention to the safety instructions provided
in this manual.
PRODUCT IS SUBJECT TO CHANGE WITHOUT NOTICE
CONGRATULATIONS!
When you purchased your new pellet stove, you joined the ranks of
thousands of individuals whose answer to their home heating needs,
aesthetics, efficiency and our environment. We extend our continued
support to help you achieve the maximum benefit and enjoyment
available from your new pellet stove.
It is our goal at Lennox Hearth Products to provide you, our valued
customer, with an appliance that will ensure you years of trouble-free
warmth and pleasure.
Thank you for selecting a Lennox® stove as the answer to your home
heating needs.
TABLE OF CONTENTS
Important Safety Information . . . . . . . . . . . . . . . . . . . . Page 2
Packaging List ................................Page 3
Testing / Listing, EPA . . . . . . . . . . . . . . . . . . . . . . . . . . . Page 3
Using this Manual .............................Page 3
Planning Your Installation . . . . . . . . . . . . . . . . . . . . . . . Page 3
Selecting a Location . . . . . . . . . . . . . . . . . . . . . . . . . . . . Page 4
Floor Protection . . . . . . . . . . . . . . . . . . . . . . . . . . . . . . . Page 4
Clearances . . . . . . . . . . . . . . . . . . . . . . . . . . . . . . . . . . . Page 5
Installation Tips . . . . . . . . . . . . . . . . . . . . . . . . . . . . . . . Page 6
Manufactured Home Installation . . . . . . . . . . . . . . . . . . Page 7
Installation . . . . . . . . . . . . . . . . . . . . . . . . . . . . . . . . . . . Page 8
Venting Requirements . . . . . . . . . . . . . . . . . . . . . . . . . . Page 10
Care and Operation . . . . . . . . . . . . . . . . . . . . . . . . . . . . Page 17
Fuel ........................................Page 21
Routine Maintenance . . . . . . . . . . . . . . . . . . . . . . . . . . . Page 21
Specifications. . . . . . . . . . . . . . . . . . . . . . . . . . . . . . . . . Page 26
Component Definitions . . . . . . . . . . . . . . . . . . . . . . . . . Page 27
Wiring Diagram ...............................Page 27
Troubleshooting . . . . . . . . . . . . . . . . . . . . . . . . . . . . . . . Page 28
Replacement Parts List & Diagrams . . . . . . . . . . . . . . . Page 30
Optional Accessories . . . . . . . . . . . . . . . . . . . . . . . . . . . Page 33
Safety / Listing Label . . . . . . . . . . . . . . . . . . . . . . . . . . . Page 35
Product Reference Information Page 36
This installation and operation manual will help you obtain a safe, effi-
cient, dependable installation for your appliance and vent system.
PLEASE READ AND UNDERSTAND THESE INSTRUCTIONS
BEFORE BEGINNING YOUR INSTALLATION
Listing: The listing laboratory is ITS (Intertek Testing Services) and the
listing mark is Warnock Hersey. The report number is 3105656MID for
model Montage 32FS pellet stove.
Testing: In accordance with the specifications and procedures
• Listed and tested to UL 1482/ULC S627 and ASTM E 1509 for solid
fuel room heaters.
• The safety/listing label is located on an inside hopper surface of the
pellet stove. Please read this safety label carefully. It contains important
information about installation and operation of this appliance.
• This appliance is tested and listed for residential installation according
to current national and local building codes as:
• A Free-Standing Room Heater
• A Manufactured Home Heater
EPA (Environmental Protection Agency)
Status: EPA Certified - This appliance has been tested to rigorous
emissions standards, and has been certified by the Environmental Pro-
tection Agency.
TESTING / LISTING
USING THIS MANUAL
Questions To Ask Local Building Official
A correct installation is critical and imperative for reducing fire hazards and
perilous conditions that can arise when wood pellet burning appliances
are improperly installed. The installer must follow all of the manufactur-
ers’ instructions.
PLANNING YOUR INSTALLATION
The assembled pellet stove model Montage™ 32FS is packaged with
an accessory package in the hopper and a grate scraper tool secured
to the pallet:
One - Installation And Operation Manual
One - Warranty
One - Power Cord
One - Grate Scraper Tool
One - Wall Thermostat w/ 20 Foot Roll Of Wire
One - 5/32" Allen Wrench
One - Cleaning Brush
Packaging List
WARNING
Check all local building and safety codes before
installation. The installation instructions and appro-
priate code requirements must be followed exactly
and without compromise. Alterations to the stove are
not allowed. Do not connect the stove to a chimney
system serving another stove, appliance, or any air
distribution duct. Failure to follow these instructions
will void the manufacturers warranty.
The installation of this appliance must conform to local codes and appli-
cable state and federal requirements. Familiarity with these requirements
before installation is essential. Important considerations to discuss with
local building officials include:
1. Applicable codes (i.e. Uniform Mechanical Code, State or Regional
Codes).
Electrical codes:
In USA, NEC, ANSI/NFPA 70 – Latest Edition
In Canada, CSA C22.1 – Latest Edition
FPO

4
WARNING
Electrical grounding instructions: This appliance is
equipped with a three-prong (grounding) plug for
your protection against shock hazard and should be
plugged directly into a properly grounded three-prong
receptacle. Do not cut or remove the grounding prong
from this plug. Do not route power cord under or in
front of appliance.
2. Local amendments
3. Is a permit required - cost. You may wish to contact your insurance
company to ask if they require this.
4. If outside combustion air is required
5. Rooms where the installation is not allowed
Surge Protectors
A surge protector is recommended to ensure the stove’s electrical com-
ponents are not damaged due to a surge in the electrical supply. Only
high quality protectors should be used - cheap ones do not provide the
protection needed.
Smoke Detectors
Since there are always several potential sources of fire in any home, we
recommend installing smoke detectors. If possible, install the smoke
detector in a hallway adjacent to the room (to reduce the possibility of
occasional false activation from the heat produced by these appliances).
If your local code requires a smoke detector be installed within the same
room, you must follow the requirements of your local code. Check with
your local building department for requirements in your area.
Installation / Maintenance Standards
National Fire Protection Association – The primary NFPA standard that
refers to installation and maintenance of pellet stoves and venting is
NFPA 211 – Latest Edition: Chimneys, Fireplaces, Vents, and Solid Fuel
appliances.
This appliance requires noncombustible floor protection (the hearth pad
or alternate floor protection material does not require a thermal rating).
A noncombustible floor protector must fully cover the area beneath the
appliance and extend 6” to the front, 6” to the sides, and up to 6” from
the back as illustrated in Figure 1.
If the floor protection is to be stone, tile, brick, etc., it must be mortared
or grouted to form a continuous noncombustible surface. If a chimney
connector extends horizontally over the floor, protection must also cover
the floor under the connector and at least 2” (51 mm) to either side. See
Clearances and Hearth Protection shown in Figure 1.
CAUTION
These appliances are very heavy. The use of a heavy
duty escalara (stair step hand truck) is recommended
for lifting the appliance.
The design of your home and where you place your stove will determine
its value as a source of heat. This type of appliance depends primarily on
air circulation (convection) to disperse its heat, and therefore, a central
location is often best. There are other practical considerations, which must
be considered before a final selection of locations is made.
• Existing Chimneys
• Pellet Fuel Storage
• Aesthetic Considerations
• Roof Design (rafter locations and roof pitch)
• Room Traffic
• Proximity to Combustibles
• Electrical Wiring
SELECTING A LOCATION
FLOOR PROTECTION
Power Supply Requirements
These requirements must be met unless otherwise specified by state or
local authorities.
• Power Cord - The power cord must be plugged into a standard, 120
Volt, 60 Hz grounded electrical outlet with proper ground and polarity.
The power cord must be routed to avoid contact with any of the hot
or sharp exterior surface areas of the stove.
• Power Supply - 575 Watts, and will peak up to 782 Watts during the
30 minute cycle when igniter is operating.
• Manufactured Home Installations - When installed into a manufactured
home, the appliance must be electrically grounded to the steel chassis
(see Page 7, Manufactured Home Requirements).
NEGATIVE PRESSURE WARNING
This appliance is not designed to be operated in a negative pressure. Very
airtight homes with large kitchen exhaust fans, or homes with furnace
cold air returns located in close proximity to the stove may create nega-
tive pressure in the same room as the heating appliance. This can create
dangerous condition, drawing combustion by-products into the home. Be
sure your home has adequate makeup air to eliminate negative pressures
caused by the above-mentioned sources. Outside air connected to the
appliance probably will not resolve such a problem as the stove is not the
source of negative pressure. Lennox Hearth Products accepts no liability
for damages resulting from negative pressures described here.
Ventilation Requirements - Provide adequate air for combustion. The fresh
air requirements of this appliance must be met within the space where it
will be installed. Ventilation is essential when using a solid-fuel-burning
heater. In well insulated and weather tight homes, it may inhibit the rate
the exhaust flows through the venting system (caused by a shortage of
air in the home). The lack of air is caused by many common household
appliances which exhaust air from the home (such as a furnace, heat
pump, air conditioner, clothes dryer, exhaust fans, fireplaces, and other
fuel burning appliances). Also, the combustion process of this heater
uses oxygen from inside the dwelling. If the available fresh air delivery
in the dwelling is insufficient to support the demands of these appli-
ances, problems can result (i.e. excessive negative pressure will result
in performance problems. To correct this problem it may help to open
a window (preferably on the windward side of the house) or install an
outside combustion air duct to the appliance.

NOTE: DIAGRAMS & ILLUSTRATIONS ARE NOT TO SCALE 5
Up to * 6” (153 mm)
6”
(153 mm)
min.
6”
(153 mm)
min.
6” (153 mm)
min.
Figure 1 - Floor Protection Requirements
*Note:
When installed at clearances less than 6”, the floor
protection is only required to extend to the wall.
Rear
Front
Top View
Floor Protector
Standard residential or manufactured home installation. These appliances
require the following minimum clearances to combustibles:
Minimum Clearances To Combustibles
Figure 2
Combustible
Combustible
Montage 32FS Horizontal Flue –
Directly Through Wall Interior Vertical
Flue
A - Side wall to unit u 4” (102 mm) u 4” (102 mm)
B - Back wall to unit 2” (51 mm) 9” (229 mm)
C - Side wall to unit Corner 1” (25 mm) 1” (25 mm)
D - Max. Depth of Alcove v 24” (610 mm) v 24” (610 mm)
E - Flue to Wall 3” (77 mm) 3” (77 mm)
u Measured to fuel hopper lid in alcove.
v Minimum Alcove Measurements - Height 48” (1220 mm) x Width 31”
(788 mm) x Maximum Depth 24” (610 mm)
Table 1 - Minimum Clearances To Combustibles
Combustible
Rear Wall or Alcove
Figure 3
Corner
B
A
E
D
A
E
C
C
Combustible
Combustible
IMPORTANT
• Minimum clearances specified may not allow
for ease of operation and maintenance (please
take this in to account when planning the instal-
lation). If installed to the minimum clearances,
removal of the appliance may be necessary for
servicing.
• Recommended clearance zone from the front
of the appliance to combustibles is 4 feet mini-
mum.
• Clearances to combustibles for the appliance
can only be reduced by means approved by the
regulatory authority.
CLEARANCES
FPO
FPO

6
INSTALLATION TIPS
GOOD INSTALLATION:
Horizontal Installation
(Direct Vent - Outside Wall)
No natural draft. Wind
pressures may affect operation
PLEASE REVIEW THIS ENTIRE
INSTALLATION AND OPERA-
TION MANUAL FOR ADDITIONAL
INSTRUCTIONS.
BETTER INSTALLATION:
Vertical & Horizontal Installation
(Up and Out)
Some natural draft aids venting. Wind
pressures may still affect operation
BEST INSTALLATION:
Vertical Installation
(Straight Up)
Natural draft improves operation and
negative effects from wind
VENTING TYPE
a: PL-Vent Pipe / Pellet Vent (w/stainless interliner)
b: Stainless Steel flex liner may be used inside existing flue
or chimney (woodstove replacement applications)
CAUTION: Do not use Type B-Vent Pipe
REQUIRES 3”
DIAMETER STANDARD
PL-VENT / PELLET PIPE
With listed termination kit. If
installation requires in excess of
11’ of pipe, it is recommended a
4” diameter pipe be used.
MANUFACTURED
HOME
Requires outside air for com-
bustion. Use a galvanized or
stainless steel pipe for duct.
Minimum duct size 1-5/8” dia.
CLEARANCES TO
COMBUSTIBLES
Ensure all clearances are main-
tained in accordance to instruc-
tions contained on product
safety label and in compliance
with pipe/venting requirements.
POWER SUPPLY
Must have proper polarity and
be grounded.
Note: Use of an extension
cord may adversely effect the
performance of your unit.
Seal all
Venting Joints:
Use RTV
(high temp silicone)
INSTALLATION TIPS
Select Your Installation Type

7
NOTE: DIAGRAMS & ILLUSTRATIONS ARE NOT TO SCALE
In addition to the standard installation instructions, the following instruc-
tions may be required by local, state or federal building codes:
• Installation should be in accordance with the Manufactured Home and
Safety Standard (HUD), CFR 3280, Part 24.
• The stove must be permanently bolted to the floor using two or three 1/4"
or 5/16" Ø x 5" lag screws as shown in Figures 4A, 4B, 5A and 5B.
• An outside air inlet must be provided for combustion and be unre-
stricted while unit is in use. Use a galvanized or stainless steel pipe
for the duct (the outside air inlet on the stove is 1-5/8” diameter).
The air intake on the exterior of the home should always be located
substantially below the flue termination. See Figures 4B and 15.
• Stove must be permanently electrically grounded to the steel chassis
of the home using a 8 GA copper wire and a serrated or star washer
(to penetrate paint or protective coating to ensure grounding). The
location selected for ground attachment to the stove must be dedicated
for this purpose. Grounding must comply with NFPA-70 standards,
CSA C22.1 in Canada, as well as any local codes.
• See Pages 9 through 15 for additional information on venting require-
ments.
• WARNING: DO NOT INSTALL IN SLEEPING ROOM.
• CAUTION: THE STRUCTURAL INTEGRITY OF THE MANUFACTURED
HOME FLOOR, WALLS, CEILING/ROOF MUST BE MAINTAINED.
Figure 4A - Manufactured Home Installation
Manufactured Home Exhaust Vent Pipe Installation Guidelines
Use only “PL” pellet vent pipe listed to UL 641 and ULC S609. The pipe
should extend at least 3 feet above the part of the roof through which it
passes. The top of the pipe should be at least 2 feet above the highest
required elevation of any part of the manufactured home within 10 feet
of the pipe (see Page 12, Manufactured Home Chimney Height Require-
ments).
If the exhaust vent exits the manufactured home at a location other than
the roof, and exits at a point 7 feet or less above the ground level on which
the manufactured home is position a guard or method of enclosing the
pipe shall be provided at the point of exit for a height of up to 7 feet. The
openings, if any, in this guard shall not allow a 3/4” rod to pass through.
A 1/2” rod could pass through but should not be able to touch the pipe
when inserted through the opening a distance of 4 inches.
Chassis
Floor
Bolt
Floor
Protector
MANUFACTURED HOME INSTALLATION
Bolt
Figure 4B - Manufactured Home Installation
Outside
Air Inlet
Holes for lag screws when securing to manufactured home floor
Options:
1) Install one lag screw in the front center hole and one in the rear
center hole.
OR
2) Install one lag screw in the front center hole and two in the rear
side holes.
Open front
glass door and
remove ash
pan to access
front lag screw
hole.

NOTE: DIAGRAMS & ILLUSTRATIONS ARE NOT TO SCALE
8
Removing Appliance From Pallet
1. After removing the packaging from the stove, lift the hopper lid, and
remove all prepackaged items that were shipped in the hopper. Next,
open the stove door and remove all prepackaged items.
2. With the stove door open, remove the ash drawer and set aside. Using
a 7/16” socket or open end wrench, remove the front lag screw (see
Figure 5A).
3. Using a 5/32" allen wrench remove the two screws in the rear pallet
bracket (see Figure 5B). Using a 7/16” socket or open end wrench,
remove the rear lag screw (see Figure 5B).
INSTALLATION
Front Lag Screw
(actual size)
Rear Lag Screw
(actual size)
Pallet
Pallet
SEE DETAIL B
DETAIL B
SEE DETAIL C
DETAIL C
Rear Pallet
Bracket
Rear Lag Screw
Front Lag Screw
Figure 5A - Front Lag Screw
Figure 5B - Rear Lag Screw and Pallet Bracket
Installation Check List
It is strongly recommended that you have an Lennox Hearth Products
dealer install your stove. If you install your stove yourself, you should
review your installation plan with an Lennox Hearth Products dealer.
Check list:
Check off each item as you proceed with the installation process.
q Read the ENTIRE stove installation section first
q Determine the appropriate measurements and locations for your
installation.
q Follow the installation directions in this manual.
q Be sure to prefit all items before you install, fasten, or set up the
appliance permanently.

9
NOTE: DIAGRAMS & ILLUSTRATIONS ARE NOT TO SCALE
IMPORTANT NOTE: Install the thermostat per the manufacturers instruc-
tions, provided with the thermostat. Failure to follow manufacturers
instructions could result in a malfunction. Pay special attention to the
thermostat location requirements. If the location requirements are not
adhered to the appliance, erratic operation or failure may occur.
Do not mount the thermostat where it may be affected by:
• Radiant heat from the stove, fireplaces, sun or other heat sources.
• Drafts or dead spots behind doors or in corners.
• Hot or cold air from ducts.
Thermostat Installation:
Note: Always Disconnect Power Before Performing The Thermostat
Installation.
Installation Steps:
1. Unplug stove power cord from the wall outlet.
2. Locate the thermostat terminal block (see Figures 7 and 8).
3. Loosen the two terminal screws on the terminal block and remove the
jumper.
4. Connect the two wires from your thermostat to the terminals (one
per terminal). Ensure that the purple wires from the harness remain
connected to the terminal block and tighten the terminal screws. Make
sure the wires are firmly connected to the thermostat.
5. Plug in the stove and you are ready to operate with your thermo-
stat!
Note: See Wiring Diagram on Page 27.
Prior to lighting your appliance:
q Review the safety precautions section.
q Review the pellet FUEL section.
q Review and follow the Operating Instructions.
q Plug power cord connector into corresponding connector on the back
of appliance (see Figures 7 and 8 showing connector locations).
After you have begun operation of your appliance:
q Review the routine cleaning / maintenance information.
q Enjoy the warmth from your new Lennox Hearth Products pellet
stove!
Damper Location, Installation And Adjustment
Damper Air Control
Located behind the right side panel on model Montage 32FS.
Adjustment Procedure
Using a 1/4" nut driver or socket, loosen the damper setscrew (see
Figure 6). Adjust in 1/4” increments until optimum combustion air flow
is achieved. Retighten the damper setscrew.
For less air push in and for more air pull out.
Figure 6 - Damper Adjustment
A 24 volt wall thermostat and 20 feet of 18-gage thermostat wire is included
in the accessory package. It is recommended that the thermostat and
thermostat wire be installed by an Lennox Hearth Products dealer.
Thermostat wires and purple wires from wire har-
ness will connect to these 2 terminals
Figure 7 - Terminal Block
Remove jumper if Thermostat IS to be used
Leave jumper on, if thermostat is NOT used
Figure 8 - Terminal Block Location
IMPORTANT
If the wall thermostat provided is not used, the
jumper is required for the stove to operate.
Standard Setting
3/4" (19mm)
Damper
Loosen Setscrew
to Adjust Damper
Jumper Route thermostat wires
through this grommet

10
VENTING REQUIREMENTS
It is recommended that only an Lennox Hearth Products dealer install your
pellet stove. The specified installation requirements must be followed to
ensure conformity with both the safety listing of the appliance and local
building codes. All clearances, installation instructions and precautions
specified by the vent manufacturer must be followed.
Selecting a Location
Review the appliance clearance requirements before installing the
venting system (see Page 5). Position the appliance far enough away
from walls to allow adequate room for servicing. Choose the appliance
location with the least amount of interference with the house framing,
plumbing, wiring, etc.
Preferred Vent Configuration
For the best performance, we recommend a vent run design which runs
vertically and terminates above the roof line. This design will allow natural
draft to improve the flow of flue gases and will aid in combustion and
stove performance.
Note: 30 feet maximum vertical vent allowed (6 inches minimum verti-
cal).
Type of Pipe
This stove requires type “PL” vent pipe (pellet vent pipe, sometimes
referred to as “L-Vent pellet vent”), listed to UL 641 or ULC S609. Con-
nect the pellet vent pipe or the “tee” to the flue collar using a minimum
of three screws and seal as specified in “Pipe/Liner Joint Requirements”
on this Page. Do not use class B gas chimney or single wall chimney
as a substitute.
Size of Pipe
These pellet stoves are approved for use with the following vent sizes: 3”
(75 mm) standard, or 4” (100 mm), see Page 13 - for determining correct
size vent). When 4” pipe is used: for horizontal vent installations use a 3”
(75 mm) to 4” (100 mm) adapter - available from vent manufacturer. For
vertical installations use a 3” (75 mm) to 4” (100 mm) “tee” - available
from vent manufacturer.
Offsets
In every installation, a single or double clean-out “tee” is recommended
for every ninety-degree offset (this tee will help collect ash residue and
will allow for routine cleaning without the need to disconnect sections
of pipe).
Pipe Clearances/Requirements
See pipe manufacturers instructions for installation of venting components
and clearances. Follow pipe manufacturers installation precautions for
passing pipe through a combustible wall or ceiling (i.e. use an approved
thimble).
Notes
• Offsets and horizontal runs accumulate fly-ash and soot which reduces
the exhaust flow and performance of the stove.
• Total Offsets in venting system should not exceed 270° total in direc-
tion change.
• Maximum Vertical Vent - 30 feet (9.14 M)
• Horizontal Runs - The maximum total horizontal run must not exceed
10 feet (3.1 meters).
• Horizontal run of pipe requires 1/4” (7 mm) rise per foot.
• Pellet vent pipe requires 3” (75 mm) clearance from outside of pipe
unless otherwise specified by vent manufacturer - all diameters: 3” (75
mm) and 4” (100 mm). A support bracket must be installed every 4
feet (1.2 m) of pellet vent pipe on the exterior wall of the house unless
otherwise specified by vent manufacturer.
• It is not recommended to terminate exhaust vent on the prevailing wind
side of the house.
• It is not recommended using a termination cap with a screen (fly-ash
can collect in a screen resulting in blockage).
Pipe/Liner Joint Requirements
Silicone sealant and 3 screws are required to secure the first vent con-
nection to the appliance flue collar. Seal the remaining vent sections per
the vent manufacturers instructions and secure all sections with 3 screws
minimum per section. ALL horizontal joints must be sealed gas-tight (air
tight, sealed connection). Use RTV high temperature silicone or Interam,
if necessary, to provide a complete seal between vent sections.
Connection to Masonry Chimney through a Wall
Be sure to verify the construction of a masonry chimney, as it may have
combustible framing.
Approved liner when relining Masonry or Factory-Built Fireplaces is
2100HT (degree F.) liner listed to UL 1777 or ULC S635.
Connection to an Existing Class A Chimney
A chimney adapter can be used to make the connection from 3” (75
mm) or 4” (100 mm) pellet vent pipe (listed to UL 641 or ULC S609) to
existing UL chimney system. Verify with the pipe manufacturer that your
pipe brands will interconnect.
Horizontal Vent Installations
On all horizontal vent installations (short, horizontal runs with no vertical
pipe); care should be taken when choosing a location for terminating the
vent. It is not recommended to directly vent the exhaust on the prevail-
ing wind side of the house. It is recommended that when an appliance
is vented directly through a wall, a minimum of 8 feet (2.5 m) of vertical
pipe should be installed to create some natural draft. This will reduce
the possibility of smoke or odor entering the dwelling during appliance
shutdown or loss of power.
Vent Termination
Do not terminate vent in an enclosed or semi-enclosed area such as:
carports, garage, attic, crawl space, under a deck, porch, narrow walkway,
closely fenced area, or any location that can build up a concentration of
fumes such as a stairwell, covered breezeway etc.
Vent surfaces can get hot enough to cause burns if touched. Adults
should supervise children when they are in the area of a hot stove.
Non-combustible shielding or guards may be required.
Termination Cap
The termination of the outside chimney of the pellet stove shall be located
in accordance with the following:
A. Higher than 3 feet (.92 m) above any forced air inlet (air conditioner,
etc.) located within 10 feet (3 m).
B. Not less than 4 feet (1.2 m) below, 4 feet (1.2 m) horizontally from or
1 foot (3.1 m) above any gravity air inlet (door, window, etc.) which
flue gases could reenter the dwelling.
C. Not less than 2 feet (.6 m) from combustible materials such as an
adjacent buildings, fences, protruding parts of the structure, roof
overhang, plants and shrubs, etc. and not less than 7 feet (2.1 m)
above grade when located adjacent to the public sidewalks (access).
The final termination of the exhaust system must be configured so that
flue gases do not jeopardize the safety of people passing by, overheat
combustible portions of nearby structures or enter the dwelling.
D. Not less than 3 feet (.92 m) below an eave (maximum overhang of 3
feet (.92 m) or any construction that projects more than 2” (51 mm)
from the plane of the wall.
E. The distance from the bottom of termination to grade is 12” (305 mm)
minimum. This is conditional upon plants and nature of grade surface: Be
careful to choose a location for the vent termination which does not expose
people or shrubs to high heat from the exhaust gases. The exhaust gases
are not hot enough to ignite grass, plants and shrubs located in the vicinity
of the termination although they should be a minimum of 3 feet (.92 m)
away. The grade surface under the termination must not be a lawn.
F. Since sparks may escape from the exhaust pipe of any stove, use
caution when positioning the vent pipe. Refer to pipe manufacturer’s
instructions when installing and terminating the exhaust. The vent pipe
should be horizontal and never run the pipe in a downward direction
(recommend a 1/4” [7 mm] rise per foot horizontal).
Silicone sealant and 3 screws are required to secure the first vent connection to the appliance flue collar. Seal the remaining vent sections per the vent
manufacturers instructions and secure all sections with 3 screws minimum per section. ALL horizontal joints must be sealed gas-tight (air tight, sealed
connection). Use RTV high temperature silicone or Interam, if necessary, to provide a complete seal between vent sections.

11
NOTE: DIAGRAMS & ILLUSTRATIONS ARE NOT TO SCALE
Vent Termination Locations
A = Clearance above grade, veranda, porch, deck, or bal-
cony (min. 12”/30cm)
B = Clearance to window or door that may be opened (min.
12”/30cm above - 48”/1.2m below and to the side)
C = Clearance to permanently closed window *(min.
12”/30cm)
D = Vertical clearance to ventilated soffit located above
the terminal within a horizontal distance of *(min.
24”/60cm) from the centerline of the terminal (min.
22”/55cm) check with local code.
E = Clearance to unventilated soffit *(min. 12”/30cm)
F = Clearance to outside corner *(min. 12”/30cm)
G = Clearance to inside corner *(min. 12”/30cm)
H = Not to be installed above a meter/regulator assembly
within *(min. 36”/90cm) horizontally from the center-
line of the regulator.
J = Clearance to service regulator vent outlet *(min.
72”/1.8m)
K = Clearance to non-mechanical air supply inlet to build-
ing or the combustion air inlet to any other appliance
*(min. 48”/1.2m)
L = Clearance to a mechanical air supply inlet *(min.
120”/3.1m)
M = **Clearance above paved sidewalk or a paved driveway
located on public property *(min. 84”/2.1m)
N = ***Clearance under veranda, porch, deck, or balcony
(min. 12”/30cm)
Note:
* Local codes or regulations may require different clear-
ances.
** A vent shall not terminate directly above a sidewalk or
paved driveway which is located between two single
family dwellings and serves both dwellings.
*** Only permitted if veranda, porch, deck, or balcony is
fully open on a minimum of two sides beneath the
floor.
Vent Terminal
Area Where Terminal Is Not Permitted
(From Eave)
Vertical Terminal
Vertical Terminal
Fixed Closed
Able To Open
A
A
B
BB
B
C
D
E
F
G
H
J
K
L
M
N
24”
(610mm)
B
Air Supply Inlet
24”
(610mm)
Figure 9

NOTE: DIAGRAMS & ILLUSTRATIONS ARE NOT TO SCALE
12
Figure 11 - Manufactured Home Chimney Height Requirements
Chimney Height Requirements - Site Built Residential Home
The vent termination height required is - USA, 1-foot minimum; Canada
3-feet minimum above the roof penetration point as illustrated below (Ref.
USA - National Standard, NFPA 211 and Canada National Standard CSA
B365-01. Check with your local building official for additional require-
ments for your area.
Figure 10 - Site Built Residential Home Chimney Height Requirements
Termination Cap
Must Be Listed To
UL 641 or ULC S609
USA 1 Foot Minimum
CANADA 3 Feet Minimum
Less than
10 Feet (3 m)
10 Feet
(3 m)
3 Feet (914 mm)
Minimum
2 Feet (610 mm) Min.
3 Feet
(914 mm)
Min.
m = meter
mm = millimeter
Requires A Listed Termination Cap *
Top Of Flue Must Be
3’ Higher Than High-
est Point Of Roof
Penetration
Top Of Flue Must Be 2’
Higher Than Any Part Of
Roof Within 10’ Horizontal
Chimney Height Requirements - Manufactured Homes
The chimney must extend 3’ (.92m) above the level of roof penetration
and a minimum of 2’ (.61m) higher than any roof surface within 10’
(3m) (see below). Check with your local building officials for additional
requirements for your area.
To pass inspection in nearly any jurisdiction, the chimney must meet
both safety and exhaust flow requirements. The (3’ by) 2’ by 10’ rule
applies to both masonry and factory-built chimneys
* Ref. NFPA 211, Vents installed with a listed cap shall terminate in
accordance with the terms of the cap’s listings.
Termination When Connected to Masonry Chimney or Existing
Class A Chimney
A flexible corrugated chimney liner has much greater resistance to the
flow of flue gases than does a rigid liner. For this reason we recommend
that a larger, 4” liner be used on vertical runs exceeding 15 feet or that
rigid venting be used . See Figure 12.
If a flexible corrugated chimney liner is used, it must be fully extended
to eliminate any sagging and to improve the exhaust flow.
Figure 12 - Existing Chimney Termination
Listed Pellet Vent
Termination Cap
Chase Cover
1’ Section of PL Vent
(listed to UL 641 or
ULC S609)
3” or 4” liner
(listed to UL 1777
or ULC S635)
Termination When
Connected to Masonry
Chimney or Existing
Class A Chimney
Termination height is
measured above the
highest point where
it passes through the
roof surface.

13
NOTE: DIAGRAMS & ILLUSTRATIONS ARE NOT TO SCALE
Determining Size Of Pipe To Install
To determine what diameter pipe to use in an installation (3” or 4”), first
find the “equivalent pipe length” using the following guidelines, then plot
this number and the altitude on the chart (Figure 13).
Fill out the installation chart, and calculate your total equivalent pipe
length. After you have the total equivalent pipe length, use the Pipe
Selection Chart below to determine if your installation requires 3” or 4”
exhaust pipe.
Installation Chart
4 “ Diameter Only
3 or 4”
Diameter
Altitude x 1000 Feet
Equivalent Pipe Length (Feet)
30
20
10
0
012345678910
Figure 13 - Pipe Selection Chart
A
E
F
H
G
B
C
D
Figure 14 - See Sample Installation Chart
A - 90 Degree Elbow
B - 1’ Horizontal Pipe
C - 45 Degree Elbow
D - Standoff Braces
E - 8’ Vertical Pipe
F - 2’ Horizontal Pipe
G - 90 Degree Tee
H - Wall Thimble
NOTE: All equivalent pipe styles
shown for model Montage 32FS.
Type of Pipe # of Elbows or
Feet of pipe Equivalent Feet Total Equivalent
Feet
90° Elbows/
Tee (A & G) x 5 Feet (1.5 m)
45° Elbows
(C) x 3 Feet (1 m)
Horizontal
(B & F) x 1 Feet (.3 m)
Vertical (E) x .5 Feet (.15 m)
Table 3
Sample Installation Chart
Type of Pipe # of Elbows or
Feet of pipe Equivalent Feet Total Equivalent
Feet
90° Elbows/
Tee (A & G) 2 x 5 Feet (1.5 m) 10 (3 m)
45° Elbows
(C) 1 x 3 Feet (1 m) 3 (1 m)
Horizontal
(B & F) 3 x 1 Feet (.3 m) 3 (1 m)
Vertical (E) 8 x .5 Feet (.15 m) 4 (1.2 m)
Table 4 - Sample Chart for Figure 14

NOTE: DIAGRAMS & ILLUSTRATIONS ARE NOT TO SCALE
14
Exhaust
Port
Quick
Disconnect
Straight “PL-vent”
Pipe
Combustion
Air Inlet
Collar
Metal Fresh
Air Pipe
Lytherm
Gasket
Wall
Thimble 45˚
Elbow
Holes through
the Wall for the
Thimble &
Fresh Air Pipe
45oDegree
Elbow Joint
for Fresh
Air Pipe
12” (305 mm)
Min. From
Outer Wall
12”(305 mm)
From
Ground or
Other Surface
Silicone sealant and 3 screws required on the first vent connection.
Secure and seal the remaining vent sections per vent manufacturers instructions.
Standard Horizontal Vent Installation
Installing Montage™ 32FS
All PL Venting Components must be listed to UL 641 or ULC S609
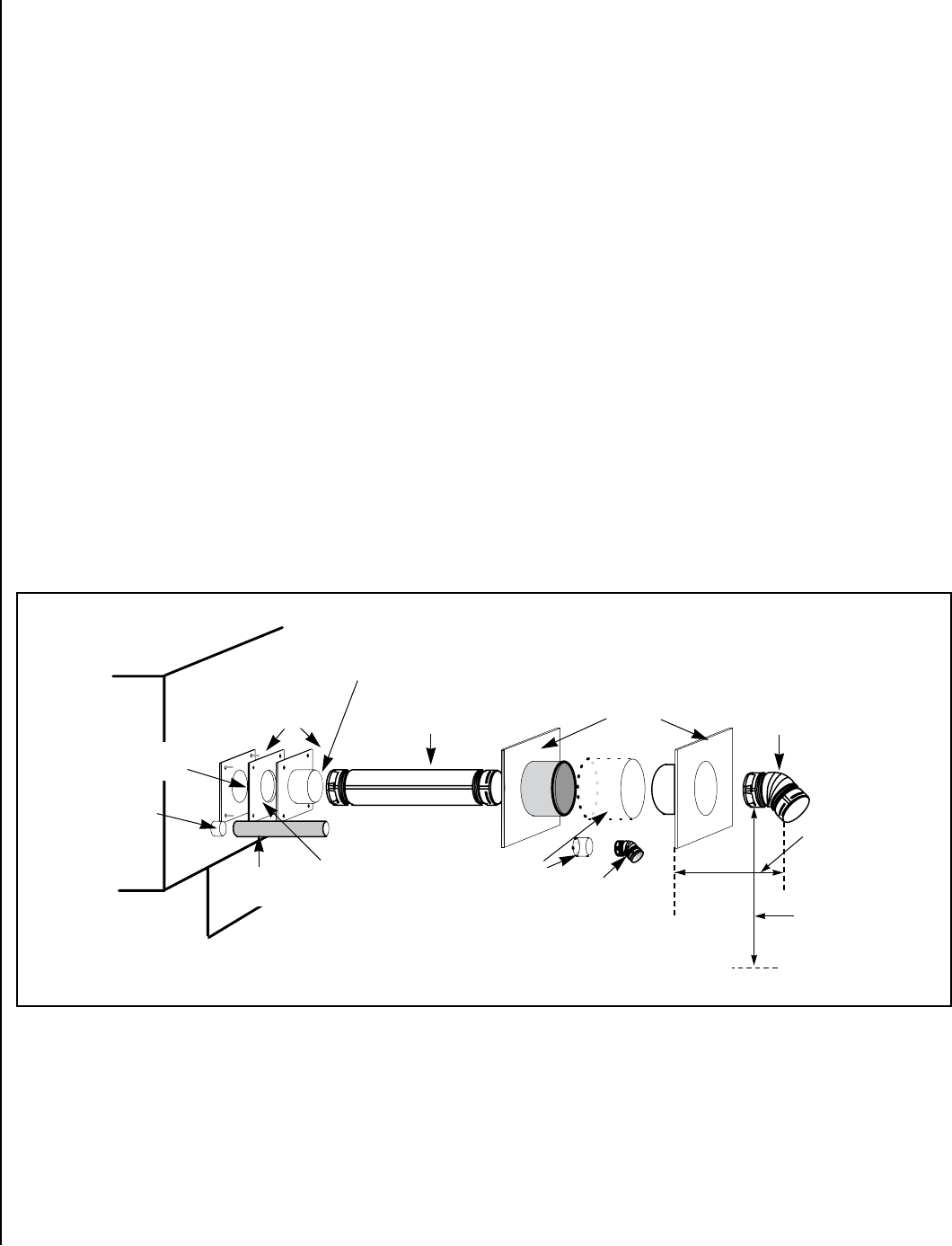
1. Locate the proper position for the listed type “PL” wall thimble. Avoid
cutting wall studs when installing your pipe. Use a saber saw or keyhole
saw to cut the proper diameter hole through the wall to accommodate
the wall thimble. Use extreme caution to avoid cutting into power lines
within the wall of the home. The hole size will depend on the brand
of pellet vent that you are using. Install the wall thimble in the hole.
2. ALL INTERLOCKING PIPE CONNECTIONS MUST BE SEALED GAS-
TIGHT AND SECURED TOGETHER PER VENT MANUFACTURERS
INSTRUCTIONS.
Position the stove approximately 12” (305 mm) from the wall on the
floor pad. Push the “PL” pipe through the wall thimble. Squeeze a
bead of high temperature silicone (RTV) sealer around the end of the
machined portion of the 3” (76 mm) pipe connector on the back of
the stove. Firmly push on a section of “PL” pipe until inner pipe liner
pushes into the bead of RTV sealer.
3. Push the stove with pipe attached towards the wall (the pipe will go
through the wall thimble). Do not position the back of the stove closer
than 2” (51 mm) from the wall (see Clearances, Page 5).
4. Install listed type “PL” 45 degree elbow with rodent screen or cap on
outside end of pipe. The rodent screen should be no less than 1/2” (13
mm) mesh and may clog with soot and ash if left unattended during
the burn season.
5. If the installation includes a source of outside combustion air; cut a
separate hole through the wall for the fresh air tube. This tube should
be 1-5/8” (42 mm) minimum diameter, steel only. Connect outside
air pipe to air inlet on stove. This tube must be terminated with a 45
degree elbow or hood.
Notes:
• Combustion air may also be drawn from a vented crawl space under
the home.
• All joints for connector pipe are required to be fastened together per the
vent manufacturers instructions. If vented horizontally, joints must be
made gas-tight (air tight, sealed connection) in a manner as specified
on this page (see instruction #2). INSTALL VENT AT CLEARANCES
SPECIFIED BY THE VENT MANUFACTURER.
• Greater back clearance will improve the ease of serviceability of the
stove.
• The end of the exhaust pipe must extend a minimum of 12” (305 mm)
from the outside of the building.
Back of
Stove
Figure 15 - Horizontal Vent Installation

15
NOTE: DIAGRAMS & ILLUSTRATIONS ARE NOT TO SCALE
Notes:
• It is not recommended to terminate
exhaust vent on the prevailing wind
side of the house.
Wall
3” (75 mm) Minimum clearance
between wall and pipe. If you vent to
the furthest wall, the vent pipe must
maintain a 3” clearance parallel to
the other wall.
Top View Illustration
Wall
1" Min.
1" Min.
6” (152 mm)
Minimum
Hearth Pad / Floor Protection
12”(305 mm) From
Ground or Other Surface
45 Degree
Elbow
2” (51 mm)
Minimum
12” (305 mm)
Minimum From
Outer Wall
Figure 17 - Montage 32FS, Parallel Through the Wall
Wall
Outdoors
Standard Horizontal Installation Configurations
Montage™ 32FS
Note:
Horizontal run of pipe requires
1/4” (7 mm) rise per foot.
Figure 16 - Montage 32FS, Corner Through the Wall
FPO

16
FPO
Wall Straps
Required Every
4 Feet Minimum
Standard Vertical Installation Configurations
Model: Montage™ 32FS
This free-standing model may be connected to an existing flue or by
installing listed type “PL” vent pipe. If a liner is run all the way to the
top of the existing chimney, the existing flue should be sealed with a
steel plate. Start a vertical run with a Tee at the back of the stove. Other
options are illustrated below.
Preferred Installation – Vertical Vent Through the Roof
This venting configuration allows for the best stove performance. The
vertical pipe promotes natural draft and with the chimney inside the
dwelling, the flue gases stay warm, thus rising at a consistent rate.
Note: See Pages 10 and 11 for Vent Termination Requirements
3”
Min.
Clean-Out
Tee
Flashing
Listed Rain Cap
Extend Pipe to the Top
if Existing Chimney is
Corroded or Damaged
3”
Min.
Pipe Increaser
Existing
Chimney Pipe
Optional
Clean-Out
Access Door
Optional Complete
Liner and Listed
Termination Cap
Figure 18 - Exterior Vertical Vent
Figure 19 - Vertical Vent Into a Masonry Flue
Figure 20 - Vertical Vent Through the Roof
Figure 21 - Interior Vertical Vent into an Existing Class A Chimney
Listed Rain Cap
Listed Rain Cap
Listed Rain Cap
3” Min.

17
CARE AND OPERATION
Simple Operating Instructions
3. Priming the Auger
(Optional)
a] Fill hopper with pellets
Note: use quality grade pellet
fuel
b] Push the "START" button
to turn on the blowers and
auger motor
e] When pellets begin to
drop from feed tube into
UltraGrate, push the "STOP"
button to stop the auger
1. Start
4. Stove is now ready for
start-up
5. To Start Your Stove
a] Push the "START" button.
Note: Room air blower and
exhaust blower start w/ line
voltage for 10 seconds, then
return to settings when last
operated.
6. Pellets will drop into
UltraGrate and stove will
light in approximately 3
to 7 minutes
Does the Stove Light?
7. Set stove to desired
heat setting (heat output
button). The new setting
will not take effect until the
switch receives adequate
heat to activate.
8. After approx. 5 minutes
adjust damper if neces-
sary to obtain a bright
vibrant flame.
Notes:
• If the damper is too far
inward the flame will be
lazy/sooty and the fuel will
pile up in the UltraGrate
(see Page 9).
• If the damper is too far
outward the flame might
be extinguished because
of too much combustion
air.
See Page 19 for further
instructions on adjusting
damper using thermostat vs
manual modes.
No
7a. Follow the troubleshooting
section in this manual
Contact your Lennox Hearth
Products dealer for further
assistance
10. Thank you for purchasing a Lennox
Hearth Products Pellet Stove
END
Does the Stove Light?
No
FIRST TIME USE
Heat Output
Button
Convection
(room air)
Blower
Button
9. To Turn Off Pellet Stove
a] Push "STOP" button - stove
enters shut down mode
b] Combustion blower goes to
high and room air blower will
operate at the panel setting
until low temperature switch
cools. Pellets stop feeding
and the fire goes out in
approximately 15 minutes
after the auger is shut off, the
room air blower and exhaust
blower will automatically
shut off.
2. Preparation
a] Check hopper and remove
any materials from hopper
and auger
b] Check UltraGrate™ for proper
fit (ensure UltraGrate is set
securely in the base - see
Figure 29)
c] Check door gasket and door
latch to ensure tight seal
(see Figure 33)
d] Connect power cord to
grounded power supply
outlet
Yes
Yes
START
HEAT
OUTPUT
BLOWER
FEEDING
STOP
(-) (+)
O
(-) (+)
O
COMBUSTION
AIR
PELLET
FEED
HEARTH PRODUCTS
Start Button
Stop Button

18
Control Board Operation
START BUTTON
The "START" Button turns on the pellet stove.
If the exhaust does not reach operating tempera-
ture within 30 minutes, the stove will automati-
cally shut down. The pellet stove can be restarted
by pushing the "START" Button again.
RESTART
AUGER ON (green LED) - The auger restarts and
returns to delivering fuel to the UltraGrate™.
STOP BUTTON
Note: The "START" Button has to be activated to
give power to the AUGER ON/OFF button.
The "STOP" button turns the pellet stove OFF.
When the LED is green, the auger is ON.
SHUT DOWN (LED off) - Auger turns OFF and
fuel delivery stops. The blowers will continue to
operate until the stove has cooled sufficiently.
Stove enters shut down mode.
HEAT OUTPUT BUTTON
When not using a wall thermostat, the "HEAT
OUTPUT" button provides the ability to burn
at five separate settings from low (#1) to high
(#5). The "HEAT OUTPUT" button regulates the
fuel feed setting and the combustion air supply
simultaneously.
Each time the "HEAT OUTPUT" button is pressed
the heat output will advance to a higher setting.
When at the highest setting (#5), if the button
is pressed again it will go back to the lowest
setting. Settings can be changed at any time
but will only take affect after the start-up cycle
is complete.
CONVECTION (ROOM AIR) BLOWER
BUTTON
The "BLOWER" button operates the convection
blower. This will change the flow of hot air into
the room. Five settings are available from low
(#1) to high (#5). When the "BLOWER" button
is pressed, the green indicator light will scroll
from low to high. When at the highest setting
(#5), if the button is pressed again it will go
back to the lowest setting.
When the "HEAT OUTPUT" button is on position
#5, the lowest blower setting is #3. When the
heat output button is on position #4, the lowest
blower setting #2. This is a safety precaution
to protect against overheating. Blower settings
can be changed at any time, but will only take
affect after the start-up cycle is complete.
Note: The control board has an internal memory
which recalls the last setting prior to loss of
power.
Note: If the fuel feed trim or combustion air trim needs to be adjusted, contact your dealer or
qualified technician to calibrate internal software. The trim controls should only be adjusted for
the proper flame if all other options did not achieve proper adjustment. It is recommended that the
damper be used to fine-tune your stove to your particular fuel and installation configuration (see
Damper Adjustment on Page 9 and Damper Adjustment Guidelines on Page 20).
WARNINGS
Never empty pellets from the Burn-Pot into the hopper. Pellets that
may appear to be cool may retain enough heat to ignite other pellets
resulting in smoke or fire damage.
DO NOT OVERFIRE THIS STOVE. This may cause serious damage to
your stove and void your warranty. It also may create a fire hazard in
your home. IF ANY EXTERNAL PART OF THE UNIT BEGINS TO GLOW,
YOU ARE OVERFIRING. Immediately press the “STOP” button on the
control board.
NOTE: DIAGRAMS & ILLUSTRATIONS ARE NOT TO SCALE
Fuse
To Thermostat
Terminal
Convection
Blower
Speed Trim
Figure 22 - Control Board Figure 23 - Back Side of Control Board
Main
Wire
Harness
Connector
P/N
Label
Location
4 Position
Connector
Fuel Delivery Rate
The "HEAT OUTPUT" button manages the fuel delivery rate by controlling the amount of time the
auger motor will run as follows:
Heat Output
Setting Auger Motor OFF/ON
Time (seconds) * Lb.’s Per Hour
Fuel Delivery
w Approximate BTU Per
Hour Fuel Delivery Burn Time
(hours)
(#5) High = 1.6 / 0.6 3.8 Lb.'s /hr. 32,000 BTU/hr 15
(#4) Med.High = 1.8 / 0.6 3.0 Lb.'s /hr. 25,000 BTU/hr 18
(#3) Med.= 1.9 / 0.6 2.5 Lb.'s /hr. 21,000 BTU/hr 22
(#2) Med.Low = 2.9 / 0.6 2.0 Lb.'s /hr. 17,000 BTU/hr 31
(#1) Low = 3.8 / 0.6 1.5 Lb.’s hr. 13,000 BTU/hr 37
Table 5 - Model Montage™ 32FS Note: Maximum hopper capacity is 55 lb.’s
* Feed rates are approximations only. Actual feed rate will vary depending on size, quality and length of
fuel used and variations in line voltage.
w Estimated heat input based on fuel value of 8400 BTU per lb. of fuel.
START
HEAT
OUTPUT
BLOWER
FEEDING
STOP
(-) (+)
O
(-) (+)
O
COMBUSTION
AIR
PELLET
FEED
HEARTH PRODUCTS
Convection
(room air)
Blower LEDs
- Green
(5 places)
Combustion
Blower Trim
Start
Button
m 5 - High
m 4 - Med. High
m 3 - Medium
m 2 - Med. Low
m 1 - Low
Heat Output
Button
Convection
(room air)
Blower
Button
Stop
Button
Heat Output
LEDs - Red
(5 places)
Auger LED
Green = On

19
General Operating Considerations
Proper Burn Characteristics: Your flame should be bright yellow under
normal operations. If your flame becomes reddish/orange, your stove
probably needs routine maintenance. Excessive amounts of fly-ash build-
up in the UltraGrate, clinkers in the UltraGrate, or leakage of air if the
UltraGrate is not properly seated, will starve the fire for air. (See Routine
Maintenance for information on cleaning the stove). If the problem per-
sists, review the troubleshooting section at the end of this manual.
Manual and Automatic Operation
Your pellet stove can be operated in either the manual or automatic mode.
The manual mode is used when operating without a wall thermostat. The
automatic mode is used when utilizing a wall thermostat. When utilizing the
thermostat capability, the burn time can be extended dramatically depending
on thermostat setting. Note: It is normal for some ash to build up on the
inner glass surface at the lower Heat Output settings.
Manual Operation
Pressing the "START" button will initiate the start-up cycle. The auger
LED will be green to indicate the “on” status. The blower speeds and
pellet feeds are fixed during this time to provide appropriate ignition.
The Fastfire igniter system will light the pellets fed to the UltraGrate, after
about 3 minutes. After the start-up cycle, your stove will be in the run
mode. At this point the stove will operate with the heat output ("HEAT
OUTPUT" button) and blower settings ("BLOWER" button) selected. These
settings can be selected either during or after the start-up cycle. Pressing
the "STOP" button during the run mode will initiate the shut down cycle
(feeding LED will go off). The pellets will stop feeding and the blowers
will run at a fixed speed for approximately 10 minutes. At this point your
stove is safely shut down. The stove can be restarted by pressing the
"START" button during the shut down cycle.
Automatic Operation
Your stove is capable of running in an automatic mode with the use of
a wall thermostat.
For the wall thermostat to control the operation of the stove, set it to a
temperature that will put it in the demand mode (calling for heat). The
thermostat will establish either a demand mode or a stand-by mode.
The thermostat should be set for the desired room temperature. If the
room temperature drops below the level on the thermostat the stove
will automatically begin the start-up cycle, as explained in the Manual
Operation section.
Once the start-up cycle is completed the stove will operate at whatever
heat and blower setting you have selected. For best operation under
thermostat control, the medium or high settings are recommended. When
the desired room temperature is reached the stove will automatically go
into the shut down cycle. The pellet feed will stop and the blowers will
continue for a controlled time allowing safe shut down of your stove. All
lights will remain on when the thermostat is open. The "HEAT OUTPUT"
and "BLOWER" settings can be changed at any time, but only take affect
during the run mode. When the temperature in the room drops to the
level set at the thermostat, the stove will again begin the start-up cycle
and resume automatic operation in the demand mode.
Note: If the "START" button is pressed while the thermostat is in the
standby mode the stove will not restart until the thermostat closes (call-
ing for heat).
Pre-lighting Instructions
During an initial start-up, or in the case where the hopper has run out of
fuel, it will be necessary to prime the auger feed system.
To prime the auger feed system:
1. Fill the hopper with recommended pellet fuel and plug the stove into
the wall outlet.
2. Press the "START" button on the control board to start the fuel feed.
Next, press the "HEAT OUTPUT" button to position #5 (maximum feed
rate).
3. Look through the combustion chamber door and when you see the first
pellets dropping into the UltraGrate™, the auger is then fully primed.
It will take 10 to 15 minutes to prime the auger.
4. Once the auger is primed, press the "STOP" button to turn off the auger
(LED will go off).
Starting Your Pellet Stove
1. Make sure the auger is primed (see Pre-Lighting Instructions on this
page), then simply push the "START" button on the control board to
activate the Fastfire™ igniter.
2. While the pellets will ignite on any heat output setting, it is recom-
mended that the "HEAT OUTPUT" button be set to position #3. Pellets
will start feeding into the UltraGrate and should begin to ignite in
approximately seven minutes. The Fastfire igniter will automatically
shut off after fifteen minutes (on hot starts igniter will shut off after
seven minutes).
3. After the pellets are burning well, press the "HEAT OUTPUT" selector
to the desired setting. Combustion air and the pellet fuel feed rate will
adjust automatically as the "HEAT OUTPUT" button is pressed. The
flame should be bright yellow in color and there should be no evidence
of soot formation at the top of the flame. Press the "BLOWER" speed
button to increase or decrease the blower speed to the desired level
4. If operating your stove with the wall thermostat, adjust the "HEAT
OUTPUT" button to the desired demand mode (#1 through #5 on the
"HEAT OUTPUT" button). Next, adjust the wall mounted thermostat
to the desired room temperature and your stove will automatically
switch between a demand mode and stand-by mode.
Notes:
Cold Start - When the "START" button is pressed when the appliance
is cold, voltage will bypass its normal circuit through the low limit
thermal switch (for 25 to 35 minutes to allow adequate time for the low
limit thermal switch to heat [140° F min.] which will close the circuit).
The combustion and convection blowers will start at maximum speed.
After approximately 10 seconds both blowers will default to settings
they were at after the last shut down was completed (indicated by
LED's #1 to #5). The Fastfire igniter will operate for approximately 15
minutes. The auger will turn continuously for a predetermined dura-
tion at the respective Heat Output Settings, followed by the normal
operating mode.

20
Turning Off Your Stove
Press the "STOP" button to initiate the shut down cycle (auger LED will
be red). The pellets will stop feeding and the blowers will continue to
run on a timed cycle. The stove will shut down safely upon completion
of the shut down cycle.
Shutdown Mode - When the thermostat opens (not calling for heat),
or the auger "STOP" button is pressed (feeding LED will be off), power
to auger motor will be discontinued. The blowers will continue at the
control board setting until the low limit thermal switch cools enough
(below 120° F) to open. For safety, the blowers will continue to run
for approximately 10 minutes before the unit shuts down.
Damper Operation
The damper assembly controls the amount of combustion air that is
delivered to the firebox. With the damper adjusted all the way in, the
airflow will be at its minimum. As the damper is moved outward, more
air is delivered (see Damper Location and Adjustment on Page 9).
It will be necessary to monitor the appearance of the flame during the first
4-8 bags of pellets. If the flame is smoky red or orange with evidence of
soot at the top of the flame, the damper will need to be adjusted to deliver
more combustion air (see Damper Location and Adjustment on Page 9).
If the flame is “short” at the higher burn rates, or if the pellets are burning
up in the UltraGrate™ before new pellets are fed into the fire, the damper
may need to be adjusted to deliver less combustion air.
After the damper is adjusted, re-evaluate the appearance of the flame. It
may be necessary to continue adjusting the damper in increments until
proper combustion is achieved (the flame should become yellow and
begin to “dance”).
Once the damper has been properly set (and if the routine maintenance
is performed as needed), the damper should not require re-adjustment
unless you are changing from a premium grade pellet to a standard or
high ash pellet, in which case the damper may need to be moved outward
to help prevent the accumulation of ash in the UltraGrate.
Damper Adjustment Guideline
Lack of Combustion Air:
By opening the damper, this will increase combustion air delivery. Symp-
toms of insufficient combustion air include; unburned fuel, lazy smoky or
red / orange flame, excessive ash or soot, excessive buildup on glass.
Contributing factors:
• High Altitude – Lack of oxygen
• Restrictive Venting (elbows, horizontal runs, cold external chimneys,
etc.)
• Dirty / Poor Quality Fuel
• Lack of Maintenance
Note: Excessive amounts of fly-ash built-up in the UltraGrate™, clinkers
in the UltraGrate or leakage of air (if the grate is not properly seated) will
starve the fire for air. See Routine Maintenance, on Pages 21 through 24
for information on cleaning requirements.
Excessive Combustion Air:
Adjusting the damper to a more closed position will reduce the combustion
air delivery. Symptoms of excessive air include; fuel burns too quickly
(results in smoking or smoldering pellets), white to yellow flame, etc. If
the damper is open too far, the burning pellets will lift off the grate and
fly up into the air much like popping corn does.
Note: Excessive combustion air reduces efficiency.
Contributing factor:
• Venting system providing excessive draft.
Correct Combustion Air / Proper Burn Characteristics:
When the damper is correctly set, the burning pellets should move (wiggle)
around slightly and the flame should be bright yellow.
Automatic Safety Features
Power Outage:
During a power outage, the stove will shut down safely. The stove will
automatically restart when power is resumed. The solid state control
board has an internal memory that will retain heat output and blower
speed settings through voltage interruptions.
A small amount of smoke may leak from the top of the window glass,
the hopper and from the combustion air intake, if the stove is vented
horizontally with no vertical pipe. This will not persist for more than 3
to 5 minutes and will not be a safety hazard. It may set off your smoke
alarm.
Note: If the area in which you live is prone to frequent power outages, it
is recommended that a minimum of 8 feet (2-1/2 meters) of vertical vent
pipe be included in a free-standing installation to induce a natural draft
in the event of a power failure.
Overheating:
High temperature thermal switches will automatically shut down the stove
if it overheats. Allow up to 45 minutes cooling time before re-lighting. Keep
enough convection air going through stove to keep it cooling properly
(adjust convection [room air] blower speed to a higher setting), this will
ensure long life of the stove. If the overheating continues, contact your
Lennox Hearth Products dealer for more information.

21
Fuel Specifications - Using the Ultragrate™ burn system, this appliance
has been designed to burn wood residue pellets only (with up to 3% ash
content). Agricultural pellets (i.e. corn, alfalfa etc.) are not permitted to be
burned in the stove. Dirty fuel will adversely affect the performance of the
stove. The pellet fuel should meet P.F.I. (Pellet Fuel Institute) standards
for standard grade or premium grade residential pellet fuel. If the pellet
fuel meets these standards, it will be printed on the bag. Any questions
regarding pellet fuel can be answered at the Pellet Fuels Institute (PFI),
www.pelletheat.org.
Pellet Feed/Pellet Size - The pellet feed system is designed to handle a
wide range of pellet sizes up to a maximum of 5/16” diameter. Different
pellets may feed at considerably different rates. You may notice a differ-
ence in the burn if you change pellet fuel sizes. The longer the pellet, the
slower it will feed and vice versa. If the stove will not stay burning at the
minimum fuel feed setting, those particular pellets may not be feeding
fast enough. If this happens, reduce the amount of combustion air by
adjusting the damper. See Page 9 before adjusting the damper.
Clinkering - Silica (or sand) in the fuel, along with other impurities, can
cause clinkering. A clinker is a hard mass of silica formed in the burning
process. Clinkering is a function of the fuel, (not the stove), but adversely
affects the performance of the stove by blocking off the air passages in
the grate. Even P.F.I. approved pellet fuel may tend to clinker. A clinker
can be removed from the UltraGrate™ and placed in the ash pan with
the use of the grate scraper/ash pan tool furnished with your stove. See
Routine Maintenance (on Pages 21 through 24) for more information
on cleaning.
Ash - The frequency of removal of the ash and maintenance performed
on the stove is directly proportional to the ash content of the fuel and the
operation duration of your pellet stove. Low ash fuel may allow longer
intervals between cleaning, however, a stove burning high ash fuel may
need to be cleaned as often as everyday.
PLEASE NOTE: Lennox Hearth Products has no control over the manu-
facturing of pellet fuel and will not be held responsible for poor stove
performance or any damage caused by poor quality pellet fuels.
Note: See Fuel Delivery Rate on Page 18 for burn times.
FUEL
CAUTION
The use of unapproved, dirty, wet and / or high salt
content fuel will void the warranty!
Wood pellets manufactured to the pellet fuels institute (P.F.I.) certification
standard are available in two grades, Standard and Premium. The primary
difference between the two is the ash content of the pellets.
The P.F.I. specification for standard grade & premium grade residential
pellet fuel is as follows:
• CHLORIDES (Salt): Less than 300 p.p.m. to avoid stove and vent
rusting.
• BULK DENSITY: 40 lb. / Cu. Ft. minimum
• MOISTURE CONTENT: 8% maximum
• ASH CONTENT: < 3% maximum (standard grade) < 1% maximum
(premium grade)
• FINES: 0.5% maximum through a 1/8” screen
• BTU CONTENT: There are a number of variations in pellet fuels that are
not included in PFI standards. For example, BTU (heat value) content
may range from just under 8,000 to almost 9,000 BTU, depending
upon species and region of the country and other variables.
FUEL FEED RATES
Different brands of pellets will feed at varying rates due to their size
and density (length and diameter). This may require a slight adjustment
in the damper adjustment (see Page 9) or the fuel feed trim control to
compensate (see Page 18).
ROUTINE MAINTENANCE
Cleaning
IMPORTANT
Unplug and Ensure Stove is Cold Before Performing
Any Maintenance Work.
The following areas need to be inspected and cleaned during routine
cleaning:
• Heat Exchange Tubes / Tube Scraper (Homeowner)
• Baffle Plates (Qualified Technician Only)
• Proof of Fire Switch (Qualified Technician Only)
• Window Wash (Homeowner)
• Ash Clean-Out Ports (Qualified Technician Only)
• Paint Touch-up (Qualified Technician Only)
• UltraGrate (Burn Grate) (Homeowner)
• Ash Slide Plate (Homeowner)
• Ash Pan (Homeowner)
• Exhaust Passages / Vent Pipe and Creosote Removal (Qualified Techni-
cian Only)
• Gaskets (Qualified Technician Only)
• Cleaning Rear Stove Compartment (Qualified Technician Only)

22
Heat Exchange Tubes
Tube Scraper - Using the hole in the handle of the Grate Scraper Tool
“grab” the scraper rod as shown in Figure 26. Using the Grate Scraper
Tool, pull the rod up and out towards the opening of the firebox. Con
-
tinue pulling until the Tube Scraper reaches the top of the firebox. Pull
the tube scraper out, then repeat 2–3 times to remove fly-ash from the
heat exchange tubes.
It may be easier to clean the tubes if the heat exchanger baffle plate is
removed first (located in the firebox below exchange tubes).
Baffle Removal - The baffle plate contains two keyhole slots (see Fig
-
ures 24A and 24B), which allows the two retaining screws to remain in
place while removing the baffle plate. To remove baffle, loosen the two
screws holding the baffle in place (do not fully remove). Slide the baffle
plate to the left until the screw heads clear the open end of the key hole
slots. Remove the baffle plate diagonally through door opening. The tube
scraper rod can now be pulled in a more horizontal manner, which allows
the scraper to move more freely.
Note: The baffle plate should be removed at least once a year to allow
for a thorough cleaning.
Figure 24B - Removing Baffle Plate
Figure 25 - Clean Behind Tube Scraper
(Recommended Frequency
of 2 weeks - 2 months)
Front
Back
Keyhole Slots
(2 places)
Baffle Plate
WARNING
DO NOT USE BRUSH ON HOT STOVE
Clean between the heat exchange tubes using a cleaning brush as illus-
trated in Figure 25.
With tube scraper rod pulled out 2 to 3 inches, insert brush behind tube
scraper and remove ash build-up. Clean to the left and right side of heat
exchanger, between tubes and the top of the firebox.
Cleaning Behind Tube Scraper
DETAIL A
DETAIL A
Figure 24A - Removing Baffle Plate
Baffle
Plate
Baffle
Screw
Brick
Panel
Brick
Retaining
Bracket
NOTE: DIAGRAMS & ILLUSTRATIONS ARE NOT TO SCALE

23
Ash Clean-out Ports
IMPORTANT NOTES:
• ENSURE APPLIANCE IS COLD BEFORE BEGINNING.
• FIREBRICK PANEL MUST BE INSTALLED BEFORE OPERATING
UNIT.
• ASH CLEAN-OUT PORTS MUST BE CLEANED OUT AS PART OF
ROUTINE MAINTENANCE.
Accessing Ash Clean-Out Ports
1) Open firebox door.
2) Remove Firebrick Panel (see Figure 24A):
a. Remove the two firebrick retainer brackets using a 5/32" allen
wrench (located on the left and right side of the firebrick inside
firebox). Loosen the screws (do not remove) until screw heads
can be removed through the key hole slots in the brackets.
b. With the brick retainer brackets removed, lift firebrick panel up
and out.
3) Using an approved ash vacuum (a brush can also be used), remove
the ash build-up.
4) Reinstall firebrick panel.
5) Close firebox door.
Figure 28 - Ash Clean-Out Ports
(Recommended Fre-
quency of 1-2 months)
Vacuum Out Fly Ash Clean-Out
Ports (indicated by arrows)
(firebox viewed from front with
firebrick panel removed)
Soot and Flyash:
Formation and need for removal - The products of combustion will contain
small particles of flyash. The flyash will collect in the exhaust venting
system and restrict the flow of the flue gases. Incomplete combustion,
such as occurs during startup, shutdown, or incorrect operation of the
room heater will lead to some soot formation which will collect in the
exhaust venting system. The exhaust venting system should be inspected
at least once every year to determine if cleaning is necessary.
Figure 26 - Pulling Tube Scraper Rod
Window Wash
Using a small brush, sweep out all debris buildup from behind the window
wash bracket as shown in Figure 27.
Figure 27 - Clean Behind Window Wash Bracket Using Brush
(Recommended Frequency
of 2 days – 2 weeks)
Proof of Fire Switch
This switch needs to be removed and cleaned after every 100 bags of
fuel burned.
Cleaning Procedure:
1) UNPLUG STOVE!
2) Locate the switch behind the right side panel, mounted on the com-
bustion blower.
3) Using a flat-head screwdriver, remove the 2 screws which secures the
switch to the blower housing.
4) Using a dry cloth, wipe off any flyash build-up on the sensor portion
of the switch.
5) Reinstall switch. Ensure wires are properly connected to the switch
and the connectors are not making contact with the blower housing.
Close side panel.
Note: Failure to clean the proof of fire switch when needed may result in nui-
sance shut-downs because the fly-ash build-up insulates heat from reaching
the switch.
(Recommended Frequency of 1 year or after every 100 bags of fuel used)
NOTE: DIAGRAMS & ILLUSTRATIONS ARE NOT TO SCALE
(Recommended
Frequency of 1 year)

NOTE: DIAGRAMS & ILLUSTRATIONS ARE NOT TO SCALE
24
Figure 29 - Inspect UltraGrate and Clean if Necessary
(Recommended Frequency
of 1 day – 2 weeks)
UltraGrate
Ash Slide Plate
Ash that accumulates around the grate can be “dropped” into the ash
pan as follows:
1. Open the firebox door.
2. Pull open the ash release slide plate as shown in Figure 30.
3. Using a brush, sweep the ashes from the firebox through openings
to the ash pan.
4. Close the ash slide plate, then close the firebox door.
IMPORTANT NOTE: Make sure to fully close the ash slide plate when
complete. Failure to close the ash release slide plate completely may
cause the fuel to burn poorly (due to reduced air flow through the grate),
which may then cause pellets to “pile up” in the grate. The ash slide
must be fully closed for the firebox door to close.
Ash Slide Plate
Figure 30 - Using the Ash Slide Plate
(Recommended Frequency
of 1 day – 2 weeks)
Ash Pan
The ash pan will have to be emptied periodically, depending on amount of
fuel consumed. The ash pan is located in the pedestal. See Figure 31.
Figure 31 - Ash Pan
(Recommended Frequency
of 2 days – 2 weeks)
Creosote Removal
When wood is burned slowly, it produces tar and other organic vapors,
which combine with expelled moisture to form creosote. The creosote
vapors condense in the relatively cool chimney flue of a slow-burning fire.
As a result, creosote residue accumulates on the flue lining.
When ignited this creosote makes an extremely hot fire. The chimney
connector and chimney should be inspected at least once every two
months during the heating season to determine if a creosote buildup
has occurred.
If creosote has accumulated it should be removed to reduce the risk of
a chimney fire.
Exhaust Passages And Vent Pipe
Inspect frequently and clean when necessary. Fly-Ash will accumulate at
all bends in the exhaust system.
Note: Large amounts of fly-ash build-up will create a lack of combustion
air. Removing the clean-out tee cap on vertical installations will allow an
inspection of the ash build-up in the clean-out tee and will help you to
decide how frequently more extensive cleaning must be performed.
Clean-Out Tee
Rain Cap
Figure 32 - Clean Vent Components
Remove cover, then
remove ash
(Minimum Frequency
of 1-2 months)
Ash Pan
Sweep ashes into
openings on sides
The grate scraper tool fits into
this slot for easy removal
UltraGrate™ (Burn Grate)
Inspect the UltraGrate periodically so that the air holes don't clog with ash
or clinkers. The UltraGrate can easily be cleaned with the grate scraper
tool, or it can be removed. It is very important to monitor the ash build
up under the UltraGrate, as too much of ash will block combustion air
from entering the grate, causing pellets to pile-up in the grate. The ash
build-up under the grate is easily dumped into the ash pan by pulling out
the ash slide weekly (see Ash Slide Plate, Figure 30).

25
NOTE: DIAGRAMS & ILLUSTRATIONS ARE NOT TO SCALE
Motor Lubrication
The blowers are permanently lubricated by the manufacturer. Do not
apply oil to any part of the blower, doing so may cause damage.
Blower Cleaning
Clean the air holes on the motors of both the exhaust and room air blowers
annually. Remove the exhaust blower from the exhaust duct and clean
out the internal fan blades as part of your fall start-up.
Rear Stove Compartment
The rear stove compartment should be cleaned periodically (a minimum
of once a year). DISCONNECT ELECTRICAL CORD PRIOR TO CLEANING
STOVE. Any household dust, pet hair or sawdust should be vacuumed
or wiped out of the rear compartment of the stove, room air blower, and
combustion blower (paying special attention to vacuuming out the intakes
of both blowers). The electrical components should be wiped clean.
Glass Cleaning
DO NOT CLEAN THE GLASS WHEN THE STOVE IS HOT. To clean glass,
use a mild non-abrasive cleaner when cool. Glass cleaners that are
designed for stove glass is recommended. Creosote builds up on glass
quickly when fire is burned at lowest settings. DO NOT use abrasive
cleaners on glass. Periodically clean out the door air wash (a groove at
the bottom of the door). This air wash directs air over the glass door to
minimize soot buildup on the door.
Small Area Paint Touch-up
The stove body is painted with a quality high-temperature stove paint.
Use only model TSPK-B Stove Paint, Catalog # 70K99. Do not touch-up
your stove with any other paint.
Using one small piece of 320 grit sand paper and lightly sand the blem-
ish so that the edges are “feathered” or smooth to the touch between
the painted and bare surfaces. Do not let the sand paper gum up with
paint, as this will cause scratches on the metal surface. If there are any
scratches, use 600 grit sandpaper instead. Mask off surfaces you do
not want painted. Paint lightly over the bare surface first as this will act
as an undercoat. Then paint over a larger area in smooth even strokes
to blend.
Door Rope Gasket
The condition of the rope gasket around the door and windows should be
checked periodically and replaced or repaired if necessary. The door gasket
does not need to be “tight” in all areas, since a small amount of leakage is
not hazardous or detrimental to the performance of your stove.
Figure 33 - Checking Door Gasket
Opening Side Panels
The hinged side panels are held closed with magnets. To open, grab the
upper portion of the side panel (at front of stove) and pull each panel
outward (see Figure 34). The side panels will hinge open from the back.
After maintenance is complete, close the side panels.
Door Gasket
Figure 34 - Opening Side Panels
Left
Side
Panel
Right
Side
Panel

NOTE: DIAGRAMS & ILLUSTRATIONS ARE NOT TO SCALE
26
Flue Size 3” (76 mm) Rear
Floor Protection Front and Sides: 6”(152 mm)
Requirements Back: Up to 6”(152 mm) u
Hopper Capacity 55 Lbs. v
Burn time 15 - 37 hours v
Fuse, Control Board 5 Amp, 250 volt, 3AGw
Fuse, Igniter 6 Amp, 125 volt w
Heat Input 13,000 - 32,000 BTU/hrv
(BTU’s per hour)
Emissions < 4.5 gr/hr (varies w/size and
type of fuel) EPA Certified v
Convection (room air)
Blower 150 CFM; 1.5 Amps,
2175 rpm
Combustion Blower 95 CFM: 1.0 Amps,
3000 rpm
Auger Motor 1.25 RPM; 0.5 Amps
Standard Features Fastfire™ Self Igniter
Wall Thermostat
(wire included)
SPECIFICATIONS - Montage™ 32FS
Notes:
• Dimensions shown are approximations only
.25(+/- 1/4”)
• Approved for Manufactured Home Installations.
• Optional Kits Available - Decorative trim kits, log
set, window screen and 4” Quick Disconnect
kits.
• The burn grate is designed with advanced
UltraGrate™ technology.
u Non-combustible floor protection is required
(see Floor Protection, Page 4). When installed
at clearances less than 6”, the floor protector is
only required to extend to the wall.
v Fuel delivery and burn times will vary depending
on size and type of fuel used. Estimated heat input
based on fuel value of 8400 BTU per lb.
w Fuses are rated as fast blow.
Product Reference Information
Cat. No. Model Ship.
Weight
Ship.
Volume
H6839 Montage 32FS 285 lb. 22.06 cu. ft.
9-5/8”
245mm 28-11/16”
729mm
9-3/16”
233mm
24-11/16”
627mm
1-9/16”
40mm
11-1/4”
286mm
23-1/8”
507mm
2-15/16”
75mm
5-1/2”
140mm
11-1/4”
286mm
7”
178mm
22-1/2”
572mm
2”
51mm
Stove Back
Clean-Out
Tee
5-7/8"

27
• Air Wash
A small slot in the door that allows room air to be pulled into the
firebox and pours over the inside surface of the door glass to inhibit
the build up of soot.
• Auger
A motor powered screw device that transfers the fuel from the hopper
to the feed chute to deliver pellets to the UltraGrate™.
• Auger Motor
Drives the Auger. Motor specifications are: 0.5 Amp, 1.25 RPM
(revolutions per minute).
• Blower, Room Air (Convection)
The blower function is to transfer the heat from the appliance to heat
the room air.
• Blower, Exhaust (Combustion)
It has a radial impeller to deliver more air to the UltraGrate™. It pulls
air into the UltraGrate by creating a negative pressure. This is done
by extracting the exhaust gases out of the firebox and pushing the
exhaust downstream to the flue exit.
• Thermal Switches, High Limit
There are three of these high-limit thermal switches on this model.
If a temperature reaches the high limit temperature, the reset switch
will “trip” and stop the flow of electricity to the auger motor. The
thermal switches will not reset until they have cooled below low reset
temperature).
- Auto Reset Thermal Snap Switch for Room Air Blower (L250-
30F, N/C*) – This switch will trip at 250° F and will automatically
reset when it reaches a temperature of 220° F. This switch is
located on the room air blower jacket and is designed to detect
an overfire condition.
- Auto Reset Thermal Snap Switch for Combustion Air Inlet
(L250-30F, N/C*) This switch will trip at 250° F and will auto-
matically reset when it reaches a temperature of 220° F. This
switch is designed to detect reversed flow or excessive heat
in the ashpan area. This switch is located on the firebox base
behind the convection jacket, directly above the ashpan. This
switch is most easily accessed by removing the ashpan
- Manual Reset Thermal Snap Switch for Feed Chute (L300-145F,
N/C*) This switch will trip at 300° F and will not be resettable
until it reaches a temperature of 155° F. This switch is designed
to detect if heat from the fire is approaching a path toward the
hopper. If this switch trips it must be manually reset. To reset,
open left side access door (facing stove), locate switch on the
side of the auger tube and press the red button in the center until
it clicks into the reset position.
• Thermal Switch, Low Limit (Ceramic, F140-20F, N/O*) - This "proof
of fire" switch will close at 140° F and will not open until it reaches
a temperature of 120° F. This switch is located on the combustion
blower (behind the right side panel). It is designed to shut down the
stove (auger motor and both blowers) if it does not detect the heat of
a fire at the end of the initial startup period.
• Hopper Lid Switch
It is located on the left hinge area inside the hopper. It detects whether
the hopper lid is open and will turn off the auger motor if the hopper
lid is not properly closed. When opening the hopper when refueling,
do not allow the hopper lid to remain open too long or the fire may
extinguish. NEVER DISCONNECT OR BYPASS THIS SWITCH FOR
ANY REASON.
• Hopper
The hopper is where the pellets are stored.
• Heat Output Button
It controls power to the feed system - auger motor and combustion
blower. Use the heat output button to adjust to any of the five feed
rate settings (which controls the burn rate).
• Pressure Switch
A safety device used to shut off the feed system (auger motor) if there
is too much back pressure in venting system. Some possible causes
are as follows:
• The venting system is obstructed.
• High altitude or other misc. environmental conditions affecting
exhaust flow.
• Improper venting system.
The Pressure Switch is located inside the right access door right next
to the combustion blower.
• UltraGrate (Burn Grate)
This is where combustion occurs and may be referred to as the “Burn
Grate”.
* N/C = Normally Closed
N/O = Normally Open
Figure 35 - WIRING DIAGRAM 120 V AC
COMPONENT DEFINITIONS
NOTE: DIAGRAMS & ILLUSTRATIONS ARE NOT TO SCALE
MATERIAL SPECIFICATIONS:
MATERIAL - WHITE POLYESTER 740 2. MIL PRINT TREATED
ADHESIVE - PERMANENT ACRYLIC ADHESIVE
MATERIAL SIZE – 4” X 10”
TEXT – BLACK
DIELINE WILL NOT PRINT
SUPPLIER:
INTERNATIONAL GRAPHICS & NAMEPLATE, INC.
14413 NE 10TH AVE., SU. C
VANCOUVER, WA 98685
800-458-3355
REV DATE ALTERATIONS PREPARED BY /
& CHKR
NC 06/04/2008 T-3654 New Release MSJ / JB / JSH / CRZ
TOLERANCE UNLESS OTHERWISE NOTED LINEAL DIM. SQUARENESS, NOTCH u BRAKE RES. +/- 1/32, ANGLES +/- 2°, HOLES
UP TO 1/4” +/- .004, 1/4” +/- .005, 1/4” TO 1” +/- .010, OVER 1” +/- 1/64”
Lennox Hearth Products ENGINEERING DEPT.
Orange, California
DESCRIPTION: WIRE DIAGRAM LABEL - MONTAGE 32FS
FOR FINISH SPECS REFER TO ES-0049
PAINT NONE
INSIDE
SHEET NO. DWG.
1 OF 1 NO.
537039-01
PAINT NONE
OUTSIDE
THIS PRINT IS THE PROPERTY OF LENNOX HEARTH PRODUCTS
PAGE 1 OF 1
DO NOT SCALE THIS PRINT
2-BLK
5-WHT
HOT
GND
NEUT
GRN
CONV
BLOWER
3-BLK
AUGER
MOTOR
IGNITER FUSE
IGNITER
L
N
1-BLU
4-ORG
2-BLK
J P
J P
COMB
BLOWER
THERMOSTAT
CONNECTOR
YEL
YEL
HI-LIMIT
AUTO-RESET
SWITCH N/C
HI-LIMIT
AUTO-RESET
SWITCH N/C
PRESSURE
SWITCH
N/C
HOPPER
LID SWITCH
N/C
HI-LIMIT MANUAL
RESETTABLE
SWITCH N/C
LO-LIMIT AUTO-RESET SWITCH N/O
ON COMBUSTION BLOWER HOUSING
NOTE: SWITCH CONDITIONS
GIVEN AT ROOM TEMPERATURE,
STOVE OFF
N/C = NORMALLY CLOSED
N/O = NORMALLY OPEN
= FEMALE DISCONNECT
= MALE DISCONNECT
= STUD CONNECTION
POWER DISCONNECT
1-BLU
3-RED
1-BLU
P/N 537039-01 Rev. NC
Montage
TM
32FS
Wire Diagram
246
135
J = JACK
P = PLUG
ON AUGER
TUBE
LEFT HOPPER
LID HINGE
AREA
INSIDE RIGHT
ACCESS DOOR
1
3
2
4
6-BRN
ABOVE ROOM
AIR BLOWER
DIRECTLY
ABOVE
ASHPAN
2-BLK
IGN 08-2302

28
PROBLEM CAUSE(S) SOLUTIONS
1. Fire burns with a lazy orange flame. Pellets build up
in the and there is excessive glass soot that is difficult to
remove (Ash and soot are a product of combustion with
any wood products, so some build-up on the glass is
normal).
A)
• There is insufficient combustion air.
• Fuel feed rate is too high.
A1) Lack of maintenance (clean UltraGrate™, clean-out ports,
exhaust flow passages, venting system, combustion blower
intake, etc.
• Remove any clinkers or ash from the bottom of the UltraGrate
that might be obstructing the primary air holes.
• Check that the heat exchange tubes are not coated with
ash.
• Clean internal exhaust ducts.
• Check gasket seal around the door. Use a thin strip of paper,
1 in. wide. Open the door and close it on the paper strip. A
slight friction should be felt when the paper strip is pulled.
Repeat this process at various locations around the door
gasket. Replace the door gasket if necessary.
• Check for blockage in the air inlet tube or exhaust pipe. Clean
as Necessary.
• Inspect glass seal to ensure that it is in good condition and
is properly seated to the door.
A2) Fuel trim may need to be adjusted down for faster feeding
fuels.
A3) Change to a better grade of fuel if necessary. Check that
the damper has been opened enough for the amount of fuel
fed.
A4) Have your Lennox Hearth Products dealer check your
combustion blower for proper operation.
A5) The venting system design is too restrictive (call your
Lennox Hearth Products Technician to evaluate how the
installation can be corrected to satisfy the exhaust flow
requirements of the appliance).
A6) Adjust the damper to increase combustion air flow.
2. Fire goes out or stove shuts down automatically A) Stove has run out of fuel.
B) Pellets are not feeding.
C) The high limit temperature switch has
tripped.
D) There is too much combustion air for
the amount of fuel.
E) The proof of fire switch is opening,
disconnecting power to the auger
motor.
A) Refill hopper.
B) See (Pellets will not feed) this Page.
C) Allow the appliance to cool for 1 hour, then re-light. If the stove
has been operating at a medium to high burn rate with the room air
blower adjusted to low, there may not be enough air flow to dissipate
the heat. On higher feed rates, adjust the blower speed to a higher
setting. If this problem persists (particularly at lower burn rates) then
the high limit thermal switch may need to be replaced by your dealer.
D) Adjust the damper to reduce combustion air flow.
E) Clean proof of fire switch (see maintenance section). If this does
not correct problem, check switch for proper operation. Replace if
necessary.
3. Pellets will not feed. A) The hopper is empty.
B) The auger motor or control board may
be defective. The pressure switch tap
or hose may be blocked.
C) Back pressure in venting tripping
pressure switch.
D) Thermostat is in stand-by mode.
E) Thermostat wires disconnected.
F) High limit thermal switch may have
been tripped.
G) Self-aligning bearings in auger motor
may be misaligned.
H) Fines or wet fuel in auger.
I) Hopper lid is open.
J) Hopper lid switch is faulty.
A) Refill hopper.
B) Check to be sure that there is no blockage in the pressure tap or
hose. Have your Lennox Hearth Products dealer diagnose the prob-
lem and clean or replace any necessary parts.
C) If new installation check for excessive 90˚ bends, long horizontal
runs or excessive vertical run of 3” pipe. Possibly change to 4” pipe.
If older installation check for excessive ash accumulation in pipe or
other obstructions. Clean out pipe.
D) Check to see if thermostat is set to low or if sun is shining directly
on thermostat.
E) Reinstall wires.
F) Allow stove to cool. Increase room air blower setting.
G) Gently tap the auger motor.
H) Clean out fines or wet fuel in auger and hopper. Use PFI certified
fuel only and store bags in a dry location.
I) Close Hopper Lid.
J) Replace hopper lid switch if determined to be faulty.
QUALIFIED TECHNICIANS ONLY
Unplug Appliance Before Performing Any Troubleshooting or Maintenance
TROUBLESHOOTING

29
PROBLEM CAUSE(S) SOLUTIONS
4. Blowers will not operate when the ON/OFF start button
is depressed.
A) There is no power to the stove.
B) There is no power to the control board.
C) The low limit thermal switch has failed in the
closed position.
A) Check that the stove is plugged in to the wall
outlet.
B1) Check if the house circuit breaker has tripped.
B2) Check the wire connections on the high limit
thermal switch and control board.
C) Have your Lennox Hearth Products dealer
replace the low limit thermal switch.
5. There is soot or fly-ash in the house. A) The window is being cleaned when the stove is
operating.
B) There is leakage at the joints between the
combustion blower, connection or exhaust pipe
connections. This will be evidenced by dust on
the impeller of the room air blower, and in the
heat exchanger area.
C) The vacuum cleaner is leaking.
A) Turn down the room air blower or turn off stove before
cleaning to prevent dispersion of ash and soot into the
room.
B) Seal up any leaks in the exhaust system with room
temperature vulcanizing high temperature silicone sealer
(RTV).
C) DO NOT use a standard household vacuum or “shop
vac” as the filters will leak the fine particles of ash. Clean
the stove with an approved ash vacuum ONLY.
6. Stove will not light. A) The igniter element may have failed.
B) There is not enough pellets in the UltraGrate.
A) Check igniter element fuse in rear stove compartment.
Call your Lennox Hearth Products dealer. See Lighting
Procedure Without Igniter, Page 20.
B) Prime the feed system (see Pre-lighting Instructions,
Page 19).
7. Fault A) The low limit thermal switch is not operating
correctly (stuck in open position)
B) Stove has run out of fuel.
C) A disk has tripped / pressure switch.
A) Have your Lennox Hearth Products dealer
replace the low limit thermal switch.
B) Refill hopper.
C) Blower intake, exhaust passages and/or venting
system needs cleaning (follow routine and annual
maintenance procedures).
8. Blowers run continuously A) Wire harness and/or control board has been dam-
aged – unplug stove and contact dealer.
A) Contact your local Lennox Hearth Products
dealer.
9. Blinking red lights on control board LED’s. A) Thermostat circuit in not closed A1) If a wall thermostat is not installed, a jumper
is required between the 2 thermostat terminals
(see Figures 7 and 8 on Page 9). If the jumper is
missing contact your LHP dealer.
A2) The wall thermostat (if used) is defective or
there is a break in the connections or thermostat
wire.
QUALIFIED TECHNICIANS ONLY
Unplug Appliance Before Performing Any Troubleshooting or Maintenance
TROUBLESHOOTING

30
REPLACEMENT PARTS LIST - MONTAGE™ 32FS
Contact an Authorized Lennox Hearth Products dealer to obtain any of these parts. Never use substitute materials. Use of non-
approved parts can result in poor performance and safety hazards.
DOOR PARTS
Item # Cat. No. Description
1 H7045 Door Assembly
2 H7046 Face Assembly
3 H7047 Door Handle Assembly
4 H7048 Hinge Plate Assembly
5 H7049 Latch Plate Assembly
6 H7313 Door Rope Kit, 4 ft.
7 12050506 Door Hinge Pin (2 per pkg.)
8 H7050 Lennox Logo Pewter Badge
FIREBOX PARTS
9 H7051 Heat Exchanger Baffle Assembly
10 H7052 Ash Pan Assembly
11 H7053 Igniter Assembly
(Instr. Form # 506033-07)
12 12158905 UltraGrate™
13 17150009 Scraper Rod
49 H7054 Refractory Panel
14 H7055 Ash Clean-out Covers (Pair)
PANELS
15 H7056 Left Side Door Assembly
16 H7057 Right Corner Panel Assembly
17 H7058 Left Corner Panel Assembly
18 H7059 Right Side Door
19 H7060 Stove Back Cover
20 H7061 Side Door Hinge Bracket
21 H7062 Hinge, 3" (1 per pkg.)
ELECTRICAL
22 H7309 Convection Blower Assembly 12146109
23 H7310 Combustion Blower Assembly 12050011
24 H7312 Hopper Lid Switch Bracket (1 per pkg.)
36 H7063 Hopper Lid Switch (1 per pkg.)
25 H7064 High Limit Manual Reverse Flow Snap Switch
Assembly, L300-145F N/C, (1 per pkg.) (on
the side of the auger tube body, at top near
feed chute)
26 H7065
High Limit Auto Reset Reverse Flow Snap
Switch Assembly, L250-30F N/C,
(1 per pkg.)
(on firebox base behind convection jacket &
above the ash pan)
28 12147705 High
Limit Auto Snap Switch, L250-30F N/C,
(3
per pkg.)
(on convection jacket)
37 H5887 Low Limit Auto Proof of Fire Snap Switch
Assembly, F140-30F N/O, (1 per pkg.) 57601
Item # Cat. No. Description
27 12155907 Igniter Inline Holder with Fuse
29 16050001 Vacuum Switch
30 H5898 Vacuum Hose
31 H7066 Wiring Harness
32 H3079 Power Cord
33 H7067 Control Board
50 12051409 Control Panel Knob
34 12055908 Fuse, Control Board and Igniter, (12 per pkg.)
35 H5886 Auger Motor
38 16050205 Wall Thermostat
*** H3457 Wire, Thermostat
MISC.
40 H7068 Flue Outlet Tube Assembly
52 H5916
Round Door Magnet
41 11756300 Auger Shaft Assembly
42
H7311 Auger End Plate
43
12041300 Auger Collar Assembly
44 12051001 Auger Motor Bumper
(5 per pkg.)
H7069
45 12051100 Upper Shaft Bushing, Brass
(12 per pkg.)
H7070
46 H4958 Hopper Lid Handle
47 12055500 Scraper Tool
GASKETS
53 61050016 Flue Outlet Gasket
(5 per pkg.)
H7071
54
61050005 Combustion Blower Gasket
(5 per pkg.)
H7072
55 61057203 Convection Blower Gasket
(5 per pkg.)
H7073
56 H7074 Auger Tube End Cap Gasket
(5 per pkg.)
51 12050004
Cleaning Brush

31
REPLACEMENT PARTS LIST - MONTAGE 32FS
13
46
19
14
33 47
12
49
5
11
15
17
50
9
21
16
18
20
410
52
38 ADD WALL THERMOSTAT
39 WIRE, THERMOSTAT
48 ADD PAINT TOUCH UP
52 ADD CLEANING BRUSH
34
38
Includes 20 feet of thermostat wire
8
6
1
7
3
2
52

32 NOTE: DIAGRAMS & ILLUSTRATIONS ARE NOT TO SCALE
35
26
27
28
30
31
32
33
36
37
39
29
38
31
31 ADD IN WIRING HARNESS
24
28
28
37
27
40
56
44
36
30
29
34
41
23
26
45
25
22
43
54
35
55
53
42
32
REPLACEMENT PARTS DIAGRAMS

33
NOTE: DIAGRAMS & ILLUSTRATIONS ARE NOT TO SCALE
OPTIONAL ACCESSORIES
123
Contemporary Accessory Kit,
Montage 32FS, Brushed Nickel
Artisan Accessory Kit, Montage
32FS, Matte Black
Arch Accessory Kit, Montage
32FS, Matte Black
Form # 775,201M Form # 775,201M Form # 775,201M
Item # Cat. No. Model Description
Optional Accessories
1 H6840 MONT-32FS-CONT Contemporary Trim Accessory Kit, Brushed Nickel
2 H6841 MONT-32FS-ART Artisan Accessory Trim Kit, Matte Black
3 H6842 MONT-32FS-ARCH Arch Accessory Trim Kit, Matte Black
4 H6843 MONT-32FS-GOTH Gothic Cast Iron Accessory Kit, Black Paint
5 H0244 DLS-PM Log Set
6 70K99 TSPK-B Touch-up Paint, Black
7 14M81 QDPC-4 Quick Disconnect Pipe Connector, 4” *
* Converts from standard 3” outlet to 4”

NOTE: DIAGRAMS & ILLUSTRATIONS ARE NOT TO SCALE
34
Need Screen Kit drawing.
Need clarification, which style trim pieces should match up with which door inserts. I suspect what I have here is wrong.
46
P
A
I
N
T
ACCESSORIES
Gothic Accessory Kit, Montage
32FS, Black Paint
5
7
Form # 775,201M
Form # 775,077M

35
NOTE: DIAGRAMS & ILLUSTRATIONS ARE NOT TO SCALE
SAFETY / LISTING LABEL
F
Combustible Wall
Mur Combustible
Stove
Poêle A
B
E
DD
B
Alcove
Stove
Poêle
Combustible Wall
Mur Combustible
Combustible Wall / Mur Combustible
Combustible Wall/Mur Combustible
FC
C
Stove
Poêle
Corner /
Position En Coin
CERTIFIED FOR U.S. AND CANADA. LISTED ROOM HEATER FOR
USE WITH PFI APPROVED PELLETIZED WOOD FUEL ONLY. FOR
USE IN MANUFACTURED (MOBILE) HOMES.
INSTALL AND USE ONLY IN ACCORDANCE WITH THE MANU-
FACTURER’S INSTALLATION INSTRUCTIONS. CONTACT LOCAL
BUILDING OR FIRE OFFICIALS ABOUT RESTRICTIONS AND
INSTALLATION INSPECTION IN YOUR AREA. DO NOT CONNECT
THIS UNIT TO A CHIMNEY FLUE SERVING ANOTHER APPLIANCE.
SEE LOCAL BUILDING CODE AND MANUFACTURER’S
INSTRUCTIONS FOR PRECAUTIONS REQUIRED FOR PASSING
A CHIMNEY THROUGH A COMBUSTIBLE WALL OR CEILING. THIS
PELLET FIRED APPLIANCE HAS BEEN TESTED AND LISTED FOR USE IN MANUFACTURED HOMES IN ACCORDANCE
WITH OREGON ADMINISTRATIVE RULES 814-23-900 THROUGH 814-23-909.
OPERATE ONLY WITH FIREBRICK IN PLACE. WARNING: OPERATE ONLY WITH VIEWING DOOR CLOSED.
INSPECT FLUE FREQUENTLY TO PREVENT ACCUMULATION OF SOOT. THE HEATER AND FLUE
MUST BE IN GOOD CONDITION. KEEP FURNISHINGS AND OTHER COMBUSTIBLE MATERIALS WELL AWAY FROM
HEATER.
COMBUSTIBLE FLOOR MUST BE PROTECTED BY NON-COMBUSTIBLE MATERIAL EXTENDING BENEATH THE
HEATER AND 6” TO THE FRONT, SIDES AND REAR AS INDICATED OR TO THE NEAREST PERMITTED COMBUSTIBLE
MATERIAL.
USE 3” / 75MM OR 4” / 100MM TYPE “PL” LISTED PELLET VENT AND COMPLETE COMPONENTS.
Manufactured By / Fabriqué Par:
LENNOX HEARTH PRODUCTS
PO BOX 987
Auburn, WA 98071 USA
Report No./Numéro de Rapport: 3105656MID
(Test Date OCT 2006 / Testé le OCT 2006)
Serial No.
Numéro
de série
Model / Modèle:
MONTAGE™ 32FS
Tested to/Testé selon: ASTM E-1509 / UL 1482 /
ULC S627
WH-
MINIMUM CLEARANCES TO COMBUSTIBLE MATERIALS
NE PAS ENLEVER CETTE ÉTIQUETTE DÉGAGEMENT MINIMUM POUR
LES MATÉRIAUX COMBUSTIBLES
Freestanding Stove Installation / Installation Du Poêle Autonome
Manufactured (Mobile) Home Or Residential Installation / Installation
Résidentielle Ou Dans Une Maison réfabriquée (Mobile)
Horizontal Flue -
Directly Through Wall
Installation / Installation Du
Conduit De
Fumée À L’horizontale,
Directement Dans Le Mur
Interior Vertical
- Flue Installation /
Installation
Intérieure Du
Conduit De Fumée À
La Verticale
Sidewall To Unit / Du Mur Latéral À L’appareil A
Backwall To Unit Side / Du Mur Arrière À L’appareil B
Wall To Unit Corner / Du Mur Au Coin De L’appareil C
Alcove To Fuel Hopper / De L’alcôve À L’entonnoir Du
Bois De Chauffage D
Max. Depth Of Alcove / Profondeur Max. De L’alcôve E
Flue To Wall / Du Conduit De Fumée Au Mur F
Front/rear/side To Floor Protection Outside Edge / De
L’avant, L’arrière Et Les / Côtés Au Plancher Bord
Extèrieur De Protection I
4”/102 mm
2”/51 mm
1”/26 mm
4”/102 mm
24”/610 mm
3”/77 mm
6”/153 mm
4”/102 mm
9”/229 mm
1”/26 mm
4”/102 mm
24”/610 mm
3”/77 mm
6”/153 mm
Minimum Alcove Height / Hauteur De L’alcôve - 48”/1219 mm, Minimum Alcove Width / Largeur De L’alcôve - 31”/787 mm
Part No./ No. Pièce #580035-01 Rev. NC, 06/2008
Do Not Remove This Label / E Pas Enlever Ou Recouvrir Cette Étiquette Made In U.S.A. / Fabriqué Aux U.S.A.
IGN 08-2204
Date of Manufacture / Date De Fabrication
2008 2009 2010 JAN. FEB. MAR. APR MAY JUN JUL AUG SEP OCT NOV DEC
JANV FEVR MARS AVR MAI JUIN JUIL AOÛT SEPT OCT NOV DEC
CAUTION:
HOT WHILE IN OPERATION. DO NOT TOUCH. KEEP
CHILDREN, CLOTHING, AND FURNITURE AWAY. CONTACT MAY CAUSE
SKIN BURNS. SEE NAMEPLATE AND INSTRUCTIONS. OPERATE THIS
UNIT ONLY WITH THE FUEL HOPPER LID CLOSED. FAILURE TO DO SO
MAY RESULT IN EMISSION OF PRODUCTS OF COMBUSTION FROM THE
HOPPER UNDER CERTAIN CONDITIONS. DO NOT OVERFILL HOPPER.
ATTENTION:
L'APPAREIL EST CHAUD LORS DE L’OPÉRATION. NE PAS Y
TOUCHER. TENIR LES ENFANTS, LES MATÉRIAUX COMBUSTIBLES, LES VÊTEMENTS
ET LES MEUBLES ÉLOIGNÉS DE L’APPAREIL. RISQUE DE BRÛLURES CUTANÉES. VOIR
LA PLAQUE SIGNALÉTIQUE ET LES DIRECTIVES. OPÉRER L’APPAREIL SEULEMENT
SI LE COUVERCLE DE LA TRÉMIE DU COMBUSTIBLE EST FERMÉ. SOUS CERTAINES
CONDITIONS, DES PRODUITS DE COMBUSTION POURRAIENT S’ÉCHAPPER SI LA
TRÉMIE N’EST PAS FERMÉE. NE PAS SURCHARGER LA TRÉMIE.V
HOMOLOGUé POUR LES é-U. ET LE CANADA. RéPERTORIé COMME RADIATEUR INDéPENDANT. FONCTIONNE AU
BOIS DE CHAUFFAGE GRANULé. AUSSI UTILISé DANS LES MAISONS PRéFABRIQUéES (MOBILES).
INSTALLER ET UTILISER L'APPAREIL EN CONFORMITé AVEC LES DIRECTIVES D'INSTALLATION DU FABRICANT ET
DES AUTORITéS LOCALES EN BâTIMENT OU LE SERVICE DE PRéVENTION DES INCENDIES. COMMUNIQUER AVEC
LES AUTORITéS COMPéTENTES LOCALES EN MATIèRE DE BâTIMENT ET D’INCENDIE POUR EN SAVOIR PLUS SUR
LES RESTRICTIONS ET L’INSPECTION DE L’INSTALLATION DANS VOTRE RéGION. NE RACCORDER PAS CET APPA-
REIL à UN CONDUIT DE FUMéE DESSERVANT UN AUTRE FOYER. CONSULTER LE CODE DU BâTIMENT DE VOTRE
RéGION ET LES DIRECTIVES DU FABRICANT POUR CONNAîTRE LES MESURES DE PRéCAUTION à PRENDRE POUR
PASSER UNE CHEMINéE DANS UN MUR OU UN PLAFOND. CET APPAREIL ALIMENTé AUX GRANULES A éTé MIS à
L’éPREUVE ET RéPERTORIé POUR UNE UTILISATION DANS LES MAISONS PRéFABRIQUéES CONFORMéMENT AUX
RèGLEMENTS ADMINISTRATIFS 814-23-900 à 814-23-909 DE L’ORéGON.
FAIRE FONCTIONNER L’APPAREIL UNIQUEMENT EN PRéSENCE DE BRIQUES RéFRACTAIRES. AVERTISSEMENT :
FAIRE FONCTIONNER SEULEMENT SI LA PORTE VITRéE EST FERMéE. NETTOYER L’éCHANGEUR DE CHALEUR ET
LE CONDUIT DE FUMéE FRéQUEMMENT AFIN D’éVITER L’ACCUMULATION DE SUIE. L’APPAREIL ET LE CONDUIT DE
FUMéE DOIVENT êTRE EN BON éTAT. GARDER LES MEUBLES ET AUTRES PRODUITS COMBUSTIBLES éLOIGNéS
DE L’APPAREIL.
LES PLANCHERS DOIVENT êTRE PROTéGéS AVEC DES MATéRIAUX NON COMBUSTIBLES, SOUS LE RADIATEUR, 6" à
L’AVANT SUR LES CôTéS ET à L’ARRIèRE TEL QU’INDIQUé OU jUSQU’AUX MATéRIAUX NON COMBUSTIBLES PERMIS
LES PLUS PRèS. UTILISER LES COMPOSANTS DE CHEMINéE DE TYPE "PL" DE 3 PO/75 MM OU DE 4 PO/100 MM.
ROUTINE MAINTENANCE REMINDER
FREQUENCY OF CLEANING AND MAINTENANCE OF YOUR STOVE DEPENDS ON THE ASH CONTENT OF THE
PELLETS YOU BURN. CHECK THE FOLLOWING PARTS OF YOUR STOVE WEEKLY FOR THE FIRST MONTH TO
DETERMINE THE FREQUENCY OF CLEANING.
A. BURN GRATE B. HEAT EXCHANGER TUBES C. ASH PAN AND EXHAUST PIPE
SEE YOUR MANUAL AND/OR DEALER FOR MORE INFORMATION. INPUT RATING RANGE: 1.5 TO 3.8 LBS./HOUR
(NOMINAL) ELECTRICAL RATING: 60 HZ, 120 V, LESS THAN 10 AMP
RAPPEL D’ENTRETIEN PÉRIODIQUE
LA FRéQUENCE DE NETTOYAGE ET D’ENTRETIEN DE VOTRE POêLE DéPEND DE LA QUANTITé DE CENDRE DE
GRANULES CONSOMMéES. VéRIFIER HEBDOMADAIREMENT LES PIèCES DE VOTRE POêLE SUIVANTES DURANT
LE PREMIER MOIS POUR éTABLIR LA FRéQUENCE DE NETTOYAGE :
A. GRILLE B. TUBES DE L’éCHANGEUR DE CHALEUR C. TRAPPES ET CONTENANT DE CENDRES
POUR OBTENIR DE PLUS AMPLES RENSEIGNEMENTS, CONSULTER VOTRE GUIDE ET/OU VOTRE DéTAILLANT.
CARACTéRISTIQUES éLECTRIQUES : 120 V, 60 HZ, MOINS DE 10 AMP; CONSOMMATION THERMIQUE : 1,5 à 3,8
LB/H MAX.
U.S. ENVIRONMENTAL PROTECTION AGENCY -
CERTIFIED to comply
with July 1990 particulate emission standards
ENVIRONMENTAL PROTECTION AGENCY DES ÉTATS-UNIS HOMOLOGUÉ
- Pour être conforme avec les normes d’ émission de particules, juillet 1990
II
I
I
Stove
Poêle
Floor Protection / Protecteur Plancher
Note that your stove’s serial number is printed on the safety label, which is located near the inside of the hopper. Your stove’s serial
number is preceded by a “WH-”(Example WH-0000000).

36
Printed in U.S.A. © 2008 Lennox Hearth Products
P/N 775,196M REV. NC 06/2008
Lennox Hearth Products reserves the right to make changes at any time, without notice, in
design, materials, specifications, prices and also to discontinue colors, styles and products.
Consult your local distributor for fireplace code information.
1110 West Taft Avenue • Orange, CA 92865
Your Stove’s Model Number __________________________________________
Your Stove’s Serial Number ___________________________________________
The Date On Which Your Stove Was Installed _____________________________
Your Dealer's Name _________________________________________________
Your Dealer's Phone Number __________________________________________
WARRANTY
Your pellet stove is covered by a limited warranty (provided with appli-
ance). Please read the warranty to be familiar with its coverage.
Retain this manual. File it with your other documents for future refer-
ence.
PRODUCT REFERENCE INFORMATION
We recommend that you record the following important information
about your fireplace. Please contact your Lennox Hearth Products dealer
for any questions or concerns. For the number of your nearest Lennox
Hearth Products dealer, please call 1-800-9-LENNOX.
REPLACEMENT PARTS
See Page 30 through 31 for a complete replacement parts list. Use only
parts supplied from the manufacturer.
Normally, all parts should be ordered through your Lennox Hearth
Products distributor or dealer. Parts will be shipped at prevailing prices
at time of order.
When ordering repair parts, always give the following information:
1. The model number of the appliance.
2. The serial number of the appliance.
3. The part number.
4. The description of the part.
5. The quantity required.
6. The installation date of the appliance.
If you encounter any problems or have any questions concerning the
installation or application of this system, please contact your dealer.
LENNOX HEARTH PRODUCTS
1110 West Taft Avenue
Orange, CA 92865
Visit us at www.Lennox.com