Lenovo 41X5664 User Guide Manual (English) A55 Desktop (Think Centre) Type 8705
Lenovo-6490-Users-Manual-329509 lenovo-6490-users-manual-329509
8700 to the manual b7f6da05-02bd-ea54-4d49-9b39a5466256
2011-01-04
User Manual: Lenovo 41X5664 (English) User guide A55 Desktop (ThinkCentre) - Type 8705 8705
Open the PDF directly: View PDF
.
Page Count: 96
- Contents
- Important safety information
- Conditions that require immediate action
- General safety guidelines
- Electrical current safety information
- Lithium battery notice
- Modem safety information
- Laser compliance statement
- Power supply statement
- Products with television tuner options installed
- Data safety
- Cleaning and maintenance
- Using headphones or earphones
- Additional safety information
- Introduction
- Chapter 1. Arranging your workspace
- Chapter 2. Setting up your computer
- Chapter 3. Installing options
- Features
- Specifications
- Available options
- Tools required
- Handling static-sensitive devices
- Installing external options
- Removing the cover
- Locating components
- Identifying parts on the system board
- Installing memory
- Installing adapters
- Installing internal drives
- Connecting drives
- Installing security features
- Changing the battery
- Erasing a lost or forgotten password (clearing CMOS)
- Replacing the cover and connecting the cables
- Chapter 4. Recovering software
- Creating and using the Product Recovery disc
- Performing backup and recovery operations
- Using the Rescue and Recovery workspace
- Creating and using rescue media
- Creating and using a Recovery Repair diskette
- Recovering or installing device drivers
- Setting a rescue device in the startup sequence
- Solving recovery problems
- Chapter 5. Using the Setup Utility
- Chapter 6. Updating system programs
- Chapter 7. Troubleshooting and diagnostics
- Chapter 8. Getting information, help, and service
- Appendix A. Manual modem commands
- Appendix B. Notices
- Index

User Guide
Types 6490, 8700, 8701, 8705
Types 8717, 8973, 8975, 8979
Types 8983, 8985, 8991, 8995
Types 9265, 9269, 9277, 9279
Types 9283, 9287, 9379, 9383
Types 9387, 9389, 9631, 9635
Types 9637, 9646, 9648, 9694

User Guide

Note
Before using this information and the product it supports, be sure to read the“Important safety information” on page v and
Appendix B, “Notices,” on page 71.
Fourth Edition (February 2007)
© Copyright Lenovo 2006, 2007.
Portions © Copyright International Business Machines Corporation 2005.
All rights reserved.
U.S. GOVERNMENT USERS – RESTRICTED RIGHTS: Our products and/or services are provided with
RESTRICTED RIGHTS. Use, duplication or disclosure by the Government is subject to the GSA ADP Schedule
contract with Lenovo Group Limited, if any, or the standard terms of this commercial license, or if the agency is
unable to accept this Program under these terms, then we provide this Program under the provisions set forth in
Commercial Computer Software–Restricted Rights at FAR 52.227-19, when applicable, or under Rights in
Data-General, FAR 52.227.14 (Alternate III).

Contents
Important safety information . . . . . .v
Conditions that require immediate action . . . . .v
General safety guidelines . . . . . . . . . .vi
Service and upgrades . . . . . . . . . .vi
Static electricity prevention . . . . . . . . vii
Power cords and power adapters . . . . . . vii
Voltage-selection switch . . . . . . . . . viii
Extension cords and related devices . . . . .ix
Plugs and outlets . . . . . . . . . . .ix
External devices . . . . . . . . . . . .ix
Batteries . . . . . . . . . . . . . .ix
Heat and product ventilation . . . . . . . .x
Operating environment . . . . . . . . .xi
Electrical current safety information . . . . . .xi
Lithium battery notice . . . . . . . . . . . xii
Modem safety information . . . . . . . . . xii
Laser compliance statement . . . . . . . . . xiii
Power supply statement . . . . . . . . . . xiii
Products with television tuner options installed . . xiii
Note to CATV system installer . . . . . . . xiv
Example of antenna grounding . . . . . . xiv
Data safety . . . . . . . . . . . . . .xv
Cleaning and maintenance . . . . . . . . .xv
Using headphones or earphones . . . . . . .xv
Additional safety information . . . . . . . . xvi
Introduction . . . . . . . . . . . . xvii
Chapter 1. Arranging your workspace . .1
Comfort . . . . . . . . . . . . . . . .1
Glare and lighting . . . . . . . . . . . .2
Air circulation . . . . . . . . . . . . . .2
Electrical outlets and cable lengths . . . . . . .2
Chapter 2. Setting up your computer . .3
Connecting your computer . . . . . . . . .3
Turning on power . . . . . . . . . . . .8
Finishing the software installation . . . . . . .8
Completing important tasks . . . . . . . . .9
Updating your operating system . . . . . . . .9
Installing other operating systems . . . . . . .9
Updating your antivirus software . . . . . . .9
Shutting down the computer . . . . . . . . .9
Chapter 3. Installing options . . . . .11
Features . . . . . . . . . . . . . . .11
Specifications . . . . . . . . . . . . . .14
Available options . . . . . . . . . . . .15
Tools required . . . . . . . . . . . . .15
Handling static-sensitive devices . . . . . . .16
Installing external options . . . . . . . . .16
Locating the connectors on the front of your
computer . . . . . . . . . . . . . .17
Locating the connectors on the rear of your
computer . . . . . . . . . . . . . .18
Obtaining device drivers . . . . . . . . .19
Removing the cover . . . . . . . . . . .20
Locating components . . . . . . . . . . .21
Identifying parts on the system board . . . . .22
Installing memory . . . . . . . . . . . .25
Installing adapters . . . . . . . . . . . .26
Installing internal drives . . . . . . . . . .28
Drive specifications . . . . . . . . . .28
Installing a drive in bay 1 or bay 2 . . . . .30
Connecting drives . . . . . . . . . . . .32
Connecting the first optical drive . . . . . .32
Connecting an additional optical drive, or
parallel ATA hard disk drive . . . . . . . .32
Connecting a serial ATA hard disk drive . . . .33
Installing security features . . . . . . . . .33
Integrated cable lock . . . . . . . . . .34
Padlock . . . . . . . . . . . . . . .35
Password protection . . . . . . . . . .35
Changing the battery . . . . . . . . . . .35
Erasing a lost or forgotten password (clearing
CMOS) . . . . . . . . . . . . . . . .36
Replacing the cover and connecting the cables . . .37
Chapter 4. Recovering software . . . .39
Creating and using the Product Recovery disc . . .39
Performing backup and recovery operations . . .40
Using the Rescue and Recovery workspace . . . .41
Creating and using rescue media . . . . . . .42
Creating and using a Recovery Repair diskette . .43
Recovering or installing device drivers . . . . .44
Setting a rescue device in the startup sequence . .45
Solving recovery problems . . . . . . . . .45
Chapter 5. Using the Setup Utility . . .47
Starting the Setup Utility program . . . . . . .47
Viewing and changing settings . . . . . . . .47
Using passwords . . . . . . . . . . . .47
Password considerations . . . . . . . . .47
User Password . . . . . . . . . . . .48
Administrator Password . . . . . . . . .48
Setting, changing, and deleting a password . . .48
Using Security Profile by Device . . . . . . .48
Selecting a startup device . . . . . . . . . .49
Selecting a temporary startup device . . . . .49
Changing the startup device sequence . . . .49
Advanced settings . . . . . . . . . . . .50
Exiting from the Setup Utility program . . . . .50
Chapter 6. Updating system programs 51
Using system programs . . . . . . . . . .51
Updating (flashing) BIOS from a diskette . . . .51
© Lenovo 2006, 2007. Portions © IBM Corp. 2005. iii
Chapter 7. Troubleshooting and
diagnostics . . . . . . . . . . . . .53
Basic troubleshooting . . . . . . . . . . .53
Diagnostic programs . . . . . . . . . . .54
PC-Doctor for Windows . . . . . . . . .55
PC-Doctor for DOS . . . . . . . . . . .55
PC-Doctor for Windows PE . . . . . . . .57
Cleaning the mouse . . . . . . . . . . .57
Optical mouse . . . . . . . . . . . .57
Non-optical mouse . . . . . . . . . . .57
Chapter 8. Getting information, help,
and service . . . . . . . . . . . . .59
Information resources . . . . . . . . . . .59
Online Books folder . . . . . . . . . .59
ThinkVantage Productivity Center . . . . . .59
Access Help . . . . . . . . . . . . .60
Safety and warranty . . . . . . . . . .60
www.lenovo.com . . . . . . . . . . .60
Help and service . . . . . . . . . . . .60
Using the documentation and diagnostic
programs . . . . . . . . . . . . . .61
Calling for service . . . . . . . . . . .61
Using other services . . . . . . . . . .62
Purchasing additional services . . . . . . .62
Appendix A. Manual modem
commands . . . . . . . . . . . . .63
Basic AT commands . . . . . . . . . . .63
Extended AT commands . . . . . . . . . .65
MNP/V.42/V.42bis/V.44 commands . . . . . .66
Fax Class 1 commands . . . . . . . . . .67
Fax Class 2 commands . . . . . . . . . .67
Voice commands . . . . . . . . . . . . .68
Appendix B. Notices . . . . . . . . .71
Television output notice . . . . . . . . . .72
Trademarks . . . . . . . . . . . . . .72
Index . . . . . . . . . . . . . . .73
iv User Guide

Important safety information
Note
Please read important safety information first.
This information can help you safely use your desktop or notebook personal
computer. Follow and retain all information included with your computer. The
information in this document does not alter the terms of your purchase agreement
or the Lenovo
™
Limited Warranty. For more information, refer to the safety and
warranty information that is provided with your computer..
Customer safety is important. Our products are developed to be safe and effective.
However, personal computers are electronic devices. Power cords, power adapters,
and other features can create potential safety risks that can result in physical injury
or property damage, especially if misused. To reduce these risks, follow the
instructions included with your product, observe all warnings on the product and
in the operating instructions, and review the information included in this
document carefully. By carefully following the information contained in this
document and provided with your product, you can help protect yourself from
hazards and create a safer computer work environment.
Note: This information includes references to power adapters and batteries. In
addition to notebook computers, some products (such as speakers and
monitors) ship with external power adapters. If you have such a product,
this information applies to your product. In addition, computer products
contain a coin-sized internal battery that provides power to the system clock
even when the computer is unplugged, so the battery safety information
applies to all computer products.
Conditions that require immediate action
Products can become damaged due to misuse or neglect. Some product damage
is serious enough that the product should not be used again until it has been
inspected and, if necessary, repaired by an authorized servicer.
As with any electronic device, pay close attention to the product when it is
turned on. On very rare occasions, you might notice an odor or see a puff of
smoke or sparks vent from your product. Or you might hear sounds like
popping, cracking, or hissing. These conditions might merely mean that an
internal electronic component has failed in a safe and controlled manner. Or,
they might indicate a potential safety issue. However, do not take risks or
attempt to diagnose the situation yourself. Contact the Customer Support Center
for further guidance. For a list of Service and Support phone numbers, see refer
to the safety and warranty information that is provided with your computer.
Frequently inspect your computer and its components for damage, wear, or signs
of danger. If you have any question about the condition of a component, do not
use the product. Contact the Customer Support Center or the product
manufacturer for instructions on how to inspect the product and have it
repaired, if necessary.
© Lenovo 2006, 2007. Portions © IBM Corp. 2005. v

In the unlikely event that you notice any of the following conditions, or if you
have any safety concerns with your product, stop using the product and unplug
it from the power source and telecommunication lines until you can speak to the
Customer Support Center for further guidance. See Chapter 8, “Getting
information, help, and service,” on page 59.
v Power cords, plugs, power adapters, extension cords, surge protectors, or power
supplies that are cracked, broken, or damaged.
v Signs of overheating, smoke, sparks, or fire.
v Damage to a battery (such as cracks, dents, or creases), discharge from a battery,
or a buildup of foreign substances on the battery.
v A cracking, hissing, or popping sound, or strong odor that comes from the
product.
v Signs that liquid has been spilled or an object has fallen onto the computer
product, the power cord, or power adapter.
v The computer product, power cord, or power adapter has been exposed to
water.
v The product has been dropped or damaged in any way.
v The product does not operate normally when you follow the operating
instructions.
Note: If you notice these conditions with a product (such as an extension cord)
that is not manufactured for or by Lenovo, stop using that product until you
can contact the product manufacturer for further instructions, or until you
get a suitable replacement.
General safety guidelines
Always observe the following precautions to reduce the risk of injury and property
damage.
Service and upgrades
Do not attempt to service a product yourself unless instructed to do so by the
Customer Support Center or your documentation. Only use a service provider who
is approved to repair your particular product.
Note: Some computer parts can be upgraded or replaced by the customer.
Upgrades typically are referred to as options. Replacement parts approved
for customer installation are referred to as Customer Replaceable Units, or
CRUs. Lenovo provides documentation with instructions when it is
appropriate for customers to install options or replace CRUs. You must
closely follow all instructions when installing or replacing parts. The Off
state of a power indicator does not necessarily mean that voltage levels
inside a product are zero. Before you remove the covers from a product
equipped with an ac power cord, always make sure that the power is turned
off and that the product is unplugged from any power source. For more
information on CRUs, refer to the User Guide for this product. If you have
any questions or concerns, contact the Customer Support Center.
Although there are no moving parts in your computer after the power cord has
been disconnected, the following warnings are required for your safety.
vi User Guide

Danger
Hazardous moving parts. Keep fingers and other body parts away.
Attention
Before replacing any CRUs, turn off the computer and wait three to five
minutes to let the computer cool before opening the cover.
Static electricity prevention
Static electricity, although harmless to you, can seriously damage computer
components and options. Improper handling of static-sensitive parts can cause
damage to the part. When you unpack an option or CRU, do not open the
static-protective package containing the part until the instructions direct you to
install it.
When you handle options or CRUs, or perform any work inside the computer, take
the following precautions to avoid static-electricity damage:
v Limit your movement. Movement can cause static electricity to build up around
you.
v Always handle components carefully. Handle adapters, memory modules, and
other circuit boards by the edges. Never touch exposed circuitry.
v Prevent others from touching components.
v When you install a static-sensitive option or CRU, touch the static-protective
package containing the part to a metal expansion-slot cover or other unpainted
metal surface on the computer for at least two seconds. This reduces static
electricity in the package and your body.
v When possible, remove the static-sensitive part from the static-protective
packaging and install the part without setting it down. When this is not
possible, place the static-protective packaging on a smooth, level surface and
place the part on it.
v Do not place the part on the computer cover or other metal surface.
Power cords and power adapters
Use only the power cords and power adapters supplied by the product
manufacturer.
Important safety information vii
The power cords shall be safety approved. For Germany, it shall be H05VV-F, 3G,
0.75 mm
2
, or better. For other countries, the suitable types shall be used
accordingly.
Never wrap a power cord around a power adapter or other object. Doing so can
stress the cord in ways that can cause the cord to fray, crack, or crimp. This can
present a safety hazard.
Always route power cords so that they will not be walked on, tripped over, or
pinched by objects.
Protect power cord and power adapters from liquids. For instance, do not leave
your power cord or power adapter near sinks, tubs, toilets, or on floors that are
cleaned with liquid cleansers. Liquids can cause a short circuit, particularly if the
power cord or power adapter has been stressed by misuse. Liquids also can cause
gradual corrosion of power cord terminals and/or the connector terminals on a
power adapter, which can eventually result in overheating.
Always connect power cords and signal cables in the correct order and ensure that
all power cord connectors are securely and completely plugged into receptacles.
Do not use any power adapter that shows corrosion at the ac input pins or shows
signs of overheating (such as deformed plastic) at the ac input or anywhere on the
power adapter.
Do not use any power cords where the electrical contacts on either end show signs
of corrosion or overheating or where the power cord appears to have been
damaged in any way.
Voltage-selection switch
Some computers are equipped with a voltage-selection switch located near the
power-cord connection point on the computer. If your computer has a
voltage-selection switch, ensure that you set the switch to match the voltage
available at your electrical outlet. Setting the voltage-selection switch incorrectly
can cause permanent damage to the computer.
If your computer does not have a voltage-selection switch, your computer is
designed to operate only at the voltage provided in the country or region where
the computer was originally purchased.
If you relocate your computer to another country, be aware of the following:
v If your computer does not have a voltage-selection switch, do not connect the
computer to an electrical outlet until you have verified that the voltage provided
is the same as it was in the country or region where the computer was originally
purchased.
v If your computer has a voltage selection switch, do not connect the computer to
an electrical outlet until you have verified that the voltage-selection switch is set
to match the voltage provided in that country or region.
If you are not sure of the voltage provided at your electrical outlet, contact your
local electric company or refer to official Web sites or other literature for travelers
to the country or region where you are located.
viii User Guide
Extension cords and related devices
Ensure that extension cords, surge protectors, uninterruptible power supplies, and
power strips that you use are rated to handle the electrical requirements of the
product. Never overload these devices. If power strips are used, the load should
not exceed the power strip input rating. Consult an electrician for more
information if you have questions about power loads, power requirements, and
input ratings.
Plugs and outlets
If a receptacle (power outlet) that you intend to use with your computer
equipment appears to be damaged or corroded, do not use the outlet until it is
replaced by a qualified electrician.
Do not bend or modify the plug. If the plug is damaged, contact the manufacturer
to obtain a replacement.
Do not share an electrical outlet with other home or commercial appliances that
draw large amounts of electricity; otherwise, unstable voltage might damage your
computer, data, or attached devices.
Some products are equipped with a three-pronged plug. This plug fits only into a
grounded electrical outlet. This is a safety feature. Do not defeat this safety feature
by trying to insert it into a non-grounded outlet. If you cannot insert the plug into
the outlet, contact an electrician for an approved outlet adapter or to replace the
outlet with one that enables this safety feature. Never overload an electrical outlet.
The overall system load should not exceed 80 percent of the branch circuit rating.
Consult an electrician for more information if you have questions about power
loads and branch circuit ratings.
Be sure that the power outlet you are using is properly wired, easily accessible,
and located close to the equipment. Do not fully extend power cords in a way that
will stress the cords.
Be sure that the power outlet provides the correct voltage and current for the
product you are installing.
Carefully connect and disconnect the equipment from the electrical outlet.
External devices
Do not connect or disconnect any external device cables other than USB and 1394
cables while the computer power is on; otherwise, you might damage your
computer. To avoid possible damage to attached devices, wait at least five seconds
after the computer is shut down to disconnect external devices.
Batteries
All personal computers manufactured by Lenovo contain a non-rechargeable coin
cell battery to provide power to the system clock. In addition, many mobile
products, such as notebook computers, utilize a rechargeable battery pack to
provide system power when in portable mode. Batteries supplied by Lenovo for
use with your product have been tested for compatibility and should only be
replaced with approved parts.
Important safety information ix
Never attempt to open or service any battery. Do not crush, puncture, or incinerate
batteries or short circuit the metal contacts. Do not expose the battery to water or
other liquids. Only recharge the battery pack strictly according to instructions
included in the product documentation.
Battery abuse or mishandling can cause the battery to overheat, which can cause
gasses or flame to “vent” from the battery pack or coin cell. If your battery is
damaged, or if you notice any discharge from your battery or the buildup of
foreign materials on the battery leads, stop using the battery and obtain a
replacement from the battery manufacturer.
Batteries can degrade when they are left unused for long periods of time. For some
rechargeable batteries (particularly Lithium Ion batteries), leaving a battery unused
in a discharged state could increase the risk of a battery short circuit, which could
shorten the life of the battery and can also pose a safety hazard. Do not let
rechargeable Lithium-Ion batteries completely discharge or store these batteries in a
discharged state.
Heat and product ventilation
Computers, AC adapters, and many accessories can generate heat when turned on
and when batteries are charging. Always follow these basic precautions:
v Do not leave your computer, AC adapter, or accessories in contact with your lap
or any part of your body for an extended period when the products are
functioning or when the battery is charging. Your computer, AC adapter, and
many accessories produce some heat during normal operation. Extended contact
with the body could cause discomfort or, potentially, a skin burn.
v Do not charge the battery or operate your computer, AC adapter, or accessories
near flammable materials or in explosive environments.
v Ventilation slots, fans, and heat sinks are provided with the product for safety,
comfort, and reliable operation. These features might inadvertently become
blocked by placing the product on a bed, sofa, carpet, or other flexible surface.
Never block, cover, or disable these features.
Inspect your desktop computer for dust accumulation at least once every three
months. Before inspecting your computer, turn off the power and unplug the
computer’s power cord from the electrical outlet; then remove any dust from vents
and perforations in the bezel. If you notice external dust accumulation, then
examine and remove dust from the inside of the computer including heat sink inlet
fins, power supply vents, and fans. Always turn off and unplug the computer
before opening the cover. If possible, avoid operating your computer within 2 feet
of high-traffic areas. If you must operate your computer in or near a high-traffic
area, inspect and, if necessary, clean your computer more frequently.
For your safety and to maintain optimum computer performance, always follow
these basic precautions with your desktop computer:
v Keep the cover closed whenever the computer is plugged in.
v Regularly inspect the outside of the computer for dust accumulation.
v Remove dust from vents and any perforations in the bezel. More frequent
cleanings might be required for computers in dusty or high-traffic areas.
v Do not restrict or block any ventilation openings.
v Do not store or operate your computer inside furniture, as this might increase
the risk of overheating.
v Airflow temperatures into the computer should not exceed 35° C (95° F).
x User Guide

v Do not use non-desktop air filtration devices.
Operating environment
The optimal environment in which to use your computer is 10°C-35°C (50°F-95°F)
with humidity ranging between 35% and 80%. If your computer is stored or
transported in temperatures less than 10°C (50°F), allow the cold computer to rise
slowly to an optimal operating temperature of 10°C-35°C (50°F-95°F) before use.
This process could take two hours in extreme conditions. Failure to allow your
computer to rise to an optimal operating temperature before use could result in
irreparable damage to your computer.
If possible, place your computer in a well-ventilated and dry area without direct
exposure to sunshine.
Keep electrical appliances such as an electric fan, radio, high-powered speakers, air
conditioner, and microwave oven away from your computer because the strong
magnetic fields generated by these appliances can damage the monitor and data on
the hard disk drive.
Do not place any beverages on top of or beside the computer or other attached
devices. If liquid is spilled on or in the computer or an attached device, a short
circuit or other damage might occur.
Do not eat or smoke over your keyboard. Particles that fall into your keyboard can
cause damage.
Electrical current safety information
Danger
Electrical current from power, telephone, and communication cables is
hazardous.
To avoid a shock hazard:
v To prevent possible shock hazard, do not use your computer during a
lightning storm.
v Do not connect or disconnect any cables or perform installation, maintenance,
or reconfiguration of this product during an electrical storm.
v Connect all power cords to a properly wired and grounded electrical outlet.
v Connect to properly wired outlets any equipment that will be attached to this
product.
v When possible, use one hand only to connect or disconnect signal cables.
v Never turn on any equipment when there is evidence of fire, water, or
structural damage.
v Disconnect the attached power cords, telecommunications systems, networks,
and modems before you open the device covers, unless instructed otherwise
in the installation and configuration procedures.
v Connect and disconnect cables as described in the following table when
installing, moving, or opening covers on this product or attached devices.
Important safety information xi

To connect:
1. Turn everything OFF.
2. First, attach all cables to devices.
3. Attach signal cables to connectors.
4. Attach power cords to outlet.
5. Turn device ON.
To disconnect:
1. Turn everything OFF.
2. First, remove power cords from outlet.
3. Remove signal cables from connectors.
4. Remove all cables from devices.
Lithium battery notice
Caution
Danger of explosion if battery is incorrectly replaced.
When replacing the lithium coin cell battery, use only the same or an equivalent
type that is recommended by the manufacturer. The battery contains lithium and
can explode if not properly used, handled, or disposed of.
Do not:
v Throw or immerse into water
v Heat to more than 100°C (212°F)
v Repair or disassemble
Dispose of the battery as required by local ordinances or regulations.
The following statement applies to users in the state of California, U.S.A.
Perchlorate material: Special handling may apply. See
www.dtsc.ca.gov/hazardouswaste/perchlorate.
Modem safety information
Caution
To reduce the risk of fire, use only No. 26 AWG or larger
telecommunication line cord.
To reduce the risk of fire, electrical shock, or injury when using telephone
equipment, always follow basic safety precautions, such as:
v Never install telephone wiring during a lightning storm.
v Never install telephone jacks in wet locations unless the jack is specifically
designed for wet locations.
v Never touch uninsulated telephone wires or terminals unless the telephone line
has been disconnected at the network interface.
v Use caution when installing or modifying telephone lines.
v Avoid using a telephone (other than a cordless type) during an electrical storm.
There may be a remote risk of electric shock from lightning.
v Do not use the telephone to report a gas leak in the vicinity of the leak.
xii User Guide

Laser compliance statement
Some personal computer models are equipped from the factory with a CD or DVD
drive. CD and DVD drives are also sold separately as options. CD and DVD drives
are laser products. These drives are certified in the U.S. to conform to the
requirements of the Department of Health and Human Services 21 Code of Federal
Regulations (DHHS 21 CFR) Subchapter J for Class 1 laser products. Elsewhere,
these drives are certified to conform to the requirements of the International
Electrotechnical Commission (IEC) 60825-1 and CENELEC EN 60 825-1 for Class 1
laser products.
When a CD or DVD drive is installed, note the following handling instructions.
Caution
Use of controls or adjustments or performance of procedures other than
those specified herein might result in hazardous radiation exposure.
Do not remove the drive covers. Removing the covers of the CD or DVD drive
could result in exposure to hazardous laser radiation. There are no serviceable
parts inside the CD or DVD drive.
Some CD and DVD drives contain an embedded Class 3A or Class 3B laser diode.
Note the following statement.
Danger
Laser radiation when open. Do not stare into the beam, do not view
directly with optical instruments, and avoid direct exposure to the beam.
Power supply statement
Never remove the cover on a power supply or any part that has the following
label attached.
Hazardous voltage, current, and energy levels are present inside any component
that has this label attached. There are no serviceable parts inside these components.
If you suspect a problem with one of these parts, contact a service technician.
Products with television tuner options installed
The notice below applies to products containing television (TV) tuner devices that
connect to external antennas or to cable/CATV systems, or both, and that are
intended to be installed in North America. Users and installers in other countries
should follow local codes and ordinances when installing appliances that connect
to external antennas and cable/CATV systems. If local codes are not applicable, it
is recommended that users/installers follow guidelines similar to those that follow.
Important safety information xiii

Note to CATV system installer
This reminder is provided to call the CATV system installer's attention to Article
820-40 of the National Electrical Code (NEC) that provides guidelines for proper
grounding and, in particular, specifies that the cable ground shall be connected to
the grounding system of the building, as close as possible to the point of cable
entry as practical.
Example of antenna grounding
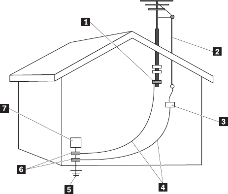
1 Ground clamp 5 Power service grounding electrode system (NEC
Article 250, Part H)
2 Antenna lead-in wire 6 Ground clamps
3 Antenna discharge unit (NEC
Section 810-20)
7 Electronic service equipment
4 Grounding conductors (NEC
Section 810-21
Figure 1. Proper grounding for the cable
xiv User Guide

The following notice applies to all countries and regions:
Danger
Outdoor antenna grounding
If an outside antenna or cable system is connected to the
equipment, be sure the antenna or cable system is grounded as to
provide some protection against voltage surges and built-up static
charges.
Lightning
For added protection for this equipment during a lightning storm,
or when it is left unattended and unused for long periods of time,
unplug it from the wall outlet and disconnect the antenna or cable
system. This will prevent damage to the video product due to
lightning and power line surges.
Power lines
An outside antenna system should not be located in the vicinity of
overhead power lines or where it can fall into such power lines or
circuits. When installing an outside antenna system, extreme care
should be taken to keep from touching such power lines or circuits,
as contact with them may be fatal.
Data safety
Do not delete unknown files or change the name of files or directories that were
not created by you; otherwise, your computer software might fail to work.
Be aware that accessing network resources can leave your computer vulnerable to
computer viruses, hackers, spyware, and other malicious activities that might
damage your computer, software, or data. It is your responsibility to ensure that
you have adequate protection in the form of firewalls, antivirus software, and
anti-spyware software and keep this software up to date.
Cleaning and maintenance
Keep your computer and workspace clean. Shut down the computer and then
disconnect the power cord before cleaning the computer. Do not spray any liquid
detergent directly on the computer or use any detergent containing flammable
material to clean the computer. Spray the detergent on a soft cloth and then wipe
the computer surfaces.
Using headphones or earphones
If your computer has both a headphone connector and an audio-out connector,
always use the headphone connector for headphones (also called a headset) or
earphones.
Excessive use of headphones or earphones for a long period of time at high
volume can be dangerous if the headphones or earphones do not comply with
specifications of EN 50332-2. The headphone output connector of your computer
Important safety information xv

complies with EN 50332-2 Sub clause 5.1. This specification limits the computer’s
maximum wide band true RMS output voltage to 150mV. To help protect against
hearing loss, ensure that the headphones or earphones you use also comply with
EN 50332-2 (Sub clause 6.1) for a wide band characteristic voltage of 75mV. Using
headphones that do not comply with EN 50332-2 can be dangerous due to
excessive sound pressure levels.
If your Lenovo computer came with headphones or earphones in the package, as a
set, the combination of the headphones or earphones and the computer already
complies with the specifications of EN 50332-1. If different headphones or
earphones are used, ensure that they comply with EN 50332-2. (Sub clause 6.1) for
a wide band characteristic voltage of 75mV. Using headphones that do not comply
with EN 50332-2 can be dangerous due to excessive sound pressure levels.
Additional safety information
Plastic bags can be dangerous. Keep plastic bags away from babies and children to
avoid danger of suffocation.
xvi User Guide

Introduction
This User Guide contains the following information:
v Chapter 1, “Arranging your workspace,” on page 1 provides information about
setting up your computer for comfort and the impact of light sources, air
circulation, and electrical outlets.
v Chapter 2, “Setting up your computer,” on page 3 provides information about
setting up your computer and software and operating system installation.
v Chapter 3, “Installing options,” on page 11 provides information on the features
and options that are available for your computer.
v Chapter 4, “Recovering software,” on page 39 provides instructions on how to
use the ThinkVantage
®
Rescue and Recovery
™
program to create product
recovery disks, back up data, recover software, and restore the entire contents of
your hard disk to a previously saved state.
v Chapter 5, “Using the Setup Utility,” on page 47 provides instructions on how to
view and change the configuration settings of your computer.
v Chapter 6, “Updating system programs,” on page 51 provides information about
updating POST/BIOS and how to recover from a POST/BIOS update failure.
v Chapter 7, “Troubleshooting and diagnostics,” on page 53 provides information
about basic troubleshooting and diagnostic tools for your computer.
v Chapter 8, “Getting information, help, and service,” on page 59 provides
information about the wide variety of helpful resources available from Lenovo.
v Appendix A, “Manual modem commands,” on page 63 provides commands for
manually programming your modem.
v Appendix B, “Notices,” on page 71 provides notices and trademark information.
© Lenovo 2006, 2007. Portions © IBM Corp. 2005. xvii
xviii User Guide

Chapter 1. Arranging your workspace
To get the most from your computer, arrange both the equipment you use and
your work area to suit your needs and the kind of work you do. Your comfort is of
foremost importance, but light sources, air circulation, and the location of electrical
outlets also can affect the way you arrange your workspace.
Comfort
Although no single working position is ideal for everyone, here are a few
guidelines to help you find a position that suits you best.
Sitting in the same position for a long time can cause fatigue. A good chair can
make a big difference. The backrest and seat should adjust independently and
provide good support. The seat should have a curved front to relieve pressure on
the thighs. Adjust the seat so that your thighs are parallel to the floor and your
feet are either flat on the floor or on a footrest.
When using the keyboard, keep your forearms parallel to the floor and your wrists
in a neutral, comfortable position. Try to keep a light touch on the keyboard and
your hands and fingers relaxed. You can change the angle of the keyboard for
maximum comfort by adjusting the position of the keyboard feet.
Viewing Distance
Lower
Back
Support
Seat
Height
Adjust the monitor so the top of the screen is at, or slightly below, eye level. Place
the monitor at a comfortable viewing distance, usually 51 to 61 cm (20 to 24 in.),
and position it so you can view it without having to twist your body. Also position
other equipment you use regularly, such as the telephone or a mouse, within easy
reach.
© Lenovo 2006, 2007. Portions © IBM Corp. 2005. 1

Glare and lighting
Position the monitor to minimize glare and reflections from overhead lights,
windows, and other light sources. Even reflected light from shiny surfaces can
cause annoying reflections on your monitor screen. Place the monitor at right
angles to windows and other light sources, when possible. Reduce overhead
lighting, if necessary, by turning off lights or using lower wattage bulbs. If you
install the monitor near a window, use curtains or blinds to block the sunlight. You
might have to adjust the brightness and contrast controls on the monitor as the
room lighting changes throughout the day.
Where it is impossible to avoid reflections or to adjust the lighting, an antiglare
filter placed over the screen might be helpful. However, these filters might affect
the clarity of the image on the screen; try them only after you have exhausted
other methods of reducing glare.
Dust buildup compounds problems associated with glare. Remember to clean your
monitor screen periodically using a soft cloth moistened with a nonabrasive liquid
glass cleaner.
Air circulation
Your computer and monitor produce heat. The computer has a fan that pulls in
fresh air and forces out hot air. The monitor lets hot air escape through vents.
Blocking the air vents can cause overheating, which might result in a malfunction
or damage. Place the computer and monitor so that nothing blocks the air vents;
usually, 51 mm (2 in.) of air space is sufficient. Also, make sure the vented air is
not blowing on someone else.
Electrical outlets and cable lengths
The location of electrical outlets and the length of power cords and cables that
connect to the monitor, printer, and other devices might determine the final
placement of your computer.
When arranging your workspace:
v Avoid the use of extension cords. When possible, plug the computer power cord
directly into an electrical outlet.
v Keep power cords and cables neatly routed away from walkways and other
areas where they might get kicked accidentally.
For more information about power cords, see “Power cords and power adapters”
on page vii and the safety and warranty information that is provided with your
computer.
2 User Guide

Chapter 2. Setting up your computer
Before you begin, make sure you set up your computer in the best possible work
area that suits your needs and the kind of work you do. For more information,
refer to Chapter 1, “Arranging your workspace,” on page 1.
Note: Read “Important safety information” on page v“Important safety
information” on page v before you set up your computer. The precautions
and guidelines will help you work safely.
Connecting your computer
Use the following information when connecting your computer. Look for the small
connector icons on the back of your computer.
Important
Setting the voltage-selection switch incorrectly can cause permanent damage
to the computer.
If you are not sure of the voltage provided at your electrical outlet, contact
your local electric company or refer to official Web sites or other literature for
travelers to the country or region where you are located.
Note: Your computer might not have all of the switches or connectors described in
this section.
If your computer cables and connector panel have color-coded connectors, match
the color of the cable end with the color of the connector. For example, match a
blue cable end with a blue connector or a red cable end with a red connector.
1. Some models are equipped with a voltage-selection switch located near the
power-cord connection point on the computer.
If your computer has a voltage-selection switch, ensure that you set the
voltage-selection switch to match the voltage available at your electrical outlet.
If necessary, use a ballpoint pen to slide the switch to a different position.
v If the voltage supply range in your local country or region is 100–127 V ac,
set the switch to 115 V.
v If the voltage supply range is in your local country or region is 200–240 V
ac, set the switch to 230 V.
115
© Lenovo 2006, 2007. Portions © IBM Corp. 2005. 3

If your computer does not have a voltage selection switch, it is designed to
operate only at the voltage provided in the country or region where it was
originally purchased. Continue with step 2.
2. Your keyboard cable might have a standard keyboard connector 1 or a
Universal Serial Bus (USB) connector 2. Connect the keyboard cable to the
appropriate keyboard connector.
Note: Some models will have keyboards with a fingerprint reader. After you
setup and turn on your computer, refer to the Access Help online help
system for information about your fingerprint reader. See “Access
Help” on page 60 for instructions on how to open the online help
system.
3. Your mouse cable might have a standard mouse connector 1 or a USB
connector 2. Connect the mouse cable to the appropriate mouse connector.
4. Connect the monitor cable to the monitor connector on the computer.
v If you have a Video Graphics Array (VGA) Standard monitor, connect the
cable to the connector as shown.
Note: If your model has two monitor connectors, be sure to use the
connector on the accelerated graphics port (AGP) adapter.
4 User Guide

v If you have a digital video interface (DVI) monitor, connect the cable to the
connector as shown.
Note: Your computer must have an adapter installed that supports the DVI
monitor.
5. If you have a modem, connect the modem using the following information.
LINE
PHONE
PHONE
LINE
PHONE
LINE
PHONE
LINE
1 This illustration shows the two connections on the back of the computer that are
needed to set up your modem.
2 In the United States and other countries or regions that use the RJ-11 telephone
outlet, attach one end of the telephone cable to the telephone and the other end to
the telephone connector on the back of the computer. Attach one end of the modem
cable to the modem connector on the back of the computer and the other end to the
telephone outlet.
3 In countries or regions that do not use RJ-11 telephone outlets, a splitter or converter
is required to attach the cables to the telephone outlet, as shown at the top of the
illustration. You also can use the splitter or converter without the telephone, as
shown at the bottom of the illustration.
Chapter 2. Setting up your computer 5

6. If you have audio devices, attach them using the following instructions. For
more information about speakers, see steps 7 and 8 on page 7.
1 Audio line-in This connector receives audio signals from an external audio device,
such as a stereo system.
2 Audio line-out This connector sends audio signals from the computer to external
devices, such as powered stereo speakers.
3 Microphone Use this connector to attach a microphone to your computer when
you want to record sound or if you use speech-recognition software.
4 Headphone Use this connector to attach headphones to your computer when you
want to listen to music or other sounds without disturbing anyone.
This connector might be located on the front of the computer.
7. If you have powered speakers with an ac adapter, use the following
instructions.
a. Connect the cable that runs between the speakers, if necessary. On some
speakers, this cable is permanently attached.
b. Connect the ac adapter cable to the speaker.
c. Connect the speakers to the computer.
d. Connect the ac adapter to the ac power source.
6 User Guide

8. If you have unpowered speakers with no ac adapter, use the following
instructions.
a. Connect the cable that runs between the speakers, if necessary. On some
speakers, this cable is permanently attached.
b. Connect the speakers to the computer.
9. Connect any additional devices that you have. Your computer might not have
all connectors that are shown.
1394
1394
1 USB Use this connector to attach a device that requires a USB connection,
such as a keyboard, mouse, scanner, printer, or personal digital
assistant (PDA).
2 Serial Use this connector to attach an external modem, serial printer, or
other device that uses a 9-pin serial connector.
3 S-video Use this connector to attach a television set that has an S-Video
connector. This connector is present on some high-performance video
adapters.
4 Parallel Use this connector to attach a parallel printer or any other device that
requires a 25-pin parallel connection.
5 Ethernet Use this connector to attach the computer to an Ethernet-type local
area network or to a cable modem.
Important: To operate the computer within FCC limits when it is
connected to an Ethernet network, use a Category 5 Ethernet cable.
6 MIDI/joystick Use this connector to attach a joystick, gamepad, or a musical
instrument digital interface (MIDI) device such as a MIDI keyboard.
7 IEEE 1394 This connector is sometimes called Firewire because it transmits data
rapidly. There are two types of IEEE 1394 connectors: the 4-pin and
the 6-pin. IEEE 1394 offers connection to several types of consumer
electronics, including digital audio devices and scanners.
Chapter 2. Setting up your computer 7

10. Connect the power cords to properly grounded electrical outlets.
Note: Refer to the Access Help online help system for more information about
connectors. See “Access Help” on page 60 for instructions on how to open
the online help system.
Turning on power
Turn on the monitor and other external devices first, and then turn on the
computer. When the power-on self-test (POST) is finished, the logo window closes.
If your computer has preinstalled software, the software installation program
starts.
If you experience any problems during startup, see Chapter 7, “Troubleshooting
and diagnostics,” on page 53. For additional help, refer to Chapter 8, “Getting
information, help, and service,” on page 59. You can get help and information by
telephone through the Customer Support Center. Refer to the safety and warranty
information that is provided with your computer for the Service and Support
worldwide telephone list.
Finishing the software installation
Important
Read the license agreements carefully before using the programs on this
computer. These agreements detail your rights, obligations, and warranties for
the software on this computer. By using these programs, you accept the terms
of the agreements. If you do not accept the agreements, do not use the
programs. Instead, promptly return the entire computer for a full refund.
After you start the computer for the first time, follow the instructions on the screen
to complete the software installation. If you do not complete the software
installation the first time the computer is turned on, unpredictable results might
occur. When the installation is complete, refer to the Access Help online help
system to learn more about your computer. See “Access Help” on page 60 for
instructions on how to open the online help system.
Note: Some models might have a multilingual version of the Microsoft
®
Windows
®
operating system preinstalled. If your computer has the
multilingual version, you will be prompted to choose a language during the
initial installation process. After installation, the language version can be
changed through the Windows Control Panel.
8 User Guide

Completing important tasks
After you have set up your computer, perform the following tasks, which will save
you time and trouble later:
v Create a diagnostic CD image, diagnostic diskettes, or rescue media. Diagnostic
programs are used to test hardware components of your computer and report
operating-system-controlled settings that can cause hardware failures. Making a
diagnostic CD image, diagnostic diskettes, or rescue media ahead of time assures
that you will be able to run diagnostics if the Rescue and Recovery workspace
becomes inaccessible. For more information, see “PC-Doctor for DOS” on page
55 or “PC-Doctor for Windows PE” on page 57.
v Record your computer machine type, model, and serial number. If you need
service or technical support, you will probably be asked for this information. For
further information, see the safety and warranty information that is provided
with your computer.
Updating your operating system
Microsoft makes updates available for various operating systems through the
Microsoft Windows Update Web site. The Web site automatically determines what
Windows updates are available for your specific computer and lists those updates
only. Updates could include security fixes, new versions of Windows components
(such as media player), fixes to other portions of the Windows operating system,
or enhancements.
Refer to the Access Help online help system for more information about updating
your operating system. See “Access Help” on page 60 for instructions on how to
open the online help system.
Installing other operating systems
If you install your own operating system, follow the instructions that come with
your operating system CDs or diskettes. Remember to install all device drivers
after you install your operating system. Installation instructions are usually
provided with the device drivers.
Updating your antivirus software
Your computer comes with antivirus software you can use to detect and eliminate
viruses. Lenovo provides a full version of antivirus software on your hard disk
with a free 90-day subscription. After 90 days, you must get a new virus definition.
Refer to the Access Help online help system for more information about updating
your antivirus software. See “Access Help” on page 60 for instructions on how to
open the online help system.
Shutting down the computer
When you are ready to turn off your computer, always follow the shutdown
procedure for your operating system. This prevents the loss of unsaved data or
damage to your software programs. To shut down the Microsoft Windows
operating system, open the Start menu from the Windows desktop, click Shut
Down. Select Shut Down from the drop down menu and click OK.
Chapter 2. Setting up your computer 9
10 User Guide

Chapter 3. Installing options
This chapter provides an introduction to the features and options that are available
for your computer. You can expand the capabilities of your computer by adding
memory, adapters, or drives. When installing an option, use these instructions
along with the instructions that come with the option.
Note: Use only parts provided by Lenovo.
Important
Before you install or remove any option, read “Important safety information”
on page v. These precautions and guidelines will help you work safely.
Features
This section provides an overview of the computer features and preinstalled
software.
System information
The following information covers a variety of models. For information for
your specific model, refer to the Setup Utility program. See Chapter 5, “Using
the Setup Utility,” on page 47.
Microprocessor (varies by model type)
v Intel
®
Pentium
®
D processor
v Intel Pentium 4 processor with HyperThreading Technology
© Lenovo 2006, 2007. Portions © IBM Corp. 2005. 11
v Intel Pentium 4 processor
v Intel Celeron
®
D processor
v AMD Athlon 64
v AMD Sempron
v Internal cache (size varies by model type)
Memory
v Support for two double data rate 2 (DDR2) dual inline memory modules
(DIMMs)
v 512 KB flash memory for system programs
Internal drives
v 3.5-inch, slim, 1.44 MB diskette drive
v Serial Advanced Technology Attachment (SATA) internal hard disk drive
v Optical drive (some models)
Video subsystem
PCI Express x16 graphics adapter connector on the system board
Audio subsystem
v High-definition ADI 1986 Audio Codec
v Microphone and headphone connectors on the front panel
v Line in, line out, and microphone in connectors on the rear panel
v Mono internal speaker (some models)
Connectivity
v 10/100 Mbps integrated Ethernet controller that support for the Wake on LAN
®
feature (some models)
v 10/100/1000 Mbps integrated Ethernet controller (some models)
v PCI V.90 Data/Fax modem (some models)
System management features
v Remote Program Load (RPL) and Dynamic Host Configuration Protocol (DHCP)
v Wake on LAN
v Wake on Ring (in the Setup Utility program, this feature is called Serial Port
Ring Detect for an external modem)
v Remote Administration
v Automatic power-on startup
v System Management (SM) BIOS and SM software
v Ability to store power-on self-test (POST) hardware test results
Input/output features
v 25-pin, Extended Capabilities Port (ECP)/Extended Parallel Port (EPP)
v 9-pin serial connector
v Six 4-pin, USB connectors (two on front panel and four on rear panel)
v Standard mouse connector
v Standard keyboard connector
v Ethernet connector
12 User Guide

v VGA monitor connector
v Audio connectors (see Audio subsystem)
Expansion
v Four drive bays
v Two standard PCI adapter connectors
v One PCI Express x1 adapter connector
v One PCI Express x16 graphics adapter connector (some models)
Power
v 250 Watt power supply with manual voltage selection switch (some models)
v 280 Watt power supply with manual voltage selection switch (some models)
v 310 Watt power supply with manual voltage selection switch (some models)
v Automatic 50/60 Hz input frequency switching
v Advanced Configuration and Power Interface (ACPI) support
Security features
v Keyboard with fingerprint reader (some models, use the ThinkVantage
Productivity Center program to find more information)
v User and administrator passwords for BIOS access
v Support for the addition of an integrated cable lock (Kensington lock) to secure
the cover
v Support for the addition of a padlock to secure the cover
v Startup sequence control
v Startup without diskette drive, keyboard, or mouse
v Unattended start mode
v Diskette and hard disk I/O control
v Serial and parallel port I/O control
v Security profile by device
Preinstalled software
Your computer might come with preinstalled software. If it does, an operating
system, device drivers to support built-in features, and other support programs are
included.
Operating systems preinstalled (varies by model type)
Note: Not all countries or regions will have these operating systems.
v Microsoft Windows XP Home
v Microsoft Windows XP Professional
v Microsoft Windows Vista
™
Operating systems certified or tested for compatibility
1
v Microsoft Windows 2000
v Linux
®
1. The operating systems listed here are being certified or tested for compatibility at the time this publication goes to press.
Additional operating systems might be identified by Lenovo as compatible with your computer following the publication of this
booklet. Corrections and additions to this list are subject to change. To determine if an operating system has been certified or
tested for compatibility, check the Web site of the operating system vendor.
Chapter 3. Installing options 13

Specifications
This section lists the physical specifications for your computer.
Dimensions
Height: 400 mm (15.7 in.)
Width: 175 mm (6.9 in.)
Depth: 432 mm (17.0 in.)
Weight
Minimum configuration: 8.17 kg (18 lb)
Maximum configuration: 10.21 kg (22.5 lb)
Environment
Air temperature:
System on: 10° to 35°C (50° to 95° F)
System off: 10° to 60°C (50° to 140° F)
Maximum altitude: 914 m (3000 ft)
Note: The maximum altitude, 914 m (3000 ft), is the maximum altitude at which the specified air
temperatures apply. At higher altitudes, the maximum air temperatures are lower than those specified.
Humidity:
System on: 10% to 80%
System off: 10% to 90%
Electrical input: Some models have a switchable power supply that supports both low and high input voltage
ranges. Some models do not have a switch and support only a low or high input voltage range. See
“Voltage-selection switch” on page viii for additional information.
Input voltage:
Low range:
Minimum: 100 V ac
Maximum: 127 V ac
Input frequency: 50/60 Hz
Voltage switch setting: 115 V ac (some models)
High range:
Minimum: 200 V ac
Maximum: 240 V ac
Input frequency: 50/60 Hz
Voltage switch setting: 230 V ac (some models)
Input kilovolt-amperes (kVA) (approximate):
Minimum configuration as shipped: 0.10 kVA
Maximum configuration: 0.31 kVA
14 User Guide

Available options
The following are some available options:
v External options
– Parallel port devices, such as printers and external drives
– Serial port devices, such as external modems and digital cameras
– Audio devices, such as external speakers for the sound system
– USB devices, such as printers, joysticks, and scanners
– Security device, such as a padlock
– Monitors
v
Internal options
– System memory, called dual inline memory modules (DIMMs)
– PCI adapters
– PCI Express x1 adapter
– PCI Express x16 adapter (some models)
– Internal drives, such as:
- Optical drives, such as CD and DVD drives
- Hard disk drive
- Diskette drives and other removable media drives
For the latest information about available options, see the Lenovo Web site at
http://www.lenovo.com or contact your reseller or marketing representative.
Tools required
To install some options in your computer, you might need a flat-blade or Phillips
screwdriver. Additional tools might be needed for certain options. See the
instructions that come with the option.
Chapter 3. Installing options 15

Handling static-sensitive devices
Static electricity, although harmless to you, can seriously damage computer
components and options.
When you add an option, do not open the static-protective package containing the
option until you are instructed to do so.
When you handle options and other computer components, take these precautions
to avoid static electricity damage:
v Limit your movement. Movement can cause static electricity to build up around
you.
v Always handle components carefully. Handle adapters and memory modules by
the edges. Never touch any exposed circuitry.
v Prevent others from touching components.
v When you install a new option, touch the static-protective package containing
the option to a metal expansion-slot cover or other unpainted metal surface on
the computer for at least two seconds. This reduces static electricity in the
package and your body.
v When possible, remove the option and install it directly in the computer without
setting the option down. When this is not possible, place the static-protective
package that the option came in on a smooth, level surface and place the option
on it.
v Do not place the option on the computer cover or other metal surface.
Installing external options
This section shows the various external connectors on your computer to which you
can attach external options, such as external speakers, a printer, or a scanner. For
some external options, you must install additional software in addition to making
the physical connection. When adding an external option, use the information in
this section to identify the required connector, and then use the instructions that
come with the option to help you make the connection and install any software or
device drivers that are required for the option.
16 User Guide

Locating the connectors on the front of your computer
The following illustration shows the locations of the connectors on the front of the
computer.
1 USB connector 3 Microphone connector
2 Headphone connector 4 USB connector
Chapter 3. Installing options 17

Locating the connectors on the rear of your computer
The following illustration shows the locations of the connectors on the rear of the
computer.
1 Power supply diagnostic
LEDs
10 Ethernet connector
2 Voltage selection switch
(some models)
11 USB connectors (2)
3 Power connector 12 Microphone connector
4 Standard mouse connector 13 Audio line out connector
5 Standard keyboard connector 14 Audio line in connector
6 Serial connector 15 PCI Express x1 or PCI Express x16 graphics
adapter connector
7 Parallel connector 16 PCI Express x1 or PCI Express x16 graphics
adapter connector
8 VGA monitor connector 17 PCI Adapter connector
9 USB connectors (2)
Note: Some connectors on the rear of the computer are color-coded to help you
determine where to connect the cables on your computer.
18 User Guide
Connector Description
Mouse connector Used to attach a mouse, trackball, or other pointing device that
uses a standard mouse connector.
Keyboard connector Used to attach a keyboard that uses a standard keyboard
connector.
Serial connector Used to attach an external modem, serial printer, or other
devices that use a 9-pin serial connector.
Parallel connector Used to attach a parallel printer, parallel scanner, or other
devices that use a 25-pin parallel connector.
USB connectors Used to attach a device that requires a Universal Serial Bus
(USB) connection, such as a USB scanner or USB printer. If you
have more than six USB devices, you can purchase a USB hub,
which you can use to connect additional USB devices.
Ethernet connector Used to attach an Ethernet cable for a local area network
(LAN).
Note: To operate the computer within FCC Class B limits, use
a Category 5 Ethernet cable.
Microphone connector Used to attach a microphone to your computer when you want
to record voice or other sounds on the hard disk if you use
speech-recognition software.
Audio line out connector Used to send audio signals from the computer to external
devices, such as powered stereo speakers (speakers with
built-in amplifiers), headphones, multimedia keyboards, or the
audio line in connector on a stereo system or other external
recording device.
Audio line in connector Used to receive audio signals from an external audio device,
such as a stereo system. When you attach an external audio
device, a cable is connected between the audio line out
connector of the device and the audio line in connector of the
computer.
Obtaining device drivers
You can obtain device drivers for operating systems that are not preinstalled at
http://www.lenovo.com/support/ on the World Wide Web. Installation
instructions are provided in README files with the device-driver files.
Chapter 3. Installing options 19

Removing the cover
Important
Read “Important safety information” on page v“Important safety
information” on page v and “Handling static-sensitive devices” on page 16
before removing the computer cover.
To remove the computer cover:
1. Remove any media (diskettes, CDs, or tapes) from the drives, shut down your
operating system, and turn off all attached devices and the computer.
2. Unplug all power cords from electrical outlets.
3. Disconnect all cables attached to the computer. This includes power cords,
input/output (I/O) cables, and any other cables that are connected to the
computer.
4. Remove any locking devices that secure the computer cover.
5. If the cover is secured by thumbscrews, remove them.
6. Press the cover-release button on the side of the cover and slide the computer
cover to the rear to remove.
20 User Guide

Locating components
The following illustration will help you locate the various components in your
computer.
1 Microprocessor fan and heat sink 4 PCI Express and PCI adapter
connectors
2 Memory modules 5 System fan
3 PCI adapter card 6 Power supply
Chapter 3. Installing options 21

Identifying parts on the system board
The system board (sometimes called the planar or motherboard) is the main circuit
board in your computer. It provides basic computer functions and supports a
variety of devices that are factory-installed or that you can install later.
The following illustration shows the locations of parts on the system board (some
models).
1 Microprocessor fan connector 12 Front panel connector
2 Microprocessor and heat sink 13 SATA IDE connectors (2)
3 Memory connector 1 14 Front panel USB connectors (2)
4 Memory connector 2 15 SATA IDE connector (2)
5 Clear CMOS/Recovery jumper 16 PCI adapter connectors
6 Power connector 17 Front audio connector
7 Diskette drive connector 18 CD-IN connector
8 IDE connector 1 19 PCI Express x16 graphics adapter
connector
9 IDE connector 2 20 PCI Express x1 adapter connector
10 Battery 21 System fan connector
11 Power fan connector 22 12v power connector
22 User Guide

The following illustration shows the locations of parts on the system board (some
models).
1 Microprocessor and heat sink 12 Front USB connectors (2)
2 Microprocessor fan connector 13 Serial (COM) connector
3 Memory connector 1 14 Front audio connector
4 Memory connector 2 15 CD-IN connector
5 Power connector 16 PCI adapter connectors (2)
6 Diskette drive connector 17 PCI Express x1 adapter connector
7 IDE connector 18 Battery
8 SATA IDE connectors (2) 19 PCI Express x16 graphics adapter
connector
9 Power fan connector 20 System fan connector
10 Front panel connector 21 12v power connector
11 Clear CMOS/Recovery jumper
Chapter 3. Installing options 23

The following illustration shows the locations of parts on the system board (some
models).
1 Microprocessor and heat sink 12 Front panel connector
2 Microprocessor fan connector 13 Front panel USB connectors (2)
3 Memory connector 1 14 Front audio connector
4 Memory connector 2 15 CD-IN connector
5 Diskette drive connector 16 PCI adapter connectors
6 Power connector 17 PCI Express x1 adapter connector
7 IDE connector 1 18 Battery
8 IDE connector 2 19 PCI Express x16 graphics adapter
connector
9 Power fan connector 20 System fan connector
10 SATA IDE connector (2) 21 12v power connector
11 Clear CMOS/Recovery jumper
24 User Guide

Installing memory
Your computer has two connectors for installing dual inline memory modules
(DIMMs) that provide up to a maximum of 4.0 GB of system memory.
When installing memory modules, the following rules apply:
v Use 1.8 V, 240-pin double data rate 2 synchronous dynamic random access
memory (DDR2 SDRAM).
v Use 256 MB, 512 MB, 1.0 GB, or 2.0 GB memory modules in any combination up
to a maximum of 4.0 GB.
To install a memory module:
1. Remove the computer cover. See “Removing the cover” on page 20.
2. Locate the memory connectors. See “Identifying parts on the system board” on
page 22.
3. Open the retaining clips.
4. Make sure that the notch 1 on the memory module aligns correctly with the
connector key2 on the system board. Push the memory module straight
down into the connector until the retaining clips close.
What to do next:
v To work with another option, go to the appropriate section.
v To complete the installation, go to “Replacing the cover and connecting the
cables” on page 37.
Chapter 3. Installing options 25

Installing adapters
This section provides information and instructions for installing and removing
adapters. Your computer has two expansion connectors for PCI adapters and one
for a PCI Express x1 adapter.
To install an adapter:
1. Remove the computer cover. See “Removing the cover” on page 20.
2. At the rear of the computer, press the release button1 to open the adapter
latch2 and remove the slot cover.
3. Remove the adapter from its static-protective package.
4. Install the adapter into the appropriate connector on the system board.
26 User Guide

Installing internal drives
This section provides information and instructions for installing and removing
internal drives.
Internal drives are devices that your computer uses to read and store data. You can
add drives to your computer to increase storage capacity and to enable your
computer to read other types of media. Some of the different drives that are
available for your computer are:
v Serial ATA hard disk drives
v Parallel ATA hard disk drives
v Optical drives, such as CD drives or DVD drives
v Removable media drives
Note: These different drives are also referred to as integrated drive electronics
(IDE) drives.
Internal drives are installed in bays. In this book, the bays are referred to as bay 1,
bay 2, and so on.
When you install an internal drive, it is important to note what type and size of
drive that you can install in each bay. Also, it is important to correctly connect the
internal drive cables to the installed drive.
Drive specifications
Your computer comes with the following factory-installed drives:
v An optical drive in bay 1 (some models)
v A 3.5-inch diskette disk drive in bay 3 (some models)
v A 3.5-inch hard drive in bay 4
Any bay that does not have a drive installed has a static shield and bay panel
installed.
28 User Guide

The following illustration shows the locations of the drive bays.
The following list describes the types and size of drives you can install in each
bay:
1Bay 1 - Maximum height: 43.0 mm (1.7 in.) v Optical drive such as CD drive or DVD
drive (preinstalled in some models)
v 5.25-inch hard disk drive
v 3.5-inch hard disk drive (requires a
Universal Adapter Bracket, 5.25 to
3.5-inch)*
2Bay 2 - Maximum height: 43.0 mm (1.7 in.) v Optical drive such as CD drive or DVD
drive
v 5.25-inch removable media drive
v 3.5-inch hard disk drive (requires a
Universal Adapter Bracket, 5.25 to
3.5-inch)*
3Bay 3 - Maximum height: 25.8 mm (1.0 in.) 3.5-inch diskette drive (some models
preinstalled)
4Bay 4 - Maximum height: 25.8 mm (1.0 in.) 3.5-inch SATA hard disk drive
(preinstalled)
5Bay 5 - Maximum height: 25.8 mm (1.0 in.) 3.5-inch SATA hard disk drive
* You can obtain a Universal Adapter Bracket, 5.25 to 3.5-inch from a local
computer retailer or by contacting the Customer Support Center.
Chapter 3. Installing options 29

Installing a drive in bay 1 or bay 2
To install a drive in bay 1 or bay 2, follow these steps:
1. Remove the computer cover. See “Removing the cover” on page 20.
2. Remove the front bezel by releasing the three plastic tabs on the left side and
pivoting the bezel outward. Carefully set the bezel to the side without
disconnecting the power switch and LED assembly cable.
Note: Notice the spare retainer bracket 1 attached to the side of the upper
drive cage.
3. Remove the metal static shield from the drive bay using your fingers to pull it
outward.
4. If you are installing a drive with accessible media, such as an optical drive,
remove the plastic panel in the bezel for bay 2 by squeezing the plastic tabs
that secure the panel on the inside of the bezel.
5. If you are installing any type of drive other than a serial ATA hard drive,
make sure the drive that you are installing is set correctly as either a master
or a slave device.
Note: A serial ATA hard disk drive does not need to be set as either a master
or a slave device.
If you are installing an optical drive or a parallel ATA hard disk drive, set it as
a master device. Refer to the documentation that comes with your drive for
master/slave jumper information.
6. Remove the retainer bracket from the upper driver cage by sliding it
downward.
30 User Guide

7. For a 5.25-inch drive, install a retainer bracket on the side of the drive.
8. For a 3.5-inch drive, you must use a Universal Adapter Bracket, 5.25 to
3.5-inch. You can obtain a Universal Adapter Bracket, 5.25 to 3.5-inch from a
local computer retailer or by contacting the Customer Support Center. Install a
retainer bracket on the side of the Universal adapter bracket.
9. Install the 5.25-inch drive or the adapter bracket and 3.5-inch drive into the
bay.
10. To reinstall the bezel, align the plastic tabs on the right side of the bezel with
the corresponding holes in the chassis, then pivot it inward until it snaps into
position on the left side.
11. Continue at “Connecting drives” on page 32.
Chapter 3. Installing options 31

Connecting drives
The steps to connect a drive are different depending on the type of drive. Use one
of the following procedures for your drive connection.
Connecting the first optical drive
1. The drive requires two cables; a power cable that connects to the power supply
and a signal cable that connects to the system board.
2. Locate the three-connector signal cable that comes with your computer or with
the new drive.
3. Locate the IDE connector on the system board. See “Identifying parts on the
system board” on page 22.
4. Connect one end of the signal cable to the drive and the other to the IDE
connector on the system board. To reduce electronic noise, use the connectors at
the end of the cable only.
5. Locate the extra four-wire power connector labelled P4 and connect it to the
drive.
Connecting an additional optical drive, or parallel ATA hard
disk drive
1. Locate the extra connector on the three-connector signal cable that is attached
to the IDE connector on the system board. See “Identifying parts on the system
board” on page 22.
2. Connect the extra connector on the signal cable to the new drive.
3. Locate the extra four-wire power connector and connect it to the drive.
32 User Guide

Connecting a serial ATA hard disk drive
A serial hard disk drive can be connected to any available SATA connector.
1. Locate the signal cable that comes with the new drive.
2. Locate an available SATA connector on the system board. See “Identifying parts
on the system board” on page 22.
3. Connect one end of the signal cable to the drive and the other to an available
SATA connector on the system board.
4. Locate one of the extra five-wire power connectors and connect it to the drive.
What to do next
v To work with another option, go to the appropriate section.
v To complete the installation, go to “Replacing the cover and connecting the
cables” on page 37.
Installing security features
To help prevent hardware theft and unauthorized access to your computer, several
security lock options are available. In addition to physical locks, unauthorized use
of your computer can be prevented by a software lock that locks the keyboard
until a correct password is typed in.
Make sure that any security cables you install do not interfere with other computer
cables.
Chapter 3. Installing options 33

Integrated cable lock
With an integrated cable lock (sometimes referred to as the Kensington lock), you
can secure your computer to a desk, table, or other non-permanent fixture. The
cable lock attaches to a security slot at the rear of your computer and is operated
with a key. The cable lock also locks the buttons used to open the computer cover.
This is the same type of lock used with many laptop computers. You can order a
security cable directly from Lenovo. Go to http://www.lenovo.com/support/ and
search on Kensington.
34 User Guide

Padlock
Your computer is equipped with a padlock loop such that the cover cannot be
removed when a padlock is installed.
Password protection
To deter unauthorized use of your computer, you can use the Setup Utility
program to set passwords. See “Using passwords” on page 47.
What to do next
v To work with another option, go to the appropriate section.
v To complete the installation, go to “Replacing the cover and connecting the
cables” on page 37.
Changing the battery
Your computer has a special type of memory that maintains the date, time, and
settings for built-in features, such as parallel-port assignments (configuration). A
battery keeps this information active when you turn off the computer.
The battery normally requires no charging or maintenance throughout its life;
however, no battery lasts forever. If the battery fails, the date, time, and
configuration information (including passwords) are lost. An error message is
displayed when you turn on the computer.
Refer to “Lithium battery notice” on page xii for information about replacing and
disposing of the battery.
Chapter 3. Installing options 35

To change the battery:
1. Turn off the computer and all attached devices.
2. Remove the computer cover. See “Removing the cover” on page 20.
3. Locate the battery. See “Identifying parts on the system board” on page 22.
4. Remove the old battery.
5. Install the new battery.
6. Replace the computer cover, and plug in the power cord. See “Replacing the
cover and connecting the cables” on page 37.
Note: When the computer is turned on for the first time after battery
replacement, an error message might be displayed. This is normal after
replacing the battery.
7. Turn on the computer and all attached devices.
8. Use the Setup Utility program to set the date and time and any passwords. See
Chapter 5, “Using the Setup Utility,” on page 47.
Erasing a lost or forgotten password (clearing CMOS)
This section applies to lost or forgotten passwords. For more information about
lost or forgotten passwords, see the ThinkVantage Productivity Center program on
your desktop.
To erase a forgotten password:
1. Turn off the computer and all attached devices.
2. Remove the computer cover. See “Removing the cover” on page 20.
3. Locate the Clear CMOS/Recovery jumper on the system board. See
“Identifying parts on the system board” on page 22.
4. Move the jumper from the standard position (pins 1 and 2) to the maintenance
or configure position (pins 2 and 3).
5. Replace the computer cover and connect the power cord. See “Replacing the
cover and connecting the cables” on page 37.
6. Restart the computer, leave it on for approximately ten seconds. Turn off the
computer by holding the power switch for approximately five seconds. The
computer will turn off.
7. Repeat steps 2 through 4 on page 36.
36 User Guide

8. Move the jumper back to the standard (pins 1 and 2).
9. Replace the computer cover and connect the power cord. See “Replacing the
cover and connecting the cables.”
Replacing the cover and connecting the cables
After working with options, you need to install any removed parts, replace the
computer cover, and reconnect any cables, including telephone lines and power
cords. Also, depending on the option that is installed, you might need to confirm
the updated information in the Setup Utility program.
To replace the computer cover and connect cables to your computer:
1. Ensure that all components have been reassembled correctly and that no tools
or loose screws are left inside your computer.
2. Clear any cables that might impede the replacement of the computer cover.
3. Position the computer cover on the chassis so that the rail guides on the bottom
of the cover engage the rails and push the cover closed until it latches.
4. Install any thumbscrews that were removed when removing the cover.
5. Install any cover locking devices as necessary.
6. Reconnect the external cables and power cords to the computer. See “Installing
external options” on page 16.
7. To update the configuration, see Chapter 5, “Using the Setup Utility,” on page
47.
Chapter 3. Installing options 37
38 User Guide

Chapter 4. Recovering software
There are a variety of methods to choose from when considering how to recover
software in the event of a software or hardware-related problem. Some methods
vary depending on the type of operating system you have.
This chapter will help you become familiar with recovery solutions provided by
Lenovo. This chapter explains how and when to use the following recovery
methods:
v Creating and using Product Recovery discs
v Performing backup and recovery operations
v Using the Rescue and Recovery workspace
v Creating and using rescue media
v Creating and using a Recovery Repair diskette
v Recovering or installing device drivers
v Setting a rescue device in the startup sequence
v Solving recovery problems
Refer to the Access Help online help system for additional information about the
Rescue and Recovery program provided by Lenovo. For information on how to
access the online help system, see “Access Help” on page 60.
Creating and using the Product Recovery disc
If your computer is equipped with a recordable CD or DVD drive, you can create a
set of Product Recovery discs that enables you to restore the contents of the hard
disk to the same state as when the computer was originally shipped from the
factory. Product Recovery discs are useful if you transfer the computer to another
area, sell the computer, recycle the computer, or as a last resort put the computer
in an operational state after all other methods of recovery have failed. As a
precautionary measure, it is important to create a set of Product Recovery discs as
soon as possible.
Note: The recovery operations you can perform using Product Recovery discs vary
depending on the operating system from which they were created. Your
Microsoft Windows license permits you to create only one set of Product
Recovery discs, so it is important that you store the discs in a safe place
after you make them.
To create Product Recovery discs, do the following:
1. From the Windows desktop, open the Start menu, select All Programs, select
ThinkVantage, click Create Recovery Media.
2. In the Recovery Discs section, select Create a set of Recovery Discs now.
3. Follow the instructions on the screen.
The following list explains how Product Recovery discs are used on different
operating systems:
v Windows XP: Use Product Recovery discs to restore your computer to the
original factory contents, perform a custom factory recovery, or to perform other
rescue and recovery operations such as rescuing individual files.
© Lenovo 2006, 2007. Portions © IBM Corp. 2005. 39

v Windows Vista: Use Product Recovery discs to restore your computer to the
original factory contents only.
When using Product Recovery discs on Windows XP, you are given the option to
enter the Rescue and Recovery workspace and choose from a variety of recovery
operations. When using Product Recovery discs on Windows Vista, you are
prompted to insert your Product Recovery discs and are guided through the
process of restoring from original factory contents only.
To use Product Recovery discs on Windows XP, do the following:
Attention: When you restore the factory contents from the Product Recovery
discs, all files currently on the hard disk will be deleted and replaced by the
original factory contents. During the restore process, you will be given the
opportunity to save one or more files currently on your hard disk drive to other
media before any data is removed.
1. Insert the Rescue and Recovery startup disc into your CD or DVD drive.
2. Restart your computer.
3. After a short delay, the Rescue and Recovery workspace opens.
Note: If the Rescue and Recovery workspace fails to open, you might not have
your startup device (CD drive or DVD drive) set correctly in your BIOS
startup sequence. See “Setting a rescue device in the startup sequence”
on page 45 for more information.
4. If you have set a Master password, type your password when prompted.
5. In the Rescue and Recovery menu, click Restore your system.
6. Follow the instructions on the screen. Insert the appropriate Product Recovery
disc when prompted.
Note: After restoring your hard disk to the original factory content, you might
have to reinstall some software or drivers. See “Using the Rescue and
Recovery workspace” on page 41 for details.
To use Product Recovery discs on Windows Vista, do the following:
Attention: When you restore the factory contents from the Product Recovery
discs, all files currently on the hard disk will be deleted and replaced by the
original factory contents.
1. Insert the Start Recovery disc into your CD or DVD drive.
2. Restart your computer.
3. Follow the instructions on the screen. Insert the appropriate Product Recovery
disc when prompted.
Note: After restoring your hard disk to the original factory content, you might
have to reinstall some software or drivers. See “Using the Rescue and
Recovery workspace” on page 41 for details.
Performing backup and recovery operations
The Rescue and Recovery program enables you to back up your complete hard
disk contents including the operating system, data files, application programs, and
personal settings. You can designate where the Rescue and Recovery program
stores the backup:
40 User Guide

v On a protected area of your hard disk
v On a second hard disk installed in your computer
v On an externally attached USB hard disk
v On a network drive
v On recordable CDs or DVDs (a recordable CD or DVD drive is required for this
option)
After you have backed up your hard disk, you can restore the complete contents of
the hard disk, restore selected files only, or restore only the Windows operating
system and applications.
To perform a backup operation using the Rescue and Recovery program, do the
following:
1. From the Windows desktop, open the Start menu, select All Programs, click
ThinkVantage, then click Rescue and Recovery. The Rescue and Recovery
program opens.
2. From the Rescue and Recovery main window, click Back up your hard drive
select backup operation options.
3. Follow the instructions on the screen.
To perform a restore operation using the Rescue and Recovery program, do the
following:
1. From the Windows desktop, open the Start menu, select All Programs, click
ThinkVantage, then click Rescue and Recovery. The Rescue and Recovery
program opens.
2. From the Rescue and Recovery main window, click Restore your system from
a backup icon.
3. Follow the instructions on the screen.
For information about performing a restore operation from the Rescue and
Recovery workspace, see “Using the Rescue and Recovery workspace.”
Using the Rescue and Recovery workspace
The Rescue and Recovery workspace resides in a protected, hidden area of your
hard disk that operates independently from the Windows operating system. This
enables you to perform recovery operations even if the Windows operating system
cannot be started. You can perform the following recovery operations from the
Rescue and Recovery workspace:
v Rescue files from your hard disk or from a backup: The Rescue and Recovery
workspace enables you to locate files on your hard disk and transfer them to a
network drive or other recordable media, such as a USB hard disk drive or a
diskette. This solution is available, even if you did not back up your files or if
changes were made to the files since your last backup operation. You also can
rescue individual files from a Rescue and Recovery backup located on your local
hard disk, a USB device, or a network drive.
v Restore your hard disk from a Rescue and Recovery backup: Once you
perform a backup operation using the Rescue and Recovery program, you can
perform restore operations from the Rescue and Recovery workspace, even if
you cannot start the Windows operating system.
v Restore your hard disk to the factory contents: The Rescue and Recovery
workspace enables you to restore the complete contents of your hard disk to the
same state as it was when originally shipped from the factory. If you have
Chapter 4. Recovering software 41

multiple partitions on your hard disk, you have the option to restore the factory
contents to the C: partition and leave the other partitions intact. Because the
Rescue and Recovery workspace operates independently from the Windows
operating system, you can restore the factory contents even if you cannot start
the Windows operating system.
Attention: If you restore the hard disk from a Rescue and Recovery backup or
restore the hard disk to the factory contents, all files on the primary hard disk
partition (usually drive C) will be deleted in the recovery process. If possible, make
copies of important files. If you are unable to start the Windows operating system,
you can use the Rescue files feature in the Rescue and Recovery workspace to copy
files from your hard disk to other media.
To start the Rescue and Recovery workspace, do the following:
1. Turn off your computer.
2. Restart your computer.
3. Repeatedly press and release the F11 key.
4. When you hear beeps or see a logo screen, release the F11 key.
5. If you set a Rescue and Recovery password, type your password when
prompted. The Rescue and Recovery workspace opens after a short delay.
Note: If the Rescue and Recovery workspace fails to open, see “Solving
recovery problems” on page 45.
6. Do one of the of the following:
v To rescue files from your hard disk or from a backup, click Rescue files;
then, follow the instructions on the screen.
v To restore your hard disk from a Rescue and Recovery backup or to restore
your hard drive to the factory contents, click Restore your system; then,
follow the instructions on the screen.
v For information about other features of the Rescue and Recovery workspace,
click Help.
Notes:
1. After restoring a hard disk to the original factory contents you might have to
reinstall device drivers for some devices. See “Recovering or installing device
drivers” on page 44.
2. Some computers come with Microsoft Office or Microsoft Works preinstalled. If
you need to recover or reinstall your Microsoft Office or Microsoft Works
applications, you must use the Microsoft Office CD or Microsoft Works CD. These
CDs are provided only with computers that come with Microsoft Office or
Microsoft Works preinstalled.
Creating and using rescue media
Rescue media such as a CD or USB hard disk drive enables you to recover from
failures that prevent you from gaining access to the Rescue and Recovery
workspace on your hard disk.
Note: The recovery operations you can perform using rescue media vary
depending on the operating system on which it is used. The rescue disc can
be started in any type of CD or DVD. Rescue media also contains a
PC-Doctor diagnostics program, which enables you to run diagnostics from
the rescue media.
42 User Guide

To create rescue media, do the following:
1. Open the Start menu from the Windows desktop, select All Programs, click
ThinkVantage, then click Create Recovery Media.
2. In the Rescue Media area, select the type of rescue media you want to create.
You can create rescue media using a CD, USB hard drive, or a second internal
hard disk drive.
3. Click OK.
4. Follow the instructions on the screen.
The following list explains how rescue media is used on different operating
systems:
v Windows XP: Use rescue media to restore your computer to the original factory
contents, perform a custom factory recovery, or to perform other rescue and
recovery operations such as rescuing individual files.
v Windows Vista: Use rescue media to perform all recovery operations except the
ability to restore to the original factory contents and custom factory recovery.
To use rescue media, do one of the following:
v If your rescue media is on CDs or DVDs, insert the rescue disc and restart your
computer.
v If your rescue media is on a USB hard disk, attach your USB hard disk drive to
one of the USB connectors on your computer, then restart on your computer.
v If you are using a second internal hard disk drive, set the startup sequence to
start from that drive.
When the rescue media starts, the Rescue and Recovery workspace opens. Help for
each feature is available from the Rescue and Recovery workspace. If your rescue
media fails to start, you might not have your rescue device (CD drive, DVD drive,
or USB device) set correctly in your BIOS startup sequence. See “Setting a rescue
device in the startup sequence” on page 45 for more information.
Creating and using a Recovery Repair diskette
If you are unable to access the Rescue and Recovery workspace or the Windows
environment, use a Recovery Repair diskette to repair the Rescue and Recovery
workspace or repair a file needed to enter the Windows environment. It is
important to create a Recovery Repair diskette as soon as possible and store it in a
safe place as a precautionary measure.
To create a Recovery Repair diskette, do the following:
1. Start your computer and operating system.
2. Using an Internet browser, go to the following Web address:
http://www.lenovo.com/think/support/site.wss/document.do?lndocid=MIGR-54483
3. Insert a diskette into diskette drive A. Information on the diskette will be
erased and the diskette will be formatted appropriately.
4. Double-click on the appropriate file name. The diskette is created.
5. Take out the diskette and label it Recovery Repair diskette.
To use the Recovery Repair diskette, do the following:
1. Shut down the operating system and turn off the computer.
Chapter 4. Recovering software 43

2. Insert the Recovery Repair diskette into diskette drive A.
3. Turn on the computer and follow the instructions on the screen.
Note: If the repair operation finishes without error, you will be able to access the
Rescue and Recovery workspace by repeatedly pressing the F11 key while
you restart your computer. When you hear beeps or see a logo screen,
release the F11 key. You will also be able to access the Windows
environment after the repair operation finishes.
If an error message appears during the repair operation and the repair operation
cannot be completed, you might have a problem with the partition that contains
the Rescue and Recovery workspace. Use your rescue media to access the Rescue
and Recovery workspace. For information about creating and using rescue media,
see “Creating and using rescue media” on page 42.
Recovering or installing device drivers
Before you can recover or install device drivers, your operating system must be
installed on your computer. Make sure that you have the documentation and
software media for the device.
Device drivers for factory-installed devices are located on the computer hard disk
(usually drive C) in the SWTOOLS\drivers folder. Other device drivers are on the
software media that come with individual devices.
The latest device drivers for factory-installed devices also are available on the
World Wide Web at http://www.lenovo.com/think/support/.
To reinstall a device driver for a factory-installed device, do the following:
1. Start your computer and operating system.
2. Use Windows Explorer or My Computer to display the directory structure of
your hard disk.
3. Open the C:\SWTOOLS folder.
4. Open the DRIVERS folder. Within the DRIVERS folder are several subfolders
that are named for various devices that are installed in your computer (for
example, AUDIO or VIDEO).
5. Open the appropriate device subfolder.
6. Use one of the following methods to reinstall the device driver:
v In the device subfolder, look for a README.TXT or other file with the .TXT
extension. This file might be named after the operating system, such as
WIN98.TXT. The text file has information on how to reinstall that device
driver.
v If the device subfolder contains a file with an .INF extension, you can use the
Add New Hardware program (located in the Windows Control Panel) to
reinstall the device driver. Not all device drivers can be reinstalled using this
program. In the Add New Hardware program, when prompted for the
device driver that you want to install, click Have Disk and Browse. Then
select the appropriate device driver file from the device subfolder.
v In the device subfolder, look for a SETUP.EXE file. Double-click SETUP.EXE
and follow the instructions on the screen.
44 User Guide

Setting a rescue device in the startup sequence
Before you start the Rescue and Recovery program from a CD, DVD, USB hard
disk drive, or any external device, you must first change the startup sequence in
the Setup Utility.
To view or change the startup sequence, do the following:
1. With the computer off, repeatedly press and release the F1 key while you turn
on the computer.
2. When the logo screen appears, or you hear a series of beeps, release the F1 key.
3. If you are prompted for a password, type your current password.
4. From the Setup Utility main menu, use the right-arrow key to select Startup.
5. Arrange the startup sequence to meet your needs.
6. Press the Esc key twice to go to the Setup Utility exit menu.
7. Use the down-arrow key to select Save and exit the Setup Utility, then press
Enter.
8. When the Setup Confirmation window appears, press Enter.
9. The computer restarts.
Note: If you are using an external device, you first must turn off your computer
before connecting the external device.
For more information on Setup Utility, see Chapter 5, “Using the Setup Utility,” on
page 47.
Solving recovery problems
If you are unable to access the Rescue and Recovery workspace or the Windows
environment, you can:
v Use your rescue media (CD, DVD, or USB hard disk) to start the Rescue and
Recovery workspace. See “Creating and using rescue media” on page 42 for
details.
v Use a Recovery Repair diskette to repair the Rescue and Recovery workspace or
repair a file needed to enter the Windows environment. See “Creating and using
a Recovery Repair diskette” on page 43 for details.
v Use a set of Product Recovery discs if your intent is to restore the hard disk to
its original factory contents. See “Creating and using the Product Recovery disc”
on page 39.
It is important to create a Recovery Repair diskette, rescue media, and a set of
Product Recovery discs as soon as possible and store them in a safe place as a
precautionary measure.
If you are unable to access the Rescue and Recovery workspace or the Windows
environment from rescue media, a Recovery Repair diskette, or a set of Product
Recovery CDs, you might not have the rescue device, CD drive, DVD drive, or
USB hard disk drive defined as a startup device in the BIOS startup sequence. See
“Setting a rescue device in the startup sequence” for more information.
Chapter 4. Recovering software 45
46 User Guide

Chapter 5. Using the Setup Utility
The Setup Utility program is stored in the electrically erasable programmable
read-only memory (EEPROM) of your computer. The Setup Utility program is used
to view and change the configuration settings of your computer, regardless of
which operating system you are using. However, the operating-system settings
might override any similar settings in the Setup Utility program.
Starting the Setup Utility program
To start the Setup Utility program, do the following:
1. If your computer is already on when you start this procedure, shut down the
operating system and turn off the computer.
2. Press and hold the F1 key then turn on the computer. When you hear multiple
beeps, release the F1 key.
Notes:
a. If you are using a USB keyboard and the Setup Utility program does not
display using this method, repeatedly press and release the F1 key rather
than leaving it pressed when turning on the computer.
b. If a user password or an administrator password has been set, the Setup
Utility program menu is not displayed until you type your password. See
“Using passwords” for more information.
The Setup Utility might start automatically when POST detects that hardware has
been removed or new hardware has been installed in your computer.
Viewing and changing settings
The Setup Utility program menu lists items that identify system configuration
topics.
When working with the Setup Utility program menu, you must use the keyboard.
The keys used to perform various tasks are displayed at the bottom of each screen.
Using passwords
By using the Setup Utility program, you can set passwords to prevent
unauthorized persons from gaining access to your computer and data. The
following types of passwords are available:
v User Password
v Administrator Password
You do not have to set any passwords to use your computer. However, if you
decide to set any passwords, read the following sections.
Password considerations
A password can be any combination of up to twelve characters (a-z and 0-9) and
symbols. For security reasons, it is a good idea to use a strong password that
cannot be easily compromised. Strong passwords typically adhere to the following
rules:
© Lenovo 2006, 2007. Portions © IBM Corp. 2005. 47

v Have at least eight characters in length
v Contain at least one alphabetic character, one numeric character, and one symbol
v Contain at least one of the following symbols: , . / ` ; ' []
v You can also use the space bar
v Setup Utility program and hard disk drive passwords are not case sensitive
v Not be your name or your user name
v Not be a common word or a common name
v Be significantly different from your previous password
User Password
When a User Password is set, the user is prompted to type a valid password each
time the computer is turned on. The computer cannot be used until a valid
password is typed from the keyboard.
Administrator Password
Setting an Administrator Password deters unauthorized persons from changing
configuration settings. If you are responsible for maintaining the settings of several
computers, you might want to set an Administrator Password.
After you set an Administrator Password, a password prompt is displayed each
time you try to access the Setup Utility program.
If both the user and administrator passwords are set, you can type either
password. However, to change any configuration settings, you must use your
administrator password.
Setting, changing, and deleting a password
To set, change, or delete a password, do the following:
Note: A password can be any combination of up to twelve characters (A- Z, a-z,
and 0-9). See “Password considerations” on page 47 for more information.
1. Start the Setup Utility program (see Chapter 5, “Using the Setup Utility,” on
page 47).
2. From the Setup Utility program menu, select Security.
3. Select Set Passwords. Read the information displayed on the right side of the
screen.
Using Security Profile by Device
Security Profile by Device is used to enable or disable user access to the following
devices:
IDE controller When this feature is set to Disable, all devices connected to the
IDE controller (such as hard disk drives or the CD-ROM drive)
are disabled and will not be displayed in the system
configuration.
Diskette Drive Access When this feature is set to Disable, the diskette drive cannot be
accessed.
Diskette Write Protect When this feature is set to Enable, all diskettes are treated as if
they are write-protected. You can read from the diskette, but you
cannot write to the diskette.
48 User Guide

To set Security Profile by Device, do the following:
1. Start the Setup Utility program (see “Starting the Setup Utility program” on
page 47).
2. From the Setup Utility program menu, select Security.
3. Select Security Profile by Device.
4. Select the desired devices and settings and press Enter.
5. Return to the Setup Utility program menu and select Exit and then Save
Settings or Save and exit the Setup Utility.
Note: If you do not want to save the settings, select Exit the Setup Utility
without saving.
Selecting a startup device
If your computer does not start up (boot) from a device such as the CD-ROM,
diskette, or hard disk as expected, use one of the following procedures to select a
startup device.
Selecting a temporary startup device
Use this procedure to startup from any boot device.
Note: Not all CDs, hard disks, and diskettes are startable (bootable).
1. Turn off your computer.
2. Press and hold the F12 key then turn on the computer. When the Startup
Device Menu appears, release the F12 key.
Note: If you are using a USB keyboard and the Startup Device Menu does not
display using this method, repeatedly press and release the F12 key
rather than leaving it pressed when turning on the computer.
3. Select the desired startup device from the Startup Device Menu and press Enter
to begin.
Note: Selecting a startup device from the Startup Device menu does not
permanently change the startup sequence.
Changing the startup device sequence
To view or permanently change the configured startup device sequence, do the
following:
1. Start the Setup Utility program (see “Starting the Setup Utility program” on
page 47).
2. Select Startup.
3. Select Startup Sequence. See the information displayed on the right side of the
screen.
4. Select the devices for the Primary Startup Sequence, the Automatic Startup
Sequence, and the Error Startup Sequence.
5. Select Exit from the Setup Utility menu and then Save Settings or Save and
exit the Setup Utility.
If you have changed these settings and want to return to the default settings, select
Load Default Settings on the Exit menu.
Chapter 5. Using the Setup Utility 49

Advanced settings
On some computer models the Advanced settings menu includes a setting to
Enable/Disable HyperThreading. This feature works only with
HyperThreading-aware operating systems, such as Microsoft Windows XP. The
default setting for HyperThreading is Enabled. However, if you select Set Defaults
and are using an operating system other than Windows XP, your computer
performance might be degraded. Therefore, you should always set
HyperThreading to Disabled unless you are sure your operating system supports
HyperThreading.
Exiting from the Setup Utility program
When you finish viewing or changing settings, press Esc to return to the Setup
Utility program menu (you might have to press Esc several times). If you want to
save the new settings, select Save Settings or Save and exit the Setup Utility.
Otherwise, your changes will not be saved.
50 User Guide

Chapter 6. Updating system programs
This chapter contains information about updating POST/BIOS and how to recover
from a POST/BIOS update failure.
Using system programs
System programs are the basic layer of software that is built into your computer.
They include the power-on self-test (POST), the basic input/output system (BIOS)
code, and the Setup Utility program. POST is a set of tests and procedures that is
performed each time you turn on your computer. BIOS is a layer of software that
translates instructions from other layers of software into electrical signals that the
computer hardware can understand. You can use the Setup Utility program to
view and change the configuration and setup of your computer.
Your computer system board has a module called electrically erasable
programmable read-only memory (EEPROM, also referred to as flash memory).
You can easily update POST, BIOS, and the Setup Utility program by starting your
computer using a flash update diskette or by running a special update program
from your operating system.
Lenovo might make changes and enhancements to the POST/BIOS. When updates
are released, they are available as downloadable files on the Lenovo Web site at
http://www.lenovo.com. Instructions for using the POST/BIOS updates are
available in a .txt file that is included with the update files. For most models, you
can download either an update program to create a system-program-update (flash)
diskette or an update program that can be run from the operating system.
Note: You can download a self starting bootable CD image (known as an .iso
image) of the diagnostics program from http://www.lenovo.com to support
systems without a diskette drive.
Updating (flashing) BIOS from a diskette
To update (flash) the BIOS from a diskette, do the following:
1. Insert a system program update (flash) diskette into the diskette drive. System
program updates are available at http://www.lenovo.com/support on the
World Wide Web.
2. Turn on the computer. If the computer is on already, you must turn it off and
back on again. The update begins.
3. Follow the instructions on the screen to complete the update.
© Lenovo 2006, 2007. Portions © IBM Corp. 2005. 51
52 User Guide

Chapter 7. Troubleshooting and diagnostics
This chapter describes some basic troubleshooting and diagnostic programs. If your
computer problem is not described here, see Chapter 8, “Getting information, help,
and service,” on page 59 for additional troubleshooting resources.
Basic troubleshooting
The following table provides information to help you troubleshoot your computer
problem.
Symptom Action
The computer does not start
when you press the power
button.
Verify that:
v The power cord is plugged into the rear of the computer and into a working
electrical outlet.
v If your computer has a secondary power switch on the back of the computer,
ensure that it is switched on.
v The power indicator on the front of the computer is on.
v The voltage is set to the correct setting for your country.
If you cannot correct the problem, have the computer serviced. Refer to the
safety and warranty information that is provided with your computer for a list of
service and support telephone numbers.
The monitor screen is blank. Verify that:
v The monitor cable is securely attached to the rear of the monitor and to the
rear of the computer.
v The monitor power cord is plugged into the monitor and into a working
electrical outlet.
v The monitor is turned on and the brightness and contrast controls are set
correctly.
v The monitor signal cable is securely connected to the monitor and to the
monitor connector on the computer.
Note: If your computer has two monitor connectors, verify that your monitor is
connected to the one in the AGP option connector rather than the one in the rear
of the system board. For more information, “Connecting your computer” on page
3.
If you cannot correct the problem, have the computer serviced. Refer to the
safety and warranty information that is provided with your computer for a list of
service and support telephone numbers.
The keyboard does not work.
The computer does not respond
to the keyboard.
Verify that:
v The computer is turned on.
v The monitor is turned on and the brightness and contrast controls are set
correctly.
v The keyboard is securely connected to the keyboard connector on the
computer.
v No keys are stuck.
If you cannot correct the problem, have the computer serviced. Refer to the
safety and warranty information that is provided with your computer for a list of
service and support telephone numbers.
© Lenovo 2006, 2007. Portions © IBM Corp. 2005. 53

Symptom Action
The Enhanced Performance USB
Keyboard does not work.
Verify that:
v The computer is turned on.
v The keyboard is securely connected to a USB connector on the front or rear of
the computer.
v No keys are stuck.
If you cannot correct the problem, have the computer serviced. Refer to the
safety and warranty information that is provided with your computer for a list of
service and support telephone numbers.
The mouse does not work. The
computer does not respond to
the mouse.
Verify that:
v The computer is turned on.
v The mouse is securely connected to the mouse connector on the computer.
v The mouse is clean. Refer to “Cleaning the mouse” on page 57 for further
information.
If you cannot correct the problem, have the computer serviced. Refer to the
safety and warranty information that is provided with your computer for a list of
service and support telephone numbers.
The operating system will not
start.
Verify that:
v There is no diskette in the diskette drive.
v
The startup sequence includes the device where the operating system resides.
Usually, the operating system is on the hard disk. See “Selecting a startup
device” on page 49 for more information.
If you cannot correct the problem, have the computer serviced. Refer to the
safety and warranty information that is provided with your computer for a list of
service and support telephone numbers.
The computer beeps multiple
times before the operating
system starts.
Verify that no keys are stuck down.
If you cannot correct the problem, have the computer serviced. Refer to the
safety and warranty information that is provided with your computer for a list of
service and support telephone numbers.
Diagnostic programs
Diagnostic programs are used to test hardware components of your computer and
report operating-system-controlled settings that can cause hardware failures. There
are two diagnostic programs preinstalled on your computer to help you diagnose
problems:
v PC-Doctor for Windows (used when diagnosing problems while running the
Windows operating system)
v PC-Doctor for DOS or PC-Doctor for Windows PE, depending upon your
machine type and model (used when your Windows operating system will not
start)
Notes:
1. You can download the latest version of the PC-Doctor for Windows and
PC-Doctor for DOS diagnostic programs from http://www.lenovo.com/
support/. Type your machine type into the Use Quick Path field and click Go
to find the downloadable files that are specific to your computer.
2. If you are unable to isolate and repair the problem yourself after you run
PC-Doctor for Windows and depending upon your machine type and model,
PC-Doctor for DOS or PC-Doctor for Windows PE, save and print the log files
54 User Guide
created by both diagnostic programs. You will need the log files when you
speak to a Lenovo technical support representative. (The log file created by
PC-Doctor for Windows is automatically saved in C:\PCDR\DETAILED.TXT.)
PC-Doctor for Windows
PC-Doctor for Windows is a diagnostic program that works through the Windows
operating system. The PC-Doctor for Windows diagnostic program enables you to
view symptoms and solutions for computer problems, access the Lenovo
troubleshooting center, update system drivers, and review system information.
To run PC-Doctor for Windows, open the Start menu from the Windows desktop,
select All Programs, select PC-Doctor for Windows, and click PC-Doctor for
Windows. Follow the instructions on the screen. For additional information about
running the diagnostic program, refer to the PC-Doctor for Windows help system.
If you still suspect a problem after PC-Doctor for Windows runs successfully, run
PC-Doctor for DOS or PC-Doctor for Windows PE to help you diagnose your
computer problem.
PC-Doctor for DOS
Depending upon your machine type and model, you either have
PC-Doctor for DOS or PC-Doctor for Windows PE on your Lenovo computer. The
PC-Doctor for DOS diagnostic program is part of the Rescue and Recovery
workspace and runs independently of the Windows operating system. Use
PC-Doctor for DOS, if you are unable to start the Windows operating system or if
PC-Doctor for Windows has not been successful in isolating a possible problem.
You can run PC-Doctor for DOS from a diagnostic CD image or diagnostic
diskettes that you create. You can also run PC-Doctor for DOS from the Rescue and
Recovery workspace.
Note: Be sure to create a diagnostic CD image or diagnostic diskettes in case you
are unable to run PC-Doctor for DOS from the Rescue and Recovery
workspace.
Creating a diagnostic CD image
To create a diagnostic CD image, download a self-starting bootable CD image
(known as an .iso image) of the diagnostic program from http://
www.lenovo.com/support/. After you download the image, you can create the CD
using any CD burning software.
If your computer does not have a CD burner or you do not have Internet access,
see “Creating diagnostic diskettes.”
Creating diagnostic diskettes
To create diagnostic diskettes, download the PC-Doctor for DOS diagnostic
program from http://www.lenovo.com/support/ onto two blank, formatted
diskettes.
If you do not have Internet access, create the diagnostic diskettes using the
following procedure:
Note: You will need a diskette drive on your computer or a USB diskette drive to
complete this procedure.
1. Shut down the operating system and turn off the computer.
2. If you are using a USB diskette drive, plug it into the computer.
Chapter 7. Troubleshooting and diagnostics 55
3. Repeatedly press and release the F11 key as you turn on the computer.
4. When you hear beeps or see a logo screen, stop pressing the F11 key. The
Rescue and Recovery workspace opens.
Note: For some models, press the Esc key to enter Rescue and Recovery.
5. From the Rescue and Recovery workspace, select Create diagnostic disks.
6. Follow the instructions on the screen.
7. When prompted, insert a blank, formatted diskette into the diskette drive and
continue to follow the instructions on the screen.
8. When the operation is complete, remove the diskette and click Quit.
9. Insert another blank, formatted diskette into the diskette drive and continue to
follow the instructions on the screen.
10. When the operation is complete, remove the diskette and click Quit.
Running diagnostics from the CD or diskettes
To run diagnostics from the diagnostic CD image or diagnostic diskettes that you
created, use the following procedure:
1. Make sure your computer is turned off.
2. If you are running diagnostics from diskettes using a USB diskette drive, plug
in the USB device.
3. Insert the CD into the optical drive or the first diagnostic diskette into the
diskette drive.
4. Restart the computer.
Note: If the diagnostic program does not start, you might not have your optical
drive or diskette drive set as a startable device. See “Selecting a startup
device” on page 49 for instructions on how to change the startup device.
5. When the diagnostics program opens, follow the instructions on the screen.
Note: If you are running diagnostics from a diskette, when prompted, remove
the first diskette and insert the second diskette.
6. When the program finishes, be sure to remove the CD or diskette from the
drive.
7. Select the diagnostic test you want to run. Press the F1 key for additional help.
Running diagnostics from the Rescue and Recovery workspace
If you did not create a diagnostic CD image or diagnostic diskettes, you can run
the PC-Doctor for DOS diagnostic program from the Rescue and Recovery
workspace. To run diagnostics from the Rescue and Recovery workspace, use the
following procedure:
1. Shut down the operating system and turn off the computer.
2. Repeatedly press and release the F11 key as you turn on the computer.
3. When you hear beeps or see a logo screen, stop pressing the F11 key. The
Rescue and Recovery workspace opens.
Note: For some models, press the Esc key to enter Rescue and Recovery.
4. From the Rescue and Recovery workspace, select Diagnose hardware.
5. Follow the prompts on the screen. The computer will reboot.
6. When the computer restarts, the diagnostic program opens automatically. Select
the diagnostic test you want to run. Press the F1 key for additional help.
56 User Guide

PC-Doctor for Windows PE
Depending upon your machine type and model, you either have PC-Doctor for
DOS or PC-Doctor for Windows PE on your Lenovo computer. The PC-Doctor for
Windows PE diagnostic program is part of the Rescue and Recovery workspace.
Use PC-Doctor for Windows PE, if you are unable to start the Windows operating
system or if PC-Doctor for Windows has not been successful in isolating a possible
problem.
Running diagnostics from the Rescue and Recovery workspace
You can run the PC-Doctor for Windows PE diagnostic program from the Rescue
and Recovery workspace. To run diagnostics from the Rescue and Recovery
workspace, use the following procedure:
1. Shut down the operating system and turn off the computer.
2. Repeatedly press and release the F11 key as you turn on the computer.
3. When you hear beeps or see a logo screen, stop pressing the F11 key. The
Rescue and Recovery workspace opens.
4. From the Rescue and Recovery workspace, select Diagnose hardware.
5. The diagnostic program opens automatically. Select the diagnostic test you
want to run. Press the F1 key for additional help.
6. Follow the instructions on the screen.
Note: Rescue media includes PC-Doctor for Windows PE. For more information
about rescue media, see “Creating and using rescue media” on page 42.
Cleaning the mouse
This section provides instructions on how to clean your mouse. The procedure will
be different depending on whether you have an optical or non-optical mouse.
Optical mouse
An optical mouse uses a light-emitting diode (LED) and an optical sensor to
navigate the pointer. If the pointer on the screen does not move smoothly with the
optical mouse, you might need to clean the mouse. Use the following procedure to
clean the optical mouse:
1. Turn off your computer.
2. Disconnect the mouse cable from the computer.
3. Turn the mouse upside down to look at the lens.
a. If there is a smudge on the lens, gently clean the area with a plain
cotton-tipped swab.
b. If there is some debris in the lens, gently blow the debris away from the
area.
4. Check the surface on which you are using the mouse. If you have a very
intricate picture or pattern beneath the mouse it may be difficult for the digital
signal processor (DSP) to determine changes in the mouse position.
5. Reconnect the mouse cable to the computer.
6. Turn your computer back on.
Non-optical mouse
The non-optical mouse uses a ball to navigate the pointer. If the pointer on the
screen does not move smoothly with the mouse, you might need to clean the
mouse. Use the following procedure to clean the non-optical mouse:
Chapter 7. Troubleshooting and diagnostics 57

Note: The following illustration might be slightly different from your mouse.
1 Retainer ring
2 Ball
3 Plastic rollers
4 Ball cage
To clean a mouse with a ball, follow the instructions below:
1. Turn off your computer.
2. Disconnect the mouse cable from the computer.
3. Turn the mouse upside down. Twist the retainer ring 1 to the unlocked
position to remove the ball.
4. Place your hand over the retainer ring and ball 2, and then turn the mouse
right-side up, so that the retainer ring and ball fall out into your hand.
5. Wash the ball in warm, soapy water then dry it with a clean cloth.
6. Blow air carefully into the ball cage 4 to dislodge dust and lint.
7. Look for a build up of dirt on the plastic rollers 3 inside the ball cage. This
build up usually appears as a stripe running across the middle of the rollers.
8. If the rollers are dirty, clean them by using a cotton swab soaked in isopropyl
(rubbing) alcohol. Turn the rollers with your finger and continue swabbing
them until all the dirt is removed. Be sure the rollers are still centered in their
channels after you clean them.
9. Remove any fibers from the swab that might be remaining on the rollers.
10. Replace the ball and the retainer ring. Twist the retainer ring to the locked
position.
11. Reconnect the mouse cable to the computer.
12. Turn your computer back on.
58 User Guide

Chapter 8. Getting information, help, and service
If you need help, service, or technical assistance or just want more information
about products manufactured by Lenovo, you will find a wide variety of sources
available from Lenovo to assist you.
Information resources
This section provides information on how to access useful resources relating to
your computing needs.
Online Books folder
The Online Books folder provides publications to help you set up and use your
computer. The Online Books folder is preinstalled on your computer and requires
no Internet access to view the publications. In addition to this User Guide you are
reading, the Hardware Replacement Guide is also available in the Online Books
folder.
The Hardware Replacement Guide provides step-by-step instructions for replacing
Customer Replacement Units (CRUs) in your computer. CRUs are computer parts
that can be upgraded or replaced by the customer.
To view a publication, open the Start menu from the Windows desktop, select All
Programs, select Online Books, and click Online Books. Double-click on the
appropriate publication for your computer. The publications also are available on
the Lenovo Web site at http://www.lenovo.com.
Notes:
1. These publications are in Portable Document Format (PDF) format, which
requires Adobe Acrobat Reader to be installed. If Adobe Acrobat Reader has
not yet been installed on your computer, a message will appear when you
attempt to view the PDF file and you will be guided through the Adobe
Acrobat Reader installation.
2. The publications that are preinstalled on your computer are available in other
languages on the Lenovo Support Web site at http://www.lenovo.com/
support/.
3. If you want to install a different language version of Adobe Acrobat Reader
than the version provided on your computer, go to the Adobe Web site at
http://www.adobe.com and download the version you want to use.
ThinkVantage Productivity Center
The ThinkVantage Productivity Center program guides you to a host of
information sources and tools designed to make computing simpler and more
secure while helping to reduce costs and increase productivity. The ThinkVantage
Productivity Center program helps you set up, understand, and enhance your
computer.
The ThinkVantage Productivity Center program provides information about your
computer and easy access to various technologies, such as:
v The Rescue and Recovery program
v Productivity Center
© Lenovo 2006, 2007. Portions © IBM Corp. 2005. 59

v Client Security Solution
v Factory Recovery
v System updates
v Service and support
Note: ThinkVantage Technologies are only available on select Lenovo computers.
To access the ThinkVantage Productivity Center program, open the Start menu
from the Windows desktop, select All Programs, select ThinkVantage, and click
Productivity Center.
Access Help
The Access Help online help system provides information about getting started,
doing basic tasks, customizing settings for your personal preference, protecting
data, expanding and upgrading, and troubleshooting.
To open Access Help, open the Start menu from the Windows desktop, select All
Programs, select ThinkVantage, and click Access Help. After you have opened
Access Help, use the left panel to make a selection from the Contents or Index tab,
or use the Search tab to find a particular word or phrase.
Safety and warranty
The safety and warranty information that is provided with your computer contains
information on safety, warranty, notices, and Customer Replacement Units (CRUs).
For more information on CRUs, see “Service and upgrades” on page vi.
www.lenovo.com
The Lenovo Web site (www.lenovo.com) provides an extensive amount of
information and services to help you buy, upgrade, and maintain your computer.
You can access the most up-to-date information for your computer on the Lenovo
Web site. From the www.lenovo.com Web site, you can also:
v Shop for desktop and notebook computers, monitors, projectors, upgrades and
accessories for your computer, and special offers.
v Purchase additional services, such as support for hardware, operating systems,
application programs, network setup and configuration, and custom
installations.
v Purchase upgrades and extended hardware repair services.
v Download the latest device drivers and software updates for your computer
model.
v Access the online manuals for your products.
v Access the Lenovo Statement of Limited Warranty.
v Access troubleshooting and support information for your computer model and
other supported products.
v Find the service and support phone number for your country or region.
v Find a service provider located near you.
Help and service
If you need help and service for your computer, you will find a wide variety of
sources available to help you.
60 User Guide
Using the documentation and diagnostic programs
Many computer problems can be solved without outside assistance. If you
experience a problem with your computer, see Chapter 7, “Troubleshooting and
diagnostics,” on page 53. For information on additional resources to help you
troubleshoot your computer problem, see “Information resources” on page 59.
If you suspect a software problem, see the documentation, including README
files and online help, that comes with the operating system or application program.
Most computers come with a set of diagnostic programs that you can use to help
you identify hardware problems. For instructions on using the diagnostic
programs, see “Diagnostic programs” on page 54.
The troubleshooting information or the diagnostic programs might tell you that
you need additional or updated device drivers or other software. Lenovo
maintains pages on the World Wide Web where you can get the latest technical
information and download device drivers and updates. To access these pages, go
to http://www.lenovo.com/support/ and follow the instructions.
Calling for service
If you have tried to correct the problem yourself and still need help, during the
warranty period you can get help and information by telephone through the
Customer Support Center. The following services are available during the warranty
period:
v Problem determination - Trained personnel are available to assist you with
determining if you have a hardware problem and deciding what action is
necessary to fix the problem.
v Hardware repair - If the problem is determined to be caused by hardware under
warranty, trained service personnel are available to provide the applicable level
of service.
v Engineering Change management - Occasionally, there might be changes that
are required after a product has been sold. Lenovo or your reseller, if authorized
by Lenovo, will make selected Engineering Changes (ECs) available that apply
to your hardware.
Note: The following items are not covered:
v Replacement or use of parts not manufactured for or by Lenovo or
nonwarranted Lenovo parts
v Identification of software problem sources
v Configuration of BIOS as part of an installation or upgrade
v Changes, modifications, or upgrades to device drivers
v Installation and maintenance of network operating systems (NOS)
v Installation and maintenance of application programs
Refer to the safety and warranty information that is provided with your computer
for a full explanation of warranty terms. Be sure to retain your proof of purchase
to obtain warranty service.
Chapter 8. Getting information, help, and service 61
For a list of service and support phone numbers for your country or region, go to
http://www.lenovo.com/support/ and click Support phone list or refer to the
safety and warranty information provided with your computer.
Note: Phone numbers are subject to change without notice. If the number for your
country or region is not provided, contact your Lenovo reseller or Lenovo
marketing representative.
If possible, be at your computer when you call and have the following information
available:
v Machine type and model
v Serial numbers of your hardware products
v Description of the problem
v Exact wording of any error messages
v Hardware and software configuration information
Using other services
If you travel with your computer or relocate it to a country where your desktop or
notebook computer machine type is sold, your computer might be eligible for
International Warranty Service, which automatically entitles you to obtain warranty
service throughout the warranty period. Service will be performed by service
providers authorized to perform warranty service.
Service methods and procedures vary by country, and some services might not be
available in all countries. International Warranty Service is delivered through the
method of service (such as depot, carry-in, or on-site service) that is provided in
the servicing country. Service centers in certain countries might not be able to
service all models of a particular machine type. In some countries, fees and
restrictions might apply at the time of service.
To determine whether your computer is eligible for International Warranty Service
and to view a list of the countries where service is available, go to
http://www.lenovo.com/support/, click Warranty, and follow the instructions on
the screen.
For technical assistance with the installation of or questions related to Service
Packs for your preinstalled Microsoft Windows product, refer to the Microsoft
Product Support Services Web site at http://support.microsoft.com/directory/, or
you can contact the Customer Support Center. Some fees might apply.
Purchasing additional services
During and after the warranty period, you can purchase additional services, such
as support for hardware, operating systems, and application programs; network
setup and configuration; upgraded or extended hardware repair services; and
custom installations. Service availability and service name might vary by country
or region. For more information about these services, go to the Lenovo Web site at
http://www.lenovo.com.
62 User Guide

Appendix A. Manual modem commands
This appendix provides commands for manually programming your modem.
Commands are accepted by the modem while it is in Command Mode. Your
modem is automatically in Command Mode until you dial a number and establish
a connection. Commands can be sent to your modem from a PC running
communication software or any other terminal devices.
All commands sent to the modem must begin with AT and end with ENTER. All
commands can be typed in either upper or lower case, but not mixed. To make the
command line more readable, spaces can be inserted between commands. If you
omit a parameter from a command that requires one, it is just like specifying a
parameter of 0.
Example:
ATH [ENTER]
Note: In the following tables, all default settings are printed in bold text.
Basic AT commands
Command Function
A Manually answer incoming call.
A/ Repeat last command executed. Do not
precede A/ with AT or follow with ENTER.
D_ 0 - 9, A-D, # and *
L last number redial
P pulse dialing
Note: Pulse dialing is not supported for
Australia, New Zealand, Norway, and South
Africa.
T touch-tone dialing
W wait for second dial tone
, pause
@ wait for five seconds of silence
! flash
; return to Command Mode after dialing
DS=n Dial one of the four telephone numbers
(n=0-3) stored in the modem non-volatile
memory.
E_ E0 Commands are not echoed
E1 Commands are echoed
+++ Escape Characters - Switch from Data Mode
to Command Mode (T.I.E.S. Command)
H_ H0 Force modem on-hook (hang up)
© Lenovo 2006, 2007. Portions © IBM Corp. 2005. 63

Command Function
H1 Force modem off-hook (make busy)
Note: H1 command is not supported for Italy
I_ I0 Display product-identification code
I1 Factory ROM checksum test
I2 Internal memory test
I3 Firmware ID
I4 Reserved ID
L_ L0 Low speaker volume
L1 Low speaker volume
L2 Medium speaker volume
L3 High speaker volume
M_ M0 Internal speaker off
M1 Internal speaker on until carrier detected
M2 Internal speaker always on
M3 Internal speaker on until carrier detected and
off while dialing
N_ Included for compatibility only, provides no
effect
O_ O0 Return to Data Mode
O1 Return to Data Mode and initiate an equalizer
retrain
P Set Pulse dial as default
Q_ Q0 Modem sends responses
Sr? Read and display value in register r.
Sr=n Set register r to value n (n = 0-255).
T Set Tone Dial as default
V_ V0 Numeric responses
V1 Word responses
W_ W0 Report DTE speed only
W1 Report line speed, error correction protocol,
and DTE speed.
W2 Report DCE speed only
X_ X0 Hayes Smartmodem 300 compatible
responses/blind dialing.
X1 Same as X0 plus all CONNECT
responses/blind dialing
X2 Same as X1 plus dial tone detection
X3 Same as X1 plus busy detection/blind dialing
X4 All responses and dial tone and busy signal
detection
Z_ Z0 Reset and retrieve active profile 0
Z1 Reset and retrieve active profile 1
64 User Guide

Extended AT commands
Command Function
&C_ &C0 Force Carrier Detect Signal High (ON)
&C1 Turn on CD when remote carrier is present
&D_ &D0 Modem ignores the DTR signal
&D1 Modem returns to Command Mode after DTR
toggle
&D2 Modem hangs up, returns to the Command
Mode after DTR toggle
&D3 Resets modem after DTR toggle
&F_ &F Recall factory default configuration
&G_ &G0 Guard tone disabled
&G1 Guard tone disabled
&G2 1800 Hz guard tone
&K_ &K0 Disable flow control
&K3 Enable RTS/CTS hardware flow control
&K4 Enable XON/XOFF software flow control
&K5 Enable transparent XON/XOFF flow control
&K6 Enable both RTS/CTS and XON/XOFF flow
control
&M_ &M0 Asynchronous operation
&P_ &P0 US setting for off-hook-to-on-hook ratio
&P1 UK and Hong Kong off-hook-to-on-hook ratio
&P2 Same as &P0 setting but at 20 pulses per
minute
&P3 Same as &P1 setting but at 20 pulses per
minute
&R_ &R0 Reserved
&R1 CTS operates per flow control requirements
&S_ &S0 Force DSR Signal High (ON)
&S1 DSR off in command mode, on in on-line
mode
&T_ &T0 Ends test in progress
&T1 Perform Local Analog Loopback Test
&T3 Perform Local Digital Loopback Test
&T4 Grant Remote Digital Loopback Test request
by remote modem
&T5 Deny Remote Digital Loopback Test request
&T6 Perform a Remote Digital Loopback Test
&T7 Perform a Remote Digital Loopback Test and
Self-Test
&T8 Perform Local Analog Loopback Test and
Self-Test
&V &V0 Displays Active and Stored Profiles
Appendix A. Manual modem commands 65

Command Function
&V1 Display Last Connection Statistics
&W_ &W0 Stores the active profile as Profile 0
&W1 Stores the active profile as Profile 1
%E_ %E0 Disable auto-retrain
%E1 Enable auto-retrain
+MS? Displays the current Select Modulation
settings
+MS=? Displays a list of supported Select Modulation
options
+MS=a,b,c,e,f Select modulation where: a=0, 1, 2, 3, 9, 10, 11,
12, 56, 64, 69; b=0-1; c=300-56000; d=300-
56000; e=0-1; and f=0-1. A, b, c, d, e, f
default=12, 1, 300, 56000, 0, 0. Parameter “a”
specifies the modulation protocol desired
where: 0=V.21, 1=V.22, 2=V.22bis, 3=V.23,
9=V.32, 10=V.32bis, 11=V.34,
12=V.90,K56Flex,V.34......,56=K 56Flex,
V.90,V.34......, 64=Bell 103, and 69=Bell 212.
Parameter “b” specifies automode operations
where: 0=automode disabled, 1= automode
enabled with V.8/V.32 Annex A. Parameter
“c” specifies the minimum connection data
rate (300- 56000). Parameter “d” specifies the
maximum connection rate (300-56000);
Parameter “e” specifies the codec type (0=
Law, and 1=A-Law). Parameter “f” specifies
“robbed bit” signaling detection (0=detection
disabled 1=detection enabled)
MNP/V.42/V.42bis/V.44 commands
Command Function
%C_ %C0 Disable MNP Class 5 and V.42bis data compression
%C1 Enable MNP Class 5 data compression only
%C2 Enable V.42bis data compression only
%C3 Enable MNP Class 5 and V.42bis data compression
&Q_ &Q0 Direct data link only (same as \N1)
&Q5 V.42 data link with fallback options
&Q6 Normal data link only (same as \N0)
+DS44=0, 0 Disable V.44
+DS44=3, 0 Enable V.44
+DS44? Current values
+DS44=? List of support values
66 User Guide

Fax Class 1 commands
+FAE=n Data/Fax Auto Answer
+FCLASS=n Service Class
+FRH=n Receive data with HDLC framing
+FRM=n Receive data
+FRS=n Receive silence
+FTH=n Transmit data with HDLC framing
+FTM=n Transmit data
+FTS=n Stop transmission and wait
Fax Class 2 commands
+FCLASS=n Services class.
+FAA=n Adaptive answer.
+FAXERR Fax error value.
+FBOR Phase C data bit order.
+FBUF? Buffer size (read only).
+FCFR Indicate confirmation to receive.
+FCLASS= Service class.
+FCON Facsimile connection response.
+FCIG Set the polled station identification.
+FCIG: Report the polled station identification.
+FCR Capability to receive.
+FCR= Capability to receive.
+FCSI: Report the called station ID.
+FDCC= DCE capabilities parameters.
+FDCS: Report current session.
+FDCS= Current session results.
+FDIS: Report remote capabilities.
+FDIS= Current sessions parameters.
+FDR Begin or continue phase C receive data.
+FDT= Data transmission.
+FDTC: Report the polled station capabilities.
+FET: Post page message response.
+FET=N Transmit page punctuation.
+FHNG Call termination with status.
+FK Session termination.
+FLID= Local ID string.
+FLPL Document for polling.
+FMDL? Identify model.
+FMFR? Identify manufacturer.
Appendix A. Manual modem commands 67

+FPHCTO Phase C time out.
+FPOLL Indicates polling request.
+FPTS: Page transfer status.
+FPTS= Page transfer status.
+FREV? Identify revision.
+FSPT Enable polling.
+FTSI: Report the transmit station ID.
Voice commands
#BDR Select Baud Rate
#CID Enable Caller ID detection and reporting format
#CLS Select Data, Fax or Voice/Audio
#MDL? Identify Model
#MFR? Identify Manufacturer
#REV? Identify Revision Level
#TL Audio output transmit level
#VBQ? Query Buffer Size
#VBS Bits per sample (ADPCM or PCM)
#VBT Beep Tone Timer
#VCI? Identify Compression Method
#VLS Voice line select
#VRA Ringback goes away timer
#VRN Ringback never came timer
#VRX Voice Receive Mode
#VSDB Silence deletion tuner
#VSK Buffer skid setting
#VSP Silence detection period
#VSR Sampling rate selection
#VSS Silence deletion tuner
#VTD DTMF tone reporting capability
#VTM Enable timing mark placement
#VTS Generate tone signals
#VTX Voice transmit mode
68 User Guide

Attention Switzerland User:
If your Swisscom phone line does not have Taxsignal switched OFF, modem
function may be impaired. The impairment may be resolved by a filter with
the following specifications:
Telekom PTT SCR-BE
Taximpulssperrfilter-12kHz
PTT Art. 444.112.7
Bakom 93.0291.Z.N
Appendix A. Manual modem commands 69
70 User Guide

Appendix B. Notices
Lenovo may not offer the products, services, or features discussed in this
document in all countries. Consult your local Lenovo representative for
information on the products and services currently available in your area. Any
reference to a Lenovo product, program, or service is not intended to state or
imply that only that Lenovo product, program, or service may be used. Any
functionally equivalent product, program, or service that does not infringe any
Lenovo intellectual property right may be used instead. However, it is the user’s
responsibility to evaluate and verify the operation of any other product, program,
or service.
Lenovo may have patents or pending patent applications covering subject matter
described in this document. The furnishing of this document does not give you
any license to these patents. You can send license inquiries, in writing, to:
Lenovo (United States), Inc.
1009 Think Place - Building One
Morrisville, NC 27560
U.S.A.
Attention: Lenovo Director of Licensing
LENOVO GROUP LTD. PROVIDES THIS PUBLICATION “AS IS” WITHOUT
WARRANTY OF ANY KIND, EITHER EXPRESS OR IMPLIED, INCLUDING, BUT
NOT LIMITED TO, THE IMPLIED WARRANTIES OF NON-INFRINGEMENT,
MERCHANTABILITY OR FITNESS FOR A PARTICULAR PURPOSE. Some
jurisdictions do not allow disclaimer of express or implied warranties in certain
transactions, therefore, this statement may not apply to you.
This information could include technical inaccuracies or typographical errors.
Changes are periodically made to the information herein; these changes will be
incorporated in new editions of the publication. Lenovo may make improvements
and/or changes in the product(s) and/or the program(s) described in this
publication at any time without notice.
The products described in this document are not intended for use in implantation
or other life support applications where malfunction may result in injury or death
to persons. The information contained in this document does not affect or change
Lenovo product specifications or warranties. Nothing in this document shall
operate as an express or implied license or indemnity under the intellectual
property rights of Lenovo or third parties. All information contained in this
document was obtained in specific environments and is presented as an
illustration. The result obtained in other operating environments may vary.
Lenovo may use or distribute any of the information you supply in any way it
believes appropriate without incurring any obligation to you.
Any references in this publication to non-Lenovo Web sites are provided for
convenience only and do not in any manner serve as an endorsement of those Web
sites. The materials at those Web sites are not part of the materials for this Lenovo
product, and use of those Web sites is at your own risk.
Any performance data contained herein was determined in a controlled
environment. Therefore, the result obtained in other operating environments may
© Lenovo 2006, 2007. Portions © IBM Corp. 2005. 71

vary significantly. Some measurements may have been made on development-level
systems and there is no guarantee that these measurements will be the same on
generally available systems. Furthermore, some measurements may have been
estimated through extrapolation. Actual results may vary. Users of this document
should verify the applicable data for their specific environment.
Television output notice
The following notice applies to models that have the factory-installed
television-output feature.
This product incorporates copyright protection technology that is protected by
method claims of certain U.S. patents and other intellectual property rights owned
by Macrovision Corporation and other rights owners. Use of this copyright
protection technology must be authorized by Macrovision Corporation, and is
intended for home and other limited viewing uses only unless otherwise
authorized by Macrovision Corporation. Reverse engineering or disassembly is
prohibited.
Trademarks
The following terms are trademarks of Lenovo in the United States, other
countries, or both:
Lenovo
Rescue and Recovery
ThinkCentre
ThinkVantage
Wake on LAN is a trademark of the International Business Machines Corporation
in the United States, other countries, or both.
Microsoft, Windows, and Windows Vista are trademarks of Microsoft Corporation
in the United States, other countries, or both.
Intel, Celeron, and Pentium are trademarks of Intel Corporation in the United
States, other countries, or both.
Linux is a trademark of Linus Torvalds in the United States, other countries, or
both.
Other company, product, or service names may be trademarks or service marks of
others.
72 User Guide

Index
A
Access Help 60
adapters
connectors 26
installing 26
peripheral component interconnect (PCI) 15
antivirus software, updating 9
arranging your workspace 1
audio line in connector 19
audio line out connector 19
audio, subsystem 12
B
battery location 22
BIOS, updating (flashing) 51
C
cables, connecting 37
changing
startup device sequence 49
changing the battery 35
CMOS, clearing 36
components
locating 21
computer
connecting 3
shutting down 9
turning on computer 8
connecting drives 32
connector description 19
connectors
front 17
rear 18
cover
removing 20
replacing 37
Customer Replacement Units (CRUs) 60
Customer Support Center 61
D
device drivers 19
device, drivers 19
diagnostic
CD image 9, 55, 56
diskettes 9, 55, 56, 57
PC-Doctor for DOS 54, 55
PC-Doctor for Windows 54, 55
PC-Doctor for Windows PE 54, 57
programs 54, 61
Rescue and Recovery workspace 56, 57
diagnostic CD image
creating 55
running 56
diagnostic diskettes
creating 55
running 56
drives
bays 13, 28
connecting 32
diskette 15
hard disk 15
installing 30
internal 12, 28
optical 15
removable media 15
specifications 28
E
environment, operating 14
Ethernet connector 19
exiting, Setup Utility 50
H
handling static-sensitive devices 16
help and service 60
I
information resources 59
input/output (I/O)
features 12
installing
operating system 9
software 8
installing options
adapters 26
DIMMs 25
external 16
memory 25
memory modules 25
security features 33
K
keyboard connector 19
L
Lenovo Web site 60
locating components 21
M
machine features 11
manual modem commands 63
memory
dual inline memory modules (DIMMs) 25
system 25
memory modules, installing 25
microphone connector 19
modem commands
Basic AT 63
© Lenovo 2006, 2007. Portions © IBM Corp. 2005. 73
modem commands (continued)
Extended AT 65
Fax Class 1 67
Fax Class 2 67
MNP/V.42/V.42bis/V.44 66
Voice 68
mouse connector 19
mouse, cleaning
non-optical 57
optical mouse 57
N
non-optical mouse 57
notices 71
O
obtaining
device drivers 20
Online Books folder 59
operating system
installing 9
updating 9
optical mouse 57
options 15
available 14
external 15
internal 15
P
padlock loop 35
parallel connector 19
password
administrator 48
erasing 36
lost or forgotten 36
setting, changing, deleting 48
user 48
passwords
considerations 47
physical specifications 14
power
Advanced Configuration and Power Interface (ACPI)
support 13
turning off computer 9
turning on 8
power-on self-test (POST) 51
R
removing the cover 20
replacing
battery 35
replacing the cover 37
Rescue and Recovery 39
S
security
cable lock 34
features 13, 33
integrated cable lock 35
padlock loop 35
selecting
startup device 49
temporary startup device 49
serial connector 19
Setup Utility 47
software
installing 8
specifications
physical 14
system board
connectors 22, 23, 24
identifying parts 22
location 22, 23, 24
memory 15, 22, 23, 24
system programs 51
T
ThinkVantage Productivity Center 59
trademarks 72
troubleshooting 53
U
updating
(flashing) BIOS 51
antivirus software 9
operating system 9
updating system programs 51
USB connectors 19
using
passwords 47
security profile by device 48
Setup Utility 47
V
video, subsystem 12
W
warranty information 60
74 User Guide

Part Number: 41X5664
Printed in USA
(1P) P/N: 41X5664
