Lenovo 53Y9876 User Guide Manual (English) M58p Desktop (Think Centre) Type 7357
2011-01-04
User Manual: Lenovo 53Y9876 (English) User guide M58p Desktop (ThinkCentre) - Type 7357 7357
Open the PDF directly: View PDF
.
Page Count: 84
- Contents
- Important safety information
- Chapter 1. Product overview
- Chapter 2. Installing options and replacing hardware
- Handling static-sensitive devices
- Installing options and replacing hardware
- Installing external options
- Opening the computer cover
- Accessing the system board components and drives
- Installing or replacing a memory module
- Installing or replacing a PCI card
- Installing internal drives
- Replacing the hard disk drive
- Replacing the optical drive
- Replacing the battery
- Replacing the power supply assembly
- Replacing the heat sink and fan assembly
- Replacing the card reader
- Replacing the keyboard
- Replacing the mouse
- Completing the parts replacement
- Installing security features
- Chapter 3. Recovery information
- Creating and using recovery media
- Performing backup and recovery operations
- Using the Rescue and Recovery workspace
- Creating and using rescue media
- Creating and using a recovery repair diskette
- Installing or reinstalling device drivers
- Setting a rescue device in the startup sequence
- Solving recovery problems
- Chapter 4. Using the Setup Utility
- Chapter 5. Updating system programs
- Chapter 6. Troubleshooting and diagnostics
- Chapter 7. Getting information, help, and service
- Appendix. Notices
- Index


ThinkCentre
User Guide

Note
Before using this information and the product it supports, be sure to read and understand the ThinkCentre Safety and
Warranty Guide and “Notices,” on page 69.
Third Edition (October 2009)
© Copyright Lenovo 2009.
LENOVO products, data, computer software, and services have been developed exclusively at private expense and
are sold to governmental entities as commercial items as defined by 48 C.F.R. 2.101 with limited and restricted
rights to use, reproduction and disclosure.
LIMITED AND RESTRICTED RIGHTS NOTICE: If products, data, computer software, or services are delivered
pursuant a General Services Administration ″GSA″contract, use, reproduction, or disclosure is subject to restrictions
set forth in Contract No. GS-35F-05925.

Contents
Important safety information ......v
Chapter 1. Product overview ......1
Features ................1
Specifications ..............4
Software overview ............5
Software provided with your Windows operating
system ...............5
Locations ...............7
Locating connectors on the front of your computer 7
Locating connectors on the rear of your computer 8
Locating components ..........10
Locating parts on the system board .....11
Chapter 2. Installing options and
replacing hardware .........13
Handling static-sensitive devices .......13
Installing options and replacing hardware ....13
Installing external options ........14
Opening the computer cover .......14
Accessing the system board components and
drives ...............16
Installing or replacing a memory module . . . 16
Installing or replacing a PCI card ......18
Installing internal drives .........20
Replacing the hard disk drive .......24
Replacing the optical drive ........27
Replacing the battery ..........28
Replacing the power supply assembly....30
Replacing the heat sink and fan assembly . . . 32
Replacing the card reader.........34
Replacing the keyboard .........35
Replacing the mouse ..........35
Completing the parts replacement ......36
Installing security features .........37
Integrated cable lock ..........38
Password protection ..........38
Erasing lost or forgotten passwords (clearing
CMOS) ...............38
Chapter 3. Recovery information . . . 41
Creating and using recovery media ......41
Creating recovery media .........41
Using recovery media ..........42
Performing backup and recovery operations . . . 42
Performing a backup operation .......43
Performing a recovery operation ......43
Using the Rescue and Recovery workspace ....44
Creating and using rescue media .......45
Creating rescue media ..........45
Using rescue media...........45
Creating and using a recovery repair diskette . . . 46
Creating a recovery repair diskette .....46
Using a recovery repair diskette ......46
Installing or reinstalling device drivers .....47
Setting a rescue device in the startup sequence . . 48
Solving recovery problems .........48
Chapter 4. Using the Setup Utility . . . 49
Starting the Setup Utility program.......49
Viewing and changing settings ........49
Using passwords ............49
Password considerations .........50
Power-On Password ..........50
Administrator Password .........50
Hard Disk User Password ........50
Setting, changing, and deleting a password. . . 50
Enabling or disabling a device ........51
Selecting a startup device..........51
Selecting a temporary startup device .....51
Selecting or changing the startup device sequence 52
Exiting from the Setup Utility program .....52
Chapter 5. Updating system programs 53
Using system programs ..........53
Updating (flashing) BIOS from a disc......53
Updating (flashing) BIOS from your operating
system ................54
Recovering from a POST/BIOS update failure . . . 54
Chapter 6. Troubleshooting and
diagnostics .............57
Basic troubleshooting ...........57
Diagnostic programs ...........59
Lenovo ThinkVantage Toolbox .......59
Lenovo System Toolbox .........59
PC-Doctor for Rescue and Recovery .....60
PC-Doctor for DOS ...........60
Cleaning the mouse ...........61
Optical mouse ............61
Non-optical mouse ...........61
Chapter 7. Getting information, help,
and service .............63
Information resources ...........63
Online Books folder ..........63
Lenovo ThinkVantage Tools ........63
ThinkVantage Productivity Center ......64
Lenovo Welcome ...........64
Access Help .............64
Safety and Warranty ..........64
Lenovo Web site (http://www.lenovo.com). . . 65
Help and service ............65
Using the documentation and diagnostic
programs ..............65
Calling for service ...........65
Using other services ..........66
Purchasing additional services .......67
© Copyright Lenovo 2009 iii

Important safety information
CAUTION:
Before using this manual, be sure to read and understand all the related safety
information for this product. Refer to the ThinkCentre Safety and Warranty Guide
that you received with this product for the latest safety information. Reading
and understanding this safety information reduces the risk of personal injury
and or damage to your product.
If you no longer have a copy of the ThinkCentre Safety and Warranty Guide, you can
obtain a Portable Document Format (PDF) version from the Lenovo®Support Web
site at:
http://www.lenovo.com/support
© Copyright Lenovo 2009 v
vi User Guide

Chapter 1. Product overview
This chapter describes the computer features, specifications, preinstalled software
programs, and part and connector locations.
Features
This section provides an overview of the computer features.
System information
The following information covers a variety of models. For information about
your specific model, use the Setup Utility program. See Chapter 4, “Using the
Setup Utility,” on page 49.
Microprocessor
vIntel®Celeron®processor
vIntel Core™2 Duo processor
vIntel Core 2 Quad processor
vIntel Pentium®dual-core processor
vInternal cache (size varies by model type)
Memory
vSupports up to four double data rate 3 dual inline memory modules (DDR3
DIMMs)
Internal drives
vCard reader (some models)
vOptical drive
vSATA (Serial Advanced Technology Attachment) internal hard disk drive (some
models)
vSolid State Drive (SSD) (some models)
Video subsystem
vIntegrated graphics card for a VGA (Video Graphics Array) connector and
DisplayPort connector
vPCI (Peripheral Component Interconnect) Express x16 graphics card slot on the
system board for a discrete graphics card
© Copyright Lenovo 2009 1
Audio subsystem
vHigh Definition (HD) with ADI 1882 Audio Codec
vAudio line-in connector, audio line-out connector, and microphone connector on
the rear panel
vMicrophone connector and headphone connector on the front panel
vInternal speaker (some models)
Connectivity
v10/100/1000 Mbps integrated Ethernet controller
vPCI V.90 Data/Fax modem (some models)
System management features
vAbility to store power-on self-test (POST) hardware test results
vAutomatic power-on startup
vAlert Standard Format 2.0
vIntel Active Management Technology (AMT) (some models)
vIntel matrix storage manager
vPreboot Execution Environment (PXE) and Dynamic Host Configuration Protocol
(DHCP)
vRemote Administration
vSecure Managed Client (SMC) (some models)
vSystem Management (SM) Basic Input/Output System (BIOS) and SM software
vWake on LAN
vWake on Ring (in the Setup Utility program, this feature is called Serial Port
Ring Detect for an external modem)
Input/Output (I/O) features
v9-pin serial port (one standard and one optional)
vEight USB connectors (two on the front panel and six on the rear panel)
vEthernet connector
vOne DisplayPort connector
vOne eSATA connector
vStandard keyboard connector (some models)
vStandard mouse connector (some models)
vThree audio connectors (audio line-in connector, audio line-out connector, and
microphone connector) on the rear panel
vTwo audio connectors (microphone connector and headphone connector) on the
front panel
vVGA monitor connector
Expansion
vOne card reader
vOne hard disk drive bay
vOne optical drive bay
vOne PCI card slot
vOne PCI Express x16 graphics card slot
2User Guide

Power supply
v280-watt auto-sensing power supply
vAutomatic 50/60 Hz input frequency switching
vAdvanced Configuration and Power Interface (ACPI) support
Security features
vComputrace
vCover presence switch (also called intrusion switch, some models)
vHard Disk User Password
vKeyboard with fingerprint reader (some models)
vPower-On Password (POP) and Administrator Password for BIOS access
vSerial and parallel port I/O control
vStartup sequence control
vStartup without diskette drive, keyboard, or mouse
vSupport for the addition of an integrated cable lock (Kensington lock)
vSupport to enable or disable a device
vTrusted Platform Module (TPM)
vUnattended start mode
vUSB switch on/off individually
Software programs, preinstalled
Your computer might come with preinstalled software programs. If it does, an
operating system, device drivers to support built-in features, and other support
programs are included. For more information, see “Software overview” on page 5.
Operating system, preinstalled
vMicrosoft®Windows®7
vMicrosoft Windows Vista®
vMicrosoft Windows XP Professional
(preinstalled through downgrade rights in Windows 7 Professional, Windows 7
Ultimate, Windows Vista Business, or Windows Vista Ultimate)
Operating systems, certified or tested for compatibility1(varies by model type)
vLinux®
1. The operating systems listed here are being certified or tested for compatibility at the time this publication goes to press.
Additional operating systems might be identified by Lenovo as compatible with your computer following the publication of this
booklet. Corrections and additions to this list are subject to change. To determine if an operating system has been certified or
tested for compatibility, check the Web site of the operating system vendor.
Chapter 1. Product overview 3

Specifications
This section lists the physical specifications for your computer.
Dimensions
Width: 317 mm (12.48 inches)
Height: 99 mm (3.90 inches)
Depth: 355 mm (13.98 inches)
Weight
Maximum configuration as shipped: 7.5 kg (16.53 lbs)
Environment
Air temperature:
Operating: 10° to 35°C (50° to 95°F)
Non-operating: -40° to 60°C (-40° to 140°F) (with package)
Non-operating: -10° to 60°C (14° to 140°F) (without package)
Humidity:
Operating: 10% to 80% (10% per hour, non condensing)
Non-operating: 10% to 90% (10% per hour, non condensing)
Maximum altitude:
Operating: -50 to 10 000 ft (-15.2 to 3 048 m)
Non-operating: -50 to 35 000 ft (-15.2 to 10 668 m)
Electrical input
Input voltage:
Low range:
Minimum: 100 V ac
Maximum: 127 V ac
Input frequency range: 50 to 60 Hz
Voltage-selection switch setting: 115 V ac
High range:
Minimum: 200 V ac
Maximum: 240 V ac
Input frequency range: 50 to 60 Hz
Voltage-selection switch setting: 230 V ac
4User Guide

Software overview
This section describes the software preinstalled on the computers that have an
internal hard disk drive and an operating system from Lenovo.
Software provided with your Windows operating system
This section describes the Windows applications included with your computer.
Software provided by Lenovo
The following software programs are provided by Lenovo to help you improve
productivity and reduce the cost associated with maintaining your computer.
Software programs provided with your computer might vary depending on your
model type and preinstalled operating system.
Lenovo ThinkVantage Tools: The Lenovo ThinkVantage®Tools program guides
you to a host of information sources and provides easy access to various tools to
help you work more easily and securely. For more information, see “Lenovo
ThinkVantage Tools” on page 63.
Note: The Lenovo ThinkVantage Tools program is only available on computers
preinstalled with Windows 7 from Lenovo.
ThinkVantage Productivity Center: The ThinkVantage Productivity Center
program guides you to a host of information and tools to help you set up,
understand, maintain, and enhance your computer.
Note: The ThinkVantage Productivity Center program is only available on
computers preinstalled with Windows Vista or Windows XP from Lenovo.
ThinkVantage Rescue and Recovery: The ThinkVantage Rescue and Recovery®
(RnR) program is a one button recovery and restore solution that includes a set of
self recovery tools to help users diagnose computer problems, get help, and
recover from system crashes quickly, even if the primary operating system will not
start.
ThinkVantage Client Security Solution: The ThinkVantage Client Security
Solution (CSS) program is available on select Lenovo computers. It helps protect
your information, including vital security information like passwords, encryption
keys, and electronic credentials, while guarding against unauthorized user access
to data.
Note: The ThinkVantage Client Security Solution program is only available on
computers preinstalled with Windows Vista or Windows XP from Lenovo.
Password Manager: The Password Manager program helps you automatically
capture and fill in authentication information for Windows applications and Web
sites.
Note: The Password Manager program is only available on computers preinstalled
with Windows 7 from Lenovo.
ThinkVantage System Update: The ThinkVantage System Update (TVSU)
program helps you keep the software on your system up-to-date, by downloading
and installing software packages (TVT applications, device drivers, BIOS flashes,
and other third party applications). Some examples of software that you should
Chapter 1. Product overview 5
keep updated are programs provided by Lenovo, such as the Rescue and Recovery
program and the Productivity Center program.
ThinkVantage Power Manager: The ThinkVantage Power Manager program
provides convenient, flexible, and complete power management for your
ThinkCentre®computer. By using the ThinkVantage Power Manager program, you
can adjust your power settings to achieve the best balance between system
performance and power saving.
Fingerprint Software: The integrated fingerprint reader provided on some
keyboards enables you to enroll your fingerprint and associate it with your
power-on password, hard disk drive password, and Windows password. As a
result, fingerprint authentication can replace passwords and enable simple and
secure user access. A fingerprint reader keyboard is available with select computers
or can be purchased for computers that support this option.
Lenovo ThinkVantage Toolbox
The Lenovo ThinkVantage Toolbox program helps you maintain your computer,
improve computing security, diagnose computer problems, get familiar with the
innovative technologies provided by Lenovo, and get more information about your
computer. See “Lenovo ThinkVantage Toolbox” on page 59 for detailed
information.
Note: The Lenovo ThinkVantage Toolbox program is only available on computers
preinstalled with Windows 7 from Lenovo.
Lenovo System Toolbox
The Lenovo System Toolbox diagnostic program is preinstalled on your hard disk
drive. This diagnostic program works through the Windows operating system to
diagnose hardware problems and report operating-system-controlled settings that
can cause hardware failures. See “Lenovo System Toolbox” on page 59 for more
information.
Note: The Lenovo System Toolbox program is only available on computers
preinstalled with Windows Vista or Windows XP from Lenovo.
PC-Doctor for Rescue and Recovery
The PC-Doctor for Rescue and Recovery diagnostic program is preinstalled on
your hard disk drive. It is part of the Rescue and Recovery workspace on each
Lenovo computer to diagnose hardware problems and report operating-system-
controlled settings that can cause hardware failures. Use the PC-Doctor for Rescue
and Recovery if you are unable to start the Windows operating system. See
“PC-Doctor for Rescue and Recovery” on page 60 for more information.
Adobe Reader
The Adobe Reader is a tool used to view, print, and search PDF documents.
See “Online Books folder” on page 63 for more information about accessing the
online books and the Lenovo Web site.
Antivirus software
Your computer comes with antivirus software that you can use to detect and
eliminate viruses. Lenovo provides a full version of antivirus software on your
hard disk drive with a free 30-day subscription. After 30 days, you must renew the
license to continue receiving the antivirus program updates.
6User Guide

Locations
Locating connectors on the front of your computer
Figure 1 shows the locations of the connectors on the front of your computer.
Note: Not all computer models have the following connectors.
1 USB connector 3 Headphone connector
2 Microphone connector 4 USB connector
Figure 1. Front connector locations
Chapter 1. Product overview 7

Locating connectors on the rear of your computer
Figure 2 shows the locations of the connectors on the rear of your computer. Some
connectors on the rear of your computer are color-coded to help you determine
where to connect the cables on your computer.
1 Serial port (some models) 9 Standard mouse connector (some models)
2 Power cord connector 10 DisplayPort connector
3 Audio line-in connector 11 USB connectors (2)
4 Audio line-out connector 12 eSATA connector
5 Microphone connector 13 USB connectors (4)
6 Serial port 14 Ethernet connector
7 VGA monitor connector 15 PCI Express x16 graphics card slot
8 Standard keyboard connector (some
models)
16 PCI card slot
Figure 2. Rear connector locations
8User Guide
Connector Description
Audio line-in connector Used to receive audio signals from an external audio device,
such as a stereo system. When you attach an external audio
device, a cable is connected between the audio line-out
connector of the device and the audio line-in connector of the
computer.
Audio line-out connector Used to send audio signals from the computer to external
devices, such as powered stereo speakers (speakers with
built-in amplifiers), headphones, multimedia keyboards, or the
audio line-in connector on a stereo system or other external
recording device.
DisplayPort connector Used to attach a high-performance monitor, a direct-drive
monitor, or other devices that use a DisplayPort connector.
eSATA connector Use this external Serial Advanced Technology Attachment
(eSATA) connector to attach an external hard disk drive.
Ethernet connector Used to attach an Ethernet cable for a local area network
(LAN).
Note: To operate the computer within FCC Class B limits, use
a Category 5 Ethernet cable.
Microphone connector Used to attach a microphone to your computer when you want
to record sound or if you use speech-recognition software.
Serial port Used to attach an external modem, a serial printer, or other
devices that use a 9-pin serial port.
Standard keyboard
connector
Used to attach a keyboard that uses a standard keyboard
connector.
Standard mouse connector Used to attach a mouse, a trackball, or other pointing devices
that use a standard mouse connector.
USB connector Used to attach a device that requires a Universal Serial Bus
(USB) connector, such as a USB keyboard, a USB mouse, a USB
scanner or a USB printer. If you have more than eight USB
devices, you can purchase a USB hub, which you can use to
connect additional USB devices.
VGA monitor connector Used to attach a VGA monitor or other devices that use a VGA
monitor connector.
Chapter 1. Product overview 9

Locating components
Figure 3 shows the locations of the various components in your computer. To open
the computer cover, see “Opening the computer cover” on page 14.
1 Hard disk drive (some models) 4 Optical drive
2 Microprocessor, heat sink and fan
assembly
5 Memory slots (4)
3 Internal speaker (some models) 6 Power supply assembly
Figure 3. Component locations
10 User Guide

Locating parts on the system board
Figure 4 shows the locations of the parts on the system board.
1 PCI card slot 11 Memory slots (4)
2 PCI Express x16 graphics card slot 12 24-pin power connector
3 Battery 13 Serial (COM 2) connector
4 Internal speaker connector 14 Front audio connector
5 Cover presence switch connector
(Intrusion switch connector) (some
models)
15 SATA connectors (2)
6 Microprocessor fan connector 16 System fan connector
7 Thermal sensor connector 17 Front USB connector 1
8 Microprocessor 18 Front USB connector 2
9 4-pin power connector 19 Clear CMOS (Complementary Metal Oxide
Semiconductor)/Recovery jumper
10 Front panel connector 20 Power fan connector
Figure 4. System board parts locations
Chapter 1. Product overview 11
12 User Guide

Chapter 2. Installing options and replacing hardware
This chapter provides instructions for installing options and replacing hardware for
your computer. You can expand the capabilities of your computer by adding
memory modules, PCI cards, or drives. When installing or replacing an option, use
these instructions along with the instructions that come with the option.
Important: Before you install or replace any option, be sure to read and
understand the "Important safety information" in the ThinkCentre Safety
and Warranty Guide. The precautions and guidelines will help you work
safely.
Handling static-sensitive devices
Do not open the static-protective package containing the new part until the
defective part has been removed from the computer and you are ready to install
the new part. Static electricity, although harmless to you, can seriously damage
computer components and parts.
When you handle parts and other computer components, take these precautions to
avoid static-electricity damage:
vLimit your movement. Movement can cause static electricity to build up around
you.
vAlways handle parts and other computer components carefully. Handle PCI
cards, memory modules, system boards, and microprocessors by the edges.
Never touch any exposed circuitry.
vPrevent others from touching the parts and other computer components.
vBefore you replace a new part, touch the static-protective package containing the
part to a metal expansion-slot cover or other unpainted metal surface on the
computer for at least two seconds. This reduces static electricity in the package
and your body.
vWhen possible, remove the new part from the static-protective packaging, and
install it directly in the computer without setting the part down. When this is
not possible, place the static-protective package that the part came in on a
smooth, level surface and place the part on it.
vDo not place the part on the computer cover or other metal surface.
Installing options and replacing hardware
This section provides introductions for installing options and replacing hardware
for your computer. When installing or replacing an option, use these instructions
along with the instructions that come with the option.
Attention
Do not open your computer or attempt any repair before reading and understanding the
“Important safety information” in the ThinkCentre Safety and Warranty Guide that came with
your computer. To obtain a copy of the ThinkCentre Safety and Warranty Guide,goto:
http://www.lenovo.com/support
Note: Use only computer parts provided by Lenovo.
© Copyright Lenovo 2009 13

Installing external options
External speakers, a printer, or a scanner can be connected to your computer. For
some external options, you must install additional software in addition to making
the physical connection. When installing an external option, see “Locating
connectors on the front of your computer” on page 7 and “Locating connectors on
the rear of your computer” on page 8 to identify the required connector, and then
use the instructions that come with the option to help you make the connection
and install any software or device drivers that are required for the option.
Opening the computer cover
Attention
Do not open your computer or attempt any repair before reading and understanding the
“Important safety information” in the ThinkCentre Safety and Warranty Guide that came with
your computer. To obtain a copy of the ThinkCentre Safety and Warranty Guide,goto:
http://www.lenovo.com/support
This section provides instructions on how to open the computer cover.
CAUTION:
Turn off the computer and wait three to five minutes to let the computer cool
before opening the computer cover.
Important
Be sure to read and understand “Handling static-sensitive devices” on page
13 before opening the computer cover.
To open the computer cover:
1. Remove any media from the drives, shut down your operating system, and
turn off all attached devices and the computer.
2. Unplug all power cords from electrical outlets.
3. Disconnect the cables attached to the computer. This includes power cords,
input/output (I/O) cables, and any other cables that are connected to the
computer. See “Locating connectors on the front of your computer” on page 7
and “Locating connectors on the rear of your computer” on page 8.
4. Remove any locking devices, such as a cable lock that secures the computer
cover.
14 User Guide

5. Press the buttons on the sides of the computer and pivot the computer cover
upward to open.
Figure 5. Opening the computer cover
Chapter 2. Installing options and replacing hardware 15

Accessing the system board components and drives
This section provides instructions on how to access the system board components
and drives.
To access the system board components and drives:
1. Open the computer cover. See “Opening the computer cover” on page 14.
2. On some models, you might need to pivot the optical drive bay assembly
upward and remove the hard disk drive to access the internal components. See
“Replacing the hard disk drive” on page 24.
Notes:
a. Make sure you note the locations of any cables that you disconnect from the
drives or the system board.
b. Make sure the hard disk drive assembly is in the latched down position
before closing the computer cover to prevent damage to the hard disk drive.
Installing or replacing a memory module
Attention
Do not open your computer or attempt any repair before reading and understanding the
“Important safety information” in the ThinkCentre Safety and Warranty Guide that came with
your computer. To obtain a copy of the ThinkCentre Safety and Warranty Guide,goto:
http://www.lenovo.com/support
This section provides instructions on how to install or replace a memory module.
Your computer has four slots for installing or replacing DDR3 DIMMs (double data
rate 3 dual inline memory modules) that provide up to a maximum of 8 GB
system memory. When installing or replacing a memory module, use 1 GB or 2 GB
DDR3 DIMMs in any combination up to a maximum of 8 GB.
Figure 6. Pivoting the optical drive bay assembly
16 User Guide

To install or replace a memory module:
1. Open the computer cover. See “Opening the computer cover” on page 14.
2. Pivot the optical drive bay assembly upward to access the memory slots. See
“Accessing the system board components and drives” on page 16.
3. Remove any parts that might prevent your access to the memory slots.
4. Locate the memory slots.
5. Open the retaining clips.
If you are replacing an old memory module, open the retaining clips and
remove the memory module being replaced as shown.
Figure 7. Opening the retaining clips
Figure 8. Removing the old memory module
Chapter 2. Installing options and replacing hardware 17

6. Position the new memory module over the memory slot. Make sure that the
notch 1 on the memory module aligns correctly with the slot key 2 on the
system board. Push the memory module straight down into the slot until the
retaining clips close.
What to do next:
vTo work with another option, go to the appropriate section.
vTo complete the installation, go to “Completing the parts replacement” on
page 36.
Installing or replacing a PCI card
Attention
Do not open your computer or attempt any repair before reading and understanding the
“Important safety information” in the ThinkCentre Safety and Warranty Guide that came with
your computer. To obtain a copy of the ThinkCentre Safety and Warranty Guide,goto:
http://www.lenovo.com/support
This section provides instructions on how to install or replace a PCI card. Your
computer has one standard PCI card slot and one PCI Express x16 graphics card
slot.
Figure 9. Installing the memory module
18 User Guide

To install or replace a PCI card:
1. Open the computer cover. See “Opening the computer cover” on page 14.
2. Rotate the card retainer to the open position. If you are installing a PCI card,
remove the appropriate slot cover. If you are replacing an old PCI card, remove
the old card that is currently installed.
Notes:
a. The card fits tightly into the card slot. If necessary, alternate moving each
side of the card a small amount until it is removed from the card slot.
b. If the card is held in place by a retaining latch, press the card retaining latch
1 as shown to disengage the latch. Grasp the card and gently pull it out
of the slot.
3. Remove the new PCI card from its static-protective package.
Figure 10. Removing a PCI card
Chapter 2. Installing options and replacing hardware 19

4. Install the new card into the appropriate card slot on the system board and
rotate the card retainer to the closed position. See “Locating parts on the
system board” on page 11.
What to do next:
vTo work with another option, go to the appropriate section.
vTo complete the installation, go to “Completing the parts replacement” on
page 36.
Installing internal drives
This section provides instructions on how to install the internal drives.
Internal drives are devices that your computer uses to read and store data. You can
add drives to your computer to increase storage capacity and enable your
computer to read other types of media. Some of the types of drives that are
available for your computer are:
vSerial Advanced Technology Attachment (SATA) hard disk drives
vSolid State Drive
vSATA optical drives, such as CD drives or DVD drives
vRemovable media drives
Note: These types of drives are also referred to as integrated drive electronics
(IDE) drives.
Internal drives are installed in bays. In this manual, the bays are referred to as
bay 1, bay 2, and so on.
Figure 11. Installing the PCI card
20 User Guide

When you install an internal drive, it is important to note the type and size of the
drive that you can install in each bay. Also, it is important to correctly connect the
internal drive cables to the installed drive.
Drive specifications
Your computer comes with the following factory-installed drives:
vA 3.5-inch hard disk drive in bay 1
vAn optical drive in bay 2 (some models)
Figure 12 shows the locations of the drive bays.
The following list describes the type and size of the drive that you can install in
each bay:
1 Bay 1 - Maximum height: 25.8 mm (1 inch) 3.5-inch hard disk drive
1.8-inch Solid State Drive (requires
a Universal Adapter Bracket, 3.5 to
1.8-inch)
2 Bay 2 - Maximum height: 43 mm (1.7 inches)
Maximum length: 180 mm (7.08 inches)
Optical drive, such as a CD drive
or a DVD drive (preinstalled in
some models)
3.5-inch hard disk drive (requires a
Universal Adapter Bracket, 5.25 to
3.5-inch)*
5.25-inch hard disk drive
* You can obtain a Universal Adapter Bracket, 5.25 to 3.5-inch from a local
computer retailer or by contacting the Customer Support Center.
Figure 12. Drive bay locations
Chapter 2. Installing options and replacing hardware 21

Installing a drive in bay 2
Attention
Do not open your computer or attempt any repair before reading and understanding the
“Important safety information” in the ThinkCentre Safety and Warranty Guide that came with
your computer. To obtain a copy of the ThinkCentre Safety and Warranty Guide,goto:
http://www.lenovo.com/support
This section provides instructions on how to install a drive in bay 2.
To install an optical drive or an additional hard disk drive in bay 2:
1. Open the computer cover. See “Opening the computer cover” on page 14.
2. If there is a metal static shield installed in the drive bay, remove the metal
shield by using a flat-blade screwdriver to gently pry it loose.
3. If you are installing a drive with accessible media, such as an optical drive,
remove the plastic panel in the bezel by squeezing the plastic tabs that secure
the panel on the inside of the bezel.
Note: If you are installing a 3.5-inch hard disk drive, you must use a Universal
Adapter Bracket, 5.25 to 3.5-inch. You can obtain this bracket from a local
computer retailer or by contacting the Customer Support Center.
4. Install the retainer that comes with your drive on the side of the drive.
Figure 13. Installing the retainer
22 User Guide

5. Slide the drive into the bay until it locks into position.
6. Pivot the optical drive bay assembly upward to gain access to the cable
connections and connect the signal cable and the power cable for the drive.
7. Continue at “Connecting a SATA drive.”
Connecting a SATA drive
A SATA optical drive or a SATA hard disk drive can be connected to any available
SATA connector.
1. Locate the signal cable that comes with the new drive.
2. Locate an available SATA connector on the system board. See “Locating parts
on the system board” on page 11.
3. Connect one end of the signal cable to the drive and the other end to the
available SATA connector on the system board.
4. Locate one of the extra five-wire power connectors and connect it to the drive.
Figure 14. Installing a drive in bay 2
Figure 15. Connecting a SATA drive
Chapter 2. Installing options and replacing hardware 23

What to do next:
vTo work with another option, go to the appropriate section.
vTo complete the installation, go to “Completing the parts replacement” on
page 36.
Replacing the hard disk drive
Attention
Do not open your computer or attempt any repair before reading and understanding the
“Important safety information” in the ThinkCentre Safety and Warranty Guide that came with
your computer. To obtain a copy of the ThinkCentre Safety and Warranty Guide,goto:
http://www.lenovo.com/support
This section provides instructions on how to replace the hard disk drive if your
computer has one. For computer models that do not have an internal hard disk
drive and use a remote hard disk drive accessed through the SMC - Storage Array,
contact your network or storage administrator.
Important
When you receive a new hard disk drive, you also receive a set of Product
Recovery discs. The set of Product Recovery discs enables you to restore the
contents of the hard disk drive to the factory default settings. For more
information on recovering factory-installed software, refer to Chapter 3,
“Recovery information,” on page 41.
To replace the hard disk drive:
1. Open the computer cover. See “Opening the computer cover” on page 14.
2. You might need to pivot the optical drive bay assembly upward to gain easy
access to the hard disk drive.
3. Locate the hard disk drive.
24 User Guide

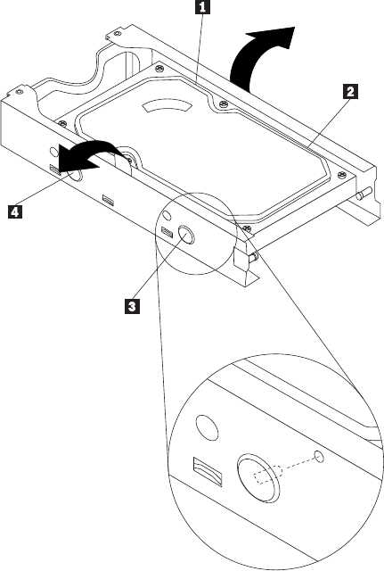
4. Push the blue handle of the hard disk drive bracket inwards to release the two
clips 1 that secure the hard disk drive to the chassis and then pivot the hard
disk drive upwards.
5. Disconnect the signal cable and the power cable from the hard disk drive and
then lift the hard disk drive up to completely remove it from the chassis.
6. Remove the failing hard disk drive from the bracket by flexing the sides of the
bracket enough.
Figure 16. Removing the hard disk drive
Chapter 2. Installing options and replacing hardware 25

7. To install a new hard disk drive into the bracket, flex the bracket and align
pin 1, pin 2, pin 3, and pin 4 on the bracket with the holes in the
hard disk drive.
Important: Do not touch the circuit board on the bottom of the hard disk
drive.
8. Connect the signal cable and the power cable to the new hard disk drive.
9. Install the new hard disk drive and bracket into the hard disk drive retainer
and rotate down until the two clips on the blue handle of the hard disk drive
bracket snap into position.
10. Go to “Completing the parts replacement” on page 36.
Figure 17. Installing the hard disk drive bracket
26 User Guide

Replacing the optical drive
Attention
Do not open your computer or attempt any repair before reading and understanding the
“Important safety information” in the ThinkCentre Safety and Warranty Guide that came with
your computer. To obtain a copy of the ThinkCentre Safety and Warranty Guide,goto:
http://www.lenovo.com/support
This section provides instructions on how to replace the optical drive.
To replace the optical drive:
1. Open the computer cover. See “Opening the computer cover” on page 14.
2. Pivot the optical drive bay assembly upward to gain easy access to the optical
drive.
3. Disconnect the signal cable and the power cable from the rear of the optical
drive.
4. Press the optical drive lock 1 and slide the optical drive out of the rear of the
drive bay assembly.
5. Remove the optical drive retainer from the drive being replaced and then
install the retainer on the left side of the new drive to be installed.
Figure 18. Removing the old optical drive
Figure 19. Installing the retainer
Chapter 2. Installing options and replacing hardware 27

6. Install the new optical drive into the drive bay until it snaps into position.
7. Connect the signal cable and the power cable to the rear of the optical drive.
8. Go to “Completing the parts replacement” on page 36.
Replacing the battery
Attention
Do not open your computer or attempt any repair before reading and understanding the
“Important safety information” in the ThinkCentre Safety and Warranty Guide that came with
your computer. To obtain a copy of the ThinkCentre Safety and Warranty Guide,goto:
http://www.lenovo.com/support
Your computer has a special type of memory that maintains the date, time, and
settings for built-in features, such as parallel-port assignments (configuration). A
battery keeps this information active when you turn off the computer.
The battery normally requires no charging or maintenance throughout its life;
however, no battery lasts forever. If the battery fails, the date, time, and
configuration information (including passwords) are lost. An error message is
displayed when you turn on the computer.
Refer to the “Lithium battery notice” in the ThinkCentre Safety and Warranty Guide
for information about replacing and disposing of the battery.
To replace the battery:
1. Open the computer cover. See “Opening the computer cover” on page 14.
2. Access the system board. See “Accessing the system board components and
drives” on page 16.
3. Locate the battery. See “Locating parts on the system board” on page 11.
Figure 20. Installing a new optical drive
28 User Guide

4. Remove the old battery.
5. Install a new battery.
6. Reinstall the hard disk drive if removed. See “Replacing the hard disk drive”
on page 24.
7. Close the computer cover and connect the cables. See “Completing the parts
replacement” on page 36.
Note: When the computer is turned on for the first time after replacing the
battery, an error message might be displayed. This is normal after
replacing the battery.
8. Turn on the computer and all attached devices.
9. Use the Setup Utility program to set the date, time, and any passwords. See
Chapter 4, “Using the Setup Utility,” on page 49.
Figure 21. Removing the old battery
Figure 22. Installing a new battery
Chapter 2. Installing options and replacing hardware 29

Replacing the power supply assembly
Attention
Do not open your computer or attempt any repair before reading and understanding the
“Important safety information” in the ThinkCentre Safety and Warranty Guide that came with
your computer. To obtain a copy of the ThinkCentre Safety and Warranty Guide,goto:
http://www.lenovo.com/support
This section provides instructions on how to replace the power supply assembly.
To replace the power supply assembly:
1. Remove the four screws at the rear of the chassis that secure the power
supply assembly.
2. Open the computer cover. See “Opening the computer cover” on page 14.
3. Pivot the optical drive bay assembly upward to gain access to the power
supply assembly.
4. Locate the power supply assembly. See “Locating components” on page 10.
Figure 23. Removing the retaining screws for the power supply assembly
30 User Guide

5. Disconnect the power supply assembly cables from all drives and from the
power connectors 1 and 2 on the system board.
Note: You might need to remove the hard disk drive to gain easy access to
the power connector 2. See “Replacing the hard disk drive” on page
24.
6. Release the power supply assembly cables from the cable clips and ties in the
chassis.
7. Slide the power supply assembly away from the chassis and remove it from
the computer.
Figure 24. Power connectors on the system board
Figure 25. Removing the power supply assembly
Chapter 2. Installing options and replacing hardware 31

8. Install the new power supply assembly into the chassis so that the screw holes
in the new power supply assembly align with those in the chassis.
9. Install and tighten the four screws at the rear of the chassis to secure the
power supply assembly.
Note: Use only the screws provided by Lenovo.
10. Reconnect all the power supply assembly cables to the drives and the system
board.
11. Secure the power supply assembly cables with the cable clips and ties in the
chassis.
12. Go to “Completing the parts replacement” on page 36.
Replacing the heat sink and fan assembly
Attention
Do not open your computer or attempt any repair before reading and understanding the
“Important safety information” in the ThinkCentre Safety and Warranty Guide that came with
your computer. To obtain a copy of the ThinkCentre Safety and Warranty Guide,goto:
http://www.lenovo.com/support
This section provides instructions on how to replace the heat sink and fan
assembly.
CAUTION:
The heat sink and fan assembly might be very hot. Turn off the computer and
wait three to five minutes to let the computer cool before opening the computer
cover.
To replace the heat sink and fan assembly:
1. Open the computer cover. See “Opening the computer cover” on page 14.
2. Pivot the optical drive bay assembly upward to gain easy access to the heat
sink and fan assembly.
3. Disconnect the heat sink and fan assembly cable from the system board. See
“Locating parts on the system board” on page 11.
32 User Guide

4. Remove the heat sink and fan assembly from the system board by pivoting the
lever 1 that secures the heat sink and fan assembly until it is fully in the up
position.
Note: It helps to remove the hard disk drive before this step. See “Replacing
the hard disk drive” on page 24.
5. Carefully lift the heat sink and fan assembly off the system board.
Notes:
a. You might have to gently twist the heat sink and fan assembly to free it
from the microprocessor.
b. Do not touch the thermal grease while handling the heat sink and fan
assembly.
6. Place the new heat sink and fan assembly into position and lower the lever to
secure the new heat sink and fan assembly.
7. Connect the heat sink and fan assembly cable to the microprocessor fan
connector on the system board. See “Locating parts on the system board” on
page 11.
8. Go to “Completing the parts replacement” on page 36.
Figure 26. Removing the heat sink and fan assembly
Chapter 2. Installing options and replacing hardware 33

Replacing the card reader
Attention
Do not open your computer or attempt any repair before reading and understanding the
“Important safety information” in the ThinkCentre Safety and Warranty Guide that came with
your computer. To obtain a copy of the ThinkCentre Safety and Warranty Guide,goto:
http://www.lenovo.com/support
This section provides instructions on how to replace the card reader.
To replace the card reader:
1. Open the computer cover. See “Opening the computer cover” on page 14.
2. Pivot the optical drive bay assembly upward to gain access to the card reader.
3. Locate the card reader.
4. Disconnect the card reader cable from the front USB connector on the system
board. See “Locating parts on the system board” on page 11.
Note: Make sure you note the location of the cable when you disconnect the
cable from the system board.
5. Remove the screw that secures the card reader to the chassis.
6. Remove the card reader from the chassis.
7. Install a new card reader into the chassis and align the screw hole in the card
reader with the hole in the chassis.
8. Install the screw to secure the new card reader to the chassis.
9. Reconnect the card reader cable to the system board.
10. Go to “Completing the parts replacement” on page 36.
Figure 27. Removing the securing screw of the card reader
34 User Guide

Replacing the keyboard
Attention
Do not open your computer or attempt any repair before reading and understanding the
“Important safety information” in the ThinkCentre Safety and Warranty Guide that came with
your computer. To obtain a copy of the ThinkCentre Safety and Warranty Guide,goto:
http://www.lenovo.com/support
This section provides instructions on how to replace the keyboard.
To replace the keyboard:
1. Remove any media from the drives, shut down your operating system, and
turn off all attached devices and the computer.
2. Unplug all power cords from electrical outlets.
3. Locate the keyboard connector.
Note: Your keyboard might be connected to a standard keyboard connector 1
or a USB connector 2. Depending on where your keyboard is
connected, see “Locating connectors on the rear of your computer” on
page 8 or “Locating connectors on the front of your computer” on page
7.
4. Disconnect the failing keyboard cable from the computer.
5. Connect a new keyboard to the appropriate connector on the computer.
6. Go to “Completing the parts replacement” on page 36.
Replacing the mouse
Attention
Do not open your computer or attempt any repair before reading and understanding the
“Important safety information” in the ThinkCentre Safety and Warranty Guide that came with
your computer. To obtain a copy of the ThinkCentre Safety and Warranty Guide,goto:
http://www.lenovo.com/support
This section provides instructions on how to replace the mouse.
To replace the mouse:
1. Remove any media from the drives, shut down your operating system, and
turn off all attached devices and the computer.
Figure 28. Keyboard connectors
Chapter 2. Installing options and replacing hardware 35

2. Unplug all power cords from electrical outlets.
3. Locate the connector for the mouse.
Note: Your mouse might be connected to a standard mouse connector 1 or a
USB connector 2. Depending on where your mouse is connected, see
“Locating connectors on the rear of your computer” on page 8 or
“Locating connectors on the front of your computer” on page 7.
4. Disconnect the failing mouse cable from the computer.
5. Connect a new mouse cable to the appropriate connector on the computer.
6. Go to “Completing the parts replacement.”
Completing the parts replacement
After completing all parts replacements, you need to reinstall the computer cover
and reconnect cables, such as power cords. Depending on the parts replaced, you
might need to confirm the updated information in the Setup Utility program. Refer
to Chapter 4, “Using the Setup Utility,” on page 49.
To close the computer cover and reconnect cables to your computer:
1. Ensure that all components have been reassembled correctly and that no tools
or loose screws are left inside your computer. See “Locating components” on
page 10 for the locations of various components.
Figure 29. Mouse connectors
36 User Guide

2. Ensure that the cables are routed correctly before lowering the optical drive bay
assembly.
Important
Correctly route all power supply cables to avoid interference with the
drive bay assembly. Keep cables clear of the hinges and sides of the
computer chassis.
3. Lower the optical drive bay assembly.
4. Close the computer cover.
5. If a computer cover lock is installed, lock the computer cover.
6. Reconnect the external cables and power cords to the computer. See “Locating
connectors on the rear of your computer” on page 8.
7. To update your configuration, see Chapter 4, “Using the Setup Utility,” on page
49.
Note: In most areas of the world, Lenovo requires the return of the defective
Customer Replaceable Unit (CRU). Information about this will come with
the CRU or will come a few days after the CRU arrives.
Obtaining device drivers
You can obtain device drivers for operating systems that are not preinstalled at:
http://www.lenovo.com/support
Installation instructions are provided in readme files with the device-driver files.
Installing security features
To help prevent hardware theft and unauthorized access to your computer, several
security options are available. In addition to physical locks, unauthorized use of
your computer can be prevented by a software lock that locks the keyboard until a
correct password is typed in.
Figure 30. Cable routing
Chapter 2. Installing options and replacing hardware 37

Make sure that any security cables you installed do not interfere with other
computer cables.
Integrated cable lock
An integrated cable lock (sometimes referred to as the Kensington lock) can be
used to secure your computer to a desk, table, or other non-permanent fixture. The
cable lock attaches to a security slot at the rear of your computer and is operated
with a key. The cable lock also locks the buttons used to open the computer cover.
This is the same type of lock used with many notebook computers. You can order
a security cable directly from Lenovo by searching on Kensington at:
http://www.lenovo.com/support
Password protection
To deter unauthorized use of your computer, you can use the Setup Utility
program to set a password. When you turn on your computer, you are prompted
to type the password to unlock the keyboard for normal use. Refer to Chapter 4,
“Using the Setup Utility,” on page 49 for more information.
What to do next:
vTo work with another option, go to the appropriate section.
vTo complete the installation, go to “Completing the parts replacement” on
page 36.
Erasing lost or forgotten passwords (clearing CMOS)
This section contains instructions on erasing some lost or forgotten passwords,
such as a user password.
Figure 31. Integrated cable lock
38 User Guide
To erase lost or forgotten passwords:
1. Open the computer cover. See “Opening the computer cover” on page 14.
2. Access the system board. See “Accessing the system board components and
drives” on page 16.
Note: You must remove the hard disk drive to gain access to the Clear
CMOS/Recovery jumper.
3. Locate the Clear CMOS/Recovery jumper on the system board. See “Locating
parts on the system board” on page 11.
4. Move the jumper from the standard position (pin 1 and pin 2) to the
maintenance or configure position (pin 2 and pin 3).
5. Reinstall the hard disk drive.
6. Lower the optical drive bay assembly and reconnect any cables that were
disconnected.
7. Close the computer cover and connect the power cord. See “Completing the
parts replacement” on page 36.
8. Restart the computer and leave it on for approximately 10 seconds. Turn off
the computer by holding the power switch for approximately five seconds.
The computer will turn off.
9. Repeat step 1 through step 3.
10. Move the Clear CMOS/Recovery jumper back to the standard position (pin 1
and pin 2).
11. Reinstall the hard disk drive if removed.
12. Lower the optical drive bay assembly and reconnect any cables that were
disconnected.
13. Close the computer cover and connect the power cord. See “Completing the
parts replacement” on page 36.
Chapter 2. Installing options and replacing hardware 39
40 User Guide

Chapter 3. Recovery information
This chapter will help you get familiar with recovery solutions provided by
Lenovo. This chapter explains when and how to use the following recovery
methods:
vCreating and using recovery media
vPerforming backup and recovery operations
vUsing the Rescue and Recovery workspace
vCreating and using rescue media
vCreating and using a recovery repair diskette
vInstalling or reinstalling device drivers
vSetting a rescue device in the startup sequence
vSolving recovery problems
Notes:
1. There are a variety of methods to choose from when considering how to
recover in the event of a software- or hardware-related problem. Some methods
vary depending on the type of your operating system.
2. The product on the recovery media may be used only for the following
purposes:
vRestore the product preinstalled on your computer
vReinstall the product
vModify the product using the Additional Files
Creating and using recovery media
Recovery media enable you to restore the hard disk drive to the factory default
settings. Recovery media are useful if you transfer the computer to another area,
sell the computer, recycle the computer, or put the computer in an operational state
after all other methods of recovery have failed. As a precautionary measure, it is
important to create recovery media as soon as possible.
Note: The recovery operations you can perform using recovery media vary
depending on the operating system from which they are created. Your
Microsoft Windows license permits you to create only one data medium, so
it is important that you store the created recovery medium in a safe place.
Creating recovery media
This section provides instructions on how to create recovery media on different
operating systems.
vTo create recovery media on Windows 7, click Start →All Programs →Lenovo
ThinkVantage Tools →Factory Recovery Disks. Then, follow the instructions on
the screen.
vTo create Product Recovery discs on Windows Vista, click Start →All Programs →
ThinkVantage →Create Product Recovery Media. Then, follow the instructions
on the screen.
vTo create Product Recovery discs on Windows XP, click Start →All Programs →
ThinkVantage →Create Recovery Media. Then, follow the instructions on the
screen.
© Copyright Lenovo 2009 41

Using recovery media
This section provides instructions on how to use recovery media on different
operating systems.
vTo use recovery media on Windows 7 or Windows Vista, do the following:
Attention: When you use recovery media to restore the computer to the factory
default settings on Windows 7 or Windows Vista, all the files currently on the
system drive or the hard disk drive will be deleted and replaced by the factory
default settings.
1. Depending on the type of your recovery media, connect your boot medium
(memory key or USB hard disk drive) to your computer, or insert the boot
disc into your CD or DVD drive.
2. Restart your computer.
3. Repeatedly press and release the F12 key when turning on the computer.
When the Startup Device Menu window opens, release the F12 key.
4. Depending on the type of your recovery media, select the proper startup
device and press Enter. After a short delay, the Product Recovery program
opens.
5. Follow the instructions on the screen.
After restoring the computer to the factory default settings, you might have
to reinstall some software programs or device drivers. See “Installing or
reinstalling device drivers” on page 47 for details.
vTo use Product Recovery discs on Windows XP, do the following:
Attention: When you use Product Recovery discs to restore the computer to
the factory default settings on Windows XP, all the files currently on the hard
disk drive will be deleted and replaced by the factory default settings. During
the restore process, you will be given the option to save one or more files
currently on the hard disk drive to other media before the data is deleted.
1. Insert the boot disc into your CD or DVD drive.
2. Restart your computer.
3. Repeatedly press and release the F12 key when turning on the computer.
When the Startup Device Menu window opens, release the F12 key.
4. Select the CD or DVD drive as the startup device and press Enter. After a
short delay, the Rescue and Recovery workspace opens.
5. From the Rescue and Recovery menu, click Restore your system.
6. Follow the instructions on the screen.
Performing backup and recovery operations
The Rescue and Recovery program enables you to back up all your hard disk drive
contents including the operating system, data files, software programs, and
personal settings. You can designate where the Rescue and Recovery program
stores the backup:
vOn a protected area of your hard disk drive
vOn a secondary hard disk drive installed in your computer
vOn an attached external USB hard disk drive
vOn a network drive
vOn recordable CDs or DVDs (a recordable CD or DVD drive is required for this
option)
42 User Guide
After you have backed up the contents on the hard disk drive, you can restore the
complete contents of the hard disk drive, restore only the selected files, or restore
only the Windows operating system and applications.
Performing a backup operation
This section provides instructions on how to perform a backup operation using the
Rescue and Recovery program on different operating systems.
vTo perform a backup operation using the Rescue and Recovery program on
Windows 7, do the following:
1. From the Windows desktop, click Start →All Programs →Lenovo
ThinkVantage Tools →Enhanced Backup and Restore. The Rescue and
Recovery program opens.
2. From the Rescue and Recovery main window, click the Launch advanced
Rescue and Recovery arrow.
3. Click Back up your hard drive and select backup operation options. Follow
the instructions on the screen.
vTo perform a backup operation using the Rescue and Recovery program on
Windows Vista or Windows XP, do the following:
1. From the Windows desktop, click Start →All Programs →ThinkVantage →
Rescue and Recovery. The Rescue and Recovery program opens.
2. From the Rescue and Recovery main window, click Launch advanced Rescue
and Recovery →Back up your hard drive, and select backup operation
options.
3. Follow the instructions on the screen.
Performing a recovery operation
This section provides instructions on how to perform a recovery operation using
the Rescue and Recovery program on different operating systems.
vTo perform a recovery operation using the Rescue and Recovery program on
Windows 7, do the following:
1. From the Windows desktop, click Start →All Programs →Lenovo
ThinkVantage Tools →Enhanced Backup and Restore. The Rescue and
Recovery program opens.
2. From the Rescue and Recovery main window, click the Launch advanced
Rescue and Recovery arrow.
3. Click the Restore your system from a backup icon.
4. Follow the instructions on the screen.
vTo perform a recovery operation using the Rescue and Recovery program on
Windows Vista or Windows XP, do the following:
1. From the Windows desktop, click Start →All Programs →ThinkVantage →
Rescue and Recovery. The Rescue and Recovery program opens.
2. From the Rescue and Recovery main window, click Launch advanced Rescue
and Recovery.
3. Click the Restore your system from a backup icon.
4. Follow the instructions on the screen.
For more information about performing a recovery operation from the Rescue and
Recovery workspace, see “Using the Rescue and Recovery workspace” on page 44.
Chapter 3. Recovery information 43

Using the Rescue and Recovery workspace
The Rescue and Recovery workspace resides in a protected, hidden area of your
hard disk drive that operates independently from the Windows operating system.
This enables you to perform recovery operations even if the Windows operating
system cannot be started. You can perform the following recovery operations from
the Rescue and Recovery workspace:
vRescue files from your hard disk drive or from a backup
The Rescue and Recovery workspace enables you to locate files on your hard
disk drive and transfer them to a network drive or other recordable media, such
as a USB device, a disc, or a diskette. This solution is available, even if you did
not back up your files or if changes were made to the files since your last
backup operation. You can also rescue individual files from a Rescue and
Recovery backup located on your local hard disk drive, a USB device, or a
network drive.
vRestore your hard disk drive from a Rescue and Recovery backup
If you have backed up your hard disk drive using the Rescue and Recovery
program, you can restore the hard disk drive from a Rescue and Recovery
backup, even if you cannot start the Windows operating system.
vRestore your hard disk drive to the factory default settings
The Rescue and Recovery workspace enables you to restore the complete
contents of your hard disk drive to the factory default settings. If you have
multiple partitions on your hard disk drive, you have the option to restore the
factory default settings to the C: partition and leave the other partitions intact.
Because the Rescue and Recovery workspace operates independently from the
Windows operating system, you can restore the factory default settings even if
you cannot start the Windows operating system.
Attention: If you restore the hard disk drive from a Rescue and Recovery backup
or restore the hard disk drive to the factory default settings, all files on the
primary hard disk drive partition (usually drive C:) will be deleted in the recovery
process. If possible, make copies of important files. If you are unable to start the
Windows operating system, you can use the Rescue files feature in the Rescue and
Recovery workspace to copy files from your hard disk drive to other media.
To start the Rescue and Recovery workspace, do the following:
1. Make sure the computer is turned off.
2. Repeatedly press and release the F11 key when turning on the computer.
3. When you hear beeps or see a logo screen, release the F11 key.
4. If you have set a Rescue and Recovery password, type your password when
prompted. The Rescue and Recovery workspace opens after a short delay.
Note: If the Rescue and Recovery workspace fails to open, see “Solving
recovery problems” on page 48.
5. Do one of the following:
vTo rescue files from your hard disk drive or from a backup, click Rescue
files and follow the instructions on the screen.
vTo restore your hard disk drive from a Rescue and Recovery backup or to
restore your hard disk drive to the factory default settings, click Restore your
system and follow the instructions on the screen.
For more information about the features of the Rescue and Recovery workspace,
click Help.
44 User Guide

Notes:
1. After restoring a hard disk drive to the factory default settings, you might have
to reinstall device drivers for some devices. See “Installing or reinstalling
device drivers” on page 47.
2. Some computers come with Microsoft Office or Microsoft Works preinstalled. If
you need to recover or reinstall your Microsoft Office or Microsoft Works
applications, you must use the Microsoft Office CD or Microsoft Works CD. These
CDs are provided only with computers preinstalled with Microsoft Office or
Microsoft Works.
Creating and using rescue media
With rescue media, such as a disc or a USB hard disk drive, you can recover the
computer from failures that prevent you from gaining access to the Rescue and
Recovery workspace on your hard disk drive.
Notes:
1. The recovery operations you can perform using rescue media vary depending
on the operating system.
2. The rescue discs can be started in any type of CD or DVD drive.
3. You can also run the PC-Doctor for Rescue and Recovery diagnostic program,
after using a rescue medium to recover the computer from failures and gaining
access to the Rescue and Recovery workspace.
Creating rescue media
This section provides instructions on how to create rescue media on different
operating systems.
vTo create a rescue medium on Windows 7, do the following:
1. From the Windows desktop, click Start →All Programs →Lenovo
ThinkVantage Tools →Enhanced Backup and Restore. The Rescue and
Recovery program opens.
2. From the Rescue and Recovery main window, click the Launch advanced
Rescue and Recovery arrow.
3. Click the Create Rescue Media icon. The Create Rescue and Recovery Media
window opens.
4. In the Rescue Media area, select the type of rescue media you want to
create. You can create a rescue medium using a disc, a USB hard disk drive,
or a secondary internal hard disk drive.
5. Click OK and follow the instructions on the screen.
vTo create a rescue medium on Windows Vista or Windows XP, do the following:
1. From the Windows desktop, click Start →All Programs →ThinkVantage →
Create Recovery Media. The Create Rescue and Recovery Media window
opens.
2. In the Rescue Media area, select the type of rescue media you want to
create. You can create a rescue medium using a disc, a USB hard disk drive,
or a secondary internal hard disk drive.
3. Click OK and follow the instructions on the screen.
Using rescue media
This section provides instructions on how to use the rescue media you have
created.
Chapter 3. Recovery information 45

Note: Make sure your rescue device (optical drive, USB device, or the secondary
internal hard disk drive) is set as the first boot device in the startup device
sequence before doing this procedure. See “Selecting a startup device” on
page 51.
To use the rescue medium you have created, do one of the following:
vIf you have created the rescue medium using a disc, make sure that your
computer is turned on and insert the rescue disc. Then, restart the computer. The
rescue medium starts.
vIf you have created the rescue medium using a USB hard disk drive, attach the
USB hard disk drive to one of the USB connectors on your computer. Then, turn
on the computer. The rescue medium starts.
vIf you have created the rescue medium using a secondary internal hard disk
drive, set the secondary internal hard disk drive as the first boot device in the
startup device sequence. Then, the rescue medium starts.
When the rescue medium starts, the Rescue and Recovery workspace opens. The
help information for each feature is available from the Rescue and Recovery
workspace. Follow the instructions to complete the recovery process.
Creating and using a recovery repair diskette
If you are unable to access the Rescue and Recovery workspace or the Windows
environment, use a recovery repair diskette to repair the Rescue and Recovery
workspace or repair a file needed to enter the Windows environment. It is
important to create a recovery repair diskette as early as possible and store it in a
safe place as a precautionary measure.
Note: You need to have a diskette drive for creating and using a recovery repair
diskette. If you do not have an internal diskette drive, you can use an
external USB diskette drive.
Creating a recovery repair diskette
This section provides instructions on how to create a recovery repair diskette.
To create a recovery repair diskette, do the following:
1. Turn on the computer, and make sure that your computer has Internet access.
2. Follow the instructions on the Web site at:
http://www.lenovo.com/think/support/site.wss/document.do?lndocid=MIGR-54483
3. After the recovery repair diskette is created, take out the diskette from the
diskette drive and label it Recovery Repair Diskette. Then, store it in a safe place
for future use.
Using a recovery repair diskette
This section provides instructions on how to use a recovery repair diskette.
To use the recovery repair diskette you created, do the following:
1. Turn off the computer.
2. Insert the recovery repair diskette into the diskette drive.
3. Turn on the computer and follow the instructions on the screen.
46 User Guide

Notes:
1. If the repair operation completes without any error, you will be able to access
the Rescue and Recovery workspace by repeatedly pressing the F11 key while
you restart your computer. When you hear beeps or see a logo screen, release
the F11 key. You will also be able to access the Windows environment after the
repair operation completes.
2. If an error message appears during the repair operation and the repair
operation cannot be completed, you might have a problem with the partition
that contains the Rescue and Recovery workspace. Use a rescue medium to
access the Rescue and Recovery workspace. For information about creating and
using rescue media, see “Creating and using rescue media” on page 45.
Installing or reinstalling device drivers
Before installing or reinstalling device drivers, make sure that you have a
preinstalled operating system and the documentation and software media for the
device.
Device drivers for factory-installed devices are located on the computer hard disk
drive (usually drive C:) in the SWTOOLS\DRIVERS folder. The latest device
drivers for factory-installed devices are also available at http://www.lenovo.com/
support. Other device drivers are on the software media that come with individual
devices.
To install or reinstall a device driver for a factory-installed device, do the
following:
1. Turn on the computer.
2. Use Windows Explorer or My Computer to display the directory structure of
your hard disk drive.
3. Go to the C:\SWTOOLS directory.
4. Open the DRIVERS folder. Within the DRIVERS folder, there are several
subfolders named for various devices installed in your computer, such as
AUDIO or VIDEO.
5. Open the appropriate device subfolder.
6. Do one of the following:
vIn the device subfolder, look for a README.txt file or a file with the .txt
extension. This file might be named after the operating system, such as
WIN98.txt. The TXT file contains information about how to install the device
driver. Follow the instructions to complete the installation.
vIf the device subfolder contains a file with the .inf extension and you want to
install the device driver using the INF file, click Start →Help and Support to
enter the Windows Help and Support information system for the detailed
information about how to install the device driver.
vIn the device subfolder, look for a SETUP.EXE file. Double-click the file and
follow the instructions on the screen.
Chapter 3. Recovery information 47

Setting a rescue device in the startup sequence
Before you start the Rescue and Recovery program from an internal hard disk
drive, a disc, a USB hard disk drive, or other external devices, you must first make
sure that your rescue device is set as the first boot device in the startup device
sequence in the Setup Utility program. Refer to “Selecting a startup device” on
page 51 for detailed information about temporarily or permanently changing the
startup sequence.
Note: If you use an external device, you must first turn off your computer before
connecting the external device.
For more information on the Setup Utility program, see Chapter 4, “Using the
Setup Utility,” on page 49.
Solving recovery problems
If you are unable to access the Rescue and Recovery workspace or the Windows
environment, do one of the following:
vUse a rescue medium to start the Rescue and Recovery workspace. See “Creating
and using rescue media” on page 45.
vUse a recovery repair diskette to repair the Rescue and Recovery workspace or
repair a file needed to enter the Windows environment. See “Creating and using
a recovery repair diskette” on page 46.
vUse a recovery medium if you want to restore the system drive or the hard disk
drive to the factory default settings. See “Creating and using recovery media” on
page 41.
Note: If you are unable to access the Rescue and Recovery workspace or the
Windows environment from a rescue medium, a recovery repair diskette, or
a recovery medium, you might not have the rescue device, diskette drive, or
recovery device set as the first boot device in the startup device sequence.
For more information, see “Setting a rescue device in the startup sequence.”
It is important to create a rescue medium, a recovery repair diskette, and a
recovery medium as early as possible and store them in a safe place.
48 User Guide

Chapter 4. Using the Setup Utility
The Setup Utility program is used to view and change the configuration settings of
your computer, regardless of which operating system you are using. However, the
operating-system settings might override any similar settings in the Setup Utility
program.
Starting the Setup Utility program
To start the Setup Utility program, do the following:
1. If your computer is already on when you start this procedure, turn off the
computer.
2. Repeatedly press and release the F1 key when turning on the computer. When
you hear multiple beeps or see a logo screen, release the F1 key.
Note: If a Power-On Password or an Administrator Password has been set, the
Setup Utility program menu is not displayed until you type the correct
password. For more information, see “Using passwords.”
The Setup Utility program might start automatically when POST detects that
hardware has been removed or new hardware has been installed in your computer.
Viewing and changing settings
The Setup Utility program menu lists items that identify system configuration
topics. To view or change settings, see “Starting the Setup Utility program.”
When working with the Setup Utility program menu, you must use the keyboard.
The keys used to perform various tasks are displayed at the bottom of each screen.
Using passwords
By using the Setup Utility program, you can set passwords to prevent
unauthorized access to your computer and data. See “Starting the Setup Utility
program.” The following types of passwords are available:
vPower-On Password
vAdministrator Password
vHard Disk User Password
You do not have to set any passwords to use your computer. However, using
passwords improves computing security. If you decide to set any passwords, read
the following sections.
© Copyright Lenovo 2009 49
Password considerations
A password can be any combination of up to 64 alphabetic and numeric characters.
For security reasons, it is recommended to use a strong password that cannot be
easily compromised. To set a strong password, use the following guidelines:
vHave at least eight characters in length
vContain at least one alphabetic character and one numeric character
vSetup Utility program and hard disk drive passwords are not case sensitive
vNot be your name or your user name
vNot be a common word or a common name
vBe significantly different from your previous password
Power-On Password
When a Power-On Password is set, the computer cannot be used until a valid
password is typed from the keyboard.
Administrator Password
Setting an Administrator Password deters unauthorized users from changing
configuration settings. If you are responsible for maintaining the settings of several
computers, you might want to set an Administrator Password.
After you set an Administrator Password, a password prompt is displayed each
time you try to access the Setup Utility program.
If both the Power-On and Administrator passwords are set, you can type either
password. However, you must use your Administrator Password to change any
configuration settings.
Hard Disk User Password
When a Hard Disk User Password is set, it prevents unauthorized access to the
data on the hard disk drive.
Setting, changing, and deleting a password
To set, change, or delete a password, do the following:
1. Start the Setup Utility program. See “Starting the Setup Utility program” on
page 49.
2. From the Setup Utility program main menu, select Security →Set Passwords.
3. Follow the instructions displayed on the right side of the screen to set, change,
or delete the password you want.
Note: A password can be any combination of up to 64 alphabetic and numeric
characters. For more information, see “Password considerations.”
50 User Guide

Enabling or disabling a device
This section provides information on how to enable or disable user access to the
following devices:
Serial ATA When this feature is set to Disabled, all devices connected to the
SATA connectors (such as hard disk drives or the optical drive)
are disabled and will not be displayed in the system
configuration.
External SATA Port When this feature is set to Disabled, the device connected to the
External SATA connector cannot be accessed.
Legacy Diskette A
(some models)
When this feature is set to Disabled, the diskette drive cannot be
accessed.
To enable or disable a device, do the following:
1. Start the Setup Utility program. See “Starting the Setup Utility program” on
page 49.
2. From the Setup Utility program, select Devices or select Devices →ATA Drive
Setup.
3. Select the desired devices and settings and press Enter.
4. Return to the Setup Utility program menu and select Exit and then Save
Settings or Save and exit the Setup Utility.
Note: If you do not want to save the settings, select Exit the Setup Utility
without saving.
Selecting a startup device
If your computer does not start up from a device such as the disc, diskette, or hard
disk drive as expected, do one of the following to select the startup device you
want.
Selecting a temporary startup device
Use this procedure to startup from any start device.
Note: Not all discs, hard disk drives, and diskettes are bootable.
1. Turn off your computer.
2. Repeatedly press and release the F12 key when turning on the computer. When
the Please select boot device window displays, release the F12 key.
3. Select the desired startup device from the Startup Device Menu and press
Enter to begin.
Note: Selecting a startup device from the Startup Device menu does not
permanently change the startup sequence.
Chapter 4. Using the Setup Utility 51

Selecting or changing the startup device sequence
To view or permanently change the configured startup device sequence, do the
following:
1. Start the Setup Utility program. See “Starting the Setup Utility program” on
page 49.
2. Select Startup →Startup Sequence. See the information displayed on the right
side of the screen.
3. Select the devices for the Primary Startup Sequence, the Automatic Startup
Sequence, and the Error Startup Sequence.
4. Select Exit from the Setup Utility menu and then Save Settings or Save and
exit the Setup Utility.
If you have changed these settings and want to return to the default settings, select
Load Default Settings on the Exit menu.
Exiting from the Setup Utility program
After you finish viewing or changing settings, press Esc to return to the Setup
Utility program menu (you might have to press Esc several times). If you want to
save the new settings, select Save Settings or Save and exit the Setup Utility.
Otherwise, your changes will not be saved.
52 User Guide

Chapter 5. Updating system programs
This chapter contains information about updating POST/BIOS and how to recover
from a POST/BIOS update failure.
Using system programs
System programs are the basic layer of software built into your computer. System
programs include the POST, the BIOS code, and the Setup Utility program. POST is
a set of tests and procedures that are performed each time you turn on your
computer. BIOS is a layer of software that translates instructions from other layers
of software into electrical signals that the computer hardware can execute. You can
use the Setup Utility program to view and change the configuration and setup of
your computer.
Your computer system board has a module called electrically erasable
programmable read-only memory (EEPROM, also referred to as flash memory).
You can easily update POST, BIOS, and the Setup Utility program by starting your
computer with a flash update disc or running a special update program from your
operating system.
Lenovo might make changes and enhancements to the POST and BIOS. When
updates are released, they are available as downloadable files on the Lenovo Web
site at http://www.lenovo.com. Instructions for using the POST/BIOS updates are
available in a TXT file that is included with the update files. For most models, you
can download either an update program to create a system-program-update (flash)
disc or an update program that can be run from the operating system.
Note: You can download a self-starting bootable CD/DVD image (known as an
ISO image) of the diagnostics program to support computers without a
diskette drive. Go to:
http://www.lenovo.com
Updating (flashing) BIOS from a disc
This section provides instructions on how to update (flash) the BIOS from a disc.
System BIOS program updates are available at:
http://www.lenovo.com/support
To update (flash) BIOS from a disc:
1. Make sure the optical drive you want to use is set as the first boot device in the
startup device sequence. See “Selecting or changing the startup device
sequence” on page 52.
2. Make sure the computer is turned on. Insert the disc into the optical drive.
3. Turn off the computer and back on again. The update begins.
4. When prompted to change the serial number, press N.
Note: If you want to change the serial number, press Y when prompted. Type
in the serial number and then press Enter.
5. When prompted to change the machine type/model, press N.
© Copyright Lenovo 2009 53

Note: If you want to change the machine type/model, press Y when prompted.
Type in the machine type/model and then press Enter.
6. Follow the instructions on the screen to complete the update.
Updating (flashing) BIOS from your operating system
Note: Because Lenovo makes constant improvements to the Web site, the Web
page contents are subject to change without notice, including the contents
referenced in the following procedure.
To update (flash) BIOS from your operating system:
1. Go to http://www.lenovo.com/support.
2. Do the following to locate the downloadable files for your machine type:
a. In the Enter a product number field, type your machine type and click Go.
b. Click Downloads and drivers.
c. Select BIOS in the Refine results field to easily locate all the BIOS related
links.
d. Click the BIOS update link.
e. Click the TXT file that contains the instructions for updating (flashing) BIOS
from your operating system.
3. Print these instructions. This is very important because they are not on the
screen after the download begins.
4. Follow the printed instructions to download, extract, and install the update.
Recovering from a POST/BIOS update failure
If the power to your computer is interrupted while POST/BIOS is being updated
(flash update), your computer might not restart correctly. If this happens, perform
the following procedure commonly called Boot-block Recovery.
1. Turn off the computer and any attached devices, such as printers, monitors,
and external drives.
2. Unplug all power cords from electrical outlets, and open the computer cover.
Refer to “Opening the computer cover” on page 14.
3. Access the system board. Refer to “Accessing the system board components
and drives” on page 16.
4. Locate the Clear CMOS/Recovery jumper on the system board. Refer to
“Locating parts on the system board” on page 11.
5. Remove any cables that impede access to the Clear CMOS/Recovery jumper.
6. Move the jumper from the standard position (pin 1 and pin 2) to pin 2 and
pin 3.
7. Reconnect any cables that were disconnected and reinstall the hard disk drive
if removed.
8. Close the computer cover and reconnect the power cords for the computer
and monitor to electrical outlets. Refer to “Completing the parts replacement”
on page 36.
9. Turn on the computer and the monitor. Insert the POST/BIOS update (flash)
disc into the optical drive.
10. Turn the computer off and back on again.
11. The recovery session will take two to three minutes. During this time you will
hear a series of beeps. After the update session is completed, there will be no
54 User Guide
video, the series of beeps will end, and the system will automatically turn off.
Remove the disc from the optical drive before the system completely turns off.
12. Repeat steps 2 through 5.
13. Move the Clear CMOS/Recovery jumper back to the standard position (pin 1
and pin 2).
14. Reconnect any cables that were disconnected and reinstall the hard disk drive
if removed.
15. Close the computer cover and reconnect the power cords for the computer
and monitor to electrical outlets. Refer to “Completing the parts replacement”
on page 36.
16. Turn on the computer to restart the operating system.
Chapter 5. Updating system programs 55
56 User Guide

Chapter 6. Troubleshooting and diagnostics
This chapter describes some basic troubleshooting and diagnostic programs. If your
computer problem is not described here, see Chapter 7, “Getting information, help,
and service,” on page 63 for additional troubleshooting resources.
Basic troubleshooting
The following table provides information to help you troubleshoot your computer
problem.
Symptom Action
The computer does not start
when you press the power
button.
Verify that:
vThe power cord is plugged into the rear of the computer and into a working
electrical outlet.
vIf your computer has a secondary power switch on the back of the computer,
make sure that it is switched on.
vThe power indicator on the front of the computer is on.
vThe voltage is set to the correct setting for your country.
If you cannot correct the problem, have the computer serviced. Refer to the
safety and warranty information that is provided with your computer for a list of
service and support telephone numbers.
The monitor screen is blank. Verify that:
vThe monitor cable is securely attached to the rear of the monitor and to the
rear of the computer.
vThe monitor power cord is plugged into the monitor and into a working
electrical outlet.
vThe monitor is turned on and the brightness and contrast controls are set
correctly.
vThe voltage is set to the correct setting for your country.
vThe monitor signal cable is securely connected to the monitor and to the
monitor connector on the computer.
Note: If your computer has two monitor connectors, verify that your monitor is
connected to the option connector rather than the one in the rear of the system
board. For more information, see "Connecting your computer" in the ThinkCentre
Safety and Warranty Guide.
If you cannot correct the problem, have the computer serviced. Refer to the
safety and warranty information that is provided with your computer for a list of
service and support telephone numbers.
© Copyright Lenovo 2009 57

Symptom Action
The keyboard does not work.
The computer does not respond
to the keyboard.
Verify that:
vThe computer is turned on.
vThe monitor is turned on and the brightness and contrast controls are set
correctly.
vThe keyboard is securely connected to the keyboard connector on the
computer.
vNo keys are stuck.
If you cannot correct the problem, have the computer serviced. Refer to the
safety and warranty information that is provided with your computer for a list of
service and support telephone numbers.
The USB Keyboard does not
work.
Verify that:
vThe computer is turned on.
vThe keyboard is securely connected to a USB connector on the front or rear of
the computer.
vNo keys are stuck.
If you cannot correct the problem, have the computer serviced. Refer to the
safety and warranty information that is provided with your computer for a list of
service and support telephone numbers.
The mouse does not work. The
computer does not respond to
the mouse.
Verify that:
vThe computer is turned on.
vThe mouse is securely connected to the mouse connector on the computer.
vThe mouse is clean. Refer to “Cleaning the mouse” on page 61 for further
information.
If you cannot correct the problem, have the computer serviced. Refer to the
safety and warranty information that is provided with your computer for a list of
service and support telephone numbers.
The operating system will not
start.
Verify that:
vThere is no diskette in the diskette drive.
vThe startup sequence includes the device where the operating system resides.
Usually, the operating system is on the hard disk drive. For more information,
see “Selecting a startup device” on page 51.
Note: For SMC computers, you might receive the error message "No operating
system found. Press F1 to repeat boot sequence." In this case, press
Ctrl+Alt+Delete instead of F1 to establish a connection to the storage area
network where your operating system is stored. Verify that the user name is not
logged on in another location.
If you cannot correct the problem, have the computer serviced. Refer to the
safety and warranty information that is provided with your computer for a list of
service and support telephone numbers.
The SMC login prompt
disappears before you log on
and then a black screen displays
(for SMC computers only).
Contact your administrator.
The computer beeps multiple
times before the operating
system starts.
Verify that no keys are stuck down.
If you cannot correct the problem, have the computer serviced. Refer to the
safety and warranty information that is provided with your computer for a list of
service and support telephone numbers.
58 User Guide

Diagnostic programs
Diagnostic programs are used to test hardware components of your computer and
report operating-system-controlled settings that can cause hardware failures. There
are two programs preinstalled on your computer to help you diagnose computer
problems:
vLenovo ThinkVantage Toolbox or Lenovo System Toolbox, depending on your
operating system (used when you are running the Windows operating system)
vPC-Doctor for Rescue and Recovery (used when your Windows operating
system does not start)
Notes:
1. You can also download the PC-Doctor for DOS diagnostic program from
http://www.lenovo.com/support. See “PC-Doctor for DOS” on page 60 for
detailed information.
2. If you are unable to isolate and repair the problem yourself after running the
diagnostic programs, save and print the log files created by the diagnostic
programs. You will need the log files when you speak to a Lenovo technical
support representative.
Lenovo ThinkVantage Toolbox
Note: The Lenovo ThinkVantage Toolbox program is only available on computers
preinstalled with Windows 7 from Lenovo.
The Lenovo ThinkVantage Toolbox program helps you maintain your computer,
improve computing security, diagnose computer problems, get familiar with the
innovative technologies provided by Lenovo, and get more information about your
computer. You can use the Diagnostics feature of the Lenovo ThinkVantage Toolbox
program to test devices, diagnose problems, create bootable diagnostic media,
update system drivers, and review system information.
To diagnose the computer problems by using the Lenovo ThinkVantage Toolbox
program, click Start →All Programs →Lenovo ThinkVantage Tools →System
Health and Diagnostics →Diagnostics. Follow the instructions on the screen. For
additional information, refer to the Lenovo ThinkVantage Toolbox help system.
Lenovo System Toolbox
Note: The Lenovo System Toolbox program is only available on computers
preinstalled with Windows Vista or Windows XP from Lenovo.
The Lenovo System Toolbox is a diagnostic program that works through the
Windows operating system and enables you to view symptoms and solutions for
computer problems, access the Lenovo troubleshooting center, update system
drivers, and review system information.
To run the Lenovo System Toolbox, click Start →All Programs →Lenovo Services →
Lenovo System Toolbox. Follow the instructions on the screen. For additional
information about running the diagnostic program, refer to the Lenovo System
Toolbox help system.
The Lenovo System Toolbox also has problem determination aids that determine
software and usage problems.
Chapter 6. Troubleshooting and diagnostics 59
PC-Doctor for Rescue and Recovery
The PC-Doctor for Rescue and Recovery diagnostic program is part of the Rescue
and Recovery workspace on each Lenovo computer. Use the PC-Doctor for Rescue
and Recovery if you are unable to start the Windows operating system.
To run the PC-Doctor for Rescue and Recovery from the Rescue and Recovery
workspace, do the following:
1. Turn off the computer.
2. Repeatedly press and release the F11 key when turning on the computer. When
you hear beeps or see a logo screen, stop pressing the F11 key. The Rescue and
Recovery workspace opens after a short delay.
3. From the Rescue and Recovery workspace, select Launch advanced Rescue and
Recovery →Diagnose hardware. The PC-Doctor for Rescue and Recovery
diagnostic program opens.
4. Select the diagnostic test you want to run. Then, follow the instructions on the
screen.
For additional information about running the PC-Doctor for Rescue and Recovery,
refer to the PC-Doctor for Rescue and Recovery help system.
Note: If you encounter failures that prevent you from gaining access to the Rescue
and Recovery workspace, you can run the PC-Doctor for Rescue and
Recovery diagnostic program after using a rescue medium to recover the
computer from failures and gaining access to the Rescue and Recovery
workspace. See “Creating and using rescue media” on page 45.
PC-Doctor for DOS
You can also download the latest version of the PC-Doctor for DOS diagnostic
program from:
http://www.lenovo.com/support
The PC-Doctor for DOS diagnostic program runs independently of the Windows
operating system. Use the PC-Doctor for DOS if you are unable to start the
Windows operating system or if the two diagnostic programs preinstalled on your
computer have not been successful in isolating a possible problem. You can run the
PC-Doctor for DOS from a diagnostic disc that you created.
Creating a diagnostic disc
This section provides instructions on how to create a diagnostic disc.
To create a diagnostic disc, do the following:
1. Download a self-starting bootable CD/DVD image (known as an ISO image) of
the diagnostic program from:
http://www.lenovo.com/support
2. Use any CD/DVD burning software to create a diagnostic disc with the ISO
image.
Running the diagnostic program from a diagnostic disc
This section provides instructions on how to run the diagnostic program from a
diagnostic disc that you created.
To run the diagnostic program from a diagnostic disc that you created, do the
following:
1. Make sure the optical drive you want to use is set as the first boot device in the
startup device sequence. See “Selecting a startup device” on page 51.
60 User Guide

2. Make sure the computer is turned on and then insert the disc into the optical
drive. The diagnostic program opens.
Note: You can insert the disc into the optical drive when you are setting the
startup device sequence. However, if you insert the disc into the optical
drive when you have already entered the operating system, you need to
restart the computer to access the diagnostic program.
3. Follow the instructions on the screen to select the diagnostic test you want to
run.
Note: For additional help, press the F1 key.
4. Remove the diagnostic disc from the optical drive when you complete the
diagnostic process.
Cleaning the mouse
This section provides instructions on how to clean an optical or non-optical mouse.
Optical mouse
An optical mouse uses a light-emitting diode (LED) and an optical sensor to
navigate the pointer. If the pointer on the screen does not move smoothly with the
optical mouse, you might need to clean the mouse.
To clean the optical mouse:
1. Turn off your computer.
2. Disconnect the mouse cable from the computer.
3. Turn the mouse upside down to look at the lens.
a. If there is a smudge on the lens, gently clean the area with a plain
cotton-tipped swab.
b. If there is debris in the lens, gently blow the debris away from the area.
4. Check the surface on which you are using the mouse. If you have a very
intricate picture or pattern beneath the mouse it may be difficult for the digital
signal processor (DSP) to determine changes in the mouse position.
5. Reconnect the mouse cable to the computer.
6. Turn your computer back on.
Non-optical mouse
The non-optical mouse uses a ball to navigate the pointer. If the pointer on the
screen does not move smoothly with the mouse, you might need to clean the
mouse.
Chapter 6. Troubleshooting and diagnostics 61

To clean a non-optical mouse:
Note: The following illustration might be slightly different from your mouse.
1 Retainer ring
2 Ball
3 Plastic rollers
4 Ball cage
1. Turn off your computer.
2. Disconnect the mouse cable from the computer.
3. Turn the mouse upside down. Twist the retainer ring 1 to the unlocked
position to remove the ball.
4. Place your hand over the retainer ring and ball 2, and then turn the mouse
right-side up, so that the retainer ring and ball fall out into your hand.
5. Wash the ball in warm, soapy water then dry it with a clean cloth.
6. Blow air carefully into the ball cage 4 to dislodge dust and lint.
7. Look for a buildup of dirt on the plastic rollers 3 inside the ball cage. This
buildup usually appears as a stripe running across the middle of the rollers.
8. If the rollers are dirty, clean them by using a cotton swab soaked in isopropyl
(rubbing) alcohol. Turn the rollers with your finger and continue swabbing
them until all the dirt is removed. Be sure the rollers are still centered in their
channels after you clean them.
9. Remove any fibers from the swab that might be remaining on the rollers.
10. Replace the ball and the retainer ring. Twist the retainer ring to the locked
position.
11. Reconnect the mouse cable to the computer.
12. Turn your computer back on.
62 User Guide

Chapter 7. Getting information, help, and service
This chapter contains information about help, service, and technical assistance for
products manufactured by Lenovo.
Information resources
You can use the information in this section to access useful resources relating to
your computing needs.
Online Books folder
Note: The Online Books folder is only available on computers that have an
internal hard disk drive and preinstalled software from Lenovo.
The Online Books folder preinstalled on your computer contains the ThinkCentre
User Guide, which provides information about your computer to help you set up,
use, and maintain your computer. It requires no Internet access to view the
publication.
To view the publications, click Start →All Programs →Online Books →Online
Books, then double-click the appropriate publication for your computer. The
publications are also available on the Lenovo Support Web site at:
http://www.lenovo.com/support
Notes:
1. The publications are in Portable Document Format (PDF). To view the
publications, you need to have the Adobe Reader preinstalled on your
computer. If the Adobe Reader has not been installed on your computer, a
message will appear when you attempt to view the PDF file and you will be
guided through the Adobe Reader installation.
2. The publications are available in other languages on the Lenovo Support Web
site at:
http://www.lenovo.com/support
3. If you want to install a different language version of the Adobe Reader rather
than the version preinstalled on your computer, download the language version
you want from the Adobe Web site at:
http://www.adobe.com
Lenovo ThinkVantage Tools
The Lenovo ThinkVantage Tools program guides you to a host of information
sources and provides easy access to various tools to help you work more easily
and securely.
Note: The Lenovo ThinkVantage Tools program is only available on computers
that have an internal hard disk drive, a preinstalled Windows 7 operating
system, and preinstalled software programs from Lenovo.
To access the Lenovo ThinkVantage Tools program, click Start →All Programs →
Lenovo ThinkVantage Tools.
© Copyright Lenovo 2009 63
ThinkVantage Productivity Center
The ThinkVantage Productivity Center guides you to a host of information sources
and provides easy access to various tools to help you work more easily and
securely.
Note: The ThinkVantage Productivity Center is only available on computers that
have an internal hard disk drive, a preinstalled Windows Vista or Windows
XP operating system, and preinstalled software programs from Lenovo.
The ThinkVantage Productivity Center provides easy access to various
technologies, such as:
vClient Security Solution
vPower Manager
vProductivity Center
vProduct Recovery
vRescue and Recovery
vSystem Update
To access the ThinkVantage Productivity Center, click Start →All Programs →
ThinkVantage →Productivity Center.
Lenovo Welcome
The Lenovo Welcome program introduces you to some innovative built-in features
of Lenovo and guides you through a few important setup tasks to help you make
the most of your computer.
Note: The Lenovo Welcome program is only available on computers that have an
internal hard disk drive, a preinstalled Windows 7 or Windows Vista
operating system, and preinstalled software programs from Lenovo.
Access Help
The Access Help provides information about getting started, doing basic tasks,
customizing settings for your personal preference, protecting data, expanding and
upgrading, and troubleshooting.
Note: The Access Help is only available on computers that have an internal hard
disk drive and preinstalled software from Lenovo.
vTo open the Access Help on Windows 7, click Start →Help and Support →
Lenovo Access Help.
vTo open the Access Help on Windows Vista or Windows XP, click Start →All
Programs →ThinkVantage →Access Help.
After you have opened the Access Help, use the left panel to make a selection from
the Contents tab or the Index tab, or use the Search tab to find a particular word
or phrase.
Safety and Warranty
The ThinkCentre Safety and Warranty Guide that is provided with your computer
contains information on safety, setup, warranty, and notices. Read and understand
all safety information before using this product.
64 User Guide

Lenovo Web site (http://www.lenovo.com)
The Lenovo Web site provides up-to-date information and services to help you
buy, upgrade, and maintain your computer. You can also do the following:
vShop for desktop and notebook computers, monitors, projectors, upgrades and
accessories for your computer, and special offers.
vPurchase additional services, such as support for hardware, operating systems,
application programs, network setup and configuration, and custom
installations.
vPurchase upgrades and extended hardware repair services.
vDownload the latest device drivers and software updates for your computer
model.
vAccess the online manuals for your products.
vAccess the Lenovo Statement of Limited Warranty.
vAccess troubleshooting and support information for your computer model and
other supported products.
vFind the service and support phone numbers for your country or region.
vFind a Service Provider located near you.
Help and service
This section contains information about obtaining help and service.
Using the documentation and diagnostic programs
If you experience a problem with your computer, see Chapter 6, “Troubleshooting
and diagnostics,” on page 57. For information on additional resources to help you
troubleshoot your computer problem, see “Information resources” on page 63.
If you suspect a software problem, see the documentation that comes with the
operating system or software program, including readme files and online help.
Most computers come with a set of diagnostic programs that help you identify
hardware problems. For instructions on using the diagnostic programs, see
“Diagnostic programs” on page 59.
You can also get the latest technical information and download device drivers and
updates from Lenovo Support Web site at:
http://www.lenovo.com/support
Calling for service
During the warranty period, you can get help and information by telephone
through the Customer Support Center.
The following services are available during the warranty period:
vProblem determination - Trained service personnel are available to assist you
with determining a hardware problem and deciding what action is necessary to
fix the problem.
vHardware repair - If the problem is caused by hardware under warranty, trained
service personnel are available to provide the applicable level of service.
vEngineering Change management - There might be changes that are required
after a product has been sold. Lenovo or your reseller will make selected
Engineering Changes (ECs) that apply to your hardware available.
Chapter 7. Getting information, help, and service 65
These items are not covered by the warranty:
vReplacement or use of parts not manufactured for or by Lenovo or
non-warranted Lenovo parts
vIdentification of software problem sources
vConfiguration of BIOS as part of an installation or upgrade
vChanges, modifications, or upgrades to device drivers
vInstallation and maintenance of network operating systems (NOS)
vInstallation and maintenance of application programs
Refer to the safety and warranty information that is provided with your computer
for a complete explanation of warranty terms. You must retain your proof of
purchase to obtain warranty service.
For a list of the Lenovo Support phone numbers for your country or region, go to
http://www.lenovo.com/support and click Support phone list or refer to the
ThinkCentre Safety and Warranty Guide that is provided with your computer.
Note: Phone numbers are subject to change without notice. If the number for your
country or region is not provided, contact your Lenovo reseller or Lenovo
marketing representative.
If possible, be at your computer when you call. Have the following information
available:
vMachine type and model
vSerial numbers of your hardware products
vDescription of the problem
vExact wording of any error messages
vHardware and software configuration information
Using other services
If you travel with your computer or relocate it to a country where your desktop or
notebook computer machine type is sold, your computer might be eligible for
International Warranty Service, which automatically entitles you to obtain warranty
service throughout the warranty period. Service will be performed by service
providers authorized to perform warranty service.
Service methods and procedures vary by country, and some services might not be
available in all countries. International Warranty Service is delivered through the
method of service (such as depot, carry-in, or on-site service) that is provided in
the servicing country. Service centers in certain countries might not be able to
service all models of a particular machine type. In some countries, fees and
restrictions might apply at the time of service.
To determine whether your computer is eligible for International Warranty Service
and to view a list of the countries where service is available, go to
http://www.lenovo.com/support, click Warranty, and follow the instructions on
the screen.
For technical assistance with the installation of or questions related to Service
Packs for your preinstalled Microsoft Windows product, refer to the Microsoft
Product Support Services Web site at http://support.microsoft.com/directory or
you can contact the Customer Support Center. Some fees might apply.
66 User Guide
Purchasing additional services
During and after the warranty period, you can purchase additional services, such
as support for hardware, operating systems, and application programs; network
setup and configuration; upgraded or extended hardware repair services; and
custom installations. Service availability and service name might vary by country
or region. For more information about these services, go to the Lenovo Web site at:
http://www.lenovo.com
Chapter 7. Getting information, help, and service 67
68 User Guide

Appendix. Notices
Lenovo may not offer the products, services, or features discussed in this
document in all countries. Consult your local Lenovo representative for
information on the products and services currently available in your area. Any
reference to a Lenovo product, program, or service is not intended to state or
imply that only that Lenovo product, program, or service may be used. Any
functionally equivalent product, program, or service that does not infringe any
Lenovo intellectual property right may be used instead. However, it is the user’s
responsibility to evaluate and verify the operation of any other product, program,
or service.
Lenovo may have patents or pending patent applications covering subject matter
described in this document. The furnishing of this document does not give you
any license to these patents. You can send license inquiries, in writing, to:
Lenovo (United States), Inc.
1009 Think Place - Building One
Morrisville, NC 27560
U.S.A.
Attention: Lenovo Director of Licensing
LENOVO PROVIDES THIS PUBLICATION “AS IS” WITHOUT WARRANTY OF
ANY KIND, EITHER EXPRESS OR IMPLIED, INCLUDING, BUT NOT LIMITED
TO, THE IMPLIED WARRANTIES OF NON-INFRINGEMENT,
MERCHANTABILITY OR FITNESS FOR A PARTICULAR PURPOSE. Some
jurisdictions do not allow disclaimer of express or implied warranties in certain
transactions, therefore, this statement may not apply to you.
This information could include technical inaccuracies or typographical errors.
Changes are periodically made to the information herein; these changes will be
incorporated in new editions of the publication. Lenovo may make improvements
and/or changes in the product(s) and/or the program(s) described in this
publication at any time without notice.
The products described in this document are not intended for use in implantation
or other life support applications where malfunction may result in injury or death
to persons. The information contained in this document does not affect or change
Lenovo product specifications or warranties. Nothing in this document shall
operate as an express or implied license or indemnity under the intellectual
property rights of Lenovo or third parties. All information contained in this
document was obtained in specific environments and is presented as an
illustration. The result obtained in other operating environments may vary.
Lenovo may use or distribute any of the information you supply in any way it
believes appropriate without incurring any obligation to you.
Any references in this publication to non-Lenovo Web sites are provided for
convenience only and do not in any manner serve as an endorsement of those Web
sites. The materials at those Web sites are not part of the materials for this Lenovo
product, and use of those Web sites is at your own risk.
Any performance data contained herein was determined in a controlled
environment. Therefore, the result obtained in other operating environments may
© Copyright Lenovo 2009 69

vary significantly. Some measurements may have been made on development-level
systems and there is no guarantee that these measurements will be the same on
generally available systems. Furthermore, some measurements may have been
estimated through extrapolation. Actual results may vary. Users of this document
should verify the applicable data for their specific environment.
Television output notice
The following notice applies to models that have the factory-installed
television-output feature.
This product incorporates copyright protection technology that is protected by
method claims of certain U.S. patents and other intellectual property rights owned
by Macrovision Corporation and other rights owners. Use of this copyright
protection technology must be authorized by Macrovision Corporation, and is
intended for home and other limited viewing uses only unless otherwise
authorized by Macrovision Corporation. Reverse engineering or disassembly is
prohibited.
European conformance CE mark
Trademarks
The following terms are trademarks of Lenovo in the United States, other
countries, or both:
Lenovo
Rescue and Recovery
The Lenovo logo
ThinkCentre
ThinkVantage
Microsoft, Windows, and Windows Vista are trademarks of the Microsoft group of
companies.
Celeron, Intel, Intel Core, and Pentium are trademarks of Intel Corporation in the
United States, other countries, or both.
Linux is a trademark of Linus Torvalds in the United States, other countries, or
both.
Other company, product, or service names may be trademarks or service marks of
others.
70 User Guide

Index
A
Access Help 64
Administrator, password 50
antivirus software 6
audio line-in connector 9
audio line-out connector 9
audio subsystem 2
B
backup and recovery operations 42
basic troubleshooting 57
battery, replacing 28
bay 2, installing 22
BIOS, updating (flashing) 53, 54
boot-block recovery 54
C
cable lock, security 38
cables, connecting 36
card reader, replacing 34
changing
password 50
startup device sequence 52
cleaning the mouse 61
CMOS, clearing 38
components, accessing system board 16
components, internal 10
computer cover
opening 14
connecting drives 23
connector description 9
connectors
front 7
rear 8
considerations, passwords 50
creating
and using a recovery repair diskette 46
and using rescue media 45
creating and using
recovery media 41
CRU
completing the installation 36
customer support center 65
D
deleting password 50
device drivers 37
installing 47
reinstalling 47
devices, handling static-sensitive 13
diagnostics programs, using 65
diagnostics, troubleshooting 57
diskette, creating and using a recovery repair 46
DisplayPort connector 9
documentation, using 65
drivers, device 37
drives
bays 21
internal 20
specifications 21
E
environment, operating 4
eSATA connector 9
Ethernet 2
Ethernet connector 9
exiting, Setup Utility 52
expansion 2
external options, installing 14
F
failure, recovering from POST/BIOS 54
features 1
flashing BIOS 53
folder, books online 63
front connectors 7
G
getting
help 63
information 63
service 63
H
hard disk drive, replacing 24
heat sink and fan assembly, replacing 32
help
Access Help 64
and service 65
getting 63
I
important safety information v
information
getting 63
important safety v
resources 63
safety 64
warranty 64
Input/Output (I/O) features 2
installing
bay 2 22
device drivers 47
installing options
internal drives 20
memory module 16
PCI card 18
security features 37
internal drives 1
© Copyright Lenovo 2009 71
K
keyboard connector 9
keyboard, replacing 35
L
Lenovo System Toolbox 59
Lenovo ThinkVantage Toolbox 59
Lenovo ThinkVantage Tools 63
Lenovo Web site 65
Lenovo Welcome 64
locating components 10
M
media, creating and using recovery media 41
media, creating and using rescue 45
memory module
installing 16
system board 16
Microphone connector 9
mouse
cleaning 61
non-optical 61
optical mouse 61
mouse connector 9
mouse, replacing 35
N
non-optical mouse 61
notice, television output 70
notices 69
O
online books folder 63
opening computer cover 14
operations, backup and recovery 42
optical drive, replacing 27
optical mouse 61
options, installing internal drives 20
P
parts replacement, completing 36
password
Administrator 50
considerations 50
Power-On Password 50
setting, changing, deleting 50
password protection 38
passwords
erasing 38
lost or forgotten 38
passwords, using 49
PC-Doctor for Rescue and Recovery 60
PCI card 18
installing, replacing 18
physical specifications 4
power
Advanced Configuration and Power Interface (ACPI)
support 3
features 3
power supply assembly, replacing 30
power-on self-test (POST) 53
Power-On, Password 50
productivity center, ThinkVantage 64
programs, updating system 53
protection, password 38
purchasing additional services 67
R
rear connectors 8
recovering
from a POST/BIOS update failure 54
software 41
recovery
boot-block 54
operations, backup and 42
problems, solving 48
recovery repair diskette, creating and using 46
recovery media, creating and using 41
reinstalling
device drivers 47
replacing
battery 28
hard disk drive 24
heat sink and fan assembly 32
Rescue and Recovery 41
workspace, Rescue and Recovery 44
Rescue and Recovery workspace 44
rescue device, startup sequence 48
rescue media, creating and using 45
resources, information 63
S
safety v
safety information 64
security
cable lock 38
enabling or disabling 51
features 3, 37
selecting
startup device 51
temporary startup device 51
serial port 9
service
and help 65
customer support center 65
getting 63
services
other 66
purchasing additional 67
setting
password 50
rescue device 48
settings
changing 49
viewing 49
Setup Utility 49
Setup Utility program, starting 49
Setup Utility, exiting 52
software
recovering 41
solving recovery problems 48
starting the Setup Utility program 49
startup device 51
72 User Guide
startup device (continued)
sequence, changing 52
temporary, selecting 51
static-sensitive devices, handling 13
system
management 2
programs 53
system board
components, accessing 16
connectors 11
locating parts 11
locations 11
memory module 16
T
television output notice 70
temporary startup device 51
ThinkVantage productivity center 64
trademarks 70
troubleshooting, basic 57
troubleshooting, diagnostics 57
U
updating
(flashing) BIOS 53
system programs 53
updating (flashing) BIOS 54
USB connector 9
using
diagnostic programs 65
documentation 65
other services 66
passwords 49
recovery repair diskette, creating and using 46
rescue media, creating and 45
Setup Utility 49
V
VGA monitor connector 9
video subsystem 1
viewing and changing settings 49
W
warranty information 64
Web site, Lenovo 65
workspace, backup and recovery 44
Index 73
74 User Guide

Part Number: 53Y9876
Printed in USA
(1P) P/N: 53Y9876