Lenovo 57Y3998 Userspa 57Y3998_Lenovo Preferred Pro USB Fingerprint Keyboard User Guide_5th Edition_ES Manual M90p Desktop (Think Centre) Type 3421
1970-01-01
User Manual: Lenovo 57Y3998 Userspa M90p Desktop (ThinkCentre) - Type 3421 3421
Open the PDF directly: View PDF
.
Page Count: 40
- Capítulo 1. Acerca de Lenovo Preferred Pro USB Fingerprint Keyboard
- Capítulo 2. Instalación de Lenovo Preferred Pro USB Fingerprint Keyboard
- Capítulo 3. Utilización de Lenovo Preferred Pro USB Fingerprint Keyboard
- Capítulo 4. Valores del lector de huellas dactilares en el BIOS
- Capítulo 5. Cuidado del lector de huellas dactilares
- Capítulo 6. Resolución de problemas
- Apéndice A. Servicio y soporte
- Apéndice B. Garantía limitada de Lenovo
- Apéndice C. Avisos de emisiones electrónicas
- Apéndice D. Avisos
- Apéndice E. Restricción de la directiva de sustancias peligrosas (RoHS)

GuíadelusuariodeLenovoPreferredProUSB
FingerprintKeyboard

http://www.lenovo.com/safety
Nota:Antesdeinstalarelproducto,asegúresedeleerlainformaciónacercadelagarantíaqueapareceenel
apartadoApéndiceB“GarantíalimitadadeLenovo”enlapágina17.
Quintaedición(Noviembre2014)
©CopyrightLenovo2010,2014.
AVISODEDERECHOSLIMITADOSYRESTRINGIDOS:silosproductososoftwaresesuministransegúnelcontrato
“GSA”(GeneralServicesAdministration),lautilización,reproducciónodivulgaciónestánsujetasalasrestricciones
establecidasenelContratoNúm.GS-35F-05925.

Contenido
Capítulo1.AcercadeLenovo
PreferredProUSBFingerprint
Keyboard................1
Descripcióndelproducto...........1
Vistafrontal...............1
Vistaposterior..............3
Requisitosdelsistema............4
Capítulo2.InstalacióndeLenovo
PreferredProUSBFingerprint
Keyboard................5
InstalacióndeThinkVantageFingerprintSoftware..5
InstalacióndeLenovoPreferredProUSB
FingerprintKeyboard.............5
Capítulo3.UtilizacióndeLenovo
PreferredProUSBFingerprint
Keyboard................7
Creacióndeunacontraseñayregistrodelas
huellasdactilares...............7
Cómodeslizareldedosobreellectordehuellas
dactilares..................7
Capítulo4.Valoresdellectorde
huellasdactilaresenelBIOS......9
Configuracióndellectordehuellasdactilaresenel
BIOS...................9
CambiodelosvaloresdelBIOSparaellectorde
huellasdactilares...............9
Registrodelashuellasdactilaresparacontraseñas
delBIOS.................10
Capítulo5.Cuidadodellectorde
huellasdactilares...........11
Capítulo6.Resoluciónde
problemas...............13
ApéndiceA.Servicioysoporte....15
Soportetécnicoenlínea...........15
Soportetécnicoporteléfono.........15
ApéndiceB.Garantíalimitadade
Lenovo................17
Parte1-Términosgenerales.........17
Parte2-Condicionesexclusivasdecadapaís..20
Parte3-Informaciónsobreelserviciode
garantía.................22
SuplementodeGarantíaparaMéxico......24
ApéndiceC.Avisosdeemisiones
electrónicas..............27
FederalCommunicationsCommissionDeclaration
ofConformity...............27
ApéndiceD.Avisos..........31
Informaciónsobreelreciclaje.........31
InformaciónsobrereciclajeparaBrasil.....31
Avisodeclasificacióndeexportación......32
Marcasregistradas.............32
ApéndiceE.Restriccióndela
directivadesustanciaspeligrosas
(RoHS).................33
UniónEuropeaRoHS............33
ChinaRoHS................33
TurcoRoHS................33
UcraniaRoHS...............33
IndiaRoHS................33
©CopyrightLenovo2010,2014i

iiGuíadelusuariodeLenovoPreferredProUSBFingerprintKeyboard

Capítulo1.AcercadeLenovoPreferredProUSBFingerprint
Keyboard
EstasecciónincluyeladescripcióndelproductoylasinstruccionesdeinstalaciónyusodeLenovo®
PreferredProUSBFingerprintKeyboard(deaquíenadelante,elteclado).
Descripcióndelproducto
Estasecciónproporcionaunadescripcióngeneralsobreelteclado.
Eltecladoestáequipadoconmuchasfuncionesqueaportancomodidadyseguridadalsistema.Enlugar
deutilizarunacontraseña,ellectordehuellasdactilaresdeltecladolepermitedeslizareldedoparaleer
suhuelladactilarypoderaccederalosrecursosdelsistema.Puestoquehaydisponiblesvariashuellas
dactilaresúnicasdelasyemasdesusdedosysealmacenandeformaseguraenelsistema,puedeestar
segurodequesuinformaciónpersonalestaráprotegida.
Elpaquetedeopcionesincluyeloselementossiguientes:
•LenovoPreferredProUSBFingerprintKeyboard
•Pósterdegarantía
•SoftwareandUserGuideDisc
Vistafrontal
1A
1A
Figura1.Vistafrontaldelteclado
1IndicadoresLED(diodoemisordeluz)
EltecladotienelossiguientestresindicadoresLED:
•LEDdebloqueonumérico:
©CopyrightLenovo2010,20141

CuandoelLEDdebloqueonuméricoestáiluminado,eltecladonuméricoestáhabilitado.CuandoelLED
noestáiluminado,elcontroldelcursordeltecladonuméricoestáhabilitado.Pulselatecladebloqueo
numérico(NumLkoNmLk)paraalternarentreestasdosmodalidades.
•LEDdebloqueodemayúsculas:
CuandoelLEDdebloqueodemayúsculasestáiluminado,lamodalidaddebloqueodemayúsculasestá
habilitada.Enestamodalidadpuedeescribirtodosloscaracteresalfabéticos(A-Z)enmayúsculassin
tenerquepulsarlatecladeMayús.CuandoelLEDnoestáiluminado,lamodalidaddebloqueode
mayúsculasestáinhabilitada.Parahabilitaroinhabilitarlamodalidaddebloqueodemayúsculas,pulsela
tecladebloqueodemayúsculas(CapsLockoCapsLk).
•LEDdebloqueodedesplazamiento:
CuandoelLEDdebloqueodedesplazamientoestáiluminado,lamodalidaddebloqueode
desplazamientoestáhabilitada.Sepuedenutilizarlasteclasdeflechacomoteclasdefunciónde
desplazamientodelapantallayelcursornosepuedemoverconlasteclasdeflecha.Notodoslos
programasdeaplicacióndansoporteaestafunción.CuandoelLEDdebloqueodedesplazamientono
estáiluminado,lasteclasdeflechapuedenutilizarseparamoverelcursor,peronocomoteclasde
funcióndedesplazamientodelapantalla.Pulselatecladedesplazamiento(ScrLk)paraalternarentre
estasdosmodalidades.
2BotónThinkVantage
EnlossistemasoperativosMicrosoft®Windows®XPoMicrosoftWindowsVista®,siemprequetengauna
preguntasobreelsistemaodeseeconsultarsitiosWebdeLenovo,pulseelbotónThinkVantage®paraabrir
ThinkVantageProductivityCenteroelprogramaLenovoCareSMparaobtenerayudaeinformacióncompleta
sobreelsistema.
Nota:ThinkVantageProductivityCenteroelprogramaLenovoCareseincluyenconelsistema.Sininguno
deellosestáinstaladoenelsistema,alpulsarelbotónThinkVantageseabrirálaventanadeinformacióndel
sistemadeWindows.
ParaelsistemaoperativoMicrosoftWindows7,pulseelbotónThinkVantageparaabrirelprogramaLenovo
SimpleTapoLenovoThinkVantageToolbox.
ElprogramaSimpleTapleofreceunamanerarápidadepersonalizarlosvaloresbásicosylasfunciones
personalizadasdelsistema.ElprogramaLenovoThinkVantageToolboxesunasolucióndediagnósticode
unsolopaso.Puedeidentificaryresolverrápidamenteproblemasderendimientoyseguridaddelsistema.
EnelsistemaoperativoMicrosoftWindows8,pulseelbotónThinkVantageparaabrirelprogramaLenovo
DeviceExperience.
3Lectordehuellasdactilares
Conellectordehuellasdactilaresintegrado,puederegistrarsushuellasdactilaresyasociarlasauna
contraseñadeencendido,unacontraseñadediscoduro,oambas,anticipadamente.Deestaforma,la
2GuíadelusuariodeLenovoPreferredProUSBFingerprintKeyboard

autenticacióndehuelladactilarpuedesustituiralascontraseñasypermitiralusuariounaccesosencilloy
seguro.
Atención:ElsoportedecontraseñadeunidaddediscoduroyencendidorequierequeelSistemabásicode
entrada/salidaoBIOSdelsistemadésoportealreconocimientodehuellasdactilares.SielBIOSdelsistema
dasoportealreconocimientodehuellasdactilares,podráiniciarelsistema,iniciarlasesiónyentrarenel
programaBIOSSetupUtilitydeslizandoeldedosobreellector,sintenerqueescribirningunacontraseña.
Paraobtenermásinformaciónrelativaasistemasquedansoporteacontraseñasdeencendidoy
contraseñasdediscoduro,consultelosapartadossiguientes:
•Capítulo4“ValoresdellectordehuellasdactilaresenelBIOS”enlapágina9.
•“CambiodelosvaloresdelBIOSparaellectordehuellasdactilares”enlapágina9.
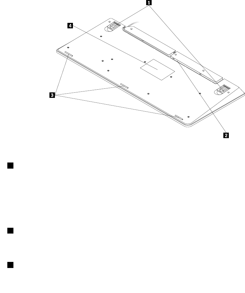
Vistaposterior
Figura2.Vistaposteriordelteclado
•1Piesinclinablesajustables
Eltecladotienetresposicionesdelospiesinclinablesconlasqueesposibleajustarelángulodelteclado
paraproporcionarlamáximacomodidad.Lostresángulosdeltecladosonlossiguientes:
–3,5grados:cuandoningunodelospiesestáelevado,eltecladotieneunángulodeinclinaciónde
3,5grados.
–6grados:elpieinclinablepequeñoelevaeltecladoconunángulode6grados.
–9grados:elpieinclinadograndeelevaeltecladoconunángulode9grados.
•2Ranuraparacables
Laranuraparacablesproporcionaunaformaadecuadadecambiarlaubicaciónporlaquesaleelcable
delteclado.Puedeinsertarelcabledeltecladoenlaranuradeladerechaodelaizquierdaparaquehaya
menosdesordenenloscablesyoptimizarelespaciodelescritorio.
•3Piesantideslizantes
Capítulo1.AcercadeLenovoPreferredProUSBFingerprintKeyboard3

Laparteinferiordeltecladoincluyetrespiesantideslizantesparaevitarqueeltecladosedesplace
mientrasseutilice.
•4Etiqueta
Laetiquetadelaparteinferiordeltecladoincluyelascertificacionesdelpaísyproporcionainformación
importantequepodríasernecesariasituvieraquellamaralserviciotécnico.
Requisitosdelsistema
Antesdeutilizarelteclado,asegúresedequeelsistemacumpleconlossiguientesrequisitosdelsistema:
•Unodelossiguientessistemasoperativos:
–MicrosoftWindowsXP(32bits)
–MicrosoftWindowsVista(32bitso64bits)
–MicrosoftWindows7(32bitso64bits)
–MicrosoftWindows8(32bitso64bits)
•UnconectorUSBdisponible
4GuíadelusuariodeLenovoPreferredProUSBFingerprintKeyboard

Capítulo2.InstalacióndeLenovoPreferredProUSB
FingerprintKeyboard
EstasecciónproporcionainformaciónacercadelainstalacióndeThinkVantageFingerprintSoftwarey
elteclado.
InstalacióndeThinkVantageFingerprintSoftware
Nota:Sihayuncontroladordetecladoinstaladoenelsistema,desinstáleloantesdecolocarel
ThinkVantageFingerprintSoftware.
ParainstalarelThinkVantageFingerprintSoftwareenelsistemaoperativoWindowsXP,WindowsVista,
Windows7oWindows8,hagalosiguiente:
1.Guardelosdocumentosquetengaabiertosycierretodaslasaplicaciones.
2.InserteelSoftwareandUserGuideDiscenlaunidadóptica.Eldiscoseiniciaráautomáticamente.Siel
disconoseiniciaautomáticamente,realiceunadelassiguientesacciones:
•Siseabrelaventanadereproducciónautomática,pulseEjecutarViewHtml.exe.
•Silaventanadereproducciónautomáticanoseabre,realiceunadeestasacciones:
–EnelcasodelsistemaoperativoWindowsXP,WindowsVistaoWindows7,vayaaMiPCo
Equipo,ypulsedosveceseneliconodelaunidaddeCD/DVD.
–EnelcasodelsistemaoperativoWindows8,abraExploradordearchivosyhagaclicenEquipoo
EstePCypulsedosveceseneliconodelaunidaddeCD/DVD.
3.Seleccioneelidioma.
4.PulseSoftwareenelpanelizquierdodelaventana.
5.Sigalasinstruccionesdelapantallaparainstalarelcontroladordedispositivo.
Nota:DespuésdequehayainstaladoexitosamenteThinkVantageFingerprintSoftware,debecrearuna
contraseñayregistrarsushuellasdactilaresantesdequeellectordehuellasdactilaresseafuncional.
Consulteelapartado“Creacióndeunacontraseñayregistrodelashuellasdactilares”enlapágina7
paraobtenermásinformación.
InstalacióndeLenovoPreferredProUSBFingerprintKeyboard
Parainstalarelteclado,hagalosiguiente:
1.Ajustelospiesinclinablesparacolocareltecladojuntoalsistemadelmodoqueprefiera.
2.ConecteelcabledeltecladoaunconectorUSBdisponibleenelsistema,comosemuestra:
Figura3.Conexióndelcabledelteclado
©CopyrightLenovo2010,20145

Nota:Dispongaelcabledeltecladoenlaranuradelcablesiesnecesario.
Despuésdequeelsistemaoperativoidentifiqueelteclado,eltecladoestarálistoparasuuso.
6GuíadelusuariodeLenovoPreferredProUSBFingerprintKeyboard

Capítulo3.UtilizacióndeLenovoPreferredProUSB
FingerprintKeyboard
Esteapartadoproporcionainformaciónsobreellectordehuellasdactilaresenelteclado.
Creacióndeunacontraseñayregistrodelashuellasdactilares
Paracrearunpasaporteyregistrarsuprimerahuelladactilar,hagalosiguiente:
1.AbralaventanadeThinkVantageFingerprintSoftwaredelasiguienteforma:
•PulseInicio➙Todoslosprogramas➙ThinkVantage➙ThinkVantageFingerprintSoftware.Se
abrirálaventanadeThinkVantageFingerprintSoftware.
•PulseInicio➙Todoslosprogramas➙LenovoThinkVantageTools.Acontinuación,efectúeuna
doblepulsaciónenLectordehuellasdactilares.SeabrirálaventanadeThinkVantageFingerprint
Software.
2.EspecifiquelacontraseñadeWindowsypulseEnviar.AparecerálaventanadelAcuerdodeusuario
final.
3.LeaatentamenteelAcuerdodelusuariofinalypulseAceptar.
Nota:DebeaceptarelAcuerdodelusuariofinalparainstalarelproducto.
4.Cuandosemuestreundiálogocondosmanos,seleccioneundedopararegistrarlopulsandoelbotón
situadoencimadeldedo.
5.Desliceeldedoseleccionadosobreelsensordehuellasdactilares.Esnecesarioquelashuellas
dactilarescoincidan.Serecomiendadeslizarmásdeundedoencasodequetengaalgunaherida.
6.(Opcional-solosielsistemadasoporte)Apareceunbotóndeencendidosobrecadadedo.Pulseel
botóndeencendidosituadosobreeldedoseleccionado.Eldedoseleccionadoseutilizaráenlugarde
lascontraseñasdeencendidoodediscoduro(contraseñasdelBIOS)aliniciarelsistema.
Notas:
•SinoutilizaunacontraseñadeWindows,selesolicitaráquedefinauna.Esunamedidaopcional,
peroaumentalaseguridaddelsoftware.
•Paraobtenermásinformaciónsobrecómoregistrarlahuellaohuellasdactilaresparacontraseñasde
encendidoyunidaddediscoduro(contraseñasBIOS),consulte“Registrodelashuellasdactilares
paracontraseñasdelBIOS”enlapágina10.
Cómodeslizareldedosobreellectordehuellasdactilares
Paradeslizareldedosobreellectordehuellasdactilares,hagalosiguiente:
1.Coloquelayemadeldedosobrelapequeñamuescacircularsituadasobreellector,comosemuestraa
continuación.Asegúresedequeelrestodeldedoseapoyahorizontalmenteenellector.
©CopyrightLenovo2010,20147

Figura4.Colocacióndelayemadeldedosobreellector
2.Apliqueunaligerapresiónydesliceeldedosobreellectorconunmovimientosuave,comosemuestra
acontinuación.
Figura5.Cómopasareldedoporellector
8GuíadelusuariodeLenovoPreferredProUSBFingerprintKeyboard

Capítulo4.ValoresdellectordehuellasdactilaresenelBIOS
EsteapartadoproporcionainformaciónsobrelosvaloresdellectordehuellasdactilaresenelBIOS.
ConfiguracióndellectordehuellasdactilaresenelBIOS
ParaconfigurarellectordehuellasdactilaresenelBIOS,hagalosiguiente:
1.Establezcaunacontraseñadeencendidoounacontraseñadediscoduro,oambas.
2.Apagueelsistemayacontinuaciónenciéndalodenuevo.
3.Cuandoselesolicite,desliceeldedosobreellectordehuellasdactilares.
4.Especifiquelacontraseñadeencendido,lacontraseñadediscoduro,oambas,segúnsesolicite.
Lahuelladactilarregistradaestáahoraasociadaconlacontraseñadeencendido,lacontraseñade
discoduro,oambas.
Laprimeravezqueinicieelsistema,tendráqueiniciarlasesiónenelsistemadeslizandoeldedosobreel
lectoryescribiendolacontraseñaparaasociarlosdostiposdeinformación.Lapróximavezqueinicieel
sistema,podráiniciarlasesiónenelsistemadeslizandoeldedosobreellectorunasolavez.
Atención:Sisiempreutilizalahuelladactilarparainiciarlasesiónenelsistema,puedequeolvidela
contraseñadelBIOS.Anotelacontraseñayguárdelaenunlugarseguro.Siolvidalacontraseñaynopuede
deslizareldedo,nopodráiniciarelsistemanicambiarlacontraseña.Paraconseguirunrendimiento
óptimo,registremásdeunahuelladactilar.
Siolvidalacontraseñadeencendido,deberállevarelsistemaaunrepresentantedelserviciotécnicode
Lenovoparaqueborrelacontraseña.
Siolvidalacontraseñadediscoduro,Lenovonopodrárestablecerlacontraseñanirecuperarlosdatosdela
unidaddediscoduro.DeberállevarelsistemaaunrepresentantedelserviciotécnicodeLenovoparaque
sustituyalaunidaddediscoduro.Elcomprobantedecompraesnecesarioylosserviciosderecambiosy
soportetécnicosefacturarán.
CambiodelosvaloresdelBIOSparaellectordehuellasdactilares
Nota:LainformacióndeestetemaseaplicaúnicamenteadeterminadosmodelosdeThinkPad®.
ElsubmenúFingerprintenSecuritydelmenúdelprogramaBIOSSetupUtilityofrecelasopciones
siguientes:
•Predesktopauthentication:habilitaoinhabilitalaautenticacióndehuellasdactilaresantesdecargar
elsistemaoperativo.
•SecurityMode:especificalosvaloresdelamodalidaddeseguridad.
Paracambiarlosvaloresdellectordehuellasdactilares,hagalosiguiente:
1.Imprimaestasinstrucciones.
2.Guardetodoslosarchivosabiertosysalgadetodaslasaplicaciones.
3.Apagueelsistemayacontinuaciónenciéndalodenuevo.
4.Mientrassevisualizaelmensaje“Tointerruptnormalstartup...”enlaparteinferiorizquierdadela
ventana,pulseysueltelateclaF1.SeabrirálaventanaBIOSSetupUtility.
5.Utilizandolasteclasdecursor,vayaaSecurityypulseIntro.SeabriráelmenúSecurity.
©CopyrightLenovo2010,20149

6.Mediantelasteclasdemovimientodelcursor,vayaaFingerprintypulseIntro.Seabriráelmenú
Fingerprint.
7.Utilizandolasteclasdelcursor,vayaaunelementoquedeseeestablecer.Cuandoseresaltedicho
elemento,pulseIntro.
8.Mediantelasteclasdemovimientodelcursor,seleccioneelvalorquedeseeutilizarypulseIntro.
ApareceráunaventanadeavisoconeltextoChangeshavebeensavedyconlaopciónContinue.
9.PulseIntroparacontinuar.
10.Conlasteclasdemovimientodelcursor,establezcaotrosvaloresdehuellasdactilaressegúnsea
necesario.
11.PulseF10parasalir.
12.EnlaventanaSetupConfirmation,seleccioneYesparaguardarloscambiosenlaconfiguraciónysalir.
RegistrodelashuellasdactilaresparacontraseñasdelBIOS
PararegistrarlashuellasdactilaresparacontraseñasdelBIOS(contraseñasdeencendidoydedisco
duro),realicelosiguiente:
1.Enfuncióndelsistemaoperativo,realiceunadeestasacciones:
•PulseInicio➙Todoslosprogramas➙ThinkVantage➙ThinkVantageFingerprintSoftware.Se
abrirálaventanadeThinkVantageFingerprintSoftware.
•PulseInicio➙Todoslosprogramas➙LenovoThinkVantageTools.Acontinuación,efectúeuna
doblepulsaciónenLectordehuellasdactilares.SeabrirálaventanadeThinkVantageFingerprint
Software.
2.EspecifiquelacontraseñadeWindowsypulseEnviar.
3.Cuandoaparezcaundiálogocondosmanos,seleccioneundedopararegistrarlopulsandoelbotónde
Windowscorrespondientesituadoencimadeldedo.Seabrirálaventanaderegistro
4.Desliceeldedoseleccionadosobreellectordehuellasdactilaresdelsistema.Manténgalohastaque
labarradeprogresoalcanceel100%.Acontinuación,regresaráaldiálogocondosmanosenelque
habráuncírculoverdealrededordelaimagendeldedoqueacabaderegistraryelbotóndeWindows
situadosobreeldedoapareceráresaltado.
5.Realiceunodelossiguientesprocedimientossegúnelsistemaoperativo:
•(Solosielsistemadasoporte)ApareceunbotóndeEncendidosobrecadadedo.Pulseelbotónde
Encendidosituadosobreeldedoseleccionado.Eldedoseleccionadoseutilizaráenlugardelas
contraseñasdeencendidoodediscoduroaliniciarelsistema.
•PulseConfiguración.Seabrirálaventanadeconfiguración.Realicelosiguiente:
a.EneláreaSeguridaddeencendido,seleccioneUtilizarexploracióndelahuelladactilaren
lugardelascontraseñasdeencendidoydiscoduro.
b.PulseAceptar.ApareceráunbotóndeEncendidoresaltadosobrelaimagendeldedoquehaya
registrado,indicandoqueharegistradocorrectamentesushuellasdactilaresparalascontraseñas
delBIOS.
10GuíadelusuariodeLenovoPreferredProUSBFingerprintKeyboard

Capítulo5.Cuidadodellectordehuellasdactilares
Lassiguientesaccionespodríandañarellectordehuellasdactilaresyhacerquenofuncionara
correctamente:
•Rascarlasuperficiedellectorconunobjetoduroypuntiagudo.
•Rascarlasuperficiedellectorconlauñaoalgoduro.
•Utilizarotocarellectorconundedosucio.
Sipercibealgunadelascondicionessiguientes,limpiesuavementelasuperficiedellectorconunpaño
seco,suaveysinpelusas:
•Lasuperficiedellectorestásuciaomanchada.
•Lasuperficiedellectorestámojada.
•Ellectorfallaconfrecuenciacuandoregistraoautenticasuhuelladactilar.
Sisudedoestáenunadelascondicionessiguientes,esposiblequenopuedaregistrarlooautenticarlo:
•Sudedoestáarrugado.
•Sudedoestááspero,secootieneunaherida.
•Sudedoestámanchadodesuciedad,grasaoaceite.
•Lasuperficiedesudedoesmuydistintaacómoeracuandoregistrósuhuelladactilar.
•Sudedoestámojado.
•Seutilizaundedoquenoseharegistrado.
Intenteutilizarlosmétodossiguientessitieneproblemasalregistraroautenticarunahuelladactilar:
•Límpieseoséqueselasmanosparaeliminarelexcesodesuciedadohumedaddelosdedos.
•Registresudedoyutiliceunodistintoparalaautenticación.
•Sisusmanosestándemasiadosecas,hidrátelas.
©CopyrightLenovo2010,201411

12GuíadelusuariodeLenovoPreferredProUSBFingerprintKeyboard

Capítulo6.Resolucióndeproblemas
Estossonlosproblemasmáshabitualesdelteclado.Siexperimentacualquieradelosproblemassiguientes
conelteclado,consultelasolucióncorrespondiente.
Problema:ellectordehuellasdactilaresnofuncionacorrectamente.
Solución:consulteCapítulo5“Cuidadodellectordehuellasdactilares”enlapágina11.
Problema:elbotónThinkVantagenofuncionacorrectamente.
Solución:asegúresedequeunodelossiguientesprogramasestéinstaladoenelsistema,odelocontrario
aparecerálaventanadeinformacióndelsistemadeWindowscuandopulseelBotónThinkVantage:
•ThinkVantageProductivityCenter
•LenovoCare
•LenovoThinkVantageToolbox
•LenovoSimpleTap
•LenovoSolutionCenter
•LenovoDeviceExperience
Problema:presionéunbotónunavez,peroelsistemarespondiócomosilohubiesepresionadodosveces.
Solución:segúnelsistemaoperativo,ajustelosvaloresderetardoderepeticiónodevelocidadde
repeticiónrealizandounadelassiguientesopciones:
•ParaelsistemaoperativoWindowsXPoWindowsVista:
1.SegúnlamodalidaddelmenúInicio,pulseInicio➙PaneldecontroloInicio➙Configuración
➙Paneldecontrol.
2.EnfuncióndelamodalidaddelPaneldecontrol,pulseoefectúeunadoblepulsaciónenTeclado.
3.PulselapestañaVelocidad.
4.MuevaelgraduadordelretardoderepeticiónhaciaLargooelgraduadordelavelocidadde
repeticiónhaciaLento.
5.PulseAceptar.
•ParaelsistemaoperativoWindows7:
1.SegúnlamodalidaddelmenúInicio,pulseInicio➙PaneldecontroloInicio➙Configuración
➙Paneldecontrol.
2.PulseelmenúVeryseleccioneIconospequeñosoIconosgrandes.LacategoríaTodoslos
elementosdelPaneldecontrolseexpande.
3.PulseTeclado.
4.PulselapestañaVelocidad.
5.MuevaelgraduadordelretardoderepeticiónhaciaLargooelgraduadordelavelocidadde
repeticiónhaciaLento.
6.PulseAceptar.
©CopyrightLenovo2010,201413

•ParasistemasoperativosWindows8:
1.ParairalPaneldecontrol,muevaelcursoralaesquinasuperioroinferiorderechadelapantallapara
mostrarlosaccesos.HagaclicenBuscarybusquePaneldecontrol.
2.PulseelmenúVeryseleccionelavistaIconospequeñosoIconosgrandes.LacategoríaTodoslos
elementosdelPaneldecontrolseexpande.
3.PulseTeclado.
4.PulselapestañaVelocidad.
5.MuevaelgraduadordelretardoderepeticiónhaciaLargooelgraduadordelavelocidadde
repeticiónhaciaLento.
6.PulseAceptar.
Problema:eltecladoyellectordehuellasdactilaresnofuncionancorrectamente.
Solución:puedequenecesiteconectareltecladoaotroconectorUSBdisponibleenelsistemayvolvera
intentarlo.
ParacambiarelconectorUSB,hagalosiguiente:
1.DesenchufeelconectordeltecladodelconectorUSB.
2.InserteelconectordeltecladoenunconectorUSBdistintodelsistema.
3.ElsistemaoperativoidentificaráeltecladoyellectordehuellasdactilaresutilizandolafunciónConectar
ylisto.
Nota:PóngaseencontactoconelrepresentantedeserviciodeLenovosilasituacióncontinúa.
Problema:ellectordehuellasdactilaresincorporadodeThinkPadnofuncionacuandoellectordehuellas
dactilaresUSBestáinstalado.
Solución:elsoftwaredellectordehuellasdactilaressólofuncionaconunlector.Cuandoseinstala
unlectordehuellasdactilaresUSB,elsoftwarereconocesóloellectordehuellasdactilaresUSByno
funcionaráconellectorinterno.
14GuíadelusuariodeLenovoPreferredProUSBFingerprintKeyboard

ApéndiceA.Servicioysoporte
Enestainformaciónsedescribeelsoportetécnicodisponibleparaelproducto,duranteelperiodode
garantíaoalolargodelavidadelproducto.ConsultelaGarantíalimitadadeLenovoparaobteneruna
explicacióndetalladadelostérminosdelagarantíadeLenovo.
Soportetécnicoenlínea
Elsoportetécnicoenlíneaestádisponibledurantelavidaútildeunproductoenlasiguientedirección:
http://www.lenovo.com/support
Duranteelperíododegarantía,tambiénestádisponiblelaasistenciaparalasustitucióndelproductooel
recambiodecomponentesdefectuosos.Además,sisuopciónestáinstaladaenunsistemaLenovo,
esposiblequetengalicenciaparaqueseefectúenreparacionesenellugarenelqueseencuentre.El
representantedesoportetécnicodeLenovoleayudaráadeterminarlamejoralternativa.
Soportetécnicoporteléfono
ElsoporteenelprocesodeinstalaciónyconfiguraciónatravésdelCentrodesoportealclienteestaráa
disposicióndelosclienteshasta90díasdespuésdequelaopciónsehayaretiradodelmercado.Trasdicho
periodo,elsoportesecancelaráosepondráadisposicióndelosclientesmedianteelpagodeunatasa,
segúnLenovocreaconveniente.Tambiénseofrecesoporteadicionalporunpreciosimbólico.
Leagradeceremosqueantesdeponerseencontactoconunrepresentantedelserviciodesoportetécnico
deLenovodispongadelasiguienteinformación:nombreynúmerodelaopción,comprobantedecompra,
fabricantedelsistema,modelo,númerodeserieymanual,enunciadoexactodelmensajedeerror,silohay,
descripcióndelproblemaeinformacióndeconfiguracióndelhardwareysoftwaredesusistema.
Podríaserqueelrepresentantedelserviciodesoportetécnicoquisieraquereproducieseelproblemaen
susistemadurantelallamada.
Losnúmerosdeteléfonopuedensermodificadossinprevioaviso.Lalistamásactualizadadeteléfonos
desoportedeLenovoseencuentradisponibleenhttp://www.lenovo.com/support/phone.Sinoseindica
elnúmerodeteléfonocorrespondienteasupaísoregión,póngaseencontactoconeldistribuidorde
LenovooconelrepresentantedeventasdeLenovo.
©CopyrightLenovo2010,201415

16GuíadelusuariodeLenovoPreferredProUSBFingerprintKeyboard

ApéndiceB.GarantíalimitadadeLenovo
L505-0010-0208/2011
EstagarantíalimitadadeLenovoconstadelassiguientespartes:
Parte1-Términosgenerales
Parte2-Condicionesexclusivasdecadapaís
Parte3-Informaciónsobreelserviciodegarantía
LostérminosdelaParte2reemplazanomodificanlosdelaParte1comoseespecificaparaunpaís
específico.
Parte1-Términosgenerales
LaGarantíalimitadadeLenovosóloseaplicaalosproductosdehardwaredeLenovoadquiridosparauso
propioynoparaserdistribuidos.EstaGarantíalimitadadeLenovoestádisponibleenotrosidiomasenel
sitiowebwww.lenovo.com/warranty.
CoberturadeestaGarantía
LenovogarantizaquelosproductosdehardwaredeLenovoqueadquieranopresentarándefectosenlos
materialesyfunciones,siseutilizanconnormalidad,duranteelperiododegarantía.Elperiododegarantía
delproductoseiniciaapartirdelafechaoriginaldecompratalcomoapareceenlafacturaoelrecibode
compraocomoloespecifiqueLenovodeotromodo.Elperiododegarantíayeltipodeserviciodegarantía
queseaplicanasuproductosonlosqueseespecificanenla“Parte3-Informaciónsobreelserviciode
garantía”másabajo.Estagarantíasolamenteseaplicaalosproductosenelpaísolaregióndecompra.
ESTAGARANTÍAESLAÚNICAGARANTÍADELCLIENTEYSUSTITUYETODASLASDEMÁS
GARANTÍASOCONDICIONES,EXPRESASOIMPLÍCITAS,INCLUYENDO,PEROSINLIMITARSE
A,LASGARANTÍASOCONDICIONESIMPLÍCITASDECOMERCIALIZACIÓNOIDONEIDADPARA
UNFINDETERMINADO.DEBIDOAQUEALGUNOSESTADOSOJURISDICCIONESNOPERMITEN
LAEXCLUSIÓNDELASGARANTÍASEXPRESASOIMPLÍCITAS,ESPOSIBLEQUELAEXCLUSIÓN
ANTERIORNOLESEAAPLICABLE.ENESECASO,TALESGARANTÍASSEAPLICANSÓLOAL
ÁMBITOYLADURACIÓNQUELALEYEXIJAYESTÁNLIMITADASENDURACIÓNALPERIODODE
GARANTÍA.DEBIDOAQUEALGUNOSESTADOSOJURISDICCIONESNOPERMITENLIMITACIONES
SOBRELADURACIÓNDEUNAGARANTÍAIMPLÍCITA,ESPOSIBLEQUELAEXCLUSIÓNANTERIOR
NOLESEAAPLICABLE.
CómoobtenerelServiciodeGarantía
Sielproductonofuncionacomoestágarantizadoduranteelperiododegarantía,puedeobtener
serviciodegarantíaponiéndoseencontactoconLenovooconunproveedordeservicioaprobadopor
Lenovo.Haydisponibleunalistadeproveedoresdeservicioaprobadosysusnúmerosdeteléfonoen:
www.lenovo.com/support/phone.
Elserviciodegarantíapodríanoestardisponibleentodaslaslocalidades,ypodríavariardeunasaotras.
Esposiblequeseapliquencargosfueradeláreadeserviciohabitualdeunproveedordeservicio.Póngase
encontactoconunproveedordeserviciolocalparaobtenerinformaciónespecíficaparasuubicación.
©CopyrightLenovo2010,201417

Responsabilidadesdelclienteporelserviciodegarantía
Antesdeprestarelserviciodegarantía,deberealizarlossiguientespasos:
•seguirlosprocedimientosdesolicituddeservicioespecificadasporelproveedordeservicio;
•realizarcopiasdeseguridadoprotegerlosprogramas,datosyrecursoscontenidosenelproducto;
•proporcionaralproveedordeserviciotodaslasclavesocontraseñasdelsistema;
•proporcionaralproveedordeservicioaccesosuficiente,libreyseguroalosrecursosparapoderprestar
servicio;
•eliminartodoslosdatos,incluidalainformaciónconfidencial,patentadaypersonaldelproductoo,sino
puedeeliminardichainformación,modificarlainformaciónparaimpedirelaccesoaelladeuntercero
odemodoquenopuedaserreputadacomodatospersonalesdeconformidadconlaleyaplicable.
Elproveedordeservicionoseráresponsabledelapérdidaodivulgacióndecualquierdato,incluida
lainformaciónconfidencial,patentadaopersonalcorrespondienteaunproductodevueltooalque
seaccedióparabrindarelserviciodegarantía;
•retirartodoslosdispositivos,loscomponentes,lasopciones,lasmodificacionesylasconexionesqueno
esténcubiertasporelserviciodegarantía;
•asegurarsedequeelproductoocomponenteestélibrederestriccioneslegalesqueimpidanreemplazarlo;
•siustednoeselpropietariodeunproductoocomponente,obtenerlaautorizacióndelpropietariopara
queelproveedordeserviciopresteelserviciodegarantía.
Accionesdelproveedordeserviciopararesolverproblemas
CuandoelClienteseponeencontactoconunproveedordeservicio,debeseguirlosprocedimientos
especificadosdedeterminaciónyresolucióndeproblemas.
Elproveedordeserviciointentarádiagnosticaryresolverelproblemaporteléfono,porcorreoelectrónico
omedianteasistenciaremota.Esposiblequeelproveedordeserviciolepidaquedescargueeinstale
algunasactualizacionesdesoftwareconcretas.
AlgunosproblemassepuedenresolverconunapiezaderecambioquepuedeinstalarelpropioCliente,
denominada“Unidadreemplazableporelcliente”o“CRU,porsussiglaseninglés”.Siesasí,elProveedor
deservicioleproporcionarálaCRUparaquelainstale.
Sielproblemanosepuederesolverporteléfono,niatravésdelaaplicacióndeactualizacionesdesoftware
niconlainstalacióndeunaCRU,elproveedordeserviciodispondráunserviciosegúneldeserviciode
garantíadesignadoparaelproductoenla“Parte3-Informaciónsobreelserviciodegarantía”.
Sielproveedordeserviciodeterminaquenopuederepararelproducto,elproveedordeserviciolosustituirá
porunoqueseacomomínimofuncionalmenteequivalente.
Sielproveedordeserviciodeterminaquenopuederepararnireemplazarelproducto,laúnicasolución
conformeaestaGarantíalimitadaserádevolverelproductoallugardecompraoaLenovoysele
reembolsaráelpreciodecompra.
ProductosoComponentesdeSustitución
Cuandoelserviciodegarantíaimpliquelasustitucióndeunproductoodeunodesuscomponentes,el
elementosustituidopasaráaserpropiedaddeLenovoyelproductodesustituciónpasaráaserdelCliente.
SólosepodránreemplazarlosproductosocomponentesdeLenovosinmodificar.Esposiblequeel
recambionoseanuevo,perofuncionarácorrectamenteyserá,comomínimo,funcionalmenteequivalenteal
productoocomponentesustituido.Elproductoocomponentedesustitucióndispondrádegarantíadurante
elbalancedeperíodorestantedelproductooriginal.
UsodeInformaciónPersonaldeContacto
18GuíadelusuariodeLenovoPreferredProUSBFingerprintKeyboard

Siobtieneserviciobajoestagarantía,autorizaaLenovoaalmacenar,utilizaryprocesarlainformaciónsobre
elserviciodegarantíaysuinformacióndecontacto,incluidoselnombre,losnúmerosdeteléfono,la
direcciónyladireccióndecorreoelectrónico.Lenovopuedeutilizarestainformaciónparaprestarservicio
conformeaestagarantía.EsposiblequenospongamosencontactoconelClienteparainformarnosdesu
gradodesatisfacciónconrelaciónalserviciodegarantíaoparanotificarlenovedadessobreelproducto
ocuestionesrelativasalaseguridad.Paraconseguirestosobjetivos,autorizaaLenovoatransferirla
informaciónaaquellospaísesenlosqueoperamosylafacilitemosaaquellasentidadesqueactúanen
nuestronombre.Tambiénpodríamosrevelarlasiasílorequierelalegislación.Lapolíticadeprivacidad
deLenovoestádisponibleenwww.lenovo.com/.
ConceptosnocubiertosporestaGarantía
Estagarantíanocubrelosiguiente:
•funcionamientoininterrumpidoosinerroresdeunproducto;
•pérdidadedatosodañosalosdatosporpartedeunproducto;
•cualquierprogramadesoftware,quesesuministreconelproducto,oqueseinstaleposteriormente;
•anomalíasodañosresultantesdeunusoerróneo,unmaluso,unaccidente,unamodificaciónoun
entornooperativoofísiconoadecuado,desastresnaturales,sobretensióneléctrica,mantenimiento
impropioousonoconformeconlosmaterialesdeinformacióndelproductoporpartedelCliente;
•dañoscausadosporunproveedordeserviciosnoautorizado;
•erroresde,odañoscausadospor,productosdeterceros,incluidoslosqueLenovopuedeproporcionare
integrarconunproductodeLenovosilosolicitaelCliente;
•soportetécnicoodeotrotipo,comoporejemploasistenciaconpreguntas“deprocedimiento”ylas
relativasalainstalaciónyconfiguracióndelproducto;
•productosocomponentesconunaetiquetadeidentificaciónmodificadaoalosqueseharetirado
laetiquetadeidentificación.
Limitaciónderesponsabilidad
LenovoseráresponsabledelaspérdidasolosdañossufridosenelproductodelClientesólomientraséste
seencuentreenposesióndelproveedordeserviciooentránsito,sielproveedordeservicioesresponsable
deltransporte.
NiLenovonielproveedordeserviciosonresponsablesdelapérdidaodivulgacióndecualquierdato,
incluidoslainformaciónconfidencial,patentadaopersonalquecontieneunproducto.
BAJONINGUNACIRCUNSTANCIA,YAPESARDEQUECUALQUIERRECURSONOCUMPLASU
PROPÓSITOESENCIALESTABLECIDOENELPRESENTEDOCUMENTO,LENOVO,SUSAFILIADOS,
PROVEEDORES,REVENDEDORESOPROVEEDORESDESERVICIOSERÁNRESPONSABLES
DENINGUNODELOSSIGUIENTESAPESARDEQUESELESINFORMEDESUPOSIBILIDAD
EINDEPENDIENTEMENTEDESILARECLAMACIÓNSEBASAENUNARESPONSABILIDAD
CONTRACTUAL,DEGARANTÍA,NEGLIGENCIA,RESPONSABILIDADOBJETIVAUOTRATEORÍA
DERESPONSABILIDAD:1)RECLAMACIONESDETERCEROSCONTRAELCLIENTEPORDAÑOS
YPERJUICIOS;2)PÉRDIDAS,DAÑOSODIVULGACIÓNDESUSDATOS;3)DAÑOSYPERJUICIOS
ESPECIALES,INCIDENTALES,PUNITIVOS,INDIRECTOSODERIVADOS,INCLUYENDO,PEROSIN
LIMITARSEAPÉRDIDADEBENEFICIOS,INGRESOSDENEGOCIO,FONDOSDECOMERCIO
OAHORROSPREVISTOS.ENNINGÚNCASOLARESPONSABILIDADTOTALDELENOVO,SUS
AFILIADOS,PROVEEDORES,REVENDEDORESOPROVEEDORESDESERVICIOPORDAÑOSY
PERJUICIOSPORCUALQUIERCAUSASOBREPASARÁLACANTIDADREALDEDAÑOSDIRECTOS,
QUEASUVEZNOSOBREPASARÁLACANTIDADPAGADAPORELPRODUCTO.
LASLIMITACIONESANTERIORESNOSEAPLICANALOSDAÑOSALASPERSONASFÍSICAS
(INCLUIDALAMUERTE),LOSDAÑOSABIENESINMUEBLESOLOSDAÑOSALOSBIENESMUEBLES
TANGIBLESPERSONALES,DELOSQUELENOVOSEALEGALMENTERESPONSABLE.DADOQUE
ALGUNOSESTADOSOJURISDICCIONESNOPERMITENLAEXCLUSIÓNNILIMITACIÓNDELOS
ApéndiceB.GarantíalimitadadeLenovo19

DAÑOSFORTUITOSODERIVADOS,ESPOSIBLEQUELALIMITACIÓNOEXCLUSIÓNANTERIORNO
SEAPLIQUEENSUCASO.
SusOtrosDerechos
ESTAGARANTÍALEOTORGADERECHOSLEGALESESPECÍFICOS.PUEDETENEROTROS
DERECHOSDEACUERDOCONLASLEYESAPLICABLESDESUESTADOOJURISDICCIÓN.TAMBIÉN
ESPOSIBLEQUETENGAOTROSDERECHOSDECONFORMIDADCONUNACUERDOESCRITOCON
LENOVO.NINGÚNTÉRMINODEESTAGARANTÍAAFECTAALOSDERECHOSLEGALES,INCLUIDOS
LOSDERECHOSDELOSCONSUMIDORESCONFORMEALASLEYESYNORMATIVASQUERIGENLA
VENTADEBIENESDECONSUMO,QUENOPUEDANSEREXCLUIDOSOLIMITADOSPORCONTRATO.
Parte2-Condicionesexclusivasdecadapaís
Australia
“Lenovo”serefiereaLenovo(Australia,NuevaZelanda)PtyLimitedABN70112394411.Dirección:
Level10,NorthTower,1-5RailwayStreet,Chatswood,NSW,2067.Teléfono:+61280038200.Correo:
lensyd_au@lenovo.com
LoqueapareceacontinuaciónsustituyelamismasecciónenlaParte1:
CoberturadeestaGarantía:
Lenovogarantizaquelosproductosdehardwarequeadquieranopresentandefectosenlosmaterialesy
funciones,enusoycondicionesnormales,duranteelperíododegarantía.Sielproductofalladebidoa
undefectocubiertoduranteelperíododegarantía,LenovoleproporcionaráunrecursobajoestaGarantía
limitada.Elperíododegarantíadelproductoseiniciaapartirdelafechaoriginaldecompraespecificada
enlafacturaoelrecibodecompra,amenosqueLenovoindiqueotracosaporescrito.Elperiodode
garantíayeltipodeserviciodegarantíaqueseaplicanasuproductosonlosqueseestablecenenlaParte
3-Informaciónsobreelserviciodegarantía.
LOSBENEFICIOSQUECONCEDEESTAGARANTÍASESUMANASUSDERECHOSYRECURSOS
LEGALES,INCLUIDOSAQUELLOSCONFORMEALALEYDELCONSUMIDORAUSTRALIANA.
LoqueapareceacontinuaciónsustituyelamismasecciónenlaParte1:
ProductosoComponentesdeSustitución:
Cuandoelserviciodegarantíaimpliquelasustitucióndeunproductoodeunodesuscomponentes,el
elementosustituidopasaráaserpropiedaddeLenovoyelproductodesustituciónpasaráaserdelCliente.
SólosepodránreemplazarlosproductosocomponentesdeLenovosinmodificar.Esposiblequeel
recambionoseanuevo,perofuncionarácorrectamenteyserá,comomínimo,funcionalmenteequivalenteal
productoocomponentesustituido.Elproductoocomponentedesustitucióndispondrádegarantíadurante
elbalancedeperíodorestantedelproductooriginal.Losproductosycomponentesquesepresentan
parareparaciónsepuedenreemplazarporproductosocomponentesreacondicionadosdelmismotipo
enlugardeserreparados.Loscomponentesreacondicionadossepuedeusarpararepararelproductoy
lareparacióndelproductopuedeocasionarunapérdidadedatos,sielproductoescapazdeconservar
datosgeneradosporelusuario.
SeañadelosiguientealamismasecciónenlaParte1:
UsodeInformaciónPersonaldeContacto:
20GuíadelusuariodeLenovoPreferredProUSBFingerprintKeyboard

Lenovonopodráefectuarelserviciobajoestagarantía,sielClienteseniegaaproporcionarsuinformación
onodeseaquetransfiramossuinformaciónanuestrorepresentanteocontratista.ElClientetienederechoa
accederasuinformacióndecontactopersonalysolicitarlacorreccióndecualquiererrorenellaconformea
laLeydeprivacidadde1988poniéndoseencontactoconLenovo.
LoqueapareceacontinuaciónsustituyelamismasecciónenlaParte1:
Limitaciónderesponsabilidad:
LenovoseráresponsabledelaspérdidasolosdañossufridosenelproductodelClientesólomientraséste
seencuentreenposesióndelproveedordeserviciooentránsito,sielproveedordeservicioesresponsable
deltransporte.
NiLenovonielproveedordeserviciosonresponsablesdelapérdidaodivulgacióndecualquierdato,
incluidoslainformaciónconfidencial,patentadaopersonalquecontieneunproducto.
ENLAMEDIDAPERMITIDAPORLEY,BAJONINGUNACIRCUNSTANCIA,YAPESARDEQUE
CUALQUIERRECURSONOCUMPLASUPROPÓSITOESENCIALESTABLECIDOENELPRESENTE
DOCUMENTO,LENOVO,SUSAFILIADOS,PROVEEDORES,REVENDEDORESOPROVEEDORES
DESERVICIOSERÁNRESPONSABLESDENINGUNODELOSSIGUIENTESAPESARDEQUESE
LESINFORMEDESUPOSIBILIDADEINDEPENDIENTEMENTEDESILARECLAMACIÓNSEBASA
ENUNARESPONSABILIDADCONTRACTUAL,DEGARANTÍA,NEGLIGENCIA,RESPONSABILIDAD
OBJETIVAUOTRATEORÍADERESPONSABILIDAD:1)RECLAMACIONESDETERCEROSCONTRA
ELCLIENTEPORDAÑOSYPERJUICIOS;2)PÉRDIDAS,DAÑOSODIVULGACIÓNDESUSDATOS;
3)DAÑOSYPERJUICIOSESPECIALES,INCIDENTALES,PUNITIVOS,INDIRECTOSODERIVADOS,
INCLUYENDO,PEROSINLIMITARSEAPÉRDIDADEBENEFICIOS,INGRESOSDENEGOCIO,FONDOS
DECOMERCIOOAHORROSPREVISTOS.ENNINGÚNCASOLARESPONSABILIDADTOTALDE
LENOVO,SUSAFILIADOS,PROVEEDORES,REVENDEDORESOPROVEEDORESDESERVICIOPOR
DAÑOSYPERJUICIOSPORCUALQUIERCAUSASOBREPASARÁLACANTIDADREALDEDAÑOS
DIRECTOS,QUEASUVEZNOSOBREPASARÁLACANTIDADPAGADAPORELPRODUCTO.
LASLIMITACIONESANTERIORESNOSEAPLICANALOSDAÑOSALASPERSONASFÍSICAS
(INCLUIDALAMUERTE),LOSDAÑOSABIENESINMUEBLESOLOSDAÑOSALOSBIENESMUEBLES
TANGIBLESPERSONALES,DELOSQUELENOVOSEALEGALMENTERESPONSABLE.
LoqueapareceacontinuaciónsustituyelamismasecciónenlaParte1:
SusOtrosDerechos:
ESTAGARANTÍALEOTORGADERECHOSLEGALESESPECÍFICOS.TAMBIÉNTIENEOTROS
DERECHOSLEGALES,INCLUIDOSAQUELLOSCONFORMEALALEYDELCONSUMIDOR
AUSTRALIANA.NADADELOCONTENIDOENESTAGARANTÍAAFECTALOSDERECHOS
ESTABLECIDOSPORLASLEYESOESTATUTOS,INCLUYENDOLOSDERECHOSQUENOSEPUEDEN
RENUNCIARNILIMITARPORCONTRATO.
Porejemplo,nuestrosproductosincluyengarantíasquenosepuedenexcluirenvirtuddelaLeydel
consumidoraustraliana.ElClientetienederechoaunasustituciónoreembolsoporunafallaimportanteya
unacompensaciónporcualquierpérdidaodañorazonablementeprevisible.Tambiéntienederechoaquese
reparenosustituyanlosproductossiestosnosondeunacalidadaceptableylafallanoconstituyeuna
fallaimportante.
NuevaZelanda
SeañadelosiguientealamismasecciónenlaParte1:
ApéndiceB.GarantíalimitadadeLenovo21

UsodelaInformaciónPersonal:
Lenovonopodráefectuarelserviciobajoestagarantía,sielClienteseniegaaproporcionarsuinformación
onodeseaquetransfiramossuinformaciónanuestrorepresentanteocontratista.ElClientetienederechoa
accederasuinformacióndecontactopersonalysolicitarlacorreccióndecualquiererrorenellaconformea
laLeydeprivacidadde1993poniéndoseencontactoconLenovo(AustraliayNuevaZelanda)PtyLimited
ABN70112394411.Dirección:Level10,NorthTower,1-5RailwayStreet,Chatswood,NSW,2067.
Teléfono:61280038200.Correo:lensyd_au@lenovo.com
Bangladesh,Camboya,Filipinas,India,Indonesia,Nepal,VietnamySriLanka
SeañadelosiguientealaParte1:
Resolucióndedisputas
Lasdisputasquesurjanoesténrelacionadasconestagarantíadeberánresolversedefinitivamentemediante
arbitrajeenSingapur.Estagarantíaseregirá,interpretaráyaplicarádeacuerdoconlasleyesdeSingapur,
conindependenciadelosconflictosdeley.SihaadquiridoelproductoenIndia,lasdisputasresultantes
de,orelacionadasconestagarantíadeberánresolversemediantearbitrajeenBangalore,India.Elarbitraje
enSingapurserealizaráenconformidadconlasReglasdearbitrajedelCentrodearbitrajeinternacional
deSingapur(“ReglasdelSIAC”)queesténenvigor.ElarbitrajeenlaIndiaserealizaráenconformidad
conlasleyesdelaIndiaqueesténenvigor.Ladecisióndelosárbitrosserádefinitivayvinculantepara
laspartessinposibilidaddeapelación.Dichadecisiónsepresentaráporescritoyesclareceráloshechos
ylasconclusionesdelaley.Elidiomaoficialdelosprocesosdearbitrajeydetodoslosdocumentos
presentadosenestosprocesosseráelinglés.Laversióneninglésdeestagarantíalimitadaprevalecerá
sobrecualquierversiónenotroidiomaendichosprocesos.
Áreaeconómicaeuropea(EEA)
SeañadelosiguientealaParte1:
LosClientesdelEEApuedenponerseencontactoconLenovoenestadireccióndecorreo:EMEAService
Organisation,Lenovo(International)B.V.,Floor2,Einsteinova21,85101,Bratislava,Eslovaquia.Elservicio
bajoestagarantíaparaproductosdehardwareLenovoadquiridosenpaísesdelaEEAsepuedeobteneren
cualquierpaísdelaEEAenelcualLenovohayaanunciadoelproductoylohayahechodisponible.
Rusia
SeañadelosiguientealaParte1:
Vidaútildelservicioparaproductos
Lavidaútildelservicioparaproductosesdecuatro(4)añosapartirdelafechadecompraoriginal.
Parte3-Informaciónsobreelserviciodegarantía
TipodeproductoPaísoregióndeadquisiciónPeríododegarantía
Tipodeserviciode
garantía
LenovoPreferred
ProUSBFingerprint
Keyboard
Entodoelmundo1año1,4
Siesnecesario,elProveedordeserviciosdelClienteproporcionaráelserviciodereparaciónointercambio
decomponentesenfuncióndeltipodeserviciodegarantíaespecificadoparaelproductoyelservicio
22GuíadelusuariodeLenovoPreferredProUSBFingerprintKeyboard

disponible.Laplanificacióndelserviciodependerádelahoradelallamada,ladisponibilidaddelaspiezas
yotrosfactores.
Tiposdeserviciosdegarantía
1.ServiciodeUnidadesreemplazablesporelcliente(“CRU”)
ConelserviciodeCRU,elproveedordeservicioleenviaráacostodeéllasCRUparaqueelClientelas
instale.LainformaciónacercadelaCRUylasinstruccionesdesustituciónseproporcionanconelproducto
delClienteyLenovolasponeasudisposiciónsiemprequelasnecesite.LasCRUqueelClientepuede
instalarfácilmentesedenominan“CRUdeautoservicio”.Las“CRUdeservicioopcional”puedensonCRU
quepuedenrequerirciertosconocimientosyherramientastécnicas.LainstalacióndeCRUdeautoservicio
esresponsabilidaddelCliente.ElClientepodríasolicitarqueunProveedordeServiciosinstaleCRUde
servicioopcionalbajounodelosotrostiposdeserviciosdegarantíadesignadoparasuproducto.Es
posiblequehayaunaofertadeservicioopcionaldisponibleparasuadquisiciónaunproveedordeservicioo
aLenovo,segúnlacualsepuedeninstalarlasCRUporusted.PuedeencontrarunalistadelasCRUysu
denominaciónenlapublicaciónqueseproporcionóconelproductooenwww.lenovo.com/CRUs.Los
requisitosparadevolverunaCRUdefectuosa,siloshay,seespecificaránenlasinstruccionesqueseenvían
juntoconlaCRUdesustitución.Cuandoladevoluciónesnecesaria:1)lasinstruccionesdedevolución,una
etiquetadeenvíodedevoluciónprepagadayunembalajeseincluiránconlaCRUdesustitución;y2)se
puedecobraralClientelaCRUdesustituciónsielproveedordeservicionorecibelaCRUdefectuosapor
partedeustedenunplazodetreinta(30)díasapartirdelarecepcióndelaunidaddesustitución.
2.ServicioenloslocalesdelCliente
BajoelServicioenloslocalesdelcliente,unproveedordeserviciorepararáocambiaráelproductoenla
ubicacióndelCliente.Debeproporcionarunáreadetrabajoadecuadaparapermitireldesmontajeymontaje
delproducto.Puedesernecesariorealizaralgunasreparacionesenuncentrodeservicio.Siesasí,el
proveedordeservicioenviaráelproductoalcentrodeservicioacostopropio.
3.Servicioderecogidaadomicilio
BajoelServicioderecogidaadomicilio,elproductoserepararáointercambiaráenuncentrodeservicio
indicado,conelenvíoacostodelproveedordeservicio.ElClienteesresponsablededesconectarel
productoyelembalajeenuncontenedordeenvíoparaquedevuelvaelproductoauncentrodeservicio
indicado.Unserviciodemensajeríarecogeráelproductoyloentregaráalcentrodeservicioindicado.El
centrodeserviciodevolveráacostopropioelproductoalCliente.
4.Servicioscentralizados
BajolosServicioscentralizados,elproductoserepararáointercambiarádespuésdequeelClientelo
entregueenuncentrodeservicioindicadoasuriesgoycosto.Despuésdequeelproductosehayareparado
ointercambiado,pasaráaestaradisposicióndelClienteparasurecogida.Sinoserecogeelproducto,el
proveedordeserviciopuededeshacersedeélsegúncreaconveniente,sinresponsabilidadhaciaelCliente.
5.Serviciodecorreos
BajoelServiciodecorreos,elproductoserepararáointercambiaráenuncentrodeservicioindicado
despuésdequeelClienteloentregueasuriesgoycosto.Unavezsehayareparadooreemplazadoel
producto,ClientelorecibirádevueltaariesgoycostodeLenovo,amenosqueelproveedordeservicio
especifiquelocontrario.
6.Serviciosdecorreosdeidayvuelta
ApéndiceB.GarantíalimitadadeLenovo23

BajoelServiciodecorreosdeidayvuelta,elproductoserepararáointercambiarádespuésdequeelCliente
loentregueenuncentrodeservicioindicadoasuriesgoycosto.Unavezsehayareparadooreemplazado
elproducto,sepondráadisposicióndelClienteparaenvíodedevoluciónpagadoasuriesgoycosto.Siel
Clientenoorganizaelenvíodedevolución,elproveedordeserviciopuededeshacersedelproductosegún
creaconveniente,sinresponsabilidadhaciaelCliente.
7.Serviciodeintercambiodeproductos
BajolascondicionesdelServiciodeintercambiodeproductos,Lenovoenviaráunproductodesustitucióna
susinstalaciones.ElClienteseráelresponsabledesuinstalaciónyverificación.Elproductodesustitución
pasaráaserpropiedaddelClienteacambiodelproductodefectuoso,quepasaráaserpropiedadde
Lenovo.Debeempaquetarelproductodefectuosoenelpaquetedecartónenelcualrecibióelproducto
desustituciónydevolverloaLenovo.TodosloscargosdetransporteseránporcuentadeLenovo.Siel
Clientenoutilizaelpaquetedecartónconelquerecibióelproductodesustitución,puedeserresponsable
decualquierdañoalproductodefectuosoqueseproduzcaduranteelenvío.Lenovopodrácargaral
Clienteelcostedelproductodesustituciónsinorecibeelproductodefectuosoenunperíododetreinta
(30)díasapartirdelafechaderecepcióndeésta.
SuplementodeGarantíaparaMéxico
EsteSuplementodeGarantíaseconsideraparteintegrantedelaGarantíaLimitadadeLenovoyserá
efectivoúnicayexclusivamenteparalosproductosdistribuidosycomercializadosdentrodelTerritoriode
losEstadosUnidosMexicanos.Encasodeconflicto,seaplicaránlostérminosdeesteSuplemento.
ElcomercializadorresponsabledelproductoesLenovoMéxicoSdeRLdeCVyparaefectosdeesta
garantíaenlaRepúblicaMexicanasudomicilioesPaseodeTamarindosNo.400-APiso27ArcosTorre
Poniente,BosquesdeLasLomas,DelegaciónMiguelHidalgo,C.P.05120México,D.F.Enelcasode
quesepreciseunareparacióncubiertaporlagarantíaoprecisedepartes,componentes,consumibles
oaccesoriosdiríjaseaestedomicilio.
SinoexistieseningúnCentrodeservicioautorizadoensuciudad,poblaciónoenunradiode70kilómetros
desuciudadopoblación,lagarantíaincluirácualquiergastodeentregarazonablerelacionadoconel
transportedelproductoasuCentrodeservicioautorizadomáscercano.Porfavor,llamealCentrode
servicioautorizadomáscercanoparaobtenerlasaprobacionesnecesariasolainformaciónrelacionada
conelenvíodelproductoyladireccióndeenvío.
Estagarantíaamparatodaslaspiezasdehardwaredelproductoeincluyemanodeobra.
Elprocedimientoparahacerefectivalagarantíaconsisteenlapresentacióndelproducto,acompañadodela
pólizacorrespondiente,debidamenteselladaporelestablecimientoquelovendió,olafactura,oreciboo
comprobante,enelqueconstenlosdatosespecíficosdelproductoobjetodelacompraventa.
Lenovosólopuedeneximirsedehacerefectivalagarantíaenlossiguientescasos:a)Cuandoelproducto
sehubieseutilizadoencondicionesdistintasalasnormales.b)Cuandoelproductonohubiesesido
operadodeacuerdoconelinstructivodeusoqueseleacompaña.c)Cuandoelproductohubiesesido
alteradooreparadoporpersonasnoautorizadasporelfabricantenacional,importadorocomercializador
responsablerespectivo.
Todoslosprogramasdesoftwareprecargadosenelequiposólotendránunagarantíadenoventa(90)
díaspordefectosdeinstalacióndesdelafechadecompra.Lenovonoesresponsabledelainformación
incluidaendichosprogramasdesoftwarey/ocualquierprogramadesoftwareadicionalinstaladoporUsted
oinstaladodespuésdelacompradelproducto.
24GuíadelusuariodeLenovoPreferredProUSBFingerprintKeyboard

Lagarantíacubrelaatención,revisiónycorreccióndeerrores,defectosoinconsistenciasqueimpidan
eldesempeñonormaldeunequipodecómputoencuantoasuhardwareysoftware.Losserviciosno
cubiertosporlagarantíasecargaránalusuariofinal,previaobtencióndeunaautorización.
Estagarantíatieneunaduracióndeunañoapartirdelmomentodelacompraeincluyelamanodeobra,por
loqueencasodeaplicarselagarantía,estanocausaraningúngastoocostoparaelcliente.
CentrosdeServiciosautorizadosparahacerefectivalagarantía:
•LenovoMéxicocondomicilioenPaseodeTamarindosNo.400-APiso27Arcos,TorrePoniente,Bosques
deLasLomas,DelegaciónMiguelHidalgo,C.P.05120México,D.F.Teléfono01800-083-4916,
http://support.lenovo.com/es_MX/product-service/service-provider/default.page
•LenovoMonterreycondomicilioenBoulevardEscobedoNo.316,ApodacaTechnology
Park,Apodaca,C.P.66601,NuevoLeón,México.Teléfono01800-083-4916,
http://support.lenovo.com/es_MX/product-service/service-provider/default.page
Importadopor:
LenovoMéxicoS.deR.L.deC.V.
Av.SantaFe505,Piso15
Col.CruzManca
Cuajimalpa,D.F.,México
C.P.05349
Tel.(55)50008500
ApéndiceB.GarantíalimitadadeLenovo25

26GuíadelusuariodeLenovoPreferredProUSBFingerprintKeyboard

ApéndiceC.Avisosdeemisioneselectrónicas
LasiguienteinformaciónhacereferenciaalLenovoPreferredProUSBFingerprintKeyboard.
FederalCommunicationsCommissionDeclarationofConformity
LenovoPreferredProUSBFingerprintKeyboard-73P4730
ThisequipmenthasbeentestedandfoundtocomplywiththelimitsforaClassBdigitaldevice,pursuant
toPart15oftheFCCRules.Theselimitsaredesignedtoprovidereasonableprotectionagainstharmful
interferenceinaresidentialinstallation.Thisequipmentgenerates,uses,andcanradiateradiofrequency
energyand,ifnotinstalledandusedinaccordancewiththeinstructions,maycauseharmfulinterference
toradiocommunications.However,thereisnoguaranteethatinterferencewillnotoccurinaparticular
installation.Ifthisequipmentdoescauseharmfulinterferencetoradioortelevisionreception,whichcanbe
determinedbyturningtheequipmentoffandon,theuserisencouragedtotrytocorrecttheinterferenceby
oneormoreofthefollowingmeasures:
•Reorientorrelocatethereceivingantenna.
•Increasetheseparationbetweentheequipmentandreceiver.
•Connecttheequipmentintoanoutletonacircuitdifferentfromthattowhichthereceiverisconnected.
•Consultanauthorizeddealerorservicerepresentativeforhelp.
Lenovoisnotresponsibleforanyradioortelevisioninterferencecausedbyusingotherthanspecifiedor
recommendedcablesandconnectorsorbyunauthorizedchangesormodificationstothisequipment.
Unauthorizedchangesormodificationscouldvoidtheuser'sauthoritytooperatetheequipment.
ThisdevicecomplieswithPart15oftheFCCRules.Operationissubjecttothefollowingtwoconditions:(1)
thisdevicemaynotcauseharmfulinterference,and(2)thisdevicemustacceptanyinterferencereceived,
includinginterferencethatmaycauseundesiredoperation.
ResponsibleParty:
Lenovo(UnitedStates)Incorporated
1009ThinkPlace-BuildingOne
Morrisville,NC27560
PhoneNumber:919-294-5900
EuropeanUnion-CompliancetotheElectromagneticCompatibilityDirective
ThisproductisinconformitywiththeprotectionrequirementsofEUCouncilDirective2004/108/EConthe
approximationofthelawsoftheMemberStatesrelatingtoelectromagneticcompatibility.Lenovocannot
acceptresponsibilityforanyfailuretosatisfytheprotectionrequirementsresultingfromanon-recommended
modificationoftheproduct,includingtheinstallationofoptioncardsfromothermanufacturers.
ThisproducthasbeentestedandfoundtocomplywiththelimitsforClassBInformationTechnology
EquipmentaccordingtoEuropeanStandardEN55022.ThelimitsforClassBequipmentwerederived
fortypicalresidentialenvironmentstoprovidereasonableprotectionagainstinterferencewithlicensed
communicationdevices.
©CopyrightLenovo2010,201427

Lenovo,Einsteinova21,85101Bratislava,Slovakia
GermanClassBcompliancestatement
DeutschsprachigerEUHinweis:
HinweisfürGerätederKlasseBEU-RichtliniezurElektromagnetischenVerträglichkeit
DiesesProduktentsprichtdenSchutzanforderungenderEU-Richtlinie2004/108/EG(früher89/336/EWG)zur
AngleichungderRechtsvorschriftenüberdieelektromagnetischeVerträglichkeitindenEU-Mitgliedsstaaten
undhältdieGrenzwertederEN55022KlasseBein.
Umdiesessicherzustellen,sinddieGerätewieindenHandbüchernbeschriebenzuinstallierenundzu
betreiben.DesWeiterendürfenauchnurvonderLenovoempfohleneKabelangeschlossenwerden.
LenovoübernimmtkeineVerantwortungfürdieEinhaltungderSchutzanforderungen,wenndasProdukt
ohneZustimmungderLenovoverändertbzw.wennErweiterungskomponentenvonFremdherstellernohne
EmpfehlungderLenovogesteckt/eingebautwerden.
Deutschland:
EinhaltungdesGesetzesüberdieelektromagnetischeVerträglichkeitvonBetriebsmitteln
DiesesProduktentsprichtdem„GesetzüberdieelektromagnetischeVerträglichkeitvonBetriebsmitteln“
EMVG(früher„GesetzüberdieelektromagnetischeVerträglichkeitvonGeräten“).DiesistdieUmsetzungder
EU-Richtlinie2004/108/EG(früher89/336/EWG)inderBundesrepublikDeutschland.
ZulassungsbescheinigunglautdemDeutschenGesetzüberdieelektromagnetischeVerträglichkeit
vonBetriebsmitteln,EMVGvom20.Juli2007(früherGesetzüberdieelektromagnetische
VerträglichkeitvonGeräten),bzw.derEMVEGRichtlinie2004/108/EC(früher89/336/EWG),für
GerätederKlasseB.
DiesesGerätistberechtigt,inÜbereinstimmungmitdemDeutschenEMVGdasEG-Konformitätszeichen
-CE-zuführen.VerantwortlichfürdieKonformitätserklärungnachParagraf5desEMVGistdieLenovo
(Deutschland)GmbH,Gropiusplatz10,D-70563Stuttgart.
InformationeninHinsichtEMVGParagraf4Abs.(1)4:
DasGeräterfülltdieSchutzanforderungennachEN55024undEN55022KlasseB.
KoreaClassBcompliancestatement
JapanVCCIClassBcompliancestatement
28GuíadelusuariodeLenovoPreferredProUSBFingerprintKeyboard

30GuíadelusuariodeLenovoPreferredProUSBFingerprintKeyboard

ApéndiceD.Avisos
PuedequeenotrospaísesLenovonoofrezcalosproductos,serviciosocaracterísticasquesedescriben
enestainformación.ConsulteconelrepresentantelocaldeLenovoparaobtenerinformaciónsobre
losproductosyserviciosactualmentedisponiblesensuárea.Lasreferenciasaprogramas,productos
oserviciosdeLenovonopretendenestablecerniimplicarquesólopuedanutilizarselosproductos,
programasoserviciosdeLenovo.Ensulugar,sepuedeutilizarcualquierproducto,programaoservicio
funcionalmenteequivalentequenoinfrinjalosderechosdepropiedadintelectualdeLenovo.Sinembargo,
esresponsabilidaddelusuarioevaluaryverificarelfuncionamientodecualquierotroproducto,programa
oservicio.
Lenovopuedetenerpatentesosolicitudesdepatentependientesquetrateneltemadescritoeneste
documento.Laposesióndeestedocumentonoleconfiereningunalicenciasobredichaspatentes.Puede
enviarconsultassobrelicencias,porescrito,a:
Lenovo(UnitedStates),Inc.
1009ThinkPlace-BuildingOne
Morrisville,NC27560
U.S.A.
Attention:LenovoDirectorofLicensing
LENOVOPROPORCIONAESTAPUBLICACIÓN“TALCUAL”SINNINGÚNTIPODEGARANTÍA,EXPLÍCITA
NIIMPLÍCITA,INCLUYENDOPERONOLIMITÁNDOSEA,LASGARANTÍASIMPLÍCITASDENO
VULNERACIÓN,COMERCIALIZACIÓNOIDONEIDADPARAUNPROPÓSITODETERMINADO.Algunas
jurisdiccionesnopermitenlarenunciaagarantíasexplícitasoimplícitasendeterminadastransaccionesy,
porlotanto,estadeclaraciónpuedequenoseapliqueensucaso.
Estainformaciónpuedeincluirimprecisionestécnicasoerrorestipográficos.Lainformaciónincluidaeneste
documentoestásujetaacambiosperiódicos;estoscambiosseincorporaránennuevasedicionesdela
publicación.Lenovopuederealizarencualquiermomentomejorasy/ocambiosenel(los)producto(s)y/o
programa(s)descrito(s)enestainformaciónsinprevioaviso.
Informaciónsobreelreciclaje
Lenovorecomiendaalospropietariosdeequiposdetecnologíadelainformación(IT)quereciclensus
equiposcuandoyanoseannecesarios.Lenovodisponedeunavariedaddeprogramasyserviciospara
ayudaralospropietariosdeequiposareciclarsusproductosdeIT.Paraobtenerinformaciónsobreel
reciclajedeproductosLenovo,visite:
http://www.lenovo.com/recycling
LainformacióndereciclajeydesechoparaJapónestádisponibleen:
http://www.lenovo.com/recycling/japan
InformaciónsobrereciclajeparaBrasil
DeclaraçõesdeReciclagemnoBrasil
DescartedeumProdutoLenovoForadeUso
Equipamentoselétricoseeletrônicosnãodevemserdescartadosemlixocomum,masenviadosàpontosde
coleta,autorizadospelofabricantedoprodutoparaquesejamencaminhadoseprocessadosporempresas
©CopyrightLenovo2010,201431

especializadasnomanuseioderesíduosindustriais,devidamentecertificadaspelosorgãosambientais,de
acordocomalegislaçãolocal.
ALenovopossuiumcanalespecíficoparaauxiliá-lonodescartedessesprodutos.Casovocêpossua
umprodutoLenovoemsituaçãodedescarte,ligueparaonossoSACouencaminheume-mailpara:
reciclar@lenovo.com,informandoomodelo,númerodesérieecidade,afimdeenviarmosasinstruções
paraocorretodescartedoseuprodutoLenovo.
Avisodeclasificacióndeexportación
EsteproductoestásujetoalasregulacionesdelaadministracióndeexportacióndelosEstadosUnidos
(EAR)ysunúmerodecontroldeclasificacióndeexportación(ECCN)es5A992.c.Sepuedevolvera
exportarexceptoacualquieradelospaísesembargadosenlalistadepaísesEARE1.
Marcasregistradas
LostérminosquesiguensonmarcasregistradasdeLenovoenlosEstadosUnidosy/oenotrospaíses:
Lenovo
EllogotipodeLenovo
LenovoCare
ThinkPad
ThinkVantage
Microsoft,WindowsyWindowsVistasonmarcasregistradasdelgrupodeempresasMicrosoft.
Otrosnombresdeempresas,productososerviciospuedensermarcasregistradasodeserviciodeotros.
32GuíadelusuariodeLenovoPreferredProUSBFingerprintKeyboard

ApéndiceE.Restriccióndeladirectivadesustancias
peligrosas(RoHS)
UniónEuropeaRoHS
LenovoproductssoldintheEuropeanUnion,onorafter3January2013meettherequirementsofDirective
2011/65/EUontherestrictionoftheuseofcertainhazardoussubstancesinelectricalandelectronic
equipment(“RoHSrecast”or“RoHS2”).
FormoreinformationaboutLenovoprogressonRoHS,goto:
http://www.lenovo.com/social_responsibility/us/en/RoHS_Communication.pdf
ChinaRoHS
Lainformaciónquecontienelasiguientetablasóloseaplicaalosproductosquesehayanfabricadoenla
RepúblicaPopulardeChinaapartirdel1demarzode2007,inclusive.
TurcoRoHS
TheLenovoproductmeetstherequirementsoftheRepublicofTurkeyDirectiveontheRestrictionoftheUse
ofCertainHazardousSubstancesinElectricalandElectronicEquipment(EEE).
UcraniaRoHS
IndiaRoHS
RoHScompliantasperE-Waste(Management&Handling)Rules,2011.
©CopyrightLenovo2010,201433

34GuíadelusuariodeLenovoPreferredProUSBFingerprintKeyboard

