Lenovo 71Y7233 User Manual Hardware Maintenance (Tower & Small Form Factor) Think Centre M90 And M90p Desktop (Think Centre) Type 3421
2012-02-29
User Manual: Lenovo 71Y7233 Hardware Maintenance Manual - (Tower & Small Form Factor) - ThinkCentre M90 and M90p M90p Desktop (ThinkCentre) - Type 3421 3421
Open the PDF directly: View PDF
.
Page Count: 408 [warning: Documents this large are best viewed by clicking the View PDF Link!]
- Chapter 1. About this manual
- Chapter 2. Safety information
- Chapter 3. General information
- Chapter 4. General checkout
- Chapter 5. Diagnostics
- Chapter 6. Using the Setup Utility program
- Chapter 7. Symptom-to-FRU index
- Chapter 8. Replacing FRUs (Machine Types: 3029, 3054, 3139, 3219
- Locating connectors on the front of the computer
- Locating connectors on the rear of the computer
- Removing the computer cover
- Locating components
- Locating parts on the system board
- Removing and reinstalling the front bezel
- Replacing a memory module
- Replacing the power supply assembly
- Replacing the heat sink and fan assembly
- Replacing the microprocessor
- Replacing the system board
- Replacing the battery
- Replacing a PCI card
- Replacing the primary hard disk drive
- Replacing the secondary hard disk drive
- Replacing the optical drive
- Replacing the front fan assembly
- Replacing the rear fan assembly
- Replacing the front audio and USB assembly
- Replacing the internal speaker
- Completing the parts replacement
- Chapter 9. Replacing FRUs (Machine types: 3026, 3039, 3137, 3149
- Locating connectors on the front of the computer
- Locating connectors on the rear of the computer
- Opening the computer cover
- Locating components
- Locating parts on the system board
- Replacing the battery
- Replacing a memory module
- Replacing a PCI card
- Replacing the power supply assembly
- Replacing the heat sink
- Replacing the microprocessor
- Replacing the system board
- Replacing the hard disk drive
- Replacing the optical drive
- Replacing the internal speaker
- Replacing the front audio and USB assembly
- Replacing the system fan
- Completing the parts replacement
- Chapter 10. FRU lists
- Overall: MT 3029, 3054, 3139, 3219, 3246, 3282, 3349, 3421, 3544
- Mechanical FRUs
- Keyboard and Mouse
- Adapters and miscellaneous FRUs
- Power Cords
- Recovery discs
- Windows Vista Home Basic 32 Recovery CD
- Windows Vista Home Basic 32 with IE9 Recovery CD
- Windows Vista Business 32 Recovery CD
- Windows Vista Business 32 Recovery CD with IE9 Recovery CD
- Windows 7 Home Basic 32 Recovery CD
- Windows 7 Home Basic 32 SP1 Recovery CD
- Windows 7 Home Premium 32 Recovery CD
- Windows 7 Home Premium 32 SP1 Recovery CD
- Windows 7 Professional 32 Recovery CD
- Windows 7 Professional 32 SP1 Recovery CD
- Windows 7 Professional 64 Recovery CD
- Windows 7 Professional 64 SP1 Recovery CD
- Windows 7 Ultimate 32 Recovery CD
- Windows 7 Ultimate 32 with MS SP1 Recovery CD
- Windows 7 Ultimate 64 Recovery CD
- Windows 7 Starter 32 Recovery CD
- Windows XP Professional Recovery CD
- Overall: 3026, 3039, 3137, 3149, 3245, 3269, 3319, 3394, 3491, 3
- Mechanical FRUs
- Keyboard and Mouse
- Adapters and miscellaneous FRUs
- Power Cords
- Recovery discs
- Windows Vista Home Basic 32 Recovery CD
- Windows Vista Home Basic 32 with IE 9 Recovery CD
- Windows Vista Business 32 Recovery CD
- Windows Vista Business 32 With IE9 Recovery CD
- Windows 7 Home Basic 32 Recovery CD
- Windows 7 Home Basic 32 SP1 Recovery CD
- Windows 7 Home Premium 32 Recovery CD
- Windows 7 Home Premium 32 SP1 Recovery CD
- Windows 7 Professional 32 Recovery CD
- Windows 7 Professional 32 SP1 Recovery CD
- Windows 7 Professional 64 Recovery CD
- Windows 7 Professional 64 SP1 Recovery CD
- Windows 7 Ultimate 32 Recovery CD
- Windows 7 Ultimate 32 with MS SP1 Recovery CD
- Windows 7 Ultimate 64 Recovery CD
- Windows 7 Starter 32 Recovery CD
- Windows XP Professional Recovery CD
- Chapter 11. Additional service information
- Appendix A. Notices
- Index

ThinkCentre
HardwareMaintenanceManual
MachineTypes:3026,3029,3039,3054,3137,3139,3149,3219,
3245,3246,3245,3282,3319,3349,3394,3421,3491,3544,3627,
3652,3699,3769,3878,3934,4972,4992,5132,5206,5261,5267,
5297,5325,5384,5391,5450,5472,5474,5485,5498,5536,5548,
5554,5567,5852,5864,6213,6232,and6590

ThinkCentre
HardwareMaintenanceManual
MachineTypes:3026,3029,3039,3054,3137,3139,3149,3219,
3245,3246,3245,3282,3319,3349,3394,3421,3491,3544,3627,
3652,3699,3769,3878,3934,4972,4992,5132,5206,5261,5267,
5297,5325,5384,5391,5450,5472,5474,5485,5498,5536,5548,
5554,5567,5852,5864,6213,6232,and6590

Note
Beforeusingthisinformationandtheproductitsupports,besuretoreadandunderstandtheChapter2
“Safetyinformation”onpage3andAppendixA“Notices”onpage395.
SixthEdition(April2013)
©CopyrightLenovo2010,2013.
LIMITEDANDRESTRICTEDRIGHTSNOTICE:IfdataorsoftwarearedeliveredpursuantaGeneralServices
Administration“GSA”contract,use,reproduction,ordisclosureissubjecttorestrictionssetforthinContractNo.
GS-35F-05925.

Contents
Chapter1.Aboutthismanual......1
Importantsafetyinformation..........1
ImportantinformationaboutreplacingRoHS
compliantFRUs...............1
Chapter2.Safetyinformation......3
Generalsafety................3
Electricalsafety...............3
Voltage-selectionswitch............5
Safetyinspectionguide............5
Handlingelectrostaticdischarge-sensitive
devices..................6
Groundingrequirements............6
Safetynotices(multi-lingualtranslations).....6
Chapter3.Generalinformation....29
ThinkVantageProductivityCenter.......29
LenovoSolutionCenter...........29
SimpleTap................29
Additionalinformationresources.......29
Specications...............30
Formachinetypes:3029,3054,3139,3219,
3246,3282,3349,3421,3544,3652,3769,
3934,4992,5206,5267,5325,5384,5450,
5474,5498,5554,5852,6232,and6590...30
Formachinetypes:3026,3039,3137,3149,
3245,3269,3319,3394,3491,3627,3699,
3878,4972,5132,5261,5297,5391,5472,
5485,5536,5548,5567,5864,and6213...30
Chapter4.Generalcheckout.....33
Problemdeterminationtips..........34
Chapter5.Diagnostics........35
LenovoThinkVantageToolbox........35
LenovoSolutionCenter...........35
LenovoSystemToolbox...........36
PC-DoctorforRescueandRecovery......36
PC-DoctorforDOS.............36
Creatingadiagnosticdisc........37
Runningthediagnosticprogramfroma
diagnosticdisc.............37
Navigatingthroughthediagnostics
programs...............37
Runningtests.............37
Viewingthetestlog...........39
Chapter6.UsingtheSetupUtility
program................41
StartingtheSetupUtilityprogram.......41
Viewingandchangingsettings........41
Usingpasswords..............41
Passwordconsiderations.........41
Power-OnPassword..........42
AdministratorPassword.........42
HardDiskPassword...........42
Setting,changing,anddeletingapassword.42
Enablingordisablingadevice........42
Selectingastartupdevice..........43
Selectingatemporarystartupdevice....43
Selectingorchangingthestartupdevice
sequence...............43
ExitingfromtheSetupUtilityprogram.....43
Chapter7.Symptom-to-FRUindex..45
Harddiskdrivebooterror..........45
PowerSupplyProblems...........45
Diagnosticerrorcodes...........46
Beepsymptoms..............61
POSTerrorcodes.............61
Miscellaneouserrormessages........63
Undeterminedproblems...........64
Chapter8.ReplacingFRUs(Machine
Types:3029,3054,3139,3219,3246,
3282,3349,3421,3544,3652,3769,
3934,4992,5206,5267,5325,5384,
5450,5474,5498,5554,5852,6232,
and6590.)...............67
Locatingconnectorsonthefrontofthecomputer.67
Locatingconnectorsontherearofthecomputer.68
Removingthecomputercover........68
Locatingcomponents............69
Locatingpartsonthesystemboard......70
Removingandreinstallingthefrontbezel....72
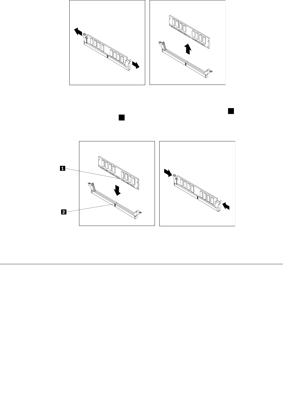
Replacingamemorymodule.........73
Replacingthepowersupplyassembly.....74
Replacingtheheatsinkandfanassembly....75
Replacingthemicroprocessor........77
Replacingthesystemboard.........79
Replacingthebattery............81
ReplacingaPCIcard............83
Replacingtheprimaryharddiskdrive......85
Replacingthesecondaryharddiskdrive....87
Replacingtheopticaldrive..........89
Replacingthefrontfanassembly.......91
Replacingtherearfanassembly........93
©CopyrightLenovo2010,2013iii

ReplacingthefrontaudioandUSBassembly..95
Replacingtheinternalspeaker........96
Completingthepartsreplacement.......98
Chapter9.ReplacingFRUs(Machine
types:3026,3039,3137,3149,3245,
3269,3319,3394,3491,3627,3699,
3878,4972,5132,5261,5297,5391,
5472,5485,5536,5548,5567,5864,
and6213.)..............101
Locatingconnectorsonthefrontofthe
computer.................101
Locatingconnectorsontherearofthe
computer.................101
Openingthecomputercover.........102
Locatingcomponents............103
Locatingpartsonthesystemboard......104
Replacingthebattery............105
Replacingamemorymodule.........107
ReplacingaPCIcard............108
Replacingthepowersupplyassembly.....110
Replacingtheheatsink...........112
Replacingthemicroprocessor........113
Replacingthesystemboard.........116
Replacingtheharddiskdrive.........118
Replacingtheopticaldrive..........120
Replacingtheinternalspeaker........121
ReplacingthefrontaudioandUSBassembly..124
Replacingthesystemfan..........125
Completingthepartsreplacement.......127
Chapter10.FRUlists........129
Overall:MT3029,3054,3139,3219,3246,3282,
3349,3421,3544,3652,3769,3934,4992,5206,
5267,5325,5384,5450,5474,5498,5554,5852,
6232,and6590..............129
MechanicalFRUs.............145
KeyboardandMouse............154
AdaptersandmiscellaneousFRUs.......192
PowerCords...............196
Recoverydiscs..............207
WindowsVistaHomeBasic32Recovery
CD.................207
WindowsVistaHomeBasic32withIE9
RecoveryCD.............208
WindowsVistaBusiness32RecoveryCD..209
WindowsVistaBusiness32RecoveryCDwith
IE9RecoveryCD............212
Windows7HomeBasic32RecoveryCD..214
Windows7HomeBasic32SP1Recovery
CD.................217
Windows7HomePremium32Recovery
CD.................219
Windows7HomePremium32SP1Recovery
CD.................223
Windows7Professional32RecoveryCD..227
Windows7Professional32SP1Recovery
CD.................235
Windows7Professional64RecoveryCD..243
Windows7Professional64SP1Recovery
CD.................247
Windows7Ultimate32RecoveryCD....251
Windows7Ultimate32withMSSP1Recovery
CD.................252
Windows7Ultimate64RecoveryCD....252
Windows7Starter32RecoveryCD....252
WindowsXPProfessionalRecoveryCD...253
Overall:3026,3039,3137,3149,3245,3269,
3319,3394,3491,3627,3699,3878,4972,5132,
5261,5297,5391,5472,5485,5536,5548,5567,
5864,and6213...............259
MechanicalFRUs.............275
KeyboardandMouse............283
AdaptersandmiscellaneousFRUs.......323
PowerCords...............328
Recoverydiscs..............340
WindowsVistaHomeBasic32Recovery
CD.................340
WindowsVistaHomeBasic32withIE9
RecoveryCD.............341
WindowsVistaBusiness32RecoveryCD..341
WindowsVistaBusiness32WithIE9Recovery
CD.................344
Windows7HomeBasic32RecoveryCD..346
Windows7HomeBasic32SP1Recovery
CD.................349
Windows7HomePremium32Recovery
CD.................352
Windows7HomePremium32SP1Recovery
CD.................356
Windows7Professional32RecoveryCD..360
Windows7Professional32SP1Recovery
CD.................367
Windows7Professional64RecoveryCD..375
Windows7Professional64SP1Recovery
CD.................379
Windows7Ultimate32RecoveryCD....383
Windows7Ultimate32withMSSP1Recovery
CD.................383
Windows7Ultimate64RecoveryCD....383
Windows7Starter32RecoveryCD....384
WindowsXPProfessionalRecoveryCD...384
Chapter11.Additionalservice
information.............391
Securityfeatures..............391
Hardware-controlledpasswords......391
ivThinkCentreHardwareMaintenanceManual

Operatingsystempassword.......391
VitalProductData...........391
SecureManagedClient.........391
BIOSlevels................391
Updating(ashing)BIOSfromadisc......392
Updating(ashing)BIOSfromyouroperating
system..................392
RecoveringfromaPOST/BIOSupdatefailure..392
Powermanagement............393
Automaticcongurationandpowerinterface
(ACPI)BIOS..............393
AutomaticPower-Onfeatures.......393
AppendixA.Notices.........395
Televisionoutputnotice...........396
Trademarks................396
Index.................397
©CopyrightLenovo2010,2013v

viThinkCentreHardwareMaintenanceManual

Chapter1.Aboutthismanual
ThismanualcontainsserviceandreferenceinformationforThinkCentre®computermachinetypeslisted
onthefrontcover.ThismanualisintendedonlyfortrainedservicerswhoarefamiliarwithLenovo®
computerproducts.
Note:BesuretoreadandunderstandtheChapter2“Safetyinformation”onpage3beforeusingthe
informationinthismanual.
ThismanualincludesacompleteFRUpartnumberlistforeachmachinetypelistedonthefrontcover.Ifyou
haveInternetaccess,theFRUpartnumbersarealsoavailableat:
http://www.lenovo.com/support
Importantsafetyinformation
Besuretoreadallcautionanddangerstatementsinthismanualbeforeperforminganyoftheinstructions.
VeuillezliretouteslesconsignesdetypeDANGERetATTENTIONduprésentdocumentavantd'exécuter
lesinstructions.
LesenSieunbedingtalleHinweisevomTyp"ACHTUNG"oder"VORSICHT"indieserDokumentation,bevor
SieirgendwelcheVorgängedurchführen
LeggereleistruzioniintrodottedaATTENZIONEePERICOLOpresentinelmanualeprimadieseguireuna
qualsiasidelleistruzioni
Certique-sedelertodasasinstruçõesdecuidadoeperigonestemanualantesdeexecutarqualquer
umadasinstruções
Esimportantequeleatodaslasdeclaracionesdeprecauciónydepeligrodeestemanualantesdeseguir
lasinstrucciones.
ImportantinformationaboutreplacingRoHScompliantFRUs
RoHS,theRestrictionofHazardousSubstancesinElectricalandElectronicEquipmentDirective
(2002/95/EC)isaEuropeanUnionlegalrequirementaffectingtheglobalelectronicsindustry.RoHS
requirementsmustbeimplementedonLenovoproductsplacedonthemarketandsoldinthe
EuropeanUnionafterJune,2006.ProductsonthemarketbeforeJune,2006arenotrequiredto
haveRoHScompliantparts.Ifthepartsarenotcompliantoriginally,replacementpartscanalso
benoncompliant,butinallcases,ifthepartsarecompliant,thereplacementpartsmustalsobe
compliant.
©CopyrightLenovo2010,20131

Note:RoHSandnon-RoHSFRUpartnumberswiththesametandfunctionareidentiedwithunique
FRUpartnumbers.
LenovoplanstotransitiontoRoHScompliancewellbeforetheimplementationdateandexpectsitssuppliers
tobereadytosupportLenovo'srequirementsandscheduleintheEU.Productssoldin2005willcontain
someRoHScompliantFRUs.ThefollowingstatementpertainstotheseproductsandanyproductLenovo
producescontainingRoHScompliantparts.
RoHScompliantThinkCentrepartshaveuniqueFRUpartnumbers.BeforeorafterJune2006,failedRoHS
compliantpartsmustalwaysbereplacedusingRoHScompliantFRUs,soonlytheFRUsidentiedas
compliantinthesystemhardwaremaintenancemanualordirectsubstitutionsforthoseFRUscanbeused.
ProductsmarketedbeforeJune2006ProductsmarketedafterJune2006
CurrentororiginalpartReplacementFRUCurrentororiginalpartReplacementFRU
Non-RoHSCanbeNon-RoHS
Non-RoHSCanbeRoHS
Non-RoHSCansubstituteforRoHS
RoHSMustbeRoHS
MustbeRoHSMustbeRoHS
Note:AdirectsubstitutionisapartwithadifferentFRUpartnumberthatisautomaticallyshippedbythe
distributioncenteratthetimeoforder.
2ThinkCentreHardwareMaintenanceManual

Chapter2.Safetyinformation
Thischaptercontainsthesafetyinformationthatyouneedtobefamiliarwithbeforeservicingacomputer.
Generalsafety
Followtheserulestoensuregeneralsafety:
•Observegoodhousekeepingintheareaofthemachinesduringandaftermaintenance.
•Whenliftinganyheavyobject:
1.Ensureyoucanstandsafelywithoutslipping.
2.Distributetheweightoftheobjectequallybetweenyourfeet.
3.Useaslowliftingforce.Nevermovesuddenlyortwistwhenyouattempttolift.
4.Liftbystandingorbypushingupwithyourlegmuscles;thisactionremovesthestrainfromthe
musclesinyourback.Donotattempttoliftanyobjectsthatweighmorethan16kg(35lb)orobjects
thatyouthinkaretooheavyforyou.
•Donotperformanyactionthatcauseshazardstothecustomer,orthatmakestheequipmentunsafe.
•Beforeyoustartthemachine,ensurethatotherservicerepresentativesandthecustomer'spersonnelare
notinahazardousposition.
•Placeremovedcoversandotherpartsinasafeplace,awayfromallpersonnel,whileyouareservicing
themachine.
•Keepyourtoolcaseawayfromwalkareassothatotherpeoplewillnottripoverit.
•Donotwearlooseclothingthatcanbetrappedinthemovingpartsofamachine.Ensurethatyoursleeves
arefastenedorrolledupaboveyourelbows.Ifyourhairislong,fastenit.
•Inserttheendsofyournecktieorscarfinsideclothingorfastenitwithanonconductiveclip,approximately
8centimeters(3inches)fromtheend.
•Donotwearjewelry,chains,metal-frameeyeglasses,ormetalfastenersforyourclothing.
Remember:Metalobjectsaregoodelectricalconductors.
•Wearsafetyglasseswhenyouare:hammering,drilling,soldering,cuttingwire,attachingsprings,using
solvents,orworkinginanyotherconditionsthatmightbehazardoustoyoureyes.
•Afterservice,reinstallallsafetyshields,guards,labels,andgroundwires.Replaceanysafetydevice
thatiswornordefective.
•Reinstallallcoverscorrectlybeforereturningthemachinetothecustomer.
Electricalsafety
CAUTION:
Electricalcurrentfrompower,telephone,andcommunicationcablescanbehazardous.Toavoid
personalinjuryorequipmentdamage,disconnecttheattachedpowercords,telecommunication
systems,networks,andmodemsbeforeyouopenthecomputercovers,unlessinstructedotherwise
intheinstallationandcongurationprocedures.
Observethefollowingruleswhenworkingonelectricalequipment.
©CopyrightLenovo2010,20133

Important:Useonlyapprovedtoolsandtestequipment.Somehandtoolshavehandlescoveredwithasoft
materialthatdoesnotinsulateyouwhenworkingwithliveelectricalcurrents.Manycustomershave,near
theirequipment,rubberoormatsthatcontainsmallconductiveberstodecreaseelectrostaticdischarges.
Donotusethistypeofmattoprotectyourselffromanelectricshock.
•Findtheroomemergencypower-off(EPO)switch,disconnectingswitch,orelectricaloutlet.Ifanelectrical
accidentoccurs,youcanthenoperatetheswitchorunplugthepowercordquickly.
•Donotworkaloneunderhazardousconditionsornearequipmentthathashazardousvoltages.
•Disconnectallpowerbefore:
–Performingamechanicalinspection
–Workingnearpowersupplies
–RemovingorinstallingFieldReplaceableUnits(FRUs)
•Beforeyoustarttoworkonthemachine,unplugthepowercord.Ifyoucannotunplugit,askthecustomer
topower-offthewallboxthatsuppliespowertothemachineandtolockthewallboxintheoffposition.
•Ifyouneedtoworkonamachinethathasexposedelectricalcircuits,observethefollowingprecautions:
–Ensurethatanotherperson,familiarwiththepower-offcontrols,isnearyou.
Remember:Anotherpersonmustbetheretoswitchoffthepower,ifnecessary.
–Useonlyonehandwhenworkingwithpowered-onelectricalequipment;keeptheotherhandinyour
pocketorbehindyourback.
Remember:Theremustbeacompletecircuittocauseanelectricshock.Byobservingtheabove
rule,youmaypreventacurrentfrompassingthroughyourbody.
–Whenusingtesters,setthecontrolscorrectlyandusetheapprovedprobeleadsandaccessoriesfor
thetesters.
–Standonsuitablerubbermats(obtainedlocally,ifnecessary)toinsulateyoufromgroundssuchas
metaloorstripsandmachineframes.
Observethespecialsafetyprecautionswhenyouworkwithveryhighvoltages;theseinstructionsarein
thesafetysectionsofmaintenanceinformation.Useextremecarewhenmeasuringhighvoltages.
•Regularlyinspectandmaintainyourelectricalhandtoolsforsafeoperationalcondition.
•Donotusewornorbrokentoolsandtesters.
•Neverassumethatpowerhasbeendisconnectedfromacircuit.First,checkthatithasbeenpowered-off.
•Alwayslookcarefullyforpossiblehazardsinyourworkarea.Examplesofthesehazardsaremoistoors,
nongroundedpowerextensioncables,powersurges,andmissingsafetygrounds.
•Donottouchliveelectricalcircuitswiththereectivesurfaceofaplasticdentalmirror.Thesurfaceis
conductive;suchtouchingcancausepersonalinjuryandmachinedamage.
•Donotservicethefollowingpartswiththepoweronwhentheyareremovedfromtheirnormaloperating
placesinamachine:
–Powersupplyunits
–Pumps
–Blowersandfans
–Motorgenerators
andsimilarunits.(Thispracticeensurescorrectgroundingoftheunits.)
•Ifanelectricalaccidentoccurs:
–Usecaution;donotbecomeavictimyourself.
–Switchoffpower.
–Sendanotherpersontogetmedicalaid.
4ThinkCentreHardwareMaintenanceManual

Voltage-selectionswitch
Somecomputersareequippedwithavoltage-selectionswitchlocatednearthepower-cordconnection
pointonthecomputer.Ifyourcomputerhasavoltage-selectionswitch,ensurethatyousettheswitchto
matchthevoltageavailableatyourelectricaloutlet.Settingthevoltage-selectionswitchincorrectlycan
causepermanentdamagetothecomputer.
Ifyourcomputerdoesnothaveavoltage-selectionswitch,yourcomputerisdesignedtooperateonlyatthe
voltageprovidedinthecountryorregionwherethecomputerwasoriginallypurchased.
Ifyourelocateyourcomputertoanothercountry,beawareofthefollowing:
•Ifyourcomputerdoesnothaveavoltage-selectionswitch,donotconnectthecomputertoanelectrical
outletuntilyouhaveveriedthatthevoltageprovidedisthesameasitwasinthecountryorregion
wherethecomputerwasoriginallypurchased.
•Ifyourcomputerhasavoltage-selectionswitch,donotconnectthecomputertoanelectricaloutletuntil
youhaveveriedthatthevoltage-selectionswitchissettomatchthevoltageprovidedinthatcountry
orregion.
Ifyouarenotsureofthevoltageprovidedatyourelectricaloutlet,contactyourlocalelectriccompanyor
refertoofcialWebsitesorotherliteraturefortravelerstothecountryorregionwhereyouarelocated.
Safetyinspectionguide
Theintentofthisinspectionguideistoassistyouinidentifyingpotentiallyunsafeconditionsonthese
products.Eachmachine,asitwasdesignedandbuilt,hadrequiredsafetyitemsinstalledtoprotectusers
andservicepersonnelfrominjury.Thisguideaddressesonlythoseitems.However,goodjudgmentshould
beusedtoidentifypotentialsafetyhazardsduetoattachmentoffeaturesoroptionsnotcoveredbythis
inspectionguide.
Ifanyunsafeconditionsarepresent,youmustdeterminehowserioustheapparenthazardcouldbeand
whetheryoucancontinuewithoutrstcorrectingtheproblem.
Considertheseconditionsandthesafetyhazardstheypresent:
•Electricalhazards,especiallyprimarypower(primaryvoltageontheframecancauseseriousorfatal
electricalshock).
•Explosivehazards,suchasadamagedCRTfaceorbulgingcapacitor
•Mechanicalhazards,suchaslooseormissinghardware
Theguideconsistsofaseriesofstepspresentedinachecklist.Beginthecheckswiththepoweroff,and
thepowercorddisconnected.
Checklist:
1.Checkexteriorcoversfordamage(loose,broken,orsharpedges).
2.Power-offthecomputer.Disconnectthepowercord.
3.Checkthepowercordfor:
a.Athird-wiregroundconnectoringoodcondition.Useametertomeasurethird-wireground
continuityfor0.1ohmorlessbetweentheexternalgroundpinandframeground.
b.Thepowercordshouldbetheappropriatetypeasspeciedinthepartslistings.
c.Insulationmustnotbefrayedorworn.
4.Removethecover.
Chapter2.Safetyinformation5

5.Checkforanyobviousalterations.Usegoodjudgmentastothesafetyofanyalterations.
6.Checkinsidetheunitforanyobviousunsafeconditions,suchasmetallings,contamination,wateror
otherliquids,orsignsofreorsmokedamage.
7.Checkforworn,frayed,orpinchedcables.
8.Checkthatthepower-supplycoverfasteners(screwsorrivets)havenotbeenremovedortamperedwith.
Handlingelectrostaticdischarge-sensitivedevices
Anycomputerpartcontainingtransistorsorintegratedcircuits(ICs)shouldbeconsideredsensitiveto
electrostaticdischarge(ESD).ESDdamagecanoccurwhenthereisadifferenceinchargebetweenobjects.
ProtectagainstESDdamagebyequalizingthechargesothatthemachine,thepart,theworkmat,andthe
personhandlingthepartareallatthesamecharge.
Notes:
1.Useproduct-specicESDprocedureswhentheyexceedtherequirementsnotedhere.
2.MakesurethattheESDprotectivedevicesyouusehavebeencertied(ISO9000)asfullyeffective.
WhenhandlingESD-sensitiveparts:
•Keepthepartsinprotectivepackagesuntiltheyareinsertedintotheproduct.
•Avoidcontactwithotherpeoplewhilehandlingthepart.
•Wearagroundedwriststrapagainstyourskintoeliminatestaticonyourbody.
•Preventthepartfromtouchingyourclothing.Mostclothingisinsulativeandretainsachargeevenwhen
youarewearingawriststrap.
•Usetheblacksideofagroundedworkmattoprovideastatic-freeworksurface.Thematisespecially
usefulwhenhandlingESD-sensitivedevices.
•Selectagroundingsystem,suchasthoselistedbelow,toprovideprotectionthatmeetsthespecic
servicerequirement.
Note:TheuseofagroundingsystemisdesirablebutnotrequiredtoprotectagainstESDdamage.
–AttachtheESDgroundcliptoanyframeground,groundbraid,orgreen-wireground.
–UseanESDcommongroundorreferencepointwhenworkingonadouble-insulatedor
battery-operatedsystem.Youcanusecoaxorconnector-outsideshellsonthesesystems.
–Usetheroundground-prongoftheacplugonac-operatedcomputers.
Groundingrequirements
Electricalgroundingofthecomputerisrequiredforoperatorsafetyandcorrectsystemfunction.Proper
groundingoftheelectricaloutletcanbeveriedbyacertiedelectrician.
Safetynotices(multi-lingualtranslations)
Thecautionanddangersafetynoticesinthissectionareprovidedinthefollowinglanguages:
•English
•Arabic
•Brazilian/Portuguese
•Chinese(simplied)
•Chinese(traditional)
6ThinkCentreHardwareMaintenanceManual

•French
•German
•Hebrew
•Italian
•Korean
•Spanish
DANGER
Electricalcurrentfrompower,telephoneandcommunicationcablesishazardous.
Toavoidashockhazard:
•Donotconnectordisconnectanycablesorperforminstallation,maintenance,orreconguration
ofthisproductduringanelectricalstorm.
•Connectallpowercordstoaproperlywiredandgroundedelectricaloutlet.
•Connecttoproperlywiredoutletsanyequipmentthatwillbeattachedtothisproduct.
•Whenpossible,useonehandonlytoconnectordisconnectsignalcables.
•Neverturnonanyequipmentwhenthereisevidenceofre,water,orstructuraldamage.
•Disconnecttheattachedpowercords,telecommunicationssystems,networks,andmodems
beforeyouopenthedevicecovers,unlessinstructedotherwiseintheinstallationandconguration
procedures.
•Connectanddisconnectcablesasdescribedinthefollowingtableswheninstalling,moving,or
openingcoversonthisproductorattacheddevices.
ToConnectToDisconnect
1.TurneverythingOFF.
2.First,attachallcablestodevices.
3.Attachsignalcablestoconnectors.
4.Attachpowercordstooutlet.
5.TurndeviceON.
1.TurneverythingOFF.
2.First,removepowercordsfromoutlet.
3.Removesignalcablesfromconnectors.
4.Removeallcablesfromdevices.
CAUTION:
Whenreplacingthelithiumbattery,useonlyPartNumber45C1566oranequivalenttypebattery
recommendedbythemanufacturer.Ifyoursystemhasamodulecontainingalithiumbattery,replace
itonlywiththesamemoduletypemadebythesamemanufacturer.Thebatterycontainslithiumand
canexplodeifnotproperlyused,handled,ordisposedof.Donot:
•Throworimmerseintowater
•Heattomorethan100°C(212°F)
•Repairordisassemble
Disposeofthebatteryasrequiredbylocalordinancesorregulations.
Chapter2.Safetyinformation7

CAUTION:
Whenlaserproducts(suchasCD-ROMs,DVD-ROMdrives,beropticdevices,ortransmitters)are
installed,notethefollowing:
•Donotremovethecovers.Removingthecoversofthelaserproductcouldresultinexposureto
hazardouslaserradiation.Therearenoserviceablepartsinsidethedevice.
•Useofcontrolsoradjustmentsorperformanceofproceduresotherthanthosespeciedherein
mightresultinhazardousradiationexposure.
DANGER
SomelaserproductscontainanembeddedClass3AorClass3Blaserdiode.Notethefollowing:
Laserradiationwhenopen.Donotstareintothebeam,donotviewdirectlywithoptical
instruments,andavoiddirectexposuretothebeam.
≥18kg(37lbs)≥32kg(70.5lbs)≥55kg(121.2lbs)
CAUTION:
Usesafepracticeswhenlifting.
CAUTION:
Thepowercontrolbuttononthedeviceandthepowerswitchonthepowersupplydonotturnoff
theelectricalcurrentsuppliedtothedevice.Thedevicealsomighthavemorethanonepower
cord.Toremoveallelectricalcurrentfromthedevice,ensurethatallpowercordsaredisconnected
fromthepowersource.
1
2
8ThinkCentreHardwareMaintenanceManual

Chapter2.Safetyinformation9

≥18kg(37lbs)≥32kg(70.5lbs)≥55kg(121.2lbs)
1
2
PERIGO
10ThinkCentreHardwareMaintenanceManual

Acorrenteelétricaprovenientedecabosdealimentação,detelefoneedecomunicaçõeséperigosa.
Paraevitarriscodechoqueelétrico:
•Nãoconectenemdesconectenenhumcaboouexecuteinstalação,manutençãooureconguração
desteprodutoduranteumatempestadecomraios.
•Conectetodososcabosdealimentaçãoatomadaselétricascorretamenteinstaladaseaterradas.
•Todoequipamentoqueforconectadoaesteprodutodeveserconectadoatomadascorretamente
instaladas.
•Quandopossível,utilizeapenasumadasmãosparaconectaroudesconectarcabosdesinal.
•Nuncaliguenenhumequipamentoquandohouverevidênciadefogo,águaoudanosestruturais.
•Antesdeabrirtampasdedispositivos,desconectecabosdealimentação,sistemasdetelecomunicação,
redesemodemsconectados,amenosqueespecicadodemaneiradiferentenosprocedimentosde
instalaçãoeconguração.
•Conecteedesconecteoscabosconformedescritonatabelaapresentadaaseguiraoinstalar,moverou
abrirtampasdesteprodutooudedispositivosconectados.
ParaConectar:ParaDesconectar:
1.DESLIGUETudo.
2.Primeiramente,conectetodososcabosaos
dispositivos.
3.Conecteoscabosdesinalaosconectores.
4.Conecteoscabosdealimentaçãoàstomadas.
5.LIGUEosdispositivos.
1.DESLIGUETudo.
2.Primeiramente,removaoscabosdealimentaçãodas
tomadas.
3.Removaoscabosdesinaldosconectores.
4.Removatodososcabosdosdispositivos.
CUIDADO:
Aosubstituirabateriadelítio,utilizeapenasumabateriacomNúmerodePeça45C1566ouumtipo
debateriaequivalenterecomendadopeloSeoseusistemapossuiummódulocomumabateriade
lítio,substitua-oapenasporummódulodomesmotipoedomesmofabricante.Abateriacontémlítio
epodeexplodirsenãoforutilizada,manuseadaoudescartadademaneiracorreta.
Não:
•Jogueoucoloquenaágua
•Aqueçaamaisde100°C(212°F)
•Consertenemdesmonte
Descarteabateriaconformerequeridopelasleisouregulamentoslocais.
PRECAUCIÓN:
Quandoprodutosalaser(comounidadesdeCD-ROMs,unidadesdeDVD-ROM,dispositivosdebraótica
outransmissores)estivereminstalados,observeoseguinte:
Chapter2.Safetyinformation11

•Nãoremovaastampas.Aremoçãodastampasdeumprodutoalaserpoderesultaremexposição
prejudicialàradiaçãodelaser.Nãoexistempeçasquepodemserconsertadasnointeriordodispositivo.
•Autilizaçãodecontrolesouajustesouaexecuçãodeprocedimentosdiferentesdosespecicadosaqui
poderesultaremexposiçãoprejudicialàradiação.
PERIGO
AlgunsprodutosalasercontêmdiododelaserintegradodaClasse3AoudaClasse3B.Observeoseguinte:
Radiaçãoalaserquandoaberto.Nãoolhediretamenteparaofeixeaolhonuoucominstrumentosópticose
eviteexposiçãodiretaaofeixe.
≥18kg(37lbs)≥32kg(70.5lbs)≥55kg(121.2lbs)
CUIDADO:
Utilizeprocedimentosdesegurançaparalevantarequipamentos.
CUIDADO:
Obotãodecontroledealimentaçãododispositivoeobotãoparaligar/desligardafontedealimentação
nãodesligamacorrenteelétricafornecidaaodispositivo.Odispositivotambémpodetermaisdeumcabo
dealimentação.Pararemovertodaacorrenteelétricadodispositivo,assegurequetodososcabosde
alimentaçãoestejamdesconectadosdafontedealimentação.
1
2
12ThinkCentreHardwareMaintenanceManual

Chapter2.Safetyinformation13

1
2
14ThinkCentreHardwareMaintenanceManual

Chapter2.Safetyinformation15

1
2
DANGER
Lecourantélectriqueprovenantdel'alimentation,dutéléphoneetdescâblesdetransmissionpeutprésenter
undanger.
Pourévitertoutrisquedechocélectrique:
•Nemanipulezaucuncâbleetn'effectuezaucuneopérationd'installation,d'entretienoudereconguration
deceproduitaucoursd'unorage.
•Brancheztouslescordonsd'alimentationsurunsocledeprisedecourantcorrectementcâbléetmisàla
terre.
•Branchezsurdessoclesdeprisedecourantcorrectementcâbléstoutéquipementconnectéàceproduit.
•Lorsquecelaestpossible,n'utilisezqu'uneseulemainpourconnecteroudéconnecterlescâbles
d'interface.
•Nemettezjamaisunéquipementsoustensionencasd'incendieoud'inondation,ouenprésencede
dommagesmatériels.
•Avantderetirerlescartersdel'unité,mettezcelle-cihorstensionetdéconnectezsescordons
d'alimentation,ainsiquelescâblesquilarelientauxréseaux,auxsystèmesdetélécommunicationetaux
modems(saufinstructioncontrairementionnéedanslesprocéduresd'installationetdeconguration).
•Lorsquevousinstallez,quevousdéplacez,ouquevousmanipulezleprésentproduitoudespériphériques
quiluisontraccordés,reportez-vousauxinstructionsci-dessouspourconnecteretdéconnecterles
différentscordons.
16ThinkCentreHardwareMaintenanceManual

ConnexionDéconnexion
1.MettezlesunitésHORSTENSION.
2.Commencezparbranchertouslescordonssurles
unités.
3.Branchezlescâblesd'interfacesurdesconnecteurs.
4.Branchezlescordonsd'alimentationsurdesprises.
5.MettezlesunitésSOUSTENSION.
1.MettezlesunitésHORSTENSION.
2.Débranchezlescordonsd'alimentationdesprises.
3.Débranchezlescâblesd'interfacedesconnecteurs.
4.Débrancheztouslescâblesdesunités.
ATTENTION:
Remplacerlapileaulithiumusagéeparunepilederéférenceidentiqueexclusivement,(référence
45C1566),ousuivrelesinstructionsdufabricantquiendénitleséquivalences.Sivotresystèmeest
dotéd'unmodulecontenantunepileaulithium,vousdevezleremplaceruniquementparunmodule
identique,produitparlemêmefabricant.Lapilecontientdulithiumetpeutexploserencasde
mauvaiseutilisation,demauvaisemanipulationoudemiseaurebutinappropriée.
Nepas:
•lajeteràl'eau,
•l'exposeràdestempératuressupérieuresà100°C,
•chercheràlaréparerouàladémonter.
Nepasmettrelapileàlapoubelle.Pourlamiseaurebut,sereporteràlaréglementationenvigueur.
ATTENTION:
Sidesproduitsàlaser(telsquedesunitésdeCD-ROM,deDVD-ROM,desunitésàbresoptiques,ou
desémetteurs)sontinstallés,prenezconnaissancedesinformationssuivantes:
•Neretirezpaslecarter.Enouvrantl'unitédeCD-ROMoudeDVD-ROM,vousvousexposezau
rayonnementdangereuxdulaser.Aucunepiècedel'unitén'estréparable.
•Pourévitertoutrisqued'expositionaurayonlaser,respectezlesconsignesderéglageet
d'utilisationdescommandes,ainsiquelesprocéduresdécritesdansleprésentmanuel.
DANGER
Certainsproduitsàlasercontiennentunediodeàlaserintégréedeclasse3Aou3B.Prenez
connaissancedesinformationssuivantes:
Rayonnementlaserlorsquelecarterestouvert.Eviteztouteexpositiondirecteaurayonlaser.Evitez
deregarderxementlefaisceauoudel'observeràl'aided'instrumentsoptiques.
Chapter2.Safetyinformation17

≥18kg(37lbs)≥32kg(70.5lbs)≥55kg(121.2lbs)
ATTENTION:
Soulevezlamachineavecprécaution.
ATTENTION:
L'interrupteurdecontrôled'alimentationdel'unitéetl'interrupteurdublocd'alimentationnecoupent
paslecourantélectriquealimentantl'unité.Enoutre,lesystèmepeutêtreéquipédeplusieurs
cordonsd'alimentation.Pourmettrel'unitéhorstension,vousdevezdéconnectertouslescordons
delasourced'alimentation.
1
2
VORSICHT
AnNetz-,Telefon-undDatenleitungenkönnengefährlicheSpannungenanliegen.
AusSicherheitsgründen:
•BeiGewitterandiesemGerätkeineKabelanschließenoderlösen.FernerkeineInstallations-,
Wartungs-oderRekongurationsarbeitendurchführen.
•GerätnuraneineSchutzkontaktsteckdosemitordnungsgemäßgeerdetemSchutzkontakt
anschließen.
•AlleangeschlossenenGeräteebenfallsanSchutzkontaktsteckdosenmitordnungsgemäß
geerdetemSchutzkontaktanschließen.
•DieSignalkabelnachMöglichkeiteinhändiganschließenoderlösen,umeinenStromschlagdurch
BerührenvonOberächenmitunterschiedlichemelektrischemPotenzialzuvermeiden.
•Geräteniemalseinschalten,wennHinweiseaufFeuer,WasseroderGebäudeschädenvorliegen.
18ThinkCentreHardwareMaintenanceManual

•DieVerbindungzudenangeschlossenenNetzkabeln,Telekommunikationssystemen,Netzwerken
undModemsistvordemÖffnendesGehäuseszuunterbrechen,sofernindenInstallations-und
KongurationsprozedurenkeineanderslautendenAnweisungenenthaltensind.
•ZumInstallieren,TransportierenundÖffnenderAbdeckungendesComputersoderder
angeschlossenenEinheitendieKabelgemäßderfolgendenTabelleanschließenundabziehen.
ZumAnschließenderKabelgehenSiewiefolgtvorZumAbziehenderKabelgehenSiewiefolgtvor
1.SchaltenSiealleEinheitenAUS.
2.SchließenSieerstalleKabelandieEinheitenan.
3.SchließenSiedieSignalkabelandieBuchsenan.
4.SchließenSiedieNetzkabelandieSteckdosean.
5.SchaltenSiedieEinheitEIN.
1.SchaltenSiealleEinheitenAUS.
2.ZiehenSiezuerstalleNetzkabelausden
Netzsteckdosen.
3.ZiehenSiedieSignalkabelausdenBuchsen.
4.ZiehenSiealleKabelvondenEinheitenab.
CAUTION:
EineverbrauchteLithiumbatterienurdurcheineBatteriemitderTeilenummer45C1566odereine
gleichwertige,vomHerstellerempfohleneBatterieersetzen.EnthältdasSystemeinModulmiteiner
Lithiumbatterie,diesesnurdurcheinModuldesselbenTypsundvondemselbenHerstellerersetzen.
DieBatterieenthältLithiumundkannbeiunsachgemäßerVerwendung,HandhabungoderEntsorgung
explodieren.
DieBatterienicht:
•mitWasserinBerührungbringen.
•über100Cerhitzen.
•reparierenoderzerlegen.
DieörtlichenBestimmungenfürdieEntsorgungvonSondermüllbeachten.
ACHTUNG:
BeiderInstallationvonLasergeräten(wieCD-ROM-Laufwerken,DVD-aufwerken,Einheitenmit
LichtwellenleitertechnikoderSendern)Folgendesbeachten:
•DieAbdeckungennichtentfernen.DurchEntfernenderAbdeckungendesLasergerätskönnen
gefährlicheLaserstrahlungenfreigesetztwerden.DasGerätenthältkeinezuwartendenTeile.
•WerdenSteuerelemente,EinstellungenoderDurchführungenvonProzedurenandersalshier
angegebenverwendet,kanngefährlicheLaserstrahlungauftreten.
VORSICHT
EinigeLasergeräteenthalteneineLaserdiodederKlasse3Aoder3B.BeachtenSieFolgendes:
Chapter2.Safetyinformation19

LaserstrahlungbeigeöffneterVerkleidung.NichtindenStrahlblicken.KeineLupenoderSpiegel
verwenden.Strahlungsbereichmeiden.
≥18kg(37lbs)≥32kg(70.5lbs)≥55kg(121.2lbs)
ACHTUNG:
ArbeitsschutzrichtlinienbeimAnhebenderMaschinebeachten.
ACHTUNG:
MitdemNetzschalteranderEinheitundamNetzteilwirddieStromversorgungfürdieEinheit
nichtunterbrochen.DieEinheitkannauchmitmehrerenNetzkabelnausgestattetsein.Umdie
StromversorgungfürdieEinheitvollständigzuunterbrechen,müssenallezumGerätführenden
NetzkabelvomNetzgetrenntwerden.
1
2
20ThinkCentreHardwareMaintenanceManual

Chapter2.Safetyinformation21

1
2
PERICOLO
Lacorrenteelettricaprovenientedaicavidialimentazione,deltelefonoedicomunicazionepuòessere
pericolosa.
Perevitareilrischiodiscosseelettriche:
•Noncollegareoscollegarequalsiasicavooppureeffettuarel'installazione,lamanutenzioneola
ricongurazionedelprodottoduranteuntemporale.
•Collegaretuttiilielettriciaunapresadialimentazionecorrettamentecablataedotatadimessaa
terra.
•Collegareallepreseelettricheappropriatetutteleapparecchiaturecheverrannoutilizzateper
questoprodotto.
22ThinkCentreHardwareMaintenanceManual

•Sepossibile,utilizzaresolounamanopercollegareoscollegareicavidisegnale.
•Nonaccendereassolutamenteapparecchiatureinpresenzadiincendi,perdited'acquaodanno
strutturale.
•Scollegareicavidialimentazione,isistemiditelecomunicazione,leretieilmodemprimadi
aprireicoperchideldispositivo,salvoistruzionicontrarierelativealleprocedurediinstallazionee
congurazione.
•Collegareescollegareicavicomedescrittonellaseguentetabellaquandovengonoeffettuate
operazionidiinstallazione,spostamentooaperturadeicoperchidiquestoprodottoodelleunità
collegate.
PercollegarsiPerscollegarsi
1.SPEGNEREleapparecchiature.
2.Innanzitutto,collegaretuttiicavialleunità.
3.Collegareicavidisegnaleaiconnettori.
4.Collegareicavidialimentazioneallapresa.
5.Accenderel'unità.
1.SPEGNEREleapparecchiature.
2.Innanzitutto,rimuovereicavidialimentazionedalla
presa.
3.Rimuovereicavidisegnaledaiconnettori.
4.Rimuoveretuttiicavidalleunità.
ATTENZIONE:
Quandosisostituiscelabatteriaallitio,utilizzaresoloilNumeroparte45C1566ountipodibatteria
equivalenteconsigliatodalproduttore.Sesulsistemaèpresenteunmodulochecontieneunabatteria
allitio,sostituirlosoloconuntipodimodulodellostessotipodellastessacasadiproduzione.La
batteriacontienelitioepuòesplodereseusata,maneggiataosmaltitainmodononcorretto.
Non:
•Gettareoimmergerelabatterianell'acqua
•Riscaldarlaadunatemperaturasuperioreai100gradiC(212gradiF)
•Smontarla,ricaricarlaotentarediripararla
Lebatterieusatevannosmaltiteinaccordoallanormativainvigore(DPR915/82esuccessive
disposizioniedisposizionilocali).
ATTENZIONE:
Quandovengonoinstallatiprodottilaser(qualiCD-ROM,unitàDVD-ROM,unitàabreotticheo
trasmittenti),tenerpresentequantosegue:
•Nonrimuovereglisportelli.L'aperturadiun'unitàlaserpuòdeterminarel'esposizionearadiazioni
laserpericolose.All'internodell'unitànonvisonopartisucuieffettuarel'assistenzatecnica.
•L'utilizzodicontrolli,regolazioniol'esecuzionediprocedurenondescrittinelpresentemanuale
possonoprovocarel'esposizionearadiazionipericolose.
Chapter2.Safetyinformation23

PERICOLO
AlcuneunitàlasercontengonoundiodolaserdiClasse3AoClasse3B.Tenerpresentequantosegue:
Aprendol'unitàvengonoemesseradiazionilaser.Nonssareilfascio,nonguardarlodirettamente
construmentiotticiedevitarel'esposizionealfascio.
≥18kg(37lbs)≥32kg(70.5lbs)≥55kg(121.2lbs)
ATTENZIONE:
Prestareattenzionenelsollevarel'apparecchiatura.
ATTENZIONE:
Ilpulsantedicontrollodell'alimentazionepresentesull'unitàel'interruttoredell'alimentatorenon
disattivanol'alimentazionecorrentefornitaall'unità.E'possibilechel'unitàdispongadipiùcavidi
alimentazione.Perdisattivarel'alimentazionedall'unità,accertarsichetuttiicavidialimentazione
sianoscollegatidallafontedialimentazione.
1
2
24ThinkCentreHardwareMaintenanceManual

Chapter2.Safetyinformation25

1
2
PELIGRO
Lacorrienteeléctricaprocedentedecablesdealimentación,teléfonosycablesdecomunicaciónpuede
serpeligrosa.
Paraevitarelriesgodedescargaeléctrica:
•Noconectenidesconecteloscablesnirealiceningunatareadeinstalación,mantenimientoo
reconguracióndeesteproductoduranteunatormentaeléctrica.
•Conectetodosloscablesdealimentaciónatomasdecorrientedebidamentecableadasy
conectadasatierra.
•Cualquierequipoqueseconecteaesteproductotambiéndebeconectarseatomasdecorriente
debidamentecableadas.
•Siemprequeseaposible,utiliceunasolamanoparaconectarodesconectarloscablesdeseñal.
•Noenciendanuncaunequipocuandohayseñalesdefuego,aguaodañosestructurales.
26ThinkCentreHardwareMaintenanceManual

•Desconecteloscablesdealimentación,lossistemasdetelecomunicaciones,lasredesylos
módemsconectadosantesdeabrirlascubiertasdelosdispositivos,amenosqueseindiquelo
contrarioenlosprocedimientosdeinstalaciónyconguración.
•Conecteydesconecteloscables,comosedescribeenlatablasiguiente,cuandoinstale,muevao
abralascubiertasdeesteproductoodelosdispositivosconectados.
ParaconectarParadesconectar
1.APÁGUELOtodo.
2.Enprimerlugar,conectetodosloscablesalos
dispositivos.
3.Conecteloscablesdeseñalalosconectores.
4.Enchufeloscablesdealimentaciónalastomasde
corriente.
5.Enciendaeldispositivo.
1.APÁGUELOtodo.
2.Enprimerlugar,desenchufeloscablesdealimentación
delastomasdecorriente.
3.Desconecteloscablesdeseñaldelosconectores.
4.Desconectetodosloscablesdelosdispositivos.
PRECAUCIÓN:
Cuandosustituyaunabateríadelitio,utilicesolamenteunabateríanúmerodepieza45C1566uotra
detipoequivalenterecomendadaporelfabricante.Sisusistemadisponedeunmóduloquecontiene
unabateríadelitio,reemplácelosóloconelmismotipodemódulo,delmismofabricante.Labatería
contienelitioypuedeexplotarsinoseutiliza,manipulaodesechacorrectamente.
Nodebe:
•Arrojarlaalaguaosumergirlaenella
•Exponerlaatemperaturassuperioresa100°C(212°F)
•Repararlaodesmontarla
Deshágasedelabateríasegúnespeciquenlasleyesonormaslocales.
PRECAUCIÓN:
Cuandohayaproductosláser(comounidadesdeCD-ROM,unidadesdeDVD,dispositivosdebra
ópticaotransmisores)instalados,tengaencuentalosiguiente:
•Noquitelascubiertas.Siquitalascubiertasdelproductoláser,podríaquedarexpuestoaradiación
láserpeligrosa.Dentrodeldispositivonoexisteningunapiezaquerequieraserviciotécnico.
•Siusacontrolesoajustesorealizaprocedimientosquenoseanlosespecicadosaquí,podría
exponersearadiacionespeligrosas.
PELIGRO
Chapter2.Safetyinformation27

Algunosproductoslásertienenincorporadoundiodoláserdeclase3Aoclase3B.Tengaencuentalo
siguiente:
Cuandoseabre,quedaexpuestoaradiaciónláser.Nomiredirectamentealrayoláser,nisiquieracon
instrumentosópticos,yeviteexponersedirectamentealrayoláser.
≥18kg(37lbs)≥32kg(70.5lbs)≥55kg(121.2lbs)
PRECAUCIÓN:
Adopteprocedimientossegurosallevantarelequipo.
PRECAUCIÓN:
Elbotóndecontroldealimentacióndeldispositivoyelinterruptordealimentacióndelafuentede
alimentaciónnodesconectanlacorrienteeléctricasuministradaaldispositivo.Además,eldispositivo
podríatenermásdeuncabledealimentación.Parasuprimirtodalacorrienteeléctricadeldispositivo,
asegúresedequetodosloscablesdealimentaciónesténdesconectadosdelatomadecorriente.
1
2
28ThinkCentreHardwareMaintenanceManual

Chapter3.Generalinformation
Thischapterprovidesgeneralinformationthatappliestoallmachinetypessupportedbythismanual.
ThinkVantageProductivityCenter
Note:Thissectionappliesonlytocomputermodelsthathaveaninternalharddiskdriveandpreinstalled
softwarefromLenovo.
UsetheThinkVantage®ProductivityCenterprogramwhichispreinstalledonmostThinkCentreproducts
forgeneralinformationabouttheuse,operation,andmaintenanceofthecomputer.TheThinkVantage
ProductivityCenterprogramalsocontainsinformationtohelpyousolveproblemsandgetrepairservice
orothertechnicalassistance.
LenovoSolutionCenter
TheLenovoSolutionCenterprogramenablesyoutotroubleshootandresolvecomputerproblems.It
combinesdiagnostictests,systeminformationcollection,securitystatus,andsupportinformation,along
withhintsandtipsformaximumsystemperformance.See“LenovoThinkVantageToolbox”onpage35
fordetailedinformation.
SimpleTap
TheSimpleTapprogramprovidesyouwithaquickwaytocustomizesomebasiccomputersettingssuchas
mutingthespeakers,adjustingthevolume,lockingthecomputeroperatingsystem,launchingaprogram,
openingaWebpage,openingale,andsoon.YoualsocanusetheSimpleTapprogramtoaccessthe
LenovoAppShop,fromwhichyoucandownloadvariousapplicationsandcomputersoftware.
TostarttheSimpleTapprograminaquickway,doanyofthefollowing:
•ClicktheredSimpleTaplaunchpointonthedesktop.Theredlaunchpointisavailableonthedesktop
afteryouhavelaunchedtheSimpleTapprogramforthersttime.
•PresstheblueThinkVantagebuttonifyourkeyboardhasone.
Note:TheSimpleTapprogramisonlyavailableoncertainmodelspreinstalledwiththeWindows7operating
system.IfyourWindows7modelisnotpreinstalledwiththeSimpleTapprogram,youcandownloadit
fromhttp://www.lenovo.com/support.
Additionalinformationresources
IfyouhaveInternetaccess,themostup-to-dateinformationforyourcomputerisavailable
at:http://www.lenovo.com/support
Youcanndthefollowinginformation:
•CRUremovalandinstallationinstructions
•Downloadsanddrivers
•Partsinformation
•Publications
•Troubleshootinginformation
•Linkstootherusefulsourcesofinformation
©CopyrightLenovo2010,201329

Specications
Thissectionliststhephysicalspecicationsforyourcomputer.
Formachinetypes:3029,3054,3139,3219,3246,3282,3349,3421,3544,
3652,3769,3934,4992,5206,5267,5325,5384,5450,5474,5498,5554,
5852,6232,and6590.
Dimensions
Width:175mm(6.89inches)
Height:402mm(15.83inches)
Depth:440mm(17.32inches)
Weight
Maximumcongurationasshipped:11kg(24.25lbs)
Formachinetypes:3026,3039,3137,3149,3245,3269,3319,3394,3491,
3627,3699,3878,4972,5132,5261,5297,5391,5472,5485,5536,5548,
5567,5864,and6213.
Dimensions
Width:317mm(12.48inches)
Height:99mm(3.9inches)
Depth:355mm(13.98inches)
Weight
Maximumcongurationasshipped:7.5kg(16.53lbs)
Forallmachinetypes
Environment
•Airtemperature:
Operating:10°to35°C(50°to95°F)
Non-operating:-40°to60°C(-40°to140°F)(withpackage)
Non-operating:-10°to60°C(14°to140°F)(withoutpackage)
•Humidity:
Operating:20%to80%(non-condensing)
Non-operating:20%to90%(non-condensing)
•Altitude:
Operating:-50to10000ft(-15.2to3048m)
Non-operating:-50to35000ft(-15.2to10668m)
Electricalinput
•Inputvoltage:
–Lowrange:
Minimum:100Vac
Maximum:127Vac
30ThinkCentreHardwareMaintenanceManual

Inputfrequencyrange:50to60Hz
Voltage-selectionswitchsetting:115Vac
–Highrange:
Minimum:200Vac
Maximum:240Vac
Inputfrequencyrange:50to60Hz
Voltage-selectionswitchsetting:230Vac
Chapter3.Generalinformation31

32ThinkCentreHardwareMaintenanceManual

Chapter4.Generalcheckout
Attention
Thedrivesinthecomputeryouareservicingmighthavebeenrearrangedorthedrivestartupsequencemight
havebeenchanged.Beextremelycarefulduringwriteoperationssuchascopying,saving,orformatting.
Dataorprogramscanbeoverwrittenifyouselectanincorrectdrive.
Generalerrormessagesappearifaproblemorconictisfoundbyanapplicationprogram,theoperating
system,orboth.Fortheexplanationofthesemessages,refertotheinformationsuppliedwiththatsoftware
package.
BeforereplacingaFRU,ensurethatthelatestlevelofBIOSisinstalledonthesystem.Adown-levelBIOS
mightcausefalseerrorsandunnecessaryreplacementofthesystemboard.Formoreinformationonhowto
determineandobtainthelatestlevelBIOS,see“BIOSlevels”onpage391.
Notes:Forcomputermodelsthatdonothaveaninternalharddiskdriveandusearemoteharddiskdrive
accessedthroughtheSecureManagedClient-StorageArray(SMC-StorageArray):
•Youmightreceivetheerrormessage“Nooperatingsystemfound.PressF1torepeatbootsequence.”In
thiscase,pressCtrl+Alt+DeleteinsteadofF1toestablishaconnectiontothestorageareanetworkwhere
youroperatingsystemisstored.Verifythattheusernameisnotloggedoninanotherlocation.
•IftheSMCloginpromptdisappearsbeforeyouloginandthenablackscreendisplays,contactyour
administrator.
Usethefollowingproceduretohelpdeterminethecauseofaproblem:
1.Turnoffthecomputerandallexternaldevices.
2.Checkallcablesandpowercords.
3.Setalldisplaycontrolstothemiddleposition.
4.Turnonallexternaldevices.
5.Turnonthecomputer.
•Lookfordisplayederrorcodes
•Listenforbeepcodes
•Lookforreadableinstructionsoramainmenuonthedisplay.
Ifyoudidnotreceivethecorrectresponse,proceedtostep6onpage33.
Ifyoudoreceivethecorrectresponse,proceedtostep7onpage33.
6.Lookatthefollowingconditionsandfollowtheinstructions:
•IfyouhearbeepcodesduringPOST,goto“Beepsymptoms”onpage61.
•IfthecomputerdisplaysaPOSTerror,goto“POSTerrorcodes”onpage61.
•Ifthecomputerhangsandnoerrorisdisplayed,turnoffthecomputerandthepower.Then,turnthe
powerandthecomputerbackon,continueatstep7onpage33.
7.RuntheDiagnosticprograms.SeeChapter5“Diagnostics”onpage35.
•Ifyoureceiveanerror,replacethepartthatthediagnosticprogramcallsoutorgoto“Diagnostic
errorcodes”onpage46.
•Iftheteststopsandyoucannotcontinue,replacethelastdevicetested.
©CopyrightLenovo2010,201333

Problemdeterminationtips
Duetothevarietyofhardwareandsoftwarecombinationsthatcanbeencountered,usethefollowing
informationtoassistyouinproblemdetermination.Ifpossible,havethisinformationavailablewhen
requestingassistancefromServiceSupportandEngineeringfunctions.
•Machinetypeandmodel
•Processororharddiskdriveupgrades
•Failuresymptom
–Dodiagnosticsindicateafailure?
–What,when,where,single,ormultiplesystems?
–Isthefailurerepeatable?
–Hasthiscongurationeverworked?
–Ifithasbeenworking,whatchangesweremadepriortoitfailing?
–Isthistheoriginalreportedfailure?
•Diagnosticsversion
–Typeandversionlevel
•Hardwareconguration
–Print(printscreen)congurationcurrentlyinuse
–BIOSlevel
•Operatingsystemsoftware
–Typeandversionlevel
Notes:Toeliminateconfusion,identicalsystemsareconsideredidenticalonlyifthey:
1.Aretheexactmachinetypeandmodels
2.HavethesameBIOSlevel
3.Havethesameadapters/attachmentsinthesamelocations
4.Havethesameaddressjumpers/terminators/cabling
5.Havethesamesoftwareversionsandlevels
6.Havethesamediagnosticdiskettes(version)
7.Havethesamecongurationoptionssetinthesystem
8.Havethesamesetupforoperating-system-controlledles
Comparingthecongurationandsoftwareset-upbetween“workingandnon-working”systemswilloften
leadtoproblemresolution.
34ThinkCentreHardwareMaintenanceManual

Chapter5.Diagnostics
Diagnosticprogramsareusedtotesthardwarecomponentsofyourcomputer.Diagnosticprogramscan
alsoreportoperating-system-controlledsettingsthatinterferewiththecorrectoperationofyoursystem.
Youcanusethepreinstalleddiagnosticprogramtodiagnosecomputerproblems,ifyourcomputeris
runningintheWindows®operatingsystem.
Notes:
1.Dependingonthedatewhenyourcomputerwasmanufactured,yourcomputerispreinstalledwith
eithertheLenovoSolutionCenterprogramortheLenovoThinkVantageToolboxprogramfordiagnostic
purposes.FormoreinformationabouttheLenovoThinkVantageToolboxprogram,see“Lenovo
ThinkVantageToolbox”onpage35.FormoreinformationabouttheLenovoSolutionCenterprogram,
see“LenovoSolutionCenter”onpage35.
2.UsePC-DoctorforRescueandRecoverywhenyourWindowsoperatingsystemdoesnotstart.
3.YoucanalsodownloadthePC-DoctorforDOSdiagnosticprogramfromhttp://www.lenovo.com/support.
See“PC-DoctorforDOS”onpage36fordetailedinformation.
4.Ifyouareunabletoisolateandrepairtheproblemyourselfafterrunningtheprograms,saveandprint
theloglescreatedbytheprograms.YouwillneedthelogleswhenyouspeaktoaLenovotechnical
supportrepresentative.
LenovoThinkVantageToolbox
Note:TheLenovoThinkVantageToolboxprogramisonlyavailableoncomputerspreinstalledwithWindows
7fromLenovo.
TheLenovoThinkVantageToolboxprogramhelpsyoumaintainyourcomputer,improvecomputingsecurity,
diagnosecomputerproblems,getfamiliarwiththeinnovativetechnologiesprovidedbyLenovo,andget
moreinformationaboutyourcomputer.YoucanusetheDiagnosticsfeatureoftheLenovoThinkVantage
Toolboxprogramtotestdevices,diagnoseproblems,createbootablediagnosticmedia,updatesystem
drivers,andreviewsysteminformation.
TodiagnosethecomputerproblemsbyusingtheLenovoThinkVantageToolboxprogram,clickStart→All
Programs→LenovoThinkVantageTools→SystemHealthandDiagnostics→Diagnostics.Followthe
instructionsonthescreen.Foradditionalinformation,refertotheLenovoThinkVantageToolboxhelpsystem.
LenovoSolutionCenter
TheLenovoSolutionCenterprogramenablesyoutotroubleshootandresolvecomputerproblems.It
combinesdiagnostictests,systeminformationcollection,securitystatus,andsupportinformation,along
withhintsandtipsformaximumsystemperformance.
Notes:
•TheLenovoSolutionCenterprogramisavailableonlyonmodelspreinstalledwiththeWindows7
operatingsystem.IfyourWindows7modelisnotpreinstalledwiththeprogram,youcandownloadit
fromhttp://www.lenovo.com/diagnose.
•IfyouareusingtheWindowsVistaorWindowsXPoperatingsystem,goto
http://www.lenovo.com/diagnoseforthelatestinformationondiagnosticsforyour
computer.
©CopyrightLenovo2010,201335

ToruntheLenovoSolutionCenterprogramontheWindows7operatingsystem,clickStart➙AllPrograms
➙LenovoThinkVantageTools➙SystemHealthandDiagnostics.Followtheinstructionsonthescreen.
Foradditionalinformation,refertotheLenovoSolutionCenterhelpsystem.
Note:Ifyouareunabletoisolateandrepairtheproblemyourselfafterrunningtheprogram,saveandprint
theloglescreatedbytheprogram.YouwillneedthelogleswhenyouspeaktoaLenovotechnical
supportrepresentative.
LenovoSystemToolbox
Note:TheLenovoSystemToolboxprogramisonlyavailableoncomputerspreinstalledwithWindowsVista
orWindowsXPfromLenovo.
TheLenovoSystemToolboxprogramisadiagnosticprogramthatworksthroughtheWindowsoperating
systemtoenableyoutoviewsymptomsandsolutionsforcomputerproblems,accesstheLenovo
troubleshootingcenter,updatesystemdrivers,andreviewsysteminformation.
ToruntheLenovoSystemToolboxprogram,clickStart→AllPrograms→LenovoServices→Lenovo
SystemToolbox.Followtheinstructionsonthescreen.Foradditionalinformationaboutrunningthe
diagnosticprogram,refertotheLenovoSystemToolboxhelpsystem.
PC-DoctorforRescueandRecovery
ThePC-DoctorforRescueandRecoverydiagnosticprogramispartoftheRescueandRecoveryworkspace
oneachLenovocomputer.UsethePC-DoctorforRescueandRecoverydiagnosticprogramifyouare
unabletostarttheWindowsoperatingsystem.
TorunthePC-DoctorforRescueandRecoverydiagnosticprogramfromtheRescueandRecovery
workspace,dothefollowing:
1.Turnoffthecomputer.
2.RepeatedlypressandreleasetheF11keywhenturningonthecomputer.Whenyouhearbeepsorseea
logoscreen,stoppressingtheF11key.TheRescueandRecoveryworkspaceopensafterashortdelay.
3.FromtheRescueandRecoveryworkspace,selectLaunchadvancedRescueandRecovery→
Diagnosehardware.ThePC-DoctorforRescueandRecoverydiagnosticprogramopens.
4.Selectthediagnostictestyouwanttorun.Then,followtheinstructionsonthescreen.
ForadditionalinformationaboutrunningthePC-DoctorforRescueandRecoverydiagnosticprogram,refer
tothePC-DoctorforRescueandRecoverydiagnosticprogramhelpsystem.
Note:IfyouencounterfailuresthatpreventyoufromgainingaccesstotheRescueandRecoveryworkspace,
youcanrunthePC-DoctorforRescueandRecoverydiagnosticprogramafterusingarescuemediumto
recoverthecomputerfromfailuresandgainingaccesstotheRescueandRecoveryworkspace.
PC-DoctorforDOS
YoucanalsodownloadthelatestversionofthePC-DoctorforDOSdiagnosticprogramfrom
http://www.lenovo.com/support.ThePC-DoctorforDOSdiagnosticprogramrunsindependentlyofthe
Windowsoperatingsystem.UsethePC-DoctorforDOSdiagnosticprogramifyouareunabletostartthe
Windowsoperatingsystemorifthetwodiagnosticprogramspreinstalledonyourcomputerhavenot
beensuccessfulinisolatingapossibleproblem.YoucanrunthePC-DoctorforDOSdiagnosticprogram
fromadiagnosticdiscthatyoucreated.
36ThinkCentreHardwareMaintenanceManual

Creatingadiagnosticdisc
Thissectionprovidesinstructionsonhowtocreateadiagnosticdisc.
Tocreateadiagnosticdisc,dothefollowing:
1.Downloadaself-startingbootableCD/DVDimage(knownasanISOimage)ofthediagnosticprogram
from:http://www.lenovo.com/support
2.UseanyCD/DVDburningsoftwaretocreateadiagnosticdiscwiththeISOimage.
Runningthediagnosticprogramfromadiagnosticdisc
Thissectionprovidesinstructionsonhowtorunthediagnosticprogramfromadiagnosticdiscthatyou
created.
Torunthediagnosticprogramfromadiagnosticdiscthatyoucreated,dothefollowing:
1.Makesuretheopticaldriveyouwanttouseissetastherstbootdeviceinthestartupdevicesequence.
See“Selectingastartupdevice”onpage43.
2.Makesurethecomputeristurnedonandtheninsertthediscintotheopticaldrive.Thediagnostic
programopens.
Note:Youcaninsertthediscintotheopticaldrivewhenyouaresettingthestartupdevicesequence.
However,ifyouinsertthediscintotheopticaldrivewhenyouhavealreadyenteredtheoperating
system,youneedtorestartthecomputertoaccessthediagnosticprogram.
3.Followtheinstructionsonthescreentoselectthediagnostictestyouwanttorun.
Note:Foradditionalhelp,presstheF1key.
4.Removethediagnosticdiscfromtheopticaldrivewhenyoucompletethediagnosticprocess.
Navigatingthroughthediagnosticsprograms
Usethecursormovementkeystonavigatewithinthemenus.
•TheEnterkeyisusedtoselectamenuitem.
•TheEsckeyisusedtobackuptothepreviousmenu.
•Foronlinehelp,selectF1.
Runningtests
Therearefourwaystorunthediagnostictests.
•Usingthecursormovementkeys,highlightRunNormalTestorRunQuickTestfromtheDiagnostics
menuandthenpressEnter.Thisautomaticallyrunsapre-denedgroupoftestsfromeachtestcategory.
RunNormalTestrunsamoreextensivesetofteststhanRunQuickTestdoesandtakeslongerto
complete.
•PressF5toautomaticallyrunallselectedtestsinallcategories.
•Fromwithinatestcategory,pressCtrl+Entertoautomaticallyrunonlytheselectedtestsinthatcategory.
•Usingthecursormovementkeys,highlightasingletestwithinatestcategory,andthenpressEnter.
Thisrunsonlythattest.
PressEscatanytimetostopthetestingprocess.
Testresults(N/A,PASSED,FAILED,ABORTED)aredisplayedintheeldbesidethetestdescriptionandin
thetestlog.See“Viewingthetestlog”onpage39.
Chapter5.Diagnostics37

Toselectoneormoretests,dothefollowing:
1.Openthecorrespondingtestcategory.
2.Usingthecursormovementkeys,highlightthedesiredtest.
3.Pressthespacebar.Aselectedtestismarkedby>>.Pressingthespacebaragainde-selectsatest
andremovesthe>>.
4.Repeatsteps2and3abovetoselectalldesiredtests.
Testresults
Diagnosticstestresultsproducethefollowingerrorcodeformat:
FunctionCodeFailureTypeDeviceIDDateChkDigitsText
•FunctionCode:
Representsthefeatureorfunctionwithinthecomputer.
•FailureType:
Representsthetypeoferrorencountered.
•DeviceID:
Containsthecomponent'sunit-IDthatcorrespondstoaxeddiskdrive,removablemediadrive,
processor,specicRIMM,oradeviceonthePCIbus.
•Date:
Containsthedatewhenthediagnostictestwasrun.ThedateisretrievedfromCMOSanddisplayed
usingtheYYYYMMDDformat.
•ChkDigits:
Containsa2-digitcheck-digitvaluetoensurethefollowing:
–Diagnosticswererunonthespecieddate.
–Diagnosticswererunonthespeciedcomputer.
–Thediagnosticerrorcodeisrecordedcorrectly.
•Text:
Descriptionoftheerror.
Note:See“Diagnosticerrorcodes”onpage46forerrorcodelistings.
QuickandFullerase-harddiskdrive
Thediagnosticsprogramofferstwoharddiskdriveformatutilities:
•QuickEraseHardDrive
•FullEraseHardDrive
QuickEraseHardDriveprovidesaDOSutilitythatperformsthefollowing:
•DestroystheMasterBootRecord(MBR)ontheharddiskdrive.
•DestroysallcopiesoftheFATTableonallpartitions(boththemasterandbackup).
•Destroysthepartitiontable.
•Providesmessagesthatwarntheuseraboutanon-recoverableprocess.
TheFullEraseHardDriveprovidesaDOSutilitythatperformsthefollowing:
•PerformsallthestepsinQuickErase.
•ProvidesaDOSutilitythatwritesrandomdatatoallsectorsoftheharddiskdrive.
•Providesanestimateoftimetocompletionalongwithavisualrepresentationofcompletionstatus.
38ThinkCentreHardwareMaintenanceManual

•Providesmessagesthatwarntheuseraboutanon-recoverableprocess.
Important:MakesurethatalldataisbackedupbeforeusingtheQuickorFullErasefunctions.
ToselecttheQuickEraseHardDriveorFullEraseHardDriveutility,dothefollowing:
1.SelecttheUTILITYoptiononthetoolbarandpressEnter.
2.SelecteithertheQUICKERASEorFULLERASEHARDDISKoptionandfollowtheinstructionson
thescreen.
Viewingthetestlog
Errorsreportedbythediagnostictestwillbedisplayedbytheprogramasafailedtest.
Toviewdetailsofafailureortoviewalistoftestresults,usethefollowingprocedurefromanytestcategory
screen:
1.PressF3toactivatethelogle.
2.PressF3againtosavetheletodisketteorpressF2toprintthele.
Chapter5.Diagnostics39

40ThinkCentreHardwareMaintenanceManual

Chapter6.UsingtheSetupUtilityprogram
TheSetupUtilityprogramisusedtoviewandchangethecongurationsettingsofyourcomputer,regardless
ofwhichoperatingsystemyouareusing.However,theoperatingsystemsettingsmightoverrideanysimilar
settingsintheSetupUtilityprogram.
StartingtheSetupUtilityprogram
TostarttheSetupUtilityprogram,dothefollowing:
1.Makesureyourcomputeristurnedoff.
2.RepeatedlypressandreleasetheF1keywhenturningonthecomputer.Whenyouhearmultiple
beepsorseealogoscreen,releasetheF1key.
Note:IfaPower-OnPasswordoranAdministratorPasswordhasbeenset,theSetupUtilityprogram
menuwillnotbedisplayeduntilyoutypethecorrectpassword.Formoreinformation,see“Using
passwords”onpage41.
TheSetupUtilityprogrammightstartautomaticallywhenPOSTdetectsthathardwarehasbeenremovedor
newhardwarehasbeeninstalledinyourcomputer.
Viewingandchangingsettings
TheSetupUtilityprogrammenulistsvariousitemsaboutthesystemconguration.Tovieworchange
settings,starttheSetupUtilityprogram.See“StartingtheSetupUtilityprogram”onpage41.Then,follow
theinstructionsonthescreen.
WhenworkingwiththeSetupUtilityprogrammenu,youmustusethekeyboard.Thekeysusedtoperform
varioustasksaredisplayedatthebottomofeachscreen.
Usingpasswords
ByusingtheSetupUtilityprogram,youcansetpasswordstopreventunauthorizedaccesstoyourcomputer
anddata.Thefollowingtypesofpasswordsareavailable:
•Power-OnPassword
•AdministratorPassword
•HardDiskPassword
Youdonothavetosetanypasswordstouseyourcomputer.However,usingpasswordsimproves
computingsecurity.Ifyoudecidetosetanypasswords,readthefollowingsections.
Passwordconsiderations
Apasswordcanbeanycombinationofupto64alphabeticandnumericcharacters.Forsecurityreasons,it
isrecommendedtouseastrongpasswordthatcannotbeeasilycompromised.Tosetastrongpassword,
usethefollowingguidelines:
•Haveatleasteightcharactersinlength
•Containatleastonealphabeticcharacterandonenumericcharacter
•SetupUtilityprogramandharddiskdrivepasswordsarenotcasesensitive
©CopyrightLenovo2010,201341

•Notbeyournameoryourusername
•Notbeacommonwordoracommonname
•Besignicantlydifferentfromyourpreviouspasswords
Power-OnPassword
WhenaPower-OnPasswordisset,youarepromptedtotypeavalidpasswordeachtimethecomputeris
turnedon.Thecomputercannotbeuseduntilthevalidpasswordistypedin.
AdministratorPassword
SettinganAdministratorPassworddetersunauthorizedusersfromchangingcongurationsettings.Ifyou
areresponsibleformaintainingthecongurationsettingsofseveralcomputers,youmightwanttosetan
AdministratorPassword.
WhenanAdministratorPasswordisset,youarepromptedtotypeavalidpasswordeachtimeyoutryto
accesstheSetupUtilityprogram.TheSetupUtilityprogramcannotbeaccesseduntilavalidpassword
istypedin.
IfboththePower-OnPasswordandAdministratorPasswordareset,youcantypeeitherpassword.However,
youmustuseyourAdministratorPasswordtochangeanycongurationsettings.
HardDiskPassword
SettingaHardDiskPasswordpreventsunauthorizedaccesstothedataontheharddiskdrive.Whena
HardDiskPasswordisset,youarepromptedtotypeavalidpasswordeachtimeyoutrytoaccessthe
harddiskdrive.
Setting,changing,anddeletingapassword
Toset,change,ordeleteapassword,dothefollowing:
1.StarttheSetupUtilityprogram.See“StartingtheSetupUtilityprogram”onpage41.
2.FromtheSetupUtilityprogrammainmenu,selectSecurity.
3.Dependingonthepasswordtype,selectSetPower-OnPassword,SetAdministratorPassword,or
HardDiskPassword.
4.Followtheinstructionsontherightsideofthescreentoset,change,ordeleteapassword.
Note:Apasswordcanbeanycombinationofupto64alphabeticandnumericcharacters.Formore
information,see“Passwordconsiderations”onpage41.
Enablingordisablingadevice
Thissectionprovidesinformationonhowtoenableordisableuseraccesstothefollowingdevices:
USBSetupUsethisoptiontoenableordisableaUSBconnector.WhenaUSBconnectoris
disabled,thedeviceconnectedtotheUSBconnectorcannotbeused.
SATAControllerWhenthisfeatureissettoDisable,alldevicesconnectedtotheSATAconnectors
(suchasharddiskdrivesortheopticaldrive)aredisabledandcannotbeaccessed.
ExternalSATAPortWhenthisoptionissettoDisable,thedeviceconnectedtotheExternalSATA
connectorcannotbeaccessed.
Toenableordisableadevice,dothefollowing:
1.StarttheSetupUtilityprogram.See“StartingtheSetupUtilityprogram”onpage41.
42ThinkCentreHardwareMaintenanceManual

2.FromtheSetupUtilityprogrammainmenu,selectDevices.
3.Dependingonthedeviceyouwanttoenableordisable,dooneofthefollowing:
•SelectUSBSetuptoenableordisableaUSBdevice.
•SelectATADriveSetuptoenableordisableaninternalorexternalSATAdevice.
4.SelectthedesiredsettingsandpressEnter.
5.PressF10tosaveandexittheSetupUtilityprogram.See“ExitingfromtheSetupUtilityprogram”
onpage43.
Selectingastartupdevice
Ifyourcomputerdoesnotstartupfromadevicesuchasthedisc,diskette,orharddiskdriveasexpected,
dooneofthefollowingtoselectthestartupdeviceyouwant.
Selectingatemporarystartupdevice
Usethisproceduretoselectatemporarystartupdevice.
Note:Notalldiscs,harddiskdrives,anddiskettesarebootable.
1.Turnoffyourcomputer.
2.RepeatedlypressandreleasetheF12keywhenturningonthecomputer.WhenthePleaseselect
bootdevicewindowdisplays,releasetheF12key.
3.SelectthedesiredstartupdeviceandpressEnter.Thecomputerwillstartupfromthedeviceyou
selected.
Note:SelectingastartupdevicefromthePleaseselectbootdevicewindowdoesnotpermanentlychange
thestartupsequence.
Selectingorchangingthestartupdevicesequence
Tovieworpermanentlychangetheconguredstartupdevicesequence,dothefollowing:
1.StarttheSetupUtilityprogram.See“StartingtheSetupUtilityprogram”onpage41.
2.FromtheSetupUtilityprogrammainmenu,selectStartup.
3.SelectthedevicesforthePrimaryStartupSequence,theAutomaticStartupSequence,andtheError
StartupSequence.Readtheinformationdisplayedontherightsideofthescreen.
4.PressF10tosaveandexittheSetupUtilityprogram.See“ExitingfromtheSetupUtilityprogram”
onpage43.
ExitingfromtheSetupUtilityprogram
Afteryounishviewingorchangingsettings,pressEsctoreturntotheSetupUtilityprogrammainmenu.
YoumighthavetopressEscseveraltimes.Then,dooneofthefollowing:
•Ifyouwanttosavethenewsettings,pressF10tosaveandexittheSetupUtilityprogram.
•Ifyoudonotwanttosavethesettings,selectExit→DiscardChangesandExit.
•Ifyouwanttoreturntothedefaultsettings,pressF9toloadthedefaultsettings.
Chapter6.UsingtheSetupUtilityprogram43

44ThinkCentreHardwareMaintenanceManual

Chapter7.Symptom-to-FRUindex
TheSymptom-to-FRUindexlistserrorsymptomsandpossiblecauses.Themostlikelycauseislistedrst.
AlwaysbeginwiththeChapter4“Generalcheckout”onpage33.Youcanusethisindextohelpyoudecide
whichFRUsareneededwhenservicingacomputer.Ifyouareunabletocorrecttheproblemusingthis
index,goto“Undeterminedproblems”onpage64.
Notes:
1.Ifyouhavebothanerrormessageandanincorrectaudioresponse,diagnosetheerrormessagerst.
2.Ifyoucannotrunthediagnostictestsoryougetadiagnosticerrorcodewhenrunningatest,butdidreceivea
POSTerrormessage,diagnosethePOSTerrormessagerst.
3.Ifyoudidnotreceiveanyerrormessage,lookforadescriptionofyourerrorsymptomsintherstpartofthisindex.
4.Forcomputermodelsthatdonothaveaninternalharddiskdriveandusearemoteharddiskdriveaccessed
throughtheSMC-StorageArray:
•Youmightreceivetheerrormessage“Nooperatingsystemfound.PressF1torepeatbootsequence.”Inthis
case,pressCtrl+Alt+DeleteinsteadofF1toestablishaconnectiontothestorageareanetworkwhereyour
operatingsystemisstored.Verifythattheusernameisnotloggedoninanotherlocation.
•IftheSMCloginpromptdisappearsbeforeyouloginandthenablackscreendisplays,contactthe
administrator.
Harddiskdrivebooterror
Aharddiskdrivebooterror(errorcodes1962andI999030X)canhavethefollowingcauses.
Note:Forcomputermodelsthatdonothaveaninternalharddiskdriveandusearemoteharddiskdrive
accessedthroughtheSMC-StorageArray,contactthenetworkorstorageadministrator.
ErrorFRU/Action
Thestart-updriveisnotinthebootsequencein
conguration.
Checkthecongurationandensurethestart-updriveis
inthebootsequence.
Nooperatingsysteminstalledonthebootdrive.Installanoperatingsystemonthebootdrive.
Thebootsectoronthestart-updriveiscorrupted.Thedrivemustbeformatted.Dothefollowing:
1.Attempttoback-upthedataonthefailingharddisk
drive.
2.Usingtheoperatingsystemprograms,formatthe
harddiskdrive.
Thedriveisdefective.Replacetheharddiskdrive.
PowerSupplyProblems
Ifyoususpectapowerproblem,usethefollowingprocedures.
©CopyrightLenovo2010,201345

Check/VerifyFRU/Action
Checkthefollowingforproperinstallation.
•Powercord
•On/Offswitchconnector
•On/Offswitchpowersupplyconnector
•Systemboardpowersupplyconnectors
•Microprocessor(s)connection
Reseatconnectors
Checkthepowercordforcontinuity.Powercord
Checkthepower-onswitchforcontinuity.Power-onswitch
Diagnosticerrorcodes
Refertothefollowingdiagnosticerrorcodeswhenusingthediagnostictests.See“Runningtests”onpage
37forthespecictypeforinformationaboutthediagnosticprograms.
Inthefollowingindex,Xcanrepresentanynumber.
DiagnosticErrorCodeFRU/Action
000-000-XXXBIOSTestPassedNoaction
000-002-XXXBIOSTimeout1.Flashthesystem.See“Updating(ashing)BIOS
fromadisc”onpage392.
2.Systemboard
000-024-XXXBIOSAddressingtestfailure1.Flashthesystem.See“Updating(ashing)BIOS
fromadisc”onpage392.
2.Systemboard
000-025-XXXBIOSChecksumValueerror1.Flashthesystem.See“Updating(ashing)BIOS
fromadisc”onpage392.
2.Systemboard
000-026-XXXFLASHdataerror1.Flashthesystem.See“Updating(ashing)BIOS
fromadisc”onpage392.
2.Systemboard
000-027-XXXBIOSConguration/Setuperror1.RuntheSetupUtilityprogram.
2.Flashthesystem.See“Updating(ashing)BIOS
fromadisc”onpage392.
3.Systemboard
000-034-XXXBIOSBufferAllocationfailure1.Rebootthesystem.
2.Flashthesystem.See“Updating(ashing)BIOS
fromadisc”onpage392.
3.Runmemorytest
4.Systemboard
000-035-XXXBIOSResetConditiondetected1.Flashthesystem.See“Updating(ashing)BIOS
fromadisc”onpage392.
2.Systemboard
000-036-XXXBIOSRegistererror1.Flashthesystem.See“Updating(ashing)BIOS
fromadisc”onpage392.
2.Systemboard
46ThinkCentreHardwareMaintenanceManual

DiagnosticErrorCodeFRU/Action
000-038-XXXBIOSExtensionfailure1.Flashthesystem.See“Updating(ashing)BIOS
fromadisc”onpage392.
2.Adaptercard
3.Systemboard
000-039-XXXBIOSDMIdataerror1.Flashthesystem.See“Updating(ashing)BIOS
fromadisc”onpage392.
2.Systemboard
000-195-XXXBIOSTestabortedbyuserInformationonlyRestartthetest,ifnecessary.
000-196-XXXBIOStesthalt,errorthresholdexceeded1.PressF3toreviewthelogle.
2.Restartthetesttoresetthelogle.
000-197-XXXBIOStestwarning1.Makesurethecomponentthatiscalledoutis
connectedand/orenabled.See“”onpage.
2.Re-runtest.
3.Replacethecomponentthatiscalledoutinwarning
statement.
4.Replacethecomponentundertest.
000-198-XXXBIOStestaborted1.Makesurethecomponentthatiscalledoutis
connectedand/orenabled.See“”onpage.
2.Flashthesystemandretest.See“Updating(ashing)
BIOSfromadisc”onpage392.
3.Goto“Undeterminedproblems”onpage64.
000-199-XXXBIOStestfailed,causeunknown1.Goto“Undeterminedproblems”onpage64.
2.Flashthesystemandre-test.
3.Replacecomponentunderfunctiontest.
000-250-XXXBIOSAPMfailure1.Flashthesystem.See“Updating(ashing)BIOS
fromadisc”onpage392.
2.Systemboard
000-270-XXXBIOSACPIfailure1.Flashthesystem.See“Updating(ashing)BIOS
fromadisc”onpage392.
2.Systemboard
001-000-XXXSystemTestPassedNoaction
001-00X-XXXSystemErrorSystemboard
001-01X-XXXSystemErrorSystemboard
001-024-XXXSystemAddressingtestfailureSystemboard
001-025-XXXSystemChecksumValueerror1.Flashthesystem.See“Updating(ashing)BIOS
fromadisc”onpage392.
2.Systemboard
001-026-XXXSystemFLASHdataerror1.Flashthesystem.See“Updating(ashing)BIOS
fromadisc”onpage392.
2.Systemboard
001-027-XXXSystemConguration/Setuperror1.RuntheSetupUtilityprogram.
2.Flashthesystem.See“Updating(ashing)BIOS
fromadisc”onpage392.
3.Systemboard
Chapter7.Symptom-to-FRUindex47

DiagnosticErrorCodeFRU/Action
001-032-XXXSystemDeviceControllerfailureSystemboard
001-034-XXXSystemDeviceBufferAllocationfailure1.Rebootthesystem
2.Flashthesystem.See“Updating(ashing)BIOS
fromadisc”onpage392.
3.Runmemorytest
4.Systemboard
001-035-XXXSystemDeviceResetconditiondetectedSystemboard
001-036-XXXSystemRegistererrorSystemboard
001-038-XXXSystemExtensionfailure1.Adaptercard
2.Systemboard
001-039-XXXSystemDMIdatastructureerror1.Flashthesystem.See“Updating(ashing)BIOS
fromadisc”onpage392.
2.Systemboard
001-040-XXXSystemIRQfailure1.Turnoff/onthesystemandre-test.
2.Systemboard
001-041-XXXSystemDMAfailure1.Turnoff/onthesystemandre-test.
2.Systemboard
001-195-XXXSystemTestabortedbyuserInformationonlyRestartthetest,ifnecessary.
001-196-XXXSystemtesthalt,errorthresholdexceeded1.PressF3toreviewthelogle.
2.Restartthetesttoresetthelogle.
001-197-XXXSystemtestwarning1.Makesurethecomponentthatiscalledoutis
connectedand/orenabled.See“”onpage.
2.Re-runtest
3.Replacethecomponentthatiscalledoutinwarning
statement.
4.Replacethecomponentundertest.
001-198-XXXSystemtestaborted1.Ifacomponentiscalledout,makesureitis
connectedand/orenabled.See“”onpage.
2.Flashthesystemandretest.See“Updating(ashing)
BIOSfromadisc”onpage392.
3.Goto“Undeterminedproblems”onpage64.
001-199-XXXSystemtestfailed,causeunknown1.Goto“Undeterminedproblems”onpage64.
2.Flashthesystemandre-test.
3.Replacecomponentunderfunctiontest.
001-250-XXXSystemECCerrorSystemboard
001-254-XXX001-255-XXX001-256-XXX001-257-XXX
SystemDMAerror
Systemboard
001-260-XXX001-264-XXXSystemIRQerrorSystemboard
001-268-XXXSystemIRQ1failure1.DeviceonIRQ1
2.Systemboard
001-269-XXXSystemIRQ2failure1.DeviceonIRQ2
2.Systemboard
48ThinkCentreHardwareMaintenanceManual

DiagnosticErrorCodeFRU/Action
001-270-XXXSystemIRQ3failure1.DeviceonIRQ3
2.Systemboard
001-271-XXXSystemIRQ4failure1.DeviceonIRQ4
2.Systemboard
001-272-XXXSystemIRQ5failure1.DeviceonIRQ5
2.Systemboard
001-273-XXXSystemIRQ6(diskettedrive)failure1.DisketteCable
2.Diskettedrive
3.Systemboard
001-274-XXXSystemIRQ7failure1.DeviceonIRQ7
2.Systemboard
001-275-XXXSystemIRQ8failure1.DeviceonIRQ8
2.Systemboard
001-276-XXXSystemIRQ9failure1.DeviceonIRQ9
2.Systemboard
001-277-XXXSystemIRQ10failure1.DeviceonIRQ10
2.Systemboard
001-278-XXXSystemIRQ11failure1.DeviceonIRQ11
2.Systemboard
001-279-XXXSystemIRQ12failure1.DeviceonIRQ12
2.Systemboard
001-280-XXXSystemIRQ13failure1.DeviceonIRQ13
2.Systemboard
001-281-XXXSystemIRQ14(harddiskdrive)failure1.Harddiskdrivecable
2.Harddiskdrive
3.Systemboard
001-282-XXXSystemIRQ15failure1.DeviceonIRQ15
2.Systemboard
001-286-XXX001-287-XXX001-288-XXXSystemTimer
failure
Systemboard
001-292-XXXSystemCMOSRAMerror1.RuntheSetupandUtilityprogramandre-test.
2.Systemboard
001-293-XXXSystemCMOSBattery1.CMOSBattery
2.Systemboard
001-298-XXXSystemRTCdate/timeupdatefailure1.Flashthesystem.See“Updating(ashing)BIOS
fromadisc”onpage392.
2.Systemboard
001-299-XXXSystemRTCperiodicinterruptfailureSystemboard
001-300-XXXSystemRTCAlarmfailureSystemboard
Chapter7.Symptom-to-FRUindex49

DiagnosticErrorCodeFRU/Action
001-301-XXXSystemRTCCenturybyteerror1.Flashthesystem.See“Updating(ashing)BIOS
fromadisc”onpage392.
2.Systemboard
005-000-XXXVideoTestPassedNoaction
005-00X-XXXVideoerror1.Videocard,ifinstalled
2.Systemboard
005-010-XXX005-011-XXX005-012-XXX005-013-XXX
VideoSignalfailure
1.Videocard,ifinstalled
2.Systemboard
005-016-XXXVideoSimplePatterntestfailure1.VideoRam
2.Videocard,ifinstalled
3.Systemboard
005-024-XXXVideoAddressingtestfailure1.Videocard,ifinstalled
2.Systemboard
005-025-XXXVideoChecksumValueerror1.Videocard,ifinstalled
2.Systemboard
005-027-XXXVideoConguration/Setuperror1.RuntheSetupUtilityprogram.
2.Videodriversupdate
3.Videocard,ifinstalled
4.Systemboard
005-031-XXXVideoDeviceCablefailure1.Videocable
2.Monitor
3.Videocard,ifinstalled
4.Systemboard
005-032-XXXVideoDeviceControllerfailure1.Videocard,ifinstalled
2.Systemboard
005-036-XXXVideoRegistererror1.Videocard,ifinstalled
2.Systemboard
005-038-XXXSystemBIOSextensionfailure1.Videocard,ifinstalled
2.Systemboard
005-040-XXXVideoIRQfailure1.Videocard,ifinstalled
2.Systemboard
005-195-XXXVideoTestabortedbyuserInformationonlyRestartthetest,ifnecessary.
005-196-XXXVideotesthalt,errorthresholdexceeded1.PressF3toreviewthelogle.
2.Restartthetesttoresetthelogle.
005-197-XXXVideotestwarning1.Makesurethecomponentthatiscalledoutis
connectedand/orenabled.See“”onpage.
2.Re-runthetest.
3.Replacethecomponentcalledoutinwarning
statement.
4.Replacethecomponentundertest.
50ThinkCentreHardwareMaintenanceManual

DiagnosticErrorCodeFRU/Action
005-198-XXXVideotestaborted1.Ifacomponentiscalledout,makesureitis
connectedand/orenabled.See“”onpage.
2.Flashthesystemandre-test.See“Updating
(ashing)BIOSfromadisc”onpage392.
3.Goto“Undeterminedproblems”onpage64.
005-199-XXXVideotestfailed,causeunknown1.Goto“Undeterminedproblems”onpage64.
2.Flashthesystemandre-test.See“Updating
(ashing)BIOSfromadisc”onpage392.
3.Replacecomponentunderfunctiontest.
005-2XX-XXX005-3XX-XXXVideosubsystemerror1.Videocard,ifinstalled.
2.Systemboard
006-000-XXXDisketteinterfaceTestPassedNoaction
006-0XX-XXXDisketteinterfaceerror1.DiskettedriveCable
2.Diskettedrive
3.Systemboard
006-195-XXXDisketteinterfaceTestabortedbyuserInformationonlyRestartthetest,ifnecessary.
006-196-XXXDisketteinterfacetesthalt,errorthreshold
exceeded
1.PressF3toreviewthelogle.
2.Restartthetesttoresetthelogle.
006-197-XXXDisketteinterfacetestwarning1.Ifacomponentiscalledout,makesureitis
connectedand/orenabled.
2.Re-runthetest.
3.Replacethecomponentthatiscalledoutinwarning
statement.
4.Replacethecomponentundertest.
006-198-XXXDisketteinterfacetestaborted1.Ifacomponentiscalledout,makesureitis
connectedand/orenabled.
2.Flashthesystemandre-test.See“Updating
(ashing)BIOSfromadisc”onpage392.
3.Goto“Undeterminedproblems”onpage64.
006-199-XXXDisketteinterfacetestfailed,cause
unknown
1.Goto“Undeterminedproblems”onpage64.
2.Flashthesystemandre-test.
3.Replacecomponentunderfunctiontest.
006-25X-XXXDisketteinterfaceError1.Diskettedrivecable
2.Diskettedrive
3.Systemboard
015-000-XXXUSBportInterfaceTestPassedNoaction
015-001-XXXUSBportPresence1.RemoveUSBdevice(s)andre-test
2.Systemboard
015-002-XXXUSBportTimeout1.RemoveUSBdevice(s)andre-test
2.Systemboard
015-015-XXXUSBportExternalLoopbackfailure1.RemoveUSBdevice(s)andre-test
2.Systemboard
Chapter7.Symptom-to-FRUindex51

DiagnosticErrorCodeFRU/Action
015-027-XXXUSBportConguration/Setuperror1.Flashthesystem.See“Updating(ashing)BIOS
fromadisc”onpage392
2.Systemboard
015-032-XXXUSBportDeviceControllerfailureSystemboard
015-034-XXXUSBportbufferallocationfailure1.Rebootthesystem
2.Flashthesystemandre-test.See“Updating
(ashing)BIOSfromadisc”onpage392.
3.Runmemorytest
4.Systemboard
015-035-XXXUSBportResetconditiondetected1.RemoveUSBdevice(s)andre-test.
2.Systemboard
015-036-XXXUSBportRegistererrorSystemboard
015-040-XXXUSBportIRQfailure1.RuntheSetupUtilityprogramandcheckforconicts.
2.Flashthesystem.See“Updating(ashing)BIOS
fromadisc”onpage392.
3.Systemboard
015-195-XXXUSBportTestabortedbyuserInformationonlyRestartthetest,ifnecessary.
015-196-XXXUSBporttesthalt,errorthresholdexceeded1.PressF3toreviewthelogle.
2.Restartthetesttoresetthelogle.
015-197-XXXUSBporttestwarning1.Makesurethecomponentthatiscalledoutis
connectedand/orenabled.See“”onpage.
2.Re-runthetest.
3.Replacethecomponentthatiscalledoutinwarning
statement.
4.Replacethecomponentundertest.
015-198-XXXUSBporttestaborted1.Ifacomponentiscalledout,makesureitis
connectedand/orenabled.See“”onpage.
2.Flashthesystemandre-test.See“Updating
(ashing)BIOSfromadisc”onpage392.
3.Goto“Undeterminedproblems”onpage64.
015-199-XXXUSBporttestfailed,causeunknown1.Goto“Undeterminedproblems”onpage64.
2.Flashthesystemandre-test.See“Updating
(ashing)BIOSfromadisc”onpage392.
3.Replacecomponentunderfunctiontest.
018-000-XXXPCICardTestPassedNoaction
018-0XX-XXXPCICardFailure1.Risercard,ifinstalled
2.Systemboard
018-195-XXXPCICardTestabortedbyuser1.PCIcard
2.InformationonlyRestartthetest,ifnecessary.
018-196-XXXPCICardtesthalt,errorthresholdexceeded1.PressF3toreviewthelogle.
2.Restartthetesttoresetthelogle.
52ThinkCentreHardwareMaintenanceManual

DiagnosticErrorCodeFRU/Action
018-197-XXXPCICardtestwarning1.Makesurethecomponentthatiscalledoutis
connectedand/orenabled.See“”onpage.
2.Re-runthetest.
3.Replacethecomponentthatiscalledoutinwarning
statement.
4.Replacethecomponentundertest.
018-198-XXXPCICardtestaborted1.Ifacomponentiscalledout,makesureitis
connectedand/orenabled.See“”onpage.
2.Flashthesystemandre-test.See“Updating
(ashing)BIOSfromadisc”onpage392.
3.Goto“Undeterminedproblems”onpage64.
018-199-XXXPCICardtestfailed,causeunknown1.Goto“Undeterminedproblems”onpage64.
2.Flashthesystemandre-test.See“Updating
(ashing)BIOSfromadisc”onpage392.
3.Replacecomponentunderfunctiontest.
018-250-XXXPCICardServiceserror1.PCIcard
2.Risercard,ifinstalled
3.Systemboard
020-000-XXXPCIInterfaceTestPassedNoaction
020-0XX-XXXPCIInterfaceerror1.PCIcard
2.Risercard,ifinstalled
3.Systemboard
020-195-XXXPCITestabortedbyuserInformationonlyRestartthetest,ifnecessary.
020-196-XXXPCItesthalt,errorthresholdexceeded1.PressF3toreviewthelogle.
2.Restartthetesttoresetthelogle.
020-197-XXXPCItestwarning1.Makesurethecomponentthatiscalledoutis
connectedand/orenabled.See“”onpage.
2.Re-runthetest.
3.Replacethecomponentthatiscalledoutinwarning
statement.
4.Replacethecomponentundertest.
020-198-XXXPCItestaborted1.Ifacomponentiscalledout,makesureitis
connectedand/orenabled.See“”onpage.
2.Flashthesystemandre-test.See“Updating
(ashing)BIOSfromadisc”onpage392.
3.Goto“Undeterminedproblems”onpage64.
020-199-XXXPCItestfailed,causeunknown1.Goto“Undeterminedproblems”onpage64.
2.Flashthesystemandre-test.See“Updating
(ashing)BIOSfromadisc”onpage392.
3.Replacecomponentunderfunctiontest.
020-262-XXXPCIsystemerror1.PCIcard
2.Risercard,ifinstalled
3.Systemboard
025-000-XXXIDEinterfaceTestPassedNoaction
Chapter7.Symptom-to-FRUindex53

DiagnosticErrorCodeFRU/Action
025-00X-XXX025-01X-XXXIDEinterfacefailure1.IDEsignalcable
2.Checkpowersupplyvoltages
3.ReseatIDEsignalcable
4.IDEdevice
5.Systemboard
025-027-XXXIDEinterfaceConguration/Setuperror1.IDEsignalcable
2.Flashthesystem.See“Updating(ashing)BIOS
fromadisc”onpage392.
3.ReseatIDEsignalcable
4.IDEdevice
5.Systemboard
025-02X-XXX025-03X-XXX025-04X-XXXIDEInterface
failure
1.IDEsignalcable
2.CheckAC/DCpoweradapter
3.ReseatIDEsignalcable
4.IDEdevice
5.Systemboard
025-195-XXXIDEinterfaceTestabortedbyuserInformationonlyRestartthetest,ifnecessary.
025-196-XXXIDEinterfacetesthalt,errorthreshold
exceeded
1.PressF3toreviewthelogle.
2.Restartthetesttoresetthelogle.
025-197-XXXIDEinterfacetestwarning1.Makesurethecomponentthatiscalledoutis
connectedand/orenabled.See“”onpage.
2.Re-runthetest.
3.Replacethecomponentthatiscalledoutinwarning
statement.
4.Replacethecomponentundertest.
025-198-XXXIDEinterfacetestaborted1.Ifacomponentiscalledout,makesureitis
connectedand/orenabled.See“”onpage.
2.Flashthesystemandre-test.See“Updating
(ashing)BIOSfromadisc”onpage392.
3.Goto“Undeterminedproblems”onpage64.
025-199-XXXIDEinterfacetestfailed,causeunknown1.Goto“Undeterminedproblems”onpage64.
2.Flashthesystemandre-test.See“Updating
(ashing)BIOSfromadisc”onpage392.
3.Replacecomponentunderfunctiontest.
030-000-XXXSCSIinterfaceTestPassedNoaction
030-00X-XXX030-01X-XXXSCSIinterfacefailure1.SCSIsignalcable
2.CheckAC/DCpoweradapter
3.SCSIdevice
4.SCSIadaptercard,ifinstalled
5.Systemboard
54ThinkCentreHardwareMaintenanceManual

DiagnosticErrorCodeFRU/Action
030-027-XXXSCSIinterfaceConguration/Setuperror1.SCSIsignalcable
2.Flashthesystem.See“Updating(ashing)BIOS
fromadisc”onpage392
3.SCSIdevice
4.SCSIadaptercard,ifinstalled
5.Systemboard
030-03X-XXX030-04X-XXXSCSIinterfaceerror1.SCSIsignalcable
2.CheckAC/DCpoweradapter
3.SCSIdevice
4.SCSIadaptercard,ifinstalled
5.Systemboard
030-195-XXXSCSIinterfaceTestabortedbyuserInformationonlyRestartthetest,ifnecessary.
030-196-XXXSCSIinterfacetesthalt,errorthreshold
exceeded
1.PressF3toreviewthelogle.
2.Restartthetesttoresetthelogle.
030-197-XXXSCSIinterfacetestwarning1.Makesurethecomponentthatiscalledoutis
connectedand/orenabled.See“”onpage.
2.Re-runthetest.
3.Replacethecomponentthatiscalledoutinwarning
statement.
4.Replacethecomponentundertest.
030-198-XXXSCSIinterfacetestaborted1.Ifacomponentiscalledout,makesureitis
connectedand/orenabled.See“”onpage.
2.Flashthesystemandre-test.See“Updating
(ashing)BIOSfromadisc”onpage392.
3.Goto“Undeterminedproblems”onpage64.
030-199-XXXSCSIinterfacetestfailed,causeunknown1.Goto“Undeterminedproblems”onpage64.
2.Flashthesystemandre-test.See“Updating
(ashing)BIOSfromadisc”onpage392.
3.Replacecomponentunderfunctiontest.
035-000-XXXRAIDinterfaceTestPassedNoaction
035-0XX-XXXRAIDinterfaceFailure1.RAIDsignalcable
2.RAIDdevice
3.RAIDadaptercard,ifinstalled
4.Systemboard
035-195-XXXRAIDinterfaceTestabortedbyuserInformationonlyRestartthetest,ifnecessary.
035-196-XXXRAIDinterfacetesthalt,errorthreshold
exceeded
1.PressF3toreviewthelogle.
2.Restartthetesttoresetthelogle.
035-197-XXXRAIDinterfacetestwarning1.Makesurethecomponentthatiscalledoutis
connectedand/orenabled.See“”onpage.
2.Re-runthetest.
3.Replacethecomponentthatiscalledoutinwarning
statement.
4.Replacethecomponentundertest.
Chapter7.Symptom-to-FRUindex55

DiagnosticErrorCodeFRU/Action
035-198-XXXRAIDinterfacetestaborted1.Ifacomponentiscalledout,makesureitis
connectedand/orenabled.See“”onpage.
2.Flashthesystemandre-test.See“Updating
(ashing)BIOSfromadisc”onpage392.
3.Goto“Undeterminedproblems”onpage64.
035-199-XXXRAIDinterfacetestfailed,causeunknown1.See“Undeterminedproblems”onpage64.
2.Flashthesystemandre-test.See“Updating
(ashing)BIOSfromadisc”onpage392.
3.Replacecomponentunderfunctiontest.
071-000-XXXAudioportInterfaceTestPassedNoaction
071-00X-XXX071-01X-XXX071-02X-XXXAudioport
error
1.RuntheSetupUtilityprogram.
2.Flashthesystem.See“Updating(ashing)BIOS
fromadisc”onpage392.
3.Systemboard
071-03X-XXXAudioportfailure1.Speakers
2.Microphone
3.Audiocard,ifinstalled
4.Systemboard
071-04X-XXXAudioportfailure1.RuntheSetupUtilityprogram.
2.Audiocard,ifinstalled
3.Systemboard
071-195-XXXAudioportTestabortedbyuserInformationonlyRestartthetest,ifnecessary.
071-196-XXXAudioporttesthalt,errorthreshold
exceeded
1.PressF3toreviewthelogle.
2.Restartthetesttoresetthelogle.
071-197-XXXAudioporttestwarning1.Makesurethecomponentthatiscalledoutis
connectedand/orenabled.See“”onpage.
2.Re-runthetest.
3.Replacethecomponentthatiscalledoutinwarning
statement.
4.Replacethecomponentundertest.
071-198-XXXAudioporttestaborted1.Ifacomponentiscalledout,makesureitis
connectedand/orenabled.See“”onpage.
2.Flashthesystemandre-test.See“Updating
(ashing)BIOSfromadisc”onpage392.
3.Goto“Undeterminedproblems”onpage64.
071-199-XXXAudioporttestfailed,causeunknown1.See“Undeterminedproblems”onpage64.
2.Flashthesystemandre-test.See“Updating
(ashing)BIOSfromadisc”onpage392.
3.Replacecomponentunderfunctiontest.
071-25X-XXXAudioportfailure1.Speakers
2.Audiocard,ifinstalled
3.Systemboard
080-000-XXXGamePortinterfaceTestPassedNoaction
080-XXX-XXXGamePortinterfaceError1.Removethegameportdeviceandre-testthesystem.
56ThinkCentreHardwareMaintenanceManual

DiagnosticErrorCodeFRU/Action
080-195-XXXGamePortinterfaceTestabortedbyuserInformationonlyRestartthetest,ifnecessary.
080-196-XXXGamePortinterfacetesthalt,error
thresholdexceeded
1.PressF3toreviewthelogle.
2.Restartthetesttoresetthelogle.
080-197-XXXGamePortinterfacetestwarning1.Makesurethecomponentthatiscalledoutis
connectedand/orenabled.See“”onpage.
2.Re-runthetest.
3.Replacethecomponentthatiscalledoutinwarning
statement.
4.Replacethecomponentundertest.
080-198-XXXGamePortinterfacetestaborted1.Ifacomponentiscalledout,makesureitis
connectedand/orenabled.See“”onpage.
2.Flashthesystemandre-test.See“Updating
(ashing)BIOSfromadisc”onpage392.
3.Goto“Undeterminedproblems”onpage64.
080-199-XXXGamePortinterfacetestfailed,cause
unknown
1.See“Undeterminedproblems”onpage64.
2.Flashthesystemandre-test.See“Updating
(ashing)BIOSfromadisc”onpage392.
3.Replacecomponentunderfunctiontest.
086-000-XXXMousePortinterfaceTestPassedNoaction
086-001-XXXMousePortinterfacePresence1.Mouse
2.Systemboard
086-032-XXXMousePortinterfaceDevicecontroller
failure
1.Mouse
2.Systemboard
086-035-XXXMousePortinterfaceReset1.Mouse
2.Systemboard
086-040-XXXMousePortinterfaceIRQfailure1.RuntheSetupUtilityprogram.
2.Mouse
3.Systemboard
086-195-XXXMousePortinterfaceTestabortedbyuserInformationonlyRestartthetest,ifnecessary.
086-196-XXXMousePortinterfacetesthalt,error
thresholdexceeded
1.PressF3toreviewthelogle.
2.Restartthetesttoresetthelogle.
086-197-XXXMousePortinterfacetestwarning1.Makesurethecomponentthatiscalledoutis
connectedand/orenabled.See“”onpage.
2.Re-runthetest.
3.Replacethecomponentthatiscalledoutinwarning
statement.
4.Replacethecomponentundertest.
086-198-XXXMousePortinterfacetestaborted1.Ifacomponentiscalledout,makesureitis
connectedand/orenabled.See“”onpage.
2.Flashthesystemandre-test.See“Updating
(ashing)BIOSfromadisc”onpage392.
3.Goto“Undeterminedproblems”onpage64.
Chapter7.Symptom-to-FRUindex57

DiagnosticErrorCodeFRU/Action
086-199-XXXMousePortinterfacetestfailed,cause
unknown
1.See“Undeterminedproblems”onpage64.
2.Flashthesystemandre-test.See“Updating
(ashing)BIOSfromadisc”onpage392.
3.Replacecomponentunderfunctiontest.
089-000-XXXMicroprocessorTestPassedNoaction
089-XXX-XXXMicroprocessorfailure1.Microprocessor(s)
2.Systemboard
089-195-XXXMicroprocessorTestabortedbyuserInformationonlyRestartthetest,ifnecessary.
089-196-XXXMicroprocessortesthalt,errorthreshold
exceeded
1.PressF3toreviewthelogle.
2.Restartthetesttoresetthelogle.
089-197-XXXMicroprocessortestwarning1.Makesurethecomponentthatiscalledoutis
connectedand/orenabled.See“”onpage.
2.Re-runthetest.
3.Replacethecomponentthatiscalledoutinwarning
statement.
4.Replacethecomponentundertest.
089-198-XXXMicroprocessortestaborted1.Flashthesystem.See“Updating(ashing)BIOS
fromadisc”onpage392.
2.Goto“Undeterminedproblems”onpage64.
089-199-XXXMicroprocessortestfailed,causeunknown1.See“Undeterminedproblems”onpage64.
2.Flashthesystemandre-test.See“Updating
(ashing)BIOSfromadisc”onpage392.
3.Replacecomponentunderfunctiontest.
170-000-XXXVoltageSensor(s)TestPassedNoaction
170-0XX-XXXVoltageSensor(s)failure1.Flashsystem
2.Systemboard
170-195-XXXVoltageSensor(s)TestabortedbyuserInformationonlyRestartthetest,ifnecessary.
170-196-XXXVoltageSensor(s)testhalt,errorthreshold
exceeded
1.PressF3toreviewthelogle.
2.Restartthetesttoresetthelogle.
170-197-XXXVoltageSensor(s)testwarning1.Makesurethecomponentthatiscalledoutis
connectedand/orenabled.See“”onpage.
2.Re-runthetest.
3.Replacethecomponentthatiscalledoutinwarning
statement.
4.Replacethecomponentundertest.
170-198-XXXVoltageSensor(s)testaborted1.Ifacomponentiscalledout,makesureitis
connectedand/orenabled.See“”onpage.
2.Flashthesystemandre-test.See“Updating
(ashing)BIOSfromadisc”onpage392.
3.Goto“Undeterminedproblems”onpage64.
170-199-XXXVoltageSensor(s)testfailed,cause
unknown
1.See“Undeterminedproblems”onpage64.
2.Flashthesystemandre-test.See“Updating
(ashing)BIOSfromadisc”onpage392.
3.Replacecomponentunderfunctiontest.
58ThinkCentreHardwareMaintenanceManual

DiagnosticErrorCodeFRU/Action
170-250-XXX170-251-XXXVoltageSensor(s)Voltage
limiterror
1.AC/DCpoweradapter
2.Systemboard
170-254-XXXVoltageSensor(s)VoltageRegulator
Moduleerror
1.VoltageRegulatorModule(VRM)
2.Microprocessor
3.Systemboard
175-000-XXXThermalSensor(s)TestPassedNoaction
175-0XX-XXXThermalSensor(s)failure1.Flashsystem
2.Systemboard
175-195-XXXThermalSensor(s)TestabortedbyuserInformationonlyRestartthetest,ifnecessary
175-196-XXXThermalSensor(s)testhalt,errorthreshold
exceeded
1.PressF3toreviewthelogle.
2.Restartthetesttoresetthelogle.
175-197-XXXThermalSensor(s)testwarning1.Makesurethecomponentthatiscalledoutis
connectedand/orenabled.See“”onpage.
2.Re-runtest.
3.Replacethecomponentthatiscalledoutinwarning
statement.
4.Replacethecomponentundertest.
175-198-XXXThermalSensor(s)testaborted1.Ifacomponentiscalledout,makesureitis
connectedand/orenabled.
2.Flashthesystemandre-test.See“Updating
(ashing)BIOSfromadisc”onpage392.
3.Goto“Undeterminedproblems”onpage64.
175-199-XXXThermalSensor(s)testfailed,cause
unknown
1.See“Undeterminedproblems”onpage64.
2.Flashthesystemandre-test.See“Updating
(ashing)BIOSfromadisc”onpage392.
3.Replacecomponentunderfunctiontest.
175-250-XXX175-251-XXXThermalSensor(s)limiterror1.Checkfans
2.CheckAC/DCpoweradaptervoltages.
3.Microprocessor
4.Systemboard
185-000-XXXAssetSecurityTestPassedNoaction
185-XXX-XXXAssetSecurityfailure1.Flashsystem
2.Systemboard
185-278-XXXAssetSecurityChassisIntrusion1.AssureAssetSecurityEnabled
2.C2CoverSwitch
3.Systemboard
201-000-XXXSystemMemoryTestPassedNoaction
201-XXX-XXXSystemMemoryerror1.Replacethememorymodulecalledoutbythetest
2.Systemboard
202-000-XXXSystemCacheTestPassedNoaction
Chapter7.Symptom-to-FRUindex59

DiagnosticErrorCodeFRU/Action
202-XXX-XXXSystemCacheerror1.Cache,ifremovable
2.Systemboard
3.Microprocessor
206-000-XXXDisketteDriveTestPassedNoaction
206-XXX-XXXDisketteDriveerror1.DisketteDriveCable
2.CheckAC/DCpoweradaptervoltages
3.Diskettedrive
4.Systemboard
215-000-XXXCD-ROMDriveTestPassedNoaction
215-XXX-XXXCD-ROMDriveerror1.CD-ROMDriveCable
2.CheckAC/DCpoweradaptervoltages
3.CD-ROMdrive
4.Systemboard
217-000-XXXHardDiskDriveTestPassedNoaction
217-25X-XXX217-26X-XXXHardDiskDrive(IDE)error1.HardDiskDriveCable
2.CheckAC/DCpoweradaptervoltages
3.Reseattheharddiskdrivecable
4.HardDiskdrive(IDE)
5.Systemboard
217-28X-XXX217-29X-XXXHardDiskDrive(SCSI)error1.HardDiskDriveCable
2.CheckAC/DCpoweradaptervoltages
3.Reseattheharddiskdrivecable
4.HardDiskdrive(SCSI)
5.SCSIadaptercard
6.Systemboard
220-000-XXXHi-CapacityCartridgeDriveTestPassedNoaction
220-XXX-XXXHi-CapacityCartridgeDriveerror1.RemovetheHi-CapacityCartridgeDriveandre-test
thesystem.
301-XXX-XXXKeyboarderror1.Keyboard
2.Checkandtestmouse
3.Systemboard
301-000-XXXKeyboardTestPassedNoaction
302-000-XXXMouseTestPassedNoaction
302-XXX-XXXMouseerror1.Mouse
2.CheckandtestKeyboard
3.Systemboard
303-000-XXXJoystickTestPassedNoaction
303-XXX-XXXJoystickerrorRemovetheJoystickandre-testthesystem
305-000-XXXMonitorDDCTestPassedNoaction
60ThinkCentreHardwareMaintenanceManual

DiagnosticErrorCodeFRU/Action
305-250-XXXMonitorDDCselftestfailure1.RuntheSetupUtilityprogramtoenableDDC
2.Cable
3.Monitor
4.Videocard
5.Systemboard
415-000-XXXModemTestPassedNoaction
415-XXX-XXXModemerrorRemovetheModemandre-testthesystem
Beepsymptoms
Beepsymptomsaretonesoraseriesoftonesseparatedbypauses(intervalswithoutsound)duringPOST.
Thefollowingtablesdescribesbeepsymptoms.
BeepSymptomFRU/Action
2short1longbeepsReseatthememorymodules.Iftheerrorpersists,replace
thememorymodulesoneatatimeuntilthefailingmodule
isdetermined.
4,5,6,or7beeps9,10,or11beepsBeforereplacingthesystemboard,removeanyoptional
adapters(Expresscard,Modemcard,Mediareader)and
retry.Iftheproblempersists,replacethesystemboard.
Otherwise,reinstalltheoptionaladaptersoneatatime
untilthefailingadapterisdetermined.
8beepsReplacethesystemboard.
POSTerrorcodes
Eachtimeyouturnonyourcomputer,itperformsaseriesofteststochecktheoperationofthecomputer
componentsandsomeoptionaldevicesinthecomputer.Thisseriesoftestsiscalledthepower-onself-test,
orPOST.ThePOSTdoesthefollowingoperations:
•Checkssomebasicsystemboardoperations
•Checksthememoryoperation
•Startsthevideooperation
•Veriesthatthebootdriveisworking
IfthePOSTdetectsaproblem,anerrormessageisdisplayedonthescreen.Asingleproblemcancause
severalerrormessages.Whenyoucorrectthecauseofthersterrormessage,theothererrormessages
probablywillnotbedisplayedthenexttimeyouturnonthecomputer.
Chapter7.Symptom-to-FRUindex61

ErrorcodePOSTerrormessageDescription/Action
CMOSBatteryFailureTheCMOSbatteryisnolonger
functional.
Replacethebattery.
Keyboarderrorornokeyboard
present
Cannotinitializethekeyboard.
Makesurethekeyboardiscorrectly
connectedtothecomputerandthat
nokeysareheldpressedduringthe
POST.
Topurposelycongurethecomputer
withoutakeyboard,settheerrorhalt
conditionintheSetupUtilityprogram
toHALTONALL,BUTKEYBOARD.
TheBIOSthenignoresthemissing
keyboardduringthePOST.
PressTABtoshowPOSTscreenPressingtheTABkeypermitsyou
totogglebetweenthedefaultPOST
screenandacustomPOSTdisplay
screen.
MainprocessorThemainmicroprocessorinformation
isdisplayedonthePOSTscreen.
Installedmemory:Thetotalsizeofinstalledmemory
modulesisdisplayedonthePOST
screen.
SATA0:Theharddiskdriveinformationis
displayedonthePOSTscreen.
0210StuckkeyWhenakeyiskeptpressedfora
longtime,theerrormessagewillbe
displayedduringthePOST.
0135FanfailureThesystemmightbeoverheating.
PressF10toexit.
Note:Iftheproblemiscausedbythe
microprocessorfan,pressingF10will
notsolvetheproblem.
0211KeyboardnotfoundWhenthereisnokeyboarddetected,
theerrormessagewillbedisplayed.
0164MemorysizedecreasedPressF10toexit.
1762CongurationchangehasoccurredThiserrormessageisdisplayedwhen
aharddiskdriveoropticaldrive
changehasbeenmade.
PressF10toexit.
0662CongurationchangehasoccurredThiserrormessageisdisplayedwhen
aoppydrivechangehasbeenmade.
PressF10toexit.
62ThinkCentreHardwareMaintenanceManual

ErrorcodePOSTerrormessageDescription/Action
1820Morethanoneexternalngerprint
readerisattached.Poweroffand
removeallbutthereaderthatyou
setupwithinyourmainoperating
system.
Ifmorethanoneexternalngerprint
readerisconnectedtoacomputer,
thiserrormessagewillbedisplayed
toinformyoutoremoveallofthe
ngerprintkeyboardsexceptthe
onecompatiblewiththengerprint
applicationonyourcomputer.
1962Nooperatingsystemfound.Press
anykeytorepeatbootsequence.
ThiserroroccursonlyafterthePOST
iscompleted.
Pressanykeytorepeatboot
sequence.
Miscellaneouserrormessages
Message/SymptomFRU/Action
ChangingdisplaycolorsDisplay/Monitor
Computerwillnotpower-off.See“Harddiskdriveboot
error”onpage45.
1.PowerSwitch
2.SystemBoard
3.Risercard,ifinstalled
ComputerwillnotPXEfromserver1.Ensurethatnetworkisinstartupsequenceasrst
deviceorrstdeviceafterdiskette
2.EnsurethatnetworkadapterisenabledforPXE
3.Networkadapter(Advisenetworkadministratorof
newMACaddress)
ComputerwillnotperformaWakeonLAN®(ifapplicable)1.Checkpowersupplyandsignalcableconnections
tonetworkadapter.
2.Ensurethattheoperatingsystemsettingsaresetto
enableWakeonLAN.
3.EnsureWakeonLANfeatureisenabledin
Setup/Conguration(see“StartingtheSetupUtility
program”onpage41)
4.EnsurenetworkadministratorisusingcorrectMAC
address.
5.EnsurenointerruptorI/Oaddressconicts.
6.Networkadapter(advisenetworkadministratorof
newMACaddress)
Deadcomputer.See“Harddiskdrivebooterror”onpage
45.
1.AC/DCPowerAdapter
2.SystemBoard
Diskettedrivein-uselightremainsonordoesnotlight
whendriveisactive.
1.DisketteDrive
2.SystemBoard
3.DisketteDriveCable
Flashingcursorwithanotherwiseblankdisplay.1.SystemBoard
2.PrimaryHardDiskDrive
3.HardDiskDriveCable
Chapter7.Symptom-to-FRUindex63

Message/SymptomFRU/Action
IncorrectmemorysizeduringPOST1.RuntheMemorytests
2.MemoryModule
3.SystemBoard
"InsertaDiskette"iconappearswithaknown-good
diagnosticsdisketteintherst3.5-inchdiskettedrive.
1.SystemBoard
2.DisketteDriveCable
3.NetworkAdapter
Intensityorcolorvariesfromlefttorightofcharacters
andcolorbars
1.Display
2.Videoadapter(ifpresent)
3.SystemBoard
NopowerorfannotrunningSee“Harddiskdrivebooterror”onpage45.
Non-systemdiskordiskerror-typemessagewitha
known-gooddiagnosticdiskette.
1.DisketteDrive
2.SystemBoard
3.DisketteDriveCable
Otherdisplaysymptomsnotlistedabove(includingblank
orillegibledisplay)
1.Display
2.SystemBoard
Power-onindicatororharddiskdrivein-uselightnoton,
butcomputerworkscorrectly
1.Powerswitch/LEDassembly
2.SystemBoard
Printerproblems1.Printer
2.SystemBoard
Programloadsfromtheharddiskwithaknown-good
diagnosticsdisketteintherst3.5-inchdiskettedrive
1.RuntheSetupandUtilityprogramandcheckStartup
sequence.
2.DisketteDrive
3.DisketteDriveCable
4.SystemBoard
5.AC/DCpoweradapter
PXEcomputercannotaccessprogramsfromitsownhard
disk.
Replacetheharddiskdrive
PXEcomputerdoesnotPXEfromserver1.Checkstartupsequence
2.CheckthenetworkadapterLEDstatus
Someorallkeysonthekeyboarddonotwork1.Keyboard
2.KeyboardCable
3.SystemBoard
Undeterminedproblems
Ifyouencounterundeterminedproblems,dothefollowing:
1.Turnoffthecomputerandthepower.
2.Removeordisconnectthefollowingcomponents(ifinstalled)oneatatime.
a.Externaldevices(modem,printer,ormouse)
b.Anyadaptercards
c.Memorymodules
d.Extendedvideomemory
64ThinkCentreHardwareMaintenanceManual

e.ExternalCache
f.ExternalCacheRAM
g.Harddiskdrive
h.Diskettedrive
3.Turnonthepowerandthecomputertore-testthesystem.
4.Repeatsteps1through3untilyoundthefailingdeviceoradaptercards.
Ifalldevicesandadaptercardshavebeenremoved,andtheproblemcontinues,replacethesystemboard.
See“”onpage.
Chapter7.Symptom-to-FRUindex65

66ThinkCentreHardwareMaintenanceManual

Chapter8.ReplacingFRUs(MachineTypes:3029,3054,3139,
3219,3246,3282,3349,3421,3544,3652,3769,3934,4992,5206,
5267,5325,5384,5450,5474,5498,5554,5852,6232,and6590.)
Important
BesuretoreadandunderstandChapter2“Safetyinformation”onpage3beforeyoureplaceanyFRU.
Theseprecautionsandguidelineswillhelpyouworksafely.
FRUreplacementsaretobedoneonlybytrainedservicetechnicians.
ThischapterdoesnotcontaintheremoveorreplaceprocedureforallFRUs.OnlythemajorFRUsare
documented.
Locatingconnectorsonthefrontofthecomputer
Thefollowingillustrationshowsthelocationoftheconnectorsonthefrontofyourcomputer.
Note:Notallcomputermodelswillhavethefollowingconnectors.
Figure1.Frontconnectorlocations
1USBconnector3Microphoneconnector
2Headphoneconnector4USBconnector
©CopyrightLenovo2010,201367

Locatingconnectorsontherearofthecomputer
Thefollowingillustrationshowsthelocationsoftheconnectorsontherearofthecomputer.
Figure2.Rearconnectorlocations
1Voltage-selectionswitch(somemodels)9Microphoneconnector
2Powercordconnector10Audioline-outconnector
3Serialport11Audioline-inconnector
4PS/2keyboardandmouseconnectors
(optional)
12PCIExpressx16graphicscardslot
5VGAmonitorconnector(notapplicableon
somemodels)
13PCIExpressx1cardslot
6DisplayPortconnector(notapplicableon
somemodels)
14PCIcardslots(2)
7USBconnectors(6)15Optionalserialport
8Ethernetconnector
Removingthecomputercover
Attention
Donotopenyourcomputerorattemptanyrepairbeforereadingandunderstandingthe“Importantsafety
information”intheThinkCentreSafetyandWarrantyGuidethatcamewithyourcomputer.Toobtainacopy
oftheThinkCentreSafetyandWarrantyGuide,goto:http://www.lenovo.com/support
68ThinkCentreHardwareMaintenanceManual

Thissectionprovidesinstructionsonhowtoremovethecomputercover.
CAUTION:
Turnoffthecomputerandwaitthreetoveminutestoletthecomputercoolbefore
removingthecomputercover.
Toremovethecomputercover,dothefollowing:
1.Removeanymediafromthedrivesandturnoffallattacheddevicesandthecomputer.
2.Disconnectallpowercordsfromelectricaloutlets.
3.Disconnectthepowercords,Input/Output(I/O)cables,andanyothercablesthatareconnectedto
thecomputer.See“Locatingconnectorsonthefrontofthecomputer”onpage67and“Locating
connectorsontherearofthecomputer”onpage68.
4.Removeanylockingdevicethatsecuresthecomputercover,suchasapadlockoranintegrated
cablelock.
5.Removeanythumbscrewsthatsecurethecomputercover.
6.Pressthecover-releasebuttononthesideofthecomputerandslidethecovertotherearofthe
computertoremovethecover.
Figure3.Removingthecomputercover
Locatingcomponents
Thefollowingillustrationshowsthemajorpartsinthecomputer.
Chapter8.ReplacingFRUs(MachineTypes:3029,3054,3139,3219,3246,3282,3349,3421,3544,3652,3769,3934,
4992,5206,5267,5325,5384,5450,5474,5498,5554,5852,6232,and6590.)69

Figure4.Componentlocations
1Heatsinkandheatsinkfanassembly6Harddiskdrive
2Microprocessor7Systemboard
3Memorymodules8Coverpresenceswitch(alsocalledintrusionswitch)
4Opticaldrive9Rearsystemfan
5Frontbezelassembly10Powersupply
Locatingpartsonthesystemboard
Figure5“Systemboardpartslocations”onpage71showsthelocationofpartsonthesystemboard.
70ThinkCentreHardwareMaintenanceManual

Figure5.Systemboardpartslocations
14-pinpowerconnector15Frontpanelconnector
2Microprocessor16ClearCMOS(ComplementaryMetalOxideSemiconductor)
/Recoveryjumper
3Microprocessorfanconnector17FrontUSBconnectors(2)
4Memoryslot218Serial(COM2)connector
5Memoryslot119Frontaudioconnector
6Memoryslot420Internalspeakerconnector
7Memoryslot321PCIcardslots(2)
8Thermalsensorconnector22PCIExpressx1cardslot
924-pinpowerconnector23PCIExpressx16graphicscardslot
10Diskettedriveconnector24Systemfanconnector
11Parallelconnector25Coverpresenceswitchconnector(Intrusionswitch
connector)
12SATAconnectors(3)26Battery
13eSATAconnector27PS/2keyboardandmouseconnector
14Powerfanconnector
Chapter8.ReplacingFRUs(MachineTypes:3029,3054,3139,3219,3246,3282,3349,3421,3544,3652,3769,3934,
4992,5206,5267,5325,5384,5450,5474,5498,5554,5852,6232,and6590.)71

Removingandreinstallingthefrontbezel
Attention
Donotopenyourcomputerorattemptanyrepairbeforereadingandunderstandingthe“Importantsafety
information”intheThinkCentreSafetyandWarrantyGuidethatcamewithyourcomputer.Toobtainacopy
oftheThinkCentreSafetyandWarrantyGuide,goto:
http://www.lenovo.com/support
Thissectionprovidesinstructionsonhowtoremoveandreinstallthefrontbezel.
Toremoveandreinstallthefrontbezel,dothefollowing:
1.Turnoffthecomputeranddisconnectallpowercordsfromelectricaloutlets.
2.Removethecomputercover.See“Removingthecomputercover”onpage68.
3.Removethefrontbezelbyreleasingthethreeplastictabsontheleftsideandpivotingthefrontbezel
outward.
Figure6.Removingthefrontbezel
4.Toreinstallthefrontbezel,alignthethreeplastictabsontherightsideofthefrontbezelwiththe
correspondingholesinthechassis,thenpivotthefrontbezelinwardsuntilitsnapsintopositionon
theleftside.
5.Tocompletetheinstallation,goto“Completingthepartsreplacement”onpage98.
72ThinkCentreHardwareMaintenanceManual

Replacingamemorymodule
Attention
Donotopenyourcomputerorattemptanyrepairbeforereadingandunderstandingthe“Importantsafety
information”intheThinkCentreSafetyandWarrantyGuidethatcamewithyourcomputer.Toobtainacopy
oftheThinkCentreSafetyandWarrantyGuide,goto:
http://www.lenovo.com/support
Thissectionprovidesinstructionsonhowtoinstallorreplaceamemorymodule.
YourcomputerhasfourslotsforinstallingorreplacingDDR3DIMMsthatprovideuptoamaximumof16GB
systemmemory.Wheninstallingorreplacingamemorymodule,usethefollowingguidelines:
•Use1GB,2GB,or4GBDDR3DIMMsinanycombinationuptoamaximumof16GB.
•InstallmemorymodulesinthesequenceofDIMM1,DIMM3,DIMM2,andDIMM4.See“Locating
partsonthesystemboard”onpage70.
Toinstallorreplaceamemorymodule,dothefollowing:
1.Turnoffthecomputeranddisconnectallpowercordsfromelectricaloutlets.
2.Removethecomputercover.See“Removingthecomputercover”onpage68.
3.Locatethememoryslots.See“Locatingpartsonthesystemboard”onpage70.
4.Removeanypartsthatmightpreventyouraccesstothememoryslots.Dependingonyourcomputer
model,youmightneedtoremovethePCIExpressx16graphicscardforeasieraccesstothememory
slots.
5.Opentheretainingclips.
Figure7.Openingtheretainingclips
Ifyouarereplacinganoldmemorymodule,opentheretainingclipsandgentlypullthememorymodule
outofthememoryslot.
Chapter8.ReplacingFRUs(MachineTypes:3029,3054,3139,3219,3246,3282,3349,3421,3544,3652,3769,3934,
4992,5206,5267,5325,5384,5450,5474,5498,5554,5852,6232,and6590.)73

Figure8.Removingamemorymodule
6.Positionthenewmemorymoduleoverthememoryslot.Makesurethatthenotch1onthememory
modulealignscorrectlywiththeslotkey2onthesystemboard.Pushthememorymodulestraight
downintotheslotuntiltheretainingclipsclose.
Figure9.Installingamemorymodule
7.ReinstallthePCIExpressx16graphicscardifyouhaveremovedit.
8.Goto“Completingthepartsreplacement”onpage98.
Replacingthepowersupplyassembly
Attention
Donotopenyourcomputerorattemptanyrepairbeforereadingandunderstandingthe“Importantsafety
information”intheThinkCentreSafetyandWarrantyGuidethatcamewithyourcomputer.Toobtainacopy
oftheThinkCentreSafetyandWarrantyGuide,goto:
http://www.lenovo.com/support
Thissectionprovidesinstructionsonhowtoreplacethepowersupplyassembly.
Toreplacethepowersupplyassembly,dothefollowing:
1.Turnoffthecomputeranddisconnectallpowercordsfromelectricaloutlets.
2.Removethecomputercover.See“Removingthecomputercover”onpage68.
74ThinkCentreHardwareMaintenanceManual

3.Disconnectthepowersupplyassemblycablesfromthesystemboardandalldrives.See“Locating
partsonthesystemboard”onpage70.
4.Releasethepowersupplyassemblycablesfromthecableclipsandtiesinthechassis.
5.Laythecomputeronitssideandremovethefourscrewsattherearofthechassisthatsecurethe
powersupplyassembly.
Figure10.Removingthescrewsforthepowersupplyassembly
6.Slidethepowersupplyassemblytothefrontofthecomputerandthenliftitoutofthechassis.
7.Ensurethatthenewpowersupplyassemblyisthecorrectreplacement.Ifyournewpowersupply
assemblyhasavoltage-selectionswitch,ensurethatyousetthevoltage-selectionswitchtomatchthe
voltageavailableatyourelectricaloutlet.Ifnecessary,useaballpointpentoslidethevoltage-selection
switchtoadifferentposition.
•Ifthevoltagesupplyrangeinyourlocalcountryorregionis100–127Vac,settheswitchto115V.
•Ifthevoltagesupplyrangeinyourlocalcountryorregionis200–240Vac,settheswitchto230V.
8.Installthenewpowersupplyassemblyintothechassissothatthescrewholesinthepowersupply
assemblyalignwiththoseinthechassis.
9.Installandtightenthefourscrewstosecurethepowersupplyassembly.
Note:UseonlyscrewsprovidedbyLenovo.
10.Reconnectthepowersupplyassemblycablestothesystemboardandeachofthedrives.
11.Securethepowersupplyassemblycableswiththecableclipsandtiesinthechassis.
12.Goto“Completingthepartsreplacement”onpage98.
Replacingtheheatsinkandfanassembly
Attention
Donotopenyourcomputerorattemptanyrepairbeforereadingandunderstandingthe“Importantsafety
information”intheThinkCentreSafetyandWarrantyGuidethatcamewithyourcomputer.Toobtainacopy
Chapter8.ReplacingFRUs(MachineTypes:3029,3054,3139,3219,3246,3282,3349,3421,3544,3652,3769,3934,
4992,5206,5267,5325,5384,5450,5474,5498,5554,5852,6232,and6590.)75

oftheThinkCentreSafetyandWarrantyGuide,goto:
http://www.lenovo.com/support
Thissectionprovidesinstructionsonhowtoreplacetheheatsinkandfanassembly.
CAUTION:
Theheatsinkandfanassemblymightbeveryhot.Turnoffthecomputerandwaitthree
toveminutestoletthecomputercoolbeforeremovingthecomputercover.
Toreplacetheheatsinkandfanassembly,dothefollowing:
1.Turnoffthecomputeranddisconnectallpowercordsfromelectricaloutlets.
2.Removethecomputercover.See“Removingthecomputercover”onpage68.
3.Laythecomputeronitssideforeasieraccesstothesystemboard.
4.Locatetheheatsinkandfanassembly.See“Locatingpartsonthesystemboard”onpage70.
5.Disconnecttheheatsinkandfanassemblycablefromthemicroprocessorfanconnectoronthesystem
board.See“Locatingpartsonthesystemboard”onpage70.
6.Carefullyremovethefourscrews1thatsecuretheheatsinkandfanassemblytothesystemboard.
Note:Carefullyremovethefourscrewsfromthesystemboardtoavoidanypossibledamagetothe
systemboard.Thefourscrewscannotberemovedfromtheheatsinkandfanassembly.
Figure11.Removingtheheatsinkandfanassembly
7.Liftthefailingheatsinkandfanassemblyoffthesystemboard.
Notes:
a.Youmighthavetogentlytwisttheheatsinkandfanassemblytofreeitfromthemicroprocessor.
b.Donottouchthethermalgreasewhilehandlingtheheatsinkandfanassembly.
76ThinkCentreHardwareMaintenanceManual

8.Positionthenewheatsinkandfanassemblyonthesystemboardsothatthefourscrewsarealigned
withtheholesonthesystemboard.
Note:Positionthenewheatsinkandfanassemblysothattheheatsinkandfanassemblycableis
towardthemicroprocessorfanconnectoronthesystemboard.
9.Alternatetighteningeachscrewasmallandequalamountuntiltheheatsinkandfanassemblyis
securedtothesystemboard.Donotover-tightenthescrews.
10.Connecttheheatsinkandfanassemblycabletothemicroprocessorfanconnectoronthesystem
board.See“Locatingpartsonthesystemboard”onpage70.
11.Goto“Completingthepartsreplacement”onpage98.
Replacingthemicroprocessor
Attention
Donotopenyourcomputerorattemptanyrepairbeforereadingandunderstandingthe“Importantsafety
information”intheThinkStationSafetyandWarrantyGuidethatcamewithyourcomputer.Toobtainacopy
oftheThinkStationSafetyandWarrantyGuide,goto:
http://www.lenovo.com/support
Thissectionprovidesinstructionsonhowtoreplacethemicroprocessor.
CAUTION:
Theheatsinkandmicroprocessormightbeveryhot.Turnoffthecomputerandwait
threetoveminutestoletthecomputercoolbeforeremovingthecomputercover.
Toreplacethemicroprocessor,dothefollowing:
1.Removeallmediafromthedrivesandturnoffallattacheddevicesandthecomputer.Then,disconnect
allpowercordsfromelectricaloutletsanddisconnectallcablesthatareconnectedtothecomputer.
2.Removethecomputercover.See“Removingthecomputercover”onpage68.
3.Laythecomputeronitssidetogeteasieraccesstothesystemboard.
4.Removetheheatsinkandfanassemblyfromthesystemboard.See“Replacingtheheatsinkand
fanassembly”onpage75.
5.Liftthesmallhandle1andopentheretainer2toaccessthemicroprocessor3.
Chapter8.ReplacingFRUs(MachineTypes:3029,3054,3139,3219,3246,3282,3349,3421,3544,3652,3769,3934,
4992,5206,5267,5325,5384,5450,5474,5498,5554,5852,6232,and6590.)77

6.Liftthemicroprocessorstraightupandoutofthesocket.
Notes:
a.Yourmicroprocessorandsocketmightlookdifferentfromtheoneillustrated.
b.Notetheorientationofthemicroprocessorinthesocket.Youcaneitherlookforthesmalltriangle1
ononecornerofthemicroprocessorornotetheorientationofthenotches2onthemicroprocessor.
Thisisimportantwheninstallingthenewmicroprocessoronthesystemboard.
c.Touchonlythesidesofthemicroprocessor.Donottouchthegoldcontactsonthebottom.
d.Donotdropanythingontothemicroprocessorsocketwhileitisexposed.Thesocketpinsmustbe
keptascleanaspossible.
78ThinkCentreHardwareMaintenanceManual

Figure12.Removingthemicroprocessor
7.Makesurethatthesmallhandleisintheraisedpositionandthemicroprocessorretainerisfullyopen.
8.Holdthenewmicroprocessorandalignthenotchesonitwiththealignmentkeysinthemicroprocessor
socket,oralignthesmalltriangleononecornerofthenewmicroprocessorwiththecorresponding
beveledcornerofthemicroprocessorsocket.
9.Lowerthenewmicroprocessorstraightdownintothemicroprocessorsocketonthesystemboard.
10.Closethemicroprocessorretainerandlockitintopositionwiththesmallhandletosecurethenew
microprocessorinthesocket.
11.Reinstalltheheatsinkandfanassembly.See“Replacingtheheatsinkandfanassembly”onpage75.
12.Reinstallanyotherpartsorreconnectanyothercablesyouremoved.
13.Goto“Completingthepartsreplacement”onpage98.
Replacingthesystemboard
Attention
Donotopenyourcomputerorattemptanyrepairbeforereadingandunderstandingthe“Importantsafety
information”intheThinkCentreSafetyandWarrantyGuidethatcamewithyourcomputer.Toobtainacopy
oftheThinkCentreSafetyandWarrantyGuide,goto:
http://www.lenovo.com/support
Thissectionprovidesinstructionsonhowtoreplacethesystemboard.
CAUTION:
Theheatsinkandmicroprocessormightbeveryhot.Turnoffthecomputerandwait
threetoveminutestoletthecomputercoolbeforeremovingthecomputercover.
Toreplacethesystemboard:
1.Removethecomputercover.See“Removingthecomputercover”onpage68.
2.Placethecomputerontherightsidetomakethesystemboardmoreaccessible.
3.Removeanyadaptercardsinstalled.
4.Disconnectthesignalandpowercablesfromtheharddiskdrive.
5.Removetheharddiskdrivefromthecomputertogainaccesstothesystemboard.See“Replacingthe
primaryharddiskdrive”onpage85.
Chapter8.ReplacingFRUs(MachineTypes:3029,3054,3139,3219,3246,3282,3349,3421,3544,3652,3769,3934,
4992,5206,5267,5325,5384,5450,5474,5498,5554,5852,6232,and6590.)79

6.Carefullytakenoteofthelocationofallcableconnectionsonthesystemboardanddisconnectall
cables.See“Locatingpartsonthesystemboard”onpage70.
7.Removethescrewsthatsecurethesystemboardtothechassis.
8.Liftthesystemboardoutofthechassis.
9.Removethememorymodulesfromthefailingsystemboardandinstalltheminthesamelocationonthe
newsystemboard.See“Replacingamemorymodule”onpage73.
10.Removetheheatsinkandfanassemblyfromthefailingsystemboard.See“Replacingtheheatsinkand
fanassembly”onpage75.
11.Removetheretentionmodulefromtherearofthefailingsystemboardandinstallitinthesameposition
onthenewsystemboard.
12.Removethemicroprocessorfromthefailingsystemboardandinstallitonthenewsystemboard.
See“Replacingthemicroprocessor”onpage77.
13.Reinstalltheheatsinkandfanassembly.See“Replacingtheheatsinkandfanassembly”onpage75.
Andconnecttheheatsinkandfanassemblycabletothesystemboard.See“Replacingtheheat
sinkandfanassembly”onpage75.
14.Installthenewsystemboardintothechassisandalignthescrewholeswiththoseinthechassis.Insert
andtightenthescrewsthatsecurethesystemboard.
15.Reinstalltheharddiskdrivebackintoposition.See“Replacingtheprimaryharddiskdrive”onpage85.
16.Reconnectthepowerandsignalcablestotheharddiskdrive.
17.Reconnectallremainingcablestothesystemboard.See“Locatingpartsonthesystemboard”
onpage70.
18.Goto“Completingthepartsreplacement”onpage98.
Thefailingsystemboardmustbereturnedwithamicroprocessorsocketcovertoprotectthepinsduring
shippingandhandling.
Toinstallthemicroprocessorsocketcover,dothefollowing:
1.Releasetheleversecuringthemicroprocessorretainerandopentheretainertoaccessthe
microprocessor.
2.Graspthemicroprocessoronthesidesandliftitstraightupandoutofthesocket.Donottouchthe
contactsonthemicroprocessorsocket.
3.Notetheorientationofthesocketcover.Alignthenotches1ofthemicroprocessorsocketcoverwith
thealignmentkeys2ofthemicroprocessorsocket.
4.Installonesideofthesocketcoverintothemicroprocessorsocketasshown.
80ThinkCentreHardwareMaintenanceManual

Figure13.Installingthesocketcover
Note:Yourmicroprocessorsocketandcovermightlookslightlydifferentfromtheillustration.
5.Carefullypresstheothersideofthesocketcoverdownwardsuntilthesocketcoversnapsintoplace.
Figure14.Securingthesocketcover
6.Carefullycheckthefourcornersofthesocketcovertomakesurethatthecoverissecuredinthe
microprocessorsocket.
7.Lowerthemicroprocessorretainerandthenlowerthelevertosecuretheretainer.Makesurethe
leverislockedintoposition.
8.Followanyadditionalinstructionsincludedwiththereplacementpartyoureceived.
Note:Ifyoursystemboardhastwomicroprocessorsockets,besuretoinstallasocketcoverforeach
microprocessorsocket.
Replacingthebattery
Attention
Donotopenyourcomputerorattemptanyrepairbeforereadingandunderstandingthe“Importantsafety
information”intheThinkCentreSafetyandWarrantyGuidethatcamewithyourcomputer.Toobtainacopy
Chapter8.ReplacingFRUs(MachineTypes:3029,3054,3139,3219,3246,3282,3349,3421,3544,3652,3769,3934,
4992,5206,5267,5325,5384,5450,5474,5498,5554,5852,6232,and6590.)81

oftheThinkCentreSafetyandWarrantyGuide,goto:
http://www.lenovo.com/support
Yourcomputerhasaspecialtypeofmemorythatmaintainsthedate,time,andsettingsforbuilt-infeatures,
suchasparallel-portassignments(conguration).Abatterykeepsthisinformationactivewhenyouturn
offthecomputer.
Thebatterynormallyrequiresnochargingormaintenancethroughoutitslife;however,nobatterylasts
forever.Ifthebatteryfails,thedate,time,andcongurationinformation(includingpasswords)arelost.An
errormessageisdisplayedwhenyouturnonthecomputer.
Refertothe“Lithiumbatterynotice”intheThinkCentreSafetyandWarrantyGuideforinformationabout
replacinganddisposingofthebattery.
Toreplacethebattery,dothefollowing:
1.Turnoffthecomputeranddisconnectallpowercordsfromelectricaloutlets.
2.Removethecomputercover.See“Removingthecomputercover”onpage68.
3.Locatethebattery.See“Locatingpartsonthesystemboard”onpage70.
4.Removetheoldbattery.
Figure15.Removingtheoldbattery
5.Installanewbattery.
Figure16.Installinganewbattery
6.Reinstallthecomputercoverandconnectthecables.See“Completingthepartsreplacement”on
page98.
Note:Whenthecomputeristurnedonforthersttimeafterreplacingthebattery,anerrormessage
mightbedisplayed.Thisisnormalafterreplacingthebattery.
7.Turnonthecomputerandallattacheddevices.
8.UsetheSetupUtilityprogramtosetthedate,time,andanypasswords.SeeChapter6“UsingtheSetup
Utilityprogram”onpage41.
9.Goto“Completingthepartsreplacement”onpage98.
82ThinkCentreHardwareMaintenanceManual

ReplacingaPCIcard
Attention
Donotopenyourcomputerorattemptanyrepairbeforereadingandunderstandingthe“Importantsafety
information”intheThinkCentreSafetyandWarrantyGuidethatcamewithyourcomputer.Toobtainacopy
oftheThinkCentreSafetyandWarrantyGuide,goto:
http://www.lenovo.com/support
ThissectionprovidesinstructionsonhowtoinstallorreplaceaPCIcard.Yourcomputerhastwostandard
PCIcardslots,onePCIExpressx1cardslot,andonePCIExpressx16graphicscardslot.
ToinstallorreplaceaPCIcard,dothefollowing:
1.Turnoffthecomputeranddisconnectallpowercordsfromelectricaloutlets.
2.Removethecomputercover.See“Removingthecomputercover”onpage68.
3.Attherearofthecomputer,pressthereleasebutton1toopenthecardlatch2.
Figure17.OpeningthePCIcardlatch
4.IfyouareinstallingaPCIcard,removetheappropriatemetalslotcover.IfyouarereplacinganoldPCI
card,grasptheoldcardthatiscurrentlyinstalledandgentlypullitoutoftheslot.
Chapter8.ReplacingFRUs(MachineTypes:3029,3054,3139,3219,3246,3282,3349,3421,3544,3652,3769,3934,
4992,5206,5267,5325,5384,5450,5474,5498,5554,5852,6232,and6590.)83

Figure18.RemovingaPCIcard
Notes:
a.Thecardtstightlyintothecardslot.Ifnecessary,alternatemovingeachsideofthecardasmall
amountuntilitisremovedfromthecardslot.
b.Ifthecardisheldinplacebyaretaininglatch,pressthecardretaininglatch1asshownto
disengagethelatch.Graspthecardandthengentlypullitoutoftheslot.
5.RemovethenewPCIcardfromitsstatic-protectivepackage.
6.Installthenewcardintotheappropriateslotonthesystemboard.See“Locatingpartsonthesystem
board”onpage104.
Note:IfyouareinstallingaPCIExpressx16graphicscard,makesurethememoryslotretainingclips
areclosedbeforeyouinstallthegraphicscard.
7.PivotthecardlatchtotheclosedpositiontosecurethePCIcard.
84ThinkCentreHardwareMaintenanceManual

Figure19.InstallingaPCIcard
8.Goto“Completingthepartsreplacement”onpage98.
Replacingtheprimaryharddiskdrive
Attention
Donotopenyourcomputerorattemptanyrepairbeforereadingandunderstandingthe“Importantsafety
information”intheThinkCentreSafetyandWarrantyGuidethatcamewithyourcomputer.Toobtainacopy
oftheThinkCentreSafetyandWarrantyGuide,goto:
http://www.lenovo.com/support
Thissectionprovidesinstructionsonhowtoreplacetheprimaryharddiskdriveifyourcomputerhasone.
Forcomputermodelsthatdonothaveaninternalharddiskdriveandusearemoteharddiskdriveaccessed
throughtheSMC-StorageArray,contactyournetworkorstorageadministrator.
Toreplacetheprimaryharddiskdrive,dothefollowing:
1.Turnoffthecomputeranddisconnectallpowercordsfromelectricaloutlets.
2.Removethecomputercover.See“Removingthecomputercover”onpage68.
3.Locatetheprimaryharddiskdrive.See“Locatingcomponents”onpage69.
4.Disconnectthesignalcableandthepowercablefromtheharddiskdrive.
5.Pressthebluereleasetab1down,slidetheharddiskdrivecage2totherearofthecomputer,and
thenpivotitoutward.
Chapter8.ReplacingFRUs(MachineTypes:3029,3054,3139,3219,3246,3282,3349,3421,3544,3652,3769,3934,
4992,5206,5267,5325,5384,5450,5474,5498,5554,5852,6232,and6590.)85

Figure20.Removingtheprimaryharddiskdrive
6.Removetheharddiskdrivecagefromthechassisbyslidingitoutward.
7.Pullonthebluehandle3toreleaseandremovetheharddiskdrivefromthedrivecage.
8.Flexthesidesofthebluebrackettoremovetheharddiskdrivefromthebracket.
9.Toinstallanewharddiskdriveintothebluebracket,exthebracketandalignpin1,pin2,pin3,
andpin4onthebracketwiththecorrespondingholesintheharddiskdrive.Donottouchthecircuit
board5onthebottomoftheharddiskdrive.
Figure21.Installingtheharddiskdriveintothebracket
10.Slidethenewharddiskdriveintothedrivecageuntilitsnapsintoposition.
11.Alignthedrivecagepivotpinwiththeslot1intheupperdrivecageandslidetheharddiskdrive
cageintothechassis.
12.Connectthesignalcableandthepowercabletothenewharddiskdrive.
13.Pressdownonthemetallatch2andpivotthedrivecageintoplace,andthenslideittothefrontofthe
computeruntilitsnapsintoposition.
86ThinkCentreHardwareMaintenanceManual

Note:Therearetwoarrows,oneontheupperdrivecageandoneontheharddiskdrivecage.The
arrowsarealignedwhentheharddiskdriveisintheproperposition.
Figure22.Installingtheprimaryharddiskdrive
14.Goto“Completingthepartsreplacement”onpage98.
Replacingthesecondaryharddiskdrive
Attention
Donotopenyourcomputerorattemptanyrepairbeforereadingandunderstandingthe“Importantsafety
information”intheThinkCentreSafetyandWarrantyGuidethatcamewithyourcomputer.Toobtainacopy
oftheThinkCentreSafetyandWarrantyGuide,goto:
http://www.lenovo.com/support
Note:Dependingonyourmodeltype,yourcomputermightcomewithasecondaryharddiskdrivebay
forinstallingorreplacingasecondaryharddiskdrive.Forcomputermodelsthatdonothaveaninternal
harddiskdriveandusearemoteharddiskdriveaccessedthroughtheSMC-StorageArray,contact
yournetworkorstorageadministrator.
Thissectionprovidesinstructionsonhowtoreplacethesecondaryharddiskdrive.
Toreplacethesecondaryharddiskdrive,dothefollowing:
1.Turnoffthecomputeranddisconnectallpowercordsfromelectricaloutlets.
2.Removethecomputercover.See“Removingthecomputercover”onpage68.
3.Locatethesecondaryharddiskdrive.
4.Disconnectthesignalcableandthepowercablefromtheharddiskdrive.
5.Pressthebluereleasebuttontoreleasetheharddiskdrivecagefromthechassis.
Chapter8.ReplacingFRUs(MachineTypes:3029,3054,3139,3219,3246,3282,3349,3421,3544,3652,3769,3934,
4992,5206,5267,5325,5384,5450,5474,5498,5554,5852,6232,and6590.)87

Figure23.Removingthesecondaryharddiskdrive
6.Removetheharddiskdrivecagefromthechassisbysimplyslidingitoutward.
7.Pullonthebluehandletoreleaseandremovetheharddiskdrivefromtheharddiskdrivecage.
8.Flexthesidesofthebluebrackettoremovetheharddiskdrivefromthebracket.
9.Toinstallanewharddiskdriveintothebluebracket,exthebracketandalignpin1,pin2,pin3,
andpin4onthebracketwiththecorrespondingholesintheharddiskdrive.Donottouchthecircuit
board5onthebottomoftheharddiskdrive.
Figure24.Installingtheharddiskdriveintothebracket
10.Slidethenewharddiskdriveintotheharddiskdrivecageuntilitsnapsintoposition.
11.Installtheharddiskdrivecageintothechassisuntilitsnapsintopositionunderneaththemetaltab.
Makesurethattheharddiskdrivecagereleasebuttonissecuredinthechassis.
88ThinkCentreHardwareMaintenanceManual

Figure25.Installingthesecondaryharddiskdrive
12.Connectthesignalcableandthepowercabletothenewharddiskdrive.
13.Goto“Completingthepartsreplacement”onpage98.
Replacingtheopticaldrive
Attention
Donotopenyourcomputerorattemptanyrepairbeforereadingandunderstandingthe“Importantsafety
information”intheThinkCentreSafetyandWarrantyGuidethatcamewithyourcomputer.Toobtainacopy
oftheThinkCentreSafetyandWarrantyGuide,goto:
http://www.lenovo.com/support
Thissectionprovidesinstructionsonhowtoinstallorreplacetheopticaldrive.
Toinstallorreplaceanopticaldrive,dothefollowing:
1.Turnoffthecomputeranddisconnectallpowercordsfromelectricaloutlets.
2.Removethecomputercover.See“Removingthecomputercover”onpage68.
3.Removethefrontbezel.See“Removingandreinstallingthefrontbezel”onpage72.
4.Dependingonwhetheryouareinstallingorreplacinganopticaldrive,dooneofthefollowing:
•Ifyouareinstallingasecondaryopticaldrive,removetheplasticpanelinthefrontbezelforthe
drivebayyouwanttouse.Ifthereisametalstaticshieldinstalledinthedrivebay,removethe
metalstaticshield.
•Ifyouarereplacinganopticaldrive,disconnectthesignalcableandthepowercablefromtherear
oftheopticaldrive,pressthebluereleasebutton,andthenslidetheopticaldriveoutofthefront
ofthecomputer.
Chapter8.ReplacingFRUs(MachineTypes:3029,3054,3139,3219,3246,3282,3349,3421,3544,3652,3769,3934,
4992,5206,5267,5325,5384,5450,5474,5498,5554,5852,6232,and6590.)89

Figure26.Removingtheopticaldrive
5.Installtheopticaldriveretaineronthesideofthenewopticaldrive.
Figure27.Installingtheopticaldriveretainer
6.Slidethenewopticaldriveintothedrivebayfromthefrontofthecomputeruntiltheopticaldrive
snapsintoposition.
90ThinkCentreHardwareMaintenanceManual

Figure28.Installingtheopticaldrive
7.Connectthesignalcableandthepowercabletothenewopticaldrive.
Figure29.Connectingtheopticaldrive
8.Reinstallthefrontbezel.See“Removingandreinstallingthefrontbezel”onpage72.
9.Goto“Completingthepartsreplacement”onpage98.
Replacingthefrontfanassembly
Attention
Donotopenyourcomputerorattemptanyrepairbeforereadingandunderstandingthe“Importantsafety
information”intheThinkCentreSafetyandWarrantyGuidethatcamewithyourcomputer.Toobtainacopy
oftheThinkCentreSafetyandWarrantyGuide,goto:
http://www.lenovo.com/support
Thissectionprovidesinstructionsonhowtoreplacethefrontfanassembly.
Chapter8.ReplacingFRUs(MachineTypes:3029,3054,3139,3219,3246,3282,3349,3421,3544,3652,3769,3934,
4992,5206,5267,5325,5384,5450,5474,5498,5554,5852,6232,and6590.)91

Note:Notallcomputershavethefrontfanassembly.
Toreplacethefrontfanassembly,dothefollowing:
1.Turnoffthecomputeranddisconnectallpowercordsfromelectricaloutlets.
2.Removethecomputercover.See“Removingthecomputercover”onpage68.
3.Removethefrontbezel.See“Removingandreinstallingthefrontbezel”onpage72.
4.Disconnectthefrontfanassemblycablefromthepowerfanconnectoronthesystemboard.See
“Locatingpartsonthesystemboard”onpage70.
5.Releasethetwotabs1thatattachthefrontfanassemblytothechassisasshownandthencompletely
removethefrontfanfromthechassis.
Figure30.Removingthefrontfanassembly
6.Insertthetwotabs2ofthenewfrontfanassemblyintothecorrespondingholesinthechassis,and
presstheothertwotabs1throughtheholesuntilthefrontfanassemblyissecuredinplace.
92ThinkCentreHardwareMaintenanceManual

Figure31.Installingthefrontfanassembly
7.Connectthefrontfanassemblycabletothepowerfanconnectoronthesystemboard.
8.Goto“Completingthepartsreplacement”onpage98.
Replacingtherearfanassembly
Attention
Donotopenyourcomputerorattemptanyrepairbeforereadingandunderstandingthe“Importantsafety
information”intheThinkCentreSafetyandWarrantyGuidethatcamewithyourcomputer.Toobtainacopy
oftheThinkCentreSafetyandWarrantyGuide,goto:
http://www.lenovo.com/support
Thissectionprovidesinstructionsonhowtoreplacetherearfanassembly.
Toreplacetherearfanassembly,dothefollowing:
1.Turnoffthecomputeranddisconnectallpowercordsfromelectricaloutlets.
2.Removethecomputercover.See“Removingthecomputercover”onpage68.
3.Locatetherearfanassembly.See“Locatingcomponents”onpage69.
4.Disconnecttherearfanassemblycablefromthesystemfanconnectoronthesystemboard.See
“Locatingpartsonthesystemboard”onpage70.
Chapter8.ReplacingFRUs(MachineTypes:3029,3054,3139,3219,3246,3282,3349,3421,3544,3652,3769,3934,
4992,5206,5267,5325,5384,5450,5474,5498,5554,5852,6232,and6590.)93

5.Therearfanassemblyisattachedtothechassisbyfourrubbermounts.Removetherearfanassembly
bybreakingorcuttingtherubbermountsandgentlypullingtherearfanassemblyoutofthechassis.
Figure32.Removingtherearfanassembly
6.Installthenewrearfanassemblybyaligningthenewrubbermountswiththecorrespondingholesinthe
chassisandpushtherubbermountsthroughtheholes.
Note:Thenewrearfanassemblyyoureceivedwillhavefournewrubbermountsattached.
7.Pullonthetipsoftherubbermountsuntiltherearfanassemblyissecuredinplace.
94ThinkCentreHardwareMaintenanceManual

Figure33.Installingtherearfanassembly
8.Connecttherearfanassemblycabletothesystemfanconnectoronthesystemboard.
9.Goto“Completingthepartsreplacement”onpage98.
ReplacingthefrontaudioandUSBassembly
Attention
Donotopenyourcomputerorattemptanyrepairbeforereadingandunderstandingthe“Importantsafety
information”intheThinkCentreSafetyandWarrantyGuidethatcamewithyourcomputer.Toobtainacopy
oftheThinkCentreSafetyandWarrantyGuide,goto:
http://www.lenovo.com/support
ThissectionprovidesinstructionsonhowtoreplacethefrontaudioandUSBassembly.
ToreplacethefrontaudioandUSBassembly,dothefollowing:
1.Turnoffthecomputeranddisconnectallpowercordsfromelectricaloutlets.
2.Removethecomputercover.See“Removingthecomputercover”onpage68.
3.Removethefrontbezel.See“Removingandreinstallingthefrontbezel”onpage72.
4.LocatethefrontaudioandUSBassembly.See“Locatingconnectorsonthefrontofthecomputer”
onpage67.
5.DisconnectthefrontaudioandUSBassemblycablesfromthesystemboard.See“Locatingpartson
thesystemboard”onpage70.
Chapter8.ReplacingFRUs(MachineTypes:3029,3054,3139,3219,3246,3282,3349,3421,3544,3652,3769,3934,
4992,5206,5267,5325,5384,5450,5474,5498,5554,5852,6232,and6590.)95

Note:Makesureyounotethelocationsofthecableswhenyoudisconnectthecablesfromthesystem
board.
6.RemovethescrewthatsecuresthefrontaudioandUSBassemblytothechassis.
Figure34.RemovingthesecuringscrewofthefrontaudioandUSBassembly
7.RemovethefrontaudioandUSBassemblyfromthechassis.
8.InstallanewfrontaudioandUSBassemblyintothechassisandalignthescrewholeinthefrontaudio
andUSBassemblywiththeholeinthechassis.
9.InstallthescrewtosecurethenewfrontaudioandUSBassemblytothechassis.
10.ReconnectthefrontaudioandUSBassemblycablestothefrontaudioconnectorandthefrontUSB
connectoronthesystemboard.See“Locatingpartsonthesystemboard”onpage70.
11.Goto“Completingthepartsreplacement”onpage98.
Replacingtheinternalspeaker
Attention
Donotopenyourcomputerorattemptanyrepairbeforereadingandunderstandingthe“Importantsafety
information”intheThinkCentreSafetyandWarrantyGuidethatcamewithyourcomputer.Toobtainacopy
oftheThinkCentreSafetyandWarrantyGuide,goto:
http://www.lenovo.com/support
Thissectionprovidesinstructionsonhowtoreplacetheinternalspeaker.
Note:Notallcomputershavetheinternalspeaker.
Toreplacetheinternalspeaker,dothefollowing:
1.Turnoffthecomputeranddisconnectallpowercordsfromelectricaloutlets.
2.Removethecomputercover.See“Removingthecomputercover”onpage68.
96ThinkCentreHardwareMaintenanceManual

3.Locatetheinternalspeakerconnectoronthesystemboard.See“Locatingpartsonthesystemboard”
onpage70.
4.Disconnecttheinternalspeakercablefromthesystemboard.
5.Pushthemetaltab1onthetopoftheinternalspeakeroutwardandslidetheinternalspeakerupward
tocompletelyremoveitfromthechassis.
Figure35.Removingtheoldinternalspeaker
6.Positionthenewinternalspeakerintothefourmetalclips1andpushdownwardontheinternalspeaker
untilitissecuredinplace.
Chapter8.ReplacingFRUs(MachineTypes:3029,3054,3139,3219,3246,3282,3349,3421,3544,3652,3769,3934,
4992,5206,5267,5325,5384,5450,5474,5498,5554,5852,6232,and6590.)97

Figure36.Installinganewinternalspeaker
7.Connecttheinternalspeakercabletothesystemboard.See“Locatingpartsonthesystemboard”
onpage70.
8.Goto“Completingthepartsreplacement”onpage98.
Completingthepartsreplacement
Aftercompletingtheinstallationorreplacementforallparts,youneedtoreinstallthecomputercoverand
reconnectcables.Dependingonthepartsyouinstalledorreplaced,youmightneedtoconrmtheupdated
informationintheSetupUtilityprogram.RefertoChapter6“UsingtheSetupUtilityprogram”onpage41.
Toreinstallthecomputercoverandreconnectcablestoyourcomputer,dothefollowing:
1.Makesurethatallcomponentshavebeenreassembledcorrectlyandthatnotoolsorloosescrews
areleftinsideyourcomputer.See“Locatingcomponents”onpage69forthelocationsofvarious
componentsinyourcomputer.
2.Ifyouhaveremovedthefrontbezel,reinstallit.See“Removingandreinstallingthefrontbezel”on
page72.
3.Makesurethatthecablesareroutedcorrectlybeforereinstallingthecomputercover.Keepcablesclear
ofthehingesandsidesofthecomputerchassistoavoidinterferencewithreinstallingthecomputer
cover.
4.Positionthecomputercoveronthechassissothattherailguidesonthebottomofthecomputer
coverengagetherailsonthechassis.Then,pushthecovertothefrontofthecomputeruntilitsnaps
intoposition.
98ThinkCentreHardwareMaintenanceManual

Figure37.Reinstallingthecomputercover
5.Ifthecomputercoverissecuredwiththumbscrews,installthem.
6.Reconnecttheexternalcablesandpowercordstothecomputer.See“Locatingconnectorsontherear
ofthecomputer”onpage68.
Chapter8.ReplacingFRUs(MachineTypes:3029,3054,3139,3219,3246,3282,3349,3421,3544,3652,3769,3934,
4992,5206,5267,5325,5384,5450,5474,5498,5554,5852,6232,and6590.)99

100ThinkCentreHardwareMaintenanceManual

Chapter9.ReplacingFRUs(Machinetypes:3026,3039,3137,
3149,3245,3269,3319,3394,3491,3627,3699,3878,4972,5132,
5261,5297,5391,5472,5485,5536,5548,5567,5864,and6213.)
Important
BesuretoreadandunderstandChapter2“Safetyinformation”onpage3beforeyoureplaceanyFRU.
Theseprecautionsandguidelineswillhelpyouworksafely.
FRUreplacementsaretobedoneonlybytrainedservicetechnicians.
ThischapterdoesnotcontaintheremoveorreplaceprocedureforallFRUs.OnlythemajorFRUsare
documented.
Locatingconnectorsonthefrontofthecomputer
Frontconnectorlocationsshowsthelocationsoftheconnectorsonthefrontofyourcomputer.
Figure38.Frontconnectorlocations
1USBconnector3Microphoneconnector
2Headphoneconnector4USBconnector
Locatingconnectorsontherearofthecomputer
Rearconnectorlocationsshowsthelocationofconnectorsontherearofthecomputer.Someconnectors
ontherearofthecomputerarecolor-codedtohelpyoudeterminewheretoconnectthecablesonyour
computer.
©CopyrightLenovo2010,2013101

3
4
5
6
7
8
3
4
5
6
7
8
Figure39.Rearconnectorlocations
1Optionalserialport8VGAmonitorconnector(notapplicableonsomemodels)
2Powercordconnector9USBconnectors(4)
3Audioline-inconnector10DisplayPortconnector(notapplicableonsomemodels)
4Audioline-outconnector11USBconnectors(2)
5Microphoneconnector12Ethernetconnector
6Serialport13PCIExpressx16graphicscardslot
7PS/2keyboardandmouseconnectors(optional)14PCIcardslot
Openingthecomputercover
Attention
Donotopenyourcomputerorattemptanyrepairbeforereadingandunderstandingthe“Importantsafety
information”intheThinkCentreSafetyandWarrantyGuidethatcamewithyourcomputer.Toobtainacopy
oftheThinkCentreSafetyandWarrantyGuide,goto:http://www.lenovo.com/support
Thissectionprovidesinstructionsonhowtoopenthecomputercover.
CAUTION:
Turnoffthecomputerandwaitthreetoveminutestoletthecomputercoolbefore
openingthecomputercover.
102ThinkCentreHardwareMaintenanceManual

Toopenthecomputercover,dothefollowing:
1.Removeanymediafromthedrivesandturnoffallattacheddevicesandthecomputer.
2.Disconnectallpowercordsfromelectricaloutlets.
3.Disconnectthepowercords,Input/Output(I/O)cables,andanyothercablesthatareconnectedto
thecomputer.See“Locatingconnectorsonthefrontofthecomputer”onpage101and“Locating
connectorsontherearofthecomputer”onpage101.
4.Removeanylockingdevicethatsecuresthecomputercover,suchasanintegratedcablelock.
5.Pressthecover-releasebuttonsonthesidesofthecomputerandpivotthecomputercoverupward.
Figure40.Openingthecomputercover
Locatingcomponents
Figure41“Componentlocations”onpage104showsthelocationsofthevariouscomponentsinyour
computer.Toopenthecomputercover,see“Openingthecomputercover”onpage102.
Chapter9.ReplacingFRUs(Machinetypes:3026,3039,3137,3149,3245,3269,3319,3394,3491,3627,3699,3878,
4972,5132,5261,5297,5391,5472,5485,5536,5548,5567,5864,and6213.)103

Figure41.Componentlocations
1Harddiskdrive(installedinsomemodels)5Opticaldrive
2Heatsink6Memorymodule
3Internalspeaker(installedinsomemodels)7Powersupplyassembly
4Systemfanassembly
Locatingpartsonthesystemboard
Figure42“Systemboardpartslocations”onpage105showsthelocationsofthepartsonthesystemboard.
104ThinkCentreHardwareMaintenanceManual

Figure42.Systemboardpartslocations
1PCIcardslot13Memoryslot3
2PCIExpressx16graphicscardslot14Frontpanelconnector
3Internalspeakerconnector15PS/2keyboardandmouseconnector
4Coverpresenceswitchconnector(Intrusionswitch
connector)
16Serial(COM2)connector
5Battery17Frontaudioconnector
6Thermalsensorconnector1824-pinpowerconnector
7Microprocessorfanconnector19Powerfanconnector
8Microprocessor20SATAconnectors(2)
94-pinpowerconnector21eSATAconnector
10Memoryslot222FrontUSBconnectors(2)
11Memoryslot123ClearCMOS(ComplementaryMetalOxide
Semiconductor)/Recoveryjumper
12Memoryslot4
Replacingthebattery
Attention
Donotopenyourcomputerorattemptanyrepairbeforereadingandunderstandingthe“Importantsafety
information”intheThinkCentreSafetyandWarrantyGuidethatcamewithyourcomputer.Toobtainacopy
oftheThinkCentreSafetyandWarrantyGuide,goto:
http://www.lenovo.com/support
Chapter9.ReplacingFRUs(Machinetypes:3026,3039,3137,3149,3245,3269,3319,3394,3491,3627,3699,3878,
4972,5132,5261,5297,5391,5472,5485,5536,5548,5567,5864,and6213.)105

Yourcomputerhasaspecialtypeofmemorythatmaintainsthedate,time,andsettingsforbuilt-infeatures,
suchasparallel-portassignments(conguration).Abatterykeepsthisinformationactivewhenyouturn
offthecomputer.
Thebatterynormallyrequiresnochargingormaintenancethroughoutitslife;however,nobatterylasts
forever.Ifthebatteryfails,thedate,time,andcongurationinformation(includingpasswords)arelost.An
errormessageisdisplayedwhenyouturnonthecomputer.
Refertothe“Lithiumbatterynotice”intheThinkCentreSafetyandWarrantyGuideforinformationabout
replacinganddisposingofthebattery.
Toreplacethebattery,dothefollowing:
1.Turnoffthecomputeranddisconnectallpowercordsfromelectricaloutlets.
2.Openthecomputercover.See“Openingthecomputercover”onpage102.
3.Locatethebattery.See“Locatingpartsonthesystemboard”onpage104.
4.Removetheoldbattery.
Figure43.Removingtheoldbattery
5.Installanewbattery.
Figure44.Installinganewbattery
6.Closethecomputercoverandconnectthecables.See“Completingthepartsreplacement”onpage98.
Note:Whenthecomputeristurnedonforthersttimeafterreplacingthebattery,anerrormessage
mightbedisplayed.Thisisnormalafterreplacingthebattery.
7.Turnonthecomputerandallattacheddevices.
8.UsetheSetupUtilityprogramtosetthedate,time,andanypasswords.SeeChapter6“UsingtheSetup
Utilityprogram”onpage41.
9.Goto“Completingthepartsreplacement”onpage127.
106ThinkCentreHardwareMaintenanceManual

Replacingamemorymodule
Attention
Donotopenyourcomputerorattemptanyrepairbeforereadingandunderstandingthe“Importantsafety
information”intheThinkCentreSafetyandWarrantyGuidethatcamewithyourcomputer.Toobtainacopy
oftheThinkCentreSafetyandWarrantyGuide,goto:
http://www.lenovo.com/support
Thissectionprovidesinstructionsonhowtoinstallorreplaceamemorymodule.
YourcomputerhasfourslotsforinstallingorreplacingDDR3DIMMsthatprovideuptoamaximumof16GB
systemmemory.Wheninstallingorreplacingamemorymodule,usethefollowingguidelines:
•Use1GB,2GB,or4GBDDR3DIMMsinanycombinationuptoamaximumof16GB.
•InstallmemorymodulesinthesequenceofDIMM1,DIMM3,DIMM2,andDIMM4.See“Locating
partsonthesystemboard”onpage104.
Toinstallorreplaceamemorymodule,dothefollowing:
1.Turnoffthecomputeranddisconnectallpowercordsfromelectricaloutlets.
2.Openthecomputercover.See“Openingthecomputercover”onpage102.
3.Pivottheopticaldrivebayassemblyupwardtogainaccesstothememoryslots.
4.Locatethememoryslots.See“Locatingpartsonthesystemboard”onpage104.
5.Removeanypartsthatmightpreventaccesstothememoryslots.
6.Opentheretainingclips.
Figure45.Openingtheretainingclips
Ifyouarereplacinganoldmemorymodule,opentheretainingclipsandgentlypullthememorymodule
outofthememoryslot.
Chapter9.ReplacingFRUs(Machinetypes:3026,3039,3137,3149,3245,3269,3319,3394,3491,3627,3699,3878,
4972,5132,5261,5297,5391,5472,5485,5536,5548,5567,5864,and6213.)107

Figure46.Removingamemorymodule
7.Positionthenewmemorymoduleoverthememoryslot.Makesurethatthenotch1onthememory
modulealignscorrectlywiththeslotkey2onthesystemboard.Pushthememorymodulestraight
downintotheslotuntiltheretainingclipsclose.
Figure47.Installingamemorymodule
8.Goto“Completingthepartsreplacement”onpage127.
ReplacingaPCIcard
Attention
Donotopenyourcomputerorattemptanyrepairbeforereadingandunderstandingthe“Importantsafety
information”intheThinkCentreSafetyandWarrantyGuidethatcamewithyourcomputer.Toobtainacopy
oftheThinkCentreSafetyandWarrantyGuide,goto:
http://www.lenovo.com/support
ThissectionprovidesinstructionsonhowtoinstallorreplaceaPCIcard.Yourcomputerhasonestandard
PCIcardslotandonePCIExpressx16graphicscardslot.
ToinstallorreplaceaPCIcard,dothefollowing:
1.Turnoffthecomputeranddisconnectallpowercordsfromelectricaloutlets.
2.Openthecomputercover.See“Openingthecomputercover”onpage102.
108ThinkCentreHardwareMaintenanceManual

3.RotatethePCIcardretainertotheopenposition.
4.IfyouareinstallingaPCIcard,removetheappropriatemetalslotcover.IfyouarereplacinganoldPCI
card,grasptheoldcardthatiscurrentlyinstalledandgentlypullitoutoftheslot.
Figure48.RemovingaPCIcard
Notes:
a.Thecardtstightlyintothecardslot.Ifnecessary,alternatemovingeachsideofthecardasmall
amountuntilitisremovedfromthecardslot.
b.Ifthecardisheldinplacebyaretaininglatch,pressthecardretaininglatch1asshownto
disengagethelatch.Graspthecardandgentlypullitoutoftheslot.
5.RemovethenewPCIcardfromitsstatic-protectivepackage.
6.Installthenewcardintotheappropriatecardslotonthesystemboardandrotatethecardretainertothe
closedposition.See“Locatingpartsonthesystemboard”onpage104.
Chapter9.ReplacingFRUs(Machinetypes:3026,3039,3137,3149,3245,3269,3319,3394,3491,3627,3699,3878,
4972,5132,5261,5297,5391,5472,5485,5536,5548,5567,5864,and6213.)109

Figure49.InstallingthePCIcard
7.Goto“Completingthepartsreplacement”onpage127.
Replacingthepowersupplyassembly
Attention
Donotopenyourcomputerorattemptanyrepairbeforereadingandunderstandingthe“Importantsafety
information”intheThinkCentreSafetyandWarrantyGuidethatcamewithyourcomputer.Toobtainacopy
oftheThinkCentreSafetyandWarrantyGuide,goto:
http://www.lenovo.com/support
Thissectionprovidesinstructionsonhowtoreplacethepowersupplyassembly.
Toreplacethepowersupplyassembly,dothefollowing:
1.Turnoffthecomputeranddisconnectallpowercordsfromelectricaloutlets.
2.Disconnectthepowercords,Input/Output(I/O)cables,andanyothercablesthatareconnectedtothe
computer.
3.Removethefourscrewsattherearofthechassisthatsecurethepowersupplyassembly.
110ThinkCentreHardwareMaintenanceManual

3
4
5
6
7
8
Figure50.Removingtheretainingscrewsforthepowersupplyassembly
4.Openthecomputercover.See“Openingthecomputercover”onpage102.
5.Pivottheopticaldrivebayassemblyupwardtogainaccesstothepowersupplyassembly.
6.Disconnectthepowersupplyassemblycablesfromalldrivesandfromthepowerconnectors1and2
onthesystemboard.
Note:Youmightneedtoremovetheharddiskdrivetogaineasyaccesstothepowerconnector2.
See“Replacingtheharddiskdrive”onpage118.
Figure51.Powerconnectorsonthesystemboard
7.Releasethepowersupplyassemblycablesfromthecableclipsandtiesinthechassis.
Chapter9.ReplacingFRUs(Machinetypes:3026,3039,3137,3149,3245,3269,3319,3394,3491,3627,3699,3878,
4972,5132,5261,5297,5391,5472,5485,5536,5548,5567,5864,and6213.)111

8.Slidethepowersupplyassemblytothefrontofthecomputerandthenliftitoutofthechassis.
Figure52.Removingthepowersupplyassembly
9.Installthenewpowersupplyassemblyintothechassissothatthescrewholesinthenewpower
supplyassemblyalignwiththoseinthechassis.
10.Installandtightenthefourscrewstosecurethepowersupplyassembly.
Note:UseonlythescrewsprovidedbyLenovo.
11.Reconnectallthepowersupplyassemblycablestothesystemboardandeachofthedrives.
12.Securethepowersupplyassemblycableswiththecableclipsandtiesinthechassis.
13.Goto“Completingthepartsreplacement”onpage127.
Replacingtheheatsink
Attention
Donotopenyourcomputerorattemptanyrepairbeforereadingandunderstandingthe“Importantsafety
information”intheThinkCentreSafetyandWarrantyGuidethatcamewithyourcomputer.Toobtainacopy
oftheThinkCentreSafetyandWarrantyGuide,goto:
http://www.lenovo.com/support
Thissectionprovidesinstructionsonhowtoreplacetheheatsink.
CAUTION:
Theheatsinkmightbeveryhot.Turnoffthecomputerandwaitthreetoveminutesto
letthecomputercoolbeforeopeningthecomputercover.
Toreplacetheheatsink,dothefollowing:
112ThinkCentreHardwareMaintenanceManual

1.Turnoffthecomputeranddisconnectallpowercordsfromelectricaloutlets.
2.Openthecomputercover.See“Openingthecomputercover”onpage102.
3.Pivottheopticaldrivebayassemblyupward.
4.Removetheharddiskdrivetoaccesstheheatsink.See“Replacingtheharddiskdrive”onpage118.
5.Carefullyremovethefourscrews1thatsecuretheheatsinktothesystemboard.
Note:Carefullyremovethefourscrewsfromthesystemboardtoavoidanypossibledamagetothe
systemboard.Thefourscrewscannotberemovedfromtheheatsink.
Figure53.Removingtheheatsink
6.Carefullylifttheheatsinkoffthesystemboard.
Notes:
a.Youmighthavetogentlytwisttheheatsinktofreeitfromthemicroprocessor.
b.Donottouchthethermalgreasewhilehandlingtheheatsink.
7.Positionthenewheatsinkonthesystemboardsothatthefourscrewsarealignedwiththeholes
onthesystemboard.
8.Alternatetighteningeachscrewasmallandequalamountuntiltheheatsinkissecuredtothesystem
board.Donotover-tightenthescrews.
9.Goto“Completingthepartsreplacement”onpage127.
Replacingthemicroprocessor
Attention
Donotopenyourcomputerorattemptanyrepairbeforereadingandunderstandingthe“Importantsafety
information”intheThinkCentreSafetyandWarrantyGuidethatcamewithyourcomputer.Toobtainacopy
oftheThinkCentreSafetyandWarrantyGuide,goto:
http://www.lenovo.com/support
Thissectionprovidesinstructionsonhowtoreplacethemicroprocessor.
Chapter9.ReplacingFRUs(Machinetypes:3026,3039,3137,3149,3245,3269,3319,3394,3491,3627,3699,3878,
4972,5132,5261,5297,5391,5472,5485,5536,5548,5567,5864,and6213.)113

CAUTION:
Theheatsinkandmicroprocessormightbeveryhot.Turnoffthecomputerandwait
threetoveminutestoletthecomputercoolbeforeopeningthecomputercover.
Toreplacethemicroprocessor:
1.Openthecomputercover.See“Openingthecomputercover”onpage102.
2.Pivotthedrivebayassemblyupwardtogainaccesstothesystemboard.
3.Locatetheheatsinkandfanassemblyanddisconnecttheheatsinkandfanassemblycablefromthe
microprocessorfanconnectoronthesystemboard.See“Locatingpartsonthesystemboard”on
page104.
4.Removetheheatsinkandfanassembly.See“Replacingtheheatsink”onpage112.
5.Placetheheatsinkandfanassemblyonitssidesothatthethermalgreasedoesnotcomeincontact
withanything.
6.Removetheharddiskdrive.See“Replacingtheharddiskdrive”onpage118.
7.Liftthesmallhandle3andopentheretainer1toaccessthemicroprocessor2.
Figure54.Accessingthemicroprocessor
8.Liftthemicroprocessorstraightupandoutofthesocket.
Notes:
a.Yourmicroprocessorandsocketmightlookdifferentfromtheoneillustrated.
b.Notetheorientationofthemicroprocessorinthesocket.Youcaneitherlookforthesmalltriangle1
ononecornerofthemicroprocessorornotetheorientationofthenotches2onthemicroprocessor.
Thisisimportantwheninstallingthenewmicroprocessoronthesystemboard.
114ThinkCentreHardwareMaintenanceManual

c.Touchonlythesidesofthemicroprocessor.Donottouchthegoldcontactsonthebottom.
d.Donotdropanythingontothemicroprocessorsocketwhileitisexposed.Thesocketpinsmustbe
keptascleanaspossible.
Figure55.Removingthemicroprocessor
9.Makesurethatthesmallhandleisintheraisedpositionandthemicroprocessorretainerisfullyopen.
10.Removetheprotectivecover2thatprotectsthegoldcontactsonthenewmicroprocessor1.
11.Holdthenewmicroprocessorandalignthenotchesonitwiththetabsinthemicroprocessorsocket,or
alignthesmalltriangleononecornerwiththecorrespondingbeveledcornerofthemicroprocessor
socket.
12.Lowerthenewmicroprocessorstraightdownintothemicroprocessorsocketonthesystemboard.
13.Closethemicroprocessorretainerandlockitintopositionwiththesmallhandletosecurethenew
microprocessorinthesocket.
14.Reinstalltheheatsinkandfanassembly.See“Replacingtheheatsink”onpage112.
Chapter9.ReplacingFRUs(Machinetypes:3026,3039,3137,3149,3245,3269,3319,3394,3491,3627,3699,3878,
4972,5132,5261,5297,5391,5472,5485,5536,5548,5567,5864,and6213.)115

15.Reinstalltheharddiskdrive.See“Replacingtheharddiskdrive”onpage118.
16.Reconnecttheheatsinkandfanassemblycabletothemicroprocessorfanconnectoronthesystem
board.
17.Goto“Completingthepartsreplacement”onpage127.
Replacingthesystemboard
Attention
Donotopenyourcomputerorattemptanyrepairbeforereadingandunderstandingthe“Importantsafety
information”intheThinkCentreSafetyandWarrantyGuidethatcamewithyourcomputer.Toobtainacopy
oftheThinkCentreSafetyandWarrantyGuide,goto:
http://www.lenovo.com/support
Thissectionprovidesinstructionsonhowtoreplacethesystemboard.
CAUTION:
Theheatsinkandmicroprocessormightbeveryhot.Turnoffthecomputerandwait
threetoveminutestoletthecomputercoolbeforeopeningthecomputercover.
Toreplacethesystemboard:
1.Openthecomputercover.See“Openingthecomputercover”onpage102.
2.Pivotthedrivebayassemblyupwardtogainaccesstothesystemboard.
3.Removetheharddiskdrive.See“Replacingtheharddiskdrive”onpage118.
4.RemoveallmemorymodulesandPCIcardsthatarecurrentlyinstalled.See“Replacingamemory
module”onpage107and“ReplacingaPCIcard”onpage108.
5.Carefullytakenoteofthelocationofallcableconnectionsonthesystemboardanddisconnectallthe
cables.See“Locatingpartsonthesystemboard”onpage104.
6.Removetheheatsinkandfanassemblyfromthefailingsystemboard.See“Replacingtheheatsink”on
page112.
7.Carefullyslidethesystemboardsothatitcanbereleasedfromthefourmountingstudsthatsecure
thesystemboardinplace.
8.Liftthesystemboardoutofthechassis.
9.Removethemicroprocessorfromthefailingsystemboardandinstallitonthenewsystemboard.See
“Replacingthemicroprocessor”onpage113.
10.Installthenewsystemboardintothechassisbyaligningthefourmountingstudsinthechassiswith
thecorrespondingholesonthenewsystemboard,andthencarefullyslidethenewsystemboardinto
thechassisuntilitissecuredinplacebythefourmountingstuds.
11.Installallmemorymodulesandadaptercardsremovedfromthefailingsystemboardonthenew
systemboard.
12.Installtheheatsinkandfanassemblyandconnecttheheatsinkandfanassemblycabletothenew
systemboard.See“Replacingtheheatsink”onpage112.
13.Reinstalltheharddiskdrive.See“Replacingtheharddiskdrive”onpage118.
14.Reconnectallremainingcablestothesystemboard.See“Locatingpartsonthesystemboard”on
page104.
15.Goto“Completingthepartsreplacement”onpage98.
116ThinkCentreHardwareMaintenanceManual

Thefailingsystemboardmustbereturnedwithamicroprocessorsocketcovertoprotectthepinsduring
shippingandhandling.
Toinstallthemicroprocessorsocketcover,dothefollowing:
1.Releasetheleversecuringthemicroprocessorretainerandopentheretainertoaccessthe
microprocessor.
2.Graspthemicroprocessoronthesidesandliftitstraightupandoutofthesocket.Donottouchthe
contactsonthemicroprocessorsocket.
3.Notetheorientationofthesocketcover.Alignthenotches1ofthemicroprocessorsocketcoverwith
thealignmentkeys2ofthemicroprocessorsocket.
4.Installonesideofthesocketcoverintothemicroprocessorsocketasshown.
Figure56.Installingthesocketcover
Note:Yourmicroprocessorsocketandcovermightlookslightlydifferentfromtheillustration.
5.Carefullypresstheothersideofthesocketcoverdownwardsuntilthesocketcoversnapsintoplace.
Figure57.Securingthesocketcover
6.Carefullycheckthefourcornersofthesocketcovertomakesurethatthecoverissecuredinthe
microprocessorsocket.
Chapter9.ReplacingFRUs(Machinetypes:3026,3039,3137,3149,3245,3269,3319,3394,3491,3627,3699,3878,
4972,5132,5261,5297,5391,5472,5485,5536,5548,5567,5864,and6213.)117

7.Lowerthemicroprocessorretainerandthenlowerthelevertosecuretheretainer.Makesurethe
leverislockedintoposition.
8.Followanyadditionalinstructionsincludedwiththereplacementpartyoureceived.
Note:Ifyoursystemboardhastwomicroprocessorsockets,besuretoinstallasocketcoverforeach
microprocessorsocket.
Replacingtheharddiskdrive
Attention
Donotopenyourcomputerorattemptanyrepairbeforereadingandunderstandingthe“Importantsafety
information”intheThinkCentreSafetyandWarrantyGuidethatcamewithyourcomputer.Toobtainacopy
oftheThinkCentreSafetyandWarrantyGuide,goto:
http://www.lenovo.com/support
Thissectionprovidesinstructionsonhowtoreplacetheharddiskdriveifyourcomputerhasone.For
computermodelsthatdonothaveaninternalharddiskdriveandusearemoteharddiskdriveaccessed
throughtheSMC-StorageArray,contactyournetworkorstorageadministrator.
Toreplacetheharddiskdrive,dothefollowing:
1.Turnoffthecomputeranddisconnectallpowercordsfromelectricaloutlets.
2.Openthecomputercover.See“Openingthecomputercover”onpage102.
3.Youmightneedtopivottheopticaldrivebayassemblyupwardtogaineasieraccesstothehard
diskdrive.
4.Locatetheharddiskdrive.See“Locatingcomponents”onpage103.
5.Pushthereleasebutton1oftheharddiskdrivebracketasshownandthenlifttheharddiskdrive
bracketupfromtheheatsink.
Figure58.Removingtheharddiskdrive
118ThinkCentreHardwareMaintenanceManual

6.Disconnectthesignalcableandthepowercablefromtheharddiskdrivetocompletelyremovethehard
diskdrivefromthechassis.
7.Flexthesidesofthebrackettoremovetheharddiskdrivefromthebracket.
8.Toinstallanewharddiskdriveintothebracket,exthebracketandalignpin1,pin2,pin3,andpin
4onthebracketwiththecorrespondingholesintheharddiskdrive.
Figure59.Installingtheharddiskdriveintothebracket
Important:Donottouchthecircuitboardonthebottomoftheharddiskdrive.
9.Connectthesignalcableandthepowercabletothenewharddiskdrive.
10.Insertthetworetainingclips1oftheharddiskdrivebracketintothecorrespondingholesinthe
chassis,andthenpivottheharddiskdriveandbracketdownwardsuntiltheharddiskdrivebracket
snapsintoposition.
Figure60.Installingtheharddiskdrive
Chapter9.ReplacingFRUs(Machinetypes:3026,3039,3137,3149,3245,3269,3319,3394,3491,3627,3699,3878,
4972,5132,5261,5297,5391,5472,5485,5536,5548,5567,5864,and6213.)119

11.Goto“Completingthepartsreplacement”onpage127.
Replacingtheopticaldrive
Attention
Donotopenyourcomputerorattemptanyrepairbeforereadingandunderstandingthe“Importantsafety
information”intheThinkCentreSafetyandWarrantyGuidethatcamewithyourcomputer.Toobtainacopy
oftheThinkCentreSafetyandWarrantyGuide,goto:
http://www.lenovo.com/support
Thissectionprovidesinstructionsonhowtoreplacetheopticaldrive.
Toreplacetheopticaldrive,dothefollowing:
1.Turnoffthecomputeranddisconnectallpowercordsfromelectricaloutlets.
2.Openthecomputercover.See“Openingthecomputercover”onpage102.
3.Pivottheopticaldrivebayassemblyupwardtogaineasyaccesstotheopticaldrive.
4.Disconnectthesignalcableandthepowercablefromtherearoftheopticaldrive.
5.Presstheopticaldrivelock1andslidetheopticaldriveoutoftherearofthedrivebayassembly.
Figure61.Removingtheoldopticaldrive
6.Installtheopticaldriveretaineronthesideofthenewopticaldrive.
120ThinkCentreHardwareMaintenanceManual

Figure62.Installingtheopticaldriveretainer
7.Slidethenewopticaldriveintothedrivebayuntilitsnapsintoposition.
Figure63.Installinganewopticaldrive
8.Connectthesignalcableandthepowercabletotherearoftheopticaldrive.
9.Goto“Completingthepartsreplacement”onpage98.
Replacingtheinternalspeaker
Attention
Donotopenyourcomputerorattemptanyrepairbeforereadingandunderstandingthe“Importantsafety
information”intheThinkCentreSafetyandWarrantyGuidethatcamewithyourcomputer.Toobtainacopy
oftheThinkCentreSafetyandWarrantyGuide,goto:
http://www.lenovo.com/support
Thissectionprovidesinstructionsonhowtoreplacetheinternalspeaker.
Note:Notallcomputershavetheinternalspeaker.
Toreplacetheinternalspeaker,dothefollowing:
1.Turnoffthecomputeranddisconnectallpowercordsfromelectricaloutlets.
2.Openthecomputercover.See“Openingthecomputercover”onpage102.
Chapter9.ReplacingFRUs(Machinetypes:3026,3039,3137,3149,3245,3269,3319,3394,3491,3627,3699,3878,
4972,5132,5261,5297,5391,5472,5485,5536,5548,5567,5864,and6213.)121

3.Removethefrontbezelbyreleasingthethreeplastictabsandpivotingthefrontbezeloutward.
Figure64.Removingthefrontbezel
4.Pivottheopticaldrivebayassemblyupwardtogainaccesstotheinternalspeaker.
5.Locatetheinternalspeaker.See“Locatingcomponents”onpage103.
6.Disconnecttheinternalspeakercableandthethermalsensorcablefromtheinternalspeakerconnector
andthethermalsensorconnectoronthesystemboard.See“Locatingpartsonthesystemboard”on
page104.
7.Pushthetwotabs1onthebottomoftheinternalspeakerasshowntoreleasetheinternalspeaker,and
thenlifttheinternalspeakeruptocompletelyremoveitfromthechassis.
122ThinkCentreHardwareMaintenanceManual

Figure65.Removingtheinternalspeaker
8.Removetheattachedthermalsensorcablefromtheoldinternalspeakerandinstallitonthenew
internalspeaker.
9.Insertthetwotabs2onthebottomofthenewinternalspeakerintothecorrespondingholesinthe
chassis,andpushthespeakerstraightdownuntiltheothertwotabs1snapintoposition.
Chapter9.ReplacingFRUs(Machinetypes:3026,3039,3137,3149,3245,3269,3319,3394,3491,3627,3699,3878,
4972,5132,5261,5297,5391,5472,5485,5536,5548,5567,5864,and6213.)123

Figure66.Installingthenewinternalspeaker
10.Reconnecttheinternalspeakercableandthethermalsensorcabletothesystemboard.See“Locating
partsonthesystemboard”onpage104.
11.Toreinstallthefrontbezel,alignthethreetabsonthefrontbezelwiththecorrespondingholesinthe
chassisandpivotthefrontbezelinwardsuntilitsnapsintoposition.
12.Goto“Completingthepartsreplacement”onpage127.
ReplacingthefrontaudioandUSBassembly
Attention
Donotopenyourcomputerorattemptanyrepairbeforereadingandunderstandingthe“Importantsafety
information”intheThinkCentreSafetyandWarrantyGuidethatcamewithyourcomputer.Toobtainacopy
oftheThinkCentreSafetyandWarrantyGuide,goto:
http://www.lenovo.com/support
ThissectionprovidesinstructionsonhowtoreplacethefrontaudioandUSBassembly.
ToreplacethefrontaudioandUSBassembly,dothefollowing:
1.Turnoffthecomputeranddisconnectallpowercordsfromelectricaloutlets.
2.Openthecomputercover.See“Openingthecomputercover”onpage102.
3.PivottheopticaldrivebayassemblyupwardtogainaccesstothefrontaudioandUSBassembly.
4.LocatethefrontaudioandUSBassembly.
124ThinkCentreHardwareMaintenanceManual

5.DisconnectthefrontaudioandUSBassemblycablesfromthesystemboard.See“Locatingparts
onthesystemboard”onpage104.
Note:Makesureyounotethelocationsofthecableswhenyoudisconnectthecablesfromthesystem
board.
6.RemovethescrewthatsecuresthefrontaudioandUSBassemblytothechassis.
3
4
5
6
7
8
Figure67.RemovingthesecuringscrewofthefrontaudioandUSBassembly
7.RemovethefrontaudioandUSBassemblyfromthechassis.
8.InstallanewfrontaudioandUSBassemblyintothechassisandalignthescrewholeinthefrontaudio
andUSBassemblywiththeholeinthechassis.
9.InstallthescrewtosecurethenewfrontaudioandUSBassemblytothechassis.
10.ReconnectthefrontaudioandUSBassemblycablestothefrontaudioconnectorandthefrontUSB
connectoronthesystemboard.See“Locatingpartsonthesystemboard”onpage104.
11.Goto“Completingthepartsreplacement”onpage127.
Replacingthesystemfan
Attention
Donotopenyourcomputerorattemptanyrepairbeforereadingandunderstandingthe“Importantsafety
information”intheThinkCentreSafetyandWarrantyGuidethatcamewithyourcomputer.Toobtainacopy
oftheThinkCentreSafetyandWarrantyGuide,goto:
http://www.lenovo.com/support
Thissectionprovidesinstructionsonhowtoreplacethesystemfan.
Toreplacethesystemfan,dothefollowing:
Chapter9.ReplacingFRUs(Machinetypes:3026,3039,3137,3149,3245,3269,3319,3394,3491,3627,3699,3878,
4972,5132,5261,5297,5391,5472,5485,5536,5548,5567,5864,and6213.)125

1.Turnoffthecomputeranddisconnectallpowercordsfromelectricaloutlets.
2.Openthecomputercover.See“Openingthecomputercover”onpage102.
3.Removethefrontbezelbyreleasingthethreeplastictabsandpivotingthefrontbezeloutward.
Figure68.Removingthefrontbezel
4.Pivottheopticaldrivebayassemblyupward.
5.Locatethesystemfan.See“Locatingcomponents”onpage103.
6.Disconnectthesystemfancablefromthemicroprocessorfanconnectoronthesystemboard.See
“Locatingpartsonthesystemboard”onpage104.
7.Releasethefourtabsonthebottomofthesystemfanasshown,andthenliftthesystemfanstraightup
tocompletelyremoveitfromthechassis.
126ThinkCentreHardwareMaintenanceManual

Figure69.Removingthesystemfan
8.Alignthefourtabsonthebottomofthenewsystemfanwiththecorrespondingholesinthechassis,
andpushthenewsystemfanstraightdownuntilitsnapsintoposition.
9.Connectthesystemfancabletothemicroprocessorfanconnectoronthesystemboard.See“Locating
partsonthesystemboard”onpage104.
10.Toreinstallthefrontbezel,alignthethreetabsonthefrontbezelwiththecorrespondingholesinthe
chassisandpivotthefrontbezelinwardsuntilitsnapsintoposition.
11.Goto“Completingthepartsreplacement”onpage127.
Completingthepartsreplacement
Aftercompletingtheinstallationorreplacementforallparts,youneedtoclosethecomputercoverand
reconnectcables.Dependingonthepartsyouinstalledorreplaced,youmightneedtoconrmtheupdated
informationintheSetupUtilityprogram.RefertoChapter6“UsingtheSetupUtilityprogram”onpage41.
Toclosethecomputercoverandreconnectcablestoyourcomputer,dothefollowing:
1.Makesurethatallcomponentshavebeenreassembledcorrectlyandthatnotoolsorloosescrews
areleftinsideyourcomputer.See“Locatingcomponents”onpage103forthelocationsofvarious
componentsinyourcomputer.
2.Ifyouhaveremovedthefrontbezel,reinstallit.Toreinstallthefrontbezel,alignthethreetabson
thefrontbezelwiththecorrespondingholesinthechassisandpivotthefrontbezelinwardsuntil
itsnapsintoposition.
3.Makesurethatthecablesareroutedcorrectly.Keepcablesclearofthehingesandsidesofthe
computerchassistoavoidinterferencewithclosingthecomputercover.
Chapter9.ReplacingFRUs(Machinetypes:3026,3039,3137,3149,3245,3269,3319,3394,3491,3627,3699,3878,
4972,5132,5261,5297,5391,5472,5485,5536,5548,5567,5864,and6213.)127

Chapter10.FRUlists
Thischapterliststheinformationontheeldreplaceableunits(FRUs).
Attention:BesuretoreadandunderstandallthesafetyinformationbeforereplacinganyFRUs.
Note:Inthefollowingtables,acustomerreplaceableunit(CRU)isidentiedaseither"1","2",or"N"inthe
CRUcolumn."N"meansthatthepartisnotaCRU,"1"meansthatthepartisaSelf-serviceCRU,and"2"
meansthatthepartisanOptional-serviceCRU.
Overall:MT3029,3054,3139,3219,3246,3282,3349,3421,3544,3652,
3769,3934,4992,5206,5267,5325,5384,5450,5474,5498,5554,5852,
6232,and6590
Thefollowingreplaceablecomponentsareavailableforthe3029,3054,3139,3219,3246,3282,3349,
3421,3544,3652,3769,3934,4992,5206,5267,5325,5384,5450,5474,5498,5554,5852,6232,and
6590machinetypemodels.
©CopyrightLenovo2010,2013129

Item#FRUsFRU#CRU
1
IntelLGA115695W\73Wcoolerkit
•MT3246:allmodels
•MT3282:allmodels
•MT3544:allmodels
•MT3652:allmodels
•MT5474:allmodels
•MT5498:allmodels
•MT5554:allmodels
•MT5852:allmodels
•MT3029,3054,3139,3219,3349,3421,3769,3934,4992,5206,
5267,5325_SB
03T9513N
2
Microprocessor,ClarkdalePentiumG69502.80G1066MHzDual
core\3M\73WLGA1156(Gfxcorespeed533MHz)
•MT3246:A1UA1FA1SA1PA1DA1YA8V
•MT3282:
•MT3544:A3G
•MT3652:
•MT5474:B4AB4TB5AB5TB9AB9TA1UA1FA1SA1PA1DA1Y
A2UA2FA2SA2PA2DA2YA2GD4UD4FD4SD4PD4YD8V
D9VF1MF2M
•MT5498:
•MT5554:
•MT5852:
•MT3029,3054,3139,3219,3349,3421,3769,3934,4992,5206,
5267,5325_SB
71Y5303N
2
Microprocessor,ClarkdaleCorei3-5302.93G1333MHz4T\Dual
core\4M\73WLGA1156(Gfxcorespeed733MHz)
•MT3246:A3QA3HA4HA2UA2FA2SA2PA2DA2YA6VA7VB3G
B4UB4FB4SB1UB1FB1SB6G
•MT3282:
•MT3544:A1GA2G
•MT3652:
•MT5474:B6AB6TB7AB7TB2GB3GA8MA3UA3FA3SA3PA3D
A3YA3GA5UA5FA5SA5PA5DA5YD1QD6VD7VF3MF4M
•MT5498:
•MT5554:
•MT5852:
•MT3029,3054,3139,3219,3349,3421,3769,3934,4992,5206,
5267,5325_SB
71Y6960N
130ThinkCentreHardwareMaintenanceManual

Item#FRUsFRU#CRU
2
Microprocessor,ClarkdaleCorei3-5403.06G1333MHz4T\Dual
core\4M\73WLGA1156(Gfxcorespeed733MHz)
•MT3246:B5G
•MT3282:
•MT3544:A4G
•MT3652:
•MT5474:F8UF8FF8LG1VG2V
•MT5498:
•MT5554:
•MT5852:
•MT3029,3054,3139,3219,3349,3421,3769,3934,4992,5206,
5267,5325_SB
71Y5304N
2
Microprocessor,ClarkdaleCorei5-6503.20G1333MHz4T\Dual
core\4M\73W\TurboLGA1156(Gfxcorespeed733MHz)
•MT3246:
•MT3282:A3HA1UA1FA1SA1PA1DA1YA5VA6VA9GB1UB1F
B1SA8UA8FA8SB2GB4GB5GB6UB6FB6S
•MT3544:
•MT3652:A1GA2GA3GA5G
•MT5474:
•MT5498:B1GB2GB3GB4GA7MA1UA1FA1SA1PA1DA1Y
A1GA1AA1TA2UA2FA2SA2PA2DA2YA4UA4FA4SA4PA4D
A4YA4AA4TE7UE7FE7SE7YB9VE2VE3VF1MF2MF3MF9M
•MT5554:
•MT5852:A1UA1FA1SA1PA1LA1DA1YA1GA1MA1AA1QA1T
A1CA1BA1HA1VA1KA1RA1EA1J
•MT3029,3054,3139,3219,3349,3421,3769,3934,4992,5206,
5267,5325_SB
71Y6961N
2
Microprocessor,ClarkdaleCorei5-6603.33G1333MHz4T\Dual
core\4M\73W\TurboLGA1156(Gfxcorespeed733MHz)
•MT3246:
•MT3282:A2UA2FA2SA2PA2DA2YA4HA4VA7V
•MT3544:
•MT3652:A4G
•MT5474:
•MT5498:B5UB5FB5SB5YB5GB6GB7GB8GA8JA9JA3UA3F
A3SA3PA3DA3YE5JE6JE8UE8FE8SE8YE9UE9FE9SE9Y
E1VE4VF4MF5MF6MF7MF8V
•MT5554:
•MT5852:
•MT3029,3054,3139,3219,3349,3421,3769,3934,4992,5206,
5267,5325_SB
71Y6962N
Chapter10.FRUlists131

Item#FRUsFRU#CRU
2
Microprocessor,ClarkdaleCorei5-6703.46G1333MHz4T\Dual
core\4M\73W\TurboLGA1156(Gfxcorespeed733MHz)
•MT3246:
•MT3282:
•MT3544:
•MT3652:
•MT5474:
•MT5498:
•MT5554:
•MT5852:
•MT3029,3054,3139,3219,3349,3421,3769,3934,4992,5206,
5267,5325_SB
71Y6963N
2
Microprocessor,LynneldQuadCorei5-7502.66G1333MHz8T\4
core\8M\95W\TurboLGA1156
•MT3246:A5QA9UA9FB2UB2FB2SB7Q
•MT3282:
•MT3544:
•MT3652:
•MT5474:B8AB8TA9JB1JA4UA4FA4SA4PA4DA4YD2JD3J
D5UD5FD5SD5PD5YE1VF5MF6MF7M
•MT5498:
•MT5554:
•MT5852:
•MT3029,3054,3139,3219,3349,3421,3769,3934,4992,5206,
5267,5325_SB
71Y5305N
2
Microprocessor,LynneldQuadCorei7-8602.80G1333MHz8T\4
core\8M\95W\TurboLGA1156
•MT3246:
•MT3282:
•MT3544:
•MT3652:
•MT5474:
•MT5498:
•MT5554:
•MT5852:
•MT3029,3054,3139,3219,3349,3421,3769,3934,4992,5206,
5267,5325_SB
71Y5306N
132ThinkCentreHardwareMaintenanceManual

Item#FRUsFRU#CRU
2
Microprocessor,LynneldQuadCorei7-8702.93G1333MHz8T\4
core\8M\95W\TurboLGA1156
•MT3246:
•MT3282:B3UB3FB3S
•MT3544:
•MT3652:
•MT5474:
•MT5498:
•MT5554:
•MT5852:
•MT3029,3054,3139,3219,3349,3421,3769,3934,4992,5206,
5267,5325_SB
71Y5307N
2
Microprocessor,ClarkdaleCorei3-5503.20G1333MHzDualcore\4M
\73W(Gfxcorespeed733MHz)
•MT3246:B8GB9UB9FB9S
•MT3282:
•MT3544:
•MT3652:
•MT5474:G4PG6UG6FG6S
•MT5498:
•MT5554:A1UA1FA1SA1PA1LA1DA1YA1GA1MA1AA1QA1T
A1CA1BA1HA1VA1KA1RA1EA1J
•MT5852:
•MT3029,3054,3139,3219,3349,3421,3769,3934,4992,5206,
5267,5325_SB
89Y9195N
2
Microprocessor,ClarkdaleCorei5-6803.60G1333MHzDualcore\4M
\73W(Gfxcorespeed733MHz)
•MT3246:
•MT3282:
•MT3544:
•MT3652:
•MT5474:
•MT5498:
•MT5554:
•MT5852:
•MT3029,3054,3139,3219,3349,3421,3769,3934,4992,5206,
5267,5325_SB
89Y9196N
Chapter10.FRUlists133

Item#FRUsFRU#CRU
2
Microprocessor,LynneldQuadCorei7-8803.06G1333MHz8T\4
core\8M\95W\TurboLGA1156
•MT3246:
•MT3282:
•MT3544:
•MT3652:
•MT5474:
•MT5498:
•MT5554:
•MT5852:
•MT3029,3054,3139,3219,3349,3421,3769,3934,4992,5206,
5267,5325_SB
89Y9197N
2
Microprocessor,ClarkdaleLGA1156i3-5603.3GHz\1333MHz\Dual
core\4M\73wK-0steppingSLBY2
•MT3246:
•MT3282:
•MT3544:
•MT3652:
•MT5474:
•MT5498:
•MT5554:
•MT5852:
•MT3029,3054,3139,3219,3349,3421,3769,3934,4992,5206,
5267,5325_SB
03T7035N
2
Microprocessor,LynneldLGA1156i5-7602.8GHz\1333MHz\Quad
Core\8M\95wB-1stepping
•MT3246:
•MT3282:
•MT3544:
•MT3652:
•MT5474:G5M
•MT5498:
•MT5554:
•MT5852:
•MT3029,3054,3139,3219,3349,3421,3769,3934,4992,5206,
5267,5325_SB
03T6010N
134ThinkCentreHardwareMaintenanceManual

Item#FRUsFRU#CRU
2
Microprocessor,PentiumG69602.93G1066MHzDualcore\3M\73W
LGA1156(Gfxcorespeed533MHz)
•MT3246:
•MT3282:
•MT3544:
•MT3652:
•MT5474:G7M
•MT5498:
•MT5554:
•MT5852:
•MT3029,3054,3139,3219,3349,3421,3769,3934,4992,5206,
5267,5325_SB
03T9021N
3
Memorymodule,1GBPC3-85001066MHzDDR3UDIMM
•MT3246:
•MT3282:
•MT3544:
•MT3652:
•MT5474:
•MT5498:
•MT5554:
•MT5852:
•MT3029,3054,3139,3219,3349,3421,3769,3934,4992,5206,
5267,5325_SB
46R33221
3
Memorymodule,2GBPC3-85001066MHzDDR3UDIMM
•MT3246:
•MT3282:
•MT3544:
•MT3652:
•MT5474:
•MT5498:
•MT5554:
•MT5852:
•MT3029,3054,3139,3219,3349,3421,3769,3934,4992,5206,
5267,5325_SB
46R33231
3
Memorymodule,1GBPC3-106001333MHzDDR3UDIMM
•MT3246:
•MT3282:
•MT3544:
•MT3652:
•MT5474:A1UA1FA1SA1PA1DA1Y
•MT5498:
•MT5554:
•MT5852:
64Y66481
Chapter10.FRUlists135

Item#FRUsFRU#CRU
•MT3029,3054,3139,3219,3349,3421,3769,3934,4992,5206,
5267,5325_SB
3
Memorymodule,2GBPC3-106001333MHzDDR3UDIMM
•MT3246:A3QA3HA4HA1UA1FA1SA1PA1DA1YA2UA2FA2S
A2PA2DA2YA5QA9UA9FA6VA7VA8VB3GB4UB4FB4SB1U
B1FB1SB2UB2FB2SB5GB6GB7QB8GB9UB9FB9S
•MT3282:A3HA1UA1FA1SA1PA1DA1YA2UA2FA2SA2PA2D
A2YA4HA4VA5VA6VA7VA9GB1UB1FB1SA8UA8FA8SB2G
B4GB3UB3FB3SB5GB6UB6FB6S
•MT3544:A1GA2GA3GA4G
•MT3652:A1GA2GA3GA4GA5G
•MT5474:B4AB4TB5AB5TB6AB6TB7AB7TB8AB8TB9AB9T
B2GB3GA8MA9JB1JA2UA2FA2SA2PA2DA2YA2GA3UA3F
A3SA3PA3DA3YA3GA4UA4FA4SA4PA4DA4YA5UA5FA5S
A5PA5DA5YD1QD2JD3JD4UD4FD4SD4PD4YD5UD5FD5S
D5PD5YD6VD7VD8VD9VE1VF1MF2MF3MF4MF5MF6M
F8UF8FF8LG1VG2VG4PG5MG6UG6FG6SG7M
•MT5498:B1GB2GB3GB4GB5UB5FB5SB5YB5GB6GB7G
B8GA7MA8JA9JA1UA1FA1SA1PA1DA1YA1GA1AA1TA2U
A2FA2SA2PA2DA2YA3UA3FA3SA3PA3DA3YA4UA4FA4S
A4PA4DA4YA4AA4TE5JE6JE7UE7FE7SE7YE8UE8FE8S
E8YE9UE9FE9SE9YB9VE1VE2VE3VE4VF1MF2MF3MF4M
F5MF6MF7MF8VF9M
•MT5554:A1UA1FA1SA1PA1LA1DA1YA1GA1MA1AA1QA1T
A1CA1BA1HA1VA1KA1RA1EA1J
•MT5852:A1UA1FA1SA1PA1LA1DA1YA1GA1MA1AA1QA1T
A1BA1HA1VA1KA1RA1EA1J
•MT3029,3054,3139,3219,3349,3421,3769,3934,4992,5206,
5267,5325_SB
64Y66491
3
Memorymodule,4GBPC3-106001333MHzDDR3UDIMM
•MT3246:
•MT3282:
•MT3544:
•MT3652:
•MT5474:F7M
•MT5498:
•MT5554:
•MT5852:
•MT3029,3054,3139,3219,3349,3421,3769,3934,4992,5206,
5267,5325_SB
89Y92241
136ThinkCentreHardwareMaintenanceManual

Item#FRUsFRU#CRU
4
Opticaldrive,DVD-ROMDrive-16x/48x-SATA
•MT3246:A6V
•MT3282:A5VA7V
•MT3544:
•MT3652:
•MT5474:B1JA1UA1FA1SA1PA1DA1YD3JD6VD8V
•MT5498:A9JE6JE2VF8V
•MT5554:
•MT5852:
•MT3029,3054,3139,3219,3349,3421,3769,3934,4992,5206,
5267,5325_SB
71Y55431
4
Opticaldrive,DVDRecordableRambo8-SATA12XRAMwrite
•MT3246:A3QA3HA4HA1UA1FA1SA1PA1DA1YA2UA2FA2S
A2PA2DA2YA5QA9UA9FA7VA8VB3GB4UB4FB4SB1UB1F
B1SB2UB2FB2SB5GB6GB7QB8GB9UB9FB9S
•MT3282:A3HA1UA1FA1SA1PA1DA1YA2UA2FA2SA2PA2D
A2YA4HA4VA6VA9GB1UB1FB1SA8UA8FA8SB2GB4G
B3UB3FB3SB5GB6UB6FB6S
•MT3544:A1GA2GA3GA4G
•MT3652:A1GA2GA3GA4GA5G
•MT5474:B4AB4TB5AB5TB6AB6TB7AB7TB8AB8TB9AB9T
B2GB3GA8MA9JA2UA2FA2SA2PA2DA2YA2GA3UA3FA3S
A3PA3DA3YA3GA4UA4FA4SA4PA4DA4YA5UA5FA5SA5P
A5DA5YD1QD2JD4UD4FD4SD4PD4YD5UD5FD5SD5PD5Y
D7VD9VE1VF1MF2MF3MF4MF5MF6MF8UF8FF8LF7MG1V
G2VG4PG5MG6UG6FG6SG7M
•MT5498:B1GB2GB3GB4GB5UB5FB5SB5YB5GB6GB7G
B8GA7MA8JA1UA1FA1SA1PA1DA1YA1GA1AA1TA2UA2F
A2SA2PA2DA2YA3UA3FA3SA3PA3DA3YA4UA4FA4SA4P
A4DA4YA4AA4TE5JE7UE7FE7SE7YE8UE8FE8SE8YE9U
E9FE9SE9YB9VE1VE3VE4VF1MF2MF3MF4MF5MF6MF7M
F9M
•MT5554:A1UA1FA1SA1PA1LA1DA1YA1GA1MA1AA1QA1T
A1CA1BA1HA1VA1KA1RA1EA1J
•MT5852:A1UA1FA1SA1PA1LA1DA1YA1GA1MA1AA1QA1T
A1CA1BA1HA1VA1KA1RA1EA1J
•MT3029,3054,3139,3219,3349,3421,3769,3934,4992,5206,
5267,5325_SB
71Y55451
5
FRU,frontbezelbase
•MT3246:allmodels
•MT3282:allmodels
•MT3544:allmodels
•MT3652:
•MT5474:allmodels
•MT5498:allmodels
•MT5554:allmodels
•MT5852:allmodels
45K62581
Chapter10.FRUlists137

Item#FRUsFRU#CRU
•MT3029,3054,3139,3219,3349,3421,3769,3934,4992,5206,
5267,5325_SB
5
FRU,frontbezelwith1stODDbezelassembly
•MT3246:allmodels
•MT3282:allmodels
•MT3544:allmodels
•MT3652:allmodels
•MT5474:allmodels
•MT5498:allmodels
•MT5554:allmodels
•MT5852:allmodels
•MT3029,3054,3139,3219,3349,3421,3769,3934,4992,5206,
5267,5325_SB
45K63671
6
Harddiskdrive,SATA160GB7200RPM/3Gb/8M
•MT3246:
•MT3282:
•MT3544:
•MT3652:
•MT5474:
•MT5498:
•MT5554:
•MT5852:
•MT3029,3054,3139,3219,3349,3421,3769,3934,4992,5206,
5267,5325_SB
40Y90351
6
Harddiskdrive,SATA160GB7200RPM/3Gb/8M
•MT3246:
•MT3282:
•MT3544:
•MT3652:
•MT5474:
•MT5498:
•MT5554:
•MT5852:
•MT3029,3054,3139,3219,3349,3421,3769,3934,4992,5206,
5267,5325_SB
53Y68371
138ThinkCentreHardwareMaintenanceManual

Item#FRUsFRU#CRU
6
Harddiskdrive,SATA250GB7200RPM/3Gb/8M
•MT3246:A1UA1FA1SA1PA1DA1YA2UA2FA2SA2PA2DA2Y
B1UB1FB1S
•MT3282:
•MT3544:A1GA3G
•MT3652:A1GA4G
•MT5474:B4AB4TB5AB5TB6AB6TB7AB7TB9AB9TA1UA1F
A1SA1PA1DA1YA2UA2FA2SA2PA2DA2YA2GA3UA3FA3S
A3PA3DA3YA3GA5UA5FA5SA5PA5DA5YD4UD4FD4SD4P
D4YF1MF2MF8UF8FF8LG6UG6FG6S
•MT5498:B5UB5FB5SB5YB5GA1UA1FA1SA1PA1DA1YA1G
A1AA1TA4UA4FA4SA4PA4DA4YA4AA4TE9UE9FE9SE9Y
•MT5554:A1UA1FA1SA1PA1LA1DA1YA1GA1MA1AA1QA1T
A1CA1BA1HA1VA1KA1RA1EA1J
•MT5852:A1UA1FA1SA1PA1LA1DA1YA1GA1MA1AA1QA1T
A1CA1BA1HA1VA1KA1RA1EA1J
•MT3029,3054,3139,3219,3349,3421,3769,3934,4992,5206,
5267,5325_SB
40Y90361
6
Harddiskdrive,SATA250GB7200RPM/3Gb/8M
•MT3246:A1UA1FA1SA1PA1DA1YA2UA2FA2SA2PA2DA2Y
B1UB1FB1S
•MT3282:
•MT3544:A1GA3G
•MT3652:A1GA4G
•MT5474:B4AB4TB5AB5TB6AB6TB7AB7TB9AB9TA1UA1F
A1SA1PA1DA1YA2UA2FA2SA2PA2DA2YA2GA3UA3FA3S
A3PA3DA3YA3GA5UA5FA5SA5PA5DA5YD4UD4FD4SD4P
D4YF1MF2MF8UF8FF8LG6UG6FG6S
•MT5498:B5UB5FB5SB5YB5GA1UA1FA1SA1PA1DA1YA1G
A1AA1TA4UA4FA4SA4PA4DA4YA4AA4TE9UE9FE9SE9Y
•MT5554:A1UA1FA1SA1PA1LA1DA1YA1GA1MA1AA1QA1T
A1CA1BA1HA1VA1KA1RA1EA1J
•MT5852:A1UA1FA1SA1PA1LA1DA1YA1GA1MA1AA1QA1T
A1CA1BA1HA1VA1KA1RA1EA1J
•MT3029,3054,3139,3219,3349,3421,3769,3934,4992,5206,
5267,5325_SB
45K04081
6
Harddiskdrive,SATA320GB7200RPM/3Gb/8M
•MT3246:A3QA3HA4HA5QA6VA8VB3GB4UB4FB4SB6G
B7QB8GB9UB9FB9S
•MT3282:A3HA5VA7V
•MT3544:A2G
•MT3652:A2GA3G
•MT5474:B8AB8TB2GA8MD1QD6VD8VF3MG1VG4PG5M
G7M
•MT5498:B1GB2GB6GB9VE2VE4VF1MF2MF4MF7MF8VF9M
•MT5554:
•MT5852:
87H48911
Chapter10.FRUlists139

Item#FRUsFRU#CRU
•MT3029,3054,3139,3219,3349,3421,3769,3934,4992,5206,
5267,5325_SB
6
Harddiskdrive,SATA320GB7200RPM/3Gb/8M
•MT3246:A3QA3HA4HA5QA6VA8VB3GB4UB4FB4SB6G
B7QB8GB9UB9FB9S
•MT3282:A3HA5VA7VB1UB1FB1S
•MT3544:A2G
•MT3652:A2GA3G
•MT5474:B8AB8TB2GA8MD1QD6VD8VF3MG1VG4PG5M
G7M
•MT5498:B1GB2GB6GB9VE2VE4VF1MF2MF4MF7MF8VF9M
•MT5554:
•MT5852:
•MT3029,3054,3139,3219,3349,3421,3769,3934,4992,5206,
5267,5325_SB
45K04091
6
Harddiskdrive,SATA500GB7200RPM/3Gb/16M
•MT3246:A9UA9FA7VB2UB2FB2SB5G
•MT3282:A1UA1FA1SA1PA1DA1YA2UA2FA2SA2PA2DA2Y
A4HA4VA6VA9GA8UA8FA8SB2GB4GB3UB3FB3SB5G
B6UB6FB6S
•MT3544:A4G
•MT3652:A5G
•MT5474:B3GA9JB1JA4UA4FA4SA4PA4DA4YD2JD3JD5U
D5FD5SD5PD5YD7VD9VE1VF4MF5MF6MF7MG2V
•MT5498:B3GB4GB7GB8GA7MA8JA9JA2UA2FA2SA2P
A2DA2YA3UA3FA3SA3PA3DA3YE5JE6JE7UE7FE7SE7Y
E8UE8FE8SE8YE1VE3VF3MF5MF6M
•MT5554:
•MT5852:
•MT3029,3054,3139,3219,3349,3421,3769,3934,4992,5206,
5267,5325_SB
41X55821
6
Harddiskdrive,SATA500GB7200RPM/3Gb/16M
•MT3246:A9UA9FA7VB2UB2FB2SB5G
•MT3282:A1UA1FA1SA1PA1DA1YA2UA2FA2SA2PA2DA2Y
A4HA4VA6VA9GA8UA8FA8SB2GB4GB3UB3FB3SB5G
B6UB6FB6S
•MT3544:A4G
•MT3652:A5G
•MT5474:B3GA9JB1JA4UA4FA4SA4PA4DA4YD2JD3JD5U
D5FD5SD5PD5YD7VD9VE1VF4MF5MF6MF7MG2V
•MT5498:B3GB4GB7GB8GA7MA8JA9JA2UA2FA2SA2P
A2DA2YA3UA3FA3SA3PA3DA3YE5JE6JE7UE7FE7SE7Y
E8UE8FE8SE8YE1VE3VF3MF5MF6M
•MT5554:
•MT5852:
45K04101
140ThinkCentreHardwareMaintenanceManual

Item#FRUsFRU#CRU
•MT3029,3054,3139,3219,3349,3421,3769,3934,4992,5206,
5267,5325_SB
6
Harddiskdrive,SATA1TB7200RPM/3Gb/32M
•MT3246:
•MT3282:
•MT3544:
•MT3652:
•MT5474:
•MT5498:
•MT5554:
•MT5852:
•MT3029,3054,3139,3219,3349,3421,3769,3934,4992,5206,
5267,5325_SB
45C59731
6
Harddiskdrive,SATA1TB7200RPM/3Gb/32M
•MT3246:
•MT3282:
•MT3544:
•MT3652:
•MT5474:
•MT5498:
•MT5554:
•MT5852:
•MT3029,3054,3139,3219,3349,3421,3769,3934,4992,5206,
5267,5325_SB
45K04121
6
Harddiskdrive,2.5inch150G10KRPMHDD
•MT3246:
•MT3282:
•MT3544:
•MT3652:
•MT5474:
•MT5498:
•MT5554:
•MT5852:
•MT3029,3054,3139,3219,3349,3421,3769,3934,4992,5206,
5267,5325_SB
46R64001
Chapter10.FRUlists141

Item#FRUsFRU#CRU
6
Harddiskdrive,IntelPostville80G
•MT3246:
•MT3282:
•MT3544:
•MT3652:
•MT5474:
•MT5498:
•MT5554:
•MT5852:
•MT3029,3054,3139,3219,3349,3421,3769,3934,4992,5206,
5267,5325_SB
41W05241
7
Systemboard,Q57planar(GALevel)-specialbid-Russiaonly
•MT3246:B3GB5GB8G
•MT3282:A9GB2GB5G
•MT3544:A1GA2GA3GA4G
•MT3652:A1GA2GA3GA4GA5G
•MT5474:B2GB3GA2GA3G
•MT5498:B1GB2GB3GB4G
•MT5554:A1UA1FA1SA1PA1LA1DA1YA1GA1MA1AA1QA1T
A1CA1BA1HA1VA1KA1RA1EA1J
•MT5852:A1G
•MT3029,3054,3139,3219,3349,3421,3769,3934,4992,5206,
5267,5325_SB
64Y6644N
7
Systemboard,planarIntelQ57non-AMTGALevelwithoutLANsurge
andTCMheaderplanar
•MT3246:A3QA3HA4HA1UA1FA1SA1PA1DA1YA2UA2FA2S
A2PA2DA2YA5QA9UA9FA6VA7VA8VB3GB4UB4FB4SB1U
B1FB1SB2UB2FB2SB5GB6GB7QB8GB9UB9FB9S
•MT3282:A3HA1UA1FA1SA1PA1DA1YA2UA2FA2SA2PA2D
A2YA4HA4VA5VA6VA7VA9GB1UB1FB1SA8UA8FA8SB2G
B4GB3UB3FB3SB5GB6UB6FB6S
•MT3544:A1GA2GA3GA4G
•MT3652:A1GA2GA3GA4GA5G
•MT5474:B4AB4TB5AB5TB6AB6TB7AB7TB8AB8TB9AB9T
B2GB3GA8MA9JB1JA1UA1FA1SA1PA1DA1YA2UA2FA2S
A2PA2DA2YA2GA3UA3FA3SA3PA3DA3YA3GA4UA4FA4S
A4PA4DA4YA5UA5FA5SA5PA5DA5YD1QD2JD3JD4UD4F
D4SD4PD4YD5UD5FD5SD5PD5YD6VD7VD8VD9VE1VF1M
F2MF3MF4MF5MF6MF8UF8FF8LF7MG1VG2VG4PG5M
G6UG6FG6SG7M
•MT5498:B1GB2GB3GB4GB5UB5FB5SB5YB5GB6GB7G
B8GA7MA8JA9JA1UA1FA1SA1PA1DA1YA1GA1AA1TA2U
A2FA2SA2PA2DA2YA3UA3FA3SA3PA3DA3YA4UA4FA4S
A4PA4DA4YA4AA4TE5JE6JE7UE7FE7SE7YE8UE8FE8S
E8YE9UE9FE9SE9YB9VE1VE2VE3VE4VF1MF2MF3MF4M
F5MF6MF7MF8VF9M
•MT5554:A1G
71Y5974N
142ThinkCentreHardwareMaintenanceManual

Item#FRUsFRU#CRU
•MT5852:A1UA1FA1SA1PA1LA1DA1YA1GA1MA1AA1QA1T
A1CA1BA1HA1VA1KA1RA1EA1J
•MT3029,3054,3139,3219,3349,3421,3769,3934,4992,5206,
5267,5325_SB
8
C2intrusionswitch
•MT3246:allmodels
•MT3282:allmodels
•MT3544:allmodels
•MT3652:allmodels
•MT5474:allmodels
•MT5498:allmodels
•MT5554:allmodels
•MT5852:allmodels
•MT3029,3054,3139,3219,3349,3421,3769,3934,4992,5206,
5267,5325_SB
39K50222
8
FRU,intrusionswitchassembly
•MT3246:allmodels
•MT3282:allmodels
•MT3544:allmodels
•MT3652:allmodels
•MT5474:allmodels
•MT5498:allmodels
•MT5554:allmodels
•MT5852:allmodels
•MT3029,3054,3139,3219,3349,3421,3769,3934,4992,5206,
5267,5325_SB
41R61162
9
FRU,4pinsystemfan
•MT3246:allmodels
•MT3282:allmodels
•MT3544:allmodels
•MT3652:allmodels
•MT5474:allmodels
•MT5498:allmodels
•MT5554:allmodels
•MT5852:allmodels
•MT3029,3054,3139,3219,3349,3421,3769,3934,4992,5206,
5267,5325_SB
45K6340N
Chapter10.FRUlists143

Item#FRUsFRU#CRU
10
Powersupply,280WattATXpowersupply;(standard;robust)
•MT3246:A3QA3HA4HA5QA6VA7VA8VA9UA9FB3GB4UB4F
B4SB1UB1FB1SB2UB2FB2SB5GB6GB7QB8GB9UB9FB9S
•MT3282:A3HA4HA4VA5VA6VA7VA9GB1UB1FB1SA8UA8F
A8SB2GB4GB3UB3FB3SB5GB6UB6FB6S
•MT3544:A1GA2GA3GA4G
•MT3652:A1GA2GA3GA4GA5G
•MT5474:D1QD6VD7VD8VD9VE1VF1MF2MF3MF4MF5M
F6MF8UF8FF8LF7MG1VG2VG4PG5MG6UG6FG6SG7M
•MT5498:B9VE1VE2VE3VE4VF1MF2MF3MF4MF5MF6M
F7MF8VF9M
•MT5554:A1UA1FA1SA1PA1LA1DA1YA1GA1MA1AA1QA1T
A1CA1BA1HA1VA1KA1RA1EA1J
•MT5852:A1UA1FA1SA1PA1LA1DA1YA1GA1MA1AA1Q
A1TA1CA1BA1HA1VA1KA1R
•MT3029,3054,3139,3219,3349,3421,3769,3934,4992,5206,
5267,5325_SB
45J94362
10
Powersupply,280WWattATXpowersupply(85plus)(standard,
robust,JP)
•MT3246:A3QA3HA4HA5QA6VA7VA8VA9UA9FB3GB4UB4F
B4SB1UB1FB1SB2UB2FB2SB5GB6GB7QB8GB9UB9FB9S
•MT3282:A3HA4HA4VA5VA6VA7VA9GB1UB1FB1SA8UA8F
A8SB2GB4GB3UB3FB3SB5GB6UB6FB6S
•MT3544:A1GA2GA3GA4G
•MT3652:A1GA2GA3GA4GA5G
•MT5474:A9JB1JD1QD2JD3JD6VD7VD8VD9VE1VF1MF2M
F3MF4MF5MF6MF8UF8FF8LF7MG1VG2VG4PG5MG6U
G6FG6SG7M
•MT5498:A8JA9JE5JE6JB9VE1VE2VE3VE4VF1MF2MF3M
F4MF5MF6MF7MF8VF9M
•MT5554:A1UA1FA1SA1PA1LA1DA1YA1GA1MA1AA1QA1T
A1CA1BA1HA1VA1KA1RA1EA1J
•MT5852:A1UA1FA1SA1PA1LA1DA1YA1GA1MA1AA1QA1T
A1BA1HA1VA1KA1RA1EA1J
•MT3029,3054,3139,3219,3349,3421,3769,3934,4992,5206,
5267,5325_SB
45J94312
10
Powersupply,ATX320W88%PSUpowersupply(standard,robust,
JP)
•MT3246:A3QA3HA4HA5QA6VA7VA8VA9UA9FB3GB4UB4F
B4SB1UB1FB1SB2UB2FB2SB5GB6GB7QB8GB9UB9FB9S
•MT3282:A3HA4HA4VA5VA6VA7VA9GB1UB1FB1SA8UA8F
A8SB2GB4GB3UB3FB3SB5GB6UB6FB6S
•MT3544:A1GA2GA3GA4G
•MT3652:A1GA2GA3GA4GA5G
•MT5474:A9JB1JD1QD2JD3JD6VD7VD8VD9VE1VF1MF2M
F3MF4MF5MF6MF8UF8FF8LF7MG1VG2VG4PG5MG6U
G6FG6SG7M
•MT5498:A8JA9JE5JE6JB9VE1VE2VE3VE4VF1MF2MF3M
F4MF5MF6MF7MF8VF9M
45J94102
144ThinkCentreHardwareMaintenanceManual

Item#FRUsFRU#CRU
•MT5554:A1UA1FA1SA1PA1LA1DA1YA1GA1MA1AA1QA1T
A1CA1BA1HA1VA1KA1RA1EA1J
•MT5852:A1UA1FA1SA1PA1LA1DA1YA1GA1MA1AA1QA1T
A1BA1HA1VA1KA1RA1EA1J
•MT3029,3054,3139,3219,3349,3421,3769,3934,4992,5206,
5267,5325_SB
10
Powersupply,280WATXpowersupply-standard,robust(manual
switch)
•MT3246:
•MT3282:
•MT3544:
•MT3652:
•MT5474:
•MT5498:
•MT5554:
•MT5852:
•MT3029,3054,3139,3219,3349,3421,3769,3934,4992,5206,
5267,5325_SB
54Y88532
10
Powersupply,280WWattATXpowersupply(85plus)-standard,
robust,JP
•MT3246:
•MT3282:
•MT3544:
•MT3652:
•MT5474:
•MT5498:
•MT5554:
•MT5852:
•MT3029,3054,3139,3219,3349,3421,3769,3934,4992,5206,
5267,5325_SB
54Y88542
MechanicalFRUs
TheFRUslistedinthefollowingtablesarenotillustrated.
FRUsFRU#CRU
FRU,FoxconnSATAcable,457mm,1atchingfordevice,RoHS
•MT3246:allmodels
•MT3282:allmodels
•MT3544:allmodels
•MT3652:allmodels
•MT5474:allmodels
•MT5498:allmodels
•MT5554:allmodels
•MT5852:allmodels
43N90132
Chapter10.FRUlists145

FRUsFRU#CRU
•MT3029,3054,3139,3219,3349,3421,3769,3934,4992,5206,5267,5325_SB
FRU,FoxconnSATAcable,250mm,1atchingfordevice,RoHS
•MT3246:allmodels
•MT3282:allmodels
•MT3544:allmodels
•MT3652:allmodels
•MT5474:allmodels
•MT5498:allmodels
•MT5554:allmodels
•MT5852:allmodels
•MT3029,3054,3139,3219,3349,3421,3769,3934,4992,5206,5267,5325_SB
43N90122
Cable-SATA120mmRoHSusedfor2ndHDD
•MT3246:allmodels
•MT3282:allmodels
•MT3544:allmodels
•MT3652:allmodels
•MT5474:allmodels
•MT5498:allmodels
•MT5554:allmodels
•MT5852:allmodels
•MT3029,3054,3139,3219,3349,3421,3769,3934,4992,5206,5267,5325_SB
41R33282
Serialportcable250mm(withlevelshiftIC)
•MT3246:allmodels
•MT3282:allmodels
•MT3544:allmodels
•MT3652:allmodels
•MT5474:allmodels
•MT5498:allmodels
•MT5554:allmodels
•MT5852:allmodels
•MT3029,3054,3139,3219,3349,3421,3769,3934,4992,5206,5267,5325_SB
71Y62172
eSATAcable-FH
•MT3246:allmodels
•MT3282:allmodels
•MT3544:allmodels
•MT3652:allmodels
•MT5474:allmodels
•MT5498:allmodels
•MT5554:allmodels
•MT5852:allmodels
•MT3029,3054,3139,3219,3349,3421,3769,3934,4992,5206,5267,5325_SB
41R33082
146ThinkCentreHardwareMaintenanceManual

FRUsFRU#CRU
Parallelcable280mmROHS(optional)
•MT3246:allmodels
•MT3282:allmodels
•MT3544:allmodels
•MT3652:allmodels
•MT5474:allmodels
•MT5498:allmodels
•MT5554:allmodels
•MT5852:allmodels
•MT3029,3054,3139,3219,3349,3421,3769,3934,4992,5206,5267,5325_SB
43N90222
FRU,optionalHDDbracketassembly,without4pincable
•MT3246:allmodels
•MT3282:allmodels
•MT3544:allmodels
•MT3652:allmodels
•MT5474:allmodels
•MT5498:allmodels
•MT5554:allmodels
•MT5852:allmodels
•MT3029,3054,3139,3219,3349,3421,3769,3934,4992,5206,5267,5325_SB
41R61061
FRU,HDDtray
•MT3246:allmodels
•MT3282:allmodels
•MT3544:allmodels
•MT3652:allmodels
•MT5474:allmodels
•MT5498:allmodels
•MT5554:allmodels
•MT5852:allmodels
•MT3029,3054,3139,3219,3349,3421,3769,3934,4992,5206,5267,5325_SB
41R62911
FRU,speakercable_R_9*5_400mm
•MT3246:allmodels
•MT3282:allmodels
•MT3544:allmodels
•MT3652:allmodels
•MT5474:allmodels
•MT5498:allmodels
•MT5554:allmodels
•MT5852:allmodels
•MT3029,3054,3139,3219,3349,3421,3769,3934,4992,5206,5267,5325_SB
43N90912
Chapter10.FRUlists147

FRUsFRU#CRU
FRU,temperaturesensecable(6pin460mm)kitwithbracket
•MT3246:allmodels
•MT3282:allmodels
•MT3544:allmodels
•MT3652:allmodels
•MT5474:allmodels
•MT5498:allmodels
•MT5554:allmodels
•MT5852:allmodels
•MT3029,3054,3139,3219,3349,3421,3769,3934,4992,5206,5267,5325_SB
45J94952
FRU,1.8SSDto3.5HDDconversionkit,nobezel,withPCB
•MT3246:allmodels
•MT3282:allmodels
•MT3544:allmodels
•MT3652:allmodels
•MT5474:allmodels
•MT5498:allmodels
•MT5554:allmodels
•MT5852:allmodels
•MT3029,3054,3139,3219,3349,3421,3769,3934,4992,5206,5267,5325_SB
43N95932
LED/switchcable_R(PCB_760mm_25L)kit
•MT3246:allmodels
•MT3282:allmodels
•MT3544:allmodels
•MT3652:allmodels
•MT5474:allmodels
•MT5498:allmodels
•MT5554:allmodels
•MT5852:allmodels
•MT3029,3054,3139,3219,3349,3421,3769,3934,4992,5206,5267,5325_SB
45J95772
FrontI/Ocable_NC_ESD_R(25L_A660_U280)
•MT3246:allmodels
•MT3282:allmodels
•MT3544:allmodels
•MT3652:allmodels
•MT5474:allmodels
•MT5498:allmodels
•MT5554:allmodels
•MT5852:allmodels
•MT3029,3054,3139,3219,3349,3421,3769,3934,4992,5206,5267,5325_SB
45J95732
148ThinkCentreHardwareMaintenanceManual

FRUsFRU#CRU
PS2cable_R_170mm_knockout(withscrew)
•MT3246:allmodels
•MT3282:allmodels
•MT3544:allmodels
•MT3652:allmodels
•MT5474:allmodels
•MT5498:allmodels
•MT5554:allmodels
•MT5852:allmodels
•MT3029,3054,3139,3219,3349,3421,3769,3934,4992,5206,5267,5325_SB
43N91492
FRU,frontfanusedfor2×500
•MT3246:allmodels
•MT3282:allmodels
•MT3544:allmodels
•MT3652:allmodels
•MT5474:allmodels
•MT5498:allmodels
•MT5554:allmodels
•MT5852:allmodels
•MT3029,3054,3139,3219,3349,3421,3769,3934,4992,5206,5267,5325_SB
43N9599N
FRU,chassisprimaryHDDcage
•MT3246:allmodels
•MT3282:allmodels
•MT3544:allmodels
•MT3652:allmodels
•MT5474:allmodels
•MT5498:allmodels
•MT5554:allmodels
•MT5852:allmodels
•MT3029,3054,3139,3219,3349,3421,3769,3934,4992,5206,5267,5325_SB
45K62721
IntelLGA115695W\73Wcoolerkit
•MT3246:allmodels
•MT3282:allmodels
•MT3544:allmodels
•MT3652:allmodels
•MT5474:allmodels
•MT5498:allmodels
•MT5554:allmodels
•MT5852:allmodels
•MT3029,3054,3139,3219,3349,3421,3769,3934,4992,5206,5267,5325_SB
03T9513N
Chapter10.FRUlists149

FRUsFRU#CRU
FRU,noFDDcoverassembly
•MT3246:allmodels
•MT3282:allmodels
•MT3544:allmodels
•MT3652:allmodels
•MT5474:allmodels
•MT5498:allmodels
•MT5554:allmodels
•MT5852:allmodels
•MT3029,3054,3139,3219,3349,3421,3769,3934,4992,5206,5267,5325_SB
45K62611
FRU,.2stODDcoverassembly
•MT3246:allmodels
•MT3282:allmodels
•MT3544:allmodels
•MT3652:allmodels
•MT5474:allmodels
•MT5498:allmodels
•MT5554:allmodels
•MT5852:allmodels
•MT3029,3054,3139,3219,3349,3421,3769,3934,4992,5206,5267,5325_SB
45K62652
FRU,tophandleassembly
•MT3246:allmodels
•MT3282:allmodels
•MT3544:allmodels
•MT3652:allmodels
•MT5474:allmodels
•MT5498:allmodels
•MT5554:allmodels
•MT5852:allmodels
•MT3029,3054,3139,3219,3349,3421,3769,3934,4992,5206,5267,5325_SB
45K62592
FRU,USBcover
•MT3246:allmodels
•MT3282:allmodels
•MT3544:allmodels
•MT3652:allmodels
•MT5474:allmodels
•MT5498:allmodels
•MT5554:allmodels
•MT5852:allmodels
•MT3029,3054,3139,3219,3349,3421,3769,3934,4992,5206,5267,5325_SB
45K62601
150ThinkCentreHardwareMaintenanceManual

FRUsFRU#CRU
FRU,FDD/cardreadercover
•MT3246:allmodels
•MT3282:allmodels
•MT3544:allmodels
•MT3652:allmodels
•MT5474:allmodels
•MT5498:allmodels
•MT5554:allmodels
•MT5852:allmodels
•MT3029,3054,3139,3219,3349,3421,3769,3934,4992,5206,5267,5325_SB
45K62621
FRU,.ODDblankcoverassembly
•MT3246:allmodels
•MT3282:allmodels
•MT3544:allmodels
•MT3652:allmodels
•MT5474:allmodels
•MT5498:allmodels
•MT5554:allmodels
•MT5852:allmodels
•MT3029,3054,3139,3219,3349,3421,3769,3934,4992,5206,5267,5325_SB
45K62631
FRU,.1stODDcoverassembly
•MT3246:allmodels
•MT3282:allmodels
•MT3544:allmodels
•MT3652:allmodels
•MT5474:allmodels
•MT5498:allmodels
•MT5554:allmodels
•MT5852:allmodels
•MT3029,3054,3139,3219,3349,3421,3769,3934,4992,5206,5267,5325_SB
45K62641
FRU,rearI/Oshield,ATX,Q57,FOF,withUSBnumber
•MT3246:allmodels
•MT3282:allmodels
•MT3544:allmodels
•MT3652:allmodels
•MT5474:allmodels
•MT5498:allmodels
•MT5554:allmodels
•MT5852:allmodels
•MT3029,3054,3139,3219,3349,3421,3769,3934,4992,5206,5267,5325_SB
43N98462
Chapter10.FRUlists151

FRUsFRU#CRU
FRU,rearUSB2portsIIHP
•MT3246:allmodels
•MT3282:allmodels
•MT3544:allmodels
•MT3652:allmodels
•MT5474:allmodels
•MT5498:allmodels
•MT5554:allmodels
•MT5852:allmodels
•MT3029,3054,3139,3219,3349,3421,3769,3934,4992,5206,5267,5325_SB
42Y80052
FRU,parallelcable280mmROHS(optional)
•MT3246:allmodels
•MT3282:allmodels
•MT3544:allmodels
•MT3652:allmodels
•MT5474:allmodels
•MT5498:allmodels
•MT5554:allmodels
•MT5852:allmodels
•MT3029,3054,3139,3219,3349,3421,3769,3934,4992,5206,5267,5325_SB
43N90221
FRU,rubberfoot(foracousticimprovement)
•MT3246:allmodels
•MT3282:allmodels
•MT3544:allmodels
•MT3652:allmodels
•MT5474:allmodels
•MT5498:allmodels
•MT5554:allmodels
•MT5852:allmodels
•MT3029,3054,3139,3219,3349,3421,3769,3934,4992,5206,5267,5325_SB
45K62782
FRU,chassis
•MT3246:allmodels
•MT3282:allmodels
•MT3544:allmodels
•MT3652:allmodels
•MT5474:allmodels
•MT5498:allmodels
•MT5554:allmodels
•MT5852:allmodels
•MT3029,3054,3139,3219,3349,3421,3769,3934,4992,5206,5267,5325_SB
45K6368N
152ThinkCentreHardwareMaintenanceManual

FRUsFRU#CRU
FRU,cableclipFCW-29
•MT3246:allmodels
•MT3282:allmodels
•MT3544:allmodels
•MT3652:allmodels
•MT5474:allmodels
•MT5498:allmodels
•MT5554:allmodels
•MT5852:allmodels
•MT3029,3054,3139,3219,3349,3421,3769,3934,4992,5206,5267,5325_SB
45K63652
FRU,retainer,cardreader/ODD/FDD
•MT3246:allmodels
•MT3282:allmodels
•MT3544:allmodels
•MT3652:allmodels
•MT5474:allmodels
•MT5498:allmodels
•MT5554:allmodels
•MT5852:allmodels
•MT3029,3054,3139,3219,3349,3421,3769,3934,4992,5206,5267,5325_SB
45K63781
FRU,mechanicalkit
•MT3246:allmodels
•MT3282:allmodels
•MT3544:allmodels
•MT3652:allmodels
•MT5474:allmodels
•MT5498:allmodels
•MT5554:allmodels
•MT5852:allmodels
•MT3029,3054,3139,3219,3349,3421,3769,3934,4992,5206,5267,5325_SB
45K6377N
FRU-sidecover
•MT3246:allmodels
•MT3282:allmodels
•MT3544:allmodels
•MT3652:allmodels
•MT5474:allmodels
•MT5498:allmodels
•MT5554:allmodels
•MT5852:allmodels
•MT3029,3054,3139,3219,3349,3421,3769,3934,4992,5206,5267,5325_SB
41N8050N
FRU-shield,5.25EMC
•MT3246:allmodels
41N8080N
Chapter10.FRUlists153

FRUsFRU#CRU
•MT3282:allmodels
•MT3544:allmodels
•MT3652:allmodels
•MT5474:allmodels
•MT5498:allmodels
•MT5554:allmodels
•MT5852:allmodels
•MT3029,3054,3139,3219,3349,3421,3769,3934,4992,5206,5267,5325_SB
KeyboardandMouse
Keyboard(LenovoPreferredProUSB--withouthub)FRU#CRU
USEnglish
•MT3246:A3QA1UA2UA5QA9UA6VA7VA8VB3GB5GB6GB7QB8GB9U
•MT3282:A1UA2UA4VA5VA6VA7VA9GB1UA8UB2GB4GB3UB5GB6U
•MT3544:A1GA2GA3GA4G
•MT3652:A1GA2GA3GA4GA5G
•MT5474:B4AB5AB6AB7AB8AB9AB2GB3GA8MA9JB1JA1UA2UA2G
A3UA3GA4UA5UD1QD2JD3JD4UD5UD6VD7VD8VD9VE1VF1MF2M
F3MF4MF5MF6MF8UF8LF7MG5MG6UG7M
•MT5498:B1GB2GB3GB4GB5UB5GB6GB7GB8GA7MA8JA9JA1UA1G
A1AA2UA3UA4UA4AE5JE6JE7UE8UE9UB9VE1VE2VE3VE4VF1M
F2MF3MF4MF5MF6MF7MF9M
•MT5554:A1UA1LA1MA1AA1QA1HA1RA1E
•MT5852:A1UA1LA1GA1MA1AA1QA1VA1E
•MT3029,3054,3139,3219,3349,3421,3769,3934,4992,5206,5267,
5325_SB
41A52891
Arabic
•MT3246:B3GB5GB6GB8G
•MT3282:A9GB2GB4GB5G
•MT3544:A1GA2GA3GA4G
•MT3652:A1GA2GA3GA4GA5G
•MT5474:B2GB3GA2GA3G
•MT5498:B1GB2GB3GB4GB5GB6GB7GB8GA1G
•MT5554:
•MT5852:A1G
•MT3029,3054,3139,3219,3349,3421,3769,3934,4992,5206,5267,
5325_SB
41A52901
154ThinkCentreHardwareMaintenanceManual

Keyboard(LenovoPreferredProUSB--withouthub)FRU#CRU
A/F
•MT3246:
•MT3282:
•MT3544:A1GA2GA3GA4G
•MT3652:A1GA2GA3GA4GA5G
•MT5474:B2GB3GA2GA3G
•MT5498:B1GB2GB3GB4GB5GB6GB7GB8GA1G
•MT5554:A1G
•MT5852:A1G
•MT3029,3054,3139,3219,3349,3421,3769,3934,4992,5206,5267,
5325_SB
41A52911
B/F
•MT3246:B3GB5GB6GB8G
•MT3282:
•MT3544:
•MT3652:
•MT5474:
•MT5498:
•MT5554:A1G
•MT5852:
•MT3029,3054,3139,3219,3349,3421,3769,3934,4992,5206,5267,
5325_SB
41A52921
BelgiumEnglish
•MT3246:B3GB5GB6GB8G
•MT3282:A9GB2GB4GB5G
•MT3544:A1GA2GA3GA4G
•MT3652:A1GA2GA3GA4GA5G
•MT5474:B2GB3GA2GA3G
•MT5498:B1GB2GB3GB4GB5GB6GB7GB8GA1G
•MT5554:A1G
•MT5852:A1G
•MT3029,3054,3139,3219,3349,3421,3769,3934,4992,5206,5267,
5325_SB
41A52931
BrazilianPortuguese
•MT3246:A1PA2P
•MT3282:A1PA2P
•MT3544:
•MT3652:
•MT5474:A1PA2PA3PA4PA5PD4PD5PG4P
•MT5498:A1PA2PA3PA4P
•MT5554:A1P
•MT5852:A1P
41A52941
Chapter10.FRUlists155

Keyboard(LenovoPreferredProUSB--withouthub)FRU#CRU
•MT3029,3054,3139,3219,3349,3421,3769,3934,4992,5206,5267,
5325_SB
Bulgarian
•MT3246:B3GB5GB6GB8G
•MT3282:A9GB2GB4GB5G
•MT3544:A1GA2GA3GA4G
•MT3652:A1GA2GA3GA4GA5G
•MT5474:B2GB3GA2GA3G
•MT5498:B1GB2GB3GB4GB5GB6GB7GB8GA1G
•MT5554:A1G
•MT5852:A1G
•MT3029,3054,3139,3219,3349,3421,3769,3934,4992,5206,5267,
5325_SB
41A52951
Chinese/US
•MT3246:A3HA4H
•MT3282:A3HA4H
•MT3544:
•MT3652:
•MT5474:G1VG2V
•MT5498:F8V
•MT5554:A1BA1H
•MT5852:A1HA1K
•MT3029,3054,3139,3219,3349,3421,3769,3934,4992,5206,5267,
5325_SB
41A52961
Czech(ABB)
•MT3246:B3GB5GB6GB8G
•MT3282:A9GB2GB4GB5G
•MT3544:A1GA2GA3GA4G
•MT3652:A1GA2GA3GA4GA5G
•MT5474:B2GB3GA2GA3G
•MT5498:B1GB2GB3GB4GB5GB6GB7GB8GA1G
•MT5554:A1G
•MT5852:A1G
•MT3029,3054,3139,3219,3349,3421,3769,3934,4992,5206,5267,
5325_SB
41A52971
156ThinkCentreHardwareMaintenanceManual

Keyboard(LenovoPreferredProUSB--withouthub)FRU#CRU
Danish
•MT3246:B3GB5GB6GB8G
•MT3282:A9GB2GB4GB5G
•MT3544:A1GA2GA3GA4G
•MT3652:A1GA2GA3GA4GA5G
•MT5474:B2GB3GA2GA3G
•MT5498:B1GB2GB3GB4GB5GB6GB7GB8GA1G
•MT5554:A1G
•MT5852:A1G
•MT3029,3054,3139,3219,3349,3421,3769,3934,4992,5206,5267,
5325_SB
41A52981
Dutch
•MT3246:B3GB5GB6GB8G
•MT3282:A9GB2GB4GB5G
•MT3544:A1GA2GA3GA4G
•MT3652:A1GA2GA3GA4GA5G
•MT5474:B2GB3GA2GA3G
•MT5498:B1GB2GB3GB4GB5GB6GB7GB8GA1G
•MT5554:A1G
•MT5852:A1G
•MT3029,3054,3139,3219,3349,3421,3769,3934,4992,5206,5267,
5325_SB
41A52991
French
•MT3246:B3GB5GB6GB8G
•MT3282:A9GB2GB4GB5G
•MT3544:A1GA2GA3GA4G
•MT3652:A1GA2GA3GA4GA5G
•MT5474:B2GB3GA2GA3G
•MT5498:B1GB2GB3GB4GB5GB6GB7GB8GA1G
•MT5554:A1G
•MT5852:A1G
•MT3029,3054,3139,3219,3349,3421,3769,3934,4992,5206,5267,
5325_SB
41A53001
FrenchCanadian
•MT3246:A1FA2FA9FB9F
•MT3282:A1FA2FB1FA8FB3FB6F
•MT3544:A1GA2GA3GA4G
•MT3652:A1GA2GA3GA4GA5G
•MT5474:B2GB3GA1FA2FA2GA3FA3GA4FA5FD4FD5FF8FG6F
•MT5498:B1GB2GB3GB4GB5FB5GB6GB7GB8GA1FA1GA2FA3F
A4FA5FE7FE8FE9F
•MT5554:A1F
•MT5852:A1FA1G
41A53011
Chapter10.FRUlists157

Keyboard(LenovoPreferredProUSB--withouthub)FRU#CRU
•MT3029,3054,3139,3219,3349,3421,3769,3934,4992,5206,5267,
5325_SB
FrenchCanadian
•MT3246:A1FA2FA9FB9F
•MT3282:A1FA2FB1FA8FB3FB6F
•MT3544:A1GA2GA3GA4G
•MT3652:A1GA2GA3GA4GA5G
•MT5474:B2GB3GA1FA2FA2GA3FA3GA4FA5FD4FD5FF8FG6F
•MT5498:B1GB2GB3GB4GB5FB5GB6GB7GB8GA1FA1GA2FA3F
A4FA5FE7FE8FE9F
•MT5554:A1F
•MT5852:A1FA1G
•MT3029,3054,3139,3219,3349,3421,3769,3934,4992,5206,5267,
5325_SB
41A53021
German
•MT3246:B3GB5GB6GB8G
•MT3282:A9GB2GB4GB5G
•MT3544:A1GA2GA3GA4G
•MT3652:A1GA2GA3GA4GA5G
•MT5474:B2GB3GA2GA3G
•MT5498:B1GB2GB3GB4GB5GB6GB7GB8GA1G
•MT5554:A1G
•MT5852:A1G
•MT3029,3054,3139,3219,3349,3421,3769,3934,4992,5206,5267,
5325_SB
41A53031
Greek
•MT3246:B3GB5GB6GB8G
•MT3282:A9GB2GB4GB5G
•MT3544:A1GA2GA3GA4G
•MT3652:A1GA2GA3GA4GA5G
•MT5474:B2GB3GA2GA3G
•MT5498:B1GB2GB3GB4GB5GB6GB7GB8GA1G
•MT5554:A1G
•MT5852:A1G
•MT3029,3054,3139,3219,3349,3421,3769,3934,4992,5206,5267,
5325_SB
41A53041
158ThinkCentreHardwareMaintenanceManual

Keyboard(LenovoPreferredProUSB--withouthub)FRU#CRU
Greek/US
•MT3246:B3GB5GB6GB8G
•MT3282:A9GB2GB4GB5G
•MT3544:A1GA2GA3GA4G
•MT3652:A1GA2GA3GA4GA5G
•MT5474:B2GB3GA2GA3G
•MT5498:B1GB2GB3GB4GB5GB6GB7GB8GA1G
•MT5554:A1G
•MT5852:A1G
•MT3029,3054,3139,3219,3349,3421,3769,3934,4992,5206,5267,
5325_SB
41A53051
Hebrew
•MT3246:B3GB5GB6GB8G
•MT3282:A9GB2GB4GB5G
•MT3544:A1GA2GA3GA4G
•MT3652:A1GA2GA3GA4GA5G
•MT5474:B2GB3GA2GA3G
•MT5498:B1GB2GB3GB4GB5GB6GB7GB8GA1G
•MT5554:A1G
•MT5852:A1G
•MT3029,3054,3139,3219,3349,3421,3769,3934,4992,5206,5267,
5325_SB
41A53061
Hungarian
•MT3246:B3GB5GB6GB8G
•MT3282:A9GB2GB4GB5G
•MT3544:A1GA2GA3GA4G
•MT3652:A1GA2GA3GA4GA5G
•MT5474:B2GB3GA2GA3G
•MT5498:B1GB2GB3GB4GB5GB6GB7GB8GA1G
•MT5554:A1G
•MT5852:A1G
•MT3029,3054,3139,3219,3349,3421,3769,3934,4992,5206,5267,
5325_SB
41A53071
Iceland
•MT3246:B3GB5GB6GB8G
•MT3282:A9GB2GB4GB5G
•MT3544:A1GA2GA3GA4G
•MT3652:A1GA2GA3GA4GA5G
•MT5474:B2GB3GA2GA3G
•MT5498:B1GB2GB3GB4GB5GB6GB7GB8GA1G
•MT5554:A1G
•MT5852:A1G
41A53081
Chapter10.FRUlists159

Keyboard(LenovoPreferredProUSB--withouthub)FRU#CRU
•MT3029,3054,3139,3219,3349,3421,3769,3934,4992,5206,5267,
5325_SB
Italy
•MT3246:B3GB5GB6GB8G
•MT3282:A9GB2GB4GB5G
•MT3544:A1GA2GA3GA4G
•MT3652:A1GA2GA3GA4GA5G
•MT5474:B2GB3GA2GA3G
•MT5498:B1GB2GB3GB4GB5GB6GB7GB8GA1G
•MT5554:A1G
•MT5852:A1G
•MT3029,3054,3139,3219,3349,3421,3769,3934,4992,5206,5267,
5325_SB
41A53091
Japanese
•MT3246:
•MT3282:
•MT3544:
•MT3652:
•MT5474:
•MT5498:
•MT5554:A1J
•MT5852:A1J
•MT3029,3054,3139,3219,3349,3421,3769,3934,4992,5206,5267,
5325_SB
41A53101
Korean
•MT3246:
•MT3282:
•MT3544:
•MT3652:
•MT5474:
•MT5498:
•MT5554:A1K
•MT5852:A1R
•MT3029,3054,3139,3219,3349,3421,3769,3934,4992,5206,5267,
5325_SB
41A53111
160ThinkCentreHardwareMaintenanceManual

Keyboard(LenovoPreferredProUSB--withouthub)FRU#CRU
LASpanish
•MT3246:A1SA1DA1YA2SA2DA2YB9S
•MT3282:A1SA1DA1YA2SA2DA2YB1SA8SB3SB6S
•MT3544:
•MT3652:
•MT5474:A1SA1DA1YA2SA2DA2YA3SA3DA3YA4SA4DA4YA5SA5D
A5YD4SD4YD5SD5YG6S
•MT5498:B5SB5YA1SA1DA1YA2SA2DA2YA3SA3DA3YA4SA4DA4Y
E7SE7YE8SE8YE9SE9Y
•MT5554:A1SA1DA1Y
•MT5852:A1SA1DA1Y
•MT3029,3054,3139,3219,3349,3421,3769,3934,4992,5206,5267,
5325_SB
41A53121
Norwegian
•MT3246:B3GB5GB6GB8G
•MT3282:A9GB2GB4GB5G
•MT3544:A1GA2GA3GA4G
•MT3652:A1GA2GA3GA4GA5G
•MT5474:B2GB3GA2GA3G
•MT5498:B1GB2GB3GB4GB5GB6GB7GB8GA1G
•MT5554:A1G
•MT5852:A1G
•MT3029,3054,3139,3219,3349,3421,3769,3934,4992,5206,5267,
5325_SB
41A53131
Polish
•MT3246:B3GB5GB6GB8G
•MT3282:A9GB2GB4GB5G
•MT3544:A1GA2GA3GA4G
•MT3652:A1GA2GA3GA4GA5G
•MT5474:B2GB3GA2GA3G
•MT5498:B1GB2GB3GB4GB5GB6GB7GB8GA1G
•MT5554:A1G
•MT5852:A1G
•MT3029,3054,3139,3219,3349,3421,3769,3934,4992,5206,5267,
5325_SB
41A53141
Chapter10.FRUlists161

Keyboard(LenovoPreferredProUSB--withouthub)FRU#CRU
Portuguese
•MT3246:B3GB5GB6GB8G
•MT3282:A9GB2GB4GB5G
•MT3544:A1GA2GA3GA4G
•MT3652:A1GA2GA3GA4GA5G
•MT5474:B2GB3GA2GA3G
•MT5498:B1GB2GB3GB4GB5GB6GB7GB8GA1G
•MT5554:A1G
•MT5852:A1G
•MT3029,3054,3139,3219,3349,3421,3769,3934,4992,5206,5267,
5325_SB
41A53151
Romanian
•MT3246:B3GB5GB6GB8G
•MT3282:A9GB2GB4GB5G
•MT3544:A1GA2GA3GA4G
•MT3652:A1GA2GA3GA4GA5G
•MT5474:B2GB3GA2GA3G
•MT5498:B1GB2GB3GB4GB5GB6GB7GB8GA1G
•MT5554:A1G
•MT5852:A1G
•MT3029,3054,3139,3219,3349,3421,3769,3934,4992,5206,5267,
5325_SB
41A53171
Romanian
•MT3246:B3GB5GB6GB8G
•MT3282:A9GB2GB4GB5G
•MT3544:A1GA2GA3GA4G
•MT3652:A1GA2GA3GA4GA5G
•MT5474:B2GB3GA2GA3G
•MT5498:B1GB2GB3GB4GB5GB6GB7GB8GA1G
•MT5554:A1G
•MT5852:A1G
•MT3029,3054,3139,3219,3349,3421,3769,3934,4992,5206,5267,
5325_SB
41A53161
Russian/Cyrillic
•MT3246:B3GB5GB6GB8G
•MT3282:A9GB2GB4GB5G
•MT3544:A1GA2GA3GA4G
•MT3652:A1GA2GA3GA4GA5G
•MT5474:B2GB3GA2GA3G
•MT5498:B1GB2GB3GB4GB5GB6GB7GB8GA1G
•MT5554:A1G
•MT5852:A1G
41A53181
162ThinkCentreHardwareMaintenanceManual

Keyboard(LenovoPreferredProUSB--withouthub)FRU#CRU
•MT3029,3054,3139,3219,3349,3421,3769,3934,4992,5206,5267,
5325_SB
Serbian/Cyrillic
•MT3246:B3GB5GB6GB8G
•MT3282:A9GB2GB4GB5G
•MT3544:A1GA2GA3GA4G
•MT3652:A1GA2GA3GA4GA5G
•MT5474:B2GB3GA2GA3G
•MT5498:B1GB2GB3GB4GB5GB6GB7GB8GA1G
•MT5554:A1G
•MT5852:A1G
•MT3029,3054,3139,3219,3349,3421,3769,3934,4992,5206,5267,
5325_SB
41A53191
Slovak
•MT3246:B3GB5GB6GB8G
•MT3282:A9GB2GB4GB5G
•MT3544:A1GA2GA3GA4G
•MT3652:A1GA2GA3GA4GA5G
•MT5474:B2GB3GA2GA3G
•MT5498:B1GB2GB3GB4GB5GB6GB7GB8GA1G
•MT5554:A1G
•MT5852:A1G
•MT3029,3054,3139,3219,3349,3421,3769,3934,4992,5206,5267,
5325_SB
41A53201
Spanish
•MT3246:B3GB5GB6GB8G
•MT3282:A9GB2GB4GB5G
•MT3544:A1GA2GA3GA4G
•MT3652:A1GA2GA3GA4GA5G
•MT5474:B2GB3GA2GA3G
•MT5498:B1GB2GB3GB4GB5GB6GB7GB8GA1G
•MT5554:A1G
•MT5852:A1G
•MT3029,3054,3139,3219,3349,3421,3769,3934,4992,5206,5267,
5325_SB
41A53211
Chapter10.FRUlists163

Keyboard(LenovoPreferredProUSB--withouthub)FRU#CRU
Swedish/Finnish
•MT3246:B3GB5GB6GB8G
•MT3282:A9GB2GB4GB5G
•MT3544:A1GA2GA3GA4G
•MT3652:A1GA2GA3GA4GA5G
•MT5474:B2GB3GA2GA3G
•MT5498:B1GB2GB3GB4GB5GB6GB7GB8GA1G
•MT5554:A1G
•MT5852:A1G
•MT3029,3054,3139,3219,3349,3421,3769,3934,4992,5206,5267,
5325_SB
41A53221
SF/G
•MT3246:B3GB5GB6GB8G
•MT3282:A9GB2GB4GB5G
•MT3544:A1GA2GA3GA4G
•MT3652:A1GA2GA3GA4GA5G
•MT5474:B2GB3GA2GA3G
•MT5498:B1GB2GB3GB4GB5GB6GB7GB8GA1G
•MT5554:A1G
•MT5852:A1G
•MT3029,3054,3139,3219,3349,3421,3769,3934,4992,5206,5267,
5325_SB
41A53231
Thailand
•MT3246:
•MT3282:
•MT3544:
•MT3652:
•MT5474:B4TB5TB6TB7TB8TB9T
•MT5498:A1TA4T
•MT5554:A1T
•MT5852:A1T
•MT3029,3054,3139,3219,3349,3421,3769,3934,4992,5206,5267,
5325_SB
41A53241
Turkish
•MT3246:B3GB5GB6GB8G
•MT3282:A9GB2GB4GB5G
•MT3544:A1GA2GA3GA4G
•MT3652:A1GA2GA3GA4GA5G
•MT5474:B2GB3GA2GA3G
•MT5498:B1GB2GB3GB4GB5GB6GB7GB8GA1G
•MT5554:A1G
•MT5852:A1G
41A53251
164ThinkCentreHardwareMaintenanceManual

Keyboard(LenovoPreferredProUSB--withouthub)FRU#CRU
•MT3029,3054,3139,3219,3349,3421,3769,3934,4992,5206,5267,
5325_SB
Turkish
•MT3246:B3GB5GB6GB8G
•MT3282:A9GB2GB4GB5G
•MT3544:A1GA2GA3GA4G
•MT3652:A1GA2GA3GA4GA5G
•MT5474:B2GB3GA2GA3G
•MT5498:B1GB2GB3GB4GB5GB6GB7GB8GA1G
•MT5554:A1G
•MT5852:A1G
•MT3029,3054,3139,3219,3349,3421,3769,3934,4992,5206,5267,
5325_SB
41A53261
UKEnglish
•MT3246:B3GB5GB6GB8G
•MT3282:A9GB2GB4GB5G
•MT3544:A1GA2GA3GA4G
•MT3652:A1GA2GA3GA4GA5G
•MT5474:B2GB3GA2GA3G
•MT5498:B1GB2GB3GB4GB5GB6GB7GB8GA1G
•MT5554:A1G
•MT5852:A1G
•MT3029,3054,3139,3219,3349,3421,3769,3934,4992,5206,5267,
5325_SB
41A53271
USEuropean
•MT3246:B3GB5GB6GB8G
•MT3282:A9GB2GB4GB5G
•MT3544:A1GA2GA3GA4G
•MT3652:A1GA2GA3GA4GA5G
•MT5474:B2GB3GA2GA3G
•MT5498:B1GB2GB3GB4GB5GB6GB7GB8GA1G
•MT5554:A1G
•MT5852:A1G
•MT3029,3054,3139,3219,3349,3421,3769,3934,4992,5206,5267,
5325_SB
41A53281
Chapter10.FRUlists165

Keyboard(LenovoPreferredProUSB--withouthub)FRU#CRU
Slovenian
•MT3246:B3GB5GB6GB8G
•MT3282:A9GB2GB4GB5G
•MT3544:
•MT3652:
•MT5474:
•MT5498:
•MT5554:A1G
•MT5852:
•MT3029,3054,3139,3219,3349,3421,3769,3934,4992,5206,5267,
5325_SB
41A53291
Arabic(New)
•MT3246:B3GB5GB6GB8G
•MT3282:A9GB2GB4GB5G
•MT3544:A1GA2GA3GA4G
•MT3652:A1GA2GA3GA4GA5G
•MT5474:B2GB3GA2GA3G
•MT5498:B1GB2GB3GB4GB5GB6GB7GB8GA1G
•MT5554:A1G
•MT5852:A1G
•MT3029,3054,3139,3219,3349,3421,3769,3934,4992,5206,5267,
5325_SB
45J48801
Lithuanian
•MT3246:B3GB5GB6GB8G
•MT3282:A9GB2GB4GB5G
•MT3544:
•MT3652:
•MT5474:
•MT5498:
•MT5554:A1G
•MT5852:
•MT3029,3054,3139,3219,3349,3421,3769,3934,4992,5206,5267,
5325_SB
45J48961
India
•MT3246:
•MT3282:
•MT3544:
•MT3652:
•MT5474:
•MT5498:
•MT5554:A1Q
•MT5852:
54Y83811
166ThinkCentreHardwareMaintenanceManual

Keyboard(LenovoPreferredProUSB--withouthub)FRU#CRU
•MT3029,3054,3139,3219,3349,3421,3769,3934,4992,5206,5267,
5325_SB
Keyboard(PreferredProFullSizePS/2)FRU#CRU
PS/2--USEnglish
•MT3246:
•MT3282:
•MT3544:
•MT3652:
•MT5474:
•MT5498:
•MT5554:
•MT5852:
•MT3029,3054,3139,3219,3349,3421,3769,3934,4992,5206,5267,5325_SB
41A50391
PS/2--Arabic
•MT3246:
•MT3282:
•MT3544:
•MT3652:
•MT5474:
•MT5498:
•MT5554:
•MT5852:
•MT3029,3054,3139,3219,3349,3421,3769,3934,4992,5206,5267,5325_SB
41A50401
PS/2--A/F
•MT3246:
•MT3282:
•MT3544:
•MT3652:
•MT5474:
•MT5498:
•MT5554:
•MT5852:
•MT3029,3054,3139,3219,3349,3421,3769,3934,4992,5206,5267,5325_SB
41A50411
Chapter10.FRUlists167

Keyboard(PreferredProFullSizePS/2)FRU#CRU
PS/2--B/F
•MT3246:
•MT3282:
•MT3544:
•MT3652:
•MT5474:
•MT5498:
•MT5554:
•MT5852:
•MT3029,3054,3139,3219,3349,3421,3769,3934,4992,5206,5267,5325_SB
41A50421
PS/2--BelgiumEnglish
•MT3246:
•MT3282:
•MT3544:
•MT3652:
•MT5474:
•MT5498:
•MT5554:
•MT5852:
•MT3029,3054,3139,3219,3349,3421,3769,3934,4992,5206,5267,5325_SB
41A50431
PS/2--BrazilianPortuguese
•MT3246:
•MT3282:
•MT3544:
•MT3652:
•MT5474:
•MT5498:
•MT5554:
•MT5852:
•MT3029,3054,3139,3219,3349,3421,3769,3934,4992,5206,5267,5325_SB
41A50441
PS/2--Bulgarian
•MT3246:
•MT3282:
•MT3544:
•MT3652:
•MT5474:
•MT5498:
•MT5554:
•MT5852:
•MT3029,3054,3139,3219,3349,3421,3769,3934,4992,5206,5267,5325_SB
41A50451
168ThinkCentreHardwareMaintenanceManual

Keyboard(PreferredProFullSizePS/2)FRU#CRU
PS/2--Chinese/US
•MT3246:
•MT3282:
•MT3544:
•MT3652:
•MT5474:
•MT5498:
•MT5554:
•MT5852:
•MT3029,3054,3139,3219,3349,3421,3769,3934,4992,5206,5267,5325_SB
41A50461
PS/2--Czech(ABB)
•MT3246:
•MT3282:
•MT3544:
•MT3652:
•MT5474:
•MT5498:
•MT5554:
•MT5852:
•MT3029,3054,3139,3219,3349,3421,3769,3934,4992,5206,5267,5325_SB
41A50471
PS/2--Danish
•MT3246:
•MT3282:
•MT3544:
•MT3652:
•MT5474:
•MT5498:
•MT5554:
•MT5852:
•MT3029,3054,3139,3219,3349,3421,3769,3934,4992,5206,5267,5325_SB
41A50481
PS/2--Dutch
•MT3246:
•MT3282:
•MT3544:
•MT3652:
•MT5474:
•MT5498:
•MT5554:
•MT5852:
•MT3029,3054,3139,3219,3349,3421,3769,3934,4992,5206,5267,5325_SB
41A50491
Chapter10.FRUlists169

Keyboard(PreferredProFullSizePS/2)FRU#CRU
PS/2--French
•MT3246:
•MT3282:
•MT3544:
•MT3652:
•MT5474:
•MT5498:
•MT5554:
•MT5852:
•MT3029,3054,3139,3219,3349,3421,3769,3934,4992,5206,5267,5325_SB
41A50501
PS/2--FrenchCanadian
•MT3246:
•MT3282:
•MT3544:
•MT3652:
•MT5474:
•MT5498:
•MT5554:
•MT5852:
•MT3029,3054,3139,3219,3349,3421,3769,3934,4992,5206,5267,5325_SB
41A50511
PS/2--FrenchCanadian
•MT3246:
•MT3282:
•MT3544:
•MT3652:
•MT5474:
•MT5498:
•MT5554:
•MT5852:
•MT3029,3054,3139,3219,3349,3421,3769,3934,4992,5206,5267,5325_SB
41A50521
PS/2--German
•MT3246:
•MT3282:
•MT3544:
•MT3652:
•MT5474:
•MT5498:
•MT5554:
•MT5852:
•MT3029,3054,3139,3219,3349,3421,3769,3934,4992,5206,5267,5325_SB
41A50531
170ThinkCentreHardwareMaintenanceManual

Keyboard(PreferredProFullSizePS/2)FRU#CRU
PS/2--Greek
•MT3246:
•MT3282:
•MT3544:
•MT3652:
•MT5474:
•MT5498:
•MT5554:
•MT5852:
•MT3029,3054,3139,3219,3349,3421,3769,3934,4992,5206,5267,5325_SB
41A50541
PS/2--Greek/US
•MT3246:
•MT3282:
•MT3544:
•MT3652:
•MT5474:
•MT5498:
•MT5554:
•MT5852:
•MT3029,3054,3139,3219,3349,3421,3769,3934,4992,5206,5267,5325_SB
41A50801
PS/2--Hebrew
•MT3246:
•MT3282:
•MT3544:
•MT3652:
•MT5474:
•MT5498:
•MT5554:
•MT5852:
•MT3029,3054,3139,3219,3349,3421,3769,3934,4992,5206,5267,5325_SB
41A50551
PS/2--Hungarian
•MT3246:
•MT3282:
•MT3544:
•MT3652:
•MT5474:
•MT5498:
•MT5554:
•MT5852:
•MT3029,3054,3139,3219,3349,3421,3769,3934,4992,5206,5267,5325_SB
41A50561
Chapter10.FRUlists171

Keyboard(PreferredProFullSizePS/2)FRU#CRU
PS/2--Iceland
•MT3246:
•MT3282:
•MT3544:
•MT3652:
•MT5474:
•MT5498:
•MT5554:
•MT5852:
•MT3029,3054,3139,3219,3349,3421,3769,3934,4992,5206,5267,5325_SB
41A50571
PS/2--Italy
•MT3246:
•MT3282:
•MT3544:
•MT3652:
•MT5474:
•MT5498:
•MT5554:
•MT5852:
•MT3029,3054,3139,3219,3349,3421,3769,3934,4992,5206,5267,5325_SB
41A50581
PS/2--Japanese
•MT3246:
•MT3282:
•MT3544:
•MT3652:
•MT5474:
•MT5498:
•MT5554:
•MT5852:
•MT3029,3054,3139,3219,3349,3421,3769,3934,4992,5206,5267,5325_SB
41A50591
PS/2--Korean
•MT3246:
•MT3282:
•MT3544:
•MT3652:
•MT5474:
•MT5498:
•MT5554:
•MT5852:
•MT3029,3054,3139,3219,3349,3421,3769,3934,4992,5206,5267,5325_SB
41A50601
172ThinkCentreHardwareMaintenanceManual

Keyboard(PreferredProFullSizePS/2)FRU#CRU
PS/2--LASpanish
•MT3246:
•MT3282:
•MT3544:
•MT3652:
•MT5474:
•MT5498:
•MT5554:
•MT5852:
•MT3029,3054,3139,3219,3349,3421,3769,3934,4992,5206,5267,5325_SB
41A50611
PS/2--Norwegian
•MT3246:
•MT3282:
•MT3544:
•MT3652:
•MT5474:
•MT5498:
•MT5554:
•MT5852:
•MT3029,3054,3139,3219,3349,3421,3769,3934,4992,5206,5267,5325_SB
41A50621
PS/2--Polish
•MT3246:
•MT3282:
•MT3544:
•MT3652:
•MT5474:
•MT5498:
•MT5554:
•MT5852:
•MT3029,3054,3139,3219,3349,3421,3769,3934,4992,5206,5267,5325_SB
41A50631
PS/2--Portuguese
•MT3246:
•MT3282:
•MT3544:
•MT3652:
•MT5474:
•MT5498:
•MT5554:
•MT5852:
•MT3029,3054,3139,3219,3349,3421,3769,3934,4992,5206,5267,5325_SB
41A50641
Chapter10.FRUlists173

Keyboard(PreferredProFullSizePS/2)FRU#CRU
PS/2--Romanian
•MT3246:
•MT3282:
•MT3544:
•MT3652:
•MT5474:
•MT5498:
•MT5554:
•MT5852:
•MT3029,3054,3139,3219,3349,3421,3769,3934,4992,5206,5267,5325_SB
41A50651
PS/2--Russian/Cyrillic
•MT3246:
•MT3282:
•MT3544:
•MT3652:
•MT5474:
•MT5498:
•MT5554:
•MT5852:
•MT3029,3054,3139,3219,3349,3421,3769,3934,4992,5206,5267,5325_SB
41A50661
PS/2--Serbian/Cyrillic
•MT3246:
•MT3282:
•MT3544:
•MT3652:
•MT5474:
•MT5498:
•MT5554:
•MT5852:
•MT3029,3054,3139,3219,3349,3421,3769,3934,4992,5206,5267,5325_SB
41A50671
PS/2--Slovak
•MT3246:
•MT3282:
•MT3544:
•MT3652:
•MT5474:
•MT5498:
•MT5554:
•MT5852:
•MT3029,3054,3139,3219,3349,3421,3769,3934,4992,5206,5267,5325_SB
41A50681
174ThinkCentreHardwareMaintenanceManual

Keyboard(PreferredProFullSizePS/2)FRU#CRU
PS/2--Spanish
•MT3246:
•MT3282:
•MT3544:
•MT3652:
•MT5474:
•MT5498:
•MT5554:
•MT5852:
•MT3029,3054,3139,3219,3349,3421,3769,3934,4992,5206,5267,5325_SB
41A50691
PS/2--Swedish/Finnish
•MT3246:
•MT3282:
•MT3544:
•MT3652:
•MT5474:
•MT5498:
•MT5554:
•MT5852:
•MT3029,3054,3139,3219,3349,3421,3769,3934,4992,5206,5267,5325_SB
41A50701
PS/2--SF/G
•MT3246:
•MT3282:
•MT3544:
•MT3652:
•MT5474:
•MT5498:
•MT5554:
•MT5852:
•MT3029,3054,3139,3219,3349,3421,3769,3934,4992,5206,5267,5325_SB
41A50711
PS/2--Thailand
•MT3246:
•MT3282:
•MT3544:
•MT3652:
•MT5474:
•MT5498:
•MT5554:
•MT5852:
•MT3029,3054,3139,3219,3349,3421,3769,3934,4992,5206,5267,5325_SB
41A50721
Chapter10.FRUlists175

Keyboard(PreferredProFullSizePS/2)FRU#CRU
PS/2--Turkish
•MT3246:
•MT3282:
•MT3544:
•MT3652:
•MT5474:
•MT5498:
•MT5554:
•MT5852:
•MT3029,3054,3139,3219,3349,3421,3769,3934,4992,5206,5267,5325_SB
41A50731
PS/2--Turkish
•MT3246:
•MT3282:
•MT3544:
•MT3652:
•MT5474:
•MT5498:
•MT5554:
•MT5852:
•MT3029,3054,3139,3219,3349,3421,3769,3934,4992,5206,5267,5325_SB
41A50741
PS/2--UKEnglish
•MT3246:
•MT3282:
•MT3544:
•MT3652:
•MT5474:
•MT5498:
•MT5554:
•MT5852:
•MT3029,3054,3139,3219,3349,3421,3769,3934,4992,5206,5267,5325_SB
41A50751
PS/2--USEuropean
•MT3246:
•MT3282:
•MT3544:
•MT3652:
•MT5474:
•MT5498:
•MT5554:
•MT5852:
•MT3029,3054,3139,3219,3349,3421,3769,3934,4992,5206,5267,5325_SB
41A50761
176ThinkCentreHardwareMaintenanceManual

Keyboard(PreferredProFullSizePS/2)FRU#CRU
PS/2--Slovenian
•MT3246:
•MT3282:
•MT3544:
•MT3652:
•MT5474:
•MT5498:
•MT5554:
•MT5852:
•MT3029,3054,3139,3219,3349,3421,3769,3934,4992,5206,5267,5325_SB
41A50771
PS/2--India
•MT3246:
•MT3282:
•MT3544:
•MT3652:
•MT5474:
•MT5498:
•MT5554:
•MT5852:
•MT3029,3054,3139,3219,3349,3421,3769,3934,4992,5206,5267,5325_SB
54Y83821
Keyboard(LenovoFingerprintReaderUSB)FRU#CRU
USEnglish
•MT3246:
•MT3282:
•MT3544:
•MT3652:
•MT5474:
•MT5498:
•MT5554:
•MT5852:
•MT3029,3054,3139,3219,3349,3421,3769,3934,4992,5206,5267,
5325_SB
03X80011
Arabic
•MT3246:
•MT3282:
•MT3544:
•MT3652:
•MT5474:
•MT5498:
•MT5554:
•MT5852:
03X80021
Chapter10.FRUlists177

Keyboard(LenovoFingerprintReaderUSB)FRU#CRU
•MT3029,3054,3139,3219,3349,3421,3769,3934,4992,5206,5267,
5325_SB
A/F
•MT3246:
•MT3282:
•MT3544:
•MT3652:
•MT5474:
•MT5498:
•MT5554:
•MT5852:
•MT3029,3054,3139,3219,3349,3421,3769,3934,4992,5206,5267,
5325_SB
03X80031
B/F
•MT3246:
•MT3282:
•MT3544:
•MT3652:
•MT5474:
•MT5498:
•MT5554:
•MT5852:
•MT3029,3054,3139,3219,3349,3421,3769,3934,4992,5206,5267,
5325_SB
03X80041
BelgiumEnglish
•MT3246:
•MT3282:
•MT3544:
•MT3652:
•MT5474:
•MT5498:
•MT5554:
•MT5852:
•MT3029,3054,3139,3219,3349,3421,3769,3934,4992,5206,5267,
5325_SB
03X80051
178ThinkCentreHardwareMaintenanceManual

Keyboard(LenovoFingerprintReaderUSB)FRU#CRU
BrazilianPortuguese
•MT3246:
•MT3282:
•MT3544:
•MT3652:
•MT5474:
•MT5498:
•MT5554:
•MT5852:
•MT3029,3054,3139,3219,3349,3421,3769,3934,4992,5206,5267,
5325_SB
03X80061
Bulgarian
•MT3246:
•MT3282:
•MT3544:
•MT3652:
•MT5474:
•MT5498:
•MT5554:
•MT5852:
•MT3029,3054,3139,3219,3349,3421,3769,3934,4992,5206,5267,
5325_SB
03X80071
Chinese/US
•MT3246:
•MT3282:
•MT3544:
•MT3652:
•MT5474:
•MT5498:
•MT5554:
•MT5852:
•MT3029,3054,3139,3219,3349,3421,3769,3934,4992,5206,5267,
5325_SB
03X80081
Czech(ABB)
•MT3246:
•MT3282:
•MT3544:
•MT3652:
•MT5474:
•MT5498:
•MT5554:
•MT5852:
03X80091
Chapter10.FRUlists179

Keyboard(LenovoFingerprintReaderUSB)FRU#CRU
•MT3029,3054,3139,3219,3349,3421,3769,3934,4992,5206,5267,
5325_SB
Danish
•MT3246:
•MT3282:
•MT3544:
•MT3652:
•MT5474:
•MT5498:
•MT5554:
•MT5852:
•MT3029,3054,3139,3219,3349,3421,3769,3934,4992,5206,5267,
5325_SB
03X80101
Dutch
•MT3246:
•MT3282:
•MT3544:
•MT3652:
•MT5474:
•MT5498:
•MT5554:
•MT5852:
•MT3029,3054,3139,3219,3349,3421,3769,3934,4992,5206,5267,
5325_SB
03X80111
French
•MT3246:
•MT3282:
•MT3544:
•MT3652:
•MT5474:
•MT5498:
•MT5554:
•MT5852:
•MT3029,3054,3139,3219,3349,3421,3769,3934,4992,5206,5267,
5325_SB
03X80121
180ThinkCentreHardwareMaintenanceManual

Keyboard(LenovoFingerprintReaderUSB)FRU#CRU
FrenchCanadian
•MT3246:
•MT3282:
•MT3544:
•MT3652:
•MT5474:
•MT5498:
•MT5554:
•MT5852:
•MT3029,3054,3139,3219,3349,3421,3769,3934,4992,5206,5267,
5325_SB
03X80131
FrenchCanadian
•MT3246:
•MT3282:
•MT3544:
•MT3652:
•MT5474:
•MT5498:
•MT5554:
•MT5852:
•MT3029,3054,3139,3219,3349,3421,3769,3934,4992,5206,5267,
5325_SB
03X80141
German
•MT3246:
•MT3282:
•MT3544:
•MT3652:
•MT5474:
•MT5498:
•MT5554:
•MT5852:
•MT3029,3054,3139,3219,3349,3421,3769,3934,4992,5206,5267,
5325_SB
03X80151
Greek
•MT3246:
•MT3282:
•MT3544:
•MT3652:
•MT5474:
•MT5498:
•MT5554:
•MT5852:
03X80161
Chapter10.FRUlists181

Keyboard(LenovoFingerprintReaderUSB)FRU#CRU
•MT3029,3054,3139,3219,3349,3421,3769,3934,4992,5206,5267,
5325_SB
Greek/US
•MT3246:
•MT3282:
•MT3544:
•MT3652:
•MT5474:
•MT5498:
•MT5554:
•MT5852:
•MT3029,3054,3139,3219,3349,3421,3769,3934,4992,5206,5267,
5325_SB
03X80171
Hebrew
•MT3246:
•MT3282:
•MT3544:
•MT3652:
•MT5474:
•MT5498:
•MT5554:
•MT5852:
•MT3029,3054,3139,3219,3349,3421,3769,3934,4992,5206,5267,
5325_SB
03X80181
Hungarian
•MT3246:
•MT3282:
•MT3544:
•MT3652:
•MT5474:
•MT5498:
•MT5554:
•MT5852:
•MT3029,3054,3139,3219,3349,3421,3769,3934,4992,5206,5267,
5325_SB
03X80191
182ThinkCentreHardwareMaintenanceManual

Keyboard(LenovoFingerprintReaderUSB)FRU#CRU
Iceland
•MT3246:
•MT3282:
•MT3544:
•MT3652:
•MT5474:
•MT5498:
•MT5554:
•MT5852:
•MT3029,3054,3139,3219,3349,3421,3769,3934,4992,5206,5267,
5325_SB
03X80201
Italy
•MT3246:
•MT3282:
•MT3544:
•MT3652:
•MT5474:
•MT5498:
•MT5554:
•MT5852:
•MT3029,3054,3139,3219,3349,3421,3769,3934,4992,5206,5267,
5325_SB
03X80211
Japanese
•MT3246:
•MT3282:
•MT3544:
•MT3652:
•MT5474:
•MT5498:
•MT5554:
•MT5852:
•MT3029,3054,3139,3219,3349,3421,3769,3934,4992,5206,5267,
5325_SB
03X80221
Korean
•MT3246:
•MT3282:
•MT3544:
•MT3652:
•MT5474:
•MT5498:
•MT5554:
•MT5852:
03X80231
Chapter10.FRUlists183

Keyboard(LenovoFingerprintReaderUSB)FRU#CRU
•MT3029,3054,3139,3219,3349,3421,3769,3934,4992,5206,5267,
5325_SB
LASpanish
•MT3246:
•MT3282:
•MT3544:
•MT3652:
•MT5474:
•MT5498:
•MT5554:
•MT5852:
•MT3029,3054,3139,3219,3349,3421,3769,3934,4992,5206,5267,
5325_SB
03X80241
Norwegian
•MT3246:
•MT3282:
•MT3544:
•MT3652:
•MT5474:
•MT5498:
•MT5554:
•MT5852:
•MT3029,3054,3139,3219,3349,3421,3769,3934,4992,5206,5267,
5325_SB
03X80251
Polish
•MT3246:
•MT3282:
•MT3544:
•MT3652:
•MT5474:
•MT5498:
•MT5554:
•MT5852:
•MT3029,3054,3139,3219,3349,3421,3769,3934,4992,5206,5267,
5325_SB
03X80261
184ThinkCentreHardwareMaintenanceManual

Keyboard(LenovoFingerprintReaderUSB)FRU#CRU
Portuguese
•MT3246:
•MT3282:
•MT3544:
•MT3652:
•MT5474:
•MT5498:
•MT5554:
•MT5852:
•MT3029,3054,3139,3219,3349,3421,3769,3934,4992,5206,5267,
5325_SB
03X80271
Romanian
•MT3246:
•MT3282:
•MT3544:
•MT3652:
•MT5474:
•MT5498:
•MT5554:
•MT5852:
•MT3029,3054,3139,3219,3349,3421,3769,3934,4992,5206,5267,
5325_SB
03X80381
Romanian
•MT3246:
•MT3282:
•MT3544:
•MT3652:
•MT5474:
•MT5498:
•MT5554:
•MT5852:
•MT3029,3054,3139,3219,3349,3421,3769,3934,4992,5206,5267,
5325_SB
03X80391
Russian/Cyrillic
•MT3246:
•MT3282:
•MT3544:
•MT3652:
•MT5474:
•MT5498:
•MT5554:
•MT5852:
03X80281
Chapter10.FRUlists185

Keyboard(LenovoFingerprintReaderUSB)FRU#CRU
•MT3029,3054,3139,3219,3349,3421,3769,3934,4992,5206,5267,
5325_SB
Serbian/Cyrillic
•MT3246:
•MT3282:
•MT3544:
•MT3652:
•MT5474:
•MT5498:
•MT5554:
•MT5852:
•MT3029,3054,3139,3219,3349,3421,3769,3934,4992,5206,5267,
5325_SB
03X80401
Slovak
•MT3246:
•MT3282:
•MT3544:
•MT3652:
•MT5474:
•MT5498:
•MT5554:
•MT5852:
•MT3029,3054,3139,3219,3349,3421,3769,3934,4992,5206,5267,
5325_SB
03X80291
Spanish
•MT3246:
•MT3282:
•MT3544:
•MT3652:
•MT5474:
•MT5498:
•MT5554:
•MT5852:
•MT3029,3054,3139,3219,3349,3421,3769,3934,4992,5206,5267,
5325_SB
03X80301
186ThinkCentreHardwareMaintenanceManual

Keyboard(LenovoFingerprintReaderUSB)FRU#CRU
Swedish/Finnish
•MT3246:
•MT3282:
•MT3544:
•MT3652:
•MT5474:
•MT5498:
•MT5554:
•MT5852:
•MT3029,3054,3139,3219,3349,3421,3769,3934,4992,5206,5267,
5325_SB
03X80311
SF/G
•MT3246:
•MT3282:
•MT3544:
•MT3652:
•MT5474:
•MT5498:
•MT5554:
•MT5852:
•MT3029,3054,3139,3219,3349,3421,3769,3934,4992,5206,5267,
5325_SB
03X80321
Thailand
•MT3246:
•MT3282:
•MT3544:
•MT3652:
•MT5474:
•MT5498:
•MT5554:
•MT5852:
•MT3029,3054,3139,3219,3349,3421,3769,3934,4992,5206,5267,
5325_SB
03X80331
Turkish
•MT3246:
•MT3282:
•MT3544:
•MT3652:
•MT5474:
•MT5498:
•MT5554:
•MT5852:
03X80411
Chapter10.FRUlists187

Keyboard(LenovoFingerprintReaderUSB)FRU#CRU
•MT3029,3054,3139,3219,3349,3421,3769,3934,4992,5206,5267,
5325_SB
Turkish
•MT3246:
•MT3282:
•MT3544:
•MT3652:
•MT5474:
•MT5498:
•MT5554:
•MT5852:
•MT3029,3054,3139,3219,3349,3421,3769,3934,4992,5206,5267,
5325_SB
03X80341
UKEnglish
•MT3246:
•MT3282:
•MT3544:
•MT3652:
•MT5474:
•MT5498:
•MT5554:
•MT5852:
•MT3029,3054,3139,3219,3349,3421,3769,3934,4992,5206,5267,
5325_SB
03X80351
USEuropean
•MT3246:
•MT3282:
•MT3544:
•MT3652:
•MT5474:
•MT5498:
•MT5554:
•MT5852:
•MT3029,3054,3139,3219,3349,3421,3769,3934,4992,5206,5267,
5325_SB
03X80361
Slovenian
•MT3246:
•MT3282:
•MT3544:
•MT3652:
•MT5474:
•MT5498:
•MT5554:
03X80371
188ThinkCentreHardwareMaintenanceManual

Keyboard(LenovoFingerprintReaderUSB)FRU#CRU
•MT5852:
•MT3029,3054,3139,3219,3349,3421,3769,3934,4992,5206,5267,
5325_SB
MiceFRU#CRU
Opticalwheelmouse(400DPI,USB)
•MT3246:A3QA3HA4HA1UA1FA1SA1PA1DA1YA2UA2FA2SA2PA2D
A2YA5QA9UA9FA6VA7VA8VB3GB4UB4FB4SB1UB1FB1SB2UB2F
B2SB5GB6GB7QB8GB9UB9FB9S
•MT3282:A3HA1UA1FA1SA1PA1DA1YA2UA2FA2SA2PA2DA2YA4H
A4VA5VA6VA7VA9GB1UB1FB1SA8UA8FA8SB2GB4GB3UB3FB3S
B5GB6UB6FB6S
•MT3544:A1GA2GA3GA4G
•MT3652:A1GA2GA3GA4GA5G
•MT5474:B4AB4TB5AB5TB6AB6TB7AB7TB8AB8TB9AB9TB2GB3G
A8MA9JB1JA1UA1FA1SA1PA1DA1YA2UA2FA2SA2PA2DA2YA2G
A3UA3FA3SA3PA3DA3YA3GA4UA4FA4SA4PA4DA4YA5UA5FA5S
A5PA5DA5YD1QD2JD3JD4UD4FD4SD4PD4YD5UD5FD5SD5PD5Y
D6VD7VD8VD9VE1VF1MF2MF3MF4MF5MF6MF8UF8FF8LF7MG1V
G2VG4PG5MG6UG6FG6SG7M
•MT5498:B1GB2GB3GB4GB5UB5FB5SB5YB5GB6GB7GB8GA7MA8J
A9JA1UA1FA1SA1PA1DA1YA1GA1AA1TA2UA2FA2SA2PA2DA2YA3U
A3FA3SA3PA3DA3YA4UA4FA4SA4PA4DA4YA4AA4TE5JE6JE7UE7F
E7SE7YE8UE8FE8SE8YE9UE9FE9SE9YB9VE1VE2VE3VE4VF1M
F2MF3MF4MF5MF6MF7MF8VF9M
•MT5554:A1UA1FA1SA1PA1LA1DA1YA1GA1MA1AA1QA1TA1CA1B
A1HA1VA1KA1RA1EA1J
•MT5852:A1UA1FA1SA1PA1LA1DA1YA1GA1MA1AA1QA1TA1CA1B
A1HA1VA1KA1RA1EA1J
•MT3029,3054,3139,3219,3349,3421,3769,3934,4992,5206,5267,5325_SB
41U30131
Opticalwheelmouse(400DPI,USB)
•MT3246:A3QA3HA4HA1UA1FA1SA1PA1DA1YA2UA2FA2SA2PA2D
A2YA5QA9UA9FA6VA7VA8VB3GB4UB4FB4SB1UB1FB1SB2UB2F
B2SB5GB6GB7QB8GB9UB9FB9S
•MT3282:A3HA1UA1FA1SA1PA1DA1YA2UA2FA2SA2PA2DA2YA4H
A4VA5VA6VA7VA9GB1UB1FB1SA8UA8FA8SB2GB4GB3UB3FB3S
B5GB6UB6FB6S
•MT3544:A1GA2GA3GA4G
•MT3652:A1GA2GA3GA4GA5G
•MT5474:B4AB4TB5AB5TB6AB6TB7AB7TB8AB8TB9AB9TB2GB3G
A8MA9JB1JA1UA1FA1SA1PA1DA1YA2UA2FA2SA2PA2DA2YA2G
A3UA3FA3SA3PA3DA3YA3GA4UA4FA4SA4PA4DA4YA5UA5FA5S
A5PA5DA5YD1QD2JD3JD4UD4FD4SD4PD4YD5UD5FD5SD5PD5Y
D6VD7VD8VD9VE1VF1MF2MF3MF4MF5MF6MF8UF8FF8LF7MG1V
G2VG4PG5MG6UG6FG6SG7M
•MT5498:B1GB2GB3GB4GB5UB5FB5SB5YB5GB6GB7GB8GA7MA8J
A9JA1UA1FA1SA1PA1DA1YA1GA1AA1TA2UA2FA2SA2PA2DA2YA3U
A3FA3SA3PA3DA3YA4UA4FA4SA4PA4DA4YA4AA4TE5JE6JE7UE7F
E7SE7YE8UE8FE8SE8YE9UE9FE9SE9YB9VE1VE2VE3VE4VF1M
F2MF3MF4MF5MF6MF7MF8VF9M
41U30301
Chapter10.FRUlists189

MiceFRU#CRU
•MT5554:A1UA1FA1SA1PA1LA1DA1YA1GA1MA1AA1QA1TA1CA1B
A1HA1VA1KA1RA1EA1J
•MT5852:A1UA1FA1SA1PA1LA1DA1YA1GA1MA1AA1QA1TA1CA1B
A1HA1VA1KA1RA1EA1J
•MT3029,3054,3139,3219,3349,3421,3769,3934,4992,5206,5267,5325_SB
Opticalwheelmouse(400DPI,USB)
•MT3246:A3QA3HA4HA1UA1FA1SA1PA1DA1YA2UA2FA2SA2PA2D
A2YA5QA9UA9FA6VA7VA8VB3GB4UB4FB4SB1UB1FB1SB2UB2F
B2SB5GB6GB7QB8GB9UB9FB9S
•MT3282:A3HA1UA1FA1SA1PA1DA1YA2UA2FA2SA2PA2DA2YA4H
A4VA5VA6VA7VA9GB1UB1FB1SA8UA8FA8SB2GB4GB3UB3FB3S
B5GB6UB6FB6S
•MT3544:A1GA2GA3GA4G
•MT3652:A1GA2GA3GA4GA5G
•MT5474:B4AB4TB5AB5TB6AB6TB7AB7TB8AB8TB9AB9TB2GB3G
A8MA9JB1JA1UA1FA1SA1PA1DA1YA2UA2FA2SA2PA2DA2YA2G
A3UA3FA3SA3PA3DA3YA3GA4UA4FA4SA4PA4DA4YA5UA5FA5S
A5PA5DA5YD1QD2JD3JD4UD4FD4SD4PD4YD5UD5FD5SD5PD5Y
D6VD7VD8VD9VE1VF1MF2MF3MF4MF5MF6MF8UF8FF8LF7MG1V
G2VG4PG5MG6UG6FG6SG7M
•MT5498:B1GB2GB3GB4GB5UB5FB5SB5YB5GB6GB7GB8GA7MA8J
A9JA1UA1FA1SA1PA1DA1YA1GA1AA1TA2UA2FA2SA2PA2DA2YA3U
A3FA3SA3PA3DA3YA4UA4FA4SA4PA4DA4YA4AA4TE5JE6JE7UE7F
E7SE7YE8UE8FE8SE8YE9UE9FE9SE9YB9VE1VE2VE3VE4VF1M
F2MF3MF4MF5MF6MF7MF8VF9M
•MT5554:A1UA1FA1SA1PA1LA1DA1YA1GA1MA1AA1QA1TA1CA1B
A1HA1VA1KA1RA1EA1J
•MT5852:A1UA1FA1SA1PA1LA1DA1YA1GA1MA1AA1QA1TA1CA1B
A1HA1VA1KA1RA1EA1J
•MT3029,3054,3139,3219,3349,3421,3769,3934,4992,5206,5267,5325_SB
89Y12731
Opticalwheelmouse(400DPI,USB)
•MT3246:A3QA3HA4HA1UA1FA1SA1PA1DA1YA2UA2FA2SA2PA2D
A2YA5QA9UA9FA6VA7VA8VB3GB4UB4FB4SB1UB1FB1SB2UB2F
B2SB5GB6GB7QB8GB9UB9FB9S
•MT3282:A3HA1UA1FA1SA1PA1DA1YA2UA2FA2SA2PA2DA2YA4H
A4VA5VA6VA7VA9GB1UB1FB1SA8UA8FA8SB2GB4GB3UB3FB3S
B5GB6UB6FB6S
•MT3544:A1GA2GA3GA4G
•MT3652:A1GA2GA3GA4GA5G
•MT5474:B4AB4TB5AB5TB6AB6TB7AB7TB8AB8TB9AB9TB2GB3G
A8MA9JB1JA1UA1FA1SA1PA1DA1YA2UA2FA2SA2PA2DA2YA2G
A3UA3FA3SA3PA3DA3YA3GA4UA4FA4SA4PA4DA4YA5UA5FA5S
A5PA5DA5YD1QD2JD3JD4UD4FD4SD4PD4YD5UD5FD5SD5PD5Y
D6VD7VD8VD9VE1VF1MF2MF3MF4MF5MF6MF8UF8FF8LF7MG1V
G2VG4PG5MG6UG6FG6SG7M
•MT5498:B1GB2GB3GB4GB5UB5FB5SB5YB5GB6GB7GB8GA7MA8J
A9JA1UA1FA1SA1PA1DA1YA1GA1AA1TA2UA2FA2SA2PA2DA2YA3U
A3FA3SA3PA3DA3YA4UA4FA4SA4PA4DA4YA4AA4TE5JE6JE7UE7F
E7SE7YE8UE8FE8SE8YE9UE9FE9SE9YB9VE1VE2VE3VE4VF1M
F2MF3MF4MF5MF6MF7MF8VF9M
89Y12741
190ThinkCentreHardwareMaintenanceManual

MiceFRU#CRU
•MT5554:A1UA1FA1SA1PA1LA1DA1YA1GA1MA1AA1QA1TA1CA1B
A1HA1VA1KA1RA1EA1J
•MT5852:A1UA1FA1SA1PA1LA1DA1YA1GA1MA1AA1QA1TA1CA1B
A1HA1VA1KA1RA1EA1J
•MT3029,3054,3139,3219,3349,3421,3769,3934,4992,5206,5267,5325_SB
Opticalwheelmouse(400DPI,USB)
•MT3246:A3QA3HA4HA1UA1FA1SA1PA1DA1YA2UA2FA2SA2PA2D
A2YA5QA9UA9FA6VA7VA8VB3GB4UB4FB4SB1UB1FB1SB2UB2F
B2SB5GB6GB7QB8GB9UB9FB9S
•MT3282:A3HA1UA1FA1SA1PA1DA1YA2UA2FA2SA2PA2DA2YA4H
A4VA5VA6VA7VA9GB1UB1FB1SA8UA8FA8SB2GB4GB3UB3FB3S
B5GB6UB6FB6S
•MT3544:A1GA2GA3GA4G
•MT3652:A1GA2GA3GA4GA5G
•MT5474:B4AB4TB5AB5TB6AB6TB7AB7TB8AB8TB9AB9TB2GB3G
A8MA9JB1JA1UA1FA1SA1PA1DA1YA2UA2FA2SA2PA2DA2YA2G
A3UA3FA3SA3PA3DA3YA3GA4UA4FA4SA4PA4DA4YA5UA5FA5S
A5PA5DA5YD1QD2JD3JD4UD4FD4SD4PD4YD5UD5FD5SD5PD5Y
D6VD7VD8VD9VE1VF1MF2MF3MF4MF5MF6MF8UF8FF8LF7MG1V
G2VG4PG5MG6UG6FG6SG7M
•MT5498:B1GB2GB3GB4GB5UB5FB5SB5YB5GB6GB7GB8GA7MA8J
A9JA1UA1FA1SA1PA1DA1YA1GA1AA1TA2UA2FA2SA2PA2DA2YA3U
A3FA3SA3PA3DA3YA4UA4FA4SA4PA4DA4YA4AA4TE5JE6JE7UE7F
E7SE7YE8UE8FE8SE8YE9UE9FE9SE9YB9VE1VE2VE3VE4VF1M
F2MF3MF4MF5MF6MF7MF8VF9M
•MT5554:A1UA1FA1SA1PA1LA1DA1YA1GA1MA1AA1QA1TA1CA1B
A1HA1VA1KA1RA1EA1J
•MT5852:A1UA1FA1SA1PA1LA1DA1YA1GA1MA1AA1QA1TA1CA1B
A1HA1VA1KA1RA1EA1J
•MT3029,3054,3139,3219,3349,3421,3769,3934,4992,5206,5267,5325_SB
89Y12751
OpticalLaserMouse(USB)
•MT3246:A3QA3HA4HA1UA1FA1SA1PA1DA1YA2UA2FA2SA2PA2D
A2YA5QA9UA9FA6VA7VA8VB3GB4UB4FB4SB1UB1FB1SB2UB2F
B2SB5GB6GB7QB8GB9UB9FB9S
•MT3282:A3HA1UA1FA1SA1PA1DA1YA2UA2FA2SA2PA2DA2YA4H
A4VA5VA6VA7VA9GB1UB1FB1SA8UA8FA8SB2GB4GB3UB3FB3S
B5GB6UB6FB6S
•MT3544:
•MT3652:
•MT5474:B4AB4TB5AB5TB6AB6TB7AB7TB8AB8TB9AB9TB2GB3G
A8MA9JB1JA1UA1FA1SA1PA1DA1YA2UA2FA2SA2PA2DA2YA2G
A3UA3FA3SA3PA3DA3YA3GA4UA4FA4SA4PA4DA4YA5UA5FA5S
A5PA5DA5YD1QD2JD3JD4UD4FD4SD4PD4YD5UD5FD5SD5PD5Y
D6VD7VD8VD9VE1VF1MF2MF3MF4MF5MF6MF8UF8FF8LF7MG1V
G2VG4PG5MG6UG6FG6SG7M
•MT5498:
•MT5554:
•MT5852:
•MT3029,3054,3139,3219,3349,3421,3769,3934,4992,5206,5267,5325_SB
78Y44011
Chapter10.FRUlists191

AdaptersandmiscellaneousFRUs
Adapters&miscellaneousFRUsFRU#CRU
USB2.0mediacardreader,25in1ROHS
•MT3246:
•MT3282:
•MT3544:
•MT3652:
•MT5474:
•MT5498:
•MT5554:
•MT5852:
•MT3029,3054,3139,3219,3349,3421,3769,3934,4992,5206,5267,5325_SB
45R81391
DPtoDVIdongle200mm
•MT3246:
•MT3282:
•MT3544:
•MT3652:
•MT5474:
•MT5498:
•MT5554:
•MT5852:
•MT3029,3054,3139,3219,3349,3421,3769,3934,4992,5206,5267,5325_SB
43N91601
IEEE1394rewireadapter(ATX)
•MT3246:
•MT3282:
•MT3544:
•MT3652:
•MT5474:
•MT5498:
•MT5554:
•MT5852:
•MT3029,3054,3139,3219,3349,3421,3769,3934,4992,5206,5267,5325_SB
41D27812
Speakers(2-piece)LenovoLogo(secondary)
•MT3246:
•MT3282:
•MT3544:
•MT3652:
•MT5474:
•MT5498:
•MT5554:
•MT5852:
•MT3029,3054,3139,3219,3349,3421,3769,3934,4992,5206,5267,5325_SB
41A53341
192ThinkCentreHardwareMaintenanceManual

Adapters&miscellaneousFRUsFRU#CRU
Speakerpowerbrick-US,Canada,LAlowvoltage,ASEAN
•MT3246:A1UA1SA2UA2SA9U
•MT3282:A1UA1SA2UA2SB1UB1SA8UA8S
•MT3544:
•MT3652:
•MT5474:B4AB5AB6AB7AB8AB9AA1UA2UA3UA3SA4UA4SA5UA5S
D4UD4SD5UD5S
•MT5498:A1UA1SA1AA2UA2SA3UA3SA4UA4SA4AB5UB5SE7UE7S
E8UE8SE9UE9S
•MT5554:
•MT5852:A1UA1SA1AA1Y
•MT3029,3054,3139,3219,3349,3421,3769,3934,4992,5206,5267,5325_SB
89P85711
Modemphonecable
•MT3246:
•MT3282:
•MT3544:
•MT3652:
•MT5474:
•MT5498:
•MT5554:
•MT5852:
•MT3029,3054,3139,3219,3349,3421,3769,3934,4992,5206,5267,5325_SB
39K51201
Thermalgreasesyringe
•MT3246:
•MT3282:
•MT3544:
•MT3652:
•MT5474:
•MT5498:
•MT5554:
•MT5852:
•MT3029,3054,3139,3219,3349,3421,3769,3934,4992,5206,5267,5325_SB
91P8835N
DongleDMS-59todualDVI-Icable
•MT3246:
•MT3282:
•MT3544:
•MT3652:
•MT5474:
•MT5498:
•MT5554:
•MT5852:
•MT3029,3054,3139,3219,3349,3421,3769,3934,4992,5206,5267,5325_SB
41X63981
Chapter10.FRUlists193

Adapters&miscellaneousFRUsFRU#CRU
DisplayporttoVGAdongle
•MT3246:
•MT3282:
•MT3544:
•MT3652:
•MT5474:
•MT5498:
•MT5554:
•MT5852:
•MT3029,3054,3139,3219,3349,3421,3769,3934,4992,5206,5267,5325_SB
45J95241
ATIRadeonHD4650DDR2(FHPCB)--512M
•MT3246:
•MT3282:
•MT3544:
•MT3652:
•MT5474:
•MT5498:
•MT5554:
•MT5852:
•MT3029,3054,3139,3219,3349,3421,3769,3934,4992,5206,5267,5325_SB
64Y44801
DVI-ItoVGAdongle
•MT3246:
•MT3282:
•MT3544:
•MT3652:
•MT5474:
•MT5498:E5JE6J
•MT5554:
•MT5852:
•MT3029,3054,3139,3219,3349,3421,3769,3934,4992,5206,5267,5325_SB
45C78162
DVI-ItoVGAdonglesecondsource
•MT3246:
•MT3282:
•MT3544:
•MT3652:
•MT5474:
•MT5498:E5JE6J
•MT5554:
•MT5852:
•MT3029,3054,3139,3219,3349,3421,3769,3934,4992,5206,5267,5325_SB
40Y76112
194ThinkCentreHardwareMaintenanceManual

Adapters&miscellaneousFRUsFRU#CRU
NVIDIAQuadroFX380(DVI+DP)ATX
•MT3246:
•MT3282:
•MT3544:
•MT3652:
•MT5474:
•MT5498:
•MT5554:
•MT5852:
•MT3029,3054,3139,3219,3349,3421,3769,3934,4992,5206,5267,5325_SB
64Y82041
NVDIAGeForceNVS310512MBDDR3(VGA+DP)HP
•MT3246:A9UA9FB2UB2FB2SB7Q
•MT3282:A9UA9FB2UB2FB2SB7Q
•MT3544:
•MT3652:
•MT5474:A9UA9FB2UB2FB2SB7QG5M
•MT5498:A9UA9FB2UB2FB2SB7Q
•MT5554:
•MT5852:A9UA9FB2UB2FB2SB7Q
•MT3029,3054,3139,3219,3349,3421,3769,3934,4992,5206,5267,5325_SB
03T90081
SoftmodemV.90/V.44-ATX
•MT3246:
•MT3282:
•MT3544:A9UA9FB2UB2FB2SB7Q
•MT3652:A9UA9FB2UB2FB2SB7Q
•MT5474:
•MT5498:
•MT5554:
•MT5852:
•MT3029,3054,3139,3219,3349,3421,3769,3934,4992,5206,5267,5325_SB
46R42201
SoftmodemV.90/V.44-ATX
•MT3246:
•MT3282:
•MT3544:
•MT3652:
•MT5474:
•MT5498:
•MT5554:
•MT5852:
•MT3029,3054,3139,3219,3349,3421,3769,3934,4992,5206,5267,5325_SB
03T90261
Chapter10.FRUlists195

Adapters&miscellaneousFRUsFRU#CRU
NVIDIAGeForce310512MDMS59(HP)
•MT3246:
•MT3282:
•MT3544:
•MT3652:
•MT5474:
•MT5498:
•MT5554:
•MT5852:
•MT3029,3054,3139,3219,3349,3421,3769,3934,4992,5206,5267,5325_SB
89Y92261
PCIEIEEE1394rewireadapter(ATX)
•MT3246:
•MT3282:
•MT3544:
•MT3652:
•MT5474:
•MT5498:
•MT5554:
•MT5852:
•MT3029,3054,3139,3219,3349,3421,3769,3934,4992,5206,5267,5325_SB
89Y17121
PowerCords
PowerCords--primaryFRU#CRU
LineCord-US
•MT3246:A1UA1FA1SA1YA2UA2FA2SA2YA9UA9FB4UB4FB4SB1U
B1FB1SB2UB2FB2SB9UB9FB9S
•MT3282:A1UA1FA1SA1YA2UA2FA2SA2YA3HB1UB1FB1SA8UA8F
A8SB3UB3FB3SB6UB6FB6S
•MT3544:
•MT3652:
•MT5474:B4AB4TB5AB5TB6AB6TB7AB7TB8AB8TB9AB9TA1UA1F
A1SA1YA2UA2FA2SA2YA3UA3FA3SA3YA4UA4FA4SA4YA5UA5FA5S
A5YD4UD4FD4SD4YD5UD5FD5SD5YF8UF8FF8L
•MT5498:B5UB5FB5SB5YA1UA1FA1SA1YA1AA1TA2UA2FA2SA2Y
A3UA3FA3SA3YA4UA4FA4SA4YA4AA4TE7UE7FE7SE7YE8UE8F
E8SE8YE9UE9FE9SE9Y
•MT5554:A1UA1FA1SA1LA1DA1AA1T
•MT5852:A1UA1FA1SA1LA1YA1A
•MT3029,3054,3139,3219,3349,3421,3769,3934,4992,5206,5267,5325_SB
41R31841
LineCord-China
•MT3246:
•MT3282:
•MT3544:
41R32561
196ThinkCentreHardwareMaintenanceManual

PowerCords--primaryFRU#CRU
•MT3652:
•MT5474:
•MT5498:
•MT5554:A1C
•MT5852:A1C
•MT3029,3054,3139,3219,3349,3421,3769,3934,4992,5206,5267,5325_SB
LineCord-Japan
•MT3246:
•MT3282:
•MT3544:
•MT3652:
•MT5474:
•MT5498:
•MT5554:A1JA1E
•MT5852:A1J
•MT3029,3054,3139,3219,3349,3421,3769,3934,4992,5206,5267,5325_SB
41R32481
LineCord-Brazil
•MT3246:
•MT3282:
•MT3544:
•MT3652:
•MT5474:A1PA2PA3PA4PA5PD4PD5PG4P
•MT5498:
•MT5554:A1P
•MT5852:A1P
•MT3029,3054,3139,3219,3349,3421,3769,3934,4992,5206,5267,5325_SB
45J95951
LineCord-LAHighVolt(APU)
•MT3246:
•MT3282:
•MT3544:
•MT3652:
•MT5474:
•MT5498:
•MT5554:A1YA1L
•MT5852:A1S1Y
•MT3029,3054,3139,3219,3349,3421,3769,3934,4992,5206,5267,5325_SB
41R31761
Chapter10.FRUlists197

PowerCords--primaryFRU#CRU
LineCord-Australia/NewZealand
•MT3246:A1UA1FA1SA1YA2UA2FA2SA2YA9UA9FB4UB4FB4SB1U
B1FB1SB2UB2FB2S
•MT3282:A1UA1FA1SA1YA2UA2FA2SA2Y
•MT3544:
•MT3652:
•MT5474:B4AB4TB5AB5TB6AB6TB7AB7TB8AB8TB9AB9TA1UA1F
A1SA1YA2UA2FA2SA2YA3UA3FA3SA3YA4UA4FA4SA4YA5UA5F
A5SA5YA6UA6FA7UA7FD4UD4FD4SD4YD5UD5FD5SD5YF1MF2M
F3MF4MF5MF6MF7MG5MG7M
•MT5498:B5UB5FB5SB5YA1UA1FA1SA1YA1AA1TA2UA2FA2SA2Y
A3UA3FA3SA3YA4UA4FA4SA4YA4AA4TA5UA5FA6UA6FE7UE7FE7S
E7YE8UE8FE8SE8YE9UE9FE9SE9YF1MF2MF3MF4MF5MF6MF9M
•MT5554:A1M
•MT5852:A1UA1FA1SA1LA1YA1AA1T
•MT3029,3054,3139,3219,3349,3421,3769,3934,4992,5206,5267,5325_SB
41R31961
LineCord-Korea
•MT3246:
•MT3282:
•MT3544:
•MT3652:
•MT5474:
•MT5498:
•MT5554:A1KA1R
•MT5852:A1KA1R
•MT3029,3054,3139,3219,3349,3421,3769,3934,4992,5206,5267,5325_SB
41R32601
LineCord-HongKong,UK,Ireland,Singapore,Malaysia,Brunei,HongKong
•MT3246:
•MT3282:
•MT3544:
•MT3652:
•MT5474:
•MT5498:
•MT5554:A1GA1AA1BA1H
•MT5852:A1HA1B
•MT3029,3054,3139,3219,3349,3421,3769,3934,4992,5206,5267,5325_SB
41R32241
198ThinkCentreHardwareMaintenanceManual

PowerCords--primaryFRU#CRU
LineCord-Taiwan
•MT3246:A6VA7VA8V
•MT3282:A4VA5VA6VA7V
•MT3544:
•MT3652:
•MT5474:G1VG2V
•MT5498:F8V
•MT5554:A1V
•MT5852:A1V
•MT3029,3054,3139,3219,3349,3421,3769,3934,4992,5206,5267,5325_SB
41R32781
LineCord-Italy
•MT3246:B3GB5GB6GB8G
•MT3282:B3SB5G
•MT3544:
•MT3652:
•MT5474:
•MT5498:
•MT5554:A1SA1YA1LA1G
•MT5852:A1G
•MT3029,3054,3139,3219,3349,3421,3769,3934,4992,5206,5267,5325_SB
41R32321
LineCord-Indonesia,Laos,Cambodia,andVietnamAmodels
•MT3246:
•MT3282:
•MT3544:
•MT3652:
•MT5474:
•MT5498:
•MT5554:
•MT5852:A1G
•MT3029,3054,3139,3219,3349,3421,3769,3934,4992,5206,5267,5325_SB
41R32081
LineCord-Denmark
•MT3246:B3GB5GB6GB8G
•MT3282:A9GB2GB4GB5G
•MT3544:A1GA2GA3GA4G
•MT3652:A1GA2GA3GA4GA5G
•MT5474:B2GB3GA2GA3G
•MT5498:B1GB2GB3GB4GB5GB6GB7GB8GA7MA1GA1AA4AF1M
F2MF3MF4MF5MF6MF7M
•MT5554:A1G
•MT5852:A1G
•MT3029,3054,3139,3219,3349,3421,3769,3934,4992,5206,5267,5325_SB
41R32121
Chapter10.FRUlists199

PowerCords--primaryFRU#CRU
LineCord-Switzerland
•MT3246:B3GB5GB6GB8G
•MT3282:A9GB2GB4GB5G
•MT3544:A1GA2GA3GA4G
•MT3652:A1GA2GA3GA4GA5G
•MT5474:B2GB3GA2GA3G
•MT5498:B1GB2GB3GB4GB5GB6GB7GB8GA7MA1GA1AA4AF1M
F2MF3MF4MF5MF6MF7M
•MT5554:A1G
•MT5852:A1G
•MT3029,3054,3139,3219,3349,3421,3769,3934,4992,5206,5267,5325_SB
41R32281
LineCord-Israel
•MT3246:B3GB5GB6GB8G
•MT3282:A9GB2GB4GB5G
•MT3544:A1GA2GA3GA4G
•MT3652:A1GA2GA3GA4GA5G
•MT5474:B2GB3GA2GA3G
•MT5498:B1GB2GB3GB4GB5GB6GB7GB8GA7MA1GA1AA4AF1M
F2MF3MF4MF5MF6MF7M
•MT5554:A1G
•MT5852:A1G
•MT3029,3054,3139,3219,3349,3421,3769,3934,4992,5206,5267,5325_SB
41R32361
LineCord-SouthAfrica
•MT3246:B3GB5GB6GB8G
•MT3282:A9GB2GB4GB5G
•MT3544:A1GA2GA3GA4G
•MT3652:A1GA2GA3GA4GA5G
•MT5474:B4AB5AB6AB7AB8AB9AB2GB3GA8MA2GA3GF1MF2M
F3MF4MF5MF6MF7MG5MG7M
•MT5498:B1GB2GB3GB4GB5GB6GB7GB8GA7MA1GA1AA4AF1M
F2MF3MF4MF5MF6MF7MF9M
•MT5554:A1GA1MA1A
•MT5852:A1GA1MA1A
•MT3029,3054,3139,3219,3349,3421,3769,3934,4992,5206,5267,5325_SB
41R32201
LineCord-India
•MT3246:A3QA5QB7Q
•MT3282:
•MT3544:
•MT3652:
•MT5474:D1Q
•MT5498:
•MT5554:A1Q
•MT5852:A1Q
41R33411
200ThinkCentreHardwareMaintenanceManual

PowerCords--primaryFRU#CRU
•MT3029,3054,3139,3219,3349,3421,3769,3934,4992,5206,5267,5325_SB
LineCord-Austria,Belgium,Croatia,Czechoslovakia,Finland,France,Germany,
Hungary,Netherlands,Norway,Poland,Portugal,Romania,Spain,Sweden
•MT3246:A1UA1FA1SA1YA2UA2FA2SA2YA9UA9FB4UB4FB4SB1U
B1FB1SB2UB2FB2S
•MT3282:A1UA1FA1SA1YA2UA2FA2SA2Y
•MT3544:A1GA2GA3GA4G
•MT3652:
•MT5474:B4AB4TB5AB5TB6AB6TB7AB7TB8AB8TB9AB9TA1UA1F
A1SA1YA2UA2FA2SA2YA3UA3FA3SA3YA4UA4FA4SA4YA5UA5FA5S
A5YA6UA6FA7UA7FD4UD4FD4SD4YD5UD5FD5SD5Y
•MT5498:B5UB5FB5SB5YA1UA1FA1SA1YA1AA1TA2UA2FA2SA2Y
A3UA3FA3SA3YA4UA4FA4SA4YA4AA4TA5UA5FA6UA6FE7UE7FE7S
E7YE8UE8FE8SE8YE9UE9FE9SE9Y
•MT5554:A1A
•MT5852:A1UA1FA1SA1LA1YA1AA1T
•MT3029,3054,3139,3219,3349,3421,3769,3934,4992,5206,5267,5325_SB
41R32081
LineCord-UK,Ireland
•MT3246:
•MT3282:
•MT3544:A1GA2GA3GA4G
•MT3652:
•MT5474:
•MT5498:
•MT5554:A1BA1H
•MT5852:A1G
•MT3029,3054,3139,3219,3349,3421,3769,3934,4992,5206,5267,5325_SB
41R32241
LineCord-Thailand
•MT3246:
•MT3282:
•MT3544:
•MT3652:
•MT5474:
•MT5498:
•MT5554:A1T
•MT5852:A1T
•MT3029,3054,3139,3219,3349,3421,3769,3934,4992,5206,5267,5325_SB
43N90291
Chapter10.FRUlists201

PowerCords--secondaryFRU#CRU
LineCord-US
•MT3246:A1UA1FA1SA1YA2UA2FA2SA2YA9UA9FB4UB4FB4SB1U
B1FB1SB2UB2FB2SB9UB9FB9S
•MT3282:A1UA1FA1SA1YA2UA2FA2SA2YA3HB1UB1FB1SA8UA8F
A8SB3UB3FB3SB6UB6FB6S
•MT3544:
•MT3652:
•MT5474:B4AB4TB5AB5TB6AB6TB7AB7TB8AB8TB9AB9TA1UA1FA1S
A1YA2UA2FA2SA2YA3UA3FA3SA3YA4UA4FA4SA4YA5UA5FA5SA5Y
D4UD4FD4SD4YD5UD5FD5SD5YF8UF8FF8L
•MT5498:B5UB5FB5SB5YA1UA1FA1SA1YA1AA1TA2UA2FA2SA2Y
A3UA3FA3SA3YA4UA4FA4SA4YA4AA4TE7UE7FE7SE7YE8UE8F
E8SE8YE9UE9FE9SE9Y
•MT5554:A1UA1FA1SA1LA1DA1AA1T
•MT5852:A1UA1FA1SA1LA1YA1A
•MT3029,3054,3139,3219,3349,3421,3769,3934,4992,5206,5267,5325_SB
41R31851
LineCord-China
•MT3246:
•MT3282:
•MT3544:
•MT3652:
•MT5474:
•MT5498:
•MT5554:A1C
•MT5852:A1C
•MT3029,3054,3139,3219,3349,3421,3769,3934,4992,5206,5267,5325_SB
41R32571
LineCord-Japan
•MT3246:
•MT3282:
•MT3544:
•MT3652:
•MT5474:
•MT5498:
•MT5554:A1JA1E
•MT5852:A1J
•MT3029,3054,3139,3219,3349,3421,3769,3934,4992,5206,5267,5325_SB
41R32491
202ThinkCentreHardwareMaintenanceManual

PowerCords--secondaryFRU#CRU
LineCord-Brazil
•MT3246:
•MT3282:
•MT3544:
•MT3652:
•MT5474:A1PA2PA3PA4PA5PD4PD5PG4P
•MT5498:
•MT5554:A1P
•MT5852:A1P
•MT3029,3054,3139,3219,3349,3421,3769,3934,4992,5206,5267,5325_SB
41R32711
LineCord-LAHighVolt(APU)
•MT3246:
•MT3282:
•MT3544:
•MT3652:
•MT5474:
•MT5498:
•MT5554:A1YA1L
•MT5852:A1S1Y
•MT3029,3054,3139,3219,3349,3421,3769,3934,4992,5206,5267,5325_SB
41R31771
LineCord-Australia/NewZealand
•MT3246:A1UA1FA1SA1YA2UA2FA2SA2YA9UA9FB4UB4FB4SB1U
B1FB1SB2UB2FB2S
•MT3282:A1UA1FA1SA1YA2UA2FA2SA2Y
•MT3544:
•MT3652:
•MT5474:B4AB4TB5AB5TB6AB6TB7AB7TB8AB8TB9AB9TA1UA1F
A1SA1YA2UA2FA2SA2YA3UA3FA3SA3YA4UA4FA4SA4YA5UA5F
A5SA5YA6UA6FA7UA7FD4UD4FD4SD4YD5UD5FD5SD5YF1MF2M
F3MF4MF5MF6MF7MG5MG7M
•MT5498:B5UB5FB5SB5YA1UA1FA1SA1YA1AA1TA2UA2FA2SA2Y
A3UA3FA3SA3YA4UA4FA4SA4YA4AA4TA5UA5FA6UA6FE7UE7FE7S
E7YE8UE8FE8SE8YE9UE9FE9SE9YF1MF2MF3MF4MF5MF6MF9M
•MT5554:A1M
•MT5852:A1UA1FA1SA1LA1YA1AA1T
•MT3029,3054,3139,3219,3349,3421,3769,3934,4992,5206,5267,5325_SB
41R31971
Chapter10.FRUlists203

PowerCords--secondaryFRU#CRU
LineCord-Korea
•MT3246:
•MT3282:
•MT3544:
•MT3652:
•MT5474:
•MT5498:
•MT5554:A1KA1R
•MT5852:A1KA1R
•MT3029,3054,3139,3219,3349,3421,3769,3934,4992,5206,5267,5325_SB
41R32611
LineCord-HongKong,UK,Ireland,Singapore,Malaysia,Brunei,HongKong
•MT3246:
•MT3282:
•MT3544:
•MT3652:
•MT5474:
•MT5498:
•MT5554:A1GA1AA1BA1H
•MT5852:A1HA1B
•MT3029,3054,3139,3219,3349,3421,3769,3934,4992,5206,5267,5325_SB
41R32251
LineCord-Taiwan
•MT3246:A6VA7VA8V
•MT3282:A4VA5VA6VA7V
•MT3544:
•MT3652:
•MT5474:G1VG2V
•MT5498:F8V
•MT5554:A1V
•MT5852:A1V
•MT3029,3054,3139,3219,3349,3421,3769,3934,4992,5206,5267,5325_SB
41R32791
LineCord-Italy
•MT3246:B3GB5GB6GB8G
•MT3282:B3SB5G
•MT3544:
•MT3652:
•MT5474:
•MT5498:
•MT5554:A1SA1YA1LA1G
•MT5852:A1G
•MT3029,3054,3139,3219,3349,3421,3769,3934,4992,5206,5267,5325_SB
41R32331
204ThinkCentreHardwareMaintenanceManual

PowerCords--secondaryFRU#CRU
LineCord-Indonesia,Laos,Cambodia,andVietnamAmodels
•MT3246:
•MT3282:
•MT3544:
•MT3652:
•MT5474:
•MT5498:
•MT5554:
•MT5852:A1G
•MT3029,3054,3139,3219,3349,3421,3769,3934,4992,5206,5267,5325_SB
41R32091
LineCord-Denmark
•MT3246:B3GB5GB6GB8G
•MT3282:A9GB2GB4GB5G
•MT3544:A1GA2GA3GA4G
•MT3652:A1GA2GA3GA4GA5G
•MT5474:B2GB3GA2GA3G
•MT5498:B1GB2GB3GB4GB5GB6GB7GB8GA7MA1GA1AA4AF1M
F2MF3MF4MF5MF6MF7M
•MT5554:A1G
•MT5852:A1G
•MT3029,3054,3139,3219,3349,3421,3769,3934,4992,5206,5267,5325_SB
41R32131
LineCord-Switzerland
•MT3246:B3GB5GB6GB8G
•MT3282:A9GB2GB4GB5G
•MT3544:A1GA2GA3GA4G
•MT3652:A1GA2GA3GA4GA5G
•MT5474:B2GB3GA2GA3G
•MT5498:B1GB2GB3GB4GB5GB6GB7GB8GA7MA1GA1AA4AF1M
F2MF3MF4MF5MF6MF7M
•MT5554:A1G
•MT5852:A1G
•MT3029,3054,3139,3219,3349,3421,3769,3934,4992,5206,5267,5325_SB
41R32291
LineCord-Israel
•MT3246:B3GB5GB6GB8G
•MT3282:A9GB2GB4GB5G
•MT3544:A1GA2GA3GA4G
•MT3652:A1GA2GA3GA4GA5G
•MT5474:B2GB3GA2GA3G
•MT5498:B1GB2GB3GB4GB5GB6GB7GB8GA7MA1GA1AA4AF1M
F2MF3MF4MF5MF6MF7M
•MT5554:A1G
•MT5852:A1G
•MT3029,3054,3139,3219,3349,3421,3769,3934,4992,5206,5267,5325_SB
41R32371
Chapter10.FRUlists205

PowerCords--secondaryFRU#CRU
LineCord-SouthAfrica
•MT3246:B3GB5GB6GB8G
•MT3282:A9GB2GB4GB5G
•MT3544:A1GA2GA3GA4G
•MT3652:A1GA2GA3GA4GA5G
•MT5474:B4AB5AB6AB7AB8AB9AB2GB3GA8MA2GA3GF1MF2M
F3MF4MF5MF6MF7MG5MG7M
•MT5498:B1GB2GB3GB4GB5GB6GB7GB8GA7MA1GA1AA4AF1M
F2MF3MF4MF5MF6MF7MF9M
•MT5554:A1GA1MA1A
•MT5852:A1GA1MA1A
•MT3029,3054,3139,3219,3349,3421,3769,3934,4992,5206,5267,5325_SB
41R32211
LineCord-India
•MT3246:A3QA5QB7Q
•MT3282:
•MT3544:
•MT3652:
•MT5474:D1Q
•MT5498:
•MT5554:A1Q
•MT5852:A1Q
•MT3029,3054,3139,3219,3349,3421,3769,3934,4992,5206,5267,5325_SB
41R31751
LineCord-Austria,Belgium,Croatia,Czechoslovakia,Finland,France,Germany,
Hungary,Netherlands,Norway,Poland,Portugal,Romania,Spain,Sweden
•MT3246:A1UA1FA1SA1YA2UA2FA2SA2YA9UA9FB4UB4FB4SB1U
B1FB1SB2UB2FB2S
•MT3282:A1UA1FA1SA1YA2UA2FA2SA2Y
•MT3544:A1GA2GA3GA4G
•MT3652:
•MT5474:B4AB4TB5AB5TB6AB6TB7AB7TB8AB8TB9AB9TA1UA1FA1S
A1YA2UA2FA2SA2YA3UA3FA3SA3YA4UA4FA4SA4YA5UA5FA5SA5Y
A6UA6FA7UA7FD4UD4FD4SD4YD5UD5FD5SD5Y
•MT5498:B5UB5FB5SB5YA1UA1FA1SA1YA1AA1TA2UA2FA2SA2Y
A3UA3FA3SA3YA4UA4FA4SA4YA4AA4TA5UA5FA6UA6FE7UE7FE7S
E7YE8UE8FE8SE8YE9UE9FE9SE9Y
•MT5554:A1A
•MT5852:A1UA1FA1SA1LA1YA1AA1T
•MT3029,3054,3139,3219,3349,3421,3769,3934,4992,5206,5267,5325_SB
41R32091
206ThinkCentreHardwareMaintenanceManual

PowerCords--secondaryFRU#CRU
LineCord-UK,Ireland
•MT3246:
•MT3282:
•MT3544:A1GA2GA3GA4G
•MT3652:
•MT5474:
•MT5498:
•MT5554:A1BA1H
•MT5852:A1G
•MT3029,3054,3139,3219,3349,3421,3769,3934,4992,5206,5267,5325_SB
41R32251
LineCord-Thailand
•MT3246:
•MT3282:
•MT3544:
•MT3652:
•MT5474:
•MT5498:
•MT5554:A1T
•MT5852:A1T
•MT3029,3054,3139,3219,3349,3421,3769,3934,4992,5206,5267,5325_SB
43N90301
Recoverydiscs
WindowsVistaHomeBasic32RecoveryCD
Note:TheWindowsVistarecoveryDVDsareavailableonlyformodelswithavalidMicrosoftWindowsVista
certicateofauthenticity(COA)afxedtothesystem.DuetoaMicrosoftlicensinglimitation,ifamodelcame
withWindowsVistaBusinessorWindowsVistaUltimatepreinstalledfromthefactory,buthasaWindows7
COAafxedtothesystem,thatmodeliseligibleonlyforrecoveryDVDsthatmatchtheoperatingsystem
speciedontheCOA.
WindowsVistaHomeBasic32FRU#CRU
USEnglish
•MT3246:CTO
•MT3282:CTO
•MT3544:CTO
•MT3652:CTO
•MT5474:CTO
•MT5498:CTO
•MT5554:CTO
•MT5852:CTO
03T50861
Chapter10.FRUlists207

WindowsVistaHomeBasic32FRU#CRU
•MT3029,3054,3139,3219,3349,3421,3769,3934,4992,5206,5267,
5325,_SB
Japanese
•MT3246:CTO
•MT3282:CTO
•MT3544:CTO
•MT3652:CTO
•MT5474:CTO
•MT5498:CTO
•MT5554:CTO
•MT5852:CTO
•MT3029,3054,3139,3219,3349,3421,3769,3934,4992,5206,5267,
5325,_SB
03T50851
IndiaEnglish
•MT3246:CTO
•MT3282:CTO
•MT3544:CTO
•MT3652:CTO
•MT5474:CTO
•MT5498:CTO
•MT5554:CTO
•MT5852:CTO
•MT3029,3054,3139,3219,3349,3421,3769,3934,4992,5206,5267,
5325,_SB
03T50841
WindowsVistaHomeBasic32withIE9RecoveryCD
Note:TheWindowsVistarecoveryDVDsareavailableonlyformodelswithavalidMicrosoftWindowsVista
certicateofauthenticity(COA)afxedtothesystem.DuetoaMicrosoftlicensinglimitation,ifamodelcame
withWindowsVistaBusinessorWindowsVistaUltimatepreinstalledfromthefactory,buthasaWindows7
COAafxedtothesystem,thatmodeliseligibleonlyforrecoveryDVDsthatmatchtheoperatingsystem
speciedontheCOA.
WindowsVistaHomeBasic32withIE9FRU#CRU
USEnglish
•MT3246:CTO
•MT3282:CTO
•MT3544:CTO
•MT3652:CTO
•MT5474:CTO
•MT5498:CTO
•MT5554:CTO
•MT5852:CTO
03T15821
208ThinkCentreHardwareMaintenanceManual

WindowsVistaHomeBasic32withIE9FRU#CRU
•MT3029,3054,3139,3219,3349,3421,3769,3934,4992,5206,5267,
5325,_SB
IndiaEnglish
•MT3246:CTO
•MT3282:CTO
•MT3544:CTO
•MT3652:CTO
•MT5474:CTO
•MT5498:CTO
•MT5554:CTO
•MT5852:CTO
•MT3029,3054,3139,3219,3349,3421,3769,3934,4992,5206,5267,
5325,_SB
03T15811
Japanese
•MT3246:CTO
•MT3282:CTO
•MT3544:CTO
•MT3652:CTO
•MT5474:CTO
•MT5498:CTO
•MT5554:CTO
•MT5852:CTO
•MT3029,3054,3139,3219,3349,3421,3769,3934,4992,5206,5267,
5325,_SB
03T21091
WindowsVistaBusiness32RecoveryCD
Note:TheWindowsVistarecoveryDVDsareavailableonlyformodelswithavalidMicrosoftWindowsVista
certicateofauthenticity(COA)afxedtothesystem.DuetoaMicrosoftlicensinglimitation,ifamodelcame
withWindowsVistaBusinessorWindowsVistaUltimatepreinstalledfromthefactory,buthasaWindows7
COAafxedtothesystem,thatmodeliseligibleonlyforrecoveryDVDsthatmatchtheoperatingsystem
speciedontheCOA.
WindowsVistaBusiness32FRU#CRU
SimpliedChinese
•MT3246:CTO
•MT3282:CTO
•MT3544:CTO
•MT3652:CTO
•MT5474:CTO
•MT5498:CTO
•MT5554:CTO
•MT5852:CTO
03T50761
Chapter10.FRUlists209

WindowsVistaBusiness32FRU#CRU
•MT3029,3054,3139,3219,3349,3421,3769,3934,4992,5206,5267,
5325,_SB
French
•MT3246:CTO
•MT3282:CTO
•MT3544:CTO
•MT3652:CTO
•MT5474:CTO
•MT5498:CTO
•MT5554:CTO
•MT5852:CTO
•MT3029,3054,3139,3219,3349,3421,3769,3934,4992,5206,5267,
5325,_SB
03T50771
German
•MT3246:CTO
•MT3282:CTO
•MT3544:CTO
•MT3652:CTO
•MT5474:CTO
•MT5498:CTO
•MT5554:CTO
•MT5852:CTO
•MT3029,3054,3139,3219,3349,3421,3769,3934,4992,5206,5267,
5325,_SB
03T50781
IndiaEnglish
•MT3246:CTO
•MT3282:CTO
•MT3544:CTO
•MT3652:CTO
•MT5474:CTO
•MT5498:CTO
•MT5554:CTO
•MT5852:CTO
•MT3029,3054,3139,3219,3349,3421,3769,3934,4992,5206,5267,
5325,_SB
03T50791
210ThinkCentreHardwareMaintenanceManual

WindowsVistaBusiness32FRU#CRU
Italy
•MT3246:CTO
•MT3282:CTO
•MT3544:CTO
•MT3652:CTO
•MT5474:CTO
•MT5498:CTO
•MT5554:CTO
•MT5852:CTO
•MT3029,3054,3139,3219,3349,3421,3769,3934,4992,5206,5267,
5325,_SB
03T50801
Japanese
•MT3246:CTO
•MT3282:CTO
•MT3544:CTO
•MT3652:CTO
•MT5474:CTO
•MT5498:CTO
•MT5554:CTO
•MT5852:CTO
•MT3029,3054,3139,3219,3349,3421,3769,3934,4992,5206,5267,
5325,_SB
03T50811
Spanish
•MT3246:CTO
•MT3282:CTO
•MT3544:CTO
•MT3652:CTO
•MT5474:CTO
•MT5498:CTO
•MT5554:CTO
•MT5852:CTO
•MT3029,3054,3139,3219,3349,3421,3769,3934,4992,5206,5267,
5325,_SB
03T50821
USEnglish
•MT3246:CTO
•MT3282:CTO
•MT3544:CTO
•MT3652:CTO
•MT5474:CTO
•MT5498:CTO
•MT5554:CTO
•MT5852:CTO
03T50831
Chapter10.FRUlists211

WindowsVistaBusiness32FRU#CRU
•MT3029,3054,3139,3219,3349,3421,3769,3934,4992,5206,5267,
5325,_SB
WindowsVistaBusiness32RecoveryCDwithIE9RecoveryCD
Note:TheWindowsVistarecoveryDVDsareavailableonlyformodelswithavalidMicrosoftWindowsVista
certicateofauthenticity(COA)afxedtothesystem.DuetoaMicrosoftlicensinglimitation,ifamodelcame
withWindowsVistaBusinessorWindowsVistaUltimatepreinstalledfromthefactory,buthasaWindows7
COAafxedtothesystem,thatmodeliseligibleonlyforrecoveryDVDsthatmatchtheoperatingsystem
speciedontheCOA.
WindowsVistaBusiness32RecoveryCDwithIE9FRU#CRU
French
•MT3246:CTO
•MT3282:CTO
•MT3544:CTO
•MT3652:CTO
•MT5474:CTO
•MT5498:CTO
•MT5554:CTO
•MT5852:CTO
•MT3029,3054,3139,3219,3349,3421,3769,3934,4992,5206,5267,
5325,_SB
03T15741
German
•MT3246:CTO
•MT3282:CTO
•MT3544:CTO
•MT3652:CTO
•MT5474:CTO
•MT5498:CTO
•MT5554:CTO
•MT5852:CTO
•MT3029,3054,3139,3219,3349,3421,3769,3934,4992,5206,5267,
5325,_SB
03T15751
Greek
•MT3246:CTO
•MT3282:CTO
•MT3544:CTO
•MT3652:CTO
•MT5474:CTO
•MT5498:CTO
•MT5554:CTO
•MT5852:CTO
•MT3029,3054,3139,3219,3349,3421,3769,3934,4992,5206,5267,
5325,_SB
03T15761
212ThinkCentreHardwareMaintenanceManual

WindowsVistaBusiness32RecoveryCDwithIE9FRU#CRU
Italy
•MT3246:CTO
•MT3282:CTO
•MT3544:CTO
•MT3652:CTO
•MT5474:CTO
•MT5498:CTO
•MT5554:CTO
•MT5852:CTO
•MT3029,3054,3139,3219,3349,3421,3769,3934,4992,5206,5267,
5325,_SB
03T15771
IndiaEnglish
•MT3246:CTO
•MT3282:CTO
•MT3544:CTO
•MT3652:CTO
•MT5474:CTO
•MT5498:CTO
•MT5554:CTO
•MT5852:CTO
•MT3029,3054,3139,3219,3349,3421,3769,3934,4992,5206,5267,
5325,_SB
03T15781
Spanish
•MT3246:CTO
•MT3282:CTO
•MT3544:CTO
•MT3652:CTO
•MT5474:CTO
•MT5498:CTO
•MT5554:CTO
•MT5852:CTO
•MT3029,3054,3139,3219,3349,3421,3769,3934,4992,5206,5267,
5325,_SB
03T15791
USEnglish
•MT3246:CTO
•MT3282:CTO
•MT3544:CTO
•MT3652:CTO
•MT5474:CTO
•MT5498:CTO
•MT5554:CTO
•MT5852:CTO
03T15801
Chapter10.FRUlists213

WindowsVistaBusiness32RecoveryCDwithIE9FRU#CRU
•MT3029,3054,3139,3219,3349,3421,3769,3934,4992,5206,5267,
5325,_SB
Japanese
•MT3246:CTO
•MT3282:CTO
•MT3544:CTO
•MT3652:CTO
•MT5474:CTO
•MT5498:CTO
•MT5554:CTO
•MT5852:CTO
•MT3029,3054,3139,3219,3349,3421,3769,3934,4992,5206,5267,
5325,_SB
03T21011
Windows7HomeBasic32RecoveryCD
Windows7HomeBasic32FRU#CRU
English
•MT3246:
•MT3282:
•MT3544:
•MT3652:
•MT5474:
•MT5498:
•MT5554:
•MT5852:
•MT3029,3054,3139,3219,3349,3421,3769,3934,4992,5206,5267,5325,_SB
03T51241
Spanish
•MT3246:
•MT3282:
•MT3544:
•MT3652:
•MT5474:
•MT5498:
•MT5554:
•MT5852:
•MT3029,3054,3139,3219,3349,3421,3769,3934,4992,5206,5267,5325,_SB
03T51211
214ThinkCentreHardwareMaintenanceManual

Windows7HomeBasic32FRU#CRU
Russian
•MT3246:
•MT3282:
•MT3544:
•MT3652:
•MT5474:
•MT5498:
•MT5554:
•MT5852:
•MT3029,3054,3139,3219,3349,3421,3769,3934,4992,5206,5267,5325,_SB
03T51201
RussianEnglish
•MT3246:
•MT3282:
•MT3544:
•MT3652:
•MT5474:
•MT5498:
•MT5554:
•MT5852:
•MT3029,3054,3139,3219,3349,3421,3769,3934,4992,5206,5267,5325,_SB
03T51191
Sebian-Latin
•MT3246:
•MT3282:
•MT3544:
•MT3652:
•MT5474:
•MT5498:
•MT5554:
•MT5852:
•MT3029,3054,3139,3219,3349,3421,3769,3934,4992,5206,5267,5325,_SB
03T51191
ArabicLocalized
•MT3246:
•MT3282:
•MT3544:
•MT3652:
•MT5474:
•MT5498:
•MT5554:
•MT5852:
•MT3029,3054,3139,3219,3349,3421,3769,3934,4992,5206,5267,5325,_SB
03T51151
Chapter10.FRUlists215

Windows7HomeBasic32FRU#CRU
BrazilianPortuguese
•MT3246:
•MT3282:
•MT3544:
•MT3652:
•MT5474:
•MT5498:
•MT5554:
•MT5852:
•MT3029,3054,3139,3219,3349,3421,3769,3934,4992,5206,5267,5325,_SB
03T51161
Turkish
•MT3246:
•MT3282:
•MT3544:
•MT3652:
•MT5474:
•MT5498:
•MT5554:
•MT5852:
•MT3029,3054,3139,3219,3349,3421,3769,3934,4992,5206,5267,5325,_SB
03T51231
IndiaEnglish
•MT3246:
•MT3282:
•MT3544:
•MT3652:
•MT5474:
•MT5498:
•MT5554:
•MT5852:
•MT3029,3054,3139,3219,3349,3421,3769,3934,4992,5206,5267,5325,_SB
03T51181
SimpliedChinese
•MT3246:
•MT3282:
•MT3544:
•MT3652:
•MT5474:
•MT5498:
•MT5554:
•MT5852:
•MT3029,3054,3139,3219,3349,3421,3769,3934,4992,5206,5267,5325,_SB
03T51171
216ThinkCentreHardwareMaintenanceManual

Windows7HomeBasic32SP1RecoveryCD
Windows7HomeBasic32SP1FRU#CRU
ArabicLocalized
•MT3246:
•MT3282:
•MT3544:
•MT3652:
•MT5474:
•MT5498:
•MT5554:
•MT5852:
•MT3029,3054,3139,3219,3349,3421,3769,3934,4992,5206,5267,5325,_SB
03T16101
BrazilianPortuguese
•MT3246:
•MT3282:
•MT3544:
•MT3652:
•MT5474:
•MT5498:
•MT5554:
•MT5852:
•MT3029,3054,3139,3219,3349,3421,3769,3934,4992,5206,5267,5325,_SB
03T16111
SimpliedChinese
•MT3246:
•MT3282:
•MT3544:
•MT3652:
•MT5474:
•MT5498:
•MT5554:
•MT5852:
•MT3029,3054,3139,3219,3349,3421,3769,3934,4992,5206,5267,5325,_SB
03T16121
IndiaEnglish
•MT3246:
•MT3282:
•MT3544:
•MT3652:
•MT5474:
•MT5498:
•MT5554:
•MT5852:
•MT3029,3054,3139,3219,3349,3421,3769,3934,4992,5206,5267,5325,_SB
03T16131
Chapter10.FRUlists217

Windows7HomeBasic32SP1FRU#CRU
RussianEnglish
•MT3246:
•MT3282:
•MT3544:
•MT3652:
•MT5474:
•MT5498:
•MT5554:
•MT5852:
•MT3029,3054,3139,3219,3349,3421,3769,3934,4992,5206,5267,5325,_SB
03T16141
Russian
•MT3246:
•MT3282:
•MT3544:
•MT3652:
•MT5474:
•MT5498:
•MT5554:
•MT5852:
•MT3029,3054,3139,3219,3349,3421,3769,3934,4992,5206,5267,5325,_SB
03T16151
Spanish
•MT3246:
•MT3282:
•MT3544:
•MT3652:
•MT5474:
•MT5498:
•MT5554:
•MT5852:
•MT3029,3054,3139,3219,3349,3421,3769,3934,4992,5206,5267,5325,_SB
03T16161
Sebian-Latin
•MT3246:
•MT3282:
•MT3544:
•MT3652:
•MT5474:
•MT5498:
•MT5554:
•MT5852:
•MT3029,3054,3139,3219,3349,3421,3769,3934,4992,5206,5267,5325,_SB
03T16171
218ThinkCentreHardwareMaintenanceManual

Windows7HomeBasic32SP1FRU#CRU
Turkish
•MT3246:
•MT3282:
•MT3544:
•MT3652:
•MT5474:
•MT5498:
•MT5554:
•MT5852:
•MT3029,3054,3139,3219,3349,3421,3769,3934,4992,5206,5267,5325,_SB
03T16181
English
•MT3246:
•MT3282:
•MT3544:
•MT3652:
•MT5474:
•MT5498:
•MT5554:
•MT5852:
•MT3029,3054,3139,3219,3349,3421,3769,3934,4992,5206,5267,5325,_SB
03T16191
Windows7HomePremium32RecoveryCD
Windows7HomePremium32FRU#CRU
English
•MT3246:
•MT3282:
•MT3544:
•MT3652:
•MT5474:
•MT5498:
•MT5554:
•MT5852:
•MT3029,3054,3139,3219,3349,3421,3769,3934,4992,5206,5267,5325,_SB
03T51371
French
•MT3246:
•MT3282:
•MT3544:
•MT3652:
•MT5474:
•MT5498:
•MT5554:
•MT5852:
03T51281
Chapter10.FRUlists219

Windows7HomePremium32FRU#CRU
•MT3029,3054,3139,3219,3349,3421,3769,3934,4992,5206,5267,5325,_SB
German
•MT3246:
•MT3282:
•MT3544:
•MT3652:
•MT5474:
•MT5498:
•MT5554:
•MT5852:
•MT3029,3054,3139,3219,3349,3421,3769,3934,4992,5206,5267,5325,_SB
03T51291
Spanish
•MT3246:
•MT3282:
•MT3544:
•MT3652:
•MT5474:
•MT5498:
•MT5554:
•MT5852:
•MT3029,3054,3139,3219,3349,3421,3769,3934,4992,5206,5267,5325,_SB
03T51361
Italian
•MT3246:
•MT3282:
•MT3544:
•MT3652:
•MT5474:
•MT5498:
•MT5554:
•MT5852:
•MT3029,3054,3139,3219,3349,3421,3769,3934,4992,5206,5267,5325,_SB
03T51321
Korean
•MT3246:
•MT3282:
•MT3544:
•MT3652:
•MT5474:
•MT5498:
•MT5554:
•MT5852:
•MT3029,3054,3139,3219,3349,3421,3769,3934,4992,5206,5267,5325,_SB
03T51341
220ThinkCentreHardwareMaintenanceManual

Windows7HomePremium32FRU#CRU
Romanian
•MT3246:
•MT3282:
•MT3544:
•MT3652:
•MT5474:
•MT5498:
•MT5554:
•MT5852:
•MT3029,3054,3139,3219,3349,3421,3769,3934,4992,5206,5267,5325,_SB
03T51351
Hebrew
•MT3246:
•MT3282:
•MT3544:
•MT3652:
•MT5474:
•MT5498:
•MT5554:
•MT5852:
•MT3029,3054,3139,3219,3349,3421,3769,3934,4992,5206,5267,5325,_SB
03T51301
BrazilianPortuguese
•MT3246:
•MT3282:
•MT3544:
•MT3652:
•MT5474:
•MT5498:
•MT5554:
•MT5852:
•MT3029,3054,3139,3219,3349,3421,3769,3934,4992,5206,5267,5325,_SB
03T51251
TraditionalChinese
•MT3246:
•MT3282:
•MT3544:
•MT3652:
•MT5474:
•MT5498:
•MT5554:
•MT5852:
•MT3029,3054,3139,3219,3349,3421,3769,3934,4992,5206,5267,5325,_SB
03T51261
Chapter10.FRUlists221

Windows7HomePremium32FRU#CRU
IndiaEnglish
•MT3246:
•MT3282:
•MT3544:
•MT3652:
•MT5474:
•MT5498:
•MT5554:
•MT5852:
•MT3029,3054,3139,3219,3349,3421,3769,3934,4992,5206,5267,5325,_SB
03T51271
HongKong
•MT3246:
•MT3282:
•MT3544:
•MT3652:
•MT5474:
•MT5498:
•MT5554:
•MT5852:
•MT3029,3054,3139,3219,3349,3421,3769,3934,4992,5206,5267,5325,_SB
03T51311
Japanese
•MT3246:
•MT3282:
•MT3544:
•MT3652:
•MT5474:
•MT5498:
•MT5554:
•MT5852:
•MT3029,3054,3139,3219,3349,3421,3769,3934,4992,5206,5267,5325,_SB
03T51331
C&L1Nordics:DK/FI/SV/NO/EN
•MT3246:
•MT3282:
•MT3544:
•MT3652:
•MT5474:
•MT5498:
•MT5554:
•MT5852:
•MT3029,3054,3139,3219,3349,3421,3769,3934,4992,5206,5267,5325,_SB
03T51381
C&L2EMEA:NL/FR/GR/IT/EN
•MT3246:
03T51391
222ThinkCentreHardwareMaintenanceManual

Windows7HomePremium32FRU#CRU
•MT3282:
•MT3544:
•MT3652:
•MT5474:
•MT5498:
•MT5554:
•MT5852:
•MT3029,3054,3139,3219,3349,3421,3769,3934,4992,5206,5267,5325,_SB
Windows7HomePremium32SP1RecoveryCD
Windows7HomePremium32SP1FRU#CRU
BrazilianPortuguese
•MT3246:
•MT3282:
•MT3544:
•MT3652:
•MT5474:
•MT5498:
•MT5554:
•MT5852:
•MT3029,3054,3139,3219,3349,3421,3769,3934,4992,5206,5267,
5325,_SB
03T16201
TraditionalChinese
•MT3246:
•MT3282:
•MT3544:
•MT3652:
•MT5474:
•MT5498:
•MT5554:
•MT5852:
•MT3029,3054,3139,3219,3349,3421,3769,3934,4992,5206,5267,
5325,_SB
03T16211
Chapter10.FRUlists223

Windows7HomePremium32SP1FRU#CRU
IndiaEnglish
•MT3246:
•MT3282:
•MT3544:
•MT3652:
•MT5474:
•MT5498:
•MT5554:
•MT5852:
•MT3029,3054,3139,3219,3349,3421,3769,3934,4992,5206,5267,
5325,_SB
03T16221
French
•MT3246:
•MT3282:
•MT3544:
•MT3652:
•MT5474:
•MT5498:
•MT5554:
•MT5852:
•MT3029,3054,3139,3219,3349,3421,3769,3934,4992,5206,5267,
5325,_SB
03T16231
German
•MT3246:
•MT3282:
•MT3544:
•MT3652:
•MT5474:
•MT5498:
•MT5554:
•MT5852:
•MT3029,3054,3139,3219,3349,3421,3769,3934,4992,5206,5267,
5325,_SB
03T16241
Hebrew
•MT3246:
•MT3282:
•MT3544:
•MT3652:
•MT5474:
•MT5498:
•MT5554:
•MT5852:
03T16251
224ThinkCentreHardwareMaintenanceManual

Windows7HomePremium32SP1FRU#CRU
•MT3029,3054,3139,3219,3349,3421,3769,3934,4992,5206,5267,
5325,_SB
HongKong
•MT3246:
•MT3282:
•MT3544:
•MT3652:
•MT5474:
•MT5498:
•MT5554:
•MT5852:
•MT3029,3054,3139,3219,3349,3421,3769,3934,4992,5206,5267,
5325,_SB
03T16261
Italian
•MT3246:
•MT3282:
•MT3544:
•MT3652:
•MT5474:
•MT5498:
•MT5554:
•MT5852:
•MT3029,3054,3139,3219,3349,3421,3769,3934,4992,5206,5267,
5325,_SB
03T16271
Korean
•MT3246:
•MT3282:
•MT3544:
•MT3652:
•MT5474:
•MT5498:
•MT5554:
•MT5852:
•MT3029,3054,3139,3219,3349,3421,3769,3934,4992,5206,5267,
5325,_SB
03T16281
Chapter10.FRUlists225

Windows7HomePremium32SP1FRU#CRU
Romanian
•MT3246:
•MT3282:
•MT3544:
•MT3652:
•MT5474:
•MT5498:
•MT5554:
•MT5852:
•MT3029,3054,3139,3219,3349,3421,3769,3934,4992,5206,5267,
5325,_SB
03T16291
Spanish
•MT3246:
•MT3282:
•MT3544:
•MT3652:
•MT5474:
•MT5498:
•MT5554:
•MT5852:
•MT3029,3054,3139,3219,3349,3421,3769,3934,4992,5206,5267,
5325,_SB
03T16301
English
•MT3246:
•MT3282:
•MT3544:
•MT3652:
•MT5474:
•MT5498:
•MT5554:
•MT5852:
•MT3029,3054,3139,3219,3349,3421,3769,3934,4992,5206,5267,
5325,_SB
03T16311
C&L1Nordics:DK/FI/SV/NO/EN
•MT3246:
•MT3282:
•MT3544:
•MT3652:
•MT5474:
•MT5498:
•MT5554:
•MT5852:
03T16321
226ThinkCentreHardwareMaintenanceManual

Windows7HomePremium32SP1FRU#CRU
•MT3029,3054,3139,3219,3349,3421,3769,3934,4992,5206,5267,
5325,_SB
C&L2EMEA:NL/FR/GR/IT/EN
•MT3246:
•MT3282:
•MT3544:
•MT3652:
•MT5474:
•MT5498:
•MT5554:
•MT5852:
•MT3029,3054,3139,3219,3349,3421,3769,3934,4992,5206,5267,
5325,_SB
03T16331
Japanese
•MT3246:
•MT3282:
•MT3544:
•MT3652:
•MT5474:
•MT5498:
•MT5554:
•MT5852:
•MT3029,3054,3139,3219,3349,3421,3769,3934,4992,5206,5267,
5325,_SB
03T21031
Windows7Professional32RecoveryCD
Windows7Professional32FRU#CRU
USEnglish
•MT3246:A6VA7VA8VB3GB1UB1SB2UB2FB2SB6GB7Q
•MT3282:A1UA2UA9GA8UB4G
•MT3544:B4AB5AB6AB7AB8AB2GB3GA8MA9JB1JA1UA2UA2GA3U
A3GA4UA5UA6UA7UA4G
•MT3652:A1GA2GA3GA4GA5G
•MT5474:B4AB6AB8AA8MA9JB1JA5UD2JD3JD4UD5UD6VD7VD8V
D9VE1VF1MF2MF3MF4MF5MF6MB2GB3GF8UF8LG7M
•MT5498:B4GB5UB5GA7MA8JA9JA4UA4AE5JE6JE7UE8UE9UB9V
E1VE2VE3VE4VF1MF2MF3MF4MF5MF6MF7MF9M
•MT5554:A1UA1LA1GA1MA1AA1QA1HA1RA1E
•MT5852:A1UA1LA1GA1MA1AA1VA1E
03T51121
Chapter10.FRUlists227

Windows7Professional32FRU#CRU
•MT3029,3054,3139,3219,3349,3421,3769,3934,4992,5206,5267,5325_SB
French
•MT3246:B3GB1FB2FB6G
•MT3282:A1FA2FA9GA8FB4G
•MT3544:B2GB3GA1FA2FA2GA3FA3GA4FA5FA6FA7FA4G
•MT3652:A1GA2GA3GA4GA5G
•MT5474:A5FD4FD5FB2GB3GF8F
•MT5498:B4GB5FB5GA4FE7FE8FE9F
•MT5554:A1FA1G
•MT5852:A1FA1G
•MT3029,3054,3139,3219,3349,3421,3769,3934,4992,5206,5267,5325_SB
03T50931
German
•MT3246:B3GB6G
•MT3282:A9GB4G
•MT3544:
•MT3652:A1GA2GA3GA4GA5G
•MT5474:B2GB3G
•MT5498:B4GB5G
•MT5554:A1G
•MT5852:A1G
•MT3029,3054,3139,3219,3349,3421,3769,3934,4992,5206,5267,5325_SB
03T50951
LASpanish
•MT3246:B1SB2S
•MT3282:A1SA1DA1YA2SA2DA2YA8S
•MT3544:B2GB3GA2GA3GA4G
•MT3652:
•MT5474:A5SA5DA5YD4SD4YD5SD5Y
•MT5498:
•MT5554:A1SA1DA1Y
•MT5852:A1SA1DA1Y
•MT3029,3054,3139,3219,3349,3421,3769,3934,4992,5206,5267,5325_SB
03T51091
Italian
•MT3246:B3GB6G
•MT3282:A9GB4G
•MT3544:B2GB3GA2GA3GA4G
•MT3652:
•MT5474:B2GB3G
•MT5498:B4GB5G
•MT5554:A1G
•MT5852:A1G
•MT3029,3054,3139,3219,3349,3421,3769,3934,4992,5206,5267,5325_SB
89Y05561
228ThinkCentreHardwareMaintenanceManual

Windows7Professional32FRU#CRU
Czech
•MT3246:B3GB6G
•MT3282:A9GB4G
•MT3544:B2GB3GA2GA3GA4G
•MT3652:A1GA2GA3GA4GA5G
•MT5474:B2GB3G
•MT5498:B4GB5G
•MT5554:A1G
•MT5852:A1G
•MT3029,3054,3139,3219,3349,3421,3769,3934,4992,5206,5267,5325_SB
03T50911
Polish
•MT3246:B3GB6G
•MT3282:A9GB4G
•MT3544:B2GB3GA2GA3GA4G
•MT3652:A1GA2GA3GA4GA5G
•MT5474:B2GB3G
•MT5498:B4GB5G
•MT5554:A1G
•MT5852:A1G
•MT3029,3054,3139,3219,3349,3421,3769,3934,4992,5206,5267,5325_SB
03T51021
Russian
•MT3246:B3GB6G
•MT3282:A9GB4G
•MT3544:B2GB3GA2GA3GA4G
•MT3652:A1GA2GA3GA4GA5G
•MT5474:B2GB3G
•MT5498:B4GB5G
•MT5554:A1G
•MT5852:A1G
•MT3029,3054,3139,3219,3349,3421,3769,3934,4992,5206,5267,5325_SB
03T51061
Turkish
•MT3246:B3GB6G
•MT3282:A9GB4G
•MT3544:B2GB3GA2GA3GA4G
•MT3652:A1GA2GA3GA4GA5G
•MT5474:B2GB3G
•MT5498:B4GB5G
•MT5554:A1G
•MT5852:A1G
•MT3029,3054,3139,3219,3349,3421,3769,3934,4992,5206,5267,5325_SB
03T51111
Chapter10.FRUlists229

Windows7Professional32FRU#CRU
Hungarian
•MT3246:B3GB6G
•MT3282:A9GB4G
•MT3544:B2GB3GA2GA3GA4G
•MT3652:A1GA2GA3GA4GA5G
•MT5474:B2GB3G
•MT5498:B4GB5G
•MT5554:A1G
•MT5852:A1G
•MT3029,3054,3139,3219,3349,3421,3769,3934,4992,5206,5267,5325_SB
03T50981
Greek
•MT3246:B3GB6G
•MT3282:A9GB4G
•MT3544:B2GB3GA2GA3GA4G
•MT3652:A1GA2GA3GA4GA5G
•MT5474:B2GB3G
•MT5498:B4GB5G
•MT5554:A1G
•MT5852:A1G
•MT3029,3054,3139,3219,3349,3421,3769,3934,4992,5206,5267,5325_SB
03T50941
BrazilianPortuguese
•MT3246:
•MT3282:A1PA2P
•MT3544:A1PA2PA3PA4PA5P
•MT3652:
•MT5474:A5PD4PD5PG4P
•MT5498:A4P
•MT5554:A1P
•MT5852:A1P
•MT3029,3054,3139,3219,3349,3421,3769,3934,4992,5206,5267,5325_SB
03T50881
Korean
•MT3246:
•MT3282:
•MT3544:
•MT3652:
•MT5474:
•MT5498:
•MT5554:A1K
•MT5852:A1R
•MT3029,3054,3139,3219,3349,3421,3769,3934,4992,5206,5267,5325_SB
03T51011
230ThinkCentreHardwareMaintenanceManual

Windows7Professional32FRU#CRU
Slovenian
•MT3246:B3GB6G
•MT3282:A9GB4G
•MT3544:
•MT3652:
•MT5474:B2GB3G
•MT5498:
•MT5554:A1G
•MT5852:A1G
•MT3029,3054,3139,3219,3349,3421,3769,3934,4992,5206,5267,5325_SB
03T51081
RussianEnglish
•MT3246:B3GB6G
•MT3282:A9GB4G
•MT3544:B2GB3GA2GA3GA4G
•MT3652:A1GA2GA3GA4GA5G
•MT5474:B2GB3G
•MT5498:B4GB5G
•MT5554:A1G
•MT5852:A1G
•MT3029,3054,3139,3219,3349,3421,3769,3934,4992,5206,5267,5325_SB
03T51041
Romanian
•MT3246:B3GB6G
•MT3282:A9GB4G
•MT3544:B2GB3GA2GA3GA4G
•MT3652:A1GA2GA3GA4GA5G
•MT5474:B2GB3G
•MT5498:B4GB5G
•MT5554:A1G
•MT5852:A1G
•MT3029,3054,3139,3219,3349,3421,3769,3934,4992,5206,5267,5325_SB
03T51051
Serbian-Latin
•MT3246:B3GB6G
•MT3282:A9GB4G
•MT3544:
•MT3652:
•MT5474:
•MT5498:
•MT5554:A1G
•MT5852:A1G
•MT3029,3054,3139,3219,3349,3421,3769,3934,4992,5206,5267,5325_SB
03T51101
Chapter10.FRUlists231

Windows7Professional32FRU#CRU
Slovakian
•MT3246:B3GB6G
•MT3282:A9GB4G
•MT3544:B2GB3GA2GA3GA4G
•MT3652:A1GA2GA3GA4GA5G
•MT5474:B2GB3G
•MT5498:B4GB5G
•MT5554:A1G
•MT5852:A1G
•MT3029,3054,3139,3219,3349,3421,3769,3934,4992,5206,5267,5325_SB
03T51071
ArabicLocalized
•MT3246:B3GB6G
•MT3282:A9GB4G
•MT3544:
•MT3652:
•MT5474:B2GB3G
•MT5498:
•MT5554:A1G
•MT5852:A1G
•MT3029,3054,3139,3219,3349,3421,3769,3934,4992,5206,5267,5325_SB
03T50871
Hebrew
•MT3246:B3GB6G
•MT3282:A9GB4G
•MT3544:B2GB3GA2GA3GA4G
•MT3652:A1GA2GA3GA4GA5G
•MT5474:B2GB3G
•MT5498:B4GB5G
•MT5554:A1G
•MT5852:A1G
•MT3029,3054,3139,3219,3349,3421,3769,3934,4992,5206,5267,5325_SB
03T50961
TraditionalChinese
•MT3246:
•MT3282:
•MT3544:
•MT3652:
•MT5474:G1VG2V
•MT5498:F8V
•MT5554:A1V
•MT5852:
•MT3029,3054,3139,3219,3349,3421,3769,3934,4992,5206,5267,5325_SB
03T50901
232ThinkCentreHardwareMaintenanceManual

Windows7Professional32FRU#CRU
IndiaEnglish
•MT3246:A3QA5Q
•MT3282:
•MT3544:
•MT3652:
•MT5474:D1Q
•MT5498:
•MT5554:A1G
•MT5852:A1Q
•MT3029,3054,3139,3219,3349,3421,3769,3934,4992,5206,5267,5325_SB
03T50921
HongKong
•MT3246:
•MT3282:
•MT3544:
•MT3652:
•MT5474:
•MT5498:
•MT5554:A1B
•MT5852:
•MT3029,3054,3139,3219,3349,3421,3769,3934,4992,5206,5267,5325_SB
03T50971
Japanese
•MT3246:
•MT3282:
•MT3544:
•MT3652:
•MT5474:
•MT5498:
•MT5554:A1J
•MT5852:A1J
•MT3029,3054,3139,3219,3349,3421,3769,3934,4992,5206,5267,5325_SB
03T51001
Portuguese
•MT3246:B3GB6G
•MT3282:A9GB4G
•MT3544:B2GB3GA2GA3GA4G
•MT3652:A1GA2GA3GA4GA5G
•MT5474:B2GB3G
•MT5498:B4GB5G
•MT5554:A1G
•MT5852:A1G
•MT3029,3054,3139,3219,3349,3421,3769,3934,4992,5206,5267,5325_SB
03T51031
Chapter10.FRUlists233

Windows7Professional32FRU#CRU
Spanish
•MT3246:B3GB6G
•MT3282:A9GB4G
•MT3544:B2GB3GA2GA3GA4G
•MT3652:A1GA2GA3GA4GA5G
•MT5474:B2GB3G
•MT5498:B4GB5G
•MT5554:A1G
•MT5852:A1G
•MT3029,3054,3139,3219,3349,3421,3769,3934,4992,5206,5267,5325_SB
03T51091
SimpliedChinese
•MT3246:
•MT3282:A9GB4G
•MT3544:A9G
•MT3652:
•MT5474:
•MT5498:
•MT5554:A1G
•MT5852:
•MT3029,3054,3139,3219,3349,3421,3769,3934,4992,5206,5267,5325_SB
03T50891
C&L1DK/FI/SV/NO/EN
•MT3246:B3GB6G
•MT3282:A9GB4G
•MT3544:B2GB3GA2GA3GA4G
•MT3652:A1GA2GA3GA4GA5G
•MT5474:B2GB3G
•MT5498:B4GB5G
•MT5554:A1G
•MT5852:A1G
•MT3029,3054,3139,3219,3349,3421,3769,3934,4992,5206,5267,5325_SB
03T51131
C&L2NL/FR/GR/IT/EN
•MT3246:B3GB6G
•MT3282:A9GB4G
•MT3544:B2GB3GA2GA3GA4G
•MT3652:A1GA2GA3GA4GA5G
•MT5474:B2GB3G
•MT5498:B4GB5G
•MT5554:A1G
•MT5852:A1G
•MT3029,3054,3139,3219,3349,3421,3769,3934,4992,5206,5267,5325_SB
03T51141
234ThinkCentreHardwareMaintenanceManual

Windows7Professional32SP1RecoveryCD
Windows7Professional32SP1FRU#CRU
USEnglish
•MT3246:A6VA7VA8VB3GB1UB1SB2UB2FB2SB6GB7Q
•MT3282:A1UA2UA9GA8UB4G
•MT3544:A1UA2UA9GA8UB4G
•MT3652:A1GA2GA3GA4GA5G
•MT5474:B4AB6AB8AA8MA9JB1JA5UD2JD3JD4UD5UD6VD7VD8V
D9VE1VF1MF2MF3MF4MF5MF6MB2GB3GF8UF8L
•MT5498:B4GB5UB5GA7MA8JA9JA4UA4AE5JE6JE7UE8UE9UB9V
E1VE2VE3VE4VF1MF2MF3MF4MF5MF6MF7MF9M
•MT5554:
•MT5852:A1UA1LA1GA1MA1AA1VA1E
•MT3029,3054,3139,3219,3349,3421,3769,3934,4992,5206,5267,
5325_SB
03T16071
French
•MT3246:B3GB1FB2FB6G
•MT3282:A1FA2FA9GA8FB4G
•MT3544:A1FA2FA9GA8FB4G
•MT3652:A1GA2GA3GA4GA5G
•MT5474:A5FD4FD5FB2GB3GF8F
•MT5498:B4GB5FB5GA4FE7FE8FE9F
•MT5554:
•MT5852:A1FA1G
•MT3029,3054,3139,3219,3349,3421,3769,3934,4992,5206,5267,
5325_SB
03T15891
German
•MT3246:B3GB6G
•MT3282:A9GB4G
•MT3544:A9GB4G
•MT3652:A1GA2GA3GA4GA5G
•MT5474:B2GB3G
•MT5498:B4GB5G
•MT5554:
•MT5852:A1G
•MT3029,3054,3139,3219,3349,3421,3769,3934,4992,5206,5267,
5325_SB
03T15911
Chapter10.FRUlists235

Windows7Professional32SP1FRU#CRU
LASpanish
•MT3246:B1SB2S
•MT3282:A1SA1DA1YA2SA2DA2YA8S
•MT3544:A1SA1DA1YA2SA2DA2YA8S
•MT3652:
•MT5474:A5SA5DA5YD4SD4YD5SD5Y
•MT5498:
•MT5554:
•MT5852:A1SA1DA1Y
•MT3029,3054,3139,3219,3349,3421,3769,3934,4992,5206,5267,
5325_SB
03T16041
Italian
•MT3246:B3GB6G
•MT3282:A9GB4G
•MT3544:A9GB4G
•MT3652:
•MT5474:B2GB3G
•MT5498:B4GB5G
•MT5554:
•MT5852:A1G
•MT3029,3054,3139,3219,3349,3421,3769,3934,4992,5206,5267,
5325_SB
03T15951
Czech
•MT3246:B3GB6G
•MT3282:A9GB4G
•MT3544:A9GB4G
•MT3652:A1GA2GA3GA4GA5G
•MT5474:B2GB3G
•MT5498:B4GB5G
•MT5554:
•MT5852:A1G
•MT3029,3054,3139,3219,3349,3421,3769,3934,4992,5206,5267,
5325_SB
03T15871
Polish
•MT3246:B3GB6G
•MT3282:A9GB4G
•MT3544:A9GB4G
•MT3652:A1GA2GA3GA4GA5G
•MT5474:B2GB3G
•MT5498:B4GB5G
•MT5554:
•MT5852:A1G
03T15981
236ThinkCentreHardwareMaintenanceManual

Windows7Professional32SP1FRU#CRU
•MT3029,3054,3139,3219,3349,3421,3769,3934,4992,5206,5267,
5325_SB
Russian
•MT3246:B3GB6G
•MT3282:A9GB4G
•MT3544:A9GB4G
•MT3652:A1GA2GA3GA4GA5G
•MT5474:B2GB3G
•MT5498:B4GB5G
•MT5554:
•MT5852:A1G
•MT3029,3054,3139,3219,3349,3421,3769,3934,4992,5206,5267,
5325_SB
03T16011
Turkish
•MT3246:B3GB6G
•MT3282:A9GB4G
•MT3544:A9GB4G
•MT3652:A1GA2GA3GA4GA5G
•MT5474:B2GB3G
•MT5498:B4GB5G
•MT5554:
•MT5852:A1G
•MT3029,3054,3139,3219,3349,3421,3769,3934,4992,5206,5267,
5325_SB
03T16061
Hungarian
•MT3246:B3GB6G
•MT3282:A9GB4G
•MT3544:A9GB4G
•MT3652:A1GA2GA3GA4GA5G
•MT5474:B2GB3G
•MT5498:B4GB5G
•MT5554:
•MT5852:A1G
•MT3029,3054,3139,3219,3349,3421,3769,3934,4992,5206,5267,
5325_SB
03T15941
Chapter10.FRUlists237

Windows7Professional32SP1FRU#CRU
Greek
•MT3246:B3GB6G
•MT3282:A9GB4G
•MT3544:A9GB4G
•MT3652:A1GA2GA3GA4GA5G
•MT5474:B2GB3G
•MT5498:B4GB5G
•MT5554:
•MT5852:A1G
•MT3029,3054,3139,3219,3349,3421,3769,3934,4992,5206,5267,
5325_SB
03T15901
BrazilianPortuguese
•MT3246:
•MT3282:
•MT3544:
•MT3652:
•MT5474:
•MT5498:
•MT5554:
•MT5852:A1R
•MT3029,3054,3139,3219,3349,3421,3769,3934,4992,5206,5267,
5325_SB
03T15841
Korean
•MT3246:B3GB6G
•MT3282:A9GB4G
•MT3544:A9GB4G
•MT3652:
•MT5474:B2GB3G
•MT5498:
•MT5554:
•MT5852:A1G
•MT3029,3054,3139,3219,3349,3421,3769,3934,4992,5206,5267,
5325_SB
03T15961
Slovenian
•MT3246:B3GB6G
•MT3282:A9GB4G
•MT3544:A9GB4G
•MT3652:A1GA2GA3GA4GA5G
•MT5474:B2GB3G
•MT5498:B4GB5G
•MT5554:
•MT5852:A1G
03T16031
238ThinkCentreHardwareMaintenanceManual

Windows7Professional32SP1FRU#CRU
•MT3029,3054,3139,3219,3349,3421,3769,3934,4992,5206,5267,
5325_SB
RussianEnglish
•MT3246:B3GB6G
•MT3282:A9GB4G
•MT3544:A9GB4G
•MT3652:A1GA2GA3GA4GA5G
•MT5474:B2GB3G
•MT5498:B4GB5G
•MT5554:
•MT5852:A1G
•MT3029,3054,3139,3219,3349,3421,3769,3934,4992,5206,5267,
5325_SB
03T15991
Romanian
•MT3246:B3GB6G
•MT3282:A9GB4G
•MT3544:A9GB4G
•MT3652:
•MT5474:
•MT5498:
•MT5554:
•MT5852:A1G
•MT3029,3054,3139,3219,3349,3421,3769,3934,4992,5206,5267,
5325_SB
03T16001
Serbian-Latin
•MT3246:B3GB6G
•MT3282:A9GB4G
•MT3544:A9GB4G
•MT3652:A1GA2GA3GA4GA5G
•MT5474:B2GB3G
•MT5498:B4GB5G
•MT5554:
•MT5852:A1G
•MT3029,3054,3139,3219,3349,3421,3769,3934,4992,5206,5267,
5325_SB
03T16051
Chapter10.FRUlists239

Windows7Professional32SP1FRU#CRU
Slovakian
•MT3246:B3GB6G
•MT3282:A9GB4G
•MT3544:A9GB4G
•MT3652:
•MT5474:B2GB3G
•MT5498:
•MT5554:
•MT5852:A1G
•MT3029,3054,3139,3219,3349,3421,3769,3934,4992,5206,5267,
5325_SB
03T16021
ArabicLocalized
•MT3246:B3GB6G
•MT3282:A9GB4G
•MT3544:A9GB4G
•MT3652:A1GA2GA3GA4GA5G
•MT5474:B2GB3G
•MT5498:B4GB5G
•MT5554:
•MT5852:A1G
•MT3029,3054,3139,3219,3349,3421,3769,3934,4992,5206,5267,
5325_SB
03T15831
Hebrew
•MT3246:
•MT3282:
•MT3544:
•MT3652:
•MT5474:G1VG2V
•MT5498:F8V
•MT5554:
•MT5852:
•MT3029,3054,3139,3219,3349,3421,3769,3934,4992,5206,5267,
5325_SB
03T15921
TraditionalChinese
•MT3246:A3QA5Q
•MT3282:
•MT3544:
•MT3652:
•MT5474:D1Q
•MT5498:
•MT5554:
•MT5852:A1Q
03T15861
240ThinkCentreHardwareMaintenanceManual

Windows7Professional32SP1FRU#CRU
•MT3029,3054,3139,3219,3349,3421,3769,3934,4992,5206,5267,
5325_SB
IndiaEnglish
•MT3246:
•MT3282:
•MT3544:
•MT3652:
•MT5474:
•MT5498:
•MT5554:
•MT5852:
•MT3029,3054,3139,3219,3349,3421,3769,3934,4992,5206,5267,
5325_SB
03T15881
HongKong
•MT3246:B3GB6G
•MT3282:A9GB4G
•MT3544:A9GB4G
•MT3652:A1GA2GA3GA4GA5G
•MT5474:B2GB3G
•MT5498:B4GB5G
•MT5554:
•MT5852:A1G
•MT3029,3054,3139,3219,3349,3421,3769,3934,4992,5206,5267,
5325_SB
03T15931
Spanish
•MT3246:B3GB6G
•MT3282:A9GB4G
•MT3544:A9GB4G
•MT3652:A1GA2GA3GA4GA5G
•MT5474:B2GB3G
•MT5498:B4GB5G
•MT5554:
•MT5852:A1G
•MT3029,3054,3139,3219,3349,3421,3769,3934,4992,5206,5267,
5325_SB
03T16041
Chapter10.FRUlists241

Windows7Professional32SP1FRU#CRU
SimpliedChinese
•MT3246:
•MT3282:A9GB4G
•MT3544:A9GB4G
•MT3652:
•MT5474:
•MT5498:
•MT5554:
•MT5852:
•MT3029,3054,3139,3219,3349,3421,3769,3934,4992,5206,5267,
5325_SB
03T15851
C&L1DK/FI/SV/NO/EN
•MT3246:B3GB6G
•MT3282:A9GB4G
•MT3544:A9GB4G
•MT3652:A1GA2GA3GA4GA5G
•MT5474:B2GB3G
•MT5498:B4GB5G
•MT5554:
•MT5852:A1G
•MT3029,3054,3139,3219,3349,3421,3769,3934,4992,5206,5267,
5325_SB
03T16081
C&L2NL/FR/GR/IT/EN
•MT3246:B3GB6G
•MT3282:A9GB4G
•MT3544:A9GB4G
•MT3652:A1GA2GA3GA4GA5G
•MT5474:B2GB3G
•MT5498:B4GB5G
•MT5554:
•MT5852:A1G
•MT3029,3054,3139,3219,3349,3421,3769,3934,4992,5206,5267,
5325_SB
03T16091
Japanese
•MT3246:
•MT3282:
•MT3544:
•MT3652:
•MT5474:
•MT5498:
•MT5554:
•MT5852:
03T21021
242ThinkCentreHardwareMaintenanceManual

Windows7Professional32SP1FRU#CRU
•MT3029,3054,3139,3219,3349,3421,3769,3934,4992,5206,5267,
5325_SB
Windows7Professional64RecoveryCD
Windows7Professional64FRU#CRU
USEnglish
•MT3246:B4UB5GB8GB9U
•MT3282:B1UB2GB3UB5GB6U
•MT3544:
•MT3652:
•MT5474:F7MG5M
•MT5498:
•MT5554:
•MT5852:
•MT3029,3054,3139,3219,3349,3421,3769,3934,4992,5206,5267,
5325_SB
03T51511
French
•MT3246:B4FB5GB8GB9F
•MT3282:B1FB2GB3FB5GB6F
•MT3544:
•MT3652:
•MT5474:
•MT5498:
•MT5554:
•MT5852:
•MT3029,3054,3139,3219,3349,3421,3769,3934,4992,5206,5267,
5325_SB
03T51451
German
•MT3246:B5GB8G
•MT3282:B2GB5G
•MT3544:
•MT3652:
•MT5474:
•MT5498:
•MT5554:
•MT5852:
•MT3029,3054,3139,3219,3349,3421,3769,3934,4992,5206,5267,
5325_SB
03T51461
Chapter10.FRUlists243

Windows7Professional64FRU#CRU
Italian
•MT3246:B5GB8G
•MT3282:B2GB5G
•MT3544:
•MT3652:
•MT5474:
•MT5498:
•MT5554:
•MT5852:
•MT3029,3054,3139,3219,3349,3421,3769,3934,4992,5206,5267,
5325_SB
03T51481
BrazilianPortuguese
•MT3246:
•MT3282:B2GB5G
•MT3544:
•MT3652:
•MT5474:
•MT5498:
•MT5554:
•MT5852:
•MT3029,3054,3139,3219,3349,3421,3769,3934,4992,5206,5267,
5325_SB
03T51401
SimpliedChinese
•MT3246:
•MT3282:
•MT3544:
•MT3652:
•MT5474:
•MT5498:
•MT5554:
•MT5852:
•MT3029,3054,3139,3219,3349,3421,3769,3934,4992,5206,5267,
5325_SB
03T51411
TraditionalChinese
•MT3246:
•MT3282:
•MT3544:
•MT3652:
•MT5474:
•MT5498:
•MT5554:
•MT5852:
03T51421
244ThinkCentreHardwareMaintenanceManual

Windows7Professional64FRU#CRU
•MT3029,3054,3139,3219,3349,3421,3769,3934,4992,5206,5267,
5325_SB
Czech
•MT3246:
•MT3282:
•MT3544:
•MT3652:
•MT5474:
•MT5498:
•MT5554:
•MT5852:
•MT3029,3054,3139,3219,3349,3421,3769,3934,4992,5206,5267,
5325_SB
03T51431
IndiaEnglish
•MT3246:
•MT3282:
•MT3544:
•MT3652:
•MT5474:
•MT5498:
•MT5554:
•MT5852:
•MT3029,3054,3139,3219,3349,3421,3769,3934,4992,5206,5267,
5325_SB
03T51441
HongKong
•MT3246:
•MT3282:
•MT3544:
•MT3652:
•MT5474:
•MT5498:
•MT5554:
•MT5852:
•MT3029,3054,3139,3219,3349,3421,3769,3934,4992,5206,5267,
5325_SB
03T51471
Chapter10.FRUlists245

Windows7Professional64FRU#CRU
Japanese
•MT3246:
•MT3282:
•MT3544:
•MT3652:
•MT5474:
•MT5498:
•MT5554:
•MT5852:
•MT3029,3054,3139,3219,3349,3421,3769,3934,4992,5206,5267,
5325_SB
03T51491
Spanish
•MT3246:B5GB8G
•MT3282:B2GB5G
•MT3544:
•MT3652:
•MT5474:
•MT5498:
•MT5554:
•MT5852:
•MT3029,3054,3139,3219,3349,3421,3769,3934,4992,5206,5267,
5325_SB
03T51501
C&L1DK/FI/SV/NO/EN
•MT3246:B5GB8G
•MT3282:B2GB5G
•MT3544:
•MT3652:
•MT5474:
•MT5498:
•MT5554:
•MT5852:
•MT3029,3054,3139,3219,3349,3421,3769,3934,4992,5206,5267,
5325_SB
03T51521
C&L2EMEA:NL/FR/GR/IT/EN
•MT3246:B5GB8G
•MT3282:B2GB5G
•MT3544:
•MT3652:
•MT5474:
•MT5498:
•MT5554:
•MT5852:
03T51531
246ThinkCentreHardwareMaintenanceManual

Windows7Professional64FRU#CRU
•MT3029,3054,3139,3219,3349,3421,3769,3934,4992,5206,5267,
5325_SB
Hebrew
•MT3246:B5GB8G
•MT3282:B2GB5G
•MT3544:
•MT3652:
•MT5474:
•MT5498:
•MT5554:
•MT5852:
•MT3029,3054,3139,3219,3349,3421,3769,3934,4992,5206,5267,
5325_SB
03T06961
Portuguese
•MT3246:B5GB8G
•MT3282:B2GB5G
•MT3544:
•MT3652:
•MT5474:
•MT5498:
•MT5554:
•MT5852:
•MT3029,3054,3139,3219,3349,3421,3769,3934,4992,5206,5267,
5325_SB
03T06971
Windows7Professional64SP1RecoveryCD
Windows7Professional64SP1FRU#CRU
BrazilianPortuguese
•MT3246:
•MT3282:B1UB2GB3UB5GB6U
•MT3544:
•MT3652:
•MT5474:
•MT5498:
•MT5554:
•MT5852:
•MT3029,3054,3139,3219,3349,3421,3769,3934,4992,5206,5267,
5325_SB
03T16341
Chapter10.FRUlists247

SimpliedChinese
•MT3246:
•MT3282:B1FB2GB3FB5GB6F
•MT3544:
•MT3652:
•MT5474:
•MT5498:
•MT5554:
•MT5852:
•MT3029,3054,3139,3219,3349,3421,3769,3934,4992,5206,5267,
5325_SB
03T16351
TraditionalChinese
•MT3246:
•MT3282:B2GB5G
•MT3544:
•MT3652:
•MT5474:
•MT5498:
•MT5554:
•MT5852:
•MT3029,3054,3139,3219,3349,3421,3769,3934,4992,5206,5267,
5325_SB
03T16361
Czech
•MT3246:B5GB8G
•MT3282:B2GB5G
•MT3544:
•MT3652:
•MT5474:
•MT5498:
•MT5554:
•MT5852:
•MT3029,3054,3139,3219,3349,3421,3769,3934,4992,5206,5267,
5325_SB
03T16371
IndiaEnglish
•MT3246:
•MT3282:B2GB5G
•MT3544:
•MT3652:
•MT5474:
•MT5498:
•MT5554:
•MT5852:
•MT3029,3054,3139,3219,3349,3421,3769,3934,4992,5206,5267,
5325_SB
03T16381
248ThinkCentreHardwareMaintenanceManual

French
•MT3246:B4FB5GB8GB9F
•MT3282:
•MT3544:
•MT3652:
•MT5474:
•MT5498:
•MT5554:
•MT5852:
•MT3029,3054,3139,3219,3349,3421,3769,3934,4992,5206,5267,
5325_SB
03T16391
German
•MT3246:B5GB8G
•MT3282:
•MT3544:
•MT3652:
•MT5474:
•MT5498:
•MT5554:
•MT5852:
•MT3029,3054,3139,3219,3349,3421,3769,3934,4992,5206,5267,
5325_SB
03T16401
HongKong
•MT3246:
•MT3282:
•MT3544:
•MT3652:
•MT5474:
•MT5498:
•MT5554:
•MT5852:
•MT3029,3054,3139,3219,3349,3421,3769,3934,4992,5206,5267,
5325_SB
03T16411
Italy
•MT3246:B5GB8G
•MT3282:
•MT3544:
•MT3652:
•MT5474:
•MT5498:
•MT5554:
•MT5852:
•MT3029,3054,3139,3219,3349,3421,3769,3934,4992,5206,5267,
5325_SB
03T16421
Chapter10.FRUlists249

Spanish
•MT3246:B5GB8G
•MT3282:
•MT3544:
•MT3652:
•MT5474:
•MT5498:
•MT5554:
•MT5852:
•MT3029,3054,3139,3219,3349,3421,3769,3934,4992,5206,5267,
5325_SB
03T16431
USEnglish
•MT3246:B4UB5GB8GB9U
•MT3282:B2GB5G
•MT3544:
•MT3652:
•MT5474:F7MG5M
•MT5498:
•MT5554:
•MT5852:
•MT3029,3054,3139,3219,3349,3421,3769,3934,4992,5206,5267,
5325_SB
03T16441
C&L1Nordics:DK/FI/SV/NO/EN
•MT3246:B5GB8G
•MT3282:B2GB5G
•MT3544:
•MT3652:
•MT5474:
•MT5498:
•MT5554:
•MT5852:
•MT3029,3054,3139,3219,3349,3421,3769,3934,4992,5206,5267,
5325_SB
03T16451
C&L2EMEA:NL/FR/GR/IT/EN
•MT3246:B5GB8G
•MT3282:B2GB5G
•MT3544:
•MT3652:
•MT5474:
•MT5498:
•MT5554:
•MT5852:
•MT3029,3054,3139,3219,3349,3421,3769,3934,4992,5206,5267,
5325_SB
03T16461
250ThinkCentreHardwareMaintenanceManual

Hebrew
•MT3246:B5GB8G
•MT3282:B2GB5G
•MT3544:
•MT3652:
•MT5474:
•MT5498:
•MT5554:
•MT5852:
•MT3029,3054,3139,3219,3349,3421,3769,3934,4992,5206,5267,
5325_SB
03T16471
Portuguese
•MT3246:B5GB8G
•MT3282:B2GB5G
•MT3544:
•MT3652:
•MT5474:
•MT5498:
•MT5554:
•MT5852:
•MT3029,3054,3139,3219,3349,3421,3769,3934,4992,5206,5267,
5325_SB
03T16481
Japanese
•MT3246:
•MT3282:
•MT3544:
•MT3652:
•MT5474:
•MT5498:
•MT5554:
•MT5852:
•MT3029,3054,3139,3219,3349,3421,3769,3934,4992,5206,5267,
5325_SB
03T21041
Windows7Ultimate32RecoveryCD
Windows7Ultimate32FRU#CRU
USEnglish
•MT3246:
•MT3282:
•MT3544:
•MT3652:
•MT5474:
•MT5498:
•MT5554:
03T58291
Chapter10.FRUlists251

Windows7Ultimate32FRU#CRU
•MT5852:
•MT3029,3054,3139,3219,3349,3421,3769,3934,4992,5206,5267,
5325,_SB
Windows7Ultimate32withMSSP1RecoveryCD
Windows7Ultimate32withMSSP1FRU#CRU
USEnglish
•MT3245:
•MT3269:
•MT3491:
•MT3627:
•MT5485:
•MT5536:
•MT5567:
•MT5864:
•MT3026,3039,3137,3149,3319,3394,3699,3878,4972,5132,5261,
5297,_SB
03T16491
Windows7Ultimate64RecoveryCD
Windows7Ultimate64FRU#CRU
USEnglish
•MT3246:
•MT3282:
•MT3544:
•MT3652:
•MT5474:
•MT5498:
•MT5554:
•MT5852:
•MT3029,3054,3139,3219,3349,3421,3769,3934,4992,5206,5267,
5325,_SB
03T16501
Windows7Starter32RecoveryCD
Windows7Starter32FRU#CRU
USEnglish
•MT3246:
•MT3282:
•MT3544:
•MT3652:
•MT5474:
•MT5498:
•MT5554:
03T16511
252ThinkCentreHardwareMaintenanceManual

Windows7Starter32FRU#CRU
•MT5852:
•MT3029,3054,3139,3219,3349,3421,3769,3934,4992,5206,5267,5325,_SB
WindowsXPProfessionalRecoveryCD
Note:TheWindowsXPProfessionalrecoveryDVDsareavailableonlyformodelswithavalidMicrosoft
WindowsXPProfessionalcerticateofauthenticity(COA)afxedtothesystem.DuetoaMicrosoftlicensing
limitation,ifamodelcamewithWindowsXPProfessionalpreinstalledfromthefactory,buthaseithera
Windows7orWindowsVistaCOAafxedtothesystem,thatmodeliseligibleonlyforrecoveryDVDsthat
matchtheoperatingsystemspeciedontheCOA.
WindowsXPProfessionalFRU#CRU
USEnglish
•MT3246:
•MT3282:
•MT3544:
•MT3652:
•MT5474:
•MT5498:
•MT5554:
•MT5852:
•MT3029,3054,3139,3219,3349,3421,3769,3934,4992,5206,5267,5325,_SB
03T50731
French
•MT3246:
•MT3282:
•MT3544:
•MT3652:
•MT5474:
•MT5498:
•MT5554:
•MT5852:
•MT3029,3054,3139,3219,3349,3421,3769,3934,4992,5206,5267,5325,_SB
03T50571
German
•MT3246:
•MT3282:
•MT3544:
•MT3652:
•MT5474:
•MT5498:
•MT5554:
•MT5852:
•MT3029,3054,3139,3219,3349,3421,3769,3934,4992,5206,5267,5325,_SB
03T50591
Chapter10.FRUlists253

WindowsXPProfessionalFRU#CRU
Italian
•MT3246:
•MT3282:
•MT3544:
•MT3652:
•MT5474:
•MT5498:
•MT5554:
•MT5852:
•MT3029,3054,3139,3219,3349,3421,3769,3934,4992,5206,5267,5325,_SB
03T50631
BrazilianPortuguese
•MT3246:
•MT3282:
•MT3544:
•MT3652:
•MT5474:
•MT5498:
•MT5554:
•MT5852:
•MT3029,3054,3139,3219,3349,3421,3769,3934,4992,5206,5267,5325,_SB
03T50531
ArabicEnglish
•MT3246:
•MT3282:
•MT3544:
•MT3652:
•MT5474:
•MT5498:
•MT5554:
•MT5852:
•MT3029,3054,3139,3219,3349,3421,3769,3934,4992,5206,5267,5325,_SB
03T50521
Hebrew
•MT3246:
•MT3282:
•MT3544:
•MT3652:
•MT5474:
•MT5498:
•MT5554:
•MT5852:
•MT3029,3054,3139,3219,3349,3421,3769,3934,4992,5206,5267,5325,_SB
03T50601
254ThinkCentreHardwareMaintenanceManual

WindowsXPProfessionalFRU#CRU
Polish
•MT3246:
•MT3282:
•MT3544:
•MT3652:
•MT5474:
•MT5498:
•MT5554:
•MT5852:
•MT3029,3054,3139,3219,3349,3421,3769,3934,4992,5206,5267,5325,_SB
03T50661
Portuguese
•MT3246:
•MT3282:
•MT3544:
•MT3652:
•MT5474:
•MT5498:
•MT5554:
•MT5852:
•MT3029,3054,3139,3219,3349,3421,3769,3934,4992,5206,5267,5325,_SB
03T50671
Russian
•MT3246:
•MT3282:
•MT3544:
•MT3652:
•MT5474:
•MT5498:
•MT5554:
•MT5852:
•MT3029,3054,3139,3219,3349,3421,3769,3934,4992,5206,5267,5325,_SB
03T50691
RussianEnglish
•MT3246:
•MT3282:
•MT3544:
•MT3652:
•MT5474:
•MT5498:
•MT5554:
•MT5852:
•MT3029,3054,3139,3219,3349,3421,3769,3934,4992,5206,5267,5325,_SB
03T50681
Chapter10.FRUlists255

WindowsXPProfessionalFRU#CRU
Hungarian
•MT3246:
•MT3282:
•MT3544:
•MT3652:
•MT5474:
•MT5498:
•MT5554:
•MT5852:
•MT3029,3054,3139,3219,3349,3421,3769,3934,4992,5206,5267,5325,_SB
03T50621
Turkish
•MT3246:
•MT3282:
•MT3544:
•MT3652:
•MT5474:
•MT5498:
•MT5554:
•MT5852:
•MT3029,3054,3139,3219,3349,3421,3769,3934,4992,5206,5267,5325,_SB
03T50721
Greek
•MT3246:
•MT3282:
•MT3544:
•MT3652:
•MT5474:
•MT5498:
•MT5554:
•MT5852:
•MT3029,3054,3139,3219,3349,3421,3769,3934,4992,5206,5267,5325,_SB
03T50581
Japanese
•MT3246:
•MT3282:
•MT3544:
•MT3652:
•MT5474:
•MT5498:
•MT5554:
•MT5852:
•MT3029,3054,3139,3219,3349,3421,3769,3934,4992,5206,5267,5325,_SB
03T50641
256ThinkCentreHardwareMaintenanceManual

WindowsXPProfessionalFRU#CRU
SimpliedChinese
•MT3246:
•MT3282:
•MT3544:
•MT3652:
•MT5474:
•MT5498:
•MT5554:
•MT5852:
•MT3029,3054,3139,3219,3349,3421,3769,3934,4992,5206,5267,5325,_SB
03T50541
HongKongTraditionalChinese
•MT3246:
•MT3282:
•MT3544:
•MT3652:
•MT5474:
•MT5498:
•MT5554:
•MT5852:
•MT3029,3054,3139,3219,3349,3421,3769,3934,4992,5206,5267,5325,_SB
03T50611
Korea
•MT3246:
•MT3282:
•MT3544:
•MT3652:
•MT5474:
•MT5498:
•MT5554:
•MT5852:
•MT3029,3054,3139,3219,3349,3421,3769,3934,4992,5206,5267,5325,_SB
03T50651
C&L1EMEA--English,Dutch,French,German,Italian
•MT3246:
•MT3282:
•MT3544:
•MT3652:
•MT5474:
•MT5498:
•MT5554:
•MT5852:
•MT3029,3054,3139,3219,3349,3421,3769,3934,4992,5206,5267,5325,_SB
03T50751
Chapter10.FRUlists257

WindowsXPProfessionalFRU#CRU
C&L2Nordics--English,Danish,Finland,Norwegian,Swedish
•MT3246:
•MT3282:
•MT3544:
•MT3652:
•MT5474:
•MT5498:
•MT5554:
•MT5852:
•MT3029,3054,3139,3219,3349,3421,3769,3934,4992,5206,5267,5325,_SB
03T50741
Spanish
•MT3246:
•MT3282:
•MT3544:
•MT3652:
•MT5474:
•MT5498:
•MT5554:
•MT5852:
•MT3029,3054,3139,3219,3349,3421,3769,3934,4992,5206,5267,5325,_SB
03T50711
Czech
•MT3246:
•MT3282:
•MT3544:
•MT3652:
•MT5474:
•MT5498:
•MT5554:
•MT5852:
•MT3029,3054,3139,3219,3349,3421,3769,3934,4992,5206,5267,5325,_SB
03T50561
TraditionalChinese
•MT3246:
•MT3282:
•MT3544:
•MT3652:
•MT5474:
•MT5498:
•MT5554:
•MT5852:
•MT3029,3054,3139,3219,3349,3421,3769,3934,4992,5206,5267,5325,_SB
03T50551
Slovenian
•MT3246:
03T50701
258ThinkCentreHardwareMaintenanceManual

WindowsXPProfessionalFRU#CRU
•MT3282:
•MT3544:
•MT3652:
•MT5474:
•MT5498:
•MT5554:
•MT5852:
•MT3029,3054,3139,3219,3349,3421,3769,3934,4992,5206,5267,5325,_SB
Overall:3026,3039,3137,3149,3245,3269,3319,3394,3491,3627,
3699,3878,4972,5132,5261,5297,5391,5472,5485,5536,5548,5567,
5864,and6213.
Thefollowingreplaceablecomponentsareavailableforthe3026,3039,3137,3149,3245,3269,3319,
3394,3491,3627,3699,3878,4972,5132,5261,5297,5391,5472,5485,5536,5548,5567,5864,and
6213machinetypemodels.
Chapter10.FRUlists259

Item#FRUsFRU#CRU
1
LX-607Intel95Wthermalkit
•MT3245:allmodels
•MT3269:allmodels
•MT3491:allmodels
•MT3627:allmodels
•MT5485:allmodels
•MT5536:allmodels
•MT5567:allmodels
•MT5864:allmodels
•MT3029,3054,3139,3219,3349,3421,3769,3934,4992,5206,
5267,5325_SB
43N98152
1
LX-607Intel73Wthermalkit
•MT3245:allmodels
•MT3269:allmodels
•MT3491:allmodels
•MT3627:allmodels
•MT5485:allmodels
•MT5536:allmodels
•MT5567:allmodels
•MT5864:allmodels
•MT3029,3054,3139,3219,3349,3421,3769,3934,4992,5206,
5267,5325_SB
43N98162
2
Microprocessor,ClarkdalePentiumG69502.80G1066MHzDual
core\3M\73WLGA1156(Gfxcorespeed533MHz)
•MT3245:A2UA2FA2SA2PA2DA2YA7V
•MT3269:
•MT3491:A1GA2G
•MT3627:
•MT5485:B9AB9TB2GB2AB2TB3GA8MA1UA1FA1SA1P
A1DA1YA2UA2FA2SA2PA2DA2YE1JE2JE3UE3FE3SE3P
E3YD5VD6VF1MJ5JJ6J
•MT5536:
•MT5567:
•MT5864:
•MT3029,3054,3139,3219,3349,3421,3769,3934,4992,5206,
5267,5325_SB
71Y5303N
260ThinkCentreHardwareMaintenanceManual

Item#FRUsFRU#CRU
2
Microprocessor,ClarkdaleCorei3-5302.93G1333MHz4T\Dual
core\4M\73WLGA1156(Gfxcorespeed733MHz)
•MT3245:A3HA4HA1UA1FA1SA1PA1DA1YA5VA6VB2G
B3UB3SB3SA9UA9FA9SB5G
•MT3269:
•MT3491:A3GA4G
•MT3627:
•MT5485:D1AD1TB4GB5GB6GB7GA9JB1JA3UA3FA3SA3P
A3DA3YA5UA5FA5SA5PA5DA5YD2QD8JD9JD3VD4VF2M
F3MF4MF5MF6MF7MF8M
•MT5536:
•MT5567:
•MT5864:
•MT3029,3054,3139,3219,3349,3421,3769,3934,4992,5206,
5267,5325_SB
71Y6960N
2
Microprocessor,ClarkdaleCorei3-5403.06G1333MHz4T\Dual
core\4M\73WLGA1156(Gfxcorespeed733MHz)
•MT3245:B4G
•MT3269:
•MT3491:A5G
•MT3627:
•MT5485:J4UJ4FJ4LJ7SJ7DJ7YJ8V
•MT5536:
•MT5567:
•MT5864:
•MT3029,3054,3139,3219,3349,3421,3769,3934,4992,5206,
5267,5325_SB
71Y5304N
2
Microprocessor,ClarkdaleCorei5-6503.20G1333MHz4T\Dual
core\4M\73W\TurboLGA1156(Gfxcorespeed733MHz)
•MT3245:
•MT3269:A3HA1UA1FA1SA1PA1DA1YA5VA7GA8UA8FA8S
A6UA6FA6SA9GB3SB3DB3YB2GB4G
•MT3491:
•MT3627:A1GA2GA3GA6GA7G
•MT5485:
•MT5536:B1GB1AB1TB2GA7MA7AA7TA1UA1FA1SA1PA1D
A1YA2UA2FA2SA2PA2DA2YA4UA4FA4SA4PA4DA4YB6J
B7JB8UB8FB8SB8YB3VF1MF2MF3MF4MF5MF6MF7M
F8MH8MH9MJ1MJ2MJ3MJ4MJ5MJ6MJ7MJ8MJ9MK2J
K3JK5SK5DK5YK8P
•MT5567:
•MT5864:A1UA1FA1SA1PA1LA1DA1YA1GA1MA1AA1QA1T
A1BA1HA1VA1KA1RA1EA1J
•MT3029,3054,3139,3219,3349,3421,3769,3934,4992,5206,
5267,5325_SB
71Y6961N
Chapter10.FRUlists261

Item#FRUsFRU#CRU
2
Microprocessor,ClarkdaleCorei5-6603.33G1333MHz4T\Dual
core\4M\73W\TurboLGA1156(Gfxcorespeed733MHz)
•MT3245:
•MT3269:A2UA2FA2SA2PA2DA2YA4HA4V
•MT3491:
•MT3627:A4GA5G
•MT5485:
•MT5536:A8JA9JA3UA3FA3SA3PA3DA3YB9UB9FB9SB9Y
E1UE1FE1SE1YE2UE2FE2SE2YB4VB5VF9MH1MH2MH3M
H4MH5MH6MH7MK1GK4VK6M
•MT5567:
•MT5864:
•MT3029,3054,3139,3219,3349,3421,3769,3934,4992,5206,
5267,5325_SB
71Y6962N
2
Microprocessor,ClarkdaleCorei5-6703.46G1333MHz4T\Dual
core\4M\73W\TurboLGA1156(Gfxcorespeed733MHz)
•MT3245:
•MT3269:
•MT3491:
•MT3627:
•MT5485:
•MT5536:
•MT5567:
•MT5864:
•MT3029,3054,3139,3219,3349,3421,3769,3934,4992,5206,
5267,5325_SB
71Y6963N
2
Microprocessor,LynneldQuadCorei5-7502.66G1333MHz8T\4
core\8M\95W\TurboLGA1156
•MT3245:A8UA8FB1UB1FB1S
•MT3269:
•MT3491:
•MT3627:
•MT5485:B8GA4UA4FA4SA4PA4DA4YE4UE4FE4SE4PE4Y
D7VF9MJ1MJ2MJ3M
•MT5536:
•MT5567:
•MT5864:
•MT3029,3054,3139,3219,3349,3421,3769,3934,4992,5206,
5267,5325_SB
71Y5305N
262ThinkCentreHardwareMaintenanceManual

Item#FRUsFRU#CRU
2
Microprocessor,LynneldQuadCorei7-8602.80G1333MHz8T\4
core\8M\95W\TurboLGA1156
•MT3245:
•MT3269:
•MT3491:
•MT3627:
•MT5485:
•MT5536:
•MT5567:
•MT5864:
•MT3029,3054,3139,3219,3349,3421,3769,3934,4992,5206,
5267,5325_SB
71Y5306N
2
Microprocessor,LynneldQuadCorei7-8702.93G1333MHz8T\4
core\8M\95W\TurboLGA1156
•MT3245:
•MT3269:B1UB1FB1S
•MT3491:
•MT3627:
•MT5485:
•MT5536:
•MT5567:
•MT5864:
•MT3029,3054,3139,3219,3349,3421,3769,3934,4992,5206,
5267,5325_SB
71Y5307N
2
Microprocessor,ClarkdaleCorei3-5503.20G1333MHzDualcore\4M
\73W(Gfxcorespeed733MHz)
•MT3245:B6GB7UB7FB7S
•MT3269:
•MT3491:
•MT3627:
•MT5485:J9SJ9DJ9YK2SK2DK2YK3MK4PK5JK6JK8UK8F
K8S
•MT5536:
•MT5567:A1UA1FA1SA1PA1LA1DA1YA1GA1MA1AA1QA1T
A1CA1BA1HA1VA1KA1RA1EA1J
•MT5864:
•MT3029,3054,3139,3219,3349,3421,3769,3934,4992,5206,
5267,5325_SB
89Y9195N
Chapter10.FRUlists263

Item#FRUsFRU#CRU
2
Microprocessor,ClarkdaleCorei5-6803.60G1333MHzDualcore\4M
\73W(Gfxcorespeed733MHz)
•MT3245:
•MT3269:
•MT3491:
•MT3627:
•MT5485:
•MT5536:
•MT5567:
•MT5864:
•MT3029,3054,3139,3219,3349,3421,3769,3934,4992,5206,
5267,5325_SB
89Y9196N
2
Microprocessor,LynneldQuadCorei7-8803.06G1333MHz8T\4
core\8M\95W\TurboLGA1156
•MT3245:
•MT3269:
•MT3491:
•MT3627:
•MT5485:
•MT5536:
•MT5567:
•MT5864:
•MT3029,3054,3139,3219,3349,3421,3769,3934,4992,5206,
5267,5325_SB
89Y9197N
2
Microprocessor,ClarkdaleLGA1156i3-5603.3GHz\1333MHz\Dual
core\4M\73wK-0SteppingSLBY2
•MT3245:
•MT3269:
•MT3491:
•MT3627:
•MT5485:
•MT5536:
•MT5567:
•MT5864:
•MT3029,3054,3139,3219,3349,3421,3769,3934,4992,5206,
5267,5325_SB
03T7035N
264ThinkCentreHardwareMaintenanceManual

Item#FRUsFRU#CRU
2
Microprocessor,LynneldLGA1156i5-7602.8GHz\1333MHz\Quad
Core\8M\95wB-1stepping
•MT3245:
•MT3269:
•MT3491:
•MT3627:
•MT5485:K7M
•MT5536:
•MT5567:
•MT5864:
•MT3029,3054,3139,3219,3349,3421,3769,3934,4992,5206,
5267,5325_SB
03T6010N
2
Microprocessor,PentiumG69602.93G1066MHzDualcore\3M\73W
LGA1156(Gfxcorespeed533MHz)
•MT3245:
•MT3269:
•MT3491:
•MT3627:
•MT5485:K9M
•MT5536:
•MT5567:
•MT5864:
•MT3029,3054,3139,3219,3349,3421,3769,3934,4992,5206,
5267,5325_SB
03T9021N
3
Memorymodule,1GBPC3-85001066MHzDDR3UDIMM
•MT3245:
•MT3269:
•MT3491:
•MT3627:
•MT5485:
•MT5536:
•MT5567:
•MT5864:
•MT3029,3054,3139,3219,3349,3421,3769,3934,4992,5206,
5267,5325_SB
46R33221
Chapter10.FRUlists265

Item#FRUsFRU#CRU
3
Memorymodule,2GBPC3-85001066MHzDDR3UDIMM
•MT3245:
•MT3269:
•MT3491:
•MT3627:
•MT5485:
•MT5536:
•MT5567:
•MT5864:
•MT3029,3054,3139,3219,3349,3421,3769,3934,4992,5206,
5267,5325_SB
46R33231
3
Memorymodule,1GBPC3-106001333MHzDDR3UDIMM
•MT3245:
•MT3269:
•MT3491:
•MT3627:
•MT5485:A1UA1FA1SA1PA1DA1YF1M
•MT5536:
•MT5567:
•MT5864:
•MT3029,3054,3139,3219,3349,3421,3769,3934,4992,5206,
5267,5325_SB
64Y66481
3
Memorymodule,2GBPC3-106001333MHzDDR3UDIMM
•MT3245:A3HA4HA1UA1FA1SA1PA1DA1YA2UA2FA2SA2P
A2DA2YA8UA8FA5VA6VA7VB2GB3UB3SB3SA9UA9FA9S
B1UB1FB1SB4GB5GB6GB7UB7FB7S
•MT3269:A3HA1UA1FA1SA1PA1DA1YA2UA2FA2SA2PA2D
A2YA4HA4VA5VA7GA8UA8FA8SA6UA6FA6SA9GB3SB3D
B3YB2GB1UB1FB1SB4GB5UB5FB5S
•MT3491:A1GA2GA3GA4GA5G
•MT3627:A1GA2GA3GA4GA5GA6GA7G
•MT5485:B9AB9TD1AD1TB2GB2AB2TB3GB4GB5GB6G
B7GB8GA8MA9JB1JA2UA2FA2SA2PA2DA2YA3UA3FA3S
A3PA3DA3YA4UA4FA4SA4PA4DA4YA5UA5FA5SA5PA5D
A5YD2QD8JD9JE1JE2JE3UE3FE3SE3PE3YE4UE4FE4S
E4PE4YD3VD4VD5VD6VD7VF2MF3MF4MF5MF6MF7MF8M
F9MJ1MJ2MJ3MJ4UJ4FJ4LJ7SJ7DJ7YJ5JJ6JJ8VJ9SJ9D
J9YK2SK2DK2YK3MK4PK5JK6JK7MK8UK8FK8SK9M
•MT5536:B1GB1AB1TB2GA7MA7AA7TA8JA9JA1UA1FA1S
A1PA1DA1YA2UA2FA2SA2PA2DA2YA3UA3FA3SA3PA3D
A3YA4UA4FA4SA4PA4DA4YB6JB7JB8UB8FB8SB8YB9U
B9FB9SB9YE1UE1FE1SE1YE2UE2FE2SE2YB3VB4VB5V
F1MF2MF3MF4MF5MF6MF7MF8MF9MH1MH2MH3MH4M
H5MH6MH7MH8MH9MJ1MJ2MJ3MJ4MJ5MJ6MJ7MJ8M
J9MK1GK2JK3JK4VK6MK5SK5DK5YK8P
•MT5567:A1UA1FA1SA1PA1LA1DA1YA1GA1MA1AA1QA1T
A1CA1BA1HA1VA1KA1RA1EA1J
64Y66491
266ThinkCentreHardwareMaintenanceManual

Item#FRUsFRU#CRU
•MT5864:A1UA1FA1SA1PA1LA1DA1YA1GA1MA1AA1QA1T
A1BA1HA1VA1KA1RA1EA1J
•MT3029,3054,3139,3219,3349,3421,3769,3934,4992,5206,
5267,5325_SB
3
Memorymodule,4GBPC3-106001333MHzDDR3UDIMM
•MT3245:
•MT3269:
•MT3491:
•MT3627:
•MT5485:
•MT5536:
•MT5567:
•MT5864:
•MT3029,3054,3139,3219,3349,3421,3769,3934,4992,5206,
5267,5325_SB
89Y92241
4
Opticaldrive,DVD-ROMDrive-16x/48x-SATA
•MT3245:A5VA7V
•MT3269:A5V
•MT3269:
•MT3491:
•MT3627:
•MT5485:A8MB1JA1UA1FA1SA1PA1DA1YD9JE2JD3VD6V
F1MF4MJ6JK6J
•MT5536:A9JB7JB3VB5VH2MH9MJ1MK3J
•MT5567:
•MT5864:
•MT3029,3054,3139,3219,3349,3421,3769,3934,4992,5206,
5267,5325_SB
71Y55431
4
Opticaldrive,DVDRecordableRambo8-SATA12XRAMwrite
•MT3245:A3HA4HA1UA1FA1SA1PA1DA1YA2UA2FA2SA2P
A2DA2YA8UA8FA6VB2GB3UB3SB3SA9UA9FA9SB1UB1F
B1SB4GB5GB6GB7UB7FB7S
•MT3269:A3HA1UA1FA1SA1PA1DA1YA2UA2FA2SA2PA2D
A2YA4HA4VA7GA8UA8FA8SA6UA6FA6SA9GB3SB3DB3Y
B2GB1UB1FB1SB4GB5UB5FB5S
•MT3269:
•MT3491:A1GA2GA3GA4GA5G
•MT3491:
•MT3627:A1GA2GA3GA4GA5GA6GA7G
•MT3627:
•MT5485:B9AB9TD1AD1TB2GB2AB2TB3GB4GB5GB6G
B7GB8GA9JA2UA2FA2SA2PA2DA2YA3UA3FA3SA3PA3D
A3YA4UA4FA4SA4PA4DA4YA5UA5FA5SA5PA5DA5YD2Q
D8JE1JE3UE3FE3SE3PE3YE4UE4FE4SE4PE4YD4VD5V
D7VF2MF3MF5MF6MF7MF8MF9MJ1MJ2MJ3MJ4UJ4FJ4L
71Y55451
Chapter10.FRUlists267

Item#FRUsFRU#CRU
J7SJ7DJ7YJ5JJ8VJ9SJ9DJ9YK2SK2DK2YK3MK4PK5J
K7MK8UK8FK8SK9M
•MT5485:
•MT5536:B1GB1AB1TB2GA7MA7AA7TA8J
4
Opticaldrive,SATA-SlimODDRambo
•MT3245:
•MT3269:
•MT3491:
•MT3627:
•MT5485:
•MT5536:
•MT5567:
•MT5864:
•MT3029,3054,3139,3219,3349,3421,3769,3934,4992,5206,
5267,5325_SB
45K04331
4
Opticaldrive,SATA-SlimODDDVDROM
•MT3245:
•MT3269:
•MT3491:
•MT3627:
•MT5485:
•MT5536:
•MT5567:
•MT5864:
•MT3029,3054,3139,3219,3349,3421,3769,3934,4992,5206,
5267,5325_SB
71Y58481
5
FRU,frontbezelassembly(plastic)
•MT3245:allmodels
•MT3269:allmodels
•MT3491:allmodels
•MT3627:allmodels
•MT5485:allmodels
•MT5536:allmodels
•MT5567:allmodels
•MT5864:allmodels
•MT3029,3054,3139,3219,3349,3421,3769,3934,4992,5206,
5267,5325_SB
45K63282
268ThinkCentreHardwareMaintenanceManual

Item#FRUsFRU#CRU
6
Harddiskdrive,SATA160GB7200RPM/3Gb/8M
•MT3245:
•MT3269:
•MT3491:
•MT3627:
•MT5485:
•MT5536:
•MT5567:
•MT5864:
•MT3029,3054,3139,3219,3349,3421,3769,3934,4992,5206,
5267,5325_SB
40Y90351
6
Harddiskdrive,SATA160GB7200RPM/3Gb/8M
•MT3245:
•MT3269:
•MT3491:
•MT3627:
•MT5485:
•MT5536:
•MT5567:
•MT5864:
•MT3029,3054,3139,3219,3349,3421,3769,3934,4992,5206,
5267,5325_SB
53Y68371
6
Harddiskdrive,SATA250GB7200RPM/3Gb/8M
•MT3245:A1UA1FA1SA1PA1DA1YA2UA2FA2SA2PA2D
A2YA9UA9FA9S
•MT3269:
•MT3491:A1GA3G
•MT3627:A1GA4G
•MT5485:B9AB9TD1AD1TB2GB2AB2TB4GA8MA9JB1JA1U
A1FA1SA1PA1DA1YA2UA2FA2SA2PA2DA2YA3UA3FA3S
A3PA3DA3YA5UA5FA5SA5PA5DA5YD8JD9JE1JE2JE3U
E3FE3SE3PE3YF4MJ4UJ4FJ4LJ5JJ6JK8UK8FK8S
•MT5536:B1GB1AB1TA7MA7AA7TA1UA1FA1SA1PA1DA1Y
A4UA4FA4SA4PA4DA4YE1UE1FE1SE1YE2UE2FE2SE2Y
H2MH3MH9MJ1MJ2MJ3MJ4MJ5MJ6M
•MT5567:A1UA1FA1SA1PA1LA1DA1YA1GA1MA1AA1QA1T
A1CA1BA1HA1VA1KA1RA1EA1J
•MT5864:A1UA1FA1SA1PA1LA1DA1YA1GA1MA1AA1QA1T
A1BA1HA1VA1KA1RA1EA1J
•MT3029,3054,3139,3219,3349,3421,3769,3934,4992,5206,
5267,5325_SB
40Y90361
Chapter10.FRUlists269

Item#FRUsFRU#CRU
6
Harddiskdrive,SATA250GB7200RPM/3Gb/8M
•MT3245:A1UA1FA1SA1PA1DA1YA2UA2FA2SA2PA2D
A2YA9UA9FA9S
•MT3269:
•MT3491:A1GA3G
•MT3627:A1GA4G
•MT5485:B9AB9TD1AD1TB2GB2AB2TB4GA8MA9JB1JA1U
A1FA1SA1PA1DA1YA2UA2FA2SA2PA2DA2YA3UA3FA3S
A3PA3DA3YA5UA5FA5SA5PA5DA5YD8JD9JE1JE2JE3U
E3FE3SE3PE3YF4MJ4UJ4FJ4LJ5JJ6JK8UK8FK8S
•MT5536:B1GB1AB1TA7MA7AA7TA1UA1FA1SA1PA1DA1Y
A4UA4FA4SA4PA4DA4YE1UE1FE1SE1YE2UE2FE2SE2Y
H2MH3MH9MJ1MJ2MJ3MJ4MJ5MJ6M
•MT5567:A1UA1FA1SA1PA1LA1DA1YA1GA1MA1AA1QA1T
A1CA1BA1HA1VA1KA1RA1EA1J
•MT5864:A1UA1FA1SA1PA1LA1DA1YA1GA1MA1AA1QA1T
A1BA1HA1VA1KA1RA1EA1J
•MT3029,3054,3139,3219,3349,3421,3769,3934,4992,5206,
5267,5325_SB
45K04081
6
Harddiskdrive,SATA320GB7200RPM/3Gb/8M
•MT3245:A3HA4HA5VA7VB2GB3UB3SB3SB5GB6GB7U
B7FB7S
•MT3269:A3HA5VA8UA8FA6UA6FA6S
•MT3491:A2GA4G
•MT3627:A2GA6G
•MT5485:B3GB5GB6GB8GD2QD3VD6VF2MF3MF5MF6M
F7MF8MF9MJ1MK3MK4PK5JK6JK7MK9M
•MT5536:B2GA8JA9JB6JB7JB3VB5VF1MF2MF7MF8MF9M
H1MH4MH7MH8MJ7MJ8MJ9MK1GK2JK3JK6MK8P
•MT5567:
•MT5864:
•MT3029,3054,3139,3219,3349,3421,3769,3934,4992,5206,
5267,5325_SB
87H48911
6
Harddiskdrive,SATA320GB7200RPM/3Gb/8M
•MT3245:A3HA4HA5VA7VB2GB3UB3SB3SB5GB6GB7U
B7FB7S
•MT3269:A3HA5VA8UA8FA6UA6FA6S
•MT3491:A2GA4G
•MT3627:A2GA6G
•MT5485:B3GB5GB6GB8GD2QD3VD6VF2MF3MF5MF6M
F7MF8MF9MJ1MK3MK4PK5JK6JK7MK9M
•MT5536:B2GA8JA9JB6JB7JB3VB5VF1MF2MF7MF8MF9M
H1MH4MH7MH8MJ7MJ8MJ9MK1GK2JK3JK6MK8P
•MT5567:
•MT5864:
•MT3029,3054,3139,3219,3349,3421,3769,3934,4992,5206,
5267,5325_SB
45K04091
270ThinkCentreHardwareMaintenanceManual

Item#FRUsFRU#CRU
6
Harddiskdrive,SATA500GB7200RPM/3Gb/16M
•MT3245:A8UA8FA6VB1UB1FB1SB4G
•MT3269:A1UA1FA1SA1PA1DA1YA2UA2FA2SA2PA2DA2Y
A4HA4VA7GA6UA6FA6SA9GB3SB3DB3YB2GB1UB1F
B1SB4GB5UB5FB5S
•MT3491:A5G
•MT3627:A3GA5GA7G
•MT5485:B7GA4UA4FA4SA4PA4DA4YE4UE4FE4SE4PE4Y
D4VD5VD7VJ2MJ3MJ7SJ7DJ7YJ8VJ9SJ9DJ9YK2SK2D
K2Y
•MT5536:A2UA2FA2SA2PA2DA2YA3UA3FA3SA3PA3D
A3YB8UB8FB8SB8YB9UB9FB9SB9YB4VF3MF4MF5M
F6MH5MH6MK5SK5DK5Y
•MT5567:
•MT5864:
•MT3029,3054,3139,3219,3349,3421,3769,3934,4992,5206,
5267,5325_SB
41X55821
6
Harddiskdrive,SATA500GB7200RPM/3Gb/16M
•MT3245:A8UA8FA6VB1UB1FB1SB4G
•MT3269:A1UA1FA1SA1PA1DA1YA2UA2FA2SA2PA2DA2Y
A4HA4VA7GA6UA6FA6SA9GB3SB3DB3YB2GB1UB1F
B1SB4GB5UB5FB5S
•MT3491:A5G
•MT3627:A3GA5GA7G
•MT5485:B7GA4UA4FA4SA4PA4DA4YE4UE4FE4SE4PE4Y
D4VD5VD7VJ2MJ3MJ7SJ7DJ7YJ8VJ9SJ9DJ9YK2SK2D
K2Y
•MT5536:A2UA2FA2SA2PA2DA2YA3UA3FA3SA3PA3D
A3YB8UB8FB8SB8YB9UB9FB9SB9YB4VF3MF4MF5M
F6MH5MH6MK5SK5DK5Y
•MT5567:
•MT5864:
•MT3029,3054,3139,3219,3349,3421,3769,3934,4992,5206,
5267,5325_SB
45K04101
6
Harddiskdrive,SATA1TB7200RPM/3Gb/32M
•MT3245:
•MT3269:
•MT3491:
•MT3627:
•MT5485:
•MT5536:
•MT5567:
•MT5864:
•MT3029,3054,3139,3219,3349,3421,3769,3934,4992,5206,
5267,5325_SB
45C59731
Chapter10.FRUlists271

Item#FRUsFRU#CRU
6
Harddiskdrive,SATA1TB7200RPM/3Gb/32M
•MT3245:
•MT3269:
•MT3491:
•MT3627:
•MT5485:
•MT5536:
•MT5567:
•MT5864:
•MT3029,3054,3139,3219,3349,3421,3769,3934,4992,5206,
5267,5325_SB
45K04121
6
Harddiskdrive,2.5inch150G10KRPMHDD
•MT3245:
•MT3269:
•MT3491:
•MT3627:
•MT5485:
•MT5536:
•MT5567:
•MT5864:
•MT3029,3054,3139,3219,3349,3421,3769,3934,4992,5206,
5267,5325_SB
46R64001
6
Harddiskdrive,IntelPostville80G
•MT3245:
•MT3269:
•MT3491:
•MT3627:
•MT5485:
•MT5536:
•MT5567:
•MT5864:
•MT3029,3054,3139,3219,3349,3421,3769,3934,4992,5206,
5267,5325_SB
41W05241
7
Systemboard,PlanarIntelQ57non-AMTwithoutLANsurgeplanar
•MT3245:A3HA4HA1UA1FA1SA1PA1DA1YA2UA2FA2SA2P
A2DA2YA8UA8FA5VA6VA7VB2GB3UB3SB3SA9UA9FA9S
B1UB1FB1SB4GB5GB6GB7UB7FB7S
•MT3269:A3HA1UA1FA1SA1PA1DA1YA2UA2FA2SA2PA2D
A2YA4HA4VA5VA7GA8UA8FA8SA6UA6FA6SA9GB3SB3D
B3YB2GB1UB1FB1SB4GB5UB5FB5S
•MT3491:A1GA2GA3GA4GA5G
•MT3627:A1GA2GA3GA4GA5GA6GA7G
•MT5485:B9AB9TD1AD1TB2GB2AB2TB3GB4GB5GB6G
B7GB8GA8MA9JB1JA1UA1FA1SA1PA1DA1YA2UA2FA2S
A2PA2DA2YA3UA3FA3SA3PA3DA3YA4UA4FA4SA4PA4D
71Y5975N
272ThinkCentreHardwareMaintenanceManual

Item#FRUsFRU#CRU
A4YA5UA5FA5SA5PA5DA5YD2QD8JD9JE1JE2JE3UE3F
E3SE3PE3YE4UE4FE4SE4PE4YD3VD4VD5VD6VD7VF1M
F2MF3MF4MF5MF6MF7MF8MF9MJ1MJ2MJ3MJ4UJ4F
J4LJ7SJ7DJ7YJ5JJ6JJ8VJ9SJ9DJ9YK2SK2DK2YK3M
K4PK5JK6JK7MK8UK8FK8SK9M
•MT5536:B1GB1AB1TB2GA7MA7AA7TA8JA9JA1UA1F
A1SA1PA
7
Systemboard,SFF-Q57PlanarwithoutLANsurgeplanar_Special
bid-Russiaonly
•MT3245:B2GB4GB5GB6G
•MT3269:A9GA7GB4G
•MT3491:A1GA2GA3GA4GA5G
•MT3627:A1GA2GA3GA4GA5GA6GA7G
•MT5485:B3GB4GB5GB6GB7GB8G
•MT5536:B1GB2G
•MT5567:A1G
•MT5864:A1G
•MT3029,3054,3139,3219,3349,3421,3769,3934,4992,5206,
5267,5325_SB
64Y6645N
8
C2Intrusionswitchcable
•MT3245:allmodels
•MT3269:allmodels
•MT3491:allmodels
•MT3627:allmodels
•MT5485:allmodels
•MT5536:allmodels
•MT5567:allmodels
•MT5864:allmodels
•MT3029,3054,3139,3219,3349,3421,3769,3934,4992,5206,
5267,5325_SB
39K50222
9
FRU,systemfanassembly
•MT3245:allmodels
•MT3269:allmodels
•MT3491:allmodels
•MT3627:allmodels
•MT5485:allmodels
•MT5536:allmodels
•MT5567:allmodels
•MT5864:allmodels
•MT3029,3054,3139,3219,3349,3421,3769,3934,4992,5206,
5267,5325_SB
45K63311
Chapter10.FRUlists273

Item#FRUsFRU#CRU
10
Powersupply,240WattSFFpowersupply-(standard)
•MT3245:A3HA4HA1UA1FA1SA1PA1DA1YA2UA2FA2SA2P
A2DA2YA8UA8FA5VA6VA7VB2GB3UB3SB3SA9UA9FA9S
B1UB1FB1SB4GB5GB6GB7UB7FB7S
•MT3269:A3HA1UA1FA1SA1PA1DA1YA2UA2FA2SA2PA2D
A2YA7GA8UA8FA8SA6UA6FA6SA9GB3SB3DB3YB2G
B1UB1FB1SB4GB5UB5FB5S
•MT3491:A1GA2GA3GA4GA5G
•MT3627:A1GA2GA3GA4GA5GA6GA7G
•MT5485:B9AB9TD1AD1TB2GB2AB2TB3GB4GB5GB6G
B7GB8GA8MA1UA1FA1SA1PA1DA1YA2UA2FA2SA2PA2D
A2YA3UA3FA3SA3PA3DA3YA4UA4FA4SA4PA4DA4YA5U
A5FA5SA5PA5DA5YD2QE3UE3FE3SE3PE3YE4UE4FE4S
E4PE4YF1MF2MF3MF4MF5MF6MF7MF8MF9MJ1MJ2M
J3MJ4UJ4FJ4LJ7SJ7DJ7YJ5JJ6JJ8VJ9SJ9DJ9YK2SK2D
K2YK3MK4PK5JK6JK7MK8UK8FK8SK9M
•MT5536:B1GB1AB1TB2GA7MA7AA7TA8JA9JA1UA1F
A1SA1PA1DA1YA2UA2FA2SA2PA2DA2YA3UA3FA3SA3P
A3DA3YA4UA4FA4SA4PA4DA4YB8UB8FB8SB8YB9UB9F
B9SB9YE1UE1FE1SE1YE2UE2FE2SE2YF1MF2MF3MF4M
F5MF6MF7MF8MF9MH1MH2MH3MH4MH5MH6MH7M
H8MH9MJ1MJ2MJ3MJ4MJ5MJ6MJ7MJ8MJ9MK1GK2J
K3JK4VK6MK5SK5DK5YK8P
•MT5567:A1UA1FA1SA1PA1LA1DA1YA1GA1MA1AA1QA1T
A1CA1BA1HA1VA1KA1RA1EA1J
•MT5864:A1UA1FA1SA1PA1LA1DA1YA1GA1MA1AA1T
A1KA1R
•MT3029,3054,3139,3219,3349,3421,3769,3934,4992,5206,
5267,5325_SB
45J94411
10
Powersupply,240WattSFFpowersupply(85plus)-(standard)
•MT3245:A3HA4HA1UA1FA1SA1PA1DA1YA2UA2FA2SA2P
A2DA2YA8UA8FA5VA6VA7VB2GB3UB3SB3SA9UA9FA9S
B1UB1FB1SB4GB5GB6GB7UB7FB7S
•MT3269:A3HA1UA1FA1SA1PA1DA1YA2UA2FA2SA2PA2D
A2YA7GA8UA8FA8SA6UA6FA6SA9GB3SB3DB3YB2G
B1UB1FB1SB4GB5UB5FB5S
•MT3491:A1GA2GA3GA4GA5G
•MT3627:A1GA2GA3GA4GA5GA6GA7G
•MT5485:B9AB9TD1AD1TB2GB2AB2TB3GB4GB5GB6G
B7GB8GA8MA1UA1FA1SA1PA1DA1YA2UA2FA2SA2PA2D
A2YA3UA3FA3SA3PA3DA3YA4UA4FA4SA4PA4DA4YA5U
A5FA5SA5PA5DA5YD2QE3UE3FE3SE3PE3YE4UE4FE4S
E4PE4YF1MF2MF3MF4MF5MF6MF7MF8MF9MJ1MJ2M
J3MJ4UJ4FJ4LJ7SJ7DJ7YJ5JJ6JJ8VJ9SJ9DJ9YK2SK2D
K2YK3MK4PK5JK6JK7MK8UK8FK8SK9M
•MT5536:B1GB1AB1TB2GA7MA7AA7TA8JA9JA1UA1F
A1SA1PA1DA1YA2UA2FA2SA2PA2DA2YA3UA3FA3SA3P
A3DA3YA4UA4FA4SA4PA4DA4YB8UB8FB8SB8YB9UB9F
B9SB9YE1UE1FE1SE1YE2UE2FE2SE2YF1MF2MF3MF4M
F5MF6MF7MF8MF9MH1MH2MH3MH4MH5MH6MH7M
H8MH9MJ1MJ2MJ3MJ4MJ5MJ6MJ7MJ8MJ9MK1GK2J
K3JK4VK6MK5SK5DK5YK8P
45J94461
274ThinkCentreHardwareMaintenanceManual

Item#FRUsFRU#CRU
•MT5567:A1UA1FA1SA1PA1LA1DA1YA1GA1MA1AA1QA1T
A1CA1BA1HA1VA1KA1RA1EA1J
•MT5864:A1UA1FA1SA1PA1LA1DA1YA1GA1MA1AA1T
A1KA1R
•MT3029,3054,3139,3219,3349,3421,3769,3934,4992,5206,
5267,5325_SB
MechanicalFRUs
TheFRUslistedinthefollowingtablesarenotillustrated.
FRUsFRU#CRU
Cable-SATA250mm(RoHS)
•MT3245:allmodels
•MT3269:allmodels
•MT3491:allmodels
•MT3627:allmodels
•MT5485:allmodels
•MT5536:allmodels
•MT5567:allmodels
•MT5864:allmodels
•MT3029,3054,3139,3219,3349,3421,3769,3934,4992,5206,5267,5325_SB
43N90122
Internalspeakerassembly
•MT3245:allmodels
•MT3269:allmodels
•MT3491:allmodels
•MT3627:allmodels
•MT5485:allmodels
•MT5536:allmodels
•MT5567:allmodels
•MT5864:allmodels
•MT3029,3054,3139,3219,3349,3421,3769,3934,4992,5206,5267,5325_SB
39K50122
LED/switchcable_R(non-PCB_220mm_10L)
•MT3245:allmodels
•MT3269:allmodels
•MT3491:allmodels
•MT3627:allmodels
•MT5485:allmodels
•MT5536:allmodels
•MT5567:allmodels
•MT5864:allmodels
•MT3029,3054,3139,3219,3349,3421,3769,3934,4992,5206,5267,5325_SB
43N90752
Chapter10.FRUlists275

FRUsFRU#CRU
Sensorcable(165mm)
•MT3245:allmodels
•MT3269:allmodels
•MT3491:allmodels
•MT3627:allmodels
•MT5485:allmodels
•MT5536:allmodels
•MT5567:allmodels
•MT5864:allmodels
•MT3029,3054,3139,3219,3349,3421,3769,3934,4992,5206,5267,5325_SB
43N90792
PCIparallelcard
•MT3245:allmodels
•MT3269:allmodels
•MT3491:allmodels
•MT3627:allmodels
•MT5485:allmodels
•MT5536:allmodels
•MT5567:allmodels
•MT5864:allmodels
•MT3029,3054,3139,3219,3349,3421,3769,3934,4992,5206,5267,5325_SB
46R15192
FrontI/Ocable_NC_R(10L_ESD_A400_U505)
•MT3245:allmodels
•MT3269:allmodels
•MT3491:allmodels
•MT3627:allmodels
•MT5485:allmodels
•MT5536:allmodels
•MT5567:allmodels
•MT5864:allmodels
•MT3029,3054,3139,3219,3349,3421,3769,3934,4992,5206,5267,5325_SB
45J95692
SATAcable_R_600mm(RoHS)
•MT3245:allmodels
•MT3269:allmodels
•MT3491:allmodels
•MT3627:allmodels
•MT5485:allmodels
•MT5536:allmodels
•MT5567:allmodels
•MT5864:allmodels
•MT3029,3054,3139,3219,3349,3421,3769,3934,4992,5206,5267,5325_SB
45J95792
276ThinkCentreHardwareMaintenanceManual

FRUsFRU#CRU
PS2cable(170mm)
•MT3245:allmodels
•MT3269:allmodels
•MT3491:allmodels
•MT3627:allmodels
•MT5485:allmodels
•MT5536:allmodels
•MT5567:allmodels
•MT5864:allmodels
•MT3029,3054,3139,3219,3349,3421,3769,3934,4992,5206,5267,5325_SB
43N91492
e-SATAcable_R_300mm_LP
•MT3245:allmodels
•MT3269:allmodels
•MT3491:allmodels
•MT3627:allmodels
•MT5485:allmodels
•MT5536:allmodels
•MT5567:allmodels
•MT5864:allmodels
•MT3029,3054,3139,3219,3349,3421,3769,3934,4992,5206,5267,5325_SB
41R33112
FrontI/Ocable_NC_R(10L_ESD_A400_U505)
•MT3245:allmodels
•MT3269:allmodels
•MT3491:allmodels
•MT3627:allmodels
•MT5485:allmodels
•MT5536:allmodels
•MT5567:allmodels
•MT5864:allmodels
•MT3029,3054,3139,3219,3349,3421,3769,3934,4992,5206,5267,5325_SB
45J95692
PCIparallelcard
•MT3245:allmodels
•MT3269:allmodels
•MT3491:allmodels
•MT3627:allmodels
•MT5485:allmodels
•MT5536:allmodels
•MT5567:allmodels
•MT5864:allmodels
•MT3029,3054,3139,3219,3349,3421,3769,3934,4992,5206,5267,5325_SB
46R15191
Chapter10.FRUlists277

FRUsFRU#CRU
Serialportcable250mm(withlevelshiftIC)
•MT3245:allmodels
•MT3269:allmodels
•MT3491:allmodels
•MT3627:allmodels
•MT5485:allmodels
•MT5536:allmodels
•MT5567:allmodels
•MT5864:allmodels
•MT3029,3054,3139,3219,3349,3421,3769,3934,4992,5206,5267,5325_SB
71Y62172
PowercableforSlimODDandHDD
•MT3245:allmodels
•MT3269:allmodels
•MT3491:allmodels
•MT3627:allmodels
•MT5485:allmodels
•MT5536:allmodels
•MT5567:allmodels
•MT5864:allmodels
•MT3029,3054,3139,3219,3349,3421,3769,3934,4992,5206,5267,5325_SB
45J95962
DaughtercardforslimODDand2HDDbracket
•MT3245:allmodels
•MT3269:allmodels
•MT3491:allmodels
•MT3627:allmodels
•MT5485:allmodels
•MT5536:allmodels
•MT5567:allmodels
•MT5864:allmodels
•MT3029,3054,3139,3219,3349,3421,3769,3934,4992,5206,5267,5325_SB
71Y68411
FRU,airdeector,recycleresin
•MT3245:allmodels
•MT3269:allmodels
•MT3491:allmodels
•MT3627:allmodels
•MT5485:allmodels
•MT5536:allmodels
•MT5567:allmodels
•MT5864:allmodels
•MT3029,3054,3139,3219,3349,3421,3769,3934,4992,5206,5267,5325_SB
43N96102
278ThinkCentreHardwareMaintenanceManual

FRUsFRU#CRU
Verticalstand
•MT3245:allmodels
•MT3269:allmodels
•MT3491:allmodels
•MT3627:allmodels
•MT5485:allmodels
•MT5536:allmodels
•MT5567:allmodels
•MT5864:allmodels
•MT3029,3054,3139,3219,3349,3421,3769,3934,4992,5206,5267,5325_SB
43N96442
FrontI/Ocable_R(10L_A400_U505)
•MT3245:allmodels
•MT3269:allmodels
•MT3491:allmodels
•MT3627:allmodels
•MT5485:allmodels
•MT5536:allmodels
•MT5567:allmodels
•MT5864:allmodels
•MT3029,3054,3139,3219,3349,3421,3769,3934,4992,5206,5267,5325_SB
43N90772
FRU,chassisassembly(metal)
•MT3245:allmodels
•MT3269:allmodels
•MT3491:allmodels
•MT3627:allmodels
•MT5485:allmodels
•MT5536:allmodels
•MT5567:allmodels
•MT5864:allmodels
•MT3029,3054,3139,3219,3349,3421,3769,3934,4992,5206,5267,5325_SB
45K63292
FRU,harddiskdrivebracketassembly
•MT3245:allmodels
•MT3269:allmodels
•MT3491:allmodels
•MT3627:allmodels
•MT5485:allmodels
•MT5536:allmodels
•MT5567:allmodels
•MT5864:allmodels
•MT3029,3054,3139,3219,3349,3421,3769,3934,4992,5206,5267,5325_SB
45K63302
Chapter10.FRUlists279

FRUsFRU#CRU
FRU,ODDbezelkitassembly
•MT3245:allmodels
•MT3269:allmodels
•MT3491:allmodels
•MT3627:allmodels
•MT5485:allmodels
•MT5536:allmodels
•MT5567:allmodels
•MT5864:allmodels
•MT3029,3054,3139,3219,3349,3421,3769,3934,4992,5206,5267,5325_SB
45K63321
FRU,non-cardreaderbezel
•MT3245:allmodels
•MT3269:allmodels
•MT3491:allmodels
•MT3627:allmodels
•MT5485:allmodels
•MT5536:allmodels
•MT5567:allmodels
•MT5864:allmodels
•MT3029,3054,3139,3219,3349,3421,3769,3934,4992,5206,5267,5325_SB
45K63331
FRU,opticalblankbezelkit
•MT3245:allmodels
•MT3269:allmodels
•MT3491:allmodels
•MT3627:allmodels
•MT5485:allmodels
•MT5536:allmodels
•MT5567:allmodels
•MT5864:allmodels
•MT3029,3054,3139,3219,3349,3421,3769,3934,4992,5206,5267,5325_SB
45K63341
FRU,cardreaderbezelkit
•MT3245:allmodels
•MT3269:allmodels
•MT3491:allmodels
•MT3627:allmodels
•MT5485:allmodels
•MT5536:allmodels
•MT5567:allmodels
•MT5864:allmodels
•MT3029,3054,3139,3219,3349,3421,3769,3934,4992,5206,5267,5325_SB
45K63351
280ThinkCentreHardwareMaintenanceManual

FRUsFRU#CRU
FRU,universalslim+HDDbracketassembly
•MT3245:allmodels
•MT3269:allmodels
•MT3491:allmodels
•MT3627:allmodels
•MT5485:allmodels
•MT5536:allmodels
•MT5567:allmodels
•MT5864:allmodels
•MT3029,3054,3139,3219,3349,3421,3769,3934,4992,5206,5267,5325_SB
45K63362
FRU,universaladapterbracket5.25to3.5withbezel,recycleresin
•MT3245:allmodels
•MT3269:allmodels
•MT3491:allmodels
•MT3627:allmodels
•MT5485:allmodels
•MT5536:allmodels
•MT5567:allmodels
•MT5864:allmodels
•MT3029,3054,3139,3219,3349,3421,3769,3934,4992,5206,5267,5325_SB
45K62092
FRU,mechanicalki
•MT3245:allmodels
•MT3269:allmodels
•MT3491:allmodels
•MT3627:allmodels
•MT5485:allmodels
•MT5536:allmodels
•MT5567:allmodels
•MT5864:allmodels
•MT3029,3054,3139,3219,3349,3421,3769,3934,4992,5206,5267,5325_SB
43N98552
FRU,universaladapterbracket5.25to3.5bezelandretainer
•MT3245:allmodels
•MT3269:allmodels
•MT3491:allmodels
•MT3627:allmodels
•MT5485:allmodels
•MT5536:allmodels
•MT5567:allmodels
•MT5864:allmodels
•MT3029,3054,3139,3219,3349,3421,3769,3934,4992,5206,5267,5325_SB
45K63692
Chapter10.FRUlists281

FRUsFRU#CRU
FRU,topcoverassembly
•MT3245:allmodels
•MT3269:allmodels
•MT3491:allmodels
•MT3627:allmodels
•MT5485:allmodels
•MT5536:allmodels
•MT5567:allmodels
•MT5864:allmodels
•MT3029,3054,3139,3219,3349,3421,3769,3934,4992,5206,5267,5325_SB
45K63762
FRU,thermalsensecable180mm
•MT3245:allmodels
•MT3269:allmodels
•MT3491:allmodels
•MT3627:allmodels
•MT5485:allmodels
•MT5536:allmodels
•MT5567:allmodels
•MT5864:allmodels
•MT3029,3054,3139,3219,3349,3421,3769,3934,4992,5206,5267,5325_SB
54Y99042
RearUSBcable_R_200mm_LP
•MT3245:allmodels
•MT3269:allmodels
•MT3491:allmodels
•MT3627:allmodels
•MT5485:allmodels
•MT5536:allmodels
•MT5567:allmodels
•MT5864:allmodels
•MT3029,3054,3139,3219,3349,3421,3769,3934,4992,5206,5267,5325_SB
42Y80062
1.8to2.5HDDConversionKit,nobezel,withPCB
•MT3245:allmodels
•MT3269:allmodels
•MT3491:allmodels
•MT3627:allmodels
•MT5485:allmodels
•MT5536:allmodels
•MT5567:allmodels
•MT5864:allmodels
•MT3029,3054,3139,3219,3349,3421,3769,3934,4992,5206,5267,5325_SB
43N95931
FRU,poweron/offcablebracket
•MT3245:allmodels
03T95201
282ThinkCentreHardwareMaintenanceManual

FRUsFRU#CRU
•MT3269:allmodels
•MT3491:allmodels
•MT3627:allmodels
•MT5485:allmodels
•MT5536:allmodels
•MT5567:allmodels
•MT5864:allmodels
•MT3029,3054,3139,3219,3349,3421,3769,3934,4992,5206,5267,5325_SB
KeyboardandMouse
Keyboard(LenovoPreferredProUSB--withouthub)FRU#CRU
USEnglish
•MT3245:A1UA2UA8UA5VA6VA7VB2GB4GB5GB6GB7U
•MT3269:A1UA2UA4VA5VA7GA8UA6UA9GB2GB1UB4GB5U
•MT3491:A1GA2GA3GA4GA5G
•MT3627:A1GA2GA3GA4GA5GA6GA7G
•MT5485:B9AD1AB2GB2AB3GB4GB5GB6GB7GB8GA8MA9JB1J
A1UA2UA3UA4UA5UD2QD8JD9JE1JE2JE3UE4UD3VD4VD5VD6V
D7VF1MF2MF3MF4MF5MF6MF7MF8MF9MJ1MJ2MJ3MJ4UJ4L
K3MK7MK8UK9M
•MT5536:B1GB1AB2GA7MA7AA8JA9JA1UA2UA3UA4UB6JB7JB8U
B9UE1UE2UB3VB4VB5VF1MF2MF3MF4MF5MF6MF7MF8MF9M
H1MH2MH3MH4MH5MH6MH7MH8MH9MJ1MJ2MJ3MJ4MJ5MJ6M
J7MJ8MJ9MK1GK2GK6M
•MT5567:A1UA1LA1MA1AA1QA1HA1RA1E
•MT5864:A1UA1LA1GA1MA1AA1QA1VA1EA1J
•MT3029,3054,3139,3219,3349,3421,3769,3934,4992,5206,5267,
5325_SB
41A52891
Arabic
•MT3245:B2GB4GB5GB6G
•MT3269:A7GA9GB2GB4G
•MT3491:A1GA2GA3GA4GA5G
•MT3627:A1GA2GA3GA4GA5GA6GA7G
•MT5485:B2GB3GB4GB5GB6GB7GB8G
•MT5536:B1GB2GK1G
•MT5567:
•MT5864:A1G
•MT3029,3054,3139,3219,3349,3421,3769,3934,4992,5206,5267,
5325_SB
41A52901
Chapter10.FRUlists283

Keyboard(LenovoPreferredProUSB--withouthub)FRU#CRU
A/F
•MT3245:
•MT3269:
•MT3491:A1GA2GA3GA4GA5G
•MT3627:A1GA2GA3GA4GA5GA6GA7G
•MT5485:B2GB3GB4GB5GB6GB7GB8G
•MT5536:B1GB2GK1G
•MT5567:A1G
•MT5864:A1G
•MT3029,3054,3139,3219,3349,3421,3769,3934,4992,5206,5267,
5325_SB
41A52911
B/F
•MT3245:B2GB4GB5GB6G
•MT3269:A7GA9GB2GB4G
•MT3491:
•MT3627:
•MT5485:
•MT5536:
•MT5567:A1G
•MT5864:
•MT3029,3054,3139,3219,3349,3421,3769,3934,4992,5206,5267,
5325_SB
41A52921
BelgiumEnglish
•MT3245:B2GB4GB5GB6G
•MT3269:A7GA9GB2GB4G
•MT3491:A1GA2GA3GA4GA5G
•MT3627:A1GA2GA3GA4GA5GA6GA7G
•MT5485:B2GB3GB4GB5GB6GB7GB8G
•MT5536:B1GB2GK1G
•MT5567:A1G
•MT5864:A1G
•MT3029,3054,3139,3219,3349,3421,3769,3934,4992,5206,5267,
5325_SB
41A52931
BrazilianPortuguese
•MT3245:A1PA2P
•MT3269:A1PA2P
•MT3491:
•MT3627:
•MT5485:A1PA2PA3PA4PA5PE3PE4PK4P
•MT5536:A1PA2PA3PA4PK8P
•MT5567:A1P
•MT5864:A1P
41A52941
284ThinkCentreHardwareMaintenanceManual

Keyboard(LenovoPreferredProUSB--withouthub)FRU#CRU
•MT3029,3054,3139,3219,3349,3421,3769,3934,4992,5206,5267,
5325_SB
Bulgarian
•MT3245:B2GB4GB5GB6G
•MT3269:A7GA9GB2GB4G
•MT3491:A1GA2GA3GA4GA5G
•MT3627:A1GA2GA3GA4GA5GA6GA7G
•MT5485:B2GB3GB4GB5GB6GB7GB8G
•MT5536:B1GB2GK1G
•MT5567:A1G
•MT5864:A1G
•MT3029,3054,3139,3219,3349,3421,3769,3934,4992,5206,5267,
5325_SB
41A52951
Chinese/US
•MT3245:A3HA4H
•MT3269:A3HA4H
•MT3491:
•MT3627:
•MT5485:J8V
•MT5536:K4V
•MT5567:A1BA1H
•MT5864:A1HA1K
•MT3029,3054,3139,3219,3349,3421,3769,3934,4992,5206,5267,
5325_SB
41A52961
Czech(ABB)
•MT3245:B2GB4GB5GB6G
•MT3269:A7GA9GB2GB4G
•MT3491:A1GA2GA3GA4GA5G
•MT3627:A1GA2GA3GA4GA5GA6GA7G
•MT5485:B2GB3GB4GB5GB6GB7GB8G
•MT5536:B1GB2GK1G
•MT5567:A1G
•MT5864:A1G
•MT3029,3054,3139,3219,3349,3421,3769,3934,4992,5206,5267,
5325_SB
41A52971
Chapter10.FRUlists285

Keyboard(LenovoPreferredProUSB--withouthub)FRU#CRU
Danish
•MT3245:B2GB4GB5GB6G
•MT3269:A7GA9GB2GB4G
•MT3491:A1GA2GA3GA4GA5G
•MT3627:A1GA2GA3GA4GA5GA6GA7G
•MT5485:B2GB3GB4GB5GB6GB7GB8G
•MT5536:B1GB2GK1G
•MT5567:A1G
•MT5864:A1G
•MT3029,3054,3139,3219,3349,3421,3769,3934,4992,5206,5267,
5325_SB
41A52981
Dutch
•MT3245:B2GB4GB5GB6G
•MT3269:A7GA9GB2GB4G
•MT3491:A1GA2GA3GA4GA5G
•MT3627:A1GA2GA3GA4GA5GA6GA7G
•MT5485:B2GB3GB4GB5GB6GB7GB8G
•MT5536:B1GB2GK1G
•MT5567:A1G
•MT5864:A1G
•MT3029,3054,3139,3219,3349,3421,3769,3934,4992,5206,5267,
5325_SB
41A52991
French
•MT3245:B2GB4GB5GB6G
•MT3269:A7GA9GB2GB4G
•MT3491:A1GA2GA3GA4GA5G
•MT3627:A1GA2GA3GA4GA5GA6GA7G
•MT5485:B2GB3GB4GB5GB6GB7GB8G
•MT5536:B1GB2GK1G
•MT5567:A1G
•MT5864:A1G
•MT3029,3054,3139,3219,3349,3421,3769,3934,4992,5206,5267,
5325_SB
41A53001
FrenchCanadian
•MT3245:A1FA2FA8FB7F
•MT3269:A1FA2FA8FA6FB1FB5F
•MT3491:A1GA2GA3GA4GA5G
•MT3627:A1GA2GA3GA4GA5GA6GA7G
•MT5485:B2GB3GB4GB5GB6GB7GB8GA1FA2FA3FA4FA5FE3FE4F
J4FK8F
•MT5536:B1GB2GA1FA2FA3FA4FB8FB9FE1FE2FK1G
•MT5567:A1F
•MT5864:A1FA1G
41A53011
286ThinkCentreHardwareMaintenanceManual

Keyboard(LenovoPreferredProUSB--withouthub)FRU#CRU
•MT3029,3054,3139,3219,3349,3421,3769,3934,4992,5206,5267,
5325_SB
FrenchCanadian
•MT3245:A1FA2FA8FB7F
•MT3269:A1FA2FA8FA6FB1FB5F
•MT3491:A1GA2GA3GA4GA5G
•MT3627:A1GA2GA3GA4GA5GA6GA7G
•MT5485:B2GB3GB4GB5GB6GB7GB8GA1FA2FA3FA4FA5FE3FE4F
J4FK8F
•MT5536:B1GB2GA1FA2FA3FA4FB8FB9FE1FE2FK1G
•MT5567:A1F
•MT5864:A1FA1G
•MT3029,3054,3139,3219,3349,3421,3769,3934,4992,5206,5267,
5325_SB
41A53021
German
•MT3245:B2GB4GB5GB6G
•MT3269:A7GA9GB2GB4G
•MT3491:A1GA2GA3GA4GA5G
•MT3627:A1GA2GA3GA4GA5GA6GA7G
•MT5485:B2GB3GB4GB5GB6GB7GB8G
•MT5536:B1GB2GK1G
•MT5567:A1G
•MT5864:A1G
•MT3029,3054,3139,3219,3349,3421,3769,3934,4992,5206,5267,
5325_SB
41A53031
Greek
•MT3245:B2GB4GB5GB6G
•MT3269:A7GA9GB2GB4G
•MT3491:A1GA2GA3GA4GA5G
•MT3627:A1GA2GA3GA4GA5GA6GA7G
•MT5485:B2GB3GB4GB5GB6GB7GB8G
•MT5536:B1GB2GK1G
•MT5567:A1G
•MT5864:A1G
•MT3029,3054,3139,3219,3349,3421,3769,3934,4992,5206,5267,
5325_SB
41A53041
Chapter10.FRUlists287

Keyboard(LenovoPreferredProUSB--withouthub)FRU#CRU
Greek/US
•MT3245:B2GB4GB5GB6G
•MT3269:A7GA9GB2GB4G
•MT3491:A1GA2GA3GA4GA5G
•MT3627:A1GA2GA3GA4GA5GA6GA7G
•MT5485:B2GB3GB4GB5GB6GB7GB8G
•MT5536:B1GB2GK1G
•MT5567:A1G
•MT5864:A1G
•MT3029,3054,3139,3219,3349,3421,3769,3934,4992,5206,5267,
5325_SB
41A53051
Hebrew
•MT3245:B2GB4GB5GB6G
•MT3269:A7GA9GB2GB4G
•MT3491:A1GA2GA3GA4GA5G
•MT3627:A1GA2GA3GA4GA5GA6GA7G
•MT5485:B2GB3GB4GB5GB6GB7GB8G
•MT5536:B1GB2GK1G
•MT5567:A1G
•MT5864:A1G
•MT3029,3054,3139,3219,3349,3421,3769,3934,4992,5206,5267,
5325_SB
41A53061
Hungarian
•MT3245:B2GB4GB5GB6G
•MT3269:A7GA9GB2GB4G
•MT3491:A1GA2GA3GA4GA5G
•MT3627:A1GA2GA3GA4GA5GA6GA7G
•MT5485:B2GB3GB4GB5GB6GB7GB8G
•MT5536:B1GB2GK1G
•MT5567:A1G
•MT5864:A1G
•MT3029,3054,3139,3219,3349,3421,3769,3934,4992,5206,5267,
5325_SB
41A53071
Iceland
•MT3245:B2GB4GB5GB6G
•MT3269:A7GA9GB2GB4G
•MT3491:A1GA2GA3GA4GA5G
•MT3627:A1GA2GA3GA4GA5GA6GA7G
•MT5485:B2GB3GB4GB5GB6GB7GB8G
•MT5536:B1GB2GK1G
•MT5567:A1G
•MT5864:A1G
41A53081
288ThinkCentreHardwareMaintenanceManual

Keyboard(LenovoPreferredProUSB--withouthub)FRU#CRU
•MT3029,3054,3139,3219,3349,3421,3769,3934,4992,5206,5267,
5325_SB
Italy
•MT3245:B2GB4GB5GB6G
•MT3269:A7GA9GB2GB4G
•MT3491:A1GA2GA3GA4GA5G
•MT3627:A1GA2GA3GA4GA5GA6GA7G
•MT5485:B2GB3GB4GB5GB6GB7GB8G
•MT5536:B1GB2GK1G
•MT5567:A1G
•MT5864:A1G
•MT3029,3054,3139,3219,3349,3421,3769,3934,4992,5206,5267,
5325_SB
41A53091
Japanese
•MT3245:
•MT3269:
•MT3491:
•MT3627:
•MT5485:J5JJ6JK5JK6J
•MT5536:K2JK3J
•MT5567:A1J
•MT5864:A1J
•MT3029,3054,3139,3219,3349,3421,3769,3934,4992,5206,5267,
5325_SB
41A53101
Korean
•MT3245:
•MT3269:
•MT3491:
•MT3627:
•MT5485:
•MT5536:
•MT5567:A1K
•MT5864:A1R
•MT3029,3054,3139,3219,3349,3421,3769,3934,4992,5206,5267,
5325_SB
41A53111
Chapter10.FRUlists289

Keyboard(LenovoPreferredProUSB--withouthub)FRU#CRU
LASpanish
•MT3245:A1SA1DA1YA2SA2DA2YB7S
•MT3269:A1SA1DA1YA2SA2DA2YA8SA6SB3SB3DB3YB1SB5S
•MT3491:
•MT3627:
•MT5485:A1SA1DA1YA2SA2DA2YA3SA3DA3YA4SA4DA4YA5SA5D
A5YE3SE3YE4SE4YJ7SJ7DJ7YJ9SJ9DJ9YK2SK2DK2YK8S
•MT5536:A1SA1DA1YA2SA2DA2YA3SA3DA3YA4SA4DA4YB8SB8Y
B9SB9YE1SE1YE2SE2YK5SK5DK5Y
•MT5567:A1SA1DA1Y
•MT5864:A1SA1DA1Y
•MT3029,3054,3139,3219,3349,3421,3769,3934,4992,5206,5267,
5325_SB
41A53121
Norwegian
•MT3245:B2GB4GB5GB6G
•MT3269:A7GA9GB2GB4G
•MT3491:A1GA2GA3GA4GA5G
•MT3627:A1GA2GA3GA4GA5GA6GA7G
•MT5485:B2GB3GB4GB5GB6GB7GB8G
•MT5536:B1GB2GK1G
•MT5567:A1G
•MT5864:A1G
•MT3029,3054,3139,3219,3349,3421,3769,3934,4992,5206,5267,
5325_SB
41A53131
Polish
•MT3245:B2GB4GB5GB6G
•MT3269:A7GA9GB2GB4G
•MT3491:A1GA2GA3GA4GA5G
•MT3627:A1GA2GA3GA4GA5GA6GA7G
•MT5485:B2GB3GB4GB5GB6GB7GB8G
•MT5536:B1GB2GK1G
•MT5567:A1G
•MT5864:A1G
•MT3029,3054,3139,3219,3349,3421,3769,3934,4992,5206,5267,
5325_SB
41A53141
290ThinkCentreHardwareMaintenanceManual

Keyboard(LenovoPreferredProUSB--withouthub)FRU#CRU
Portuguese
•MT3245:B2GB4GB5GB6G
•MT3269:A7GA9GB2GB4G
•MT3491:A1GA2GA3GA4GA5G
•MT3627:A1GA2GA3GA4GA5GA6GA7G
•MT5485:B2GB3GB4GB5GB6GB7GB8G
•MT5536:B1GB2GK1G
•MT5567:A1G
•MT5864:A1G
•MT3029,3054,3139,3219,3349,3421,3769,3934,4992,5206,5267,
5325_SB
41A53151
Romanian
•MT3245:B2GB4GB5GB6G
•MT3269:A7GA9GB2GB4G
•MT3491:A1GA2GA3GA4GA5G
•MT3627:A1GA2GA3GA4GA5GA6GA7G
•MT5485:B2GB3GB4GB5GB6GB7GB8G
•MT5536:B1GB2GK1G
•MT5567:A1G
•MT5864:A1G
•MT3029,3054,3139,3219,3349,3421,3769,3934,4992,5206,5267,
5325_SB
41A53171
Romanian
•MT3245:B2GB4GB5GB6G
•MT3269:A7GA9GB2GB4G
•MT3491:A1GA2GA3GA4GA5G
•MT3627:A1GA2GA3GA4GA5GA6GA7G
•MT5485:B2GB3GB4GB5GB6GB7GB8G
•MT5536:B1GB2GK1G
•MT5567:A1G
•MT5864:A1G
•MT3029,3054,3139,3219,3349,3421,3769,3934,4992,5206,5267,
5325_SB
41A53161
Russian/Cyrillic
•MT3245:B2GB4GB5GB6G
•MT3269:A7GA9GB2GB4G
•MT3491:A1GA2GA3GA4GA5G
•MT3627:A1GA2GA3GA4GA5GA6GA7G
•MT5485:B2GB3GB4GB5GB6GB7GB8G
•MT5536:B1GB2GK1G
•MT5567:A1G
•MT5864:A1G
41A53181
Chapter10.FRUlists291

Keyboard(LenovoPreferredProUSB--withouthub)FRU#CRU
•MT3029,3054,3139,3219,3349,3421,3769,3934,4992,5206,5267,
5325_SB
Serbian/Cyrillic
•MT3245:B2GB4GB5GB6G
•MT3269:A7GA9GB2GB4G
•MT3491:A1GA2GA3GA4GA5G
•MT3627:A1GA2GA3GA4GA5GA6GA7G
•MT5485:B2GB3GB4GB5GB6GB7GB8G
•MT5536:B1GB2GK1G
•MT5567:A1G
•MT5864:A1G
•MT3029,3054,3139,3219,3349,3421,3769,3934,4992,5206,5267,
5325_SB
41A53191
Slovak
•MT3245:B2GB4GB5GB6G
•MT3269:A7GA9GB2GB4G
•MT3491:A1GA2GA3GA4GA5G
•MT3627:A1GA2GA3GA4GA5GA6GA7G
•MT5485:B2GB3GB4GB5GB6GB7GB8G
•MT5536:B1GB2GK1G
•MT5567:A1G
•MT5864:A1G
•MT3029,3054,3139,3219,3349,3421,3769,3934,4992,5206,5267,
5325_SB
41A53201
Spanish
•MT3245:B2GB4GB5GB6G
•MT3269:A7GA9GB2GB4G
•MT3491:A1GA2GA3GA4GA5G
•MT3627:A1GA2GA3GA4GA5GA6GA7G
•MT5485:B2GB3GB4GB5GB6GB7GB8G
•MT5536:B1GB2GK1G
•MT5567:A1G
•MT5864:A1G
•MT3029,3054,3139,3219,3349,3421,3769,3934,4992,5206,5267,
5325_SB
41A53211
292ThinkCentreHardwareMaintenanceManual

Keyboard(LenovoPreferredProUSB--withouthub)FRU#CRU
Swedish/Finnish
•MT3245:B2GB4GB5GB6G
•MT3269:A7GA9GB2GB4G
•MT3491:A1GA2GA3GA4GA5G
•MT3627:A1GA2GA3GA4GA5GA6GA7G
•MT5485:B2GB3GB4GB5GB6GB7GB8G
•MT5536:B1GB2GK1G
•MT5567:A1G
•MT5864:A1G
•MT3029,3054,3139,3219,3349,3421,3769,3934,4992,5206,5267,
5325_SB
41A53221
SF/G
•MT3245:B2GB4GB5GB6G
•MT3269:A7GA9GB2GB4G
•MT3491:A1GA2GA3GA4GA5G
•MT3627:A1GA2GA3GA4GA5GA6GA7G
•MT5485:B2GB3GB4GB5GB6GB7GB8G
•MT5536:B1GB2GK1G
•MT5567:A1G
•MT5864:A1G
•MT3029,3054,3139,3219,3349,3421,3769,3934,4992,5206,5267,
5325_SB
41A53231
Thailand
•MT3245:
•MT3269:
•MT3491:
•MT3627:
•MT5485:B9TD1TB2T
•MT5536:B1TA7T
•MT5567:A1T
•MT5864:A1T
•MT3029,3054,3139,3219,3349,3421,3769,3934,4992,5206,5267,
5325_SB
41A53241
Turkish
•MT3245:B2GB4GB5GB6G
•MT3269:A7GA9GB2GB4G
•MT3491:A1GA2GA3GA4GA5G
•MT3627:A1GA2GA3GA4GA5GA6GA7G
•MT5485:B2GB3GB4GB5GB6GB7GB8G
•MT5536:B1GB2GK1G
•MT5567:A1G
•MT5864:A1G
41A53251
Chapter10.FRUlists293

Keyboard(LenovoPreferredProUSB--withouthub)FRU#CRU
•MT3029,3054,3139,3219,3349,3421,3769,3934,4992,5206,5267,
5325_SB
Turkish
•MT3245:B2GB4GB5GB6G
•MT3269:A7GA9GB2GB4G
•MT3491:A1GA2GA3GA4GA5G
•MT3627:A1GA2GA3GA4GA5GA6GA7G
•MT5485:B2GB3GB4GB5GB6GB7GB8G
•MT5536:B1GB2GK1G
•MT5567:A1G
•MT5864:A1G
•MT3029,3054,3139,3219,3349,3421,3769,3934,4992,5206,5267,
5325_SB
41A53261
UKEnglish
•MT3245:B2GB4GB5GB6G
•MT3269:A7GA9GB2GB4G
•MT3491:A1GA2GA3GA4GA5G
•MT3627:A1GA2GA3GA4GA5GA6GA7G
•MT5485:B2GB3GB4GB5GB6GB7GB8G
•MT5536:B1GB2GK1G
•MT5567:A1G
•MT5864:A1G
•MT3029,3054,3139,3219,3349,3421,3769,3934,4992,5206,5267,
5325_SB
41A53271
USEuropean
•MT3245:B2GB4GB5GB6G
•MT3269:A7GA9GB2GB4G
•MT3491:A1GA2GA3GA4GA5G
•MT3627:A1GA2GA3GA4GA5GA6GA7G
•MT5485:B2GB3GB4GB5GB6GB7GB8G
•MT5536:B1GB2GK1G
•MT5567:A1G
•MT5864:A1G
•MT3029,3054,3139,3219,3349,3421,3769,3934,4992,5206,5267,
5325_SB
41A53281
294ThinkCentreHardwareMaintenanceManual

Keyboard(LenovoPreferredProUSB--withouthub)FRU#CRU
Slovenian
•MT3245:B2GB4GB5GB6G
•MT3269:A7GA9GB2GB4G
•MT3491:
•MT3627:
•MT5485:
•MT5536:
•MT5567:A1G
•MT5864:
•MT3029,3054,3139,3219,3349,3421,3769,3934,4992,5206,5267,
5325_SB
41A53291
Arabic(New)
•MT3245:B2GB4GB5GB6G
•MT3269:A7GA9GB2GB4G
•MT3491:A1GA2GA3GA4GA5G
•MT3627:A1GA2GA3GA4GA5GA6GA7G
•MT5485:B2GB3GB4GB5GB6GB7GB8G
•MT5536:B1GB2GK1G
•MT5567:A1G
•MT5864:A1G
•MT3029,3054,3139,3219,3349,3421,3769,3934,4992,5206,5267,
5325_SB
45J48801
Lithuanian
•MT3245:B2GB4GB5GB6G
•MT3269:A7GA9GB2GB4G
•MT3491:
•MT3627:
•MT5485:
•MT5536:
•MT5567:A1G
•MT5864:
•MT3029,3054,3139,3219,3349,3421,3769,3934,4992,5206,5267,
5325_SB
45J48961
India
•MT3245:
•MT3269:
•MT3491:
•MT3627:
•MT5485:
•MT5536:
•MT5567:A1Q
•MT5864:
54Y83811
Chapter10.FRUlists295

Keyboard(LenovoPreferredProUSB--withouthub)FRU#CRU
•MT3029,3054,3139,3219,3349,3421,3769,3934,4992,5206,5267,
5325_SB
Keyboard(PreferredProFullSizePS/2)FRU#CRU
PS/2--USEnglish
•MT3245:
•MT3269:
•MT3491:
•MT3627:
•MT5485:
•MT5536:
•MT5567:
•MT5864:
•MT3029,3054,3139,3219,3349,3421,3769,3934,4992,5206,5267,
5325_SB
41A50391
PS/2--Arabic
•MT3245:
•MT3269:
•MT3491:
•MT3627:
•MT5485:
•MT5536:
•MT5567:
•MT5864:
•MT3029,3054,3139,3219,3349,3421,3769,3934,4992,5206,5267,
5325_SB
41A50401
PS/2--A/F
•MT3245:
•MT3269:
•MT3491:
•MT3627:
•MT5485:
•MT5536:
•MT5567:
•MT5864:
•MT3029,3054,3139,3219,3349,3421,3769,3934,4992,5206,5267,
5325_SB
41A50411
296ThinkCentreHardwareMaintenanceManual

Keyboard(PreferredProFullSizePS/2)FRU#CRU
PS/2--B/F
•MT3245:
•MT3269:
•MT3491:
•MT3627:
•MT5485:
•MT5536:
•MT5567:
•MT5864:
•MT3029,3054,3139,3219,3349,3421,3769,3934,4992,5206,5267,
5325_SB
41A50421
PS/2--BelgiumEnglish
•MT3245:
•MT3269:
•MT3491:
•MT3627:
•MT5485:
•MT5536:
•MT5567:
•MT5864:
•MT3029,3054,3139,3219,3349,3421,3769,3934,4992,5206,5267,
5325_SB
41A50431
PS/2--BrazilianPortuguese
•MT3245:
•MT3269:
•MT3491:
•MT3627:
•MT5485:
•MT5536:
•MT5567:
•MT5864:
•MT3029,3054,3139,3219,3349,3421,3769,3934,4992,5206,5267,
5325_SB
41A50441
PS/2--Bulgarian
•MT3245:
•MT3269:
•MT3491:
•MT3627:
•MT5485:
•MT5536:
•MT5567:
•MT5864:
41A50451
Chapter10.FRUlists297

Keyboard(PreferredProFullSizePS/2)FRU#CRU
•MT3029,3054,3139,3219,3349,3421,3769,3934,4992,5206,5267,
5325_SB
PS/2--Chinese/US
•MT3245:
•MT3269:
•MT3491:
•MT3627:
•MT5485:
•MT5536:
•MT5567:
•MT5864:
•MT3029,3054,3139,3219,3349,3421,3769,3934,4992,5206,5267,
5325_SB
41A50461
PS/2--Czech(ABB)
•MT3245:
•MT3269:
•MT3491:
•MT3627:
•MT5485:
•MT5536:
•MT5567:
•MT5864:
•MT3029,3054,3139,3219,3349,3421,3769,3934,4992,5206,5267,
5325_SB
41A50471
PS/2--Danish
•MT3245:
•MT3269:
•MT3491:
•MT3627:
•MT5485:
•MT5536:
•MT5567:
•MT5864:
•MT3029,3054,3139,3219,3349,3421,3769,3934,4992,5206,5267,
5325_SB
41A50481
298ThinkCentreHardwareMaintenanceManual

Keyboard(PreferredProFullSizePS/2)FRU#CRU
PS/2--Dutch
•MT3245:
•MT3269:
•MT3491:
•MT3627:
•MT5485:
•MT5536:
•MT5567:
•MT5864:
•MT3029,3054,3139,3219,3349,3421,3769,3934,4992,5206,5267,
5325_SB
41A50491
PS/2--French
•MT3245:
•MT3269:
•MT3491:
•MT3627:
•MT5485:
•MT5536:
•MT5567:
•MT5864:
•MT3029,3054,3139,3219,3349,3421,3769,3934,4992,5206,5267,
5325_SB
41A50501
PS/2--FrenchCanadian
•MT3245:
•MT3269:
•MT3491:
•MT3627:
•MT5485:
•MT5536:
•MT5567:
•MT5864:
•MT3029,3054,3139,3219,3349,3421,3769,3934,4992,5206,5267,
5325_SB
41A50511
PS/2--FrenchCanadian
•MT3245:
•MT3269:
•MT3491:
•MT3627:
•MT5485:
•MT5536:
•MT5567:
•MT5864:
41A50521
Chapter10.FRUlists299

Keyboard(PreferredProFullSizePS/2)FRU#CRU
•MT3029,3054,3139,3219,3349,3421,3769,3934,4992,5206,5267,
5325_SB
PS/2--German
•MT3245:
•MT3269:
•MT3491:
•MT3627:
•MT5485:
•MT5536:
•MT5567:
•MT5864:
•MT3029,3054,3139,3219,3349,3421,3769,3934,4992,5206,5267,
5325_SB
41A50531
PS/2--Greek
•MT3245:
•MT3269:
•MT3491:
•MT3627:
•MT5485:
•MT5536:
•MT5567:
•MT5864:
•MT3029,3054,3139,3219,3349,3421,3769,3934,4992,5206,5267,
5325_SB
41A50541
PS/2--Greek/US
•MT3245:
•MT3269:
•MT3491:
•MT3627:
•MT5485:
•MT5536:
•MT5567:
•MT5864:
•MT3029,3054,3139,3219,3349,3421,3769,3934,4992,5206,5267,
5325_SB
41A50801
300ThinkCentreHardwareMaintenanceManual

Keyboard(PreferredProFullSizePS/2)FRU#CRU
PS/2--Hebrew
•MT3245:
•MT3269:
•MT3491:
•MT3627:
•MT5485:
•MT5536:
•MT5567:
•MT5864:
•MT3029,3054,3139,3219,3349,3421,3769,3934,4992,5206,5267,
5325_SB
41A50551
PS/2--Hungarian
•MT3245:
•MT3269:
•MT3491:
•MT3627:
•MT5485:
•MT5536:
•MT5567:
•MT5864:
•MT3029,3054,3139,3219,3349,3421,3769,3934,4992,5206,5267,
5325_SB
41A50561
PS/2--Iceland
•MT3245:
•MT3269:
•MT3491:
•MT3627:
•MT5485:
•MT5536:
•MT5567:
•MT5864:
•MT3029,3054,3139,3219,3349,3421,3769,3934,4992,5206,5267,
5325_SB
41A50571
PS/2--Italy
•MT3245:
•MT3269:
•MT3491:
•MT3627:
•MT5485:
•MT5536:
•MT5567:
•MT5864:
41A50581
Chapter10.FRUlists301

Keyboard(PreferredProFullSizePS/2)FRU#CRU
•MT3029,3054,3139,3219,3349,3421,3769,3934,4992,5206,5267,
5325_SB
PS/2--Japanese
•MT3245:
•MT3269:
•MT3491:
•MT3627:
•MT5485:
•MT5536:
•MT5567:
•MT5864:
•MT3029,3054,3139,3219,3349,3421,3769,3934,4992,5206,5267,
5325_SB
41A50591
PS/2--Korean
•MT3245:
•MT3269:
•MT3491:
•MT3627:
•MT5485:
•MT5536:
•MT5567:
•MT5864:
•MT3029,3054,3139,3219,3349,3421,3769,3934,4992,5206,5267,
5325_SB
41A50601
PS/2--LASpanish
•MT3245:
•MT3269:
•MT3491:
•MT3627:
•MT5485:
•MT5536:
•MT5567:
•MT5864:
•MT3029,3054,3139,3219,3349,3421,3769,3934,4992,5206,5267,
5325_SB
41A50611
302ThinkCentreHardwareMaintenanceManual

Keyboard(PreferredProFullSizePS/2)FRU#CRU
PS/2--Norwegian
•MT3245:
•MT3269:
•MT3491:
•MT3627:
•MT5485:
•MT5536:
•MT5567:
•MT5864:
•MT3029,3054,3139,3219,3349,3421,3769,3934,4992,5206,5267,
5325_SB
41A50621
PS/2--Polish
•MT3245:
•MT3269:
•MT3491:
•MT3627:
•MT5485:
•MT5536:
•MT5567:
•MT5864:
•MT3029,3054,3139,3219,3349,3421,3769,3934,4992,5206,5267,
5325_SB
41A50631
PS/2--Portuguese
•MT3245:
•MT3269:
•MT3491:
•MT3627:
•MT5485:
•MT5536:
•MT5567:
•MT5864:
•MT3029,3054,3139,3219,3349,3421,3769,3934,4992,5206,5267,
5325_SB
41A50641
PS/2--Romanian
•MT3245:
•MT3269:
•MT3491:
•MT3627:
•MT5485:
•MT5536:
•MT5567:
•MT5864:
41A50651
Chapter10.FRUlists303

Keyboard(PreferredProFullSizePS/2)FRU#CRU
•MT3029,3054,3139,3219,3349,3421,3769,3934,4992,5206,5267,
5325_SB
PS/2--Russian/Cyrillic
•MT3245:
•MT3269:
•MT3491:
•MT3627:
•MT5485:
•MT5536:
•MT5567:
•MT5864:
•MT3029,3054,3139,3219,3349,3421,3769,3934,4992,5206,5267,
5325_SB
41A50661
PS/2--Serbian/Cyrillic
•MT3245:
•MT3269:
•MT3491:
•MT3627:
•MT5485:
•MT5536:
•MT5567:
•MT5864:
•MT3029,3054,3139,3219,3349,3421,3769,3934,4992,5206,5267,
5325_SB
41A50671
PS/2--Slovak
•MT3245:
•MT3269:
•MT3491:
•MT3627:
•MT5485:
•MT5536:
•MT5567:
•MT5864:
•MT3029,3054,3139,3219,3349,3421,3769,3934,4992,5206,5267,
5325_SB
41A50681
304ThinkCentreHardwareMaintenanceManual

Keyboard(PreferredProFullSizePS/2)FRU#CRU
PS/2--Spanish
•MT3245:
•MT3269:
•MT3491:
•MT3627:
•MT5485:
•MT5536:
•MT5567:
•MT5864:
•MT3029,3054,3139,3219,3349,3421,3769,3934,4992,5206,5267,
5325_SB
41A50691
PS/2--Swedish/Finnish
•MT3245:
•MT3269:
•MT3491:
•MT3627:
•MT5485:
•MT5536:
•MT5567:
•MT5864:
•MT3029,3054,3139,3219,3349,3421,3769,3934,4992,5206,5267,
5325_SB
41A50701
PS/2--SF/G
•MT3245:
•MT3269:
•MT3491:
•MT3627:
•MT5485:
•MT5536:
•MT5567:
•MT5864:
•MT3029,3054,3139,3219,3349,3421,3769,3934,4992,5206,5267,
5325_SB
41A50711
PS/2--Thailand
•MT3245:
•MT3269:
•MT3491:
•MT3627:
•MT5485:
•MT5536:
•MT5567:
•MT5864:
41A50721
Chapter10.FRUlists305

Keyboard(PreferredProFullSizePS/2)FRU#CRU
•MT3029,3054,3139,3219,3349,3421,3769,3934,4992,5206,5267,
5325_SB
PS/2--Turkish
•MT3245:
•MT3269:
•MT3491:
•MT3627:
•MT5485:
•MT5536:
•MT5567:
•MT5864:
•MT3029,3054,3139,3219,3349,3421,3769,3934,4992,5206,5267,
5325_SB
41A50731
PS/2--Turkish
•MT3245:
•MT3269:
•MT3491:
•MT3627:
•MT5485:
•MT5536:
•MT5567:
•MT5864:
•MT3029,3054,3139,3219,3349,3421,3769,3934,4992,5206,5267,
5325_SB
41A50741
PS/2--UKEnglish
•MT3245:
•MT3269:
•MT3491:
•MT3627:
•MT5485:
•MT5536:
•MT5567:
•MT5864:
•MT3029,3054,3139,3219,3349,3421,3769,3934,4992,5206,5267,
5325_SB
41A50751
306ThinkCentreHardwareMaintenanceManual

Keyboard(PreferredProFullSizePS/2)FRU#CRU
PS/2--USEuropean
•MT3245:
•MT3269:
•MT3491:
•MT3627:
•MT5485:
•MT5536:
•MT5567:
•MT5864:
•MT3029,3054,3139,3219,3349,3421,3769,3934,4992,5206,5267,
5325_SB
41A50761
PS/2--Slovenian
•MT3245:
•MT3269:
•MT3491:
•MT3627:
•MT5485:
•MT5536:
•MT5567:
•MT5864:
•MT3029,3054,3139,3219,3349,3421,3769,3934,4992,5206,5267,
5325_SB
41A50771
PS/2--India
•MT3245:
•MT3269:
•MT3491:
•MT3627:
•MT5485:
•MT5536:
•MT5567:
•MT5864:
•MT3029,3054,3139,3219,3349,3421,3769,3934,4992,5206,5267,
5325_SB
54Y83821
Keyboard(LenovoFingerprintReaderUSB)FRU#CRU
USEnglish
•MT3245:
•MT3269:
•MT3491:
•MT3627:
•MT5485:
•MT5536:
•MT5567:
03X80011
Chapter10.FRUlists307

Keyboard(LenovoFingerprintReaderUSB)FRU#CRU
•MT5864:
•MT3029,3054,3139,3219,3349,3421,3769,3934,4992,5206,5267,
5325_SB
Arabic
•MT3245:
•MT3269:
•MT3491:
•MT3627:
•MT5485:
•MT5536:
•MT5567:
•MT5864:
•MT3029,3054,3139,3219,3349,3421,3769,3934,4992,5206,5267,
5325_SB
03X80021
A/F
•MT3245:
•MT3269:
•MT3491:
•MT3627:
•MT5485:
•MT5536:
•MT5567:
•MT5864:
•MT3029,3054,3139,3219,3349,3421,3769,3934,4992,5206,5267,
5325_SB
03X80031
B/F
•MT3245:
•MT3269:
•MT3491:
•MT3627:
•MT5485:
•MT5536:
•MT5567:
•MT5864:
•MT3029,3054,3139,3219,3349,3421,3769,3934,4992,5206,5267,
5325_SB
03X80041
308ThinkCentreHardwareMaintenanceManual

Keyboard(LenovoFingerprintReaderUSB)FRU#CRU
BelgiumEnglish
•MT3245:
•MT3269:
•MT3491:
•MT3627:
•MT5485:
•MT5536:
•MT5567:
•MT5864:
•MT3029,3054,3139,3219,3349,3421,3769,3934,4992,5206,5267,
5325_SB
03X80051
BrazilianPortuguese
•MT3245:
•MT3269:
•MT3491:
•MT3627:
•MT5485:
•MT5536:
•MT5567:
•MT5864:
•MT3029,3054,3139,3219,3349,3421,3769,3934,4992,5206,5267,
5325_SB
03X80061
Bulgarian
•MT3245:
•MT3269:
•MT3491:
•MT3627:
•MT5485:
•MT5536:
•MT5567:
•MT5864:
•MT3029,3054,3139,3219,3349,3421,3769,3934,4992,5206,5267,
5325_SB
03X80071
Chinese/US
•MT3245:
•MT3269:
•MT3491:
•MT3627:
•MT5485:
•MT5536:
•MT5567:
•MT5864:
03X80081
Chapter10.FRUlists309

Keyboard(LenovoFingerprintReaderUSB)FRU#CRU
•MT3029,3054,3139,3219,3349,3421,3769,3934,4992,5206,5267,
5325_SB
Czech(ABB)
•MT3245:
•MT3269:
•MT3491:
•MT3627:
•MT5485:
•MT5536:
•MT5567:
•MT5864:
•MT3029,3054,3139,3219,3349,3421,3769,3934,4992,5206,5267,
5325_SB
03X80091
Danish
•MT3245:
•MT3269:
•MT3491:
•MT3627:
•MT5485:
•MT5536:
•MT5567:
•MT5864:
•MT3029,3054,3139,3219,3349,3421,3769,3934,4992,5206,5267,
5325_SB
03X80101
Dutch
•MT3245:
•MT3269:
•MT3491:
•MT3627:
•MT5485:
•MT5536:
•MT5567:
•MT5864:
•MT3029,3054,3139,3219,3349,3421,3769,3934,4992,5206,5267,
5325_SB
03X80111
310ThinkCentreHardwareMaintenanceManual

Keyboard(LenovoFingerprintReaderUSB)FRU#CRU
French
•MT3245:
•MT3269:
•MT3491:
•MT3627:
•MT5485:
•MT5536:
•MT5567:
•MT5864:
•MT3029,3054,3139,3219,3349,3421,3769,3934,4992,5206,5267,
5325_SB
03X80121
FrenchCanadian
•MT3245:
•MT3269:
•MT3491:
•MT3627:
•MT5485:
•MT5536:
•MT5567:
•MT5864:
•MT3029,3054,3139,3219,3349,3421,3769,3934,4992,5206,5267,
5325_SB
03X80131
FrenchCanadian
•MT3245:
•MT3269:
•MT3491:
•MT3627:
•MT5485:
•MT5536:
•MT5567:
•MT5864:
•MT3029,3054,3139,3219,3349,3421,3769,3934,4992,5206,5267,
5325_SB
03X80141
German
•MT3245:
•MT3269:
•MT3491:
•MT3627:
•MT5485:
•MT5536:
•MT5567:
•MT5864:
03X80151
Chapter10.FRUlists311

Keyboard(LenovoFingerprintReaderUSB)FRU#CRU
•MT3029,3054,3139,3219,3349,3421,3769,3934,4992,5206,5267,
5325_SB
Greek
•MT3245:
•MT3269:
•MT3491:
•MT3627:
•MT5485:
•MT5536:
•MT5567:
•MT5864:
•MT3029,3054,3139,3219,3349,3421,3769,3934,4992,5206,5267,
5325_SB
03X80161
Greek/US
•MT3245:
•MT3269:
•MT3491:
•MT3627:
•MT5485:
•MT5536:
•MT5567:
•MT5864:
•MT3029,3054,3139,3219,3349,3421,3769,3934,4992,5206,5267,
5325_SB
03X80171
Hebrew
•MT3245:
•MT3269:
•MT3491:
•MT3627:
•MT5485:
•MT5536:
•MT5567:
•MT5864:
•MT3029,3054,3139,3219,3349,3421,3769,3934,4992,5206,5267,
5325_SB
03X80181
312ThinkCentreHardwareMaintenanceManual

Keyboard(LenovoFingerprintReaderUSB)FRU#CRU
Hungarian
•MT3245:
•MT3269:
•MT3491:
•MT3627:
•MT5485:
•MT5536:
•MT5567:
•MT5864:
•MT3029,3054,3139,3219,3349,3421,3769,3934,4992,5206,5267,
5325_SB
03X80191
Iceland
•MT3245:
•MT3269:
•MT3491:
•MT3627:
•MT5485:
•MT5536:
•MT5567:
•MT5864:
•MT3029,3054,3139,3219,3349,3421,3769,3934,4992,5206,5267,
5325_SB
03X80201
Italy
•MT3245:
•MT3269:
•MT3491:
•MT3627:
•MT5485:
•MT5536:
•MT5567:
•MT5864:
•MT3029,3054,3139,3219,3349,3421,3769,3934,4992,5206,5267,
5325_SB
03X80211
Japanese
•MT3245:
•MT3269:
•MT3491:
•MT3627:
•MT5485:
•MT5536:
•MT5567:
•MT5864:
03X80221
Chapter10.FRUlists313

Keyboard(LenovoFingerprintReaderUSB)FRU#CRU
•MT3029,3054,3139,3219,3349,3421,3769,3934,4992,5206,5267,
5325_SB
Korean
•MT3245:
•MT3269:
•MT3491:
•MT3627:
•MT5485:
•MT5536:
•MT5567:
•MT5864:
•MT3029,3054,3139,3219,3349,3421,3769,3934,4992,5206,5267,
5325_SB
03X80231
LASpanish
•MT3245:
•MT3269:
•MT3491:
•MT3627:
•MT5485:
•MT5536:
•MT5567:
•MT5864:
•MT3029,3054,3139,3219,3349,3421,3769,3934,4992,5206,5267,
5325_SB
03X80241
Norwegian
•MT3245:
•MT3269:
•MT3491:
•MT3627:
•MT5485:
•MT5536:
•MT5567:
•MT5864:
•MT3029,3054,3139,3219,3349,3421,3769,3934,4992,5206,5267,
5325_SB
03X80251
314ThinkCentreHardwareMaintenanceManual

Keyboard(LenovoFingerprintReaderUSB)FRU#CRU
Polish
•MT3245:
•MT3269:
•MT3491:
•MT3627:
•MT5485:
•MT5536:
•MT5567:
•MT5864:
•MT3029,3054,3139,3219,3349,3421,3769,3934,4992,5206,5267,
5325_SB
03X80261
Portuguese
•MT3245:
•MT3269:
•MT3491:
•MT3627:
•MT5485:
•MT5536:
•MT5567:
•MT5864:
•MT3029,3054,3139,3219,3349,3421,3769,3934,4992,5206,5267,
5325_SB
03X80271
Romanian
•MT3245:
•MT3269:
•MT3491:
•MT3627:
•MT5485:
•MT5536:
•MT5567:
•MT5864:
•MT3029,3054,3139,3219,3349,3421,3769,3934,4992,5206,5267,
5325_SB
03X80381
Romanian
•MT3245:
•MT3269:
•MT3491:
•MT3627:
•MT5485:
•MT5536:
•MT5567:
•MT5864:
03X80391
Chapter10.FRUlists315

Keyboard(LenovoFingerprintReaderUSB)FRU#CRU
•MT3029,3054,3139,3219,3349,3421,3769,3934,4992,5206,5267,
5325_SB
Russian/Cyrillic
•MT3245:
•MT3269:
•MT3491:
•MT3627:
•MT5485:
•MT5536:
•MT5567:
•MT5864:
•MT3029,3054,3139,3219,3349,3421,3769,3934,4992,5206,5267,
5325_SB
03X80281
Serbian/Cyrillic
•MT3245:
•MT3269:
•MT3491:
•MT3627:
•MT5485:
•MT5536:
•MT5567:
•MT5864:
•MT3029,3054,3139,3219,3349,3421,3769,3934,4992,5206,5267,
5325_SB
03X80401
Slovak
•MT3245:
•MT3269:
•MT3491:
•MT3627:
•MT5485:
•MT5536:
•MT5567:
•MT5864:
•MT3029,3054,3139,3219,3349,3421,3769,3934,4992,5206,5267,
5325_SB
03X80291
316ThinkCentreHardwareMaintenanceManual

Keyboard(LenovoFingerprintReaderUSB)FRU#CRU
Spanish
•MT3245:
•MT3269:
•MT3491:
•MT3627:
•MT5485:
•MT5536:
•MT5567:
•MT5864:
•MT3029,3054,3139,3219,3349,3421,3769,3934,4992,5206,5267,
5325_SB
03X80301
Swedish/Finnish
•MT3245:
•MT3269:
•MT3491:
•MT3627:
•MT5485:
•MT5536:
•MT5567:
•MT5864:
•MT3029,3054,3139,3219,3349,3421,3769,3934,4992,5206,5267,
5325_SB
03X80311
SF/G
•MT3245:
•MT3269:
•MT3491:
•MT3627:
•MT5485:
•MT5536:
•MT5567:
•MT5864:
•MT3029,3054,3139,3219,3349,3421,3769,3934,4992,5206,5267,
5325_SB
03X80321
Thailand
•MT3245:
•MT3269:
•MT3491:
•MT3627:
•MT5485:
•MT5536:
•MT5567:
•MT5864:
03X80331
Chapter10.FRUlists317

Keyboard(LenovoFingerprintReaderUSB)FRU#CRU
•MT3029,3054,3139,3219,3349,3421,3769,3934,4992,5206,5267,
5325_SB
Turkish
•MT3245:
•MT3269:
•MT3491:
•MT3627:
•MT5485:
•MT5536:
•MT5567:
•MT5864:
•MT3029,3054,3139,3219,3349,3421,3769,3934,4992,5206,5267,
5325_SB
03X80411
Turkish
•MT3245:
•MT3269:
•MT3491:
•MT3627:
•MT5485:
•MT5536:
•MT5567:
•MT5864:
•MT3029,3054,3139,3219,3349,3421,3769,3934,4992,5206,5267,
5325_SB
03X80341
UKEnglish
•MT3245:
•MT3269:
•MT3491:
•MT3627:
•MT5485:
•MT5536:
•MT5567:
•MT5864:
•MT3029,3054,3139,3219,3349,3421,3769,3934,4992,5206,5267,
5325_SB
03X80351
318ThinkCentreHardwareMaintenanceManual

Keyboard(LenovoFingerprintReaderUSB)FRU#CRU
USEuropean
•MT3245:
•MT3269:
•MT3491:
•MT3627:
•MT5485:
•MT5536:
•MT5567:
•MT5864:
•MT3029,3054,3139,3219,3349,3421,3769,3934,4992,5206,5267,
5325_SB
03X80361
Slovenian
•MT3245:
•MT3269:
•MT3491:
•MT3627:
•MT5485:
•MT5536:
•MT5567:
•MT5864:
•MT3029,3054,3139,3219,3349,3421,3769,3934,4992,5206,5267,
5325_SB
03X80371
MiceFRU#CRU
Opticalwheelmouse(400DPI,USB)
•MT3245:A3HA4HA1UA1FA1SA1PA1DA1YA2UA2FA2SA2PA2DA2Y
A8UA8FA5VA6VA7VB2GB3UB3SB3SA9UA9FA9SB1UB1FB1SB4G
B5GB6GB7UB7FB7S
•MT3269:A3HA1UA1FA1SA1PA1DA1YA2UA2FA2SA2PA2DA2YA4H
A4VA5VA7GA8UA8FA8SA6UA6FA6SA9GB3SB3DB3YB2GBIUBIF
BISB4GB5UB5FB5S
•MT3491:A1GA2GA3GA4GA5G
•MT3627:A1GA2GA3GA4GA5GA6GA7G
•MT5485:B9AB9TD1AD1TB2GB2AB2TB3GB4GB5GB6GB7GB8G
A8MA9JB1JA1UA1FA1SA1PA1DA1YA2UA2FA2SA2PA2DA2YA3U
A3FA3SA3PA3DA3YA4UA4FA4SA4PA4DA4YA5UA5FA5SA5PA5D
A5YD2QD8JD9JE1JE2JE3UE3FE3SE3PE3YE4UE4FE4SE4PE4YD3V
D4VD5VD6VD7VF1MF2MF3MF4MF5MF6MF7MF8MF9MJ1MJ2M
J3MJ4UJ4FJ4LJ7SJ7DJ7YJ5JJ6JJ8VJ9SJ9DJ9YK2SK2DK2YK3M
K4PK5JK6JK7MK8UK8FK8SK9M
•MT5536:B1GB1AB1TB2GA7MA7AA7TA8JA9JA1UA1FA1SA1PA1D
A1YA2UA2FA2SA2PA2DA2YA3UA3FA3SA3PA3DA3YA4UA4FA4S
A4PA4DA4YB6JB7JB8UB8FB8SB8YB9UB9FB9SB9YE1UE1FE1SE1Y
E2UE2FE2SE2YB3VB4VB5VF1MF2MF3MF4MF5MF6MF7MF8MF9M
H1MH2MH3MH4MH5MH6MH7MH8MH9MJ1MJ2MJ3MJ4MJ5MJ6M
J7MJ8MJ9MK1GK2JK3JK4VK6MK5SK5DK5YK8P
41U30131
Chapter10.FRUlists319

MiceFRU#CRU
•MT5567:A1UA1FA1SA1PA1LA1DA1YA1GA1MA1AA1QA1TA1CA1B
A1HA1VA1KA1RA1EA1J
•MT5864:A1UA1FA1SA1PA1LA1DA1YA1GA1MA1AA1QA1TA1BA1H
A1VA1KA1RA1EA1J
•MT3029,3054,3139,3219,3349,3421,3769,3934,4992,5206,5267,
5325_SB
Opticalwheelmouse(400DPI,USB)
•MT3245:A3HA4HA1UA1FA1SA1PA1DA1YA2UA2FA2SA2PA2DA2Y
A8UA8FA5VA6VA7VB2GB3UB3SB3SA9UA9FA9SB1UB1FB1SB4G
B5GB6GB7UB7FB7S
•MT3269:A3HA1UA1FA1SA1PA1DA1YA2UA2FA2SA2PA2DA2YA4H
A4VA5VA7GA8UA8FA8SA6UA6FA6SA9GB3SB3DB3YB2GBIUBIF
BISB4GB5UB5FB5S
•MT3491:A1GA2GA3GA4GA5G
•MT3627:A1GA2GA3GA4GA5GA6GA7G
•MT5485:B9AB9TD1AD1TB2GB2AB2TB3GB4GB5GB6GB7GB8G
A8MA9JB1JA1UA1FA1SA1PA1DA1YA2UA2FA2SA2PA2DA2YA3U
A3FA3SA3PA3DA3YA4UA4FA4SA4PA4DA4YA5UA5FA5SA5PA5D
A5YD2QD8JD9JE1JE2JE3UE3FE3SE3PE3YE4UE4FE4SE4PE4YD3V
D4VD5VD6VD7VF1MF2MF3MF4MF5MF6MF7MF8MF9MJ1MJ2M
J3MJ4UJ4FJ4LJ7SJ7DJ7YJ5JJ6JJ8VJ9SJ9DJ9YK2SK2DK2YK3M
K4PK5JK6JK7MK8UK8FK8SK9M
•MT5536:B1GB1AB1TB2GA7MA7AA7TA8JA9JA1UA1FA1SA1PA1D
A1YA2UA2FA2SA2PA2DA2YA3UA3FA3SA3PA3DA3YA4UA4FA4S
A4PA4DA4YB6JB7JB8UB8FB8SB8YB9UB9FB9SB9YE1UE1FE1SE1Y
E2UE2FE2SE2YB3VB4VB5VF1MF2MF3MF4MF5MF6MF7MF8MF9M
H1MH2MH3MH4MH5MH6MH7MH8MH9MJ1MJ2MJ3MJ4MJ5MJ6M
J7MJ8MJ9MK1GK2JK3JK4VK6MK5SK5DK5YK8P
•MT5567:A1UA1FA1SA1PA1LA1DA1YA1GA1MA1AA1QA1TA1CA1B
A1HA1VA1KA1RA1EA1J
•MT5864:A1UA1FA1SA1PA1LA1DA1YA1GA1MA1AA1QA1TA1BA1H
A1VA1KA1RA1EA1J
•MT3029,3054,3139,3219,3349,3421,3769,3934,4992,5206,5267,
5325_SB
41U30301
Opticalwheelmouse(400DPI,USB)
•MT3245:A3HA4HA1UA1FA1SA1PA1DA1YA2UA2FA2SA2PA2DA2Y
A8UA8FA5VA6VA7VB2GB3UB3SB3SA9UA9FA9SB1UB1FB1SB4G
B5GB6GB7UB7FB7S
•MT3269:A3HA1UA1FA1SA1PA1DA1YA2UA2FA2SA2PA2DA2YA4H
A4VA5VA7GA8UA8FA8SA6UA6FA6SA9GB3SB3DB3YB2GBIUBIF
BISB4GB5UB5FB5S
•MT3491:A1GA2GA3GA4GA5G
•MT3627:A1GA2GA3GA4GA5GA6GA7G
•MT5485:B9AB9TD1AD1TB2GB2AB2TB3GB4GB5GB6GB7GB8G
A8MA9JB1JA1UA1FA1SA1PA1DA1YA2UA2FA2SA2PA2DA2YA3U
A3FA3SA3PA3DA3YA4UA4FA4SA4PA4DA4YA5UA5FA5SA5PA5D
A5YD2QD8JD9JE1JE2JE3UE3FE3SE3PE3YE4UE4FE4SE4PE4YD3V
D4VD5VD6VD7VF1MF2MF3MF4MF5MF6MF7MF8MF9MJ1MJ2M
J3MJ4UJ4FJ4LJ7SJ7DJ7YJ5JJ6JJ8VJ9SJ9DJ9YK2SK2DK2YK3M
K4PK5JK6JK7MK8UK8FK8SK9M
89Y12731
320ThinkCentreHardwareMaintenanceManual

MiceFRU#CRU
•MT5536:B1GB1AB1TB2GA7MA7AA7TA8JA9JA1UA1FA1SA1PA1D
A1YA2UA2FA2SA2PA2DA2YA3UA3FA3SA3PA3DA3YA4UA4FA4S
A4PA4DA4YB6JB7JB8UB8FB8SB8YB9UB9FB9SB9YE1UE1FE1SE1Y
E2UE2FE2SE2YB3VB4VB5VF1MF2MF3MF4MF5MF6MF7MF8MF9M
H1MH2MH3MH4MH5MH6MH7MH8MH9MJ1MJ2MJ3MJ4MJ5MJ6M
J7MJ8MJ9MK1GK2JK3JK4VK6MK5SK5DK5YK8P
•MT5567:A1UA1FA1SA1PA1LA1DA1YA1GA1MA1AA1QA1TA1CA1B
A1HA1VA1KA1RA1EA1J
•MT5864:A1UA1FA1SA1PA1LA1DA1YA1GA1MA1AA1QA1TA1BA1H
A1VA1KA1RA1EA1J
•MT3029,3054,3139,3219,3349,3421,3769,3934,4992,5206,5267,
5325_SB
Opticalwheelmouse(400DPI,USB)
•MT3245:A3HA4HA1UA1FA1SA1PA1DA1YA2UA2FA2SA2PA2DA2Y
A8UA8FA5VA6VA7VB2GB3UB3SB3SA9UA9FA9SB1UB1FB1SB4G
B5GB6GB7UB7FB7S
•MT3269:A3HA1UA1FA1SA1PA1DA1YA2UA2FA2SA2PA2DA2YA4H
A4VA5VA7GA8UA8FA8SA6UA6FA6SA9GB3SB3DB3YB2GBIUBIF
BISB4GB5UB5FB5S
•MT3491:A1GA2GA3GA4GA5G
•MT3627:A1GA2GA3GA4GA5GA6GA7G
•MT5485:B9AB9TD1AD1TB2GB2AB2TB3GB4GB5GB6GB7GB8G
A8MA9JB1JA1UA1FA1SA1PA1DA1YA2UA2FA2SA2PA2DA2YA3U
A3FA3SA3PA3DA3YA4UA4FA4SA4PA4DA4YA5UA5FA5SA5PA5D
A5YD2QD8JD9JE1JE2JE3UE3FE3SE3PE3YE4UE4FE4SE4PE4YD3V
D4VD5VD6VD7VF1MF2MF3MF4MF5MF6MF7MF8MF9MJ1MJ2M
J3MJ4UJ4FJ4LJ7SJ7DJ7YJ5JJ6JJ8VJ9SJ9DJ9YK2SK2DK2YK3M
K4PK5JK6JK7MK8UK8FK8SK9M
•MT5536:B1GB1AB1TB2GA7MA7AA7TA8JA9JA1UA1FA1SA1PA1D
A1YA2UA2FA2SA2PA2DA2YA3UA3FA3SA3PA3DA3YA4UA4FA4S
A4PA4DA4YB6JB7JB8UB8FB8SB8YB9UB9FB9SB9YE1UE1FE1SE1Y
E2UE2FE2SE2YB3VB4VB5VF1MF2MF3MF4MF5MF6MF7MF8MF9M
H1MH2MH3MH4MH5MH6MH7MH8MH9MJ1MJ2MJ3MJ4MJ5MJ6M
J7MJ8MJ9MK1GK2JK3JK4VK6MK5SK5DK5YK8P
•MT5567:A1UA1FA1SA1PA1LA1DA1YA1GA1MA1AA1QA1TA1CA1B
A1HA1VA1KA1RA1EA1J
•MT5864:A1UA1FA1SA1PA1LA1DA1YA1GA1MA1AA1QA1TA1BA1H
A1VA1KA1RA1EA1J
•MT3029,3054,3139,3219,3349,3421,3769,3934,4992,5206,5267,
5325_SB
89Y12741
Opticalwheelmouse(400DPI,USB)
•MT3245:A3HA4HA1UA1FA1SA1PA1DA1YA2UA2FA2SA2PA2DA2Y
A8UA8FA5VA6VA7VB2GB3UB3SB3SA9UA9FA9SB1UB1FB1SB4G
B5GB6GB7UB7FB7S
•MT3269:A3HA1UA1FA1SA1PA1DA1YA2UA2FA2SA2PA2DA2YA4H
A4VA5VA7GA8UA8FA8SA6UA6FA6SA9GB3SB3DB3YB2GBIUBIF
BISB4GB5UB5FB5S
•MT3491:A1GA2GA3GA4GA5G
•MT3627:A1GA2GA3GA4GA5GA6GA7G
•MT5485:B9AB9TD1AD1TB2GB2AB2TB3GB4GB5GB6GB7GB8G
A8MA9JB1JA1UA1FA1SA1PA1DA1YA2UA2FA2SA2PA2DA2YA3U
89Y12751
Chapter10.FRUlists321

MiceFRU#CRU
A3FA3SA3PA3DA3YA4UA4FA4SA4PA4DA4YA5UA5FA5SA5PA5D
A5YD2QD8JD9JE1JE2JE3UE3FE3SE3PE3YE4UE4FE4SE4PE4YD3V
D4VD5VD6VD7VF1MF2MF3MF4MF5MF6MF7MF8MF9MJ1MJ2M
J3MJ4UJ4FJ4LJ7SJ7DJ7YJ5JJ6JJ8VJ9SJ9DJ9YK2SK2DK2YK3M
K4PK5JK6JK7MK8UK8FK8SK9M
•MT5536:B1GB1AB1TB2GA7MA7AA7TA8JA9JA1UA1FA1SA1PA1D
A1YA2UA2FA2SA2PA2DA2YA3UA3FA3SA3PA3DA3YA4UA4FA4S
A4PA4DA4YB6JB7JB8UB8FB8SB8YB9UB9FB9SB9YE1UE1FE1SE1Y
E2UE2FE2SE2YB3VB4VB5VF1MF2MF3MF4MF5MF6MF7MF8MF9M
H1MH2MH3MH4MH5MH6MH7MH8MH9MJ1MJ2MJ3MJ4MJ5MJ6M
J7MJ8MJ9MK1GK2JK3JK4VK6MK5SK5DK5YK8P
•MT5567:A1UA1FA1SA1PA1LA1DA1YA1GA1MA1AA1QA1TA1CA1B
A1HA1VA1KA1RA1EA1J
•MT5864:A1UA1FA1SA1PA1LA1DA1YA1GA1MA1AA1QA1TA1BA1H
A1VA1KA1RA1EA1J
•MT3029,3054,3139,3219,3349,3421,3769,3934,4992,5206,5267,
5325_SB
Opticallasermouse(USB)
•MT3245:A3HA4HA1UA1FA1SA1PA1DA1YA2UA2FA2SA2PA2DA2Y
A8UA8FA5VA6VA7VB2GB3UB3SB3SA9UA9FA9SB1UB1FB1SB4G
B5GB6GB7UB7FB7S
•MT3269:A3HA1UA1FA1SA1PA1DA1YA2UA2FA2SA2PA2DA2YA4H
A4VA5VA7GA8UA8FA8SA6UA6FA6SA9GB3SB3DB3YB2GBIUBIF
BISB4GB5UB5FB5S
•MT3491:
•MT3627:
•MT5485:B9AB9TD1AD1TB2GB2AB2TB3GB4GB5GB6GB7GB8G
A8MA9JB1JA1UA1FA1SA1PA1DA1YA2UA2FA2SA2PA2DA2YA3U
A3FA3SA3PA3DA3YA4UA4FA4SA4PA4DA4YA5UA5FA5SA5PA5D
A5YD2QD8JD9JE1JE2JE3UE3FE3SE3PE3YE4UE4FE4SE4PE4YD3V
D4VD5VD6VD7VF1MF2MF3MF4MF5MF6MF7MF8MF9MJ1MJ2M
J3MJ4UJ4FJ4LJ7SJ7DJ7YJ5JJ6JJ8VJ9SJ9DJ9YK2SK2DK2YK3M
K4PK5JK6JK7MK8UK8FK8SK9M
•MT5536:B1GB1AB1TB2GA7MA7AA7TA8JA9JA1UA1FA1SA1PA1D
A1YA2UA2FA2SA2PA2DA2YA3UA3FA3SA3PA3DA3YA4UA4FA4S
A4PA4DA4YB6JB7JB8UB8FB8SB8YB9UB9FB9SB9YE1UE1FE1SE1Y
E2UE2FE2SE2YB3VB4VB5VF1MF2MF3MF4MF5MF6MF7MF8MF9M
H1MH2MH3MH4MH5MH6MH7MH8MH9MJ1MJ2MJ3MJ4MJ5MJ6M
J7MJ8MJ9MK1GK2JK3JK4VK6MK5SK5DK5YK8P
•MT5567:
•MT5864:
•MT3029,3054,3139,3219,3349,3421,3769,3934,4992,5206,5267,
5325_SB
78Y44011
322ThinkCentreHardwareMaintenanceManual

AdaptersandmiscellaneousFRUs
AdaptersandmiscellaneousFRUsFRU#CRU
USB2.0mediacarder,25in1,ROHS,slim
•MT3245:
•MT3269:
•MT3491:
•MT3627:
•MT5485:
•MT5536:
•MT5567:
•MT5864:
•MT3029,3054,3139,3219,3349,3421,3769,3934,4992,5206,5267,
5325_SB
46R15292
DPtoDVIdongle200mm
•MT3245:
•MT3269:
•MT3491:
•MT3627:
•MT5485:D8JD9JE1JE2JK5JK6J
•MT5536:
•MT5567:
•MT5864:
•MT3029,3054,3139,3219,3349,3421,3769,3934,4992,5206,5267,
5325_SB
43N91601
IEEE1394rewireadapter(LP)
•MT3245:
•MT3269:
•MT3491:
•MT3627:
•MT5485:
•MT5536:
•MT5567:
•MT5864:
•MT3029,3054,3139,3219,3349,3421,3769,3934,4992,5206,5267,
5325_SB
41D27811
Chapter10.FRUlists323

AdaptersandmiscellaneousFRUsFRU#CRU
Speakers(2-piece)LenovoLogo(secondary)
•MT3245:
•MT3269:
•MT3491:
•MT3627:
•MT5485:
•MT5536:
•MT5567:
•MT5864:
•MT3029,3054,3139,3219,3349,3421,3769,3934,4992,5206,5267,
5325_SB
41A53341
Speakerpowerbrick-US,Canada,LAlowvoltage,ASEAN
•MT3245:A1UA1SA2UA2SA8UB3UB3SA9UA9SB1UB1S
•MT3269:A1UA1SA2UA2SA8UA8SA6UA6S
•MT3491:
•MT3627:
•MT5485:B9AD1AB2AA1UA1SA2UA2SA3UA3SA4UA4SA5UA5SE3U
E3SE4UE4SJ4U
•MT5536:B1AA7AA1UA1SA2UA2SA3UA3SA4UA4S
•MT5567:
•MT5864:A1UA1SA1A
•MT3029,3054,3139,3219,3349,3421,3769,3934,4992,5206,5267,
5325_SB
89P85711
Modemphonecable
•MT3245:
•MT3269:
•MT3491:
•MT3627:
•MT5485:
•MT5536:
•MT5567:
•MT5864:
•MT3029,3054,3139,3219,3349,3421,3769,3934,4992,5206,5267,
5325_SB
39K51201
Thermalgreasesyringe
•MT3245:
•MT3269:
•MT3491:
•MT3627:
•MT5485:
•MT5536:
•MT5567:
•MT5864:
91P88352
324ThinkCentreHardwareMaintenanceManual

AdaptersandmiscellaneousFRUsFRU#CRU
•MT3029,3054,3139,3219,3349,3421,3769,3934,4992,5206,5267,
5325_SB
DisplayporttoVGAdongle
•MT3245:
•MT3269:
•MT3491:
•MT3627:
•MT5485:
•MT5536:
•MT5567:
•MT5864:
•MT3029,3054,3139,3219,3349,3421,3769,3934,4992,5206,5267,
5325_SB
45J95241
SoftmodemV.90/V.44-
•MT3245:
•MT3269:
•MT3491:
•MT3627:
•MT5485:
•MT5536:
•MT5567:
•MT5864:
•MT3029,3054,3139,3219,3349,3421,3769,3934,4992,5206,5267,
5325_SB
46R42201
SoftmodemV.90/V.44-
•MT3245:
•MT3269:
•MT3491:
•MT3627:
•MT5485:
•MT5536:
•MT5567:
•MT5864:
•MT3029,3054,3139,3219,3349,3421,3769,3934,4992,5206,5267,
5325_SB
03T90271
Chapter10.FRUlists325

AdaptersandmiscellaneousFRUsFRU#CRU
DVI-ItoVGAdongle
•MT3245:
•MT3269:
•MT3491:
•MT3627:
•MT5485:
•MT5536:A8JA9JB6JB7JK6M
•MT5567:
•MT5864:
•MT3029,3054,3139,3219,3349,3421,3769,3934,4992,5206,5267,
5325_SB
45C78162
DVI-ItoVGAdonglesecondsource
•MT3245:
•MT3269:
•MT3491:
•MT3627:
•MT5485:
•MT5536:A8JA9JB6JB7JK6M
•MT5567:
•MT5864:
•MT3029,3054,3139,3219,3349,3421,3769,3934,4992,5206,5267,
5325_SB
40Y76112
NVIDIAQuadroFX380(DVI+DP)LP
•MT3245:
•MT3269:
•MT3491:
•MT3627:
•MT5485:
•MT5536:
•MT5567:
•MT5864:
•MT3029,3054,3139,3219,3349,3421,3769,3934,4992,5206,5267,
5325_SB
64Y82061
NVDIAGeForce310512MBDDR3(VGA+DP)LP
•MT3245:
•MT3269:
•MT3491:
•MT3627:
•MT5485:K7M
•MT5536:
•MT5567:
•MT5864:
03T90091
326ThinkCentreHardwareMaintenanceManual

AdaptersandmiscellaneousFRUsFRU#CRU
•MT3029,3054,3139,3219,3349,3421,3769,3934,4992,5206,5267,
5325_SB
Parallelportcard
•MT3245:
•MT3269:
•MT3491:
•MT3627:
•MT5485:
•MT5536:
•MT5567:
•MT5864:
•MT3029,3054,3139,3219,3349,3421,3769,3934,4992,5206,5267,
5325_SB
46R15191
ParalleltoParalleldonglecable_210mm_R
•MT3245:
•MT3269:
•MT3491:
•MT3627:
•MT5485:
•MT5536:
•MT5567:
•MT5864:
•MT3029,3054,3139,3219,3349,3421,3769,3934,4992,5206,5267,
5325_SB
45J9520I
NVIDIAGeForce310512MDMS59(LP)
•MT3245:
•MT3269:
•MT3491:
•MT3627:
•MT5485:
•MT5536:
•MT5567:
•MT5864:
•MT3029,3054,3139,3219,3349,3421,3769,3934,4992,5206,5267,
5325_SB
89Y92271
DMS59toDualDVIdongle
•MT3245:
•MT3269:
•MT3491:
•MT3627:
•MT5485:
•MT5536:
•MT5567:
41X63981
Chapter10.FRUlists327

AdaptersandmiscellaneousFRUsFRU#CRU
•MT5864:
•MT3029,3054,3139,3219,3349,3421,3769,3934,4992,5206,5267,
5325_SB
PowerCords
PowerCords--primaryFRU#CRU
LineCord-US
•MT3245:A1UA1FA1SA1YA2UA2FA2SA2YA8UA8FB3UB3FB3SA9U
A9FA9SB1UB1FB1SB7UB7FB7S
•MT3269:A1UA1FA1SA1YA2UA2FA2SA2YA4HA8UA8FA8SA6UA6F
A6SB3SB3DBIUBIFBISB5UB5FB5S
•MT3491:
•MT3627:
•MT5485:B9AB9TD1AD1TB2AB2TA1UA1FA1SA1YA2UA2FA2SA2Y
A3UA3FA3SA3YA4UA4FA4SA4YA5UA5FA5SA5YE3UE3FE3SE3Y
E4UE4FE4SE4YJ4UJ4FJ4LJ7SJ7DJ9SJ9DK2SK2DK8UK8FK8S
•MT5536:B1AB1TA7AA7TA1UA1FA1SA1YA2UA2FA2SA2YA3UA3F
A3SA3YA4UA4FA4SA4YB8UB8FB8SB8YB9UB9FB9SB9YE1UE1F
E1SE1YE2UE2FE2SE2YK5SK5D
•MT5567:A1UA1FA1SA1LA1DA1AA1T
•MT5864:A1UA1FA1SA1LA1YA1A
•MT3029,3054,3139,3219,3349,3421,3769,3934,4992,5206,5267,
5325_SB
41R31841
LineCord-China
•MT3245:
•MT3269:
•MT3491:
•MT3627:
•MT5485:
•MT5536:
•MT5567:A1C
•MT5864:A1B
•MT3029,3054,3139,3219,3349,3421,3769,3934,4992,5206,5267,
5325_SB
41R32561
LineCord-Japan
•MT3245:
•MT3269:
•MT3491:
•MT3627:
•MT5485:J5JJ6JK5JK6J
•MT5536:K2JK3J
•MT5567:A1JA1E
•MT5864:A1EA1J
41R32481
328ThinkCentreHardwareMaintenanceManual

PowerCords--primaryFRU#CRU
•MT3029,3054,3139,3219,3349,3421,3769,3934,4992,5206,5267,
5325_SB
LineCord-Brazil
•MT3245:
•MT3269:
•MT3491:
•MT3627:
•MT5485:A1PA2PA3PA4PA5PE3PE4PK4P
•MT5536:A1PA2PA3PA4PK8P
•MT5567:A1P
•MT5864:
•MT3029,3054,3139,3219,3349,3421,3769,3934,4992,5206,5267,
5325_SB
45J95951
LineCord-LAHighVolt(APU)
•MT3245:
•MT3269:B3Y
•MT3491:
•MT3627:
•MT5485:J7YK2Y
•MT5536:
•MT5567:A1YA1L
•MT5864:
•MT3029,3054,3139,3219,3349,3421,3769,3934,4992,5206,5267,
5325_SB
41R31761
LineCord-Australia/NewZealand
•MT3245:A1UA1FA1SA1YA2UA2FA2SA2YA8UA8FB3UB3FB3SA9U
A9FA9SB1UB1FB1S
•MT3269:A1UA1FA1SA1YA2UA2FA2SA2YA4HA8UA8FA8SA6UA6F
A6S
•MT3491:
•MT3627:
•MT5485:B9AB9TD1AD1TB2AB2TA1UA1FA1SA1YA2UA2FA2SA2Y
A3UA3FA3SA3YA4UA4FA4SA4YA5UA5FA5SA5YA6UA6FA7UA7F
E3UE3FE3SE3YE4UE4FE4SE4YF1MF2MF3MF4MF5MF6MF7MF8M
F9MJ1MJ2MJ3MK3MK7MK9M
•MT5536:B1AB1TA7AA7TA1UA1FA1SA1YA2UA2FA2SA2YA3UA3F
A3SA3YA4UA4FA4SA4YA5UA5FA6UA6FB8UB8FB8SB8YB9UB9F
B9SB9YE1UE1FE1SE1YE2UE2FE2SE2YF1MF2MF3MF4MF5MF6M
F7MF8MF9MH1MH2MH3MH4MH5MH6MH7MH8MH9MJ1MJ2MJ3M
J4MJ5MJ6MJ7MJ8MJ9MK6M
•MT5567:A1M
•MT5864:A1UA1FA1SA1LA1YA1AA1T
•MT3029,3054,3139,3219,3349,3421,3769,3934,4992,5206,5267,
5325_SB
41R31961
Chapter10.FRUlists329

PowerCords--primaryFRU#CRU
LineCord-Korea
•MT3245:
•MT3269:
•MT3491:
•MT3627:
•MT5485:
•MT5536:
•MT5567:A1KA1R
•MT5864:
•MT3029,3054,3139,3219,3349,3421,3769,3934,4992,5206,5267,
5325_SB
41R32601
LineCord-HongKong,UK,Ireland,Singapore,Malaysia,Brunei,HongKong
•MT3245:
•MT3269:
•MT3491:
•MT3627:
•MT5485:
•MT5536:
•MT5567:A1GA1AA1BA1H
•MT5864:
•MT3029,3054,3139,3219,3349,3421,3769,3934,4992,5206,5267,
5325_SB
41R32241
LineCord-Taiwan
•MT3245:A5VA6VA7V
•MT3269:A4VA5V
•MT3491:
•MT3627:
•MT5485:J8V
•MT5536:K4V
•MT5567:A1V
•MT5864:A1K
•MT3029,3054,3139,3219,3349,3421,3769,3934,4992,5206,5267,
5325_SB
41R32781
LineCord-Italy
•MT3245:
•MT3269:B3DB3YBISA7GA9GB2GB4G
•MT3491:
•MT3627:
•MT5485:J7SJ7YJ9SJ9YK2SK8S
•MT5536:K5SK5Y
•MT5567:A1SA1YA1LA1G
•MT5864:
41R32321
330ThinkCentreHardwareMaintenanceManual

PowerCords--primaryFRU#CRU
•MT3029,3054,3139,3219,3349,3421,3769,3934,4992,5206,5267,
5325_SB
LineCord-Indonesia,Laos,Cambodia,andVietnamAmodels
•MT3245:
•MT3269:
•MT3491:
•MT3627:
•MT5485:
•MT5536:
•MT5567:
•MT5864:
•MT3029,3054,3139,3219,3349,3421,3769,3934,4992,5206,5267,
5325_SB
41R32081
LineCord-Denmark
•MT3245:B2GB4GB5GB6G
•MT3269:A7GA9GB2GB4G
•MT3491:A1GA2GA3GA4GA5G
•MT3627:A1GA2GA3GA4GA5GA6GA7G
•MT5485:B2GB3GB4GB5GB6GB7GB8G
•MT5536:B1GB2GK1G
•MT5567:A1G
•MT5864:A1G
•MT3029,3054,3139,3219,3349,3421,3769,3934,4992,5206,5267,
5325_SB
41R32121
LineCord-Switzerland
•MT3245:B2GB4GB5GB6G
•MT3269:A7GA9GB2GB4G
•MT3491:A1GA2GA3GA4GA5G
•MT3627:A1GA2GA3GA4GA5GA6GA7G
•MT5485:B2GB3GB4GB5GB6GB7GB8G
•MT5536:B1GB2GK1G
•MT5567:A1G
•MT5864:A1G
•MT3029,3054,3139,3219,3349,3421,3769,3934,4992,5206,5267,
5325_SB
41R32281
Chapter10.FRUlists331

PowerCords--primaryFRU#CRU
LineCord-Israel
•MT3245:B2GB4GB5GB6G
•MT3269:A7GA9GB2GB4G
•MT3491:A1GA2GA3GA4GA5G
•MT3627:A1GA2GA3GA4GA5GA6GA7G
•MT5485:B2GB3GB4GB5GB6GB7GB8G
•MT5536:B1GB2GK1G
•MT5567:A1G
•MT5864:A1G
•MT3029,3054,3139,3219,3349,3421,3769,3934,4992,5206,5267,
5325_SB
41R32361
LineCord-SouthAfrica
•MT3245:B2GB4GB5GB6G
•MT3269:A7GA9GB2GB4G
•MT3491:A1GA2GA3GA4GA5G
•MT3627:A1GA2GA3GA4GA5GA6GA7G
•MT5485:B9AD1AB2GB2AB3GB4GB5GB6GB7GB8GA8MF1MF2M
F3MF4MF5MF6MF7MF8MF9MJ1MJ2MJ3MK3MK7MK9M
•MT5536:B1GB1AB2GA7MA7AF1MF2MF3MF4MF5MF6MF7MF8M
F9MH1MH2MH3MH4MH5MH6MH7MH8MH9MJ1MJ2MJ3MJ4MJ5M
J6MJ7MJ8MJ9MK1GK6M
•MT5567:A1GA1MA1A
•MT5864:A1GA1MA1A
•MT3029,3054,3139,3219,3349,3421,3769,3934,4992,5206,5267,
5325_SB
41R32201
LineCord-India
•MT3245:B2GB4GB5GB6G
•MT3269:
•MT3491:
•MT3627:
•MT5485:D2Q
•MT5536:
•MT5567:A1Q
•MT5864:A1Q
•MT3029,3054,3139,3219,3349,3421,3769,3934,4992,5206,5267,
5325_SB
41R33411
332ThinkCentreHardwareMaintenanceManual

PowerCords--primaryFRU#CRU
LineCord-Austria,Belgium,Croatia,Czechoslovakia,Finland,France,Germany,
Hungary,Netherlands,Norway,Poland,Portugal,Romania,Spain,Sweden
•MT3245:A1UA1FA1SA1YA2UA2FA2SA2YA8UA8FB3UB3FB3SA9U
A9FA9SB1UB1FB1S
•MT3269:A1UA1FA1SA1YA2UA2FA2SA2YA4HA8UA8FA8SA6UA6F
A6S
•MT3491:
•MT3627:
•MT5485:B9AB9TD1AD1TB2AB2TA1UA1FA1SA1YA2UA2FA2SA2Y
A3UA3FA3SA3YA4UA4FA4SA4YA5UA5FA5SA5YA6UA6FA7UA7F
E3UE3FE3SE3YE4UE4FE4SE4Y
•MT5536:B1AB1TA7AA7TA1UA1FA1SA1YA2UA2FA2SA2YA3UA3F
A3SA3YA4UA4FA4SA4YA5UA5FA6UA6FB8UB8FB8SB8YB9UB9F
B9SB9YE1UE1FE1SE1YE2UE2FE2SE2Y
•MT5567:A1A
•MT5864:A1UA1FA1SA1LA1YA1AA1T
•MT3029,3054,3139,3219,3349,3421,3769,3934,4992,5206,5267,
5325_SB
41R32081
LineCord-UK,Ireland
•MT3245:
•MT3269:
•MT3491:A1GA2GA3GA4GA5G
•MT3627:A1GA2GA3GA4GA5GA6GA7G
•MT5485:
•MT5536:
•MT5567:A1BA1H
•MT5864:A1G
•MT3029,3054,3139,3219,3349,3421,3769,3934,4992,5206,5267,
5325_SB
41R32241
LineCord-Thailand
•MT3245:
•MT3269:
•MT3491:
•MT3627:
•MT5485:
•MT5536:
•MT5567:A1T
•MT5864:A1T
•MT3029,3054,3139,3219,3349,3421,3769,3934,4992,5206,5267,
5325_SB
43N90291
Chapter10.FRUlists333

PowerCords--secondaryFRU#CRU
LineCord-US
•MT3245:A1UA1FA1SA1YA2UA2FA2SA2YA8UA8FB3UB3FB3SA9U
A9FA9SB1UB1FB1SB7UB7FB7S
•MT3269:A1UA1FA1SA1YA2UA2FA2SA2YA4HA8UA8FA8SA6UA6F
A6SB3SB3DBIUBIFBISB5UB5FB5S
•MT3491:
•MT3627:
•MT5485:B9AB9TD1AD1TB2AB2TA1UA1FA1SA1YA2UA2FA2SA2Y
A3UA3FA3SA3YA4UA4FA4SA4YA5UA5FA5SA5YE3UE3FE3SE3Y
E4UE4FE4SE4YJ4UJ4FJ4LJ7SJ7DJ9SJ9DK2SK2DK8UK8FK8S
•MT5536:B1AB1TA7AA7TA1UA1FA1SA1YA2UA2FA2SA2YA3UA3F
A3SA3YA4UA4FA4SA4YB8UB8FB8SB8YB9UB9FB9SB9YE1UE1F
E1SE1YE2UE2FE2SE2YK5SK5D
•MT5567:A1UA1FA1SA1LA1DA1AA1T
•MT5864:A1UA1FA1SA1LA1YA1A
•MT3029,3054,3139,3219,3349,3421,3769,3934,4992,5206,5267,
5325_SB
41R31851
LineCord-China
•MT3245:
•MT3269:
•MT3491:
•MT3627:
•MT5485:
•MT5536:
•MT5567:A1C
•MT5864:A1B
•MT3029,3054,3139,3219,3349,3421,3769,3934,4992,5206,5267,
5325_SB
41R32571
LineCord-Japan
•MT3245:
•MT3269:
•MT3491:
•MT3627:
•MT5485:J5JJ6JK5JK6J
•MT5536:K2JK3J
•MT5567:A1JA1E
•MT5864:A1EA1J
•MT3029,3054,3139,3219,3349,3421,3769,3934,4992,5206,5267,
5325_SB
41R32491
334ThinkCentreHardwareMaintenanceManual

PowerCords--secondaryFRU#CRU
LineCord-Brazil
•MT3245:
•MT3269:
•MT3491:
•MT3627:
•MT5485:A1PA2PA3PA4PA5PE3PE4PK4P
•MT5536:A1PA2PA3PA4PK8P
•MT5567:A1P
•MT5864:
•MT3029,3054,3139,3219,3349,3421,3769,3934,4992,5206,5267,
5325_SB
41R32711
LineCord-LAHighVolt(APU)
•MT3245:
•MT3269:B3Y
•MT3491:
•MT3627:
•MT5485:J7YK2Y
•MT5536:
•MT5567:A1YA1L
•MT5864:
•MT3029,3054,3139,3219,3349,3421,3769,3934,4992,5206,5267,
5325_SB
41R31771
LineCord-Australia/NewZealand
•MT3245:A1UA1FA1SA1YA2UA2FA2SA2YA8UA8FB3UB3FB3SA9U
A9FA9SB1UB1FB1S
•MT3269:A1UA1FA1SA1YA2UA2FA2SA2YA4HA8UA8FA8SA6UA6F
A6S
•MT3491:
•MT3627:
•MT5485:B9AB9TD1AD1TB2AB2TA1UA1FA1SA1YA2UA2FA2SA2Y
A3UA3FA3SA3YA4UA4FA4SA4YA5UA5FA5SA5YA6UA6FA7UA7F
E3UE3FE3SE3YE4UE4FE4SE4YF1MF2MF3MF4MF5MF6MF7MF8M
F9MJ1MJ2MJ3MK7MK9M
•MT5536:B1AB1TA7AA7TA1UA1FA1SA1YA2UA2FA2SA2YA3UA3F
A3SA3YA4UA4FA4SA4YA5UA5FA6UA6FB8UB8FB8SB8YB9UB9F
B9SB9YE1UE1FE1SE1YE2UE2FE2SE2YF1MF2MF3MF4MF5MF6M
F7MF8MF9MH1MH2MH3MH4MH5MH6MH7MH8MH9MJ1MJ2MJ3M
J4MJ5MJ6MJ7MJ8MJ9MK6M
•MT5567:A1M
•MT5864:A1UA1FA1SA1LA1YA1AA1T
•MT3029,3054,3139,3219,3349,3421,3769,3934,4992,5
41R31971
Chapter10.FRUlists335

PowerCords--secondaryFRU#CRU
LineCord-Korea
•MT3245:
•MT3269:
•MT3491:
•MT3627:
•MT5485:
•MT5536:
•MT5567:A1KA1R
•MT5864:
•MT3029,3054,3139,3219,3349,3421,3769,3934,4992,5206,5267,
5325_SB
41R32611
LineCord-HongKong,UK,Ireland,Singapore,Malaysia,Brunei,HongKong
•MT3245:
•MT3269:
•MT3491:
•MT3627:
•MT5485:
•MT5536:
•MT5567:A1GA1AA1BA1H
•MT5864:
•MT3029,3054,3139,3219,3349,3421,3769,3934,4992,5206,5267,
5325_SB
41R32251
LineCord-Taiwan
•MT3245:A5VA6VA7V
•MT3269:A4VA5V
•MT3491:
•MT3627:
•MT5485:J8V
•MT5536:K4V
•MT5567:A1V
•MT5864:A1K
•MT3029,3054,3139,3219,3349,3421,3769,3934,4992,5206,5267,
5325_SB
41R32791
LineCord-Italy
•MT3245:
•MT3269:B3DB3YBISA7GA9GB2GB4G
•MT3491:
•MT3627:
•MT5485:J7SJ7YJ9SJ9YK2SK2YK8S
•MT5536:K5SK5Y
•MT5567:A1SA1YA1LA1G
•MT5864:
41R32331
336ThinkCentreHardwareMaintenanceManual

PowerCords--secondaryFRU#CRU
•MT3029,3054,3139,3219,3349,3421,3769,3934,4992,5206,5267,
5325_SB
LineCord-Indonesia,Laos,Cambodia,andVietnamAmodels
•MT3245:
•MT3269:
•MT3491:A1GA2GA3GA4GA5G
•MT3627:A1GA2GA3GA4GA5GA6GA7G
•MT5485:
•MT5536:
•MT5567:
•MT5864:
•MT3029,3054,3139,3219,3349,3421,3769,3934,4992,5206,5267,
5325_SB
41R32091
LineCord-Denmark
•MT3245:B2GB4GB5GB6G
•MT3269:A7GA9GB2GB4G
•MT3491:A1GA2GA3GA4GA5G
•MT3627:A1GA2GA3GA4GA5GA6GA7G
•MT5485:B2GB3GB4GB5GB6GB7GB8G
•MT5536:B1GB2GK1G
•MT5567:A1G
•MT5864:A1G
•MT3029,3054,3139,3219,3349,3421,3769,3934,4992,5206,5267,
5325_SB
41R32131
LineCord-Switzerland
•MT3245:B2GB4GB5GB6G
•MT3269:A7GA9GB2GB4G
•MT3491:A1GA2GA3GA4GA5G
•MT3627:A1GA2GA3GA4GA5GA6GA7G
•MT5485:B2GB3GB4GB5GB6GB7GB8G
•MT5536:B1GB2GK1G
•MT5567:A1G
•MT5864:A1G
•MT3029,3054,3139,3219,3349,3421,3769,3934,4992,5206,5267,
5325_SB
41R32291
Chapter10.FRUlists337

PowerCords--secondaryFRU#CRU
LineCord-Israel
•MT3245:B2GB4GB5GB6G
•MT3269:A7GA9GB2GB4G
•MT3491:A1GA2GA3GA4GA5G
•MT3627:A1GA2GA3GA4GA5GA6GA7G
•MT5485:B2GB3GB4GB5GB6GB7GB8G
•MT5536:B1GB2GK1G
•MT5567:A1G
•MT5864:A1G
•MT3029,3054,3139,3219,3349,3421,3769,3934,4992,5206,5267,
5325_SB
41R32371
LineCord-SouthAfrica
•MT3245:B2GB4GB5GB6G
•MT3269:A7GA9GB2GB4G
•MT3491:
•MT3627:
•MT5485:B9AD1AB2GB2AB3GB4GB5GB6GB7GB8GA8MF1MF2M
F3MF4MF5MF6MF7MF8MF9MJ1MJ2MJ3MK7MK9M
•MT5536:B1GB1AB2GA7MA7AF1MF2MF3MF4MF5MF6MF7MF8M
F9MH1MH2MH3MH4MH5MH6MH7MH8MH9MJ1MJ2MJ3MJ4MJ5M
J6MJ7MJ8MJ9MK1GK6M
•MT5567:A1GA1MA1A
•MT5864:A1GA1MA1A
•MT3029,3054,3139,3219,3349,3421,3769,3934,4992,5206,5267,
5325_SB
41R32211
LineCord-India
•MT3245:B2GB4GB5GB6G
•MT3269:
•MT3491:
•MT3627:
•MT5485:D2Q
•MT5536:
•MT5567:A1Q
•MT5864:A1Q
•MT3029,3054,3139,3219,3349,3421,3769,3934,4992,5206,5267,
5325_SB
41R31751
338ThinkCentreHardwareMaintenanceManual

PowerCords--secondaryFRU#CRU
LineCord-Austria,Belgium,Croatia,Czechoslovakia,Finland,France,Germany,
Hungary,Netherlands,Norway,Poland,Portugal,Romania,Spain,Sweden
•MT3245:A1UA1FA1SA1YA2UA2FA2SA2YA8UA8FB3UB3FB3SA9U
A9FA9SB1UB1FB1S
•MT3269:A1UA1FA1SA1YA2UA2FA2SA2YA4HA8UA8FA8SA6UA6F
A6S
•MT3491:A1GA2GA3GA4GA5G
•MT3627:A1GA2GA3GA4GA5GA6GA7G
•MT5485:B9AB9TD1AD1TB2AB2TA1UA1FA1SA1YA2UA2FA2SA2Y
A3UA3FA3SA3YA4UA4FA4SA4YA5UA5FA5SA5YA6UA6FA7UA7F
E3UE3FE3SE3YE4UE4FE4SE4Y
•MT5536:B1AB1TA7AA7TA1UA1FA1SA1YA2UA2FA2SA2YA3UA3F
A3SA3YA4UA4FA4SA4YA5UA5FA6UA6FB8UB8FB8SB8YB9UB9F
B9SB9YE1UE1FE1SE1YE2UE2FE2SE2Y
•MT5567:A1A
•MT5864:A1UA1FA1SA1LA1YA1AA1T
•MT3029,3054,3139,3219,3349,3421,3769,3934,4992,5206,5267,
5325_SB
41R32091
LineCord-UK,Ireland
•MT3245:
•MT3269:
•MT3491:
•MT3627:
•MT5485:
•MT5536:
•MT5567:A1BA1H
•MT5864:A1G
•MT3029,3054,3139,3219,3349,3421,3769,3934,4992,5206,5267,
5325_SB
41R32251
LineCord-Thailand
•MT3245:
•MT3269:
•MT3491:
•MT3627:
•MT5485:
•MT5536:
•MT5567:A1T
•MT5864:A1T
•MT3029,3054,3139,3219,3349,3421,3769,3934,4992,5206,5267,
5325_SB
43N90301
Chapter10.FRUlists339

Recoverydiscs
WindowsVistaHomeBasic32RecoveryCD
Note:TheWindowsVistarecoveryDVDsareavailableonlyformodelswithavalidMicrosoftWindowsVista
certicateofauthenticity(COA)afxedtothesystem.DuetoaMicrosoftlicensinglimitation,ifamodelcame
withWindowsVistaBusinessorWindowsVistaUltimatepreinstalledfromthefactory,buthasaWindows7
COAafxedtothesystem,thatmodeliseligibleonlyforrecoveryDVDsthatmatchtheoperatingsystem
speciedontheCOA.
WindowsVistaHomeBasic32FRU#CRU
USEnglish
•MT3245:CTO
•MT3269:CTO
•MT3491:CTO
•MT3627:CTO
•MT5485:CTO
•MT5536:CTO
•MT5567:CTO
•MT5864:CTO
•MT3029,3054,3139,3219,3349,3421,3769,3934,4992,5206,5267,
5325_SB
03T50861
Japanese
•MT3245:CTO
•MT3269:CTO
•MT3491:CTO
•MT3627:CTO
•MT5485:CTO
•MT5536:CTO
•MT5567:CTO
•MT5864:CTO
•MT3029,3054,3139,3219,3349,3421,3769,3934,4992,5206,5267,
5325_SB
03T50851
IndiaEnglish
•MT3245:CTO
•MT3269:CTO
•MT3491:CTO
•MT3627:CTO
•MT5485:CTO
•MT5536:CTO
•MT5567:CTO
•MT5864:CTO
•MT3029,3054,3139,3219,3349,3421,3769,3934,4992,5206,5267,
5325_SB
03T50841
340ThinkCentreHardwareMaintenanceManual

WindowsVistaHomeBasic32withIE9RecoveryCD
Note:TheWindowsVistarecoveryDVDsareavailableonlyformodelswithavalidMicrosoftWindowsVista
certicateofauthenticity(COA)afxedtothesystem.DuetoaMicrosoftlicensinglimitation,ifamodelcame
withWindowsVistaBusinessorWindowsVistaUltimatepreinstalledfromthefactory,buthasaWindows7
COAafxedtothesystem,thatmodeliseligibleonlyforrecoveryDVDsthatmatchtheoperatingsystem
speciedontheCOA.
WindowsVistaHomeBasic32withIE9FRU#CRU
USEnglish
•MT3245:CTO
•MT3269:CTO
•MT3491:CTO
•MT3627:CTO
•MT5485:CTO
•MT5536:CTO
•MT5567:CTO
•MT5864:CTO
•MT3029,3054,3139,3219,3349,3421,3769,3934,4992,5206,5267,
5325_SB
03T15821
IndiaEnglish
•MT3245:CTO
•MT3269:CTO
•MT3491:CTO
•MT3627:CTO
•MT5485:CTO
•MT5536:CTO
•MT5567:CTO
•MT5864:CTO
•MT3029,3054,3139,3219,3349,3421,3769,3934,4992,5206,5267,
5325_SB
03T15811
Japanese
•MT3245:CTO
•MT3269:CTO
•MT3491:CTO
•MT3627:CTO
•MT5485:CTO
•MT5536:CTO
•MT5567:CTO
•MT5864:CTO
•MT3029,3054,3139,3219,3349,3421,3769,3934,4992,5206,5267,
5325_SB
03T21091
WindowsVistaBusiness32RecoveryCD
Note:TheWindowsVistarecoveryDVDsareavailableonlyformodelswithavalidMicrosoftWindowsVista
certicateofauthenticity(COA)afxedtothesystem.DuetoaMicrosoftlicensinglimitation,ifamodelcame
withWindowsVistaBusinessorWindowsVistaUltimatepreinstalledfromthefactory,buthasaWindows7
Chapter10.FRUlists341

COAafxedtothesystem,thatmodeliseligibleonlyforrecoveryDVDsthatmatchtheoperatingsystem
speciedontheCOA.
WindowsVistaBusiness32FRU#CRU
SimpliedChinese
•MT3245:CTO
•MT3269:CTO
•MT3491:CTO
•MT3627:CTO
•MT5485:CTO
•MT5536:CTO
•MT5567:CTO
•MT5864:CTO
•MT3026,3039,3137,3149,3319,3394,3699,3878,4972,5132,5261,
5297,_SB
03T50761
French
•MT3245:CTO
•MT3269:CTO
•MT3491:CTO
•MT3627:CTO
•MT5485:CTO
•MT5536:CTO
•MT5567:CTO
•MT5864:CTO
•MT3026,3039,3137,3149,3319,3394,3699,3878,4972,5132,5261,
5297,_SB
03T50771
German
•MT3245:CTO
•MT3269:CTO
•MT3491:CTO
•MT3627:CTO
•MT5485:CTO
•MT5536:CTO
•MT5567:CTO
•MT5864:CTO
•MT3026,3039,3137,3149,3319,3394,3699,3878,4972,5132,5261,
5297,_SB
03T50781
342ThinkCentreHardwareMaintenanceManual

WindowsVistaBusiness32FRU#CRU
IndiaEnglish
•MT3245:CTO
•MT3269:CTO
•MT3491:CTO
•MT3627:CTO
•MT5485:CTO
•MT5536:CTO
•MT5567:CTO
•MT5864:CTO
•MT3026,3039,3137,3149,3319,3394,3699,3878,4972,5132,5261,
5297,_SB
03T50791
Italy
•MT3245:CTO
•MT3269:CTO
•MT3491:CTO
•MT3627:CTO
•MT5485:CTO
•MT5536:CTO
•MT5567:CTO
•MT5864:CTO
•MT3026,3039,3137,3149,3319,3394,3699,3878,4972,5132,5261,
5297,_SB
03T50801
Japanese
•MT3245:CTO
•MT3269:CTO
•MT3491:CTO
•MT3627:CTO
•MT5485:CTO
•MT5536:CTO
•MT5567:CTO
•MT5864:CTO
•MT3026,3039,3137,3149,3319,3394,3699,3878,4972,5132,5261,
5297,_SB
03T50811
Spanish
•MT3245:CTO
•MT3269:CTO
•MT3491:CTO
•MT3627:CTO
•MT5485:CTO
•MT5536:CTO
•MT5567:CTO
•MT5864:CTO
03T50821
Chapter10.FRUlists343

WindowsVistaBusiness32FRU#CRU
•MT3026,3039,3137,3149,3319,3394,3699,3878,4972,5132,5261,
5297,_SB
USEnglish
•MT3245:CTO
•MT3269:CTO
•MT3491:CTO
•MT3627:CTO
•MT5485:CTO
•MT5536:CTO
•MT5567:CTO
•MT5864:CTO
•MT3026,3039,3137,3149,3319,3394,3699,3878,4972,5132,5261,
5297,_SB
03T50831
WindowsVistaBusiness32WithIE9RecoveryCD
Note:TheWindowsVistarecoveryDVDsareavailableonlyformodelswithavalidMicrosoftWindowsVista
certicateofauthenticity(COA)afxedtothesystem.DuetoaMicrosoftlicensinglimitation,ifamodelcame
withWindowsVistaBusinessorWindowsVistaUltimatepreinstalledfromthefactory,buthasaWindows7
COAafxedtothesystem,thatmodeliseligibleonlyforrecoveryDVDsthatmatchtheoperatingsystem
speciedontheCOA.
WindowsVistaBusiness32WithIE9FRU#CRU
French
•MT3245:CTO
•MT3269:CTO
•MT3491:CTO
•MT3627:CTO
•MT5485:CTO
•MT5536:CTO
•MT5567:CTO
•MT5864:CTO
•MT3026,3039,3137,3149,3319,3394,3699,3878,4972,5132,5261,
5297,_SB
03T15741
German
•MT3245:CTO
•MT3269:CTO
•MT3491:CTO
•MT3627:CTO
•MT5485:CTO
•MT5536:CTO
•MT5567:CTO
•MT5864:CTO
•MT3026,3039,3137,3149,3319,3394,3699,3878,4972,5132,5261,
5297,_SB
03T15751
344ThinkCentreHardwareMaintenanceManual

WindowsVistaBusiness32WithIE9FRU#CRU
Greek
•MT3245:CTO
•MT3269:CTO
•MT3491:CTO
•MT3627:CTO
•MT5485:CTO
•MT5536:CTO
•MT5567:CTO
•MT5864:CTO
•MT3026,3039,3137,3149,3319,3394,3699,3878,4972,5132,5261,
5297,_SB
03T15761
Italy
•MT3245:CTO
•MT3269:CTO
•MT3491:CTO
•MT3627:CTO
•MT5485:CTO
•MT5536:CTO
•MT5567:CTO
•MT5864:CTO
•MT3026,3039,3137,3149,3319,3394,3699,3878,4972,5132,5261,
5297,_SB
03T15771
IndiaEnglish
•MT3245:CTO
•MT3269:CTO
•MT3491:CTO
•MT3627:CTO
•MT5485:CTO
•MT5536:CTO
•MT5567:CTO
•MT5864:CTO
•MT3026,3039,3137,3149,3319,3394,3699,3878,4972,5132,5261,
5297,_SB
03T15781
Spanish
•MT3245:CTO
•MT3269:CTO
•MT3491:CTO
•MT3627:CTO
•MT5485:CTO
•MT5536:CTO
•MT5567:CTO
•MT5864:CTO
03T15791
Chapter10.FRUlists345

WindowsVistaBusiness32WithIE9FRU#CRU
•MT3026,3039,3137,3149,3319,3394,3699,3878,4972,5132,5261,
5297,_SB
USEnglish
•MT3245:CTO
•MT3269:CTO
•MT3491:CTO
•MT3627:CTO
•MT5485:CTO
•MT5536:CTO
•MT5567:CTO
•MT5864:CTO
•MT3026,3039,3137,3149,3319,3394,3699,3878,4972,5132,5261,
5297,_SB
03T15801
Japanese
•MT3245:CTO
•MT3269:CTO
•MT3491:CTO
•MT3627:CTO
•MT5485:CTO
•MT5536:CTO
•MT5567:CTO
•MT5864:CTO
•MT3026,3039,3137,3149,3319,3394,3699,3878,4972,5132,5261,
5297,_SB
03T21011
Windows7HomeBasic32RecoveryCD
Windows7HomeBasic32FRU#CRU
English
•MT3245:
•MT3269:
•MT3491:
•MT3627:
•MT5485:
•MT5536:
•MT5567:
•MT5864:
•MT3026,3039,3137,3149,3319,3394,3699,3878,4972,5132,5261,
5297,_SB
03T51241
Spanish
•MT3245:
•MT3269:
•MT3491:
•MT3627:
03T51211
346ThinkCentreHardwareMaintenanceManual

Windows7HomeBasic32FRU#CRU
•MT5485:
•MT5536:
•MT5567:
•MT5864:
•MT3026,3039,3137,3149,3319,3394,3699,3878,4972,5132,5261,
5297,_SB
Russian
•MT3245:
•MT3269:
•MT3491:
•MT3627:
•MT5485:
•MT5536:
•MT5567:
•MT5864:
•MT3026,3039,3137,3149,3319,3394,3699,3878,4972,5132,5261,
5297,_SB
03T51201
RussianEnglish
•MT3245:
•MT3269:
•MT3491:
•MT3627:
•MT5485:
•MT5536:
•MT5567:
•MT5864:
•MT3026,3039,3137,3149,3319,3394,3699,3878,4972,5132,5261,
5297,_SB
03T51191
Sebian-Latin
•MT3245:
•MT3269:
•MT3491:
•MT3627:
•MT5485:
•MT5536:
•MT5567:
•MT5864:
•MT3026,3039,3137,3149,3319,3394,3699,3878,4972,5132,5261,
5297,_SB
03T51191
Chapter10.FRUlists347

Windows7HomeBasic32FRU#CRU
ArabicLocalized
•MT3245:
•MT3269:
•MT3491:
•MT3627:
•MT5485:
•MT5536:
•MT5567:
•MT5864:
•MT3026,3039,3137,3149,3319,3394,3699,3878,4972,5132,5261,
5297,_SB
03T51151
BrazilianPortuguese
•MT3245:
•MT3269:
•MT3491:
•MT3627:
•MT5485:
•MT5536:
•MT5567:
•MT5864:
•MT3026,3039,3137,3149,3319,3394,3699,3878,4972,5132,5261,
5297,_SB
03T51161
Turkish
•MT3245:
•MT3269:
•MT3491:
•MT3627:
•MT5485:
•MT5536:
•MT5567:
•MT5864:
•MT3026,3039,3137,3149,3319,3394,3699,3878,4972,5132,5261,
5297,_SB
03T51231
IndiaEnglish
•MT3245:
•MT3269:
•MT3491:
•MT3627:
•MT5485:
•MT5536:
•MT5567:
•MT5864:
03T51181
348ThinkCentreHardwareMaintenanceManual

Windows7HomeBasic32FRU#CRU
•MT3026,3039,3137,3149,3319,3394,3699,3878,4972,5132,5261,
5297,_SB
SimpliedChinese
•MT3245:
•MT3269:
•MT3491:
•MT3627:
•MT5485:
•MT5536:
•MT5567:
•MT5864:
•MT3026,3039,3137,3149,3319,3394,3699,3878,4972,5132,5261,
5297,_SB
03T51171
Windows7HomeBasic32SP1RecoveryCD
Windows7HomeBasic32SP1FRU#CRU
ArabicLocalized
•MT3245:
•MT3269:
•MT3491:
•MT3627:
•MT5485:
•MT5536:
•MT5567:
•MT5864:
•MT3026,3039,3137,3149,3319,3394,3699,3878,4972,5132,5261,
5297,_SB
03T16101
BrazilianPortuguese
•MT3245:
•MT3269:
•MT3491:
•MT3627:
•MT5485:
•MT5536:
•MT5567:
•MT5864:
•MT3026,3039,3137,3149,3319,3394,3699,3878,4972,5132,5261,
5297,_SB
03T16111
Chapter10.FRUlists349

Windows7HomeBasic32SP1FRU#CRU
SimpliedChinese
•MT3245:
•MT3269:
•MT3491:
•MT3627:
•MT5485:
•MT5536:
•MT5567:
•MT5864:
•MT3026,3039,3137,3149,3319,3394,3699,3878,4972,5132,5261,
5297,_SB
03T16121
IndiaEnglish
•MT3245:
•MT3269:
•MT3491:
•MT3627:
•MT5485:
•MT5536:
•MT5567:
•MT5864:
•MT3026,3039,3137,3149,3319,3394,3699,3878,4972,5132,5261,
5297,_SB
03T16131
RussianEnglish
•MT3245:
•MT3269:
•MT3491:
•MT3627:
•MT5485:
•MT5536:
•MT5567:
•MT5864:
•MT3026,3039,3137,3149,3319,3394,3699,3878,4972,5132,5261,
5297,_SB
03T16141
Russian
•MT3245:
•MT3269:
•MT3491:
•MT3627:
•MT5485:
•MT5536:
•MT5567:
•MT5864:
03T16151
350ThinkCentreHardwareMaintenanceManual

Windows7HomeBasic32SP1FRU#CRU
•MT3026,3039,3137,3149,3319,3394,3699,3878,4972,5132,5261,
5297,_SB
Spanish
•MT3245:
•MT3269:
•MT3491:
•MT3627:
•MT5485:
•MT5536:
•MT5567:
•MT5864:
•MT3026,3039,3137,3149,3319,3394,3699,3878,4972,5132,5261,
5297,_SB
03T16161
Sebian-Latin
•MT3245:
•MT3269:
•MT3491:
•MT3627:
•MT5485:
•MT5536:
•MT5567:
•MT5864:
•MT3026,3039,3137,3149,3319,3394,3699,3878,4972,5132,5261,
5297,_SB
03T16171
Turkish
•MT3245:
•MT3269:
•MT3491:
•MT3627:
•MT5485:
•MT5536:
•MT5567:
•MT5864:
•MT3026,3039,3137,3149,3319,3394,3699,3878,4972,5132,5261,
5297,_SB
03T16181
English
•MT3245:
•MT3269:
•MT3491:
•MT3627:
•MT5485:
•MT5536:
•MT5567:
03T16191
Chapter10.FRUlists351

Windows7HomeBasic32SP1FRU#CRU
•MT5864:
•MT3026,3039,3137,3149,3319,3394,3699,3878,4972,5132,5261,
5297,_SB
Windows7HomePremium32RecoveryCD
Windows7HomePremium32FRU#CRU
English
•MT3245:
•MT3269:
•MT3491:
•MT3627:
•MT5485:
•MT5536:
•MT5567:
•MT5864:
•MT3026,3039,3137,3149,3319,3394,3699,3878,4972,5132,5261,
5297,_SB
03T51371
French
•MT3245:
•MT3269:
•MT3491:
•MT3627:
•MT5485:
•MT5536:
•MT5567:
•MT5864:
•MT3026,3039,3137,3149,3319,3394,3699,3878,4972,5132,5261,
5297,_SB
03T51281
German
•MT3245:
•MT3269:
•MT3491:
•MT3627:
•MT5485:
•MT5536:
•MT5567:
•MT5864:
•MT3026,3039,3137,3149,3319,3394,3699,3878,4972,5132,5261,
5297,_SB
03T51291
352ThinkCentreHardwareMaintenanceManual

Windows7HomePremium32FRU#CRU
Spanish
•MT3245:
•MT3269:
•MT3491:
•MT3627:
•MT5485:
•MT5536:
•MT5567:
•MT5864:
•MT3026,3039,3137,3149,3319,3394,3699,3878,4972,5132,5261,
5297,_SB
03T51361
Italian
•MT3245:
•MT3269:
•MT3491:
•MT3627:
•MT5485:
•MT5536:
•MT5567:
•MT5864:
•MT3026,3039,3137,3149,3319,3394,3699,3878,4972,5132,5261,
5297,_SB
03T51321
Korean
•MT3245:
•MT3269:
•MT3491:
•MT3627:
•MT5485:
•MT5536:
•MT5567:
•MT5864:
•MT3026,3039,3137,3149,3319,3394,3699,3878,4972,5132,5261,
5297,_SB
03T51341
Romanian
•MT3245:
•MT3269:
•MT3491:
•MT3627:
•MT5485:
•MT5536:
•MT5567:
•MT5864:
03T51351
Chapter10.FRUlists353

Windows7HomePremium32FRU#CRU
•MT3026,3039,3137,3149,3319,3394,3699,3878,4972,5132,5261,
5297,_SB
Hebrew
•MT3245:
•MT3269:
•MT3491:
•MT3627:
•MT5485:
•MT5536:
•MT5567:
•MT5864:
•MT3026,3039,3137,3149,3319,3394,3699,3878,4972,5132,5261,
5297,_SB
03T51301
BrazilianPortuguese
•MT3245:
•MT3269:
•MT3491:
•MT3627:
•MT5485:
•MT5536:
•MT5567:
•MT5864:
•MT3026,3039,3137,3149,3319,3394,3699,3878,4972,5132,5261,
5297,_SB
03T51251
TraditionalChinese
•MT3245:
•MT3269:
•MT3491:
•MT3627:
•MT5485:
•MT5536:
•MT5567:
•MT5864:
•MT3026,3039,3137,3149,3319,3394,3699,3878,4972,5132,5261,
5297,_SB
03T51261
354ThinkCentreHardwareMaintenanceManual

Windows7HomePremium32FRU#CRU
IndiaEnglish
•MT3245:
•MT3269:
•MT3491:
•MT3627:
•MT5485:
•MT5536:
•MT5567:
•MT5864:
•MT3026,3039,3137,3149,3319,3394,3699,3878,4972,5132,5261,
5297,_SB
03T51271
HongKong
•MT3245:
•MT3269:
•MT3491:
•MT3627:
•MT5485:
•MT5536:
•MT5567:
•MT5864:
•MT3026,3039,3137,3149,3319,3394,3699,3878,4972,5132,5261,
5297,_SB
03T51311
Japanese
•MT3245:
•MT3269:
•MT3491:
•MT3627:
•MT5485:
•MT5536:
•MT5567:
•MT5864:
•MT3026,3039,3137,3149,3319,3394,3699,3878,4972,5132,5261,
5297,_SB
03T51331
C&L1Nordics:DK/FI/SV/NO/EN
•MT3245:
•MT3269:
•MT3491:
•MT3627:
•MT5485:
•MT5536:
•MT5567:
•MT5864:
03T51381
Chapter10.FRUlists355

Windows7HomePremium32FRU#CRU
•MT3026,3039,3137,3149,3319,3394,3699,3878,4972,5132,5261,
5297,_SB
C&L2EMEA:NL/FR/GR/IT/EN
•MT3245:
•MT3269:
•MT3491:
•MT3627:
•MT5485:
•MT5536:
•MT5567:
•MT5864:
•MT3026,3039,3137,3149,3319,3394,3699,3878,4972,5132,5261,
5297,_SB
03T51391
Windows7HomePremium32SP1RecoveryCD
Windows7HomePremium32SP1FRU#CRU
BrazilianPortuguese
•MT3245:
•MT3269:
•MT3491:
•MT3627:
•MT5485:
•MT5536:
•MT5567:
•MT5864:
•MT3026,3039,3137,3149,3319,3394,3699,3878,4972,5132,5261,5297,_SB
03T16201
TraditionalChinese
•MT3245:
•MT3269:
•MT3491:
•MT3627:
•MT5485:
•MT5536:
•MT5567:
•MT5864:
•MT3026,3039,3137,3149,3319,3394,3699,3878,4972,5132,5261,5297,_SB
03T16211
356ThinkCentreHardwareMaintenanceManual

Windows7HomePremium32SP1FRU#CRU
IndiaEnglish
•MT3245:
•MT3269:
•MT3491:
•MT3627:
•MT5485:
•MT5536:
•MT5567:
•MT5864:
•MT3026,3039,3137,3149,3319,3394,3699,3878,4972,5132,5261,5297,_SB
03T16221
French
•MT3245:
•MT3269:
•MT3491:
•MT3627:
•MT5485:
•MT5536:
•MT5567:
•MT5864:
•MT3026,3039,3137,3149,3319,3394,3699,3878,4972,5132,5261,5297,_SB
03T16231
German
•MT3245:
•MT3269:
•MT3491:
•MT3627:
•MT5485:
•MT5536:
•MT5567:
•MT5864:
•MT3026,3039,3137,3149,3319,3394,3699,3878,4972,5132,5261,5297,_SB
03T16241
Hebrew
•MT3245:
•MT3269:
•MT3491:
•MT3627:
•MT5485:
•MT5536:
•MT5567:
•MT5864:
•MT3026,3039,3137,3149,3319,3394,3699,3878,4972,5132,5261,5297,_SB
03T16251
Chapter10.FRUlists357

Windows7HomePremium32SP1FRU#CRU
HongKong
•MT3245:
•MT3269:
•MT3491:
•MT3627:
•MT5485:
•MT5536:
•MT5567:
•MT5864:
•MT3026,3039,3137,3149,3319,3394,3699,3878,4972,5132,5261,5297,_SB
03T16261
Italian
•MT3245:
•MT3269:
•MT3491:
•MT3627:
•MT5485:
•MT5536:
•MT5567:
•MT5864:
•MT3026,3039,3137,3149,3319,3394,3699,3878,4972,5132,5261,5297,_SB
03T16271
Korean
•MT3245:
•MT3269:
•MT3491:
•MT3627:
•MT5485:
•MT5536:
•MT5567:
•MT5864:
•MT3026,3039,3137,3149,3319,3394,3699,3878,4972,5132,5261,5297,_SB
03T16281
Romanian
•MT3245:
•MT3269:
•MT3491:
•MT3627:
•MT5485:
•MT5536:
•MT5567:
•MT5864:
•MT3026,3039,3137,3149,3319,3394,3699,3878,4972,5132,5261,5297,_SB
03T16291
358ThinkCentreHardwareMaintenanceManual

Windows7HomePremium32SP1FRU#CRU
Spanish
•MT3245:
•MT3269:
•MT3491:
•MT3627:
•MT5485:
•MT5536:
•MT5567:
•MT5864:
•MT3026,3039,3137,3149,3319,3394,3699,3878,4972,5132,5261,5297,_SB
03T16301
English
•MT3245:
•MT3269:
•MT3491:
•MT3627:
•MT5485:
•MT5536:
•MT5567:
•MT5864:
•MT3026,3039,3137,3149,3319,3394,3699,3878,4972,5132,5261,5297,_SB
03T16311
C&L1Nordics:DK/FI/SV/NO/EN
•MT3245:
•MT3269:
•MT3491:
•MT3627:
•MT5485:
•MT5536:
•MT5567:
•MT5864:
•MT3026,3039,3137,3149,3319,3394,3699,3878,4972,5132,5261,5297,_SB
03T16321
C&L2EMEA:NL/FR/GR/IT/EN
•MT3245:
•MT3269:
•MT3491:
•MT3627:
•MT5485:
•MT5536:
•MT5567:
•MT5864:
•MT3026,3039,3137,3149,3319,3394,3699,3878,4972,5132,5261,5297,_SB
03T16331
Japanese
•MT3245:
03T21031
Chapter10.FRUlists359

Windows7HomePremium32SP1FRU#CRU
•MT3269:
•MT3491:
•MT3627:
•MT5485:
•MT5536:
•MT5567:
•MT5864:
•MT3026,3039,3137,3149,3319,3394,3699,3878,4972,5132,5261,5297,_SB
Windows7Professional32RecoveryCD
Windows7Professional32FRU#CRU
USEnglish
•MT3245:A8UA8FB2GA9UB1UB5G
•MT3269:A1UA2UA7GA6UB2G
•MT3491:A1GA2GA3GA4GA5G
•MT3627:A1GA2GA3GA4GA5GA6GA7G
•MT5485:B9AD1AA8MA9JB1JA5UD2QD8JD9JE1JE2JE3UE4UD3V
D4VD5VD6VD7VF1MF2MF3MF4MF5MF6MF7MF8MF9MJ1MJ2MJ3M
B2GB2AB3GJ4UJ4LK3MK8UK9M
•MT5536:A7MA7AA8JA9JA4UB8UB9UE2UB3VB4VB5VF1MF2MF3M
F4MF5MF6MF7MF8MF9MH1MH2MH3MH4MH5MH6MH7MH8MH9M
J1MJ2MJ3MJ4MJ5MJ6MJ7MJ8MJ9MK1GK6M
•MT5567:A1UA1LA1GA1MA1AA1QA1HA1RA1E
•MT5864:A1UA1LA1GA1MA1AA1QA1VA1E
•MT3026,3039,3137,3149,3319,3394,3699,3878,4972,5132,5261,5297_SB
03T51121
French
•MT3245:B2GA9FB1FB5G
•MT3269:A1FA2FA6FA7GB2G
•MT3491:A1GA2GA3GA4GA5G
•MT3627:A1GA2GA3GA4GA5GA6GA7G
•MT5485:A5FE3FE4FB2GB3GJ4FK8F
•MT5536:A4FB8FB9FE2FK1G
•MT5567:A1FA1G
•MT5864:A1FA1G
•MT3026,3039,3137,3149,3319,3394,3699,3878,4972,5132,5261,5297_SB
03T50931
360ThinkCentreHardwareMaintenanceManual

Windows7Professional32FRU#CRU
German
•MT3245:B2GB5G
•MT3269:A7GB2G
•MT3491:A1GA2GA3GA4GA5G
•MT3627:A1GA2GA3GA4GA5GA6GA7G
•MT5485:B2GB3G
•MT5536:K1G
•MT5567:A1G
•MT5864:A1G
•MT3026,3039,3137,3149,3319,3394,3699,3878,4972,5132,5261,5297_SB
03T50951
LASpanish
•MT3245:A9SB1S
•MT3269:B3SB3DB3Y
•MT3491:
•MT3627:
•MT5485:A5SA5DA5YE3SE3YE4SE4YJ7SJ7DJ7YJ9SJ9DJ9YK2SK2D
K2YK8S
•MT5536:A4SA4DA4YB8SB8YB9SB9YE2SE2YK5SK5DK5Y
•MT5567:A1SA1DA1Y
•MT5864:A1SA1DA1Y
•MT3026,3039,3137,3149,3319,3394,3699,3878,4972,5132,5261,5297_SB
03T51091
Italian
•MT3245:B2GB5G
•MT3269:A7GB2G
•MT3491:
•MT3627:
•MT5485:B2GB3G
•MT5536:K1G
•MT5567:A1G
•MT5864:A1G
•MT3026,3039,3137,3149,3319,3394,3699,3878,4972,5132,5261,5297_SB
89Y05561
Czech
•MT3245:B2GB5G
•MT3269:A7GB2G
•MT3491:
•MT3627:
•MT5485:B2GB3G
•MT5536:K1G
•MT5567:A1G
•MT5864:A1G
•MT3026,3039,3137,3149,3319,3394,3699,3878,4972,5132,5261,5297_SB
03T50911
Chapter10.FRUlists361

Windows7Professional32FRU#CRU
Polish
•MT3245:B2GB5G
•MT3269:A7GB2G
•MT3491:A1GA2GA3GA4GA5G
•MT3627:A1GA2GA3GA4GA5GA6GA7G
•MT5485:B2GB3G
•MT5536:K1G
•MT5567:A1G
•MT5864:A1G
•MT3026,3039,3137,3149,3319,3394,3699,3878,4972,5132,5261,5297_SB
03T51021
Russian
•MT3245:B2GB5G
•MT3269:A7GB2G
•MT3491:A1GA2GA3GA4GA5G
•MT3627:A1GA2GA3GA4GA5GA6GA7G
•MT5485:B2GB3G
•MT5536:K1G
•MT5567:A1G
•MT5864:A1G
•MT3026,3039,3137,3149,3319,3394,3699,3878,4972,5132,5261,5297_SB
03T51061
Turkish
•MT3245:B2GB5G
•MT3269:A7GB2G
•MT3491:A1GA2GA3GA4GA5G
•MT3627:A1GA2GA3GA4GA5GA6GA7G
•MT5485:B2GB3G
•MT5536:K1G
•MT5567:A1G
•MT5864:A1G
•MT3026,3039,3137,3149,3319,3394,3699,3878,4972,5132,5261,5297_SB
03T51111
Hungarian
•MT3245:B2GB5G
•MT3269:A7GB2G
•MT3491:A1GA2GA3GA4GA5G
•MT3627:A1GA2GA3GA4GA5GA6GA7G
•MT5485:B2GB3G
•MT5536:K1G
•MT5567:A1G
•MT5864:A1G
•MT3026,3039,3137,3149,3319,3394,3699,3878,4972,5132,5261,5297_SB
03T50981
362ThinkCentreHardwareMaintenanceManual

Windows7Professional32FRU#CRU
Greek
•MT3245:B2GB5G
•MT3269:A7GB2G
•MT3491:A1GA2GA3GA4GA5G
•MT3627:A1GA2GA3GA4GA5GA6GA7G
•MT5485:B2GB3G
•MT5536:K1G
•MT5567:A1G
•MT5864:A1G
•MT3026,3039,3137,3149,3319,3394,3699,3878,4972,5132,5261,5297_SB
03T50941
BrazilianPortuguese
•MT3245:B2GB5G
•MT3269:A1PA2P
•MT3491:
•MT3627:
•MT5485:A5PE3PE4PK4P
•MT5536:A4PK8P
•MT5567:A1P
•MT5864:A1G
•MT3026,3039,3137,3149,3319,3394,3699,3878,4972,5132,5261,5297_SB
03T50881
Korean
•MT3245:
•MT3269:
•MT3491:
•MT3627:
•MT5485:
•MT5536:
•MT5567:A1K
•MT5864:A1R
•MT3026,3039,3137,3149,3319,3394,3699,3878,4972,5132,5261,5297_SB
03T51011
Slovenian
•MT3245:B2GB5G
•MT3269:A7GB2G
•MT3491:
•MT3627:
•MT5485:B2GB3G
•MT5536:K1G
•MT5567:A1G
•MT5864:A1G
•MT3026,3039,3137,3149,3319,3394,3699,3878,4972,5132,5261,5297_SB
03T51081
Chapter10.FRUlists363

Windows7Professional32FRU#CRU
RussianEnglish
•MT3245:B2GB5G
•MT3269:A7GB2G
•MT3491:A1GA2GA3GA4GA5G
•MT3627:A1GA2GA3GA4GA5GA6GA7G
•MT5485:B2GB3G
•MT5536:K1G
•MT5567:A1G
•MT5864:A1G
•MT3026,3039,3137,3149,3319,3394,3699,3878,4972,5132,5261,5297_SB
03T51041
Romanian
•MT3245:B2GB5G
•MT3269:A7GB2G
•MT3491:A1GA2GA3GA4GA5G
•MT3627:A1GA2GA3GA4GA5GA6GA7G
•MT5485:B2GB3G
•MT5536:K1G
•MT5567:A1G
•MT5864:A1G
•MT3026,3039,3137,3149,3319,3394,3699,3878,4972,5132,5261,5297_SB
03T51051
Serbian-Latin
•MT3245:B2GB5G
•MT3269:A7GB2G
•MT3491:
•MT3627:
•MT5485:B2GB3G
•MT5536:
•MT5567:A1G
•MT5864:
•MT3026,3039,3137,3149,3319,3394,3699,3878,4972,5132,5261,5297_SB
03T51101
Slovakian
•MT3245:B2GB5G
•MT3269:A7GB2G
•MT3491:A1GA2GA3GA4GA5G
•MT3627:A1GA2GA3GA4GA5GA6GA7G
•MT5485:B2GB3G
•MT5536:
•MT5567:A1G
•MT5864:A1G
•MT3026,3039,3137,3149,3319,3394,3699,3878,4972,5132,5261,5297_SB
03T51071
364ThinkCentreHardwareMaintenanceManual

Windows7Professional32FRU#CRU
ArabicLocalized
•MT3245:B2GB5G
•MT3269:A7GB2G
•MT3491:
•MT3627:
•MT5485:B2GB3G
•MT5536:
•MT5567:A1G
•MT5864:
•MT3026,3039,3137,3149,3319,3394,3699,3878,4972,5132,5261,5297_SB
03T50871
Hebrew
•MT3245:B2GB5G
•MT3269:A7GB2G
•MT3491:A1GA2GA3GA4GA5G
•MT3627:A1GA2GA3GA4GA5GA6GA7G
•MT5485:B2GB3G
•MT5536:K1G
•MT5567:A1G
•MT5864:A1G
•MT3026,3039,3137,3149,3319,3394,3699,3878,4972,5132,5261,5297_SB
03T50961
TraditionalChinese
•MT3245:
•MT3269:
•MT3491:
•MT3627:
•MT5485:J8V
•MT5536:K4V
•MT5567:A1V
•MT5864:
•MT3026,3039,3137,3149,3319,3394,3699,3878,4972,5132,5261,5297_SB
03T50901
IndiaEnglish
•MT3245:
•MT3269:
•MT3491:
•MT3627:
•MT5485:
•MT5536:
•MT5567:A1G
•MT5864:A1G
•MT3026,3039,3137,3149,3319,3394,3699,3878,4972,5132,5261,5297_SB
03T50921
Chapter10.FRUlists365

Windows7Professional32FRU#CRU
HongKong
•MT3245:
•MT3269:
•MT3491:
•MT3627:
•MT5485:
•MT5536:
•MT5567:A1B
•MT5864:
•MT3026,3039,3137,3149,3319,3394,3699,3878,4972,5132,5261,5297_SB
03T50971
Japanese
•MT3245:
•MT3269:
•MT3491:
•MT3627:
•MT5485:J5JJ6JK5JK6J
•MT5536:K2JK3J
•MT5567:A1J
•MT5864:A1J
•MT3026,3039,3137,3149,3319,3394,3699,3878,4972,5132,5261,5297_SB
03T51001
Portuguese
•MT3245:B2GB5G
•MT3269:
•MT3491:A1GA2GA3GA4GA5G
•MT3627:A1GA2GA3GA4GA5GA6GA7G
•MT5485:B2GB3G
•MT5536:
•MT5567:A1G
•MT5864:A1G
•MT3026,3039,3137,3149,3319,3394,3699,3878,4972,5132,5261,5297_SB
03T51031
Spanish
•MT3245:B2GB5G
•MT3269:A7GB2G
•MT3491:A1GA2GA3GA4GA5G
•MT3627:A1GA2GA3GA4GA5GA6GA7G
•MT5485:B2GB3G
•MT5536:
•MT5567:A1G
•MT5864:A1G
•MT3026,3039,3137,3149,3319,3394,3699,3878,4972,5132,5261,5297_SB
03T51091
366ThinkCentreHardwareMaintenanceManual

Windows7Professional32FRU#CRU
SimpliedChinese
•MT3245:
•MT3269:
•MT3491:
•MT3627:
•MT5485:
•MT5536:
•MT5567:A1G
•MT5864:
•MT3026,3039,3137,3149,3319,3394,3699,3878,4972,5132,5261,5297_SB
03T50891
C&L1DK/FI/SV/NO/EN
•MT3245:B2GB5G
•MT3269:A7GB2G
•MT3491:A1GA2GA3GA4GA5G
•MT3627:A1GA2GA3GA4GA5GA6GA7G
•MT5485:B2GB3G
•MT5536:
•MT5567:A1G
•MT5864:A1G
•MT3026,3039,3137,3149,3319,3394,3699,3878,4972,5132,5261,5297_SB
03T51131
C&L2NL/FR/GR/IT/EN
•MT3245:B2GB5G
•MT3269:A7GB2G
•MT3491:A1GA2GA3GA4GA5G
•MT3627:A1GA2GA3GA4GA5GA6GA7G
•MT5485:B2GB3G
•MT5536:
•MT5567:A1G
•MT5864:A1G
•MT3026,3039,3137,3149,3319,3394,3699,3878,4972,5132,5261,5297_SB
03T51141
Windows7Professional32SP1RecoveryCD
Windows7Professional32SP1FRU#CRU
USEnglish
•MT3245:A8UA8FB2GA9UB1UB5G
•MT3269:A1UA2UA7GA6UB2G
•MT3491:A1GA2GA3GA4GA5G
•MT3627:A1GA2GA3GA4GA5GA6GA7G
•MT5485:B9AD1AA8MA9JB1JA5UD2QD8JD9JE1JE2JE3UE4UD3VD4V
D5VD6VD7VF1MF2MF3MF4MF5MF6MF7MF8MF9MJ1MJ2MJ3MB2G
B2AB3GJ4UJ4LK3MK8U
03T16071
Chapter10.FRUlists367

Windows7Professional32SP1FRU#CRU
•MT5536:A7MA7AA8JA9JA4UB8UB9UE2UB3VB4VB5VF1MF2MF3M
F4MF5MF6MF7MF8MF9MH1MH2MH3MH4MH5MH6MH7MH8MH9M
J1MJ2MJ3MJ4MJ5MJ6MJ7MJ8MJ9MK1GK6M
•MT5567:
•MT5864:A1UA1LA1GA1MA1AA1QA1VA1E
•MT3029,3054,3139,3219,3349,3421,3769,3934,4992,5206,5267,5325_SB
French
•MT3245:B2GA9FB1FB5G
•MT3269:A1FA2FA6FA7GB2G
•MT3491:A1GA2GA3GA4GA5G
•MT3627:A1GA2GA3GA4GA5GA6GA7G
•MT5485:A5FE3FE4FB2GB3GJ4FK8F
•MT5536:A4FB8FB9FE2FK1G
•MT5567:
•MT5864:A1FA1G
•MT3029,3054,3139,3219,3349,3421,3769,3934,4992,5206,5267,5325_SB
03T15891
German
•MT3245:B2GB5G
•MT3269:A7GB2G
•MT3491:A1GA2GA3GA4GA5G
•MT3627:A1GA2GA3GA4GA5GA6GA7G
•MT5485:B2GB3G
•MT5536:K1G
•MT5567:
•MT5864:A1G
•MT3029,3054,3139,3219,3349,3421,3769,3934,4992,5206,5267,5325_SB
03T15911
LASpanish
•MT3245:A9SB1S
•MT3269:B3SB3DB3Y
•MT3491:
•MT3627:
•MT5485:A5SA5DA5YE3SE3YE4SE4YJ7SJ7DJ7YJ9SJ9DJ9YK2S
K2DK2YK8S
•MT5536:A4SA4DA4YB8SB8YB9SB9YE2SE2YK5SK5DK5Y
•MT5567:
•MT5864:A1SA1DA1Y
•MT3029,3054,3139,3219,3349,3421,3769,3934,4992,5206,5267,5325_SB
03T16041
368ThinkCentreHardwareMaintenanceManual

Windows7Professional32SP1FRU#CRU
Italian
•MT3245:B2GB5G
•MT3269:A7GB2G
•MT3491:
•MT3627:
•MT5485:B2GB3G
•MT5536:K1G
•MT5567:
•MT5864:A1G
•MT3029,3054,3139,3219,3349,3421,3769,3934,4992,5206,5267,5325_SB
03T15951
Czech
•MT3245:B2GB5G
•MT3269:A7GB2G
•MT3491:
•MT3627:
•MT5485:B2GB3G
•MT5536:K1G
•MT5567:
•MT5864:A1G
•MT3029,3054,3139,3219,3349,3421,3769,3934,4992,5206,5267,5325_SB
03T15871
Polish
•MT3245:B2GB5G
•MT3269:A7GB2G
•MT3491:A1GA2GA3GA4GA5G
•MT3627:A1GA2GA3GA4GA5GA6GA7G
•MT5485:B2GB3G
•MT5536:K1G
•MT5567:
•MT5864:A1G
•MT3029,3054,3139,3219,3349,3421,3769,3934,4992,5206,5267,5325_SB
03T15981
Russian
•MT3245:B2GB5G
•MT3269:A7GB2G
•MT3491:A1GA2GA3GA4GA5G
•MT3627:A1GA2GA3GA4GA5GA6GA7G
•MT5485:B2GB3G
•MT5536:K1G
•MT5567:
•MT5864:A1G
•MT3029,3054,3139,3219,3349,3421,3769,3934,4992,5206,5267,5325_SB
03T16011
Chapter10.FRUlists369

Windows7Professional32SP1FRU#CRU
Turkish
•MT3245:B2GB5G
•MT3269:A7GB2G
•MT3491:A1GA2GA3GA4GA5G
•MT3627:A1GA2GA3GA4GA5GA6GA7G
•MT5485:B2GB3G
•MT5536:K1G
•MT5567:
•MT5864:A1G
•MT3029,3054,3139,3219,3349,3421,3769,3934,4992,5206,5267,5325_SB
03T16061
Hungarian
•MT3245:B2GB5G
•MT3269:A7GB2G
•MT3491:A1GA2GA3GA4GA5G
•MT3627:A1GA2GA3GA4GA5GA6GA7G
•MT5485:B2GB3G
•MT5536:K1G
•MT5567:
•MT5864:A1G
•MT3029,3054,3139,3219,3349,3421,3769,3934,4992,5206,5267,5325_SB
03T15941
Greek
•MT3245:B2GB5G
•MT3269:A7GB2G
•MT3491:A1GA2GA3GA4GA5G
•MT3627:A1GA2GA3GA4GA5GA6GA7G
•MT5485:B2GB3G
•MT5536:K1G
•MT5567:
•MT5864:A1G
•MT3029,3054,3139,3219,3349,3421,3769,3934,4992,5206,5267,5325_SB
03T15901
BrazilianPortuguese
•MT3245:B2GB5G
•MT3269:
•MT3491:
•MT3627:
•MT5485:
•MT5536:
•MT5567:
•MT5864:A1R
•MT3029,3054,3139,3219,3349,3421,3769,3934,4992,5206,5267,5325_SB
03T15841
370ThinkCentreHardwareMaintenanceManual

Windows7Professional32SP1FRU#CRU
Korean
•MT3245:
•MT3269:A7GB2G
•MT3491:
•MT3627:
•MT5485:B2GB3G
•MT5536:K1G
•MT5567:
•MT5864:A1G
•MT3029,3054,3139,3219,3349,3421,3769,3934,4992,5206,5267,5325_SB
03T15961
Slovenian
•MT3245:B2GB5G
•MT3269:A7GB2G
•MT3491:A1GA2GA3GA4GA5G
•MT3627:A1GA2GA3GA4GA5GA6GA7G
•MT5485:B2GB3G
•MT5536:K1G
•MT5567:
•MT5864:A1G
•MT3029,3054,3139,3219,3349,3421,3769,3934,4992,5206,5267,5325_SB
03T16031
RussianEnglish
•MT3245:B2GB5G
•MT3269:A7GB2G
•MT3491:A1GA2GA3GA4GA5G
•MT3627:A1GA2GA3GA4GA5GA6GA7G
•MT5485:B2GB3G
•MT5536:K1G
•MT5567:
•MT5864:A1G
•MT3029,3054,3139,3219,3349,3421,3769,3934,4992,5206,5267,5325_SB
03T15991
Romanian
•MT3245:B2GB5G
•MT3269:A7GB2G
•MT3491:
•MT3627:
•MT5485:B2GB3G
•MT5536:
•MT5567:
•MT5864:
•MT3029,3054,3139,3219,3349,3421,3769,3934,4992,5206,5267,5325_SB
03T16001
Chapter10.FRUlists371

Windows7Professional32SP1FRU#CRU
Sebian-Latin
•MT3245:B2GB5G
•MT3269:A7GB2G
•MT3491:A1GA2GA3GA4GA5G
•MT3627:A1GA2GA3GA4GA5GA6GA7G
•MT5485:B2GB3G
•MT5536:
•MT5567:
•MT5864:A1G
•MT3029,3054,3139,3219,3349,3421,3769,3934,4992,5206,5267,5325_SB
03T16051
Slovakian
•MT3245:B2GB5G
•MT3269:A7GB2G
•MT3491:
•MT3627:
•MT5485:B2GB3G
•MT5536:
•MT5567:
•MT5864:
•MT3029,3054,3139,3219,3349,3421,3769,3934,4992,5206,5267,5325_SB
03T16021
ArabicLocalized
•MT3245:B2GB5G
•MT3269:A7GB2G
•MT3491:A1GA2GA3GA4GA5G
•MT3627:A1GA2GA3GA4GA5GA6GA7G
•MT5485:B2GB3G
•MT5536:K1G
•MT5567:
•MT5864:A1G
•MT3029,3054,3139,3219,3349,3421,3769,3934,4992,5206,5267,5325_SB
03T15831
Hebrew
•MT3245:B2GB5G
•MT3269:
•MT3491:
•MT3627:
•MT5485:J8V
•MT5536:K4V
•MT5567:
•MT5864:
•MT3029,3054,3139,3219,3349,3421,3769,3934,4992,5206,5267,5325_SB
03T15921
372ThinkCentreHardwareMaintenanceManual

Windows7Professional32SP1FRU#CRU
TraditionalChinese
•MT3245:
•MT3269:
•MT3491:
•MT3627:
•MT5485:
•MT5536:
•MT5567:
•MT5864:A1G
•MT3029,3054,3139,3219,3349,3421,3769,3934,4992,5206,5267,5325_SB
03T15861
IndiaEnglish
•MT3245:
•MT3269:
•MT3491:
•MT3627:
•MT5485:
•MT5536:
•MT5567:
•MT5864:
•MT3029,3054,3139,3219,3349,3421,3769,3934,4992,5206,5267,5325_SB
03T15881
HongKong
•MT3245:
•MT3269:
•MT3491:A1GA2GA3GA4GA5G
•MT3627:A1GA2GA3GA4GA5GA6GA7G
•MT5485:B2GB3G
•MT5536:
•MT5567:
•MT5864:A1G
•MT3029,3054,3139,3219,3349,3421,3769,3934,4992,5206,5267,5325_SB
03T15931
Spanish
•MT3245:B2GB5G
•MT3269:A7GB2G
•MT3491:A1GA2GA3GA4GA5G
•MT3627:A1GA2GA3GA4GA5GA6GA7G
•MT5485:B2GB3G
•MT5536:
•MT5567:
•MT5864:A1G
•MT3029,3054,3139,3219,3349,3421,3769,3934,4992,5206,5267,5325_SB
03T16041
Chapter10.FRUlists373

Windows7Professional32SP1FRU#CRU
SimpliedChinese
•MT3245:
•MT3269:
•MT3491:
•MT3627:
•MT5485:
•MT5536:
•MT5567:
•MT5864:
•MT3029,3054,3139,3219,3349,3421,3769,3934,4992,5206,5267,5325_SB
03T15851
C&L1--DK/FI/SV/NO/EN
•MT3245:B2GB5G
•MT3269:A7GB2G
•MT3491:A1GA2GA3GA4GA5G
•MT3627:A1GA2GA3GA4GA5GA6GA7G
•MT5485:B2GB3G
•MT5536:
•MT5567:
•MT5864:A1G
•MT3029,3054,3139,3219,3349,3421,3769,3934,4992,5206,5267,5325_SB
03T16081
C&L2--NL/FR/GR/IT/EN
•MT3245:B2GB5G
•MT3269:A7GB2G
•MT3491:A1GA2GA3GA4GA5G
•MT3627:A1GA2GA3GA4GA5GA6GA7G
•MT5485:B2GB3G
•MT5536:
•MT5567:
•MT5864:A1G
•MT3029,3054,3139,3219,3349,3421,3769,3934,4992,5206,5267,5325_SB
03T16091
Japanese
•MT3245:
•MT3269:
•MT3491:
•MT3627:
•MT5485:
•MT5536:
•MT5567:
•MT5864:
•MT3029,3054,3139,3219,3349,3421,3769,3934,4992,5206,5267,5325_SB
03T21021
374ThinkCentreHardwareMaintenanceManual

Windows7Professional64RecoveryCD
Windows7Professional64FRU#CRU
USEnglish
•MT3245:B3UB4GB6GB7U
•MT3269:A8UA9GBIUB4GB5U
•MT3491:
•MT3627:
•MT5485:K7M
•MT5536:
•MT5567:
•MT5864:
•MT3029,3054,3139,3219,3349,3421,3769,3934,4992,5206,5267,5325_SB
03T51511
French
•MT3245:B3FB4GB6GB7F
•MT3269:A8FA9GBIFB4GB5F
•MT3491:
•MT3627:
•MT5485:
•MT5536:
•MT5567:
•MT5864:
•MT3029,3054,3139,3219,3349,3421,3769,3934,4992,5206,5267,5325_SB
03T51451
German
•MT3245:B4GB6G
•MT3269:A9GB4G
•MT3491:
•MT3627:
•MT5485:
•MT5536:
•MT5567:
•MT5864:
•MT3029,3054,3139,3219,3349,3421,3769,3934,4992,5206,5267,5325_SB
03T51461
Italian
•MT3245:B4GB6G
•MT3269:A9GB4G
•MT3491:
•MT3627:
•MT5485:
•MT5536:
•MT5567:
•MT5864:
•MT3029,3054,3139,3219,3349,3421,3769,3934,4992,5206,5267,5325_SB
03T51481
Chapter10.FRUlists375

Windows7Professional64FRU#CRU
BrazilianPortuguese
•MT3245:
•MT3269:
•MT3491:
•MT3627:
•MT5485:
•MT5536:
•MT5567:
•MT5864:
•MT3029,3054,3139,3219,3349,3421,3769,3934,4992,5206,5267,5325_SB
03T51401
SimpliedChinese
•MT3245:
•MT3269:
•MT3491:
•MT3627:
•MT5485:
•MT5536:
•MT5567:
•MT5864:
•MT3029,3054,3139,3219,3349,3421,3769,3934,4992,5206,5267,5325_SB
03T51411
TraditionalChinese
•MT3245:
•MT3269:
•MT3491:
•MT3627:
•MT5485:
•MT5536:
•MT5567:
•MT5864:
•MT3029,3054,3139,3219,3349,3421,3769,3934,4992,5206,5267,5325_SB
03T51421
Czech
•MT3245:
•MT3269:
•MT3491:
•MT3627:
•MT5485:
•MT5536:
•MT5567:
•MT5864:
•MT3029,3054,3139,3219,3349,3421,3769,3934,4992,5206,5267,5325_SB
03T51431
376ThinkCentreHardwareMaintenanceManual

Windows7Professional64FRU#CRU
IndiaEnglish
•MT3245:
•MT3269:
•MT3491:
•MT3627:
•MT5485:
•MT5536:
•MT5567:
•MT5864:
•MT3029,3054,3139,3219,3349,3421,3769,3934,4992,5206,5267,5325_SB
03T51441
HongKong
•MT3245:
•MT3269:
•MT3491:
•MT3627:
•MT5485:
•MT5536:
•MT5567:
•MT5864:
•MT3029,3054,3139,3219,3349,3421,3769,3934,4992,5206,5267,5325_SB
03T51471
Japanese
•MT3245:
•MT3269:
•MT3491:
•MT3627:
•MT5485:
•MT5536:
•MT5567:
•MT5864:
•MT3029,3054,3139,3219,3349,3421,3769,3934,4992,5206,5267,5325_SB
03T51491
Spanish
•MT3245:B4GB6G
•MT3269:A9GB4G
•MT3491:
•MT3627:
•MT5485:
•MT5536:
•MT5567:
•MT5864:
•MT3029,3054,3139,3219,3349,3421,3769,3934,4992,5206,5267,5325_SB
03T51501
Chapter10.FRUlists377

Windows7Professional64FRU#CRU
C&L1Nordics:DK/FI/SV/NO/EN
•MT3245:B4GB6G
•MT3269:A9GB4G
•MT3491:
•MT3627:
•MT5485:
•MT5536:
•MT5567:
•MT5864:
•MT3029,3054,3139,3219,3349,3421,3769,3934,4992,5206,5267,5325_SB
03T51521
C&L2EMEA:NL/FR/GR/IT/EN
•MT3245:B4GB6G
•MT3269:A9GB4G
•MT3491:
•MT3627:
•MT5485:
•MT5536:
•MT5567:
•MT5864:
•MT3029,3054,3139,3219,3349,3421,3769,3934,4992,5206,5267,5325_SB
03T51531
Hebrew
•MT3245:B4GB6G
•MT3269:A9GB4G
•MT3491:
•MT3627:
•MT5485:
•MT5536:
•MT5567:
•MT5864:
•MT3029,3054,3139,3219,3349,3421,3769,3934,4992,5206,5267,5325_SB
03T06961
Portuguese
•MT3245:B4GB6G
•MT3269:A9GB4G
•MT3491:
•MT3627:
•MT5485:
•MT5536:
•MT5567:
•MT5864:
•MT3029,3054,3139,3219,3349,3421,3769,3934,4992,5206,5267,5325_SB
03T06971
378ThinkCentreHardwareMaintenanceManual

Windows7Professional64SP1RecoveryCD
Windows7Professional64SP1FRU#CRU
BrazilianPortuguese
•MT3245:
•MT3269:
•MT3491:
•MT3627:
•MT5485:
•MT5536:
•MT5567:
•MT5864:
•MT3026,3039,3137,3149,3319,3394,3699,3878,4972,5132,5261,5297_SB
03T16341
SimpliedChinese
•MT3245:
•MT3269:
•MT3491:
•MT3627:
•MT5485:
•MT5536:
•MT5567:
•MT5864:
•MT3026,3039,3137,3149,3319,3394,3699,3878,4972,5132,5261,5297_SB
03T16351
TraditionalChinese
•MT3245:
•MT3269:
•MT3491:
•MT3627:
•MT5485:
•MT5536:
•MT5567:
•MT5864:
•MT3026,3039,3137,3149,3319,3394,3699,3878,4972,5132,5261,5297_SB
03T16361
Czech
•MT3245:B4GB6G
•MT3269:A9GB4G
•MT3491:
•MT3627:
•MT5485:
•MT5536:
•MT5567:
•MT5864:
•MT3026,3039,3137,3149,3319,3394,3699,3878,4972,5132,5261,5297_SB
03T16371
Chapter10.FRUlists379

Windows7Professional64SP1FRU#CRU
IndiaEnglish
•MT3245:
•MT3269:
•MT3491:
•MT3627:
•MT5485:
•MT5536:
•MT5567:
•MT5864:
•MT3026,3039,3137,3149,3319,3394,3699,3878,4972,5132,5261,5297_SB
03T16381
French
•MT3245:B3FB4GB6GB7F
•MT3269:A8FA9GBIFB4GB5F
•MT3491:
•MT3627:
•MT5485:
•MT5536:
•MT5567:
•MT5864:
•MT3026,3039,3137,3149,3319,3394,3699,3878,4972,5132,5261,5297_SB
03T16391
German
•MT3245:B4GB6G
•MT3269:A9GB4G
•MT3491:
•MT3627:
•MT5485:
•MT5536:
•MT5567:
•MT5864:
•MT3026,3039,3137,3149,3319,3394,3699,3878,4972,5132,5261,5297_SB
03T16401
HongKong
•MT3245:
•MT3269:
•MT3491:
•MT3627:
•MT5485:
•MT5536:
•MT5567:
•MT5864:
•MT3026,3039,3137,3149,3319,3394,3699,3878,4972,5132,5261,5297_SB
03T16411
380ThinkCentreHardwareMaintenanceManual

Windows7Professional64SP1FRU#CRU
Italy
•MT3245:B4GB6G
•MT3269:A9GB4G
•MT3491:
•MT3627:
•MT5485:
•MT5536:
•MT5567:
•MT5864:
•MT3026,3039,3137,3149,3319,3394,3699,3878,4972,5132,5261,5297_SB
03T16421
Spanish
•MT3245:B4GB6G
•MT3269:A9GB4G
•MT3491:
•MT3627:
•MT5485:
•MT5536:
•MT5567:
•MT5864:
•MT3026,3039,3137,3149,3319,3394,3699,3878,4972,5132,5261,5297_SB
03T16431
USEnglish
•MT3245:B3UB4GB6GB7U
•MT3269:A8UA9GBIUB4GB5U
•MT3491:
•MT3627:
•MT5485:K7M
•MT5536:
•MT5567:
•MT5864:
•MT3026,3039,3137,3149,3319,3394,3699,3878,4972,5132,5261,5297_SB
03T16441
C&L1Nordics:DK/FI/SV/NO/EN
•MT3245:B4GB6G
•MT3269:A9GB4G
•MT3491:
•MT3627:
•MT5485:
•MT5536:
•MT5567:
•MT5864:
•MT3026,3039,3137,3149,3319,3394,3699,3878,4972,5132,5261,5297_SB
03T16451
Chapter10.FRUlists381

Windows7Professional64SP1FRU#CRU
C&L2EMEA:NL/FR/GR/IT/EN
•MT3245:B4GB6G
•MT3269:A9GB4G
•MT3491:
•MT3627:
•MT5485:
•MT5536:
•MT5567:
•MT5864:
•MT3026,3039,3137,3149,3319,3394,3699,3878,4972,5132,5261,5297_SB
03T16461
Hebrew
•MT3245:B4GB6G
•MT3269:A9GB4G
•MT3491:
•MT3627:
•MT5485:
•MT5536:
•MT5567:
•MT5864:
•MT3026,3039,3137,3149,3319,3394,3699,3878,4972,5132,5261,5297_SB
03T16471
Portuguese
•MT3245:B4GB6G
•MT3269:A9GB4G
•MT3491:
•MT3627:
•MT5485:
•MT5536:
•MT5567:
•MT5864:
•MT3026,3039,3137,3149,3319,3394,3699,3878,4972,5132,5261,5297_SB
03T16481
Japanese
•MT3245:
•MT3269:
•MT3491:
•MT3627:
•MT5485:
•MT5536:
•MT5567:
•MT5864:
•MT3026,3039,3137,3149,3319,3394,3699,3878,4972,5132,5261,5297_SB
03T21041
382ThinkCentreHardwareMaintenanceManual

Windows7Ultimate32RecoveryCD
Windows7Ultimate32FRU#CRU
USEnglish
•MT3245:
•MT3269:
•MT3491:
•MT3627:
•MT5485:
•MT5536:
•MT5567:
•MT5864:
•MT3026,3039,3137,3149,3319,3394,3699,3878,4972,5132,5261,
5297,_SB
03T58291
Windows7Ultimate32withMSSP1RecoveryCD
Windows7Ultimate32withMSSP1FRU#CRU
USEnglish
•MT3245:
•MT3269:
•MT3491:
•MT3627:
•MT5485:
•MT5536:
•MT5567:
•MT5864:
•MT3026,3039,3137,3149,3319,3394,3699,3878,4972,5132,5261,
5297,_SB
03T16491
Windows7Ultimate64RecoveryCD
Windows7Ultimate64FRU#CRU
USEnglish
•MT3245:
•MT3269:
•MT3491:
•MT3627:
•MT5485:
•MT5536:
•MT5864:
•MT3026,3039,3137,3149,3319,3394,3699,3878,4972,5132,5261,5297,
5391,5472,5548,5567,and6213._SB
03T16501
Chapter10.FRUlists383

Windows7Starter32RecoveryCD
Windows7Starter32FRU#CRU
USEnglish
•MT3245:
•MT3269:
•MT3491:
•MT3627:
•MT5485:
•MT5536:
•MT5864:
•MT3026,3039,3137,3149,3319,3394,3699,3878,4972,5132,5261,5297,
5391,5472,5548,5567,and6213._SB
03T16511
WindowsXPProfessionalRecoveryCD
Note:TheWindowsXPProfessionalrecoveryDVDsareavailableonlyformodelswithavalidMicrosoft
WindowsXPProfessionalcerticateofauthenticity(COA)afxedtothesystem.DuetoaMicrosoftlicensing
limitation,ifamodelcamewithWindowsXPProfessionalpreinstalledfromthefactory,buthaseithera
Windows7orWindowsVistaCOAafxedtothesystem,thatmodeliseligibleonlyforrecoveryDVDsthat
matchtheoperatingsystemspeciedontheCOA.
WindowsXPProfessionalFRU#CRU
USEnglish
•MT3245:
•MT3269:
•MT3491:
•MT3627:
•MT5485:
•MT5536:
•MT5567:
•MT5864:
•MT3026,3039,3137,3149,3319,3394,3699,3878,4972,5132,5261,5297,_SB
03T50731
French
•MT3245:
•MT3269:
•MT3491:
•MT3627:
•MT5485:
•MT5536:
•MT5567:
•MT5864:
•MT3026,3039,3137,3149,3319,3394,3699,3878,4972,5132,5261,5297,_SB
03T50571
384ThinkCentreHardwareMaintenanceManual

WindowsXPProfessionalFRU#CRU
German
•MT3245:
•MT3269:
•MT3491:
•MT3627:
•MT5485:
•MT5536:
•MT5567:
•MT5864:
•MT3026,3039,3137,3149,3319,3394,3699,3878,4972,5132,5261,5297,_SB
03T50591
Italian
•MT3245:
•MT3269:
•MT3491:
•MT3627:
•MT5485:
•MT5536:
•MT5567:
•MT5864:
•MT3026,3039,3137,3149,3319,3394,3699,3878,4972,5132,5261,5297,_SB
03T50631
BrazilianPortuguese
•MT3245:
•MT3269:
•MT3491:
•MT3627:
•MT5485:
•MT5536:
•MT5567:
•MT5864:
•MT3026,3039,3137,3149,3319,3394,3699,3878,4972,5132,5261,5297,_SB
03T50531
ArabicEnglish
•MT3245:
•MT3269:
•MT3491:
•MT3627:
•MT5485:
•MT5536:
•MT5567:
•MT5864:
•MT3026,3039,3137,3149,3319,3394,3699,3878,4972,5132,5261,5297,_SB
03T50521
Chapter10.FRUlists385

WindowsXPProfessionalFRU#CRU
Hebrew
•MT3245:
•MT3269:
•MT3491:
•MT3627:
•MT5485:
•MT5536:
•MT5567:
•MT5864:
•MT3026,3039,3137,3149,3319,3394,3699,3878,4972,5132,5261,5297,_SB
03T50601
Polish
•MT3245:
•MT3269:
•MT3491:
•MT3627:
•MT5485:
•MT5536:
•MT5567:
•MT5864:
•MT3026,3039,3137,3149,3319,3394,3699,3878,4972,5132,5261,5297,_SB
03T50661
Portuguese
•MT3245:
•MT3269:
•MT3491:
•MT3627:
•MT5485:
•MT5536:
•MT5567:
•MT5864:
•MT3026,3039,3137,3149,3319,3394,3699,3878,4972,5132,5261,5297,_SB
03T50671
Russian
•MT3245:
•MT3269:
•MT3491:
•MT3627:
•MT5485:
•MT5536:
•MT5567:
•MT5864:
•MT3026,3039,3137,3149,3319,3394,3699,3878,4972,5132,5261,5297,_SB
03T50691
386ThinkCentreHardwareMaintenanceManual

WindowsXPProfessionalFRU#CRU
RussianEnglish
•MT3245:
•MT3269:
•MT3491:
•MT3627:
•MT5485:
•MT5536:
•MT5567:
•MT5864:
•MT3026,3039,3137,3149,3319,3394,3699,3878,4972,5132,5261,5297,_SB
03T50681
Hungarian
•MT3245:
•MT3269:
•MT3491:
•MT3627:
•MT5485:
•MT5536:
•MT5567:
•MT5864:
•MT3026,3039,3137,3149,3319,3394,3699,3878,4972,5132,5261,5297,_SB
03T50621
Turkish
•MT3245:
•MT3269:
•MT3491:
•MT3627:
•MT5485:
•MT5536:
•MT5567:
•MT5864:
•MT3026,3039,3137,3149,3319,3394,3699,3878,4972,5132,5261,5297,_SB
03T50721
Greek
•MT3245:
•MT3269:
•MT3491:
•MT3627:
•MT5485:
•MT5536:
•MT5567:
•MT5864:
•MT3026,3039,3137,3149,3319,3394,3699,3878,4972,5132,5261,5297,_SB
03T50581
Chapter10.FRUlists387

WindowsXPProfessionalFRU#CRU
Japanese
•MT3245:
•MT3269:
•MT3491:
•MT3627:
•MT5485:
•MT5536:
•MT5567:
•MT5864:
•MT3026,3039,3137,3149,3319,3394,3699,3878,4972,5132,5261,5297,_SB
03T50641
SimpliedChinese
•MT3245:
•MT3269:
•MT3491:
•MT3627:
•MT5485:
•MT5536:
•MT5567:
•MT5864:
•MT3026,3039,3137,3149,3319,3394,3699,3878,4972,5132,5261,5297,_SB
03T50541
HongKongTraditionalChinese
•MT3245:
•MT3269:
•MT3491:
•MT3627:
•MT5485:
•MT5536:
•MT5567:
•MT5864:
•MT3026,3039,3137,3149,3319,3394,3699,3878,4972,5132,5261,5297,_SB
03T50611
Korea
•MT3245:
•MT3269:
•MT3491:
•MT3627:
•MT5485:
•MT5536:
•MT5567:
•MT5864:
•MT3026,3039,3137,3149,3319,3394,3699,3878,4972,5132,5261,5297,_SB
03T50651
388ThinkCentreHardwareMaintenanceManual

WindowsXPProfessionalFRU#CRU
C&L1EMEA--English,Dutch,French,German,Italian
•MT3245:
•MT3269:
•MT3491:
•MT3627:
•MT5485:
•MT5536:
•MT5567:
•MT5864:
•MT3026,3039,3137,3149,3319,3394,3699,3878,4972,5132,5261,5297,_SB
03T50751
C&L2Nordics--English,Danish,Finland,Norwegian,Swedish
•MT3245:
•MT3269:
•MT3491:
•MT3627:
•MT5485:
•MT5536:
•MT5567:
•MT5864:
•MT3026,3039,3137,3149,3319,3394,3699,3878,4972,5132,5261,5297,_SB
03T50741
Spanish
•MT3245:
•MT3269:
•MT3491:
•MT3627:
•MT5485:
•MT5536:
•MT5567:
•MT5864:
•MT3026,3039,3137,3149,3319,3394,3699,3878,4972,5132,5261,5297,_SB
03T50711
Czech
•MT3245:
•MT3269:
•MT3491:
•MT3627:
•MT5485:
•MT5536:
•MT5567:
•MT5864:
•MT3026,3039,3137,3149,3319,3394,3699,3878,4972,5132,5261,5297,_SB
03T50561
Chapter10.FRUlists389

WindowsXPProfessionalFRU#CRU
TraditionalChinese
•MT3245:
•MT3269:
•MT3491:
•MT3627:
•MT5485:
•MT5536:
•MT5567:
•MT5864:
•MT3026,3039,3137,3149,3319,3394,3699,3878,4972,5132,5261,5297,_SB
03T50551
Slovenian
•MT3245:
•MT3269:
•MT3491:
•MT3627:
•MT5485:
•MT5536:
•MT5567:
•MT5864:
•MT3026,3039,3137,3149,3319,3394,3699,3878,4972,5132,5261,5297,_SB
03T50701
390ThinkCentreHardwareMaintenanceManual

Chapter11.Additionalserviceinformation
Thischapterprovidesadditionalinformationthattheservicerepresentativemightndhelpful.
Securityfeatures
Securityfeaturesinthissectionincludethefollowing:
•Passwords
•VitalProductData
•SecureManagedClient(somemodels)
Hardware-controlledpasswords
UsetheSetupUtilityprogramtosetthehardware-controlledpasswords.Formoreinformationabout
passwords,see“Usingpasswords”onpage41.
Operatingsystempassword
Note:ThissectionappliesonlytocomputermodelsthathaveanoperatingsystempreinstalledfromLenovo.
Anoperatingsystempasswordisverysimilartoapower-onpasswordanddeniesaccesstothecomputerby
anunauthorizeduserwhenthepasswordisactivated.Thecomputerisunusableuntilthecorrectpassword
isenteredandrecognizedbythecomputer.
VitalProductData
EachcomputerhasauniqueVitalProductData(VPD)codestoredinthenonvolatilememoryonthesystem
board.Afteryoureplacethesystemboard,theVPDmustbeupdated.ToupdatetheVPD,see“Updating
(ashing)BIOSfromadisc”onpage392.
SecureManagedClient
TheSecureManagedClient(SMC)isastorage-based,desktopcomputingsolutionthathelpsbusinesses
reduceITcostsandimprovesecuritybyturningoffharddiskdrivesandstoringalldatainanon-server
remotelocationwhileofferinguserstheexibilityandperformanceofatraditionaldesktopcomputer.For
computermodelsthatdonothaveaninternalharddiskdriveandapreinstalledoperatingsystem,but
usearemoteharddiskdriveaccessedthroughtheSMC-StorageArray,contactthenetworkorstorage
administrator.
BIOSlevels
AnincorrectlevelofBIOScancausefalseerrorsandunnecessaryFRUreplacement.Usethefollowing
informationtodeterminethecurrentlevelofBIOSinstalledinthecomputer,thelatestBIOSavailableforthe
computer,andwheretoobtainthelatestlevelofBIOS.
•TodeterminethecurrentlevelofBIOS:
–StarttheSetupUtilityprogram.
–SeeBIOSRevisionLevelontheMainsetupscreen.
•SourcesforobtainingthelatestlevelBIOSavailable
1.Lenovosupportwebsite:http://www.lenovo.com/support/
2.LenovoCustomerSupportCenter
©CopyrightLenovo2010,2013391

3.Levels1and2Support
Toupdate(ash)theBIOS,see“Updating(ashing)BIOSfromadisc”onpage392.
Updating(ashing)BIOSfromadisc
Thissectionprovidesinstructionsonhowtoupdate(ash)BIOSfromadisc.SystemBIOSprogramupdates
areavailableat:http://www.lenovo.com/support
Toupdate(ash)BIOSfromadisc,dothefollowing:
1.Makesuretheopticaldriveyouwanttouseissetastherstbootdeviceinthestartupdevicesequence.
See“Selectingorchangingthestartupdevicesequence”onpage43.
2.Makesurethecomputeristurnedon.Insertthediscintotheopticaldrive.
3.Turnoffthecomputerandbackonagain.Theupdatebegins.
4.Whenpromptedtochangetheserialnumber,pressN.
Note:Ifyouwanttochangetheserialnumber,pressYwhenprompted.Typeintheserialnumber
andthenpressEnter.
5.Whenpromptedtochangethemachinetype/model,pressN.
Note:Ifyouwanttochangethemachinetype/model,pressYwhenprompted.Typeinthemachine
type/modelandthenpressEnter.
6.Followtheinstructionsonthescreentocompletetheupdate.
Updating(ashing)BIOSfromyouroperatingsystem
Note:BecauseLenovomakesconstantimprovementstotheWebsite,theWebpagecontentsaresubject
tochangewithoutnotice,includingthecontentsreferencedinthefollowingprocedure.
Toupdate(ash)BIOSfromyouroperatingsystem,dothefollowing:
1.Gotohttp://www.lenovo.com/support.
2.Dothefollowingtolocatethedownloadablelesforyourmachinetype:
a.IntheEnteraproductnumbereld,typeyourmachinetypeandclickGo.
b.ClickDownloadsanddrivers.
c.SelectBIOSintheReneresultseldtoeasilylocatealltheBIOSrelatedlinks.
d.ClicktheBIOSupdatelink.
e.ClicktheTXTlethatcontainstheinstructionsforupdating(ashing)BIOSfromyouroperating
system.
3.Printtheseinstructions.Thisisveryimportantbecausetheyarenotonthescreenafterthedownload
begins.
4.Followtheprintedinstructionstodownload,extract,andinstalltheupdate.
RecoveringfromaPOST/BIOSupdatefailure
IfthepowertoyourcomputerisinterruptedwhilePOST/BIOSisbeingupdated(ashupdate),your
computermightnotrestartcorrectly.Ifthishappens,performthefollowingprocedurecommonlycalled
Boot-blockRecovery.
1.Turnoffthecomputerandanyattacheddevices,suchasprinters,monitors,andexternaldrives.
2.Unplugallpowercordsfromelectricaloutlets,andopenthecomputercover.Referto“Openingthe
computercover”onpage102.
392ThinkCentreHardwareMaintenanceManual

3.Accessthesystemboard.Referto“Removingandreinstallingthefrontbezel”onpage72.
4.LocatetheClearCMOS/Recoveryjumperonthesystemboard.Referto“Locatingpartsonthesystem
board”onpage104.
5.RemoveanycablesthatimpedeaccesstotheClearCMOS/Recoveryjumper.
6.Movethejumperfromthestandardposition(pin1andpin2)tothemaintenanceposition(pin2and
pin3).
7.Reconnectanycablesthatweredisconnectedandreinstalltheharddiskdriveifremoved.
8.Closethecomputercoverandreconnectthepowercordsforthecomputerandmonitortoelectrical
outlets.Referto“Completingthepartsreplacement”onpage98.
9.Turnonthecomputerandthemonitor.InsertthePOST/BIOSupdate(ash)discintotheopticaldrive.
10.Turnthecomputeroffandbackonagain.Therecoverysessionbegins.
Note:Therecoverysessionwilltaketwotothreeminutes.Duringthistimeyouwillhearaseries
ofbeeps.
11.Aftertherecoverysessioniscompleted,theseriesofbeepswillend,andthesystemwillautomatically
turnoff.Removethediscfromtheopticaldrivebeforethesystemcompletelyturnsoff.
12.Repeatsteps2through5.
13.MovetheClearCMOS/Recoveryjumperbacktothestandardposition(pin1andpin2).
14.Reconnectanycablesthatweredisconnectedandreinstalltheharddiskdriveifremoved.
15.Closethecomputercoverandreconnectthepowercordsforthecomputerandmonitortoelectrical
outlets.Referto“Completingthepartsreplacement”onpage98.
16.Turnonthecomputertorestarttheoperatingsystem.
Powermanagement
Powermanagementreducesthepowerconsumptionofcertaincomponentsofthecomputersuchasthe
systempowersupply,processor,harddiskdrives,andsomemonitors.
Automaticcongurationandpowerinterface(ACPI)BIOS
BeinganACPIBIOSsystem,theoperatingsystemisallowedtocontrolthepowermanagementfeatures
ofthecomputerandthesettingforAdvancedPowerManagement(APM)BIOSmodeisignored.Not
alloperatingsystemssupportACPIBIOSmode.
AutomaticPower-Onfeatures
TheAutomaticPower-OnfeatureswithinthePowerManagementmenuallowyoutoenableanddisable
featuresthatturnonthecomputerautomatically.
•RTCresume:Youcanspecifyadateandtimeatwhichthecomputerwillbeturnedonautomatically.
Thiscanbeeitherasingleeventoradailyevent.
•WakeonLAN:Ifthecomputerhasaproperlyconguredtoken-ringorEthernetLANadaptercardthatis
WakeonLAN-enabledandthereisremotenetworkmanagementsoftware,youcanusetheWakeonLAN
feature.WhenyousetWakeonLANtoEnabled,thecomputerwillturnonwhenitreceivesaspecic
signalfromanothercomputeronthelocalareanetwork(LAN).
Chapter11.Additionalserviceinformation393

394ThinkCentreHardwareMaintenanceManual

AppendixA.Notices
Lenovomaynotoffertheproducts,services,orfeaturesdiscussedinthisdocumentinallcountries.Consult
yourlocalLenovorepresentativeforinformationontheproductsandservicescurrentlyavailableinyour
area.AnyreferencetoaLenovoproduct,program,orserviceisnotintendedtostateorimplythatonlythat
Lenovoproduct,program,orservicemaybeused.Anyfunctionallyequivalentproduct,program,orservice
thatdoesnotinfringeanyLenovointellectualpropertyrightmaybeusedinstead.However,itistheuser's
responsibilitytoevaluateandverifytheoperationofanyotherproduct,program,orservice.
Lenovomayhavepatentsorpendingpatentapplicationscoveringsubjectmatterdescribedinthis
document.Thefurnishingofthisdocumentdoesnotgiveyouanylicensetothesepatents.Youcansend
licenseinquiries,inwriting,to:
Lenovo(UnitedStates),Inc.
1009ThinkPlace-BuildingOne
Morrisville,NC27560
U.S.A.
Attention:LenovoDirectorofLicensing
LENOVOPROVIDESTHISPUBLICATION“ASIS”WITHOUTWARRANTYOFANYKIND,EITHEREXPRESS
ORIMPLIED,INCLUDING,BUTNOTLIMITEDTO,THEIMPLIEDWARRANTIESOFNON-INFRINGEMENT,
MERCHANTABILITYORFITNESSFORAPARTICULARPURPOSE.Somejurisdictionsdonotallow
disclaimerofexpressorimpliedwarrantiesincertaintransactions,therefore,thisstatementmaynotapply
toyou.
Thisinformationcouldincludetechnicalinaccuraciesortypographicalerrors.Changesareperiodically
madetotheinformationherein;thesechangeswillbeincorporatedinneweditionsofthepublication.
Lenovomaymakeimprovementsand/orchangesintheproduct(s)and/ortheprogram(s)describedinthis
publicationatanytimewithoutnotice.
Theproductsdescribedinthisdocumentarenotintendedforuseinimplantationorotherlifesupport
applicationswheremalfunctionmayresultininjuryordeathtopersons.Theinformationcontainedinthis
documentdoesnotaffectorchangeLenovoproductspecicationsorwarranties.Nothinginthisdocument
shalloperateasanexpressorimpliedlicenseorindemnityundertheintellectualpropertyrightsofLenovo
orthirdparties.Allinformationcontainedinthisdocumentwasobtainedinspecicenvironmentsandis
presentedasanillustration.Theresultobtainedinotheroperatingenvironmentsmayvary.
Lenovomayuseordistributeanyoftheinformationyousupplyinanywayitbelievesappropriatewithout
incurringanyobligationtoyou.
Anyreferencesinthispublicationtonon-LenovoWebsitesareprovidedforconvenienceonlyanddonotin
anymannerserveasanendorsementofthoseWebsites.ThematerialsatthoseWebsitesarenotpartof
thematerialsforthisLenovoproduct,anduseofthoseWebsitesisatyourownrisk.
Anyperformancedatacontainedhereinwasdeterminedinacontrolledenvironment.Therefore,theresult
obtainedinotheroperatingenvironmentsmayvarysignicantly.Somemeasurementsmayhavebeen
madeondevelopment-levelsystemsandthereisnoguaranteethatthesemeasurementswillbethesame
ongenerallyavailablesystems.Furthermore,somemeasurementsmayhavebeenestimatedthrough
extrapolation.Actualresultsmayvary.Usersofthisdocumentshouldverifytheapplicabledatafortheir
specicenvironment.
©CopyrightLenovo2010,2013395

Televisionoutputnotice
Thefollowingnoticeappliestomodelsthathavethefactory-installedtelevision-outputfeature.
ThisproductincorporatescopyrightprotectiontechnologythatisprotectedbymethodclaimsofcertainU.S.
patentsandotherintellectualpropertyrightsownedbyMacrovisionCorporationandotherrightsowners.
UseofthiscopyrightprotectiontechnologymustbeauthorizedbyMacrovisionCorporation,andisintended
forhomeandotherlimitedviewingusesonlyunlessotherwiseauthorizedbyMacrovisionCorporation.
Reverseengineeringordisassemblyisprohibited.
Trademarks
ThefollowingtermsaretrademarksofLenovointheUnitedStates,othercountries,orboth:
Lenovo
RescueandRecovery
TheLenovologo
ThinkCentre
ThinkVantage
WakeonLANisatrademarkofInternationalBusinessMachinesCorporationintheUnitedStates,other
countries,orboth.
IntelandPentiumaretrademarksofIntelCorporationintheUnitedStates,othercountries,orboth.
Microsoft,Windows,andWindowsVistaaretrademarksoftheMicrosoftgroupofcompanies.
Othercompany,product,orservicenamesmaybetrademarksorservicemarksofothers.
396ThinkCentreHardwareMaintenanceManual

Index
A
Administrator,password42
B
battery,replacing81,105
BIOS,updating(ashing)392
boot-blockrecovery392
C
cables,connecting127
changing
password42
startupdevicesequence43
components,internal103
computercover
opening102
removing68
computercover,reinstalling98
considerations,passwords41
CRU
completingtheinstallation98,127
D
deletingapassword42
E
environment,operating31
exiting,SetupUtility43
F
failure,recoveringfromPOST/BIOS392
ashingBIOS392
frontaudioandUSBassembly,replacing95,124
frontbezel
frontbezel,removing72
frontbezel,reinstalling72
frontfanassembly,replacing91
H
harddiskdrive,replacing85,118
heatsinkandfanassembly,replacing75
heatsink,replacing112
I
installingoptions
PCIcard83,108
internalspeaker,replacing96,121
L
LenovoSolutionCenter35
LenovoSystemToolbox36
LenovoThinkVantageToolbox35
locatingcomponents103
O
openingcomputercover102
opticaldrive,installingorreplacing120
opticaldrive,replacing89
P
partsreplacement,completing98,127
password
Administrator42
considerations41
Power-OnPassword42
setting,changing,deleting42
passwords,using41
PC-DoctorforRescueandRecovery36
PCIcard83,108
installing,replacing83,108
slots83
powersupplyassembly,replacing74,110
Power-On,Password42
R
rearfanassembly,replacing93
recovering
fromaPOST/BIOSupdatefailure392
recovery
boot-block392
removingcomputercover68
replacing
battery81,105
harddiskdrive85,118
heatsink112
heatsinkandfanassembly75
S
security
enablingordisabling42
selecting
startupdevice43
temporarystartupdevice43
setting
password42
settings
changing41
viewing41
©CopyrightLenovo2010,2013397

SetupUtility41
SetupUtilityprogram,starting41
SetupUtility,exiting43
startingtheSetupUtilityprogram41
startupdevice43
sequence,changing43
temporary,selecting43
systemboard
connectors71,105
locatingparts104
locations104
systemfan,replacing125
T
temporarystartupdevice43
U
updating
(ashing)BIOS392
updating(ashing)BIOS392
using
passwords41
SetupUtility41
V
viewingandchangingsettings41
398ThinkCentreHardwareMaintenanceManual

PartNumber:71Y7233
PrintedinUSA
(1P)P/N:71Y7233
*1P71Y7233*
