Lenovo Aio 510 Hmm 20170306 User Manual Ideacentre All In One Computer Hardware Maintenance 22ASR (ideacentre) Type F0CC
2016-07-21
User Manual: Lenovo Aio 510 Hmm 20170306 ideacentre All-In-One 510 Computer Hardware Maintenance Manual AIO 510-22ASR All-in-One (ideacentre) - Type F0CC F0CC
Open the PDF directly: View PDF
.
Page Count: 93
- Chapter 1. About this manual
- Chapter 2. Safety information
- Chapter 3. General information
- Chapter 4. General Checkout
- Chapter 5. Using the Setup Utility
- Chapter 6. Symptom-to-FRU Index
- Chapter 7. Locating connectors, controls and components
- Chapter 8. Replacing hardware
- General information
- Replacing the keyboard and mouse
- Replacing the adapter
- Removing the stand base
- Removing the rear cover
- Replacing the hard disk drive
- Replacing the optical drive
- Replacing the memory module
- Replacing the solid state drive
- Removing the stand holder
- Replacing the power switch board
- Removing the middle cover
- Removing the EMI cover
- Replacing the LCD panel module
- Replacing the Wi-Fi card
- Replacing the system fan
- Replacing the heat-sink
- Replacing the motherboard
- Replacing the speaker system
- Replacing the camera
- Chapter 9. FRU lists
- Chapter 10. General information

ideacentreAll-In-One510ComputerHardware
MaintenanceManual
MachineTypes:FOCB[AIO51022-ISH/EnergyStar]/FOCC[AIO510
22-ASR/EnergyStar]/FOCD[AIO51023-ISH/EnergyStar]/FOCE[AIO
51023-ASR/EnergyStar]

ideacentreAll-In-One510Computer
HardwareMaintenanceManual
MachineTypes:FOCB[AIO51022-ISH/EnergyStar]/FOCC[AIO510
22-ASR/EnergyStar]/FOCD[AIO51023-ISH/EnergyStar]/FOCE[AIO
51023-ASR/EnergyStar]

FirstEdition(July2016)14th
©CopyrightLenovo2016.
LIMITEDANDRESTRICTEDRIGHTSNOTICE:IfdataorsoftwarearedeliveredpursuantaGeneralServices
Administration“GSA”contract,use,reproduction,ordisclosureissubjecttorestrictionssetforthinContractNo.
GS-35F-05925

Contents
Chapter1.Aboutthismanual.....1
ImportantSafetyInformation.........1
Chapter2.Safetyinformation.....3
Generalsafety...............3
Electricalsafety..............3
Safetyinspectionguide...........5
Handlingelectrostaticdischarge-sensitive
devices.................5
Groundingrequirements...........6
Safetynotices...............6
Chapter3.Generalinformation....9
Specifications...............9
Chapter4.GeneralCheckout.....11
Chapter5.UsingtheSetupUtility...13
StartingtheLenovoBIOSSetupUtilityprogram.13
Viewingandchangingsettings........13
Usingpasswords..............13
Enablingordisablingadevice........15
Selectingastartupdevice..........16
ExitingtheLenovoBIOSSetupUtilityprogram..17
Chapter6.Symptom-to-FRUIndex..19
Harddiskdrivebooterror..........19
PowerSupplyProblems...........19
POSTerrorcodes.............20
Undeterminedproblems...........20
Chapter7.Locatingconnectors,
controlsandcomponents......21
Chapter8.Replacinghardware....27
Generalinformation.............27
Replacingthekeyboardandmouse......28
Replacingtheadapter............28
Removingthestandbase..........29
Removingtherearcover...........29
Replacingtheharddiskdrive.........30
Replacingtheopticaldrive..........31
Replacingthememorymodule........33
Replacingthesolidstatedrive........34
Removingthestandholder..........35
Replacingthepowerswitchboard.......36
Removingthemiddlecover.........37
RemovingtheEMIcover...........39
ReplacingtheLCDpanelmodule.......40
ReplacingtheWi-Ficard...........43
Replacingthesystemfan..........44
Replacingtheheat-sink...........45
Replacingthemotherboard..........47
Replacingthespeakersystem........48
Replacingthecamera............50
Chapter9.FRUlists..........53
Chapter10.Generalinformation...87
AdditionalServiceInformation........87
©CopyrightLenovo2016iii

ivideacentreAll-In-One510ComputerHardwareMaintenanceManual

Chapter1.Aboutthismanual
ThismanualcontainsserviceandreferenceinformationforLenovoAll-In-One510seriescomputerslistedon
thecover.ItisintendedonlyfortrainedservicerswhoarefamiliarwithLenovocomputerproducts.
BeforeservicingaLenovoproduct,besuretoreadtheSafetyInformation.
ThedescriptionoftheTV-tunercardinthismanualappliesonlytocomputerswithaTV-tunercardinstalled.
ItdoesnotapplytocomputerswithoutaTV-tunercard.
ImportantSafetyInformation
BesuretoreadallCAUTIONandDANGERsectionsinthismanualbeforefollowinganyoftheinstructions.
VeuillezliretouteslesconsignesdetypeDANGERetATTENTIONduprésentdocumentavantd’exécuter
lesinstructions.
LesenSieunbedingtalleHinweisevomTyp“ACHTUNG”oder“VORSICHT”indieserDokumentation,bevor
SieirgendwelcheVorgängedurchführen
LeggereleistruzioniintrodottedaATTENZIONEePERICOLOpresentinelmanualeprimadieseguireuna
qualsiasidelleistruzioni
Certifique-sedelertodasasinstruçõesdecuidadoeperigonestemanualantesdeexecutarqualquer
umadasinstruções
Esimportantequeleatodaslasdeclaracionesdeprecauciónydepeligrodeestemanualantesdeseguir
lasinstrucciones.
©CopyrightLenovo20161

2ideacentreAll-In-One510ComputerHardwareMaintenanceManual

Chapter2.Safetyinformation
Thischaptercontainsthesafetyinformationthatyouneedtobefamiliarwithbeforeservicingacomputer.
Generalsafety
Followtheserulestoensuregeneralsafety:
•Keeptheareasaroundthecomputerclearandcleanduringandaftermaintenance.
•Whenliftinganyheavyobject:
1.Ensureyoucanstandsafelywithoutslipping.
2.Distributetheweightoftheobjectequallyacrossbothfeet.
3.Liftslowly.Nevermovesuddenlyortwistwhenyouattempttolift.
4.Liftbystandingorbypushingupwithyourlegmuscles;thisactionremovesthestrainfromthe
musclesinyourback.
Donotattempttoliftanyobjectsthatweighmorethan16kg(35lb)orobjectsthatyouthinkare
tooheavyforyou.
•Donotperformanyactionthatwouldcreateahazardforthecustomer,orwouldmakethecomputer
unsafe.
•Beforeyoustartthecomputer,ensurethatotherservicerepresentativesandcustomerpersonnelarenot
inapositionthatwouldcreateahazardforthem.
•Placeremovedcoversandotherpartsinasafeplace,awayfromallpersonnel,whileyouareservicingthe
computer.
•Keepyourtoolcaseawayfromareasthatpeoplemaywalkthroughtoensureno-onetripsoverit.
•Donotwearlooseclothingthatcanbetrappedinthemovingpartsofamachine.Ensurethatyoursleeves
arefastenedorrolledupaboveyourelbows.Ifyourhairislong,tieorfastenitback.
•Inserttheendsofyournecktieorscarfinsideclothingorfastenitwithanon-conductiveclip,
approximately8centimeters(3inches)fromtheend.
•Donotwearjewelry,chains,metal-frameeyeglasses,ormetalfastenersforyourclothing.
Remember:Metalobjectsaregoodelectricalconductors.
•Wearsafetyglasseswhenyouare:hammering,drillingsoldering,cuttingwire,attachingsprings,using
solvents,orworkinginanyotherconditionsthatmightbehazardoustoyoureyes.
•Afterservice,reinstallallsafetyshields,guards,labels,andgroundwires.Replaceanysafetydevice
thatiswornordefective.
•Reattachallcoverscorrectlybeforereturningthecomputertothecustomer.
Electricalsafety
CAUTION:
Electricalcurrentfrompower,telephone,andcommunicationcablescanbehazardous.T oavoid
personalinjuryorequipmentdamage,disconnectanyattachedpowercords,telecommunication
cables,networkcables,andmodemcablesbeforeyouopenthecomputercovers,unlessinstructed
otherwiseintheinstallationandconfigurationprocedures.
©CopyrightLenovo20163

Observethefollowingruleswhenworkingonelectricalequipment.
Important:Useonlyapprovedtoolsandtestequipment.Somehandtoolshavehandlescoveredwithasoft
materialthatdoesnotinsulateyouwhenworkingwithliveelectricalcurrents.Manycustomershaverubber
floormatsneartheirequipmentthatcontainsmallconductivefiberstodecreaseelectrostaticdischarge.
•Findtheroomemergencypower-off(EPO)switch,disconnectingswitch,orelectricaloutlet.Ifanelectrical
accidentoccurs,youcanthenoperatetheswitchorunplugthepowercordquickly.
•Donotworkaloneunderhazardousconditionsornearequipmentthathashazardousvoltages.
•Disconnectallpowerbefore:
–Performingamechanicalinspection
–Workingnearpowersupplies
–RemovingorinstallingFieldReplaceableUnits(FRUs)
•Beforeyoustarttoworkonthecomputer,unplugthepowercord.Ifyoucannotunplugit,askthe
customertopower-offtheelectricaloutletthatsuppliespowertothemachineandtolocktheelectrical
outletintheoffposition.
•Ifyouneedtoworkonacomputerthathasexposedelectricalcircuits,observethefollowingprecautions:
–Ensurethatanotherperson,familiarwiththepower-offcontrols,isnearyou.
Remember:Anotherpersonmustbetheretoswitchoffthepower,ifnecessary.
–Useonlyonehandwhenworkingwithpowered-onelectricalequipment;keeptheotherhandinyour
pocketorbehindyourback.
Remember:Theremustbeacompletecircuittocauseelectricalshock.Byobservingtheaboverule,
youmaypreventacurrentfrompassingthroughyourbody.
–Whenusingatester,setthecontrolscorrectlyandusetheapprovedprobeleadsandaccessoriesfor
thattester.
–Standonsuitablerubbermats(obtainedlocally,ifnecessary)toinsulateyoufromgroundssuchas
metalfloorstripsandmachineframes.
Observethespecialsafetyprecautionswhenyouworkwithveryhighvoltages;theseinstructionsarein
thesafetysectionsofthemaintenanceinformation.Useextremecarewhenmeasuringhighvoltages.
•Regularlyinspectandmaintainyourelectricalhandtoolstoensuretheyaresafetouse.
•Donotusewornorbrokentoolsandtesters.
•Neverassumethatpowerhasbeendisconnectedfromacircuit.First,checkthatithasbeenpoweredoff.
•Alwayslookcarefullyforpossiblehazardsinyourworkarea.Examplesofthesehazardsarewetfloors,
non-groundedpowerextensioncables,conditionsthatmaycauseorallowpowersurges,andmissing
safetygrounds.
•Donottouchliveelectricalcircuitswiththereflectivesurfaceofaplasticdentalmirror.Thissurfaceis
conductive,andtouchingalivecircuitcancausepersonalinjuryanddamagetothecomputer.
•Donotservicethefollowingpartswiththepoweronwhentheyareremovedfromtheirnormaloperating
positionsinacomputer:
–Powersupplyunits
–Pumps
–Blowersandfans
–Motorgenerators
andsimilarunits.(Thispracticeensurescorrectgroundingoftheunits.)
•Ifanelectricalaccidentoccurs:
–Usecaution;donotbecomeavictimyourself.
4ideacentreAll-In-One510ComputerHardwareMaintenanceManual

–Switchoffpower.
–Sendanotherpersontogetmedicalaid.
Safetyinspectionguide
Theintentofthisinspectionguideistoassistyouinidentifyingpotentialhazardsposedbytheseproducts.
Eachcomputer,asitwasdesignedandbuilt,hadrequiredsafetyitemsinstalledtoprotectusersand
servicepersonnelfrominjury.Thisguideaddressesonlythoseitems.However,goodjudgmentshouldbe
usedtoidentifypotentialsafetyhazardsduetoattachmentoffeaturesoroptionsnotcoveredbythis
inspectionguide.
Ifanyhazardsarepresent,youmustdeterminehowserioustheapparenthazardcouldbeandwhetheryou
cancontinuewithoutfirstresolvingtheproblem.
Considerthefollowingitemsandthesafetyhazardstheypresent:
•Electricalhazards,especiallyprimarypower(primaryvoltageontheframecancauseseriousorfatal
electricalshock).
•Explosivehazards,suchasadamagedCRTfaceorbulgingcapacitor
•Mechanicalhazards,suchaslooseormissinghardware
Theguideconsistsofaseriesofstepspresentedasachecklist.Beginthecheckswiththepoweroff,and
thepowercorddisconnected.
Checklist:
1.Checkexteriorcoversfordamage(loose,broken,orsharpedges).
2.Power-offthecomputer.Disconnectthepowercord.
3.Checkthepowercordfor:
a.Athird-wiregroundconnectoringoodcondition.Useametertomeasurethird-wireground
continuityfor0.1ohmorlessbetweentheexternalgroundpinandframeground.
b.Thepowercordshouldbetheappropriatetypeasspecifiedinthepartslistings.
c.Insulationmustnotbefrayedorworn.
4.Removethecover.
5.Checkforanyobviousalterations.Usegoodjudgmentastothesafetyofanyalterations.
6.Checkinsidetheunitforanyobvioushazards,suchasmetalfilings,contamination,waterorother
liquids,orsignsoffireorsmokedamage.
7.Checkforworn,frayed,orpinchedcables.
8.Checkthatthepower-supplycoverfasteners(screwsorrivets)havenotbeenremovedortamperedwith.
Handlingelectrostaticdischarge-sensitivedevices
Anycomputerpartcontainingtransistorsorintegratedcircuits(ICs)shouldbeconsideredsensitiveto
electrostaticdischarge(ESD).ESDdamagecanoccurwhenthereisadifferenceinchargebetweenobjects.
ProtectagainstESDdamagebyequalizingthechargesothatthecomputer,thepart,theworkmat,andthe
personhandlingthepartareallatthesamecharge.
Notes:
1.Useproduct-specificESDprocedureswhentheyexceedtherequirementsnotedhere.
2.MakesurethattheESDprotectivedevicesyouusehavebeencertified(ISO9000)asfullyeffective.
WhenhandlingESD-sensitiveparts:
Chapter2.Safetyinformation5

•Keepthepartsinprotectivepackagesuntiltheyareinsertedintotheproduct.
•Avoidcontactwithotherpeoplewhilehandlingthepart.
•Wearagroundedwriststrapagainstyourskintoeliminatestaticonyourbody.
•Preventthepartfromtouchingyourclothing.Mostclothingisinsulativeandretainsachargeeven
whenyouarewearingawriststrap.
•Usetheblacksideofagroundedworkmattoprovideastatic-freeworksurface.Thematisespecially
usefulwhenhandlingESD-sensitivedevices.
•Selectagroundingsystem,suchasthoselistedbelow,toprovideprotectionthatmeetsthespecific
servicerequirement.
Note:TheuseofagroundingsystemisdesirablebutnotrequiredtoprotectagainstESDdamage.
–AttachtheESDgroundcliptoanyframeground,groundbraid,orgreen-wireground.
–UseanESDcommongroundorreferencepointwhenworkingonadouble-insulatedor
battery-operatedsystem.Youcanusecoaxorconnector-outsideshellsonthesesystems.
–Usetheroundground-prongoftheACplugonAC-operatedcomputers.
Groundingrequirements
Electricalgroundingofthecomputerisrequiredforoperatorsafetyandcorrectsystemfunction.Proper
groundingoftheelectricaloutletcanbeverifiedbyacertifiedelectrician.
Safetynotices
TheCAUTIONandDANGERsafetynoticesinthissectionareprovidedinthelanguageofEnglish.
DANGER
Electricalcurrentfrompower,telephoneandcommunicationcablesishazardous.
Toavoidashockhazard:
•Donotconnectordisconnectanycablesorperforminstallation,maintenance,orreconfiguration
ofthisproductduringanelectricalstorm.
•Connectallpowercordstoaproperlywiredandgroundedelectricaloutlet.
•Connectanyequipmentthatwillbeattachedtothisproducttoaproperlywiredoutlet.
•Whenpossible,useonehandonlytoconnectordisconnectsignalcables.
•Neverturnonanyequipmentwhenthereisevidenceoffire,water,orstructuraldamage.
•Disconnecttheattachedpowercords,telecommunicationscables,networkcables,andmodem
cablesbeforeyouopenthedevicecovers,unlessinstructedotherwiseintheinstallationand
configurationprocedures.
•Connectanddisconnectcablesasdescribedinthefollowingtablewheninstalling,moving,or
openingcoversonthisproductorattacheddevices.
6ideacentreAll-In-One510ComputerHardwareMaintenanceManual

ToConnectToDisconnect
1.TurneverythingOFF.
2.First,attachallcablestodevices.
3.Attachsignalcablestoconnectors.
4.Attachpowercordstooutlet.
5.TurndeviceON.
1.TurneverythingOFF.
2.First,removepowercordsfromoutlets.
3.Removesignalcablesfromconnectors.
4.Removeallcablesfromdevices.
CAUTION:
Whenreplacingthelithiumbattery,useonlyPartNumber45C1566oranequivalenttypebattery
recommendedbythemanufacturer.Ifyoursystemhasamodulecontainingalithiumbattery,replace
itonlywiththesamemoduletypemadebythesamemanufacturer.Thebatterycontainslithiumand
canexplodeifnotproperlyused,handled,ordisposedof.
Donot:
•Throwintoorimmerseinwater
•Heattomorethan100°C(212°F)
•Repairordisassemble
Disposeofthebatteryasrequiredbylocalordinancesorregulations.
CAUTION:
Whenlaserproducts(suchasCD-ROMs,DVD-ROMdrives,fiberopticdevices,ortransmitters)are
installed,notethefollowing:
•Donotremovethecovers.Removingthecoversofthelaserproductcouldresultinexposureto
hazardouslaserradiation.Therearenoserviceablepartsinsidethedevice.
•Useofcontrolsoradjustmentsorperformanceofproceduresotherthanthosespecifiedherein
mightresultinhazardousradiationexposure.
DANGER
SomelaserproductscontainanembeddedClass3AorClass3Blaserdiode.Notethefollowing:
Thesediodesemitradiationwhenopen.Donotstareintothebeam,donotviewdirectlywith
opticalinstruments,andavoiddirectexposuretothebeam.
Chapter2.Safetyinformation7

≥18kg(37lbs)≥32kg(70.5lbs)≥55kg(121.2lbs)
CAUTION:
Usesafepracticeswhenlifting.
CAUTION:
Thepowercontrolbuttononthedeviceandthepowerswitchonthepowersupplydonotturnoff
theelectricalcurrentsuppliedtothedevice.Thedevicealsomighthavemorethanonepower
cord.Toremoveallelectricalcurrentfromthedevice,ensurethatallpowercordsaredisconnected
fromthepowersource.
1
2
CAUTION:
Donotplaceanyobjectweighingmorethan82kg(180lbs.)ontopofrack-mounteddevices.
8ideacentreAll-In-One510ComputerHardwareMaintenanceManual

Chapter3.Generalinformation
Thischapterprovidesgeneralinformationthatappliestoallcomputermodelscoveredbythismanual.
Specifications
Thissectionliststhephysicalspecificationsforyourcomputer.
Thissectionliststhephysicalspecificationsforyourcomputer.
TypeLenovoAll-In-One510
Thissectionliststhephysicalspecifications.
Environment
Airtemperature:
Operating:10°to35°C
Transit:-20°to55°C
Humidity:
Operating:35%to80%
Transit:20%to90%(40°C)
Altitude:86KPato106KPa
Electricalinput:
Inputvoltage:90V-264V(AC)
Inputfrequency:47Hz-63Hz
©CopyrightLenovo20169

10ideacentreAll-In-One510ComputerHardwareMaintenanceManual

Chapter4.GeneralCheckout
Attention:Thedrivesinthecomputeryouareservicingmighthavebeenrearrangedorthedrivestartup
sequencemayhavebeenchanged.Beextremelycarefulduringwriteoperationssuchascopying,saving,or
formatting.Dataorprogramscanbeoverwrittenifyouselectanincorrectdrive.
Generalerrormessagesappearifaproblemorconflictisfoundbyanapplication,theoperatingsystem,or
both.Foranexplanationofthesemessages,refertotheinformationsuppliedwiththatsoftwarepackage.
Usethefollowingproceduretohelpdeterminethecauseoftheproblem:
1.Power-offthecomputerandallexternaldevices.
2.Checkallcablesandpowercords.
3.Setalldisplaycontrolstothemiddleposition.
4.Power-onallexternaldevices.
5.Power-onthecomputer.
•Lookfordisplayederrorcodes.
•Lookforreadableinstructionsoramainmenuonthedisplay.
Ifyoudidnotreceivethecorrectresponse,proceedtostep6.
Ifyoudidreceivethecorrectresponse,proceedtostep7.
6.Ifoneofthefollowinghappens,followtheinstructiongiven:
•IfthecomputerdisplaysaPOSTerror,goto“POSTerrorcodes” .
•Ifthecomputerhangsandnoerrorisdisplayed,continueatstep7.
7.Iftheteststopsandyoucannotcontinue,replacethelastdevicetested.
©CopyrightLenovo201611

12ideacentreAll-In-One510ComputerHardwareMaintenanceManual

Chapter5.UsingtheSetupUtility
TheSetupUtilityprogramisusedtoviewandchangetheconfigurationsettingsofyourcomputer,regardless
ofwhichoperatingsystemyouareusing.However,theoperatingsystemsettingsmightoverrideanysimilar
settingsintheSetupUtilityprogram.
StartingtheLenovoBIOSSetupUtilityprogram
TostarttheLenovoBIOSSetupUtilityprogram,dothefollowing:
1.Ifyourcomputerisalreadyonwhenyoustartthisprocedure,shutdowntheoperatingsystemand
turnoffthecomputer.
2.PressandholdtheF1keythenturnonthecomputer.WhentheLenovoBIOSSetupUtilityprogramis
displayed,releasetheF1key.
Note:IfaPower-OnPasswordoranAdministratorPasswordhasbeenset,theSetupUtilityprogrammenu
willnotbedisplayeduntilyoutypeyourpassword.Formoreinformation,see“Usingpasswords.”
Viewingandchangingsettings
SystemconfigurationoptionsarelistedintheLenovoBIOSSetupUtilityprogrammenu.Tovieworchange
settings,see“StartingtheSetupUtilityprogram.”
YoumustusethekeyboardwhenusingtheLenovoBIOSSetupUtilitymenu.Thekeysusedtoperform
varioustasksaredisplayedonthebottomofeachscreen.
Usingpasswords
YoucanusetheLenovoBIOSSetupUtilityprogramtosetpasswordstopreventunauthorizedpersons
fromgainingaccesstoyourcomputeranddata.See“StartingtheSetupUtilityprogram.”Thefollowing
typesofpasswordsareavailable:
•AdministratorPassword
•Power-OnPassword
Youdonothavetosetanypasswordstouseyourcomputer.However,ifyoudecidetosetpasswords,read
thefollowingsections.
Passwordconsiderations
Apasswordcanbeanycombinationoflettersandnumbersupto16characters(a-zand0-9).Forsecurity
reasons,itisagoodideatouseastrongpasswordthatcannotbeeasilycompromised.Wesuggestthat
passwordsshouldfollowtheserules:
•Forastrongpassword,use7-16charactersandamixoflettersandnumbers.
•Donotuseyournameoryourusername.
•Donotuseacommonwordoracommonname.
•Usesomethingsignificantlydifferentfromyourpreviouspassword.
Attention:AdministratorandPower-Onpasswordsarenotcasesensitive.
©CopyrightLenovo201613

AdministratorPassword
SettinganAdministratorPassworddetersunauthorizedpersonsfromchangingconfigurationsettings.Y ou
mightwanttosetanAdministratorPasswordifyouareresponsibleformaintainingthesettingsofseveral
computers.
AfteryousetanAdministratorPassword,apasswordpromptisdisplayedeverytimeyouaccesstheLenovo
BIOSSetupUtilityprogram.
IfboththeAdministratorandPower-OnPasswordareset,youcantypeeitherpassword.However,youmust
useyourAdministratorPasswordtochangeanyconfigurationsettings.
Setting,changing,ordeletinganAdministratorpassword
TosetanAdministratorPassword,dothefollowing:
Note:Apasswordcanbeanycombinationoflettersandnumbersupto16characters(a-zand0-9).For
moreinformation,see“Passwordconsiderations”onpage13.
1.StarttheLenovoBIOSSetupUtilityprogram(see“StartingtheLenovoBIOSSetupUtilityprogram”on
page13).
2.FromtheSecuritymenu,selectSetAdministratorPasswordandpresstheEnterkey.
3.Thepassworddialogboxwillbedisplayed.TypethepasswordthenpresstheEnterkey.
4.Re-typethepasswordtoconfirm,thenpresstheEnterkey.Ifyoutypedthepasswordcorrectly,
thepasswordwillbeinstalled.
TochangeanAdministratorPassword,dothefollowing:
1.StarttheLenovoBIOSSetupUtilityprogram(see“StartingtheLenovoBIOSSetupUtilityprogram”on
page13).
2.FromtheSecuritymenu,selectSetAdministratorPasswordandpresstheEnterkey.
3.Thepassworddialogboxwillbedisplayed.TypethecurrentpasswordthenpresstheEnterkey.
4.Typethenewpassword,thenpresstheEnterkey.Re-typethepasswordtoconfirmthenewpassword.
Ifyoutypedthenewpasswordcorrectly,thenewpasswordwillbeinstalled.ASetupNoticedconfirming
thatchangeshavebeensavedwillbedisplayed.
TodeleteapreviouslysetAdministratorPassword,dothefollowing:
1.FromtheSecuritymenu,selectSetAdministratorPasswordandpresstheEnterkey.
2.Thepassworddialogboxwillbedisplayed.TypethecurrentpasswordandpresstheEnterkey.
3.TodeleteanAdministratorPassword,leaveeachnewpasswordlineitemblank,thenpresstheEnter
key.ASetupNoticeconfirmingthatchangeshavebeensavedwillbedisplayed.
4.ReturntotheLenovoBIOSSetupUtilityprogrammenuandselecttheExitoption.
5.SelectSavechangesandExitfromthemenu.
Power-OnPassword
WhenaPower-OnPasswordisset,youcannotstarttheLenovoBIOSSetupUtilityprogramuntilavalid
passwordistypedfromthekeyboard.
Setting,changing,ordeletingaPower-OnPassword
Note:Apasswordcanbeanycombinationoflettersandnumbersupto16characters(a-zand0-9).
14ideacentreAll-In-One510ComputerHardwareMaintenanceManual

TosetaPower-OnPassword,dothefollowing:
1.StarttheLenovoBIOSSetupUtilityprogram(See”StartingtheLenovoBIOSSetupUtilityprogram”on
page13.)
2.FromtheSecuritymenu,selectSetPower-OnPasswordandpresstheEnterkey.
3.Thepassworddialogboxwillbedisplayed.Typethepassword,thenpresstheEnterkey.
4.Re-typethepasswordtoconfirm.Ifyoutypedthepasswordcorrectly,thepasswordwillbeinstalled.
TochangeaPower-OnPassword,dothefollowing:
1.StarttheLenovoBIOSSetupUtilityprogram(See”StartingtheLenovoBIOSSetupUtilityprogram”on
page13.)
2.FromtheSecuritymenu,selectSetPower-OnPasswordandpresstheEnterkey.
3.Thepassworddialogboxwillbedisplayed.TypethecurrentpasswordthenpresstheEnterkey.
4.Typethenewpassword,thenpresstheEnterkey.Re-typethepasswordtoconfirmthenewpassword.
Ifyoutypedthenewpasswordcorrectly,thenewpasswordwillbeinstalled.ASetupNoticedconfirming
thatchangeshavebeensavedwillbedisplayed.
TodeleteapreviouslysetPower-OnPassword,dothefollowing:
1.FromtheSecuritymenu,selectSetPower-OnPasswordandpresstheEnterkey.
2.Thepassworddialogboxwillbedisplayed.TypethecurrentpasswordandpresstheEnterkey.
3.TodeletethePower-OnPassword,leaveeachnewpasswordlineitemblank,thenpressEnter.ASetup
Noticeconfirmingthatchangeshavebeensavedwillbedisplayed.
4.ReturntotheLenovoBIOSSetupUtilityprogrammenuandselecttheExitoption.
5.SelectSavechangesandExitfromthemenu.
Enablingordisablingadevice
TheDevicesoptionsisusedtoenableordisableuseraccesstothefollowingdevices:
USBFunctionsSelectwhethertoenableordisableUSB(UniversalSerial
Bus)functions.Ifthefunctionsaredisabled,noUSB
devicescanbeused.
SATAModeWhenthisfeatureissettoDisabled,alldevices
connectedtotheSATAconnectors(e.g.harddiskdrives
ortheopticaldiskdrive)aredisabledandcannotbe
accessed.
OnboardAudioControllerSelectwhethertoenableordisabletheOnboard
AudioController.WhenthisfeatureissettoDisabled
alldevicesconnectedtotheaudioconnectors(e.g.
headphonesoramicrophone)aredisabledandcannot
beused.
OnboardEthernetControllerorLANBootAgentSelectwhethertoenableordisabletheOnboardEthernet
Controller,orselectwhethertoenableordisableload
onboardPXE(PrebootExecutionEnvironment).
Toenableordisableadevice,dothefollowing:
1.StarttheSetupUtilityprogram(see“StartingtheSetupUtilityprogram”onpage13).
2.FromtheSetupUtilityprogrammenu,selectDevices.
3.Selectanoptionasfollows:
SelectUSBSetup,presstheEnterkey,thenselectUSBFunctions.
Chapter5.UsingtheSetupUtility15

SelectATADeviceSetup,presstheEnterkey,thenselectSATAMode.
SelectAudioSetup,presstheEnterkey,thenselectOnboardAudioController.
SelectNetworkSetup,presstheEnterkey,thenselectOnboardEthernetSupportorLANBoot
Agent.
4.SelectDisabledorEnabledandpresstheEnterkey.
5.ReturntotheLenovoBIOSSetupUtilityprogrammenuandselecttheExitoption.
6.SelectSavechangesandExitfromthemenu.
Notes:
a.Ifyoudonotwanttosavethesettings,selectDiscardchangesandExitfromthemenu.
b.SelectIDE/AHCIMode:DevicedriversupportisrequiredforACHI.Dependingonhowtheharddisk
imagewasinstalled,changingthissettingmaypreventthesystemfrombooting.
Selectingastartupdevice
IfyourcomputerdoesnotbootfromadevicesuchastheCD/DVD-ROMdrivediskorharddiskasexpected,
followoneoftheproceduresbelow.
Selectingatemporarystartupdevice
Usethisproceduretostartupfromanybootdevice.
Note:NotallCDs,DVDsorharddiskdrivesarebootable.
1.Turnoffyourcomputer.
2.PressandholdtheF12keythenturnonthecomputer.WhentheStartupDeviceMenuappears,
releasetheF12key.
Note:IftheStartupDeviceMenudoesnotdisplayusingthesesteps,repeatedlypressandreleasethe
F12keyratherthankeepingitpressedwhenturningonthecomputer.
3.Use↑and↓arrowstoselectthedesiredstartupdevicefromtheStartupDeviceMenuandpress
theEnterkeytobegin.
Note:SelectingastartupdevicefromtheStartupDeviceMenudoesnotpermanentlychangethe
startupsequence.
Selectingorchangingthestartupdevicesequence
Tovieworpermanentlychangetheconfiguredstartupdevicesequence,dothefollowing:
1.StarttheLenovoBIOSSetupUtilityprogram(see“StartingtheLenovoBIOSSetupUtilityprogram”on
page13).
2.FromtheLenovoBIOSSetupUtilityprogrammainmenu,selecttheStartupoption.
3.PresstheEnterkey,andselectthedevicesforthePrimaryBootSequence.Readtheinformation
displayedontherightsideofthescreen.
4.Use↑and↓arrowstoselectadevice.Usethe<+>or<->keystomoveadeviceupordown.Usethe
<×>keytoexcludethedevicefromorincludethedeviceinthebootsequence.
5.ReturntotheLenovoBIOSSetupUtilityprogrammenuandselecttheExitoption.
6.SelectSavechangesandExitfromthemenu.
Notes:
16ideacentreAll-In-One510ComputerHardwareMaintenanceManual

a.Ifyoudonotwanttosavethesettings,selectDiscardchangesandExitfromthemenu.
b.Ifyouhavechangedthesesettingsandwanttoreturntothedefaultsettings,selectLoadOptimal
Defaultsfromthemenu.
ExitingtheLenovoBIOSSetupUtilityprogram
Afteryoufinishviewingorchangingsettings,presstheEsckeytoreturntotheLenovoBIOSSetupUtility
programmainmenu.YoumighthavetopresstheEsckeyseveraltimes.Dooneofthefollowing:
•Ifyouwanttosavethenewsettings,selectSavechangesandExitfromthemenu.WhentheSave&
resetwindowshows,selecttheYesbutton,andthenpresstheEnterkeytoexittheLenovoBIOS
SetupUtilityprogram.
•Ifyoudonotwanttosavethesettings,selectDiscardchangesandExitfromthemenu.Whenthe
ResetWithoutSavingwindowshows,selecttheYesbutton,andthenpresstheEnterkeytoexitthe
LenovoBIOSSetupUtilityprogram.
Chapter5.UsingtheSetupUtility17

18ideacentreAll-In-One510ComputerHardwareMaintenanceManual

Chapter6.Symptom-to-FRUIndex
TheSymptom-to-FRUindexlistserrorsymptomsandpossiblecauses.Themostlikelycauseislistedfirst.
AlwaysbeginwithChapter4,“GeneralCheckout,”onpage11.Thisindexcanalsobeusedtohelpyou
decidewhichFRUstohaveavailablewhenservicingacomputer.Ifyouareunabletocorrecttheproblem
usingthisindex,goto“Undeterminedproblems”onpage20.
Notes:
•Ifyouhavebothanerrormessageandanincorrectaudioresponse,diagnosetheerrormessagefirst.
•Ifyoucannotrunthediagnostictestsoryougetadiagnosticerrorcodewhenrunningatestbutdid
receiveaPOSTerrormessage,diagnosethePOSTerrormessagefirst.
•Ifyoudidnotreceiveanyerrormessagelookforadescriptionofyourerrorsymptomsinthefirstpartof
thisindex.
Harddiskdrivebooterror
Aharddiskdrivebooterrorcanbecausedbythefollowing.
ErrorFRU/Action
Thestartupdriveisnotincludedinthebootsequence
configuration.
Checktheconfigurationandensurethestartupdriveis
inthebootsequence.
Nooperatingsystemisinstalledonthebootdrive.Installanoperatingsystemonthebootdrive.
Thebootsectoronthestartupdriveiscorrupted.Thedrivemustbeformatted.Dothefollowing:
1.Attempttobackupthedataonthefailingharddisk
drive.
2.Usetheoperatingsystemtoformattheharddisk
drive.
Thedriveisdefective.Replacetheharddiskdrive.
PowerSupplyProblems
Followtheseproceduresifyoususpectthereisapowersupplyproblem.
Check/VerifyFRU/Action
Checkthatthefollowingareproperlyinstalled:
•PowerCord
•On/OffSwitchconnector
•SystemBoardPowerSupplyconnectors
•Microprocessorconnections
Reseatconnectors
Checkthepowercord.PowerCord
Checkthepower-onswitch.Power-onSwitch
©CopyrightLenovo201619

POSTerrorcodes
Eachtimeyouturnthecomputeron,itperformsaseriesofteststocheckthatthesystemisoperating
correctlyandthatcertainoptionsareset.ThisseriesoftestsiscalledthePower-OnSelf-Test,orPOST.
POSTdoesthefollowing:
•Checkssomebasicmotherboardoperations
•Checksthatthememoryisworkingcorrectly
•Startsvideooperations
•Verifiesthatthebootdriveisworking
POSTErrorMessageDescription/Action
KeyboarderrorCannotinitializethekeyboard.Makesurethekeyboard
isproperlyconnectedtothecomputerandthatnokeys
areheldpressedduringPOST.Topurposelyconfigure
thecomputerwithoutakeyboard,selectKeyboardless
operationinStartupandsettheoptiontoEnabled.The
BIOSthenignoresthemissingkeyboardduringPOST.
RebootandSelectproperBootdeviceorInsertBoot
MediainselectedBootdevice
TheBIOSwasunabletofindasuitablebootdevice.Make
surethebootdriveisproperlyconnectedtothecomputer.
Makesureyouhavebootablemediainthebootdevice.
Undeterminedproblems
1.Power-offthecomputer.
2.Removeordisconnectthefollowingcomponents(ifconnectedorinstalled)oneatatime.
a.Externaldevices(modem,printer,ormouse)
b.Extendedvideomemory
c.ExternalCache
d.ExternalCacheRAM
e.Harddiskdrive
f.Diskdrive
3.Power-onthecomputertore-testthesystem.
4.Repeatsteps1through3untilyoufindthefailingdeviceorcomponent.
Ifalldevicesandcomponentshavebeenremovedandtheproblemcontinues,replacethesystemboard.
20ideacentreAll-In-One510ComputerHardwareMaintenanceManual

Chapter7.Locatingconnectors,controlsandcomponents
Thissectionprovidesillustrationstohelplocatethevariousconnectors,controlsandcomponentsofthe
computer.
Fontview
Thefollowingillustrationshowsthelocationofcontrolsandcomponentsonthefrontofthecomputer.
Attention:Becarefulnottoblockanyairventsonthecomputer.Blockedairventscancauseoverheating.
1.Built-incamera
©CopyrightLenovo201621

Leftandrightview
Thefollowingillustrationshowsthelocationofconnectors,controlsandcomponentsontheleftandright
sideofthecomputer.
1.USB3.0connectors5.Opticaldriveejectbutton
2.USB3.0connectors6.Opticaldrive
3.Memorycardreader7.Powerbutton
4.Comboaudiojack
22ideacentreAll-In-One510ComputerHardwareMaintenanceManual

Hardwarecomponents
Thefollowingillustrationshowsthecomponentsthatmakeupyourcomputer.
1
2
3
4
5
8
7
6
9
12
15
16
17
18
14
11
10
13
1.Standbase10.Mainframe
2.Middlecover11.LCDpanel
3.Rearcover12.Frontbezel
4.Opticaldiskdrive13.Standholder
5.Heat-sink14.Harddiskdrive
6.Systemfan15.EMIcover
7.Speakersystem16.Mic
8.Powerswitchboard17.Camera
9.Powerbutton18.Motherboard
24ideacentreAll-In-One510ComputerHardwareMaintenanceManual

Identifyingpartsonthemotherboard
Themotherboard(sometimescalledtheplanarorsystemboard)isthemaincircuitboardinyourcomputer.
Itprovidesbasiccomputingfunctionsandsupportsavarietyofdevicesthatarefactory-installedorthat
youcaninstalllater.Thefollowingillustrationshowsthelocationofconnectorsandcomponentsonthe
frontofthemotherboard.
1.Systemfanconnector15.Ethernetconnector
2.ODDpowerconnector16.HDMI-outconnector
3.HDDpowerconnector17.USB2.0connector
4.Touchpanelconnector18.USB2.0connector
5.ODDSATAconnector19.USB2.0connector
6.HDDSATAconnector20.HDMI-inconnector
7.LVDSconnector21.Micconnector
8.Battery22.Speakerconnector
9.SSDSATAconnector23.Comboaudiojack
10.Converterconnector24.Cardreaderconnector
11.Powerswitchboardconnector25.USB3.0connector
12.Cameraconnector26.USB3.0connector
Chapter7.Locatingconnectors,controlsandcomponents25

13.Wi-Ficardconnector27.Memorysocket
14.Powerconnector28.CPUsocket
26ideacentreAll-In-One510ComputerHardwareMaintenanceManual

Chapter8.Replacinghardware
Attention:Donotremovethecomputercoverorattemptanyrepairbeforereadingthe“Importantsafetyinformation”
intheSafetyandWarrantyGuidethatwasincludedwithyourcomputer.T oobtaincopiesoftheSafetyandWarranty
Guide,gototheSupportWebsiteat:http://consumersupport.lenovo.com.
Note:UseonlypartsprovidedbyLenovo.
Generalinformation
Pre-disassemblyinstructions
Beforestartingthedisassemblyprocedure,makesurethatyoudothefollowing:
1.Turnoffthepowertothesystemandallperipherals.
2.Unplugallpowerandsignalcablesfromthecomputer.
3.Placethesystemonaflat,stablesurface.
©CopyrightLenovo201627

Replacingthekeyboardandmouse
Note:YourkeyboardwillbeconnectedtoaUSBconnectorateithersideorattherearofthecomputer.
Toreplacethekeyboardandmouse:
Step1.Removeanymediafromthedrives,shutdownthecomputer,andturnoffallattacheddevices.
Step2.Unplugallpowercordsfromelectricaloutlets.
Step3.Disconnectallcablesattachedtothecomputer.Thisincludespowercords,input/output(I/O)
cables,andanyothercablesthatareconnectedtothecomputer..
Step4.Locatetheconnectorforthekeyboard.RefertoLocatingconnectors,controlsandcomponentsto
locatethevariousconnectors.
Step5.Disconnectthedefectivekeyboardcablefromthecomputerandconnectthenewkeyboardcable
tothesameconnector.
Step6.Themousecanbereplacedusingthesamemethod.
Replacingtheadapter
Attention:Turnoffthecomputerandwait3to5minutestoletitcooldownbeforeremovingthecover.
Step1.Removeanymediafromthedrives,shutdowntheoperatingsystem,andturnoffthecomputer
andallattacheddevices.
Step2.Disconnecttheadapterfromtheconnectoronthecomputer,thenunplugtheadapterfrom
electricaloutlet.
28ideacentreAll-In-One510ComputerHardwareMaintenanceManual

Step3.Connectthenewadapterasshown.
Removingthestandbase
Attention:Turnoffthecomputerandwait3to5minutestoletitcooldownbeforeremovingthecover.
Note:Itmaybehelpfultoplacethecomputerface-downonasoftflatsurfaceforthisprocedure.Lenovo
recommendsthatyouuseablanket,towel,orothersoftclothtoprotectthetouchscreenfromscratches
orotherdamage.
Step1.Removeanymediafromthedrives,shutdowntheoperatingsystem,andturnoffthecomputer
andallattacheddevices.
Step2.Unplugallpowercordsfromelectricaloutlets.
Step3.Disconnectallcablesattachedtothecomputer.Thisincludespowercords,input/output(I/O)
cables,andanyothercablesthatareconnectedtothecomputer.RefertoLocatingconnectors,
controlsandcomponentstolocatethevariousconnectors.
Step4.Removetherubber,andthentwistthehandscrewringcounter-clockwiseuntilthestandbaseis
loosened.12
Step5.Removethestandbasefromthestandholderandputitaside.3
Removingtherearcover
Attention:Turnoffthecomputerandwait3to5minutestoletitcooldownbeforeremovingthecover.
Note:Itmaybehelpfultoplacethecomputerface-downonasoftflatsurfaceforthisprocedure.Lenovo
recommendsthatyouuseablanket,towel,orothersoftclothtoprotectthetouchscreenfromscratches
orotherdamage.
Chapter8.Replacinghardware29

Step1.Removeanymediafromthedrives,shutdowntheoperatingsystem,andturnoffthecomputer
andallattacheddevices.
Step2.Unplugallpowercordsfromelectricaloutlets.
Step3.Disconnectallcablesattachedtothecomputer.Thisincludespowercords,input/output(I/O)
cables,andanyothercablesthatareconnectedtothecomputer.RefertoLocatingconnectors,
controlsandcomponentstolocatethevariousconnectors.
Step4.Removethestandbase.RefertoRemovingthestandbase.
Step5.Liftuptherearcoverfromthetwonotchesatthebottomofthecomputer.
Step6.Toreattachtherearcover:
a.Aligntherearcoverwiththechassis.
b.Presstherearcoveruntilitsnapsintoposition.
Replacingtheharddiskdrive
Attention:Turnoffthecomputerandwait3to5minutestoletitcooldownbeforeremovingthecover.
Note:Itmaybehelpfultoplacethecomputerface-downonasoftflatsurfaceforthisprocedure.Lenovo
recommendsthatyouuseablanket,towel,orothersoftclothtoprotectthetouchscreenfromscratches
orotherdamage.
Step1.Removeanymediafromthedrives,shutdowntheoperatingsystem,andturnoffthecomputer
andallattacheddevices.
Step2.Unplugallpowercordsfromelectricaloutlets.
Step3.Disconnectallcablesattachedtothecomputer.Thisincludespowercords,input/output(I/O)
cables,andanyothercablesthatareconnectedtothecomputer.RefertoLocatingconnectors,
controlsandcomponentstolocatethevariousconnectors.
Step4.Removethestandbase.RefertoRemovingthestandbase.
Step5.Removetherearcover.RefertoRemovingtherearcover.
30ideacentreAll-In-One510ComputerHardwareMaintenanceManual

Step6.Pulltheharddiskdriveandbrackettoleft1,andthenliftthemup.2
Step7.Disconnectthesignalcablefromtheharddiskdrive.
Step8.Removethefourscrewsthatsecuretheharddiskdrivetothebracket.3
Step9.Toinstallthenewharddiskdrive:
a.Lineupthenewharddiskdrivewiththebracketandsecureitwithfourscrews.
b.Connectthedataandpowercablestothenewharddiskdrive.
c.Slidetheharddiskdriveandbracketbackintoposition.
Step10.Reattachtherearcoverandstandbase.
Replacingtheopticaldrive
Attention:Turnoffthecomputerandwait3to5minutestoletitcooldownbeforeremovingthecover.
Note:Itmaybehelpfultoplacethecomputerface-downonasoftflatsurfaceforthisprocedure.Lenovo
recommendsthatyouuseablanket,towel,orothersoftclothtoprotectthetouchscreenfromscratches
orotherdamage.
Step1.Removeanymediafromthedrives,shutdowntheoperatingsystem,andturnoffthecomputer
andallattacheddevices.
Step2.Unplugallpowercordsfromelectricaloutlets.
Step3.Disconnectallcablesattachedtothecomputer.Thisincludespowercords,input/output(I/O)
cables,andanyothercablesthatareconnectedtothecomputer.RefertoLocatingconnectors,
controlsandcomponentstolocatethevariousconnectors.
Step4.Removethestandbase.RefertoRemovingthestandbase.
Step5.Removetherearcover.RefertoRemovingtherearcover.
Chapter8.Replacinghardware31

Step6.Locatetheopticalremovalnotch,andthenpushtheopticaldriveoutusingascrewdriver.
Step7.Pushasmallironstick(paperclip)intothesmallholeontheopticaldrivebezelsothatthedisk
springsoutasshown.
32ideacentreAll-In-One510ComputerHardwareMaintenanceManual

Step8.Removetheopticaldrivebezelfromtheopticaldriveasshown.12
Step9.Toinstallthenewopticaldrive:
a.Insertthetabsontheopticaldrivebezelintothecorrespondingholesinthenewopticaldrive,
andthenpushthebezelbackintoposition.
b.Gentlypushthediskforwarduntilitsnapsintoposition.
c.Slidethenewopticaldriveintothedrivebay.
Step10.Reattachtherearcoverandstandbase.
Replacingthememorymodule
Attention:Turnoffthecomputerandwait3to5minutestoletitcooldownbeforeremovingthecover.
Note:Itmaybehelpfultoplacethecomputerface-downonasoftflatsurfaceforthisprocedure.Lenovo
recommendsthatyouuseablanket,towel,orothersoftclothtoprotectthetouchscreenfromscratches
orotherdamage.
Step1.Removeanymediafromthedrives,shutdowntheoperatingsystem,andturnoffthecomputer
andallattacheddevices.
Step2.Unplugallpowercordsfromelectricaloutlets.
Step3.Disconnectallcablesattachedtothecomputer.Thisincludespowercords,input/output(I/O)
cables,andanyothercablesthatareconnectedtothecomputer.RefertoLocatingconnectors,
controlsandcomponentstolocatethevariousconnectors.
Step4.Removethestandbase.RefertoRemovingthestandbase.
Step5.Removetherearcover.RefertoRemovingtherearcover.
Chapter8.Replacinghardware33

Step6.Removethememorycover.1
Step7.Opentheretainingclips2andgentlypullthememorymoduleoutofthememorysocket.3
Step8.Toinstallthenewmemorymodule:
a.Positionthenewmemorymoduleoverthememoryslot.Ensurethatthenotch2onthe
memorymodulealignscorrectlywiththeslotkey1inthememorysocket.Pressthememory
moduledownuntilsnapsintoposition.
b.Reinstallthememorycover.
Step9.Reattachtherearcoverandstandbase.
Replacingthesolidstatedrive
Attention:Turnoffthecomputerandwait3to5minutestoletitcooldownbeforeremovingthecover.
Note:Itmaybehelpfultoplacethecomputerface-downonasoftflatsurfaceforthisprocedure.Lenovo
recommendsthatyouuseablanket,towel,orothersoftclothtoprotectthetouchscreenfromscratches
orotherdamage.
Step1.Removeanymediafromthedrives,shutdowntheoperatingsystem,andturnoffthecomputer
andallattacheddevices.
Step2.Unplugallpowercordsfromelectricaloutlets.
34ideacentreAll-In-One510ComputerHardwareMaintenanceManual

Step3.Disconnectallcablesattachedtothecomputer.Thisincludespowercords,input/output(I/O)
cables,andanyothercablesthatareconnectedtothecomputer.RefertoLocatingconnectors,
controlsandcomponentstolocatethevariousconnectors.
Step4.Removethestandbase.RefertoRemovingthestandbase.
Step5.Removetherearcover.RefertoRemovingtherearcover.
Step6.Removethememorycover.1
Step7.Removethescrewthatsecurethesolidstatedrivetothemotherboard2,andthenslideoutthe
solidstatedrive.3
Step8.Toinstallthenewsolidstatedrive:
a.Insertthesolidstatedriveintotheslot.
b.Securethenewsolidstatedrivetomotherboardwithonescrew.
c.Reinstallthememorycover.
Step9.Reattachtherearcoverandstandbase.
Removingthestandholder
Attention:Turnoffthecomputerandwait3to5minutestoletitcooldownbeforeremovingthecover.
Note:Itmaybehelpfultoplacethecomputerface-downonasoftflatsurfaceforthisprocedure.Lenovo
recommendsthatyouuseablanket,towel,orothersoftclothtoprotectthetouchscreenfromscratches
orotherdamage.
Step1.Removeanymediafromthedrives,shutdowntheoperatingsystem,andturnoffthecomputer
andallattacheddevices.
Step2.Unplugallpowercordsfromelectricaloutlets.
Step3.Disconnectallcablesattachedtothecomputer.Thisincludespowercords,input/output(I/O)
cables,andanyothercablesthatareconnectedtothecomputer.RefertoLocatingconnectors,
controlsandcomponentstolocatethevariousconnectors.
Step4.Removethestandbase.RefertoRemovingthestandbase.
Chapter8.Replacinghardware35

Step5.Removetherearcover.RefertoRemovingtherearcover.
Step6.Removetheharddiskdrive.RefertoReplacingtheharddiskdrive.
Step7.Removethetwoscrewsthatsecurethestandholdertothechassis,andthenliftupthestand
holdertoremoveit.
Step8.Toreattachthestandholder:
a.Aligntheholesinthestandholderwiththecorrespondingholesinthechassis.
b.Securethestandholdertothechassiswithtwoscrews.
Replacingthepowerswitchboard
Note:Turnoffthecomputerandwait3to5minutestoletitcooldownbeforeremovingthecover.
Note:Itmaybehelpfultoplacethecomputerface-downonasoftflatsurfaceforthisprocedure.Lenovo
recommendsthatyouuseablanket,towel,orothersoftclothtoprotectthecomputerscreenfromscratches
orotherdamage.
Toreplacethepowerswitchboard
Step1.Removeanymediafromthedrives,shutdowntheoperatingsystem,andturnoffthecomputer
andallattacheddevices.
Step2.Unplugallpowercordsfromelectricaloutlets.
Step3.Disconnectallcablesattachedtothecomputer.Thisincludespowercords,input/output(I/O)
cables,andanyothercablesthatareconnectedtothecomputer.RefertoLocatingconnectors,
controlsandcomponentstolocatethevariousconnectors.
Step4.Removethestandbase.RefertoRemovingthestandbase.
Step5.Removetherearcover.RefertoRemovingtherearcover.
36ideacentreAll-In-One510ComputerHardwareMaintenanceManual

Step6.Disconnectthesignalcablefromthepowerswitchboard.1
Step7.Pushthelockingpinoutwardtoreleasethepowerswitchboard2,andthenliftthepowerswitch
boarduptoremoveit.
Step8.Toinstallthenewpowerswitchboard:
a.Attachthenewpowerswitchboardtothechassisandsecureitwiththelockingpin.
b.Connectthesignalcabletothenewpowerswitchboard.
Step9.Reattachtherearcoverandstandbase.
Removingthemiddlecover
Note:Turnoffthecomputerandwait3to5minutestoletitcooldownbeforeremovingthecover.
Note:Itmaybehelpfultoplacethecomputerface-downonasoftflatsurfaceforthisprocedure.Lenovo
recommendsthatyouuseablanket,towel,orothersoftclothtoprotectthecomputerscreenfromscratches
orotherdamage.
Toremovethemiddlecover:
Step1.Removeanymediafromthedrives,shutdowntheoperatingsystem,andturnoffthecomputer
andallattacheddevices.
Step2.Unplugallpowercordsfromelectricaloutlets.
Step3.Disconnectallcablesattachedtothecomputer.Thisincludespowercords,input/output(I/O)
cables,andanyothercablesthatareconnectedtothecomputer.RefertoLocatingconnectors,
controlsandcomponentstolocatethevariousconnectors.
Step4.Removethestandbase.RefertoRemovingthestandbase.
Step5.Removetherearcover.RefertoRemovingtherearcover.
Step6.Removetheharddiskdrive.RefertoReplacingtheharddiskdrive.
Step7.Removetheopticaldrive.RefertoReplacingtheopticaldrive.
Chapter8.Replacinghardware37

Step10.Liftupthemiddlecoverasshown.
Step11.Toreattachthemiddlecover:
a.Lineupthemiddlecoverwiththechassis.
b.Securethemiddlecovertothechassiswithfourscrews.
RemovingtheEMIcover
Note:Turnoffthecomputerandwait3to5minutestoletitcooldownbeforeremovingthecover.
Note:Itmaybehelpfultoplacethecomputerface-downonasoftflatsurfaceforthisprocedure.Lenovo
recommendsthatyouuseablanket,towel,orothersoftclothtoprotectthecomputerscreenfromscratches
orotherdamage.
ToreplacetheEMIcover
Step1.Removeanymediafromthedrives,shutdowntheoperatingsystem,andturnoffthecomputer
andallattacheddevices.
Step2.Unplugallpowercordsfromelectricaloutlets.
Step3.Disconnectallcablesattachedtothecomputer.Thisincludespowercords,input/output(I/O)
cables,andanyothercablesthatareconnectedtothecomputer.RefertoLocatingconnectors,
controlsandcomponentstolocatethevariousconnectors.
Step4.Removethestandbase.RefertoRemovingthestandbase.
Step5.Removetherearcover.RefertoRemovingtherearcover.
Step6.Removetheharddiskdrive.RefertoReplacingtheharddiskdrive.
Step7.Removetheopticaldrive.RefertoReplacingtheopticaldrive.
Step8.Removethestandholder.RefertoRemovingthestandholder.
Chapter8.Replacinghardware39

Step9.Removethemiddlecover.RefertoRemovingthemiddlecover.
Step10.RemovethesixscrewsthatsecuretheEMIcovertothechassis,andthenliftitup.
Step11.ToinstallthenewEMIcover:
a.AligntheholesintheEMIcoverwiththemountingholesinthechassis.
b.SecuretheEMIcovertothechassiswithsixscrews.
ReplacingtheLCDpanelmodule
Note:Turnoffthecomputerandwait3to5minutestoletitcooldownbeforeremovingthecover.
Note:Itmaybehelpfultoplacethecomputerface-downonasoftflatsurfaceforthisprocedure.Lenovo
recommendsthatyouuseablanket,towel,orothersoftclothtoprotectthecomputerscreenfromscratches
orotherdamage.
ToreplacetheLCDpanelmodule:
Step1.Removeanymediafromthedrives,shutdowntheoperatingsystem,andturnoffthecomputer
andallattacheddevices.
Step2.Unplugallpowercordsfromelectricaloutlets.
Step3.Disconnectallcablesattachedtothecomputer.Thisincludespowercords,input/output(I/O)
cables,andanyothercablesthatareconnectedtothecomputer.RefertoLocatingconnectors,
controlsandcomponentstolocatethevariousconnectors.
Step4.Removethestandbase.RefertoRemovingthestandbase.
Step5.Removetherearcover.RefertoRemovingtherearcover.
Step6.Removetheharddiskdrive.RefertoReplacingtheharddiskdrive.
Step7.Removetheopticaldrive.RefertoReplacingtheopticaldrive.
40ideacentreAll-In-One510ComputerHardwareMaintenanceManual

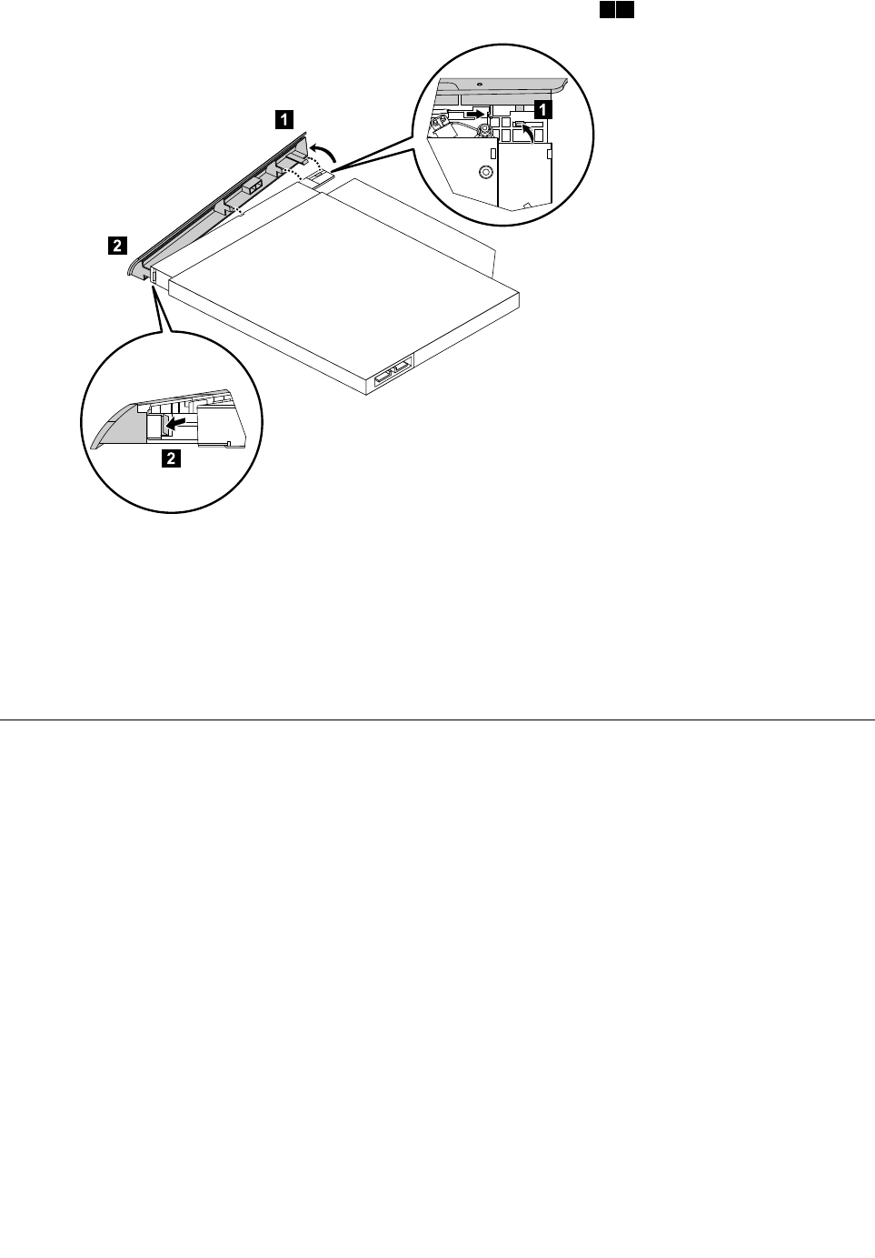
Step13.Disconnecttheconvertercable1andLVDScable2.
Step14.RemovethethirteenscrewsthatsecurethemainframetotheLCDpanel.
Step15.Liftupthemainframeasshowntoremoveit.
42ideacentreAll-In-One510ComputerHardwareMaintenanceManual

Step16.Ifyourdeviceisatouchcomputer,disconnectthetouchcablefromtheconnectoronthe
motherboard.Otherwise,skipthisstep.RefertoLocatingconnectors,controlsandcomponentsto
locatethetouchconnector.
Step17.ToinstallthenewtheLCDpanelmodule:
a.AlignthenewLCDpanelwiththemainframe.
b.SecurethenewLCDpaneltothemainframewiththirteenscrews.
c.Connectthetouch(touchmodelonly),LVDSandconvertercablestotheconnectorsinthe
newLCDpanel.
Step18.ReattachthesideI/Ocover,EMIcover,middlecover,frontbezel,standholder,opticaldrive,
harddiskdrive,rearcover,andstandbase.
ReplacingtheWi-Ficard
Note:Turnoffthecomputerandwait3to5minutestoletitcooldownbeforeremovingthecover.
Note:Itmaybehelpfultoplacethecomputerface-downonasoftflatsurfaceforthisprocedure.Lenovo
recommendsthatyouuseablanket,towel,orothersoftclothtoprotectthecomputerscreenfromscratches
orotherdamage.
ToreplacetheWi-Ficard:
Step1.Removeanymediafromthedrives,shutdowntheoperatingsystem,andturnoffthecomputer
andallattacheddevices.
Step2.Unplugallpowercordsfromelectricaloutlets.
Step3.Disconnectallcablesattachedtothecomputer.Thisincludespowercords,input/output(I/O)
cables,andanyothercablesthatareconnectedtothecomputer.RefertoLocatingconnectors,
controlsandcomponentstolocatethevariousconnectors.
Step4.Removethestandbase.RefertoRemovingthestandbase.
Step5.Removetherearcover.RefertoRemovingtherearcover.
Step6.Removetheharddiskdrive.RefertoReplacingtheharddiskdrive.
Step7.Removetheopticaldrive.RefertoReplacingtheopticaldrive.
Step8.Removethestandholder.RefertoRemovingthestandholder.
Step9.Removethemiddlecover.RefertoRemovingthemiddlecover.
Step10.RemovetheEMIcover.RefertoRemovingtheEMIcover.
Chapter8.Replacinghardware43

Step11.DisconnecttheantennacablesfromtheWi-Ficard.1
Step12.RemovethescrewthatsecurestheWi-Ficardtothemotherboard.2
Step13.PulltheWi-Ficardoutoftheslot.
Step14.ToinstallthenewWi-Ficard:
a.InsertthenewWi-FicardintotheWi-Ficardslot.
b.SecurenewtheWi-Ficardtothemotherboardwiththescrew.
c.ConnecttheantennacablestothenewWi-Ficard.
Step15.ReattachtheEMIcover,middlecover,standholder,opticaldrive,harddiskdrive,rearcover,
andstandbase.
Replacingthesystemfan
Note:Turnoffthecomputerandwait3to5minutestoletitcooldownbeforeremovingthecover.
Note:Itmaybehelpfultoplacethecomputerface-downonasoftflatsurfaceforthisprocedure.Lenovo
recommendsthatyouuseablanket,towel,orothersoftclothtoprotectthecomputerscreenfromscratches
orotherdamage.
Toreplacethesystemfan
Step1.Removeanymediafromthedrives,shutdowntheoperatingsystem,andturnoffthecomputer
andallattacheddevices.
Step2.Unplugallpowercordsfromelectricaloutlets.
Step3.Disconnectallcablesattachedtothecomputer.Thisincludespowercords,input/output(I/O)
cables,andanyothercablesthatareconnectedtothecomputer.RefertoLocatingconnectors,
controlsandcomponentstolocatethevariousconnectors.
44ideacentreAll-In-One510ComputerHardwareMaintenanceManual

Step4.Removethestandbase.RefertoRemovingthestandbase.
Step5.Removetherearcover.RefertoRemovingtherearcover.
Step6.Removetheharddiskdrive.RefertoReplacingtheharddiskdrive.
Step7.Removetheopticaldrive.RefertoReplacingtheopticaldrive.
Step8.Removethestandholder.RefertoRemovingthestandholder.
Step9.Removethemiddlecover.RefertoRemovingthemiddlecover.
Step10.RemovetheEMIcover.RefertoRemovingtheEMIcover.
Step11.Removethescrewthatsecuresthesystemfantothechassis.
Step12.Disconnectthesystemfanpowercablefromthemotherboard.
Step13.Liftthesystemfanuptoremoveit.
Step14.Toinstallthenewsystemfan:
a.Placethenewsystemfanintoposition,andthensecureittothechassiswithonescrew.
b.Connectthesystemfanpowercabletotheconnectoronthemotherboard.
Step15.ReattachtheEMIcover,middlecover,standholder,opticaldrive,harddiskdrive,rearcover,
andstandbase.
Replacingtheheat-sink
Note:Turnoffthecomputerandwait3to5minutestoletitcooldownbeforeremovingthecover.
Note:Itmaybehelpfultoplacethecomputerface-downonasoftflatsurfaceforthisprocedure.Lenovo
recommendsthatyouuseablanket,towel,orothersoftclothtoprotectthecomputerscreenfromscratches
orotherdamage.
Chapter8.Replacinghardware45

Toreplacetheheat-sink:
Step1.Removeanymediafromthedrives,shutdowntheoperatingsystem,andturnoffthecomputer
andallattacheddevices.
Step2.Unplugallpowercordsfromelectricaloutlets.
Step3.Disconnectallcablesattachedtothecomputer.Thisincludespowercords,input/output(I/O)
cables,andanyothercablesthatareconnectedtothecomputer.RefertoLocatingconnectors,
controlsandcomponentstolocatethevariousconnectors.
Step4.Removethestandbase.RefertoRemovingthestandbase.
Step5.Removetherearcover.RefertoRemovingtherearcover.
Step6.Removetheharddiskdrive.RefertoReplacingtheharddiskdrive.
Step7.Removetheopticaldrive.RefertoReplacingtheopticaldrive.
Step8.Removethestandholder.RefertoRemovingthestandholder.
Step9.Removethemiddlecover.RefertoRemovingthemiddlecover.
Step10.RemovetheEMIcover.RefertoRemovingtheEMIcover.
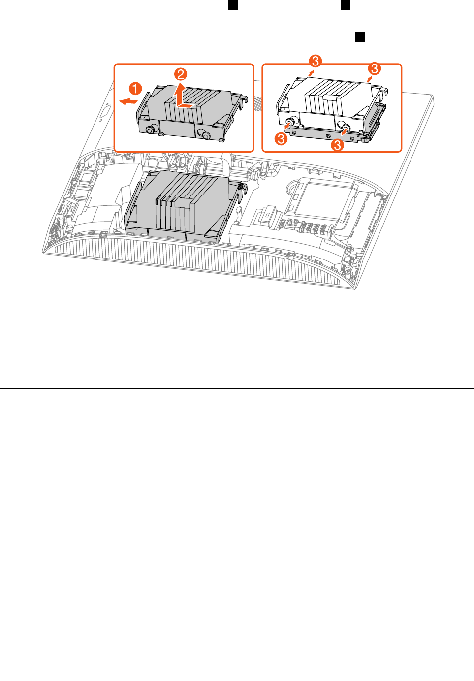
Step11.Loosentheninescrewsthatsecuretheheat-sinktothemotherboard,andthenliftuptheheat-sink
andremoveit.
Attention:Placetheheat-sinkupsidedownonaflatsurfacetopreventthermalgreasefromcontaminating
othercomponents.
Attention:UseanalcoholpadtowipethethermalgreaseofftheCPU.
Step12.Toinstallthenewheat-sink:
46ideacentreAll-In-One510ComputerHardwareMaintenanceManual

a.Positionthenewheat-sinkonthemotherboardsothattheninescrewsarealignedwiththe
holesinthemotherboardandwindshielding.
b.Tightenthescrewsinnumericordertosecurethenewheat-sinktothemotherboard.
Step13.ReattachtheEMIcover,middlecover,standholder,opticaldrive,harddiskdrive,rearcover,
andstandbase.
Replacingthemotherboard
Note:Turnoffthecomputerandwait3to5minutestoletitcooldownbeforeremovingthecover.
Note:Itmaybehelpfultoplacethecomputerface-downonasoftflatsurfaceforthisprocedure.Lenovo
recommendsthatyouuseablanket,towel,orothersoftclothtoprotectthecomputerscreenfromscratches
orotherdamage.
Toreplacethemotherboard:
Step1.Removeanymediafromthedrives,shutdowntheoperatingsystem,andturnoffthecomputer
andallattacheddevices.
Step2.Unplugallpowercordsfromelectricaloutlets.
Step3.Disconnectallcablesattachedtothecomputer.Thisincludespowercords,input/output(I/O)
cables,andanyothercablesthatareconnectedtothecomputer.RefertoLocatingconnectors,
controlsandcomponentstolocatethevariousconnectors.
Step4.Removethestandbase.RefertoRemovingthestandbase.
Step5.Removetherearcover.RefertoRemovingtherearcover.
Step6.Removetheharddiskdrive.RefertoReplacingtheharddiskdrive.
Step7.Removetheopticaldrive.RefertoReplacingtheopticaldrive.
Step8.Removethestandholder.RefertoRemovingthestandholder.
Step9.Removethemiddlecover.RefertoRemovingthemiddlecover.
Step10.RemovetheEMIcover.RefertoRemovingtheEMIcover.
Step11.Removethememorymodules.RefertoReplacingthememorymodule.
Step12.Removethesolidstatedrive.RefertoReplacingthesolidstatedrive.
Step13.Removetheheat-sink.RefertoReplacingtheheat-sink.
Step14.RemovetheWi-Ficard.RefertoReplacingtheWi-Ficard.
Step15.Removeallthecablesfromthemotherboard.
Chapter8.Replacinghardware47

Step16.Removethesixscrewsthatsecurethemotherboardtothechassis,andthenliftthemotherboard
uptoremoveit.
Step17.Toinstallthenewmotherboard:
a.Alignthesixscrewholesinthenewmotherboardwiththescrewholesinthechassis.
b.Securethenewmotherboardtothechassiswithsixscrews.
c.Connectallthecablestothenewmotherboard.
Step18.Installthefollowingpartstothenewmotherboard:
•Wi-Ficard
•Heat-sink
•Solidstatedrive
•Memorymodule
Step19.ReattachtheEMIcover,middlecover,standholder,opticaldrive,harddiskdrive,rearcover,
andstandbase.
Replacingthespeakersystem
Note:Turnoffthecomputerandwait3to5minutestoletitcooldownbeforeremovingthecover.
Note:Itmaybehelpfultoplacethecomputerface-downonasoftflatsurfaceforthisprocedure.Lenovo
recommendsthatyouuseablanket,towel,orothersoftclothtoprotectthecomputerscreenfromscratches
orotherdamage.
Toreplacethespeakersystem:
48ideacentreAll-In-One510ComputerHardwareMaintenanceManual

Step1.Removeanymediafromthedrives,shutdowntheoperatingsystem,andturnoffthecomputer
andallattacheddevices.
Step2.Unplugallpowercordsfromelectricaloutlets.
Step3.Disconnectallcablesattachedtothecomputer.Thisincludespowercords,input/output(I/O)
cables,andanyothercablesthatareconnectedtothecomputer.RefertoLocatingconnectors,
controlsandcomponentstolocatethevariousconnectors.
Step4.Removethestandbase.RefertoRemovingthestandbase.
Step5.Removetherearcover.RefertoRemovingtherearcover.
Step6.Removetheharddiskdrive.RefertoReplacingtheharddiskdrive.
Step7.Removetheopticaldrive.RefertoReplacingtheopticaldrive.
Step8.Removethestandholder.RefertoRemovingthestandholder.
Step9.Removethemiddlecover.RefertoRemovingthemiddlecover.
Step10.RemovetheEMIcover.RefertoRemovingtheEMIcover.
Step11.Disconnectthespeakercablefromtheconnectoronthemotherboard1,andthenslidetherubber
screwsofthespeakersystemoutofthescrewslots.
Step12.Liftupthespeakersystemtoremoveit.2
Step13.Toinstallthenewspeakersystem:
a.Slideintherubberscrewsofthenewspeakersystemintothescrewslotsinthechassis.
b.Connectthecabletothemotherboard.
Step14.ReattachEMIcover,middlecover,standholder,opticaldrive,harddiskdrive,rearcover,and
standbase.
Chapter8.Replacinghardware49

Replacingthecamera
Note:Turnoffthecomputerandwait3to5minutestoletitcooldownbeforeremovingthecover.
Note:Itmaybehelpfultoplacethecomputerface-downonasoftflatsurfaceforthisprocedure.Lenovo
recommendsthatyouuseablanket,towel,orothersoftclothtoprotectthecomputerscreenfromscratches
orotherdamage.
Toreplacethecamera:
Step1.Removeanymediafromthedrives,shutdowntheoperatingsystem,andturnoffthecomputer
andallattacheddevices.
Step2.Unplugallpowercordsfromelectricaloutlets.
Step3.Disconnectallcablesattachedtothecomputer.Thisincludespowercords,input/output(I/O)
cables,andanyothercablesthatareconnectedtothecomputer.RefertoLocatingconnectors,
controlsandcomponentstolocatethevariousconnectors.
Step4.Removethestandbase.RefertoRemovingthestandbase.
Step5.Removetherearcover.RefertoRemovingtherearcover.
Step6.Removetheharddiskdrive.RefertoReplacingtheharddiskdrive.
Step7.Removetheopticaldrive.RefertoReplacingtheopticaldrive.
Step8.Removethestandholder.RefertoRemovingthestandholder.
Step9.Removethemiddlecover.RefertoRemovingthemiddlecover.
Step10.RemovetheEMIcover.RefertoRemovingtheEMIcover.
Step11.Removethespeakersystem.RefertoReplacingthespeakersystem.
Step12.Disconnectthecameracableformthecorrespondingconnectoronthemotherboard.Referto
Locatingconnectors,controlsandcomponents.
50ideacentreAll-In-One510ComputerHardwareMaintenanceManual

Step13.Pushthelockingpinoutwards1,andthenliftupthecameramodule.2
Step14.Toinstallthenewcamera:
a.Connectthecameracabletothenewcamera.
b.Pushthecameralockingpinoutwards,andthenplacethenewcameraintoposition.
Step15.Reattachthespeakersystem,EMIcover,middlecover,standholder,opticaldrive,harddisk
drive,rearcover,andstandbase.
Chapter8.Replacinghardware51

52ideacentreAll-In-One510ComputerHardwareMaintenanceManual

Chapter9.FRUlists
Thischapterliststheinformationonthefieldreplaceableunits(FRUs)forideacentreAll-In-One510desktop
computer.
Attention:BesuretoreadandunderstandallthesafetyinformationbeforereplacinganyFRUs.
Notes:FRUsthathavea1or2intheCRUcolumnareCustomerReplaceableUnits(CRUs).
•1–identifiespartsthatarefairlysimpletoreplace,requiringfewornotools.
•2–identifiespartsthatareslightlymoredifficulttoreplace.
•N-identifiespartsthatarenottobereplacedbythecustomer.
Table1.AIO510–22ASRFRUlist
FRUP/NDescription
AC_ADAPTER
00PC726AC_ADAPTER,90W,100-240Vac,3P
00PC727AC_ADAPTER,120W,100-240Vac,3P
ANTENNA
00XJ086C4C5antenna
BDPLANAR
00UW342MB,A9,UMA,NO,DPK
00UW343MB,A9,UMA,WIN,DPK
00UW344MB,A6,UMA,NO,DPK
00UW345MB,A6,UMA,WIN,DPK
00UW346MB,E2,UMA,NO,DPK
00UW347MB,E2,UMA,WIN,DPK
00UW348MB,A9,M435,1G,NO,DPK
00UW349MB,A9,M435,1G,WIN,DPK
00UW350MB,A6,M435,1G,NO,DPK
00UW351MB,A6,M435,1G,WIN,DPK
00UW352MB,A9,UMA,HDMIIN,NO,DPK
00UW353MB,A9,UMA,HDMIIN,WIN,DPK
00UW354MB,A6,UMA,HDMIIN,NO,DPK
00UW355MB,A6,UMA,HDMIIN,WIN,DPK
00UW356MB,E2,UMA,HDMIIN,NO,DPK
00UW357MB,E2,UMA,HDMIIN,WIN,DPK
01GJ028MB,E2,M435,1G,NODPK
01GJ029MB,E2,M435,1G,WINDPK
CABLE
31032953GSBLK1.0m3wireCCCpowercord(R)
©CopyrightLenovo201653

Table1.AIO510–22ASRFRUlist(continued)
31033857LWBLK1.0m3wireULCSApowercord(R)
31033858VLBLK1.0m3wireULCSApowercord(R)
31035332LWBLK1.0mVDEpowercord(R)
31035395LWBLK1.0mIndiapowercord(R)
31035396LWBLK1.0mUKpowercord(R)
31035397LWBLK1.0mANZpowercord(R)
31035828LWBLK1.0mBrazilpowercord(R)
31038885LWBLK1.0mTaiwanC5powercord(R)
31039100LWBLK1.0mArgentinaC5powercord(R)
31039101LWBLK1.0mDenmarkC5powercord(R)
31039103LWBLK1.0mSwitzerlandC5powercord(R)
31039104LWBLK1.0mItalyC5powercord(R)
31039105LWBLK1.0mSAC5powercord(R)
31039106LWBLK1.0mKoreaC5powercord(R)
31039107LWBLK1.0mIsraelC5powercord(R)
31045147LX(ASAP)1.0MC5CCCpowercord
31049496Volex1.0MC5UKpowercord
31049497Volex1.0MC5EUpowercord
31049498Volex1.0MC5KORpowercord
31049499Volex1.0MC5TWpowercord
31049500Volex1.0MC5ANZpowercord
31049501Volex1.0MC5SApowercord
31049502Volex1.0MC5ISIpowercord
31049503Volex1.0MC5DENpowercord
31049504Volex1.0MC5ITYpowercord
31049505Volex1.0MC5BRpowercord
31049507Volex1.0MC5LApowercord
31049508Volex1.0MC5SWIpowercord
31049517LX(ASAP)1.0MC5ULpowercord
31049518LX(ASAP)1.0MC5EUpowercord
31049520LX(ASAP)1.0MC5ANZpowercord
00XJ043C4C5HDDSATAcable
00XJ045C4ODDSATAcable
00XJ049C4C5PowerboardFFC
00XJ051C4LVDScable
00XJ053C4C5S5Cameracable
00XJ055C4C5S5MICcable
00XJ056C4C5S5Touchcable
CAMERA
54ideacentreAll-In-One510ComputerHardwareMaintenanceManual

Table1.AIO510–22ASRFRUlist(continued)
01AH324AIO510720PCam
COVER
01EF427RearCoverBlack,nHDMIIn,C4
01EF428RearCoverWhite,nHDMIIn,C4
01EF429RearCoverBlack,HDMIIn,C4
01EF430RearCoverWhite,HDMIIn,C4
DT_KYB
00UW407LiteonSK-88612.4GKB(BR)-BLK
00XH587USBCalliopeKBBKENG
00XH588USBCalliopeKBBKARA
00XH591USB,Calliope,KB,BK,BELENG
00XH593USBCalliopeKBBKBUL
00XH594USBCalliopeKBBKTC/ENG
00XH595USBCalliopeKBBKCZE
00XH598USBCalliopeKBBKFRA
00XH601USBCalliopeKBBKGER
00XH602USBCalliopeKBBKGRE
00XH604USBCalliopeKBBKHBW
00XH605USBCalliopeKBBKHUN
00XH607USBCalliopeKBBKITA
00XH608USBCalliopeKBBKJPN
00XH610USBCalliopeKBBKKOR
00XH611USB,Calliope,KB,BK,LASPA
00XH614USBCalliopeKBBKPOR
00XH616USBCalliopeKBBKRUS
00XH618USBCalliopeKBBKSLK
00XH619USBCalliopeKBBKSPA
00XH621USBCalliopeKBBKSWS
00XH622USBCalliopeKBBKTHAI
00XH624USBCalliopeKBBKTUR
00XH625USBCalliopeKBBKUKE
00XH626USBCalliopeKBBKEUROENG
00XH627USBCalliopeKBBKSLV
00XH630USBCalliopeKBBKINDENG
00XH633USBCalliopeKBBKNORDIC
00XH635USBCalliopeKBBKCANENG/FRA
00XH637USB,Calliope,KB,WH,ENG
00XH638USB,Calliope,KB,WH,ARA
00XH641USB,Calliope,KB,WH,BELENG
Chapter9.FRUlists55

Table1.AIO510–22ASRFRUlist(continued)
00XH643USB,Calliope,KB,WH,BUL
00XH644USB,Calliope,KB,WH,TC/ENG
00XH645USB,Calliope,KB,WH,CZE
00XH648USB,Calliope,KB,WH,FRA
00XH651USB,Calliope,KB,WH,GER
00XH652USB,Calliope,KB,WH,GRE
00XH654USB,Calliope,KB,WH,HBW
00XH655USB,Calliope,KB,WH,HUN
00XH657USB,Calliope,KB,WH,ITA
00XH658USB,Calliope,KB,WH,JPN
00XH660USB,Calliope,KB,WH,KOR
00XH661USBCalliopeKBWHLASPA
00XH664USB,Calliope,KB,WH,POR
00XH666USB,Calliope,KB,WH,RUS
00XH668USB,Calliope,KB,WH,SLK
00XH669USB,Calliope,KB,WH,SPA
00XH671USB,Calliope,KB,WH,SWS
00XH672USB,Calliope,KB,WH,THAI
00XH674USB,Calliope,KB,WH,TUR
00XH675USB,Calliope,KB,WH,UKE
00XH676USB,Calliope,KB,WH,EURO,ENG
00XH677USB,Calliope,KB,WH,SLV
00XH680USB,Calliope,KB,WH,IND,ENG
00XH683USB,Calliope,KB,WH,NORDIC
00XH685USB,Calliope,KB,WH,CAN,ENG/FRA
01AH627Liteon2.4GBlackSK-8861US
01AH628Liteon2.4GBlackSK-8861US-MY
01AH629Liteon2.4GBlackSK-8861TW
01AH630Liteon2.4GBlackSK-8861TH
01AH631Liteon2.4GBlackSK-8861CS-SK
01AH632Liteon2.4GBlackSK-8861US-IN
01AH633Liteon2.4GBlackSK-8861RU
01AH634Liteon2.4GBlackSK-8861GB
01AH635Liteon2.4GBlackSK-8861Nordic
01AH636Liteon2.4GBlackSK-8861LA
01AH637Liteon2.4GBlackSK-8861LA-AR
01AH638Liteon2.4GBlackSK-8861SA
01AH639Liteon2.4GBlackSK-8861CH
01AH640Liteon2.4GBlackSK-8861DE
56ideacentreAll-In-One510ComputerHardwareMaintenanceManual

Table1.AIO510–22ASRFRUlist(continued)
01AH641Liteon2.4GBlackSK-8861TR
01AH642Liteon2.4GBlackSK-8861ES
01AH643Liteon2.4GBlackSK-8861SL
01AH644Liteon2.4GBlackSK-8861IT
01AH645Liteon2.4GBlackSK-8861IL
01AH646Liteon2.4GBlackSK-8861FR
01AH647Liteon2.4GBlackSK-8861GR
01AH648Liteon2.4GBlackSK-8861HU
01AH649Liteon2.4GBlackSK-8861BG
01AH650Liteon2.4GBlackSK-8861KR
01AH651Liteon2.4GBlackSK-8861JP
01AH652Liteon2.4GBlackSK-8861EN-FR
01AH653Liteon2.4GBlackSK-8861PT
01AH654Liteon2.4GBlackSK-8861BE-EN
01AH655Liteon2.4GBlackSK-8861US-EU
FAN
00XD821SysfanforQT90x15mm
HDD_ASM
00PC550HDD,500G,7200,DT3,SATA3,STD
00PC551HDD,1TB,7200,DT3,SATA3,STD
45K0623HDD,1TB,7200,DT3,SATA3,STD
45K0629HDD,500G,7200,DT3,SATA3,STD
HEATSINK
01EF355FRUUMAThermalModule
01EF356FRUDISThermalModule
KYB_MOUSE
25210987LiteonSK-8861(US)2.4GKB-White8
25210988LiteonSK-8861(US-MY)2.4GKB-White8
25210989LiteonSK-8861(TW)2.4GKB-White8
25210990LiteonSK-8861(TH)2.4GKB-White8
25210991LiteonSK-8861(CS-SK)2.4GKB-White8
25210992LiteonSK-8861(US-IN)2.4GKB-White8
25210993LiteonSK-8861(RU)2.4GKB-White8
25210994LiteonSK-8861(GB)2.4GKB-White8
25210995LiteonSK-8861(Nordic)2.4GKB-White8
25210996LiteonSK-8861(LA)2.4GKB-White8
25210997LiteonSK-8861(LA-AR)2.4GKB-White8
25210998LiteonSK-8861(SA)2.4GKB-White8
25210999LiteonSK-8861(CH)2.4GKB-White8
Chapter9.FRUlists57

Table1.AIO510–22ASRFRUlist(continued)
25211000LiteonSK-8861(DE)2.4GKB-White8
25211001LiteonSK-8861(TR)2.4GKB-White8
25211002LiteonSK-8861(ES)2.4GKB-White8
25211003LiteonSK-8861(SL)2.4GKB-White8
25211004LiteonSK-8861(IT)2.4GKB-White8
25211005LiteonSK-8861(IL)2.4GKB-White8
25211006LiteonSK-8861(FR)2.4GKB-White8
25211007LiteonSK-8861(GR)2.4GKB-White8
25211008LiteonSK-8861(HU)2.4GKB-White8
25211009LiteonSK-8861(BG)2.4GKB-White8
25211010LiteonSK-8861(KR)2.4GKB-White8
25211011LiteonSK-8861(JP)2.4GKB-White8
25211012LiteonSK-8861(EN-FR)2.4GKB-White8
25211013LiteonSK-8861(PT)2.4GKB-White8
25211014LiteonSK-8861(BE-EN)2.4GKB-White8
25211015LiteonSK-8861(US-EU)2.4GKB-White8
25211016LiteonSM-8861(WW)2.4GMouseWhite
25211017LiteonSM-88612.4GMouse(NoBattery)WTE
LINECORD
31503352LX(ASAP)1.0MC5UKpowercord
31503353LX(ASAP)1.0MC5Indiapowercord
31503354LX(ASAP)1.0MC5Taiwanpowercord
31503355LX(ASAP)1.0MC5SouthAfricapowercord
31503356LX(ASAP)1.0MC5Argentinapowercord
31503357LX(ASAP)1.0MC5Brazilpowercord
31503358LX(ASAP)1.0MC5Koreapowercord
31503359LX(ASAP)1.0MC5Italypowercord
31503360LX(ASAP)1.0MC5Danmarkpowercord
31503361LX(ASAP)1.0MC5Switzerlandpowercord
31503362LX(ASAP)1.0MC5Israelpowercord
31503423Longwell1.0MC52pinJapanpowercord
31503424Volex1.0MC52pinJapanpowercord
31503425LS1.0MC52pinJapanpowercord
00XL002Fru,JP ,Anti- TR,1M,2P ,NON-LH
00XL003Fru,JP ,Anti- TR,1M,2P ,NON-LH
00XL051Fru,US/CA,1M,3P ,NON-LH
00XL052Fru,US/CA,1M,3P ,NON-LH
00XL053Fru,US/CA,1M,3P ,NON-LH
00XL057Fru,LINECORD,AR,1M,3P ,NON-LH
58ideacentreAll-In-One510ComputerHardwareMaintenanceManual

Table1.AIO510–22ASRFRUlist(continued)
00XL058Fru,LINECORD,AR,1M,3P ,NON-LH
00XL059Fru,LINECORD,AR,1M,3P ,NON-LH
00XL060Fru,LINECORD,BR,1M,3P ,NON-LH
00XL061Fru,LINECORD,BR,1M,3P ,NON-LH
00XL062Fru,LINECORD,BR,1M,3P ,NON-LH
00XL063Fru,EU/KR,1M,3P ,NON-LH
00XL064Fru,EU/KR,1M,3P ,NON-LH
00XL065Fru,EU/KR,1M,3P ,NON-LH
00XL066Fru,LINECORD,DK,1M,3P ,NON-LH
00XL067Fru,LINECORD,DK,1M,3P ,NON-LH
00XL068Fru,LINECORD,DK,1M,3P ,NON-LH
00XL069Fru,LINECORD,CH,1M,3P ,NON-LH
00XL070Fru,LINECORD,CH,1M,3P ,NON-LH
00XL071Fru,LINECORD,CH,1M,3P ,NON-LH
00XL072Fru,LINECORD,IT ,1M,3P ,NON-LH
00XL073Fru,LINECORD,IT ,1M,3P ,NON-LH
00XL074Fru,LINECORD,IT ,1M,3P ,NON-LH
00XL075Fru,LINECORD,GB,1M,3P ,NON-LH
00XL076Fru,LINECORD,GB,1M,3P ,NON-LH
00XL077Fru,LINECORD,GB,1M,3P ,NON-LH
00XL078Fru,LINECORD,AU,1M,3P ,NON-LH
00XL079Fru,LINECORD,AU,1M,3P ,NON-LH
00XL080Fru,LINECORD,AU,1M,3P ,NON-LH
00XL081Fru,LINECORD,ZA,1M,3P ,NON-LH
00XL082Fru,LINECORD,ZA,1M,3P ,NON-LH
00XL083Fru,LINECORD,ZA,1M,3P ,NON-LH
00XL084Fru,LINECORD,IL,1M,3P ,NON-LH
00XL085Fru,LINECORD,IL,1M,3P ,NON-LH
00XL086Fru,LINECORD,IL,1M,3P ,NON-LH
00XL089Fru,LINECORD,CN,1M,3P ,NON-LH
00XL090Fru,LINECORD,CN,1M,3P ,NON-LH
00XL091Fru,LINECORD,TW,1M,3P ,NON-LH
00XL092Fru,LINECORD,TW,1M,3P ,NON-LH
00XL093Fru,LINECORD,TW,1M,3P ,NON-LH
00XL094Fru,LINECORD,IN,1M,3P ,NON-LH
00XL096Fru,LINECORD,IN,1M,3P ,NON-LH
00XL097Fru,LINECORD,TH,1M,3P ,NON-LH
5L60J33143lux0014+H03VV-F0.75/3C+0011
MECH_ASM
Chapter9.FRUlists59

Table1.AIO510–22ASRFRUlist(continued)
01EF402GTStandlightsilverC4/5
01EF403GTStanddeepsilverC4/5
01EF404StronkinStandlightsilver
01EF405StronkinStanddeepsilver
01EF415HDDCAGE
01EF416ASSYShieldingforHDD
01EF417ASSYFrameforMB_ASR
01EF418MBSHIELDING,W/HDMI
01EF431ASSYMidCover,Black,C4ASR
01EF432ASSYMidCover,White,C4ASR
01EF435ASSYPanelhousing_ASR,white
01EF436ASSYPanelhousing_ASR,black
01EF439ODDBezelBlack,C4
01EF440ODDBezelWhite,C4
01AG958DisplayLGDLM215WF9-SSA1NT
00XL297C421.5"Non-AITBLcable
01AG959DisplayBOEMV215FHM-N40NT
00XL297C421.5"Non-AITBLcable
01AG960DisplayLGDLM215WFA-SSA1Touch
00XL296C421.5"LGAITBLcable
00XJ056C4C5S5Touchcable
01AG955FRUPanelLGDLM230WF9-SSA2NT
00XL300C5S523"Non-AITBLcable
01AG956FRUPanelBOEMV230FHM-N20NT
00XL300C5S523"Non-AITBLcable
01AG957DisplayLGDLM230WF7-SSB1Touch
00XL299C5S523"LGAITBLcable
00XJ056C4C5S5Touchcable
01EF444FRONTCOVER,NON-CAMBlackC4
01EF445FRONTCOVER,NON-CAMWHITEC4
01EF446FRONTCOVER,W/CAMBlackC4
01EF447FRONTCOVER,W/CAMWHITEC4
01EF471DUMMYODDBezelBlack,C4
01EF472DUMMYODDBezelWhite,C4
01EF473MBSHIELDING,WO/HDMI
MECHANICAL
01EF422Rubber,Forspeakerlock
01EF448Cover,SideIOCover,White
01EF449Cover,SideIOCover,Black
60ideacentreAll-In-One510ComputerHardwareMaintenanceManual

Table1.AIO510–22ASRFRUlist(continued)
01EF450SPONGE,ForFronthousing,C4
01EF457Bracket,Forkensintonlock
01EF458Bracket,Forcameramodule
01EF459Bracket,ForPanel,C5
01EF469Bracket,ForWIFIAntennaKit
01EF537BracketLatch,ForODD
MEMORY
01AG7002GBDDR42400SoDIMM
01AG7014GBDDR42400SoDIMM
01AG7042GBDDR42400SoDIMM
01AG7052GBDDR42400SoDIMM
01AG7062GBDDR42400SoDIMM
01AG7074GBDDR42400SoDIMM
01AG7084GBDDR42400SoDIMM
01AG7094GBDDR42400SoDIMM
01AG7108GBDDR42400SoDIMM
01AG7118GBDDR42400SoDIMM
01AG7128GBDDR42400SoDIMM
MICROPHONE
01AH402AIO510Microphone
MOUSE
00PH131USBCalliopeMouseBlack(Orangewh
00PH132USB,Calliope,Mouse,White
00UW408LiteonSM-8861(WW)MouseBlack
01AH700LiteonSM-8861(WW)MouseBlack
OPT_DRIVE
00FC442SMD,DT,SATA,9.5mm,x8,w/obezel
SPEAKERINT
01AH925AIO510speaker
WIRELESS
00JT482Wireless,CMB,CBT,8821AE
01AX709Wireless,CMB,LTN,NFA435A
Table2.AIO510–22ISHFRUlist
FRUP/NDescription
AC_ADAPTER
00PC727AC_ADAPTER,120W,100-240Vac,3P
ANTENNA
00XJ086C4C5antenna
Chapter9.FRUlists61

Table2.AIO510–22ISHFRUlist(continued)
BDPLANAR
00UW358MBUMANODPK
00UW359MBUMAWINDPK
00UW360MBM4351GNODPK
00UW361MBM4351GWINDPK
00UW362MBM4352GNODPK
00UW363MBM4352GWINDPK
00UW364MB,UMA,HDMIIN,NODPK
00UW365MB,UMA,HDMIIN,WINDPK
CABLE
31032953GSBLK1.0m3wireCCCpowercord(R)
31033857LWBLK1.0m3wireULCSApowercord(R)
31033858VLBLK1.0m3wireULCSApowercord(R)
31035332LWBLK1.0mVDEpowercord(R)
31035395LWBLK1.0mIndiapowercord(R)
31035396LWBLK1.0mUKpowercord(R)
31035397LWBLK1.0mANZpowercord(R)
31035828LWBLK1.0mBrazilpowercord(R)
31038885LWBLK1.0mTaiwanC5powercord(R)
31039100LWBLK1.0mArgentinaC5powercord(R)
31039101LWBLK1.0mDenmarkC5powercord(R)
31039103LWBLK1.0mSwitzerlandC5powercord(R)
31039104LWBLK1.0mItalyC5powercord(R)
31039105LWBLK1.0mSAC5powercord(R)
31039106LWBLK1.0mKoreaC5powercord(R)
31039107LWBLK1.0mIsraelC5powercord(R)
31045147LX(ASAP)1.0MC5CCCpowercord
31049496Volex1.0MC5UKpowercord
31049497Volex1.0MC5EUpowercord
31049498Volex1.0MC5KORpowercord
31049499Volex1.0MC5TWpowercord
31049500Volex1.0MC5ANZpowercord
31049501Volex1.0MC5SApowercord
31049502Volex1.0MC5ISIpowercord
31049503Volex1.0MC5DENpowercord
31049504Volex1.0MC5ITYpowercord
31049505Volex1.0MC5BRpowercord
31049507Volex1.0MC5LApowercord
31049508Volex1.0MC5SWIpowercord
62ideacentreAll-In-One510ComputerHardwareMaintenanceManual

Table2.AIO510–22ISHFRUlist(continued)
31049517LX(ASAP)1.0MC5ULpowercord
31049518LX(ASAP)1.0MC5EUpowercord
31049520LX(ASAP)1.0MC5ANZpowercord
00XJ043C4C5HDDSATAcable
00XJ045C4ODDSATAcable
00XJ049C4C5PowerboardFFC
00XJ051C4LVDScable
00XJ053C4C5S5Cameracable
00XJ055C4C5S5MICcable
00XJ056C4C5S5Touchcable
CAMERA
01AH324AIO510720PCam
COVER
01EF427RearCoverBlack,nHDMIIn,C4
01EF428RearCoverWhite,nHDMIIn,C4
01EF429RearCoverBlack,HDMIIn,C4
01EF430RearCoverWhite,HDMIIn,C4
DT_KYB
00UW407LiteonSK-88612.4GKB(BR)-BLK
00XH587USBCalliopeKBBKENG
00XH588USBCalliopeKBBKARA
00XH591USB,Calliope,KB,BK,BELENG
00XH593USBCalliopeKBBKBUL
00XH594USBCalliopeKBBKTC/ENG
00XH595USBCalliopeKBBKCZE
00XH598USBCalliopeKBBKFRA
00XH601USBCalliopeKBBKGER
00XH602USBCalliopeKBBKGRE
00XH604USBCalliopeKBBKHBW
00XH605USBCalliopeKBBKHUN
00XH607USBCalliopeKBBKITA
00XH608USBCalliopeKBBKJPN
00XH610USBCalliopeKBBKKOR
00XH611USB,Calliope,KB,BK,LASPA
00XH614USBCalliopeKBBKPOR
00XH616USBCalliopeKBBKRUS
00XH618USBCalliopeKBBKSLK
00XH619USBCalliopeKBBKSPA
00XH621USBCalliopeKBBKSWS
Chapter9.FRUlists63

Table2.AIO510–22ISHFRUlist(continued)
00XH622USBCalliopeKBBKTHAI
00XH624USBCalliopeKBBKTUR
00XH625USBCalliopeKBBKUKE
00XH626USBCalliopeKBBKEUROENG
00XH627USBCalliopeKBBKSLV
00XH630USBCalliopeKBBKINDENG
00XH633USBCalliopeKBBKNORDIC
00XH635USBCalliopeKBBKCANENG/FRA
00XH637USB,Calliope,KB,WH,ENG
00XH638USB,Calliope,KB,WH,ARA
00XH641USB,Calliope,KB,WH,BELENG
00XH643USB,Calliope,KB,WH,BUL
00XH644USB,Calliope,KB,WH,TC/ENG
00XH645USB,Calliope,KB,WH,CZE
00XH648USB,Calliope,KB,WH,FRA
00XH651USB,Calliope,KB,WH,GER
00XH652USB,Calliope,KB,WH,GRE
00XH654USB,Calliope,KB,WH,HBW
00XH655USB,Calliope,KB,WH,HUN
00XH657USB,Calliope,KB,WH,ITA
00XH658USB,Calliope,KB,WH,JPN
00XH660USB,Calliope,KB,WH,KOR
00XH661USBCalliopeKBWHLASPA
00XH664USB,Calliope,KB,WH,POR
00XH666USB,Calliope,KB,WH,RUS
00XH668USB,Calliope,KB,WH,SLK
00XH669USB,Calliope,KB,WH,SPA
00XH671USB,Calliope,KB,WH,SWS
00XH672USB,Calliope,KB,WH,THAI
00XH674USB,Calliope,KB,WH,TUR
00XH675USB,Calliope,KB,WH,UKE
00XH676USB,Calliope,KB,WH,EURO,ENG
00XH677USB,Calliope,KB,WH,SLV
00XH680USB,Calliope,KB,WH,IND,ENG
00XH683USB,Calliope,KB,WH,NORDIC
00XH685USB,Calliope,KB,WH,CAN,ENG/FRA
01AH627Liteon2.4GBlackSK-8861US
01AH628Liteon2.4GBlackSK-8861US-MY
01AH629Liteon2.4GBlackSK-8861TW
64ideacentreAll-In-One510ComputerHardwareMaintenanceManual

Table2.AIO510–22ISHFRUlist(continued)
01AH630Liteon2.4GBlackSK-8861TH
01AH631Liteon2.4GBlackSK-8861CS-SK
01AH632Liteon2.4GBlackSK-8861US-IN
01AH633Liteon2.4GBlackSK-8861RU
01AH634Liteon2.4GBlackSK-8861GB
01AH635Liteon2.4GBlackSK-8861Nordic
01AH636Liteon2.4GBlackSK-8861LA
01AH637Liteon2.4GBlackSK-8861LA-AR
01AH638Liteon2.4GBlackSK-8861SA
01AH639Liteon2.4GBlackSK-8861CH
01AH640Liteon2.4GBlackSK-8861DE
01AH641Liteon2.4GBlackSK-8861TR
01AH642Liteon2.4GBlackSK-8861ES
01AH643Liteon2.4GBlackSK-8861SL
01AH644Liteon2.4GBlackSK-8861IT
01AH645Liteon2.4GBlackSK-8861IL
01AH646Liteon2.4GBlackSK-8861FR
01AH647Liteon2.4GBlackSK-8861GR
01AH648Liteon2.4GBlackSK-8861HU
01AH649Liteon2.4GBlackSK-8861BG
01AH650Liteon2.4GBlackSK-8861KR
01AH651Liteon2.4GBlackSK-8861JP
01AH652Liteon2.4GBlackSK-8861EN-FR
01AH653Liteon2.4GBlackSK-8861PT
01AH654Liteon2.4GBlackSK-8861BE-EN
01AH655Liteon2.4GBlackSK-8861US-EU
FAN
00XD814SysfanforMutuo_P9110x15mm
HDD_ASM
00PC550HDD,500G,7200,DT3,SATA3,STD
00PC551HDD,1TB,7200,DT3,SATA3,STD
45K0623HDD,1TB,7200,DT3,SATA3,STD
45K0629HDD,500G,7200,DT3,SATA3,STD
HEATSINK
01EF353UMAThermalModule
01EF354DISThermalModule
KYB_MOUSE
25210987LiteonSK-8861(US)2.4GKB-White8
25210988LiteonSK-8861(US-MY)2.4GKB-White8
Chapter9.FRUlists65

Table2.AIO510–22ISHFRUlist(continued)
25210989LiteonSK-8861(TW)2.4GKB-White8
25210990LiteonSK-8861(TH)2.4GKB-White8
25210991LiteonSK-8861(CS-SK)2.4GKB-White8
25210992LiteonSK-8861(US-IN)2.4GKB-White8
25210993LiteonSK-8861(RU)2.4GKB-White8
25210994LiteonSK-8861(GB)2.4GKB-White8
25210995LiteonSK-8861(Nordic)2.4GKB-White8
25210996LiteonSK-8861(LA)2.4GKB-White8
25210997LiteonSK-8861(LA-AR)2.4GKB-White8
25210998LiteonSK-8861(SA)2.4GKB-White8
25210999LiteonSK-8861(CH)2.4GKB-White8
25211000LiteonSK-8861(DE)2.4GKB-White8
25211001LiteonSK-8861(TR)2.4GKB-White8
25211002LiteonSK-8861(ES)2.4GKB-White8
25211003LiteonSK-8861(SL)2.4GKB-White8
25211004LiteonSK-8861(IT)2.4GKB-White8
25211005LiteonSK-8861(IL)2.4GKB-White8
25211006LiteonSK-8861(FR)2.4GKB-White8
25211007LiteonSK-8861(GR)2.4GKB-White8
25211008LiteonSK-8861(HU)2.4GKB-White8
25211009LiteonSK-8861(BG)2.4GKB-White8
25211010LiteonSK-8861(KR)2.4GKB-White8
25211011LiteonSK-8861(JP)2.4GKB-White8
25211012LiteonSK-8861(EN-FR)2.4GKB-White8
25211013LiteonSK-8861(PT)2.4GKB-White8
25211014LiteonSK-8861(BE-EN)2.4GKB-White8
25211015LiteonSK-8861(US-EU)2.4GKB-White8
25211016LiteonSM-8861(WW)2.4GMouseWhite
25211017LiteonSM-88612.4GMouse(NoBattery)WTE
25211018LiteonSM-88612.4GMouse(MY)White
25211019LiteonSM-88612.4GMouse(JP)White
LINECORD
31503352LX(ASAP)1.0MC5UKpowercord
31503353LX(ASAP)1.0MC5Indiapowercord
31503354LX(ASAP)1.0MC5Taiwanpowercord
31503355LX(ASAP)1.0MC5SouthAfricapowercord
31503356LX(ASAP)1.0MC5Argentinapowercord
31503357LX(ASAP)1.0MC5Brazilpowercord
31503358LX(ASAP)1.0MC5Koreapowercord
66ideacentreAll-In-One510ComputerHardwareMaintenanceManual

Table2.AIO510–22ISHFRUlist(continued)
31503359LX(ASAP)1.0MC5Italypowercord
31503360LX(ASAP)1.0MC5Danmarkpowercord
31503361LX(ASAP)1.0MC5Switzerlandpowercord
31503362LX(ASAP)1.0MC5Israelpowercord
31503423Longwell1.0MC52pinJapanpowercord
31503424Volex1.0MC52pinJapanpowercord
31503425LS1.0MC52pinJapanpowercord
00XL002Fru,JP ,Anti- TR,1M,2P ,NON-LH
00XL003Fru,JP ,Anti- TR,1M,2P ,NON-LH
00XL051Fru,US/CA,1M,3P ,NON-LH
00XL052Fru,US/CA,1M,3P ,NON-LH
00XL053Fru,US/CA,1M,3P ,NON-LH
00XL057Fru,LINECORD,AR,1M,3P ,NON-LH
00XL058Fru,LINECORD,AR,1M,3P ,NON-LH
00XL059Fru,LINECORD,AR,1M,3P ,NON-LH
00XL060Fru,LINECORD,BR,1M,3P ,NON-LH
00XL061Fru,LINECORD,BR,1M,3P ,NON-LH
00XL062Fru,LINECORD,BR,1M,3P ,NON-LH
00XL063Fru,EU/KR,1M,3P ,NON-LH
00XL064Fru,EU/KR,1M,3P ,NON-LH
00XL065Fru,EU/KR,1M,3P ,NON-LH
00XL066Fru,LINECORD,DK,1M,3P ,NON-LH
00XL067Fru,LINECORD,DK,1M,3P ,NON-LH
00XL068Fru,LINECORD,DK,1M,3P ,NON-LH
00XL069Fru,LINECORD,CH,1M,3P ,NON-LH
00XL070Fru,LINECORD,CH,1M,3P ,NON-LH
00XL071Fru,LINECORD,CH,1M,3P ,NON-LH
00XL072Fru,LINECORD,IT,1M,3P ,NON-LH
00XL073Fru,LINECORD,IT,1M,3P ,NON-LH
00XL074Fru,LINECORD,IT,1M,3P ,NON-LH
00XL075Fru,LINECORD,GB,1M,3P ,NON-LH
00XL076Fru,LINECORD,GB,1M,3P ,NON-LH
00XL077Fru,LINECORD,GB,1M,3P ,NON-LH
00XL078Fru,LINECORD,AU,1M,3P ,NON-LH
00XL079Fru,LINECORD,AU,1M,3P ,NON-LH
00XL080Fru,LINECORD,AU,1M,3P ,NON-LH
00XL081Fru,LINECORD,ZA,1M,3P ,NON-LH
00XL082Fru,LINECORD,ZA,1M,3P ,NON-LH
00XL083Fru,LINECORD,ZA,1M,3P ,NON-LH
Chapter9.FRUlists67

Table2.AIO510–22ISHFRUlist(continued)
00XL084Fru,LINECORD,IL,1M,3P ,NON-LH
00XL085Fru,LINECORD,IL,1M,3P ,NON-LH
00XL086Fru,LINECORD,IL,1M,3P ,NON-LH
00XL089Fru,LINECORD,CN,1M,3P ,NON-LH
00XL090Fru,LINECORD,CN,1M,3P ,NON-LH
00XL091Fru,LINECORD,TW,1M,3P ,NON-LH
00XL092Fru,LINECORD,TW,1M,3P ,NON-LH
00XL093Fru,LINECORD,TW,1M,3P ,NON-LH
00XL094Fru,LINECORD,IN,1M,3P ,NON-LH
00XL096Fru,LINECORD,IN,1M,3P ,NON-LH
00XL097Fru,LINECORD,TH,1M,3P ,NON-LH
5L60J33143lux0014+H03VV-F0.75/3C+0011
MECH_ASM
01EF402GTStandlightsilverC4/5
01EF403GTStanddeepsilverC4/5
01EF404StronkinStandlightsilver
01EF405StronkinStanddeepsilver
01EF415HDDCAGE
01EF416ASSYShieldingforHDD
01EF418MBSHIELDING,W/HDMI
01EF433ASSYMidCover,Black,C4ISH
01EF434ASSYMidCover,White,C4ISH
01EF437ASSYPanelhousing_ISH,white
01EF438ASSYPanelhousing_ISH,black
01EF439ODDBezelBlack,C4
01EF440ODDBezelWhite,C4
01AG958DisplayLGDLM215WF9-SSA1NT
00XL297C421.5"Non-AITBLcable
01AG959DisplayBOEMV215FHM-N40NT
00XL297C421.5"Non-AITBLcable
01AG960DisplayLGDLM215WFA-SSA1Touch
00XL296C421.5"LGAITBLcable
00XJ056C4C5S5Touchcable
01AG955FRUPanelLGDLM230WF9-SSA2NT
00XL300C5S523"Non-AITBLcable
01AG956FRUPanelBOEMV230FHM-N20NT
00XL300C5S523"Non-AITBLcable
01AG957DisplayLGDLM230WF7-SSB1Touch
00XL299C5S523"LGAITBLcable
68ideacentreAll-In-One510ComputerHardwareMaintenanceManual

Table2.AIO510–22ISHFRUlist(continued)
00XJ056C4C5S5Touchcable
01EF444FRONTCOVER,NON-CAMBlackC4
01EF445FRONTCOVER,NON-CAMWHITEC4
01EF446FRONTCOVER,W/CAMBlackC4
01EF447FRONTCOVER,W/CAMWHITEC4
01EF464ASSYFrameforMB_ISH
01EF471DUMMYODDBezelBlack,C4
01EF472DUMMYODDBezelWhite,C4
01EF473MBSHIELDING,WO/HDMI
MECHANICAL
01EF422Rubber,Forspeakerlock
01EF448Cover,SideIOCover,White
01EF449Cover,SideIOCover,Black
01EF450SPONGE,ForFronthousing,C4
01EF457Bracket,Forkensintonlock
01EF458Bracket,Forcameramodule
01EF459Bracket,ForPanel,C5
01EF469Bracket,ForWIFIAntennaKit
01EF537BracketLatch,ForODD
MEMORY
01AG7002GBDDR42400SoDIMM
01AG7014GBDDR42400SoDIMM
01AG7042GBDDR42400SoDIMM
01AG7052GBDDR42400SoDIMM
01AG7062GBDDR42400SoDIMM
01AG7074GBDDR42400SoDIMM
01AG7084GBDDR42400SoDIMM
01AG7094GBDDR42400SoDIMM
01AG7108GBDDR42400SoDIMM
01AG7118GBDDR42400SoDIMM
01AG7128GBDDR42400SoDIMM
MICROPHONE
01AH402AIO510Microphone
MOUSE
00PH131USBCalliopeMouseBlack(Orangewh
00PH132USB,Calliope,Mouse,White
00UW408LiteonSM-8861(WW)MouseBlack
01AH700LiteonSM-8861(WW)MouseBlack
01AH701LiteonSM-8861Mouse(MY)Black
Chapter9.FRUlists69

Table2.AIO510–22ISHFRUlist(continued)
01AH702LiteonSM-8861(JP)Mouse-Black
OPT_DRIVE
00FC442SMD,DT,SATA,9.5mm,x8,w/obezel
SP
00XG111IntelCorei3-6100T3.2GHz35W
00XG113IntelCeleronG3900T2.6GHz35W
00XG114IntelPentiumG4400T2.9GHz35W
01AG005II5-6400T2.2GHz/4C/6M35W
01AG047II5-6400T2.2GHz/4C/6M35W
SPEAKERINT
01AH925AIO510speaker
SSD_ASM
00JT086128G,M.2,2280,SATA6G,LTON,STD
00UP420128G,M.2,2280,SATA6G,SAMSG,STD
WIRELESS
00JT482Wireless,CMB,CBT,8821AE
00JT497Wireless,CMB,IN,3165ac
Table3.AIO510–23ASRFRUlist
FRUP/NDescription
AC_ADAPTER
00PC726AC_ADAPTER,90W,100-240Vac,3P
00PC727AC_ADAPTER,120W,100-240Vac,3P
ANTENNA
00XJ086C4C5antenna
BDPLANAR
00UW366MBAMDA9-941UMANODPK
00UW367MBAMDA9-941UMAWINDPK
00UW368MBAMDA6-921UMANODPK
00UW369MBAMDA6-921UMAWINDPK
00UW370MBAMDE2-901UMANODPK
00UW371MBAMDE2-901UMAWINDPK
00UW372MBAMDA9-941M4352GNODPK
00UW373MBAMDA9-941M4352GWINDPK
00UW374MBAMDA6-921M4352GNODPK
00UW375MBAMDA6-921M4352GWINDPK
CABLE
31032953GSBLK1.0m3wireCCCpowercord(R)
31033857LWBLK1.0m3wireULCSApowercord(R)
70ideacentreAll-In-One510ComputerHardwareMaintenanceManual

Table3.AIO510–23ASRFRUlist(continued)
31033858VLBLK1.0m3wireULCSApowercord(R)
31035332LWBLK1.0mVDEpowercord(R)
31035395LWBLK1.0mIndiapowercord(R)
31035396LWBLK1.0mUKpowercord(R)
31035397LWBLK1.0mANZpowercord(R)
31035828LWBLK1.0mBrazilpowercord(R)
31038885LWBLK1.0mTaiwanC5powercord(R)
31039100LWBLK1.0mArgentinaC5powercord(R)
31039101LWBLK1.0mDenmarkC5powercord(R)
31039103LWBLK1.0mSwitzerlandC5powercord(R)
31039104LWBLK1.0mItalyC5powercord(R)
31039105LWBLK1.0mSAC5powercord(R)
31039106LWBLK1.0mKoreaC5powercord(R)
31039107LWBLK1.0mIsraelC5powercord(R)
31045147LX(ASAP)1.0MC5CCCpowercord
31049496Volex1.0MC5UKpowercord
31049497Volex1.0MC5EUpowercord
31049498Volex1.0MC5KORpowercord
31049499Volex1.0MC5TWpowercord
31049500Volex1.0MC5ANZpowercord
31049501Volex1.0MC5SApowercord
31049502Volex1.0MC5ISIpowercord
31049503Volex1.0MC5DENpowercord
31049504Volex1.0MC5ITYpowercord
31049505Volex1.0MC5BRpowercord
31049507Volex1.0MC5LApowercord
31049508Volex1.0MC5SWIpowercord
31049517LX(ASAP)1.0MC5ULpowercord
31049518LX(ASAP)1.0MC5EUpowercord
31049520LX(ASAP)1.0MC5ANZpowercord
00XJ043C4C5HDDSATAcable
00XJ046C5ODDSATAcable
00XJ049C4C5PowerboardFFC
00XJ052C5S5LVDScable
00XJ053C4C5S5Cameracable
00XJ055C4C5S5MICcable
00XJ056C4C5S5Touchcable
DT_KYB
00UW407LiteonSK-88612.4GKB(BR)-BLK
Chapter9.FRUlists71

Table3.AIO510–23ASRFRUlist(continued)
00XH587USBCalliopeKBBKENG
00XH588USBCalliopeKBBKARA
00XH591USB,Calliope,KB,BK,BELENG
00XH593USBCalliopeKBBKBUL
00XH594USBCalliopeKBBKTC/ENG
00XH595USBCalliopeKBBKCZE
00XH598USBCalliopeKBBKFRA
00XH601USBCalliopeKBBKGER
00XH602USBCalliopeKBBKGRE
00XH604USBCalliopeKBBKHBW
00XH605USBCalliopeKBBKHUN
00XH607USBCalliopeKBBKITA
00XH608USBCalliopeKBBKJPN
00XH610USBCalliopeKBBKKOR
00XH611USB,Calliope,KB,BK,LASPA
00XH614USBCalliopeKBBKPOR
00XH616USBCalliopeKBBKRUS
00XH618USBCalliopeKBBKSLK
00XH619USBCalliopeKBBKSPA
00XH621USBCalliopeKBBKSWS
00XH622USBCalliopeKBBKTHAI
00XH624USBCalliopeKBBKTUR
00XH625USBCalliopeKBBKUKE
00XH626USBCalliopeKBBKEUROENG
00XH627USBCalliopeKBBKSLV
00XH630USBCalliopeKBBKINDENG
00XH633USBCalliopeKBBKNORDIC
00XH635USBCalliopeKBBKCANENG/FRA
00XH637USB,Calliope,KB,WH,ENG
00XH638USB,Calliope,KB,WH,ARA
00XH641USB,Calliope,KB,WH,BELENG
00XH643USB,Calliope,KB,WH,BUL
00XH644USB,Calliope,KB,WH,TC/ENG
00XH645USB,Calliope,KB,WH,CZE
00XH648USB,Calliope,KB,WH,FRA
00XH651USB,Calliope,KB,WH,GER
00XH652USB,Calliope,KB,WH,GRE
00XH654USB,Calliope,KB,WH,HBW
00XH655USB,Calliope,KB,WH,HUN
72ideacentreAll-In-One510ComputerHardwareMaintenanceManual

Table3.AIO510–23ASRFRUlist(continued)
00XH657USB,Calliope,KB,WH,ITA
00XH658USB,Calliope,KB,WH,JPN
00XH660USB,Calliope,KB,WH,KOR
00XH661USBCalliopeKBWHLASPA
00XH664USB,Calliope,KB,WH,POR
00XH666USB,Calliope,KB,WH,RUS
00XH668USB,Calliope,KB,WH,SLK
00XH669USB,Calliope,KB,WH,SPA
00XH671USB,Calliope,KB,WH,SWS
00XH672USB,Calliope,KB,WH,THAI
00XH674USB,Calliope,KB,WH,TUR
00XH675USB,Calliope,KB,WH,UKE
00XH676USB,Calliope,KB,WH,EURO,ENG
00XH677USB,Calliope,KB,WH,SLV
00XH680USB,Calliope,KB,WH,IND,ENG
00XH683USB,Calliope,KB,WH,NORDIC
00XH685USB,Calliope,KB,WH,CAN,ENG/FRA
01AH627Liteon2.4GBlackSK-8861US
01AH628Liteon2.4GBlackSK-8861US-MY
01AH629Liteon2.4GBlackSK-8861TW
01AH630Liteon2.4GBlackSK-8861TH
01AH631Liteon2.4GBlackSK-8861CS-SK
01AH632Liteon2.4GBlackSK-8861US-IN
01AH633Liteon2.4GBlackSK-8861RU
01AH634Liteon2.4GBlackSK-8861GB
01AH635Liteon2.4GBlackSK-8861Nordic
01AH636Liteon2.4GBlackSK-8861LA
01AH637Liteon2.4GBlackSK-8861LA-AR
01AH638Liteon2.4GBlackSK-8861SA
01AH639Liteon2.4GBlackSK-8861CH
01AH640Liteon2.4GBlackSK-8861DE
01AH641Liteon2.4GBlackSK-8861TR
01AH642Liteon2.4GBlackSK-8861ES
01AH643Liteon2.4GBlackSK-8861SL
01AH644Liteon2.4GBlackSK-8861IT
01AH645Liteon2.4GBlackSK-8861IL
01AH646Liteon2.4GBlackSK-8861FR
01AH647Liteon2.4GBlackSK-8861GR
01AH648Liteon2.4GBlackSK-8861HU
Chapter9.FRUlists73

Table3.AIO510–23ASRFRUlist(continued)
01AH649Liteon2.4GBlackSK-8861BG
01AH650Liteon2.4GBlackSK-8861KR
01AH651Liteon2.4GBlackSK-8861JP
01AH652Liteon2.4GBlackSK-8861EN-FR
01AH653Liteon2.4GBlackSK-8861PT
01AH654Liteon2.4GBlackSK-8861BE-EN
01AH655Liteon2.4GBlackSK-8861US-EU
FAN
00XD821SysfanforQT90x15mm
HDD_ASM
00PC550HDD,500G,7200,DT3,SATA3,STD
00PC551HDD,1TB,7200,DT3,SATA3,STD
00PC552HDD,2TB,7200,DT3,SATA3,STD
45K0623HDD,1TB,7200,DT3,SATA3,STD
45K0625HDD,2TB,7200,DT3,SATA3,STD
45K0629HDD,500G,7200,DT3,SATA3,STD
HEATSINK
01EF355FRUUMAThermalModule
01EF356FRUDISThermalModule
KYB_MOUSE
25210987LiteonSK-8861(US)2.4GKB-White8
25210988LiteonSK-8861(US-MY)2.4GKB-White8
25210989LiteonSK-8861(TW)2.4GKB-White8
25210990LiteonSK-8861(TH)2.4GKB-White8
25210991LiteonSK-8861(CS-SK)2.4GKB-White8
25210992LiteonSK-8861(US-IN)2.4GKB-White8
25210993LiteonSK-8861(RU)2.4GKB-White8
25210994LiteonSK-8861(GB)2.4GKB-White8
25210995LiteonSK-8861(Nordic)2.4GKB-White8
25210996LiteonSK-8861(LA)2.4GKB-White8
25210997LiteonSK-8861(LA-AR)2.4GKB-White8
25210998LiteonSK-8861(SA)2.4GKB-White8
25210999LiteonSK-8861(CH)2.4GKB-White8
25211000LiteonSK-8861(DE)2.4GKB-White8
25211001LiteonSK-8861(TR)2.4GKB-White8
25211002LiteonSK-8861(ES)2.4GKB-White8
25211003LiteonSK-8861(SL)2.4GKB-White8
25211004LiteonSK-8861(IT)2.4GKB-White8
25211005LiteonSK-8861(IL)2.4GKB-White8
74ideacentreAll-In-One510ComputerHardwareMaintenanceManual

Table3.AIO510–23ASRFRUlist(continued)
25211006LiteonSK-8861(FR)2.4GKB-White8
25211007LiteonSK-8861(GR)2.4GKB-White8
25211008LiteonSK-8861(HU)2.4GKB-White8
25211009LiteonSK-8861(BG)2.4GKB-White8
25211010LiteonSK-8861(KR)2.4GKB-White8
25211011LiteonSK-8861(JP)2.4GKB-White8
25211012LiteonSK-8861(EN-FR)2.4GKB-White8
25211013LiteonSK-8861(PT)2.4GKB-White8
25211014LiteonSK-8861(BE-EN)2.4GKB-White8
25211015LiteonSK-8861(US-EU)2.4GKB-White8
25211016LiteonSM-8861(WW)2.4GMouseWhite
LINECORD
31503352LX(ASAP)1.0MC5UKpowercord
31503353LX(ASAP)1.0MC5Indiapowercord
31503354LX(ASAP)1.0MC5Taiwanpowercord
31503355LX(ASAP)1.0MC5SouthAfricapowercord
31503356LX(ASAP)1.0MC5Argentinapowercord
31503357LX(ASAP)1.0MC5Brazilpowercord
31503358LX(ASAP)1.0MC5Koreapowercord
31503359LX(ASAP)1.0MC5Italypowercord
31503360LX(ASAP)1.0MC5Danmarkpowercord
31503361LX(ASAP)1.0MC5Switzerlandpowercord
31503362LX(ASAP)1.0MC5Israelpowercord
31503423Longwell1.0MC52pinJapanpowercord
31503424Volex1.0MC52pinJapanpowercord
31503425LS1.0MC52pinJapanpowercord
00XL002Fru,JP ,Anti- TR,1M,2P ,NON-LH
00XL003Fru,JP ,Anti- TR,1M,2P ,NON-LH
00XL051Fru,US/CA,1M,3P ,NON-LH
00XL052Fru,US/CA,1M,3P ,NON-LH
00XL053Fru,US/CA,1M,3P ,NON-LH
00XL057Fru,LINECORD,AR,1M,3P ,NON-LH
00XL058Fru,LINECORD,AR,1M,3P ,NON-LH
00XL059Fru,LINECORD,AR,1M,3P ,NON-LH
00XL060Fru,LINECORD,BR,1M,3P ,NON-LH
00XL061Fru,LINECORD,BR,1M,3P ,NON-LH
00XL062Fru,LINECORD,BR,1M,3P ,NON-LH
00XL063Fru,EU/KR,1M,3P ,NON-LH
00XL064Fru,EU/KR,1M,3P ,NON-LH
Chapter9.FRUlists75

Table3.AIO510–23ASRFRUlist(continued)
00XL065Fru,EU/KR,1M,3P ,NON-LH
00XL066Fru,LINECORD,DK,1M,3P ,NON-LH
00XL067Fru,LINECORD,DK,1M,3P ,NON-LH
00XL068Fru,LINECORD,DK,1M,3P ,NON-LH
00XL069Fru,LINECORD,CH,1M,3P ,NON-LH
00XL070Fru,LINECORD,CH,1M,3P ,NON-LH
00XL071Fru,LINECORD,CH,1M,3P ,NON-LH
00XL072Fru,LINECORD,IT,1M,3P ,NON-LH
00XL073Fru,LINECORD,IT,1M,3P ,NON-LH
00XL074Fru,LINECORD,IT,1M,3P ,NON-LH
00XL075Fru,LINECORD,GB,1M,3P ,NON-LH
00XL076Fru,LINECORD,GB,1M,3P ,NON-LH
00XL077Fru,LINECORD,GB,1M,3P ,NON-LH
00XL078Fru,LINECORD,AU,1M,3P ,NON-LH
00XL079Fru,LINECORD,AU,1M,3P ,NON-LH
00XL080Fru,LINECORD,AU,1M,3P ,NON-LH
00XL081Fru,LINECORD,ZA,1M,3P ,NON-LH
00XL082Fru,LINECORD,ZA,1M,3P ,NON-LH
00XL083Fru,LINECORD,ZA,1M,3P ,NON-LH
00XL084Fru,LINECORD,IL,1M,3P ,NON-LH
00XL085Fru,LINECORD,IL,1M,3P ,NON-LH
00XL086Fru,LINECORD,IL,1M,3P ,NON-LH
00XL089Fru,LINECORD,CN,1M,3P ,NON-LH
00XL090Fru,LINECORD,CN,1M,3P ,NON-LH
00XL091Fru,LINECORD,TW,1M,3P ,NON-LH
00XL092Fru,LINECORD,TW,1M,3P ,NON-LH
00XL093Fru,LINECORD,TW,1M,3P ,NON-LH
00XL094Fru,LINECORD,IN,1M,3P ,NON-LH
00XL096Fru,LINECORD,IN,1M,3P ,NON-LH
00XL097Fru,LINECORD,TH,1M,3P ,NON-LH
5L60J33143lux0014+H03VV-F0.75/3C+0011
MECH_ASM
01EF402GTStandlightsilverC4/5
01EF403GTStanddeepsilverC4/5
01EF404StronkinStandlightsilver
01EF405StronkinStanddeepsilver
01EF406ASSYFronthousing,W
01EF407ASSYFronthousing,B
01EF408ASSYRearcover,W
76ideacentreAll-In-One510ComputerHardwareMaintenanceManual

Table3.AIO510–23ASRFRUlist(continued)
01EF409ASSYRearcover,B
01EF410ASSYPanelhousing_ASR,W
01EF411ASSYPanelhousing_ASR,B
01EF412ASSYM_coverASR,C5,W
01EF413ASSYM_coverASR,C5,B
01EF415HDDCAGE
01EF416ASSYShieldingforHDD
01EF417ASSYFrameforMB_ASR
01EF418MBSHIELDING,W/HDMI
MECHANICAL
01EF422Rubber,Forspeakerlock
01EF451EMI_GASKET_RearIO
01EF452EMI_GASKET_HDMI_A
01EF453EMI_GASKET_HDMI_B
01EF454SPONGE,ForFronthousing,C5
01EF455Cover,SideIOCover,White
01EF456Cover,SideIOCover,Black
01EF457Bracket,Forkensintonlock
01EF458Bracket,Forcameramodule
01EF459Bracket,ForPanel,C5
01EF465ASSYBezelwithODD,RAM,W
01EF466ASSYBezelwithODD,RAM,B
01EF467Bezel,WithoutODDWhiteC5
01EF468Bezel,WithoutODDBlackC5
01EF469Bracket,ForWIFIAntennaKit
01EF537BracketLatch,ForODD
MEMORY
01AG7002GBDDR42400SoDIMM
01AG7014GBDDR42400SoDIMM
01AG7042GBDDR42400SoDIMM
01AG7052GBDDR42400SoDIMM
01AG7062GBDDR42400SoDIMM
01AG7074GBDDR42400SoDIMM
01AG7084GBDDR42400SoDIMM
01AG7094GBDDR42400SoDIMM
01AG7108GBDDR42400SoDIMM
01AG7118GBDDR42400SoDIMM
01AG7128GBDDR42400SoDIMM
MICROPHONE
Chapter9.FRUlists77

Table3.AIO510–23ASRFRUlist(continued)
01AH402AIO510Microphone
MOUSE
00PH131USBCalliopeMouseBlack(Orangewh
00PH132USB,Calliope,Mouse,White
01AH700LiteonSM-8861(WW)MouseBlack
OPT_DRIVE
00FC442SMD,DT,SATA,9.5mm,x8,w/obezel
SPEAKERINT
01AH925AIO510speaker
SSD_ASM
00JT086128G,M.2,2280,SATA6G,L TON,STD
00JT087256G,M.2,2280,SATA6G,L TON,STD
00UP420128G,M.2,2280,SATA6G,SAMSG,STD
00UP422256G,M.2,2280,SATA6G,SAMSG,STD
WIRELESS
00JT482Wireless,CMB,CBT,8821AE
01AX709Wireless,CMB,LTN,NFA435A
Table4.AIO510–23ISHFRUlist
FRUP/NDescription
AC_ADAPTER
00PC727AC_ADAPTER,120W,100-240Vac,3P
ANTENNA
00XJ086C4C5antenna
BDPLANAR
00UW376MBIntelSkylake-H110,UMA,HDMI
00UW377MBIntelSkylake-H110,UMA,HDMI
00UW378MBIntelSkylake-H110,940MX2G,
00UW379MBIntelSkylake-H110,940MX2G,
CABLE
31032953GSBLK1.0m3wireCCCpowercord(R)
31033857LWBLK1.0m3wireULCSApowercord(R)
31033858VLBLK1.0m3wireULCSApowercord(R)
31035332LWBLK1.0mVDEpowercord(R)
31035395LWBLK1.0mIndiapowercord(R)
31035396LWBLK1.0mUKpowercord(R)
31035397LWBLK1.0mANZpowercord(R)
31035828LWBLK1.0mBrazilpowercord(R)
31038885LWBLK1.0mTaiwanC5powercord(R)
78ideacentreAll-In-One510ComputerHardwareMaintenanceManual

Table4.AIO510–23ISHFRUlist(continued)
31039100LWBLK1.0mArgentinaC5powercord(R)
31039101LWBLK1.0mDenmarkC5powercord(R)
31039103LWBLK1.0mSwitzerlandC5powercord(R)
31039104LWBLK1.0mItalyC5powercord(R)
31039105LWBLK1.0mSAC5powercord(R)
31039106LWBLK1.0mKoreaC5powercord(R)
31039107LWBLK1.0mIsraelC5powercord(R)
31045147LX(ASAP)1.0MC5CCCpowercord
31049496Volex1.0MC5UKpowercord
31049497Volex1.0MC5EUpowercord
31049498Volex1.0MC5KORpowercord
31049499Volex1.0MC5TWpowercord
31049500Volex1.0MC5ANZpowercord
31049501Volex1.0MC5SApowercord
31049502Volex1.0MC5ISIpowercord
31049503Volex1.0MC5DENpowercord
31049504Volex1.0MC5ITYpowercord
31049505Volex1.0MC5BRpowercord
31049507Volex1.0MC5LApowercord
31049508Volex1.0MC5SWIpowercord
31049517LX(ASAP)1.0MC5ULpowercord
31049518LX(ASAP)1.0MC5EUpowercord
31049520LX(ASAP)1.0MC5ANZpowercord
00XJ043C4C5HDDSATAcable
00XJ046C5ODDSATAcable
00XJ049C4C5PowerboardFFC
00XJ052C5S5LVDScable
00XJ053C4C5S5Cameracable
00XJ055C4C5S5MICcable
00XJ056C4C5S5Touchcable
DT_KYB
00UW407LiteonSK-88612.4GKB(BR)-BLK
00XH587USBCalliopeKBBKENG
00XH588USBCalliopeKBBKARA
00XH591USB,Calliope,KB,BK,BELENG
00XH593USBCalliopeKBBKBUL
00XH594USBCalliopeKBBKTC/ENG
00XH595USBCalliopeKBBKCZE
00XH598USBCalliopeKBBKFRA
Chapter9.FRUlists79

Table4.AIO510–23ISHFRUlist(continued)
00XH601USBCalliopeKBBKGER
00XH602USBCalliopeKBBKGRE
00XH604USBCalliopeKBBKHBW
00XH605USBCalliopeKBBKHUN
00XH607USBCalliopeKBBKITA
00XH608USBCalliopeKBBKJPN
00XH610USBCalliopeKBBKKOR
00XH611USB,Calliope,KB,BK,LASPA
00XH614USBCalliopeKBBKPOR
00XH616USBCalliopeKBBKRUS
00XH618USBCalliopeKBBKSLK
00XH619USBCalliopeKBBKSPA
00XH621USBCalliopeKBBKSWS
00XH622USBCalliopeKBBKTHAI
00XH624USBCalliopeKBBKTUR
00XH625USBCalliopeKBBKUKE
00XH626USBCalliopeKBBKEUROENG
00XH627USBCalliopeKBBKSLV
00XH630USBCalliopeKBBKINDENG
00XH633USBCalliopeKBBKNORDIC
00XH635USBCalliopeKBBKCANENG/FRA
00XH637USB,Calliope,KB,WH,ENG
00XH638USB,Calliope,KB,WH,ARA
00XH641USB,Calliope,KB,WH,BELENG
00XH643USB,Calliope,KB,WH,BUL
00XH644USB,Calliope,KB,WH,TC/ENG
00XH645USB,Calliope,KB,WH,CZE
00XH648USB,Calliope,KB,WH,FRA
00XH651USB,Calliope,KB,WH,GER
00XH652USB,Calliope,KB,WH,GRE
00XH654USB,Calliope,KB,WH,HBW
00XH655USB,Calliope,KB,WH,HUN
00XH657USB,Calliope,KB,WH,ITA
00XH658USB,Calliope,KB,WH,JPN
00XH660USB,Calliope,KB,WH,KOR
00XH661USBCalliopeKBWHLASPA
00XH664USB,Calliope,KB,WH,POR
00XH666USB,Calliope,KB,WH,RUS
00XH668USB,Calliope,KB,WH,SLK
80ideacentreAll-In-One510ComputerHardwareMaintenanceManual

Table4.AIO510–23ISHFRUlist(continued)
00XH669USB,Calliope,KB,WH,SPA
00XH671USB,Calliope,KB,WH,SWS
00XH672USB,Calliope,KB,WH,THAI
00XH674USB,Calliope,KB,WH,TUR
00XH675USB,Calliope,KB,WH,UKE
00XH676USB,Calliope,KB,WH,EURO,ENG
00XH677USB,Calliope,KB,WH,SLV
00XH680USB,Calliope,KB,WH,IND,ENG
00XH683USB,Calliope,KB,WH,NORDIC
00XH685USB,Calliope,KB,WH,CAN,ENG/FRA
01AH627Liteon2.4GBlackSK-8861US
01AH628Liteon2.4GBlackSK-8861US-MY
01AH629Liteon2.4GBlackSK-8861TW
01AH630Liteon2.4GBlackSK-8861TH
01AH631Liteon2.4GBlackSK-8861CS-SK
01AH632Liteon2.4GBlackSK-8861US-IN
01AH633Liteon2.4GBlackSK-8861RU
01AH634Liteon2.4GBlackSK-8861GB
01AH635Liteon2.4GBlackSK-8861Nordic
01AH636Liteon2.4GBlackSK-8861LA
01AH637Liteon2.4GBlackSK-8861LA-AR
01AH638Liteon2.4GBlackSK-8861SA
01AH639Liteon2.4GBlackSK-8861CH
01AH640Liteon2.4GBlackSK-8861DE
01AH641Liteon2.4GBlackSK-8861TR
01AH642Liteon2.4GBlackSK-8861ES
01AH643Liteon2.4GBlackSK-8861SL
01AH644Liteon2.4GBlackSK-8861IT
01AH645Liteon2.4GBlackSK-8861IL
01AH646Liteon2.4GBlackSK-8861FR
01AH647Liteon2.4GBlackSK-8861GR
01AH648Liteon2.4GBlackSK-8861HU
01AH649Liteon2.4GBlackSK-8861BG
01AH650Liteon2.4GBlackSK-8861KR
01AH651Liteon2.4GBlackSK-8861JP
01AH652Liteon2.4GBlackSK-8861EN-FR
01AH653Liteon2.4GBlackSK-8861PT
01AH654Liteon2.4GBlackSK-8861BE-EN
01AH655Liteon2.4GBlackSK-8861US-EU
Chapter9.FRUlists81

Table4.AIO510–23ISHFRUlist(continued)
FAN
00XD814SysfanforMutuo_P9110x15mm
HDD_ASM
00PC550HDD,500G,7200,DT3,SATA3,STD
00PC551HDD,1TB,7200,DT3,SATA3,STD
00PC552HDD,2TB,7200,DT3,SATA3,STD
45K0623HDD,1TB,7200,DT3,SATA3,STD
45K0625HDD,2TB,7200,DT3,SATA3,STD
45K0629HDD,500G,7200,DT3,SATA3,STD
HEATSINK
01EF353UMAThermalModule
01EF354DISThermalModule
KYB_MOUSE
25210987LiteonSK-8861(US)2.4GKB-White8
25210988LiteonSK-8861(US-MY)2.4GKB-White8
25210989LiteonSK-8861(TW)2.4GKB-White8
25210990LiteonSK-8861(TH)2.4GKB-White8
25210991LiteonSK-8861(CS-SK)2.4GKB-White8
25210992LiteonSK-8861(US-IN)2.4GKB-White8
25210993LiteonSK-8861(RU)2.4GKB-White8
25210994LiteonSK-8861(GB)2.4GKB-White8
25210995LiteonSK-8861(Nordic)2.4GKB-White8
25210996LiteonSK-8861(LA)2.4GKB-White8
25210997LiteonSK-8861(LA-AR)2.4GKB-White8
25210998LiteonSK-8861(SA)2.4GKB-White8
25210999LiteonSK-8861(CH)2.4GKB-White8
25211000LiteonSK-8861(DE)2.4GKB-White8
25211001LiteonSK-8861(TR)2.4GKB-White8
25211002LiteonSK-8861(ES)2.4GKB-White8
25211003LiteonSK-8861(SL)2.4GKB-White8
25211004LiteonSK-8861(IT)2.4GKB-White8
25211005LiteonSK-8861(IL)2.4GKB-White8
25211006LiteonSK-8861(FR)2.4GKB-White8
25211007LiteonSK-8861(GR)2.4GKB-White8
25211008LiteonSK-8861(HU)2.4GKB-White8
25211009LiteonSK-8861(BG)2.4GKB-White8
25211010LiteonSK-8861(KR)2.4GKB-White8
25211011LiteonSK-8861(JP)2.4GKB-White8
25211012LiteonSK-8861(EN-FR)2.4GKB-White8
82ideacentreAll-In-One510ComputerHardwareMaintenanceManual

Table4.AIO510–23ISHFRUlist(continued)
25211013LiteonSK-8861(PT)2.4GKB-White8
25211014LiteonSK-8861(BE-EN)2.4GKB-White8
25211015LiteonSK-8861(US-EU)2.4GKB-White8
25211016LiteonSM-8861(WW)2.4GMouseWhite
25211018LiteonSM-88612.4GMouse(MY)White
LINECORD
31503352LX(ASAP)1.0MC5UKpowercord
31503353LX(ASAP)1.0MC5Indiapowercord
31503354LX(ASAP)1.0MC5Taiwanpowercord
31503355LX(ASAP)1.0MC5SouthAfricapowercord
31503356LX(ASAP)1.0MC5Argentinapowercord
31503357LX(ASAP)1.0MC5Brazilpowercord
31503358LX(ASAP)1.0MC5Koreapowercord
31503359LX(ASAP)1.0MC5Italypowercord
31503360LX(ASAP)1.0MC5Danmarkpowercord
31503361LX(ASAP)1.0MC5Switzerlandpowercord
31503362LX(ASAP)1.0MC5Israelpowercord
31503423Longwell1.0MC52pinJapanpowercord
31503424Volex1.0MC52pinJapanpowercord
31503425LS1.0MC52pinJapanpowercord
00XL002Fru,JP ,Anti- TR,1M,2P ,NON-LH
00XL003Fru,JP ,Anti- TR,1M,2P ,NON-LH
00XL051Fru,US/CA,1M,3P ,NON-LH
00XL052Fru,US/CA,1M,3P ,NON-LH
00XL053Fru,US/CA,1M,3P ,NON-LH
00XL057Fru,LINECORD,AR,1M,3P ,NON-LH
00XL058Fru,LINECORD,AR,1M,3P ,NON-LH
00XL059Fru,LINECORD,AR,1M,3P ,NON-LH
00XL060Fru,LINECORD,BR,1M,3P ,NON-LH
00XL061Fru,LINECORD,BR,1M,3P ,NON-LH
00XL062Fru,LINECORD,BR,1M,3P ,NON-LH
00XL063Fru,EU/KR,1M,3P ,NON-LH
00XL064Fru,EU/KR,1M,3P ,NON-LH
00XL065Fru,EU/KR,1M,3P ,NON-LH
00XL066Fru,LINECORD,DK,1M,3P ,NON-LH
00XL067Fru,LINECORD,DK,1M,3P ,NON-LH
00XL068Fru,LINECORD,DK,1M,3P ,NON-LH
00XL069Fru,LINECORD,CH,1M,3P ,NON-LH
00XL070Fru,LINECORD,CH,1M,3P ,NON-LH
Chapter9.FRUlists83

Table4.AIO510–23ISHFRUlist(continued)
00XL071Fru,LINECORD,CH,1M,3P ,NON-LH
00XL072Fru,LINECORD,IT,1M,3P ,NON-LH
00XL073Fru,LINECORD,IT,1M,3P ,NON-LH
00XL074Fru,LINECORD,IT,1M,3P ,NON-LH
00XL075Fru,LINECORD,GB,1M,3P ,NON-LH
00XL076Fru,LINECORD,GB,1M,3P ,NON-LH
00XL077Fru,LINECORD,GB,1M,3P ,NON-LH
00XL078Fru,LINECORD,AU,1M,3P ,NON-LH
00XL079Fru,LINECORD,AU,1M,3P ,NON-LH
00XL080Fru,LINECORD,AU,1M,3P ,NON-LH
00XL081Fru,LINECORD,ZA,1M,3P ,NON-LH
00XL082Fru,LINECORD,ZA,1M,3P ,NON-LH
00XL083Fru,LINECORD,ZA,1M,3P ,NON-LH
00XL084Fru,LINECORD,IL,1M,3P ,NON-LH
00XL085Fru,LINECORD,IL,1M,3P ,NON-LH
00XL086Fru,LINECORD,IL,1M,3P ,NON-LH
00XL089Fru,LINECORD,CN,1M,3P ,NON-LH
00XL090Fru,LINECORD,CN,1M,3P ,NON-LH
00XL091Fru,LINECORD,TW,1M,3P ,NON-LH
00XL092Fru,LINECORD,TW,1M,3P ,NON-LH
00XL093Fru,LINECORD,TW,1M,3P ,NON-LH
00XL094Fru,LINECORD,IN,1M,3P ,NON-LH
00XL096Fru,LINECORD,IN,1M,3P ,NON-LH
00XL097Fru,LINECORD,TH,1M,3P ,NON-LH
5L60J33143lux0014+H03VV-F0.75/3C+0011
MECH_ASM
01EF402GTStandlightsilverC4/5
01EF403GTStanddeepsilverC4/5
01EF404StronkinStandlightsilver
01EF405StronkinStanddeepsilver
01EF406ASSYFronthousing,W
01EF407ASSYFronthousing,B
01EF408ASSYRearcover,W
01EF409ASSYRearcover,B
01EF415HDDCAGE
01EF416ASSYShieldingforHDD
01EF418MBSHIELDING,W/HDMI
01EF460ASSYPanelhousing_ISH,W
01EF461ASSYPanelhousing_ISH,B
84ideacentreAll-In-One510ComputerHardwareMaintenanceManual

Table4.AIO510–23ISHFRUlist(continued)
01EF462ASSYM_coverforISH,C5,W
01EF463ASSYM_coverforISH,C5,B
01EF464ASSYFrameforMB_ISH
MECHANICAL
01EF422Rubber,Forspeakerlock
01EF451EMI_GASKET_RearIO
01EF452EMI_GASKET_HDMI_A
01EF453EMI_GASKET_HDMI_B
01EF454SPONGE,ForFronthousing,C5
01EF455Cover,SideIOCover,White
01EF456Cover,SideIOCover,Black
01EF457Bracket,Forkensintonlock
01EF458Bracket,Forcameramodule
01EF459Bracket,ForPanel,C5
01EF465ASSYBezelwithODD,RAM,W
01EF466ASSYBezelwithODD,RAM,B
01EF467Bezel,WithoutODDWhiteC5
01EF468Bezel,WithoutODDBlackC5
01EF469Bracket,ForWIFIAntennaKit
01EF537BracketLatch,ForODD
MEMORY
01AG7002GBDDR42400SoDIMM
01AG7014GBDDR42400SoDIMM
01AG7042GBDDR42400SoDIMM
01AG7052GBDDR42400SoDIMM
01AG7062GBDDR42400SoDIMM
01AG7074GBDDR42400SoDIMM
01AG7084GBDDR42400SoDIMM
01AG7094GBDDR42400SoDIMM
01AG7108GBDDR42400SoDIMM
01AG7118GBDDR42400SoDIMM
01AG7128GBDDR42400SoDIMM
MICROPHONE
01AH402AIO510Microphone
MOUSE
00PH131USBCalliopeMouseBlack(Orangewh
00PH132USB,Calliope,Mouse,White
01AH700LiteonSM-8861(WW)MouseBlack
01AH701LiteonSM-8861Mouse(MY)Black
Chapter9.FRUlists85

Table4.AIO510–23ISHFRUlist(continued)
OPT_DRIVE
00FC442SMD,DT,SATA,9.5mm,x8,w/obezel
SP
00XG111IntelCorei3-6100T3.2GHz35W
00XG113IntelCeleronG3900T2.6GHz35W
00XG114IntelPentiumG4400T2.9GHz35W
01AG002II7-6700T2.8GHz/4C/8M35W
01AG005II5-6400T2.2GHz/4C/6M35W
01AG044IntelI7-6700T2.8GHz/4C/8M35W
01AG047II5-6400T2.2GHz/4C/6M35W
SPEAKERINT
01AH925AIO510speaker
SSD_ASM
00JT095128G,M.2,2280,PCIe3x4,SAMSG,STD
00JT096256G,M.2,2280,PCIe3x4,SAMSG,STD
WIRELESS
00JT482Wireless,CMB,CBT,8821AE
00JT497Wireless,CMB,IN,3165ac
86ideacentreAll-In-One510ComputerHardwareMaintenanceManual

Chapter10.Generalinformation
Thischapterprovidesgeneralinformationthatappliestoallcomputermodelscoveredbythismanual.
AdditionalServiceInformation
Thischapterprovidesadditionalinformationthattheservicerepresentativemightfindhelpful.
Powermanagement
Powermanagementreducesthepowerconsumptionofcertaincomponentsofthecomputersuchasthe
systempowersupply,processor,harddiskdrives,andsomemonitors.
Advancedconfigurationandpowerinterface(ACPI)BIOS
AsthiscomputerhasanACPIBIOSsystem,theoperatingsystemisallowedtocontrolthepower
managementfeaturesofthecomputerandthesettingsforAdvancedPowerManagement(APM)BIOSmode
isignored.NotalloperatingsystemssupportACPIBIOSmode.
AutomaticPower-Onfeatures
TheAutomaticPower-OnfeatureswithinthePowerManagementmenuallowyoutoenableanddisable
featuresthatturnonthecomputerautomatically.
•WakeUponAlarm:Youcanspecifyadateandtimeatwhichthecomputerwillbeturnedonautomatically.
Thiscanbeeitherasingleevent,adailyeventoraweeklyevent.
•WakeUponLAN:ThisfeatureallowsLANadaptercardtowaketheSystem.
©CopyrightLenovo201687


